Ministerio de Industria, Turismo y Comercio LogoMinisterior
 

Alerta

Resultados 185 resultados
LastUpdate Última actualización 04/02/2026 [07:43:00]
pdfxls
Solicitudes publicadas en los últimos 150 días / Applications published in the last 150 days
previousPage Resultados 75 a 100 de 185 nextPage  

Anti-aging composition as well as preparation method and application thereof

NºPublicación:  CN120959412A 18/11/2025
Solicitante: 
WEIHAI BAIHE BIOTECHNOLOGY CO LTD
\u5A01\u6D77\u767E\u5408\u751F\u7269\u6280\u672F\u80A1\u4EFD\u6709\u9650\u516C\u53F8
CN_120959412_PA

Resumen de: CN120959412A

The invention discloses an anti-aging composition as well as a preparation method and application thereof, and belongs to the technical field of functional foods. Comprising the following raw materials: 2 to 4% of sophora flower powder extract, 0.5 to 1.0% of pyrroloquinoline quinone disodium salt, 10 to 16% of marine collagen peptide, 0.5 to 3.0% of microalgae mustard oil nanoparticles, 1 to 3% of fructo-oligosaccharide, 0.1 to 0.3% of a composite thickening agent, 2 to 5% of a natural sweetening agent, 0.2 to 0.6% of a natural acidulant, 0.05 to 0.2% of essence, 1.0 to 3.0% of lecithin, 0.2 to 1.0% of cholesterol, 0.5 to 1.0% of glycerin, and the balance of water. The sophora flower powder extract, the pyrroloquinoline quinine disodium salt and the like are adopted to prepare the nano-liposome, and the nano-liposome is combined with specific raw materials to prepare the composition, so that synergistic anti-aging of multiple active ingredients can be realized, the effective ingredients can be ensured not to be damaged in the stomach, the bioavailability is high, efficient targeted delivery can be realized, and the application prospect is wide. The dual-channel molecules synergistically and effectively resist inflammation and activate mitochondrial functions, so that an excellent systematic anti-aging effect is realized.

Microalgae culture monitoring system capable of monitoring microalgae carbon fixation and carbon flow direction in real time

NºPublicación:  CN120966595A 18/11/2025
Solicitante: 
INST OF HYDROBIOLOGY CHINESE ACADEMY OF SCIENCES
\u4E2D\u56FD\u79D1\u5B66\u9662\u6C34\u751F\u751F\u7269\u7814\u7A76\u6240
CN_120966595_PA

Resumen de: CN120966595A

The invention relates to a microalgae culture monitoring system capable of monitoring microalgae carbon fixation and carbon flow direction in real time. The microalgae culture monitoring system comprises a culture bottle, an air supply device, an air metering pump, a tail gas carbon dioxide fixation device and a marker detection device, the microalgae are cultured in the culture device; the air supply device is used for introducing air containing CO2 in a specific proportion into the culture solution in the culture bottle through the air metering pump; the tail gas carbon dioxide detection device is communicated with the culture device through a pipeline and is used for detecting CO2 released by the culture device; and the tail gas carbon dioxide fixing device is communicated with the atmosphere through an exhaust port. The system provided by the invention can be used for monitoring the supply amount and the discharge amount of CO2 in real time so as to obtain the real-time carbon sequestration condition of the microalgae, and the carbon flow direction in microalgae cells can be obtained by combining isotope 13C with instruments such as a Raman spectrometer, so that the growth and metabolism of the microalgae can be deeply researched, and convenience is provided for the research of the microalgae and the screening of high-quality target algae strains.

Room-temperature preservation method and application of microalgae suspension

NºPublicación:  CN120966636A 18/11/2025
Solicitante: 
INST OF ECO ENVIRONMENT AND SOIL SCIENCES GUANGDONG ACADEMY OF SCIENCES
\u5E7F\u4E1C\u7701\u79D1\u5B66\u9662\u751F\u6001\u73AF\u5883\u4E0E\u571F\u58E4\u7814\u7A76\u6240
CN_120966636_PA

Resumen de: CN120966636A

The invention belongs to the technical field of microalgae preservation, and discloses a room-temperature preservation method of a microalgae suspension and application of the room-temperature preservation method. The preservation method comprises the following steps: placing a microalgae suspension in a closed container, adding a deoxidant and a bacterial bacteriostatic agent, and adjusting the pH value to 7.5-8.5 to obtain a microalgae preservation solution; and introducing nitrogen to carry out headspace replacement by utilizing a vacuumizing-inflating system so as to establish an anaerobic environment and reduce the concentration of dissolved oxygen in the microalgae preserving fluid, and preserving the microalgae at room temperature in a dark place. According to the method, the microalgae activity is maintained for a long time at room temperature, bacterial proliferation is effectively inhibited, the survival rate of the microalgae can reach 69% or above within 90 days, and economic and practical technical support is provided for large-scale application of the microalgae in the fields of food, feed, energy and the like.

Non-aerated activated carbon-bacteria-algae biological membrane system for grey water treatment

NºPublicación:  CN120964996A 18/11/2025
Solicitante: 
HUAZHONG AGRICULTURAL UNIV
\u534E\u4E2D\u519C\u4E1A\u5927\u5B66
CN_120964996_PA

Resumen de: CN120964996A

The invention discloses a non-aerated activated carbon-bacteria-algae biological membrane system for grey water treatment, and belongs to the technical field of sewage treatment and recycling. The device comprises a reactor and a filler assembly, the reactor comprises a hollow reaction column, and grey water is input into the reaction column; the filler assembly comprises a plurality of suspended balls and an activated carbon filler, and the suspended balls are suspended in grey water of the reaction column; the suspended balls are filled with the activated carbon filler, the activated carbon filler is inoculated with microalgae, activated sludge for growth and reproduction of strains and specific bacteria, the activated carbon filler is acidified and modified flaky activated carbon, the microalgae can provide oxygen for growth and reproduction of the bacteria, and the specific bacteria can degrade a surfactant adsorbed by the activated carbon filler. External aeration oxygen supply is not needed, and biomass and oxygen loss caused by bubble disturbance is avoided.

Method for purifying mine gushing water

NºPublicación:  CN120964992A 18/11/2025
Solicitante: 
CHN ENERGY NEW ENERGY TECH RESEARCH INSTITUTE CO LTD
\u56FD\u5BB6\u80FD\u6E90\u96C6\u56E2\u65B0\u80FD\u6E90\u6280\u672F\u7814\u7A76\u9662\u6709\u9650\u516C\u53F8
CN_120964992_PA

Resumen de: CN120964992A

The invention relates to a method for purifying mine gushing water. The method comprises the following steps: mixing filamentous microalgae and to-be-treated mine gushing water for purification treatment. According to the method, filamentous microalgae are adopted to purify the to-be-treated mine gushing water, extracellular polysaccharide secreted by the filamentous microalgae growing in the mine gushing water can adsorb suspended solids in the mine gushing water, and meanwhile, the filamentous microalgae grow in the mine gushing water to be bent and wound algae filaments can also remove the suspended solids in the mine gushing water; therefore, the purification effect of the mine gushing water is effectively improved. Moreover, compared with traditional inorganic flocculants and organic polymer flocculants, the filamentous microalgae adopted in the invention have no chemical residues, and have less pollution to the environment and less toxicity to the ecological environment.

Microalgae-microorganism compound preparation for improving saline-alkali soil and application

NºPublicación:  CN120966700A 18/11/2025
Solicitante: 
SHANDONG ZHENGYUAN ENVIRONMENTAL TECH CO LTD
\u5C71\u4E1C\u6B63\u5143\u73AF\u5883\u79D1\u6280\u6709\u9650\u516C\u53F8
CN_120966700_PA

Resumen de: CN120966700A

The invention belongs to the technical field of soil remediation, and relates to a microalgae-microorganism compound preparation for improving saline-alkali soil and application. The microalgae-microorganism compound preparation is prepared from spirulina, chlorella, nostoc, scenedesmus obliquus, bacillus mucilaginosus, bacillus mucilaginosus and pseudomonas. The microalgae-microorganism compound preparation for improving the saline-alkali soil can improve the available phosphorus content of the soil, increase the available potassium content of the soil and effectively improve the soil; soil bulk density is reduced, and soil hardening is improved; therefore, the fertilizer retention property of the soil is enhanced, the growth and development of crop roots are facilitated, the crop yield is remarkably improved, and the application prospect is wide.

Fucoidan composition and preparation method thereof

NºPublicación:  CN120938108A 14/11/2025
Solicitante: 
JIZHIYUAN BIOLOGICAL TECH CO LTD
\u6781\u4E4B\u6E90\u751F\u7269\u79D1\u6280\u6709\u9650\u516C\u53F8
CN_120938108_PA

Resumen de: CN120938108A

The invention relates to a fucoidan composition and a preparation method thereof. The fucoidan composition comprises the following components in percentage by weight: 20-30% of nemacystus japonicus fucoidan, 20-30% of almacystus japonicus fucoidan, 20-30% of 25-35% of sporophyll carbohydrate gum of the undaria pinnatifida in the Tasmanni Australian sea area; 25-35% of fucus saccharide gum in the Australian Tasmanni subsea area; 5 to 10% of microalgae fucoidan; and 1-5% of microalgae fucoxanthin. According to the fucoidan composition disclosed by the invention, the effective inhibition rate of the prepared fucoidan composition on human colon cancer, human pancreatic cancer, human liver cancer, human prostatic cancer, human breast cancer or human lung cancer and the like reaches 89% or above through an optimized formula of multiple components.

Adaptive chlorella domesticated by fish meal processing wastewater, domestication method and application

NºPublicación:  CN120944796A 14/11/2025
Solicitante: 
ZHEJIANG YINGHAOGE BIOLOGICAL CO LTD
ZHEJIANG UNIV
\u6D59\u6C5F\u82F1\u704F\u683C\u751F\u7269\u80A1\u4EFD\u6709\u9650\u516C\u53F8,
\u6D59\u6C5F\u5927\u5B66
CN_120944796_PA

Resumen de: CN120944796A

The invention discloses adaptive chlorella domesticated by fish meal processing wastewater, a domestication method and application, and belongs to the technical field of microalgae culture and wastewater treatment. The method comprises the following specific steps: 1) inoculating wild chlorella into fish meal processing wastewater, and carrying out first tolerance culture for at least two months to obtain a domesticated chlorella solution; and 2) inoculating the domesticated chlorella solution into a sterilized mixed domesticated culture medium, and carrying out second tolerance culture for 6-10 days to obtain the adaptive chlorella. The mixed domestication culture medium comprises fish meal processing wastewater and an N8 culture medium, wherein the volume ratio of the fish meal processing wastewater to the N8 culture medium is (6-14): 6. According to the method, the chlorella strain capable of tolerating high-concentration phosphate and ammonium salt is successfully domesticated, resource utilization of fish meal processing wastewater is realized, meanwhile, the microalgae culture cost is reduced, and the method has dual benefits of environmental protection and economy.

Functional living body material prepared by adopting photosynthetic microcarrier and preparation method of functional living body material

NºPublicación:  CN120944745A 14/11/2025
Solicitante: 
NANJING TECH UNIV
\u5357\u4EAC\u5DE5\u4E1A\u5927\u5B66
CN_120944745_PA

Resumen de: CN120944745A

The invention provides a functional living body material prepared by adopting a photosynthetic microcarrier and a preparation method of the functional living body material. The preparation method comprises the following steps: respectively preparing first microbial microspheres encapsulated with microalgae and second microbial microspheres encapsulated with filamentous fungi by adopting a droplet microfluidic mode; after the first microbial microspheres and the second microbial microspheres are mixed to form a composite microcarrier, a functional living body material with a specific shape is constructed in a 3D printing mode, and the functional living body material is placed under a culture environment condition to be cultured. The microalgae as a photosynthetic active core can continuously perform photosynthesis under a suitable environmental condition, and the filamentous fungi enhance the stability of the microalgae through a supporting effect, so that the structural strength and long-term operability of the composite material are improved. Through the combination of the photosynthetic microcarriers, the functionality and operability of the material can be effectively improved.

Microalgae and methanotrophic bacteria isolated culture device

NºPublicación:  CN120944665A 14/11/2025
Solicitante: 
CHINA AGRICULTURAL UNIV
\u4E2D\u56FD\u519C\u4E1A\u5927\u5B66
CN_120944665_PA

Resumen de: CN120944665A

The invention relates to the technical field of agricultural waste high-value utilization, in particular to a microalgae and methanotrophic bacteria isolated culture device.The microalgae and methanotrophic bacteria isolated culture device comprises a first culture chamber, a second culture chamber, a semi-permeable membrane and a culture medium conveying mechanism, the first culture chamber is used for culturing microalgae, and the second culture chamber is used for culturing methanotrophic bacteria; the first culture chamber is provided with a first discharge hole; the second culture chamber and the first culture chamber form a nested structure, the second culture chamber is used for culturing methane nutrition bacteria, and the second culture chamber is provided with a second discharge port; the semi-permeable membrane is arranged between the first culture chamber and the second culture chamber and is used for separating the microalgae from the methanotrophic bacteria and allowing gas and liquid to circulate; the culture medium conveying mechanism is used for introducing biogas slurry and biogas into the first culture chamber and the second culture chamber, and the microalgae and methane nutrient bacterium separation culture device provided by the embodiment of the invention can realize effective exchange and cyclic utilization of substances while ensuring that two microorganisms obtain respective suitable growth environments.

Photobioreactor

NºPublicación:  CN223547990U 14/11/2025
Solicitante: 
CHUZHOU JIARUN BIOLOGICAL CO LTD
\u6EC1\u5DDE\u4F73\u6DA6\u751F\u7269\u6709\u9650\u516C\u53F8
CN_223547990_U

Resumen de: CN223547990U

The utility model discloses a photobioreactor, which relates to the technical field of reactors and comprises a support plate, a reaction container is fixed at the upper end of the support plate, an L-shaped support plate is fixed on the upper end face of the support plate and positioned on one side of the reaction container, one end of a horizontal section of the L-shaped support plate is connected with a connecting ring, and a U-shaped rod is fixed on the upper end face of the connecting ring. An annular lamp strip is fixed to the lower end face of the connecting ring, an electromagnetic valve is installed on the top of the side wall of the air supplementing pipe, and one end of the electromagnetic valve is connected with a connecting hose. According to the device, carbon dioxide is supplemented into the reaction container through the air supplementing pipe, favorable conditions are provided for photosynthesis of algae, the air supplementing pipe and the turning plate can be driven to move up and down through stretching and retracting of the telescopic air cylinder, a nutrient solution is stirred through the turning plate, nutrient substances are evenly distributed, and the utilization rate of the nutrient solution is improved. Therefore, the growth rate and the biomass yield of the microalgae are ensured.

SYSTEM AND METHOD FOR PURIFYING WATER BODY BY MEANS OF COUPLED DENITRIFICATION WITH PLANTS, BACTERIA AND ALGAE

NºPublicación:  WO2025232122A1 13/11/2025
Solicitante: 
BEIJING DRAINAGE GROUP CO LTD [CN]
\u5317\u4EAC\u57CE\u5E02\u6392\u6C34\u96C6\u56E2\u6709\u9650\u8D23\u4EFB\u516C\u53F8
WO_2025232122_PA

Resumen de: WO2025232122A1

The present disclosure relates to the technical field of water body denitrification and ecological restoration. Disclosed are a system and method for purifying a water body by means of coupled denitrification with plants, bacteria and algae. The system comprises a water intake pipe (1), a microalgae growth tank (2), an algae-bacteria solution tank (6), an influent plant tank (8), a main reaction tank and an effluent tank (14) which are sequentially connected, wherein the influent plant tank (8), the main reaction tank and the effluent tank (14) are each independently equipped with plants (9) containing denitrifying bacteria; the main reaction tank comprises a deoxygenation tank (10), a facultative anaerobic tank (11) and an anoxic tank (12) which are sequentially connected; and the main reaction tank is further provided with a bacteria solution return pipe (13), and the bacteria solution return pipe (13) is connected to an inlet of the algae-bacteria solution tank (6). In the system and method, a carbon source can be naturally and continuously supplied; and the system and method operate with stability and high reliability, and has strong resistance to shock loads.

AN AIR POLLUTION-REDUCING ALGAE PANEL MECHANISM INTEGRATED INTO A BUILDING FAÇADE

NºPublicación:  WO2025233717A1 13/11/2025
Solicitante: 
RAHIMI PARTOW [IR]
RAHIMI, Partow
WO_2025233717_PA

Resumen de: WO2025233717A1

An algae-based air pollution reduction mechanism integrated into a building façade comprises photobioreactor panels (20) containing microalgae to absorb carbon dioxide (CO2), produce biomass, and release oxygen (O2). An air suction mechanism (10) captures polluted air and directs it to a central laboratory (50), where CO2 is separated and supplied to the panels. A gray water collection system stores and mixes gray water with algal powder for the panels. A panel rotation mechanism (40) optimizes solar absorption, while a degassing unit extracts and releases O2. Sensors monitor pollution levels, activating the air suction mechanism (10) when pollutants exceed a threshold, facilitating CO2 conversion into biomass and O2 through the photobioreactor panels (20).

Engineered microalgae, preparation method and application of engineered microalgae in repairing intervertebral disc

NºPublicación:  CN120919178A 11/11/2025
Solicitante: 
THE FIRST TEACHING HOSPITAL OF XINJIANG MEDICAL UNIVERCITY
\u65B0\u7586\u533B\u79D1\u5927\u5B66\u7B2C\u4E00\u9644\u5C5E\u533B\u9662
CN_120919178_PA

Resumen de: CN120919178A

The invention relates to the technical field of intervertebral disc treatment, in particular to engineered microalgae, a preparation method and application of the engineered microalgae in intervertebral disc repairing, and the preparation method comprises the following steps: mixing and sintering vanadium powder, aluminum powder and carbon powder according to a stoichiometric ratio to obtain a V4AlC3 precursor, selectively etching the V4AlC3 precursor through hydrofluoric acid, and then adopting TPAOH intercalation stripping to obtain a single-layer V4C3 nanosheet; carrying out centrifugal purification to obtain surface modified V4C3-CS nanospheres; the V4C3-CS nanosphere dispersion liquid and the spirulina suspension liquid are mixed according to the volume ratio of 1: 1, and the mixture is loaded on the surface of the microalgae through the electrostatic adsorption effect; salmon sperm DNA is used as a raw material and is crosslinked with PEGDA under an alkaline condition to form a three-dimensional network structure; the preparation method comprises the following steps of: infiltrating SP and V4C3 dispersion liquid into DNA hydrogel to form a composite material with an antioxidant function, efficiently removing ROS (reactive oxygen species) in the intervertebral disc through enzyme-like catalytic activity of V4C3MXene nanosheets, and simultaneously, synergistically inhibiting inflammatory factors by utilizing a chitosan modification layer and microalgae natural components

Method for promoting rapid granulation of sludge and removing estrogen based on double-phycomycete system

NºPublicación:  CN120923016A 11/11/2025
Solicitante: 
CHONGQING UNIV
\u91CD\u5E86\u5927\u5B66
CN_120923016_PA

Resumen de: CN120923016A

The invention discloses a method for promoting rapid granulation of sludge and removing estrogen based on a double-phycomycete system, and belongs to the technical field of water pollution, and the method comprises the following steps: establishing the double-phycomycete system; the method comprises the following steps: modifying an electrode of a cathode chamber/anode chamber in a double-phycomycete system, adopting a MoS2 photosensitive layer modified carbon cloth material as a cathode, adopting a Fe3O4 modified carbon felt material directionally assembled by magnetic response as an anode, and performing periodic illumination on the cathode chamber/anode chamber to improve the granulation speed of activated sludge in sewage and the removal rate of estrogen; according to the invention, oxygen-producing green algae can be cultured in the cathode chamber and microalgae/activated sludge can be enriched in the anode chamber to form the photosensitive microbial fuel cell through the establishment of a double-phycomycete system; meanwhile, oxygen-producing green algae liquid cultured in the cathode chamber is added into the anode chamber, symbiotic coupling of bacteria and algae in the anode chamber is achieved, bacteria-algae granular sludge is formed, the double-bacteria-algae system can promote sludge granulation under the conditions of micro current and illumination, and the granulation time is greatly shortened; meanwhile, a microenvironment for accelerating degradation of es

Carbon sequestration system for synergistically purifying industrial aquaculture tail water based on fish-algae symbiosis

NºPublicación:  CN120903718A 07/11/2025
Solicitante: 
SOUTH CHINA NORMAL UNIV
\u534E\u5357\u5E08\u8303\u5927\u5B66
CN_120903718_PA

Resumen de: CN120903718A

The invention discloses a carbon sequestration system for synergistically purifying industrial aquaculture tail water based on fish-algae symbiosis, which comprises a filter cloth filter tank, an ozone catalytic oxidation system, a microalgae photobioreactor, an algae-water separation device and a filter material filter tank, water quality pretreatment is carried out through an ozone catalytic oxidation system, most of ammonia nitrogen and nitrite nitrogen in water are oxidized into nitrate nitrogen, then the nitrate nitrogen enters a microalgae photobioreactor, algae liquid obtained after reaction passes through an algae-water separation device, filtrate and filter residues are obtained, the filtrate is disinfected and filtered and then returns to the factory-like culture pond, and the water quality is purified. The method comprises the following steps of: recycling the raw materials of the microalgae photobioreactor to achieve the purpose of circulation, drying the filter residue in a factory to prepare a high-protein feed raw material to achieve the purpose of resource reutilization, and meanwhile, purifying and pretreating the tail gas reaching the standard in the factory, and introducing the tail gas rich in carbon dioxide into the microalgae photobioreactor to achieve the purpose of biological carbon sequestration.

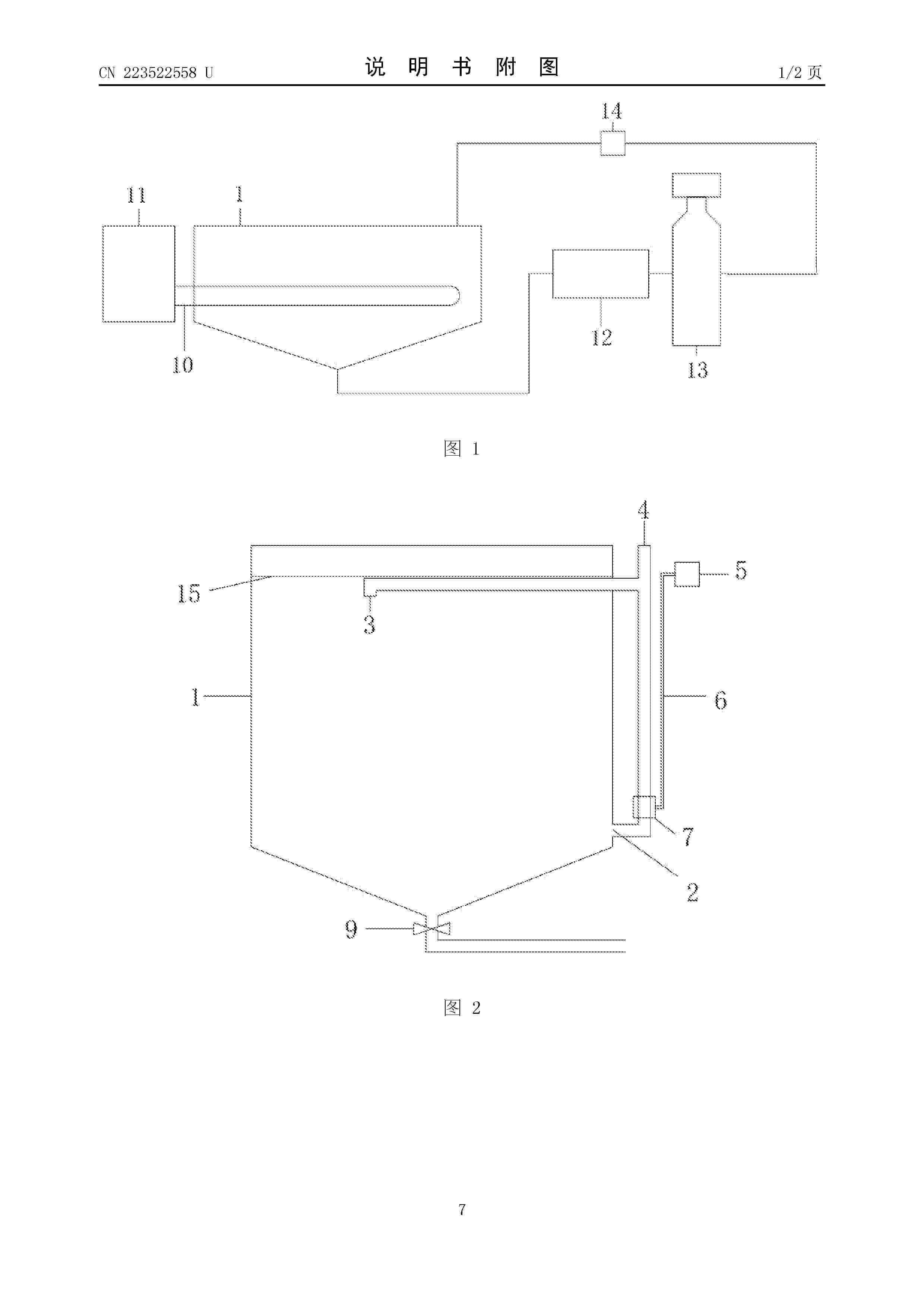
Pollution-free continuous culture system for micrococcus

NºPublicación:  CN223522558U 07/11/2025
Solicitante: 
ZHONGFA GUOXIN SHANGHAI AGRICULTURAL TECH DEVELOPMENT CO LTD
\u4E2D\u53D1\u56FD\u4FE1\uFF08\u4E0A\u6D77\uFF09\u519C\u4E1A\u79D1\u6280\u53D1\u5C55\u6709\u9650\u516C\u53F8
CN_223522558_U

Resumen de: CN223522558U

The utility model discloses a pollution-free continuous culture system for micrococcus, which comprises a culture container, the culture container is communicated with a water return pipe, a gas supply system is arranged near the joint of the water return pipe and the culture container, the gas supply system is communicated with the water return pipe, the bottom of the culture container is provided with a connecting pipe, and the connecting pipe is communicated with the water return pipe. A switch valve is arranged on the connecting pipe, the other tail end of the connecting pipe is connected with a nutrition circulating system, and the nutrition circulating system is connected with the top of the culture container. The gas device and the recovery pipe are mounted on the outer side of the culture main body, so that internal and external circulation of nannochlorella and culture solution is realized, nutrient substances, gas and light are uniformly distributed, after microalgae are cultured for a certain time, the culture solution is subjected to impurity removal and sterilization treatment and then returns to a culture container again, antibiotics are not added in the whole process, and pollution is avoided; no tail water is discharged, the operation is simple, and large-scale production is easy.

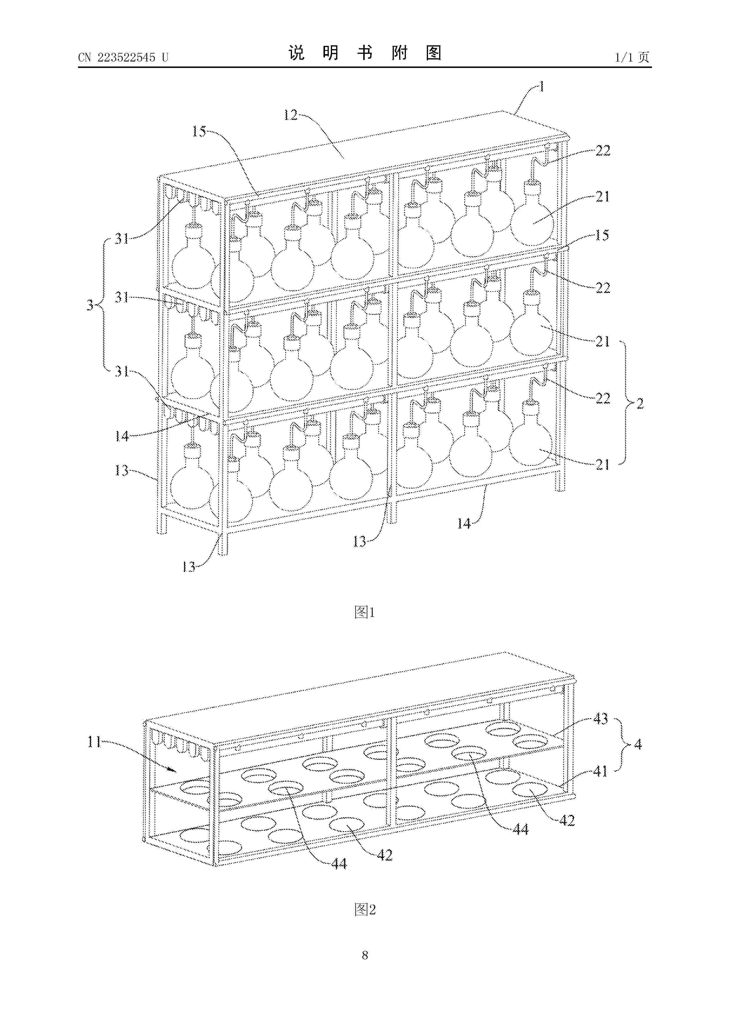
Microalgae culture device

NºPublicación:  CN223522545U 07/11/2025
Solicitante: 
FOZHAO HAINAN TECH CO LTD
\u4F5B\u7167\uFF08\u6D77\u5357\uFF09\u79D1\u6280\u6709\u9650\u516C\u53F8
CN_223522545_U

Resumen de: CN223522545U

The utility model relates to the technical field of microalgae culture, in particular to a microalgae culture device. The microalgae culture device comprises a culture frame and a control box, the culture frame is provided with a plurality of culture layers, and each culture layer is provided with a culture assembly. Each culture layer is provided with a light source assembly, and the light source assemblies are located above the culture assemblies and electrically connected with the control box. An algae liquid detection part is arranged in the culture assembly, is connected with the control box and is used for detecting the microalgae growth state and the light environment in the culture assembly. According to the microalgae culture device provided by the utility model, the light source assembly can output optimal growth illumination for culturing microalgae, so that different illumination requirements of the microalgae in each growth stage are met, and the growth of the microalgae is promoted. Meanwhile, the microalgae culture process is controlled by the control box according to detection data of the microalgae liquid detection piece, manual intervention is not needed, and the reliability and stability of illumination adjustment are effectively improved.

Device and method for treating aquaculture wastewater by utilizing microalgae

NºPublicación:  CN120903746A 07/11/2025
Solicitante: 
RIZHAO POLYTECHNIC
\u65E5\u7167\u804C\u4E1A\u6280\u672F\u5B66\u9662
CN_120903746_PA

Resumen de: CN120903746A

The invention provides a device and a method for treating aquaculture wastewater by utilizing microalgae, and particularly relates to the technical field of wastewater biological treatment.The device comprises a primary sedimentation tank, a pretreatment tank, an anaerobic tank, an aerobic tank and a microalgae reaction tank which are sequentially connected, a combustion chamber is arranged on the outer side of the pretreatment tank, the pretreatment tank is connected with an ultrasonic cell crusher, and the microalgae reaction tank is connected with an anaerobic tank; the combustion chamber is connected with the anaerobic tank, and the anaerobic tank is also connected with the microalgae reaction tank; the primary sedimentation tank, the pretreatment tank, the anaerobic tank, the aerobic tank and the microalgae reaction tank are arranged in parallel side by side, and a material transfer structure is arranged above the tanks. According to the device and the method for treating the breeding wastewater by utilizing the microalgae, the microalgae can be used for treating livestock and poultry breeding wastewater, efficient treatment of the breeding wastewater is realized, and the device and the method have the technical characteristic of multiple functions.

Shrimp seed breeding method for regulating and controlling water quality through microalgae and probiotics under specific illumination

NºPublicación:  CN120898753A 07/11/2025
Solicitante: 
ZHEJIANG MARICULTURE RES INSTITUTE
\u6D59\u6C5F\u7701\u6D77\u6D0B\u6C34\u4EA7\u517B\u6B96\u7814\u7A76\u6240
CN_120898753_PA

Resumen de: CN120898753A

The invention discloses a shrimp seed breeding method for regulating and controlling water quality through microalgae and probiotics under specific illumination. According to the technical scheme, the shrimp seed breeding method is characterized by comprising the following steps that firstly, a seedling breeding workshop is built; step 2, microalgae-probiotic culture: selecting microalgae and probiotic types beneficial to shrimp seedling culture, and culturing to obtain a microalgae solution and a probiotic solution; 3, seedling raising and putting preparation; step 4, putting shrimp larvae; step 5, putting of algae-probiotics; step 6, seedling culture illumination control; 7, feeding the young shrimps with bait; 8, monitoring and regulating water quality; and 9, evaluating the young shrimps out of the pond. According to the method, illumination is precisely controlled, the growth environment of microalgae and probiotics is optimized, and the synergistic effect of the microalgae and probiotics in the aspects of water purification, nutrition supply, disease prevention and control and the like is fully exerted, so that the water quality of penaeus vannamei larvae is improved, the survival rate and health condition of the penaeus vannamei larvae are improved, and the survival rate of penaeus vannamei larvae is increased. And a good foundation is laid for large-scale and high-efficiency culture of the penaeus vannamei.

COMPACT MANNER OF GROWING MICROALGAE SUITABLE FOR CARBON SEQUESTRATION AND CREATING A CIRCULAR ECONOMY

NºPublicación:  US2025340806A1 06/11/2025
Solicitante: 
ALGAE INT BHD [MY]
ALGAE INTERNATIONAL BHD
US_2025340806_PA

Resumen de: US2025340806A1

There are closed systems of growing microalgae but as they are not able to produce algal biomass economically they are very few and far between and are only used to grow microalgae for very expensive produce. These closed systems also require large space. The result of the lack of economic closed systems is why almost all algal biomass production currently uses raceway ponds. This invention integrates a new compact. very economic and highly productive closed system of growing microalgae including good parameter control with carbon sequestration from say a coal fired power plant or organic waste management in a way that makes the whole process financially attractive and cyclic and if desired it could be made carbon negative. The compact nature of this invention allows algal farms to be sited next to most sources of carbon dioxide.

SUSTAINABLE PHOTOBIOREACTOR

NºPublicación:  WO2025227221A1 06/11/2025
Solicitante: 
14566327 CANADA INC [CA]
14566327 CANADA INC
WO_2025227221_PA

Resumen de: WO2025227221A1

Photobioreactors are described herein. The photobioreactors include a vessel for cultivating microalgae. The vessel defines an interior chamber comprising a culture containing medium. The vessel has at least one transparent wall to permit passage of light of a frequency necessary to promote growth of the microalgae in the culture containing medium. The vessel also includes a plurality of sensors, each sensor being configured to monitor at least one environmental condition within the photobioreactor, and at least one flow generator positioned within the vessel. The photobioreactor also includes a controller communicatively coupled to each of the plurality of sensors and the at least one flow generator. The controller is configured to: receive sensor data from each of the plurality of sensors, apply a mathematical model to the sensor data to determine when to adjust at least one environmental condition within the photobioreactor and adjust one or more components of the photobioreactor.

DEVICE AND METHOD FOR CAPTURING ATMOSPHERIC POLLUTANTS

NºPublicación:  WO2025227212A1 06/11/2025
Solicitante: 
LIFE WORK SERVICOS ESPEC LTDA [BR]
LIFE WORK SERVICOS ESPECIALIZADOS LTDA
WO_2025227212_PA

Resumen de: WO2025227212A1

The invention relates to a structure and method for air purification and addresses a need in the field of sustainability, providing a sustainable alternative for improving air quality with emphasis on the capture of CO2 and carbon monoxide using aquatic organisms, microalgae, and cyanobacteria.

EXTRACELLULAR VESICLES FROM MICROALGAE, THEIR BIODISTRIBUTION UPON INTRANASAL ADMINISTRATION, AND USES THEREOF

NºPublicación:  US2025339483A1 06/11/2025
Solicitante: 
AGS THERAPEUTICS SAS [FR]
AGS THERAPEUTICS SAS
US_2025339483_PA

Resumen de: US2025339483A1

Provided are compositions containing microalgae extracellular vesicles (MEVs) formulated for intranasal delivery, whereby, upon intranasal administration the MEVs traffic through specific routes following intranasal administration to specific regions in the brain via the olfactory nerve and throughout the lateral olfactory tract (LOT) to interconnected brain regions. The MEVs traffic via neuronal axonal transport. The MEVs have the ability to cross-over synapses including: (i) the synapses between the olfactory sensory neurons (OSN) and the mitral/tufted neurons; (ii) the synapses between the mitral/tufted neurons and the local neurons in the various brain regions colonized by the lateral olfactory tract (LOT); and (iii) the synapses between the neurons in the brain regions colonized by the LOT and neurons from the frontal cortex, the hippocampus, the thalamus, and the hypothalamus. The compositions contain extracellular vesicles from microalgae (MEVs) that are loaded with bioactive cargo for treating, detecting, diagnosing, or monitoring a disease, disorder, or condition of the brain or involving the brain, particularly providing neuronal delivery of the cargo. The compositions and methods have a variety of applications as therapeutics and diagnostics for treating, diagnosing, and monitoring a disease, disorder, or condition of the brain or involving the brain. The compositions can be used in methods and uses for treating cancers involving the brain, and can be used, for exa

USE OF MICROALGAE AND MICROALGAE DERIVED COMPONENTS IN CULTIVATED FOOD PRODUCTION

Nº publicación: EP4642253A1 05/11/2025

Solicitante:

WEFORESEA LTD [IL]
Weforesea Ltd

AU_2023416213_PA

Resumen de: AU2023416213A1

Provided herein are methods for cultivated food production involving the use of microalgae. The methods include recycling spent cell media that are used to cultivate cells for cultivated food production as well as enriching culture medium used to cultivate the same cells. The microalgae are used to recycle the spent culture medium. The microalgae may be used to extract microalgae derived components to enrich the culture medium. The algae recycling and algae enriched growth media as provided herein may be used with any animal cell culture. In some variations, the microalgae or microalgae derived components may be used as a raw ingredient in the preparation of cell based seafood products. The methods provided herein may be used for the production of seafood products. The methods herein may provide at least one added advantage—the use of algae may add nutrients, flavors, and aromas typically desired in seafood.

traducir