Ministerio de Industria, Turismo y Comercio LogoMinisterior
 

Alerta

Resultados 1383 resultados
LastUpdate Última actualización 29/10/2025 [07:38:00]
pdfxls
Publicaciones de los últimos 15 días/Last 15 days publications (excluidas pubs. CN y JP /CN and JP pubs. excluded)
Resultados 1 a 25 de 1383 nextPage  

Boitier de protection pour un module électronique, module comportant un tel boîtier et son procédé de fabrication

NºPublicación:  FR3161524A1 24/10/2025
Solicitante: 
SOGEFI AIR & COOLING [FR]
SOGEFI AIR & COOLING
FR_3161524_PA

Resumen de: FR3161524A1

Boitier de protection pour un module électronique, module comportant un tel boîtier et son procédé de fabrication L’invention concerne un boîtier de protection (1), notamment pour module électronique (2) de puissance et/ou de stockage d’énergie électrique, ce boîtier de protection (1) étant formé d’une première (3) et au moins une seconde (3’) parties reliées au niveau d’ailes d’assemblage (4, 4’) périphériques respectives définissant ensemble un plan de jointoiement, ledit boîtier (1) constituant un bouclier de Faraday et étant préférentiellement étanche. Boîtier (1) caractérisé en ce qu’au moins la première partie constitutive (3), comprend un corps métallique consistant en une tôle mince formée ou non, ce corps étant surmoulé d’au moins une matière plastique qui constitue, au moins sur la face extérieure du corps métallique, avantageusement sur chacune des faces extérieure et intérieure du corps métallique, un réseau de nervures de renfort (7) et/ou d’ailes de rigidification (7’) interconnectées. Figure à publier avec l’abrégé : Fig. 1C

Méthode de charge à courant alternatif pour prolonger la durée de vie des connecteurs électriques d’une montre intelligente, chargeur et objet.

NºPublicación:  FR3161516A1 24/10/2025
Solicitante: 
TELECOM DESIGN [FR]
TELECOM DESIGN
FR_3161516_PA

Resumen de: FR3161516A1

La présente invention concerne une nouvelle méthode de charge à contact électrique pour des objets électroniques portatifs, notamment des montres intelligentes. La méthode de l'invention permet de prolonger la durée de vie des connecteurs électriques d’un objet électronique portatif, et la vie de l’objet en lui-même en utilisant du courant alternatif de forme d’onde carrée pour le transfert électrique au niveau du port de charge de l'objet. Fig. 1

Ensemble électrochimique comprenant un capot de maintien d’éléments électrochimiques

NºPublicación:  FR3161508A1 24/10/2025
Solicitante: 
SAFT [FR]
SAFT
FR_3161508_PA

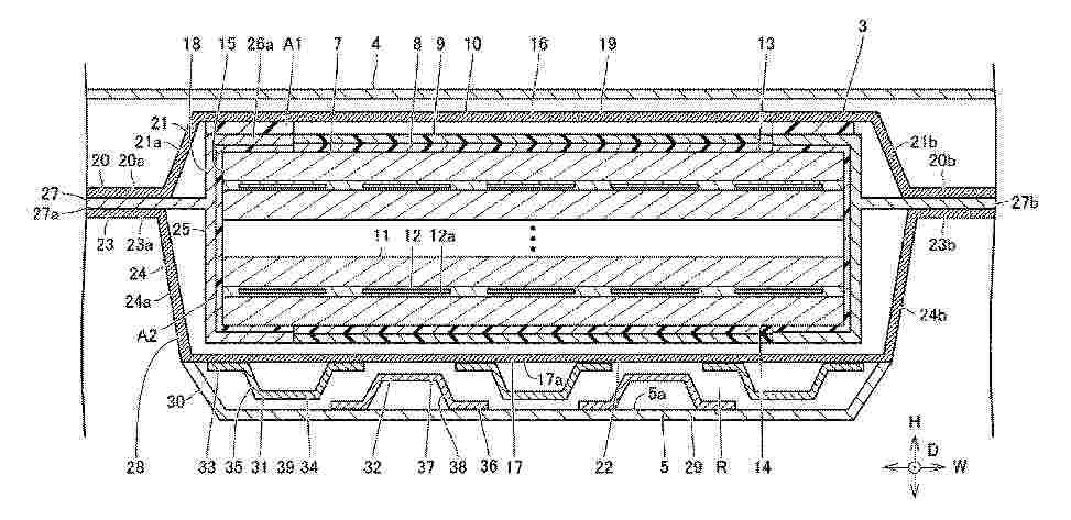
Resumen de: FR3161508A1

Ensemble électrochimique comprenant un capot de maintien d’éléments électrochimiques La présente invention concerne un ensemble électrochimique (10) comprenant : - des éléments électrochimiques (14) ; - des parois longitudinales (20, 22) agencées de part et d’autre des éléments électrochimiques (14) ; - des parois transversales (30, 32) ; - un capot (50) ; les éléments électrochimiques (14) étant maintenus en position selon une direction longitudinale (X) par les parois longitudinales (20, 22) et selon une direction transversale (Y) par les parois transversales (30, 32), le capot (50) étant réalisé en une seule pièce, bloquant le déplacement des éléments électrochimiques (14) selon une direction d’élévation (Z) dans un sens, et comprenant : - une paroi principale (52) comprenant une surface interne (54) en contact direct avec les éléments électrochimique (14) et une surface externe (56) ; et - des nervures (60) s’étendant depuis la surface externe (56). Figure pour l'abrégé : Figure 2

Dispositif de régulation thermique avec collecteur central

NºPublicación:  FR3161507A1 24/10/2025
Solicitante: 
VALEO SYSTEMES THERMIQUES [FR]
VALEO SYSTEMES THERMIQUES
FR_3161507_PA

Resumen de: FR3161507A1

Titre de l’invention : Dispositif de régulation thermique avec collecteur central La présente invention concerne un dispositif de régulation thermique (1) s’étendant dans un plan longitudinal-transversal, comprenant un premier tube (12), un deuxième tube (14) et un collecteur (6), les tubes (12, 14) comprenant des canaux (24) configurés pour la circulation d’un fluide caloporteur répartis en un premier ensemble de circulation (26) et un deuxième ensemble de circulation (28), le collecteur (6) comprenant une entrée de fluide caloporteur (8) et une sortie de fluide caloporteur (10), et un embout commun de raccordement (31) formant un embout de raccordement (30) de l’entrée de fluide (8) et un embout de raccordement (32) de la sortie de fluide (10) du collecteur (6), le dit embout commun (31) étant tourné vers la première extrémité transversale (34),caractérisé en ce que l’embout commun (31) est en plastique, et en ce que le dispositif comprend un premier moyen d’étanchéité (33), par exemple un joint (33) disposé entre l’embout commun (31) et le collecteur (6), ainsi qu’au moins un moyen de fixation (35) de l’embout commun (31) au collecteur (6) configuré pour à comprimer ledit joint (33) entre l’embout commun (31) et le collecteur (6). Figure de l’abrégé : Figure 1

Boîtier de protection pour un module électronique de puissance, module comportant un tel boîtier et son procédé de fabrication

NºPublicación:  FR3161525A1 24/10/2025
Solicitante: 
SOGEFI AIR & COOLING [FR]
SOGEFI AIR & COOLING
FR_3161525_PA

Resumen de: FR3161525A1

Boîtier de protection pour un module électronique de puissance, module comportant un tel boîtier et son procédé de fabrication L’invention concerne un boîtier de protection (1), notamment pour module (2) électronique de puissance et/ou de stockage d’énergie électrique, comprenant une première partie (3) et au moins une seconde partie (3’) assemblées au niveau d’ailes périphériques respectives (3’’) formant un plan de jointoiement (PJ), la première (3) au moins desdites parties (3, 3’) étant constituée d’un corps métallique (4) comportant au niveau d’au moins une zone de surface extérieure au moins un circuit (5) de régulation thermique à liquide. Boîtier de protection (1) caractérisé en ce que ledit ou chaque circuit de régulation thermique (5) est formé par une plaque (6) rapportée en matériau thermoplastique, en ce que cette plaque (6) présente un motif rainuré définissant les gorges du canal ou des canaux de circulation du ou de chaque circuit (5) et en ce que cette plaque (6) est solidarisée indirectement avec ledit corps métallique (4) par une liaison par soudure avec une couche thermoplastique intermédiaire (8) discontinue ou ajourée, surmoulée sur la zone de surface extérieure concernée et présentant un motif rainuré concordant avec le motif rainuré de la plaque en matériau thermoplastique (6) rapportée. Figure à publier avec l’abrégé : Fig. 1

Wärmeübertragungskomponente mit einstellbarer Wärmeleitfähigkeit und Wärmeübertragungsanordnung

NºPublicación:  DE102024111045A1 23/10/2025
Solicitante: 
DEUTSCH ZENTR LUFT & RAUMFAHRT [DE]
Deutsches Zentrum f\u00FCr Luft- und Raumfahrt e.V

Resumen de: DE102024111045A1

Die Erfindung bezieht sich auf eine Wärmeübertragungskomponente (10) mit einstellbarer Wärmeleitfähigkeit, mit einem Wärmeübertragungsraum (14) umfassend ein Wärmeübertragungsvolumen (16) und eine das Wärmeübertragungsvolumen (16) gasdicht einfassende Außenhülle (18), wobei dem Wärmeübertragungsraum (14) eine Einstellanordnung (20) zugeordnet ist, mittels welcher die Wärmeleitfähigkeit des Wärmeübertragungsvolumens (16) steuerbar und/oder regelbar ist, die Einstellanordnung (20) umfassend- eine Reaktionseinheit (21) mit einem separaten Gehäuse (26) und einem darin angeordneten Reaktionsmaterial (22), welches ein reversibles Gas-Feststoff-Reaktionssystem mit einem Gas bildet, und- eine Temperiereinrichtung (24) zur Temperierung des Reaktionsmaterials (22), wobei das Gehäuse (26) mit dem Reaktionsmaterial (22) separat innerhalb der Außenhülle (18) angeordnet ist. Eine besonders langlebige Wärmeübertragungskomponente (10) kann dadurch bereitgestellt werden, dass die Temperiereinrichtung (24) mit dem Reaktionsmaterial (22) in thermischem Kontakt stehend außerhalb der Außenhülle (18) angeordnet ist.

Energiespeichervorrichtung

NºPublicación:  DE102025109844A1 23/10/2025
Solicitante: 
TOYOTA MOTOR CO LTD [JP]
TOYOTA JIDOSHA KABUSHIKI KAISHA

Resumen de: DE102025109844A1

In einer Energiespeichervorrichtung ist eine Vielzahl von Zellen (100) in einer ersten Richtung (D1) angeordnet. Eine Vielzahl von Pufferabschnitte (200) sind auf der Vielzahl von Zellen (100) angeordnet. Jede der eine Vielzahl von Zellen (100) umfasst einen oberen Oberflächenabschnitt (101), der nach oben weist. Der obere Oberflächenabschnitt (101) umfasst eine erste Endkante (102) und eine zweite Endkante (103). Die erste Endkante (102) und die zweite Endkante (103) erstrecken sich entlang einer zweiten Richtung (D2), wobei die zweite Richtung (D2) eine Richtung entlang der horizontalen Richtung und orthogonal zur ersten Richtung (D1) ist. Die Vielzahl von Pufferabschnitten (200) ist voneinander beabstandet auf den oberen Oberflächenabschnitten (101) der Vielzahl von Zellen (100) angeordnet, und mindestens einer von der Vielzahl von Pufferabschnitten (200) ist an mindestens einer von der ersten Endkante (102) und der zweiten Endkante (103) jeder der Vielzahl von Zellen (100) angeordnet.

Kfz-Hochvoltbatterie

NºPublicación:  DE102024111125A1 23/10/2025
Solicitante: 
PORSCHE AG [DE]
Dr. Ing. h.c. F. Porsche Aktiengesellschaft

Resumen de: DE102024111125A1

Die Erfindung bezieht sich auf eine Kfz-Hochvoltbatterie (100) mit einem Batteriegehäuse (20) und einer Vielzahl darin angeordneter identischer Batterie-Rundzellen (10), die durch einen die Zwischenräume zwischen den Batterie-Rundzellen (10) ausfüllenden Vergussmassen-Körper (30) zueinander beabstandet und parallel zueinander in einer einzigen Zellenebene (xy10) gehalten sind, wobei der elektrisch isolierende Vergussmassen-Körper (30) aus einem Material besteht, das eine Umwandlungstemperatur (Tv) von weniger als 300 °C hat, oberhalb der das Material mechanisch instabil ist,wobei in den Zwischenräumen zwischen den Batterie-Rundzellen (10) mehrere separate und temperaturbeständige Abstandshalter (40, 40', 40'', 40'''; 50) vorgesehen sind, die eine Umwandlungstemperatur (Ta) von mehr als 300 °C haben, unterhalb der sie mechanisch stabil sind, und die jeweils mehrere Batterie-Rundzellen (10) beabstandet zueinander halten, wenn der Vergussmassen-Körper (30) mechanisch instabil ist.

ENERGIESPEICHERVORRICHTUNG

NºPublicación:  DE102025111747A1 23/10/2025
Solicitante: 
TOYOTA MOTOR CO LTD [JP]
TOYOTA JIDOSHA KABUSHIKI KAISHA
DE_102025111747_PA

Resumen de: DE102025111747A1

Eine Energiespeichervorrichtung (10) ist an einem Fahrzeug (1) montierbar und umfasst Folgendes: eine Vielzahl von Zellen (100); einen Pufferabschnitt (200); und einen oberen Plattenabschnitt (310). Die Vielzahl von Zellen (100) ist in einer ersten Richtung (D1) angeordnet, wobei die erste Richtung (D1) eine Richtung entlang einer horizontalen Richtung ist. Der Pufferabschnitt (200) ist mit einem oberen Abschnitt (101) jeder der Vielzahl von Zellen (100) verbunden. Der Pufferabschnitt (200) erstreckt sich in der ersten Richtung (D1). Der obere Plattenabschnitt (310) ist über dem Pufferabschnitt (200) angeordnet. Der obere Plattenabschnitt (310) ist mit dem Pufferabschnitt (200) verbunden. Der Pufferabschnitt (200) ist in einer Höhenrichtung (Z) trennbar, wenn eine Zugspannung in der Höhenrichtung (Z) auftritt. Der Pufferabschnitt (200) umfasst einen Startpunktabschnitt (201). Der Startpunktabschnitt (201) dient als Startpunkt der Trennung des Pufferabschnitts (200) an einer Endkante (202) in der ersten Richtung (D1).

Versiegeltes Batteriegehäuse

NºPublicación:  DE102024117293A1 23/10/2025
Solicitante: 
GM GLOBAL TECH OPERATIONS LLC [US]
GM GLOBAL TECHNOLOGY OPERATIONS LLC
DE_102024117293_PA

Resumen de: DE102024117293A1

Batteriegehäusesysteme, Verfahren zum Entlüften von Gasen aus Batterien und Fahrzeuge werden bereitgestellt. Ein Batteriegehäusesystem umfasst einen Träger, eine Abdeckung, eine ringförmige innere Dichtung, die den Träger mit der Abdeckung abdichtet und eine innere umschlossene Kammer und einen ringförmigen äußeren umschlossenen Kanal definiert, und eine Batterie, die sich in der inneren umschlossenen Kammer befindet.

ANODENAKTIVMATERIAL FÜR EINE SEKUNDÄRBATTERIE

NºPublicación:  DE102025115358A1 23/10/2025
Solicitante: 
UNIV YONSEI IACF [KR]
SK ON CO LTD [KR]
INDUSTRY-ACADEMIC COOPERATION FOUNDATION, YONSEI UNIVERSITY,
SK ON CO., LTD

Resumen de: DE102025115358A1

Ein Anodenaktivmaterial für eine Sekundärbatterie gemäß der vorliegenden Offenbarung beinhaltet ein Verbundpartikel, das einen Kern beinhaltet, der Silizium und Metallnanopartikel enthält, die auf einer Außenfläche des Kerns angeordnet sind. Ein Verhältnis des Volumens der Metallnanopartikel zu dem Volumen des Kerns ist größer als 0,22 und 0,4 oder weniger.

Batterieüberwachungsvorrichtung

NºPublicación:  DE102024132470A1 23/10/2025
Solicitante: 
TOYOTA MOTOR CO LTD [JP]
TOYOTA JIDOSHA KABUSHIKI KAISHA

Resumen de: DE102024132470A1

Eine Batterieüberwachungsvorrichtung überwacht eine zusammengesetzte Batterie, in welcher Sätze aus einer Mehrzahl von parallel zueinander geschalteter Batteriezellen in Reihe zueinander geschaltet sind, wobei die Batterieüberwachungsvorrichtung eine Erlangungseinheit, welche derart konfiguriert ist, dass diese eine Spannung der Batteriezelle erlangt, einen Controller, welcher derart konfiguriert ist, dass dieser einen oberen Grenzwert eines durch die Batteriezelle fließenden Stroms steuert, und eine Erfassungseinheit, welche derart konfiguriert ist, dass diese in einem Fall, in dem der obere Grenzwert höher als ein vorbestimmter Wert ist, eine Unterbrechung in der zusammengesetzten Batterie gemäß einem Vergleichsergebnis zwischen der durch die Erlangungseinheit erlangten Spannung und einem ersten Schwellenwert erfasst, umfasst, wobei der Controller derart konfiguriert ist, dass dieser den oberen Grenzwert derart steuert, dass der obere Grenzwert gleich oder kleiner als der vorbestimmte Wert ist, wenn die Erfassungseinheit die Unterbrechung in der zusammengesetzten Batterie erfasst.

ELEKTROLYTZUSAMMENSETZUNG

NºPublicación:  DE102025114810A1 23/10/2025
Solicitante: 
FORD GLOBAL TECH LLC [US]
Ford Global Technologies, LLC

Resumen de: DE102025114810A1

Es wird eine Lithium-Ionen-Batterie mit einer Elektrodenbaugruppe dargestellt. Die Elektrodenbaugruppe weist einen Stromabnehmer und eine positive Aktivmaterialschicht auf dem Stromabnehmer auf. Die Elektrodenbaugruppe weist außerdem einen Elektrolyt auf, der Lithiumhexafluorphosphat und Lithiumbis(fluorsulfonyl)imid in einem Verhältnis von 0,8 M bis 0,2 M und einen fluorierten Phosphazenzusatzstoff von 7 Gew.-% beinhaltet, die in einem Lösungsmittelgemisch aus Ethylencarbonat, Ethylmethylcarbonat und Sulfolan in einem Volumenverhältnis von 25/73/2 aufgelöst sind. Das Elektrolyt durchdringt eine Oberfläche der positiven Aktivmaterialschicht, um eine elektrochemische Oxidation der positiven Aktivmaterialschicht zu unterdrücken.

ENERGIESPEICHERMODUL

NºPublicación:  DE102025106782A1 23/10/2025
Solicitante: 
TOYOTA MOTOR CO LTD [JP]
TOYOTA JIDOSHA KABUSHIKI KAISHA

Resumen de: DE102025106782A1

Ein Energiespeichermodul (1) umfasst: eine gestapelte Elektrodenanordnung (100), die eine Vielzahl von Elektroden (110, 120) umfasst, die in einer ersten Richtung geschichtet sind und mit einer Elektrolytlösung imprägniert sind; und ein Gehäuse (2), das die gestapelte Elektrodenanordnung (100) aufnimmt. Das Gehäuse (2) und die gestapelte Elektrodenanordnung (100) erstrecken sich in einer zweiten Richtung senkrecht zur ersten Richtung. Das Energiespeichermodul (1) umfasst ferner ein plattenförmiges Element (201, 202), das sich in der zweiten Richtung erstreckt und der gestapelten Elektrodenanordnung (100) gegenüberliegend im Gehäuse angeordnet ist. Das plattenartige Element (201, 202) ist so angeordnet, dass eine Dickenrichtung des plattenartigen Elements (201, 202) eine dritte Richtung senkrecht zu der ersten Richtung und der zweiten Richtung ist. Das plattenartige Element (201, 202) hat eine gegenüberliegende Fläche (212, 222), die der gestapelten Elektrodenanordnung (100) gegenüberliegt. Wenigstens ein Abschnitt der gegenüberliegenden Fläche (212, 222) ist entlang der zweiten Richtung gekrümmt oder verzerrt. Die gegenüberliegende Fläche (212, 222), die gekrümmt oder verzerrt ist, bildet einen Raum (S1, S2) zwischen der gegenüberliegenden Fläche (212, 222) und der gestapelten Elektrodenanordnung (100).

ELEKTRISCHE SPEICHERVORRICHTUNG

NºPublicación:  DE102025113485A1 23/10/2025
Solicitante: 
TOYOTA MOTOR CO LTD [JP]
TOYOTA JIDOSHA KABUSHIKI KAISHA
DE_102025113485_PA

Resumen de: DE102025113485A1

Die Größe einer elektrischen Speichervorrichtung wird reduziert. Eine elektrische Speichervorrichtung (1) gemäß der vorliegenden Offenbarung umfasst: eine erste Abdeckung; eine Vielzahl von Batteriezellen (10) mit einem Paar Elektrodenanschlüsse, die über der ersten Abdeckung angeordnet sind, wobei einer der Elektrodenanschlüsse des Paars in einer von zwei Oberflächen angeordnet ist, die einander in einer ersten Richtung zugewandt sind, und der andere der Elektrodenanschlüsse des Paars auf der anderen der Oberflächen angeordnet ist; ein Verstärkungselement (4), das unter den Elektrodenanschlüssen und zwischen der Vielzahl von Batteriezellen (10) angeordnet ist; und eine zweite Abdeckung, die unter der ersten Abdeckung angeordnet ist, wobei die Elektrische Speichervorrichtung (1) ein erstes Verbindungselement (6) umfasst, das so aufgebaut ist, dass es die erste Abdeckung mit der zweiten Abdeckung verbindet, wobei das erste Verbindungselement zwischen der ersten Abdeckung und der zweiten Abdeckung angeordnet ist und mindestens ein Teil des ersten Verbindungselements (6) das Verstärkungselement (4) überlappt, wenn man von oben nach unten schaut.

TEMPERIERKÖRPER UND TEMPERIERANORDNUNG FÜR EINE WIEDERAUFLADBARE BATTERIE, VERWENDUNG EINES TEMPERIERKÖRPERS UND VERFAHREN ZUM EINBRINGEN EINES TEMPERIERKÖRPERS IN EINE BATTERIE

NºPublicación:  DE102024111084A1 23/10/2025
Solicitante: 
WITZENMANN GMBH [DE]
Witzenmann GmbH

Resumen de: DE102024111084A1

Die Erfindung betrifft einen Temperierkörper 1 zum Temperieren von wiederaufladbaren Batterien oder Modulen 2 und/oder Batteriezellen zum Aufnehmen, Speichern und Abgeben von elektrischer Energie, wobei eine Außenhülle des Temperierkörpers 1 im Wesentlichen aus zwei flächigen Kontaktelementen3 gebildet ist, die randseitig umlaufend direkt oder indirekt miteinander verbunden sind und mindestens einen fluidleitenden Hohlraum 9 zwischen sich einschließen, und von denen mindestens eines aus einer Metallplatte oder einem flächigen Formteil aus Metall besteht, deren oder dessen Materialstärke im Verhältnis zu ihrer oder seiner flächigen Ausdehnung oder im Verhältnis zur Ausdehnung und Form des fluidleitenden Hohlraums 9 so gewählt ist, dass die Außenhülle des Temperierkörpers 1 durch Beaufschlagen des fluidleitenden Hohlraums 9 mit Unterdruck oder mit Überdruck verformt werden kann und anschließend durch elastische Rückstellkraft im Wesentlichen wieder in ihre oder seine Ursprungsform zurückkehrtDie Erfindung betrifft auch Temperieranordnungen mit einer Mehrzahl von Temperierkörpern 1 sowie ein Verfahren zum Einbringen von Temperierkörpern, bei dem die Bauhöhe 11 der Temperierkörper 1 zum Einbringen in Spalte zwischen den Modulen 2 der Batterie durch Unterdruck verringert wird, wonach sich die Temperierkörper 1 durch Entfernen des Unterdrucks beidseits an die Module 2 anlegen.

GESTAPELTE ELEKTRODENANORDNUNG UND ENERGIESPEICHERMODUL

NºPublicación:  DE102025111746A1 23/10/2025
Solicitante: 
TOYOTA MOTOR CO LTD [JP]
TOYOTA JIDOSHA KABUSHIKI KAISHA

Resumen de: DE102025111746A1

Eine gestapelte Elektrodenanordnung (100) umfasst eine Vielzahl von Elektroden (110, 120) und eine Vielzahl von Separatoren (130). Jede der Elektroden (110, 120) und jeder der Separatoren (130) sind abwechselnd in einer ersten Richtung gestapelt. Die gestapelte Elektrodenanordnung (100) erstreckt sich in einer zweiten Richtung senkrecht zur ersten Richtung. Die gestapelte Elektrodenanordnung (100) umfasst ferner eine Umfangsfläche (180), die sich in der zweiten Richtung erstreckt. Ein Abschnitt des Separators (130) in einer dritten Richtung senkrecht zur ersten Richtung und zur zweiten Richtung ist länger als ein Abschnitt der Elektrode (110, 120) in der dritten Richtung. Die Umfangsfläche (180) weist eine erste und eine zweite Primärfläche (183, 184) in der ersten Richtung und eine erste und eine zweite Seitenfläche (181, 182) in der dritten Richtung auf, wobei die erste und die zweite Seitenfläche (181, 182) in die erste bzw. zweite Primärfläche (183, 184) übergehen. Der Separator (130) ist auf mindestens einer aus der ersten Seitenfläche (181) und der zweiten Seitenfläche (182) über eine Länge der gestapelten Elektrodenanordnung (100) in der ersten Richtung angeschweißt.

Ereignisbasiertes Oberflächendetektionssystem

NºPublicación:  DE102024110955A1 23/10/2025
Solicitante: 
BASLER AG [DE]
Basler Aktiengesellschaft

Resumen de: DE102024110955A1

Die Erfindung betrifft ein System zur Inspektion von Objekten, umfassend ein Bildaufnahmesystem, ein Transportsystem, das das Bildaufnahmesystem und ein Objekt entlang einer Achse relativ zueinander bewegt, und eine Prozessoreinheit, wobei das Bildaufnahmesystem einen eindimensionalen Bildsensor aufweist, und wobei der eindimensionale Bildsensor bezüglich seiner eindimensionalen Ausdehnung quer zur Richtung der Relativgeschwindigkeit zwischen dem Bildaufnahmesystem und dem Objekt so angeordnet ist, dass das Transportsystem das Bildaufnahmesystem und das Objekt derart relativ zueinander bewegt, dass sich das Objekt durch einen Aufnahmebereich des Bildsensors bewegt, wobei der eindimensionale Bildsensor ein erstes eindimensionales Array mehrerer Pixel umfasst, wobei jeder Pixel eine lichtempfindliche Fläche und eine Pixelelektronik aufweist, die ein Ereignissignal erzeugt, wenn eine durch die lichtempfindliche Fläche des Pixels detektierte Helligkeitsänderung einen Grenzwert überschreitet, wobei die Pixelelektronik das Ereignissignal an die Prozessoreinheit überträgt.

ADDITIVE MANUFACTURING APPARATUS FOR THE PRODUCTION OF AN ELECTROCHEMICAL CELL OR SEMI-FINISHED PRODUCT OF AN ELECTROCHEMICAL CELL, AND PLANT COMPRISING SUCH AN APPARATUS

NºPublicación:  WO2025219852A1 23/10/2025
Solicitante: 
G D S P A [IT]
G.D S.P.A
WO_2025219852_PA

Resumen de: WO2025219852A1

Described is an additive manufacturing apparatus (10) for the production of an electrochemical cell or a semi-finished product of an electrochemical cell, comprising: a) a frame (11) defining a series of production chambers (12, 12a, 12b, 12c, 12x); b) a three-dimensional printing device (13, 13a, 13b, 13c, 13x) for each production chamber (12, 12a, 12b, 12c, 12x) and comprising a plurality of deposition heads (14, 15, 16, 17, 18) and control and movement means (23) associated with the plurality of deposition heads and configured to operate the deposition heads; the deposition heads (14, 15, 16, 17, 18) comprising: - a first head (14) configured to deposit at least a portion of a layer of electrically conductive material for the definition of said anode connector; - a second head (15) configured to deposit at least a portion of a layer of electrically conductive material for the definition of said cathode connector; - a third head (16) configured to deposit at least a portion of a layer of electrically active material to make the anode body; - a fourth head (17) configured to deposit at least a portion of an electrically active layer to make the cathode body; - a fifth head (18) configured to deposit at least a portion of an insulating layer for the passage of electrons for the definition of at least part of the insulating portion for the passage of electrons, c) a support flat surface (20) configured to support the layers consecutively deposited on each other by said deposit

ELECTROCHEMICAL CELL FOR THE STORAGE OF ELECTRIC ENERGY

NºPublicación:  WO2025219858A1 23/10/2025
Solicitante: 
G D S P A [IT]
G.D S.P.A
WO_2025219858_PA

Resumen de: WO2025219858A1

An electrochemical cell (1) for the storage of electrical energy comprises an operating portion (10) in which there is an anodic body (21) with a section having a decreasing area along a development direction in a first direction (V1) of separation from the anodic connector (20) and the cathodic body (31) has a section having a decreasing area along the development direction in a second direction (V2) of separation from the cathodic connector (30). The anodic body (21) has an anodic conductive part (211) connected to the anodic connector (20) and the cathodic body (31) has a cathodic conductive part (311) and connected to the cathodic connector (30); wherein along the development direction, in the first direction (V1), the anodic conductive part (211) has a section with a decreasing area and the cathodic conductive part (311) has a section with an increasing area and the cross-sectional areas of the cathodic conductive part (311) and of the anodic conductive part (211) along the development direction vary respectively as a function of a foreseen or expected electric current, in use, in the cathodic conductive part (311), or of a design electric current of the cathodic conductive part (311), and of a foreseen or expected electric current, in use, in the anodic conductive part (211), or of a design electric current of the anodic conductive part (211).

CATHODE FRAMES FOR USE IN SOLID-STATE BATTERIES

NºPublicación:  WO2025222174A1 23/10/2025
Solicitante: 
QUANTUMSCAPE BATTERY INC [US]
LAZAR ALEXANDRA [US]
QUANTUMSCAPE BATTERY, INC,
LAZAR, Alexandra
WO_2025222174_PA

Resumen de: WO2025222174A1

The present disclosure concerns electrochemical stacks with frames for solid-state cathodes and processes of assembling electrochemical stacks with frames for solid-state batteries.

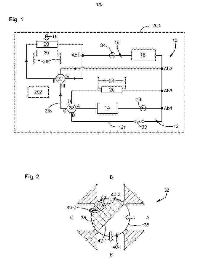
COOLANT CIRCUIT WITH A VALVE DEVICE FOR A PROPORTIONAL COOLANT VOLUME DISTRIBUTION AND MOTOR VEHICLE WITH A COOLANT CIRCUIT OF THIS TYPE

NºPublicación:  WO2025219307A1 23/10/2025
Solicitante: 
AUDI AG [DE]
AUDI AG
WO_2025219307_PA

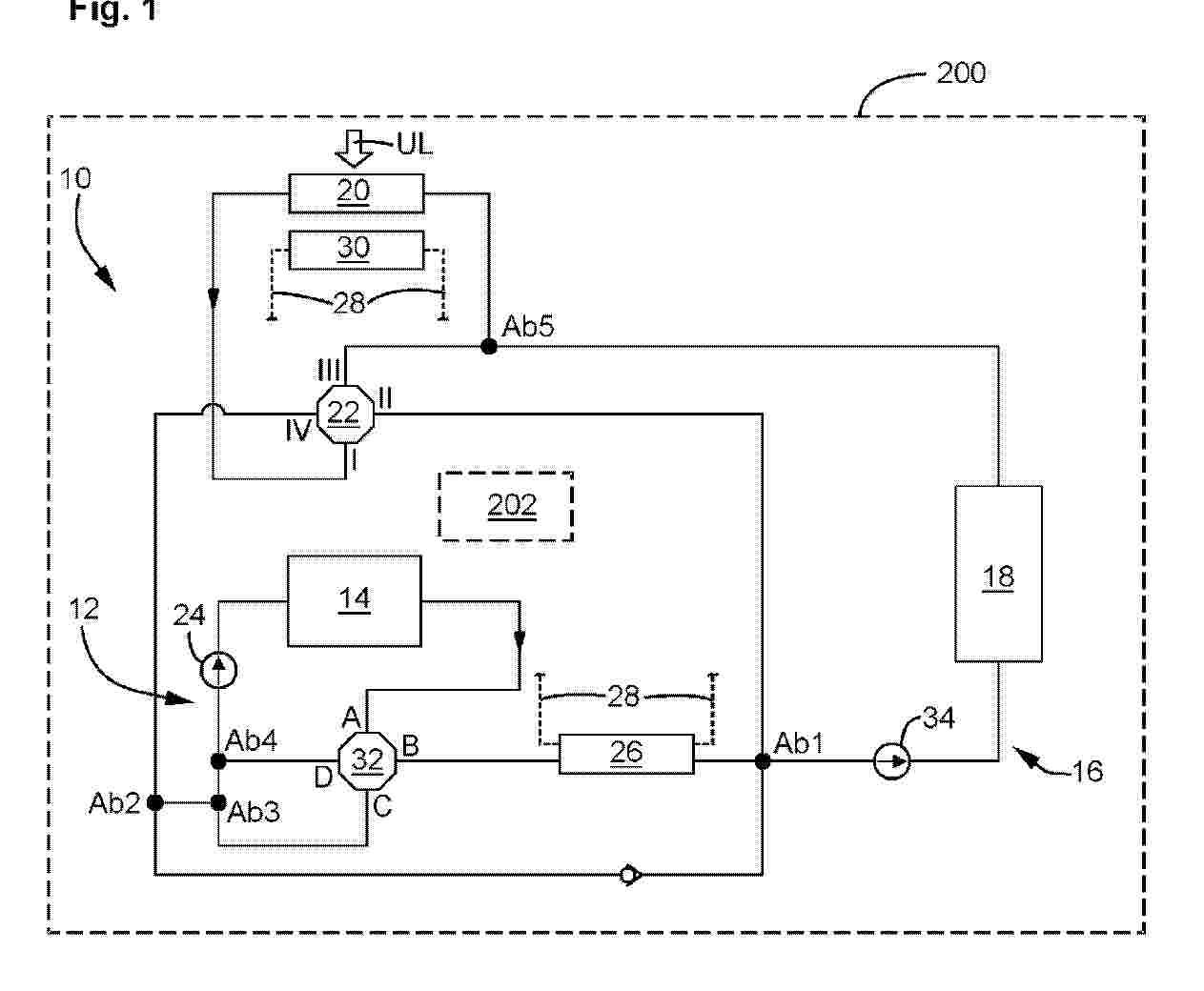
Resumen de: WO2025219307A1

The invention relates to a coolant circuit (10) for an at least partially electrically driven motor vehicle (200), comprising a battery circuit (12) which is designed to cool at least one energy store (14) of the motor vehicle (200); a component circuit (16) which is designed to cool at least one electric drive (18) of the motor vehicle (200); a first heat exchanger (20), in particular a low-temperature cooler, around which ambient air (UL) flows; a first valve device (22) which is designed to conduct coolant from the first heat exchanger (20) to the battery circuit (12) and/or the component circuit (16); at least one coolant pump (24) which is assigned to the battery circuit (12); a second heat exchanger (26), in particular a chiller, which is thermally operatively connected to the battery circuit (12) and through which a refrigerant can flow, wherein the second heat exchanger (26) is arranged in the battery circuit (12) downstream of the energy store (14). According to the invention, a second valve device (32) is arranged in the battery circuit (12) between the energy store (14) and the second heat exchanger (26), the second valve device being designed to conduct a coolant volume flow downstream of the energy store (14) proportionally to the second heat exchanger (26) and to the coolant pump (24). The invention further relates to a motor vehicle (200) having a coolant circuit (10) of this type and to a valve device (32).

VALVE DEVICE FOR PROPORTIONAL COOLANT VOLUME DISTRIBUTION IN A COOLANT CIRCUIT, COOLANT CIRCUIT HAVING A VALVE DEVICE OF THIS TYPE, AND MOTOR VEHICLE HAVING A COOLANT CIRCUIT OF THIS TYPE

NºPublicación:  WO2025219308A1 23/10/2025
Solicitante: 
AUDI AG [DE]
AUDI AG
WO_2025219308_PA

Resumen de: WO2025219308A1

Described is a valve device (32) for a coolant circuit, wherein the valve device is designed with a valve insert (38) having two flow sections (40-1, 40-2) which are fluidically separated from one another, wherein a first flow section (40-1) is designed in such a way that, depending on a valve setting, it is fluidically connected to at least two and at most three valve connections (A, B, C, D) of the valve device (32). According to the invention, a second flow section (40-2) is designed in such a way that, depending on the valve position, it is fluidically connected to only one valve connection (A, B, C, D) and at most two valve connections (A, B, C, D) of the valve device (32). The invention also relates to a coolant circuit (10) of a motor vehicle (200), comprising a valve device (32) of this type, and to a motor vehicle (200) comprising a coolant circuit (10) of this type.

BINDER COMPOSITION FOR AN ELECTROCHEMICAL ENERGY STORAGE DEVICE AND METHOD OF PREPARING THE SAME

NºPublicación:  WO2025219242A1 23/10/2025
Solicitante: 
ARLANXEO HIGH PERFORMANCE ELASTOMERS CHANGZHOU CO LTD [CN]
ARLANXEO DEUTSCHLAND GMBH [DE]
ARLANXEO HIGH PERFORMANCE ELASTOMERS (CHANGZHOU) CO., LTD,
ARLANXEO DEUTSCHLAND GMBH
WO_2025219242_PA

Resumen de: WO2025219242A1

The present invention relates to a binder composition for forming a binder of an electrode of an electrochemical energy storage device, the binder composition comprising a) hydrogenated carboxylated nitrile rubber, wherein the hydrogenated carboxylated nitrile rubber has a content of carboxylic acid groups in a range of > 0,4 mol% to < 6 mol%; and b1) at least one amino-functional silane, wherein the amino-functional silane comprises a silane group with at least two alkoxy substituents; and b2) optionally at least one tetraalkoxy silane.

Stromspeichervorrichtung

Nº publicación: DE102025111038A1 23/10/2025

Solicitante:

TOYOTA MOTOR CO LTD [JP]
TOYOTA JIDOSHA KABUSHIKI KAISHA

DE_102025111038_PA

Resumen de: DE102025111038A1

Eine Stromspeichervorrichtung umfasst: einen gestapelten Körper, der an einem Fahrzeug angebracht ist und durch Stapeln eines Stromspeichermoduls in der Aufwärts-Abwärts-Richtung gebildet wird; und ein Aufnahmegehäuse, das den gestapelten Körper aufnimmt. Das Aufnahmegehäuse umfasst: eine obere Platte, die in einer oberen Gehäusefläche des Aufnahmegehäuses positioniert ist; eine untere Platte, die in einer unteren Gehäusefläche des Aufnahmegehäuses positioniert ist; eine Umfangswand, die die obere Platte und die untere Platte miteinander verbindet; und ein Halteelement. Der gestapelte Körper umfasst: eine obere Fläche; eine untere Fläche; und eine Umfangsfläche, die die obere Fläche und die untere Fläche miteinander verbindet. Das Halteelement weist auf: eine ansteigende Haltewand; und einen Halteflansch. Die ansteigende Haltewand ist so geformt, dass sie die Umfangsfläche bedeckt. Der Halteflansch ist an der ansteigenden Haltewand angeordnet und an der Umfangswand befestigt.

traducir