Ministerio de Industria, Turismo y Comercio LogoMinisterior
 

Alerta

Resultados 1403 resultados
LastUpdate Última actualización 11/04/2026 [07:30:00]
pdfxls
Publicaciones de los últimos 15 días/Last 15 days publications (excluidas pubs. CN y JP /CN and JP pubs. excluded)
previousPage Resultados 472 a 944 de 1403 nextPage  

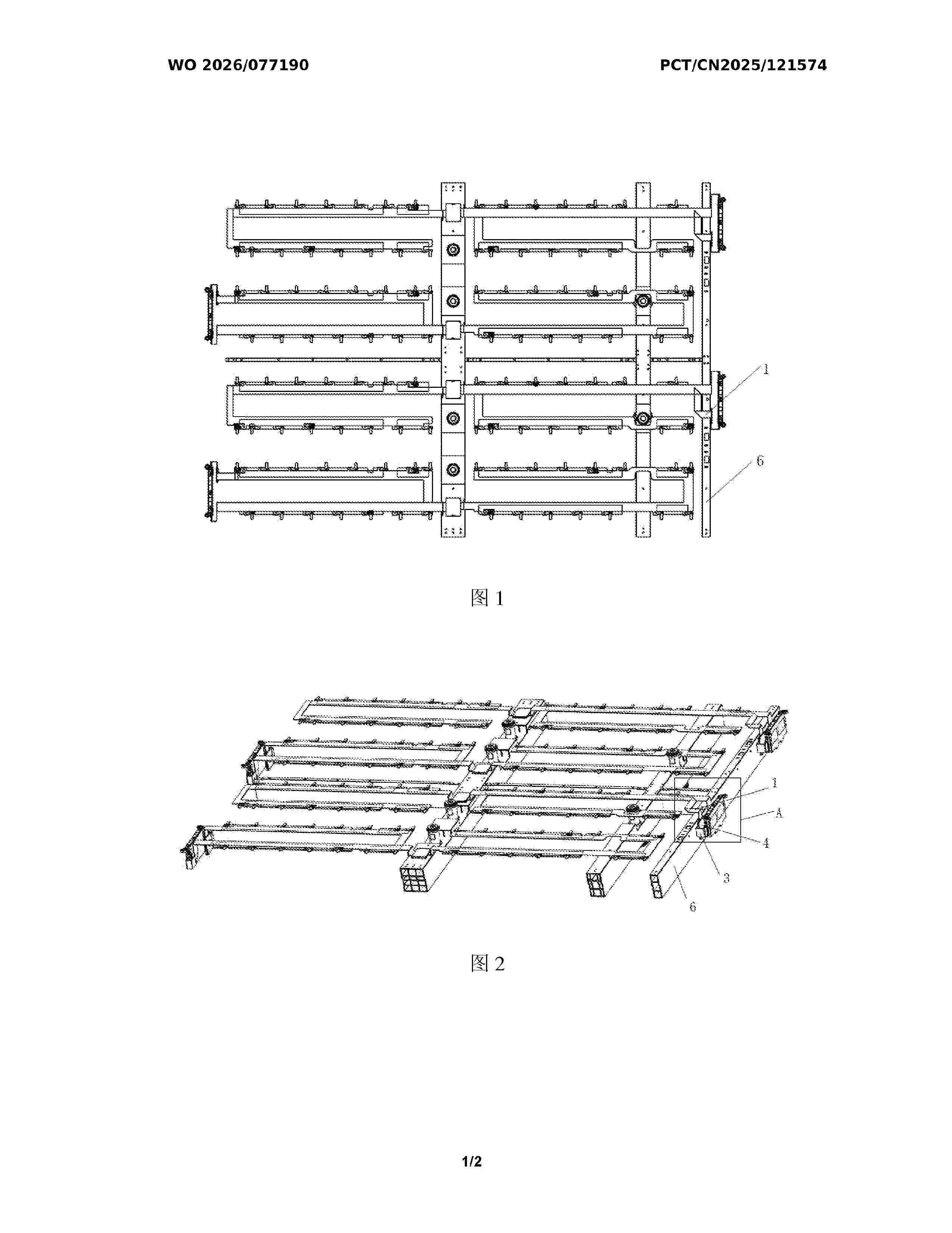
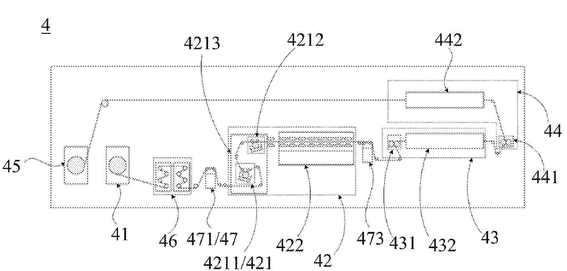
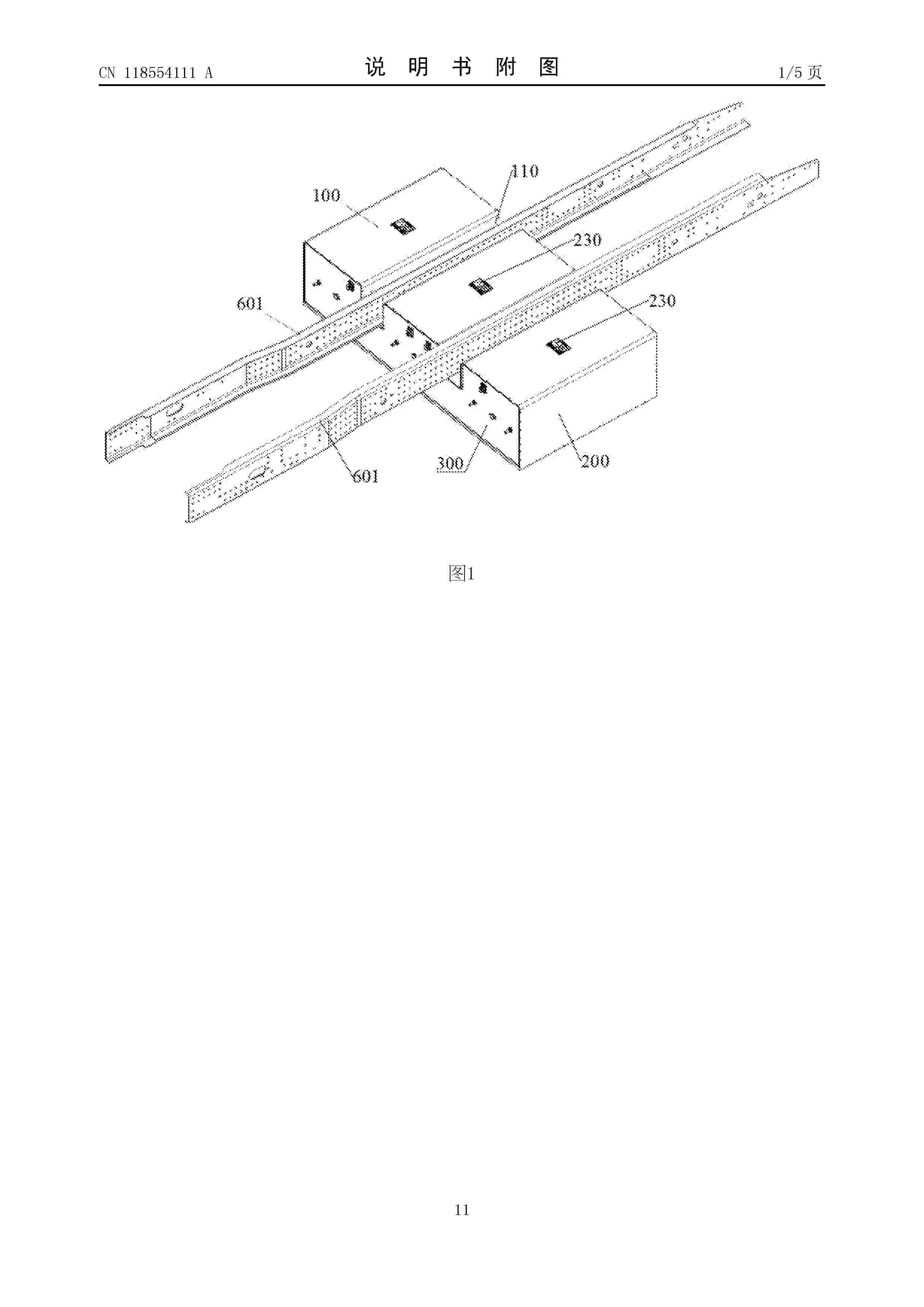
结合线性预测模型的自适应观测方法

NºPublicación:  CN121844264A 10/04/2026
Solicitante: 
舍弗勒技术股份两合公司
CN_121844264_PA

Resumen de: EP1000000A1

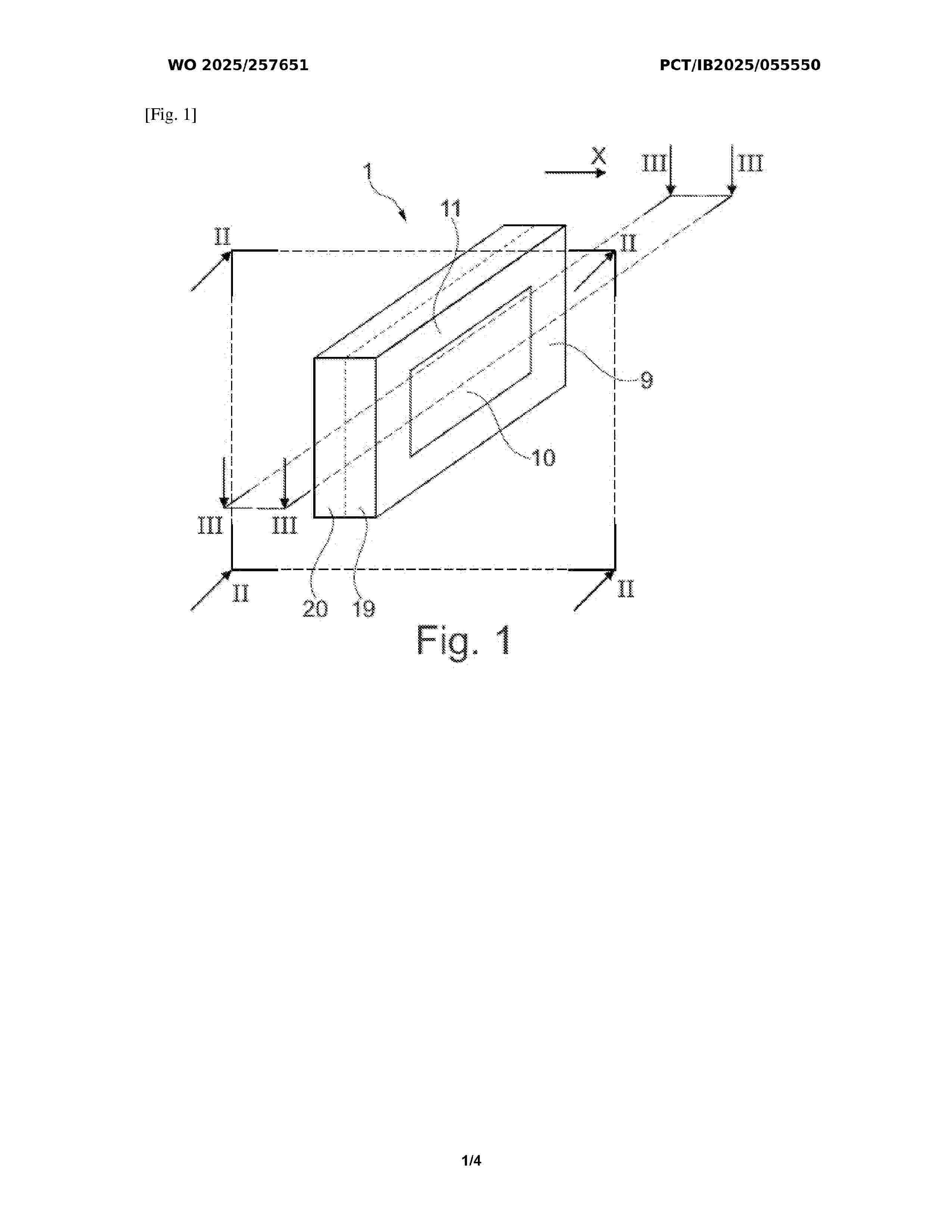
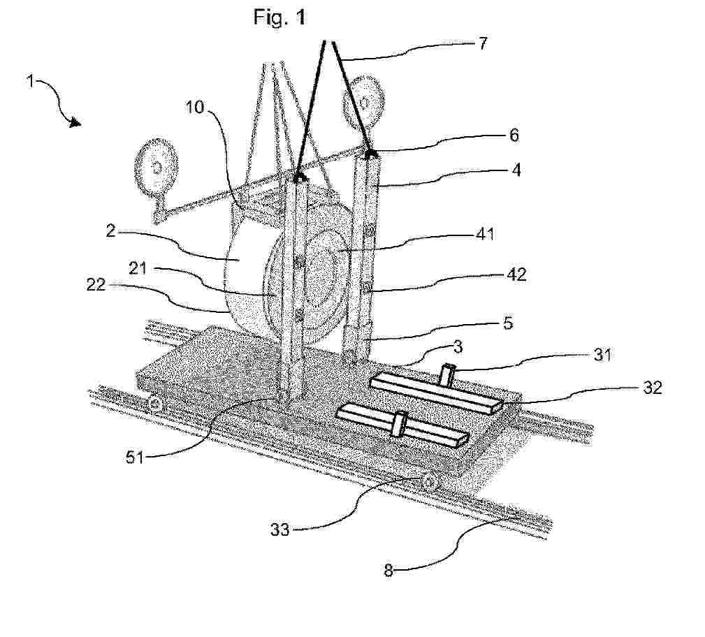
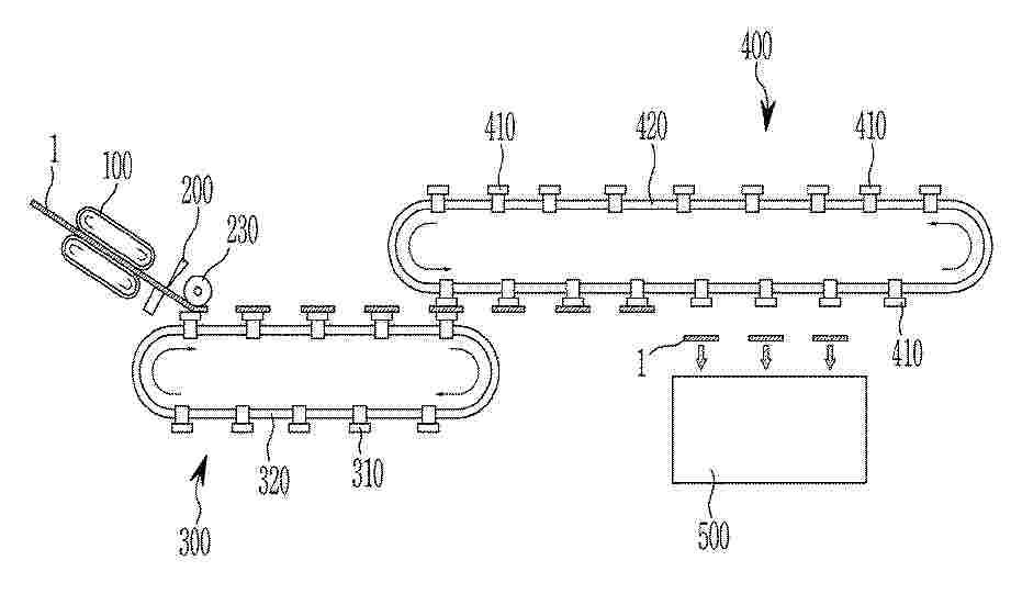
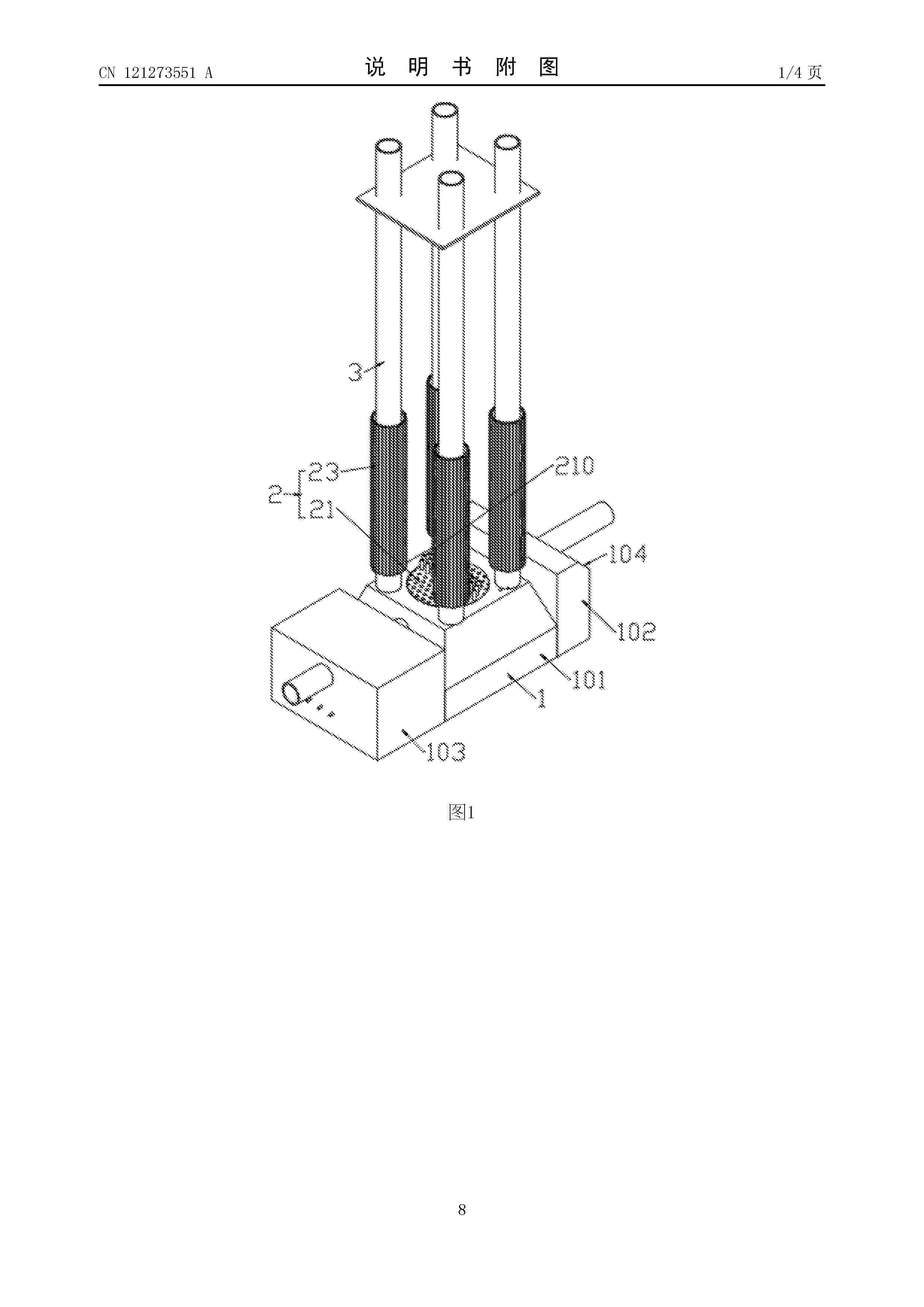
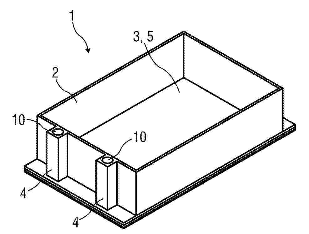
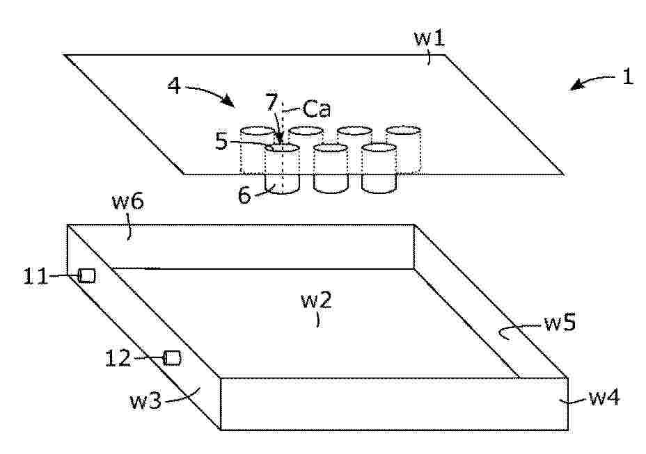
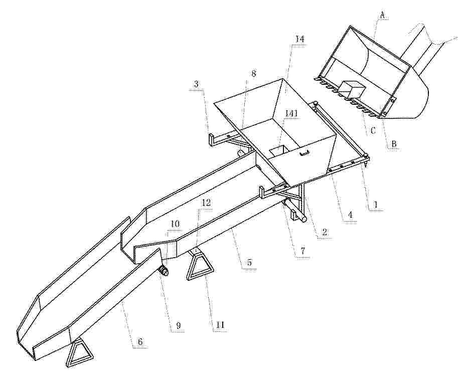
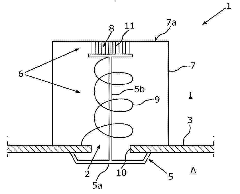
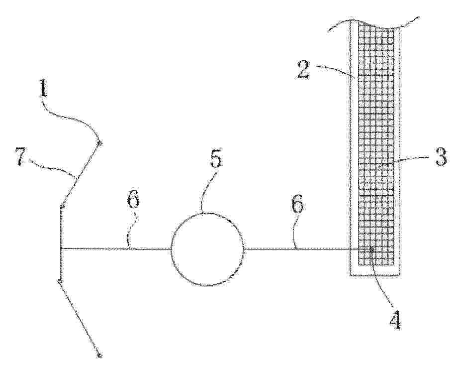
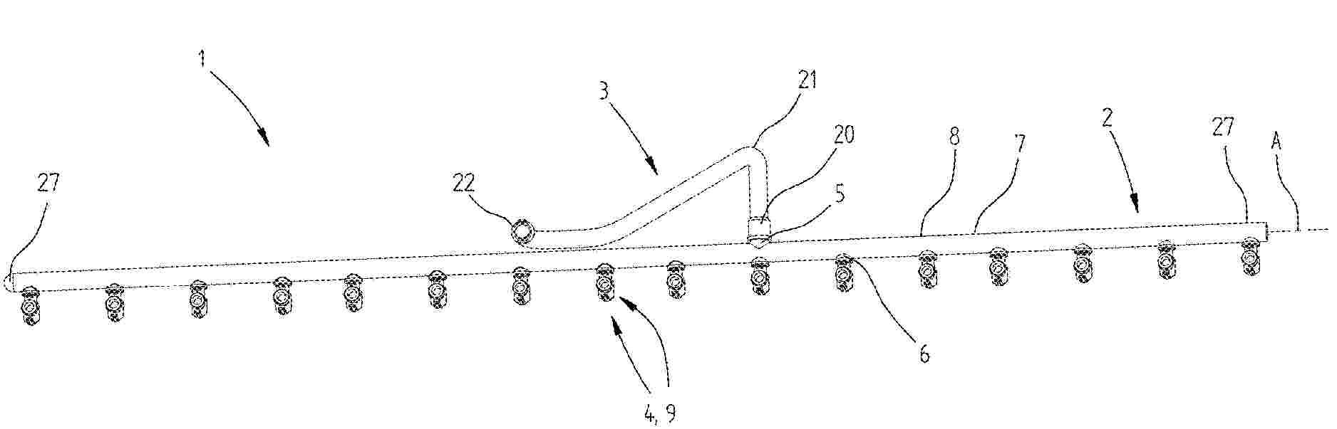
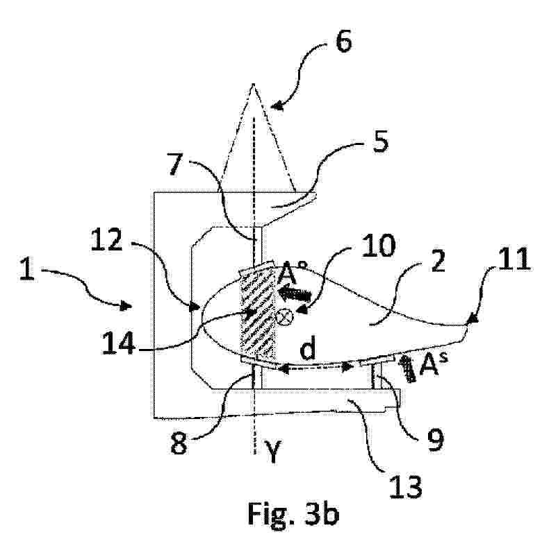
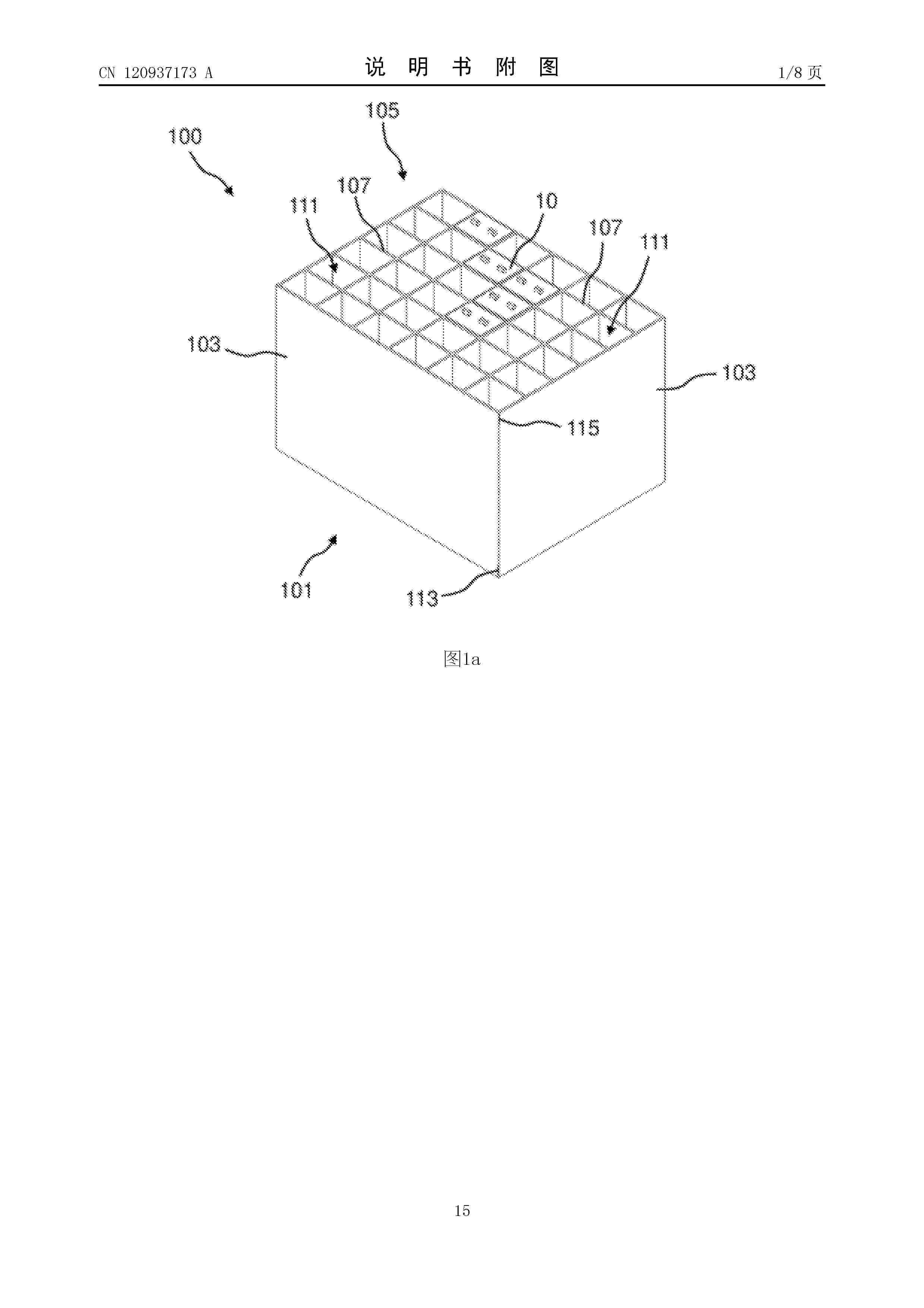
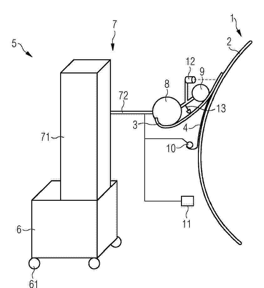
The invention relates to an apparatus (1) for manufacturing green bricks from clay for the brick manufacturing industry, comprising a circulating conveyor (3) carrying mould containers combined to mould container parts (4), a reservoir (5) for clay arranged above the mould containers, means for carrying clay out of the reservoir (5) into the mould containers, means (9) for pressing and trimming clay in the mould containers, means (11) for supplying and placing take-off plates for the green bricks (13) and means for discharging green bricks released from the mould containers, characterized in that the apparatus further comprises means (22) for moving the mould container parts (4) filled with green bricks such that a protruding edge is formed on at least one side of the green bricks.

包括不相容聚合物和/或其他不相容材料的复合材料

NºPublicación:  CN121843809A 10/04/2026
Solicitante: 
科慕埃弗西有限公司
CN_121843809_PA

Resumen de: EP1000000A1

The invention relates to an apparatus (1) for manufacturing green bricks from clay for the brick manufacturing industry, comprising a circulating conveyor (3) carrying mould containers combined to mould container parts (4), a reservoir (5) for clay arranged above the mould containers, means for carrying clay out of the reservoir (5) into the mould containers, means (9) for pressing and trimming clay in the mould containers, means (11) for supplying and placing take-off plates for the green bricks (13) and means for discharging green bricks released from the mould containers, characterized in that the apparatus further comprises means (22) for moving the mould container parts (4) filled with green bricks such that a protruding edge is formed on at least one side of the green bricks.

用于运行阳极子系统的方法、计算机程序产品

NºPublicación:  CN121844422A 10/04/2026
Solicitante: 
罗伯特·博世有限公司
CN_121844422_PA

Resumen de: EP1000000A1

The invention relates to an apparatus (1) for manufacturing green bricks from clay for the brick manufacturing industry, comprising a circulating conveyor (3) carrying mould containers combined to mould container parts (4), a reservoir (5) for clay arranged above the mould containers, means for carrying clay out of the reservoir (5) into the mould containers, means (9) for pressing and trimming clay in the mould containers, means (11) for supplying and placing take-off plates for the green bricks (13) and means for discharging green bricks released from the mould containers, characterized in that the apparatus further comprises means (22) for moving the mould container parts (4) filled with green bricks such that a protruding edge is formed on at least one side of the green bricks.

用于车辆、尤其是商用车辆的燃料电池系统的流动机械的涡旋管、流动机械、燃料电池系统、车辆

NºPublicación:  CN121844123A 10/04/2026
Solicitante: 
采埃孚商用车系统全球有限公司
CN_121844123_PA

Resumen de: EP1000000A1

The invention relates to an apparatus (1) for manufacturing green bricks from clay for the brick manufacturing industry, comprising a circulating conveyor (3) carrying mould containers combined to mould container parts (4), a reservoir (5) for clay arranged above the mould containers, means for carrying clay out of the reservoir (5) into the mould containers, means (9) for pressing and trimming clay in the mould containers, means (11) for supplying and placing take-off plates for the green bricks (13) and means for discharging green bricks released from the mould containers, characterized in that the apparatus further comprises means (22) for moving the mould container parts (4) filled with green bricks such that a protruding edge is formed on at least one side of the green bricks.

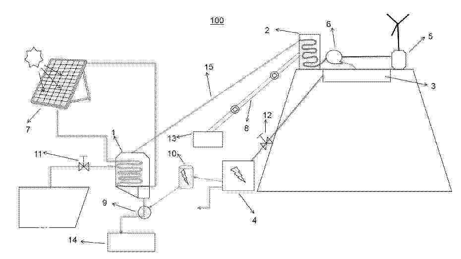
电能制氢及氢能发电的联合装置

NºPublicación:  CN121839949A 10/04/2026
Solicitante: 
内蒙古润泰汇能新能源科技有限责任公司
CN_121839949_PA

Resumen de: EP1000000A1

The invention relates to an apparatus (1) for manufacturing green bricks from clay for the brick manufacturing industry, comprising a circulating conveyor (3) carrying mould containers combined to mould container parts (4), a reservoir (5) for clay arranged above the mould containers, means for carrying clay out of the reservoir (5) into the mould containers, means (9) for pressing and trimming clay in the mould containers, means (11) for supplying and placing take-off plates for the green bricks (13) and means for discharging green bricks released from the mould containers, characterized in that the apparatus further comprises means (22) for moving the mould container parts (4) filled with green bricks such that a protruding edge is formed on at least one side of the green bricks.

一种用于制造电化学电池的双极板的方法以及电化学电池

NºPublicación:  CN121844084A 10/04/2026
Solicitante: 
罗伯特·博世有限公司
CN_121844084_PA

Resumen de: EP1000000A1

The invention relates to an apparatus (1) for manufacturing green bricks from clay for the brick manufacturing industry, comprising a circulating conveyor (3) carrying mould containers combined to mould container parts (4), a reservoir (5) for clay arranged above the mould containers, means for carrying clay out of the reservoir (5) into the mould containers, means (9) for pressing and trimming clay in the mould containers, means (11) for supplying and placing take-off plates for the green bricks (13) and means for discharging green bricks released from the mould containers, characterized in that the apparatus further comprises means (22) for moving the mould container parts (4) filled with green bricks such that a protruding edge is formed on at least one side of the green bricks.

用于燃料电池的双极板、制造方法和燃料电池

NºPublicación:  CN121844421A 10/04/2026
Solicitante: 
罗伯特·博世有限公司
CN_121844421_A

Resumen de: EP1000000A1

The invention relates to an apparatus (1) for manufacturing green bricks from clay for the brick manufacturing industry, comprising a circulating conveyor (3) carrying mould containers combined to mould container parts (4), a reservoir (5) for clay arranged above the mould containers, means for carrying clay out of the reservoir (5) into the mould containers, means (9) for pressing and trimming clay in the mould containers, means (11) for supplying and placing take-off plates for the green bricks (13) and means for discharging green bricks released from the mould containers, characterized in that the apparatus further comprises means (22) for moving the mould container parts (4) filled with green bricks such that a protruding edge is formed on at least one side of the green bricks.

圆形过滤元件和过滤系统

NºPublicación:  CN121843750A 10/04/2026
Solicitante: 
曼·胡默尔有限公司
CN_121843750_PA

Resumen de: EP1000000A1

The invention relates to an apparatus (1) for manufacturing green bricks from clay for the brick manufacturing industry, comprising a circulating conveyor (3) carrying mould containers combined to mould container parts (4), a reservoir (5) for clay arranged above the mould containers, means for carrying clay out of the reservoir (5) into the mould containers, means (9) for pressing and trimming clay in the mould containers, means (11) for supplying and placing take-off plates for the green bricks (13) and means for discharging green bricks released from the mould containers, characterized in that the apparatus further comprises means (22) for moving the mould container parts (4) filled with green bricks such that a protruding edge is formed on at least one side of the green bricks.

一种燃料电池氢能汽车辅助能源系统

NºPublicación:  CN121839750A 10/04/2026
Solicitante: 
内蒙古润泰汇能新能源科技有限责任公司
CN_121839750_PA

Resumen de: EP1000000A1

The invention relates to an apparatus (1) for manufacturing green bricks from clay for the brick manufacturing industry, comprising a circulating conveyor (3) carrying mould containers combined to mould container parts (4), a reservoir (5) for clay arranged above the mould containers, means for carrying clay out of the reservoir (5) into the mould containers, means (9) for pressing and trimming clay in the mould containers, means (11) for supplying and placing take-off plates for the green bricks (13) and means for discharging green bricks released from the mould containers, characterized in that the apparatus further comprises means (22) for moving the mould container parts (4) filled with green bricks such that a protruding edge is formed on at least one side of the green bricks.

催化剂涂覆的膜组分的再循环

NºPublicación:  CN121844069A 10/04/2026
Solicitante: 
庄信万丰股份有限公司
CN_121844069_PA

Resumen de: EP1000000A1

The invention relates to an apparatus (1) for manufacturing green bricks from clay for the brick manufacturing industry, comprising a circulating conveyor (3) carrying mould containers combined to mould container parts (4), a reservoir (5) for clay arranged above the mould containers, means for carrying clay out of the reservoir (5) into the mould containers, means (9) for pressing and trimming clay in the mould containers, means (11) for supplying and placing take-off plates for the green bricks (13) and means for discharging green bricks released from the mould containers, characterized in that the apparatus further comprises means (22) for moving the mould container parts (4) filled with green bricks such that a protruding edge is formed on at least one side of the green bricks.

POWDER COMPOSITION BASED ON AT LEAST ONE FLUOROPOLYMER AND AT LEAST ONE HYDROPHILIC POLYMER FOR A SEPARATOR COATING

NºPublicación:  US20260098177A1 09/04/2026
Solicitante: 
ARKEMA FRANCE [FR]
US_20260098177_A1

Resumen de: US20260098177A1

0000 The present invention relates to a composition comprising a polymer P1 comprising monomer units derived from vinylidene fluoride and optionally a comonomer M1 compatible with vinylidene fluoride and a polymer P2 comprising monomer units derived from a monomer M2 of formula R<1>R<2>C═C(R<3>)C(O)R, in which the substituents R<1>, R<2 >and R<3 >are independently selected from the group consisting of H and a C<1>-C<5 >alkyl; R is selected from the group consisting of —NHC(CH<3>)<2>CH<2>C(O)CH<3 >or —OR′, where R′ is selected from the group consisting of H and a C<1>-C<18>alkyl optionally substituted by one or more —OH groups or a five- or six-membered heterocycle comprising at least one nitrogen atom in its cyclic chain, characterised in that the crystallisation temperature of the composition is Tc<−3.7496x+130, where x is the content, by weight, of the comonomer M1 relative to the total weight of the polymer P1, and in that the composition is in powder form.

Verfahren zur Herstellung eines elektrochemischen Zellenelements, elektrochemisches Zellenelements, elektrochemische Zellenvorrichtung

NºPublicación:  DE102024209735A1 09/04/2026
Solicitante: 
BOSCH GMBH ROBERT [DE]
DE_102024209735_PA

Resumen de: DE102024209735A1

Die Erfindung betrifft ein Verfahren (100) zur Herstellung eines elektrochemischen Zellenelements (10), aufweisend eine elektrochemische Zelle (14), insbesondere Elektrolysezelle (14), sowie einen Interkonnektor (24), wobei die Elektrolysezelle (14) wenigstens drei Funktionsschichten (26) sowie ein metallisches Zellsubstrat (22) aufweist, wobei der Interkonnektor (24) Erhebungen (16) aufweist. Es wird vorgeschlagen, dass der Interkonnektor (24) mit einer Mehrzahl von Mikroschweißverbindung (34) mit dem Zellsubstrat (22) verbunden wird, wobei eine Mikroschweißverbindung (34) jeweils an einer Erhebung (16) angeordnet wird.

GAS SENSOR WITH A SENSOR ELEMENT AND A FLAME ARRESTER AND USE OF THE SAME FOR THE DETECTION OF GASES

NºPublicación:  US20260098845A1 09/04/2026
Solicitante: 
INFINEON TECH AG [DE]
US_20260098845_A1

Resumen de: US20260098845A1

0000 A gas sensor includes a sensor element for the detection of a gas, an encapsulation, which surrounds the sensor element and has an opening for a gas to be detected to pass through to the sensor element, and a flame arrester, which is arranged in the opening of the encapsulation.

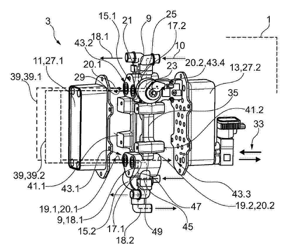
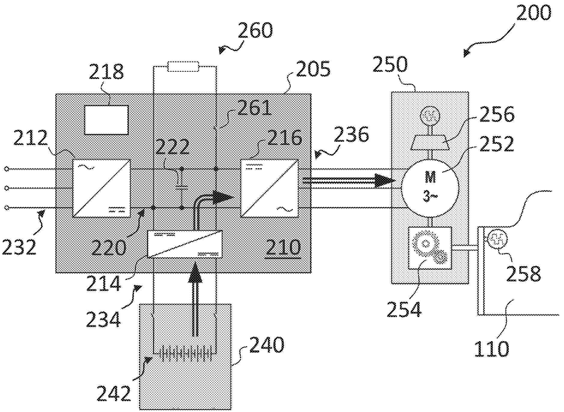
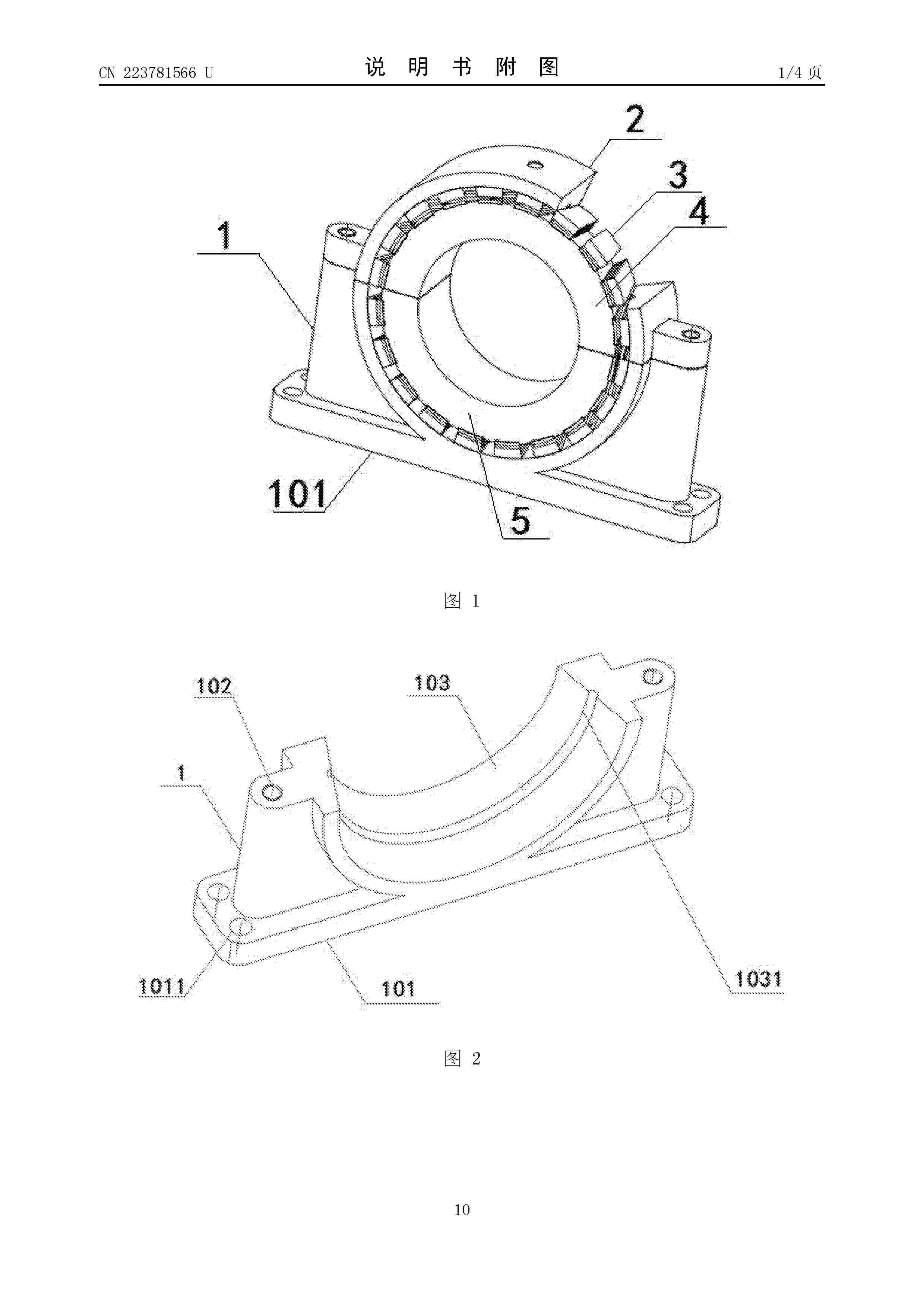
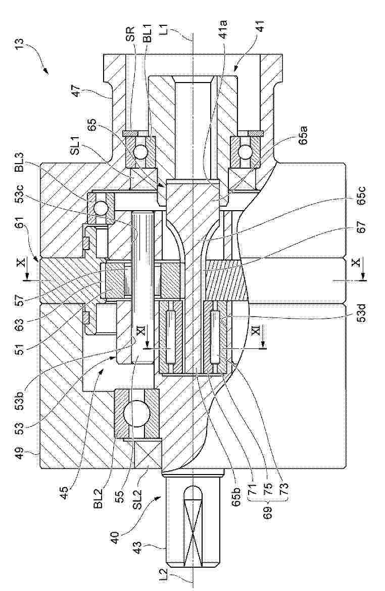
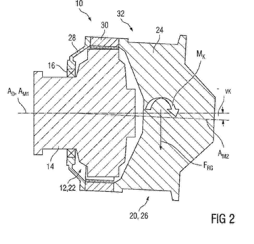
Strömungsmaschine für ein Brennstoffzellensystem mit einem Brennstoffzellenstapel für ein Fahrzeug, insbesondere Nutzfahrzeug, Brennstoffzellensystem und Fahrzeug

NºPublicación:  DE102024126951A1 09/04/2026
Solicitante: 
ZF CV SYSTEMS GLOBAL GMBH [CH]
DE_102024126951_PA

Resumen de: DE102024126951A1

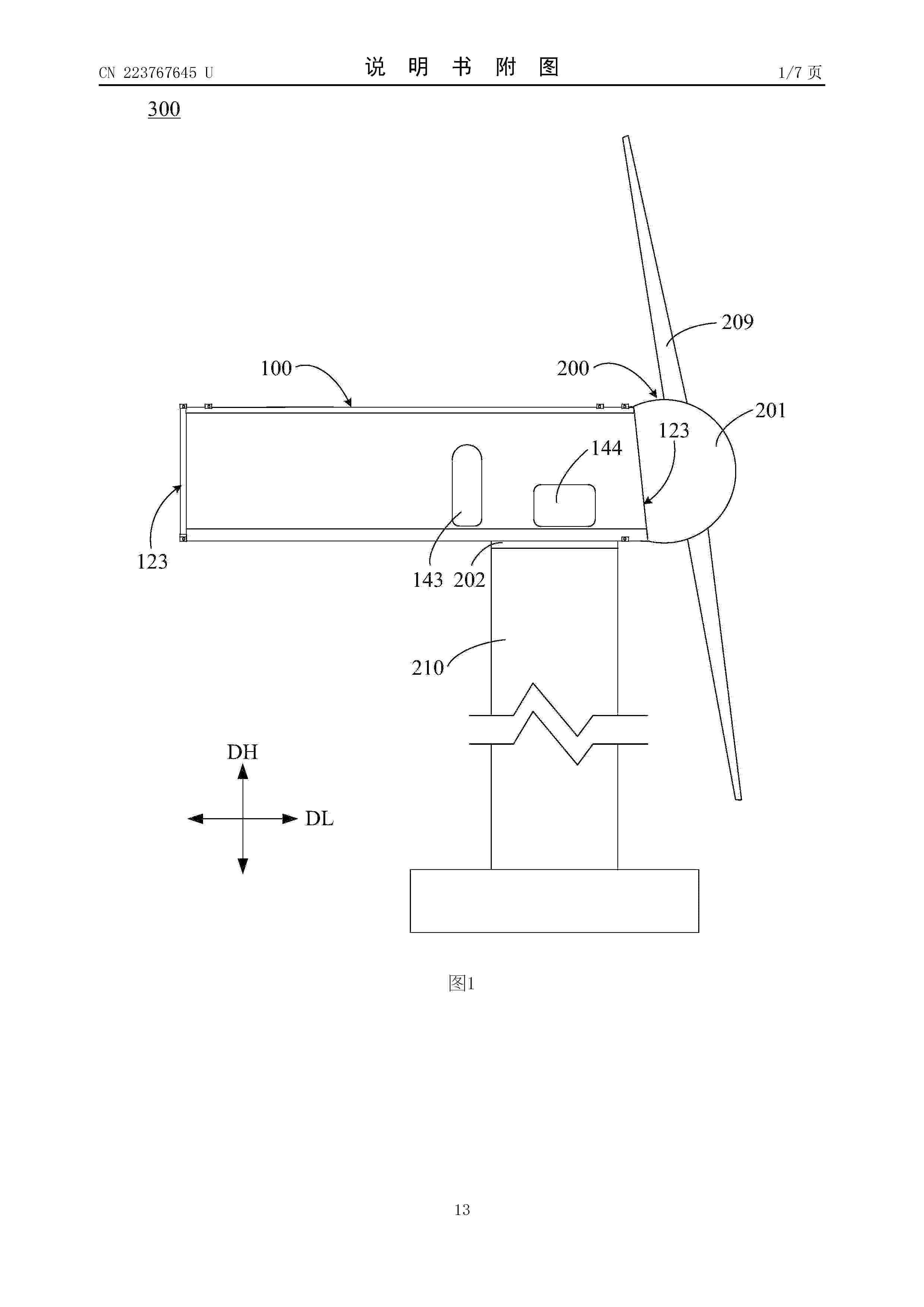
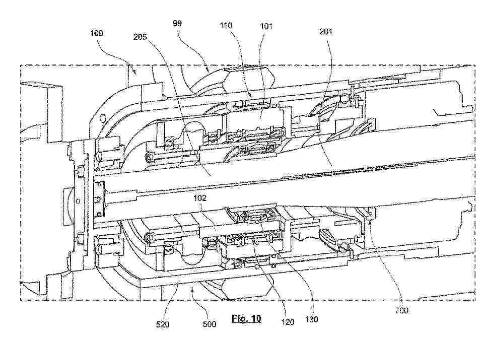
Strömungsmaschine (210) für ein Brennstoffzellensystem (205) mit einem Brennstoffzellenstapel (206) für ein Fahrzeug (200a), insbesondere Nutzfahrzeug (200b); wobei die Strömungsmaschine (210) dazu eingerichtet ist, den Brennstoffzellenstapel (206) kathodenseitig mit einem Luftstrom (240) zu beaufschlagen; die Strömungsmaschine (210) einen elektrischen Antrieb (215) und mindestens ein von dem elektrischen Antrieb (215) antreibbares und mit einer Rotorwelle (214) drehfest verbundenes Verdichterrad (216) zum Ansaugen von Zuluft (239) und zum Bereitstellen des Luftstroms (240) aufweist; die Strömungsmaschine (210) eine Lageranordnung (217) zur Lagerung der Rotorwelle (214) aufweist; und die Strömungsmaschine (210) wenigstens eine Flüssigkeitsleitlippe (220) aufweist; wobei die Flüssigkeitsleitlippe (220) dazu eingerichtet ist, Flüssigkeit (90) innerhalb der Strömungsmaschine (210) um die die Lageranordnung (217) herum zu leiten und/oder einen Transport der Flüssigkeit (90) in Richtung der Lageranordnung (217) zu blockieren.

FUEL PLENUM AND FUEL CELL STACK INCLUDING SAME

NºPublicación:  US20260100393A1 09/04/2026
Solicitante: 
BLOOM ENERGY CORP [US]
US_20260100393_A1

Resumen de: US20260100393A1

0000 A fuel cell stack fuel plenum includes a base plate including an inlet hole and an outlet hole, a dielectric layer disposed on the base plate and including an inlet hole and an outlet hole, a cover plate disposed on the dielectric layer and including an inlet hole and an outlet hole, a seal plate disposed on the cover plate and including an inlet hole and an outlet hole, and a manifold plate disposed on the seal plate. The manifold plate includes a bottom inlet hole and a bottom outlet hole formed in a bottom surface of the manifold plate, top outlet holes and top inlet holes formed in opposing sides of a top surface of the manifold plate, outlet channels fluidly connecting the top outlet holes to the bottom inlet hole, and inlet channels fluidly connecting the top inlet holes to the bottom outlet hole.

IONIC CYCLIC NITROXYL RADICAL OLIGOMERS

NºPublicación:  US20260100415A1 09/04/2026
Solicitante: 
WISCONSIN ALUMNI RES FOUNDATION [US]
US_20260100415_A1

Resumen de: US20260100415A1

Ionic cyclic nitroxyl radical oligomers, methods of making the ionic cyclic nitroxyl radical oligomers, and electrochemical cells, such as aqueous organic redox flow batteries (AORFBs) that use the ionic nitroxyl radical oligomers as catholytes are provided. The oligomers are larger than individual cyclic nitroxyl radical molecules, but maintain a high density nitroxyl radical groups within the molecule. As a result, when the oligomers are used as catholytes in an AORFB, they are able to reduce catholyte permeation through the ion-conducting membrane, while providing a high volumetric capacity and cycling stability.

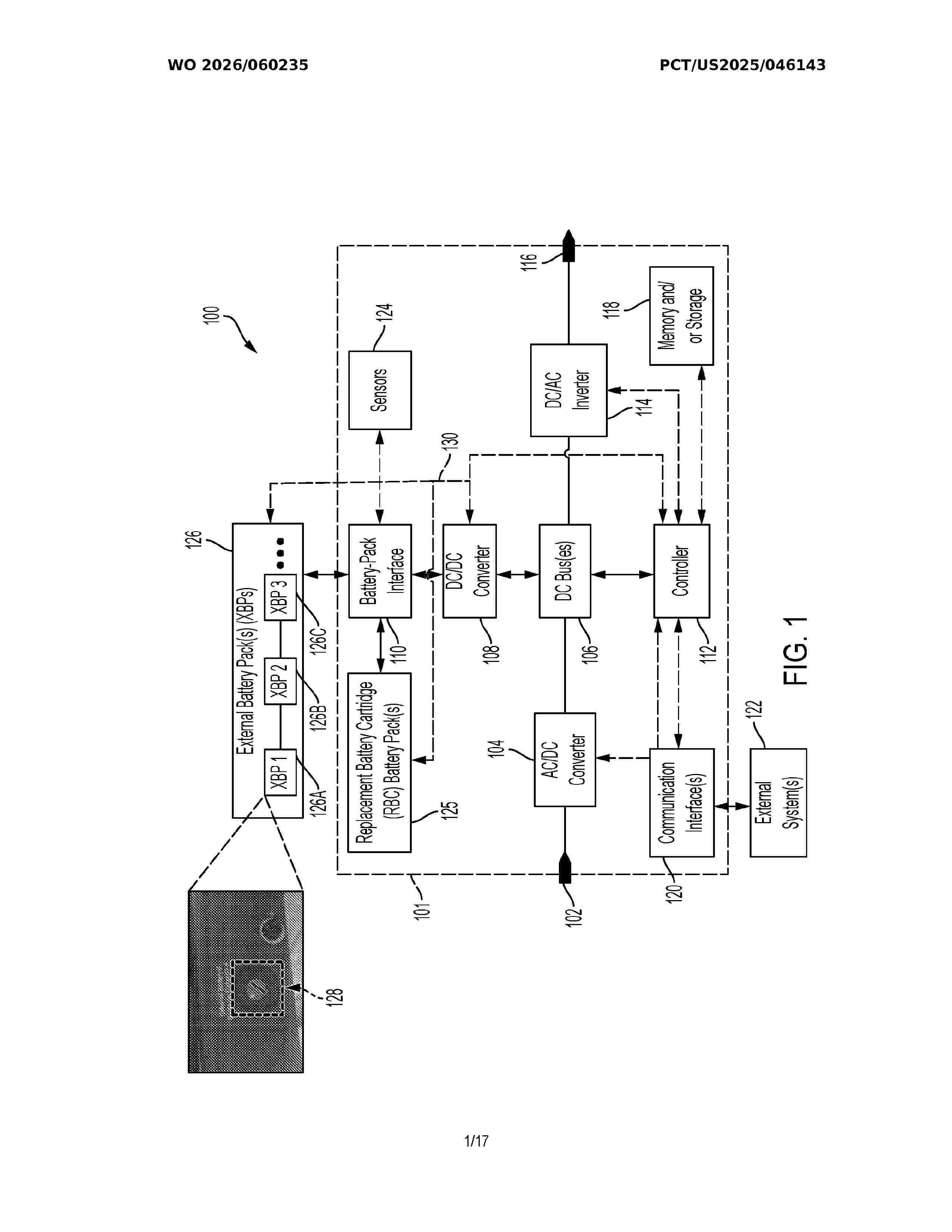
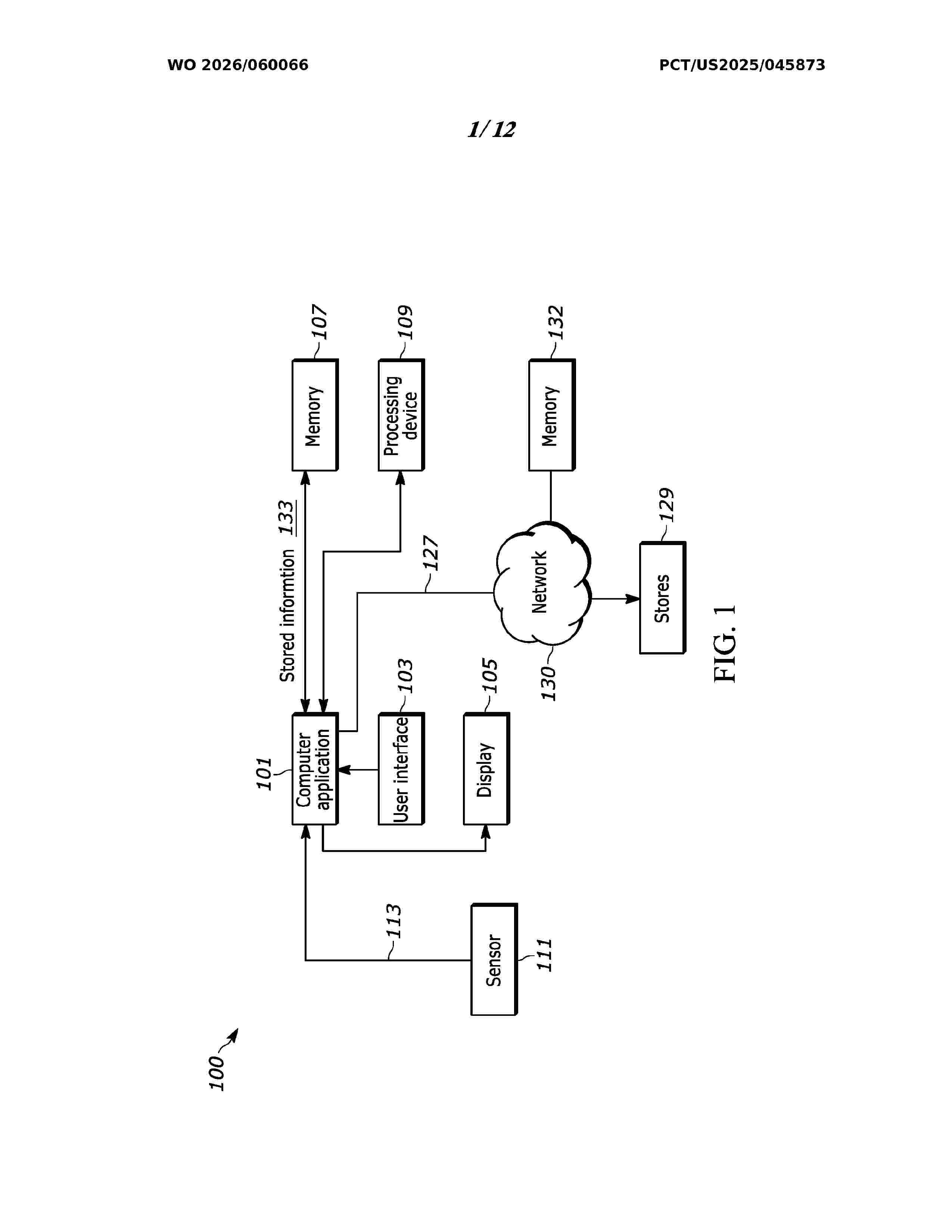
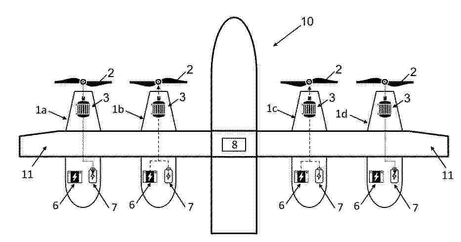
Hydrogen Powered Electric Vertical Take-Off And Landing Aircraft

NºPublicación:  US20260097847A1 09/04/2026
Solicitante: 
JOBY AERO INC [US]
US_20260097847_A1

Resumen de: US20260097847A1

0000 A hydrogen fuel cell powered electric vertical take-off and landing (eVTOL) aircraft with a high efficiency hydrogen fuel system. The eVTOL aircraft may utilized tilt-up rotors for hover flight, which then transition to a forward facing forward flight configuration. The fuel cell system may use one or more compressors to compress air to a sufficiently high pressure for the fuel cell. Liquid hydrogen may be compressed and then utilized in heat exchangers to cool the compressed air, maintaining the air at a temperature low enough for the fuel cell. The hydrogen may also be used to cool the fuel cell as it is also depressurized prior to its entry in the fuel cell cycle.

REFORMER-ELECTROLYZER-PURIFIER (REP) ASSEMBLY FOR HYDROGEN PRODUCTION, SYSTEMS INCORPORATING SAME AND METHOD OF PRODUCING HYDROGEN

NºPublicación:  US20260100390A1 09/04/2026
Solicitante: 
FUELCELL ENERGY INC [US]
US_20260100390_A1

Resumen de: US20260100390A1

A high temperature electrolyzer assembly comprising at least one electrolyzer fuel cell including an anode and a cathode separated by an electrolyte matrix, and a power supply for applying a reverse voltage to the at least one electrolyzer fuel cell, wherein a gas feed comprising steam and one or more of CO2 and hydrocarbon fuel is fed to the anode of the at least one electrolyzer fuel cell, and wherein, when the power supply applies the reverse voltage to the at least one electrolyzer fuel cell, hydrogen-containing gas is generated by an electrolysis reaction in the anode of the at least one electrolyzer fuel cell and carbon dioxide is separated from the hydrogen-containing gas so that the at least one electrolyzer fuel cell outputs the hydrogen-containing gas and separately outputs an oxidant gas comprising carbon dioxide and oxygen.

SULFONATED POLYARYLENE POLYMERS AND USES THEREOF

NºPublicación:  WO2026074106A1 09/04/2026
Solicitante: 
SYENSQO SPECIALTY POLYMERS USA LLC [US]
WO_2026074106_A1

Resumen de: WO2026074106A1

The present invention relates to sulfonated polyarylene polymers and to their use for the manufacture of films, in particular suitable as ion exchange membranes for use in fuel cells, electrolyzers and redox flow batteries.

Brennstoffzellenstapel

NºPublicación:  DE102026103033A1 09/04/2026
Solicitante: 
FEV GROUP GMBH [DE]
DE_102026103033_PA

Resumen de: DE102026103033A1

Die Erfindung betrifft einen Brennstoffzellenstapel (1). Der Brennstoffzellenstapel (1) umfasst eine erste Endplatte (2) mit einem Kühlmitteleingang (11) und einem Kühlmittelausgang (12), eine zweite Endplatte (3), durch die ein Kühlmittelkanal (15) verläuft, und eine Mehrzahl von Brennstoffzellen (4), die zwischen den Endplatten (2, 3) angeordnet sind. Ferner umfasst der Brennstoffzellenstapel (1) zumindest einen Positionierstift (5), der sich durch Positionieröffnungen (6) in den Brennstoffzellen (4) zwischen der ersten Endplatte (2) und der zweiten Endplatte (3) erstreckt und der ein mit Kühlmittel durchströmbares Hohlprofil (26) aufweist, das die erste Endplatte (2) und die zweite Endplatte (3) fluidisch miteinander verbindet.

STACK REACTOR FOR BATCH GRAPHITE INTERCALATION

NºPublicación:  WO2026074162A1 09/04/2026
Solicitante: 
DANISH GRAPHENE APS [DK]
WO_2026074162_A1

Resumen de: WO2026074162A1

The present invention relates to a reactor for intercalating a graphite material, comprising an expandable reaction chamber to allow for expansion of said graphite material during intercalation. The reactor comprises a fluid permeable cathode plate with a fluid permeable separator, and a fluid permeable anode plate. At least one of the cathode and anode plates is biased towards the graphite in the reactor by a biasing element, and is moveably arranged to allow for expansion of the graphite material.

CRASH-WORTHY AND BALLISTICALLY TOLERANT FUEL CELL

NºPublicación:  US20260097858A1 09/04/2026
Solicitante: 
RESPONSE TECH LLC [US]
US_20260097858_A1

Resumen de: US20260097858A1

Embodiments are directed to a crash-worthy and ballistically tolerant fuel cell. According to one embodiment, the fuel cell includes multiple strips of fabric bonded together using a bonding agent to form an enclosure for the storage of fuel. The fuel cell may also include a fuel barrier layer disposed on an inner surface of the enclosure, and an exterior shell layer disposed on an outer surface of the enclosure.

Verfahren und Vorrichtung zur Detektion von Defekten in einem Messobjekt

NºPublicación:  DE102024129070A1 09/04/2026
Solicitante: 
FRAUNHOFER GES FORSCHUNG [DE]
DE_102024129070_PA

Resumen de: DE102024129070A1

Die Erfindung betrifft eine Vorrichtung zur Detektion von Defekten in einem Messobjekt (1), mit einer Strahlungsquelle (2) zum Erzeugen von Messtrahlung, mit einer Messhalterung zum Anordnen des Messobjekts (1) an oder in der Messhalterung und mit einem Detektor (3) zur ortsaufgelösten Messung von Messtrahlung, wobei der Detektor (3) derart mit der Messhalterung zusammenwirkend angeordnet und ausgebildet ist, um bei an oder in der Messhalterung angeordnetem Messobjekt (1) für mehrere ortsverschiedene Messpunkte innerhalb eines Messbereichs (4) auf einer Messseite des Messobjekts Messtrahlung zu erfassen. Wesentlich ist, dass die Strahlungsquelle (2) derart angeordnet und mit der Messhalterung zusammenwirkend ausgebildet ist, um einen Einkoppelbereich (8) der Oberfläche des Messobjekts (1) mit der Messtrahlung zu beaufschlagen, so dass die Messtrahlung innerhalb des Einkoppelbereichs (8) in das Messobjekt (1) eintritt, wobei der Einkoppelbereich (8) außerhalb des Messbereichs (4) angeordnet ist und außerhalb eines des Messbereichs (4) gegenüberliegenden, an der Messrückseite angeordneten Messrückbereichs angeordnet ist. Die Erfindung betrifft weiterhin ein Verfahren zur Detektion von Defekten in einem Messobjekt.

BIOREMEDIATION OF LANTHANIDES AND ACTINIDES WASTES USING MICROBIAL ELECTROCHEMICAL CELL

NºPublicación:  WO2026074574A1 09/04/2026
Solicitante: 
PALICHA KAUSHIK [IN]
SESHADRI HARINIPRIYA [IN]
WO_2026074574_A1

Resumen de: WO2026074574A1

The present disclosure provides a Microbial Electrochemical Cell (MECC) for bioremediation of lanthanides and actinides wastes, wherein the MECC comprises an anode, and a cathode connected by an electrical pathway, wherein the anode and the cathode are connected to an electrical source. A redox mediator is used as the anolyte, preferably the redox mediator is Potassium Ferrocyanide. Waste containing lanthanides and actinides metals or their oxides are leached with a conc. acid to form a leached metal salt precipitate, which was diluted with water and used as catholyte. One or more bacterial strain was added to the catholyte. A constant pulse current is applied to stimulate the bacterial strain to grow as an electrically conductive biofilm on the cathode. The biofilm via its NADP to NADPH pathway releases electron and recovers the lanthanide or actinide metals.

ELECTROCHEMICAL CELL

NºPublicación:  WO2026073323A1 09/04/2026
Solicitante: 
FORTESCUE FUTURE IND PTY LTD [AU]
WO_2026073323_A1

Resumen de: WO2026073323A1

An electrochemical cell comprising a non-electrically conductive structural frame for supporting components of the electrochemical cell and a pressure ring, wherein the structural frame comprises a border defining an electrochemical active area and the pressure ring comprises a border defining the electrochemical active area, wherein the inner face of the structural frame border comprises a rebate comprising an inner riser, a landing and an outer riser, wherein the pressure ring is adapted to reside adjacent the landing and retain at least one of the components of the electrochemical cell between the pressure ring and the structural frame landing and wherein the depth of the structural frame landing is greater than the width of the pressure ring border.

Cu-Co-Containing Electrode and Method of Making

NºPublicación:  US20260100384A1 09/04/2026
Solicitante: 
UTILITY GLOBAL INC [US]
US_20260100384_A1

Resumen de: US20260100384A1

Herein discussed is a method of making a Cu—Co-containing electrode precursor, comprising (a) Providing a mixed-conducting membrane; (b) Depositing a dispersion on the membrane, wherein the dispersion comprises CuO particles and CoCGO particles; and (c) Sintering the CuO and CoCGO particles at a temperature of from 800° C. to 1350° C. to form the Cu—Co-containing electrode precursor. In an embodiment, the mole ratio of Cu to Co is from 3:1 to 70:1. In an embodiment, the mole ratio of Cu to Co is from 10:1 to 50:1. In an embodiment, sintering takes place at a temperature of from 1100° C. to 1250° C.

FOUR-FLUID BIPOLAR PLATE FOR FUEL CELL AND METHODS OF OPERATION

NºPublicación:  US20260100386A1 09/04/2026
Solicitante: 
NIMBUS POWER SYSTEMS INC [US]
US_20260100386_A1

Resumen de: US20260100386A1

0000 A four-fluid bipolar plate for a fuel cell includes a nonporous sub-plate comprising a first reactant half-plate joined to a second reactant half-plate. The nonporous sub-plate includes an internal coolant passage network having coolant flow field passages extending across an active area of the fuel cell. The nonporous sub-plate defines fuel supply and fuel return internal manifolds, oxidant supply and oxidant return internal manifolds, water management supply and water management return internal manifolds, and coolant supply and coolant return internal manifolds. In one embodiment, a method of preventing corrosion at a carbon/metal interface in a fuel cell is disclosed. In other embodiments, a method of operating a four-fluid fuel cell in thermal boost mode is disclosed, and a method of accumulating and retaining product water in a four-fluid fuel cell is disclosed.

INSPECTION DURING THE MANUFACTURE OF MODULES OR PRECURSORS OF MODULES

NºPublicación:  US20260100395A1 09/04/2026
Solicitante: 
MB AUTOMATION GMBH & CO KG [DE]
US_20260100395_A1

Resumen de: US20260100395A1

0000 An inspection device comprises a layer conveyor which has a pickup and a drive in order to pick up a respective individual anode or cathode layer from a transfer location and bring it to a delivery location. A stacking table picks up the anode or cathode layer from the pickup at the delivery location to form a layer stack. The layer conveyor delivers an anode or cathode layer from its pickup to the stacking table at the delivery location. An image sensor is directed towards an area encompassing an upper edge of the layer stack located on the stacking table, which comprises a connection tab of the anode or cathode layer located at the top of the layer stack and performs an image feed before or after the anode or cathode layer is deposited on the stacking table.

COATED MEMBRANE FOR MEMBRANE ELECTRODE ASSEMBLY FOR ANION EXCHANGE MEMBRANE WATER ELECTROLYSIS AND METHODS OF MAKING SUCH

NºPublicación:  US20260097396A1 09/04/2026
Solicitante: 
HYDROYAL AB [SE]
US_20260097396_A1

Resumen de: US20260097396A1

0000 A process for producing a coated membrane for an anionic exchange membrane electrode assembly includes mixing a PGM-free catalyst, an ionomer, and an anhydrous solvent forming a solution, coating a non-fluorinated substrate with the solution forming a coated substrate and drying the coated substrate allowing the anhydrous solvent to evaporate forming a dried coated substrate. The dried coated non-fluorinated substrate is applied to a surface of a hydroxyl-free anion-exchange membrane including non-hydroxyl ions forming a membrane substrate assembly that is pressed using a hot-press. The substrate is removed from the pressed membrane substrate assembly forming a coated membrane. The non-hydroxyl ions in the anionic exchange membrane are replaced by hydroxyl ions by soaking the coated membrane in a hydroxyl ion solution.

Dual-Pole Aluminum-Air Fuel Cell

NºPublicación:  US20260100451A1 09/04/2026
Solicitante: 
LAFE OLURINDE EBENEZER [US]
FUEL CELLS GLOBAL LTD [US]
US_20260100451_A1

Resumen de: US20260100451A1

0000 A method and apparatus for generating electricity using an electrochemical dual-pole fuel cell with a coiled aluminum wire disc as the anode, dual air-cathodes, and dual bioplastic electrolyte discs. The invention teaches the use of inexpensive materials and simplified dual-pole fuel cell construction and assembling of fuel cells into modules, and modules into electricity generators.

A COMPONENT FOR AN ELECTROCHEMICAL DEVICE

NºPublicación:  WO2026074276A1 09/04/2026
Solicitante: 
BRAMBLE ENERGY LTD [GB]
WO_2026074276_A1

Resumen de: WO2026074276A1

The present disclosure provides a component (201) for an electrochemical device. The component comprises a Membrane Electrode Assembly (MEA) (113) comprising at least one ion permeable membrane, at least one anode, and at least one cathode. The one or more anodes are arranged on a first surface of the ion permeable membrane and the one or more cathodes are arranged on a second surface of the ion permeable membrane. The component also comprises a cathode plate (101) comprising a first insulating layer between a first conductive layer and a second conductive layer, the first conductive layer comprising the first fluid path. The component also comprises an anode plate (102) comprising a second insulating layer between a third conductive layer and a fourth conductive layer, the third conductive layer comprising the second fluid path. The MEA is located between the first conductive layer of the cathode plate (101) and the third conductive layer of the anode plate (102) so that the first fluid path is arranged such that a fluid can flow to or from the one or more cathodes and so that the second fluid path is arranged such that a fluid can flow to or from the one or more anodes.

AIR COMPRESSOR WITH INTEGRATED HEAT EXCHANGER FOR FUEL CELL

NºPublicación:  WO2026075752A1 09/04/2026
Solicitante: 
GARRETT TRANSP I INC [US]
WO_2026075752_A1

Resumen de: WO2026075752A1

A system comprising a fuel cell (200) and a compressor (100). The compressor (100) comprises a compressor wheel (102), an expander wheel (104) and a motor (150) configured to receive electrical power from the fuel cell (200). The compressor (100) includes a first channel for channeling air exiting from the compressor wheel (102) to the fuel cell (200) via a heat exchanger (250) and a second channel configured to channel air exiting from the fuel cell (200) to the expander wheel (104) via the heat exchanger (250).

METHOD FOR MANUFACTURING REINFORCED COMPOSITE MEMBRANE AND REINFORCED COMPOSITE MEMBRANE OBTAINED THEREBY

NºPublicación:  US20260100392A1 09/04/2026
Solicitante: 
KOREA INSTITUTE OF ENERGY RES [KR]
US_20260100392_A1

Resumen de: US20260100392A1

0000 The present disclosure relates to a method for manufacturing a reinforced composite membrane and a reinforced composite membrane obtained thereby. The method for manufacturing a reinforced composite membrane can minimize a difference in hydrophilicity and hydrophobicity between a porous support and a hydrocarbon-based polymer electrolyte and can improve the impregnation property of a polymer electrolyte.

FUEL CELL VEHICLE AND METHOD OF CONTROLLING THE SAME

NºPublicación:  US20260100389A1 09/04/2026
Solicitante: 
HYUNDAI MOTOR COMPANY [KR]
KIA CORP [KR]
US_20260100389_A1

Resumen de: US20260100389A1

0000 Disclosed are a fuel cell vehicle and a method of controlling the same. The fuel cell vehicle includes a battery, a cell stack configured to provide stack voltage, a load connected to the battery and the cell stack, a multiphase converter configured to adjust a voltage range between the cell stack and the battery and including first to Nth (where N is a positive integer of 2 or greater) current paths connected to the cell stack and connected in parallel to each other, and a main controller configured to control the multiphase converter to allow alternating current to sequentially flow through the first to Nth current paths when measurement of the impedance of the cell stack is required.

FRAME FOR A MEMBRANE ELECTRODE ASSEMBLY OF A FUEL CELL, AND ASSOCIATED MEMBRANE ELECTRODE ASSEMBLY, STACK, FUEL CELL AND VEHICLE

NºPublicación:  WO2026074169A1 09/04/2026
Solicitante: 
SYMBIO FRANCE [FR]
WO_2026074169_A1

Resumen de: WO2026074169A1

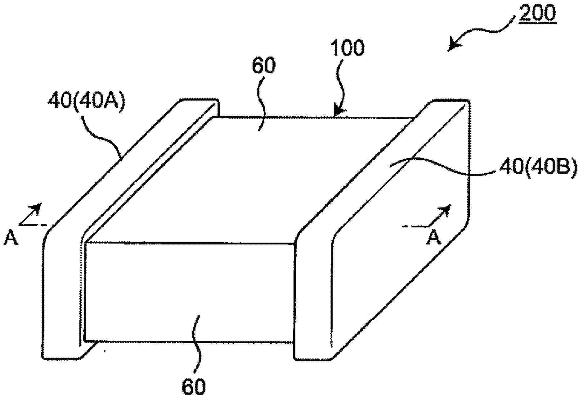
The present invention relates to a peripheral frame (76) for a membrane electrode assembly (50). The frame comprises pairs of frame orifices (59a, 59b, 59c), each pair of frame orifices consisting of a single frame supply orifice (51a, 51b, 51c) and a single frame discharge orifice (53a, 53b, 53c) for the flow of a single given functional fluid, the frame supply orifice and the frame discharge orifice being arranged symmetrically opposite one another, one of the pairs of frame orifices (59a) being a symmetrical pair of frame orifices with respect to a frame center axis (A50) and another of the pairs of frame orifices (59b, 59c) being an asymmetrical pair of frame orifices with respect to the frame center axis (A50).

METHOD FOR THE PREPARATION OF A CATALYST COATED MEMBRANE (CCM)

NºPublicación:  WO2026074001A1 09/04/2026
Solicitante: 
BASF SE [DE]
WO_2026074001_A1

Resumen de: WO2026074001A1

5 The present invention relates to a method for the preparation of a catalyst coated membrane (CCM), wherein the method comprises the steps a) to d). In addition, the present invention relates to a catalyst coated membrane (CCM) obtained by the inventive process and to its use in fuel cells and electrolyzers.

SINGLE CHANNEL LIQUID MEMBRANE CELL ASSEMBLIES

NºPublicación:  US20260100387A1 09/04/2026
Solicitante: 
SKIP TECH INC [US]
US_20260100387_A1

Resumen de: US20260100387A1

0000 Single channel liquid membrane cell assemblies and cell bodies are disclosed. In some embodiments, the single channel liquid membrane cell assembly includes an elongate cell body having an elongate opening, a first bipolar plate adjacent the cell body, and a first gas diffusion electrode disposed between the cell body and the first bipolar plate. The first gas diffusion electrode spans across the entire length and width of the elongate opening of the cell body. The single channel liquid membrane cell assembly additionally includes a second bipolar plate adjacent the cell body such that the cell body is disposed between the first and second bipolar plates. The elongate opening horizontally defines an open area and the first gas diffusion electrode and the second bipolar plate vertically define the open area therebetween.

CRASH-WORTHY AND BALLISTICALLY TOLERANT FUEL CELL FABRICATING METHOD

NºPublicación:  US20260100385A1 09/04/2026
Solicitante: 
RESPONSE TECH LLC [US]
US_20260100385_A1

Resumen de: US20260100385A1

Embodiments are directed to a method for fabricating a fuel cell. According to one embodiment, the fuel cell fabricating method includes the steps of laying up multiple strips of fabric over a mold to form an enclosure for the storage of fuel, and bonding the strips to one another using a bonding agent. When the bonding agent has cured, the mold may be removed from the enclosure.

DISTRIBUTED CAPACITIVE ENERGY STORAGE FOR FLOW BATTERIES

NºPublicación:  US20260100388A1 09/04/2026
Solicitante: 
MICROSOFT TECH LICENSING LLC [US]
US_20260100388_A1

Resumen de: US20260100388A1

0000 “Purely electrical” solutions to power oscillations involve expensive storage techniques (e.g., batteries and/or capacitors) or wasted energy in “dummy loads” (e.g., resistive banks and/or heaters). Some power delivery systems may incorporate flow batteries as part of the energy storage and delivery solution, particularly using piped electrolyte to distribute power directly to storage racks. For longer duration fluctuations in power consumption, flow batteries may store power during off-peak demand periods and release power during peak demand periods. However, flow batteries typically do not react fast enough to compensate for rapid fluctuations in power consumption. The presently disclosed technology utilizes the pipework of electrolyte distribution systems in place for the flow battery as a distributed electrolytic capacitor. This form of “fast” energy storage is ideally suited to complement “slow” chemical energy storage of a flow battery and is thus capable of acting as a power-smoothing solution and a UPS supplement or replacement.

Brennstoffzellensystem und Verfahren zum Betreiben eines Brennstoffzellensystems

NºPublicación:  DE102026103034A1 09/04/2026
Solicitante: 
FEV GROUP GMBH [DE]
DE_102026103034_PA

Resumen de: DE102026103034A1

Die Erfindung betrifft ein Brennstoffzellensystem (3), umfassend zumindest einen Brennstoffzellenstapel (4) mit einer ersten Endplatte (5), einer zweiten Endplatte (6), einer Mehrzahl von Brennstoffzellen (7), die zwischen der ersten Endplatte (5) und der zweiten Endplatte (6) angeordnet sind, einem ersten Temperatursensor (8), der dazu ausgebildet ist, eine Temperatur der ersten Endplatte (5) zu messen, und mit einem zweiten Temperatursensor (9), der dazu ausgebildet ist, eine Temperatur der zweiten Endplatte (6) zu messen. Das Brennstoffzellensystem (3) umfasst ein Steuergerät (14), das dazu ausgebildet und eingerichtet ist, anhand von mit dem ersten und zweiten Temperatursensor (8, 9) erfassten Temperaturdaten und Daten über eine in den Brennstoffzellenstapel (4) eingebrachten Wärmeleistung lokale Zelltemperaturen der einzelnen Brennstoffzellen (7) zu verschiedenen Zeitpunkten während eines Startvorgangs des Brennstoffzellensystems (3) zu prognostizieren. Ferner betrifft die Erfindung ein Verfahren zum Betreiben eines entsprechenden Brennstoffzellensystems (3).

STRING INSTRUMENTATION MODULE

NºPublicación:  WO2026076339A1 09/04/2026
Solicitante: 
BALLARD POWER SYSTEMS INC [CA]
BALLARD MAT PRODUCTS INC [US]
WO_2026076339_A1

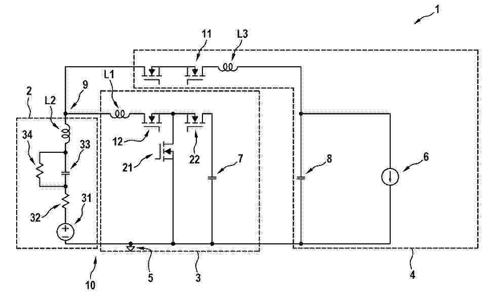
Resumen de: WO2026076339A1

A monitoring system includes analog-to-digital converters that are isolated from each other and a microcontroller with digital isolation barriers. CAN identifiers (IDs) are hardwired into a harness so that units can be swapped without any reprogramming. Channels are configured to create significant voltage shifts when a voltage sensing wire in a harness is loose or disconnected, and the system responds to such voltage shifts as a fault. Each fuel cell voltage input channel is set up to precisely and accurately measure voltages of plus and minus 250 VDC; however, the fuel cell voltage input channels are tolerant to voltages up to 1500 VDC without damage.

POWER SOURCE ASSEMBLY FOR ELECTRIC MACHINE

NºPublicación:  US20260100394A1 09/04/2026
Solicitante: 
GE MARMARA TECH CENTER MUHENDISLIK HIZMETLERI LTD [TR]
GENERAL ELECTRIC DEUTSCHLAND HOLDING GMBH [DE]
US_20260100394_A1

Resumen de: US20260100394A1

A power source assembly includes a plurality of strings electrically connectable to a load. Each of the plurality of strings includes a fuel cell module and a DC/DC converter electrically connected to the fuel cell module. Each of the plurality of strings is arranged in parallel to each other of the plurality of strings.

ELECTRODE CATALYST LAYER, MEMBRANE ELECTRODE ASSEMBLY, AND POLYMER ELECTROLYTE FUEL CELL

NºPublicación:  US20260100391A1 09/04/2026
Solicitante: 
TOPPAN HOLDINGS INC [JP]
US_20260100391_A1

Resumen de: US20260100391A1

0000 An electrode catalyst layer that is used in a polymer electrolyte fuel cell comprises: a catalyst material; a conductive carrier that supports the catalyst material; a polymer electrolyte; and a fibrous material containing nitrogen atoms. The ratio of the number of nitrogen atoms to the total number of atoms of carbon, nitrogen, oxygen, fluorine, sulfur, and platinum obtained by energy-dispersive X-ray spectroscopy on a specific region of a cross-section of the electrode catalyst layer is 2 at % or more and 20 at % or less. The specific region is a region containing 50 area % or more of the fibrous material containing nitrogen atoms and does not contain the catalyst material or the conductive carrier.

ADHESIVE COMPOSITION FOR FUEL CELL SEALING MEMBERS, MEMBER FOR FUEL CELLS, AND METHOD FOR PRODUCING MEMBER FOR FUEL CELLS

NºPublicación:  EP4723253A1 08/04/2026
Solicitante: 
SUMITOMO RIKO CO LTD [JP]
EP_4723253_PA

Resumen de: EP4723253A1

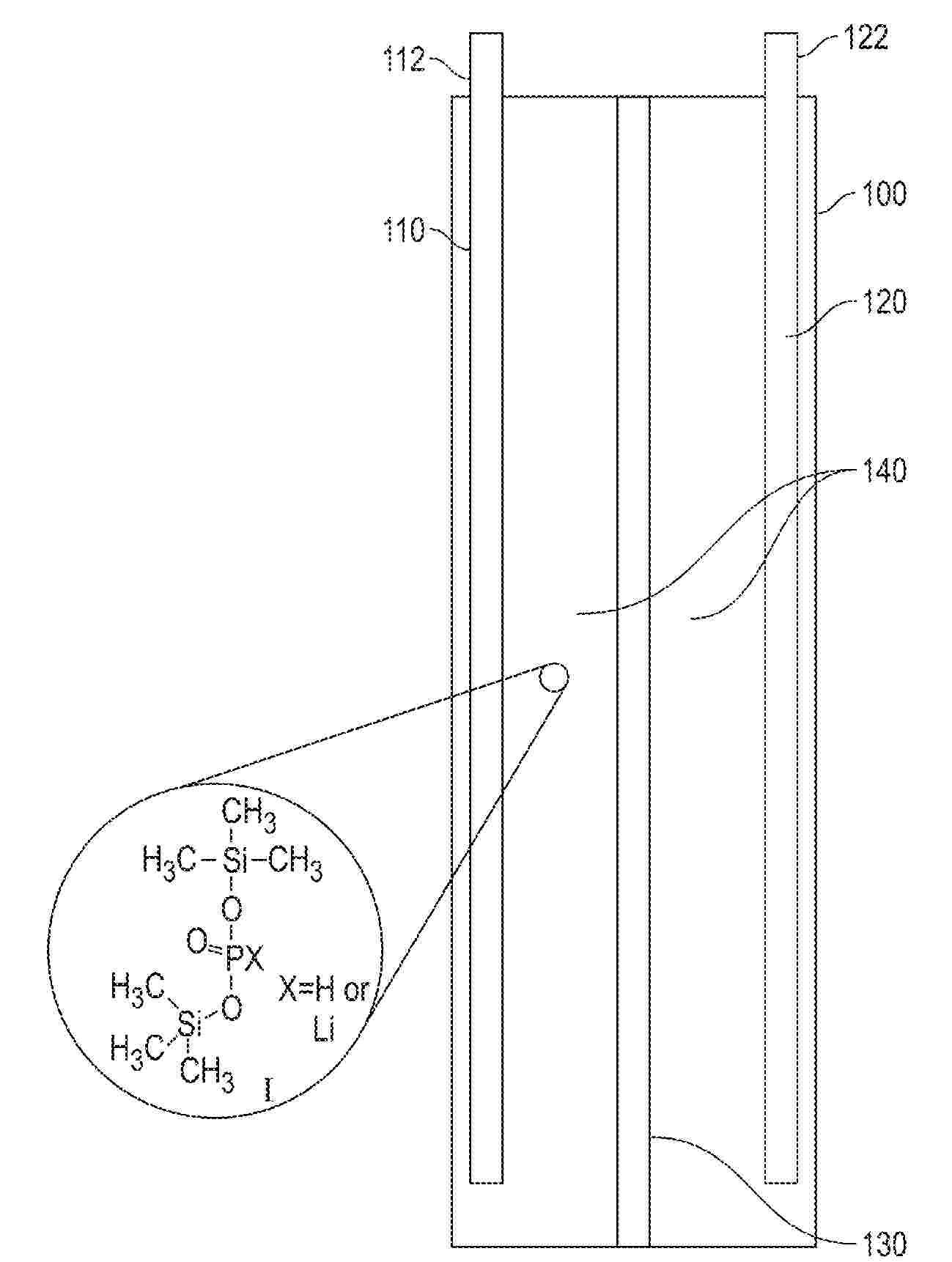
0001 This adhesive composition for fuel cell sealing members is for bonding a thin platy base (10), which is a constituent member of a fuel cell, to a sealing member (20) produced from a rubber composition, and comprises (A) an adhesive liquid comprising a solvent and an adhesive component which comprises a silane coupling agent as a main component or comprises a silane coupling agent and an organic titanate compound as main components and (B) a dye which is compatible with the adhesive component and dissolves in the solvent. The content of the dye in the adhesive composition is 3-25 parts by mass per 100 parts by mass of the non-volatile content of the adhesive composition. The adhesive composition is colored by the dye in a color which differs from the color of the base (10) or sealing member (20).

A METHOD AND A DEVICE FOR PRODUCING HYDROGEN, AND USE OF BATCH COMPRISING METAL-CONTAINING MATERIAL

NºPublicación:  EP4719652A1 08/04/2026
Solicitante: 
NORTH HYDROGEN OY [FI]
WO_2024246004_PA

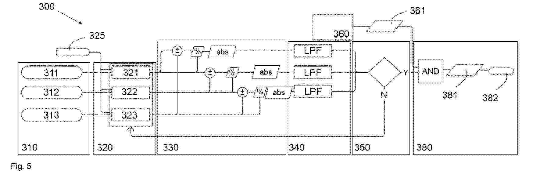
Resumen de: WO2024246004A1

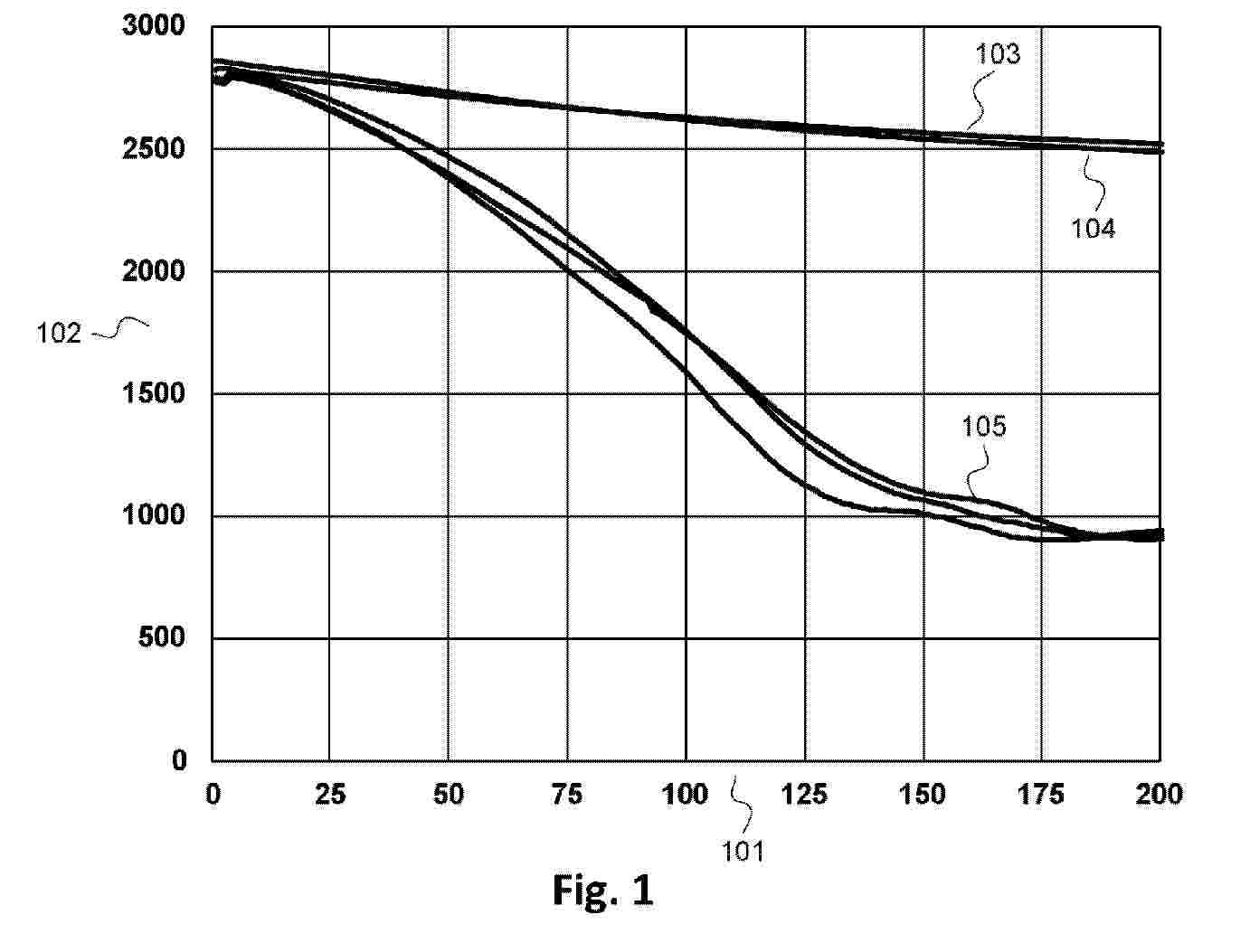
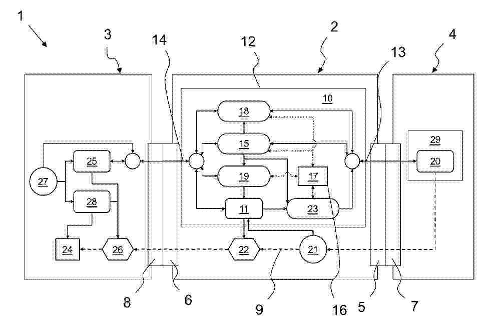
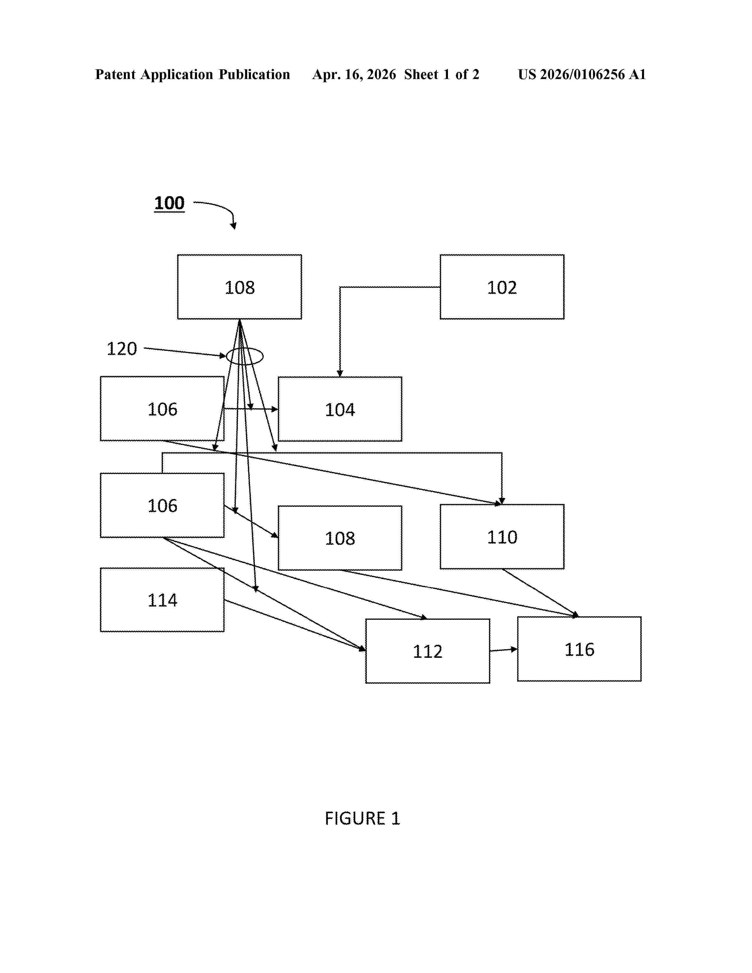
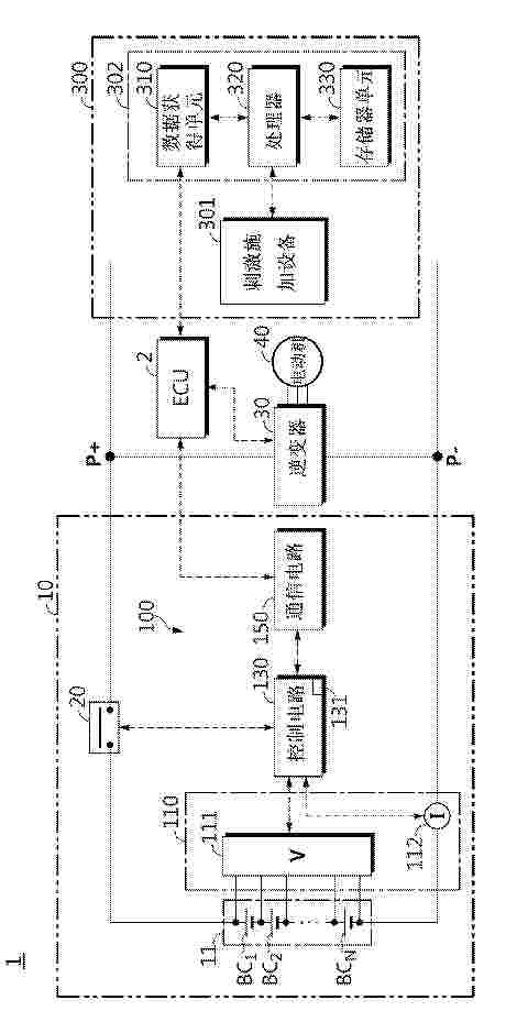
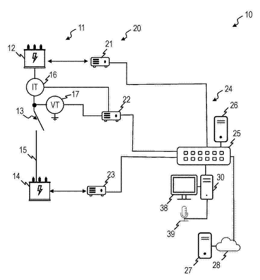
The present invention relates to a diagnostic method (100) for diagnosing a state of a cell stack (300) of an electrochemical energy converter. The diagnostic method (100) comprises: - connecting (101) a plurality of bipolar plates (301) of the cell stack (300) to a cell voltage measurement system (311), - ascertaining (103) measurement values for each cell (303) of the plurality of cells (303) by means of the cell voltage measurement system (311), - determining (105) a characteristic value for each cell (303) of the plurality of cells (303) on the basis of measurement values ascertained by means of the cell voltage measurement system (311), - comparing (107) the characteristic value with a specified quality criterion, - outputting (109) an error message if the characteristic value does not satisfy the quality criterion, wherein the ascertaining of measurement values is carried out in a dry state of the cell stack (300).

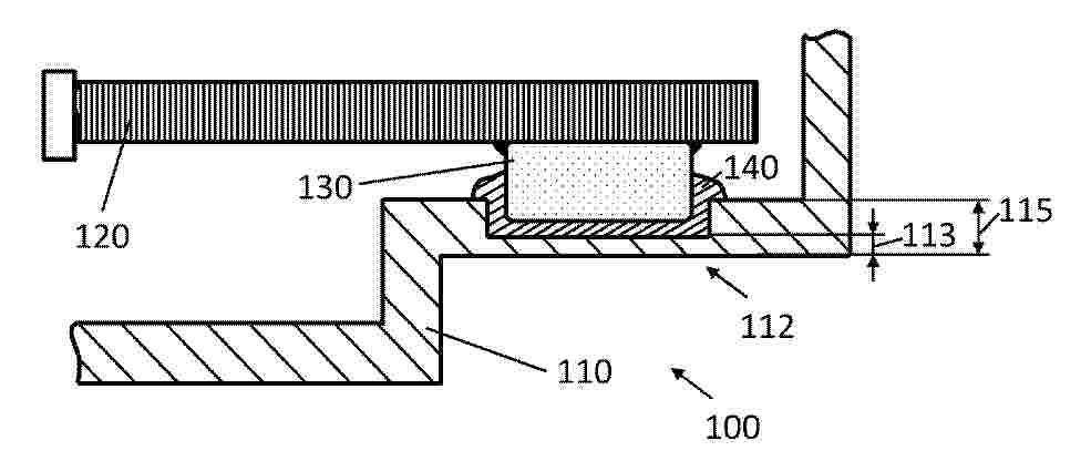
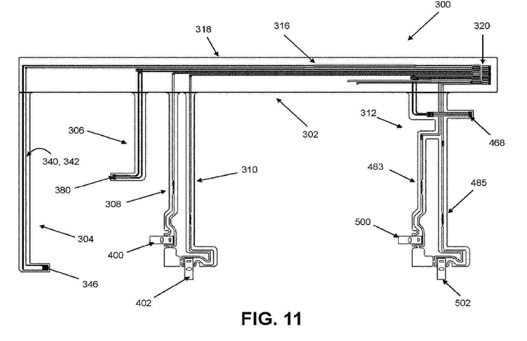
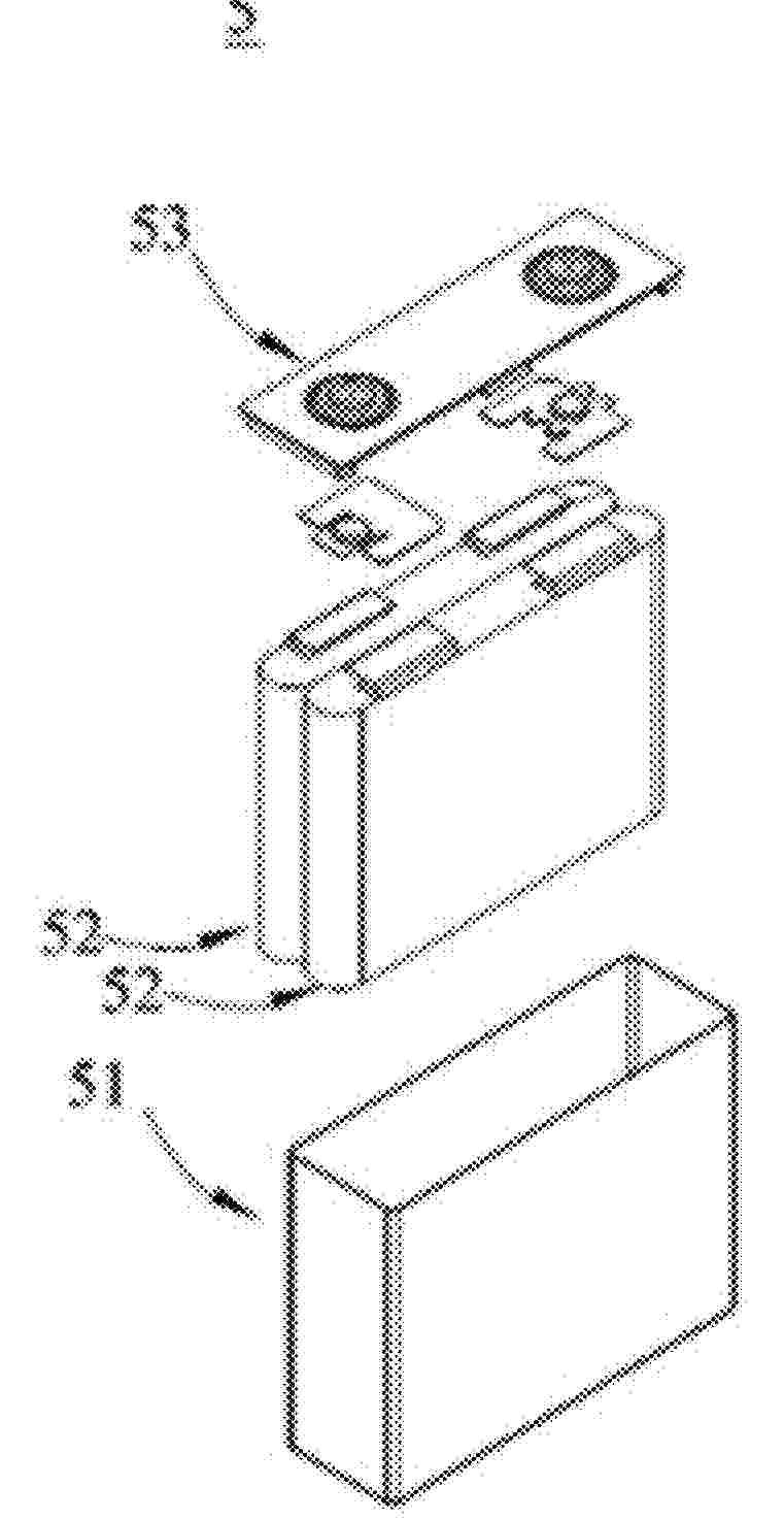
FLOW FRAME UNIT FOR AN ELECTROCHEMICAL CELL OF A REDOX FLOW BATTERY, AND CELL STACK

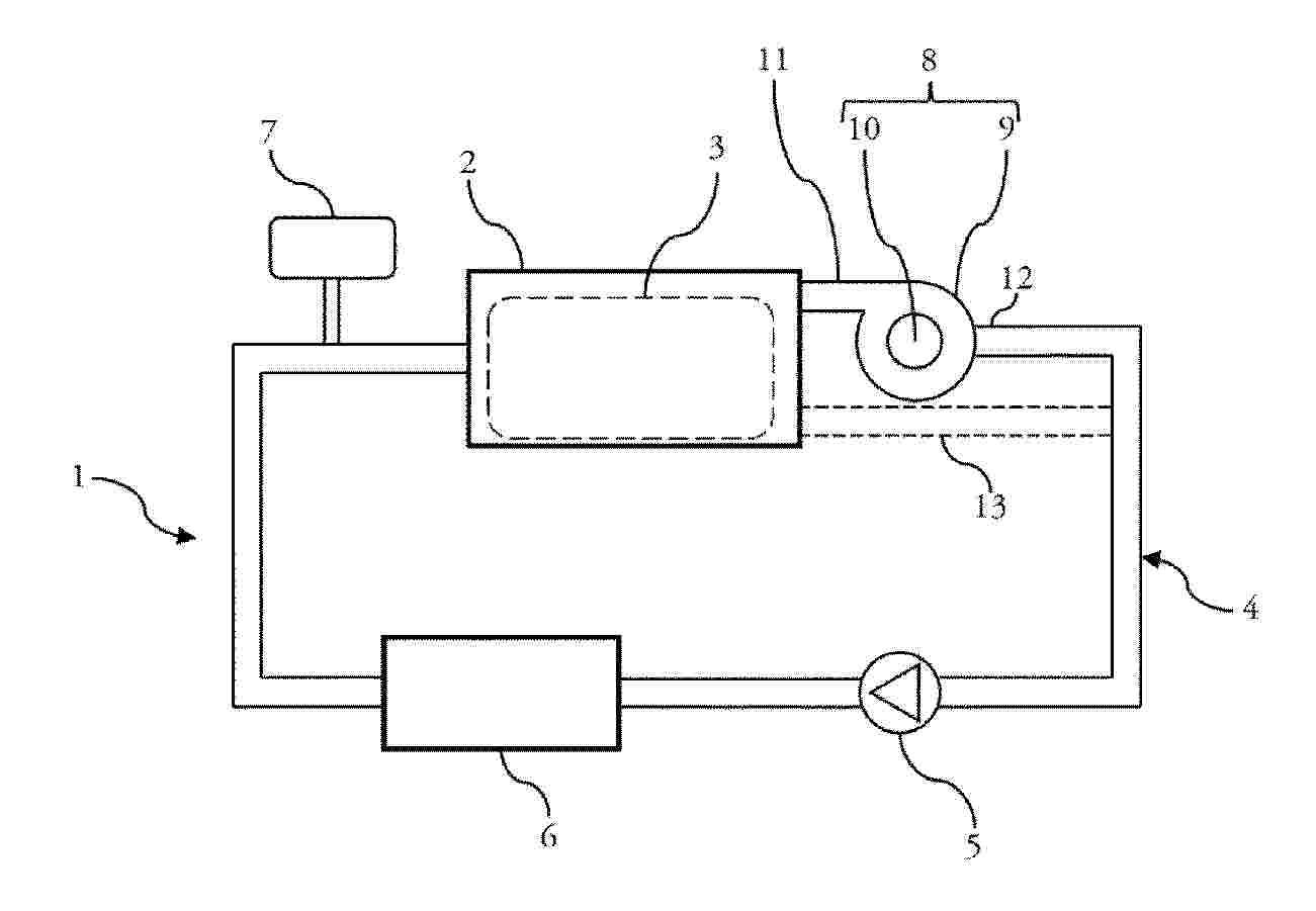
NºPublicación:  EP4721160A1 08/04/2026
Solicitante: 
SCHMALZ J GMBH [DE]
EP_1000000_PA

Resumen de: EP1000000A1

The invention relates to an apparatus (1) for manufacturing green bricks from clay for the brick manufacturing industry, comprising a circulating conveyor (3) carrying mould containers combined to mould container parts (4), a reservoir (5) for clay arranged above the mould containers, means for carrying clay out of the reservoir (5) into the mould containers, means (9) for pressing and trimming clay in the mould containers, means (11) for supplying and placing take-off plates for the green bricks (13) and means for discharging green bricks released from the mould containers, characterized in that the apparatus further comprises means (22) for moving the mould container parts (4) filled with green bricks such that a protruding edge is formed on at least one side of the green bricks.

GREEN PAPER FOR PRODUCING A GAS DIFFUSION LAYER FOR A FUEL CELL

NºPublicación:  EP4720409A1 08/04/2026
Solicitante: 
GIESECKE & DEVRIENT CURRENCY TECHNOLOGY GMBH [DE]
WO_2024245495_PA

Resumen de: WO2024245495A1

The invention relates to a method for producing a green paper for producing a gas diffusion layer (GDL) for a fuel cell, the surface of said GDL having structures for distributing gases. The method according to the invention has the following steps: a. a pulp (1), which is mixed with a powder and/or fibers made of metal or carbon, is produced from water and paper fibers and/or regenerated cellulose and/or polymer fibers, b. a mold (2) which has a surface with structures that are shaped negatively relative to the structures for distributing gases on the surface of the GDL and which has perforations is then introduced into the pulp (1), c. a negative pressure is then applied to the pulp (1) so that water is suctioned through the perforations of the mold (2), and the powder and/or the fibers and the paper fibers accumulate on the surface of the mold (2) in the form of a fibrous material mat (3), d. the mold (2) is then guided out of the pulp (1), e. the fibrous material mat (3) is then dried, and f. the edges of the fibrous material mat (3) are then cut to size or punched out such that the green paper is produced from the fiber material mat (3).

FUEL CELL SYSTEM AND METHOD FOR CONTROLLED SEPARATION OF HYDROGEN GAS FROM ANODE EXHAUST GAS AND USE THEREOF

NºPublicación:  EP4721163A1 08/04/2026
Solicitante: 
BLUE WORLD TECHNOLOGIES HOLDING APS [DK]
EP_1000000_PA

Resumen de: WO2024245495A1

The invention relates to a method for producing a green paper for producing a gas diffusion layer (GDL) for a fuel cell, the surface of said GDL having structures for distributing gases. The method according to the invention has the following steps: a. a pulp (1), which is mixed with a powder and/or fibers made of metal or carbon, is produced from water and paper fibers and/or regenerated cellulose and/or polymer fibers, b. a mold (2) which has a surface with structures that are shaped negatively relative to the structures for distributing gases on the surface of the GDL and which has perforations is then introduced into the pulp (1), c. a negative pressure is then applied to the pulp (1) so that water is suctioned through the perforations of the mold (2), and the powder and/or the fibers and the paper fibers accumulate on the surface of the mold (2) in the form of a fibrous material mat (3), d. the mold (2) is then guided out of the pulp (1), e. the fibrous material mat (3) is then dried, and f. the edges of the fibrous material mat (3) are then cut to size or punched out such that the green paper is produced from the fiber material mat (3).

APPARATUS FOR GENERATING ELECTRICITY

NºPublicación:  EP4721161A2 08/04/2026
Solicitante: 
EMISSION FREE GENERATORS INC [US]
EP_1000000_PA

Resumen de: EP1000000A1

The invention relates to an apparatus (1) for manufacturing green bricks from clay for the brick manufacturing industry, comprising a circulating conveyor (3) carrying mould containers combined to mould container parts (4), a reservoir (5) for clay arranged above the mould containers, means for carrying clay out of the reservoir (5) into the mould containers, means (9) for pressing and trimming clay in the mould containers, means (11) for supplying and placing take-off plates for the green bricks (13) and means for discharging green bricks released from the mould containers, characterized in that the apparatus further comprises means (22) for moving the mould container parts (4) filled with green bricks such that a protruding edge is formed on at least one side of the green bricks.

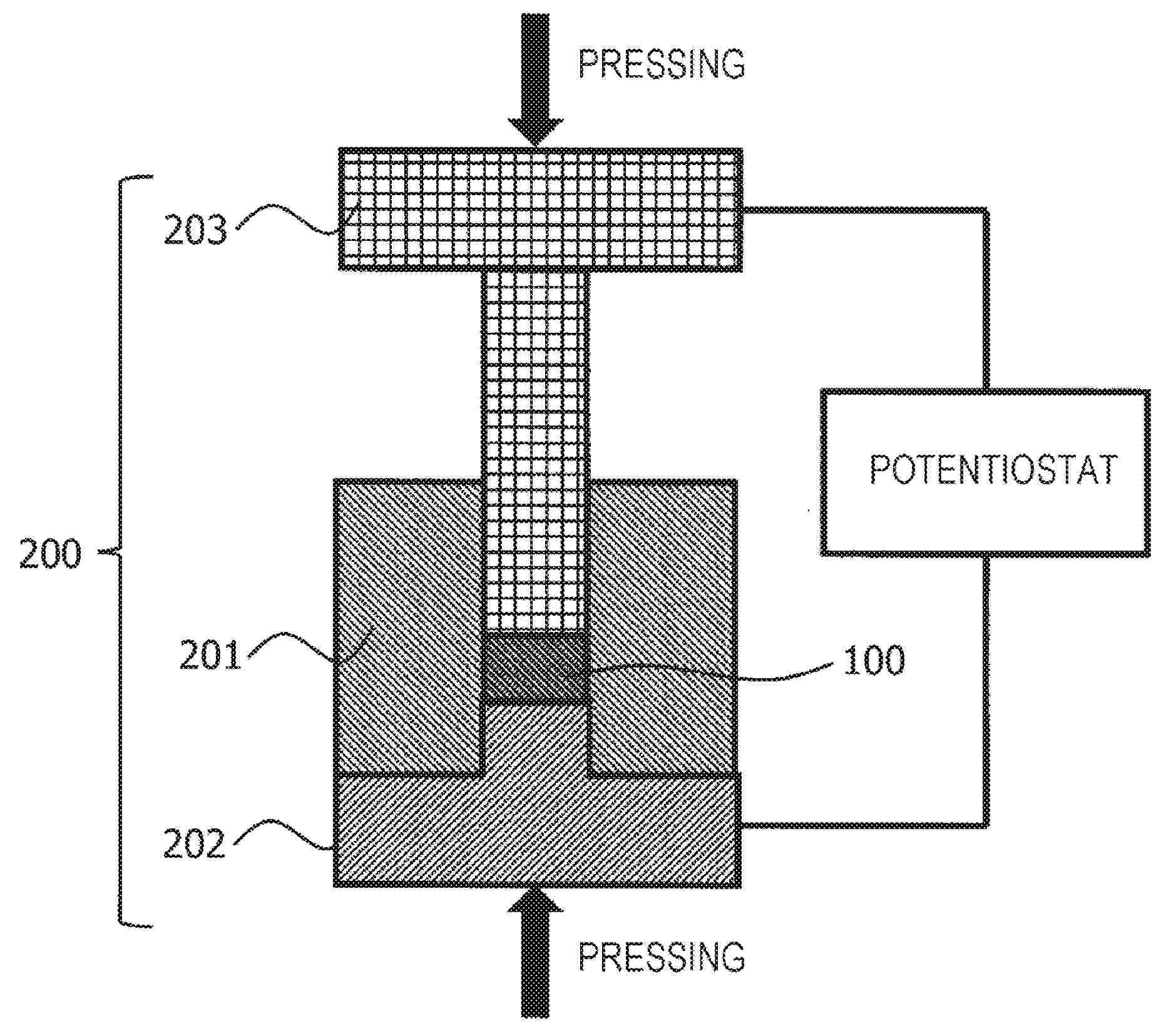
DIAGNOSTIC METHOD AND PRODUCTION METHOD FOR A CELL STACK OF AN ELECTROCHEMICAL ENERGY CONVERTER

NºPublicación:  EP4720691A1 08/04/2026
Solicitante: 
BOSCH GMBH ROBERT [DE]
WO_2024246004_PA

Resumen de: WO2024246004A1

The present invention relates to a diagnostic method (100) for diagnosing a state of a cell stack (300) of an electrochemical energy converter. The diagnostic method (100) comprises: - connecting (101) a plurality of bipolar plates (301) of the cell stack (300) to a cell voltage measurement system (311), - ascertaining (103) measurement values for each cell (303) of the plurality of cells (303) by means of the cell voltage measurement system (311), - determining (105) a characteristic value for each cell (303) of the plurality of cells (303) on the basis of measurement values ascertained by means of the cell voltage measurement system (311), - comparing (107) the characteristic value with a specified quality criterion, - outputting (109) an error message if the characteristic value does not satisfy the quality criterion, wherein the ascertaining of measurement values is carried out in a dry state of the cell stack (300).

POROUS MEMBRANE AND POLYMER COMPOSITIONS FOR MAKING SAME

NºPublicación:  EP4720186A2 08/04/2026
Solicitante: 
CELANESE INT CORP [US]
WO_2024245495_PA

Resumen de: WO2024245495A1

The invention relates to a method for producing a green paper for producing a gas diffusion layer (GDL) for a fuel cell, the surface of said GDL having structures for distributing gases. The method according to the invention has the following steps: a. a pulp (1), which is mixed with a powder and/or fibers made of metal or carbon, is produced from water and paper fibers and/or regenerated cellulose and/or polymer fibers, b. a mold (2) which has a surface with structures that are shaped negatively relative to the structures for distributing gases on the surface of the GDL and which has perforations is then introduced into the pulp (1), c. a negative pressure is then applied to the pulp (1) so that water is suctioned through the perforations of the mold (2), and the powder and/or the fibers and the paper fibers accumulate on the surface of the mold (2) in the form of a fibrous material mat (3), d. the mold (2) is then guided out of the pulp (1), e. the fibrous material mat (3) is then dried, and f. the edges of the fibrous material mat (3) are then cut to size or punched out such that the green paper is produced from the fiber material mat (3).

COPPER DEHYDROGENASES ENGINEERED FROM MULTICOPPER OXIDASES AND THEIR BIOELECTROCHEMICAL APPLICATIONS

NºPublicación:  EP4720268A1 08/04/2026
Solicitante: 
UNIV NORTH CAROLINA CHAPEL HILL [US]
WO_2024246004_PA

Resumen de: WO2024246004A1

The present invention relates to a diagnostic method (100) for diagnosing a state of a cell stack (300) of an electrochemical energy converter. The diagnostic method (100) comprises: - connecting (101) a plurality of bipolar plates (301) of the cell stack (300) to a cell voltage measurement system (311), - ascertaining (103) measurement values for each cell (303) of the plurality of cells (303) by means of the cell voltage measurement system (311), - determining (105) a characteristic value for each cell (303) of the plurality of cells (303) on the basis of measurement values ascertained by means of the cell voltage measurement system (311), - comparing (107) the characteristic value with a specified quality criterion, - outputting (109) an error message if the characteristic value does not satisfy the quality criterion, wherein the ascertaining of measurement values is carried out in a dry state of the cell stack (300).

IONOMERIC COPOLYMERS, METHODS, AND USES THEREOF

NºPublicación:  EP4720154A1 08/04/2026
Solicitante: 
IONOMR INNOVATIONS INC [CA]
WO_2024245495_PA

Resumen de: WO2024246004A1

The present invention relates to a diagnostic method (100) for diagnosing a state of a cell stack (300) of an electrochemical energy converter. The diagnostic method (100) comprises: - connecting (101) a plurality of bipolar plates (301) of the cell stack (300) to a cell voltage measurement system (311), - ascertaining (103) measurement values for each cell (303) of the plurality of cells (303) by means of the cell voltage measurement system (311), - determining (105) a characteristic value for each cell (303) of the plurality of cells (303) on the basis of measurement values ascertained by means of the cell voltage measurement system (311), - comparing (107) the characteristic value with a specified quality criterion, - outputting (109) an error message if the characteristic value does not satisfy the quality criterion, wherein the ascertaining of measurement values is carried out in a dry state of the cell stack (300).

GAS DIFFUSION LAYER WITH IMPROVED FIBRE BONDING AND METHOD FOR PRODUCING SAME

NºPublicación:  EP4721158A1 08/04/2026
Solicitante: 
FREUDENBERG CARL KG [DE]
WO_2024246004_PA

Resumen de: WO2024245495A1

The invention relates to a method for producing a green paper for producing a gas diffusion layer (GDL) for a fuel cell, the surface of said GDL having structures for distributing gases. The method according to the invention has the following steps: a. a pulp (1), which is mixed with a powder and/or fibers made of metal or carbon, is produced from water and paper fibers and/or regenerated cellulose and/or polymer fibers, b. a mold (2) which has a surface with structures that are shaped negatively relative to the structures for distributing gases on the surface of the GDL and which has perforations is then introduced into the pulp (1), c. a negative pressure is then applied to the pulp (1) so that water is suctioned through the perforations of the mold (2), and the powder and/or the fibers and the paper fibers accumulate on the surface of the mold (2) in the form of a fibrous material mat (3), d. the mold (2) is then guided out of the pulp (1), e. the fibrous material mat (3) is then dried, and f. the edges of the fibrous material mat (3) are then cut to size or punched out such that the green paper is produced from the fiber material mat (3).

REACTOR FOR ELECTROLYSIS OR CO-ELECTROLYSIS OF WATER (SOEC) OR FUEL CELL COMPRISING A STACK OF SOLID-OXIDES CELLS, HAVING INTERCONNECTORS INSTRUMENTED BY A REMOVABLE PROBE FOR MEASURING VOLTAGE

NºPublicación:  EP4721162A1 08/04/2026
Solicitante: 
COMMISSARIAT ENERGIE ATOMIQUE [FR]
WO_2024245495_PA

Resumen de: WO2024246004A1

The present invention relates to a diagnostic method (100) for diagnosing a state of a cell stack (300) of an electrochemical energy converter. The diagnostic method (100) comprises: - connecting (101) a plurality of bipolar plates (301) of the cell stack (300) to a cell voltage measurement system (311), - ascertaining (103) measurement values for each cell (303) of the plurality of cells (303) by means of the cell voltage measurement system (311), - determining (105) a characteristic value for each cell (303) of the plurality of cells (303) on the basis of measurement values ascertained by means of the cell voltage measurement system (311), - comparing (107) the characteristic value with a specified quality criterion, - outputting (109) an error message if the characteristic value does not satisfy the quality criterion, wherein the ascertaining of measurement values is carried out in a dry state of the cell stack (300).

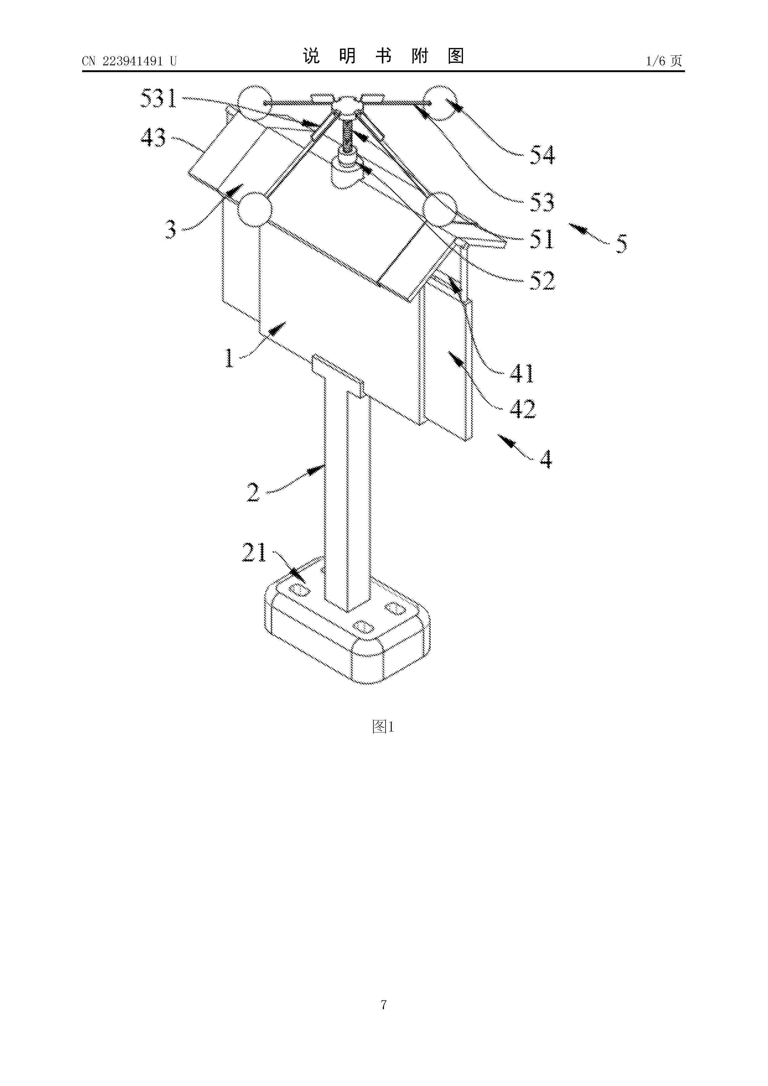
FUEL CELL MODULE, FUEL CELL SYSTEM USING SAME, AND OPERATING METHOD THEREOF

NºPublicación:  EP4723256A1 08/04/2026
Solicitante: 
HYDROGEN BUTTERFLY [KR]
EP_4723256_PA

Resumen de: EP4723256A1

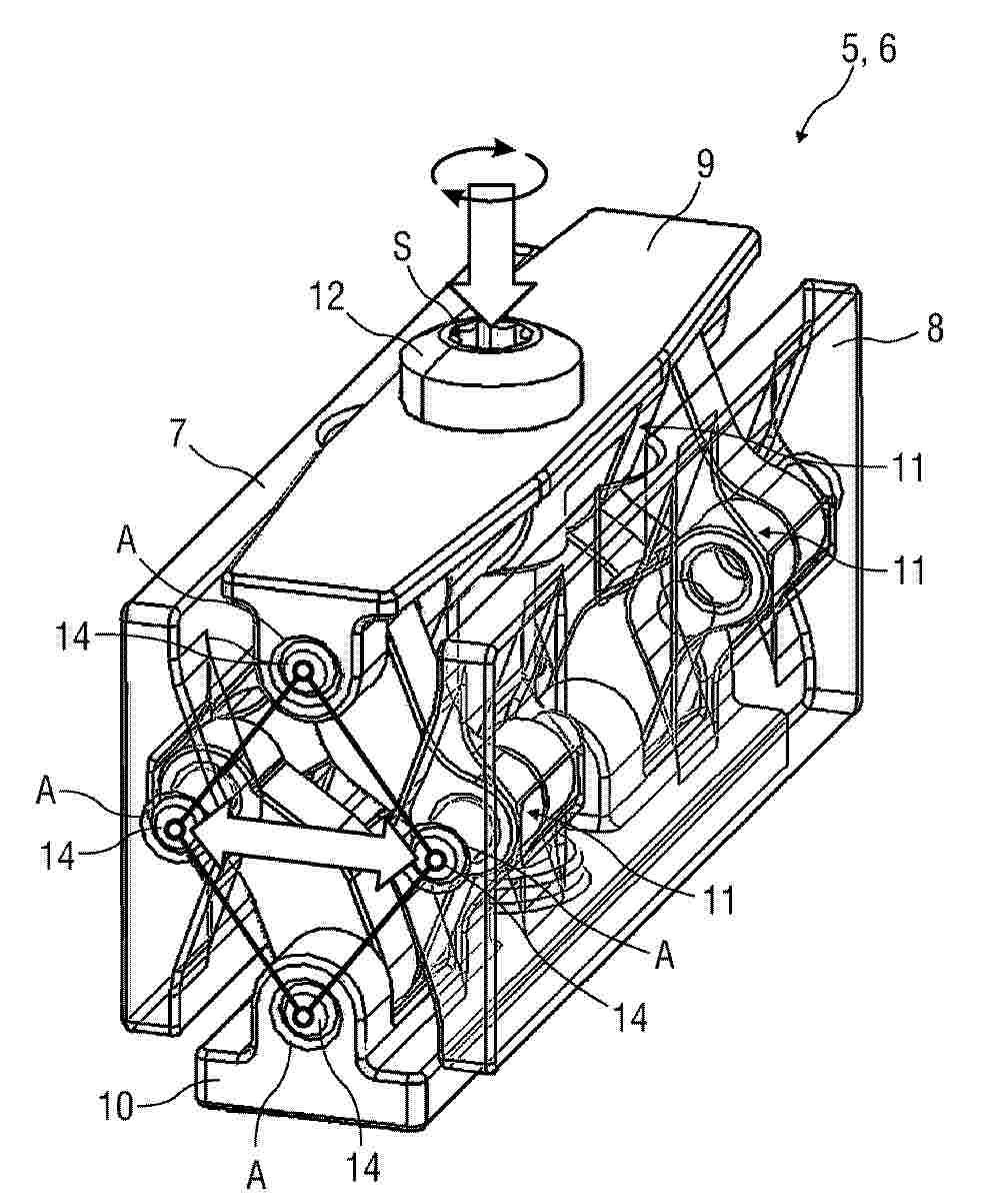
A fuel cell module of the present invention may comprise: a rotating body; and at least one stack connected to the rotating body such that the position thereof changes by means of rotation of the rotating body.

ELECTROLYTE MEMBRANE FOR SOLID POLYMER FUEL CELL, MEMBRANE ELECTRODE ASSEMBLY, SOLID POLYMER FUEL CELL, METHOD FOR PRODUCING SAME, AND ELECTROLYTE MEMBRANE FOR SOLID POLYMER WATER ELECTROLYSIS

NºPublicación:  EP4723255A1 08/04/2026
Solicitante: 
UNIV YAMAGATA NAT UNIV CORP [JP]
OJI HOLDINGS CORP [JP]
EP_4723255_A1

Resumen de: EP4723255A1

0001 A purpose of the present invention is to provide: an electrolyte membrane for a polymer electrolyte fuel cell, said electrolyte membrane having excellent proton conductivity; a membrane electrode assembly that includes the electrolyte membrane for the polymer electrolyte fuel cell; a polymer electrolyte fuel cell that includes the membrane electrode assembly; methods for producing the electrolyte membrane for a polymer electrolyte fuel cell, the membrane electrode assembly, and the polymer electrolyte fuel cell; and an electrolyte membrane for solid polymer water electrolysis. 0002 The electrolyte membrane for a polymer electrolyte fuel cell according to the present invention contains fine fibrous cellulose that is derived from wood or plants, wherein the average fiber width of the fine fibrous cellulose that is derived from wood or plants is 50 nm or less, and the fine fibrous cellulose has a phosphorus oxoacid group.

FLUID SUPPLY DEVICE AND ELECTROCHEMICAL SYSTEM

NºPublicación:  EP4721164A1 08/04/2026
Solicitante: 
BOSCH GMBH ROBERT [DE]
WO_2024245495_PA

Resumen de: WO2024246004A1

The present invention relates to a diagnostic method (100) for diagnosing a state of a cell stack (300) of an electrochemical energy converter. The diagnostic method (100) comprises: - connecting (101) a plurality of bipolar plates (301) of the cell stack (300) to a cell voltage measurement system (311), - ascertaining (103) measurement values for each cell (303) of the plurality of cells (303) by means of the cell voltage measurement system (311), - determining (105) a characteristic value for each cell (303) of the plurality of cells (303) on the basis of measurement values ascertained by means of the cell voltage measurement system (311), - comparing (107) the characteristic value with a specified quality criterion, - outputting (109) an error message if the characteristic value does not satisfy the quality criterion, wherein the ascertaining of measurement values is carried out in a dry state of the cell stack (300).

SYSTEM FOR MEASURING AT LEAST ONE CHEMICAL COMPONENT OF A FLOWING FLUID FOR AN ELECTROCHEMICAL-GENERATOR SYSTEM

NºPublicación:  EP4720636A1 08/04/2026
Solicitante: 
HORIBA FRANCE SAS [FR]
WO_2024246004_PA

Resumen de: WO2024246004A1

The present invention relates to a diagnostic method (100) for diagnosing a state of a cell stack (300) of an electrochemical energy converter. The diagnostic method (100) comprises: - connecting (101) a plurality of bipolar plates (301) of the cell stack (300) to a cell voltage measurement system (311), - ascertaining (103) measurement values for each cell (303) of the plurality of cells (303) by means of the cell voltage measurement system (311), - determining (105) a characteristic value for each cell (303) of the plurality of cells (303) on the basis of measurement values ascertained by means of the cell voltage measurement system (311), - comparing (107) the characteristic value with a specified quality criterion, - outputting (109) an error message if the characteristic value does not satisfy the quality criterion, wherein the ascertaining of measurement values is carried out in a dry state of the cell stack (300).

SYSTEM AND PROCESS FOR PRODUCING SYNTHETIC FUELS

NºPublicación:  EP4720228A1 08/04/2026
Solicitante: 
SPARK E FUELS GMBH [DE]
WO_2024246004_PA

Resumen de: WO2024246004A1

The present invention relates to a diagnostic method (100) for diagnosing a state of a cell stack (300) of an electrochemical energy converter. The diagnostic method (100) comprises: - connecting (101) a plurality of bipolar plates (301) of the cell stack (300) to a cell voltage measurement system (311), - ascertaining (103) measurement values for each cell (303) of the plurality of cells (303) by means of the cell voltage measurement system (311), - determining (105) a characteristic value for each cell (303) of the plurality of cells (303) on the basis of measurement values ascertained by means of the cell voltage measurement system (311), - comparing (107) the characteristic value with a specified quality criterion, - outputting (109) an error message if the characteristic value does not satisfy the quality criterion, wherein the ascertaining of measurement values is carried out in a dry state of the cell stack (300).

PHOTO-BIO-ELECTROCHEMICAL CELL

NºPublicación:  EP4720370A1 08/04/2026
Solicitante: 
TECHNION RES & DEV FOUNDATION [IL]
WO_2024246004_PA

Resumen de: WO2024246004A1

The present invention relates to a diagnostic method (100) for diagnosing a state of a cell stack (300) of an electrochemical energy converter. The diagnostic method (100) comprises: - connecting (101) a plurality of bipolar plates (301) of the cell stack (300) to a cell voltage measurement system (311), - ascertaining (103) measurement values for each cell (303) of the plurality of cells (303) by means of the cell voltage measurement system (311), - determining (105) a characteristic value for each cell (303) of the plurality of cells (303) on the basis of measurement values ascertained by means of the cell voltage measurement system (311), - comparing (107) the characteristic value with a specified quality criterion, - outputting (109) an error message if the characteristic value does not satisfy the quality criterion, wherein the ascertaining of measurement values is carried out in a dry state of the cell stack (300).

SOLID OXIDE FUEL CELLS AND SYSTEMS

NºPublicación:  EP4721159A1 08/04/2026
Solicitante: 
HYPANODE LTD [GB]
WO_2024246004_PA

Resumen de: WO2024245495A1

The invention relates to a method for producing a green paper for producing a gas diffusion layer (GDL) for a fuel cell, the surface of said GDL having structures for distributing gases. The method according to the invention has the following steps: a. a pulp (1), which is mixed with a powder and/or fibers made of metal or carbon, is produced from water and paper fibers and/or regenerated cellulose and/or polymer fibers, b. a mold (2) which has a surface with structures that are shaped negatively relative to the structures for distributing gases on the surface of the GDL and which has perforations is then introduced into the pulp (1), c. a negative pressure is then applied to the pulp (1) so that water is suctioned through the perforations of the mold (2), and the powder and/or the fibers and the paper fibers accumulate on the surface of the mold (2) in the form of a fibrous material mat (3), d. the mold (2) is then guided out of the pulp (1), e. the fibrous material mat (3) is then dried, and f. the edges of the fibrous material mat (3) are then cut to size or punched out such that the green paper is produced from the fiber material mat (3).

HOLLOW FIBER MEMBRANE FOR FUEL CELL HUMIDIFIER, AND HUMIDIFIER AND FUEL CELL SYSTEM COMPRISING SAME

NºPublicación:  EP4723254A1 08/04/2026
Solicitante: 
KOLON INC [KR]
EP_4723254_PA

Resumen de: EP4723254A1

The present disclosure relates to a hollow fiber membrane for a fuel cell humidifier, a method of preparing the same, and a humidifier and a fuel cell system which include the hollow fiber membrane, wherein the hollow fiber membrane includes a polymer and an antioxidant, and the antioxidant is disposed on an inner surface and/or an outer surface.

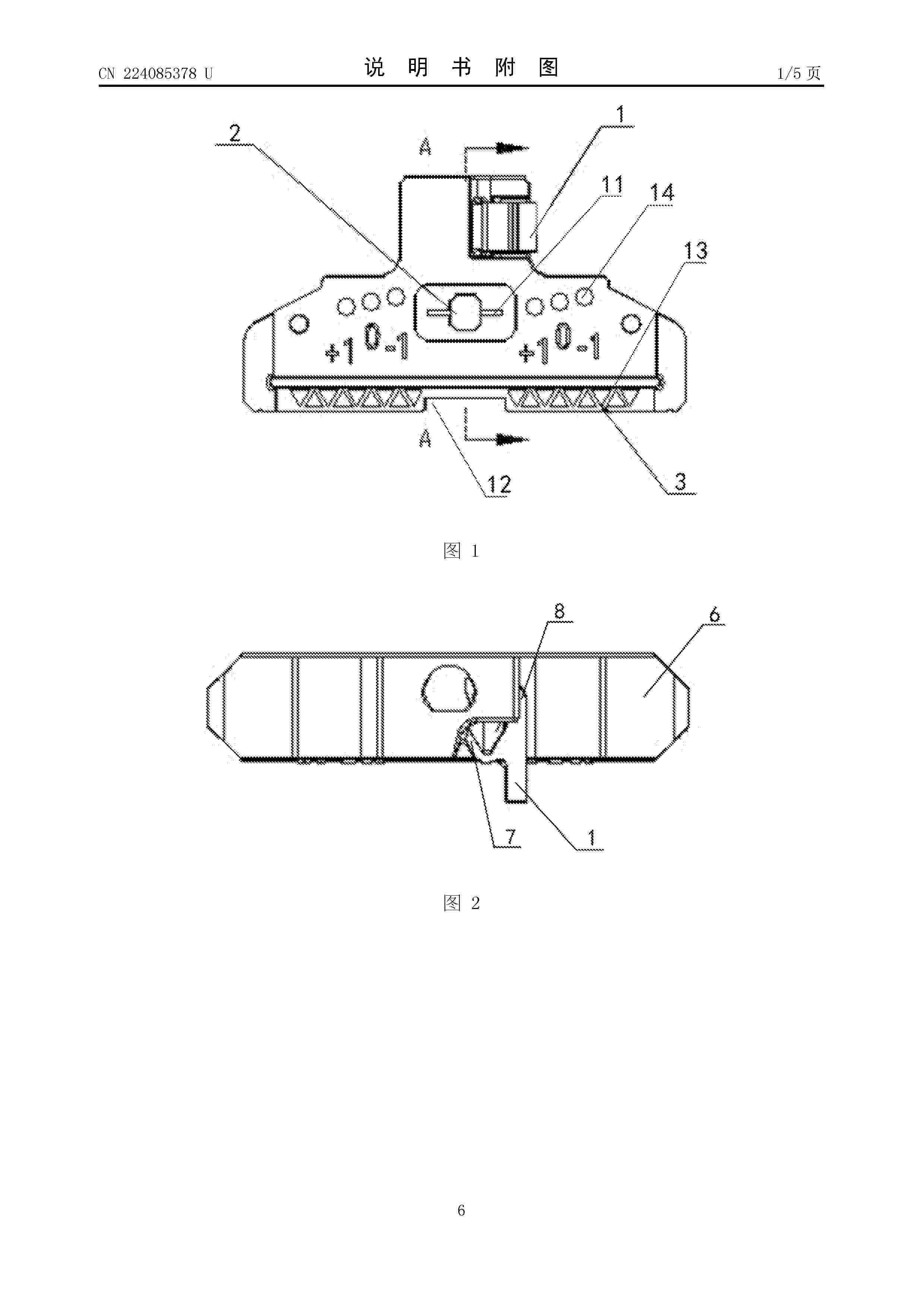
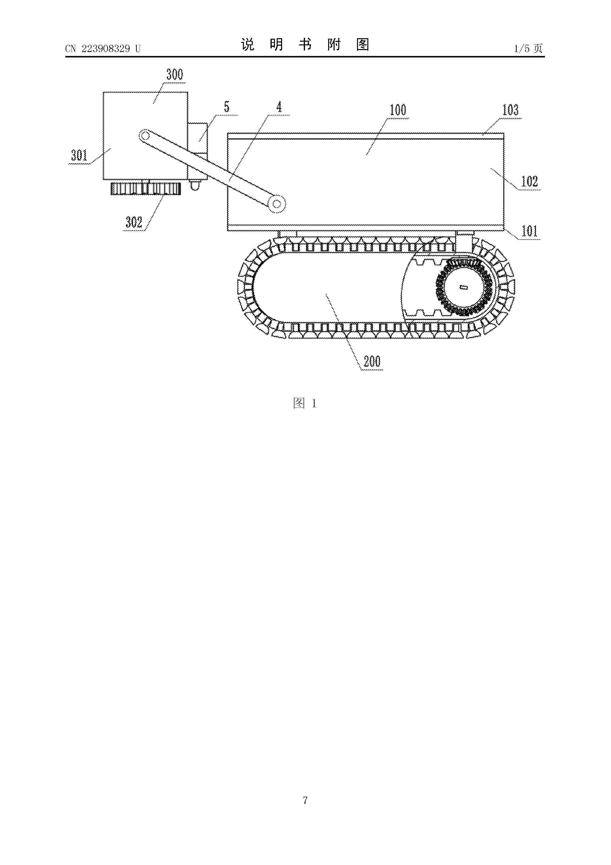
一种氢动力无人机防泄漏型氢燃料电池系统

NºPublicación:  CN121812642A 07/04/2026
Solicitante: 
池州协氢无人机科技有限公司
CN_121812642_PA

Resumen de: CN121812642A

本发明涉及氢燃料电池技术领域,具体是涉及一种氢动力无人机防泄漏型氢燃料电池系统,包括两块端板和电池堆,多个所述阳极腔被划分为至少两组阳极腔组,所述阳极腔组包括至少两个所述阳极腔,还包括氢气分流组件、余氢汇流组件和压力传感器;通过对电池堆阳极腔进行分组,并匹配独立、可控的氢气供给与余氢回收通路,构建了具备快速故障诊断与智能分区隔离能力的主动安全架构,解决了现有集中式供氢系统在发生局部泄漏时,无法快速定位并切断泄漏源,从而导致燃料持续损耗、泄漏加剧,以及因无法隔离故障而引发的燃爆风险高、系统整体可靠性低的突出问题。

一种Pt基复合催化剂、膜电极及其制备方法和应用

NºPublicación:  CN121812623A 07/04/2026
Solicitante: 
北京美斯顿科技开发有限公司厦门斯研新材料技术有限公司
CN_121812623_A

Resumen de: CN121812623A

本发明属于催化剂制备以及甲醇燃料电池技术领域,具体涉及一种Pt基复合催化剂、膜电极及其制备方法和应用。所述Pt基复合催化剂的制备方法包括:将氧化石墨烯、镍盐、氮源于碱性条件下进行水热反应,得到的Ni(OH)2/NC材料与铂源在水中依次进行浸渍处理、还原处理,得到的Pt/Ni(OH)2/NC材料与聚吡咯、水混合后进行超声处理,得到的Pt/Ni(OH)2‑PPy/NC催化剂于聚乙烯醇、甘油、乙二醇、海藻糖、水经加热处理后得到的第一混合液中分散,经过循环冷冻‑解冻处理,得到Pt基复合催化剂。本发明提供的Pt基复合催化剂作为膜电极的阳极催化剂应用时,能够显著提高甲醇燃料电池的低温性能。

膜框成型及移送覆合方法及装置、胶框印刷机及固态电池生产线

NºPublicación:  CN121799992A 07/04/2026
Solicitante: 
广东利元亨智能装备股份有限公司
CN_121799992_PA

Resumen de: CN121799992A

本申请公开了一种膜框成型及移送覆合方法及装置、胶框印刷机及固态电池生产线,膜框成型及移送覆合方法包括:对膜料带进行输送,膜料带的输送方向上设置有膜框成型工位;驱动第一板体和第二板体运动,使第一板体和第二板体进入膜框成型工位,且第二板体嵌入第一板体内;第一板体和第二板体配合吸附膜料带;对膜料带进行切割,使膜料带上形成膜框;驱动第二板体和第一板体运动,使第二板体带动膜框中部的废料离开第一板体并离开膜框成型工位,第一板体带动膜框远离膜料带并离开膜框成型工位;将极片输送至第一板体上,使极片与膜框进行覆合。

一种基于连通结构设计的燃料电池流场

NºPublicación:  CN121812637A 07/04/2026
Solicitante: 
武汉理工大学
CN_121812637_PA

Resumen de: CN121812637A

本发明提供了一种基于连通结构设计的燃料电池流场,包括:流场板,所述流场板上设置有进气口、出气口和多个间隔布置的脊,所述脊凸出流场板设置,相邻两个所述脊之间形成流道,所述流道用于连通进气口和出气口,所述脊上设置有连通部,所述连通部用于连通相邻两个流道。能够有效解决现有技术中流道间气体分布不均导致电池性能衰减的问题。

燃料电池双极板密封件的粘贴方法

NºPublicación:  CN121812639A 07/04/2026
Solicitante: 
江苏铧德氢能源科技有限公司
CN_121812639_PA

Resumen de: CN121812639A

本发明公开了燃料电池双极板密封件的粘贴方法,步骤包括:一、负压吸附组件工作产生负压;二、将涂设有底胶的双极板放置在安装座的放置槽中,将密封件放置在位于初始位置的盖板的安装凹槽中,在负压吸附组件的负压吸附作用下,密封件压覆在弹性部件上,弹性部件受压变形其顶部不伸入至安装凹槽;三、向下翻转盖板,当盖板盖合在安装座上时,安装凹槽内的密封件刚好覆盖在双极板上的密封件的密封位置,密封件被底胶粘附,此时负压消失,弹性部件复位凸出至安装凹槽内,并将密封件顶出安装凹槽;四、向上翻转盖板至初始位置。本发明的优点在于:有效提高了密封件粘贴的效率以及粘贴的精准度,大大降低了人力成本。

燃料电池阳极入堆压力和流量控制方法

NºPublicación:  CN121812644A 07/04/2026
Solicitante: 
中车戚墅堰机车有限公司
CN_121812644_A

Resumen de: CN121812644A

本发明涉及燃料电池技术领域,尤其是燃料电池阳极入堆压力和流量控制方法。该方法的具体步骤为:通过二阶模糊ADRC方法来实时估计和补偿系统内外的扰动,结合传感器数据与执行机构的调节,实现压力和流量的稳定控制;所述二阶模糊ADRC方法包括微分跟踪器、非线性状态误差反馈控制律、扩张状态观测器。该发明通过二阶模糊ADRC方法,对燃料电池的阳极入口压力和流量进行控制,可以实现氢气供给系统压力流量稳定协同控制,从而保证了燃料电池输出性能的稳定,避免发生膜破裂的安全事故。

一种车载供氢系统、氢气吹扫系统及吹扫方法

NºPublicación:  CN121803800A 07/04/2026
Solicitante: 
中车西安车辆有限公司
CN_121803800_PA

Resumen de: CN121803800A

本申请公开了一种车载供氢系统、氢气吹扫系统及吹扫方法,属于车载供氢装置技术领域,解决车载供氢系统泄放口异物进入及结冰的技术问题,其氢气吹扫系统包括氢气回收瓶、第1电磁阀、第2电磁阀、第3电磁阀、湿度传感器。第3电磁阀位于氢气回收瓶的第1出口端至泄放口的管路上,控制氢气对泄放口吹扫。湿度传感器位于泄放口。其氢气吹扫方法包括氢气回收瓶充入氢气、氢气回收瓶氢气吹扫泄放口的步骤。其车载供氢系统包括氢气吹扫系统。该发明用于车载供氢系统氢气吹扫泄放口。

一种用于质子交换膜改性的填料及其制备方法

NºPublicación:  CN121812653A 07/04/2026
Solicitante: 
南京大学江苏投特新能源有限公司
CN_121812653_PA

Resumen de: CN121812653A

本发明公开了用于质子交换膜改性的填料的制备技术领域的一种用于质子交换膜改性的填料及其制备方法,包括:包括碳载体和负载在所述碳载体上的多种官能团;所述碳载体具有片状结构;所述多种官能团包括羟基基团和氨基基团,所述多种官能团用于作为吸水和质子传导的位点。本发明提供的用于质子交换膜改性的填料及其制备方法可以改善材料保水性能,且填料的稳定性高,制备流程简单,产品品质可控,可实现批量化生产。

一种复合型磺化聚芳醚腈砜质子交换膜及其制备方法

NºPublicación:  CN121801092A 07/04/2026
Solicitante: 
电子科技大学
CN_121801092_PA

Resumen de: CN121801092A

本发明涉及高分子功能膜材料领域,具体提供一种复合型磺化聚芳醚腈砜质子交换膜及其制备方法。本发明采用亲核取代反应合成磺化聚芳醚腈砜,与磺化酞菁钴共混流延成膜,因所提供的复合型磺化聚芳醚腈砜质子交换树脂含有磺酸结构单元、砜结构单元、极性氰基和酞菁结构单元,可克服现有质子交换膜存在的低磺化度低质子传导性的问题,并且还具有结构稳定性高、力学性能良好、热稳定性优异和安全性高的特点。磺化酞菁钴的引入可以有效改善磺化聚芳醚腈砜质子膜内部结构,促进水分子在膜中的传导速率,进一步提高磺化聚芳醚腈砜质子交换膜的质子传导性。此外,其制造工艺绿色精简、复合成本低,具有十分广阔的应用前景。

用于电子及生物电子领域的爆米花石墨电极的制造

NºPublicación:  CN121816648A 07/04/2026
Solicitante: 
法国国家科学研究中心格勒诺布尔阿尔卑斯大学
CN_121816648_PA

Resumen de: WO2025012159A2

An electrode comprising a self-supporting porous structure of expanded graphite and an electrical connector. Method for manufacturing a self-supporting porous structure of expanded graphite, said method comprising the following steps: preparing a suspension of expanded graphite particles in a liquid; sonicating said suspension of graphite particles by applying ultrasound, to obtain a homogenized suspension; and filtering said homogenized suspension under pressure to obtain an expanded porous structure which is at least partially and preferably substantially dry.

增强的阴离子交换膜和制备其的方法

NºPublicación:  CN121816374A 07/04/2026
Solicitante: 
奥里昂聚合物公司
CN_121816374_PA

Resumen de: CN121816374A

本文描述了具有高机械特性的高性能阴离子交换膜和用于其制造的新方法。所述膜由于其在碱性条件下的低离子电阻和高耐久性而可用于燃料电池或电解装置的应用。所述膜通过以下来制备:用两种或更多种芳族单体和三氟甲基酮化合物来制备离子聚合物;以及用该离子聚合物浸渍多孔膜基底。用于增强的阴离子交换膜的新方法允许所述膜比现有技术的商业膜显著更薄,并且在水中更加尺寸稳定。

燃料电池系统的内外压差平衡方法和燃料电池系统

NºPublicación:  CN121812643A 07/04/2026
Solicitante: 
三一氢能科技有限公司
CN_121812643_PA

Resumen de: CN121812643A

本申请实施例提供一种燃料电池系统的内外压差平衡方法和燃料电池系统。该方法包括:当燃料电池系统停机时,控制所述燃料电池系统的阴极腔体与阳极腔体连通;然后获取所述燃料电池系统停机时的系统温度、所述阴极腔体与所述阳极腔体的相对湿度、环境压力和环境温度,以确定目标压力值;之后控制阳极氢气进气管路中的氢气输送至所述阳极腔体,直至所述阴极腔体和所述阳极腔体的腔体压力均与所述目标压力值匹配。其中,所述阳极氢气进气管路与所述阳极腔体连通。该方法可以有效预防氢空界面的形成,延长电堆寿命。

一种基于动态阈值的液流电池热管理装置、方法和系统

NºPublicación:  CN121812660A 07/04/2026
Solicitante: 
浙江星辰新能科技有限公司
CN_121812660_PA

Resumen de: CN121812660A

本发明涉及一种基于动态阈值的液流电池热管理装置、方法和系统,装置包括:循环冷却组件、数据采集单元以及BMS,循环冷却组件用于对流经液流电池的循环管路内的电解液进行热量交换,维持电解液温度处于合适的工作温度范围;循环冷却组件包括冷媒储液器、蒸发器、冷媒循环管、设置在冷媒循环管上的冷凝器、氟泵循环单元、压缩制冷单元以及膨胀阀,数据采集单元用于采集液流电池运行时的相关参数;BMS用于根据液流电池运行时的相关参数调控循环冷却组件的工作状态。本发明通过设置氟泵循环单元和压缩制冷单元,使得在低热负荷时优先使用氟泵循环模式,相比压缩制冷模式节能明显,大幅降低运行能耗,提高了液流电池运行稳定性和使用寿命。

一种质子交换膜燃料电池余热与空调制热综合利用方法

NºPublicación:  CN121799128A 07/04/2026
Solicitante: 
中车南京浦镇车辆有限公司
CN_121799128_PA

Resumen de: CN121799128A

本发明涉及质子交换膜燃料电池热管理技术领域,公开了一种质子交换膜燃料电池余热与空调制热综合利用方法。该方法包括:步骤一,热管理模型构建:构建燃料电池输出电压、循环水泵、散热器及电动阀的动态模型。步骤二,热负荷模型构建:基于室内外温差以及热负荷模型,确定空调系统的制热需求。步骤三,能量优化与验证:将燃料电池在工作过程中产生的余热引入热负荷模型中,根据净制热量确定空调压缩机转速,建立制热功耗模型并在实验平台上验证。通过燃料电池余热回收与空调系统协同控制,实现电堆温度稳定调节与空调热泵效率提升,电堆稳态温度误差极小,系统性能系数提高至原工况的2倍以上。

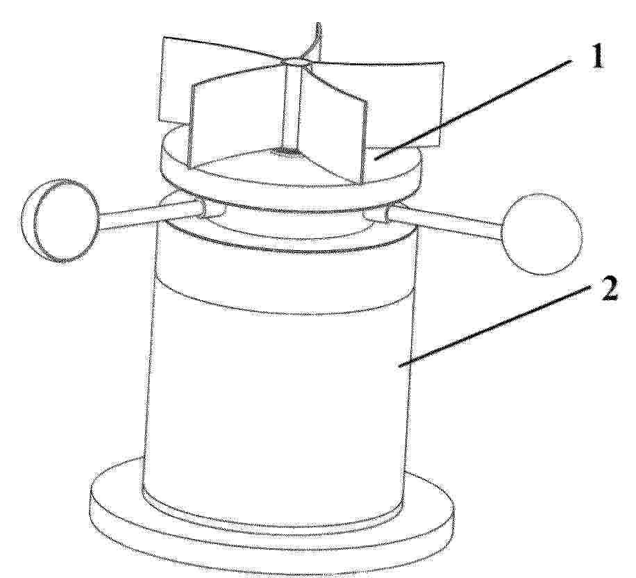
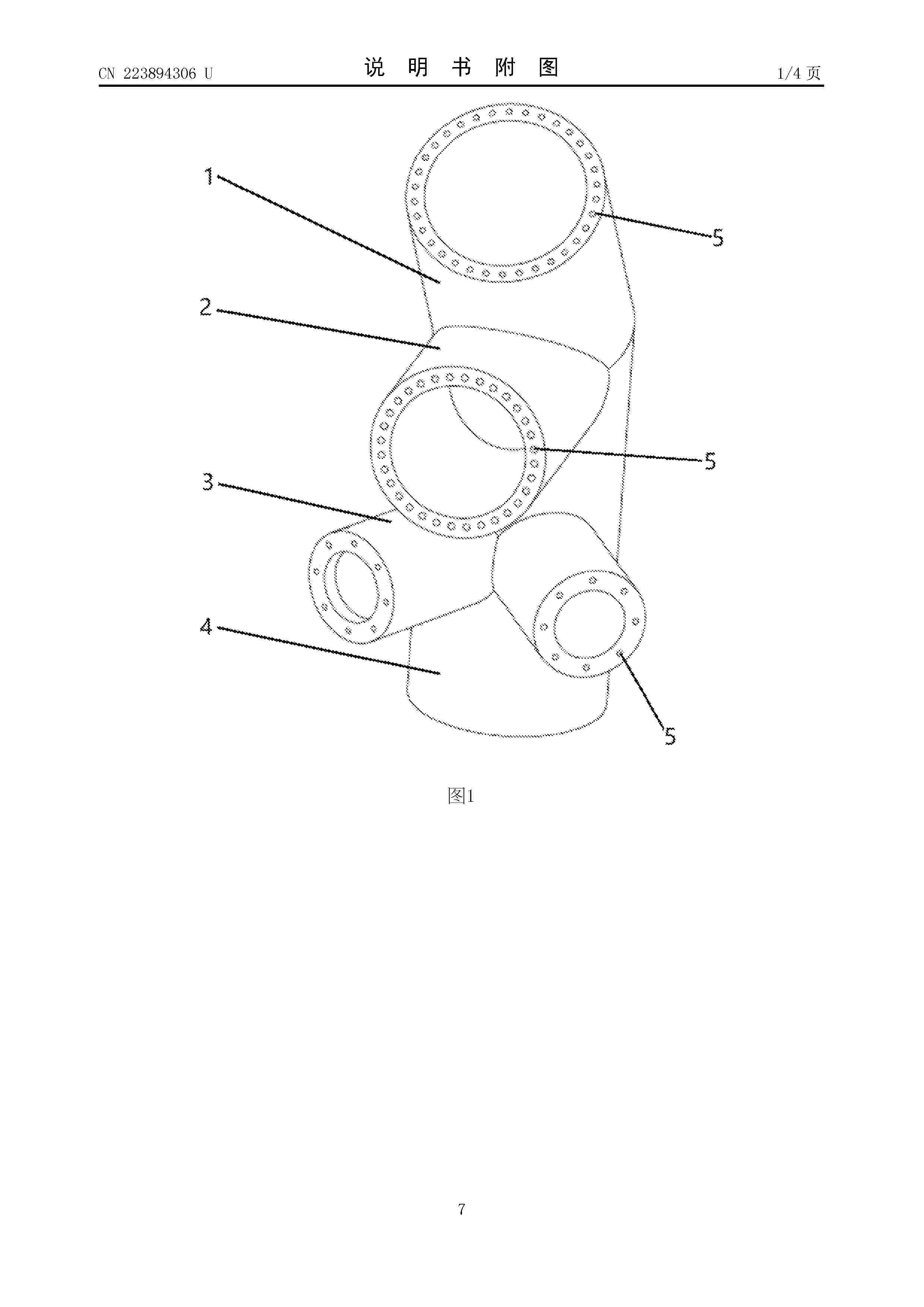
一种防倾斜燃料电池系统

NºPublicación:  CN224096697U 07/04/2026
Solicitante: 
福建亚南电机有限公司福建省亚南科技股份有限公司
CN_224096697_U

Resumen de: CN224096697U

本实用新型涉及一种防倾斜燃料电池系统,包括车辆本体以及设置于车辆本体内部的燃料电池系统,所述燃料电池系统两侧设置有燃料电池系统安装架,所述燃料电池系统安装架与燃料电池系统之间为转动配合,以保证车辆在倾斜状态时燃料电池系统在重力作用下始终调整为竖向状态。本实用新型结构简单,设计合理,在车辆处于具有坡度的坡道时,燃料电池系统依然能够处于垂直状态,使得燃料电池的排水策略与燃料电池在水平路面保持一致,不增加系统控制的复杂性,相比复杂的多排水阀方案,本发明的结构简单,易于实现和维护,具有较高的实用性和经济性。

燃料电池组件的设计、设备与制造

NºPublicación:  CN121816650A 07/04/2026
Solicitante: 
理察·威廉士
CN_121816650_PA

Resumen de: CN121816650A

先进的燃料电池组件具有多种特征,可提高其性能、可靠性、耐用性和可制造性,包括离子交换膜,例如质子交换膜,其包含全氟化磺酸或碳氢化合物的聚合物,由机械强度更高的惰性内骨架结构支撑,防止加工操作、温度循环引起,以及湿度循环引起的离聚物膨胀和收缩的变形损坏。内骨架可以黏着到用于在制造后将一个膜与另一膜相分离之较宽的外骨架柱上,以及黏着到用于在切割分离之前的加工过程中运输膜的较厚握柄上。其他先进的燃料电池的特征包括可抑制燃料穿过、氧气回流和一氧化碳空气中毒的不对称触媒涂布膜;用于增强电荷和气体传输的级配异质气体扩散层;以及带有集成密封剂的自对准无密封圈组件,可防止气体泄漏。

一种便于拆装的网板

NºPublicación:  CN224096701U 07/04/2026
Solicitante: 
四川华泸光电集团有限公司四川中新储能科技有限公司
CN_224096701_U

Resumen de: CN224096701U

本实用新型涉及化学电池技术领域,具体而言,涉及一种便于拆装的网板,采用本实用新型所提供的方法主要包括了第一连接板和第二连接板,第一连接板和第二连接板之间设置用于电解反应的电解装置,第一连接板和第二连接板之间通过连接装置可拆卸连接,第一连接板和第二连接板对称设置,连接后形成完整的网板。通过上述装置,将完整的网板分成了两个对称设置的第一连接板和第二连接板,第一连接板和第二连接板可以通过连接装置进行可拆卸的连接,这样就便于更换内部的电解装置,且不用损坏网板。

一种带雾化加湿装置的燃料电池系统

NºPublicación:  CN224096698U 07/04/2026
Solicitante: 
广东云韬氢能科技有限公司
CN_224096698_U

Resumen de: CN224096698U

本实用新型公开一种带雾化加湿装置的燃料电池系统。该系统包括涡轮回收空压机、中冷器、雾化加湿装置、电堆和汽水分离器;所述涡轮回收空压机、中冷器、雾化加湿装置与电堆的空气进堆口顺次连接;所述电堆的出堆湿空气出口与汽水分离器、涡轮回收空压机顺次连接;所述雾化加湿装置与汽水分离器连接,实现汽水分离器中的水分给雾化加湿装置内部的空气雾化加湿的目的。该系统不会给燃料电池系统带来额外的压降,从而降低系统辅耗,提升系统效率。

电池管理系统及液流电池设备

NºPublicación:  CN224096699U 07/04/2026
Solicitante: 
纬景储能科技有限公司
CN_224096699_U

Resumen de: CN224096699U

本申请涉及一种电池管理系统及液流电池设备,模拟前端芯片可与液流电池的正负极、备用电源的正负极分别连接,在液流电池的电堆运作的情况下,液流电池输出的液流电池电压将会大于或等于模拟前端芯片的供电电压,此时以液流电池为模拟前端芯片进行供电。而在液流电池电压小于供电电压(例如电堆未运作)时,则可切换以备用电源为模拟前端芯片供电。通过该方案,可在电堆未运作时以备用电源为模拟前端芯片供电,从而维持模拟前端芯片运行,进而实现电堆未运作时的液流电池状态监控。

固体电解质、层叠体及燃料电池

NºPublicación:  CN121816625A 07/04/2026
Solicitante: 
国立大学法人九州大学
CN_121816625_A

Resumen de: JP2025042768A

To provide a solid electrolyte which can exhibit excellent proton diffusion performance in a middle temperature range.SOLUTION: One aspect of the present disclosure provides a solid electrolyte which has a perovskite crystal structure having a mother crystal that is represented by the general formula AMaO3-δ and an element Mb for substituting a part of Ma in the mother crystal and forming a solid solution, wherein the mother crystal is a crystal having a |∇a|/|∇b| value of more than 0 and less than 1.568, where ∇ a is the inclination of a graph indicating the relationship between a change in the crystal lattice volume and a substitution solid solution ratio of Mb when Mb is solid-solved in a perovskite crystal represented by AMaO3-δ, and ∇ b is the inclination of a graph indicating the relationship between a change in the crystal lattice volume and a substitution solid solution ratio of Mb when Mb is solid-solved in a crystal represented by AMaO3 in which δ of the perovskite crystal is filled with an oxygen atom.SELECTED DRAWING: None

电解槽负载转换方法

NºPublicación:  CN121816437A 07/04/2026
Solicitante: 
赛瑞斯知识产权有限公司
CN_121816437_PA

Resumen de: EP1000000A1

The invention relates to an apparatus (1) for manufacturing green bricks from clay for the brick manufacturing industry, comprising a circulating conveyor (3) carrying mould containers combined to mould container parts (4), a reservoir (5) for clay arranged above the mould containers, means for carrying clay out of the reservoir (5) into the mould containers, means (9) for pressing and trimming clay in the mould containers, means (11) for supplying and placing take-off plates for the green bricks (13) and means for discharging green bricks released from the mould containers, characterized in that the apparatus further comprises means (22) for moving the mould container parts (4) filled with green bricks such that a protruding edge is formed on at least one side of the green bricks.

用于燃料电池系统的水分离器、燃料电池系统及运输工具

NºPublicación:  CN121816649A 07/04/2026
Solicitante: 
宝马股份公司
CN_121816649_PA

Resumen de: WO2025056124A1

The technology disclosed here relates, according to the invention, to a water separator (11) for a fuel cell system (10), having a housing (12) with a housing volume (19), a gas inlet opening (13), a gas outlet opening (15) and a water outlet opening (17), having a valve arrangement with a valve seat (22) and a valve body (21), which is positioned in the housing volume (19), the valve arrangement being adjustable into an open state (S1) and into a closed state (S2), and having a bypass (23) which is integrated in the valve body (21) and has a bypass inlet opening (24), through which water (18) can flow into the bypass (23), and a bypass outlet opening (25), through which water (18) can flow out of the bypass (23) and into the surroundings of the housing (12), wherein the bypass (23) in the closed state (S2) is positioned in such a manner that water (18) can flow into the bypass inlet opening (24) only when a certain water level in the housing volume (19) is reached. The technology also relates to a fuel cell system (10) having the water separator (11), and to a vehicle (100) having the fuel cell system (10).

具有两个相互套入地布置的过滤介质体的过滤元件

NºPublicación:  CN121816222A 07/04/2026
Solicitante: 
曼·胡默尔有限公司
CN_121816222_PA

Resumen de: WO2025051500A1

The invention relates to a two-stage filter element having an inner and an outer filter medium body, which are able to be flowed through in series. The inner filter medium body is arranged in an interior space of the outer filter medium body. At least one of the filter medium bodies has a folded filter medium, preferably containing activated charcoal, the end side of which is covered by a side band. The side band is embedded continuously, at least in a radial subregion and in the circumferential direction, in an end plate which seals off the other filter medium body at its end side. The end plate may also seal off the folded filter medium body with the side band, wherein the side band may be embedded entirely in the end plate. The side band may have slots in the region embedded in the end plate.

涡扇发动机与燃料电池混合动力系统

NºPublicación:  CN121803334A 07/04/2026
Solicitante: 
中国科学院工程热物理研究所
CN_121803334_PA

Resumen de: CN121803334A

本发明提供了一种涡扇发动机与燃料电池混合动力系统,涉及飞行器发电与推进技术领域。包括发动机组件、重整器和燃料电池组件。发动机组件包括压气机、燃烧室和涡轮组,压气机适用于输出压缩空气,燃烧室适用于供压缩空气与燃料混合燃烧,涡轮组利用来自燃烧室的燃气做功驱动压气机。重整器被构造成利用涡轮组的一部分尾气余热对燃料催化重整以得到氢气,压气机被构造成向重整器提供部分压缩空气以调节催化重整反应温度。燃料电池组件包括阴极和阳极,阳极利用重整氢气发生氧化反应,阴极利用部分压缩空气反应产生水蒸汽并输送至重整器。燃料电池在反应过程中输出电能,并通过换热器加热发动机外涵气流,实现能量梯级利用与系统整体效率提升。

一种船用氢能发电装置及其安全监测方法

NºPublicación:  CN121799596A 07/04/2026
Solicitante: 
海大清能船舶(大连)有限公司
CN_121799596_PA

Resumen de: CN121799596A

本发明涉及船舶动力技术领域,公开了一种船用氢能发电装置及其安全监测方法。所述船用氢能发电装置,包括:模块化舱体以及安全监测模块;所述安全监测模块包括至少一个气体探测单元以及设置于气体探测单元采样前端的气体预处理单元;所述气体预处理单元包括:初级净化件、二级净化件、粉尘捕集过滤件、振动感知件、压差感知件以及控制端;初级净化件其包括多个封装有氧化铝吸附剂的第一柔性透气囊体。本发明通过将吸附剂柔性囊体化封装,抑制了船舶持续振动导致的吸附剂粉化;通过增设专用粉尘捕集过滤件及其压差监测,构建了拦截与感知粉尘迁移的双重屏障,从而解决了因粉尘污染导致气体探测器隐性安全隐患。

燃料电池单电池的制备工装

NºPublicación:  CN224096696U 07/04/2026
Solicitante: 
上海律致氢能科技有限公司
CN_224096696_U

Resumen de: CN224096696U

本实用新型提供了一种燃料电池单电池的制备工装,包括移栽组件、移栽直线导轨组件、第一工位和第二工位,第一工位和第二工位相间隔的设置在移栽直线导轨组件的上方,移栽组件具有可放置单电池结构的平台,单电池结构包括依次叠放的阳极热敷品、膜电极、阴极热敷品,且移栽组件可移动地设置在移栽直线导轨组件上,移栽组件沿移栽直线导轨组件移动以将单电池结构移栽至第一工位,第一工位具有抽真空和热压功能,在第一工位上对所述的单电池结构先进行抽真空再在真空环境下热压,在热压完成后,移栽组件将所述的单电池结构移动至第二工位,第二工位具有冷压功能。能使单电池在真空中热压后迅速冷却降温,从而提高生产效率和产品质量。

燃料电池系统散热能力评估方法、衰减预警方法及燃料电池系统

NºPublicación:  CN121812647A 07/04/2026
Solicitante: 
上海重塑能源科技有限公司重塑(苍南)能源有限公司
CN_121812647_PA

Resumen de: CN121812647A

本发明公开一种燃料电池系统散热能力评估方法、衰减预警方法及燃料电池系统。燃料电池系统散热能力评估方法包括如下步骤:S1.获取燃料电池系统的运行参数,运行参数包括燃料电池系统运行过程中的温度参数和电堆输出的电气参数;S2.判断各运行参数在预设的时间窗口内是否满足稳态条件;S3.当各运行参数均满足稳态条件时,基于该满足稳态条件的电气参数计算电堆的产热量,并基于该产热量和该满足稳态条件的温度参数计算燃料电池系统的散热能力评估值。本发明提供的燃料电池系统散热能力评估方法、衰减预警方法及燃料电池系统,能够实时、准确地在线评估燃料电池系统的实际散热能力,以实现状态监测、预防性维护及保障系统可靠高效运行。

一种燃料电池的热管理方法以及处理装置

NºPublicación:  CN121812640A 07/04/2026
Solicitante: 
内蒙古捷氢科技有限公司
CN_121812640_PA

Resumen de: CN121812640A

本申请公开了一种燃料电池的热管理方法以及处理装置,涉及燃料电池技术领域,本申请技术方案通过电路结构等效表示燃料电池中部件的热属性,基于此构建燃料电池的热管理模型。可以通过燃料电池中电堆的散热量确定电路结构中电源模块的输出参数,从而可以确定电路结构中其他电路元件的电参数,可以通过电参数表征燃料电池中对应部件的热属性,热属性至少包括燃料电池中部件的温度参数。可见,本申请技术方案创造性的通过电路结构表征燃料电池中部件的热属性,基于对电路结构中电路元件的电参数的计算,可以获取燃料电池中对应部件的热属性,无需温度传感器便可以确定这些部件的温度参数,降低了成本。

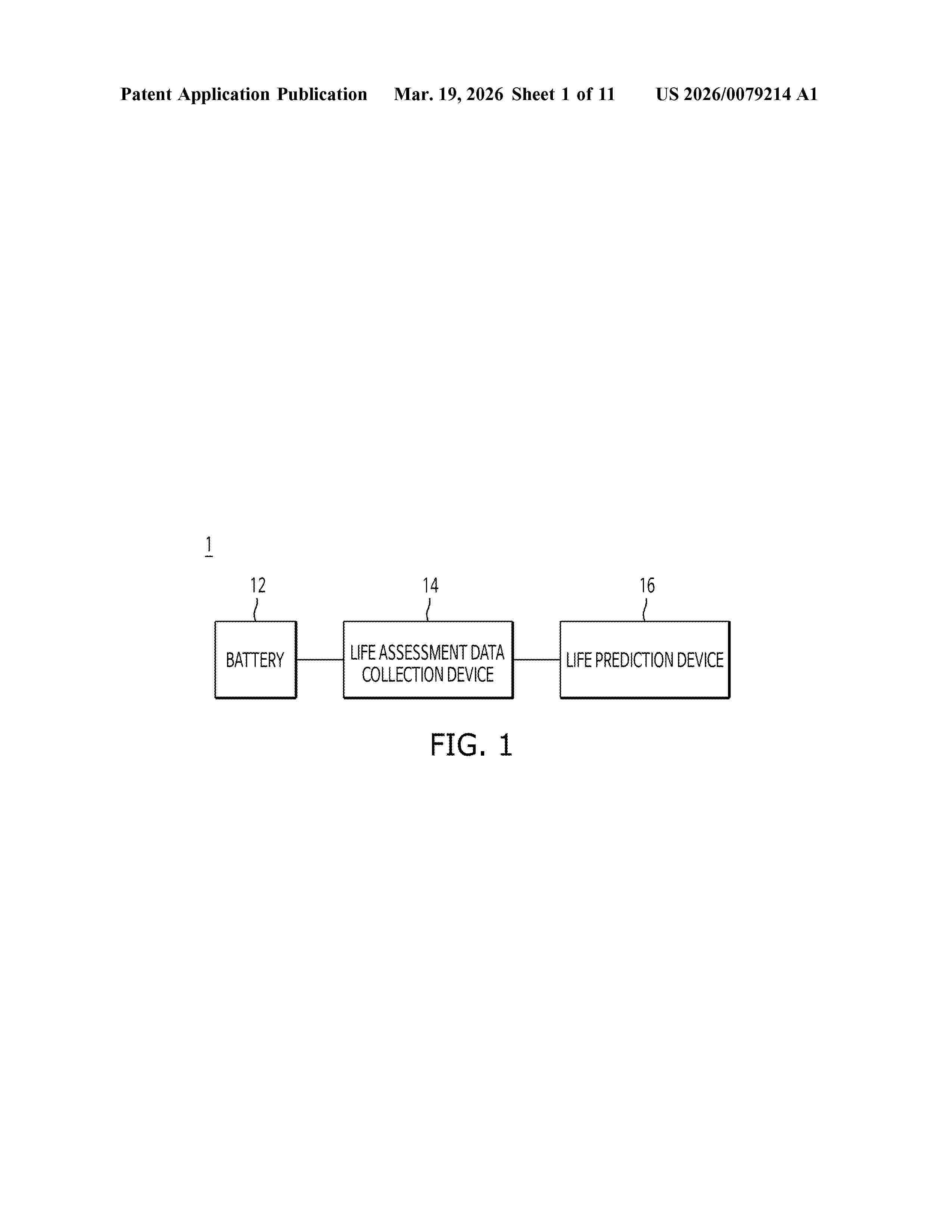
一种燃料电池寿命预测方法、装置、电子设备及存储介质

NºPublicación:  CN121812646A 07/04/2026
Solicitante: 
淮阴工学院
CN_121812646_PA

Resumen de: CN121812646A

本发明提供了一种燃料电池寿命预测方法、装置、电子设备及存储介质,所述方法包括:步骤1,实时采集燃料电池运行数据;步骤2,对燃料电池运行数据进行预处理与标准化处理;步骤3,构建机理子模型提取理论特征矩阵,同时使用改进变换器Transformer算法构建数据驱动子模型提取实际特征矩阵,将理论特征矩阵和实际特征矩阵按权重融合成一个新的便于预测的矩阵;步骤4,采用反比权重分配算法优化模型权重参数;步骤5,动态调整对模型的预测结果进行误差校正。步骤6,计算剩余寿命,根据剩余寿命判断是否预警。发明解决了现有技术复杂工况下精度低、数据缺失时稳定性差的问题,为燃料电池全生命周期运维提供可靠技术支撑。

一种用于氢能电池连接片的镍合金带材及其制备方法

NºPublicación:  CN121802236A 07/04/2026
Solicitante: 
江苏远航精密合金科技股份有限公司江苏阿凡达能源科技有限公司
CN_121802236_PA

Resumen de: CN121802236A

本发明属于合金制备技术领域,具体涉及一种用于氢能电池连接片的镍合金带材及其制备方法。所述镍合金带材由上表层、下表层与中间芯层组成;所述上表层和下表层均由以下重量百分比的原料组成:Cr 4‑8 wt%、Mo 6‑9 wt%、Cu 3‑5 wt%、Zr 1‑3 wt%、高熵硼化物0.5‑1 wt%,余量为Ni;所述中间芯层由以下重量百分比的原料组成:Cu 14‑18 wt%、Mo 6‑9 wt%、Cr 2‑3 wt%、Zr 0.5‑1.5 wt%、镀银硼烯1.5‑3 wt%,余量为Ni。本发明的镍合金带材电阻率低、力学性能优良,抗腐蚀性能优异。

一种质子传导型固体氧化物电池及其制备方法

NºPublicación:  CN121812648A 07/04/2026
Solicitante: 
浙江理工大学浙江省白马湖实验室有限公司
CN_121812648_PA

Resumen de: CN121812648A

本发明涉及固体氧化物燃料电池技术领域,提供了一种质子传导型固体氧化物电池及其制备方法。本发明提出了一种具有优异催化活性的阴极电极材料,提高阴极的结构和电化学稳定性;优化了阳极和阴极的微观孔隙结构,梯度孔隙结构不仅有利于气体进入到电极中,也利于产物气体的排出;同时对阳极的微观结构进行了调控,旨在改善阳极氧化‑还原稳定性和控制Ni团聚长大,提高电池功率输出性能,控制电池长时间测试时的性能衰减。本发明保证了电池各组件的匹配性、电极材料的结构稳定性和电化学反应的活性。

一种移动式氢氧电热冷联供系统和容量配置方法

NºPublicación:  CN121813521A 07/04/2026
Solicitante: 
西安交通大学
CN_121813521_PA

Resumen de: CN121813521A

本申请提供一种移动式氢氧电热冷联供系统和容量配置方法,涉及能源技术领域。集成装置,其顶部布设光伏组件,外部设置储氢设备、储氧设备、储热设备、储冷设备;集成装置包括:电能转换模块、液体纯化模块、电解槽模块、氢能燃料电池模块、热管理模块、制冷模块、控制模块。本申请的多能联供、高度集成、资源集约、部署便捷、智能协同的移动式氢氧电冷热联产系统及其容量配置方法,能够实现氢氧电热冷多能联供,显著提升了系统的适应性、灵活性和经济性。极好的解决现有移动式存在的供能系统供能形式单一、模块集成度低、综合能源利用率低、持续运行时间短等重要缺陷,满足了多种复杂场景动态工况下对移动式供能系统的高效、灵活和经济性要求。

离子传导聚合物、离子传导交联物的制备方法、阴离子交换膜及其应用

NºPublicación:  CN121801005A 07/04/2026
Solicitante: 
固碳新能源科技(苏州)有限公司碳谐科技(上海)有限公司
CN_121801005_PA

Resumen de: CN121801005A

本申请提供一种离子传导聚合物、离子传导交联物的制备方法、阴离子交换膜及其应用,属于电化学技术领域。本申请通过对离子传导聚合物中主链骨架连接的侧链中的基团进行调控,采用该离子传导聚合物交联以制备阴离子交换膜,不仅可以提高阴离子交换膜的离子导率,使得阴离子交换膜具有较好的电化学性;还可以降低阴离子交换膜的溶胀率以及提高阴离子交换膜的碱稳定性,使得阴离子交换膜具有较长的使用寿命,有利于极大程度地扩宽阴离子交换膜的应用范围。

基于超快高温烧结的阳极层/电解质层异质结构制备方法

NºPublicación:  CN121812655A 07/04/2026
Solicitante: 
内蒙古科技大学
CN_121812655_PA

Resumen de: CN121812655A

本发明公开了基于超快高温烧结的阳极层/电解质层异质结构制备方法,包括:在真空气氛下,将阳极层/电解质层的双层素坯置于石墨毡发热件上,且双层素坯的电解质层直接接触所述石墨毡发热件;其中,阳极层为NiO‑陶瓷复合阳极层;使电流通过所述石墨毡发热件以引起石墨毡发热件的焦耳热,继而通过热辐射和/或热传导对双层素坯进行超快高温烧结。本发明可避免传统高温共烧成型方法易出现的分层、翘曲及微裂纹;且可通过电参数控制温度梯度,并在烧结过程中将阳极层中NiO低温还原为金属Ni,具有工艺简单、高效、低成本的优点,为固体氧化物燃料电池、固体氧化物电解池、高温电化学传感器或其他多层异质结构的规模化制备提供了新途径。

外供氢加氢站智能配电系统

NºPublicación:  CN121813663A 07/04/2026
Solicitante: 
四川省氢捷动能科技有限责任公司
CN_121813663_PA

Resumen de: CN121813663A

本发明涉及应用于配电领域的外供氢加氢站智能配电系统,在公共电网正常的情况下,由公共电网为加氢过程中的用电设备进行供电,氢气在双向输氢装置内以单路径流动的方式进入加氢机中,使加氢站正常为交通工具提供加氢服务,当公共电网突然中断时,自动触发双向输氢装置的内部结构变化,使氢气在双向输氢装置中进行双路径流动,一部分氢气通过供氢短管b加入至加氢机中,另一部分氢气通过供氢短管c进入氢发电模块,通过电化学反应,产生电能,为加氢机和其他负载进行持续供电,使加氢站可持续提供加氢服务以及其他安全服务,有效解决了现有技术中因公共电网中断造成的加氢站瘫痪的问题。

一种燃料电池的抗CO毒化催化剂及其制备方法与燃料电池

NºPublicación:  CN121812633A 07/04/2026
Solicitante: 
一汽解放汽车有限公司
CN_121812633_PA

Resumen de: CN121812633A

本发明提供了一种燃料电池的抗CO毒化催化剂及其制备方法与燃料电池,所述抗CO毒化催化剂包括单原子催化剂基材,及负载于单原子催化剂基材的表面的Pt纳米颗粒;所述单原子催化剂基材包括氮掺杂碳材料,及所述氮掺杂碳材料上负载的Rh单原子活性位点。本发明提供的抗CO毒化催化剂中,单原子催化剂基材上还修饰有S元素时,修饰的S元素能够加强对Pt纳米颗粒的调控,降低了Pt的d带中心,从而减弱了Pt纳米颗粒对CO的吸附,提升了抗CO毒化性能;进一步地,修饰的S元素还能与Rh单原子活性位点形成协同作用,进一步地降低Pt纳米颗粒对CO的吸附,从而进一步地提升了抗CO毒化性能。

一种在线监测水污染事件的浮岛式微生物燃料电池传感器

NºPublicación:  CN121805352A 07/04/2026
Solicitante: 
南京师范大学
CN_121805352_PA

Resumen de: CN121805352A

本发明公开了一种在线监测水污染事件的浮岛式微生物燃料电池传感器,属于环保技术领域。该传感器包括沉水桶、浮岛、支撑架、阳极、阴极、外阻、数据采集器、太阳能板和监测终端。本发明的传感器,通过将阳极埋设在沉水桶里的土壤中,沉水桶悬挂在浮岛下方,因此不需要潜入湿地底部埋设阳极,适合水深较深的湿地监测;装置载有数据采集器和太阳能板,能够把电信号数据实时在线传输到电脑和手机终端;通过引入机器学习算法,建立微生物燃料电池输出电压信号与水体pH值之间的非线性映射模型,使监测终端能够对实时采集的电压数据进行智能解析,从而实现水体pH值的高精度、连续化、在线监测。

基于杂多酸氧化还原媒介的可再生燃料电池及其工作方法

NºPublicación:  CN121812659A 07/04/2026
Solicitante: 
北京航空航天大学
CN_121812659_PA

Resumen de: CN121812659A

基于杂多酸氧化还原媒介的可再生燃料电池及其工作方法。本发明涉及一种基于杂多酸氧化还原媒介的单元化可再生燃料电池,属于燃料电池技术领域,本发明通过流体管路连接的氢‑杂多酸电化学池与杂多酸化学再生反应器;其中,所述电化学池实现电化学反应,所述再生反应器实现杂多酸氧化还原媒介的化学再生;杂多酸侧电极无需贵金属催化剂,氢电极贵金属载量<0.2 mg・cm⁻²,电化学反应与化学再生解耦,消除瞬态电位振荡对催化剂的腐蚀,动态工况下耐久性高;杂多酸水溶液为均相体系,避免亲疏水环境冲突,无需复杂水热调控装置;本发明克服传统单元化可再生燃料电池URFC的技术缺陷,解决贵金属依赖、水热管理复杂、动态工况耐久性差的问题,同时提升能量转换效率与经济收益。

一种基于超薄电解质层的固体氧化物燃料电池制备方法

NºPublicación:  CN121812649A 07/04/2026
Solicitante: 
中国石油大学(华东)中国科学院上海应用物理研究所
CN_121812649_PA

Resumen de: CN121812649A

本发明公开了一种基于超薄电解质层的固体氧化物燃料电池制备方法,所述方法包括步骤:配制用于制备阳极支撑体、阳极活性层、电解质层、阻隔层、复合阴极层的浆料;利用压片法将阳极支撑体浆料及阳极活性层浆料制备成阳极支撑体‑阳极活性层一体化素坯,并进行排胶、烧结,得到阳极支撑体‑阳极活性层复合结构;在阳极支撑体‑阳极活性层复合结构表面旋涂电解质层浆料,通过旋涂法制备超薄电解质层,得到半电池素坯;然后进行排胶、烧结,得到半电池;在半电池表面依次丝网印刷阻隔层浆料及复合阴极层浆料并进行干燥、排胶、共烧结,最终得到固体氧化物燃料电池单电池片。本发明所制备的燃料电池具有良好的电化学性能及稳定性。

提升固体氧化物燃料电池阴极侧界面结合力及电性能的方法

NºPublicación:  CN121812656A 07/04/2026
Solicitante: 
常州翌晶氢能科技有限公司
CN_121812656_PA

Resumen de: CN121812656A

本发明提供了提升固体氧化物燃料电池阴极侧界面结合力及电性能的方法,属于燃料电池领域;本发明的提升固体氧化物燃料电池阴极侧界面结合力及电性能的方法,步骤包括:在带有阻挡层的半电池上丝网印刷阴极过渡层浆料后烘干,再印刷一层阴极浆料烘干,然后排胶烧结;其中,阴极过渡层浆料按质量分数计包括:20~60wt%过渡层粉体、40~75wt%丝网印刷溶剂、5wt%分散剂;阴极浆料按质量分数计包括:60~90wt%阴极粉体、40~75wt%丝网印刷溶剂、5wt%分散剂;所述过渡层粉体与阴极粉体均包括阴极材料、阻挡层材料;所述过渡层粉体与阴极粉体还包括复合负热膨胀材料;所述复合负热膨胀材料先在氮掺杂石墨烯上原位形成三氧化二钕,再与氧化锰通过固相法复合得到。

提钒浸出液除杂制备钒电解液的方法

NºPublicación:  CN121802430A 07/04/2026
Solicitante: 
成都先进金属材料产业技术研究院股份有限公司
CN_121802430_A

Resumen de: CN121802430A

本发明公开了一种提钒浸出液除杂制备钒电解液的方法,属于电解液技术领域。本发明为解决提钒浸出液制备钒电解液时杂质种类多、含量高、分离困难、流程长等问题,提供了一种提钒浸出液除杂制备钒电解液的方法,包括:将阴离子树脂和萃取剂制成萃取剂复合树脂;将提钒浸出液通过萃取剂复合树脂进行吸附,调整pH至‑1~1,再加入还原剂进行还原,得一段除杂液;将一段除杂液通过吸附碱金属杂质树脂进行吸附,得硫酸氧钒溶液;硫酸氧钒溶液浓缩富集后,调整硫酸根浓度,电解得钒电解液。本发明通过将有机萃取剂负载到离子交换树脂,实现了浸出液中阴阳杂质离子的深度完全分离,所得钒电解液杂质离子含量低。

一种燃料电池催化剂及其制备方法与燃料电池

NºPublicación:  CN121812626A 07/04/2026
Solicitante: 
一汽解放汽车有限公司
CN_121812626_PA

Resumen de: CN121812626A

本发明提供了一种燃料电池催化剂及其制备方法与燃料电池,燃料电池催化剂包括负载有Fe和/或Ce的MOF材料的石墨化复合材料;石墨化复合材料具有两级孔径结构,两级孔径结构包含大孔与微孔,Fe和/或Ce以原子态固定于微孔的缺陷位。所述燃料电池催化剂具有大孔和微孔的两级孔径结构,有效提升了传质效率并利于稳定Fe‑N4和/或Ce‑N4双原子活性位点;负载的Fe和/或Ce增强了O‑O键断裂和/或氧还原能力,高比表面积提升了活性位点利用率;微孔结构还能与Fe和/或Ce协同,减少强氧化自由基游离,增强碳载体稳定性并降低对质子交换膜的侵蚀;因此,所述燃料电池催化剂具有优异的催化活性与较强的稳定性。

一种比例阀及供氢系统

NºPublicación:  CN121803662A 07/04/2026
Solicitante: 
一汽解放汽车有限公司
CN_121803662_PA

Resumen de: CN121803662A

本发明涉及氢燃料电池技术领域,尤其涉及一种比例阀及供氢系统。比例阀包括阀体、阀芯、针阀和外壳,阀体内沿轴向设置有连通的第一腔体和第二腔体。阀芯包括相连的芯块和阀杆,芯块活动安装于第一腔体内,阀杆的一端与芯块相连,阀杆的另一端伸入第二腔体内。针阀的第一端通过弹性件活动穿设于第二腔体内并与阀杆的另一端抵紧,针阀的第二端能够伸入喷嘴;弹性件被配置为使针阀始终具有打开喷嘴的趋势。外壳设置于阀体并能够安装于阀座,外壳内设置有与阀芯配合的电磁线圈;电磁线圈通电时,芯块推动针阀朝向喷嘴移动,以关闭喷嘴;电磁线圈断电时,针阀远离喷嘴移动,以打开喷嘴。以简化供氢系统的结构,降低调节引射比的控制难度。

一种燃料电池ORR催化剂及其制备方法和应用

NºPublicación:  CN121812624A 07/04/2026
Solicitante: 
格林美股份有限公司格林美(深圳)超级绿色技术研究中心有限公司
CN_121812624_PA

Resumen de: CN121812624A

本发明提供了一种燃料电池ORR催化剂及其制备方法和应用,所述燃料电池ORR催化剂包括氮掺杂多孔碳内核、设置于所述氮掺杂多孔碳内核表面的氮掺杂多孔碳包覆层以及分布在所述氮掺杂多孔碳内核和氮掺杂多孔碳包覆层的孔道内的掺杂金属单质;所述氮掺杂多孔碳内核中的微孔占比>所述氮掺杂多孔碳内核中的介孔和大孔的总占比;所述氮掺杂多孔碳包覆层中的微孔占比<所述氮掺杂多孔碳包覆层中的介孔和大孔的总占比。本发明通过空间上的梯度孔道设计,结合CVD包覆技术,得到一种内多微孔,外多介孔/大孔的氮掺杂多孔碳结构单原子催化剂,在保证催化剂催化活性的同时,极大地抑制了金属单质的溶解和流失,从而延长催化剂的使用寿命。

一种碳毡电极材料改性方法及锌溴液流电池

NºPublicación:  CN121812628A 07/04/2026
Solicitante: 
稀导技术(上饶)有限公司
CN_121812628_PA

Resumen de: CN121812628A

本发明公开了一种碳毡电极材料改性方法及锌溴液流电池,包括以下步骤:将碳毡浸入氧化石墨烯水分散液中得到复合材料,将复合材料用去离子水浸泡清洗后烘干;将烘干后的复合材料在保护气氛下进行煅烧后得到改性后的碳毡电极材料,其中,保护气氛包括氮气以及氨气。氧化石墨烯经高温还原后形成高度导电的还原氧化石墨烯(rGO),其导电性能远优于传统碳毡,可显著降低碳毡电极材料的界面电阻和体电阻,改善电子传输效率,减少电池充放电过程中的极化损失,从而提升电池的电压效率和能量效率。本发明所用原料成本较低,制备工艺步骤简单、可控性强,无需复杂设备,适合大规模工业化生产,为锌溴液流电池的商业化应用奠定了基础。

一种全钒液流电池电解液的制备方法

NºPublicación:  CN121812658A 07/04/2026
Solicitante: 
中钠储能技术有限公司
CN_121812658_PA

Resumen de: CN121812658A

本申请公开了一种全钒液流电池电解液的制备方法,属于电池技术领域。主要包括准备待优化的初始电解液,根据初始电解液的体积,将各个种类的添加剂按照一定浓度配置,并进行混合,按照一定体积比,将备用电解液取出部分样品至混合装置中,加热至所需温度,在混合装置中加入混合添加剂,采用超声波装置进行搅拌,将添加剂完全溶解在样品中,至颜色澄清透明,得到浓缩样品,将浓缩样品加入初始电解液的存放装置中,采用机械搅拌进行搅拌,至两股电解液混合均匀,得到优化电解液。本申请的一种全钒液流电池电解液的制备方法,通过在全钒液流电池的电解液中增加一种复合添加剂,同时对电解液的容量衰减,高温析出,反应活性弱三种性能指标进行改善。

一种独特纳米结构的改性电极及其制备方法和在水系有机液流电池中的应用

NºPublicación:  CN121812621A 07/04/2026
Solicitante: 
中盐盐穴综合利用股份有限公司南方科技大学
CN_121812621_PA

Resumen de: CN121812621A

本发明公开了一种独特纳米结构的改性电极及其制备方法和在水系有机液流电池中的应用,涉及液流电池技术领域。所述制备方法包括:将碳基材料经过预处理,浸渍于预热后的金属有机框架材料溶液中;经超声作用实现碳基材料与金属有机框架材料的高效混合负载,再经过多阶段热管理工艺和处理后得到水系有机液流电池电极。本发明通过金属有机框架材料对碳基材料表面进行精细化修饰,使金属原子能够均匀分布并作为电化学活性位点,相比原始碳基材料,本发明的电极对于有机活性电解质的催化性能和电化学性能更好,且倍率特性、能量效率以及对电解液的利用率都有所提高,为高效、长寿命的水系有机液流电池提供了一种解决方案。

联合发电产热的控制方法、装置、电子设备及存储介质

NºPublicación:  CN121803980A 07/04/2026
Solicitante: 
国能南京电力试验研究有限公司国家能源集团科学技术研究院有限公司国能浙江安吉发电有限公司
CN_121803980_A

Resumen de: CN121803980A

本申请涉及一种联合发电产热的控制方法、装置、电子设备及存储介质。方法包括:响应系统当前的用电与用热需求,生成燃料电池电堆的实际输出电流指令,并据此控制空气、氢气及冷却循环子系统,输出实际电功率与第一实际热功率;基于用热需求控制热暂存装置输出第二实际热功率,叠加二者作为热泵系统的目标输入热功率,控制热泵输出第三实际热功率;再根据用热需求与第三实际热功率的差值控制氢气催化燃烧系统输出补偿热功率,最终由第三实际热功率与补偿热功率共同满足系统用热负荷。由此,解决了因热电同步输出与热泵响应延迟导致的系统热负荷动态响应能力不足的问题,实现了对工业场景中快速波动的用热需求的精准、快速响应。

一种质子交换膜燃料电池石墨碳板贴合密封结构

NºPublicación:  CN121812638A 07/04/2026
Solicitante: 
江苏冰城氢能科技有限公司
CN_121812638_PA

Resumen de: CN121812638A

本发明适用于燃料电池技术领域,提供了一种质子交换膜燃料电池石墨碳板贴合密封结构,包括第一石墨碳板、第二石墨碳板以及设置于第一石墨碳板与第二石墨碳板之间的质子交换膜结构,通过内外密封的设计,内密封垫圈和外密封橡胶的双重密封,有效防止气体泄漏,提高燃料电池的密封性和性能稳定性,确保了质子交换膜的完好无损,避免了氢气和氧气的泄漏,从而提高了电池的效率和可靠性,而使用环氧树脂、聚氨酯或改性丙烯酸酯等具有高粘接强度和良好弹性的胶粘剂对第一石墨碳板以及第二石墨碳板贴合处进行粘连,使得密封材料具有更好的适应性,可以根据不同应用环境的需求选择最合适的材料,显著提升了燃料电池的整体性能、稳定性和使用寿命。

一种定向排列纤维增强型铁铬液流电池电极材料

NºPublicación:  CN121812620A 07/04/2026
Solicitante: 
海川太风水储能科技(无锡)有限公司
CN_121812620_A

Resumen de: CN121812620A

本发明属于铁铬液流电池储能技术领域,涉及一种定向排列纤维增强型铁铬液流电池电极材料,该电极材料由定向排列的碳纤维和可去除模板纤维经成型‑模板去除后制成;所述碳纤维定向排列方向垂直于铁铬液流电池双极板的流道方向,且平行于电解液渗透方向;且所述电极材料成型后经模板去除处理,形成沿碳纤维定向方向贯通的孔隙通道,并提供了具体的制备方法。本发明针对现有铁铬液流电池电极纤维随机排列导致的液流阻力大、接触面积与流阻难以兼顾、适配特殊流道能力差等问题,通过模板纤维辅助成型实现电极纤维定向排列,去除模板后既降低液流阻力,又保证电极与电解液的接触面积,提升电池整体性能。

一种自组装复合生物膜阳极材料、微生物燃料电池及其制备方法

NºPublicación:  CN121812625A 07/04/2026
Solicitante: 
东莞职业技术学院东莞城市学院
CN_121812625_PA

Resumen de: CN121812625A

本申请提供一种一种自组装复合生物膜阳极材料、微生物燃料电池及其制备方法,涉及燃料电池技术领域。本发明提供的高性能的微生物燃料电池,采用商品碳材料负载的环糊精修饰铁基或锰基/钼基氧化物作为阳极基底材料,在含有微生物的阳极液中,进一步投加氧化石墨烯与金属氧化物的纳米材料粉末,微生物代谢产生的电子可以驱动氧化石墨烯在阳极上还原,同时与投加的金属氧化物粉末自组装形成既具有优异的电催化性能,又具有良好导电性,协同促进间接/直接胞外电子传递及胞间电子传递的的多级电子转移杂化生物膜,可大大提高微生物燃料电池的输出功率密度,具有良好的应用前景。

一种萤石结构Bi12TiO20电解质及其制备方法

NºPublicación:  CN121800530A 07/04/2026
Solicitante: 
上海交通大学
CN_121800530_PA

Resumen de: CN121800530A

本发明公开了一种萤石结构Bi12TiO20电解质及其制备方法,属于固态氧化物燃料电池电解质材料技术领域。制备方法包括以下步骤:(1)将Bi 2O 3与TiO 2混合,依次进行湿磨、干燥和过筛,得到氧化物混合粉末;(2)将氧化物混合粉末进行压制,得陶瓷生坯;(3)将陶瓷生坯烧结,得陶瓷预制体;(4)陶瓷预制体破碎成小块,置于悬浮容器中,并在悬浮容器底部小孔中持续通入气体并加热,待熔体样品在气流中悬浮稳定后停止加热,冷却至室温,即可制得成品。本发明制得的成品形态为不规则多面体形状;块体致密高且无二相可确保离子传输路径的连续性。

一种海上浮式储能装置系统

NºPublicación:  CN224096733U 07/04/2026
Solicitante: 
上海船舶研究设计院
CN_224096733_U

Resumen de: CN224096733U

本实用新型提供一种海上浮式储能装置系统,所述海上浮式储能装置系统包括:海上浮式平台;所述海上浮式平台上设置有:电解海水制氢装置、海水淡化装置、电解制氢装置、氢液化装置、储氢装置、配电模块和电池模块。本实用新型提供的海上浮式储能系统采用集装箱电池配合水电解制氢技术,其中制氢模块采用电解海水和海水淡化电解并联的两种制氢方式,可根据电能供给和设备容量等实际情况对制氢进行灵活配置和调整,提升系统制氢储氢的灵活性和稳定性。

一种填料增强质子交换膜及其制备方法与应用

NºPublicación:  CN121812654A 07/04/2026
Solicitante: 
河北金力新能源科技股份有限公司
CN_121812654_PA

Resumen de: CN121812654A

本发明涉及燃料电池技术领域,提出了一种填料增强质子交换膜及其制备方法与应用。一种填料增强质子交换膜,以ePTFE膜为骨架,填充填料增强全氟磺酸树脂,填料增强全氟磺酸树脂包括以下原料:全氟磺酸树脂、磺化蒙脱土、磺化氧化石墨烯和氨基化碳量子点,全氟磺酸树脂、磺化蒙脱土、磺化氧化石墨烯和氨基化碳量子点的质量比为1:0.01~0.1:0.01~0.05:0.01~0.05。通过上述技术方案,解决了相关技术中质子交换膜质子传导率低的问题。

液流电池堆叠装置

NºPublicación:  CN224096700U 07/04/2026
Solicitante: 
纬景崇聚能源科技(珠海)有限公司
CN_224096700_U

Resumen de: CN224096700U

本申请涉及一种液流电池堆叠装置。液流电池堆叠装置用于对液流电池进行堆叠,液流电池包括端板、若干电池单体以及多个螺杆。液流电池堆叠装置包括架体、支撑板和多个固定装置,支撑板设置于架体上。多个固定装置间隔设置于支撑板上,用于对螺杆的第一端进行固定,螺杆的第二端向远离支撑板的方向延伸,端板从第二端套于多个螺杆上,多个螺杆构造出对端板进行定位的定位装置。通过设置多个固定装置,每个固定装置对一个螺杆的第一端进行固定,使多个螺杆构造出对端板进行定位的定位装置,进而实现对端板的精准定位;螺杆作为液流电池自身的结构,节省了后续的组装螺杆的步骤。而且,无需额外设置定位装置,简化了液流电池堆叠装置结构。

一种信号监控系统

NºPublicación:  CN224095975U 07/04/2026
Solicitante: 
纬景储能科技有限公司
CN_224095975_U

Resumen de: CN224095975U

本实用新型公开了一种信号监控系统。该信号监控系统包括:电池管理模块,用于连接电池组;电池管理模块包括至少一个输出通道,输出通道连接于电池管理模块和电池组之间;电源测试模块,与电池管理模块连接,用于向电池管理模块输出测试信号;控制模块,与电池管理模块和电源测试模块连接,控制模块用于根据测试需求,控制电源测试模块输出测试信号,并选通输出通道作为目标测试通道;电池管理模块用于根据测试信号生成目标电信号,并通过目标测试通道输出目标电信号;控制模块还用于根据目标电信号,判断目标测试通道的故障状态。本实用新型实施例所提供的技术方案解决了对液流电池内结晶还原的效果欠佳的问题。

土工膜安装工具

NºPublicación:  CN224088938U 07/04/2026
Solicitante: 
纬景崇聚能源科技(宜昌)有限公司
CN_224088938_U

Resumen de: CN224088938U

本实用新型属于液流电池技术领域,其公开了一种土工膜安装工具,用于在电池的箱体内壁安装土工膜,该土工膜安装工具包括第一连接件、调节件、第二连接件和夹持件。第一连接件被配置为与箱体可拆卸连接调节件。第二连接件通过调节件位置可调地连接于第一连接件,以调节第一连接件与第二连接件之间的距离。夹持件连接于第二连接件,夹持件具有夹持土工膜的夹持状态和释放所示土工膜的释放状态。本实用新型使得夹持件夹持的土工膜能够靠近或远离第一连接件,进而改变土工膜的位置,便于将土工膜安装至箱体,在安装土工膜时轻松而且省力,而且土工膜移动到位后不用操作人员持续对土工膜进行支撑,操作人员可以进行其他工作,大大提高了工作效率。

一种燃料电池发动机用空压机工况预测控制方法及系统

NºPublicación:  CN121803453A 07/04/2026
Solicitante: 
福州大学
CN_121803453_PA

Resumen de: CN121803453A

本发明提出了一种燃料电池发动机用空压机工况预测控制方法及系统。该方法通过建立长短期记忆神经网络(LSTM)空压机流量预测模型,采用滑动窗口方式,将连续五个采样时刻的空压机流量值作为输入的时间序列向量,将车速、车加速度等系统运行参数作为输入的多元工况特征向量,并对输入进行极值归一化,进而输出空压机流量预测值;空压机电机控制器根据流量预测值对空压机目标转速进行修正,实现流量的提前调节;同时,建立基于绝热效率自动寻优的节气门控制策略,通过设置压比约束范围,并对节气门开度施加可自适应调整方向的微动信号,自动寻找绝热效率的极值点,引导空压机运行在最高效率点附近。

一种用于液流电池的端片双极板制备方法及其工装

NºPublicación:  CN121812636A 07/04/2026
Solicitante: 
四川伟力得能源股份有限公司
CN_121812636_PA

Resumen de: CN121812636A

本发明公开了一种用于液流电池的端片双极板制备方法及其工装,包括基板制备方法和端片双极板制备方法,基板制备方法包括叠放导电膜、塑料膜与导电网格、多次热压、冷却和裁切;端片双极板制备方法包括包括碳纸定位、热压、快速冷却和裁切;本方案通过多次热压工艺使导电网格中塑料胶填充饱满,显著提升端片双极板的机械性能,降低破裂风险;通过增加导电膜、减少塑料膜用量,优化导电通路,有效降低体电阻,提升电堆运行效率。

一种便捷式燃料电池系统及其动静态协同控制方法

NºPublicación:  CN121812645A 07/04/2026
Solicitante: 
国网江苏省电力有限公司常州供电分公司
CN_121812645_PA

Resumen de: CN121812645A

本发明公开了一种便捷式燃料电池系统及其动静态协同控制方法,属于燃料电池系统技术领域,包括机壳及背负支撑结构、传感器模块、中央控制器、燃料电池电堆模块、储氢模块、空气供应模块、热管理模块、动力电池模块、双向DC/DC变换器、多路功率开关阵列、负载接口模块。本发明通过内部空间功能分区与重心约束、全局寄生功率动态调度策略和基于移动状态感知的振动抑制策略相结合等创新技术手段的协同作用,使系统效率显著提升,温度控制精度与热安全性实现质的飞跃,动态工况下的输出稳定性与流量控制精度大幅提高,系统可靠性与关键部件寿命潜在提升。

一种燃料电池的膜电极组件及其制备方法、燃料电池与电动装置

NºPublicación:  CN121812651A 07/04/2026
Solicitante: 
一汽解放汽车有限公司
CN_121812651_PA

Resumen de: CN121812651A

本发明提供了一种燃料电池的膜电极组件及其制备方法、燃料电池与电动装置,所述膜电极组件包括层叠设置的气体扩散层与双极板;气体扩散层的基底层包括第一疏水区,及与所述第一疏水区间隔设置的第二疏水区或嵌入所述第一疏水区中的至少一个第二疏水区,第一疏水区的疏水性小于第二疏水区的疏水性;基底层的一侧表面包括第一疏水区对应的第一疏水面,与第二疏水区对应的第二疏水面;第一疏水面完全位于双极板的流道内,第二疏水面完全覆盖双极板的脊部表面。所述膜电极组件中,通过亲疏水性差异,使催化层中的水可以更多的流向流道对应的位置,提高了液态水的排出能力;因此,燃料电池的膜电极组件能够在长期运行中实现较好的排水效果。

一种液流电池盘管及其加工工艺

NºPublicación:  CN121812657A 07/04/2026
Solicitante: 
四川伟力得能源股份有限公司
CN_121812657_PA

Resumen de: CN121812657A

本发明公开了一种液流电池盘管及其加工工艺,涉及新能源储能技术领域,本发明通过多维度结构设计实现对液流电池储能系统旁路电流的高效抑制,通过螺旋本体延长路径、凸起与变径段增强湍流、导流肋优化流动轨迹、屏蔽层导走杂散电流,多结构协同作用大幅降低旁路电流强度,减少能量损耗,提升系统效率。采用复合结构本体,兼顾绝缘、耐腐与强度,铜网屏蔽层抗老化,整体适应电解液腐蚀、压力波动等严苛工况,显著延长使用寿命。

一类柔性碳骨架交联型聚合物、一类柔性聚合物膜、离子交换膜及其应用

NºPublicación:  CN121800628A 07/04/2026
Solicitante: 
武汉立膜科技有限公司
CN_121800628_A

Resumen de: CN121800628A

本发明公开了一类柔性碳骨架交联型聚合物、一类柔性聚合物膜、质子交换膜及其应用,本发明所选择的二乙酰基单体具有两个苯环,且两苯环之间带有柔性链,使得所制备的聚合物具有刚柔并济的特点。该类聚合物柔韧性好、机械性能好、比表面积大,能够很好地在工业生产中应用。将该类聚合物制成薄膜,所得的薄膜具有化学稳定性好、结构稳定性好、柔韧性好和孔隙丰富等优点,可用于气体吸附、纳滤分离、离子筛分、燃料电池、电解水制氢、液流电池、二氧化碳还原、超级电容器、电渗析和水处理等领域。

一种取向导电纤维增强型复合双极板

NºPublicación:  CN121812634A 07/04/2026
Solicitante: 
海川太风水储能科技(无锡)有限公司
CN_121812634_PA

Resumen de: CN121812634A

本发明属于液流电池技术领域,涉及一种取向导电纤维增强型复合双极板,包括树脂基体、导电填料和取向高导电材料,所述取向高导电材料在树脂基体内形成竖直取向和/或水平取向的导电纤维网,所述竖直取向的方向是垂直于双极板表面,所述水平取向是偏向双极板表面,并提供了具体的制备方法。本发明解决了现有复合双极板依赖随机分散导电填料导致的导电效率低、各向异性大、性能与成本矛盾突出等问题,通过主动构建“竖直+水平取向导电纤维网”,在降低导电填料添加量的同时,显著提升导电性能尤其是厚度方向导电性,兼顾机械强度与耐腐性。

集成储热的SOFC-GT联合循环发电系统和方法

NºPublicación:  CN121803335A 07/04/2026
Solicitante: 
中国葛洲坝集团股份有限公司
CN_121803335_PA

Resumen de: CN121803335A

本发明公开了集成储热的SOFC‑GT联合循环发电系统,包括压气机、SOFC电堆、燃烧室、燃气轮机、重整器、第一换热器、第二换热器、第三换热器、增压泵、储热单元和余热利用装置,第三换热器的热侧出口连接储热单元的入口,储热单元的出口与余热利用装置连接。本发明通过引入储热单元作为能量缓冲,提高系统的余热利用效率和运行灵活性。本发明通过储热单元的蓄热和放热功能,能够在不同工况下实现能量的高效利用。在余热充足时,将多余热量储存起来;在余热不足时,释放储存的热量以满足需求。这种能量缓冲机制不仅提高了余热利用效率,还使得系统能够在更广泛的工况范围内保持高效运行。

一种高效空冷散热型氢燃料电池

NºPublicación:  CN121812641A 07/04/2026
Solicitante: 
协氢(枣庄)氢能科技有限公司
CN_121812641_PA

Resumen de: CN121812641A

本发明涉及燃料电池技术领域,具体是涉及一种高效空冷散热型氢燃料电池,包括两个端板、电池堆、空气分配通道、引流扇、流量调节组件和温度传感器,通过在阴极腔入口侧设置集成温度感知与智能流量分配的空气分配机构,将多个阴极腔划分为可独立调控的阴极腔组,并依据各腔组的实时温度,动态调节流向各腔组的冷却空气流量,实现了冷却风量的“按需分配”与“精准散热”,解决了现有空冷燃料电池因均匀送风导致的散热效率低、温度分布不均、冷却能耗高的问题。

一种基于混合氢能的数据中心冷热电联供系统及控制方法

NºPublicación:  CN121813291A 07/04/2026
Solicitante: 
上海舜华新能源系统有限公司
CN_121813291_PA

Resumen de: CN121813291A

本发明公开了一种基于混合氢能的数据中心冷热电联供系统及其控制方法,包括用于输入发电用的氢气的氢源供应与储存模块,用于氢气转换为电能的发电与供能模块,用于向数据中心提供电能的直流微电网模块,用于回收并应用发电时产生的热量的热管理与应用模块,以及与用于控制上述模块的控制与保护模块。本发明通过模块化协同实现氢能高效发电、余热梯级回收和智能调度,解决了现有技术中碳排放高、响应延迟和能源浪费的问题,具有显著降低碳排放、优化电能使用效率、提高供电连续性和能源利用率,同时实现冷热电综合供应的优点。

一种用于火储联调的液流电池储能模块及应用

NºPublicación:  CN121812662A 07/04/2026
Solicitante: 
华电郑州机械设计研究院有限公司
CN_121812662_PA

Resumen de: CN121812662A

本发明公开了一种用于火储联调的液流电池储能模块,应用于火电机组与储能电站联合调频场景,适配全钒液流电池储能系统或有机液流电池储能系统。该模块包括上下叠放且可拆卸连接的功率舱和容量舱,功率舱为地上布置,内部分隔为两个及以上电堆设备室和两个电控设备室,各电堆设备室设有漏液保护装置;容量舱可采用半地下布置,内部分为正负极电解液槽和全域覆盖的漏液收集槽。本发明通过舱体叠放设计省约1/3设备占地面积,实现高度集成化,漏液保护装置与引流收集结构可减少电解液泄露对设备的影响,延长设备使用寿命,保障系统安全运行及维护人员人身安全,为液流电池在火电机组一次、二次调频等场景的应用提供有力支持。

一种液流电池电堆进出液管路装配定位工装及装配方法

NºPublicación:  CN121812661A 07/04/2026
Solicitante: 
平高集团有限公司
CN_121812661_PA

Resumen de: CN121812661A

本发明公开了一种液流电池电堆进出液管路装配定位工装及装配方法,工装包括第一底板、中间定位组件和两个第一粘接装配组件,两个第一粘接装配组件对称分布在中间定位组件的两侧;中间定位组件包括固定座和竖直固定在固定座上的第一定位柱;每个第一粘接装配组件均包括第一直线导轨、第一滑块、第一滑板、第一定位块、第一螺栓、第一螺母和第二定位柱,第一定位柱和两个第二定位柱位于同一直线上,第一定位柱和第二定位柱均设有用于定位管路管件接口的轴肩。本发明可大大提高电堆进出液管路的装配精度(包括尺寸精度和角度精度)和装配一致性,保证电堆的密封性及可靠性,同时可大大提高装配效率。

一种膜电极组件及其制造方法

NºPublicación:  CN121812650A 07/04/2026
Solicitante: 
武汉理工氢电科技有限公司
CN_121812650_PA

Resumen de: CN121812650A

本申请涉及燃料电池技术领域,提供了一种膜电极组件及其制造方法,膜电极组件包括阳极气体扩散层、催化剂涂覆质子交换膜、复合边框以及阴极气体扩散层;阳极气体扩散层与催化剂涂覆质子交换膜预结合形成第一复合体,催化剂涂覆质子交换膜包括质子交换膜以及位于其两侧的阳极催化层和阴极催化层;复合边框设置于催化剂涂覆质子交换膜的边缘,其包括层压贴合的第一边框和第二边框,第一边框的厚度小于第二边框的厚度,且第一边框位于复合边框靠近阴极气体扩散层的一侧。这一结构实现了在同一膜电极上边框界面极致薄化与整体结构强韧的共存,攻克了传统单边框结构无法兼顾的固有难题。

一种高稳定性自增湿质子交换膜及其制备方法与应用

NºPublicación:  CN121812652A 07/04/2026
Solicitante: 
河北金力新能源科技股份有限公司
CN_121812652_PA

Resumen de: CN121812652A

本发明涉及电池技术领域,提出了一种高稳定性自增湿质子交换膜及其制备方法与应用。一种高稳定性自增湿质子交换膜,原料包括以下重量份的组分:磺化聚醚醚酮10份、全氟磺酸树脂100份、ZrP/CeO2复合材料5~20份;ZrP/CeO2复合材料的原料包括重量比为1:1~2的磷酸锆和氧化铈。通过上述技术方案,解决了相关技术中质子交换膜稳定性较差、质子传导率较低的问题。

聚偶氮苯亚芳基哌啶共聚物及其制备方法和阴离子交换膜

NºPublicación:  CN121801058A 07/04/2026
Solicitante: 
安徽师范大学
CN_121801058_PA

Resumen de: CN121801058A

本发明提供了聚偶氮苯亚芳基哌啶共聚物及其制备方法和阴离子交换膜,将偶氮苯、含有Ar基团的芳烃单体溶于溶剂中,搅拌混合;然后加入酮类单体;反应体系将保持在0℃,向体系中逐滴滴加三氟乙酸和三氟甲磺酸的混合溶液,滴加完毕后搅拌反应,得到含偶氮苯‑聚亚芳基哌啶共聚物。与现有技术相比,本发明利用Friedel‑Crafts反应,通过将偶氮苯和聚亚芳基结合,以改变聚合物主链,得到含偶氮苯‑聚亚芳基哌啶共聚物,偶氮苯的引入在聚合物的主链上,改变了聚合物链段的堆积,由于偶氮苯特殊的反式结构,从而提供了更多的自由体积,提高共聚物阴离子交换膜的电导率。且,本发明制备方法简单高效、工艺步骤少,易于工业推广。

一种双极板及燃料电池

NºPublicación:  CN121812635A 07/04/2026
Solicitante: 
上海治臻新能源股份有限公司
CN_121812635_PA

Resumen de: CN121812635A

本申请公开了一种双极板及燃料电池,双极板包括沿其厚度方向相对设置的第一面和第二面,第一面设置有第一凹陷部,且第一凹陷部相对于第一面的表面向内凹陷,第二面设置有第二凹陷部,且第二凹陷部相对于第二面的表面向内凹陷。其中,第一凹陷部在第一面分布的密度为α1,第二凹陷部在第二面分布的密度为α2,且α1/α2满足1≤α1/α2≤5。本申请中的第一凹陷部和第二凹陷部能够对水的流动方向进行引导,以使水能够集中在各流道的内部流动,不仅有利于提高水的流动效率,以提高燃料电池的排水能力,还有利于降低水在流动的过程中对气体扩散造成影响的可能性,以便保障燃料电池内部的反应效率,从而保障燃料电池在工作过程中的稳定性和可靠性。

Sistemas integrados de energía a amoníaco de múltiples niveles

NºPublicación:  CO2025019090A2 06/04/2026
Solicitante: 
KELLOGG BROWN & ROOT LLC [US]
Kellogg Brown & Root LLC
CN_121511213_PA

Resumen de: AU2024281599A1

A multi-tier integrated power-to-ammonia system includes a converter for generating ammonia and heat through a reaction involving a compressed mixture of hydrogen and nitrogen gases. The system includes a steam generator that can generate steam using the heat from the reaction, and a reversible solid-oxide system in fluid communication with the steam generator that can separate the steam into oxygen gas and hydrogen gas.

Electrochemical reactor and method for producing electrochemical reactor

NºPublicación:  FI20246199A1 05/04/2026
Solicitante: 
HALIDE ENERGY OY
Halide Energy Oy

Resumen de: FI20246199A1

The invention relates to an electrochemical reactor for a hybrid redox flow battery, comprising at least one cell (1). The cell (1) comprises an electrode support (11), a first electrode (12) supported by the electrode support (11), a first flow divider (13), a membrane (14) arranged in the first flow divider (13), a second flow divider (15), a second electrode (16) arranged in the second flow divider (15), a first gasket (17) arranged between the electrode support (11) and the first flow divider (13) for creating a fluid-tight seal, the first gasket (17) being screen printed, a second gasket (18) arranged between the first flow divider (13) and the second flow divider (15) for creating a fluid-tight seal, the second gasket (18) being screen printed. The invention also relates to a method for producing an electrochemical reactor.

一种质子交换膜燃料电池的阴极保护与运行控制方法及燃料电池系统

NºPublicación:  CN121790450A 03/04/2026
Solicitante: 
上海空间电源研究所
CN_121790450_PA

Resumen de: CN121790450A

本发明公开了一种质子交换膜燃料电池的阴极保护与运行控制方法及燃料电池系统,包含以下步骤:将质子交换膜燃料电池阳极排出的尾气进行气液分离;将气液分离后的尾气引入一缓冲混合腔,与阴极进气气体混合,得到混合气体;将所述混合气体通入质子交换膜燃料电池的阴极;实时监测所述质子交换膜燃料电池的单体电池电压、温度、阴极气路中的氢气浓度;基于所述单体电池电压、温度、阴极气路中的氢气浓度的监测信号,动态调节引入所述缓冲混合腔的尾气流量,使得阴极入口的氢气体积分数为1vol%~4vol%、单体电池电压小于等于0.85V。本发明通过在低温怠速工况下安全、可控地回用阳极尾气至阴极,利用其中残留氢气进行催化放热,协同解决了阴极高电位导致的催化剂衰减与电堆热管理困难,有效提升了燃料电池在怠速工况下的耐久性与可靠性。

一种中温式燃料电池系统及其控制方法

NºPublicación:  CN121790443A 03/04/2026
Solicitante: 
中经云数据存储科技(北京)有限公司
CN_121790443_PA

Resumen de: CN121790443A

本发明涉及燃料电池领域,尤其涉及一种中温式燃料电池系统及其控制方法。该系统使用甲醇水作为重整制氢原料,使用甲醇作为燃烧加热燃料。当系统启动时液态甲醇通过管道进入到燃烧槽中,经点火针点燃甲醇。甲醇和空气燃烧放热,对甲醇气化管进行加热,气化的甲醇和空气进一步燃烧放热,加热有焰燃烧重整器,循环介质加热单元对电堆进行循环加热;当有焰燃烧重整器和电堆同时达到工作条件时,开启甲醇水路,重整气进入电堆发电,当电堆可以维持其自身工作温度时,循环介质加热单元就可以关闭加热系统。相比于现有技术可以解决电加热启动时间长和电池容量大的问题。

一种防冻液污染燃料电池电堆后的性能恢复方法

NºPublicación:  CN121790445A 03/04/2026
Solicitante: 
中国重汽集团济南动力有限公司
CN_121790445_PA

Resumen de: CN121790445A

本发明提供一种防冻液污染燃料电池电堆后的性能恢复方法,属于燃料电池技术领域。本发明所述的性能恢复方法包括以下步骤,(1)在电堆的阴极和阳极均通入氮气,所述氮气的相对湿度为50‑80%;(2)在电堆的阳极通入氢气,阴极不通气,所述氢气的相对湿度为80‑100%;(3)关闭阳极出口阀门和进口阀门,阴极不通气;(4)将电堆温度、阴阳极气体流量、进气温度和相对湿度协同控制,将电堆拉载到0.2‑0.5A/cm2持续一段时间,使整个过程形成阴极贫氧乃至富氢环境;(5)将电堆正常拉载至2‑2.5A/cm2,完成恢复过程。本发明所述的方法既能高效快速的去除膜电极上的冷却液,又能使膜电极恢复至污染前的性能。

一种全钒液流电池多物理场多尺度代理建模方法

NºPublicación:  CN121787322A 03/04/2026
Solicitante: 
太原理工大学
CN_121787322_PA

Resumen de: CN121787322A

本发明属于全钒液流电池储能技术领域,具体涉及一种全钒液流电池多物理场多尺度代理建模方法,旨在解决无法高效处理电池内部多物理场耦合的难题。方法包括构建结构化代理模型,通过将多个线性动态算子块与多个静态非线性块以可微分方式互连,形成用于集成描述全钒液流电池的化学场、流体力学场和热力学场的拓扑结构。在结构化代理模型内部,通过将第一物理场的输出变量作为第二物理场的输入变量,建立化学场、流体力学场和热力学场之间的场间耦合关系。为模拟不同动态速度物理过程的线性动态算子块配置不同的动态响应特性。利用全钒液流电池运行的历史数据对结构化代理模型进行训练,并使用训练后的模型对全钒液流电池的内部状态进行实时重构。

具有改进的离子传导性的燃料电池用抗氧化剂及其制造方法

NºPublicación:  CN121790430A 03/04/2026
Solicitante: 
现代自动车株式会社起亚株式会社庆尚国立大学校产学协力团
CN_121790430_PA

Resumen de: CN121790430A

本发明涉及具有改进的离子传导性的燃料电池用抗氧化剂及其制造方法,更具体地,涉及离子传导性和化学稳定性均衡地提高的燃料电池用抗氧化剂及其制造方法。

一种氨基二氧化硅材料掺杂的聚苯并咪唑高温质子交换膜及其制备方法

NºPublicación:  CN121790429A 03/04/2026
Solicitante: 
上海空间电源研究所
CN_121790429_PA

Resumen de: CN121790429A

本发明公开了一种氨基二氧化硅材料掺杂的聚苯并咪唑高温质子交换膜及其制备方法,所述质子交换膜包含聚苯并咪唑、聚乙烯吡咯烷酮和氨基二氧化硅材料;所述氨基二氧化硅材料的结构为:。本发明以聚苯并咪唑、PVP为质子交换膜的高分子基体,引入表面接枝氨基的二氧化硅材料作为功能填料,通过“溶液共混‑真空消泡‑流延成膜‑磷酸掺杂”工艺得到了本发明的氨基二氧化硅材料掺杂的聚苯并咪唑高温质子交换膜。本发明质子交换膜的原料成本低,制备及掺酸工艺简单,可规模化生产。同时制成的质子交换膜的磷酸保留能力强、质子电导率高、溶胀性低,可在高温质子交换膜燃料电池中具有广泛应用前景。

一种高稳定性的铁铬电解液、其制备方法及应用

NºPublicación:  CN121790454A 03/04/2026
Solicitante: 
大连融科储能集团股份有限公司
CN_121790454_PA

Resumen de: CN121790454A

本发明提供一种高稳定性的铁铬电解液、其制备方法及应用,所述高稳定性的铁铬电解液,其中包含含硫的无机化合物和金属离子。所述含硫的无机化合物添加量以S计为100~900mg/L;所述金属离子添加量以金属离子计为5~10mM。本发明高稳定性的铁铬电解液中添加有含硫的无机化合物,能有效调节电池运行中pH值变化,抑制析氢副反应;还能有效改变电极的双电层,增大析氢反应的过电位,进一步达到抑制析氢的目的。本发明电解液中还投加有沉积电位在‑1.2~0V的金属离子,可在充放电过程中电沉积为金属单质并附着于多孔碳电极上,以此改性碳毡并增高析氢电位。

一种燃料电池双极板胶线快速粘贴定位工装

NºPublicación:  CN224082430U 03/04/2026
Solicitante: 
苏州云帆氢能科技有限公司
CN_224082430_U

Resumen de: CN224082430U

本申请涉及一种燃料电池双极板胶线快速粘贴定位工装,其包括工装底座和盖合在所述定位底座上的盖板,所述工装底座的上表面向下凹陷形成有用于容纳密封胶线的胶线定位槽,所述胶线定位槽的深度小于所述密封胶线粘结在双极板上后突出所述双极板表面部分的厚度,所述工装底座分别与所述双极板和所述盖板之间形成定位结构,所述定位结构被配置为所述盖板盖压所述双极板时所述密封胶线能粘结在所述双极板的胶线粘结槽内。本申请通过在工装底座上设置胶线定位槽以容纳和固定密封胶线,以便于在密封胶线的上表面进行点胶,并通过盖板将双极板压盖在工装底座上,从而实现密封胶线和双极板的粘结,简化的两者的粘结难度,提高了粘结效率。

燃料电池双层边框制备设备以及膜电极生产设备

NºPublicación:  CN224082429U 03/04/2026
Solicitante: 
江苏氢导智能装备有限公司
CN_224082429_U

Resumen de: CN224082429U

本申请涉及一种燃料电池双层边框制备设备以及膜电极生产设备,属于氢燃料电池技术领域。该燃料电池双层边框制备设备包括:第一边框放卷机构,用于放卷第一边框料带;第一边框辊切机构,用于在第一边框料带上裁切出第一活性区开口;第二边框放卷机构,用于放卷第二边框料带;压合机构,用于压合层叠设置的带第一活性区开口的第一边框料带和第二边框料带;第二边框辊切机构,设置于所述压合机构的下游,用于在第二边框料带上裁切出第二活性区开口。该燃料电池双层边框制备设备能够自动化制备双层边框料带,且具有较好的生产质量。本申请还提出一种膜电极生产设备,包括该燃料电池双层边框制备设备。

一种具有波浪形流道结构的双极板

NºPublicación:  CN224082427U 03/04/2026
Solicitante: 
成都新研氢能源科技有限公司
CN_224082427_U

Resumen de: CN224082427U

本发明公开了一种具有波浪形流道结构的双极板,涉及氢燃料电池技术领域,可解决现有技术中的流道设计控速主要依靠弯折设计,容易导致电堆局部过热的问题。本实施例的一种具有波浪形流道结构的双极板,包括板体,所述板体的流场区设有若干间隔且平行于板体长度方向设置的波浪形流道;波浪形流道的底部沿板体的长度方向高低交错设置。

Procédé de pilotage d’une pile à combustible, pile à combustible et véhicule associés

NºPublicación:  FR3167000A1 03/04/2026
Solicitante: 
SYMBIO FRANCE [FR]
FR_3167000_A1

Resumen de: FR3167000A1

Procédé de pilotage d’une pile à combustible, pile à combustible et véhicule associés Ce procédé de pilotage d’une pile à combustible est mis en œuvre au cours d’une phase de démarrage de la pile. La pile comprend un empilement de plusieurs cellules unitaires réparties en plusieurs sous-groupes, et un dispositif de contrôle, configuré pour mesurer une tension unitaire aux bornes de chaque sous-groupe. Alors que la tension électrique unitaire de chaque sous-groupe est initialement nulle puis augmente jusqu’à une tension de fonctionnement (UF), le procédé comprend la mesure de la tension unitaire associée (Uc) associée à chaque sous-groupe, l’identification d’un ou plusieurs sous-groupes dits « rapides », dont la tension unitaire atteint en premier un premier seuil de tension (U1) prédéterminé, non nul et inférieur à la tension de fonctionnement, puis une étape de régulation, au cours de laquelle au moins un des sous-groupes rapides est mis dans une configuration couplée, où le sous-groupe considéré est connecté à une charge électrique respective, de manière à limiter l’augmentation de la tension unitaire du sous-groupe considéré. Figure pour l'abrégé : Figure 4

一种高纯氯化亚铁和氯化铬混合晶体、其制备方法及应用

NºPublicación:  CN121778787A 03/04/2026
Solicitante: 
大连融科储能集团股份有限公司
CN_121778787_A

Resumen de: CN121778787A

本发明提供一种高纯氯化亚铁和氯化铬混合晶体、其制备方法及应用,其制备方法包括以下步骤:将碳素铬铁溶解在盐酸溶液中,得到强酸性溶出液;加水稀释得到铁铬总浓度为100‑200g/L;加入福美钠溶液搅拌反应生成硫化物沉淀,过滤去除硫化物沉淀;将除杂后的滤液进行浓缩,将永磁铁布置在结晶容器的外部或底部,确保永磁铁产生的磁场能够覆盖溶液的主要区域,进行磁场辅助结晶;结晶后固液分离,干燥,得到所述高纯氯化亚铁和氯化铬混合晶体。该方法具有工艺流程简单、除杂效率高、目标金属损失率低和安全性好的优点,能制备出纯度优异的氯化亚铁和氯化铬混合晶体,在铁铬液流电池电解液领域具有良好的应用前景和大规模推广潜力。

高保水率的半互穿网络结构水凝胶及其制备方法和应用

NºPublicación:  CN121779631A 03/04/2026
Solicitante: 
河北工业大学
CN_121779631_PA

Resumen de: CN121779631A

本发明制备了一种高保水率的半互穿网络结构水凝胶及其制备方法和应用。该水凝胶通过自由基聚合方法制备,利用瓜尔豆胶构建高保水骨架,提供大量亲水官能团,与水分子之间形成氢键,增强水凝胶的保水能力。此外,引入吸湿性离子液体进一步增强保水效果并提供大量离子运输通道,形成了化学交联‑半互穿网络‑离子液体增强的稳定网络结构。本发明的水凝胶电解质展现出优异的保水能力,将其应用于柔性锌空气电池,可显著提升电池的工作寿命和比容量,增强电池的峰值功率密度。该发明流程简洁、对环境友好,在可穿戴储能装备中具有良好的应用前景。

一种极板自动化生产控制方法及系统

NºPublicación:  CN121785278A 03/04/2026
Solicitante: 
北京华胜信安电子科技发展有限公司
CN_121785278_PA

Resumen de: CN121785278A

本申请涉及一种极板自动化生产控制方法及系统,方法包括:接收卷材原料型号参数并生成控制策略;通过开卷机开卷并按送料步距间歇递送;在每次间歇递送后采集第一检测工位的卷材表面图像并进行缺陷识别,表面不合格时生成剔废标记并对对应卷材段裁切剔除;将未剔除卷材送入冲压机冲压得到待检极板;按第一抽检比例抽检并经自动化移栽送入第二检测工位进行气密检测,不合格时生成剔废标记并排出;按第二抽检比例抽检并经自动化移栽送入第三检测工位进行毛刺与尺寸光学检测,不合格时生成剔废标记并排出;对未生成剔废标记的极板按打码内容执行激光打码;其中自动化移栽基于移栽取放位姿执行,且具备可调移栽距离与可调吸盘位置。

一种废旧钒基电池正极材料制备钒电解液的方法

NºPublicación:  CN121790574A 03/04/2026
Solicitante: 
大连融科储能集团股份有限公司
CN_121790574_PA

Resumen de: CN121790574A

本发明提供一种废旧钒基电池正极材料制备钒电解液的方法,包括:破碎废旧钒基锂离子/钠离子电池正极材料得正极粉末;与还原剂混合造粒,惰性气氛煅烧得含碳球团;破碎研磨后进行氯化反应;气态产物分步冷凝分离得三氯氧磷、三氯化钒和残渣,所述残渣包括氯化锂和/或氯化钠,可回收利用;三氯氧磷溶水得磷酸与盐酸混合液,三氯化钒溶于盐酸或母液得溶液;浓缩结晶分离得三氯化钒晶体和母液,母液循环使用;晶体溶于酸液,补加盐酸和/或硫酸,电解调整后得钒电解液。该方法能将废旧钒基锂/钠离子电池正极材料中的钒、磷元素回收,转化为钒电解液,且回收流程短,回收过程能耗成本低。

燃料电池单体、燃料电池堆和燃料电池系统

NºPublicación:  CN224082435U 03/04/2026
Solicitante: 
罗伯特·博世有限公司
CN_224082435_U

Resumen de: CN224082435U

本实用新型涉及燃料电池单体,包括:膜电极组件,具有依次叠置的阳极气体扩散层、阳极催化剂层、质子交换膜、阴极催化剂层和阴极气体扩散层;布置在膜电极组件的阳极侧的阳极隔板,阳极隔板形成多个彼此间隔开的阳极气体通道;布置在膜电极组件的阴极侧的阴极隔板,阴极隔板形成多个彼此间隔开的阴极气体通道;氮气分离层,氮气分离层在阴极隔板和膜电极组件之间布置在阴极气体扩散层上,氮气分离层具有多个彼此间隔开的氮气分离条,氮气分离条仅布置在阴极气体通道中。还涉及一种燃料电池堆和燃料电池系统。以成本有利和节省材料的方式阻碍空气中的氮气扩散至阴极催化剂层,增大在阴极催化剂层处的氧气浓度,提升燃料电池的反应速率和性能。

一种用于氢燃料车辆的热管理装置

NºPublicación:  CN224082511U 03/04/2026
Solicitante: 
宁波华盾新能源科技有限公司
CN_224082511_U

Resumen de: CN224082511U

本实用新型涉及氢燃料电池技术领域,公开一种用于氢燃料车辆的热管理装置,包括与氢燃料电池进行热交换的第一水循环系统、及与动力电池进行热交换的第二水循环系统,第一水循环系统与第二水循环系统之间搭接有循环水交换机构,本实用新型的一种用于氢燃料车辆的热管理装置,循环水交换机构能够导通第一水循环系统与第二水循环系统之间的水路,从而能够利用循环水的流通将第一水循环系统从氢燃料电池吸收的热能转移至第二水循环系统,并通过第二水循环系统与动力电池之间的热交换对动力电池进行加热。相较于现有技术,降低了动力电池驱动加热器工作的电能损耗,从而有效提升动力电池的续航,并增加热效率,同时降低能耗。

一种阴极封闭式的钛合金电堆结构

NºPublicación:  CN224082439U 03/04/2026
Solicitante: 
梦氢(南通)能源技术有限公司
CN_224082439_U

Resumen de: CN224082439U

本实用新型涉及钛合金电堆技术领域,公开了一种阴极封闭式的钛合金电堆结构,包括电堆,每组所述电堆之间设置有绝缘隔板,所述电堆的前后两端外表面固定连接有防撞板,所述防撞板的上端外表面固定连接有连接块,所述电堆的左右两侧外表面固定连接有端板一与端板二,在使用本装置时,通过设置的防撞板,可以在电堆发生碰撞时,不会撞到电堆,减少电堆变形、漏液等情况发生,对电堆起到一个保护作用,通过设置的锥形卡块一与锥形卡块二,可以方便我们将每组电堆均匀的叠加在一起,使其在发生碰撞时,不会对每组电堆的位置发生位移,同时在组装过程中,可以快速的对其进行定位组装起来,操作起来方便简单,组装起来的电堆稳定性更好。

一种燃料电池系统用的带取样口的去离子器

NºPublicación:  CN224082433U 03/04/2026
Solicitante: 
宁波华盾新能源科技有限公司
CN_224082433_U

Resumen de: CN224082433U

本实用新型公开了一种燃料电池系统用的带取样口的去离子器,涉及燃料电池的去离子器技术领域,具有方便对去离子器内的树脂进行采样检测的优点,其技术方案要点是:包括中空的呈圆柱体的去离子器本体、设置在去离子器本体两端的呈漏斗状的出水口和进水口,所述去离子器本体侧壁上设有进入去离子器本体内的取样筒,所述取样筒的一端位于去离子器本体内且呈滤网筒,另一端延伸出去离子器本体外壁且设有封闭取样筒筒口的封闭件,所述取样筒内填充有树脂层一。

一种绿色自循环的水产养殖系统

NºPublicación:  CN121773987A 03/04/2026
Solicitante: 
重庆新型储能材料与装备研究院
CN_121773987_PA

Resumen de: CN121773987A

本发明涉及水产养殖技术领域,公开了一种绿色自循环的水产养殖系统,集成光伏发电、电解水制氢、固态储氢与氢燃料电池模块,形成“光能→电能→氢能→电能”闭环能源体系,替代传统蓄电池,降低电网依赖与能源成本,并保障日照不足时的稳定供电。电解水制氢过程中产生的氧气直接用于养殖水体增氧,显著减少增氧机能耗;副产臭氧可高效杀菌消毒并降解氨氮、亚硝酸盐等有害物,减少化学药剂使用;燃料电池生成的水可回用,氢气还可辅助水质调控。系统实现电、氢、氧、水多资源协同循环,兼具节能、环保与高效养殖优势,推动水产养殖绿色低碳转型。

一种炼厂干气碳二回收耦合制备燃料电池用氢的方法及系统

NºPublicación:  CN121778670A 03/04/2026
Solicitante: 
中国石油化工股份有限公司中石化(北京)化工研究院有限公司
CN_121778670_PA

Resumen de: CN121778670A

本发明属于炼厂干气处理技术领域,公开了一种炼厂干气碳二回收耦合制备燃料电池用氢的方法及系统,该方法包括:1)脱氧;2)压缩;3)冷却;4)吸收:冷却后的炼厂干气进入吸收塔,得到塔釜物流和塔顶尾气;5)解吸:吸收塔的塔釜物流进入解吸塔,塔顶得到回收的碳二提浓气;6)再吸收:吸收塔塔顶尾气进入再吸收塔,得到塔釜物流和塔顶的甲烷氢尾气;7)稳定;8)真空变压吸附或者膜分离及变压吸附:得到燃料电池用氢。本发明的方法,由于吸收温度高,不需要乙烯、丙烯制冷压缩机和膨胀机,能耗低、投资少、操作简单;并且有效回收了炼厂干气中的碳二和氢气资源。

一种铂催化剂浆料制备防沉降方法及其在燃料电池应用

NºPublicación:  CN121790411A 03/04/2026
Solicitante: 
江苏意铭燃动新能源科技有限公司
CN_121790411_PA

Resumen de: CN121790411A

本发明公开了一种铂催化剂浆料制备防沉降方法及其在燃料电池应用。该方法通过构建特定的分散体系,将特定有机溶剂与超纯水按比例混合,并添加具有特定结构和官能团的分散剂,对铂催化剂进行表面预处理以增强与分散剂的作用。同时在浆料体系中,通过气相原位修饰技术利用特定的气相前驱体,构建了二维材料保护层,并利用物理相变以改变聚合物结构的瞬时冷冻与解冻剪切的分散工艺,有效解决了传统高能超声可能导致的碳载体破碎和铂纳米颗粒脱落问题。从而使得催化剂浆料达到一种更高程度的、亚稳态的分散状态,显著减缓沉降。

一种膜电极及其制备方法和应用

NºPublicación:  CN121781174A 03/04/2026
Solicitante: 
上海电气集团股份有限公司
CN_121781174_A

Resumen de: CN121781174A

本发明公开了一种膜电极及其制备方法和应用。所述膜电极包括依次层叠设置的离子交换膜层、导电复合层、气体扩散电极层,其中,所述导电复合层为镂空结构,以及所述导电复合层的边缘尺寸大于所述气体扩散电极层的边缘尺寸,所述气体扩散电极层包括催化剂层和气体扩散层,所述气体扩散电极层依次由层叠设置的催化剂层和气体扩散层组成,所述导电复合层包括聚合物膜层和导电层,所述导电复合层依次由层叠设置的聚合物膜层和导电层组成,其中,所述气体扩散层优选为PTFE层。包含上述设置的膜电极有效地抑制了气体扩散电极的泛流问题,使得膜电极的电化学性能更优异,更持久。

端板、燃料电池堆以及燃料电池系统

NºPublicación:  CN121794812A 03/04/2026
Solicitante: 
罗伯特·博世有限公司
CN_121794812_PA

Resumen de: WO2025051480A1

The invention relates to an end plate (10) for a fuel cell stack (12) of a fuel cell system (14), the end plate comprising: a first connection portion (16) which has at least one first connector (18) for supplying and/or discharging at least one reactant and/or a reaction product and/or a coolant; and a second connection portion (20) which has at least one second connector (22) for supplying and/or discharging at least one reactant and/or a reaction product and/or a coolant; wherein: a reaction region (24) is situated between the first connection portion (16) and the second connection portion (18); the at least one first connector (18) of the first connection portion (16) has a first transfer region (26) for transferring the at least one reactant and/or the reaction product and/or the coolant into the fuel cell stack (12) or out of the fuel cell stack (12); and/or the at least one second connector (22) of the second connection portion (20) has a second transfer portion (28) for transferring the at least one reactant and/or the reaction product and/or the coolant into the fuel cell stack (12) or out of the fuel cell stack (12);and the first transfer region (26) and/or the second transfer region have/has a surface structure (30).

燃料電池スタック

NºPublicación:  JP2026058044A 03/04/2026
Solicitante: 
トヨタ自動車株式会社
JP_2026058044_A

Resumen de: EP1000000A1

The invention relates to an apparatus (1) for manufacturing green bricks from clay for the brick manufacturing industry, comprising a circulating conveyor (3) carrying mould containers combined to mould container parts (4), a reservoir (5) for clay arranged above the mould containers, means for carrying clay out of the reservoir (5) into the mould containers, means (9) for pressing and trimming clay in the mould containers, means (11) for supplying and placing take-off plates for the green bricks (13) and means for discharging green bricks released from the mould containers, characterized in that the apparatus further comprises means (22) for moving the mould container parts (4) filled with green bricks such that a protruding edge is formed on at least one side of the green bricks.

气冷式燃料电池电堆

NºPublicación:  CN121790437A 03/04/2026
Solicitante: 
财团法人工业技术研究院
CN_121790437_PA

Resumen de: CN114725426A

The invention discloses an air-cooled fuel cell stack which comprises a plurality of fuel cells, and each fuel cell comprises an anode bipolar plate, a cathode bipolar plate, a membrane electrode assembly and an anode sealing assembly. A membrane electrode assembly is located between an anode bipolar plate and a cathode bipolar plate and includes an anode-side structure, a cathode-side structure, and an ion-conducting membrane sandwiched between the anode-side structure and the cathode-side structure. And the anode sealing assembly is arranged at the periphery of the anode side structure and is clamped by the anode bipolar plate and the ion conduction membrane. The anode sealing assembly comprises a first sealing material and a second sealing material, the Shore hardness of the first sealing material is different from that of the second sealing material, and the arrangement direction of the first sealing material and the second sealing material is perpendicular to the compression direction of the plurality of fuel cells.

3D多孔碳结构、包含其的电极及其生产方法和用途

NºPublicación:  CN121794220A 03/04/2026
Solicitante: 
艾伯特路德维格斯弗赖堡大学
CN_121794220_PA

Resumen de: WO2025031838A1

The present invention relates to porous carbon structure comprising one or more sets of porous spherical carbon particles, wherein each of said one or more sets of porous spherical carbon particles has a monomodal, bimodal or multimodal particle diameter distribution, and/or a monomodal, bimodal or multimodal templated pore size distribution, wherein each mode of said particle diameter distribution defines a subset of porous spherical carbon particles within the set, each subset having a particle diameter dispersity (đ) of 1.2 or less, and wherein each mode of the templated pore size distribution defines a subset of porous spherical carbon particles within the set, each subset having a templated pore size dispersity (đ') of 1.2 or less. The invention further relates to methods for producing the porous carbon structures of the invention, electrodes made from such structures and their use in various applications, including among others electrochemical energy storage and conversion.

电化学电池

NºPublicación:  CN121794810A 03/04/2026
Solicitante: 
福特斯丘未来工业私人有限公司
CN_121794810_PA

Resumen de: AU2024305070A1

An electrochemical cell comprising a non electrically-conductive structural frame for supporting components of the electrochemical cell and a tensioning element, wherein the structural frame comprises engagement means adapted to engage the tensioning element, wherein the engagement means comprises at least two bosses on the structural frame, each boss adapted to engage with a corresponding aperture on the tensioning element.

固体高分子型燃料电池密封材料

NºPublicación:  CN121794811A 03/04/2026
Solicitante: 
巴川集团股份有限公司
CN_121794811_PA

Resumen de: WO2025069645A1

The present invention addresses the problem of providing a polymer electrolyte fuel cell sealing material in which sealing performance is hardly reduced even after long-term operation of a polymer electrolyte fuel cell. In a polymer electrolyte fuel cell sealing material according to the present invention, a sheet-type adhesive member (1) contains an acrylic rubber (a), an epoxy resin (b), and an epoxy hardener (c), and the initial adhesive strength obtained by the following measurement method is 1.5 N/cm or higher. (i) Prepare two sheets of the sealing material cut to be 25 mm wide by 100 mm long. (ii) Paste the two sheets together by bringing 80 mm lengths of the sheet-type adhesive members in contact with one other using a roll laminator under conditions with a temperature of 100 °C, a pressure of 4 N/cm, and a press-bonding speed of 1 m/min, thereby obtaining a test piece. (iii) Respectively paste two polyimide films for fixing to two portions of the sheet-type adhesive members at the non-contact portions of the test piece, fix one end of one film to a lower chuck, and fix one end of the other film to an upper chuck. (iv) Use a universal tensile testing machine to measure the T-peel strength at a tensile speed of 50 mm/min.

脱合金电催化剂

NºPublicación:  CN121794808A 03/04/2026
Solicitante: 
庄信万丰氢能科技有限公司
CN_121794808_PA

Resumen de: WO2025068691A1

The present invention provides a process for preparing solid, non-porous, de-alloyed electrocatalyst particles, the process comprising the steps of: providing solid, non-porous, platinum group metal alloy precursor particles PMn in which P is a platinum group metal and M is at least one alloying metal; in a de-alloying step to provide the solid, non-porous, de- alloyed electrocatalyst particles; supplying carbon monoxide to the precursor particles under conditions which remove at least some of the metal M from the surface of the precursor particles; wherein the de-alloyed electrocatalyst particles are particles of a platinum group metal alloy PMX in which P is a platinum group metal and M is at least one alloying metal, wherein the total atomic composition relative to P of M at the surface of the de-alloyed electrocatalyst is lower than the total atomic composition relative to P of M in the bulk of the de-alloyed electrocatalyst, and wherein x is less than n.

涡轮增压器和燃料电池系统

NºPublicación:  CN121794450A 03/04/2026
Solicitante: 
康明斯有限公司
CN_121794450_PA

Resumen de: EP1000000A1

The invention relates to an apparatus (1) for manufacturing green bricks from clay for the brick manufacturing industry, comprising a circulating conveyor (3) carrying mould containers combined to mould container parts (4), a reservoir (5) for clay arranged above the mould containers, means for carrying clay out of the reservoir (5) into the mould containers, means (9) for pressing and trimming clay in the mould containers, means (11) for supplying and placing take-off plates for the green bricks (13) and means for discharging green bricks released from the mould containers, characterized in that the apparatus further comprises means (22) for moving the mould container parts (4) filled with green bricks such that a protruding edge is formed on at least one side of the green bricks.

涂料组合物的制造方法、钇稳定化氧化锆层、电化学元件、电化学模块、电化学装置、能量系统、固体氧化物型燃料电池和固体氧化物电解电池单元

NºPublicación:  CN121794333A 03/04/2026
Solicitante: 
大阪瓦斯株式会社
CN_121794333_PA

Resumen de: WO2025052665A1

The present invention provides a coating composition (b2) with which a film can be formed at low cost by a simple method using a zirconium alkoxide (o) and a yttrium compound (p) as starting materials, and with which a dense yttria-stabilized zirconia layer can be obtained. A coating composition (b2) is obtained that contains a zirconium alkoxide (o), an yttrium compound (p), a chelate compound (q), a polyalkylene glycol (r), a catalyst (s), water (t), and an organic solvent (u).

电动式工程机械

NºPublicación:  CN121794429A 03/04/2026
Solicitante: 
日立建机株式会社
CN_121794429_PA

Resumen de: JP2025120966A

To reduce the size of a hydrogen tank storing fuel of a fuel cell and the size of a heat exchanger releasing heat of coolant of the fuel cell.SOLUTION: An electrically-driven construction machine is provided, comprising an electric motor, a fuel cell, a battery, an operation device directing operation of a vehicle body, a power control device controlling the power supplied to the electric motor, and an external power receiver that receives power from a commercial power supply. The power control device calculates a required power amount of the electric motor based on operation amount of the operation device. The power control device charges the battery while driving the electric motor with power from the external power receiver when the required power amount does not exceed the maximum output value of the external power receiver and the battery can be charged, and charges the battery while driving the electric motor with power from a fuel cell and the external power receiver when the required power amount exceeds the maximum output value, does not exceed the total maximum output value of the external power receiver and the fuel cell, and the battery can be charged.SELECTED DRAWING: Figure 5

电动汽车部件

NºPublicación:  CN121794323A 03/04/2026
Solicitante: 
朗盛德国有限责任公司
CN_121794323_A

Resumen de: TW202525908A

The present invention relates to tracking-resistant electromobility components having a colour distance DeltaE from the L*a*b* coordinates to a colour number of the RAL colour chart beginning with a "2" of < 20 containing polymer compositions based on at least one polyamide and 1,3-dihydro-5,6-bis(((2-hydroxy-1-naphthyl)methylene)amino-2H-benzimidazol-2-onato(2-)-N5,N6,O5,O6)nickel and to the use of 1,3-dihydro-5,6-bis(((2-hydroxy-1-naphthyl)methylene)amino-2H-benzimidazol-2-onato(2-)-N5,N6,O5,O6)nickel for producing polyamide-based tracking-resistant electromobility components having a colour distance DeltaE from the L*a*b* coordinates to a colour number of the RAL colour chart beginning with a "2" of < 20.

用于液流电池的质子交换膜及其制备方法,液流电池

NºPublicación:  CN121790453A 03/04/2026
Solicitante: 
普能世纪(山西)新材料有限公司
CN_121790453_A

Resumen de: CN121790453A

本申请提供了一种用于液流电池的质子交换膜及其制备方法,液流电池。该方法包括混合有机溶剂与全氟磺酸树脂并搅拌得到全氟磺酸树脂溶液;向全氟磺酸树脂溶液中加入柠檬酸铋纳米粉末,乳化分散得到预制膜液;在真空下,用紫外光照射预制膜液以得到制膜液;用制膜液涂布基材得到附着在基材上的湿膜;以及对附着在基材上的湿膜干燥和退火,从基材上剥离所形成的膜,得到所述质子交换膜。本申请的质子交换膜包含柠檬酸铋催化剂有效降低了膜的过电阻,同时抑制了负极的析氢反应。

一种基于DC-DC拓扑的燃料电池电堆交流阻抗检测方法

NºPublicación:  CN121790447A 03/04/2026
Solicitante: 
广东省武理工氢能产业技术研究院
CN_121790447_PA

Resumen de: CN121790447A

本发明涉及燃料电池在线诊断与健康管理技术领域,公开一种基于DC‑DC拓扑的燃料电池电堆交流阻抗检测方法,将电堆实时工况(Idc,T,RH,|Zmin|)与阻抗测量过程动态关联,实现激励强度的实时优化,从根本上解决了“测试损伤”与“测量精度”之间的矛盾。基于阻抗迭代的预测控制:利用前一频点的测量结果指导下一频点的激励强度,使系统能自适应电堆在不同频率下的动态响应特性。双重安全保障:结合“基于工况的电压扰动上限”和“基于阻抗的电流幅值计算”,构建了立体化的安全防护体系。在安全前提下,始终使用当前条件下能达到的最大有效信号强度,保证了全频段测量的高信噪比和高精度。

Production de dihydrogène à partir de silicium métallurgique

NºPublicación:  FR3166901A1 03/04/2026
Solicitante: 
CLHYNN [FR]
FR_3166901_A1

Resumen de: FR3166901A1

Production de dihydrogène à partir de silicium métallurgique La présente invention concerne un procédé pour la production de dihydrogène, comportant une étape de mise en contact : - d’un silicium hydrogéné obtenu par mise en contact d’un substrat de silicium avec un acide, le substrat de silicium présentant une pureté inférieure ou égale à 99,99%, - avec une solution alcaline, ce par quoi on génère du dihydrogène. Figure pour l'abrégé : Aucune

燃料电池氢气循环系统

NºPublicación:  CN121790444A 03/04/2026
Solicitante: 
三一氢能科技有限公司
CN_121790444_PA

Resumen de: CN121790444A

本申请提供一种燃料电池氢气循环系统,涉及电池技术领域。本申请提供的燃料电池氢气循环系统,包括储氢容器、第一比例阀、第二比例阀、第一引射器、第二引射器、第三引射器以及燃料电池堆,第一比例阀和第二比例阀并列设置;第一引射器的进气口连通于第一比例阀的出气口,第二引射器的进气口连通于第一引射器的出气口,第二引射器的出气口连通于燃料电池堆的进气口,第三引射器的进气口连通于第二比例阀的出气口,第三引射器的出气口连通于燃料电池堆的进气口,第一引射器的引射口、第二引射器的引射口以及第三引射器的引射口均连通于燃料电池堆的排气口。本申请提供一种燃料电池氢气循环系统,可以提高引射器的引射效果。

隔膜、隔膜制备方法及液流电池

NºPublicación:  CN121790434A 03/04/2026
Solicitante: 
深圳理工大学
CN_121790434_PA

Resumen de: CN121790434A

本发明属于液流电池技术领域,具体涉及一种隔膜、隔膜制备方法及液流电池。该隔膜包括:基膜和疏水性离子液体,基膜包括微结构,微结构能够容纳疏水性离子液体;疏水性离子液体至少包括双三氟甲烷磺酰亚胺阴离子,液流电池工作过程中,双三氟甲烷磺酰亚胺阴离子能够穿过微结构。该隔膜通过同时抑制水合离子与水分子迁移,实现正、负极电解液的组成稳定,能够保障液流电池在高容量和长循环条件下的可靠运行。该隔膜的制备方法采用简单的真空浸渍法,无需复杂或昂贵的设备,操作方便,能够快速获得对水合离子和水分子迁移具有优异抑制效果的隔膜,具备良好的规模化生产潜力。

一种交联的复合膜及其制备方法

NºPublicación:  CN121775680A 03/04/2026
Solicitante: 
华北电力大学
CN_121775680_PA

Resumen de: CN121775680A

本发明属于离子交换膜技术领域,提供了一种交联的复合膜及其制备方法,制备方法包括:将可溶性目标聚合物树脂溶解在溶剂中,在该溶液中加入卤代炔和含吡啶有机物,在一定温度下搅拌反应,卤代炔和含吡啶有机物聚合交联生成阳离子聚合物,将该反应液浇铸到制膜模具中,经过热处理除去溶剂形成膜材料,再经过离子交换除去杂质得到交联的复合膜。本发明合成条件温和,工艺简单,可以规模化制备,具备高离子电导率、高机械强度、低溶胀性能、低气体渗透,可应用于需要离子快速传导的应用体系,比如氢氧燃料电池、直接醇燃料电池、电解水、液流电池、氯碱工业、水处理、锂金属电池、锂离子电池等领域。

质子交换膜燃料电池双极板、燃料电池及电池堆

NºPublicación:  CN224082428U 03/04/2026
Solicitante: 
陕西氢能研究院有限公司
CN_224082428_U

Resumen de: CN224082428U

本实用新型公开了质子交换膜燃料电池双极板、燃料电池及电池堆,包括双极板单体、双极板单体顶端、底端一体成型的两个对称的Z字型折边以及双极板单体正面壁、背面壁设置的并列式多气路流道,所述双极板单体表面的边角位置处分别设置有贯穿至双极板单体外部的氢气进入口、氧气排出口、氢气排出口、氧气进入口。本实用新型通过设置有双极板单体、山字形端盖、山字形底盖等相互配合的结构,其中双极板单体通过前后面设计并列式多气路流道,确保了氢气和氧气的均匀分配,且山字形的端盖和底盖有效地避免了组件之间的相对位移,增强燃料电池堆的整体强度,以此更好地抵抗燃料电池内部的气体压力、温度变化以及机械应力,防止出现松动或错位的情况。

采用数据驱动方法的氢燃料电池故障检测装置及方法

NºPublicación:  CN121790448A 03/04/2026
Solicitante: 
无锡氢融时代科技有限公司
CN_121790448_PA

Resumen de: CN121790448A

本发明公开一种采用数据驱动方法的氢燃料电池故障检测装置及方法,属于氢燃料电池故障检测领域。该方法包括以下步骤:通过传感器获得氢燃料电池故障诊断深度学习模型的训练数据;采用上述数据对模型进行训练;通过传感器收集测试数据,并输入训练好的氢燃料电池故障诊断深度学习模型计算获得氢燃料电池的输出电压;比较传感器测试获得的输出电压和模型预测获得的输出电压,如果偏差超过用户预设的阈值,显示氢燃料电池的故障状态。本发明基于对氢燃料电池输出特性有显著影响的一系列传感器数据进行处理,建立输出电压的预测模型,从而对电池特性是否偏移正常工作状态进行判断,获得电池是否处于故障状态的最终检测结果。

一种三明治结构的二维纳米材料基质子交换膜及其制备方法和应用

NºPublicación:  CN121790452A 03/04/2026
Solicitante: 
中国科学院青岛生物能源与过程研究所
CN_121790452_PA

Resumen de: CN121790452A

本发明属于质子交换膜领域,具体的说是一种三明治结构的氧化石墨烯基质子交换膜及其制备方法和应用。复合膜由三层结构组成,包括限域磷酸的氧化石墨烯(GO)层,以及两侧超薄导电聚合物层。通过将磷酸限域于GO层间,并在膜两侧构筑超薄超薄聚合物层,以提高质子传输能力并防止磷酸流失。该复合膜采用三明治结构设计,其中磷酸作为质子传输介质,调控GO层间距并优化氢键网络,提高膜的质子传导率,而超薄导电聚合物层有效阻挡磷酸的流失,增强其长期稳定性。其可广泛应用于氢燃料电池、电解水制氢、醇类燃料电池等领域。

一种带有垂直表面微电极的液流电池双极板

NºPublicación:  CN121790425A 03/04/2026
Solicitante: 
海川太风水储能科技(无锡)有限公司
CN_121790425_A

Resumen de: CN121790425A

本发明属于液流电池储能技术领域,涉及一种带有垂直表面微电极的液流电池双极板,该液流电池双极板包括双极板基体和导电微电极层;所述双极板基体表面加工有电解液流道,所述导电微电极层由可碳化石墨化胶粘剂与垂直植绒的纤维材料经碳化处理后形成,所述导电微电极垂直于双极板基体的工作面均匀分布。本发明解决了现有液流电池双极板接触电阻大、反应面积与流阻难以兼顾、与电极协同性能差等问题,通过“可碳化石墨化胶粘剂涂布+静电植绒垂直纤维+碳化”的工艺,在双极板表面形成垂直定向的导电微电极,兼顾低流阻与大反应面积,可单独或结合碳毡/碳布使用,提升电池整体性能。

一种PBI-SO2-Cl/UiO-66-NH2@CNT复合质子交换膜及其制备方法

NºPublicación:  CN121779721A 03/04/2026
Solicitante: 
常州大学
CN_121779721_A

Resumen de: CN121779721A

本发明属于燃料电池质子交换膜技术领域,公开了一种PBI‑SO2‑Cl/UiO‑66‑NH2@CNT复合质子交换膜及其制备方法。本发明的PBI‑SO2‑Cl/UiO‑66‑NH2@CNT质子交换膜通过共价键将UiO‑66‑NH2@CNT稳定的固定到PBI‑SO2‑Cl聚合物中,PBI‑SO2‑Cl中的磺酰氯基团与UiO‑66‑NH2@CNT中的氨基形成磺酰亚胺基团,增强了化学交联,且UiO‑66‑NH2生长在CNT‑COOH上,大幅减少了自由状态的颗粒,抑制了颗粒的流失,有利于增强复合膜的稳定性和质子电导率,质子交换膜在高温质子交换膜燃料电池方面具有良好的应用前景。

基于自清洁的翅片式散热器及其在燃料电池散热中的应用

NºPublicación:  CN121790438A 03/04/2026
Solicitante: 
常州凯鹏液流器材有限公司
CN_121790438_PA

Resumen de: CN121790438A

本发明涉及燃料电池相关技术领域,具体是基于自清洁的翅片式散热器及其在燃料电池散热中的应用,包括壳体及设于壳体内用于输送冷媒的管道,还包括:等距设置在壳体的侧部且与管道固定连接的多个翅片;清洁模块,设于壳体的侧部,包括:横移块及与横移块固定的装配板,装配板上设有多组清洁件,清洁件包括两个分别位于翅片两侧且相对设置的两个毛刷,毛刷朝向翅片的一侧设有擦拭面,横移块能够带动毛刷沿翅片的长度方向活动;两组传导机构相向运动的行程量在毛刷沿翅片长度方向移动过程中逐渐递增,以使两个毛刷对翅片的夹持力逐渐递增,使毛刷更紧密地贴合翅片表面,从而减少毛刷与翅片之间的空隙,使清扫除尘效果有所提升。

一种咪唑鎓修饰含氟树脂和全氟磺酸树脂复合的两性离子交换膜及制备方法

NºPublicación:  CN121790431A 03/04/2026
Solicitante: 
杨凌核盛辐照技术有限公司华中科技大学
CN_121790431_PA

Resumen de: CN121790431A

本发明属于两性离子交换膜领域,公开了一种咪唑鎓修饰含氟树脂和全氟磺酸树脂复合的两性离子交换膜及制备方法,制备方法包括以下步骤:(1)对含氟树脂粉末进行辐照处理活化;(2)将活化后的含氟树脂粉末与具有阴离子交换功能单体的水溶液进行接枝聚合反应;(3)将接枝改性后的含氟树脂粉末溶于良溶媒中,然后与采用相同良溶媒为溶剂的全氟磺酸树脂溶液混合均匀后得到铸膜液;将铸膜液充分流延后干燥,经过酸处理即可得到咪唑鎓修饰含氟树脂和全氟磺酸树脂复合的两性离子交换膜。本发明通制得的具备阳离子和阴离子交换能力的两性离子交换膜,同时兼具优异的阻钒性能和高的离子电导率,能够有效提高钒液流电池系统的电池效率。

一种基于紫外光固化工艺构筑亲水疏油隔膜表面的方法

NºPublicación:  CN121790433A 03/04/2026
Solicitante: 
四川发展兴欣钒能源科技有限公司
CN_121790433_PA

Resumen de: CN121790433A

本发明涉及液流电池隔膜材料技术领域,具体为一种基于紫外光固化工艺构筑亲水疏油隔膜表面的方法。该方法首先制备一系列不同粒径的纳米钛颗粒,然后将氟烷基链嫁接至纳米钛颗粒表面,再将其进行静电纺丝制备电纺PAN/TiO2纤维毡,接着对其进行浸泡表面覆盖涂料,最后进行固化使残余基团完全交联即获得所述液流电池亲水疏油隔膜材料。本发明制备的液流电池隔膜材料经过表面包覆一系列亲水疏油物质和官能团之后具有较好的亲水性、疏油性,提高了液流电池的电池性能,为液流电池隔膜的发展提供了新思路。

燃料电池循环系统及冷却液循环方法

NºPublicación:  CN121790442A 03/04/2026
Solicitante: 
宁波绿动氢能科技研究院有限公司国家电投集团氢能科技发展有限公司
CN_121790442_PA

Resumen de: CN121790442A

本发明提供了一种燃料电池循环系统及冷却液循环方法,系统包括燃料电池和容纳部件,燃料电池具有第一进口和第一出口,循环管道的两端口分别与第一进口和第一出口连通,容纳部件设置在循环管道上;第一温度检测部件设置在循环管道上,以检测自燃料电池输出的冷却液的实时温度;辅助管道组,具有第一端和第二端,第一端与容纳部件连通,第二端与车载空调系统连通,以在实时温度大于或等于第一设定温度,或者小于或等于第二设定温度时,向容纳部件内输送车载空调系统内的冷源或者热源;解决了现有技术中的在夏季高温环境中无法满足燃料电池的散热需求以及在冬季极端寒冷天气中无法满足燃料电池加热需求的问题。

基于多级稳压的镁基材料水解制氢发电系统及方法

NºPublicación:  CN121775771A 03/04/2026
Solicitante: 
重庆新型储能材料与装备研究院
CN_121775771_PA

Resumen de: CN121775771A

本发明涉及水解制氢发电的技术领域,具体为基于多级稳压的镁基材料水解制氢发电系统及方法,包括反应区、输出区和控制单元,反应区用于制备氢气,输出区用于稳定氢气压强,控制单元用于对氢气速率与氢气压强进行动态协调;所述反应区包括存料单元、设置在存料单元下方的投料单元、位于投料单元下方的水解单元;所述输出区包括与水解单元连通的缓冲罐和与缓冲罐连通的多级稳压单元;所述多级稳压单元包括依次连通的一级稳压组件和二级稳压组件。本发明能够实现下料、产氢、稳压联动协同控制,从源头稳定产氢压强;并通过多级稳压组件强化稳压效果;减轻系统负荷、减少部件损耗,延长系统寿命,提升输出电压的稳定性。

流路形成構造体、電気化学素子、電気化学モジュール、電気化学装置及びエネルギーシステム

NºPublicación:  JP2026058192A 03/04/2026
Solicitante: 
大阪瓦斯株式会社
JP_2026058192_A

Resumen de: JP2026058192A

【課題】電気化学反応部に対して、安定して、できるだけ均等にガスを供給可能な流路形成構造体を提供する。【解決手段】固体電解質層と電極層と対極電極層とを有する電気化学反応部、電気化学反応部を支持する板状支持体、及び、セパレータを備える電気化学素子において、板状支持体とセパレータとの間に設けられて、板状支持体とセパレータとの間を電気的に導通させる板状の流路形成構造体17であって、環状部17aと、環状部17aで周囲を囲まれ、電気化学素子において板状支持体と電気化学反応部とセパレータとが積層される積層方向と垂直な方向にガスが流れる流路空間17bに設けられ、流路空間17bを流れるガスが衝突する被衝突部17cとを有し、被衝突部17cは環状部17aに連結されている。【選択図】図7

一种氢燃料电堆框架结构

NºPublicación:  CN121790457A 03/04/2026
Solicitante: 
唐山和曦氢能源科技有限公司
CN_121790457_PA

Resumen de: CN121790457A

本发明涉及氢燃料电堆技术领域,尤其涉及一种氢燃料电堆框架结构,其技术方案包括顶盖,底板,保险组件和主螺栓,所述底板的内部开设有十二组螺栓孔;所述底板的顶部堆叠安装有若干块单电池;所述底板的内部分别位于正前方、正后方、正左方和正右方安装有主螺栓,且主螺栓的两侧分别安装有两根副螺栓。本发明通过在主螺栓的外侧套装有套环,能够利用套环、安装架和止动板形成杠杆,通过将套环的一端与主螺栓外侧的螺母紧密连接,能够在螺母发生松动时,推动止动板向下移动,进而对下沉板施加压力,使得下沉板对底部的多组单电池施加压力,确保主螺栓在发生松动时,能够使装置整体保持结构稳定,避免单电池之间受力不均出现缝隙。

用于液流电池的水凝胶电极及其原位形成方法,包含其的电堆

NºPublicación:  CN121790419A 03/04/2026
Solicitante: 
普能世纪(山西)新材料有限公司
CN_121790419_A

Resumen de: CN121790419A

本申请提供了一种用于液流电池的水凝胶电极及其原位形成方法,包含其的电堆。该水凝胶电极由下述材料制备而成,按质量份计,所述材料包括10‑30份的卡拉胶、80‑100份的丙烯酰胺、80‑100份的交联剂、3‑6份的钛基MXene纳米片、1‑2份的叠氮化石墨烯、4‑6份的金属硫化物@MOF核壳复合材料以及1000‑3000份的水。本申请的水凝胶电极具有良好的机械形变能力和较高的电催化活性。

Procédé de fabrication d’un ensemble de membranes recouvertes d’un catalyseur équipées sur chacune de leurs faces d’un sous-joint

NºPublicación:  FR3167001A1 03/04/2026
Solicitante: 
GERGONNE SAS [FR]
FR_3167001_A1

Resumen de: FR3167001A1

Procédé de fabrication d’un ensemble de membranes recouvertes d’un catalyseur équipées sur chacune de leurs faces d’un sous-joint L’invention concerne un procédé de fabrication d’un ensemble de membranes recouvertes de catalyseur (2) dont chaque face est équipée d’un sous-joint comprenant les étapes : 1) on dispose d’un film porteur recouvert d’une couche d’adhésif ; 2) on dépose sur la couche d’adhésif une couche de matériau de sous-joint ; 3) on réalise une ligne de prédécoupe en pointillés (13) et une découpe (23) de manière à obtenir un empilement de couches de matériaux divisé en deux comprenant une 1ère et une 2ème portion d’empilement (14a,14b) ; 4) on effectue des découpes pour obtenir des ouvertures centrales (5a,5b) ; 5) on dépose une CCM (2) sur chaque ouverture centrale (5a); 6) on replie la 2ème portion d’empilement (14b) sur la 1ère portion d’empilement (14a) ;7) on effectue un scellage à chaud ; 8) on effectue des découpes. Figure pour l’abrégé : figure 4a

用于监测燃料电池和电解槽堆电压的单池电压拾取子组件及组件

NºPublicación:  CN121784572A 03/04/2026
Solicitante: 
AVL\u674E\u65AF\u7279\u6709\u9650\u516C\u53F8,
AVL\u71C3\u6599\u7535\u6C60\u52A0\u62FF\u5927\u6709\u9650\u516C\u53F8
CN_121784572_PA

Resumen de: CN121784572A

本发明涉及一种用于将燃料电池或电解槽堆的单池单元电压传递至单池电压监测(CVM)系统的单池电压拾取(CVP)子组件(12)和一种用于安装至燃料电池或电解槽堆的CVP组件(100)。CVP单元(10)包括:用于导电的印刷电路板(PCB)(20);用于将其中一个单池单元与PCB(20)电连接的至少一个拾取触点(50);以及用于将堆电压(22)传送至CVM系统的机构。CVP子组件(12)包括CVP单元(10)和用于保持CVP单元(10)的支承框架(30),其中,支承框架(30)包括至少一个通孔特征(40),用于安装至滑动杆(110)。CVP组件(100)包括CVP子组件(12)、至少一个滑动杆(110)和用于将CVP组件(100)安装至燃料电池或电解槽堆的安装托架(120)。

一种中温燃料电池

NºPublicación:  CN121790449A 03/04/2026
Solicitante: 
中经云数据存储科技(北京)有限公司
CN_121790449_PA

Resumen de: CN121790449A

本发明涉及燃料电池领域,尤其涉及一种中温燃料电池。包括重整器、电堆、第一空气供给路、甲醇水燃烧供给路、甲醇水反应供给路、介质循环水路和第二空气路,第一空气供给路为重整器燃烧区的燃烧提供氧气,而甲醇水燃烧供给路为重整器燃烧区的燃烧提供燃料,重整器燃烧区燃烧时产生的热量第一板式换热器换热给介质循环水路,此时的热量通过介质循环水路进入到电堆内部为电堆加热,在电堆达到启动温度后,甲醇水反应供给路供应甲醇水使得重整器反应区反应生成氢气输送至电堆,而第二空气路为电堆提供氧气保证电堆可以反应发电,通过该系统可以实现重整器与电堆的有效启动。

燃料電池システム及び燃料電池システムのメンテナンス方法

NºPublicación:  JP2026058218A 03/04/2026
Solicitante: 
パナソニックIPマネジメント株式会社
JP_2026058218_A

Resumen de: JP2026058218A

【課題】金属イオンを含有する電解質膜の耐久性を向上させることに適した燃料電池システム及び燃料電池システムのメンテナンス方法を提供する。【解決手段】本開示の燃料電池システム300は、複数の燃料電池セル100を含み、かつ、燃料電池セル100の厚さ方向に延びるとともに複数の燃料電池セル100を貫通する燃料ガス孔41、酸化剤ガス孔51、及び冷媒孔61が形成された少なくとも1つの燃料電池スタック200と、燃料ガス孔41の内部における燃料ガスGaの流れ方向、酸化剤ガス孔51の内部における酸化剤ガスGcの流れ方向、及び冷媒孔61の内部における冷媒Mcの流れ方向からなる群より選択される少なくとも1つを反転させる構造又は要素と、を備える。燃料電池セル100は、アノード13、カソード16、及び金属イオンを含有する電解質膜12を含む膜電極接合体10を含む。【選択図】図2

一种燃料电池混合动力飞机功率配比方法及系统

NºPublicación:  CN121777762A 03/04/2026
Solicitante: 
中国商用飞机有限责任公司北京民用飞机技术研究中心
CN_121777762_PA

Resumen de: CN121777762A

本发明公开了一种燃料电池混合动力飞机功率配比方法及系统,包括:定义飞机级参数,计算各飞行阶段的功率需求;建立双层优化架构,双层优化架构包括上层的参数配置优化与下层的能量管理运行优化;进行上层优化,以混合动力系统的总重量或总成本最小化为优化目标进行参数配置,包括确定燃料电池的额定功率、锂电池的容量及锂电池的放电倍率;进行下层优化,基于确定的参数配置,以燃料电池运行效率最高为优化目标,在全飞行剖面下优化燃料电池与锂电池的实时运行功率分配;将下层优化得到的运行结果反馈至上层,并迭代,直至满足收敛标准,获得最优的混合动力系统功率配比。本发明通过双层优化架构,实现了燃料电池混合动力系统总重量的全局最优。

基于多特征融合的甲醇电池铂基催化剂筛选方法

NºPublicación:  CN121789841A 03/04/2026
Solicitante: 
兰州文理学院
CN_121789841_PA

Resumen de: CN121789841A

本发明公开了基于多特征融合的甲醇电池铂基催化剂筛选方法,涉及石墨烯与碳基电催化材料技术领域,该方法通过在甲醇燃料电池阳极工况下,同步采集铂基催化剂的结构界面特征、电化学行为特征及稳定性耐受特征数据,预处理后构建对应数据集;通过计算界面电子协同系数、中间体调控冲突系数和结构演化耐受系数,并与预设阈值或阈值区间进行对比,实现对催化剂界面电子传输能力、中间体反应调控能力及结构稳定性的分层筛选;结合多维评估结果,对不合格样品进行针对性机理分析并反馈优化设计,从而提高甲醇电池铂基催化剂筛选的科学性、准确性与工程适用性。

一种炼厂干气回收得到聚合级乙烯耦合直产燃料电池用氢的方法及系统

NºPublicación:  CN121779188A 03/04/2026
Solicitante: 
中国石油化工股份有限公司中石化(北京)化工研究院有限公司
CN_121779188_PA

Resumen de: CN121779188A

本发明属于炼厂干气处理技术领域,公开了一种炼厂干气回收得到聚合级乙烯耦合直产燃料电池用氢的方法及系统,该方法包括:1)脱氧;2)压缩、冷却;3)吸收:冷却后的炼厂干气进入吸收塔,得到塔釜物流和塔顶尾气;4)解吸:吸收塔的塔釜物流进入解吸塔,塔顶得到回收的碳二提浓气;5)除杂;6)脱甲烷:除杂后的碳二提浓气进入脱甲烷塔;7)乙烯精馏:脱甲烷塔的塔釜物流进入乙烯精馏塔,乙烯精馏塔侧线采出聚合级乙烯产品;8)再吸收:吸收塔塔顶尾气进入再吸收塔,得到塔釜物流和塔顶的甲烷氢尾气;9)稳定;10)真空变压吸附或者膜分离及变压吸附:得到燃料电池用氢。该方法能耗低、投资少、操作简单。

一种采用氢燃料电池堆余热利用的热管理系统

NºPublicación:  CN121790441A 03/04/2026
Solicitante: 
上海仪达空调有限公司
CN_121790441_PA

Resumen de: CN121790441A

本发明公开一种采用氢燃料电池堆余热利用的热管理系统,包括氢燃料电池堆,所述氢燃料电池堆内部的热量通过冷却液传递至余热制冷模块或余热制热模块,所述余热制冷模块、余热制热模块分别与所述氢燃料电池堆之间通过冷却液的流动形成闭环回路,通过冷却液以及相对应的换热器进行热量换热,实现降温和供暖;本发明替代了传统散热、制冷及供暖方案,在提升氢燃料电池堆整体效率的同时,全面满足电池机组及其他设备的制冷与制热需求,兼具节能、紧凑、适配性强的优势。

一种双极板及其制备方法和应用

NºPublicación:  CN121790432A 03/04/2026
Solicitante: 
辽宁科京新材料有限公司
CN_121790432_A

Resumen de: CN121790432A

本发明属于液流电池领域,具体涉及一种双极板及其制备方法和应用。将一定量的针状焦化学氧化处理后,与环氧树脂和制备的全氟磺酸树脂修饰后的聚苯胺反应预压成片进行低温微固化成片材放置于模具中,将处理后的针状焦与低密度聚乙烯(LDPE)/聚乙烯接枝马来酸酐粉末混合后,平铺于环氧树脂片材上下,热压制得双极板材料。环氧树脂层为双极板提供力学支撑,聚乙烯/PE‑g‑MAH外层为电解液与双极板提供足够大的接触面积,两界面之间通过聚苯胺与马来酸酐、胺类偶联剂与马来酸酐/环氧树脂的化学交联,形成稳固的界面结构,降低起层风险。

一种高导热导电复合双极板的制备及其在液流电池中的应用

NºPublicación:  CN121790428A 03/04/2026
Solicitante: 
南京工业大学
CN_121790428_PA

Resumen de: CN121790428A

本发明属于液流电池双极板材料技术领域,涉及一种复合双极板材料及其制备方法和应用,适合于液流电池用双极板材料。该液流电池双极板选用三维多孔泡沫金属作为基体位于中间层,可提升双极板的整体强度和韧性,同时针对沉积型液流电池,如锌铁电堆,充放电测试中由于锌沉积存在发热不均匀,导致局部过热等问题,进而影响电池长久运行,而多孔泡沫金属能很好的传递热量,使其均匀分布,因此在沉积型液流电池中也具备着很好的应用前景。通过热压工艺使复合材料黏附在其两侧,这样的设计可使得双极板耐腐蚀性能得到了保证,同时泡沫金属在双极板内部构建了一个高效的导电网络,可以与复合材料构成协同导电作用,也提升双极板的电子传输能力;在制造过程中上下两侧同时会加入碳纸/碳纤维布,从而降低了双极板表面电阻,进一步提升双极板在液流电池中的性能。

弾性部材、電気化学素子、電気化学モジュール、電気化学装置及びエネルギーシステム

NºPublicación:  JP2026058191A 03/04/2026
Solicitante: 
大阪瓦斯株式会社
JP_2026058191_A

Resumen de: JP2026058191A

【課題】電気化学反応部と接触する部位での電気抵抗を小さくし、電気化学反応部に対するガスの供給を阻害し難くできる弾性部材を提供する。【解決手段】固体電解質層と電極層と対極電極層とを有する電気化学反応部15、電気化学反応部15を支持する板状支持体、及び、セパレータを備える電気化学素子に設けられる弾性部材21が、対極電極層とセパレータとの間に設けられて、対極電極層とセパレータとの間を電気的に導通させる、弾性変形可能な一枚の板状部材によって形成され、板状部材が第1平板部21bと突出部21cとを有し、突出部21cの周囲には、第1平板部21bと連結された箇所と第1平板部21bから切り離された箇所とが存在し、突出部21cは対極電極層の側とセパレータの側との間で貫通する複数の貫通孔21eを有する。【選択図】図5

Système et procédé de génération électrique à partir de carburant purgé d’un aéronef

NºPublicación:  FR3166891A1 03/04/2026
Solicitante: 
SAFRAN AIRCRAFT ENGINES [FR]
FR_3166891_A1

Resumen de: FR3166891A1

Un système de génération électrique (2) configuré pour alimenter au moins une charge électrique (4) d’un aéronef (A), l’aéronef (A) comprenant un système de conditionnement (SC) alimentant au moins une turbomachine (T) d’aéronef à partir de carburant (Q) issu d’un réservoir cryogénique (10), le système de conditionnement (SC) comprenant un circuit de carburant (CQ) comprenant, en amont d’un dispositif de chauffage (12), au moins une première sortie de purge (P1) et, en aval du dispositif de chauffage (12), au moins une deuxième sortie de purge (P2), le système de génération électrique (2) comprenant au moins un réservoir d’oxygène (3) et au moins une pile à combustible (21, 22, 23) configurée pour alimenter électriquement la charge électrique (4) à partir de carburant (Q), purgé par la première sortie de purge (P1) et/ou la deuxième sortie de purge (P2), et d’oxygène (O2) issu du réservoir d’oxygène (3). Figure de l’abrégé : Figure 2

一种垂直取向导电纤维增强型复合双极板

NºPublicación:  CN121790426A 03/04/2026
Solicitante: 
海川太风水储能科技(无锡)有限公司
CN_121790426_PA

Resumen de: CN121790426A

本发明涉及液流电池储能技术领域,具体涉及一种垂直取向导电纤维增强型复合双极板,包括树脂基体、导电填料和垂直取向高导电纤维,所述垂直取向高导电纤维垂直于双极板的两个工作面均匀分布,形成连续的垂直导电通道,并提供了双极板的具体制备方法。本发明解决了现有双极板导电各向异性的缺陷,通过编制或缠绕配合切割的工艺精准构建垂直取向高导电纤维通道,厚度方向导电率提升80‑200%,厚度方向与面向方向的导电率差异缩小至15%以内,大幅降低接触电阻和电堆内阻。

一种燃料电池电堆的制备方法,系统及存储介质

NºPublicación:  CN121790455A 03/04/2026
Solicitante: 
国鸿氢能科技(嘉兴)股份有限公司
CN_121790455_PA

Resumen de: CN121790455A

本发明提供了一种燃料电池电堆的制备方法,系统及存储介质,方法包括:获取原始燃料电池电堆,包括原始双极板、原始气体扩散层和原始催化层;基于预设第一分段数得到第一双极板;基于预设第二分段数和预配置第一浆料得到第一气体扩散层;基于预设浓度乳液获取第二气体扩散层;基于预设催化层厚度和预设催化剂含量获取第一催化层;基于预设第三分段数、预配置第二浆料和预配置第三浆料得到第二催化层;基于第一双极板、第二气体扩散层和第二催化层,得到第一燃料电池电堆,以消除燃料电池电堆在运行过程中的发电不均匀问题。本发明提供的一种燃料电池电堆的制备方法,能够消除发电不均匀问题,提高性能输出,实现对燃料电池电堆的高效使用。

风冷燃料电池系统及其电堆温度控制方法

NºPublicación:  CN121790439A 03/04/2026
Solicitante: 
海亿新能(临海)科技有限公司武汉海亿新能源科技有限公司
CN_121790439_PA

Resumen de: CN121790439A

本发明提供了风冷燃料电池系统及其电堆温度控制方法。该方法包括获取电堆的运行电流和环境温度,基于该环境温度,通过第一关系模型计算得到该散热风扇的初始占空比,基于运行电流,通过第二关系模型计算得到对应于该运行电流的风扇占空比增量,然后根据初始占空比和风扇占空比增量,计算散热风扇的目标占空比,根据该目标占空比控制散热风扇的运行,以用于调节电堆的电堆温度。该方法相对于现有技术采用固定风扇占空比或简单线性调节模式,由于分别通过环境温度和运行电流来确定初始占空比和风扇占空比增量,进而再根据两者计算散热风扇的目标占空比,因此结合了点对的工作电流和环境温度的实时变化,更加适配电堆随工况变化的散热需求。

燃料电池热电联供环境的固态储氢管理方法及系统

NºPublicación:  CN121790446A 03/04/2026
Solicitante: 
国网江苏省电力有限公司常州供电分公司国网江苏省电力有限公司电力科学研究院钢研华普科技有限公司
CN_121790446_PA

Resumen de: CN121790446A

本发明公开了燃料电池热电联供环境的固态储氢管理方法及系统,涉及燃料电池技术领域。方法包括:对储氢合金床和燃料电池进行温度匹配性动态分析,输出余热分流阀开度指令;对储氢合金床进行监测,得到氢气绝对压力、吸氢体积流量和放氢体积流量;进行压力失配分析,输出电解槽压力设定指令;获得发电功率时序曲线和负载需求预测曲线;进行实时形变位移数据的检测输出;进行多参数约束优化决策,输出动态协同控制指令;对固态储氢系统执行闭环反馈控制。解决了现有技术中固态储氢系统各组件间的运行参数易发生失配,导致系统协同效率低的技术问题,通过多参数动态分析与协同控制,实现了各组件运行参数的高效匹配,从而提高系统性能的技术效果。

一种具有湿度调节功能的复合质子交换膜及其制备方法和应用

NºPublicación:  CN121790451A 03/04/2026
Solicitante: 
中国科学院青岛生物能源与过程研究所
CN_121790451_PA

Resumen de: CN121790451A

本发明属于氢能领域,具体的说是一种具有湿度调节功能的复合质子交换膜及其制备方法和应用。合质子交换膜为全氟磺酸纳米纤维网络基底层,及其网络中含水凝胶填充层;其中,全氟磺酸纳米纤维网络基底层为含掺杂物质的前驱液经静电纺丝方式获得全氟磺酸纳米纤维网络基底层,所述掺杂物质为水凝胶成分;水凝胶填充层为经水凝胶成分形成,或,含掺杂物质的水凝胶成分所形成,所述掺杂物质为掺杂制备全氟磺酸纳米纤维网络基底层的前驱液。本发明所制备的复合膜显著降低了全氟磺酸的用量,极大地降低了制膜成本。其可广泛应用于氢能燃料电池、醇类燃料电池等领域。

一种无人机用自控温型氢燃料电池结构

NºPublicación:  CN121790456A 03/04/2026
Solicitante: 
协氢(深圳)无人机科技有限公司
CN_121790456_PA

Resumen de: CN121790456A

本发明涉及氢燃料电池技术领域,具体是涉及一种无人机用自控温型氢燃料电池结构,包括电池壳、电池堆、引流扇、封闭闸组、进气风门组件、出气风门组件、换热管和温度传感器,通过温度传感器反馈,能全自动根据电池堆实时工况在“内部循环调整至设定温度”与“外部进风冷却”两种模式间无缝切换,解决了无人机从高空低温到地面高温极端环境下的热管理难题,无需外部复杂控制系统或附加加热装置。

一种多孔碳材料增强的离子交换膜及其制备方法

NºPublicación:  CN121775671A 03/04/2026
Solicitante: 
华北电力大学
CN_121775671_PA

Resumen de: CN121775671A

本发明属于离子交换膜技术领域,提供了一种多孔碳材料增强的离子交换膜及其制备方法。该多孔碳材料增强的离子交换膜的拉曼信号图谱在2100 ±100 cm1出现丁二炔的信号峰,其制备包括以下步骤:步骤一、将离子交换树脂溶于溶剂当中,搅拌均匀;步骤二、将富端基炔的有机功能前体溶于步骤一的溶液中,搅拌均匀;步骤三、在步骤二的溶液中加入铜盐,搅拌反应,得到铸膜液;步骤四、将铸膜液浇铸到制膜模具中,热处理除去溶剂,获得膜材料;步骤五、将膜材料经过离子交换得到多孔材料增强的离子交换膜。本发明多孔碳材料增强的离子交换膜合成条件温和,工艺简单,所得产品高离子电导率、高机械强度、低溶胀性能、低气体渗透。

一种硅基双极板表面涂层及其制备方法与应用

NºPublicación:  CN121781064A 03/04/2026
Solicitante: 
重庆中光学建设镀膜科技有限公司
CN_121781064_PA

Resumen de: CN121781064A

本发明公开了一种硅基双极板表面涂层及其制备方法与应用。所述硅基双极板表面涂层包括依次层叠设置于硅基双极板表面的钛过渡层和致密类金刚石碳功能层。所述制备方法包括:采用磁控溅射技术在硅基双极板表面沉积形成钛过渡层,采用磁过滤真空电弧离子镀技术在钛过渡层表面沉积形成致密类金刚石碳功能层。本发明制得的硅基双极板表面涂层在保持低接触电阻(≤6 mΩ·cm2)的同时,凭借更强C‑C键与更高化学惰性,显著提升抗氧化性能。经200℃烘烤2小时,接触电阻变化率稳定控制在3%以内,展现出优异的高温稳定性,从而解决硅基双极板涂层使用传统制备方法电阻低但高温下易氧化、电阻增大的问题。

使电解液均匀分布的液流电池双极板及液流电池

NºPublicación:  CN121790427A 03/04/2026
Solicitante: 
平高集团有限公司
CN_121790427_PA

Resumen de: CN121790427A

本发明公开了一种使电解液均匀分布的液流电池双极板及液流电池。双极板的两侧设有导流流道结构、电解液进口和电解液出口;其中,导流流道结构包括:多组导流流道,每组导流流道包括一条纵向主流道和多个横向分支流道,横向分支流道自纵向主流道横向延伸;电解液进口与纵向主流道连通,且开设于双极板的纵向端部,用于将电解液导入双极板,电解液导入流向平行于双极板所在平面;电解液出口开设于双极板的表面,用于将电解液导出双极板,电解液导出流向垂直于双极板所在平面。本发明可有效改善液流电池浓差极化、提升电解液利用率及电堆性能、降低电解液流动阻力,进而提升电堆效率、系统效率。

一种具有散热翅片阵列的燃料电池双极板结构

NºPublicación:  CN121790435A 03/04/2026
Solicitante: 
华能酒泉风电有限责任公司
CN_121790435_PA

Resumen de: CN121790435A

本申请公开了一种具有散热翅片阵列的燃料电池双极板结构,具体涉及电池双极板领域,包括阴极板,所述阴极板的一侧设置有阳极板,所述阴极板与阳极板之间设置有膜电极,所述阴极板靠近膜电极的一侧表面设置有空气气体腔,所述空气气体腔的内壁设置有空气流道,所述阳极板的一侧内壁设置有氢气气腔,所述氢气气腔的内壁设置有氢气流道,所述阴极板与阳极板之间形成冷却水流道,所述冷却水流道的内部设置有强化散热机构;本申请通过分流空气流道能够使流道缩短,气体从进口到出口的路径更平均,通过冷却水流道内壁的强化散热机构实现多梯度的辅助增强散热效果,能够辅助强化散热效果从而带走阴阳两极电化学反应产生的巨大热量。

质子交换膜及其制备方法和应用

NºPublicación:  CN121779761A 03/04/2026
Solicitante: 
常州兴燃科技有限公司
CN_121779761_PA

Resumen de: CN121779761A

本发明提供了一种质子交换膜及其制备方法和应用,具体涉及质子交换膜技术领域。该质子交换膜具有层状结构,所述层状结构包括依次层叠设置的底层、中间层和顶层;所述底层为短支链全氟磺酸树脂层,所述中间层为混合全氟磺酸树脂层,所述顶层为长支链全氟磺酸树脂层,各层之间无明显物理界面,且相邻层之间通过分子链段的相互扩散与共结晶作用形成三维互锁结构;其中,所述中间层的层数≥1,所述中间层中的树脂为短支链全氟磺酸树脂和长支链全氟磺酸树脂。通过梯度过渡的中间层实现组分与性能的平滑衔接,显著提升了膜的整体机械强度、化学耐久性和质子传输效率。此外,三维互锁结构增强了层间粘结力,使膜在长期运行条件下仍能保持结构完整性。

一种燃料电池的空气子系统、燃料电池系统

NºPublicación:  CN224082438U 03/04/2026
Solicitante: 
浙江天能氢能源科技有限公司

Resumen de: CN224082438U

本实用新型公开了一种燃料电池的空气子系统、燃料电池系统,利用阴极尾排混合气进行箱体吹扫,在背压阀与尾排集流管的一段阴极尾排管路中沿流体流动方向,斜向上引一支管,通过重力分离尾气与液态水,再经过去离子和干燥处理,与箱体内氢气和湿气中和后,输送至箱体尾端,穿过箱体尾端的透气阀,排入大气中。采用平铺的设计思路和高度集成的设计方法。将加湿器、中冷器等部分零部件高度集成,BOP呈U字形的集成、布置在箱体底部,降低了流道阻力。取消了氢气浓度传感器,简化了吹扫出口设计,提高了系统可靠性和发电效率,降低了成本和提高了空间利用率。

一种燃料电池热电联供空气供给系统

NºPublicación:  CN224082437U 03/04/2026
Solicitante: 
浙江天能氢能源科技有限公司
CN_224082437_U

Resumen de: CN224082437U

本实用新型提供一种燃料电池热电联供空气供给系统,该系统利用电解水制氢的副产高压纯氧作为工作流体,通过喷射装置与空压机支路结合,实现空气增湿与循环利用电堆废气,减少增湿器与中冷器的使用,降低系统复杂度与空气流阻。系统包括进空气主路、进氧气支路、进空气支路及喷射装置,其中进氧气支路引入废氧,进空气支路设空压机,喷射装置混合废氧与新气供入电堆。出空气管路连接分水器,循环利用废气增湿新气,并设有回流调节阀。本系统降低了空压机功耗,提高了燃料电池热电联供发电效率。

加热控制装置和燃料电池系统

NºPublicación:  CN224082431U 03/04/2026
Solicitante: 
博世氢动力系统(重庆)有限公司
CN_224082431_U

Resumen de: CN224082431U

本申请涉及一种加热控制装置和一种燃料电池系统,所述加热控制装置用于控制燃料电池系统中的辅助设备的加热,所述燃料电池系统包括电堆、从电堆的正极和负极引出的电源总线、以及与所述电源总线电连接的至少一个辅助设备,其中所述加热控制装置包括:与所述至少一个辅助设备电性地且机械地相关联的加热单元,所述加热单元与所述辅助设备并联地电连接至所述燃料电池系统的所述电源总线,所述加热单元由抗干扰电路模块构成,所述抗干扰电路模块的电器部件中纹波电流而产生的热量被供给至所述辅助设备。通过本申请中的结构,当车辆低温启动时,为燃料电池系统的辅助设备提供了一种新颖的加热方式,无需设备单独的加热元件。

一种燃料电池系统测试电流保障装置

NºPublicación:  CN224082434U 03/04/2026
Solicitante: 
衢州高端电子化学品创新研究院
CN_224082434_U

Resumen de: CN224082434U

本实用新型提供一种燃料电池系统测试电流保障装置,包括储水罐以及加湿罐,所述加湿罐与储水罐之间通过水泵进行液体供给,所述加湿罐的出气口连通至燃料电池处,以使加湿罐中具有一定湿度的气体由出气口处进入燃料电池中;所述水泵与加湿罐之间设置有水流调节件,所述加湿罐边侧开设有泄压口;本实用新型提高补充气体的湿度稳定,有效控制水流对加湿罐的波动程度。

燃料电池电堆测试台

NºPublicación:  CN224082436U 03/04/2026
Solicitante: 
武汉海亿新能源科技有限公司
CN_224082436_U

Resumen de: CN224082436U

本实用新型涉及燃料电池技术领域,具体提供了燃料电池电堆测试台。该燃料电池电堆测试台包括:储水罐、循环水泵、待测电堆、加热组件、多通路流量调节阀和散热组件,其中:循环水泵的出水口连接待测电堆的入水口;循环水泵的入水口连接储水罐的出水口;多通路流量调节阀的第一出水口连接加热组件的入水口;多通路流量调节阀的第二出水口连接散热组件的入水口;多通路流量调节阀的入水口连接待测电堆的出水口;储水罐的入水口连接加热组件和散热组件的出水口。在该燃料电池电堆测试台中,能够通过调节多通路流量调节阀第一出水口和第二出水口的流量,来方便快捷地对燃料电池电堆的温度进行调节,解决了现有技术中的问题。

一种氢锂混电系统的安全能量管理方法以及氢锂混电系统

NºPublicación:  CN121777761A 03/04/2026
Solicitante: 
溯驭(杭州)智能科技有限公司
CN_121777761_A

Resumen de: CN121777761A

本发明提供了一种氢锂混电系统的安全能量管理方法以及氢锂混电系统,可以解决现有能量管理方法无法应对高动态负载或动态环境下燃料电池输出特性漂移的问题,保障系统安全,构建燃料电池效率模型,基于实时测量的数据确定燃料电池效率,设计在线参数估计器,用于实时辨识燃料电池效率模型中的未知参数,根据辨识结果确定燃料电池的功率安全范围,并结合预设的锂电池电荷水平约束,共同定义氢锂混电系统的安全工作区间;基于安全工作区间,建立基于控制障碍函数的安全约束条件,用于保证安全工作区间的前向不变性;构建包含能耗指标、寿命指标的代价函数,结合安全工作区间建立模型,用于预测控制能量管理优化问题;求解建立的模型,得到燃料电池的参考输出功率并作用于氢锂混电系统。

一种微波反应合成磺化度可控的先磺化聚苯并咪唑聚合物的制备方法

NºPublicación:  CN121779715A 03/04/2026
Solicitante: 
中国地质大学(武汉)
CN_121779715_PA

Resumen de: CN121779715A

本发明公开了一种微波合成磺化度可控的先磺化聚苯并咪唑聚合物的制备方法及该聚合物,属于聚合物合成领域。旨在解决传统加热聚合先磺化聚苯并咪唑(PBI)时磺酸基团易降解、含磺酸基团二酸单体反应活性低,以及后磺化工艺存在的磺化不均、分子链降解等问题。该方法以一种或几种四胺、含磺酸基团的二酸与不含磺酸基团的二酸(摩尔比 30~100:70~0)为原料。本发明采用先磺化策略精准调控磺化度,结合微波均匀加热、控温准确的优势,缩短反应时间、降低能耗,产物具有均匀性高、分子量可控、磺酸基团保留率大等特点,可广泛应用于燃料电池、液流电池、污水处理、气体分离等领域。

一种镍基复合电极陶瓷氢燃料电池

NºPublicación:  CN121790436A 03/04/2026
Solicitante: 
深圳市涉氢新能源科技有限公司
CN_121790436_PA

Resumen de: CN121790436A

本发明属于氢燃料电池技术领域,具体涉及一种镍基复合电极陶瓷氢燃料电池,包括沿能量转换路径依次层叠设置的阳极组件、陶瓷电解质层、阴极组件,以及用于封装固定并优化运行环境的钛基支撑边框;所述阳极组件为石墨烯包覆镍泡沫复合电极,所述陶瓷电解质层为氧化钇稳定的氧化锆致密陶瓷材料,所述阴极组件为镧锶锰酸盐‑YSZ复合阴极,所述钛基支撑边框采用工业纯钛经精密加工与抗氧化处理制成。该发明以石墨烯包覆镍泡沫为核心复合电极,配合钛基支撑边框与氧化钇稳定的氧化锆陶瓷电解质,实现低成本、高传导效率、长续航、高温稳定性的技术效果,满足多领域规模化应用需求。

一种固态储氢罐、固态储氢模块及其热管理系统

NºPublicación:  CN121782507A 03/04/2026
Solicitante: 
中车株洲电力机车有限公司
CN_121782507_PA

Resumen de: CN121782507A

本发明公开了一种固态储氢罐、固态储氢模块及其热管理系统,应用于储氢技术领域,包括:罐体;填充在罐体内的储氢合金;在储氢合金内分布的晶须;晶须的结构强度大于储氢合金的结构强度,晶须的导热系数大于储氢合金的导热系数。通过在储氢合金中添加晶须,可以增加罐体内部材料的结构强度同时增加罐体内部材料的导热性能,使得热量可以更快的在罐体内部传递,以提升储氢罐本体充放氢速率。

導電板、電気化学素子、電気化学モジュール、電気化学装置及びエネルギーシステム

NºPublicación:  JP2026058190A 03/04/2026
Solicitante: 
大阪瓦斯株式会社
JP_2026058190_A

Resumen de: JP2026058190A

【課題】電気化学反応部と接触する部位での電気抵抗を小さくし、電気化学反応部に対するガスの供給を阻害せず、配置するスペースを出来るだけ小さくすることができる導電板を提供する。【解決手段】固体電解質層と電極層と対極電極層とを有する電気化学反応部15、電気化学反応部15を支持する板状支持体、及び、セパレータを備える電気化学素子に設けられる導電板22が、対極電極層とセパレータとの間に設けられて、対極電極層とセパレータとの間を電気的に導通させるように構成され、電気化学素子に設けられた場合に、対極電極層と相対して接触する位置に配置される平板部22bを備え、平板部22bは、対極電極層の側とセパレータの側との間で貫通する複数の貫通孔22dを有する。【選択図】図4

可实现快速加注的多燃料电池热管理系统

NºPublicación:  CN224082432U 03/04/2026
Solicitante: 
江苏氢芯动力科技有限公司
CN_224082432_U

Resumen de: CN224082432U

本实用新型涉及可实现快速加注的多燃料电池热管理系统,包括:若干套燃料电池热管理系统,每套燃料电池热管理系统包括:燃料电池电堆、中冷器、加热器、三通阀、散热器、循环泵及过滤器,三通阀包括第一端、第二端及第三端,循环泵的进端分别连接燃料电池电堆的出端及中冷器的出端,循环泵的出端与三通阀的第一端相连接,三通阀的第二端与加热器的进端相连接,三通阀的第三端与散热器的进端相连接,若干套燃料电池热管理系统共用一个水箱,水箱的出端与每套燃料电池热管理系统的循环泵的进端通过连接管路连接,所述连接管路上设有阀门,每套燃料电池热管理系统的散热器排气口及电堆排气口分别与水箱的进端相连接,从而大大提高了加注效率。

ELECTRODE AND ELECTROCHEMICAL CELL

NºPublicación:  US20260094846A1 02/04/2026
Solicitante: 
CERES INTELLECTUAL PROPERTY COMPANY LTD [GB]
CERES INTELLECTUAL PROPERTY COMPANY LIMITED
US_20260094846_A1

Resumen de: US20260094846A1

An electrochemical cell is disclosed having a porous metal support, a gas transport layer on the porous metal support, and an electrode layer on the gas transport layer. The gas transport layer is electrically conductive and has an open pore structure comprising a pore volume fraction of 20% by volume or higher and wherein the electrode layer has a pore volume fraction lower than the pore volume fraction of the gas transport layer. Also disclosed is a stack of such electrochemical cells and a method of producing such an electrochemical cell.

FUEL CELL SYSTEM, SEPARATION DEVICE, AND METHOD FOR OPERATING A FUEL CELL SYSTEM

NºPublicación:  WO2026068497A1 02/04/2026
Solicitante: 
WOODWARD LORANGE GMBH [DE]
WO_2026068497_A1

Resumen de: WO2026068497A1

The invention relates to a separation device for an anode recirculate of a fuel cell. The separation device can be arranged in a recirculation path of an anode of the fuel cell and is designed to separate an inert gas and a gaseous fuel from one another in the anode recirculate. The separation device is also designed to discharge the inert gas in the direction of a purge device and to discharge the fuel in the direction of an inlet of an anode chamber of the anode. The invention also relates to a fuel cell system comprising the separation device. The invention also relates to a method for operating a fuel cell system. The fuel cell system comprises a fuel cell and a recirculation path. The recirculation path connects an outlet of an anode chamber of an anode of the fuel cell to an inlet of the anode chamber. The method comprises: discharging an exhaust gas from the anode chamber via the outlet into the recirculation path as an anode recirculate; separating the anode recirculate at least into a gas phase enriched with an inert gas and a gas phase enriched with a fuel; discharging the gas phase enriched with the inert gas from the recirculation path; and introducing the gas phase enriched with the fuel into the anode chamber via the inlet.

FLOW ELEMENT

NºPublicación:  WO2026068192A1 02/04/2026
Solicitante: 
EKPO FUEL CELL TECH GMBH [DE]
WO_2026068192_A1

Resumen de: WO2026068192A1

The invention relates to a flow element, having a flat element, wherein the flat element can be or have, for example, a shaped sheet metal product, wherein - the flat element has an elevation, wherein it can be advantageous if the elevation delimits, for example, a channel of the flow element on at least one side of the channel, - the elevation rises in a vertical direction orthogonal to two main extension directions of the flat element, starting from a base level, in particular at the base of the elevation, up to a highest level of the elevation, - the elevation extends in a longitudinal direction substantially parallel to a main plane defined by the two main extension directions of the flat element or in a main plane defined by the two main extension directions of the flat element up to an end of the elevation, and - the elevation has a transition zone, wherein - a height of the elevation decreases in a height transition section of the transition zone, for example until the height of the elevation has decreased to zero at the end, wherein the height of the elevation is taken in the height direction, and/or - a width of the elevation changes in a width transition section of the transition zone, for example until the width of the elevation has decreased to zero at the end, wherein the width of the elevation is taken in a width direction that is parallel to the main plane and orthogonal to the longitudinal direction at the base level.

METHOD FOR POST-TREATING CATALYST COATED MEMBRANES

NºPublicación:  WO2026072466A1 02/04/2026
Solicitante: 
UOP LLC [US]
WO_2026072466_A1

Resumen de: WO2026072466A1

High efficiency CCM post-treatment methods are described. A multilayer CCM mesh cage has multiple shelves. Each CCM is placed in between one or two pieces of mesh and loaded into the multilayer CCM mesh cage, which is made of mesh so that the acid or base can contact the CCMs. Multiple CCM cages can be soaked in an acid tank at the same time. A circulation pump can be included in the acid or base tank to circulate the acid or base during the CCM post-treatment. Large batch of CCMs can be treated simultaneously.

CATALYTIC LAYER SLURRY AND PREPARATION METHOD THEREFOR, MEMBRANE ELECTRODE, AND FUEL CELL

NºPublicación:  WO2026067465A1 02/04/2026
Solicitante: 
DONGFENG MOTOR GROUP CO LTD [CN]
\u4E1C\u98CE\u6C7D\u8F66\u96C6\u56E2\u80A1\u4EFD\u6709\u9650\u516C\u53F8
WO_2026067465_A1

Resumen de: WO2026067465A1

A catalytic layer slurry, comprising a platinum on carbon catalyst, a perfluorosulfonic acid resin, a hydrophobic modifier, an alcohol solvent, and deionized water, wherein the hydrophobic modifier is carbon powder having a hydrophobic coating.

MICROPOROUS CATALYTIC LAYER OF FUEL CELL FOR SPACE POWER SUPPLY AND PREPARATION METHOD THEREFOR

NºPublicación:  WO2026065774A1 02/04/2026
Solicitante: 
SHENZHEN ACADEMY OF AEROSPACE TECH [CN]
\u6DF1\u5733\u822A\u5929\u79D1\u6280\u521B\u65B0\u7814\u7A76\u9662
WO_2026065774_A1

Resumen de: WO2026065774A1

A microporous catalytic layer of a fuel cell for a space power supply and a preparation method therefor. A cathode catalyst slurry comprises a Pt/metal oxide catalyst, a perfluorosulfonic acid ionomer, ultrapure water, and isopropyl alcohol; and an anode catalyst slurry comprises an IrO2-Pt/metal oxide catalyst, a perfluorosulfonic acid ionomer, ultrapure water, and isopropyl alcohol. The particle sizes of the Pt/metal oxide catalyst and the IrO2-Pt/metal oxide catalyst in the catalytic layer are in a gradient distribution; and the mass ratio of the perfluorosulfonic acid ionomer to a metal oxide carrier in both the anode catalyst slurry and the cathode catalyst slurry in the catalytic layer is in a gradient distribution, wherein the mass ratio of the perfluorosulfonic acid ionomer to ultrapure water and isopropyl alcohol is unchanged. The microporous catalytic layer of a fuel cell for a space power supply has high catalytic activity and strong durability, and can allow water generated in the catalytic layer to be directionally discharged, thereby enhancing the water management capability of a membrane electrode assembly under a space microgravity condition.

ELECTROLYZER AND METHOD OF USE

NºPublicación:  US20260092380A1 02/04/2026
Solicitante: 
TWELVE BENEFIT CORP [US]
Twelve Benefit Corporation
US_20260092380_A1

Resumen de: US20260092380A1

Provided herein are methods for operating carbon oxide (COx) reduction reactors (CRR) and related apparatus. In some embodiments, the methods involve shutting off, reducing, or otherwise controlling current during various operation stages including hydration, break-in, normal operation, planned shut-offs, and extended shutoff or storage periods.

LOW COST METAL ELECTRODES

NºPublicación:  AU2026201995A1 02/04/2026
Solicitante: 
FORM ENERGY INC
Form Energy, Inc
AU_2026201995_A1

Resumen de: AU2026201995A1

Systems and methods of the various embodiments may provide metal electrodes for electrochemical cells. In various embodiments, the electrodes may comprise iron. Various methods may enable achieving high surface area with low cost for production of metal electrodes, such as iron electrodes. ar a r

ELECTROLYTE MEMBRANE FOR PATTERNED MEMBRANE-ELECTRODE ASSEMBLY AND METHOD FOR PREPARING SAME

NºPublicación:  US20260094851A1 02/04/2026
Solicitante: 
HYUNDAI MOTOR COMPANY [KR]
KIA CORP [KR]
KOOKMIN UNIV INDUSTRY ACADEMIC COOPERATION [KR]
Hyundai Motor Company,
Kia Corporation,
Kookmin University Industry Academic Cooperation
US_20260094851_A1

Resumen de: US20260094851A1

A hydrocarbon-based ion exchange membrane is hydrated, then compressed with a mesh template to form an embedded pattern on its surface. After dehydration, the template is removed, yielding an electrolyte membrane featuring improved water uptake, ion conductivity, and mechanical properties. The method supports large-area production at about 70° C. to 90° C. under pressures of about 5 MPa to 15 MPa. A catalyst slurry can be applied to the patterned membrane to create a membrane-electrode assembly, enhancing bonding strength and catalyst utilization in electrochemical devices such as fuel cells and water electrolyzers. The resulting membrane has a moisture content of about 60% by weight or more, a Young's modulus of about 100 MPa or less, and a pattern depth of about 40% or greater relative to the template wires.

FUEL CELL BIPOLAR PLATE AND METHOD FOR MANUFACTURING FUEL CELL BIPOLAR PLATE

NºPublicación:  WO2026070430A1 02/04/2026
Solicitante: 
NISSHINBO CHEMICAL INC [JP]
\u65E5\u6E05\u7D21\u30B1\u30DF\u30AB\u30EB\u682A\u5F0F\u4F1A\u793E
WO_2026070430_A1

Resumen de: WO2026070430A1

Provided is a fuel cell bipolar plate in which a cathode separator and an anode separator provided in a power generation unit cell in a fuel cell are joined via an adhesive layer, wherein: the adhesive layer comprises a cured product of an adhesive containing a thermosetting resin; the arithmetic average roughness Ra of the surfaces of the cathode separator and the anode separator in contact with at least the adhesive layer is 1.61-4.05 μm; and the warpage of the cathode separator and the anode separator is less than 5 mm. Said fuel cell bipolar plate has high flexural bonding strength.

Flow Battery Fluid Exchange System and Method

NºPublicación:  US20260094853A1 02/04/2026
Solicitante: 
BAGOT III MICHAEL H [US]
Bagot, III Michael H
US_20260094853_A1

Resumen de: US20260094853A1

A method of refueling a flow battery utilizing the existing system's power source and pumps to pump electrolyte into and out of the system to allow for refueling and routine maintenance and repairs. The flow battery includes a diverter to an external source of electrolyte as well as a tank seal located at the base of either charged tank that is operable to prevent electrolyte from exiting the tanks during refueling operations. The flow battery may also include a liquid detector operable to measure the amount of electrolyte being deposited into the tanks during refueling.

PULSE CURRENT-ENHANCED MOF-BASED CATALYST, PREPARATION METHOD THEREFOR AND USE THEREOF

NºPublicación:  WO2026066208A1 02/04/2026
Solicitante: 
SUZHOU TPRI ENER & ENVIRO TECH CO LTD [CN]
XIAN THERMAL POWER RES INSTITUTE CO LTD [CN]
\u82CF\u5DDE\u897F\u70ED\u8282\u80FD\u73AF\u4FDD\u6280\u672F\u6709\u9650\u516C\u53F8
\u897F\u5B89\u70ED\u5DE5\u7814\u7A76\u9662\u6709\u9650\u516C\u53F8
WO_2026066208_A1

Resumen de: WO2026066208A1

The present application relates to the field of catalytic materials for atmospheric pollutant control and discloses a pulse current-enhanced MOF-based catalyst, a preparation method therefor and a use thereof. In the present application, the method comprises: dissolving a copper salt and polyvinylpyrrolidone in a mixed solution of DMF and ethanol, and then adding formic acid; dissolving Cu-TCPP in the mixed solution of DMF and ethanol; then mixing the solutions obtained in the steps above until the solutions are uniformly dispersed, and heating and drying the mixture to obtain PML-Cu; weighing PML-Cu and calcining same in an inert gas to obtain PML-CuNPs; and using a pulse current to treat the PML-CuNPs to obtain Pulse-PML-CuNPs. In the present method, an active center is generated in situ in a two-dimensional MOF-based material Cu-TCPP by means of a node metal in-situ reduction method, and a synthesized two-dimensional MOF-based electrocatalyst PML-CuNPs has a single atomic layer structure and can maximize mass transfer rate. By means of the pulse current method, the present application further changes the surface state of the active center, and changes the surface roughness and valence state of Cu nanoparticles, thereby enhancing the reaction efficiency of electroreduction of CO2 into a multi-carbon product.

FUEL CELL SYSTEM AND METHOD FOR OPERATING A FUEL CELL SYSTEM

NºPublicación:  WO2026068050A1 02/04/2026
Solicitante: 
WOODWARD LORANGE GMBH [DE]
WO_2026068050_A1

Resumen de: WO2026068050A1

The invention relates to a fuel cell system. The fuel cell system comprises a main fuel cell and a recirculation path. The main fuel cell comprises: an anode inlet through which fuel can flow into the main fuel cell; and an anode outlet from which an anode exhaust gas including unconsumed fuel can flow out. The recirculation path, in which the anode exhaust gas can flow as a recirculate, connects the anode inlet to the anode outlet. The recirculation path comprises an electrochemical filter and a bypass path. The electrochemical filter is designed to extract the unconsumed fuel from the recirculate. The extracted fuel can be recirculated to the anode inlet. The recirculate can be recirculated from the anode outlet to the anode inlet through the bypass path, while bypassing the electrochemical filter. The fuel cell system is designed to operate with a bypass ratio of more than 70 percent. The bypass ratio is defined as a ratio of a portion of the recirculate flowing through the bypass path to a total amount of the recirculate. The invention also relates to a corresponding method for operating a fuel cell system.

FUEL CELL SEPARATOR MANUFACTURING METHOD AND FUEL CELL SEPARATOR

NºPublicación:  WO2026070428A1 02/04/2026
Solicitante: 
NISSHINBO CHEMICAL INC [JP]
\u65E5\u6E05\u7D21\u30B1\u30DF\u30AB\u30EB\u682A\u5F0F\u4F1A\u793E
WO_2026070428_A1

Resumen de: WO2026070428A1

This fuel cell separator manufacturing method comprises: irradiating, with infrared lasers, the surface of a molded body formed by molding a composition containing a graphite powder and an epoxy resin component containing a main agent, a curing agent, and a curing accelerator to remove the resin on the surface of the molded body; and further performing hydrophilic treatment. The infrared lasers have: a beam quality (M2) of 2.8 or less; a spot diameter of 150-300 μm; and a pulse energy per unit area of 8-50 mJ/mm2. The fuel cell separator manufacturing method is for manufacturing a fuel cell separator having: small warpage after irradiation even when the thin fuel cell separator is irradiated with lasers; low contact resistance and excellent electrical conductivity when laminated; and good hydrophilicity.

Bearbeitungsvorrichtung zur Bearbeitung, Verfahren zur Erkennung von Fehlern bei der Bearbeitung und Verfahren zur Bearbeitung

NºPublicación:  DE102024209369A1 02/04/2026
Solicitante: 
BOSCH GMBH ROBERT [DE]
Robert Bosch Gesellschaft mit beschr\u00E4nkter Haftung
CN_121739910_PA

Resumen de: DE102024209369A1

Die Erfindung betrifft eine Bearbeitungsvorrichtung (10) zur Bearbeitung eines Substrats (12) für eine elektrochemische Zelle, ein Verfahren zur Erkennung von Fehlern bei der Bearbeitung eines Substrats (12) für eine elektrochemische Zelle, sowie ein Verfahren zur Bearbeitung eines Substrats (12) für eine elektrochemische Zelle. Es wird vorgeschlagen mittels einer Überwachungseinheit (18) eine Verformung des Substrats (12) während der Bearbeitung des Substrats (12) zu erfassen.

FLOWING ELECTROCHEMICAL CELLS

NºPublicación:  AU2024341296A1 02/04/2026
Solicitante: 
SCHLUMBERGER TECH B V
SCHLUMBERGER TECHNOLOGY B.V
AU_2024341296_PA

Resumen de: AU2024341296A1

An electrochemical cell wherein electrolyte flows through the cell, as in a redox flow battery or a fuel cell, uses electrolyte(s) which are in a state of elastic turbulence in contact with the electrode(s). The elastic turbulence enhances transport of electrochemically reactive species to the surfaces of the electrode(s) and the transport of reaction products away from those surfaces.

COMPOSITIONS AND SYSTEMS FOR ELASTIC TURBULENCE

NºPublicación:  AU2024340371A1 02/04/2026
Solicitante: 
SCHLUMBERGER TECH B V
SCHLUMBERGER TECHNOLOGY B.V
AU_2024340371_PA

Resumen de: AU2024340371A1

A fluid composition which is able to exhibit elastic turbulence while pumped through a flow path which compels changes of direction of flow streamlines and comprise a solution of two or more flexible linear polymers in two categories. The first category has an average molecular weight of at least 10 MegaDaltons and the second category has an average molecular weight in a range from 0.25 to 5 MegaDaltons. The concentration of the first polymer is sufficient to enable elastic turbulence with or without the second category. The concentration of the second category is greater than that of the first. When flowing under low shear towards or away from a chamber where the flow path will induce elastic turbulence, the second category polymer reduces elastic instabilities and consequent pressure drop, thereby reducing pumping energy requirement.

COORDINATED OPTIMIZATION METHOD AND SYSTEM FOR HYDROGEN FUEL CELL VEHICLE, DEVICE, AND MEDIUM

NºPublicación:  US20260091708A1 02/04/2026
Solicitante: 
STATE GRID ZHEJIANG JIASHAN POWER SUPPLY CO LTD [CN]
STATE GRID ZHEJIANG JIASHAN POWER SUPPLY CO., LTD
US_20260091708_A1

Resumen de: US20260091708A1

A coordinated optimization method and system for a hydrogen fuel cell vehicle, a device, and a medium. The method includes: determining a target output voltage and a target output current corresponding to a stack in a hydrogen fuel cell vehicle; determining a sub-stack efficiency score corresponding to one of sub-stacks, and determining a sub-stack stability score corresponding to the sub-stack; obtaining a comprehensive score of the sub-stack efficiency score and the sub-stack stability score, and determining a primary stack and a secondary stack from the sub-stacks according to a comprehensive score result; generating, according to the target output voltage and the target output current, a primary stack output parameter corresponding to the primary stack and a secondary stack output parameter corresponding to the secondary stack; and dynamically adjusting an operating state of the primary stack, and dynamically adjusting an operating state of the secondary stack.

燃料電池システム

NºPublicación:  JP2026510364A 02/04/2026
Solicitante: 
ハイダッククーリングゲゼルシャフトミットベシュレンクテルハフツング
JP_2026510364_A

Resumen de: AU2024234878A1

The invention relates to a fuel cell system consisting of at least - a fuel cell (12), - a coolant circuit (16) having a coolant pump (18) and a heat exchanger (20), - a water separator (34), and - a fan (22), which generates a gaseous medium flow, in particular an air flow, in the direction of the heat exchanger (20), wherein by means of a cooling device, which has a conveying device (46), the water separated in the water separator (34) reaches a discharge device (50) which, by means of spray nozzles (52), sprays the water into the environment, characterised in that by means of the spray nozzles (52), the discharge device (50) sprays the water in a direction opposite the direction of the medium flow generated by the fan (22).

HOLLOW FIBER MEMBRANE MODULE

NºPublicación:  US20260091358A1 02/04/2026
Solicitante: 
NOK CORP [JP]
NOK CORPORATION
US_20260091358_A1

Resumen de: US20260091358A1

A hollow fiber membrane module including a plurality of hollow fiber membranes, a case, in an accommodation interior of which the plurality of hollow fiber membranes are accommodated, the accommodation interior being open at both ends, and a pair of sealing and fixing portions that seal gaps among the plurality of hollow fiber membranes in a state where each of hollow interiors of the plurality of hollow fiber membranes is open on each of one end side and the other end side of the case, wherein the hollow fiber membrane module further including a holding member provided in the case and configured to hold the plurality of hollow fiber membranes, and the plurality of hollow fiber membranes are fixed to the holding member by the pair of sealing and fixing portions.

MITIGATION OF GREENHOUSE GASES

NºPublicación:  US20260091352A1 02/04/2026
Solicitante: 
JOHNSON MATTHEY PLC [GB]
JOHNSON MATTHEY PUBLIC LIMITED COMPANY
US_20260091352_A1

Resumen de: US20260091352A1

A method of reducing the greenhouse gas impact of livestock farming includes feeding a fuel gas comprising one or more hydrocarbons to an anode of a solid oxide fuel cell stack, withdrawing air, that includes methane originating from livestock, from a livestock housing or enclosure and feeding the withdrawn air to a cathode of the solid oxide fuel cell stack. The oxygen in the air is allowed exothermically to react with the one or more hydrocarbons in the fuel gas to form at the anode a heated first exhaust stream comprising water and carbon dioxide and at the cathode a heated second exhaust stream comprising methane, thereby generating an electrical current from the solid oxide fuel cell stack through an external electrical circuit. At least the heated second exhaust stream is fed to a combustor and combusted, producing a heated tail gas stream.

THERMAL ENERGY STORAGE SYSTEMS FOR USE IN MATERIAL PROCESSING

NºPublicación:  US20260092542A1 02/04/2026
Solicitante: 
RONDO ENERGY INC [US]
Rondo Energy, Inc
US_20260092542_A1

Resumen de: US20260092542A1

An energy storage system (TES) converts variable renewable electricity (VRE) to continuous heat at over 900° C. Intermittent electrical energy heats a solid medium. Heat from the solid medium is delivered continuously on demand. Heat delivery via flowing gas establishes a thermocline which maintains high outlet temperature throughout discharge. The delivered heat which may be used for processes including power generation and cogeneration. In one application, thermal energy storage systems are used to improve efficiency and reduce carbon emissions associated with processing materials or other industrial applications.

CATALYTIC ELECTRODE FOR FUEL CELL OR ELECTROLYTIC CELL, AND PROCESS FOR MANUFACTURING SAID ELECTRODE

NºPublicación:  US20260094848A1 02/04/2026
Solicitante: 
NAWAH [FR]
LAIR LIQUIDE SA POUR LETUDE ET LEXPLOITATION DES PROCEDES GEORGES CLAUDE [FR]
NAWAH,
L'AIR LIQUIDE, SOCIETE ANONYME POUR L'ETUDE ET L'EXPLOITATION DES PROCEDES GEORGES CLAUDE
US_20260094848_A1

Resumen de: US20260094848A1

A method of preparing an array of vertically aligned carbon nanotubes for use in catalytic electrodes for fuel cell or electrolytic cell, comprising: providing an array of vertically aligned carbon nanotubes obtained by a gas phase growth process in which the precursor of a carbon nanotube growth catalyst is added continuously to the feed gas; and depositing a plurality of platinum nanodots onto the outer surface of said vertically aligned carbon nanotubes by using a gas phase deposition process such as ALD. The ALD process advantageously uses a platinum source gas which is Pt(PF3)4. The nanodots can be protected by nanocaging.

DEVICE FOR DIELECTRIC INSULATION

NºPublicación:  WO2026068092A1 02/04/2026
Solicitante: 
NORMA GERMANY GMBH [DE]
WO_2026068092_A1

Resumen de: WO2026068092A1

The invention relates to a device (1) for dielectric insulation of an object (50), in particular of a hydrogen fuel cell stack, comprising a metal strip (10) for fixing the object (50), and a plurality of insulating blocks (20) which are arranged between the metal strip (10) and a surface of the fixed object (50) and are secured to selected points on the metal strip (10). According to the invention, the insulating blocks (20) are arranged on the metal strip (10) in such a way that the insulating blocks ensure the dielectric resistance only at critical surface regions of the fixed object (50).

STATIC ENERGY STORAGE CELL

NºPublicación:  AU2024337772A1 02/04/2026
Solicitante: 
SUPERDIELECTRICS SUPERCAP LTD
AU_2024337772_PA

Resumen de: AU2024337772A1

There is provided herein a static energy storage cell comprising: (i) a first electrode and a second electrode, (ii) an electrolyte system comprising: a a membrane comprising a cross-linked hydrophilic polymer hydrated in an aqueous solution, wherein the membrane is situated between the first electrode and the second electrode, b. a first electrolyte comprising a first species which can undergo a redox reaction at the first electrode, wherein the first electrolyte is situated between the membrane and the first electrode, c. a second electrolyte comprising a second species which can undergo a redox reaction at the second electrode, wherein the second electrolyte is situated between the membrane and the second electrode, wherein the first electrode and the second electrode are carbon electrodes, wherein the first species is a metallic species, and wherein the second species is a halogen species. Method of manufacture of the static energy storage cell is also provided.

COMPRESSION DEVICE FOR FUEL CELL STACKS

NºPublicación:  US20260094854A1 02/04/2026
Solicitante: 
BALLARD POWER SYSTEMS INC [CA]
BALLARD POWER SYSTEMS INC
US_20260094854_A1

Resumen de: US20260094854A1

A fuel cell stack comprising a compression plate assembly comprising a second end plate having a first planar surface and an opposing second planar surface, wherein the first planar surface is adjacent a fuel cell stack and the second planar surface is adjacent a compression housing, wherein the compression housing comprises: a spring recess and a plurality of discrete grooves on its inner axial surface of the spring recess; a spring assembly in the spring recess; a load disc in the spring recess and in contact with the spring assembly; and a resilient retaining apparatus in the spring recess and in contact with the load disc; wherein the resilient retaining apparatus engages with one of the plurality of discrete grooves and the load disc and the spring assembly are physically separated from the inner axial surface of the spring recess.

SENSOR DEVICE FOR MONITORING A WATER ELECTROLYSIS INSTALLATION, TO BE PLACED INSIDE A FLUID OF THE WATER ELECTROLYSIS INSTALLATION, RELATED INSTALLATION AND METHOD

NºPublicación:  US20260092385A1 02/04/2026
Solicitante: 
TOTALENERGIES ONETECH [FR]
TotalEnergies OneTech
US_20260092385_A1

Resumen de: US20260092385A1

The sensor device comprises: at least one optical fiber probe having a sensing region; a light source apparatus providing an input light to the optical fiber probe; a processing apparatus for processing an output light emitted by the optical fiber probe after receiving the input light from the light source apparatus; characterized by: a temperature sensor and/or a pressure sensor located in the vicinity of the sensing region to measure a temperature and/or pressure of the fluid in contact with the sensing region, the temperature sensor and/or pressure sensor being connected to the processing apparatus for processing simultaneously the output light and the measured fluid temperature and/or pressure.

ELECTROLYTE MEMBRANE AND METHOD FOR PRODUCING SAME, ELECTROLYTE MEMBRANE WITH CATALYST LAYER, MEMBRANE ELECTRODE ASSEMBLY, SOLID POLYMER FUEL CELL, AND SOLID POLYMER WATER ELECTROLYSIS DEVICE

NºPublicación:  WO2026070867A1 02/04/2026
Solicitante: 
TOSOH CORP [JP]
\u6771\u30BD\u30FC\u682A\u5F0F\u4F1A\u793E
WO_2026070867_A1

Resumen de: WO2026070867A1

An electrolyte membrane includes a crosslinked body of a polymer having a structure represented by formula (1). The crosslinked body has a structure in which a plurality of polymer units derived from the polymer are crosslinked with each other via a sulfonyl group. In formula (1), A1 represents a structural unit represented by formula (a1), A2 represents a structural unit represented by formula (a2), L1 and L2 each represents a single bond or the like, n represents an integer of 10-100, and * represents a bond. In formula (a1), IExG represents at least one group selected from the group consisting of sulfonic acid groups, which are ion exchange groups, and salts thereof, L3 represents a single bond or the like, x represents an integer of 2-10, and * represents a bond. In formula (a2), Ar represents an arylene group having no ion exchange group, L4 represents a single bond or the like, (y) represents an integer of 3-20, and * represents a bond.

FUEL CELL SYSTEM

NºPublicación:  WO2026070378A1 02/04/2026
Solicitante: 
PANASONIC INTELLECTUAL PROPERTY MAN CO LTD [JP]
\u30D1\u30CA\u30BD\u30CB\u30C3\u30AF\uFF29\uFF30\u30DE\u30CD\u30B8\u30E1\u30F3\u30C8\u682A\u5F0F\u4F1A\u793E
WO_2026070378_A1

Resumen de: WO2026070378A1

A fuel cell system (1) comprises a first sub-fuel cell system (100) and a second sub-fuel cell system (200). The first sub-fuel cell system (100) comprises a first fuel cell stack (110) and a first cooling path (150). The second sub-fuel cell system (200) comprises a second fuel cell stack (210) and a second cooling path (250). A first cooling medium (15) for cooling the first fuel cell stack (110) flows through the first cooling path (150). A second cooling medium (25) for cooling the second fuel cell stack (210) flows through the second cooling path (250). The first cooling path (150) and the second cooling path (250) are independent of each other. The temperature of the second fuel cell stack (210) during power generation is higher than the temperature of the first fuel cell stack (110) during power generation.

METAL MEMBER, ELECTROCHEMICAL CELL DEVICE, MODULE, AND MODULE HOUSING APPARATUS

NºPublicación:  WO2026071253A1 02/04/2026
Solicitante: 
KYOCERA CORP [JP]
\u4EAC\u30BB\u30E9\u682A\u5F0F\u4F1A\u793E
WO_2026071253_A1

Resumen de: WO2026071253A1

This metal member comprises a metal sheet and a coating layer. The metal sheet has recesses and/or protrusions on a first surface. The coating layer is positioned on the first surface. The coating layer has a first portion and a second portion having a higher porosity than the first portion.

DIAPHRAGM, BATTERY CELL, CELL STACK, AND REDOX-FLOW BATTERY SYSTEM

NºPublicación:  WO2026070832A1 02/04/2026
Solicitante: 
SUMITOMO ELECTRIC IND LTD [JP]
\u4F4F\u53CB\u96FB\u6C17\u5DE5\u696D\u682A\u5F0F\u4F1A\u793E
WO_2026070832_A1

Resumen de: WO2026070832A1

This diaphragm is used in a battery cell of a redox flow battery system, and comprises: a base material having cation permeability; and a coating layer that covers at least part of a first surface and a second surface of the base material. The coating layer contains a nitrogen-containing polymer and a fluorine-containing polymer. The fluorine-containing polymer has cation permeability.

LIQUID HYDROGEN FUEL SUPPLY SYSTEM USING BOG PRESSURE

NºPublicación:  WO2026071553A1 02/04/2026
Solicitante: 
KELVIN ENERGY INC [KR]
\uC8FC\uC2DD\uD68C\uC0AC \uCF08\uBE48\uC5D0\uB108\uC9C0
WO_2026071553_A1

Resumen de: WO2026071553A1

The present invention relates to a liquefied hydrogen pump apparatus in a cryogenic storage container equipped with a positive displacement pump using boil-off gas (BOG) pressure and, more specifically, to a liquid hydrogen fuel supply system capable of: operating the positive displacement pump using pressure of natural BOG that is naturally evaporated and vaporized from liquid hydrogen in a hydrogen fuel tank due to external heat inflow and pressure increase; pumping the liquid hydrogen from the hydrogen fuel tank to supply the liquid hydrogen to a hydrogen fuel cell; and minimizing storage loss of the liquid hydrogen by reusing, as fuel for the hydrogen fuel cell, the natural BOG having reduced pressure after operating the positive displacement pump.

SYSTEM FOR THE PARTIALLY CONVERTING THE CHEMICAL ENERGY INCLUDED IN AN ELECTROLYTIC SOLUTION INTO ELECTRICAL ENERGY, PROCESS ACTUATABLE BY SAID SYSTEM AND ELECTROLYTIC SOLUTION SUPPLIED TO SAID SYSTEM

NºPublicación:  WO2026068001A1 02/04/2026
Solicitante: 
DAK ENERGY INT GROUP KORLATOLT FELELOSSEGU TARSASAG [HU]
WO_2026068001_A1

Resumen de: WO2026068001A1

The invention relates to a system for converting, at least partially and without combustion, into electrical energy of chemical energy included in an electrolytic solution, being also a subject of the invention, comprising copper hydroxide, potassium hydroxide, ethanol with an alcohol content greater than 90% and double-distilled water. The system (1) comprises an electrolytic cell (3) for subjecting the aforesaid electrolytic solution to electrolysis, and a fuel cell (25) for producing electrical energy from the aeriform mixture generating in the electrolytic cell (3). A further solution (26), also electrolytic, exits from the fuel cell (25) and is re-introduced into the electrolytic cell (3) by means of the passage through a recovery tank (28). The invention further relates to a process, also actuatable by means of the aforesaid system (1), for converting, at least partially and without combustion, into electrical energy the chemical energy included in the aforesaid electrolytic solution.

Bipolarplatte

NºPublicación:  DE102024209431A1 02/04/2026
Solicitante: 
BOSCH GMBH ROBERT [DE]
Robert Bosch Gesellschaft mit beschr\u00E4nkter Haftung

Resumen de: DE102024209431A1

Bipolarplatte (2) für den Einsatz in einem Brennstoffzellensystem, umfassend eine erste Plattenhälfte (2a) zur Anordnung an einer Anodenseite (AS) einer Membranelektroneneinheit (MEA) des Brennstoffzellensystems, eine zweite Plattenhälfte (2b) zur Anordnung an einer Kathodenseite (CS) einer Membranelektroneneinheit (MEA) des Brennstoffzellensystems, wobei die Bipolarplatte (2) eine Grundstruktur (4) aus einem Basismaterial aufweist, die zumindest teilweise mit einer Leitlackbeschichtung (6) beschichtet ist, wobei die Leitlackbeschichtung (6) einen Metalloxidanteil aufweist.

ELECTROLYTE MEMBRANE CONTAINING FINE CELLULOSE FIBERS

NºPublicación:  WO2026070129A1 02/04/2026
Solicitante: 
NIPPON PAPER IND CO LTD [JP]
\u65E5\u672C\u88FD\u7D19\u682A\u5F0F\u4F1A\u793E
WO_2026070129_A1

Resumen de: WO2026070129A1

An electrolyte membrane containing fine cellulose fibers, polyvinyl alcohol, and a crosslinking agent.

Bipolarplatte

NºPublicación:  DE102024209443A1 02/04/2026
Solicitante: 
BOSCH GMBH ROBERT [DE]
Robert Bosch Gesellschaft mit beschr\u00E4nkter Haftung

Resumen de: DE102024209443A1

Bipolarplatte (2) für den Einsatz in einem Brennstoffzellensystem, umfassend eine erste Plattenhälfte (2a) zur Anordnung an einer Anodenseite (AS) einer Membranelektroneneinheit (MEA) des Brennstoffzellensystems, eine zweite Plattenhälfte (2b) zur Anordnung an einer Kathodenseite (CS) einer Membranelektroneneinheit (MEA) des Brennstoffzellensystems, wobei die Bipolarplatte (2) eine Grundstruktur (4) aus einem Basismaterial aufweist, die zumindest teilweise mit einer Leitlackbeschichtung (6) beschichtet ist, wobei die Leitlackbeschichtung (6) einen Anteil an einer Base aufweist.

Brennstoffzellensystem zum Wandeln von Energie

NºPublicación:  DE102024209668A1 02/04/2026
Solicitante: 
BOSCH GMBH ROBERT [DE]
Robert Bosch Gesellschaft mit beschr\u00E4nkter Haftung

Resumen de: DE102024209668A1

Die vorgestellte Erfindung betrifft ein Brennstoffzellensystem (100) zum Wandeln von Energie, wobei das Brennstoffzellensystem (100) umfasst:- einen Brennstoffzellenstapel (101),- einen Anodenkreislauf (103) zum Versorgen des Brennstoffzellenstapels (101) mit Wasserstoff und- einen Kathodenkreislauf zum Versorgen des Brennstoffzellenstapels (101) mit Luft,wobei der Brennstoffzellenstapel (101) eine Vielzahl Brennstoffzellen (105), eine Anzahl Blindzellen (107, 109) und an jeweiligen Enden des Brennstoffzellenstapels (101) angeordnete Endplatten umfasst,wobei die Anzahl Blindzellen (107, 109) zumindest auf einer ersten Seite des Brennstoffzellenstapels (101) zwischen der auf der ersten Seite angeordneten Endplatte und der Vielzahl Brennstoffzellen (105) angeordnet ist, undwobei an dem Anodenkreislauf (103) kein Wasserstoffwärmetauscher angeordnet ist.

ELECTRICAL ARCHITECTURE FOR AN AIRCRAFT COMPRISING A MULTI-STACK FUEL CELL AND AN ELECTRICAL ENERGY DISTRIBUTION SYSTEM SUITABLE FOR SUPPLYING AT LEAST ONE ELECTRIC PROPULSION MOTOR OF THE AIRCRAFT AND AUXILIARY LOADS

NºPublicación:  WO2026068913A1 02/04/2026
Solicitante: 
SAFRAN ELECTRICAL & POWER [FR]
SAFRAN POWER UNITS [FR]
SAFRAN ELECTRICAL & POWER,
SAFRAN POWER UNITS
WO_2026068913_A1

Resumen de: WO2026068913A1

The invention relates to electrical architecture for an aircraft comprising a fuel cell (PC) having multiple stacks (S1, S2, S3) which are connected in series and comprising an electrical energy distribution system (1) supplying at least one electric propulsion motor (ME) of the aircraft and at least one auxiliary electrical load (CE1, CE2) required for the fuel cell (PC) to operate. The electrical energy distribution system (1) is suitable for supplying each electric motor (ME) from all of the stacks (S1, S2, S3) only during a nominal operating phase of the fuel cell (PC), the electrical energy distribution system (1) being suitable for supplying each auxiliary electrical load (CE1, CE2) from only some of the stacks (S1, S2, S3) during a preliminary phase of starting the fuel cell (PC).

SOLID-STATE ELECTROLYTE SHEET, SOLID OXIDE FUEL CELL, SOLID OXIDE ELECTROLYZER CELL, AND METHODS OF MAKING THE SAME

NºPublicación:  US20260094852A1 02/04/2026
Solicitante: 
CORNING INCORPORATED [US]
CORNING INCORPORATED
US_20260094852_A1

Resumen de: US20260094852A1

A solid-state electrolyte sheet includes stabilized zirconia grains having from 3 mol % to 12 mol % of a dopant selected from alumina, cerium oxide, gadolinium oxide, scandia, yttria, ytterbia, and combinations thereof. In aspects, the solid-state electrolyte sheet exhibits an ionic conductivity of 6.79 S/m or more at 800° C. or 8.8 S/m or more at 835° C. In aspects, the stabilized zirconia grains can exhibit a ratio of a cubic phase to a tetragonal phase (C/T ratio) of 0.12 or more. In aspects, the solid-state electrolyte sheet can be part of a solid oxide fuel cell and/or a solid oxide electrolyzer cell. Methods include casting a green tape comprising stabilized zirconia and firing the green tape by heating to form a sintered tape and then quenching the sintered tape from a starting temperature of 600° C. or more to a final temperature of less than 100° C.

Bipolarplatte

NºPublicación:  DE102024209413A1 02/04/2026
Solicitante: 
BOSCH GMBH ROBERT [DE]
Robert Bosch Gesellschaft mit beschr\u00E4nkter Haftung

Resumen de: DE102024209413A1

Bipolarplatte (2) für den Einsatz in einem Brennstoffzellensystem, umfassend eine erste Plattenhälfte (2a) zur Anordnung an einer Anodenseite (AS) einer Membranelektroneneinheit (MEA) des Brennstoffzellensystems, eine zweite Plattenhälfte (2b) zur Anordnung an einer Kathodenseite (CS) einer Membranelektroneneinheit (MEA) des Brennstoffzellensystems, wobei die Bipolarplatte (2) eine Grundstruktur (4) aus einem Basismaterial aufweist, die zumindest teilweise mit einer Leitlackbeschichtung (6) beschichtet ist, wobei die Leitlackbeschichtung (6) ein Bindemittel aufweist, wobei das Bindemittel auf Basis eines π -Binders aufgebaut ist.

FILM AND USE THEREOF

NºPublicación:  WO2026070222A1 02/04/2026
Solicitante: 
TOYOBO CO LTD [JP]
\u6771\u6D0B\u7D21\u682A\u5F0F\u4F1A\u793E
WO_2026070222_A1

Resumen de: WO2026070222A1

The present invention provides a film having good slipperiness, sufficiently maintained durability under high temperature and high humidity, and improved mechanical characteristics as compared with a film of PPSU alone, and provides a reinforcing member that is for electrolyte membranes for solid polymer electrolyte fuel cells or solid polymer electrolyte water electrolysis and that uses said film. The present invention relates to a film containing 6-94 mass parts of polyphenylsulfone and 94-6 mass parts of polysulfone, the arithmetic average height (Sa) of at least one surface being 6.0-17.5 nm.

Komponente, insbesondere Funktionseinheit, für eine elektrochemische Vorrichtung, sowie elektrochemische Vorrichtung

NºPublicación:  DE102024209391A1 02/04/2026
Solicitante: 
BOSCH GMBH ROBERT [DE]
Robert Bosch Gesellschaft mit beschr\u00E4nkter Haftung

Resumen de: DE102024209391A1

Die Erfindung betrifft eine Komponente (12), insbesondere eine Funktionseinheit (16), für eine elektrochemische Vorrichtung (10), sowie eine elektrochemische Vorrichtung (12) mit einer solchen Komponente (12). Es wird vorgeschlagen die Komponente (12) mit einem Füllmaterial (28) auszugestalten, welches dazu vorgesehen ist, eine Fluidansammlung eines in der elektrochemischen Vorrichtung (10) umzusetzenden oder umgesetzten Fluids an der Komponente (12) zumindest im Wesentlichen zu vermeiden.

ANODE CATALYST FOR POLYMER ELECTROLYTE FUEL CELLS HAVING EXCELLENT CATALYST CO TOLERANCE

NºPublicación:  WO2026071142A1 02/04/2026
Solicitante: 
TANAKA PRECIOUS METAL TECH CO LTD [JP]
NATIONAL INSTITUTE OF TECH [JP]
\u7530\u4E2D\u8CB4\u91D1\u5C5E\u5DE5\u696D\u682A\u5F0F\u4F1A\u793E
\u72EC\u7ACB\u884C\u653F\u6CD5\u4EBA\u56FD\u7ACB\u9AD8\u7B49\u5C02\u9580\u5B66\u6821\u6A5F\u69CB
WO_2026071142_A1

Resumen de: WO2026071142A1

The present invention relates to an anode catalyst for polymer electrolyte fuel cells, the anode catalyst having catalyst particles for treating a fuel gas that contains carbon monoxide (CO). The present invention is characterized by applying catalyst particles that are composed of Pt and Ir. PtIr forms catalyst particles that are more suitable than PtRu which has been known to have excellent characteristics with respect to catalyst CO tolerance. The catalyst particles each include a region in which four or more Ir atoms are adjacent to each other and clustered on the surface. It is preferable that the catalyst particles are configured to have an atomic ratio of Pt to Ir (Pt:Ir) of 2:1 to 1:2 inclusive, and it is also preferable that the catalyst particles have an average particle diameter of 40 nm to 100 nm inclusive.

Elektrochemische Vorrichtung, insbesondere Brennstoffzellenvorrichtung

NºPublicación:  DE102024209381A1 02/04/2026
Solicitante: 
BOSCH GMBH ROBERT [DE]
Robert Bosch Gesellschaft mit beschr\u00E4nkter Haftung

Resumen de: DE102024209381A1

Die Erfindung betrifft eine elektrochemische Vorrichtung (10), insbesondere Brennstoffzellenvorrichtung (14), umfassend eine Medienabführung (28), insbesondere eine Abgasabführung (30), ein Gehäuse (34), insbesondere ein Außengehäuse (36), wobei die Medienabführung (28), insbesondere durch eine Öffnung (38) im Gehäuse (34), aus dem Gehäuse (34) herausführt. Es wird vorgeschlagen zwischen der Medienabführung (28) und dem Gehäuse (34) ein Isoliermaterial (40) anzuordnen.

Elektrochemischer Zellenstapel und Verfahren zur Wartung eines elektrochemischen Zellenstapels

NºPublicación:  DE102024209610A1 02/04/2026
Solicitante: 
BOSCH GMBH ROBERT [DE]
Robert Bosch Gesellschaft mit beschr\u00E4nkter Haftung

Resumen de: DE102024209610A1

Die vorliegende Erfindung betrifft einen elektrochemischen Zellenstapel (200) mit einer Vielzahl von elektrochemischen Zellen (1), welche aufeinander gestapelt und mittels Kompressionsmitteln (230) zwischen zwei Endplatten (220) verspannt sind. In dem Zellenstapel (200) ist eine magnetische Platte (300) angeordnet, welche die Vielzahl der elektrochemischen Zellen (1) in ein erstes Zellenmodul (210a) mit einer ersten Anzahl von Zellen (1) und ein zweites Zellenmodul (210b) mit einer zweiten Anzahl von Zellen (1) aufteilt.

Bauteil für einen Abgasstrang eines Brennstoffzellensystems

NºPublicación:  DE102024209392A1 02/04/2026
Solicitante: 
CONTITECH TECHNO CHEMIE GMBH [DE]
ContiTech Techno-Chemie GmbH

Resumen de: DE102024209392A1

Die Erfindung betrifft ein Bauteil (1) für einen Abgasstrang eines Brennstoffzellensystems (2) mit einer Kavität (10), durch die ein Abgasstrom (S) des Brennstoffzellensystems von einer Einlassöffnung (11) zu einer Auslassöffnung (12) strömen kann, und einem die Kavität (10) zumindest teilweise begrenzenden Gehäuse (13). Es wird vorgeschlagen, dass das Gehäuse (13) mindestens eine innere geschäumte Kunststoffschicht (13a) und eine äußere kompakte Kunststoffschicht (13b) aufweist.

複合酸化物粉末及びその製造方法、空気極材料ならびに固体酸化物型燃料電池

NºPublicación:  JP2026056732A 02/04/2026
Solicitante: 
DOWAエレクトロニクス株式会社
JP_2026056732_A

Resumen de: JP2026056732A

【課題】空気極の開気孔率を高く維持しながら導電率の低下を抑制可能な空気極材料用の複合酸化物粉末を提供する。【解決手段】複合酸化物粉末は、ペロブスカイト型構造を有する複合酸化物粉末であって、前記複合酸化物粉末の組成式がLaxSr1-xMnO3(式中、xは0.6~0.9)であり、平均アスペクト比が2.0以上である。【選択図】図1

ELECTRODE FOR FUEL CELL WITH PREVENTED IONOMER POISONING OF CATALYST AND REDUCED ELUTION AND METHOD OF MANUFACTURING SAME

NºPublicación:  US20260094845A1 02/04/2026
Solicitante: 
HYUNDAI MOTOR COMPANY [KR]
KIA CORP [KR]
Hyundai Motor Company,
Kia Corporation
US_20260094845_A1

Resumen de: US20260094845A1

An electrode for a fuel cell comprises an electrode binder and an electrode catalyst dispersed therein. The electrode catalyst includes a catalyst complex with a catalytic metal supported on a support and a porous polymer coating layer. The porous polymer enhances performance by forming a core-shell structure on the catalytic metal surface. A method of manufacturing the electrode includes involving preparation of the catalyst complex, coating the catalytic metal with the porous polymer to form an electrode catalyst, combining the catalyst with an electrode binder to prepare a slurry, and applying the slurry onto a substrate. The porous polymer is optionally a polymer of intrinsic microporosity (PIM) or a copolymer, with molecular weight, composition, and thickness optimized for conductivity and performance. The electrode is suitable for use in a membrane-electrode assembly for fuel cells.

PHOSPHATE-RESISTANT CATALYST MATERIAL HAVING OPTIMUM SURFACE MODIFICATION AND METHOD OF MITIGATING PHOSPHATE POISONING IN A FUEL CELL

NºPublicación:  US20260094847A1 02/04/2026
Solicitante: 
TOYOTA MOTOR ENGINEERING & MFG NORTH AMERICA INC [US]
TOYOTA JIDOSHA KK [JP]
Toyota Motor Engineering & Manufacturing North America, Inc,
Toyota Jidosha Kabushiki Kaisha
US_20260094847_A1

Resumen de: US20260094847A1

Disclosed is a surface-modified catalyst material comprising platinum-containing nanoparticles on a carbon support; and a phosphate-resistant surface-modifying additive comprising poly (melamine-co-formaldehyde) (PMF); formed on a surface of the platinum-containing nanoparticles to form surface-modified catalyst nanoparticles. The surface-modifying additive covers between 10 and 40% of the surface of the surface-modified catalyst nanoparticles. Proton exchange membrane fuel cells and methods of mitigating phosphate poisoning are also disclosed.

PEM FUEL CELL STACK

NºPublicación:  US20260094850A1 02/04/2026
Solicitante: 
KINGSBERRY FUEL CELL POWER INC [US]
KINGSBERRY FUEL CELL POWER, INC
US_20260094850_A1

Resumen de: US20260094850A1

A fuel cell stack comprises two of an interface plate, two or more of an air plate, two or more of a reaction cell, at least one of a fuel-air bipolar plate, and at least one of a fuel-coolant bipolar plate defining a cooling surface. The two of an interface plate, the two or more of an air plate, the two or more of a reaction cell, the at least one of a fuel-air bipolar plate, and the at least one of a fuel-coolant bipolar plate are arranged to provide a reaction cell to cooling surface ratio within the fuel cell stack of from 1:1 to 10:1.

POROUS CARBON SHEET, FUEL CELL, LIQUID ELECTROLYSIS DEVICE, REDOX FLOW BATTERY, MOVING BODY, AND METHOD FOR PRODUCING POROUS CARBON SHEET

NºPublicación:  WO2026070236A1 02/04/2026
Solicitante: 
TORAY IND INC [JP]
\u6771\u30EC\u682A\u5F0F\u4F1A\u793E
WO_2026070236_A1

Resumen de: WO2026070236A1

The present invention addresses the problem of providing a porous carbon sheet which achieves both strength and electrical conductivity. The present invention provides a porous carbon sheet which contains carbon fibers and a carbonized resin. The porous carbon sheet contains carbon fibers of which the Raman peak intensity ratio (R value) at the surface is 5 to 30 times the R value at the surface of the carbonized resin. Here, the Raman peak intensity ratio (R value) refers to the peak intensity ratio of the D band to the G band measured by laser Raman spectrophotometry.

FUEL CELL STACK

NºPublicación:  US20260094849A1 02/04/2026
Solicitante: 
TOYOTA BOSHOKU KK [JP]
TOYOTA BOSHOKU KABUSHIKI KAISHA
US_20260094849_A1

Resumen de: US20260094849A1

A fuel cell stack includes multiple stacked single cells. Each single cell includes a power generation portion, a first separator, and a second separator. Each single cell includes a cooling medium supplying hole at an end portion on one side in a first direction and a cooling medium discharging hole at an end portion on the other side in the first direction. The first separator includes grooves and ridges that form multiple meandering first passages. The second separator includes grooves and ridges that form multiple meandering second passages. Reversing sections of the first passages and reversing sections of the second passages extend to be inclined with respect to a second direction. The reversing sections of the first passages and the reversing sections of the second passages overlap with each other so as to intersect with each other between the cooling medium supplying hole and the cooling medium discharging hole.

CARBON MATERIAL FOR CATALYST CARRIER OF POLYMER ELECTROLYTE FUEL CELL, CATALYST LAYER FOR POLYMER ELECTROLYTE FUEL CELL, AND FUEL CELL

NºPublicación:  WO2026071176A1 02/04/2026
Solicitante: 
NIPPON STEEL CHEMICAL & MAT CO LTD [JP]
\u65E5\u9244\u30B1\u30DF\u30AB\u30EB\uFF06\u30DE\u30C6\u30EA\u30A2\u30EB\u682A\u5F0F\u4F1A\u793E
WO_2026071176_A1

Resumen de: WO2026071176A1

Disclosed is a carbon material for a catalyst carrier of a polymer electrolyte fuel cell, the carbon material being composed of porous activated carbon black that satisfies requirements (A) to (C). (A) The volume of pores having a pore diameter of 2 nm to 6 nm inclusive is 0.1 mL/g to 0.7 mL/g inclusive. (B) The ratio (OSA/SBET) of the outside specific surface area OSA to the BET specific surface area SBET is 0.1 to 0.5 inclusive. (C) Lc (002) obtained from the line width of the (002) diffraction line is 1.6 nm to 4.0 nm inclusive.

MEMBRANE ELECTRODE ASSEMBLY, METHODS FOR ROBOTIC ASSEMBLY THEREOF, AND APPLICATIONS FOR EVALUATING ELECTROCATALYST ACTIVITY AND DURABILITY

NºPublicación:  WO2026073210A1 02/04/2026
Solicitante: 
FLAGSHIP PIONEERING INNOVATIONS VII LLC [US]
WO_2026073210_A1

Resumen de: WO2026073210A1

A membrane electrode assembly (MEA) instrument adapted for robotic assembly may include a main body and an MEA cell. The MEA cell may include a baseplate and a retention plate. The baseplate and the retention plate may be removably coupled to secure, therebetween, an MEA sample including a working electrode and an electrolyte serving as an ion exchange membrane. A sealing member providing a fluidic seal around the MEA sample may be further secured between the baseplate coupled with the retention plate. Upon being coupled with the main body, a first force acting against the main body may be applied against the sealing member. Furthermore, a second force acting against the counter electrode and/or the MEA cell may be applied to compress the counter electrode against the MEA cell. The MEA sample may undergo one or more experiments to evaluate the combination of electrocatalysts and electrolyte contained therein.

POLYMER DISPERSION, ELECTRODE CATALYST COMPOSITION, ELECTRODE CATALYST LAYER, ELECTROLYTE MEMBRANE WITH ELECTRODE CATALYST LAYER, MEMBRANE ELECTRODE ASSEMBLY, SOLID POLYMER ELECTROLYTE FUEL CELL, AND SOLID POLYMER ELECTROLYTE WATER ELECTROLYSIS DEVICE

NºPublicación:  WO2026070864A1 02/04/2026
Solicitante: 
TOSOH CORP [JP]
\u6771\u30BD\u30FC\u682A\u5F0F\u4F1A\u793E
WO_2026070864_A1

Resumen de: WO2026070864A1

This polymer dispersion contains: a polymer having a structure represented by formula (1); a water-soluble organic solvent; and water. In formula (1), A1 is a constitutional unit represented by formula (a1), A2 is a constitutional unit represented by formula (a2), L1 and L7 are each independently a single bond or the like, n is an integer of 10-100, and * is a bond. In formula (a1), IExG represents an ion-exchange group, L3 represents a single bond or the like, x is an integer of 2-10, and * represents a bond. In formula (a2), Ar represents an arylene group having no ion-exchange group, L4 represents a single bond or the like, y is an integer of 3-20, and * represents a bond.

ELECTROLYSER SYSTEM

NºPublicación:  WO2026068952A1 02/04/2026
Solicitante: 
CERES POWER LTD [GB]
WO_2026068952_A1

Resumen de: WO2026068952A1

An electrochemical cell system comprising an enclosure, a plurality of stacks of electrochemical cell units contained within the enclosure, and a manifold configured to supply fluid to and/or exhaust fluid from the plurality of stacks. The manifold is configured to be supported by and fixed to a first location at a first end of the enclosure. The manifold is further configured to be supported by, and articulated relative to, the enclosure at a second location within the enclosure, distal from the first end of the enclosure.

Ansteuern eines Kompressors eines Brennstoffzellensystems sowie Fahrzeug

NºPublicación:  DE102024128502A1 02/04/2026
Solicitante: 
BAYERISCHE MOTOREN WERKE AG [DE]
Bayerische Motoren Werke Aktiengesellschaft

Resumen de: DE102024128502A1

Die Erfindung betrifft ein Verfahren zum Ansteuern, insbesondere Einregeln, eines durch einen Kompressormotor (M) angetriebenen Kompressors (K) eines Brennstoffzellensystems (BZS), bei dem mittels einer Luftmassenstromregelung (Rm) aus einer Regelabweichung für einen von dem Brennstoffstellenstapel benötigten Luftmassenstrom ein drehmomentbildender Strom (iq) als Stellgröße berechnet wird, die Stellgröße durch einen unteren Grenzwert (iq,min*) begrenzt wird, der begrenzte Strom (iq,lim*) als Sollwert einer Stromregelung (Riq, VEK) vorgegeben wird, welche daraus Ansteuersignale für den Kompressormotor (M) erzeugt, wobei der untere Grenzwert (iq,min*) als Stellgröße einer Druckverhältnisregelung (Rp) berechnet wird, die als Eingangsgröße eine Regelabweichung für einen an dem Kompressor (K) zum Vermeiden eines Überschreitens einer Pumpgrenze (PUMP) maximal erlaubten Druckverhältnisses (RatPmax*) erhält. Die Erfindung betrifft ferner ein Computerprogrammprodukt, aufweisend Code, der, wenn er auf einer Datenverarbeitungseinrichtung durchgeführt wird, das Verfahren durchführt, ein Brennstoffzellensystem eines Fahrzeugs, das dazu eingerichtet ist, das Verfahren durchzuführen, und ein Fahrzeug mit einem solchen Brennstoffzellensystem.

FUEL CELL SYSTEM AND METHOD FOR OPERATING FUEL CELL SYSTEM

NºPublicación:  WO2026070889A1 02/04/2026
Solicitante: 
PANASONIC INTELLECTUAL PROPERTY MAN CO LTD [JP]
\u30D1\u30CA\u30BD\u30CB\u30C3\u30AF\uFF29\uFF30\u30DE\u30CD\u30B8\u30E1\u30F3\u30C8\u682A\u5F0F\u4F1A\u793E
WO_2026070889_A1

Resumen de: WO2026070889A1

A fuel cell system (100) according to the present disclosure comprises: a plurality of fuel cell units (10); and an operation control device (20) that controls power generated by the plurality of fuel cell units (10) on the basis of an operation plan. Each of the plurality of fuel cell units (10) is provided with a control unit (11) that controls the operation of the fuel cell unit (10). The control unit (11) operates the fuel cell unit (10) in a low power mode during test operation of the fuel cell unit (10). The generated power of the fuel cell unit (10) in the low power mode is smaller than the minimum generated power during normal operation of the fuel cell unit (10).

POLYMER, ELECTROLYTE MATERIAL, ELECTROLYTE MEMBRANE, ELECTROLYTE MEMBRANE EQUIPPED WITH CATALYST LAYER, MEMBRANE ELECTRODE ASSEMBLY, SOLID POLYMER FUEL CELL, AND SOLID POLYMER ELECTROLYSIS DEVICE

NºPublicación:  WO2026070871A1 02/04/2026
Solicitante: 
TOSOH CORP [JP]
\u6771\u30BD\u30FC\u682A\u5F0F\u4F1A\u793E
WO_2026070871_A1

Resumen de: WO2026070871A1

Provided is a polymer comprising a structural unit A represented by formula (a1) and a structural unit B represented by formula (a2). In formula (a1), IExG represents an ion exchange group, L1 represents a single bond or the like, x represents an integer of 1-10, and * represents a bond. In formula (a2), Ar1 represents an arylene group that does not have an ion exchange group, L2 represents a single bond or the like, y represents an integer of 3-20, and * represents a bond. The number of L2, which are single bonds, is an integer that is not less than 0.5y but is less than 1.0y.

REINFORCED COMPOSITE MEMBRANE FOR HYDROGEN FUEL CELL AND MANUFACTURING METHOD THEREFOR

NºPublicación:  WO2026071310A1 02/04/2026
Solicitante: 
KOREA UNIV OF TECHNOLOGY AND EDUCATION INDUSTRY UNIV COOPERATION FOUNDATION [KR]
\uD55C\uAD6D\uAE30\uC220\uAD50\uC721\uB300\uD559\uAD50 \uC0B0\uD559\uD611\uB825\uB2E8
WO_2026071310_A1

Resumen de: WO2026071310A1

The present invention relates to a reinforced composite membrane for a hydrogen fuel cell and a manufacturing method therefor. One embodiment provides a technique for controlling the thickness of a reinforced composite membrane for a hydrogen fuel cell, manufactured by adjusting the thickness of a PTFE membrane and the coating thickness of an ionomer. The manufacturing method for a reinforced composite film for a hydrogen fuel cell, according to the present invention, comprises the steps of: preparing a polytetrafluoroethylene (PTFE) membrane; coating both sides of the PTFE membrane with an ionomer to form an ionomer-coated layer; and drying the coated PTFE membrane.

POLYMER, ELECTROLYTE MATERIAL, ELECTROLYTE MEMBRANE, ELECTROLYTE MEMBRANE WITH CATALYST LAYER, MEMBRANE ELECTRODE ASSEMBLY, POLYMER ELECTROLYTE FUEL CELL, AND POLYMER ELECTROLYTE WATER ELECTROLYSIS DEVICE

NºPublicación:  WO2026070862A1 02/04/2026
Solicitante: 
TOSOH CORP [JP]
\u6771\u30BD\u30FC\u682A\u5F0F\u4F1A\u793E
WO_2026070862_A1

Resumen de: WO2026070862A1

This polymer which has a structure represented by formula (1). (In formula (1), A1 represents a constituent unit expressed by formula (a1), A2 represents a constituent unit expressed by formula (a2), L1 and L2 each independently represent a single bond or the like, n represents an integer of 10 to 100, and * represents an atomic bond. There are two or more kinds of A1 and/or A2, the difference in x in formula (a1) among a plurality of A1 moieties is 3 or less, and the difference in y in formula (a2) among a plurality of A2 moieties is 5 or less.) (In formula (a1), IExG represents an ion exchange group, L3 represents a single bond or the like, x represents an integer of 2 to 10, and * represents an atomic bond.) (In formula (a2), Ar represents an arylene group having no ion exchange group, L4 represents a single bond or the like, y represents an integer of 3 to 20, and * represents an atomic bond.)

PLATE ASSEMBLY FOR A STACK OF ELECTROCHEMICAL CELLS AND METHOD FOR PRODUCING A PLATE ASSEMBLY

NºPublicación:  WO2026067920A1 02/04/2026
Solicitante: 
SCHAEFFLER TECH AG & CO KG [DE]
WO_2026067920_A1

Resumen de: WO2026067920A1

A plate assembly (1) for electrochemical cells (6) comprises a bipolar plate (3) produced from at least one sheet-metal part (4, 5), and a seal (9) connected to the bipolar plate and in the form of an injection-moulded element, wherein an injection point (11) of the seal (9) is situated in a recess (10) in the sheet-metal part (4, 5) and is completely surrounded by a sealing lip (16) likewise situated within said recess (10).

Verfahren zur Herstellung eines Stacks, Stack sowie Brennstoffzellensystem

NºPublicación:  DE102024209656A1 02/04/2026
Solicitante: 
BOSCH GMBH ROBERT [DE]
Robert Bosch Gesellschaft mit beschr\u00E4nkter Haftung

Resumen de: DE102024209656A1

Die Erfindung betrifft ein Verfahren zur Herstellung eines Stacks (1), der einen zwischen zwei Endplatten (2) angeordneten Zellstapel (3) aus einer Vielzahl elektrochemischer Zellen (4) umfasst. Erfindungsgemäß wird zwischen dem Zellstapel (3) und zumindest einer der beiden Endplatten (2) eine Stromsammelplatte (5) angeordnet, die auf ihrer dem Zellstapel (3) abgewandten Seite ein hülsenförmiges Kontaktelement (6) aufweist, das bei der Montage der Endplatte (2) durch eine Öffnung (7) der Endplatte (2) geführt wird.Die Erfindung betrifft darüber hinaus einen Stack (1) sowie ein Brennstoffzellensystem mit mindestens einem erfindungsgemäßen Stack (1).

ELECTRIC WORK MACHINE

NºPublicación:  WO2026070670A1 02/04/2026
Solicitante: 
HITACHI CONSTRUCTION MACHINERY CO LTD [JP]
\u65E5\u7ACB\u5EFA\u6A5F\u682A\u5F0F\u4F1A\u793E
WO_2026070670_A1

Resumen de: WO2026070670A1

Provided is an electric work machine comprising: a fuel cell 110; a secondary battery 135 charged by electric power generated by the fuel cell 110; an electric motor 30 driven by electric power supplied from at least one of the fuel cell 110 and the secondary battery 135; a power mode switch 195 for setting a work mode; and a vehicle body controller 45 for controlling an operation state according to the work mode set by the power mode switch 195, the electric work machine being characterized in that the vehicle body controller 45 drives the electric motor 30 by electric power of the secondary battery 135 when the work mode is set to a mode for suppressing electric power consumption by the electric motor 30 during start preparation of the fuel cell 110. This makes it possible to provide an electric work machine comprising a fuel cell and a secondary battery, wherein overdischarging of the secondary battery is suppressed when an electric motor is to be operated by the secondary battery until the fuel cell is started.

ELECTROLYTE MEMBRANE AND METHOD FOR PRODUCING SAME, ELECTROLYTE MEMBRANE WITH CATALYST LAYER, MEMBRANE ELECTRODE ASSEMBLY, SOLID POLYMER FUEL CELL, AND SOLID POLYMER WATER ELECTROLYSIS DEVICE

NºPublicación:  WO2026070870A1 02/04/2026
Solicitante: 
TOSOH CORP [JP]
\u6771\u30BD\u30FC\u682A\u5F0F\u4F1A\u793E
WO_2026070870_A1

Resumen de: WO2026070870A1

This electrolyte membrane includes a crosslinked body of a polymer having a structure represented by formula (1), and the crosslinked body has a crosslinking group directly bonded to an aromatic hydrocarbon ring in a polymer unit. (In formula (1), A1 represents a structural unit represented by formula (a1), A2 represents a structural unit represented by formula (a2), L1 and L2 each represent a single bond or the like, n is an integer of 10-100, and * represents a bond.) (In formula (a1), IExG represents an ion exchange group, L3 represents a single bond or the like, x is an integer of 2-10, and * represents a bond.) (In formula (a2), Ar represents an arylene group having no ion exchange groups, L4 represents a single bond or the like, y is an integer of 3-20, and * represents a bond.)

GRID-INTERACTIVE CRYOGENIC ENERGY STORAGE SYSTEMS WITH WASTE COLD RECOVERY CAPABILITIES

NºPublicación:  EP4718007A2 01/04/2026
Solicitante: 
MICROSOFT TECHNOLOGY LICENSING LLC [US]
Microsoft Technology Licensing, LLC
EP_4718007_PA

Resumen de: EP4718007A2

An energy storage system comprises at least one cryogen storage device that includes a subcooling loop and that is configurable to store a cryogen with or without boil-off losses. The system also comprises a cryoplant configured to interact with a power source and with the subcooling loop of the at least one cryogen storage device. The system also includes a control system configured to control the interaction of the cryoplant with the power source and the at least one cryogen storage device. The control system is configured to control interaction of the cryoplant with the power source and the at least one cryogen storage device according to a plurality of operational modes, including: a cooling mode, a passive storage mode, a fuel cell backup mode, and a liquefaction mode.

SYSTEM AND METHOD TO CONTROL HYDROGEN-TO-OXYGEN RATIO IN AN ANODE SIDE AT TURNDOWN IN ELECTROLYZERS

NºPublicación:  EP4717797A2 01/04/2026
Solicitante: 
NEW HYDROGEN IP LLC [US]
EP_4717797_PA

Resumen de: EP4717797A2

0001 An electrolysis system includes an electrolyzer stack having an anode side that provides an anode-side gas having a hydrogen-to-oxygen (HTO) ratio, an oxygen separator tank fluidically coupled the anode side, and an anode-side dilution system that is changeable between a closed-monitor state and an open-dilution state.

セパレータ、電気化学セル、スタック、電解装置及び燃料電池

NºPublicación:  JP2026056338A 01/04/2026
Solicitante: 
株式会社東芝
JP_2026056338_A

Resumen de: EP1000000A1

The invention relates to an apparatus (1) for manufacturing green bricks from clay for the brick manufacturing industry, comprising a circulating conveyor (3) carrying mould containers combined to mould container parts (4), a reservoir (5) for clay arranged above the mould containers, means for carrying clay out of the reservoir (5) into the mould containers, means (9) for pressing and trimming clay in the mould containers, means (11) for supplying and placing take-off plates for the green bricks (13) and means for discharging green bricks released from the mould containers, characterized in that the apparatus further comprises means (22) for moving the mould container parts (4) filled with green bricks such that a protruding edge is formed on at least one side of the green bricks.

セパレータ、電気化学セル、スタック及び装置

NºPublicación:  JP2026056339A 01/04/2026
Solicitante: 
株式会社東芝
JP_2026056339_A

Resumen de: EP1000000A1

The invention relates to an apparatus (1) for manufacturing green bricks from clay for the brick manufacturing industry, comprising a circulating conveyor (3) carrying mould containers combined to mould container parts (4), a reservoir (5) for clay arranged above the mould containers, means for carrying clay out of the reservoir (5) into the mould containers, means (9) for pressing and trimming clay in the mould containers, means (11) for supplying and placing take-off plates for the green bricks (13) and means for discharging green bricks released from the mould containers, characterized in that the apparatus further comprises means (22) for moving the mould container parts (4) filled with green bricks such that a protruding edge is formed on at least one side of the green bricks.

電極、膜電極接合体、電気化学セル、スタック、電解装置

NºPublicación:  JP2026056430A 01/04/2026
Solicitante: 
株式会社東芝
JP_2026056430_A

Resumen de: EP1000000A1

The invention relates to an apparatus (1) for manufacturing green bricks from clay for the brick manufacturing industry, comprising a circulating conveyor (3) carrying mould containers combined to mould container parts (4), a reservoir (5) for clay arranged above the mould containers, means for carrying clay out of the reservoir (5) into the mould containers, means (9) for pressing and trimming clay in the mould containers, means (11) for supplying and placing take-off plates for the green bricks (13) and means for discharging green bricks released from the mould containers, characterized in that the apparatus further comprises means (22) for moving the mould container parts (4) filled with green bricks such that a protruding edge is formed on at least one side of the green bricks.

セパレータ、電気化学セル、スタック及び装置

NºPublicación:  JP2026056340A 01/04/2026
Solicitante: 
株式会社東芝
JP_2026056340_A

Resumen de: EP1000000A1

The invention relates to an apparatus (1) for manufacturing green bricks from clay for the brick manufacturing industry, comprising a circulating conveyor (3) carrying mould containers combined to mould container parts (4), a reservoir (5) for clay arranged above the mould containers, means for carrying clay out of the reservoir (5) into the mould containers, means (9) for pressing and trimming clay in the mould containers, means (11) for supplying and placing take-off plates for the green bricks (13) and means for discharging green bricks released from the mould containers, characterized in that the apparatus further comprises means (22) for moving the mould container parts (4) filled with green bricks such that a protruding edge is formed on at least one side of the green bricks.

セパレータ、電気化学セル、スタック及び装置

NºPublicación:  JP2026056337A 01/04/2026
Solicitante: 
株式会社東芝
JP_2026056337_A

Resumen de: US20260081191A1

A separator according to an embodiment includes a flow channel comprising one or more flow-channel grooves provided between flow-channel walls. One or more protrusions are provided on the flow-channel walls.

AMMONIA DECOMPOSITION REACTOR, HYDROGEN PRODUCTION APPARATUS AND METHOD FOR PRODUCING HYDROGEN USING THE SAME

NºPublicación:  EP4717665A1 01/04/2026
Solicitante: 
SK INNOVATION CO LTD [KR]
SK Innovation Co., Ltd
EP_4717665_PA

Resumen de: EP4717665A1

An ammonia decomposition reactor, a hydrogen production apparatus and a method for producing hydrogen are provided. The ammonia decomposition reactor includes a first chamber and a second chamber, wherein the first chamber is configured to operate at an operating temperature of 410°C or less, the first chamber includes at least one selected from the group consisting of carbon steel, low alloy steel, stainless steel, and a nickel-based alloy, and the second chamber includes a nickel-based alloy (NT) satisfying Equation 1 below. T≤15μm, in Equation 1, T represents the maximum nitrided depth when the nickel-based alloy (NT) is prepared as a cylindrical specimen having a diameter of 2 mm and a height of 200 mm, and the cylindrical specimen is exposed to a gas stream comprising 97.2% by volume NH3, 2.1% by volume H2, and 0.7% by volume N2 in a temperature environment of 500°C for 100 hours.

ELECTRODE CATALYST, CATHODE, AND ELECTROCHEMICAL CELL

NºPublicación:  EP4717353A1 01/04/2026
Solicitante: 
LG CHEMICAL LTD [KR]
LG Chem, Ltd
EP_4717353_A1

Resumen de: EP4717353A1

The present invention relates to an electrode catalyst including carbon black, and more particularly, to an electrode catalyst having sufficient pores in the electrode catalyst by adjusting the specific surface area and content of the carbon black, and having improved hydrophobicity, and a cathode and an electrochemical cell including the same.

燃料合成システム

NºPublicación:  JP2026056236A 01/04/2026
Solicitante: 
AGC株式会社
JP_2026056236_A

Resumen de: JP2026056236A

【課題】本発明では、システム構成を簡略化できるととともに、システム効率をより高めることが可能な燃料合成システムを提供する。【解決手段】排ガスを利用して燃料を生成する燃料合成システムであって、排ガスに含まれる酸素を除去する酸素除去装置と、前記酸素除去装置の下流に配置され、前記排ガス中の二酸化炭素および水を共電解し、一酸化炭素および水素を生成するSOECと、を有する、燃料合成システム。【選択図】図1

Electrochemical fuel conversion system

NºPublicación:  GB2644315A 01/04/2026
Solicitante: 
CERES POWER LTD [GB]
Ceres Power Limited
GB_2644315_PA

Resumen de: GB2644315A

A method of operating an electrochemical fuel conversion system which comprises a plurality of cells arranged in groups and a plurality of switches which are for selectively engaging and disengaging respective cells or groups of cells with a circuit by repetitively and sequentially increasing and then decreasing a number of cells or groups of cells in an oscillatory pattern. The method can be used to engage a first number of cells in series in the circuit when the current is below a first threshold value and engage a larger number of cells in series when the current is above this threshold value. The method can be used in an electrolyser with an AC power supply or in a fuel cell to provide an AC power supply. A duty cycle and/or a pulse-width modulation cycle of a cell or a group of cells can be modified based on their health characteristics. Also a system and controller for performing the method.

FUEL CELL THERMAL MANAGEMENT CONTROL SYSTEMS AND METHODS

NºPublicación:  EP4716796A2 01/04/2026
Solicitante: 
HYROAD NETWORKS LLC [US]
Hyroad Networks LLC
WO_2024242963_PA

Resumen de: WO2024242963A2

The present disclosure provides a method of managing thermal loads in a fuel cell electric vehicle. The method may include measuring a coolant temperature at an outlet of a fuel cell radiator, calculating a fuel cell coolant flow value, calculating a fuel cell heat generation value, calculating a feedback portion of a fuel cell radiator fan speed command using the coolant temperature at the outlet of the fuel cell radiator, calculating a feedforward portion of the fuel cell radiator fan speed command using an ambient temperature, the fuel cell coolant flow value, and the fuel cell heat generation value calculating the fuel cell radiator fan speed command using the feedforward portion and the feedback portion, and controlling a fuel cell radiator fan speed using the fuel cell radiator fan speed command.

A METHOD FOR CONTROLLING OPERATION OF A FUEL CELL SYSTEM OF A VEHICLE

NºPublicación:  EP4716642A1 01/04/2026
Solicitante: 
VOLVO TRUCK CORP [SE]
VOLVO TRUCK CORPORATION
WO_2024240335_PA

Resumen de: WO2024240335A1

The present invention relates to a computer system (400) and a method for controlling an operation of a fuel cell system (110) of a vehicle (100). The method comprises: − estimating a power level profile of the fuel cell system (110), the power level profile corresponding to a requested power that is expected to be provided by the fuel cell system (110) for the vehicle (100) to travel from a first location to a second location, − estimating a power threshold level of the fuel cell system (110), the power threshold level corresponding to a power level that the fuel cell system (110) needs to provide to avoid freezing of the fuel cell system (110), − determining a risk level of freezing of the fuel cell system (110) by comparing the estimated power level profile with the estimated power threshold level, and − in response to identifying that the determined risk level exceeds a threshold risk level, initiating a freeze prevention action.

FUEL CELL STACK

NºPublicación:  EP4716966A1 01/04/2026
Solicitante: 
BOSCH GMBH ROBERT [DE]
Robert Bosch GmbH
CN_121569380_PA

Resumen de: WO2024240893A1

The invention relates to a fuel cell stack (1), comprising a plurality of fuel cells (2) in a stacked arrangement, which are arranged between two end plates (3, 4) and are braced to one another by means of a U-shaped tensioning band (5) placed around the fuel cell stack (1), wherein at least one end of the tensioning band (5) is fastened by means of a bolt arrangement (6) to a further plate (7) which is arranged at a distance (a) from one end plate (3, 4), preferably from the lower end plate (3). According to the invention, the bolt arrangement (6) has a bolt (8) which is received at least in some sections in the further plate (7) and has a longitudinal axis (AB) which is at an angle (α) < 90° to the further plate (7).

POLYMERIZABLE COMPOSITION, ION EXCHANGE RESIN, ION EXCHANGE MEMBRANE, MEMBRANE ELECTRODE ASSEMBLY, AND HYDROGEN PRODUCTION DEVICE

NºPublicación:  EP4717716A1 01/04/2026
Solicitante: 
TOKUYAMA CORP [JP]
TOKUYAMA CORPORATION
EP_4717716_PA

Resumen de: EP4717716A1

Provided are: a polymerizable composition containing a quaternary ammonium salt represented by formula (I), a polymerizable monomer, a linear or branched C1-4 alkylene glycol, and at least one hydroxyl group-containing compound selected from the group consisting of a C4-15 primary alcohol, a C4-15 secondary alcohol, and a C5-15 diol which has a hydroxy group bonded to a secondary carbon atom; an ion exchange resin; an ion exchange membrane; a membrane electrode assembly; and a hydrogen production device.

METHOD AND SYSTEM FOR PREDICTING A STATE OF HEALTH OF A BATTERY

NºPublicación:  EP4716856A1 01/04/2026
Solicitante: 
CMBLU ENERGY AG [DE]
CMBlu Energy AG
KR_20260015243_PA

Resumen de: WO2024240873A1

There is described a method for predicting a state of health, SOH, of a redox flow battery, the method comprising: receiving battery data of the redox flow battery; and performing, using a machine learning agent, an analysis of the battery data to predict the SOH of the redox flow battery.

METHOD, DEVICE AND SYSTEM FOR MONITORING AN ELECTROCHEMICAL SYSTEM

NºPublicación:  EP4718091A1 01/04/2026
Solicitante: 
ZENTRUM FUER SONNENENERGIE UND WASSERSTOFF FORSCHUNG BADEN WUERTTEMBERG GEMEINNUETZIGE STIFTUNG [DE]
Zentrum f\u00FCr Sonnenenergie- und Wasserstoff-Forschung Baden-W\u00FCrttemberg Gemeinn\u00FCtzige Stiftung
EP_4718091_PA

Resumen de: EP4718091A1

Nach einem Aspekt der Erfindung wird ein Überwachungsmodell zur Überwachung einer elektrochemischen Anlage, insbesondere einer Brennstoffzelle, bereitgestellt. Das Verfahren umfasst ein Erfassen von Betriebsdaten der elektrochemischen Anlage als Trainingsdaten. Das Verfahren umfasst ein Trainieren eines ersten neuronalen Prädiktors basierend auf den Trainingsdaten zum Vorhersagen einer Zellspannung. Der erste neuronale Prädiktor repräsentiert einen stationären Betrieb der elektrochemischen Anlage. Das Verfahren umfasst ein Trainieren eines zweiten neuronale Prädiktors basierend auf den Trainingsdaten zum Vorhersagen eines Alterungseinflusses auf die Zellspannung der elektrochemischen Anlage. Der erste neuronale Prädiktor und/oder der zweite neuronale Prädiktor werden ausgehend von einem jeweiligen Basismodell trainiert. Der erste neuronale Prädiktor und/oder der zweite neuronale Prädiktor sind jeweils eingerichtet, einen Ausgangswert zu erzeugen. Das Verfahren umfasst ferner ein Bereitstellen des Überwachungsmodells, das den ersten neuronale Prädiktor, den zweiten neuronale Prädiktor und eine Verknüpfung derer Ausgangswerte umfasst.

燃料電池セル

NºPublicación:  JP2026056065A 01/04/2026
Solicitante: 
トヨタ自動車株式会社
JP_2026056065_A

Resumen de: JP2026056065A

【課題】効率よく電解質膜の劣化を抑制することができる燃料電池セルを提供する。【解決手段】流路を有するセパレータと、電解質膜と、を備える燃料電池セルであって、セパレータの水素出口近傍の流路の表面にセリウムが被覆されている。【選択図】図2

热管理系统及车辆

NºPublicación:  CN224067665U 31/03/2026
Solicitante: 
未势能源科技河北有限公司
CN_224067665_U

Resumen de: CN224067665U

本实用新型提供了一种热管理系统及车辆,涉及车辆热管理技术领域,且热管理系统包括燃料电池冷却液循环回路,以及内部设有换热装置的储气瓶,其中,燃料电池冷却液循环回路包括冷却液循环管路,以及通过冷却液循环管路连接的循环泵、燃料电池堆和散热器,沿燃料电池冷却液循环回路中冷却液的流向,散热器的下游与换热装置的进口连接,散热器的上游与换热装置的出口连接。本实用新型所述的热管理系统,能够对储气瓶内的气体进行降温,将气体温度精确控制在安全阈值范围内,从而可避免因温度升高导致的压缩气体压力骤增,能够有效降低气瓶结构损伤、密封失效等风险,并能够提升系统的运行可靠性,进而可保证车辆的安全性能。

一种燃料电池包组装结构及电堆

NºPublicación:  CN224067663U 31/03/2026
Solicitante: 
浙江锋源氢能科技有限公司锋源氢能(广州)有限公司
CN_224067663_U

Resumen de: CN224067663U

本实用新型涉及一种燃料电池包组装结构及电堆,包括:第一膜电极、第一密封件、第一过渡层、第一双极板、外密封件和若干半电池单元体,外密封件粘结在第一双极板的外侧面上,第一过渡层粘结在第一密封件与第一双极板相对的端面上,并且第一双极板粘结在第一过渡层上,第一密封件的另一端面连接第一膜电极,若干半电池单元体叠加在一起,第一膜电极与若干半电池单元体构成的整体连接构成电池包。本实用新型所的目的在于为了提高双极板和膜电极组装效率及密封性能,提高燃料电池的稳定性和使用寿命增加产品竞争力;同时提出了与锂电一样的电池包概念致力于制作更为稳定的燃料电池组以及更为快速便捷的对受损电池组进行更换的结构。

一种低温环境下的氢氧燃料电池控制方法以及氢氧燃料电池系统

NºPublicación:  CN121769149A 31/03/2026
Solicitante: 
苏州溯驭技术有限公司
CN_121769149_PA

Resumen de: CN121769149A

本发明提供了一种低温环境下的氢氧燃料电池控制方法以及氢氧燃料电池系统,能够实现氢氧燃料电池在低温环境下稳定高效运行,低温预热阶段:检测电堆温度与各个阀体温度;若温度小于等于T1,启动辅助加热模块对电堆和/或阀体进行加热;否则进入电堆启动阶段:判断电堆温度是否低于T2;若是,则启动电堆加热器与电堆风扇配合加热电堆,直至电堆温度高于T5后停止;在电堆温度不低于T2时,开启进氢阀、排气阀与排水阀,并启动鼓风机与空气泵;经过时间N1后,系统进入闭环调节控制运行;持续检测阀体温度,若阀体温度低于T6,则开启辅助加热模块进行加热;当检测到系统的锂电池电压高于第二预设电压阈值V2时,系统停机扫吹。

一种含有尾气处理装置的氨氢燃料电池系统及其控制方法

NºPublicación:  CN121769155A 31/03/2026
Solicitante: 
福大紫金氢能科技股份有限公司福州大学
CN_121769155_PA

Resumen de: CN121769155A

本发明公开一种含有尾气处理装置的氨氢燃料电池系统,包括氨气蒸发柜、氨分解反应装置、第一换热器、吸附装置、燃料电池、第二换热器、尾气监测装置和尾气吸附装置。氨气蒸发柜分为储氨区和储水区,储氨区连接氨分解反应装置,分解气经换热、吸附后进入燃料电池发电。储水区液态水经第一、第二换热器加热后回流,为液氨蒸发供热。尾气依次经第二换热器、尾气监测装置和尾气吸附装置处理,尾气吸附装置分为残氨吸附模块和氮氧化物吸附模块,可实现氨气与氮氧化物的高效分步吸附。尾气监测装置根据气体成分分配吸附路径,实现了尾气中有害成分的智能高效处理,同时通过余热回收提高能量利用率,具有环保、高效、结构紧凑、运行稳定的优点。

极板、燃料电池和车辆

NºPublicación:  CN224067662U 31/03/2026
Solicitante: 
广州汽车集团股份有限公司
CN_224067662_U

Resumen de: CN224067662U

本申请提供极板、燃料电池和车辆。极板包括板体,板体沿长度方向的端部设有气体通道和冷却通道,板体沿厚度方向的相对两侧分别为第一侧和第二侧。第一侧设有反应区和第一分配区。第一分配区设有第一过桥结构和气体分配结构。气体分配结构包括多个直线型的气体分配流道。第一过桥结构连通气体通道和气体分配流道的一端,气体分配流道的另一端连通反应区。第二侧设有冷却区和第二分配区,第二分配区连通冷却通道和冷却区。第二分配区设有冷却分配结构。冷却分配结构包括多个凸点结构,冷却分配结构在第一侧的投影与气体分配结构相邻设置。从而将反应气体快速均匀地直通反应区,以及均匀导入冷却介质至冷却区,降低分配区的流阻,提高流场均一性。

一种适用于空间的双引射全闭式被动氢氧燃料电池系统

NºPublicación:  CN121769143A 31/03/2026
Solicitante: 
西安航天动力研究所
CN_121769143_PA

Resumen de: CN121769143A

本发明涉及一种适用于空间的双引射全闭式被动氢氧燃料电池系统,氢气供气支路将氢气根据设定的压力通入氢氧燃料电池堆阳极入口,氢气引射再循环支路将阳极出口未反应的氢气重新通入阳极入口;氧气供气支路将氧气根据设定的压力通入氢氧燃料电池堆阴极入口,氧气引射再循环支路将阴极出口未反应的氧气重新通入阴极入口;被动热管理子系统包括依次进行热交换的平板热管、第一换热器和辐射散热板;被动水管理子系统包括依次连接的排水阻气膜及排水板、第三单向阀和水储罐;平板热管、排水阻气膜及排水板设置在相邻两个电池单体之间。本发明最大限度的减少系统的复杂程度,提高了空间用燃料电池使用效率、可靠性和寿命。

水下氢燃料电池阴极并联引射氧气循环系统及其控制方法

NºPublicación:  CN121769144A 31/03/2026
Solicitante: 
山东大学
CN_121769144_PA

Resumen de: CN121769144A

本发明属于氢燃料电池技术领域,提供了一种水下氢燃料电池阴极并联引射氧气循环系统及其控制方法,包括减压阀、燃料电池电堆、气液分离器、排气阀以及并联设置在所述减压阀和所述燃料电池电堆之间的第一引射器氧气循环回路和第二引射器氧气循环回路;其中,所述第一引射器氧气循环回路包括第一比例阀、第一引射器和第一开关阀,所述第二引射器氧气循环回路包括第二比例阀、第二引射器和第二开关阀。

氢燃料电池实时控制方法、设备、存储介质及程序产品

NºPublicación:  CN121769150A 31/03/2026
Solicitante: 
许昌许继软件技术有限公司许继电气股份有限公司
CN_121769150_PA

Resumen de: CN121769150A

本发明属于控制技术领域,具体涉及一种氢燃料电池实时控制方法、设备、存储介质及程序产品。本发明根据氢燃料电池的启停计划控制氢燃料电池动作,其中,所述氢燃料电池的启停计划根据负荷计划功率得到:当负荷计划功率低于氢燃料电池的安全发电功率下限,启停计划为关机;当负荷计划功率高于氢燃料电池的安全发电功率下限,启停计划为开机;根据燃料电池启停计划,增加了氢燃料电池的启停控制过程。解决了由于现有的发电系统实时控制方法与调度计划不符,增加了氢燃料电池输出功率的损耗的问题。

Cooling plate for open type fuel cell

NºPublicación:  KR20260043479A 31/03/2026
Solicitante: 
테라릭스주식회사

Resumen de: KR20260043479A

본 발명은 개방형 연료전지용 냉각판에 관한 것으로, 상세하게는 일단에서 연장된 제1 돌출부, 상기 일단의 반대쪽에 위치한 타단에서 연장된 제2 돌출부 및 일정 간격으로 배열된 복수의 냉각핀을 포함하는 냉각판 본체, 제1 돌출부의 일면에 결합되고, 제1 유체 통로를 포함하는 제1 매니폴드 가스켓, 제1 돌출부의 타면에 결합되고, 제1 유체 통로와 마주보는 제2 유체 통로를 포함하는 제2 매니폴드 가스켓, 제2 돌출부의 일면에 결합되고, 제3 유체 통로를 포함하는 제3 매니폴드 가스켓 및 제2 돌출부의 타면에 결합되고, 제3 유체 통로와 마주보는 제4 유체 통로를 포함하는 개방형 연료전지용 냉각판에 관한 것이다.

一种具有高稳定性、高柔性的阴离子交换膜及其制备方法

NºPublicación:  CN121758796A 31/03/2026
Solicitante: 
常州大学中集中电(扬州)制氢设备有限公司扬州大学
CN_121758796_PA

Resumen de: CN121758796A

本发明涉及阴离子交换膜领域,尤其涉及一种具有高稳定性、高柔性的阴离子交换膜及其制备方法,制备方法包括:S1将α,ω‑二苯烷、三苄胺及4‑咪唑甲醛溶于有机溶剂中,在超强酸催化下通过一锅法缩聚反应,纯化处理后制得支化型聚合物;S2对纯化后的支化型聚合物进行季铵化处理,得到季铵化聚合物;S3将季铵化聚合物溶解于成膜溶剂中,浇铸成膜;S4对所得膜进行离子置换,得到氢氧根型阴离子交换膜。解决阴离子交换膜稳定性差、柔性不足等缺陷,从分子水平设计,综合支化结构构建、柔性链段引入和“Cardo”结构缺失等技术,从源头上消除不稳定因素,制备刚柔并济的阴离子交换膜。

一种集成化氢氧储能供能系统

NºPublicación:  CN121769154A 31/03/2026
Solicitante: 
广州骥翀氢能科技有限公司
CN_121769154_PA

Resumen de: CN121769154A

本发明涉及一种集成化氢氧储能供能系统,属于氢能源技术领域。系统包括电解制氢单元,用于电解水制取氢气和氧气;氢气管理子系统与氧气管理子系统,分别连接电解槽的氢气出口和氧气出口,用于对生成的氢气和氧气进行纯化与储存;燃料电池发电单元,其氢气进气口和氧气进气口分别连接两个子系统的供应端,用于消耗储存的氢气和氧气进行发电;且燃料电池产生的电能可回馈至电解制氢单元;电流转换装置,连接在燃料电池发电单元的电力输出端与电解制氢单元的供电输入端之间。本发明通过构建氢氧独立储存与供给的结构,使系统摆脱对外部空气的依赖,并利用内部电能回馈实现了能量调配,适用于高原、高空、长途运输等特殊环境的稳定供能。

Cooling plate for closed type fuel cell

NºPublicación:  KR20260043481A 31/03/2026
Solicitante: 
테라릭스주식회사

Resumen de: KR20260043481A

본 발명은 폐쇄형 연료전지용 냉각판에 관한 것으로, 일단에서 연장된 제1 돌출부, 일단의 반대쪽에 위치한 타단에서 연장된 제2 돌출부 및 일정 간격으로 배열된 복수의 냉각핀을 포함하는 냉각판 본체, 제1 돌출부의 일면에 결합되고, 제1 유체 통로 및 제1 유체 통로와 이격된 제2 유체 통로를 포함하는 제1 매니폴드 가스켓, 제1 돌출부의 타면에 결합되고, 제1 유체 통로와 마주보는 제3 유체 통로 및 제2 유체 통로와 마주보는 제4 유체 통로를 포함하는 제2 매니폴드 가스켓, 제2 돌출부의 일면에 결합되고, 제5 유체 통로 및 제5 유체 통로와 이격된 제6 유체 통로를 포함하는 제3 매니폴드 가스켓 및 제2 돌출부의 타면에 결합되고, 제5 유체 통로와 마주보는 제7 유체 통로 및 제6 유체 통로와 마주보는 제8 유체 통로를 포함하는 제4 매니폴드 가스켓을 포함하는 폐쇄형 연료전지용 냉각판에 관한 것이다.

A FUEL SUPPLY SYSTEM FOR FUEL CELL AND A FUEL CELL PROPULSION SHIP USING THE SAME

NºPublicación:  KR20260043379A 31/03/2026
Solicitante: 
삼성중공업주식회사

Resumen de: KR20260043379A

본 발명은 선박 내 암모니아 탱크로부터 공급되는 암모니아를 개질하는 개질부, 개질부로부터 개질된 가스를 공급받아 전력을 생산하고, 선박 추진을 위한 전력을 공급하는 연료전지부, 암모니아를 저장하고, 내부에서 발생되는 증발가스를 개질부로 공급하는 압력탱크 및 개질부의 암모니아 개질 과정에서 발생되는 배기가스의 폐열을 압력탱크로 전달하여 압력탱크 내 증발가스 발생량을 증가시키는 제1 폐열라인을 포함하는 연료전지용 연료공급시스템을 제공한다.

燃料电池与空调共用散热系统的控制方法、电池车及介质

NºPublicación:  CN121756812A 31/03/2026
Solicitante: 
佛山市飞驰汽车科技有限公司
CN_121756812_PA

Resumen de: CN121756812A

本发明提供了一种燃料电池与空调共用散热系统的控制方法、电池车及介质,控制方法包括:基于空调压力、蒸发器温度、压缩机转速,得到空调需求占空比;基于水入电堆温度、水出电堆温度确认第一散热系统占空比大小需求、第二散热系统占空比大小需求;选取第一散热系统占空比大小与空调的散热系统进行共用,第二散热系统占空比大小不与空调的散热系统进行共用,对散热系统进行控制;判断空调占空比大小需求是否大于第一散热系统占空比大小需求;若大于,基于燃料发动机水温的下降情况,调整燃料电池发动机水泵的转速、冷却液水路节温器的开度;若小于,基于空调的散热情况,调整空压机的转速,本发明能降低材料成本,节省安装空间和降低整车能耗。

一种使用金属储氢材料的快递车用氢电联动系统

NºPublicación:  CN121756937A 31/03/2026
Solicitante: 
太仓向日葵动力科技有限公司
CN_121756937_PA

Resumen de: CN121756937A

本发明公开了一种使用金属储氢材料的快递车用氢电联动系统,涉及氢能动力技术领域;该系统包括金属固态储氢系统、发电系统和电控系统;发电系统包含氢能燃料电池和连接该燃料电池与固态储氢系统的导风风道;本发明核心在于利用燃料电池运行时产生的废热,通过导风风道主动引导至金属固态储氢系统,为金属储氢材料提供解吸所需的热量,从而实现系统内部能量的高效协同利用。该系统有效解决低温环境下金属储氢释氢困难的问题,提升整体能效和续航里程,同时通过一体式集成阀、轻量化瓶体、分层电控架构等,提高系统的紧凑性、安全性和可靠性,特别适用于快递、外卖等对续航和补能效率要求高的商用车辆。

一种基于单电池电压超高速巡检的燃料电池故障定位诊断方法及系统

NºPublicación:  CN121763125A 31/03/2026
Solicitante: 
燧人消防科技有限公司
CN_121763125_PA

Resumen de: CN121763125A

本发明公开了一种基于单电池电压超高速巡检的燃料电池故障定位诊断方法及系统,本发明通过分布式同步采集架构以不低于5kHz的采样率同步采集燃料电池堆各单电池的电压信号;实时提取电压信号的多维度动态特征;将特征输入至多级人工智能诊断模型进行递进分析,该模型依次执行基于孤立森林的快速异常检测、基于一维卷积神经网络的故障分类识别、以及基于时空图卷积网络的故障精确定位与寿命预测;最终生成包含故障类型、位置及严重程度的诊断报告与分级预警。本发明实现了对燃料电池膜破损、水淹等故障的早期检测、智能识别与精确定位。

一种氢空氢氧双模态临界空间燃料电池系统

NºPublicación:  CN121769145A 31/03/2026
Solicitante: 
沈阳盛科航宇氢能源科技有限责任公司
CN_121769145_PA

Resumen de: CN121769145A

本发明属于氢能动力系统与临近空间航空工程技术领域,更具体的说是一种氢空氢氧双模态临界空间燃料电池系统。一种氢空氢氧双模态临界空间燃料电池系统,包括氢空供给模块、氢氧供给模块、氢燃料电池系统、开放式余热回收装置、导热层、氢气密闭流道换热器、氧气密闭流道换热器及四口式气体接口;所述氢空供给模块包括储氢瓶、氢气入口电磁阀装置及空压机,所述氢氧供给模块包括氧气瓶及氧气输送控制阀,所述氢燃料电池系统包括氢燃料电池电堆、控制系统、氢出空出电磁阀、空压机电调及锂电池;系统具备更高的高空适应性与能量利用效率,从而克服现有技术中高空供氧不足、低温难以维持、电堆效率衰减等问题。

一种燃料电池废旧催化剂浆料回收并再生铂基高熵金属间化合物催化剂的方法

NºPublicación:  CN121769132A 31/03/2026
Solicitante: 
中国石油大学(北京)
CN_121769132_PA

Resumen de: CN121769132A

本发明公开了一种燃料电池废旧催化剂浆料回收并再生铂基高熵金属间化合物催化剂的方法。本发明方法包括如下步骤:S1、从燃料电池废旧催化剂中分离出Pt/C催化剂;S2、将所述Pt/C催化剂分散在溶剂中,加入铁源、钴源、镍源、镓源进行浸渍吸附,去除溶剂得到前驱体粉末;S3、将所述前驱体粉末进行焦耳热闪蒸,得到铂基高熵金属间化合物催化剂。本发明通过多步纯化,将燃料电池废旧催化剂浆料中的商业铂碳催化剂,通过闪蒸焦耳热制备为高熵金属间化合物催化剂,所制备的催化剂具有优异性能的同时降低了铂用量,制备方法绿色环保,同时适合规模化生产。

膜电极热压工艺优化与Nafion用量调控系统及方法

NºPublicación:  CN121756562A 31/03/2026
Solicitante: 
西北工业大学
CN_121756562_PA

Resumen de: CN121756562A

本发明公开了膜电极热压工艺优化与Nafion用量调控系统及方法,涉及氢燃料电池核心部件制备技术领域,本发明先通过工艺参数优化算法和Nafion用量计算模型,基于催化剂特性输出最优热压参数与Nafion用量方案并建立关联映射,再集成相关硬件组件实现热压、分区域涂覆及热压‑封装同步成型,最后通过三类监测组件采集膜电极数据,反馈至智能软件调控模块触发参数自适应调整。本方案解决了传统工艺存在的界面接触不良、传质效率低、水淹频发和寿命短的缺点,实现与高活性超低铂载量催化剂的精准适配,提升膜电极的质子传导效率、气体扩散能力与使用寿命,降低燃料电池电堆综合成本。

一种铁电解耦合藻菌微生物燃料电池及其制备方法和应用、废水处理方法

NºPublicación:  CN121769156A 31/03/2026
Solicitante: 
长沙环境保护职业技术学院
CN_121769156_PA

Resumen de: CN121769156A

本发明提供了一种铁电解耦合藻菌微生物燃料电池及其制备方法和应用、废水处理方法,属于废水处理技术领域。本发明的IE‑MFC包括:顺次设置的阳极室、阴极室和铁电解室,所述阳极室和阴极室之间以质子交换膜分隔,阴极室和铁电解室之间以阳离子交换膜分隔,所述阳极的表面固定厌氧微生物膜;所述阴极的表面固定鞘藻。本发明引入铁电解和藻菌共生系统,通过内部产生的微电场能刺激和强化微生物的代谢活性,藻菌的生物代谢及其电场的协同作用分解磺胺甲噁唑,同时通过铁电解原位产生亚铁离子,与阴极区鞘藻光合作用产生的氧气触发生成强氧化性的羟基自由基,实现对难降解中间产物的矿化,形成了“生物降解‑微电场‑铁电解”三协同的降解机制。

电机总成、燃料电池系统和车辆

NºPublicación:  CN121770229A 31/03/2026
Solicitante: 
蜂巢蔚领动力科技(江苏)有限公司
CN_121770229_PA

Resumen de: CN121770229A

本发明公开了一种电机总成、燃料电池系统和车辆,涉及电机技术领域,电机总成包括:机壳,机壳内设有转子安装腔和定子安装腔,机壳设有与转子安装腔连通的进气口和与定子安装腔连通的出气口;转子结构和定子结构;其中,转子安装腔与定子安装腔之间设有透气孔,转子安装腔适于从进气口引入冷却气流,且冷却气流适于从透气孔处进入到定子安装腔内并从出气口排出,且透气孔处设有防水透气件。本发明实施例的电机总成,通过在转子安装腔与定子安装腔之间设置透气孔,且在透气孔处设置防水透气件,确保冷却气流可从转子安装腔进入定子安装腔,同时可防止进入机壳内部的水体进入定子安装腔,进而可避免电机总成的绝缘性能下降。

一种燃料电池金属双极板

NºPublicación:  CN121769139A 31/03/2026
Solicitante: 
瑞昇液流电池科技(青岛)有限公司
CN_121769139_PA

Resumen de: CN121769139A

本发明属于燃料电池技术领域,具体为一种燃料电池金属双极板,包括阳极板和阴极板,阳极板和阴极板的相对面分别开设有阳极流场和阴极流场,阳极板表面依次开设由小到大的封垫圈槽,阳极板和阴极板的边角位置开设定位孔,阳极流场两端分别开设氢气进口和氢气出口,阳极流场内阵列设置有多个第一菱形板,相邻的第一菱形板之间形成阳极流道,每个第一菱形板沿其对称轴开设有第一弧形槽。本发明通过菱形板与弧形槽结构增强了气体湍流与传质效率,并配合独特的氢气匀流端实现均匀进气,从而有效提升燃料电池的整体性能与工作的稳定性。

气水分离器、燃料电池系统和车辆

NºPublicación:  CN121754963A 31/03/2026
Solicitante: 
蜂巢蔚领动力科技(江苏)有限公司
CN_121754963_PA

Resumen de: CN121754963A

本发明提出了一种气水分离器、燃料电池系统和车辆,涉及车辆制造技术领域,包括:壳体内形成有分离腔,壳体设有与分离腔连通的进流口和出气口;第一分离组件和第二分离组件,第一分离组件和第二分离组件安装于分离腔内,第一分离组件和第二分离组件位于进流口和出气口之间,且第二分离组件位于第一分离组件的上方,第一分离组件包括旋叶式分离件且第二分离组件包括至少一个分离板。本发明实施例的气水分离器,可对分离腔内的介质进行两次分离,提高分离效率的同时还可减小分离腔所需空间,进而可减小气水分离器占用空间,以提高集成度以及轻量化,且旋叶式分离件可对介质进行离心式分离,保证分离效果,进而保证气水分离器的使用可靠性。

散热防护罩及新能源机车

NºPublicación:  CN121769163A 31/03/2026
Solicitante: 
中车大同电力机车有限公司
CN_121769163_PA

Resumen de: CN121769163A

本公开提出一种散热防护罩及新能源机车,散热防护罩包括罩体、通风罩以及通风盖板;罩体呈槽口朝下的槽体结构,且槽体结构的槽腔沿第一方向贯穿;罩体的顶部设置有通风口;通风罩设置于罩体的通风口处,并包括连接部及通风部;连接部呈筒状结构并连接通风口,连接部上端向上伸出通风口;通风部连接于连接部上端的开口的周缘,并与罩体间隔布置而形成第一间隙,通风部为网板结构;通风盖板连接通风罩,通风盖板部分间隔位于通风部上方,而形成连通通风口的第二间隙。

一种液流电池石墨双极板制备方法

NºPublicación:  CN121769136A 31/03/2026
Solicitante: 
中国机械总院集团北京机电研究所有限公司
CN_121769136_PA

Resumen de: CN121769136A

本发明公开了一种液流电池石墨双极板制备方法,属于液流电池技术领域。该方法包括:将石墨粉末与第一树脂混合得到复合粉末;将该复合粉末冷压成形得到石墨双极板预制体;然后将预制体在惰性气氛中进行热处理碳化,形成一个高导电的多孔导电骨架;最后对该多孔导电骨架进行第二树脂的浸渍和固化,得到成品双极板。本发明通过“先碳化成骨,后浸渍强筋”的工艺,将导电性能与力学性能的构建分离开来,解决了传统工艺中二者此消彼长的矛盾,使得制备的双极板同时具备了优异的导电性和高机械强度,且工艺高效,适合批量化生产。

一种液流电池柔性石墨双极板及其制备方法

NºPublicación:  CN121769137A 31/03/2026
Solicitante: 
中国机械总院集团北京机电研究所有限公司
CN_121769137_PA

Resumen de: CN121769137A

本发明涉及燃料电池领域,公开了一种液流电池柔性石墨双极板的制备方法,包括如下步骤:将不同粒径的蠕虫石墨粉在三维混料机中混合,得到混合粉末;将混合粉末置入至带有振动装置的模具中,通过振动模压成型工艺,制得预制胚体,预制胚体中含有孔隙;将预制胚体置入至树脂溶液中,进行浸渍强化,以制得初级板体;对初级板体依次进行清洗、固化和烘干,以制得液流电池柔性石墨双极板,以及一种液流电池柔性石墨双极板。发明实现了双极板基底与脊的密度保持一致,从而提高了柔性石墨双极板的导电与力学性能,同时生产方式简单,产品内与产品之间的密度差异小,产品的成品率高,废板率降低,整体的生产效率提高。

一种整车冷能利用系统及整车冷能利用系统的控制方法

NºPublicación:  CN121756846A 31/03/2026
Solicitante: 
国鸿氢能科技(嘉兴)股份有限公司
CN_121756846_PA

Resumen de: CN121756846A

本发明提出一种整车冷能利用系统及整车冷能利用系统的控制方法,所述系统包括:液体燃料低温储供模块、第一冷能利用模块、第二冷能利用模块、发电模块、第三冷能利用模块、辅助制冷模块和燃料电池模块,液体燃料低温储供模块、第一冷能利用模块、第二冷能利用模块、第三冷能利用模块和燃料电池模块形成单向通路;第一冷能利用模块与发电模块形成第一循环通路;第二冷能利用模块与辅助制冷模块形成第二循环通路;第三冷能利用模块还与所述燃料电池模块形成第三循环通路;本发明解决现有技术冷能利用结构过于复杂或过于简单导致冷能利用率低的问题。本发明实现设计梯级冷能利用结构对冷能进行分级利用,提高整车冷能利用率。

一种V2C纳米片复合电极、制备方法及其应用

NºPublicación:  CN121769127A 31/03/2026
Solicitante: 
张家港德泰储能装备有限公司
CN_121769127_PA

Resumen de: CN121769127A

本发明属于液流电池技术领域,公开一种V2C纳米片复合电极、制备方法及其应用。制备方法包括:将MAX陶瓷粉体用pH=4的温和酸性溶液与NaF刻蚀得V2C材料;经硅烷化偶联剂处理、惰性/还原性气氛冰浴超声及离心,制得V2C‑Si‑NH2纳米片;石墨烯电极浸于该纳米片悬浮液,加酰胺耦合剂水浴反应,得无粘结剂复合电极。该电极通过C‑C(O)NH‑Si‑V2C共价键结合,V2C纳米片缺陷低、分散均匀,兼具高导电与催化性。其可应用于全钒、锌铁等液流电池,能提升电池库伦效率与能量效率,适用于液流电池产业化。

一种基于多能互补的热主导型孤岛综合能源系统及其运行方法

NºPublicación:  CN121769999A 31/03/2026
Solicitante: 
西安交通大学
CN_121769999_PA

Resumen de: CN121769999A

本发明公开了一种基于多能互补的热主导型孤岛综合能源系统及其运行方法,属于综合能源利用技术领域。本系统通过风力发电机和光伏热给孤岛电网供电,利用电解池制氢、储氢罐储氢以供给氢气负荷或通过燃料电池发电。系统创新性地构建了低压低温储热罐和高压储热罐组(高压中温/高压低温),将光伏热、氢电解池及燃料电池的余热回收存入低压低温储热罐。该低温热能经地热井辅助加热后作为热泵热源,热泵制热存入高压中温储热罐。高压中温储热罐的热能既可供给中温热负荷,又可驱动ORC系统发电。本发明实现了风、光、地热及余热的高效梯级利用,通过电力与热力的双向灵活调节,显著提升了孤岛微网的能源自给率和系统稳定性。

一种燃料电池控制策略及质子交换膜燃料电池系统

NºPublicación:  CN121769147A 31/03/2026
Solicitante: 
中国重汽集团济南动力有限公司
CN_121769147_PA

Resumen de: CN121769147A

一种燃料电池控制策略及质子交换膜燃料电池系统,属于燃料电池领域,控制策略包括燃料电池进入怠速状态;进入耗氧放电阶段,调节阳极侧的氢气进气压力;燃料电池连接DC/DC变换器,设置第一放电电流,当电堆单体最低电压小于第一电压阈值后,切断DC/DC变换器并关闭阳极侧的比例阀;进入耗氢放电阶段,调节阴极侧的进气压力,使氧气浓度介于第一浓度阈值和第二浓度阈值;设置第二放电电流,当电堆单体最低电压小于第二电压阈值后,切断DC/DC变换器并关闭空压机和空气进口阀;打开阳极侧的尾排阀,通入空气。先耗氧放电后耗氢放电的分阶段操作,单电池电压下降平缓且一致性好,缓解了阴极催化剂表面的腐蚀,提高了燃料电池的寿命。

一种多级湿度调控的燃料电池燃气轮机混合发电系统

NºPublicación:  CN121769153A 31/03/2026
Solicitante: 
湖南理工学院
CN_121769153_PA

Resumen de: CN121769153A

本发明提供一种多级湿度调控的燃料电池燃气轮机混合发电系统,属于分布式能源技术领域。系统包括多级湿度调控模块,通过逐级调节燃料湿度,确保燃料水碳比持续优化,从而避免SOFC阳极发生局部碳沉积;预重整模块,用于多碳烃类燃料初步裂解,避免复杂碳链物质在SOFC阳极腔室沉积引发电极堵塞问题;内重整固体氧化物燃料电池模块,与预重整模块连接,利用燃料进行发电,其燃料包容度以及能量利用率均高于传统固体氧化物燃料电池;燃气轮机模块,采用低压一体化燃气轮机,利用电池阳极排出的高温尾气进行发电,实现能量二级利用。本发明通过多级湿度调控、预重整以及热能梯级利用,实现混合发电系统效率提升,有效增长SOFC运行寿命,兼具高效性和实用性。

一种基于氢燃料电池的备用电源供电系统

NºPublicación:  CN121769152A 31/03/2026
Solicitante: 
国网福建省电力有限公司电力科学研究院福州大学
CN_121769152_PA

Resumen de: CN121769152A

本发明涉及了一种基于氢燃料电池的备用电源供电系统,包括液氨罐、燃料电池、电加热器、反应器、燃烧器和吸附器。液氨罐与燃料电池直接连通,燃料电池为电加热器供电,电加热器为反应器提供热能。反应器分解产生的气体分别通向吸附器和燃烧器,燃烧器与反应器热联通以回收余热,吸附器净化后的气体送入燃料电池发电。本发明通过回收利用氨分解过程的反应余热,显著提高了系统能量利用率,降低了散热能耗,实现了系统的零碳发电。同时,利用液氨有效控制了燃料电池的工作温度,保障了备用电源的稳定输出功率,减少了对市电或锂电储能的依赖。

一种压合工装和压合方法

NºPublicación:  CN121769141A 31/03/2026
Solicitante: 
上海交通大学上海治臻新能源股份有限公司
CN_121769141_PA

Resumen de: CN121769141A

本发明涉及一种压合工装和压合方法,所述工装用于压合密封件和燃料电池的极板,所述极板上开设有密封槽,密封件通过胶黏剂与密封槽粘接,所述工装包括第一压合板、第二压合板和变形件,所述第一压合板用于与密封件接触,所述第二压合板用于放置极板,所述第一压合板和第二压合板能够相对运动;所述变形件至少设置于一个压合板朝向极板的表面上,所述变形件朝向极板的投影至少覆盖密封件,当第一压合板和第二压合板相互靠近时,所述变形件在变形件与密封件接触时弹性变形,以使变形件的外轮廓与密封件的外轮廓相同。与现有技术相比,本发明中压合板对密封件进行均一压合,有利于提高密封件与极板连接的可靠性,以提高密封件的密封效果。

耐高电位腐蚀导电碳基涂层及其制备方法与应用

NºPublicación:  CN121759880A 31/03/2026
Solicitante: 
中国科学院宁波材料技术与工程研究所
CN_121759880_PA

Resumen de: CN121759880A

本发明涉及表面工程防护技术领域,提出一种耐高电位腐蚀导电碳基涂层及其制备方法与应用,所述耐高电位腐蚀导电碳基涂层包括:通过等离子体辅助气相沉积技术在预设基体的表面形成类石墨非晶碳层;基于所述类石墨非晶碳层形成所述耐高电位腐蚀导电碳基涂层;所述耐高电位腐蚀导电碳基涂层在高电位标准电压下的腐蚀电流密度小于2.1×10‑5A/cm2,腐蚀12h后接触电阻小于7mΩ•cm2。本发明能够有效解决预设基体在高电位下的腐蚀与导电性能矛盾,实现长效防护,为燃料电池在动态工况下的耐久性与效率提升提供了关键材料支撑。

一种生物炭-聚氨酯碳阳极材料及其制备方法以及微生物燃料电池和应用

NºPublicación:  CN121769130A 31/03/2026
Solicitante: 
中南大学
CN_121769130_PA

Resumen de: CN121769130A

本发明公开了一种生物炭‑聚氨酯碳阳极材料及其制备方法以及微生物燃料电池和应用,将生物炭、多元醇、三乙醇胺、水和异氰酸酯加入模具中混合获得混合物,在搅拌下反应至出现白色浮沫,然后静置发泡,待材料固化后进行碳化,即得生物炭‑聚氨酯碳阳极材料,本发明中以碳化后的生物炭‑聚氨酯材料作为MFCs的阳极构建的双室型微生物燃料电池的内阻不超3.00Ω,最高电压稳定超620 mV,最大面积功率密度超800 mW m‑2,本发明的COD去除率达到97.24%。

一种带多层碳基涂层的铝镁硅合金极板及其制备方法

NºPublicación:  CN121769135A 31/03/2026
Solicitante: 
丽水学院
CN_121769135_PA

Resumen de: CN121769135A

本发明涉及合金极板技术领域,尤其涉及一种带多层碳基涂层的铝镁硅合金极板及其制备方法,带多层碳基涂层的铝镁硅合金极板包括铝镁硅合金基材层,铝镁硅合金基材层的表面连接有多层碳基涂层;多层碳基涂层包括依次层叠设置的CrN层、CrNC层、CrC层以及掺杂金属原子和氮原子的非晶碳涂层,且CrN层位于靠近铝镁硅合金基材层的一侧,所述带多层碳基涂层的铝镁硅合金极板的多层碳基涂层与Al‑Mg‑Si合金基材层之间的结合力较强、并且具有较好的导电性能和耐腐蚀性能,解决现有的涂层与Al‑Mg‑Si合金极板之间的结合力、耐腐蚀性与界面导电性能难以同时提升的问题。

一种高稳定全钒液流电池电解液

NºPublicación:  CN121769158A 31/03/2026
Solicitante: 
安徽海螺洁能科技有限公司安徽海螺融华储能科技有限公司
CN_121769158_PA

Resumen de: CN121769158A

本发明涉及全钒液流电池储能技术领域,公开了一种高稳定全钒液流电池电解液,包括支撑电解质;钒离子活性组分;以及稳定添加剂;支撑电解质为硫酸;钒离子活性组分包含V2+、V3+、V4+和V5+中的至少两种;稳定添加剂为与钒离子形成三齿配位络合物的芳香杂环二甲酸化合物。本发明通过引入2,6‑吡啶二甲酸作为稳定添加剂,利用吡啶氮与双羧基构成的三齿配位结构,与五价钒离子(V5+)形成稳定络合物,避免V5+离子的水解生成羟桥,继而通过羟桥缩合脱水形成稳定的氧桥,最终聚合生成V2O5沉淀;提升电解液在40℃以上,尤其是在50℃苛刻条件下的长期化学稳定性,解决了现有电解液高温沉淀导致容量衰减快、流道堵塞的问题。

一种氢电能源涡轮混合推进发动机系统

NºPublicación:  CN121760827A 31/03/2026
Solicitante: 
青岛航空技术研究院
CN_121760827_PA

Resumen de: CN121760827A

本发明涉及一种氢电能源涡轮混合推进发动机系统,涉及发动机技术领域,其将由氢燃料电池驱动的电动机和氢燃料燃气涡轮发动机使用齿轮传动单元并联,齿轮传动单元具有可切换的三种传动模式;推进结构通过第一种传动模式同时与电动机和氢燃料燃气涡轮发动机的动力涡轮建立传动关系;推进结构通过第二种传动模式仅与电动机建立传动关系;推进结构通过第三种传动模式仅与氢燃料燃气涡轮发动机的动力涡轮建立传动关系。本发明可选择性使用氢燃料燃气涡轮发动机和氢燃料电池中的至少一种,以提高发动机系统的响应速度,减少发动机系统的红外特征和噪声。

一种氢气灵活供应的燃料电池系统

NºPublicación:  CN121769142A 31/03/2026
Solicitante: 
中能建氢能源有限公司青启未来(北京)氢能源科技有限公司
CN_121769142_PA

Resumen de: CN121769142A

本申请提供了一种氢气灵活供应的燃料电池系统,包括电堆,设有第一气腔口、第二气腔口、第三气腔口、第四气腔口;气体供应装置包括供氢装置和供氧装置;换向装置分别与供氢装置、第一气腔口和第二气腔口连接,包括第一循环回路和第二循环回路;供氧装置与第三气腔口连接;供氢装置还可与第三气腔口连接,并通过第四气腔口排出,且此时供氧装置与第三气腔口的连通断开。提供了多种不同形式的氢气输入方式,相比于现有的单一氢气输入方式,能够根据不同的工况或启动策略选择匹配的氢气输入方式,进而满足不同的使用需求。

Ammonia ship

NºPublicación:  KR20260042826A 31/03/2026
Solicitante: 
한화오션주식회사

Resumen de: KR20260042826A

증발가스 재액화 시스템을 적용하지 않는 암모니아 선박이 개시된다. 본 발명의 암모니아 선박은, 암모니아 저장탱크; 상기 암모니아 저장탱크에서 발생된 암모니아 증발가스를 공급받아 압축하는 압축기; 상기 압축기를 거쳐 압축된 암모니아 증발가스를 분해하여 수소를 생성하는 크래커; 상기 크래커에 암모니아 분해를 위한 열 에너지를 제공하는 버너; 및 상기 크래커에서 생성된 수소를 공급받아 전기 에너지를 발생시키는 연료전지;를 포함한다.

一种燃料电池氢氧互串预测性诊断方法及系统

NºPublicación:  CN121769151A 31/03/2026
Solicitante: 
燧人消防科技有限公司
CN_121769151_PA

Resumen de: CN121769151A

本发明公开一种燃料电池氢氧互串预测性诊断方法及系统,涉及燃料电池技术领域,该方法步骤包括参数初始化、数据实时监测、故障预测诊断、预警等级分析决策和模型参数反馈学习,其中预测诊断过程中,对实时监测获取的多源数据执行融合处理,基于融合后的数据特征更新氢氧互串故障发生的概率预测结果,定期重新评估电堆剩余使用寿命,以对故障风险与寿命状态进行动态把控;预警等级分析决策根据预测诊断阶段得到的概率预测结果及电堆剩余使用寿命结果确定对应的预警等级,依据预警等级生成维护建议与处理措施。本发明解决现有技术中氢氧互串故障预警时间短、多源数据融合难、故障定位精度低、缺乏预测性维护能力及动态工况下容易误报漏报问题。

一种基于自适应GCN的全钒液流电池泵故障检测方法

NºPublicación:  CN121765562A 31/03/2026
Solicitante: 
武汉理工大学
CN_121765562_PA

Resumen de: CN121765562A

本发明提供了一种基于自适应GCN的全钒液流电池泵故障检测方法,包括以下步骤:在多种运行状态下进行全钒液流电池的运行实验,采集实验过程中的电池电压信号与电解液流量信号并标注对应的电池状态作为训练集;对电池电压信号与电解液流量信号进行特征提取和特征融合,得到全钒液流电池的多模态节点特征矩阵;计算节点间的欧几里得距离作为节点间的相似度,构建相似度矩阵,从相似度矩阵中为每个节点筛选出相似度最高的个邻居,构建邻接矩阵;基于邻接矩阵构建图卷积神经网络模型,引入用于在卷积聚合时动态调节邻域特征的平滑强度的自适应平滑因子;将待检测的电池运行数据输入训练后的图卷积神经网络模型,得到电池泵故障诊断结果。

一种钒电池用催化活性电极的制备方法及其催化活性电极和应用

NºPublicación:  CN121769129A 31/03/2026
Solicitante: 
四川伟力得能源股份有限公司
CN_121769129_PA

Resumen de: CN121769129A

本发明涉及钒电池用电极技术领域,特别涉及一种钒电池用催化活性电极的制备方法及其催化活性电极和应用。以氧化铋水相分散液作为前驱体,负载于石墨毡电极基体表面后,将石墨毡电极置于惰性气氛下进行碳热还原反应,在惰性气氛中使氧化铋与石墨毡碳基体发生固相反应,原位生成强结合的催化活性位点。通过针对性控制氧化铋水相分散液的浓度以及碳热还原反应的温度,使得制备出的钒电池用催化活性电极中活性组分均匀且牢固地结合于基体表面,表现出高均匀性和高稳定性。同时本申请采用先负载后一步碳热还原法,能够实现规模化生产,有效提升产品的电化学活性,可实现性能的均匀一致性,有效满足了商业化生产对电极性能与制造效率的多维严苛要求。

一种氢钝化碳边缘的铁单原子催化剂、制备方法及应用

NºPublicación:  CN121769131A 31/03/2026
Solicitante: 
西安交通大学
CN_121769131_PA

Resumen de: CN121769131A

本发明涉及电催化材料技术领域,尤其涉及一种氢钝化碳边缘的铁单原子催化剂、制备方法及应用,该催化剂中的铁以原子级分散形式锚定在氮掺杂碳载体中,形成Fe‑N4活性位点,提供丰富的活性中心;所述氮掺杂碳载体具有丰富的边缘结构,且所述边缘结构上的碳原子被氢原子所钝化。丰富的边缘结构为Fe‑N4活性位点提供了开放的配位环境与较高的电子密度,有利于氧分子的吸附与活化。氢钝化处理仅针对边缘碳原子,并未改变Fe‑N4活性位点本身的几何构型,不会对其催化活性产生负面影响,能够使催化剂在保持高稳定性的前提下,依然能够展现出优异的氧还原反应催化活性,实现了活性与稳定性的完美平衡。

一种耐低温锌基液流电池电解液及应用

NºPublicación:  CN121769279A 31/03/2026
Solicitante: 
深圳理工大学
CN_121769279_PA

Resumen de: CN121769279A

本发明公开了一种锌基液流电池电解液及应用,属于电化学储能技术领域。电解液为包括锌盐和添加剂的水溶液,所述添加剂包括钙盐、镁盐;所述添加剂还包括:锂盐、钠盐、锶盐中的一种或多种。其中,Ca2+与Mg2+可与水分子发生强相互作用,有效削弱电解液中的氢键网络,从而显著降低凝固点;其他少量添加的金属阳离子则与Ca2+、Mg2+产生协同效应,使电解液在获得超低凝固点的同时,仍保持优异的高离子电导率等电化学性能。基于此,该电解液成功实现了锌碘液流电池在极端低温环境下的稳定循环。本发明电解液成本低廉、安全环保,为拓宽锌基液流电池的应用场景至极端低温领域提供了可靠的技术方案。

一种全钒液流电池电解液

NºPublicación:  CN121769157A 31/03/2026
Solicitante: 
安徽海螺洁能科技有限公司安徽海螺融华储能科技有限公司
CN_121769157_PA

Resumen de: CN121769157A

本发明涉及全钒液流电池储能技术领域,公开了一种全钒液流电池电解液,包含支撑电解质、钒离子活性组分、第一添加剂与第二添加剂;所述第一添加剂为磷酸酯类化合物;所述第二添加剂为多齿有机膦酸类化合物。本发明通过引入三烯丙基磷酸酯与多齿有机膦酸构成的复合添加剂体系,二者在强酸电解液中发挥协同稳定作用。三烯丙基磷酸酯可有效络合五价钒离子,抑制其高温聚合沉淀;而多齿有机膦酸凭借其多个配位点,进一步强化对活性钒离子的螯合与分散作用,从而显著提升电解液在40‑60℃高温环境下的长期稳定性,有效延缓V2O5沉淀生成,降低因沉淀导致的容量衰减与流道堵塞风险。

燃料电池尾气测量系统及燃料电池

NºPublicación:  CN224066753U 31/03/2026
Solicitante: 
特嗨氢能检测(保定)有限公司
CN_224066753_U

Resumen de: CN224066753U

本实用新型涉及燃料电池技术领域,具体提供了一种燃料电池尾气测量系统及燃料电池。本实用新型的燃料电池尾气测量系统包括换热单元,出气管路,水气分离器和测量管路。其中,换热单元中设有用于连通电堆尾排单元的制冷通道,由电堆尾排单元排入的尾气被制冷通道降温除湿后经出气管路输送至水气分离器;测量管路连通水气分离器的出气口,而且测量管路上设有气体测量装置,气体测量装置用于检测流经测量管路的气体流量以及气体中的氢气浓度。本实用新型的燃料电池尾气测量系统,可避免凝水对气体测量装置测量的影响,利于提升气体测量装置对气体中氢气含量的测量准确性。

氢燃料电池船氢气泄漏监测装置布置方法、系统、电子设备及介质

NºPublicación:  CN121766185A 31/03/2026
Solicitante: 
中国长江电力股份有限公司
CN_121766185_PA

Resumen de: CN121766185A

本发明属于氢燃料电池船安全监测技术领域,具体提供一种氢燃料电池船氢气泄漏监测装置布置方法、系统、电子设备及介质,包括:在涉氢舱室构建空间坐标系,对等间隔离散化的空间单元编号,将部分含氢单元定义为可破损单元;在舱室顶部下方设定安装平面并构建坐标系、离散化及编号;构建舱室三维模型,对可破损单元开孔得到系列模型,经CFD模拟获取氢气逸散云图;设定浓度阈值,获取安装平面浓度首次达阈值的极限时刻及对应浓度,通过算数优化算法迭代,确定多个氢气监测传感器最优安装位置。本发明通过CFD模拟与优化算法,科学分析氢气扩散特性,提升监测装置布置准确性。

一种具备压力均衡调节功能的抗形变氢燃料电池电堆

NºPublicación:  CN121769162A 31/03/2026
Solicitante: 
协氢(池州)氢能科技有限公司
CN_121769162_PA

Resumen de: CN121769162A

本发明公开了一种具备压力均衡调节功能的抗形变氢燃料电池电堆,属于氢燃料电池技术领域,包括两个内端板和电池框架,所述电池框架中设有电池单元,两个内端板之间形成反应腔,还包括弹性缓冲层,每两个相邻电池框架之间均设有一个弹性缓冲层,气垫结构,每个弹性缓冲层均配置有一个所述气垫结构,调压管路,连接反应腔与每个气垫结构,包括泄压管和通气管,所述泄压管上安装有电控阀门以及气压传感器。本发明通过预紧弹簧作用于内端板对电池框架施加初始堆叠压力,并经弹性缓冲层均匀传导,在电堆内部异常升压时,气垫结构充气膨胀从内周反压电池框架抑制翘曲,实现静态压紧与动态均衡协同的自适应抗形变调控。

一种燃料电池电堆组歧管总成

NºPublicación:  CN121769140A 31/03/2026
Solicitante: 
中国科学院大连化学物理研究所
CN_121769140_PA

Resumen de: CN121769140A

本发明涉及一种燃料电池电堆组歧管总成,其中冷却介质分配板上侧设有冷却介质分配流场和阴极气体分配流场、下侧设有冷却介质换热流场,冷却介质换热流场两端分别与冷却介质主进口和冷却介质分配流场连通,冷却介质分配流场设有介质流场端部分别与对应的单堆冷却介质进口连通,阴极气体分配流场设有阴极气体流场端部分别与对应的单堆阴极气体进气口连通,阳极气体分配板上侧设有阳极气体换热流场、下侧设有阳极气体分配流场,阳极气体换热流场两端分别与阳极气体主进气口和阳极气体分配流场连通,阳极气体分配流场设有阳极气体流场端部分别与对应的单堆阳极气体进气口连通。本发明占用安装空间小,集成度高,且省去了换热器及相关结构。

液流电池用大尺寸薄壁耐候改性聚丙烯电极框及其制备方法

NºPublicación:  CN121758869A 31/03/2026
Solicitante: 
南京华格电汽塑业有限公司南京工业大学
CN_121758869_PA

Resumen de: CN121758869A

本发明公开了一种液流电池用大尺寸薄壁耐候改性聚丙烯电极框及其制备方法,构成该电极框的改性聚丙烯材料由以下原料按比例制成:均聚聚丙烯功能母料20~53份,抗冲共聚聚丙烯40~80份,聚烯烃弹性体5~30份。其中均聚聚丙烯功能母料由以下组分组成:均聚聚丙烯粉料20~50份,金属钝化剂0.1~0.3份,刚性成核剂0.05~0.1份,抗氧剂0.2~0.5份,润滑剂0.2~1份,光稳定剂0.5~2份。原料混合后经平行双螺杆挤出机造粒,再注塑成型为电极框。本发明的液流电池用大尺寸薄壁耐候改性聚丙烯电极框具有有强度高、不易开裂、平整度高、尺寸稳定性好、耐电解液腐蚀、耐候性好等优点,易于加工成型,可以经特定波长激光熔融焊接,广泛适用于储能行业。

一种燃料电池电堆

NºPublicación:  CN121769161A 31/03/2026
Solicitante: 
中国科学院大连化学物理研究所
CN_121769161_PA

Resumen de: CN121769161A

本发明属于燃料电池技术领域,具体地说是一种燃料电池电堆,采用联级燃料电池电堆结构,设置主电堆、副电堆的结构形式,将主电堆反应的剩余氢气通入副电堆阳极,通过输出电流及电堆节数控制副电堆阳极气体分配,采用此结构电堆相较于传统电堆结构,可提升电堆燃料转化效率1%~5%。

一种燃料电池水热管理测试平台及其测试方法

NºPublicación:  CN121769148A 31/03/2026
Solicitante: 
中经云数据存储科技(北京)有限公司
CN_121769148_PA

Resumen de: CN121769148A

本发明涉及水热管理测试领域,尤其涉及一种燃料电池水热管理测试平台及其测试方法。所述水箱、水泵、加热单元、第一温度计、入口电磁阀依次通过第一管路连接,所述出口电磁阀、第二温度计和水箱依次通过第二管路连接,所述第一管路与第二管路分别连接换热器。这样,加热单元模拟电堆的发热功率,打开水泵、入口电磁阀、出口电磁阀使得加热后的循环水可以流经换热器,通过第一温度计、第二温度计的数据显示,可以判断出换热器的换热效率是否符合使用环境,从而确定换热器及风扇的选型;通过加热单元模拟电堆发热,可以在不使用电堆的情况下就可以对换热器及风扇进行选型,有效减少电堆在测试过程中的损耗。

一种固体氧化物燃料电池电堆连接装置

NºPublicación:  CN224067666U 31/03/2026
Solicitante: 
太原科技大学
CN_224067666_U

Resumen de: CN224067666U

本实用新型属于连接装置技术领域,具体涉及一种固体氧化物燃料电池电堆连接装置,包括第一连接架、第二连接架和第一连接架、第二连接架内部装配的燃料电池电堆本体,所述第二连接架的顶部表面开设有安装槽,所述安装槽的内部装配有丝杆,所述丝杆的一端安装有轴承,所述丝杆的表面螺纹连接有丝套,本实用新型利用丝杆、丝套与第一连接架的配合,能调整燃料电池电堆本体位置,解决加工误差导致的偏差,使孔位对齐至同一垂直线,便于连接。同时,螺纹杆、固定块与限位板的结合,稳固固定燃料电池电堆本体,为调节提供便利,防止移动,确保孔位准确连接,显著提升连接稳定性和效率。

一种氢能重卡的余热回收装置

NºPublicación:  CN224067664U 31/03/2026
Solicitante: 
内蒙古圆速蒙泰智能氢电商用车有限公司
CN_224067664_U

Resumen de: CN224067664U

本实用新型提供了一种氢能重卡的余热回收装置,包括有壳体和内部的气瓶,壳体的两侧分别固定连接有导出管道和导入管道,壳体的顶端固定设置有密封结构,壳体的内部从内向外依次固定设置有限位腔和换热腔,换热腔和限位腔之间嵌入设置有换热夹层,导出管道和导入管道分别位于壳体的两侧上下位,和换热腔相通设置。通过伸缩杆达到控制对应连接的第一密封座与第一密封层横向进行移动调节的效果,通过第一密封层达到从下方位置保证密封结构密封性的效果,通过第二密封座和第二密封层达到和对应的第一密封座以及以第一密封层接触形成嵌合,从而保证对气瓶和壳体之间密封性的效果。

一种空冷燃料电池低温启动方法

NºPublicación:  CN121769146A 31/03/2026
Solicitante: 
上海攀业氢能源科技股份有限公司
CN_121769146_PA

Resumen de: CN121769146A

本发明涉及一种空冷燃料电池低温启动方法,具体为:向燃料电池中通入氢气并连接燃料电池的正负极;燃料电池处于缺氧状态,电压下降至0V,由于氧气扩散限制使输出电流稳定,燃料电池反应全部转化为热能;当燃料电池温度达到0~5℃范围内时,断开燃料电池的正负极连接,增加燃料电池中的氧气通入量,控制燃料电池的输出电流升高,实现燃料电池启动。与现有技术相比,本发明具有通过调控燃料电池的反应状态,使反应能量全部转化为热能用于加热电池堆,替代了传统的电加热方式,简化了系统结构,降低了设备体积、重量和制造成本,无需增设额外电加热装置等优点。

全钒液流电池的隔膜及其制备方法、全钒液流电池和储能装置

NºPublicación:  CN121769138A 31/03/2026
Solicitante: 
浙江星辰新能科技有限公司
CN_121769138_PA

Resumen de: CN121769138A

本发明涉及一种全钒液流电池的隔膜及其制备方法、全钒液流电池和储能装置。该全钒液流电池的隔膜包括全氟磺酸树脂和负载有离子液体的多孔材料;负载有离子液体的多孔材料包括多孔材料和负载于多孔材料上的离子液体,多孔材料包括ZIF‑8,离子液体包括1‑丁基‑3‑甲基咪唑四氟硼酸盐。该全钒液流电池的隔膜包括离子液体,且该隔膜的性能稳定性,能够有效解决离子液体快速流失的问题。

一种全钒液流电池的电解液及其制备方法

NºPublicación:  CN121769159A 31/03/2026
Solicitante: 
安徽海螺洁能科技有限公司安徽海螺融华储能科技有限公司
CN_121769159_PA

Resumen de: CN121769159A

本发明涉及全钒液流电池电解液技术领域,公开了一种全钒液流电池的电解液及其制备方法,包括硫酸、钒离子活性物质以及由磷酸锂和可溶性三价铈盐组成的复合添加剂。本发明通过磷酸锂与三价铈盐的复配,磷酸根离子与五价钒离子形成稳定的配合物,有效抑制了其在高温下的水解聚合与V2O5沉淀;同时,三价铈离子凭借其可变的价态,不仅增强了上述稳定作用,更作为氧化还原媒介加速V4+/V5+电对的反应动力学。该协同体系使得电解液在50℃下长期存放的沉淀量降低至0.015‑0.025 g/L,并将稳定的V5+工作浓度提升至2.2‑2.8 mol/L,解决高能量密度与高温运行稳定性之间的矛盾。

适用于氢燃料电池的塞锥喷嘴引射器及氢燃料电池系统

NºPublicación:  CN121760979A 31/03/2026
Solicitante: 
山东大学
CN_121760979_PA

Resumen de: CN121760979A

本发明公开适用于氢燃料电池的塞锥喷嘴引射器及氢燃料电池系统,属于氢燃料电池技术领域,适用于氢燃料电池的塞锥喷嘴引射器包括沿轴线依次连通的一次流入口管、塞锥喷嘴、混合室和扩散室,以及设置在塞锥喷嘴侧方并与混合室连通的吸入室和二次流入口管;其中,塞锥喷嘴包括喷嘴结构和塞锥结构,所述塞锥结构通过塞锥支杆固定设置在喷嘴结构内壁;塞锥结构的轮廓型面依次包括锥形段、过渡段和碗状段;其中,碗状段位于塞锥结构靠近一次流入口管的一端,锥形段位于塞锥结构靠近混合室的一端。本发明不仅显著提升了引射器在变工况范围内的稳定性,而且其构成的供氢系统具有结构紧凑、集成度高的特点,更适用于氢燃料电池系统的动态运行需求。

一种定位机构、装配装置和装配方法

NºPublicación:  CN121769160A 31/03/2026
Solicitante: 
广东电网有限责任公司佛山供电局
CN_121769160_PA

Resumen de: CN121769160A

本发明公开了一种定位机构、装配装置和装配方法,用于电池电堆装配技术领域。本机构包括基板和多个定位组件;多个定位组件与基板连接固定,多个定位组件围合形成用于放置双极板的安装空间;每个定位组件均包括定位块、定位轴、定位杆和限位件;定位块固定于基板上,定位轴固定于定位块上,定位杆的一端转动安装于定位轴上,定位杆的另一端被配置为转动靠近或转动远离安装空间,限位件固定于定位块上,限位件位于定位杆的摆动轨迹上,在定位杆摆动至与基板垂直时,限位件用于限制定位杆继续摆动。本机构通过设置转动式的定位杆,能够更有效地消除定位杆与双极板之间的余量,实现更为精确的定位,并且降低了操作难度并提升了效率。

一种SOFC流场调控密封垫片、燃料电池及流场优化方法

NºPublicación:  CN121761112A 31/03/2026
Solicitante: 
福赛尔(武汉)集成有限公司
CN_121761112_PA

Resumen de: CN121761112A

本申请涉及一种SOFC流场调控密封垫片、燃料电池及流场优化方法,SOFC流场调控密封垫片包括:垫片主体,所述垫片主体设有气体进口和气体出口,所述垫片主体于所述气体进口与所述气体出口的一侧均设有气体分配区;所述气体分配区于流体通道侧的边缘设有弧形密封边,且所述弧形密封边朝向靠近所述垫片主体的中心方向凹陷形成。本申请通过在流体通道处设置了弧形密封边,弧形密封边可以对流体通道进行遮挡,且不同位置的流体通道遮挡的范围大小不同,从而可以控制各流体通道的流体分配,使得流体分配更加均匀;气体出口处的弧形密封边同样可以控制各流体通道流出的气体流量,使得出口处的流体也分配均匀。

中空纤维膜长度可调节的燃料电池加湿器以及中空纤维膜之间的间隙可调节的燃料电池加湿器

NºPublicación:  CN121773504A 31/03/2026
Solicitante: 
可隆工业株式会社
CN_121773504_PA

Resumen de: KR20250033782A

The present invention relates to a humidifier for a fuel cell in which the length of a hollow fiber membrane or the interval between the hollow fiber membranes is adjusted in response to the internal temperature of the humidifier that changes according to the output situation of the fuel cell. The humidifier for a fuel cell comprises: a housing; a hollow fiber membrane located inside the housing, in which dry air flows inside, and wet air flows outside; and potting materials located at both ends of the hollow fiber membrane to fix the ends of the hollow fiber membrane. The potting material is divided into an inner potting material located inside the housing and an outer potting material located outside the housing and spaced apart from the inner potting material based on the first temperature-sensitive volume change member by inserting a first temperature-sensitive volume change member that expands and contracts according to the temperature inside the potting material.

具有低微孔性和优化的介孔性的高结构、中等表面积炭黑

NºPublicación:  CN121773501A 31/03/2026
Solicitante: 
伊梅科技
CN_121773501_PA

Resumen de: WO2025045778A1

The present invention relates to carbonaceous particulate materials with optimized Braun-Emmett- Teller specific surface areas (BET SSAs), pore size distribution, crystallinity, and aggregate structure possessing advantageous properties, such as, e.g., high corrosion resistance, and improved mass transport characteristics, which renders them particularly useful as support material for catalysts in fuel cells or electrolyzers.

隔板、和使用具有高和低MFI的聚合物粘结剂的生产方法以及具有这种隔板的燃料电池

NºPublicación:  CN121773502A 31/03/2026
Solicitante: 
蓝界科技控股公司
CN_121773502_PA

Resumen de: DK202330161A1

For producing separator plates having useful characteristics of polyphenylene sulfide (PPS) with high melt flow index (MFI), but also safeguard easy de-molding after compression-molding, combinations are provided with PPS having low MFI. For example, high-MFI PPS is mixed with low-MFI PPS for the separator plate, or a central layer of high-MFI PPS is sandwiched between layers of low-MFI PPS. Other water insoluble thermoplastic non-fluoropolymers than PPS can be used as alternatives.

导电性金属氧化物粒子和电化学反应用催化剂粒子

NºPublicación:  CN121773484A 31/03/2026
Solicitante: 
株式会社科特拉国立大学法人广岛大学
CN_121773484_PA

Resumen de: WO2025052799A1

According to the present invention, a carrier for an electrode catalyst is conductive metal oxide particles having a specific surface area of 35 m2/g or more and a pore volume of a pore having a pore diameter of 20-100 nm of 0.25 mL/g or more, and the electrode catalyst is catalyst particles for electrochemical reaction in which catalyst noble metal particles are carried on the conductive metal oxide particles.

氢罐的剩余量预测方法、氢罐的剩余量预测装置和发电系统

NºPublicación:  CN121773503A 31/03/2026
Solicitante: 
松下知识产权经营株式会社
CN_121773503_PA

Resumen de: CN121773503A

本公开的氢罐的剩余量预测方法,是在包含至少一个燃料电池单元的燃料电池装置中使用的氢罐的剩余量预测方法,具备基于在横跨多天的第1期间中使用的所述氢罐的氢量来预测所述氢罐的氢剩余量成为第1阈值以下的时期的步骤、和将所述时期通知给显示装置的步骤,当在所述第1期间内的横跨多天的第2期间中使用的所述氢罐的氢量为第2阈值以下时,基于在所述第1期间中的除了所述第2期间以外的期间中使用的氢罐的氢量来预测所述时期。

FUEL CELL STACK AND BIPOLAR PLATE OF THE FUEL CELL STACK

NºPublicación:  KR20260041944A 30/03/2026
Solicitante: 
엘티정밀주식회사
KR_20260041944_PA

Resumen de: KR20260041944A

본 발명은 수소연료전지 스택 및 그 수소연료전지 스택의 분리판에 관한 것으로, 분리판의 구조에 있어서, 매니폴드의 끝단부(진입부)가 분기부보다 상대적으로 낮게 형성되고, 반응 유체가 사선방향으로 진행하도록 그 매니폴드의 끝단부(진입부)가 사선으로 형성되어 와류 발생을 방지하고, 분기부가 그 끝단부(진입부)부로부터 사선방향으로 형성됨으로써, 반응 유체(산소와 수소)의 이동을 저항을 작게 하여 연료전지 스택에서의 수소와 공기의 전기 화학반응 속도를 증가시켜 스택 성능을 향상시킬 수 있으며, 가스 균등 분배 구조가 가능하고, 내부의 수분 분포, 온도분포 및 전류밀도 분포를 적절히 제어할 수 있어, 연료전지의 성능 확보와 작동 안정성을 구현할 수 있고, 분리판 내의 기체 흐름(반응 유체)과 액체(예를 들어, 물) 흐름을 효율적으로 분배할 수 있고, 분리판 내의 기체 흐름과 액체 흐름을 최적화할 수 있다.

電気化学装置

NºPublicación:  JP2026054969A 30/03/2026
Solicitante: 
株式会社東芝
JP_2026054969_A

Resumen de: JP2026054969A

【課題】局所的な劣化の進行を抑制し、性能の向上を容易に実現可能な電気化学装置を提供する。【解決手段】実施形態の電気化学装置は、燃料極ガスが流れる燃料極と、酸素極ガスが流れる酸素極との間に電解質膜が挟まれている電気化学セルを備える。電気化学装置は、燃料極の側に設置されている、燃料極側金属板部と、燃料極と燃料極側金属板部との間に介在している、燃料極側集電材とを有する。燃料極側集電材は、燃料極ガスが燃料極側金属板部と燃料極との間を流れる流れ方向において最も上流側に位置する第1の燃料極側集電材部と、流れ方向において第1の燃料極側集電材部よりも下流側に位置する、第2の燃料極側集電材部とを少なくとも含む。第1の燃料極側集電材部の多孔率X11と、第2の燃料極側集電材部の多孔率X12とが、X11>X12に示す関係を満たす。【選択図】図2A

Apparatus and Method for Gas Diffusion Layer Substrate

NºPublicación:  KR20260041977A 30/03/2026
Solicitante: 
주식회사엔바이오니아
KR_20260041977_PA

Resumen de: KR20260041977A

본 발명은 연료전지용 기체확산층 지지체 제조장치 및 이를 이용한 제조방법에 관한 것으로, 더욱 상세하게는 연속적으로 이송되는 부직포에 코팅액을 함침시키기 위한 배쓰; 상기 부직포를 코팅시키기 위한 코팅액을 수용하는 저류부; 상기 저류부의 코팅액을 상기 배쓰로 공급하는 한편 상기 배쓰로부터 코팅액을 회수하기 위한 코팅액 이송부; 및 상기 부직포를 일측에서부터 타측으로 이송시키는 롤부;를 포함하되, 상기 배쓰는 상부가 개방된 채 내부 공간부가 구비된 외부 배쓰, 및 상기 외부 배쓰 내부에 수납되며 상부가 개방되고 내부 공간부에는 코팅액이 저장되는 내부 배쓰를 포함하고, 상기 코팅액 이송부는 상기 내부 배쓰로 상기 코팅액을 공급할 수 있도록 상기 저류부와 상기 내부 배쓰를 연결하는 제1 이송관, 및 상기 내부 배쓰를 오버플로우한 코팅액을 상기 저류부로 회수할 수 있도록 상기 외부 배쓰와 상기 저류부를 연결하는 제2 이송관을 포함하고, 상기 롤부는 적어도 일부분이 상기 내부 배쓰의 코팅액에 잠긴 상태로 회전하면서 상기 부직포가 일정 시간동안 코팅액과 접촉하도록 유도하는 제3 롤을 포함하는 것을 특징으로 하는 연료전지용 기체확산층 지지체 제조장치 및 이를 이용한 제조방법에 관한

IMPACT-RESISTANT REDOX FLOW BATTERY STACK STRUCTURE WITH IMPROVED STABILITY

NºPublicación:  KR20260042119A 30/03/2026
Solicitante: 
한국전력공사
KR_20260042119_PA

Resumen de: KR20220167679A

The present invention provides a redox flow battery stack structure using a compression support plate and a plurality of external alignment columns when a plurality of cells are stacked. According to the present invention, stack swelling is prevented and components of a flow battery are not distracted during the stacking of the plurality of cells as a plurality of sets, thereby further improving assembling performance. In addition, a distance between the components can be removed, and assembly performance can be improved only by adding the compression support plate and a BP included therein without changing the design of the existing stack. Furthermore, a problem of bending the existing internal alignment columns can be solved, and thus the stacked components can be stacked flat on an end plate.

연료 전지 및 개질기로부터의 촉매 코팅된 막 구성요소의 재활용

NºPublicación:  KR20260042181A 30/03/2026
Solicitante: 
헨셀리사이클링게엠베하
KR_20260042181_PA

Resumen de: AU2024307386A1

The present invention relates to a method for recycling a membrane electrode assembly from a fuel cell or a reformer. Further, the present invention relates to a polymer or a polymer solution obtained from the method according to the invention and to the use of the obtained polymer or polymer solution.

燃料電池セル

NºPublicación:  JP2026054943A 30/03/2026
Solicitante: 
トヨタ自動車株式会社
JP_2026054943_A

Resumen de: US20260081197A1

The fuel cell includes a resin frame body having an opening portion, a membrane electrode assembly disposed in the opening, and a first separator and a second separator opposed to each other via the frame body and the membrane electrode assembly. A first manifold hole is formed in the frame body, the first separator, and the second separator. A plurality of first gas passages extending from the first manifold hole to the membrane electrode assembly are opened in a first region that is a part of the inner peripheral face of the first manifold hole. The first gas passages are formed between the frame body and the first separator. In the first region, in the cross section passing through the central axis of the first manifold hole, the inner wall face of the first separator protrudes toward the central axis side than the inner wall face of the frame body.

이온 전도성 막 층을 제조하는 방법

NºPublicación:  KR20260042154A 30/03/2026
Solicitante: 
존슨맛쎄이하이드로젠테크놀로지스리미티드
KR_20260042154_PA

Resumen de: WO2025017297A1

There is provided a method of preparing an ion-conducting membrane layer for a fuel cell or an electrolyser. The method comprises the steps of: (i) providing a donor substrate having opposing first and second surfaces and providing an ink disposed as a layer on the second surface, wherein the ink comprises a radiation absorber, an ion-conducting polymer, and a solvent; (ii) providing an acceptor substrate, wherein the second surface of the donor substrate faces towards the acceptor substrate; and (iii) irradiating the ink with laser radiation at a wavelength which is absorbed by the radiation absorber so as to transfer the ink from the donor substrate to the acceptor substrate.

電極触媒層

NºPublicación:  JP2026055107A 30/03/2026
Solicitante: 
DIC株式会社
JP_2026055107_A

Resumen de: JP2026055107A

【課題】 固体高分子形燃料電池の膜電極接合体を製造する場合に、膜電極接合体の作製プロセスとそれに伴う内部応力による触媒層の空隙や触媒担持粒子の破壊に効果的な電極触媒層を提供することを目的とする。【解決手段】 触媒担持粒子と、高分子電解質と、を含む電極触媒層であって、前記電極触媒層の膜厚を1~20μmとしたときの、多角度分光光度計を用いて測定されるCIE LAB表色系におけるL*、a*、及びb*が、L*≧16.0、 0.0≦a*≦5.0、 0.5≦b*≦10.0を満たす電極触媒層を提供する。【選択図】 なし

燃料電池に用いるセパレータ及び燃料電池

NºPublicación:  JP2026054922A 30/03/2026
Solicitante: 
トヨタ自動車株式会社
JP_2026054922_A

Resumen de: US20260081188A1

A separator used in a fuel cell includes: a supply manifold hole for fuel gas; an exhaust manifold hole for the fuel gas; and a fuel gas flow path system causing the fuel gas to flow through an electricity generation portion of the fuel cell, the fuel gas flow path system including a first flow path portion directing the fuel gas from the supply manifold hole to the electricity generation portion, a second flow path portion facing the electricity generation portion and supplying the fuel gas to the electricity generation portion, and a third flow path portion directing the fuel gas from the electricity generation portion to the exhaust manifold hole. The third flow path portion includes a low-hydrophilicity flow path disposed at the vicinity of the exhaust manifold hole and includes a low-hydrophilicity surface.

一种液流电池电解液流量控制方法及系统

NºPublicación:  CN121748438A 27/03/2026
Solicitante: 
浙江星辰新能科技有限公司
CN_121748438_PA

Resumen de: CN121748438A

本发明涉及一种液流电池电解液流量控制方法及系统,所述方法包括获取液流电池的初始参数数据;确定电解液的初始目标流量;根据电解液的初始目标流量、液流电池的初始参数数据,通过预设的流量拟合模型得出循环泵的初始目标工作频率,驱动循环泵以初始目标工作频率工作;持续采集液流电池的实时参数数据,并通过流量拟合模型更新电解液的实时流量;持续更新电解液的实时目标流量;通过流量拟合模型持续更新实时目标工作频率,并持续驱动循环泵根据实时目标工作频率调整工作频率实现电解液流量的全周期调控。本发明通过建立流量拟合模型,无需流量计即可实现流量的前馈计算与反馈调节,降低了系统的成本,提升了液流电池的运行可靠性与使用寿命。

一种多腔室的鼓泡增湿结构

NºPublicación:  CN224053149U 27/03/2026
Solicitante: 
上海氢洋科技有限公司
CN_224053149_U

Resumen de: CN224053149U

本实用新型提供了一种多腔室的鼓泡增湿结构。该鼓泡增湿结构包括罐体,罐体内部设有鼓泡结构,鼓泡结构上连接有进气管;罐体的侧面上部设有进水管,进水管上连接有电磁阀;罐体的侧面底部开设有出水管,出水管上连接有加热器;加热器上连接有水泵,水泵与换热器连接,换热器与电磁阀连接。本实用新型的鼓泡增湿结构通过将鼓泡结构做成金属粉末烧结的微孔曝气管的形式,气体通过微米孔高速喷出,形成更多的微米气柱,直接与水接触,增加了气体与水接触的面积;再通过电磁阀和换热器来调整罐体内水的温度和压力就可以得到需要的湿度,更好地实现了对湿度的控制精度。

一种流场内具有缓冲混合结构的双极板

NºPublicación:  CN224053145U 27/03/2026
Solicitante: 
成都新研氢能源科技有限公司
CN_224053145_U

Resumen de: CN224053145U

本发明公开了一种流场内具有缓冲混合结构的双极板,涉及氢燃料电池技术领域,可解现有流场内的各个流道的气体反应程度不均问题。本实施例的一种流场内具有缓冲混合结构的双极板,包括板体,所述板体的流场区设有若干间隔且平行于板体长度方向设置的直线形流道,以及设于流场区的缓冲槽,至少两条直线形流道通过缓冲槽连通。

一种压缩机级间扩压导流结构、压缩机和燃料电池系统

NºPublicación:  CN224049425U 27/03/2026
Solicitante: 
广州市昊志机电股份有限公司
CN_224049425_U

Resumen de: CN224049425U

本实用新型公开了一种压缩机级间扩压导流结构、压缩机和燃料电池系统,包括:压缩机机体,内部设有级间轴向气流通道;一级压缩组件,设置于所述压缩机机体的一端,所述一级压缩组件包括一级叶轮和一级蜗壳,所述一级蜗壳与所述压缩机机体连接,所述一级叶轮设置于所述一级蜗壳内部,所述一级叶轮的出口与所述级间轴向气流通道之间设有扩压导流器,所述扩压导流器设有多个导流筋板,所述扩压导流器在相邻所述导流筋板之间形成扩压流道,所述导流筋板在所述扩压流道的入口处沿一级叶轮的出口气流方向倾斜延伸,所述导流筋板在所述扩压流道的出口处向所述扩压导流器的径向过渡延伸。本实用新型能够大大降低气流改向的气流能量损失。

Circuit de refroidissement d’une pile à combustible à isolation électrique optimisée

NºPublicación:  FR3166760A1 27/03/2026
Solicitante: 
HOPIUM [FR]
HOPIUM
FR_3166760_A1

Resumen de: FR3166760A1

La présente invention concerne un circuit de refroidissement (1) d’une pile à combustible (2), comprenant des composants reliés électriquement à la masse d’un châssis, tels qu’une pompe (11) ou un radiateur (10), et des canalisations (12, 13, 14) reliant ladite pile (2) auxdits composants (10, 11), au moins une desdites canalisation (12, 13, 14) comprenant au moins une portion de canalisation ayant une section transversale utile PHI1. Selon l’invention, au moins une desdites portions de canalisation de section transversale utile PHI1 présente un réducteur de section (3), ledit réducteur de section (3) ayant une section transversale utile PHI2 inférieure à ladite section transversale utile PHI1. Fig. 2

离子传导膜及其制备方法、液流电池

NºPublicación:  CN121748450A 27/03/2026
Solicitante: 
深圳理工大学
CN_121748450_PA

Resumen de: CN121748450A

本申请涉及离子膜技术领域,主要提供一种离子传导膜及其制备方法、以及一种液流电池。该离子传导膜包括:5‑15质量份的环糊精、70‑90质量份的磺化聚合物、4‑15质量份的含氟聚合物。由本申请技术方案的离子传导膜形成的液流电池具有较高的的离子电导率,从而实现并维持高功率密度运行。

计算电解液中铁离子与铬离子物质的量之比的方法及其应用

NºPublicación:  CN121748447A 27/03/2026
Solicitante: 
大连融科储能集团股份有限公司
CN_121748447_PA

Resumen de: CN121748447A

本发明提供一种计算电解液中铁离子与铬离子物质的量之比的方法及其应用,计算电解液中铁离子与铬离子物质的量之比的方法,包括以下步骤:确定铁铬液流电池所使用的离子膜的离子交换容量IEC;设定电池的预期运行温度T及电解液的荷电状态SOC;根据下式n(Fe2+)/n(Cr3+)=0.1α+0.2β(T)+0.5γ(SOC)计算二价铁离子与三价铬离子的物质的量之比;α为基于离子膜离子交换容量确定的配比系数;β(T)为温度修正因子;γ(SOC)为与电解液荷电状态的关联因子。本发明能通过调节初始电解液中主要活性物质浓度比,以达到控制析氢、抑制铁铬液流电池容量衰减的效果。

一种低流阻双极板及其制造方法

NºPublicación:  CN121748431A 27/03/2026
Solicitante: 
宁波信远炭材料有限公司
CN_121748431_PA

Resumen de: CN121748431A

本发明提供了一种低流阻双极板及其制造方法,包括由天然石墨与树脂融合复合形成的基板,位于所述基板上一体设置有反应流场,包括由非直线型凸起与凹陷的组合或若干连续凹陷的组合形成的流场单元,通过使基板上一体设置的反应流场为非直线型凸起与凹陷的组合或若干连续凹陷的组合形成流场单元,且流道间的表面均布有凹陷的湍流河床,液流电堆工作过程电解液流径双极板反应区,在流道作用下大幅的降低了流阻、且使得液流能更均布的无流速差的布满整个反应场所;在凹陷的河床上电解液被搅动起来像湍流,得到与反应场所的碳毡有效充分的电化学反应,提高效率,消除极化不良因素,有利于提高双极板的稳定性和使用寿命。

燃料电池氢气泄漏预测方法、系统和车辆

NºPublicación:  CN121748442A 27/03/2026
Solicitante: 
北京卡文新能源汽车有限公司
CN_121748442_PA

Resumen de: CN121748442A

本申请涉及一种燃料电池氢气泄漏预测方法、系统和车辆,包括:燃料电池系统运行时,若阳极电堆氢气入口处的当前压力值与目标压力值的差值小于或等于预设数值,则监测氢比例阀的当前开启持续时间和当前开启时间间隔;基于氢比例阀的当前开启持续时间与当前开启时间间隔、上一时刻的开启持续时间和上一时刻的开启时间间隔,计算当前开启持续时间与上一时刻的开启持续时间的第一差值,计算当前开启时间间隔与上一时刻的开启时间间隔的第二差值;根据第一差值和第二差值判断燃料电池系统是否存在氢泄漏,在燃料电池系统存在氢泄漏情况下确定氢泄漏等级,根据氢泄漏等级进行分级处理。在检测氢泄漏同时采取安全有效的处理方式,降低燃料电池系统成本。

正极电解液及其制备方法以及全钒液流电池

NºPublicación:  CN121748455A 27/03/2026
Solicitante: 
广州天赐高新材料股份有限公司

Resumen de: CN121748455A

本申请提出了一种正极电解液及其制备方法以及全钒液流电池,所述正极电解液包括:活性物质,所述活性物质包括+5价钒离子;添加剂,所述添加剂包括碳材料,所述碳材料的至少部分表面具有修饰基团,所述修饰基团包括硝基、磺酸基、羰基、氨基、羧基和羟基的至少一种。由此,该碳材料能够抑制+5价钒离子团聚沉淀,提高+5价钒离子在正极电解液中的分散性,提高正极电解液的稳定性。

Système et procédé de gestion thermique d’un véhicule automobile comprenant une chaîne d’entraînement électrique et une pile à combustible

NºPublicación:  FR3166585A1 27/03/2026
Solicitante: 
RENAULT SAS [FR]
RENAULT SAS
FR_3166585_A1

Resumen de: FR3166585A1

TITRE : Système et procédé de gestion thermique d’un véhicule automobile comprenant une chaîne d’entraînement électrique et une pile à combustible Système de gestion thermique (1) d’un véhicule (100) automobile comprenant une chaîne d’entraînement électrique et un dispositif de pile à combustible (30), le système comprenant un circuit primaire (3) de circulation d’un fluide caloporteur déionisé (F1) comprenant au moins un composant de la chaîne d’entraînement électrique, la pile à combustible et un premier échangeur de chaleur (31). Figure de l’abrégé : Figure 1

一种扭曲结构的咪唑类高温质子交换膜及其制备方法

NºPublicación:  CN121748449A 27/03/2026
Solicitante: 
东北大学
CN_121748449_PA

Resumen de: CN121748449A

本发明属于质子交换膜燃料电池技术领域,公开一种扭曲结构的咪唑类高温质子交换膜及其制备方法。以1‑甲基‑1H咪唑‑2‑甲醛、1‑乙基‑1H咪唑‑2‑甲醛、1‑丙基‑1H咪唑‑2‑甲醛、1‑丁基‑1H咪唑‑2‑甲醛中的一种、四甲基四氢‑螺二茚满‑二醇,三氟乙酸、三氟甲烷磺酸为催化,缩聚合成共聚聚合物,为具有螺环扭曲微孔结构的全碳骨架芳香族聚合物,得到共聚物膜材料。共聚物膜材料进行磷酸掺杂。本发明制备成本低,反应条件温和,膜材料具有更紧凑或更致密的结构,透明、均一致密,具有良好的导电性能和机械性能。

一种无泄露无碳毡无双极板的新型电堆

NºPublicación:  CN121748458A 27/03/2026
Solicitante: 
广东中科天钒储能科技有限公司
CN_121748458_PA

Resumen de: CN121748458A

本发明公开了一种无泄露无碳毡无双极板的新型电堆,属于全钒液流电池储能技术领域。该电堆以耐强酸性、抗钒离子溶胀的质子交换膜为核心功能件,其两端密封固定于支撑管件形成管程通道,电堆壳体与质子交换膜之间形成壳程通道,管程与壳程分别通入正、负极全钒电解液且总截面积相等;质子交换膜内外侧均设置抗钒腐蚀导电电极,电堆摒弃传统碳毡电极和双极板结构,采用全密封设计。本发明解决了传统电堆双极板腐蚀、碳毡钒吸附、电解液泄露等技术缺陷,实现钒离子截留率≥99.5%、泄露率≤0.01mL/(hL)、能量效率≥80%、循环寿命超20000次的技术效果,全生命周期成本降低35%以上,适用于大规模储能、新能源并网等场景,具有显著的经济和环保价值。

Hydrogen production system

NºPublicación:  KR20260041196A 27/03/2026
Solicitante: 
한국원자력연구원

Resumen de: KR20260041196A

수소생산 시스템이 개시된다. 본 발명의 일 측면에 따른 수소생산 시스템은, 헬륨이 유입되고 상기 헬륨을 전기저항식 가열을 통해 제 1 온도까지 가열시키는 예열기 및 상기 예열기와 연결되고 상기 예열기를 통해 가열된 상기 헬륨을 전기저항식 가열을 통해 상기 제 1 온도보다 높은 제 2 온도까지 가열시키는 주가열기를 포함하는 헬륨 가열부, 물이 유입되고, 유입된 상기 물을 가열하여 증기를 발생시키는 증기 발생기, 상기 증기 발생기로부터 발생된 증기와 상기 헬륨 가열부로부터 가열된 상기 헬륨이 유입되고, 가열된 상기 헬륨을 이용하여 상기 증기를 과열시키는 과열증기 발생기, 공기와 상기 과열증기 발생기로부터 발생된 과열증기가 유입되고, 상기 과열증기를 수소와 산소로 분리하는 고체산화물 수전해 전지(SOEC) 스택 및 수소와 상기 고체산화물 수전해 전지(SOEC) 스택으로부터 발생된 산소가 유입되고, 상기 수소 및 상기 산소가 반응하여 전류가 발생되는 고체산화물 연료 전지(SOFC) 스택을 포함하고, 상기 증기 발생기는 상기 과열증기 발생기에서 유출되는 상기 헬륨이 유입되고, 유출된 상기 헬륨에 의해 상기 물이 가열된다.

一种开放式空冷型燃料电池空气流量协同控制方法

NºPublicación:  CN121748444A 27/03/2026
Solicitante: 
广州骥翀氢能科技有限公司
CN_121748444_PA

Resumen de: CN121748444A

本发明涉及一种开放式空冷型燃料电池空气流量协同控制方法,属于燃料电池控制技术领域,方法包括:获取燃料电池运行的环境参数与电化学参数;分别通过反应过程水平衡模型与散热过程热平衡模型,确定满足反应所需的第一参考空气流量与满足散热所需的第二参考空气流量;对两者进行协同比较处理,确定目标空气总流量;进而基于该目标流量生成调节空气供应装置的控制信号,并通过该控制信号调节空气供应装置的输出流量。本发明针对开放式空冷型燃料电池反应与散热的特点,提出了一种协同决策的控制方法,实现了空气流量的动态精准调控,有效提升了电池的水热管理性能与运行稳定性。

一种燃料电池系统的尾排控制方法和燃料电池系统

NºPublicación:  CN121748448A 27/03/2026
Solicitante: 
海亿新能(临海)科技有限公司武汉海亿新能源科技有限公司
CN_121748448_PA

Resumen de: CN121748448A

本发明提供了一种燃料电池系统的尾排控制方法和燃料电池系统。该方法包括:获取燃料电池系统的实际输出功率和实际堆芯湿度;根据所述实际输出功率确定尾排阀的基准控制参数,其中,所述基准控制参数包括如下至少一种:所述尾排阀的开启周期和单次开启的持续时长;通过所述实际堆芯湿度确定控制参数修正值,以用于对所述基准控制参数进行修正;利用修正后的基准控制参数,对所述尾排阀进行控制。该方法在燃料电池系统的输出功率动态变化时,能够结合燃料电池系统的实际输出功率和实际堆芯湿度,自适应地调整尾排阀的控制参数,进而能够更好地适配燃料电池系统输出功率动态变化的工况需求,从而解决了现有技术中的问题。

用来加工用于电化学单池的基底的加工设备以及用来加工用于电化学单池的基底的方法

NºPublicación:  CN121733014A 27/03/2026
Solicitante: 
罗伯特·博世有限公司

Resumen de: CN121733014A

本发明涉及一种用来加工用于电化学单池的基底(12)的加工设备(10)以及一种用来借助于这样的加工设备(10)加工用于电化学单池的基底(12)的方法。提出了,借助于液体池(18)尤其主动式地冷却基底(12)。

一种基于ePTFE制备质子交换膜的方法

NºPublicación:  CN121748427A 27/03/2026
Solicitante: 
复旦大学
CN_121748427_PA

Resumen de: CN121748427A

本发明属于质子交换膜燃料电池技术领域,具体涉及一种膨体聚四氟乙烯(ePTFE)增强的含氟共聚物质子交换膜的制备方法。本发明以ePTFE为增强相,原位聚合全氟乙烯基磺酰氟单体、氟烯烃与乙烯基醚单体,在加热或光照条件下通过自由基聚合反应制备得到聚合物膜,经过水解酸化后的聚合物膜可以直接用作质子交换膜。本发明具有操作简便、反应条件温和、成本低等优点,且所制备的质子交换膜力学性能良好、质子传导率高、稳定性良好,为质子交换膜合成提供了一条新途径。

一种具有三维纳米纤维骨架的超薄凝胶复合质子交换膜制备方法

NºPublicación:  CN121748451A 27/03/2026
Solicitante: 
北京化工大学
CN_121748451_PA

Resumen de: CN121748451A

本发明公开了一种具有三维纳米纤维骨架的超薄凝胶复合质子交换膜的制备方法。该质子交换膜以静电纺丝技术制备的PTFE基三维纳米纤维骨架作为机械支撑体,通过真空浸渍将SPEEK基半交联凝胶复合于骨架孔隙中,形成稳固的“骨架‑凝胶”互穿网络结构。所述制备方法关键在于:通过低固含量、高取向静电纺丝与轻度烧结技术,获得高孔隙率、厚度仅3‑10 μm的超薄高强纳米纤维骨架膜;进而通过配制SPEEK凝胶前驱体溶液,经真空浸渍、可控刮膜、水化膨胀及后处理,在骨架内形成2‑8 μm厚的连续质子传导凝胶相,最终得到总厚度为5‑15 μm的复合膜。该复合膜兼具超薄结构、高机械强度、低溶胀率、优异界面稳定性及高质子电导率,特别适用于高温质子交换膜燃料电池。

车辆的控制方法、计算机装置和车辆

NºPublicación:  CN121734193A 27/03/2026
Solicitante: 
丰田自动车株式会社
CN_121734193_PA

Resumen de: CN121734193A

本申请公开了一种车辆的控制方法、计算机装置和车辆,车辆包括燃料电池系统、具有风扇的散热器、以及与散热器相对地设置的储氢模块,散热器对流经燃料电池系统的冷却水进行冷却,该控制方法包括:获取燃料电池系统的第一温度和储氢模块的第二温度,并根据第一温度和第二温度对风扇进行控制。由于风扇可以带动散热器和储氢模块周围空气的流动,从而实现了通过控制散热器的风扇兼顾燃料电池系统和储氢模块的温度调节。

一种燃料电池系统的自适应抗干扰控制方法及系统

NºPublicación:  CN121748439A 27/03/2026
Solicitante: 
深圳鹰及汽车有限公司
CN_121748439_PA

Resumen de: CN121748439A

本发明涉及新能源汽车燃料电池技术领域,具体提供了一种燃料电池系统的自适应抗干扰控制方法及系统,该方法包括:启动燃料电池系统,并实时采集至少一个外部干扰参数;根据外部干扰参数,判断干扰等级;根据干扰等级动态切换控制策略;判断切换后的控制策略是否有效,若无效,则进入安全运行模式。本发明通过实时采集至少一个外部干扰参数,判断干扰等级并根据干扰等级动态切换控制策略,其能够动态识别干扰源并快速响应,适应复杂运行环境,实现系统级的电磁抗干扰控制能力,保障燃料电池稳定运。

一种固态储氢燃料电池冷启动系统及方法

NºPublicación:  CN121748437A 27/03/2026
Solicitante: 
上海徐工智能科技有限公司
CN_121748437_PA

Resumen de: CN121748437A

本发明公开了一种固态储氢燃料电池冷启动系统,包括加氢机、固态储氢装置、燃料电池系统及固态储氢辅件。固态储氢装置由固态储氢模块与中压储氢罐组串联构成,二者之间设置单向阀以防止氢气回流。系统在低温冷启动时,首先利用中压储氢罐组中储存的中压氢气经减压阀减压后供给燃料电池系统启动,使电堆在短时间内产生热量;随后,该热量经管路传递至固态储氢模块,对其进行加热以促使氢气释放,并通过单向阀补充至中压储氢罐组,实现储氢与释氢的循环联动。本发明通过固态储氢模块的热回馈加热,实现低温环境下的快速启动和稳定释氢,有效解决了传统固态储氢在低温条件下氢释放迟滞和燃料电池无法启动的问题。

一种长寿命双极板、其制备方法及应用

NºPublicación:  CN121748428A 27/03/2026
Solicitante: 
大连融科储能集团股份有限公司

Resumen de: CN121748428A

本发明提供一种长寿命双极板、其制备方法及应用,所述长寿命双极板包括:预埋在长寿命双极板中的自修复材料基体微球和自修复引发剂微球;所述自修复材料基体微球为包含自修复基体材料与聚偏氟乙烯的复合物;所述自修复引发剂微球为包含自修复引发剂、聚偏氟乙烯和高分子聚合催化剂的复合物;当双极板破裂时,所述自修复材料基体微球与自修复引发剂微球释放并接触,通过聚合反应固化修复双极板裂缝。本发明长寿命双极板内部预埋自修复基体材料微球与引发剂微球,当双极板产生裂纹时,微球破裂释放修复材料并聚合固化,实现双极板自修复,显著提升机械强度和寿命,进而降低维护成本。

一种质子交换膜燃料电池余能回收的电-汽联供系统

NºPublicación:  CN121748433A 27/03/2026
Solicitante: 
贵州电网有限责任公司
CN_121748433_PA

Resumen de: CN121748433A

本发明涉及低品位余热利用领域,尤其是一种质子交换膜燃料电池余能回收的电‑汽联供系统,其包括,燃料电池单元;与燃料电池单元相连的热泵单元;与热泵单元相连的蒸汽闪蒸单元;与燃料电池单元和蒸汽闪蒸单元相连的补水单元;燃料电池单元为热泵单元提供热源;蒸汽闪蒸单元吸收热泵的热量,生产蒸汽;补水单元回收空气余热,加热补水,并将吸收余热的水通过蒸汽闪蒸单元输送至热泵单元,通过设置催化燃烧器回收未燃尽的氢气尾气热能,通过膨胀机回收空气尾气的压力能,通过空气‑水换热器回收空气尾气余热,将质子交换膜燃料电池全部余能进行了回收,从而提高了整体系统的能源利用率。

基于连接键局域柔性的磷酸型共价有机框架质子交换膜及其制备方法和应用

NºPublicación:  CN121748453A 27/03/2026
Solicitante: 
天津大学
CN_121748453_PA

Resumen de: CN121748453A

本发明公开了一种基于连接键局域柔性的磷酸型共价有机框架质子交换膜的制备方法,包括:磷酸型胺单体的制备,共价有机框架纳米片的合成和磷酸型共价有机框架膜的制备,其中的磷酸型胺单体选用3,5‑二肼羰基苯磷酸、2,5‑二氨基苯磷酸和2,5‑二肼羰基苯磷酸,通过改变连接键种类和键角调控磷酸型iCOF可控的局域柔性,赋予传导单元更强的局域运动能力,使得柔性iCOF纳米片在低湿条件下通过局域运动维持短氢键网络连续性,纳米片自组装成的离子型共价有机框架膜(iCOFMs)在高温高湿下展现优异的质子传导率,低湿度下维持较高的质子传导率。同时,局域柔性赋予iCOFMs更强的机械强度,确保在电池装置中的工作稳定性。

一种余热回收装置

NºPublicación:  CN224053148U 27/03/2026
Solicitante: 
潮州三环(集团)股份有限公司
CN_224053148_U

Resumen de: CN224053148U

本实用新型涉及余热回收技术领域,公开了一种余热回收装置,用于回收多台燃料电池系统的余热,包括:换热器,具有进气口、出气口、进液口和出液口;进气管路,包括进气总管和多根进气支管,所述进气支管上安装有第一阀门,多根所述进气支管的入口与多台所述燃料电池系统一一对应连通,多根所述进气支管的出口分别与所述进气总管的入口连通,所述进气总管的出口与所述换热器的进气口连通;第一水箱,具有第一进水口、第一出水口、第二进水口和第二出水口,所述第一出水口与所述换热器的进液口通过出水管连通,所述第一进水口与所述换热器的出液口通过进水管连通。本实用新型的余热回收装置提高了热量回收效率,并降低设备成本。

一种基于液体燃料重整的燃料电池高效热管理系统及方法

NºPublicación:  CN121748432A 27/03/2026
Solicitante: 
中国科学院大连化学物理研究所
CN_121748432_PA

Resumen de: CN121748432A

本发明公开了一种基于液体燃料重整的燃料电池高效热管理系统及方法,其中系统包括包括高位油箱,所述高位油箱通过出油管道与高温油泵相连接;所述高温油泵的出口端依次连接电加热器、燃油换热器、催化燃烧入口温度传感器、催化燃烧器、催化燃烧出口温度传感器、燃料电池油路入口温度传感器、高温质子交换膜燃料电池;所述高温质子交换膜燃料电池的后端连接油管与三通切向阀相连接;所述三通切向阀的一端与所述高位油箱的出油管相连接、另一端与散热器总成相连接。该系统实现了基于液体燃料重整的燃料电池系统的稳定输出;通过催化燃烧器对阳极尾气的处理,提高系统安全性及效率,通过催化燃烧气泵联合散热,提高系统在各工况条件下的可靠性。

一种增强型质子交换膜及其用途

NºPublicación:  CN121748452A 27/03/2026
Solicitante: 
上海交通大学
CN_121748452_PA

Resumen de: CN121748452A

本发明公开了一种增强型复合质子交换膜及其用途。制备时,先将聚合物增强骨架浸泡于多巴胺溶液中进行表面改性后清洗烘干,从而在其表面形成亲水性的聚多巴胺涂层,得到多巴胺亲水改性聚合物骨架;随后,将磺酸树脂溶液涂布于所述改性骨架的两侧,经烘干及热退火处理后,获得增强型复合质子交换膜。本发明通过聚多巴胺修饰涂层有效改善了ePTFE骨架的亲水性和表面极性,显著促进了聚合物骨架与磺酸树脂之间的界面结合,所制备的复合膜具有高机械强度、优异的阻钒能力和长期稳定的液流电池性能,并且该增强膜能够在不牺牲核心性能的前提下实现显著减薄,实现性能与成本最佳平衡,在全钒液流电池领域具有广阔的应用前景。

燃料电池多电堆集成装置

NºPublicación:  CN224053156U 27/03/2026
Solicitante: 
国家电投集团科学技术研究院有限公司
CN_224053156_U

Resumen de: CN224053156U

本实用新型的燃料电池多电堆集成装置,包括:电堆组件,电堆组件包括多个电池电堆;进气阀板,进气阀板具有间隔设置的空气进气流道、氢气进气流道和导热介质流道;空气进气流道包括依次连通的空气汇流进口、空气进气主流道和多个空气进气分支流道,空气进气分支流道内的空气流量可调节;氢气进气流道包括依次连通的氢气汇流进口、氢气进气主流道和多个氢气进气分支流道,氢气进气分支流道内的氢气流量可调节;导热介质流道包括依次连通的导热介质汇流进口、导热介质进液主流道和多个导热介质进液分支流道。因此,根据本实用新型的燃料电池多电堆集成装置具有集成性高、便于拆装和便于调节进气量的优点。

Structure de plaque bipolaire à deux plans de soudure pour pile à combustible

NºPublicación:  FR3166759A1 27/03/2026
Solicitante: 
INOCEL DEV [FR]
INOCEL DEVELOPMENT
FR_3166759_A1

Resumen de: FR3166759A1

Plaque bipolaire (BP) adaptée à une pile (FC) à combustible, formée d’un assemblage de deux plaque élémentaires (Pl1, Pl2) superposées et soudées, et comprenant : des premières ouvertures d’arrivée et de sortie (H2In, H2Out) d’un premier fluide ; des deuxièmes ouvertures (O2In, (O2+H20)Out) d’arrivée et de sortie d’un deuxième fluide ; des troisièmes ouvertures (CoolIn, CoolOut) d’arrivée et de sortie d’un troisième fluide destiné à circuler entre les deux plaques élémentaires ; des premières et des deuxièmes lignes de soudure (WeldOp) solidarisant respectivement les deux plaques élémentaires autour des premières et deuxièmes ouvertures, et des premières et deuxièmes soudures (WldCool) solidarisant les deux plaques élémentaires autour, respectivement, de troisièmes ouvertures, les premières et deuxièmes lignes de soudure étant formées dans un premier (HPlane) et un deuxième (LPlane) plan, respectivement, et les soudures associées à l’une des troisième ouvertures sont formées, exclusivement, dans l’un ou l’autre de ces plans. Figure à publier avec l’abrégé : Fig. 8(A)

从电化学系统产生富氮气流的方法

NºPublicación:  CN121748443A 27/03/2026
Solicitante: 
罗伯特·博世有限公司
CN_121748443_PA

Resumen de: CN121748443A

本发明涉及从电化学系统产生富氮气流的方法。一种从电化学系统产生富氮气流的方法。所述方法包括在运行状态下操作电化学系统,在泄放状态下操作电化学系统以在电化学系统的阴极侧产生富氮气流,以及通过排气阀从电化学系统的阴极侧排出富氮气流以从电化学系统产生富氮气流。所产生的氮气气体可用于吹扫、覆盖、冷却和/或诊断电化学系统(如PEMFC系统)的健康状态(SoH)。

一种用于风冷式燃料电池堆的温度监控装置

NºPublicación:  CN224053151U 27/03/2026
Solicitante: 
协氢(上海)新能源科技有限公司
CN_224053151_U

Resumen de: CN224053151U

本实用新型公开了一种用于风冷式燃料电池堆的温度监控装置,涉及燃料电池堆技术领域,包括:燃料电池堆壳体,所述燃料电池堆壳体的内底部开设有多个装配部,所述装配部包括中空装配通道,所述中空装配通道的内部安装有温度监控组件,所述温度监控组件包括装配座,所述装配座的上表面安装有多个温度传感器,所述温度监控组件还包括安装在燃料电池堆壳体侧壁上的控制器,所述控制器包括显示屏,且控制器的输入端与温度传感器的输出端电性连接。解决了现有温度监控装置虽然能够对燃料电池堆内部进行温度监测,但其后续拆装起来较为复杂不便,需要将燃料电池堆拆卸才能够对内部温度监测装置进行更换与检修的问题。

一种液流电池电解液管理与SOH优化控制方法及系统

NºPublicación:  CN121748446A 27/03/2026
Solicitante: 
浙江星辰新能科技有限公司
CN_121748446_PA

Resumen de: CN121748446A

本发明涉及一种液流电池电解液管理与SOH优化控制方法及系统,所述方法包括获取液流电池的SOC值、流量、温度、电流和电压数据;根据预设的动态流量优化算法计算最优流量设定值;根据电解液的流量和最优流量设定值,调节液流电池的循环泵,使得电解液的流量精准跟踪最优流量设定值;计算容量衰减因子与电解液健康因子,计算液流电池的SOH值;当液流电池的SOH值达到预设报警阈值时,更新预设的动态流量优化算法中的计算参数。本发明通过动态流量优化算法实时计算最优流量设定值,实现电解液流量与电池实际反应需求的精准匹配,实现自适应控制,延长电池的使用寿命。

一种网板组装机构

NºPublicación:  CN224053152U 27/03/2026
Solicitante: 
四川华泸光电集团有限公司四川中新储能科技有限公司
CN_224053152_U

Resumen de: CN224053152U

本实用新型涉及化学电池技术领域,具体而言,涉及一种网板组装机构,采用本实用新型的上述结构,主要包括工作台和设置于工作台上的组装装置,组装装置包括对称设置的两个定位板,定位板底部与所述工作台上表面滑动连接,定位板的一侧面设置有动力装置,动力装置用于带动所述定位板横向移动,定位板的一端设置有限位装置。在使用的过程中,将两个网板零件分别设置在定位板的一侧,与定位板紧邻,通过限位装置对网板零件的顶部进行限位,启动动力装置后,将两个网板零件紧密贴合后,即可进行螺钉的安装,对两个网板零件固定,这样就可以一定程度的避免网板零件的错位,可以提高安装效率。

一种氢燃料电池驱动系统和门式起重机

NºPublicación:  CN224053147U 27/03/2026
Solicitante: 
国鸿氢能科技(嘉兴)股份有限公司
CN_224053147_U

Resumen de: CN224053147U

本发明涉及起重机技术领域,具体公开了一种氢燃料电池驱动系统和门式起重机,氢燃料电池驱动系统包括:氢燃料电池模块;散热模块,用于对所述氢燃料电池模块进行散热;锂电池模块;配电柜,与所述氢燃料电池模块、所述散热模块和所述锂电池模块电连接;PCS柜,输入端与所述配电柜的输出端电连接;主变压器,输入端与所述PCS柜的输出端电连接;电抗柜,输入端与所述主变压器的输出端电连接;电流柜,输入端与所述电抗柜的输出端电连接;以及电机组件,输入端与所述电流柜的输出端电连接。本发明的氢燃料电池驱动系统和门式起重机供电稳定,提升能源利用率,绿色环保。

一种用于闭式风冷燃料电池的集成流道双极板结构

NºPublicación:  CN121748429A 27/03/2026
Solicitante: 
太仓向日葵动力科技有限公司
CN_121748429_PA

Resumen de: CN121748429A

本发明公开了一种用于闭式风冷燃料电池的集成流道双极板结构,属于燃料电池技术领域。该结构采用单块厚度为1.1mm的导电基板,通过双面非对称流道设计实现反应气体分配与散热功能的高度集成。其中,第一面加工有蛇形反应流道,第二面加工有平行散热流道。两块所述双极板以反应面相对方式组装,中间夹持膜电极,其中一块板的散热流道与另一块板反应面的背部实体区域互补,共同构成总深度约1mm的完整冷却风道。该结构具有极致紧凑、散热效率高、结构强度好、工艺简单、成本低的优点,适用于高功率密度闭式风冷燃料电池系统,能够有效提升电堆的整体性能与可靠性。

燃料电池冷却液安全检测系统及方法

NºPublicación:  CN121748440A 27/03/2026
Solicitante: 
一汽旗新动力(长春)科技有限公司
CN_121748440_PA

Resumen de: CN121748440A

本申请公开燃料电池冷却液安全检测系统及方法,涉及燃料电池技术领域,包括:电堆、冷却循环管路、多个电导率传感器以及数据处理单元。冷却循环管路连接至电堆,多个电导率传感器被分成若干组,每组至少两个电导率传感器设置于冷却循环管路中散热器、去离子器及PTC中至少一个关键部件的冷却液入口侧与出口侧,用于同步采集该部件工作前后冷却液的电导率信号。所有电导率传感器均与数据处理单元通信连接,由该单元接收并处理所述信号。系统通过在多部件前后实施对比监测,实现了对冷却液电导率变化的部件级定位与在线评估,有效解决传统单一测点监测方式无法区分污染来源、故障定位困难的问题,提升了燃料电池系统运行维护的精准性与安全性。

一种基于液体燃料重整的燃料电池空气供给系统及运行方法

NºPublicación:  CN121748435A 27/03/2026
Solicitante: 
中国科学院大连化学物理研究所
CN_121748435_PA

Resumen de: CN121748435A

本发明公开了一种基于液体燃料重整的燃料电池空气供给系统及运行方法其中系统包括:空气过滤器,所述空气过滤器的输出端通过气体管道与空压机相连接,所述空压机的出口端通过气体管道与冷却器相连接,所述冷却器的出口端与气体缓冲罐相连接,所述气体缓冲罐的输出端连接两类输出管路,其中第一类为燃料电池供气路,包括第一燃料电池空气路调节阀、第二燃料电池空气路调节阀、第三燃料电池空气路调节阀、第N燃料电池空气路调节阀,所其中第二类为燃料处理器供气路。其中该系统由单台空压机匹配多台高温质子交换膜燃料电池及燃料处理器,简化系统流程,减少部件,提高系统可靠性;启动阶段通过调节空压机转速与燃料处理器空气路调节阀有效通径匹配,避免了空压机的喘振,延迟系统寿命。

一种熔融碳酸盐高温燃料电池深度嵌合式碳捕集增效系统

NºPublicación:  CN121748454A 27/03/2026
Solicitante: 
山东建筑大学
CN_121748454_PA

Resumen de: CN121748454A

本发明属于大型火力发电厂节能减排与灵活性改造技术领域,公开了一种熔融碳酸盐高温燃料电池深度嵌合式碳捕集增效系统,包括烟气深度净化与组分优化子系统、MCFC阴极进气梯级加热子系统、熔融碳酸盐燃料电池电堆、阳极尾气处理与CO2捕集子系统、余热深度梯级回收子系统等;烟气深度净化与组分优化子系统,用于对经电厂原有环保岛处理后的原烟气进行末端精处理;MCFC阴极进气梯级加热子系统负责将深度净化后的低温烟气,加热至MCFC电堆所需的运行温度;阳极尾气处理与CO2捕集子系统用于处理燃料电池电堆产生的阳极排气。本发明通过多维度深度嵌合设计,将熔融碳酸盐燃料电池系统有机融入大型燃煤电厂现有框架,形成物质与能量高效内循环的综合增效系统。

一种固态储氢燃料电池尾气除湿系统及方法

NºPublicación:  CN121748436A 27/03/2026
Solicitante: 
上海徐工智能科技有限公司
CN_121748436_PA

Resumen de: CN121748436A

本发明涉及固态储氢燃料电池技术领域,具体涉及一种固态储氢燃料电池尾气除湿系统及方法。其中除湿系统包括燃料电池排气口、冷凝组件和除湿组件。冷凝组件与燃料电池排气口相连,用于冷凝处理高温高湿尾气。除湿组件包括尾气通道和冷凝通道,冷凝通道设置在尾气通道外壁上进行热交换。冷凝通道通过鼓风器通入环境冷干空气,出气端排出的暖干空气与燃料电池供暖模块相连。除湿组件竖直安装在尾气出口上,下方连接集水箱。本发明的系统和方法相结合实现了高效除湿和余热回收双重功能,提高能源利用效率。

Cartridge-type working electrodes and unit electrode analyzers that include them

NºPublicación:  KR20260041486A 27/03/2026
Solicitante: 
광주과학기술원

Resumen de: KR20260041486A

본 발명은 연료전지의 촉매층 분석을 위한 카트리지형 작업전극 및 이를 포함하는 단위전극 분석 장치에 관한 것이다. 가스가 수직으로 공급되는 카트리지형 작업전극을 포함함으로써 전극 측정 성능을 향상시킬 수 있으며, 카트리지 교체를 통하여 다양한 전극을 빠르게 평가할 수 있다.

一种锂化交联菊糖及其制备方法和在有机/无机复合固态电解质中的应用

NºPublicación:  CN121736144A 27/03/2026
Solicitante: 
中国科学院赣江创新研究院
CN_121736144_PA

Resumen de: CN121736144A

本发明公开了一种锂化交联菊糖及其制备方法和在有机/无机复合固态电解质中的应用,涉及聚合物和固态电解质技术领域。本发明所提供的锂化交联菊糖,首先以六偏磷酸钠等作为交联剂使菊糖交联,随后加入锂盐通过离子交换的方式使交联菊糖锂化后制备得到,其能够提高有机/无机复合固态电解质中有机/无机界面的稳定性,提高有机电解质和无机电解质的复合强度,同时其三维交联结构能够向电解质基体中引入额外的锂离子传输通道。基于此,本发明所制备的复合电解质能够具有显著提高的离子电导率和更宽的电化学窗口。

一种支撑装置以及车辆

NºPublicación:  CN121734087A 27/03/2026
Solicitante: 
丰田自动车株式会社
CN_121734087_PA

Resumen de: CN121734087A

本申请提供了一种支撑装置以及车辆。所述车辆上设置有散热器和储氢模块,所述储氢模块为交换式且位于所述散热器的下方,所述支撑装置置于所述散热器和所述储氢模块之间且在流体作用下具有膨胀状态和收缩状态;在所述膨胀状态下,所述支撑装置支撑所述散热器;在所述收缩状态下,所述支撑装置收缩以形成用于交换所述储氢模块的空间。在进行储氢模块的交换时,可以收缩支撑装置,从而能够确保进行储氢模块交换作业的空间。

一种不锈钢双极板渗氮/氮化铬复合涂层及其制备方法

NºPublicación:  CN121737632A 27/03/2026
Solicitante: 
安徽大学中国科学院合肥物质科学研究院

Resumen de: CN121737632A

本发明公开了一种不锈钢双极板渗氮/氮化铬复合涂层及其制备方法,涉及燃料电池技术领域,其制备方法包括以下步骤:通过管式炉等离子体辅助渗氮在不锈钢表面形成富氮过渡层,再辅以磁控溅射沉积CrN涂层,构建“氮扩散层-CrN陶瓷层”复合结构。利用管式炉等离子体辅助渗氮这种新方法先进行第一步的渗氮,在不锈钢表面形成薄层的氮化铬,再通过磁控溅射直接在渗氮层的基础上制备反应溅射,制备致密的氮化铬涂层,实现涂层与基体间的化学键合与应力缓释,显著提升界面附着力与耐腐蚀协同性能。该方法兼具低温处理、工艺可控、成本适中等优势,为高性能金属双极板的表面改性提供了新思路。

地热驱动的燃料电池与跨临界二氧化碳循环热电联产系统

NºPublicación:  CN121739436A 27/03/2026
Solicitante: 
中国电建集团成都勘测设计研究院有限公司
CN_121739436_PA

Resumen de: CN121739436A

本发明公开了地热驱动的燃料电池与跨临界二氧化碳循环热电联产系统,包括相连接的地热采暖循环子系统、高温质子交换膜燃料电池子系统和跨临界二氧化碳循环子系统;地热采暖循环子系统为高温质子交换膜燃料电池子系统的反应工质预热并作为建筑采暖系统的热源,高温质子交换膜燃料电池子系统排放的余热作为跨临界二氧化碳循环子系统的热源,跨临界二氧化碳循环子系统通过喷射器、气液分离器和第一增压泵形成自冷凝循环机构。本发明实现对中低温地热能的高效梯级利用,实现电能与热能的协同产出,能够突破传统热机受到的卡诺循环限制,有效提高系统综合能效;还可实现跨临界二氧化碳循环的自冷凝,克服了二氧化碳在常规冷凝条件下受限的问题。

燃料电池用隔板及燃料电池

NºPublicación:  CN121748457A 27/03/2026
Solicitante: 
丰田自动车株式会社
CN_121748457_PA

Resumen de: CN121748457A

本发明提供一种能够抑制所生成的水积聚在氢出口附近的流路中的隔板。一种燃料电池用隔板,其在包围流路的边缘区域具有向流路侧凹陷的凹部,其中,在边缘区域形成有在氢出口孔附近氢流路的一部分连通的旁通流路,凹部与旁通流路连接。

一种基于新戊烷交联哌啶的聚合物膜及其制备方法与应用

NºPublicación:  CN121736211A 27/03/2026
Solicitante: 
东南大学
CN_121736211_PA

Resumen de: CN121736211A

本发明提供一种基于新戊烷交联哌啶的聚合物膜及其制备方法与应用,属于高分子材料技术领域。制备方法包括如下步骤:将酮基反应物与芳香族反应物溶于第一有机溶剂,在酸催化剂作用下反应,随后加入第一沉淀剂中沉淀、洗涤和干燥,得到聚芳基哌啶的聚合物粉末;随后溶于第二有机溶剂,加入第一甲基化试剂和碱性试剂反应,加入第二沉淀剂沉淀、洗涤和干燥,得到部分季铵化聚合物粉末;随后溶于第三有机溶剂,加入新戊烷交联剂反应后蒸发,得到部分季铵化的新戊烷交联聚合物膜;随后溶于第四有机溶剂,与第二甲基化试剂反应后蒸发,得到含有新戊烷交联哌啶的聚合物膜。本发明制备方法简单,原料获取便捷,适用于燃料电池或电解水等领域。

质子交换膜燃料电池气体供给系统建模与优化控制方法

NºPublicación:  CN121744990A 27/03/2026
Solicitante: 
四川轻绿科技有限公司
CN_121744990_PA

Resumen de: CN121744990A

本发明公开了一种质子交换膜燃料电池气体供给系统建模与优化控制方法,属于氢能源动力技术领域。本方法包括建立质子交换膜燃料电池气体供给系统的非线性状态空间模型;通过实验确定系统在不同负载电流下的最佳氧气过量比,并拟合为关于负载电流的参考函数;基于非线性状态空间模型,构建以跟踪最佳氧气过量比和最小化阴阳极压差为控制目标的模型预测控制问题,并表述为带约束的二次规划问题;采用交替方向乘子法对二次规划问题进行分解与迭代求解,得到当前控制周期的最优控制输入并作用于系统。本发明有效解决了传统模型预测控制因计算量大而难以在车载控制器中实时部署的问题,从而实现对质子交换膜燃料电池气体供给系统的高效、精准协同控制。

一种散热能力可调的分布式涵道风扇散热结构及温控方法

NºPublicación:  CN121734710A 27/03/2026
Solicitante: 
西安爱生技术集团有限公司
CN_121734710_PA

Resumen de: CN121734710A

本发明涉及无人机的燃料电池热管理技术领域,具体涉及一种散热能力可调的分布式涵道风扇散热结构及温控方法,包括:嵌设于涵道风扇的每个静导叶内的第一冷却流道以及嵌设于涵道风扇外壳上的第二冷却流道,多个相间隔的第一冷却流道之间通过第二冷却流道连通形成两条冷却通道;驱动泵用于驱动冷却工质管道的出口的介质进入两条冷却通道,并在静导叶和涵道风扇外壳散热后循环至氢燃料电池堆内;温控模块用于根据氢燃料电池堆的冷却工质管道的出口温度以及预设的温度范围,控制其中一个冷却通道通断,或者控制驱动泵通断电。本发明通过调节冷却通道的通断或者控制驱动泵的通断电,从而实现对氢燃料电池堆散热能力的动态调节。

复合粉体及复合粉体的制造方法、气体扩散层、膜电极接合体及燃料电池

NºPublicación:  CN121752640A 27/03/2026
Solicitante: 
松下知识产权经营株式会社
CN_121752640_PA

Resumen de: WO2025079675A1

Provided is a composite powder for use in gas diffusion layers which have sufficient gas permeability and water-discharging properties while keeping the interior of the MEA hydrous. The composite powder comprises: a polymer resin; and fibers and/or particles. The composite powder has an average porosity of 50-98 vol%.

分布式污水净化-废热利用-燃料电池集成系统

NºPublicación:  CN121735334A 27/03/2026
Solicitante: 
广东工业大学
CN_121735334_PA

Resumen de: CN121735334A

本发明涉及水处理技术领域,具体公开一种分布式污水净化‑废热利用‑燃料电池集成系统,包括污水处理模块、太阳能集热发电装置、气体回收模块、过滤模块、海水蒸发模块和质子交换膜燃料电池;气体回收模块连接于过滤模块的上部;过滤模块的污水入口与污水处理模块相连通,用于对污水进行净化处理;海水蒸发模块设置在过滤模块外围,海水蒸发模块配置为通过热传导吸收过滤模块的污水热量,以蒸发淡化海水;质子交换膜燃料电池与过滤模块的净水出口连通,质子交换膜燃料电池用于接收净化后的净水并完成电能输出;该系统解决了传统技术领域中多系统功能割裂、资源利用率低、能耗冗余的核心痛点。

一种提高SOFC系统高温绝缘阻值的螺栓紧固结构

NºPublicación:  CN121738983A 27/03/2026
Solicitante: 
浙江氢邦科技有限公司
CN_121738983_PA

Resumen de: CN121738983A

本发明提供了一种提高SOFC系统高温绝缘阻值的螺栓紧固结构,包括不锈钢底板、保温板、不锈钢顶板、螺杆、绝缘套管、上紧固绝缘组件和下紧固绝缘组件;保温板设置在不锈钢底板和不锈钢顶板之间,不锈钢底板、保温板和不锈钢顶板上设置有贯穿孔;绝缘套管放在贯穿孔内;螺杆穿在绝缘套管中,上紧固绝缘组件通过上螺帽抵紧在螺杆上部与不锈钢顶板之间的上紧固面上,下紧固绝缘组件通过下螺帽抵紧在螺杆下部和不锈钢底板之间的下紧固面上,绝缘套管抵紧在上紧固绝缘组件和下紧固绝缘组件之间。本发明的优点从整体结构上阻断金属部件直接导通路径,兼顾系统连接紧固性与高温作业持续性,解决单纯依赖材料难以稳定高温绝缘的核心问题。

一种具有梯度孔结构与杂元素掺杂电极材料及其制备方法和应用

NºPublicación:  CN121748456A 27/03/2026
Solicitante: 
华碳新材料科技(宿迁)有限公司
CN_121748456_PA

Resumen de: CN121748456A

本发明提供了一种具有梯度孔结构与杂元素掺杂电极材料及其制备方法和应用,属于全钒液流电池储能技术领域。本发明的方法包含如下步骤:将原丝纤维毡进行预氧化处理、碳化处理,得到碳纤维毡;将碳纤维毡在活化液中浸渍后烘干、煅烧处理,多孔碳毡进行石墨化处理,得到多孔石墨毡;将多孔石墨毡顺次在二氧化碳氛围和空气氛围下进行活化处理,得到梯度孔活化毡;将梯度孔活化毡在杂元素溶液中浸渍后煅烧处理,得到具有梯度孔结构与杂元素掺杂电极材料。本发明的方法得到了兼具良好亲水性、高比表面积、梯度孔隙结构、高能量效率和长循环稳定性的具有梯度孔结构与杂元素掺杂电极材料。

电压巡检辅助连接工装及电压巡检装置装配方法

NºPublicación:  CN121741238A 27/03/2026
Solicitante: 
东风汽车集团股份有限公司
CN_121741238_PA

Resumen de: CN121741238A

本申请公开了一种电压巡检辅助连接工装及电压巡检装置装配方法,解决相关技术中连接器与极耳对插装配效率低的技术问题。电压巡检辅助连接工装包括第一工装件和第二工装件,两个工装件均包括主体以及设于主体上且沿极耳的排列方向间隔设置的梳齿部;在第一工装件和第二工装件固定连接的情况下,第一梳齿部与对应的第二梳齿部在极耳的排列方向交错设置、且夹设于极耳的两侧,第一梳齿部、极耳和第二梳齿部在极耳的排列方向上的投影具有重叠区域。该重叠区域能够对极耳进行矫形,实现单电池极耳实际间距与理论间距统一,从而提高了连接器与极耳对插装配的装配效率和精度。

燃料电池膜电极及燃料电池

NºPublicación:  CN121748420A 27/03/2026
Solicitante: 
江苏擎动新能源科技有限公司
CN_121748420_PA

Resumen de: CN121748420A

一种燃料电池膜电极及燃料电池,属于燃料电池领域。燃料电池膜电极包括依次层叠设置的阴极扩散层、阴极催化层、质子交换膜、阳极催化层、阳极微孔层以及第一基底层,阳极微孔层中的抗氧化剂的质量占比≤5%,阳极微孔层的表面接触角‑第一基底层的表面接触角=5°‑10°,阳极微孔层的表面接触角‑阳极催化层的表面接触角=5°‑15°。燃料电池膜电极具有兼顾优良的耐久性以及本征性能。

NºPublicación:  CN121752760A 27/03/2026
Solicitante: 
庄信万丰氢能科技有限公司
CN_121752760_PA

Resumen de: WO2025068713A1

The specification describes bilayer electrolyte membrane comprising: a first layer comprising a polymer electrolyte having particles of a recombination catalyst dispersed therein; and a second layer comprising a polymer electrolyte not having any recombination catalyst dispersed therein; wherein the thickness of the bilayer electrolyte membrane is 40-60 µm; the concentration of recombination catalyst in the first layer is 1-100 µg/cm2; and the bilayer electrolyte membrane is a single coherent polymer film. Also described is a method for preparing the bilayer electrolyte membrane, a catalyst coated membrane for an electrochemical device comprising the bilayer electrolyte membrane, and a fuel cell comprising the catalyst coated membrane.

提升循环稳定性和电化学性能的液流电池电极及制备方法

NºPublicación:  CN121748411A 27/03/2026
Solicitante: 
西子清洁能源装备制造股份有限公司
CN_121748411_PA

Resumen de: CN121748411A

本申请属于液流电池储能技术领域,具体涉及一种提升循环稳定性和电化学性能的液流电池电极及制备方法。该制备方法包括:将预处理的石墨毡,经碱处理,酸处理,得到多孔电极材料并进行浸渍处理,经聚合反应和加热固化处理,获得热响应自修复和纳米增强材料涂层修饰的电极材料;将其经前驱体溶液处理,获得具有氧化钽纳米结构基底的电极材料;使用六水合硝酸钕、六水合硝酸铈、乙二醇去离子水溶液的混合液,浸渍具有氧化钽纳米结构基底的电极材料,经分段式升温处理,获得提升循环稳定性和电化学性能的液流电池电极。该电极兼顾了高活性与长寿命,有利于电池能量效率、功率密度及长期循环稳定性的提升。

一种电池单低原因排查方法

NºPublicación:  CN121748441A 27/03/2026
Solicitante: 
中汽创智科技有限公司
CN_121748441_PA

Resumen de: CN121748441A

本申请公开了一种电池单低原因排查方法,方法包括:在待检测电堆出现单低现象时,对待检测电堆进行断路和短路排查;若断路和短路排查指示待检测电堆不存在断路和短路问题时,对待检测电池进行膜电极穿孔排查;若膜电极穿孔排查指示待检测电堆不存在膜电极穿孔问题时,确定待检测电堆的单低位置;基于单低位置对应的排查策略对待检测电堆进行排查。在本申请实施例中,首先判断单低是否为短路断路造成,其次判断是否为膜电极穿孔,其他可能原因具体根据单低位置针对性排查处理,通过对单低原因导致的灾难后果严重程度和发展速度列出排查优先级,可以针对不同情况对应处理,有助于快速判断单低原因,阻止单低情况发生严重后果。

一种考虑膨胀能量回收的燃料电池透平空压机控制方法

NºPublicación:  CN121749828A 27/03/2026
Solicitante: 
福州大学

Resumen de: CN121749828A

本发明涉及一种考虑膨胀能量回收的燃料电池透平空压机控制方法,构建包括转速外环自抗扰控制模块、电流内环解耦PI控制模块、转速信号滤波模块的控制系统;采用由转速环和电流环构成的控制结构,转速外环自抗扰模块在传统控制基础上引入了超局部方程与扩张状态观测器。通过超局部模型对系统状态和扰动进行建模,扩张状态观测器实时估计空压机系统中由负载转矩、反电动势和其他扰动引起的影响,并进行在线补偿;电流环采用基于自抗扰控制的策略,实时估算电流控制中的扰动,并进行补偿,从而提高电流控制精度和响应速度。通过转速滤波模块将转速传感器信号转换为机械电角度信号,通过延迟补偿机制减小系统控制延迟影响,确保空压机保持平稳运行。

一种反应物预储存式线基微流体燃料电池

NºPublicación:  CN121748405A 27/03/2026
Solicitante: 
重庆大学
CN_121748405_A

Resumen de: CN121748405A

本发明公开了一种反应物预储存式线基微流体燃料电池,该燃料电池包括阳极、阴极以及分隔件,分隔件将阳极和阴极绝缘分隔。阳极具有多孔结构,阳极沿其轴向依次设有入口区及反应区,反应区负载有催化剂颗粒,阳极上负载有燃料颗粒,阴极用于提供氧化剂。其中,阳极在毛细作用下吸引溶剂,燃料颗粒与溶剂接触后溶解形成溶液,溶液在反应区的催化剂以及分隔件的作用下,发生电化学反应输出电流。电极集燃料和氧化剂的被动式运输、电化学反应场所和反应物储存为一体,仅外部提供溶剂即可启动电池,避免了传统的线基微流体燃料电池体积较大,降低电池集成度的问题,适合应用于目前许多类型的可穿戴电池中。

一种膜电极组件及其制造方法

NºPublicación:  CN121753157A 27/03/2026
Solicitante: 
W.L.\u6208\u5C14\u53CA\u540C\u4EC1\u80A1\u4EFD\u6709\u9650\u516C\u53F8
W.L.\u6208\u5C14\u6709\u9650\u516C\u53F8
\u65E5\u672C\u6208\u5C14\u5408\u540C\u4F1A\u793E
CN_121753157_PA

Resumen de: EP1000000A1

The invention relates to an apparatus (1) for manufacturing green bricks from clay for the brick manufacturing industry, comprising a circulating conveyor (3) carrying mould containers combined to mould container parts (4), a reservoir (5) for clay arranged above the mould containers, means for carrying clay out of the reservoir (5) into the mould containers, means (9) for pressing and trimming clay in the mould containers, means (11) for supplying and placing take-off plates for the green bricks (13) and means for discharging green bricks released from the mould containers, characterized in that the apparatus further comprises means (22) for moving the mould container parts (4) filled with green bricks such that a protruding edge is formed on at least one side of the green bricks.

一种燃料电池用树脂浸渍液的处理方法及应用

NºPublicación:  CN121736150A 27/03/2026
Solicitante: 
浙江天能氢能源科技有限公司
CN_121736150_PA

Resumen de: CN121736150A

本发明提供一种燃料电池用树脂浸渍液的处理方法及应用。该处理方法,包括以下步骤:(1)记录初始树脂浸渍液中的引发剂含量a,测定初始树脂浸渍液的固化时间t0;(2)测定失活后的树脂浸渍液的固化时间t1;(3)计算引发剂补加量b=a×(t1‑t0)/t0,根据计算结果向失活后的树脂浸渍液中补加引发剂。本发明基于树脂浸渍液失活前后的固化时间变化计算引发剂补加量,该方法通过物理、化学、力学多维度验证,确保处理后的树脂浸渍液与失活前的初始树脂浸渍液的效果相差不大。本发明的处理方法简单易行,且很大程度地节省了成本。

一种用于全碱性锰基开路液流电池的改性石墨毡电极及其制备方法

NºPublicación:  CN121748424A 27/03/2026
Solicitante: 
北京化工大学衢州资源化工创新研究院
CN_121748424_PA

Resumen de: CN121748424A

本发明公开了一种用于全碱性锰基开路液流电池的改性石墨毡电极及其制备方法,首先对石墨毡基体进行预处理,然后将预处理后的石墨毡基体置于电解液中进行电化学活化处理,最后将电化学活化处理后的石墨毡进行烘干处理,即得改性石墨毡电极。本发明制备方法简便,得到的改性石墨毡电极具有亲水性、电化学活性面积大、传质内阻小的特点,电极性能提升明显,能够提高普通石墨毡的电化学活性和表面润湿性,从而提高开路液流电池的倍率性能和稳定性。

一种氢燃料电池的冷却水路的加热保温装置及方法

NºPublicación:  CN121748434A 27/03/2026
Solicitante: 
佛山市飞驰汽车科技有限公司
CN_121748434_PA

Resumen de: CN121748434A

本发明涉及氢燃料电池技术领域,且公开了一种氢燃料电池的冷却水路的加热保温装置及方法,包括冷却水路主体,冷却水路主体的外侧固定连接有恒温层。本发明在冷却水路主体的外侧有恒温层,恒温层包括恒温壳体,恒温壳体通过恒温器一和恒温器二配合使用,保持冷却水路主体温度平衡,并且在冷却水路主体的一侧设置了加热结构,加热结构包括压力密封入孔,压力密封入孔连接了加热结构和冷却水路主体,然后冷却水路主体通过给水进口将水源输送至加热结构的内侧,蒸汽冷却段遮热板通过隔断板以及定距管的连接,将热量传输至疏水冷却段隔板,疏水冷却段隔板通过疏水出口将热量传输给冷却水路主体,起到加热的效果。

一种氢燃料叉车水蒸气高位排气系统

NºPublicación:  CN121734086A 27/03/2026
Solicitante: 
杭叉集团股份有限公司杭叉集团(天津)新能源叉车有限公司
CN_121734086_PA

Resumen de: CN121734086A

本发明公开了一种氢燃料叉车水蒸气高位排气系统,设于安装有燃料电池的叉车车体上,本氢燃料叉车水蒸气高位排气系统包括导气过渡装置和排气管总成,导气过渡装置一端连接燃料电池,另一端连接排气管总成。通过设置导气过渡装置和排气管总成,将燃料电池产生的水蒸气引导至高位排出,改变了传统朝下排气导致水蒸气在车架底部形成冷凝水的状况。这有效避免了车架底部因长期积水而出现油漆面破坏、腐蚀等问题,从而延长车架的使用寿命,保证叉车结构的完整性和稳定性,进而提升叉车整体的可靠性和耐久性。

電池積層体を組み立てるための装置および方法

NºPublicación:  JP2026510039A 27/03/2026
Solicitante: 
シェフラーテクノロジーズアー・ゲーウントコー.カー・ゲー
JP_2026510039_A

Resumen de: CN120826801A

A device for assembling a cell stack (7), in particular a fuel cell stack, comprises a processing device (2), which comprises a gripper (6) and a positioning and pressure system (10), which is designed to compress the partially completed cell stack (7). The positioning and pressing system (10) comprises a lifting device (11) arranged to accommodate the cell stack (7) in any production stage and a transverse fixing device (12) located above the lifting device (11), the transverse fixing device consisting of a plurality of components (13, 14), wherein the components (13, 14) are provided for bearing against the cell stack (7) in vertical and horizontal directions and can be adjusted and fixed in both directions.

Fe-N-C@MXene复合材料及其合成方法和在微生物燃料电池的应用

NºPublicación:  CN121748416A 27/03/2026
Solicitante: 
南京理工大学
CN_121748416_PA

Resumen de: CN121748416A

本发明公开了一种Fe‑N‑C@MXene复合材料及其合成方法和在微生物燃料电池的应用。所述方法采用原位生长策略,在单层Ti3C2Tx MXene表面构筑MIL‑101(Fe),形成界面结合良好的MIL‑101(Fe)@MXene复合材料,再引入三聚氰胺作为氮源,通过高温热解实现协同氮掺杂与碳化,构建具有高比表面积与丰富活性位点的Fe‑N‑C@MXene复合材料。本发明的Fe‑N‑C@MXene复合材料不仅具备优异的导电性和结构稳定性,还具有多级孔道和高密度的电催化活性中心,有效促进氧气扩散和界面反应动力学。在MFC性能测试中,其作为阴极催化剂显著提升了电池输出电压和最大功率密度,超过了商用Pt/C催化剂,表现出广阔的应用前景。

双极板的仿形热压贴合方法及热压装置

NºPublicación:  CN121748430A 27/03/2026
Solicitante: 
湖南耕驰新能源科技有限公司
CN_121748430_PA

Resumen de: CN121748430A

本发明公开了一种双极板的仿形热压贴合方法及热压装置,属于石墨双极板制造技术领域。所述方法包括以下步骤:将压合设备的工作面设置为与待贴合单极板的胶道区域的受力面相互补的仿形结构,以便在压合过程中能够压实胶道区域对应的单极板;并且,在压合过程中对胶道中的胶水进行供热,使胶水发生预固化,防止或减少胶水出现流变现象。本发明在将两块单极板压合形成双极板过程中能够压实胶道区域对应的部位,整个胶道区域受力均匀,避免局部压力缺失或过载,从而确保粘连效果;同时,在压合过程中对胶水进行供热可使胶水发生预固化,减少其发生流变的趋势,胶水的流动在压合全程处于受控状态,最终确保产品的生产质量。

一种用于提升空冷膜电极制备效率的工艺

NºPublicación:  CN121748408A 27/03/2026
Solicitante: 
苏州智合铭新能源科技有限公司
CN_121748408_A

Resumen de: CN121748408A

本申请涉及一种用于提升空冷膜电极制备效率的工艺,属于氢燃料电池技术领域。该工艺采用涂布、转印与喷涂相结合的方式:先通过涂布在质子交换膜阴极侧形成致密的内层催化层,其采用介孔或高活化极化催化剂,载量为0.16‑0.25mg/cm²;再通过转印在阳极侧形成载量为0.10‑0.15mg/cm²的催化层;最后通过喷涂在阴极内层上形成疏松的外层催化层,其采用普通铂碳催化剂,载量为0.15‑0.20mg/cm²。所述三种工艺所用浆料采用同种树脂和同种溶剂以确保界面兼容性。本发明构建了“内密外疏”的梯度结构,解决了空冷膜电极高性能与低成本、高效率生产难以兼得的矛盾,同时提升了电池的输出性能和耐久性。

燃料电池用催化剂墨水的制造方法

NºPublicación:  CN121748407A 27/03/2026
Solicitante: 
丰田自动车株式会社

Resumen de: CN121748407A

本发明的目的在于提供一种能够制作发电性能提高的燃料电池电极的催化剂墨水的制造方法。本发明涉及一种燃料电池用催化剂墨水的制造方法,其具备如下工序:使作为担持有催化剂的载体粒子的催化剂担持载体粒子分散于溶剂中来准备催化剂分散液;混合离聚物和挥发性溶剂来准备凝胶体;及搅拌混合所述催化剂分散液和所述凝胶体来制作催化剂墨水,控制搅拌速度及搅拌时间而进行所述催化剂分散液与所述凝胶体的搅拌混合。

电解电堆性能评估方法及设备

NºPublicación:  CN121740981A 27/03/2026
Solicitante: 
国家能源投资集团有限责任公司北京低碳清洁能源研究院
CN_121740981_PA

Resumen de: CN121740981A

本发明公开电解电堆性能评估方法及设备。方法包括:获取电解电堆运行过程中在多个电流密度下测量得到的电化学阻抗谱;根据弛豫时间分布函数与电化学阻抗谱的阻抗数据的关系,确定电解电堆内部多个极化过程的特征频率段,根据特征频率段,确定电解电堆中溶液离子扩散过程、阴阳极的电荷转移过程和物质传输过程;进行性能评估。本发明利用弛豫时间分布方法通过识别不同的频率来量化不同的电化学过程,进而对电解电堆的全过程,如各部件内阻、离子传输过程、阴极和阳极反应动力学过程、气泡/电解质传输过程等内部电化学特征指标进行详细解析,以此来提高电解电堆的性能评估和故障诊断。

燃料电池分隔体用前体片材和燃料电池分隔体

NºPublicación:  CN121753158A 27/03/2026
Solicitante: 
日清纺化学株式会社
CN_121753158_A

Resumen de: WO2025047260A1

This precursor sheet for a fuel cell separator contains graphite particles, a particulate or fibrous water-insoluble resin, and a water-soluble resin. The content of the water-soluble resin is 0.8-18.0 parts by mass per 100 parts by mass of the graphite particles. The content of the particulate or fibrous water-insoluble resin is 19.0-63.0 parts by mass per 100 parts by mass of the graphite particles. The precursor sheet can be reverted into a slurry in an aqueous solvent, and thus it is possible to reuse defective articles and waste material generated during processing is made possible, and a separator that exhibits good strength, low volume resistivity, and high gas impermeability is obtained.

一种基于模型的燃料电池空压机高速电机控制台架及方法

NºPublicación:  CN121749818A 27/03/2026
Solicitante: 
福州大学
CN_121749818_PA

Resumen de: CN121749818A

本发明涉及一种基于模型的燃料电池空压机高速电机控制台架及方法,所述控制台架包括空压机高速电机负载控制模型、大功率直流电源、三相两电平电机驱动器、电机快速原型控制器、上位机、永磁同步电机、电涡流制动器、转矩传感器及信号采集与编码单元。所述控制台架基于空压机MAP数据与负载转矩寻优算法构建负载控制模型,根据任意转速计算对应最高绝热效率点的目标负载转矩,并控制电涡流制动器进行精确负载模拟;同时,通过快速原型控制器将用户自定义控制算法自动编译部署至电机驱动器,驱动永磁同步电机在模拟负载下运行,结合高精度信号反馈,实现对控制算法的安全、高效、高保真实时闭环验证,显著缩短了研发周期。

一种车载快速放氢用储氢装置及其使用方法

NºPublicación:  CN121739281A 27/03/2026
Solicitante: 
武汉工程大学
CN_121739281_PA

Resumen de: CN121739281A

本发明提供了一种车载快速放氢用储氢装置及其使用方法,一种车载快速放氢用储氢装置,包括:罐体、液体循环机构以及电热机构,所述液体循环机构以及所述电热机构均安装在所述罐体的外侧壁上。放氢时通过高效地电加热及热水循环机构外部供热,提升温度,从而加快反应速率实现快速放氢。吸氢时通过外部通冷水降温的方式带走热量,降低合金床层温度从而提升吸氢反应速率。通过设计液体循环机构以及电热机构改善换热效果,提高了储氢合金的瞬时放氢速率,解决了固态合金储氢装置热量传递效率低下且放氢速率缓慢的问题。

Metal element-doped perovskite-based composite materials for SOC cathodes and method of manufacturing thereof

NºPublicación:  KR20260041379A 27/03/2026
Solicitante: 
인천대학교산학협력단

Resumen de: KR20260041379A

본 발명은 고체산화물 전지의 공기극용 금속 원소 도핑 페로브스카이트 산화물 및 이의 제조방법에 관한 것으로, 구체적으로 본 발명은 금속 원소인 코발트가 도핑된 페로브스카이트 구조 산화물 및 이온 전도성 산화물을 포함하는 공기극 재료 및 공기극 재료를 포함하는 고체산화물 전지용 공기극에 관한 것이며, 또한 본 발명은 본 발명의 고체산화물 전지용 공기극; 상기 공기극 상에 위치하는 전해질층; 및 상기 전해질층 상에 위치하는 연료극을 포함하는 고체산화물 전지에 관한 것이다.

制造用于电化学电池、尤其是燃料电池的膜电极单元(MEA)的方法以及用于制造MEA的设备

NºPublicación:  CN121748406A 27/03/2026
Solicitante: 
卡尔·弗罗伊登伯格公司
CN_121748406_PA

Resumen de: EP1000000A1

The invention relates to an apparatus (1) for manufacturing green bricks from clay for the brick manufacturing industry, comprising a circulating conveyor (3) carrying mould containers combined to mould container parts (4), a reservoir (5) for clay arranged above the mould containers, means for carrying clay out of the reservoir (5) into the mould containers, means (9) for pressing and trimming clay in the mould containers, means (11) for supplying and placing take-off plates for the green bricks (13) and means for discharging green bricks released from the mould containers, characterized in that the apparatus further comprises means (22) for moving the mould container parts (4) filled with green bricks such that a protruding edge is formed on at least one side of the green bricks.

双管热交换器及其制造方法、用途和加氢站

NºPublicación:  CN121752863A 27/03/2026
Solicitante: 
林德有限责任公司
CN_121752863_PA

Resumen de: AU2024338643A1

The invention relates to a double-tube heat exchanger for heating a cryogenic fluid, in particular cryogenic hydrogen, said heat exchanger comprising an outer tube and an inner tube located inside the outer tube, the inner tube being designed to allow the flow of the cryogenic fluid, and a gap between the inner tube and the outer tube being designed to allow the flow of a heat exchange medium, the double-tube heat exchanger also comprising an intermediate piece (240) which surrounds the inner tube and is positioned in the gap, the intermediate piece (240) having an at least substantially cylindrical main body (242) with a longitudinal axis (L), the main body (242) having a through-opening (246) along the longitudinal axis (L), through which through-opening the inner tube is guided, the intermediate piece (240) having fins (244) on an outer side of the main body (242) which extend at least substantially parallel to the longitudinal axis (L) and are oriented radially with respect to the longitudinal axis (L), and the intermediate piece (240) being clamped onto the inner tube.

燃料电池系统、用于运行燃料电池系统的方法和车辆

NºPublicación:  CN121748445A 27/03/2026
Solicitante: 
罗伯特·博世有限公司
CN_121748445_PA

Resumen de: EP1000000A1

The invention relates to an apparatus (1) for manufacturing green bricks from clay for the brick manufacturing industry, comprising a circulating conveyor (3) carrying mould containers combined to mould container parts (4), a reservoir (5) for clay arranged above the mould containers, means for carrying clay out of the reservoir (5) into the mould containers, means (9) for pressing and trimming clay in the mould containers, means (11) for supplying and placing take-off plates for the green bricks (13) and means for discharging green bricks released from the mould containers, characterized in that the apparatus further comprises means (22) for moving the mould container parts (4) filled with green bricks such that a protruding edge is formed on at least one side of the green bricks.

연료 전지용 바이폴라 플레이트

NºPublicación:  KR20260041871A 27/03/2026
Solicitante: 
셀센트릭게엠베하운트콤파니카게
CN_121794809_PA

Resumen de: WO2025045888A1

A bipolar plate (100) for fuel cells comprises two partial plates (50, 60) which are interconnected by an adhesive connection (20). The first and the second partial plate (21,..., 27) are joined in such a manner that surfaces of the partial plates (50, 60) facing outwards form, respectively, a cathode side and anode side of the bipolar plate (10), wherein the partial plates (50, 60) each have, on at least one of their surfaces, a surface structure (51, 61) with corresponding ports (11;..., 16) for conducting a fluid along the relevant surface. The adhesive connection (20) interconnects the partial plates (50, 60) via their inwardly facing surfaces and has a plurality of connection pieces (21,..., 27), wherein the adhesive connection (20) seals the surface structures (51, 61) with respect to one another and has, at least between two adjacent ports (13; 14), at least two connection pieces (25, 26), spaced apart from one another by an intermediate space (40; 41), as a multiple seal (28; 29).

用于运行燃料电池系统的方法以及燃料电池系统

NºPublicación:  CN121753159A 27/03/2026
Solicitante: 
罗伯特·博世有限公司
CN_121753159_PA

Resumen de: WO2025045547A1

The invention relates to a method for operating a fuel-cell system and to a fuel cell system. The method comprises the step of: actuating a proportional valve device in order to control an amount of a recirculation medium which is supplied to a fuel line of a fuel cell stack from a recirculation circuit, wherein the proportional valve device is operated continuously over time or in a pulsed manner depending on a predetermined operating parameter, so that in the pulsed operation at least one pressure pulse is produced in the fuel cell stack. The fuel cell system is equipped with - a fuel cell stack with an anode and a cathode; - a recirculation circuit for recirculating a recirculation medium at the anode; - a fuel line for supplying the fuel cell stack with a fuel, in particular hydrogen; - a proportional valve device, which is connected to the fuel line and to the recirculation circuit; - a control device, which is connected to the fuel line and/or to the recirculation circuit and/or to the proportional valve device and is configured to carry out such a method.

用于蒽醌官能化的系统和方法

NºPublicación:  CN121737737A 27/03/2026
Solicitante: 
哈佛学院菎能有限公司
CN_121737737_PA

Resumen de: JP2024144417A

To realize synthetic functionalization of anthraquinone molecules substituted with at least one hydroxyl group or amino group.SOLUTION: According to part of embodiments of the present invention, synthetic functionalization of anthraquinone molecules occurs not chemically but electrochemically by using a divided electrolytic tank.SELECTED DRAWING: Figure 2

用于电化学装置的隔板和包括该隔板的电化学装置

NºPublicación:  CN121752763A 27/03/2026
Solicitante: 
三星电机株式会社
CN_121752763_PA

Resumen de: WO2025127816A1

An example embodiment of the present disclosure provides a separator for an electrochemical device including a fluid inlet, a fluid outlet, and a plurality of streamlined walls configured to provide at least a portion of a flow path connected to the fluid inlet and the fluid outlet, and at least two of the plurality of streamlined walls, including one streamlined wall closer to the fluid inlet than another streamline wall, have a shape in which straight lines connecting one end and the other end are not parallel to each other.

电化学设备

NºPublicación:  CN121752762A 27/03/2026
Solicitante: 
罗伯特·博世有限公司
CN_121752762_PA

Resumen de: WO2024261031A1

The invention relates to an electrochemical system (1), in particular an electrolysis system, comprising at least two modules (2), in particular electrolysis modules, each comprising at least one stack (19) which is connected to a main supply line (4) via a supply line (3) for supplying a medium, in particular water, wherein a respective at least one valve (5, 6, 7) is arranged in the supply lines (3) for switching a bypass (8) a) for bypassing the respective module (2) and/or the at least one stack (19) of the module (2) and/or b) for limiting, in particular throttling, the through-flow in the direction of the respective module (2) or the at least one stack (19).

可调式溢流组件及液流电池系统

NºPublicación:  CN224053150U 27/03/2026
Solicitante: 
绍兴柯桥星辰新能源有限公司
CN_224053150_U

Resumen de: CN224053150U

本实用新型提供了一种可调式溢流组件及液流电池系统,可调式溢流组件包括第一溢流管、第二溢流管和调节机构,第一溢流管包括第一连接管、第二连接管和连接第一连接管与第二连接管的第一摆动管,第二溢流管包括第三连接管、第四连接管和连接第三连接管与第四连接管的第二摆动管,第一连接管与第三连接管连接,第二连接管与第一储罐的溢流孔转动连接,第四连接管与第二储罐的溢流孔转动连接,使得连通的第一溢流管与第二溢流管构成能够在一定的高度范围内进行摆动的溢流组件,仅需通过调节机构调节并定位溢流组件的摆动位置,使得溢流组件的高度位置与第一储罐中的电解液实际液位匹配,从而无需加灌电解液就能使得第一储罐中的电解液实现溢流。

一种液流电池的膜密封结构

NºPublicación:  CN224053146U 27/03/2026
Solicitante: 
安徽湓润环保科技有限公司
CN_224053146_U

Resumen de: CN224053146U

本实用新型公开了一种液流电池的膜密封结构,涉及液流电池技术领域。本实用新型包括液流电池膜本体,液流电池膜本体相对两侧面均插接配合有第一边框件,液流电池膜本体另一相对两侧面均插接配合有第二边框件。本实用新型对电池膜本体、第一边框件、第二边框件、连接件的设计及配合关系,解决了现有的液流电池的膜密封结构在对液流电池内部的液流电池膜进行组装密封时,其多是将液流电池膜拼接组装至一个整体的矩形框架结构内部,容易导致其后期在进行组装时,其液流电池膜的边缘位置存在褶皱,对后期的使用过程产生影响,给工作人员的后期组装过程带来了一定的不便性的技术问题。

一种电堆端板和电堆

NºPublicación:  CN224053155U 27/03/2026
Solicitante: 
廊坊市飞泽复合材料科技有限公司大连融科储能技术发展有限公司中国石化上海石油化工股份有限公司
CN_224053155_U

Resumen de: CN224053155U

本申请涉及液流电池电堆技术领域,尤其涉及一种电堆端板和电堆。该种电堆端板具有第一补偿凸部和第二补偿凸部,第一补偿凸部为端板对应电池单体的电极的区域向电极方向凸出形成,第二补偿凸部为第一补偿凸部的中心区域向电极方向凸出形成;当端板夹持电池单体时,第一补偿凸部和第二补偿凸部在电极的挤压作用下趋于平展,以补偿端板向外的弹性变形。该种电堆端板和电堆,端板通过设置双重预凸结构,受压后分别补偿电极周围区域和中心区域导致的端板向外的弹性变形,确保端板组装后及电堆运行过程中电池单体的密封性,降低电解液泄露的风险。

一种端板结构和氢燃料电池

NºPublicación:  CN224053154U 27/03/2026
Solicitante: 
国鸿氢能科技(嘉兴)股份有限公司
CN_224053154_U

Resumen de: CN224053154U

本实用新型涉及氢燃料电池技术领域,公开了一种端板结构和氢燃料电池,端板结构包括:板体,采用塑料材质制成,所述板体的正面具有第一凹槽,所述第一凹槽用于安装集流板,所述板体的侧面具有第二凹槽和第一安装孔,所述第二凹槽用于安装极耳,所述板体的背面具有第二安装孔;第一螺母,安装于所述第一安装孔中;以及第二螺母,安装于所述第二安装孔中;其中,所述第一凹槽、所述第一安装孔和所述第二安装孔之间两两不相贯通。本实用新型端板结构绝缘效果好,提高电堆空间利用率,方便安装使用。

一种单电池单元及燃料电池电堆

NºPublicación:  CN224053153U 27/03/2026
Solicitante: 
国鸿氢能科技(嘉兴)股份有限公司
CN_224053153_U

Resumen de: CN224053153U

本实用新型涉及燃料电池技术领域,公开了一种单电池单元及燃料电池电堆,具有两两相交的第一方向和第二方向,包括层叠设置的氢单极板、氧单极板和膜电极组件,所述氢单极板的一侧连接有所述氧单极板,所述氢单极板的另一侧通过密封胶连接有所述膜电极组件;所述氢单极板朝向所述膜电极组件的一侧设有支撑桥、排气槽、溢胶槽和排胶槽,所述膜电极组件背向所述氢单极板的一侧设有注塑胶线,所述氧单极板背向所述氢单极板的一侧开设有与所述注塑胶线对应的密封槽。本实用新型的有益效果:提高燃料电池电堆的稳定性以及发电量;降低膜电极组件的另一侧与双极板之间粘接难度,降低生产成本,提升燃料电池电堆成品的良品率。

PROCEDE DE DETECTION DE FUITE D’UN SYSTEME D’ALIMENTATION EN GAZ COMPRIME

Nº publicación: FR3166698A1 27/03/2026

Solicitante:

STELLANTIS AUTO SAS [FR]
STELLANTIS AUTO SAS

FR_3166698_A1

Resumen de: FR3166698A1

La présente invention a pour objet un procédé de détection de fuite dans un système d’alimentation en gaz comprimé (1), le procédé comportant une première phase de diagnostic d’étanchéité de la conduite (8) comprenant au moins un test de fuite se basant sur une dépression contrôlée dans un secteur (5, 6) de la conduite (8), un test de fuite se basant sur une surveillance de la variation d’un paramètre du gaz lorsque les secteurs (5, 6) de la conduite en amont et en aval d’un élément d’arrêt (V3a, V4) ont un écart de pression, et en cas de réussite de la première phase de diagnostic, une deuxième phase de diagnostic d’étanchéité de la conduite (8) consistant à activer au moins un test de fuite lorsque lesdits secteurs (5, 6) ont la même valeur de pression. Figure 1.

traducir