Ministerio de Industria, Turismo y Comercio LogoMinisterior
 

Alerta

Resultados 1315 resultados
LastUpdate Última actualización 03/11/2025 [07:10:00]
pdfxls
Publicaciones de los últimos 15 días/Last 15 days publications (excluidas pubs. CN y JP /CN and JP pubs. excluded)
previousPage Resultados 275 a 300 de 1315 nextPage  

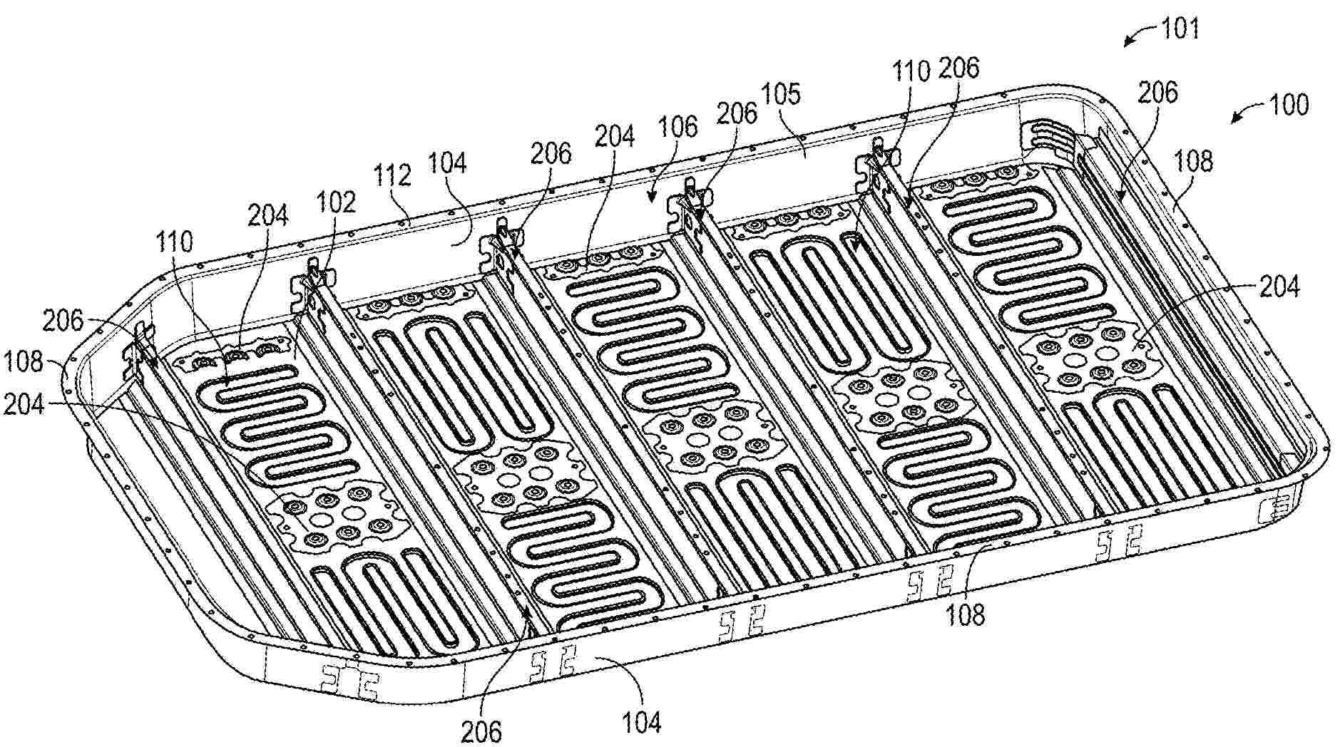
ELECTRIC VEHICLE BATTERY ENCLOSURE

NºPublicación:  US2025337083A1 30/10/2025
Solicitante: 
FLEX N GATE ADVANCED PRODUCT DEV LLC [US]
FLEX-N-GATE ADVANCED PRODUCT DEVELOPMENT, LLC
US_2025337083_PA

Resumen de: US2025337083A1

A battery enclosure includes a tub defining an internal volume, a lid, a cross member within the internal volume, and a mounting bracket. The tub has a bottom and a wall integrally formed with the bottom. The lid is configured to couple to the wall to enclose the internal volume. The cross member is coupled to the tub. The mounting bracket is attached to the bottom of the tub and is configured to releasably secure a battery.

BATTERY DEHUMIDIFICATION STRUCTURE AND BATTERY PACK

NºPublicación:  US2025337145A1 30/10/2025
Solicitante: 
EVE ENERGY CO LTD [CN]
EVE ENERGY CO., LTD
US_2025337145_PA

Resumen de: US2025337145A1

A battery dehumidification structure and a battery pack are provided. The battery dehumidification structure includes a shell and a drying assembly. The shell is provided with a first mounting region and a water vapor deposition region. The first mounting region is configured to mount a battery set. The water vapor deposition region is provided with a second mounting region. The drying assembly is arranged in the second mounting region, so as to remove water vapor from the battery set.

BATTERY CELL SUPPORT ASSEMBLY WITH INTEGRATED THERMAL EVENT MITIGATION

NºPublicación:  US2025337079A1 30/10/2025
Solicitante: 
GM GLOBAL TECH OPERATIONS LLC [US]
GM GLOBAL TECHNOLOGY OPERATIONS LLC
US_2025337079_PA

Resumen de: US2025337079A1

A multi-cell rechargeable energy storage system (RESS) includes battery cells with each of the battery cell having a respective cell vent configured to expel gases. A cell holder is configured to support the battery cells and includes a holder body defining apertures arranged in rows. Each aperture is configured to align with and be in fluid communication with the cell vent of one of the battery cells. Thermal event passageways are located adjacent the cell holder with each thermal event passageway extending parallel to a respective row of apertures. A potting material at least partially surrounding the battery cells and a sensor assembly is in each of the thermal event passageways.

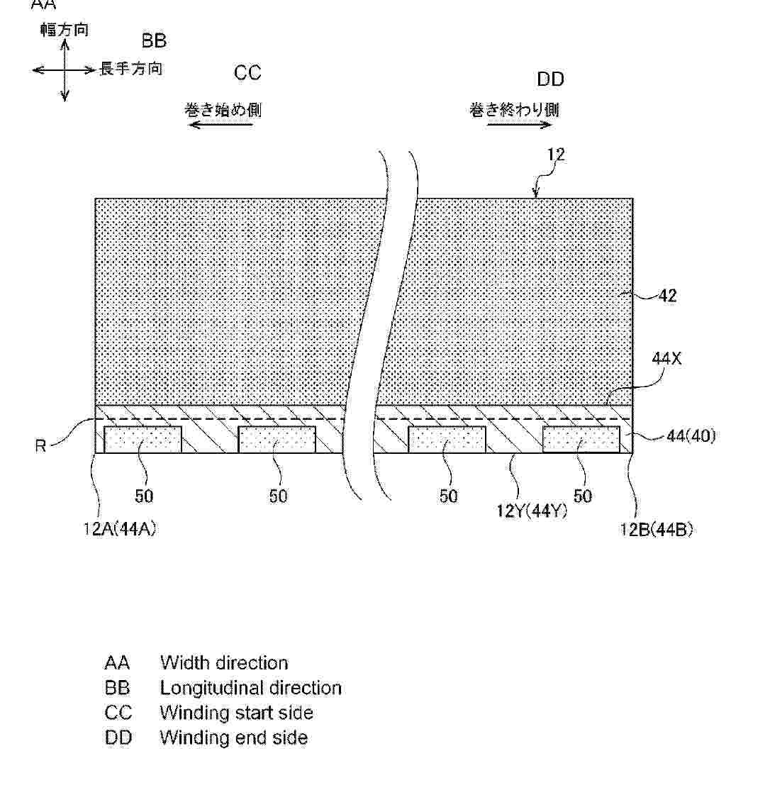
NON-AQUEOUS ELECTROLYTE SECONDARY BATTERY

NºPublicación:  WO2025225437A1 30/10/2025
Solicitante: 
PANASONIC INTELLECTUAL PROPERTY MAN CO LTD [JP]
\u30D1\u30CA\u30BD\u30CB\u30C3\u30AF\uFF29\uFF30\u30DE\u30CD\u30B8\u30E1\u30F3\u30C8\u682A\u5F0F\u4F1A\u793E
WO_2025225437_PA

Resumen de: WO2025225437A1

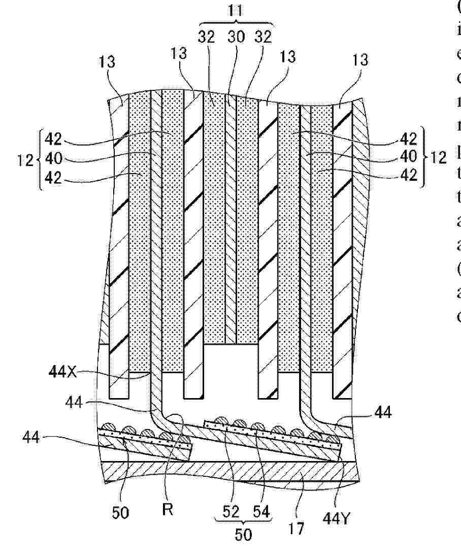
Provided is a non-aqueous electrolyte secondary battery comprising: an electrode body in which a belt-like first electrode (12) and a belt-like second electrode are wound in a longitudinal direction via a separator; and a non-aqueous electrolyte. The first electrode (12) has a first electrode core body (40) and a first electrode mixture layer (42) disposed on the first electrode core body (40). At one end of the electrode body of the first electrode (12) in the axial direction, a first electrode core body exposed part (44) is provided, in which the first electrode mixture layer (42) is not disposed and the first electrode core body (40) is exposed. On the surface of the first electrode core body exposed part (44), a plurality of resin layers (50) are disposed at intervals in the longitudinal direction of the first electrode (12).

NEGATIVE ELECTRODE ACTIVE MATERIAL AND FLUORIDE ION SECONDARY BATTERY

NºPublicación:  WO2025225441A1 30/10/2025
Solicitante: 
PANASONIC ENERGY CO LTD [JP]
\u30D1\u30CA\u30BD\u30CB\u30C3\u30AF\u30A8\u30CA\u30B8\u30FC\u682A\u5F0F\u4F1A\u793E
WO_2025225441_PA

Resumen de: WO2025225441A1

A negative electrode active material according to the present disclosure is a negative electrode active material for a fluoride ion secondary battery, and contains scandium fluoride that has a crystallite size of less than 63 nm. A fluoride ion secondary battery according to the present disclosure comprises: a positive electrode 2; a negative electrode 4; and an electrolyte layer 3 that is disposed between the positive electrode 2 and the negative electrode 4. The negative electrode 4 contains the negative electrode active material according to the present disclosure. The negative electrode active material may additionally contain at least one metal that is selected from the group consisting of alkali metals and alkaline earth metals.

NON-AQUEOUS ELECTROLYTE SECONDARY BATTERY

NºPublicación:  WO2025225388A1 30/10/2025
Solicitante: 
PANASONIC INTELLECTUAL PROPERTY MAN CO LTD [JP]
\u30D1\u30CA\u30BD\u30CB\u30C3\u30AF\uFF29\uFF30\u30DE\u30CD\u30B8\u30E1\u30F3\u30C8\u682A\u5F0F\u4F1A\u793E
WO_2025225388_PA

Resumen de: WO2025225388A1

This non-aqueous electrolyte secondary battery is characterized in that: a first electrode (12) comprises a first electrode core body (40) and a first electrode mixture layer (42) disposed on the first electrode core body (40); the first electrode mixture layer (42) is not disposed on one end in the axial direction of an electrode body in the first electrode (12); there is provided a first electrode core body exposure part (44) where the first electrode core body (40) is exposed; and the surface of the first electrode core body exposure part (44) is provided with a functional layer (50) including a coating layer (52) that covers at least a portion of the first electrode core body exposure part (44), and large-diameter particles (54) that have a volume-basis average particle size which is greater than the average thickness of the coating layer (52).

SOLID ELECTROLYTE MATERIAL, POSITIVE ELECTRODE MATERIAL, BATTERY, AND METHOD FOR PRODUCING SOLID ELECTROLYTE MATERIAL

NºPublicación:  WO2025225308A1 30/10/2025
Solicitante: 
PANASONIC INTELLECTUAL PROPERTY MAN CO LTD [JP]
\u30D1\u30CA\u30BD\u30CB\u30C3\u30AF\uFF29\uFF30\u30DE\u30CD\u30B8\u30E1\u30F3\u30C8\u682A\u5F0F\u4F1A\u793E
WO_2025225308_PA

Resumen de: WO2025225308A1

A solid electrolyte material according to the present disclosure contains Li, Ti, Al, and F, and has a peak in a first range in which the diffraction angle 2θ is 13.7° to 14.7° inclusive in an X-ray diffraction pattern that is obtained by a X-ray diffraction measurement using Cu-Kα rays. In the X-ray diffraction pattern, a peak may be present in at least one range that is selected from the group consisting of a second range in which the diffraction angle 2θ is 20.9° to 21.9° inclusive, a third range in which the diffraction angle 2θ is 41.2° to 42.2° inclusive, and a fourth range in which the diffraction angle 2θ is 53.3° to 54.3° inclusive.

SECONDARY BATTERY AND PREPARATION METHOD THEREFOR, AND ELECTRIC DEVICE

NºPublicación:  WO2025222726A1 30/10/2025
Solicitante: 
CONTEMPORARY AMPEREX TECH CO LIMITED [CN]
\u5B81\u5FB7\u65F6\u4EE3\u65B0\u80FD\u6E90\u79D1\u6280\u80A1\u4EFD\u6709\u9650\u516C\u53F8
WO_2025222726_PA

Resumen de: WO2025222726A1

A secondary battery and a preparation method therefor, and an electric device. The secondary battery includes a positive electrode sheet, the positive electrode sheet includes a positive electrode active material, and the positive electrode active material includes a matrix material and a coating layer at least partially covering the matrix material. The coating layer includes a first coating layer and a second coating layer, wherein the first coating layer is located on the surface of the matrix material, and the second coating layer is located on the surface of the first coating layer, with the first coating layer comprising a lithium-supplementing material, and the second coating layer comprising a reductive material; or, the first coating layer comprising a reductive material, and the second coating layer comprising a lithium-supplementing material. The secondary battery has excellent cycle performance and a long service life.

BATTERY DEVICE AND ELECTRIC DEVICE

NºPublicación:  WO2025222861A1 30/10/2025
Solicitante: 
CONTEMPORARY AMPEREX TECH CO LIMITED [CN]
\u5B81\u5FB7\u65F6\u4EE3\u65B0\u80FD\u6E90\u79D1\u6280\u80A1\u4EFD\u6709\u9650\u516C\u53F8
WO_2025222861_PA

Resumen de: WO2025222861A1

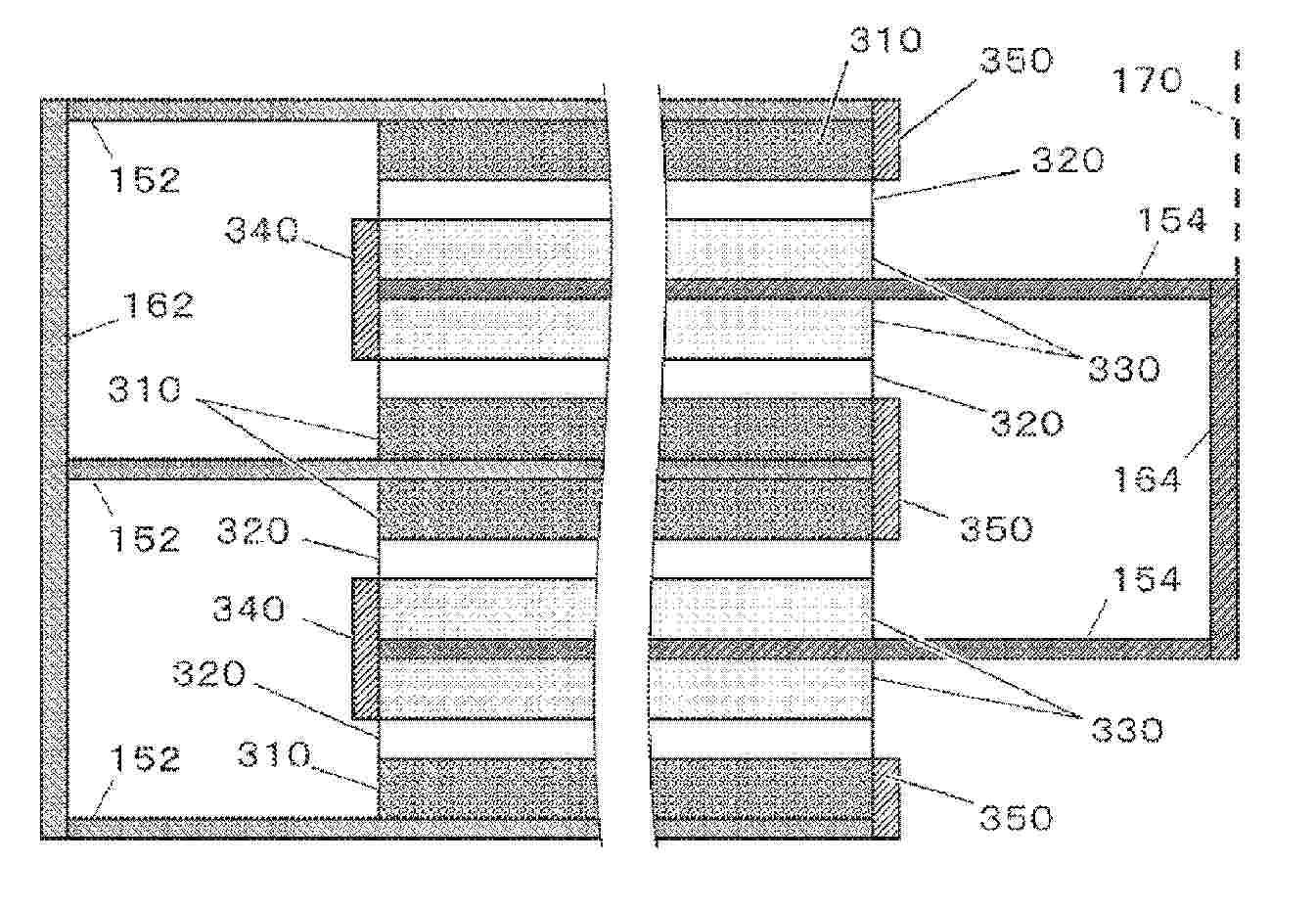
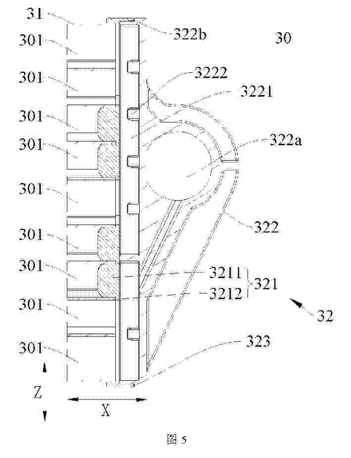
A battery device (100) and an electric device. The battery device comprises: a case (10); a battery cell assembly (20) accommodated in the case; and a heat exchange assembly (30) accommodated in the case. The heat exchange assembly comprises: a heat exchange main body (31) comprising a plurality of heat exchange flow channels (301); and current collecting structures (32) arranged at two ends of the heat exchange main body, each current collecting structure comprising a blocking member (321), a current collecting member (322) and an adapter member (323), wherein the blocking member blocks at least one heat exchange flow channel, the current collecting member is provided with a current collecting cavity (3221), the current collecting member is in sealing fit with and connected to the heat exchange main body by means of the adapter member, the current collecting member is provided with a communication port (322a) communicated with the current collecting cavity, the communication port can be used for allowing the entry/exit of a heat exchange medium, and the adapter member is formed on the heat exchange main body and the current collecting member.

FILM INSPECTION MECHANISM, COATING DEVICE, AND FILM COATING METHOD

NºPublicación:  WO2025222706A1 30/10/2025
Solicitante: 
CONTEMPORARY AMPEREX TECH CO LIMITED [CN]
\u5B81\u5FB7\u65F6\u4EE3\u65B0\u80FD\u6E90\u79D1\u6280\u80A1\u4EFD\u6709\u9650\u516C\u53F8
WO_2025222706_PA

Resumen de: WO2025222706A1

A film inspection mechanism (100), comprising: a housing assembly (10), a weight measurement assembly (30), a moisture measurement member (20), and an isolation member (40). The housing assembly (10) defines a measurement cavity (13) used for placing a film under inspection; the weight measurement assembly (30) is mounted in the housing assembly (10) and is used for acquiring the weight of the film under inspection; the moisture measurement member (20) is mounted in the housing assembly (10) and is used for acquiring the moisture of the film under inspection; the housing assembly (10) comprises two housings; the weight measurement assembly (30) comprises a transmitting member (31) and a receiving member (32), and the transmitting member (31) and the receiving member (32) are respectively provided on the two housings; the isolation member (40) is provided on the housing assembly (10) provided with the moisture measurement member (20) and is located between the moisture measurement member (20) and the transmitting member (31) or the receiving member (32). Also provided are a coating device having the film inspection mechanism (100), and a film coating method.

BATTERY CELL, BATTERY, POWER CONSUMPTION DEVICE AND MANUFACTURING DEVICE AND METHOD FOR BATTERY CELL

NºPublicación:  US2025337082A1 30/10/2025
Solicitante: 
CONTEMPORARY AMPEREX TECH HONG KONG LIMITED [CN]
CONTEMPORARY AMPEREX TECHNOLOGY (HONG KONG) LIMITED
US_2025337082_PA

Resumen de: US2025337082A1

An embodiment of the present application provides a battery cell, a battery, a power consumption device, and a manufacturing equipment and method for a battery cell. The battery cell includes a housing, an electrode assembly, an end cover to cover the housing, and an electrode terminal installed on the end cover and electrically connected with the electrode assembly. The end cover includes a first body and a first convex portion, and the first convex portion extends from the first inner surface of the first body along a direction facing the electrode assembly, a position on the first body corresponding to the first convex portion is formed with a first concave portion recessed from the first outer surface opposite to the first inner surface along the direction facing the electrode assembly, the first concave portion is configured to accommodate the electrode terminal. The battery cell can effectively increase the battery capacity.

BATTERY SYSTEM

NºPublicación:  US2025337084A1 30/10/2025
Solicitante: 
DELTA ELECTRONICS INC [TW]
DELTA ELECTRONICS, INC
US_2025337084_PA

Resumen de: US2025337084A1

A battery system includes a first battery module and a plurality of second battery modules coupled to the first battery module. The first battery module includes a battery management system, and a plurality of first battery cells electrically coupled to each other. The first battery cells are electrically coupled to the battery management system to be managed by the battery management system. Each of the second battery modules includes a plurality of second battery cells electrically coupled to each other. The second battery cells are coupled to the battery management system of the first battery module to be managed by the battery management system. The battery management system is coupled to an external system to transmit signals with the external system.

BATTERY CELL THERMAL RUNAWAY SIMULATION TEST METHOD

NºPublicación:  US2025337026A1 30/10/2025
Solicitante: 
FCA US LLC [US]
FCA US LLC
US_2025337026_PA

Resumen de: US2025337026A1

A battery cell thermal runaway simulation system that includes a protective chamber and an adjustment assembly positioned in the protective chamber that is configured to support a test object that will be exposed to a battery cell undergoing a thermal runaway event, wherein the adjustment assembly is movable to adjust a distance between the test object and the battery cell. The system also includes a first thermal monitoring device that is configured to generate a signal indicative of a temperature of gases emitted by the battery cell undergoing the thermal runaway event, a second thermal monitoring device that is configured to generate a signal indicative of a temperature of the test object when the test object is being exposed to the battery cell undergoing the thermal runaway event, and a heating device configured to heat the battery cell until the battery cell reaches a critical temperature and undergoes thermal runaway.

SENSING BLOCK TO PREVENT DAMAGE TO ELECTRODE LEAD

NºPublicación:  US2025337029A1 30/10/2025
Solicitante: 
VALEO KAPEC CO LTD [KR]
VALEO KAPEC CO., LTD
US_2025337029_PA

Resumen de: US2025337029A1

Provided is a structure of a battery module including: a battery cell including an electrode lead protruding and extending forward; a sensing block arranged in front of the battery cell and having a slit through which the electrode lead passes forward and rearward; and a bus bar mounted on a front portion of the sensing block and on one side in a width direction of the slit, wherein the electrode lead is bent toward one side in the width direction at a bent portion located forward of the slit and is connected to the bus bar, the sensing block includes a first flat surface, a second flat surface, and a stepped portion, and a boundary where the inner peripheral surface of the slit and the first flat surface meet is formed as a corner having an internal angle of 90 degrees or less.

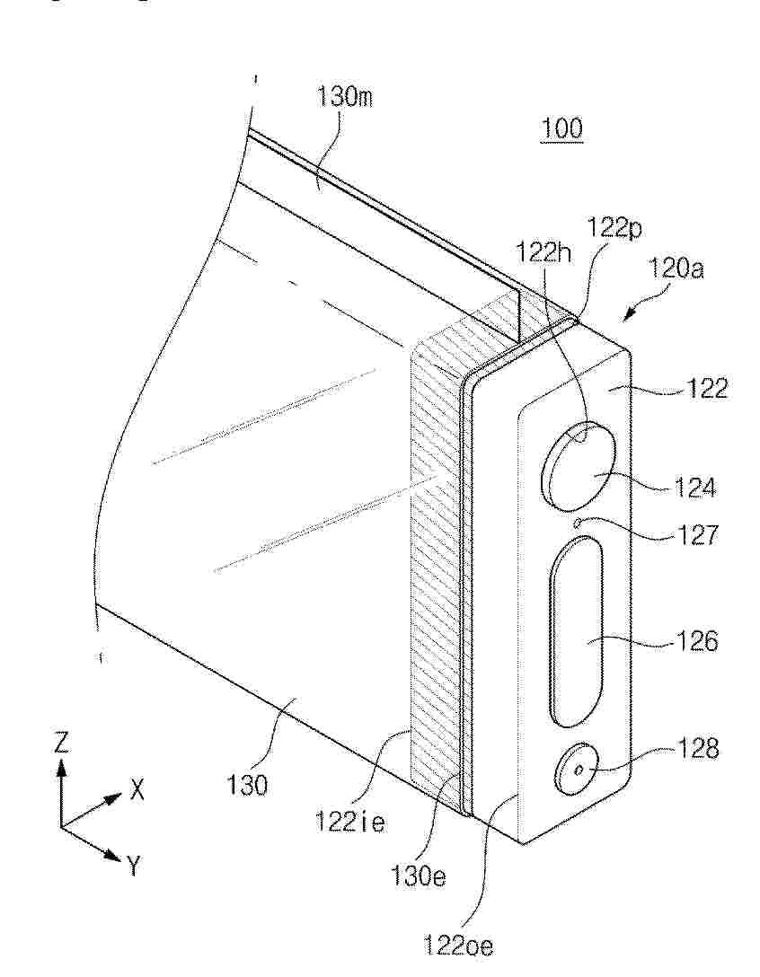
MAGNETICALLY ATTACHABLE BATTERY PACK

NºPublicación:  US2025337078A1 30/10/2025
Solicitante: 
APPLE INC [US]
Apple Inc
US_2025337078_PA

Resumen de: US2025337078A1

Battery packs that can provide power to an electronic device, can be easy to use and simple to connect to the electronic device, have a small and efficient form factor, and can readily be powered for use.

BATTERY

NºPublicación:  WO2025224916A1 30/10/2025
Solicitante: 
ENPOWER JAPAN CORP [JP]
\uFF25\uFF4E\uFF50\uFF4F\uFF57\uFF45\uFF52\u3000\uFF2A\uFF41\uFF50\uFF41\uFF4E\u682A\u5F0F\u4F1A\u793E
WO_2025224916_PA

Resumen de: WO2025224916A1

This battery comprises: a housing having a cylindrical shape in which an opening is formed at one end part; an electrode structure disposed inside the housing; a sealing part that seals the opening of the housing; and a connection part that electrically connects the electrode structure and the sealing part. The sealing part has a first terminal part that functions as an input/output terminal of the battery, and a limiting part that limits the current between the electrode structure and the terminal part. The electrode structure has a power generation element that includes a first active material layer, a solid electrolyte layer, and a second active material layer in said order. The value obtained by dividing the capacity per unit area of the power generation element by the area of the housing is 0.03 or greater. The area of the power generation element is the area when the power generation element is cut along a plane substantially perpendicular to the lamination direction of a first active material layer, the solid electrolyte layer, and the second active material layer. The area of the housing is the area when the housing is cut along a plane substantially perpendicular to the extension direction of the cylindrical shape.

LITHIUM SULFIDE AND SULFIDE SOLID ELECTROLYTE PRODUCTION METHOD

NºPublicación:  WO2025225098A1 30/10/2025
Solicitante: 
MITSUBISHI MAT CORPORATION [JP]
\u4E09\u83F1\u30DE\u30C6\u30EA\u30A2\u30EB\u682A\u5F0F\u4F1A\u793E
WO_2025225098_A1

Resumen de: WO2025225098A1

This lithium sulfide is characterized in that the 50% diameter on a volume basis is in the range of 0.1-600 μm, inclusive, and the half-value width of a peak at 2θ= 27°±0.03° as measured using X-ray diffraction is in the range of 0.10-0.50°, inclusive. This sulfide solid electrolyte production method is characterized by using said lithium sulfide as a starting material.

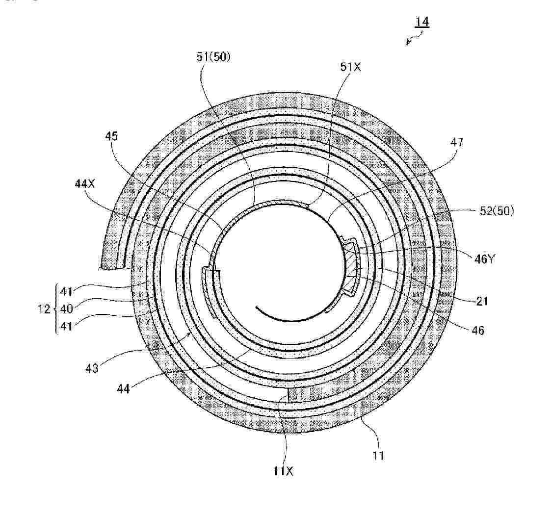
CYLINDRICAL BATTERY

NºPublicación:  WO2025225210A1 30/10/2025
Solicitante: 
PANASONIC INTELLECTUAL PROPERTY MAN CO LTD [JP]
\u30D1\u30CA\u30BD\u30CB\u30C3\u30AF\uFF29\uFF30\u30DE\u30CD\u30B8\u30E1\u30F3\u30C8\u682A\u5F0F\u4F1A\u793E
WO_2025225210_PA

Resumen de: WO2025225210A1

A negative electrode (12) has a non-facing part (43) wound in a state of not facing a positive electrode (11). The non-facing part (43) includes a mixture layer formation part (44) and a mixture layer non-formation part (45) in which negative electrode mixture layers (41) are not formed on both surfaces of a negative electrode core body (40). A reinforcement material (50) is disposed on at least one surface of the mixture layer non-formation part (45), the reinforcement material (50) including a first reinforcement material (51) disposed so as to straddle a winding start end (44X) of the mixture layer formation part (44). The mixture layer non-formation part (45) is characterized in having an exposed part (47) in which both surfaces of the negative electrode core body (40) are exposed, between a position overlapping a winding start end (51X) of the first reinforcement material (51) and a winding termination end 46Y of a lead connection part (46).

SECONDARY BATTERY

NºPublicación:  WO2025225197A1 30/10/2025
Solicitante: 
MURATA MFG CO LTD [JP]
\u682A\u5F0F\u4F1A\u793E\u6751\u7530\u88FD\u4F5C\u6240
WO_2025225197_PA

Resumen de: WO2025225197A1

The present invention improves cycle characteristics. This secondary battery comprises: a positive electrode; a negative electrode; a separator disposed between the positive and negative electrodes; and an electrolyte. The negative electrode has a negative electrode current collector and a negative electrode active material layer in contact with the negative electrode current collector. The negative electrode active material layer includes a negative electrode active material, a first binder, and a second binder. The negative electrode active material includes a first negative electrode active material that is a material containing silicon. The first binder is an N-vinylacetamide polymer which is a polymer having a monomer represented by formula (1). The second binder is an emulsion-based binder. The negative electrode active material layer has a first surface that is a surface in contact with the negative electrode current collector, and a second surface that is a surface opposite to the first surface. The negative electrode active material layer on the first surface contains more of the second binder than on the second surface. (In formula (1), R1 and R2 each independently represent hydrogen or an alkyl group which may have a substituent.

SAFETY COATING AND PREPARATION METHOD THEREFOR, AND COMPOSITE CURRENT COLLECTOR

NºPublicación:  WO2025222728A1 30/10/2025
Solicitante: 
EVE ENERGY CO LTD [CN]
\u60E0\u5DDE\u4EBF\u7EAC\u9502\u80FD\u80A1\u4EFD\u6709\u9650\u516C\u53F8
WO_2025222728_A1

Resumen de: WO2025222728A1

A safety coating and a preparation method therefor, and a composite current collector. The safety coating is mainly prepared from a phosphate material, a conductive agent, a binder, and a solvent, wherein the phosphate material is a lithium manganese iron phosphate material doped with at least one of the metals Cr, Mg, Ti, Al, Zn, W, Nb, and Zr. By controlling the addition ratio of each raw material, the adhesion between the safety coating and a current collector substrate can be increased, and the peel strength between an active material layer and the safety coating can be effectively enhanced, such that the prepared safety coating can effectively improve the safety performance of batteries without changing the material system, electrode sheet performance, and product performance; and the safety coating has little impact on energy density, can achieve good long-term cycle and high-rate discharge effects of batteries, and is suitable for promotion and application.

TRAY

NºPublicación:  WO2025222715A1 30/10/2025
Solicitante: 
CONTEMPORARY AMPEREX TECH CO LIMITED [CN]
CONTEMPORARY AMPEREX RUNZHI SOFTWARE TECH LIMITED [CN]
\u5B81\u5FB7\u65F6\u4EE3\u65B0\u80FD\u6E90\u79D1\u6280\u80A1\u4EFD\u6709\u9650\u516C\u53F8,
\u5B81\u5FB7\u65F6\u4EE3\u6DA6\u667A\u8F6F\u4EF6\u79D1\u6280\u6709\u9650\u516C\u53F8
WO_2025222715_PA

Resumen de: WO2025222715A1

Provided in the embodiments of the present application is a tray. The tray is used for carrying battery cells. The tray comprises a tray body and at least one row of bladder assemblies, the at least one row of bladder assemblies being disposed on the tray body, each row of the bladder assemblies comprising a plurality of bladder assemblies arranged at intervals in a first direction, and battery cells being placed between every two adjacent bladder assemblies. The bladder assemblies are arranged on the tray, and the battery cells are placed between every two adjacent bladders, such that the bladder assemblies can deform and swell by being filled with a fluid, so as to abut against the battery cells and fix same. The bladder assemblies can apply uniform pressure on the battery cells, thereby reducing the possibility of the battery cells being damaged, and improving the finished product quality of the battery cells.

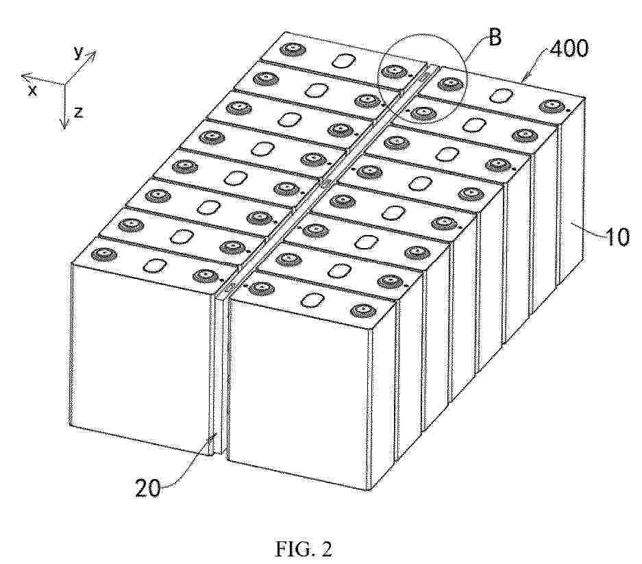
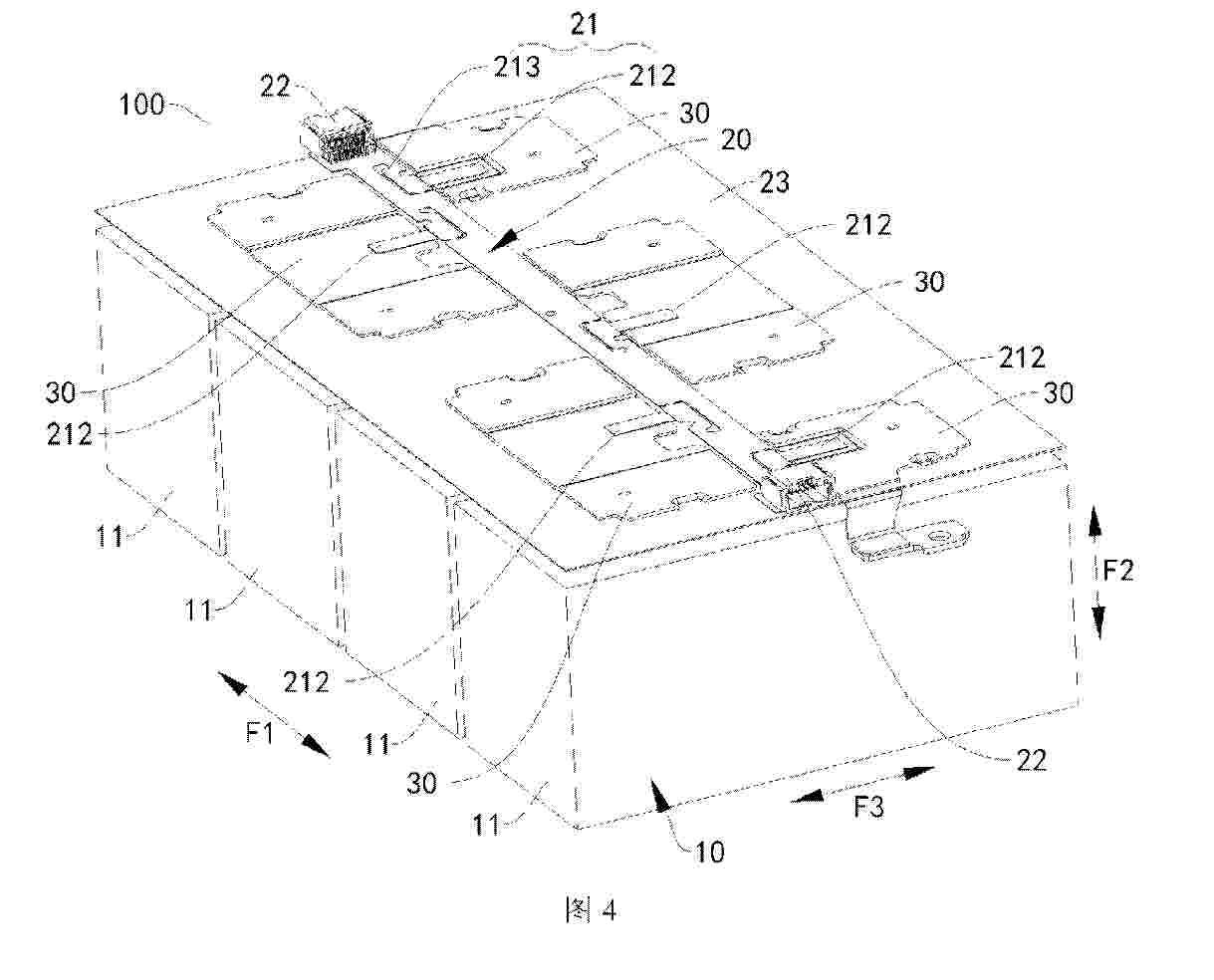
BATTERY AND ELECTRIC DEVICE

NºPublicación:  WO2025222710A1 30/10/2025
Solicitante: 
CONTEMPORARY AMPEREX TECH CO LIMITED [CN]
\u5B81\u5FB7\u65F6\u4EE3\u65B0\u80FD\u6E90\u79D1\u6280\u80A1\u4EFD\u6709\u9650\u516C\u53F8
WO_2025222710_PA

Resumen de: WO2025222710A1

A battery (1000) and an electric device. The battery (1000) comprises: at least one battery row (10), which comprises a plurality of battery cells (11) arranged in a first direction (F1); and a signal collection assembly (20), which comprises a collector (21) and a plurality of connectors (22), wherein the collector (21) comprises a plurality of signal lines (211) and a plurality of collection terminals (212), the collection terminals (212) are connected to the battery cells (11) and are used for collecting signals of the battery cells (11), the signal lines (211) are connected to the collection terminals (212) and the connectors (22), and each connector (22) is connected to at least one signal line (211) and is used for receiving the signals collected by the collection terminals (212).

SEPARATOR FOR ELECTROCHEMICAL DEVICE AND ELECTROCHEMICAL DEVICE INCLUDING THE SAME

NºPublicación:  US2025337120A1 30/10/2025
Solicitante: 
LG ENERGY SOLUTION LTD [KR]
LG ENERGY SOLUTION, LTD
US_2025337120_PA

Resumen de: US2025337120A1

A separator and an electrochemical device including the separator are provided. The separator comprises a porous polymer substrate including a polymer resin, and the polymer resin having specific polymer polydispersity index, weight-average molecular weight, content of a fraction eluted at a specific temperature, and indentation depth, thereby having improved compression resistance and insulation breakdown voltage.

SEPARATOR FOR RECHARGEABLE LITHIUM BATTERY AND RECHARGEABLE LITHIUM BATTERY INCLUDING THE SAME

NºPublicación:  US2025337112A1 30/10/2025
Solicitante: 
SAMSUNG SDI CO LTD [KR]
SAMSUNG SDI CO., LTD
US_2025337112_PA

Resumen de: US2025337112A1

The present disclosure relates to a separator and a rechargeable lithium battery including the separator. The separator includes a porous substrate and a coating layer on a surface of the porous substrate. The coating layer includes a heat-resistant layer including a binder and a filler, and an adhesive layer including an adhesive binder on the heat-resistant layer. The binder includes a (meth)acryl-based binder including a first structural unit derived from (meth)acrylic acid, (meth)acrylate, or a salt thereof, a second structural unit derived from hydroxyalkyl (meth)acrylate, and a third structural unit derived from (meth)acrylamido sulfonic acid or a salt thereof. The filler includes a mixture of cubic filler having a particle diameter D50 ranging from about 50 nm to about 250 nm and a plate-shaped filler having a particle diameter D50 ranging from about 250 nm to about 350 nm in a weight ratio of about 20:80 to about 80:20.

HEAT RESISTANT LAYER COMPOSITION, LITHIUM SECONDARY BATTERY SEPARATOR COMPRISING HEAT RESISTANT LAYER FORMED THEREFROM, AND LITHIUM SECONDARY BATTERY COMPRISING SAME

Nº publicación: US2025337109A1 30/10/2025

Solicitante:

SAMSUNG SDI CO LTD [KR]
SAMSUNG SDI CO., LTD

US_2025337109_PA

Resumen de: US2025337109A1

The present invention relates to a heat resistant layer composition, a heat resistant layer formed therefrom, and a separator for a lithium secondary battery, and a lithium secondary battery including same, wherein the heat resistant layer composition includes an acrylic copolymer including a first structural unit derived from (meth)acrylamide, and a second structural unit including at least one of a structural unit derived from (meth)acrylic acid or a (meth)acrylate, a structural unit derived from (meth)acrylonitrile, and a structural unit derived from (meth)acrylamidosulfonic acid or a salt thereof; a cross-linking agent including at least one functional group of an aldehyde group, an epoxy group, an amide group, an imide group, an amine group, and a silane-based group; and a solvent.

traducir