Ministerio de Industria, Turismo y Comercio LogoMinisterior
 

Alerta

Resultados 1315 resultados
LastUpdate Última actualización 03/11/2025 [07:10:00]
pdfxls
Publicaciones de los últimos 15 días/Last 15 days publications (excluidas pubs. CN y JP /CN and JP pubs. excluded)
previousPage Resultados 250 a 275 de 1315 nextPage  

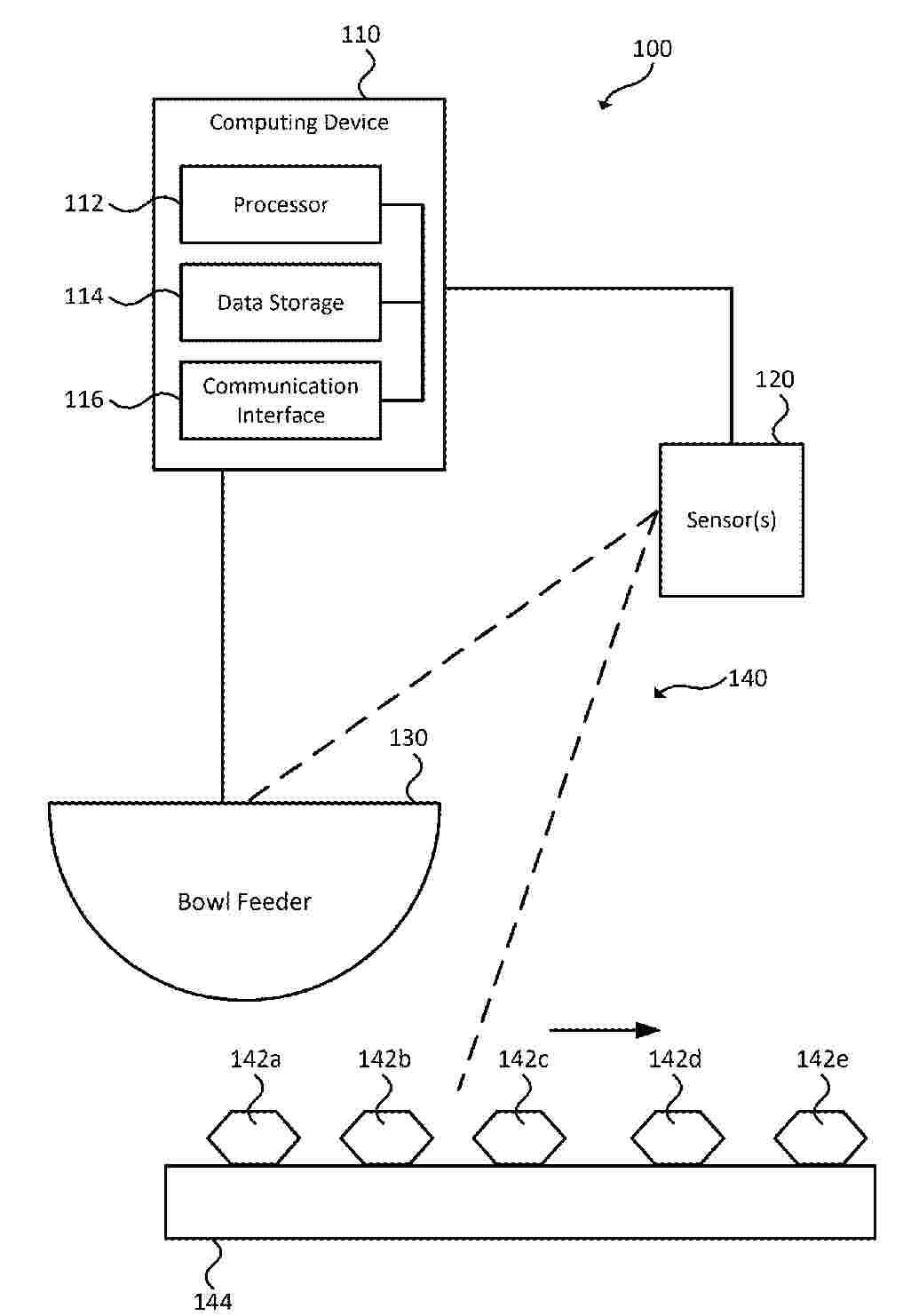
SYSTEMS AND METHODS FOR ANNOTATING AND TRACKING OBJECTS IN A VIDEO

NºPublicación:  US2025336222A1 30/10/2025
Solicitante: 
ATS CORP [CA]
ATS Corporation
US_2025336222_PA

Resumen de: US2025336222A1

Systems and methods for annotating and tracking objects in a video are described herein. The methods include operating at least one processor to: receive, from at least one image device proximal to the manufacturing device, a sequence of frames of a video showing the plurality of parts within the manufacturing device; receive at least one annotated frame having labelling of a subset of parts of the plurality of parts in a plurality of frames of the video, the annotated frame being video annotation data; apply the video annotation data as input to a propagation algorithm to annotate an additional subset of parts of the plurality of parts within the frames of the video, the additional annotated frames being additional video annotation data; apply a segmentation model to the additional video annotation data to generate image segmentation masks of each of the parts, the image segmentation masks being trained segmentation model output data; and apply an object detection model to the trained segmentation model output tracking data to get a fine-tuned object detection model to detect and track the parts.

POLYMER ELECTROLYTE, ELECTRODE ACTIVE MATERIAL BINDER, AND SECONDARY BATTERY

NºPublicación:  US2025337009A1 30/10/2025
Solicitante: 
CANON KK [JP]
CANON KABUSHIKI KAISHA
US_2025337009_PA

Resumen de: US2025337009A1

A polymer electrolyte comprising a polyurethane, a lithium salt, and an anion, wherein the polyurethane has a three-dimensional cross-linked structure and has a cationic structure in a molecule.

COMPOSITE POLYMER CERAMIC ELECTROLYTE

NºPublicación:  US2025337004A1 30/10/2025
Solicitante: 
WILDCAT DISCOVERY TECH INC [US]
Wildcat Discovery Technologies, Inc
US_2025337004_PA

Resumen de: US2025337004A1

A composite useful for making a solid electrolyte is comprised of an electrolytic inorganic powder (EIP) embedded in matrix comprised of an unsaturated fluoropolymer, an electrolyte salt, and may include a reinforcing polymer. The composite may be formed by dissolving the unsaturated fluoropolymer, salt in a solvent with the EIP forming a slurry that may be dried and a reinforcing polymer added thereto (i.e., in the slurry or after the slurry is dried). The unsaturated fluoropolymer may be formed insitu in the slurry when making the composite.

MATERIAL TRANSFERRING APPARATUS FOR BATTERY MANUFACTURING

NºPublicación:  US2025337002A1 30/10/2025
Solicitante: 
SK ON CO LTD [KR]
SK On Co., Ltd
US_2025337002_PA

Resumen de: US2025337002A1

A material transferring apparatus for battery manufacturing includes a support unit having a support region for supporting a moving object and having a first contact surface, a moving unit having a second contact surface in contact with the support unit and moving the support unit, and coupling units provided on the support unit and the moving unit, respectively, and contacting each other before the first contact surface and the second contact surface come into contact with each other.

POSITIVE ELECTRODE ACTIVE MATERIAL FOR RECHARGEABLE LITHIUM BATTERY, POSITIVE ELECTRODE INCLUDING THE SAME, AND RECHARGEABLE LITHIUM BATTERY INCLUDING THE SAME

NºPublicación:  US2025336950A1 30/10/2025
Solicitante: 
SAMSUNG SDI CO LTD [KR]
SAMSUNG SDI CO., LTD
US_2025336950_PA

Resumen de: US2025336950A1

Provided are a positive electrode for a rechargeable lithium battery and a rechargeable lithium battery including the same, and for example, a positive electrode for a rechargeable lithium battery, including a current collector, a first positive electrode active material layer on the current collector, and a second positive electrode active material layer on the first positive electrode active material layer. The first positive electrode active material layer includes a first particle having an olivine structure, and a second particle having a layered structure, and the second positive electrode active material layer includes a third particle having an olivine structure. The first particle and the third particle are each in the form of a single particle, and the second particle has a greater average particle diameter than each of the first particle and the third particle.

BATTERY MODULE ASSEMBLY

NºPublicación:  WO2025225977A1 30/10/2025
Solicitante: 
VALEO KAPEC CO LTD [KR]
\uC8FC\uC2DD\uD68C\uC0AC \uCE74\uD399\uBC1C\uB808\uC624
WO_2025225977_PA

Resumen de: WO2025225977A1

The present invention provides a battery module assembly comprising: a plurality of battery cells; a pair of end plates disposed at both sides of the plurality of battery cells; and a clamp extending to surround the plurality of battery cells and welded to the pair of end plates, wherein at least one of the pair of end plates includes a through hole and a first stopper portion formed to protrude beyond the surrounding area in a direction away from the battery cells by means of the through hole to support the clamp.

BATTERY CELL, BATTERY AND ELECTRIC DEVICE

NºPublicación:  WO2025222771A1 30/10/2025
Solicitante: 
CONTEMPORARY AMPEREX TECH CO LIMITED [CN]
\u5B81\u5FB7\u65F6\u4EE3\u65B0\u80FD\u6E90\u79D1\u6280\u80A1\u4EFD\u6709\u9650\u516C\u53F8
WO_2025222771_PA

Resumen de: WO2025222771A1

The present application belongs to the technical field of batteries. Provided are a battery cell, a battery and an electric device. The battery cell comprises a battery electrode sheet. The battery electrode sheet comprises a current collector, an active layer, a first insulating layer and a second insulating layer, wherein a connecting surface is formed on the current collector; the active layer covers part of the connecting surface, and a first edge is formed on the connecting surface; the first insulating layer covers part of the connecting surface, and the first insulating layer is arranged to extend along the first edge; and the second insulating layer covers the first insulating layer. The present application aims to reduce the risk of burr exposure during electrode sheet die-cutting, thereby reducing the risk of short circuits in battery cells.

COMPOSITE CURRENT COLLECTOR, AND PREPARATION METHOD THEREFOR AND USE THEREOF

NºPublicación:  WO2025222770A1 30/10/2025
Solicitante: 
JIANGYIN NANOPORE INNOVATIVE MATERIALS TECH LTD [CN]
\u6C5F\u9634\u7EB3\u529B\u65B0\u6750\u6599\u79D1\u6280\u6709\u9650\u516C\u53F8
WO_2025222770_PA

Resumen de: WO2025222770A1

The present application provides a composite current collector, and a preparation method therefor and the use thereof. The composite current collector comprises: a polymer supporting layer; a transition layer, which is provided on the surface of at least one side of the polymer supporting layer, wherein the material of the transition layer comprises a nano metal material modified with a silane coupling agent, the nano metal material comprising a nano metal simple substance and/or a nano metal oxide; and a conductive layer, which is provided on the surface of the transition layer along a direction away from the polymer supporting layer. In the present application, introducing the nano metal material modified with a silane coupling agent as a transition layer can tightly combine the organic and inorganic interfaces, and improve the bonding force between the polymer supporting layer and the transition layer; in addition, the particle aggregation degree can be reduced by means of the modification of the silane coupling agent, such that the particles are evenly distributed in the transition layer, thereby improving the bonding force between the conductive layer and the transition layer. The composite current collector has excellent bonding force and stability; and the safety performance and high-temperature cycle performance of a battery prepared on this basis are significantly improved.

MULTI-CAVITY BATTERY PACK STRUCTURE

NºPublicación:  WO2025222739A1 30/10/2025
Solicitante: 
VISION TECH CO TLD [CN]
\u6DF1\u5733\u5E02\u96C4\u97EC\u9502\u7535\u6709\u9650\u516C\u53F8
WO_2025222739_PA

Resumen de: WO2025222739A1

The present application provides a multi-cavity battery pack structure, comprising a housing, a cover plate, and a plurality of battery cell units. The battery cell units are arranged in the housing, and the cover plate covers the end face of one end of the housing. The housing comprises a housing body and a plurality of cavity units arranged in the housing body, a wall plate is provided between every two adjacent cavity units, and the wall plate respectively abuts against the bottom surface of the housing body and the side surfaces of the housing body; and a first boss is provided at one end of the side of each cavity unit close to the cover plate, and a second boss is arranged at the other end thereof. Each battery cell unit is arranged in the corresponding cavity unit, and the battery cell unit is arranged between the first boss and the second boss; the battery cell units and the cavity units are arranged in a one-to-one correspondence manner; the second bosses are pairwise communicated with each other; and the first bosses located in the middle are pairwise communicated with each other, and the first bosses located at the two ends are independently arranged. The present application achieves low costs and environmental friendliness.

METHOD FOR PRODUCING SECONDARY BATTERY, AND SECONDARY BATTERY

NºPublicación:  US2025337132A1 30/10/2025
Solicitante: 
SANYO ELECTRIC CO LTD [JP]
SANYO Electric Co., Ltd
US_2025337132_PA

Resumen de: US2025337132A1

A method for producing a secondary battery according to the present invention comprises a step wherein a negative electrode collector, which has a projection having a height of from 0.36 mm to 0.45 mm on at least one of a first member and a second member, said members constituting the negative electrode collector, is resistance-welded with a core multilayer part in such a manner that the core multilayer part is sandwiched between the first member and the second member, while having the projection in contact with the core multilayer part.

SEPARATOR, BATTERY CELL, BATTERY AND ELECTRICAL APPARATUS

NºPublicación:  US2025337119A1 30/10/2025
Solicitante: 
CONTEMPORARY AMPEREX TECH CO LIMITED [CN]
CONTEMPORARY AMPEREX TECHNOLOGY CO., LIMITED
US_2025337119_PA

Resumen de: US2025337119A1

A separator comprises a separator body and a polymer layer disposed on at least one surface of the separator body, wherein the polymer layer comprises a liquid-retaining polymer. The liquid-retaining polymer is added to a first solvent at 70° C. to form a polymer system, the polymer system is left to stand at 70° C. for 8 h, and after standing at 25° C. for more than or equal to 24 h, the polymer system is filtered by means of a 200-mesh filter screen, thereby leaving a first substance, wherein the mass of the liquid-retaining polymer is q, the unit thereof being g; the mass of the first substance is m, the unit thereof being g; and the liquid-retaining polymer and the first substance satisfy: 5≤m/q≤1000. The bonding force of the separator is greater than or equal to 10 N/m.

BATTERY SYSTEM, ELECTRIC VEHICLE, CELL CONTACTING UNIT AND METHOD FOR ASSEMBLING THE BATTERY SYSTEM

NºPublicación:  US2025337088A1 30/10/2025
Solicitante: 
SAMSUNG SDI CO LTD [KR]
SAMSUNG SDI CO., LTD
US_2025337088_PA

Resumen de: US2025337088A1

A battery system includes: a battery pack including a plurality of battery cells, each having a pair of electrode terminals and a venting valve at a terminal side thereof, the terminal side of each of the battery cells facing a first side of the battery pack in a Z-direction; a cell contacting unit (CCU) carrier on the terminal side of the battery cells; and a plurality of busbars on the electrode terminals of the battery cells and being in mechanical contact with the CCU carrier. The busbars including an elastic member configured to exert a clamping force onto the CCU carrier.

CELL, BATTERY, AND ELECTRIC DEVICE

NºPublicación:  US2025337095A1 30/10/2025
Solicitante: 
CONTEMPORARY AMPEREX TECH CO LIMITED [CN]
CONTEMPORARY AMPEREX TECHNOLOGY CO., LIMITED
US_2025337095_PA

Resumen de: US2025337095A1

A cell, a battery, and an electric device. The cell includes a can and an electrode assembly. The can has a first wall portion with N vent mechanisms arranged along a first direction. The electrode assembly, housed in the can, includes a body portion and a tab. The body portion has a plurality of consecutively arranged sub-regions. The tab is located at least at one end of the body portion along the first direction. The body portion has a length L, with each sub-region having a length L1, satisfying L=L1×N, L≥400 mm, and N≥2. Each vent mechanism is aligned with one corresponding sub-region in the thickness direction of the first wall. Each vent mechanism discharges a medium generated by thermal runaway in its corresponding sub-region, enabling fast and localized venting. This improves the timeliness of pressure relief and enhances cell reliability.

BATTERY AND POWER CONSUMING DEVICE

NºPublicación:  US2025337086A1 30/10/2025
Solicitante: 
CONTEMPORARY AMPEREX TECH HONG KONG LIMITED [CN]
CONTEMPORARY AMPEREX TECHNOLOGY (HONG KONG) LIMITED
US_2025337086_PA

Resumen de: US2025337086A1

A battery and a power-consuming device are provided. The battery includes a load-bearing bracket and a plurality of battery modules. The battery modules are mounted to the load-bearing bracket, and at least one of the battery modules is detachably mounted. This configuration allows for flexible installation and replacement of battery modules, improving serviceability and adaptability of the battery system in the power-consuming device.

BATTERY PACK

NºPublicación:  US2025337087A1 30/10/2025
Solicitante: 
EVE ENERGY CO LTD [CN]
EVE ENERGY CO., LTD
US_2025337087_PA

Resumen de: US2025337087A1

A battery pack is provided and includes: an outer housing, defining a receiving cavity; a battery group, received in the receiving cavity; at least one reinforcing layer, disposed at a discharging end of the battery group, wherein the at least one reinforcing layer defines a plurality of channel holes; and a fixation adhesive, filled in the receiving cavity, wherein the fixation adhesive wraps the reinforcing layer and the battery group.

BATTERY

NºPublicación:  WO2025225535A1 30/10/2025
Solicitante: 
PANASONIC INTELLECTUAL PROPERTY MAN CO LTD [JP]
\u30D1\u30CA\u30BD\u30CB\u30C3\u30AF\uFF29\uFF30\u30DE\u30CD\u30B8\u30E1\u30F3\u30C8\u682A\u5F0F\u4F1A\u793E
WO_2025225535_PA

Resumen de: WO2025225535A1

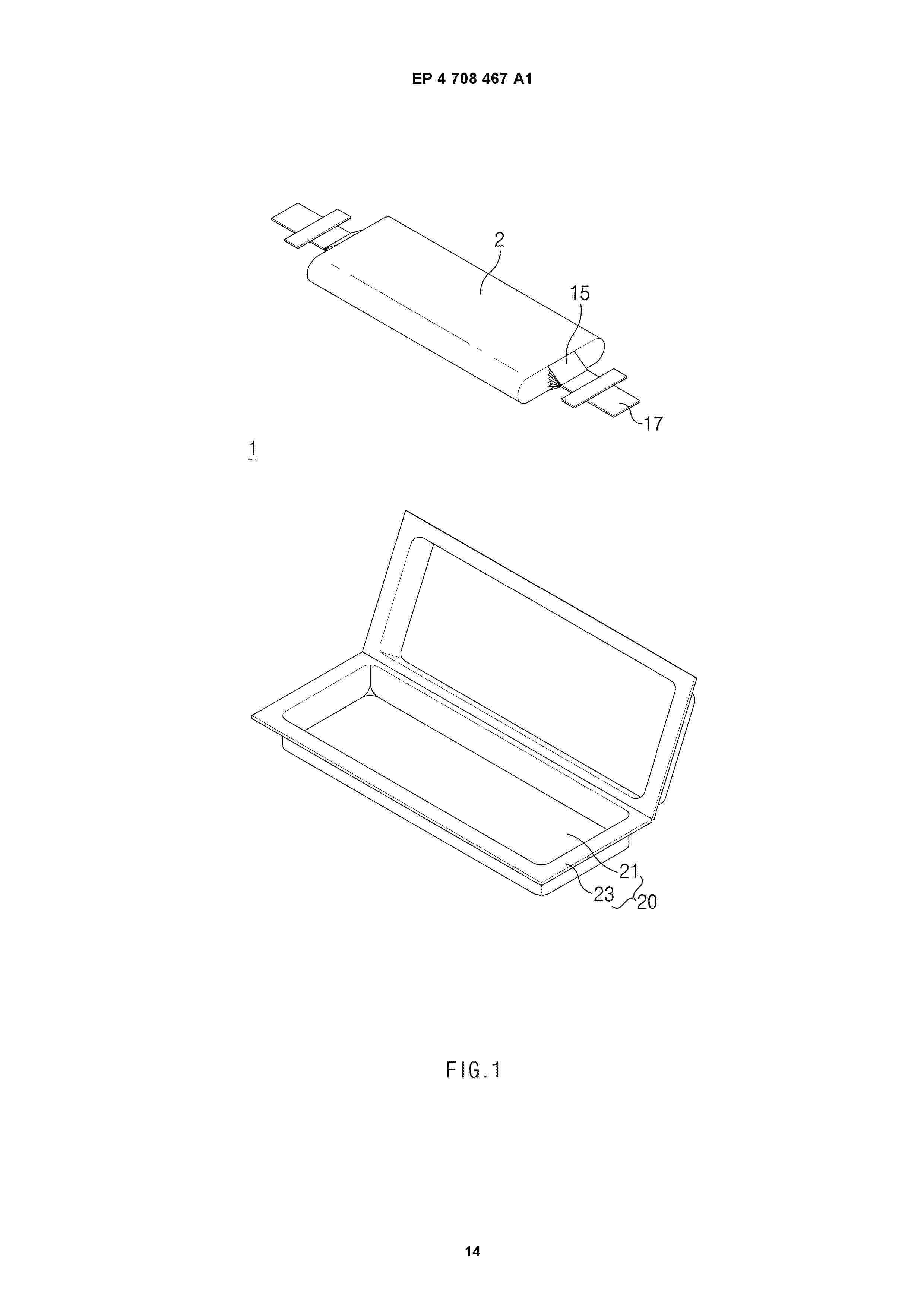
A battery according to the present disclosure comprises a wound electrode group including a first electrode, a second electrode, and a separator. The first electrode includes a current collector, an active material layer, and a lead. The lead is joined to an exposed portion of the current collector where the active material layer is not provided. The electrode group further includes an insulating member attached to the exposed portion, and a protective tape covering at least a portion of the insulating member and at least a portion of the lead. The exposed portion is covered by at least one selected from the group consisting of the protective tape and the insulating member.

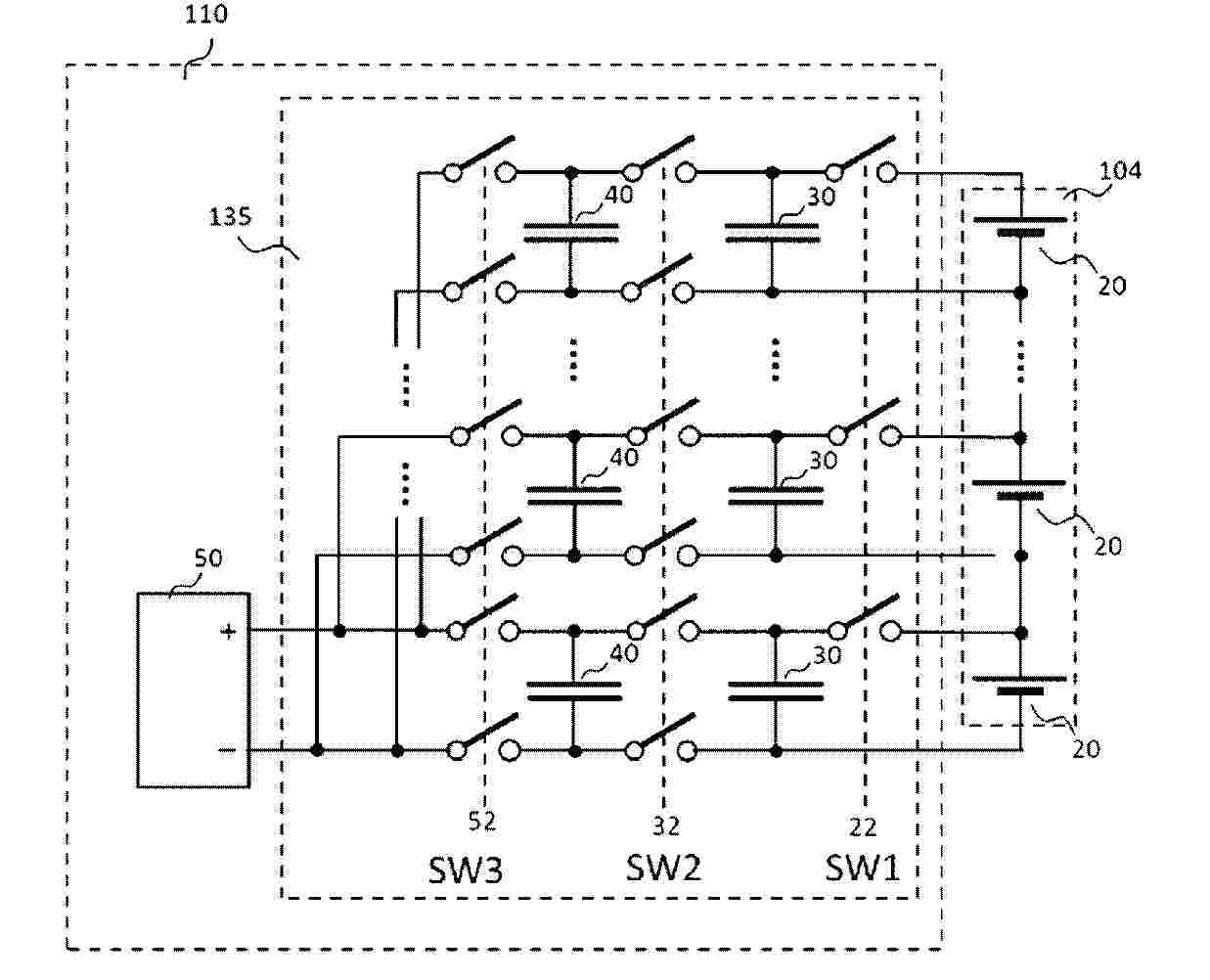
SECONDARY BATTERY VOLTAGE EQUALIZATION CHARGING DEVICE AND POWER SUPPLY PACKAGE

NºPublicación:  WO2025225473A1 30/10/2025
Solicitante: 
MINERVA LAB CORP [JP]
\u682A\u5F0F\u4F1A\u793E\u30DF\u30CD\u30EB\u30D0\u30FB\u30E9\u30DC
WO_2025225473_PA

Resumen de: WO2025225473A1

In an intermittent charging device of a conventional secondary battery module, two charging periods are required, namely, a charging period for a charging capacitor and a period for charging a secondary battery by the charging capacitor. Therefore, the charging time becomes relatively long as compared with that of a general charging device which continuously charges a secondary battery. By adding a relay capacitor and a relay capacitor switch to an intermittent charging circuit, the relay capacitor is charged during a period in which a charging capacitor charges the secondary battery, and the charge is supplied to the charging capacitor in a short time after the end of charging the secondary battery, immediately starting the period in which the charging capacitor charges the secondary battery. This allows intermittent charging to be performed in a short time that is essentially the same as in continuous charging.

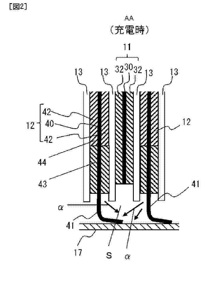
NONAQUEOUS ELECTROLYTE SECONDARY BATTERY

NºPublicación:  WO2025225455A1 30/10/2025
Solicitante: 
PANASONIC INTELLECTUAL PROPERTY MAN CO LTD [JP]
\u30D1\u30CA\u30BD\u30CB\u30C3\u30AF\uFF29\uFF30\u30DE\u30CD\u30B8\u30E1\u30F3\u30C8\u682A\u5F0F\u4F1A\u793E
WO_2025225455_PA

Resumen de: WO2025225455A1

This secondary battery comprises: an electrode body in which a positive electrode (11) and a negative electrode (12) are wound, with a separator (13) being interposed therebetween; an outer can casing which houses the electrode body and an electrolyte solution; and a negative electrode current collector plate (17) which is disposed on the bottom of the outer can casing and is electrically connected to the outer can casing. The negative electrode (12) has a core body and a mixture layer that is provided on the core body, and a negative electrode core body exposure part (41) is joined to the negative electrode current collector plate (17). The mixture layer contains a silicon-containing material as an active material, and 5 mass% or more of the silicon-containing material is contained in a lower region (43) and an upper region (44) which each have a length ratio of 20% or less in the vertical direction. The negative electrode charge capacity is 470 mAh/g or more, and the silicon-containing material includes a low expansion silicon-containing material that has a particle expansion coefficient of 210% or less in the lower region.

BATTERY ACCOMMODATION BODY, BATTERY MODULE, AND BATTERY PACK

NºPublicación:  WO2025225333A1 30/10/2025
Solicitante: 
ORGANO CORP [JP]
\u30AA\u30EB\u30AC\u30CE\u682A\u5F0F\u4F1A\u793E
WO_2025225333_PA

Resumen de: WO2025225333A1

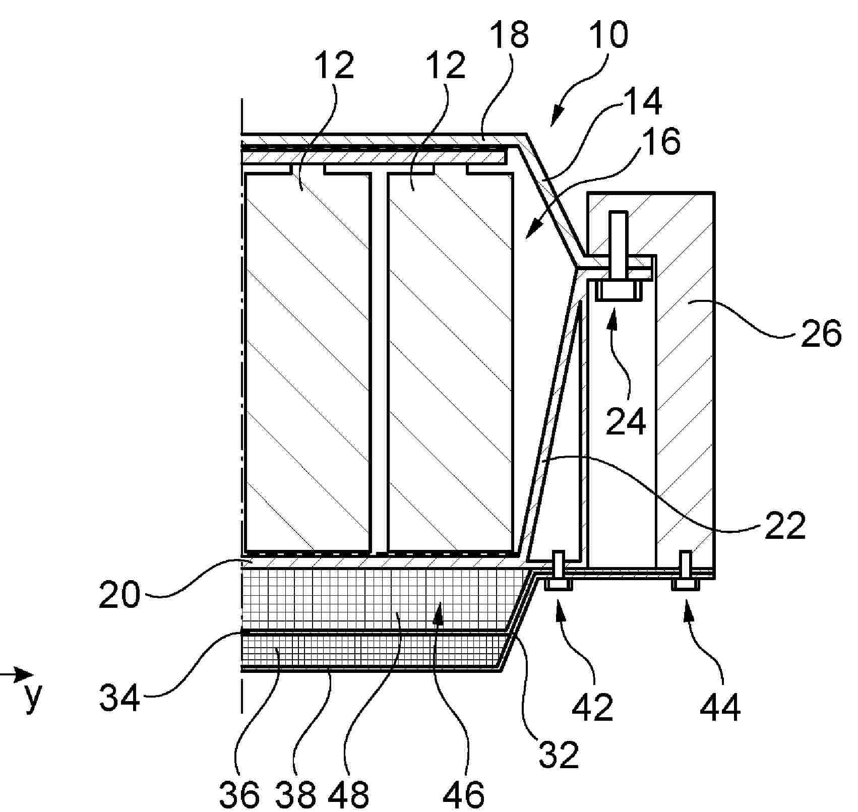
A battery accommodation body 1 includes: a housing 3 which accommodates battery cells 2; an active gas removal part 4 which is provided in the housing 3 and removes active gas generated from the battery cells 2; and a blower part 5 which is provided in the housing 3 and circulates a gaseous body in the housing 3 while distributing the gaseous body to the active gas removal part 4.

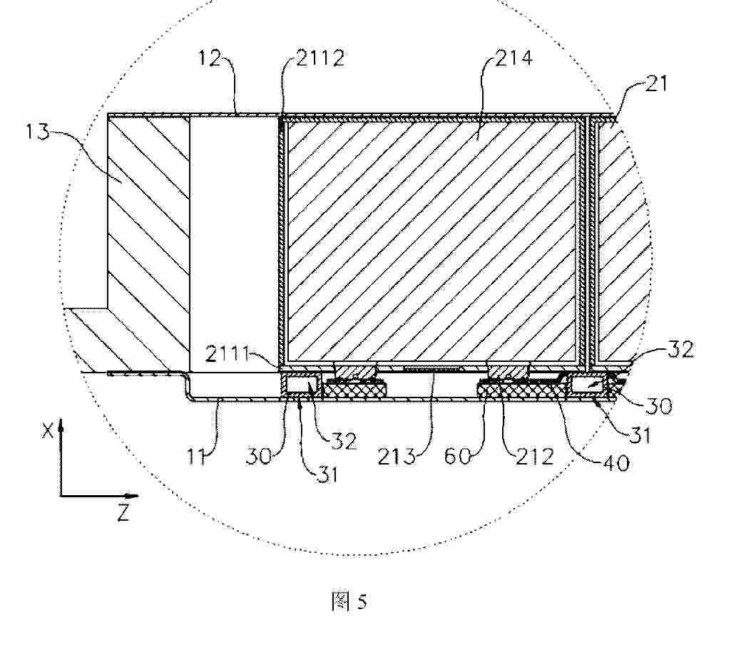
BATTERY AND ELECTRIC APPARATUS

NºPublicación:  WO2025222735A1 30/10/2025
Solicitante: 
CONTEMPORARY AMPEREX TECH CO LIMITED [CN]
\u5B81\u5FB7\u65F6\u4EE3\u65B0\u80FD\u6E90\u79D1\u6280\u80A1\u4EFD\u6709\u9650\u516C\u53F8
WO_2025222735_PA

Resumen de: WO2025222735A1

Provided are a battery (100) and an electric apparatus, which belong to the technical field of batteries. The battery (100) comprises a case (10), battery cell groups (20) and support members (30). The case (10) comprises a bottom plate (11). The battery cell groups (20) are accommodated in the case (10), and each battery cell group comprises at least one battery cell (21), the battery cell (21) comprising a casing (211), electrode terminals (212) and a pressure relief mechanism (213). The casing (211) has a wall portion (2111), wherein the wall portion (2111) is arranged to face the bottom plate (11) in the thickness direction of the bottom plate (11); and both the electrode terminals (212) and the pressure relief mechanism (213) are disposed on the casing (211), and at least one of the electrode terminals (212) and the pressure relief mechanism (213) is disposed on the wall portion (2111). The support members (30) are arranged between the wall portion (2111) and the bottom plate (11) and are connected to the wall portion (2111), and in the thickness direction of the bottom plate (11), each support member (30) has a first surface (31) facing away from the wall portion (2111), wherein the first surface (31) is closer to the bottom plate (11) than the electrode terminals (212) and the pressure relief mechanism (213). The support members (30) can protect the electrode terminals (212) or the pressure relief mechanism (213) of the battery cell (21), so as to reduce the risk of th

BATTERY AND ELECTRIC APPARATUS

NºPublicación:  WO2025222736A1 30/10/2025
Solicitante: 
CONTEMPORARY AMPEREX TECH CO LIMITED [CN]
\u5B81\u5FB7\u65F6\u4EE3\u65B0\u80FD\u6E90\u79D1\u6280\u80A1\u4EFD\u6709\u9650\u516C\u53F8
WO_2025222736_PA

Resumen de: WO2025222736A1

The present application belongs to the technical field of batteries. Provided are a battery and an electric apparatus. The battery comprises at least one battery cell group, first busbar components and fasteners, wherein the battery cell group comprises a plurality of battery cells stacked in a first direction, each battery cell comprising a casing, electrode terminals and an electrode assembly, the electrode terminals being disposed on the casing, and the electrode assembly being accommodated in the casing and being electrically connected to the electrode terminals; the first busbar components are electrically connected to electrode terminals of two adjacent battery cells in the same battery cell group; and the fasteners are connected to casings of the plurality of battery cells in the battery cell group. By means of fasteners, when battery cells expand in a first direction, the change in the spacing between electrode terminals of two adjacent battery cells in the first direction can be reduced, such that the torque or tensile force between the electrode terminals and first busbar components is absorbed and shared by the fasteners, which is conducive to reducing the risk of a connection failure between the electrode terminals and the first busbar components.

BATTERY, ELECTRIC DEVICE, AND ASSEMBLY METHOD FOR BATTERY

NºPublicación:  WO2025222722A1 30/10/2025
Solicitante: 
CONTEMPORARY AMPEREX TECH CO LIMITED [CN]
\u5B81\u5FB7\u65F6\u4EE3\u65B0\u80FD\u6E90\u79D1\u6280\u80A1\u4EFD\u6709\u9650\u516C\u53F8
WO_2025222722_PA

Resumen de: WO2025222722A1

Provided are a battery (1100), an electric device, and an assembly method for the battery (1100), relating to the technical field of batteries. The battery (1100) comprises at least one battery module (1120). Each battery module (1120) comprises battery cells (1121), a heat exchanger (1122) and a bonding layer (1123), wherein the heat exchanger (1122) is provided with a heat exchange surface (11222), and channels (11221) are formed on the heat exchanger (1122); and the bonding layer (1123) is arranged between the outer surface of each battery cell (1121) and the heat exchange surface (11222), thus bonding each battery cell (1121) to the heat exchange surface (11222). The curing time of a binder forming the bonding layer (1123) can be shortened, thereby improving the assembly efficiency of the battery (1100).

SEPARATOR, SECONDARY BATTERY, AND ELECTRIC APPARATUS

NºPublicación:  US2025337122A1 30/10/2025
Solicitante: 
CONTEMPORARY AMPEREX TECH HONG KONG LIMITED [CN]
CONTEMPORARY AMPEREX TECHNOLOGY (HONG KONG) LIMITED
US_2025337122_PA

Resumen de: US2025337122A1

This application provides a separator, including a first base film and a second base film, where a melting point of the second base film is lower than a melting point of the first base film; puncture strength of the second base film is 220 gf-460 gf, and puncture strength of the separator is 330 gf-620 gf. When the puncture strength of the first base film and the puncture strength of the separator are within the above ranges, the reliability of a secondary battery can be improved.

SEPARATOR FOR RECHARGEABLE LITHIUM BATTERY AND RECHARGEABLE LITHIUM BATTERY INCLUDING THE SAME

NºPublicación:  US2025337121A1 30/10/2025
Solicitante: 
SAMSUNG SDI CO LTD [KR]
SAMSUNG SDI CO., LTD
US_2025337121_PA

Resumen de: US2025337121A1

Examples of the present disclosure include a separator for a rechargeable lithium battery, and a rechargeable lithium battery including the separator. The separator includes a porous substrate and a coating layer on at least one surface of the porous substrate. The coating layer includes a heat-resistant layer including a binder and a filler, and an adhesive layer including an adhesive binder on the heat-resistant layer. The binder includes a (meth)acryl-based binder including a first structural unit derived from (meth)acrylic acid, (meth)acrylate, or a salt thereof, a second structural unit derived from hydroxyalkyl (meth)acrylate, and a third structural unit derived from (meth)acrylamido sulfonic acid or a salt thereof. The filler includes a mixture of a cubic filler a plate-shaped filler. The adhesive binder includes a fluorine-based adhesive binder having a hydroxyl group or a carboxylic acid group.

RECHARGEABLE BATTERY PACK

Nº publicación: US2025337126A1 30/10/2025

Solicitante:

SAMSUNG SDI CO LTD [KR]
Samsung SDI Co., Ltd

US_2025337126_PA

Resumen de: US2025337126A1

A rechargeable battery pack may include: a battery housing including an inner space; a series of unit battery cells accommodated in the inner space; a first bus bar configured to electrically connect the unit battery cells above the unit battery cells; a second bus bar configured to electrically connect the unit battery cells under the unit battery cells and contact a bottom plate of the battery housing in the inner space; and a cooling unit in the battery housing under the second bus bar configured to accommodate a cooling medium to flow therein for cooling the unit battery cells.

traducir