Ministerio de Industria, Turismo y Comercio LogoMinisterior
 

Alerta

Resultados 1362 resultados
LastUpdate Última actualización 02/05/2026 [08:13:00]
pdfxls
Publicaciones de los últimos 15 días/Last 15 days publications (excluidas pubs. CN y JP /CN and JP pubs. excluded)
previousPage Resultados 225 a 250 de 1362 nextPage  

HEAT INSULATION ASSEMBLY AND USE

NºPublicación:  WO2026086714A1 30/04/2026
Solicitante: 
BYD COMPANY LTD [CN]
\u6BD4\u4E9A\u8FEA\u80A1\u4EFD\u6709\u9650\u516C\u53F8
WO_2026086714_A1

Resumen de: WO2026086714A1

Provided in the present application are a heat insulation assembly and the use. The heat insulation assembly comprises a heat insulation layer and a heat absorbing agent, wherein the heat insulation layer comprises a pore structure, and at least part of the pore structure of the heat insulation layer is filled with the heat absorbing agent. The heat insulation layer is a fiber mat reinforced aerogel, and the thermal conductivity coefficient of the fiber mat reinforced aerogel at 25°C is less than or equal to 0.025 W/mK, and the thermal conductivity coefficient thereof at 300°C is less than or equal to 0.075 W/mK. The heat absorbing agent is a gel-state heat absorbing agent or a liquid-state heat absorbing agent; and the heat absorbing agent absorbs heat and turns into a gaseous state, and the enthalpy value of the heat absorbing agent is greater than or equal to 1200 J/g.

BATTERY PACK

NºPublicación:  US20260121133A1 30/04/2026
Solicitante: 
SAMSUNG SDI CO LTD [KR]
Samsung SDI Co., Ltd.
US_20260121133_A1

Resumen de: US20260121133A1

A battery pack includes: a battery cell including a case forming an external shape, an electrode assembly, and an electrolyte, the electrode assembly and the electrolyte being accommodated together inside the case; and a vibrator on the case of the battery cell and configured to generate a vibration wave propagating inside the case to suppress or decompose precipitation of dendrites or lithium salts from the electrolyte.

ELECTRODE PLATE DETECTION DEVICE, AND ELECTRODE PLATE SLITTING MACHINE

NºPublicación:  WO2026086383A1 30/04/2026
Solicitante: 
WUXI LEAD INTELLIGENT EQUIPMENT CO LTD [CN]
\u65E0\u9521\u5148\u5BFC\u667A\u80FD\u88C5\u5907\u80A1\u4EFD\u6709\u9650\u516C\u53F8
WO_2026086383_A1

Resumen de: WO2026086383A1

An electrode plate detection device, and an electrode plate slitting machine. The electrode plate detection device comprises a support (1), a detection mechanism (2) and a driving mechanism (3), wherein at least one detection mechanism (2) is arranged on the support (1), and the detection mechanism (2) has a working position and a clearance position; and the detection mechanism (2) comprises a light source structure (22), a deflection structure (23) and an image forming structure (24), wherein the light source structure (22) is configured to emit light towards an electrode plate slitting end face, and the deflection structure (23) can deflect the light, which is reflected by the electrode plate slitting end face at the light source structure, by a set included angle, so as to facilitate the transmission of the deflected light to the image forming structure (24). The electrode plate detection device has a compact size, is convenient to operate, and saves on space, thereby realizing miniaturization of the electrode plate detection device.

Electrical Power System

NºPublicación:  US20260121432A1 30/04/2026
Solicitante: 
INSTAGRID GMBH [DE]
instagrid GmbH
US_20260121432_A1

Resumen de: US20260121432A1

An electrical system with selectable output voltage is disclosed. An example system includes a first set of energy storage modules, a second set of energy storage modules, a choke connected to the first set of energy storage modules and the second set of energy storage modules, and a switch configured to switch between a first state and a second state. Upon switching the switch to the first state, the first set of energy storage modules are connected in parallel with the second set of energy storage modules to provide a first voltage to at least one output. Upon switching the switch to the second state, the first set of energy storage modules are connected in series with the second set of energy storage modules to provide a second voltage to the at least one output.

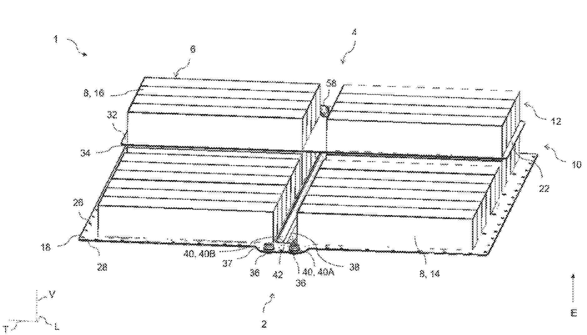
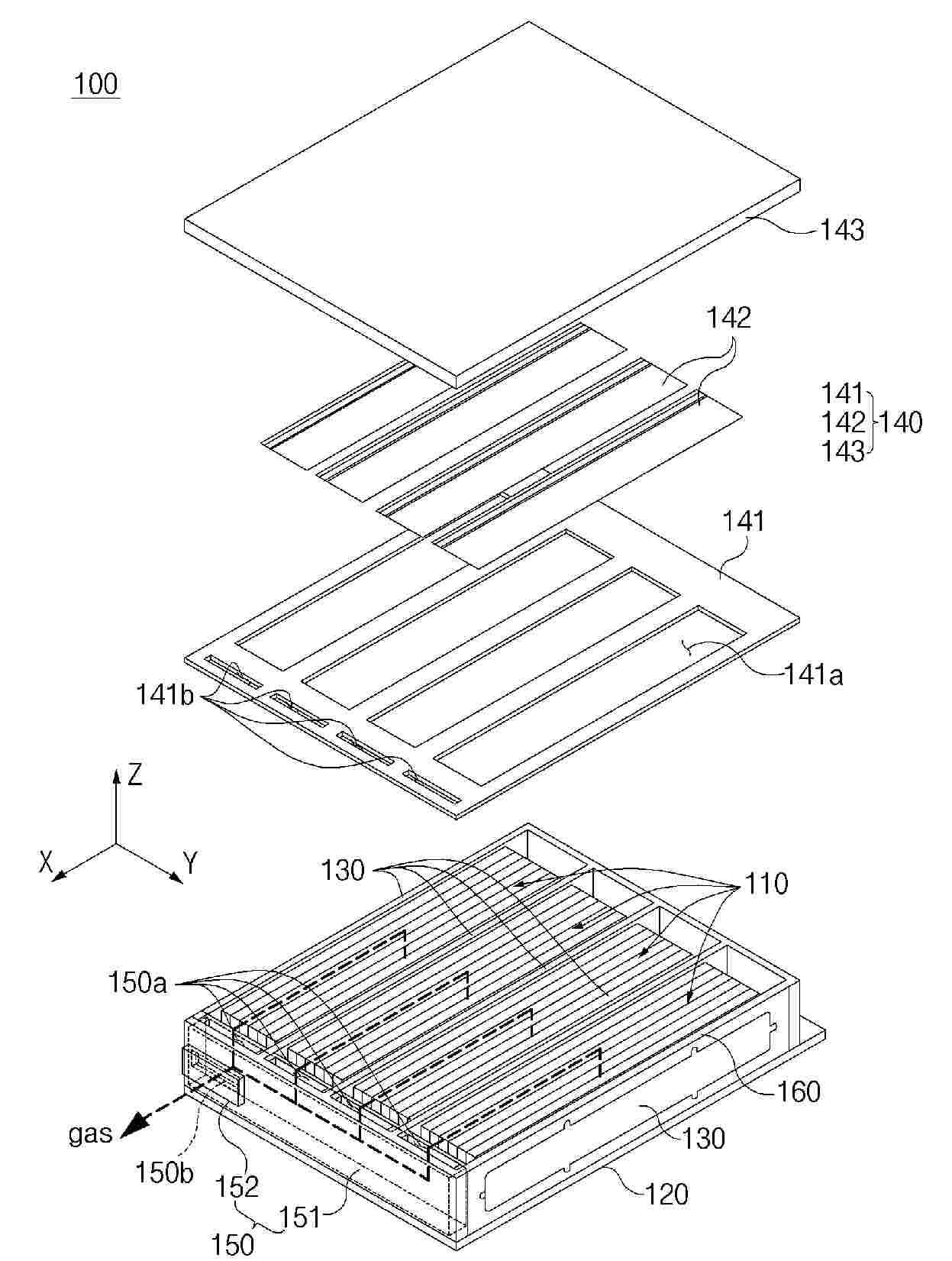
COVER PLATE ASSEMBLY AND BATTERY

NºPublicación:  WO2026085951A1 30/04/2026
Solicitante: 
EVE POWER CO LTD [CN]
\u6E56\u5317\u4EBF\u7EAC\u52A8\u529B\u6709\u9650\u516C\u53F8
WO_2026085951_A1

Resumen de: WO2026085951A1

Disclosed in the present application are a cover plate assembly and a battery. The cover plate assembly comprises a cover plate body, a monitoring device, conductive members and fixing members; the monitoring device is mounted on a side of the cover plate body, and is located between a first post and a second post on the cover plate body; the conductive members are connected to the monitoring device, the first post and the second post, are located between the cover plate body and the fixing members, and are used for fixing the conductive members. In the present application, there is no need to provide an individual power supply to supply power to the monitoring device, thereby reducing the number of parts.

BATTERY HOUSING AND BATTERY PACK

NºPublicación:  US20260121218A1 30/04/2026
Solicitante: 
SK ON CO LTD [KR]
SK ON CO., LTD.
US_20260121218_A1

Resumen de: US20260121218A1

0000 According to the present disclosure, there is provided a battery housing comprising a gas guide device having first and second plates spaced apart from each other with a space therebetween, and a case in which a battery module and the gas guide device are accommodated, wherein an opening portion is provided to pass through the first plate and is connected to the space, a guide portion protruding toward the opening portion is provided on the second plate, and the gas guide device being arranged so that the opening portion is oriented toward the battery module.

APPARATUS AND METHOD FOR MANAGING BATTERY

NºPublicación:  US20260118441A1 30/04/2026
Solicitante: 
LG ENERGY SOLUTION LTD [KR]
LG ENERGY SOLUTION, LTD.
US_20260118441_A1

Resumen de: US20260118441A1

A battery management apparatus located in a battery system including a plurality of battery groups, may include at least one processor, and a memory configured to store instructions executed by the at least one processor. The instructions may include an instruction to detect an occurrence of an abnormality in the battery system, an instruction to determine a specific battery group of the plurality of battery groups in which the abnormality has occurred depending on whether balancing has been performed when the abnormality has occurred in the battery system, and an instruction to detect a specific battery in which the abnormality has occurred based on temperatures of a plurality of batteries in the specific battery group.

BATTERY CELL AND METHOD FOR MANUFACTURING BATTERY CELL

NºPublicación:  US20260121257A1 30/04/2026
Solicitante: 
LG ENERGY SOLUTION LTD [KR]
LG Energy Solution, Ltd.
US_20260121257_A1

Resumen de: US20260121257A1

0000 Provided is a battery cell including of: an electrode tab assembly in which a plurality of electrode tabs extending from a plurality of electrode plates to one side are stacked; a case in which the plurality of electrode plates are accommodated; and a lead tab electrically connected to the electrode tab assembly and having at least a portion exposed to the outside of the case. The electrode tab assembly includes: a first connection part formed by welding and coupling at least some of the plurality of electrode tabs to each other, and a second connection part extending from the first connection part and welded and coupled to the lead tab, wherein the number of electrode tabs constituting the second connection part is smaller than the number of electrode tabs constituting the first connection part.

SOLID ELECTROLYTE LAYER COMPRISING MULTIPLE SUBLAYERS AND ALL SOLID-STATE BATTERY COMPRISING SAME

NºPublicación:  US20260121107A1 30/04/2026
Solicitante: 
FACTORIAL INC [US]
Factorial Inc.
US_20260121107_A1

Resumen de: US20260121107A1

0000 Disclosed is an anode all solid state battery (ASSB) comprising an anode layer, a cathode layer, a solid electrolyte layer therebetween, wherein the solid electrolyte layer comprises a first sublayer adjacent to the anode layer and a second sublayer adjacent to the cathode layer, at least one of the sublayers comprises a scaffold, the scaffold is impregnated with an electrolyte at a side of the at least one of the sublayers, and the side with the scaffold faces toward the other sublayer. The other side with no or less scaffold faces toward the either electrode layer. The ASSB exhibits a decreased impedance and an improved electrochemical performance.

PIN MEMBER AND BATTERY

NºPublicación:  WO2026086042A1 30/04/2026
Solicitante: 
HUIZHOU EVE POWER CO LTD [CN]
EVE POWER CO LTD [CN]
\u60E0\u5DDE\u4EBF\u7EAC\u52A8\u529B\u7535\u6C60\u6709\u9650\u516C\u53F8
\u6E56\u5317\u4EBF\u7EAC\u52A8\u529B\u6709\u9650\u516C\u53F8
WO_2026086042_A1

Resumen de: WO2026086042A1

Provided in the present application are a pin member and a battery. The pin member comprises a tab connecting section, an adapter section, and a post connecting section. The adapter section is in bent connection to the tab connecting section, there being a first included angle between the adapter section and the tab connecting section. The post connecting section is in bent connection to the adapter section, part of the post connecting section overlapping the adapter section.

METHOD OF RECYCLING CATHODE ACTIVE MATERIAL AND RECYCLED CATHODE ACTIVE MATERIAL PREPARED USING THE SAME

NºPublicación:  US20260116778A1 30/04/2026
Solicitante: 
LG ENERGY SOLUTION LTD [KR]
LG ENERGY SOLUTION, LTD.
US_20260116778_A1

Resumen de: US20260116778A1

The present disclosure relates to a method of recycling a cathode active material and a recycled cathode active material prepared using the same. The method of recycling a cathode active material includes: (a) performing a first heat-treatment of a waste cathode containing a current collector and a cathode active material layer coated on the current collector in the air or under oxygen atmosphere to recover a cathode active material; (b) adding a lithium precursor to the recovered cathode active material and performing a second heat treatment in the air to recover the crystal structure of the cathode active material; (c) adding a dopant precursor to the cathode active material having the recovered crystal structure and performing doping by a third heat treatment; and (d) washing the doped cathode active material with a washing solution. The method of recycling a cathode active material provides improved capacity characteristics and lifespan characteristics and excellent crack resistance by doping a recycled cathode active material with a predetermined dopant.

BUS BAR

NºPublicación:  US20260121242A1 30/04/2026
Solicitante: 
YAZAKI CORP [JP]
Yazaki Corporation
US_20260121242_A1

Resumen de: US20260121242A1

A bus bar includes: a bus bar body that is formed in a flat plate shape and is arranged between one battery cell and an other battery cell adjacent to each other in a battery module in which a plurality of battery cells are arranged, in which the bus bar body is divided into two parts including a first terminal connecting body whose welding target is a first electrode terminal of the one battery cell and a second terminal connecting body whose welding target is a second electrode terminal of the other battery cell.

CONDUCTIVE MODULE

NºPublicación:  US20260121259A1 30/04/2026
Solicitante: 
YAZAKI CORP [JP]
Yazaki Corporation
US_20260121259_A1

Resumen de: US20260121259A1

0000 A conductive module includes: a terminal connection structure that keeps a first electrode terminal and a second electrode terminal in an overlapping state; and a conductive member that is electrically connected to a battery monitoring unit, in which the first electrode terminal and the second electrode terminal include bonding portions that bond the first electrode terminal and the second electrode terminal to each other by pressing bonding surfaces against each other, the terminal connection structure includes a first pressure member that applies a pressure to the bonding portion and a second pressure member that applies a pressure to the bonding portion, and the second pressure member is physically and electrically connected to the conductive member to electrically connect the conductive member to the first electrode terminal and the second electrode terminal.

BATTERY PACK

NºPublicación:  US20260121159A1 30/04/2026
Solicitante: 
HYUNDAI MOBIS CO LTD [KR]
HYUNDAI MOBIS CO., LTD.
US_20260121159_A1

Resumen de: US20260121159A1

0000 A battery pack and a cooling apparatus therefor are provided. The battery pack includes a casing part to accommodate a battery group, the casing part includes a lower casing region and having a lower flow path, and an upper casing region having an upper flow path. When a cooling fluid is supplied to the flow path, a flow direction of the cooling fluid in a first upper flow path region of the upper flow path is opposite to a flow direction of the cooling fluid in a first lower flow path region of the lower flow path that faces the first upper flow path region in a vertical direction.

SOLID-STATE BATTERY CELL, MANUFACTURING METHOD THEREFOR AND SOLID-STATE BATTERY

NºPublicación:  WO2026085756A1 30/04/2026
Solicitante: 
NANTONG MORLUS TECH COMPANY LIMITED [CN]
\u5357\u901A\u5E02\u61CB\u7565\u79D1\u6280\u6709\u9650\u516C\u53F8
WO_2026085756_A1

Resumen de: WO2026085756A1

In order to solve the problem of existing solid-state batteries in which poor interfacial compatibility between positive and negative electrode layers and solid electrolyte layers affects lithium ion transport, the present invention provides a solid-state battery cell, comprising a solid-state electrolyte layer, a positive electrode material layer and a negative electrode material layer, the positive electrode material layer and the negative electrode material layer being respectively located on two sides of the solid-state electrolyte layer. The positive electrode material layer and the solid-state electrolyte layer interpenetrate each other at a contact interface therebetween to form a positive electrode transition region, and the negative electrode material layer and the solid-state electrolyte layer interpenetrate each other at a contact interface therebetween to form a negative electrode transition region. In addition, further disclosed in the present invention are a solid-state battery comprising the solid-state battery cell and a manufacturing method for the solid-state battery cell. The solid-state battery cell provided by the present invention has a low internal resistance, aiding in its usage under high-rate charging and discharging conditions and reducing the heat generation problem of batteries.

Electrolyte Additive, Non-Aqueous Electrolyte for Lithium Secondary Battery Including the Same and Lithium Secondary Battery

NºPublicación:  US20260121122A1 30/04/2026
Solicitante: 
LG ENERGY SOLUTION LTD [KR]
LG Energy Solution, Ltd.
US_20260121122_A1

Resumen de: US20260121122A1

Provided are an electrolyte additive, a non-aqueous electrolyte, and a lithium secondary battery including the same. Specifically, the electrolyte additive including a compound represented by Formula 1 provides a lithium secondary battery with excellent cycle characteristics by forming a robust SEI layer on the surface of the negative electrode.

CONDUCTIVE MODULE

NºPublicación:  US20260121235A1 30/04/2026
Solicitante: 
YAZAKI CORP [JP]
YAZAKI CORPORATION
US_20260121235_A1

Resumen de: US20260121235A1

0000 A conductive module includes: a bus bar connected to electrode terminals of a pair of battery cells in a battery module; a circuit conductor component; a first case in which a bus bar accommodating portion that accommodates the bus bar at an accommodation completion position inside is provided for each bus bar; and a second case provided with a circuit accommodating portion, in which the bus bar accommodating portion has a bottom wall, the first case has a first engaging portion, and the second case has a bus bar holding portion provided for each bus bar accommodating portion to sandwich the bus bar at the accommodation completion position with the bottom wall, and a second engaging portion provided for each bus bar accommodating portion and engaged with the first engaging portion to maintain the bus bar holding portion at a position for sandwiching the bus bar.

NIOBIUM-BASED NEGATIVE ELECTRODES AND HIGH ENERGY DENSITY RECHARGEABLE LITHIUM-ION BATTERIES WITH THE SAME

NºPublicación:  US20260121033A1 30/04/2026
Solicitante: 
MEDTRONIC INC [US]
THE ROYAL INSTITUTION FOR THE ADVANCEMENT OF LEARNING/MCGILL UNIV [CA]
Medtronic, Inc.
The Royal Institution for the Advancement of Learning/McGill University
US_20260121033_A1

Resumen de: US20260121033A1

Rechargeable lithium-ion cells and implantable medical devices including the same are provided herein with niobium-based negative electrodes and high voltage positive electrodes. Electrode active materials are provided herein, including pseudoternary compositions within a Ti—Nb—W—O pseudoternary system and/or including titanium, niobium, oxygen, and an elemental dopant. Rechargeable lithium-ion cells provided herein with niobium-based negative electrodes afford improved energy density, and, more particularly, provide improved energy density at operating voltages for use in implantable medical devices.

ENERGY STORAGE SYSTEM

NºPublicación:  US20260121239A1 30/04/2026
Solicitante: 
SAMSUNG SDI CO LTD [KR]
SAMSUNG SDI CO., LTD.
US_20260121239_A1

Resumen de: US20260121239A1

An energy storage system is provided having reduced overall length of bus bars that are configured to connect a plurality of battery modules and a minimized difference in length between the bus bars. The energy storage system including a battery module stack including a plurality of first battery modules and a plurality of second battery modules alternately arranged in a first direction, a first module bus bar configured to electrically connect a pair of first battery modules disposed adjacent to each other among the plurality of first battery modules with one second battery module interposed therebetween, a second module bus bar configured to electrically connect a pair of second battery modules disposed adjacent to each other among the plurality of second battery modules with one first battery module interposed therebetween, and a third module bus bar configured to electrically connect one of the first battery modules and one of the second battery modules that are arranged adjacent to each other.

WOUND SEPARATOR, WOUND SEPARATOR MANUFACTURING METHOD, ELECTRODE ASSEMBLY MANUFACTURING APPARATUS, AND ELECTRODE ASSEMBLY MANUFACTURING METHOD

NºPublicación:  US20260121220A1 30/04/2026
Solicitante: 
LG ENERGY SOLUTION LTD [KR]
LG ENERGY SOLUTION, LTD.
US_20260121220_A1

Resumen de: US20260121220A1

An electrode assembly manufacturing apparatus includes: a wound separator in which two or more layers of separators are stacked and wound; a separator supply unit that individually separates and supplies the two or more layers of separators from the wound separator; a first electrode supply unit that supplies a first electrode; a second electrode supply unit that supplies a second electrode; and a winding unit that individually stacks and winds each separated separator, between the first electrode and the second electrode and on an outer side of the first electrode or the second electrode.

SINGLE CRYSTAL CATHODE MATERIAL, PREPARATION METHOD THEREOF, AND LITHIUM-ION BATTERY

NºPublicación:  US20260121104A1 30/04/2026
Solicitante: 
BEIJING EASPRING MATERIAL TECH CO LTD [CN]
BEIJING EASPRING MATERIAL TECHNOLOGY CO., LTD.
US_20260121104_A1

Resumen de: US20260121104A1

The present disclosure relates to the field of lithium-ion batteries and discloses a single crystal cathode material, a preparation method thereof, and a lithium-ion battery. The single crystal cathode material has a size distribution B90=(P90−P10)/P50 of single crystal particles satisfying 0.9≤B90≤1.4. A Young's modulus E of the cathode material, measured by Atomic Force Microscopy, satisfies 100 GPa≤E≤200 GPa. The single crystal particles of the single crystal cathode material have a specific particle size distribution, enabling the single crystal cathode material to have a high compaction density, and to have a higher Young's modulus allowing the single crystal cathode material to withstand a higher rolling force during the preparation of the battery, thereby improving the volume energy density of the lithium-ion battery including the cathode material.

Zellverbinder für Pouch-Zellanordnungen, Pouch-Zellanordnung sowie Batteriepack

NºPublicación:  DE102024131845A1 30/04/2026
Solicitante: 
UNIVERSAL TRANS GESELLSCHAFT FUER ANTRIEBSTECHNIK MBH [DE]
UNIVERSAL TRANSMISSIONS Gesellschaft f\u00FCr Antriebstechnik mbH
DE_102024131845_PA

Resumen de: DE102024131845A1

Die Erfindung betrifft einen Zellverbinder (1, 1a, 1b) für Pouch-Zellanordnungen (42) eines Batteriepacks (58), wobei der Zellverbinder ausgestaltet ist, zwei in einer Stapelrichtung (2) übereinanderliegende Pouch-Zellen (4, 4a, 4b) mit jeweils einer ersten und einer zweiten, in Stapelrichtung von einer Öffnung (8) durchsetzten Elektrode (6, 6a, 6b) zu verbinden, und ferner aufweist: einen elektrisch leitfähigen Kontaktkörper (12), der ausgestaltet ist, die ersten Elektroden in Stapelrichtung elektrisch zu verbinden, wobei der Kontaktkörper zwei in Stapelrichtung parallel zueinander angeordnete Elektrodenauflageflächen (16) aufweist, und wobei der Kontaktkörper von einer Durchgangsöffnung (18) durchsetzt ist, die sich in Stapelrichtung zwischen den Elektrodenauflageflächen erstreckt; und eine wenigstens abschnittsweise in der Durchgangsöffnung angeordnete Klemmvorrichtung (14), die ausgestaltet ist, jede der ersten Elektroden gegen wenigstens eine der Elektrodenauflageflächen zu drücken. Ein solcher Zellverbinder erhöht die Stabilität und Lebensdauer von Pouch-Batterien und verringert gleichzeitig den Wartungsaufwand und die Kosten.

ELECTRODE FOR SECONDARY BATTERY COMPRISING OVER-LITHIATED MANGANESE-BASED OXIDE, AND LITHIUM SECONDARY BATTERY COMPRISING SAME

NºPublicación:  WO2026089302A1 30/04/2026
Solicitante: 
LG ENERGY SOLUTION LTD [KR]
\uC8FC\uC2DD\uD68C\uC0AC \uC5D8\uC9C0\uC5D0\uB108\uC9C0\uC194\uB8E8\uC158
WO_2026089302_A1

Resumen de: WO2026089302A1

An embodiment of the present invention provides an electrode for a secondary battery, and a lithium secondary battery, the electrode including an electrode current collector and an electrode layer formed on one surface or both surfaces of the electrode current collector, wherein the electrode layer includes a lithium-based active material including: an over-lithiated manganese-based oxide in which a molar ratio of lithium to transition metals other than lithium is more than 1 and a molar content of manganese in the transition metals is 50 mol % or more; and a coating layer formed on a surface of the over-lithiated manganese-based oxide, and the coating layer includes Co in an amount of 3000 ppm to 8000 ppm on the basis of the total weight of the lithium-based active material.

Verfahren zum Überwachen von Isolationswiderständen und entsprechendes Steuergerät

NºPublicación:  DE102024210448A1 30/04/2026
Solicitante: 
SCHAEFFLER TECHNOLOGIES AG [DE]
Schaeffler Technologies AG & Co. KG
DE_102024210448_PA

Resumen de: DE102024210448A1

Die Erfindung betrifft ein Verfahren zum Überwachen einer Isolation zwischen zwei elektrischen Leitungen (102, 103), insbesondere elektrischen Hochvolt-Leitungen, und Masse (104) mittels einer Isolationsüberwachungs-Schaltung, wobei die Isolationsüberwachungs-Schaltung zwei Schalter (SWTestP, SWTestM) aufweist, das Verfahren aufweisend die folgenden Schritte: (a) Schalten der beiden Schalter (SWTestP, SWTestM) gemäß einer Schaltsequenz (111) bestehend aus einer Abfolge mehrerer Schaltzustände (112) der beiden Schalter (SWTestP, SWTestM); (b) Bestimmen eines Verlaufs einer vorgegebenen Größe (118, 119) während eines vorgegebenen Schaltzustands der mehreren Schaltzustände (112); (c) Extrapolieren zumindest eines Teils des Verlaufs, um einen Sättigungswert der vorgegebenen Größe (118, 119) für den vorgegebenen Schaltzustand zu erhalten; und (d) Bestimmen zumindest eines Isolationswiderstands (RisoPP, RisoPM, RisoLP, RisoLM) basierend auf dem Sättigungswert. Weiterhin betrifft die Erfindung ein entsprechendes Steuergerät und Computerprogramm.

BATTERIESYSTEM

Nº publicación: DE102025139624A1 30/04/2026

Solicitante:

TOYOTA MOTOR CO LTD [JP]
TOYOTA JIDOSHA KABUSHIKI KAISHA

DE_102025139624_PA

Resumen de: DE102025139624A1

Jedes aus Batteriepacks umfasst einen ersten und einen zweiten Stromdetektor, die einen durch einen Batteriestapel fließenden Strom erfassen. Wenn die erfassten Werte des ersten und des zweiten Stromdetektors in einem Batteriepack nicht übereinstimmen, wird der Austausch von elektrischer Energie zwischen diesem Batteriepack und einem anderen Batteriepack durch eine Steuervorrichtung durchgeführt, die einen zu jedem Batteriepack gehörenden DC/DC-Wandler in Betrieb setzt. Während des Betriebs des DC/DC-Wandlers vergleicht die Steuervorrichtung die erfassten Werte des ersten und zweiten Stromdetektors in dem einen Batteriepack mit dem erfassten Wert des ersten Stromdetektors in dem anderen Batteriepack und wählt einen normalen Stromdetektor aus dem ersten und zweiten Stromdetektor in dem einen Batteriepack aus.

traducir