Ministerio de Industria, Turismo y Comercio LogoMinisterior
 

Alerta

Resultados 1315 resultados
LastUpdate Última actualización 04/11/2025 [07:11:00]
pdfxls
Publicaciones de los últimos 15 días/Last 15 days publications (excluidas pubs. CN y JP /CN and JP pubs. excluded)
previousPage Resultados 325 a 350 de 1315 nextPage  

BATTERY APPARATUS AND ELECTRICAL APPARATUS

NºPublicación:  WO2025223480A1 30/10/2025
Solicitante: 
CONTEMPORARY AMPEREX TECH CO LIMITED [CN]
\u5B81\u5FB7\u65F6\u4EE3\u65B0\u80FD\u6E90\u79D1\u6280\u80A1\u4EFD\u6709\u9650\u516C\u53F8
WO_2025223480_PA

Resumen de: WO2025223480A1

A battery apparatus (100) and an electrical apparatus (1000). The battery apparatus comprises: a box body (10); a battery cell assembly (20) accommodated within the box body; and a heat exchange assembly (30) accommodated within the box body and in heat exchange with the battery cell assembly. The heat exchange assembly comprises: a heat exchange main body (31), comprising a plurality of heat exchange flow channels (301); and a flow collecting structure disposed at both ends of the heat exchange main body in a first direction, each flow collecting structure comprising a blocking member (321), an adapter (323), and a flow collecting member (322). The blocking member comprises a connecting portion (3211) and at least two blocking portions (3212). The at least two blocking portions are connected by means of the connecting portion, and the at least two blocking portions are configured to be able to block at least two of the heat exchange flow channels. The adapter is formed on the heat exchange main body. A flow collecting chamber (3221) is formed in the interior of the flow collecting member. The flow collecting member is sealingly fitted and connected to the heat exchange main body by means of the adapter, and the flow collecting member is provided with a communication port (322a) in communication with the flow collecting chamber.

AUTOMOTIVE AIR CONDITIONING SYSTEM

NºPublicación:  WO2025223481A1 30/10/2025
Solicitante: 
BYD COMPANY LTD [CN]
\u6BD4\u4E9A\u8FEA\u80A1\u4EFD\u6709\u9650\u516C\u53F8
WO_2025223481_PA

Resumen de: WO2025223481A1

A vehicle, comprising an automotive air conditioning system. The automotive air conditioning system comprises a heating loop and a cooling loop that are independent of each other. Both the heating loop and the cooling loop pass through a passenger compartment and a power battery system of the vehicle. The heating loop is used for heating the passenger compartment and/or the power battery system. The cooling loop is used for cooling the passenger compartment and/or the power battery system.

ELECTRODE SHEET, CORE, BATTERY AND ELECTRIC DEVICE

NºPublicación:  WO2025223264A1 30/10/2025
Solicitante: 
BYD COMPANY LTD [CN]
\u6BD4\u4E9A\u8FEA\u80A1\u4EFD\u6709\u9650\u516C\u53F8
WO_2025223264_PA

Resumen de: WO2025223264A1

An electrode sheet, a core, a battery and an electric device. The battery comprises the core, wherein the core is provided with the electrode sheet, a first coating portion and a second coating portion being spaced apart on the same surface of the electrode sheet, and the area of the electrode sheet located between the first coating portion and the second coating portion forming a first non-coating portion.

BATTERY CELL, BATTERY, AND ELECTRICAL APPARATUS

NºPublicación:  WO2025222339A1 30/10/2025
Solicitante: 
CONTEMPORARY AMPEREX TECH CO LIMITED [CN]
\u5B81\u5FB7\u65F6\u4EE3\u65B0\u80FD\u6E90\u79D1\u6280\u80A1\u4EFD\u6709\u9650\u516C\u53F8
WO_2025222339_PA

Resumen de: WO2025222339A1

The embodiments of the present application provide a battery cell, a battery, and an electrical apparatus. The battery cell comprises a housing, a top cover, and an electrode assembly. The housing is provided with an accommodating space and an opening. The top cover seals and covers the opening. The electrode assembly is arranged within the accommodating space. An inner side wall of at least part of the area of the housing located at the opening is thickened to form a thickened area, an edge of the top cover is formed with a connecting area matching the thickened area, and the connecting area is connected with the thickened area. The inner side wall of at least part of the area of the housing located at the opening is thickened to form the thickened area, thereby increasing the structural strength of the connection between the housing and the top cover, so as to increase the connection strength of the housing and the top cover, thereby reducing the risk of fatigue cracking of the connecting structure between the housing and the top cover, improving the problem of failure of the connecting structure between the housing and the top cover, improving the expansion resistance of a casing, and increasing the service life of the battery cell.

BATTERY CASE, BATTERY PACK AND METHOD FOR MANUFACTURING BATTERY CASE

NºPublicación:  WO2025222593A1 30/10/2025
Solicitante: 
EVE ENERGY CO LTD [CN]
\u60E0\u5DDE\u4EBF\u7EAC\u9502\u80FD\u80A1\u4EFD\u6709\u9650\u516C\u53F8
WO_2025222593_PA

Resumen de: WO2025222593A1

Disclosed in the present application is a battery case, comprising: a case main body, wherein a diversion inner channel and an output pipe joint are provided on an inner support beam of the case main body, and the output pipe joint is in communication with the diversion inner channel; and a liquid cooling assembly, wherein the liquid cooling assembly comprises a first flow splitting member and a second flow splitting member, which are arranged opposite each other; the liquid cooling assembly is mounted in the case main body; the diversion inner channel runs through the space between the first flow splitting member and the second flow splitting member, and both the first flow splitting member and the second flow splitting member are in communication with the output pipe joint; in addition, the first flow splitting member guides a heat exchange medium to be conveyed from a side close to the diversion inner channel and in a diagonal direction of the first flow splitting member, and the second flow splitting member conveys from a side close to the diversion inner channel and in a diagonal direction of the second flow splitting member.

POLYIONIC LIQUID, CERAMIC ELECTROLYTE FILM, AND USE

NºPublicación:  WO2025222561A1 30/10/2025
Solicitante: 
SHENZHEN INX TECH CO LTD [CN]
\u6DF1\u5733\u6B23\u754C\u80FD\u6E90\u79D1\u6280\u6709\u9650\u516C\u53F8
WO_2025222561_PA

Resumen de: WO2025222561A1

A polyionic liquid, a ceramic electrolyte film, and a use, relating to the technical field of batteries. The polyionic liquid comprises a polymer and a first lithium salt, and the polymer is linked to the first lithium salt by means of a chemical bond. The polyionic liquid has flexibility and high conductivity, so that the ionic conductivity and stability of an electrolyte can be effectively improved.

COMPOSITION, COMPOSITE FILM, AND USE

NºPublicación:  WO2025222560A1 30/10/2025
Solicitante: 
SHENZHEN INX TECH CO LTD [CN]
\u6DF1\u5733\u6B23\u754C\u80FD\u6E90\u79D1\u6280\u6709\u9650\u516C\u53F8
WO_2025222560_A1

Resumen de: WO2025222560A1

Provided are a composition, a composite film, and a use. The composition comprises a ceramic electrolyte and an ionic liquid, wherein the ionic liquid comprises a piperidine ionic liquid. The provided composition has high ionic conductivity.

SECONDARY BATTERY, MANUFACTURING METHOD FOR NEGATIVE ELECTRODE SHEET, AND ELECTRIC DEVICE

NºPublicación:  WO2025222409A1 30/10/2025
Solicitante: 
CONTEMPORARY AMPEREX TECH CO LIMITED [CN]
\u5B81\u5FB7\u65F6\u4EE3\u65B0\u80FD\u6E90\u79D1\u6280\u80A1\u4EFD\u6709\u9650\u516C\u53F8
WO_2025222409_PA

Resumen de: WO2025222409A1

The present application provides a secondary battery. The secondary battery comprises an electrode sheet, wherein the electrode sheet comprises a current collector and an active material layer arranged on at least one side of the current collector, the active material layer comprises a kinetic additive, the structure of the kinetic additive comprises a cavity, and the average diameter of the cavity is 0.8 to 1.5 nm.

METHOD FOR ADJUSTING THE TRANSITION METAL COMPOSITION OF A LITHIUM TRANSITION METAL OXIDE MATERIAL

NºPublicación:  US2025337034A1 30/10/2025
Solicitante: 
UCHICAGO ARGONNE LLC [US]
UCHICAGO ARGONNE, LLC
US_2025337034_PA

Resumen de: US2025337034A1

A method for adjusting the transition metal composition of a lithium transition metal oxide cathode active material, such as a lithium nickel manganese cobalt oxide material, comprises precipitating a transition metal hydroxide onto the surface of particles of a first lithium transition metal oxide to form coated particles; isolating the coated particles; combining the isolated coated particles with an amount of lithium hydroxide; and calcining the resulting mixture at a temperature in the range of about 700 to about 950° C. (e.g., 800 to 900° C.) to form a second lithium transition metal oxide that has a different transition metal composition than the first lithium transition metal oxide material; wherein the amount of lithium hydroxide is selected to afford a target ratio of lithium to transition metals in the second lithium transition metal oxide after calcining.

POSITIVE ELECTRODE FOR RECHARGEABLE LITHIUM BATTERY AND RECHARGEABLE LITHIUM BATTERY INCLUDING SAME

NºPublicación:  US2025337022A1 30/10/2025
Solicitante: 
SAMSUNG SDI CO LTD [KR]
SAMSUNG SDI CO., LTD
US_2025337022_PA

Resumen de: US2025337022A1

Disclosed are a positive electrode for a rechargeable lithium battery, and a rechargeable lithium battery including the positive electrode. The positive electrode includes a current collector, a positive active material layer including a positive active material, and a functional layer between the current collector and the positive active material layer. The functional layer includes an additive configured to decompose at 160° C. or more and configured to fulfill an endothermic function, a thermally expandable polymer, and a conductive material.

BATTERY CELL, BATTERY, AND ELECTRIC APPARATUS

NºPublicación:  US2025337057A1 30/10/2025
Solicitante: 
CONTEMPORARY AMPEREX TECH HONG KONG LIMITED [CN]
CONTEMPORARY AMPEREX TECHNOLOGY (HONG KONG) LIMITED
US_2025337057_PA

Resumen de: US2025337057A1

A battery cell includes an electrolyte, an electrode assembly, and a shell. The electrode assembly and the electrolyte are accommodated in the shell, where the shell is a cylindrical structure. The electrolyte includes a linear ester solvent, and a mass percentage of the linear ester solvent in the electrolyte is greater than or equal to 25.5 wt %.

COMPOSITE SUBSTRATE FOR RECHARGEABLE LITHIUM BATTERY AND RECHARGEABLE LITHIUM BATTERY INCLUDING THE SAME

NºPublicación:  US2025337060A1 30/10/2025
Solicitante: 
SAMSUNG SDI CO LTD [KR]
SAMSUNG SDI CO., LTD
US_2025337060_PA

Resumen de: US2025337060A1

Disclosed are composite substrates and rechargeable lithium batteries. The composite substrate includes a support layer, a first metal layer on a top surface of the support layer, and a second metal layer on a bottom surface of the support layer. At least one of the first metal layer and the second metal layer includes a first region to which a tab is configured to be attached, and a second region different from the first region. A ratio of surface roughness of the first region to surface roughness of the second region is in a range of about 3.5 to about 7.

ALKALI METAL OR ALLOY ANODE WITH UNIFORM LI PLATING AND STRIPPING INTERLAYER

NºPublicación:  US2025337020A1 30/10/2025
Solicitante: 
ELEVATED MAT US LLC [US]
Elevated Materials US LLC
US_2025337020_PA

Resumen de: US2025337020A1

Anode film stacks incorporating a constriction susceptible interlayer or a plating and stripping enhancement layer are provided. The anode film stack enables production of alkali-metal anodes or alkali metal alloy anodes with uniform Li plating and stripping performance, which can be used in an energy storage devices, for example, a battery or a capacitor. Methods and systems for forming the anode film stack are also provided.

BATTERY DEVICE AND ELECTRICAL DEVICE

NºPublicación:  WO2025223479A1 30/10/2025
Solicitante: 
CONTEMPORARY AMPEREX TECH CO LIMITED [CN]
\u5B81\u5FB7\u65F6\u4EE3\u65B0\u80FD\u6E90\u79D1\u6280\u80A1\u4EFD\u6709\u9650\u516C\u53F8
WO_2025223479_PA

Resumen de: WO2025223479A1

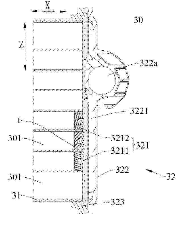
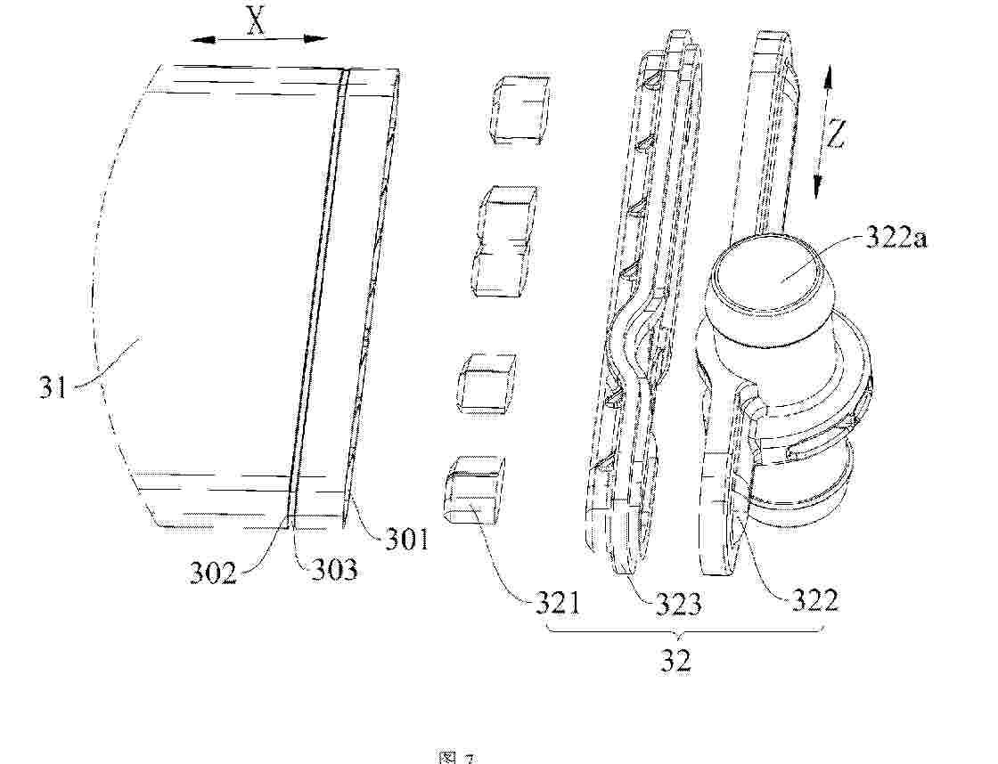
A battery device (100) and an electrical device (1000). The battery device comprises: a case (10); a battery cell assembly (20), which is accommodated in the case; and a heat exchange assembly (30), which is accommodated in the case. The heat exchange assembly comprises: a heat exchange body (31) which comprises a plurality of heat exchange flow channels (301) extending in a first direction, wherein the heat exchange body is provided with a limiting portion (302), and at least part of the limiting portion is arranged in the heat exchange flow channels in a protruding manner; and current collecting structures (32) which are arranged at two ends of the heat exchange body in the first direction, each current collecting structure comprising a blocking member (321), an adapter member (323) and a current collecting member (322), wherein the blocking member is blocked in at least one of the heat exchange flow channels and cooperates with and is limited by the limiting portion, the adapter member is formed on the heat exchange body, a current collecting cavity (3221) is formed inside the current collecting member, the current collecting member sealingly cooperates with and is connected to the heat exchange body by means of the adapter member, and the current collecting member is provided with a communication port (322a) in communication with the current collecting cavity.

ELECTRODE CORE, BATTERY, AND ELECTRIC DEVICE

NºPublicación:  WO2025223265A1 30/10/2025
Solicitante: 
BYD COMPANY LTD [CN]
\u6BD4\u4E9A\u8FEA\u80A1\u4EFD\u6709\u9650\u516C\u53F8
WO_2025223265_PA

Resumen de: WO2025223265A1

An electrode core, a battery, and an electric device. The electrode core comprises a positive electrode sheet and a negative electrode sheet, wherein the positive electrode sheet comprises a first current collector, a first tab, and a first coating portion and a second coating portion which are arranged on the same surface of the first current collector; the first tab is connected to the first current collector, the first coating portion is closer to the first tab relative to the second coating portion, and a first parameter of the first coating portion is greater than a first parameter of the second coating portion; a third coating portion and a fourth coating portion are provided in sequence on a surface of the negative electrode sheet, and a first parameter of the third coating portion is greater than a first parameter of the fourth coating portion; and the first parameter is a compaction density or an areal density, and the first coating portion and at least part of the second coating portion are located in the orthographic projection of the third coating portion on the positive electrode sheet.

BATTERY AND ELECTRICAL APPARATUS

NºPublicación:  WO2025223114A1 30/10/2025
Solicitante: 
CONTEMPORARY AMPEREX TECH CO LIMITED [CN]
\u5B81\u5FB7\u65F6\u4EE3\u65B0\u80FD\u6E90\u79D1\u6280\u80A1\u4EFD\u6709\u9650\u516C\u53F8
WO_2025223114_PA

Resumen de: WO2025223114A1

The present application relates to a battery and an electrical apparatus. The battery comprises a case body, a battery cell and a thermal management component, the battery cell being arranged in the case body, and the thermal management component being arranged in the case body and used for accommodating a heat exchange medium so as to adjust the temperature of the battery cell. The thermal management component comprises: a heat exchange tube, having a heat exchange flow channel, end portions of the heat exchange tube being ports of the heat exchange flow channel; and current collectors, fitted to the end portions of the heat exchange tube and communicated with the ports, wherein the heat exchange medium can flow into the heat exchange flow channel from the current collectors or flow into the current collectors from the heat exchange flow channel, and at least one of the current collectors and the heat exchange tube is a plastic structure. In the present application, the current collectors are fitted to the end portions of the heat exchange tube, and connection between the current collectors and the heat exchange tube is achieved by means of connection members, such that the heat exchange tube and the current collectors can be well attached via the surfaces of the end portions, and the connection between the heat exchange tube and the current collectors is achieved by means of the connection members, thus improving the connection stability between the heat exchange tube and t

BATTERY PACK AND ELECTRIC DEVICE

NºPublicación:  WO2025222457A1 30/10/2025
Solicitante: 
XIAMEN AMPACK TECH LIMITED [CN]
\u53A6\u95E8\u65B0\u80FD\u8FBE\u79D1\u6280\u6709\u9650\u516C\u53F8
WO_2025222457_PA

Resumen de: WO2025222457A1

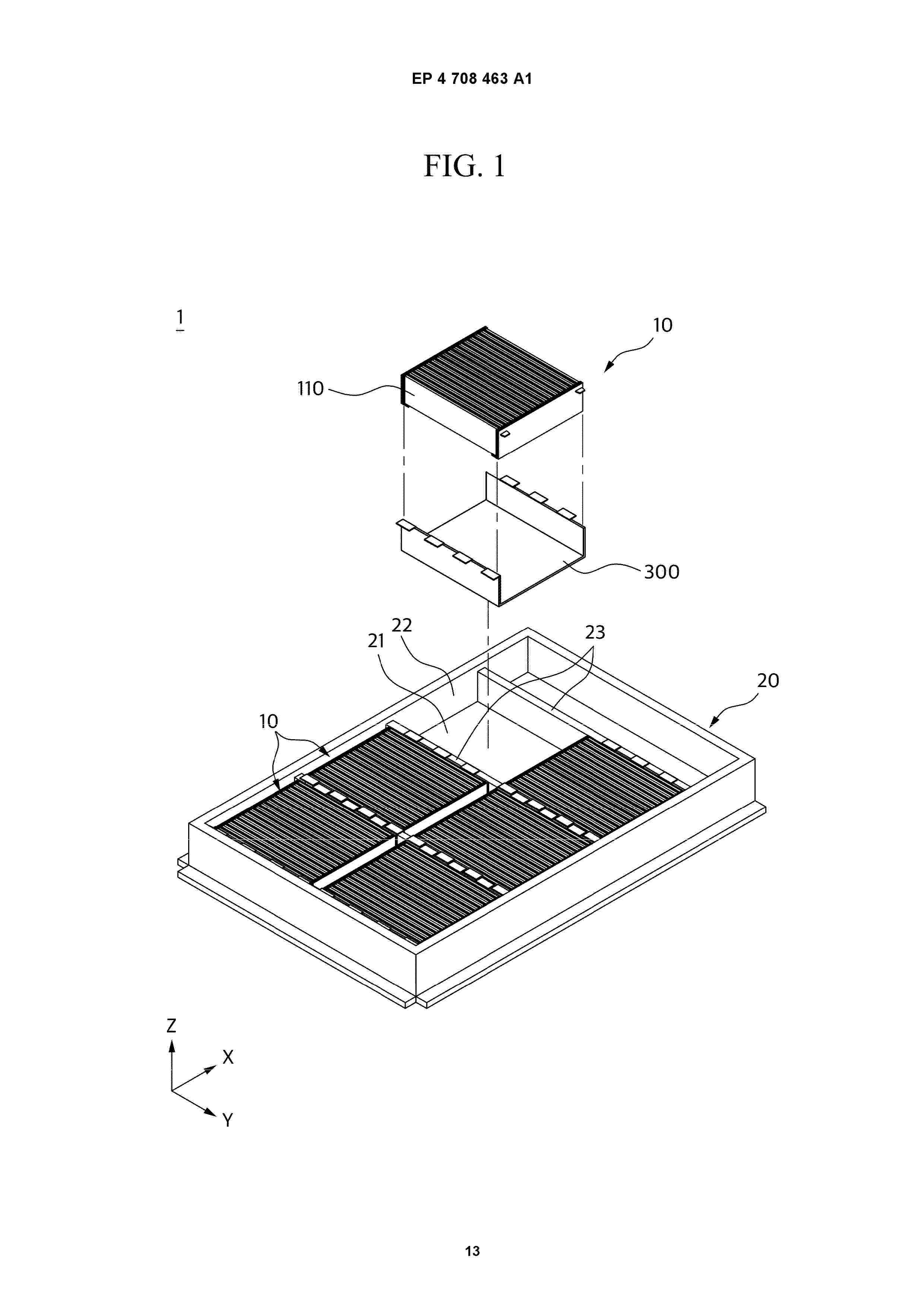
The present invention relates to a battery pack (100) and an electric device. The battery pack (100) comprises a first housing (10), a battery cell assembly (20), a first member (30) and a top cover (40). The battery cell assembly (20) is arranged in the first housing (10), and comprises a plurality of battery cells (21). The first member (30) and the battery cell assembly (20) are arranged in a first direction, and the first member (30) comprises a bottom wall (31) and a plurality of side walls (32), wherein the side walls (32) are connected to the bottom wall (31), each side wall (32) is provided with a first opening (32a), and each first opening (32a) penetrates the corresponding side wall (32). The top cover (40) is connected to the first housing (10), and the top cover (40) and the first member (30) form a first space (401). The first member (30) and the battery cell assembly (20) form a second space (301), and the first openings (32a) communicate the first space (401) and the second space (301). When the battery cell assembly (20) undergoes thermal runaway or pressure relief, a gas and/or flame enters the first space (401) from the second space (301) through the first openings (32a), which can extend a pressure relief path, and increase collision between the gas and the first member (30) and collision between the first member (30) and the flame, thereby lowering the temperature of the gas, and eliminating part of the flame, thus facilitating flame extinguishing, lowerin

SEALING ASSEMBLY FOR FLUID-IMMERSION SHREDDING CHAMBER

NºPublicación:  WO2025222283A1 30/10/2025
Solicitante: 
SHRED TECH CORP [CA]
SHRED-TECH CORPORATION
WO_2025222283_PA

Resumen de: WO2025222283A1

A fluid-immersion shredder is provided. The shredder includes a wall structure defining a chamber configured to contain a liquid. At least a portion of the wall structure includes an interior wall adjacent an exterior wall, the interior wall and exterior wall having an opening therethrough. The shredder further includes a drive shaft extending through the opening and into the chamber. The shredder further includes a sealing assembly extending radially around the drive shaft at least in the area of the opening, the sealing assembly including a metal-faced seal assembly, such as a CAT® seal in the area between the opening in the exterior wall structure and the shaft.

BATTERY CELL, BATTERY AND ELECTRICAL APPARATUS

NºPublicación:  WO2025222456A1 30/10/2025
Solicitante: 
CONTEMPORARY AMPEREX TECH CO LIMITED [CN]
\u5B81\u5FB7\u65F6\u4EE3\u65B0\u80FD\u6E90\u79D1\u6280\u80A1\u4EFD\u6709\u9650\u516C\u53F8
WO_2025222456_PA

Resumen de: WO2025222456A1

A battery cell (100), a battery (1000), and an electrical apparatus (2000). The battery cell (100) comprises: an electrode assembly (20), the electrode assembly (20) comprising, arranged in a stacked configuration, a plurality of electrode sheets and a separator. In the stacking direction, the plurality of electrode sheets at least comprise a first electrode sheet (21) and a second electrode sheet (22) which are located at two opposite ends in the stacking direction, the second electrode sheet (22) comprising a main body part (221) and tabs (222). The side of the second electrode sheet (22) facing away from the first electrode sheet (21) is provided with a protection member (25), the protection member (25) covering at least a portion of the main body part (221) of the second electrode sheet (22) and extending to at least one edge of the main body part (221).

ELECTRICITY STORAGE DEVICE AND VEHICLE

NºPublicación:  US2025337042A1 30/10/2025
Solicitante: 
TOYOTA JIDOSHA KK [JP]
TOYOTA JIDOSHA KABUSHIKI KAISHA
US_2025337042_PA

Resumen de: US2025337042A1

An electricity storage device includes a plurality of electricity storage stacks and a housing case that houses the electricity storage stacks. The housing case includes a top plate part that is located on an upper side of the electricity storage stacks and has an uneven shape, and demarcation members that demarcate regions where the electricity storage stacks are respectively disposed. The top plate part includes protruding portions that protrude upward and depressed portions that are depressed downward. The demarcation members are each disposed between the electricity storage stacks that lie next to each other. Flow passages through which a gas discharged from the electricity storage stacks flows are provided inside the demarcation members. The demarcation members are in contact with the depressed portion.

CYLINDRICAL BATTERY CELL, BATTERY, AND ELECTRIC APPARATUS

NºPublicación:  US2025337018A1 30/10/2025
Solicitante: 
CONTEMPORARY AMPEREX TECH HONG KONG LIMITED [CN]
CONTEMPORARY AMPEREX TECHNOLOGY (HONG KONG) LIMITED
US_2025337018_PA

Resumen de: US2025337018A1

A cylindrical battery cell, a battery, and an electric apparatus. The cylindrical battery cell includes a metal shell and an electrolyte. The electrolyte is accommodated in the metal shell. The electrolyte includes an electrolytic salt. The electrolytic salt includes a hexafluorophosphate and a sulfonylimide, and a molar concentration of the hexafluorophosphate is less than or equal to 0.9 mol/L.

TRACTION BATTERY PACK THERMAL MANAGEMENT ASSEMBLY AND THERMAL MANAGEMENT METHOD

NºPublicación:  US2025337044A1 30/10/2025
Solicitante: 
FORD GLOBAL TECH LLC [US]
Ford Global Technologies, LLC
US_2025337044_PA

Resumen de: US2025337044A1

A traction battery pack assembly includes an enclosure assembly providing an interior, and a first cell stack housed within the interior. The first cell stack includes first battery cells having first terminals. A second cell stack is housed within the interior. The second cell stack includes second battery cells having second terminals. A first coolant is within the interior. The first coolant directly contacts the first terminals of the first battery cells within the first cell stack and second terminals of the second battery cells within the second cell stack. A second coolant manages thermal energy within the interior. The second coolant is a different type of coolant than the first coolant.

MULTI-LAYERED THERMAL BARRIER ASSEMBLIES FOR TRACTION BATTERY PACKS

NºPublicación:  US2025337051A1 30/10/2025
Solicitante: 
FORD GLOBAL TECH LLC [US]
FORD GLOBAL TECHNOLOGIES, LLC
US_2025337051_PA

Resumen de: US2025337051A1

Thermal barrier assemblies are provided for traction battery packs. An exemplary thermal barrier assembly may be configured to inhibit the transfer of thermal energy inside the traction battery pack. The thermal barrier assembly may include a first thermally insulating layer, a second thermally insulating layer, and an air gap extending between the first and second thermally insulating layers. The air gap may be established by integrated features provided at an interface between the first and second thermally insulating layers. The air gap may be configured to increase the thermal resistance across a thickness of the thermal barrier assembly, thereby reducing cell-to-cell and/or cell stack-to-cell stack heat transfer within the traction battery pack.

POUCH CELL, AND METHOD OF MAKING IMPROVED POUCH CELLS

NºPublicación:  US2025337059A1 30/10/2025
Solicitante: 
GM GLOBAL TECH OPERATIONS LLC [US]
GM GLOBAL TECHNOLOGY OPERATIONS LLC
US_2025337059_PA

Resumen de: US2025337059A1

A pouch cell formed of wall plies, each wall ply having a metal foil outer layer, and a polymeric inner layer. An external cathode lead tab with a polymer sealing film containing electrically conductive filler on at least one face of the external lead tab is heat-sealed between the edges of two wall plies. A method of making a pouch cell includes disposing a metallic external cathode lead tab with a polymer sealing film strip containing electrically conductive filler, between the edges of pouch wall plies, each pouch wall ply having a metal foil outer layer, and a polymeric inner layer, and applying heat and pressure to the wall plies to heat seal the external cathode lead tab and provide electrical connectivity between the metal foil layer of the wall ply and the external cathode lead tab.

BATTERY, ELECTRIC DEVICE AND MANUFACTURING PROCESS FOR THERMAL MANAGEMENT COMPONENT

Nº publicación: WO2025223113A1 30/10/2025

Solicitante:

CONTEMPORARY AMPEREX TECH CO LIMITED [CN]
\u5B81\u5FB7\u65F6\u4EE3\u65B0\u80FD\u6E90\u79D1\u6280\u80A1\u4EFD\u6709\u9650\u516C\u53F8

WO_2025223113_PA

Resumen de: WO2025223113A1

The present application relates to a battery, an electric device and a manufacturing process for a thermal management component. The battery comprises a case, battery cells and a thermal management component, wherein the battery cells are disposed in the case; and the thermal management component is disposed in the case and is configured to accommodate a heat exchange medium to regulate the temperatures of the battery cells. The thermal management component comprises: a heat exchange tube, which has a heat exchange flow channel, wherein an end of the heat exchange tube serves as a port of the heat exchange flow channel; a current collector, which is fitted to the end of the heat exchange tube and is in communication with the port; and an adapter, which is connected between the heat exchange tube and the current collector and is configured to connect to the current collector and the heat exchange tube in a sealing manner. In the present application, the adapter is disposed between the heat exchange tube and the current collector, and connection and fixation between the heat exchange tube and the current collector are realized by means of the adapter. The adapter is connected between the current collector and the heat exchange tube in a sealing manner, such that the current collector and the heat exchange tube are fitted more tightly, and the heat exchange tube and the adapter are connected stably, thereby improving the stability of connection between the heat exchange tube and

traducir