Ministerio de Industria, Turismo y Comercio LogoMinisterior
 

Alerta

Resultados 1568 resultados
LastUpdate Última actualización 08/11/2025 [07:55:00]
pdfxls
Publicaciones de los últimos 15 días/Last 15 days publications (excluidas pubs. CN y JP /CN and JP pubs. excluded)
previousPage Resultados 575 a 600 de 1568 nextPage  

NEGATIVE ELECTRODE ACTIVE MATERIAL FOR LITHIUM SECONDARY BATTERY, METHOD OF MANUFACTURING SAME, AND LITHIUM SECONDARY BATTERY COMPRISING SAME

NºPublicación:  EP4645453A1 05/11/2025
Solicitante: 
POSCO FUTURE M CO LTD [KR]
Posco Future M Co., Ltd
EP_4645453_PA

Resumen de: EP4645453A1

The present embodiments relate to a negative electrode active material, a method for manufacturing the same, a negative electrode comprising the same, and a lithium secondary battery comprising the same. The negative electrode active material includes a core portion comprising at least one coarse graphite particle having an average particle diameter (D50) ranging from 5 to 20 µm and at least one fine graphite particle having an average particle diameter (D50) of less than 5 µm, wherein the fine graphite particles account for from 5 wt% to 30 wt% based on the total weight of the coarse graphite particles and the fine graphite particles.

POSITIVE ELECTRODE ACTIVE MATERIAL PRECURSOR FOR RECHARGEABLE LITHIUM BATTERY, MANUFACTURING METHOD OF POSITIVE ELECTRODE ACTIVE MATERIAL USING SAME, AND RECHARGEABLE LITHIUM BATTERY INCLUDING POSITIVE ELECTRODE ACTIVE MATERIAL MANUFACTURED USING SAME

NºPublicación:  EP4644329A1 05/11/2025
Solicitante: 
RES INST IND SCIENCE & TECH [KR]
POSCO FUTURE M CO LTD [KR]
RESEARCH INSTITUTE OF INDUSTRIAL SCIENCE & TECHNOLOGY,
Posco Future M Co., Ltd
EP_4644329_PA

Resumen de: EP4644329A1

The present disclosure relates to a precursor of a positive electrode active material for a lithium secondary battery, a method for manufacturing a positive electrode active material using the same, and a lithium secondary battery including the positive electrode active material manufactured thereby. In one embodiment, the precursor of a positive electrode active material for a lithium secondary battery may have a full width at half maximum (FWHM) of a diffraction peak of the (200) plane measured by X-ray diffraction in a range from 0.28° to 1.30°.

ANODE ACTIVE MATERIAL FOR LITHIUM SECONDARY BATTERY, PREPARATION METHOD THEREFOR, AND LITHIUM SECONDARY BATTERY COMPRISING SAME

NºPublicación:  EP4645452A1 05/11/2025
Solicitante: 
RES INST IND SCIENCE & TECH [KR]
POSCO FUTURE M CO LTD [KR]
Research Institute of Industrial Science & Technology,
Posco Future M Co., Ltd
EP_4645452_PA

Resumen de: EP4645452A1

Disclosed is a positive electrode active material for a lithium secondary battery, a method for manufacturing the same, and a lithium secondary battery comprising the same. The positive electrode active material includes: a core comprising a lithium metal oxide; coating particles located on the core; and a diffusion coating layer located on the core, wherein the lithium metal oxide is in the form of a single particle, the diffusion coating layer is in the form of a film, and a ratio of a major axis to a minor axis of the coating particles is greater than 2.

METHOD FOR PREPARING POSITIVE ELECTRODE ACTIVE MATERIAL FOR LITHIUM SECONDARY BATTERY, POSITIVE ELECTRODE PREPARED BY USING SAME, AND LITHIUM SECONDARY BATTERY COMPRISING POSITIVE ELECTRODE

NºPublicación:  EP4645451A1 05/11/2025
Solicitante: 
RES INST IND SCIENCE & TECH [KR]
POSCO FUTURE M CO LTD [KR]
Research Institute of Industrial Science & Technology,
Posco Future M Co., Ltd
EP_4645451_PA

Resumen de: EP4645451A1

The present embodiments relate to a positive electrode active material for a lithium secondary battery and a lithium secondary battery comprising the same. A positive electrode active material for a lithium secondary battery according to one embodiment may include: a metal oxide composed of single particles; a first coating layer having a fiber shape and disposed on a surface of the metal oxide; and a second coating layer having a dot shape and disposed on the surface of the metal oxide.

POSITIVE ELECTRODE ACTIVE MATERIAL FOR RECHARGEABLE LITHIUM BATTERY, POSITIVE ELECTRODE INCLUDING THE SAME, AND RECHARGEABLE LITHIUM BATTERY INCLUDING THE SAME

NºPublicación:  EP4645432A2 05/11/2025
Solicitante: 
SAMSUNG SDI CO LTD [KR]
SAMSUNG SDI CO., LTD
EP_4645432_PA

Resumen de: EP4645432A2

A positive electrode for a rechargeable lithium battery and a rechargeable lithium battery including the positive electrode are provided. The positive electrode includes a current collector, a first positive electrode active material layer on the current collector, and a second positive electrode active material layer on the first positive electrode active material layer. The first positive electrode active material layer includes a first particle represented by Formula 1 and having the form of a single particle, and a second particle represented by Formula 2. The second positive electrode active material layer includes a third particle represented by Formula 3 and having the form of a single particle. The first particle is present in a greater content (e.g., amount) than the second particle.

POSITIVE ELECTRODE ACTIVE MATERIAL FOR RECHARGEABLE LITHIUM BATTERY, POSITIVE ELECTRODE INCLUDING THE SAME, AND RECHARGEABLE LITHIUM BATTERY INCLUDING THE SAME

NºPublicación:  EP4645459A2 05/11/2025
Solicitante: 
SAMSUNG SDI CO LTD [KR]
SAMSUNG SDI CO., LTD
EP_4645459_PA

Resumen de: EP4645459A2

A positive electrode, including a current collector, a first positive electrode active material layer on the current collector, and a second positive electrode active material layer on the first positive electrode active material layer is disclosed. The first positive electrode active material layer includes a first particle including a compound represented by Formula 1 having an olivine structure, and a second particle including a compound represented by Formula 2 having a spinel structure. The second positive electrode active material layer includes a third particle including a compound represented by Formula 3 having an olivine structure. The first particle may be in the form of a secondary particle in which a plurality of primary particles are aggregated. Also disclosed is a rechargeable lithium battery including the same.

POSITIVE ELECTRODE ACTIVE MATERIAL FOR RECHARGEABLE LITHIUM BATTERY, POSITIVE ELECTRODE INCLUDING THE SAME, AND RECHARGEABLE LITHIUM BATTERY INCLUDING THE SAME

NºPublicación:  EP4645430A1 05/11/2025
Solicitante: 
SAMSUNG SDI CO LTD [KR]
SAMSUNG SDI CO., LTD
EP_4645430_PA

Resumen de: EP4645430A1

Provided are a positive electrode for a rechargeable lithium battery and a rechargeable lithium battery including the same, and for example, a positive electrode for a rechargeable lithium battery, including a current collector, a first positive electrode active material layer on the current collector, and a second positive electrode active material layer on the first positive electrode active material layer. The first positive electrode active material layer includes a first particle having an olivine structure, and a second particle having a layered structure, and the second positive electrode active material layer includes a third particle having an olivine structure. The first particle and the third particle are each in the form of a single particle, and the second particle has a greater average particle diameter than each of the first particle and the third particle.

LITHIUM SECONDARY BATTERY

NºPublicación:  EP4645493A1 05/11/2025
Solicitante: 
LG ENERGY SOLUTION LTD [KR]
LG Energy Solution, Ltd
EP_4645493_A1

Resumen de: EP4645493A1

A lithium secondary battery includes a positive electrode; a negative electrode; a separator interposed between the positive electrode and the negative electrode; and a non-aqueous electrolyte. The positive electrode includes a positive electrode active material, the positive electrode material includes a perlithium manganese-rich oxide containing 50 mol% or more of Mn based on all metal elements excluding lithium, and having a molar ratio of lithium to transition metal exceeding 1, the non-aqueous electrolyte includes a lithium ion and an organic solvent, the organic solvent includes a first organic solvent and a second organic solvent, the first organic solvent includes ethylene carbonate, and the second organic solvent includes diethyl carbonate and propyl propionate.

BATTERY DISCONNECTION UNIT INCLUDING FIRE-EXTINGUISHING LIQUID AND SECONDARY BATTERY COMPRISING SAME

NºPublicación:  EP4645516A1 05/11/2025
Solicitante: 
LG ENERGY SOLUTION LTD [KR]
LG Energy Solution, Ltd
EP_4645516_PA

Resumen de: EP4645516A1

A battery disconnect unit includes: a housing designed to accommodate an electrical component therein; and at least one cavity formed in a body of the housing for storing a fire extinguishing liquid. The fire extinguishing liquid stored in the cavity is prevented from being ejected to an outside of the housing under a condition below a preset temperature, and is ejected to the

POSITIVE ELECTRODE ACTIVE MATERIAL PRECURSOR AND METHOD FOR PRODUCING SAME

NºPublicación:  EP4644330A1 05/11/2025
Solicitante: 
LG CHEMICAL LTD [KR]
LG CHEM, LTD
EP_4644330_A1

Resumen de: EP4644330A1

The present invention relates to a positive electrode active material precursor with a novel structure and a method of preparing the same, wherein the present invention relates to a positive electrode active material precursor including a composite transition metal hydroxide which includes a core portion including first primary particles; and a shell portion formed on the core portion and including second primary particles, wherein, in a cross section of the positive electrode active material precursor, a ratio (A2/A1) of an average cross-sectional area (A2) of the second primary particles to an average cross-sectional area (A1) of the first primary particles is in a range of 3.00 to 10.0, and a method of preparing the same.

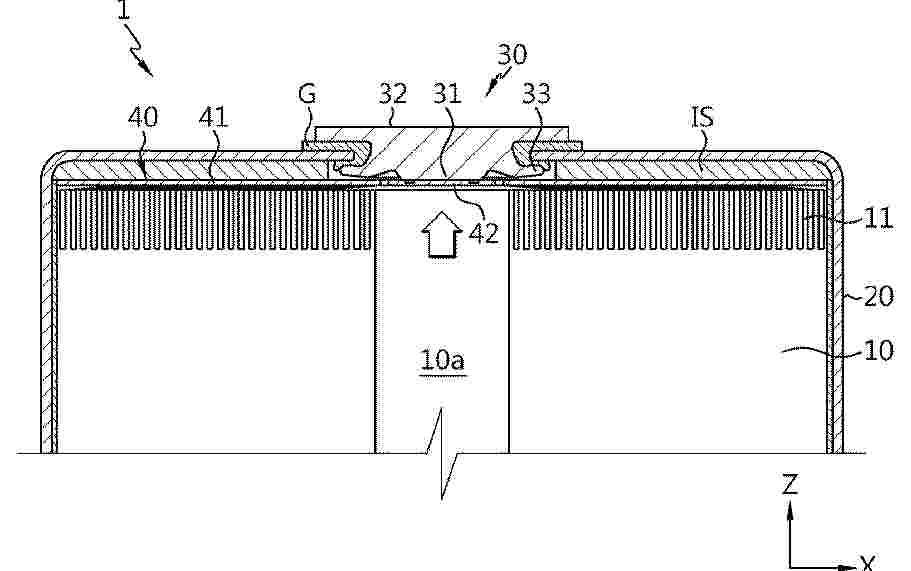
BATTERY CELL, BATTERY, AND ELECTRIC DEVICE

NºPublicación:  EP4645535A1 05/11/2025
Solicitante: 
CONTEMPORARY AMPEREX TECHNOLOGY HONG KONG LTD [HK]
Contemporary Amperex Technology (Hong Kong) Limited
EP_4645535_PA

Resumen de: EP4645535A1

This application relates to the field of batteries, and provides a battery cell, a battery, and a power consuming device. The battery cell includes a housing and a protective member. The housing includes a case and an end cover. An opening is formed in at least one end of the case in a first direction, and the end cover closes the opening. The end cover is connected to the case to form a connection portion. The protective member includes a main body portion and a first flange portion. The main body portion surrounds an outer surface of the case. In the first direction, the first flange portion is connected to an end of the main body portion, and the first flange portion is disposed on the end cover and covers at least a part of the connection portion. The main body portion of the protective member surrounds the outer surface of the case such that the case can be protected, thereby reducing the risk of damage to the case. The first flange portion covers at least a part of the connection portion such that liquid leakage from the connection portion can be prevented to a certain extent, thereby reducing the liquid leakage speed, and improving the reliability of the battery cell to a certain extent.

ELECTROLYTE ADDITIVE, BATTERY ELECTROLYTE COMPRISING SAME AND SECONDARY BATTERY COMPRISING SAME

NºPublicación:  EP4645502A1 05/11/2025
Solicitante: 
SOULBRAIN CO LTD [KR]
Soulbrain Co., Ltd
EP_4645502_A1

Resumen de: EP4645502A1

The present invention relates to an electrolyte additive and an electrolyte and secondary battery including the same. According to the present invention, the present invention has an effect of providing a secondary battery that is capable of suppressing side reactions inside the battery, improving charging efficiency and output due to low charge resistance, and improving lifespan and high-temperature capacity retention.

COMPOSITION FOR NONAQUEOUS ELECTROLYTE BATTERY ELECTRODES AND ADDITIVE FOR NONAQUEOUS ELECTROLYTE BATTERY ELECTRODES

NºPublicación:  EP4645474A1 05/11/2025
Solicitante: 
KURARAY CO [JP]
Kuraray Co., Ltd
EP_4645474_A1

Resumen de: EP4645474A1

An object of the present invention to provide a composition for nonaqueous electrolyte battery electrodes capable of achieving both good coatability of the composition and the suppression of expansion of electrodes obtained from the composition and an additive for nonaqueous electrolyte battery electrodes. The present invention relates to a composition for nonaqueous electrolyte battery electrodes comprising a binder; and an organic fiber, wherein the organic fiber has a specific gravity of 1.00 or more and a fiber length of 0.1 mm or more and 10 mm or less.

POWER STORAGE MODULE

NºPublicación:  EP4645574A1 05/11/2025
Solicitante: 
PANASONIC IP MAN CO LTD [JP]
Panasonic Intellectual Property Management Co., Ltd
EP_4645574_A1

Resumen de: EP4645574A1

The present invention includes: a plurality of power storage devices (10); a holder (28) that covers one end of each of the plurality of power storage devices (10) and that has an opening (20) formed in a first surface thereof, for exposing a terminal of the power storage device; a current collector plate (16) that is disposed on the side of the first surface of the holder (28), and one end of which is connected to the terminal via the opening (20); and a bus bar (22) that is connected to the other end of the current collector plate (28). The bus bar (22) has, in an area facing the holder (28), a notch formed by removing a part of the bus bar or a notch portion formed of a through-hole.

APPARATUS AND METHOD FOR ESTIMATING SOH

NºPublicación:  MX2025012365A 03/11/2025
Solicitante: 
LG ENERGY SOLUTION LTD [KR]
LG ENERGY SOLUTION, LTD
KR_20250033025_PA

Resumen de: MX2025012365A

An apparatus for estimating SOH, according to one embodiment of the present invention, comprises: a profile acquisition unit configured to acquire an OCV profile for multiple OCVs of a battery measured at different time points; a profile correction unit configured to adjust a preset reference positive electrode profile and a preset reference negative electrode profile to correspond to the OCV profile, thereby generating an adjusted positive electrode profile and an adjusted negative electrode profile; and a control unit configured to extract a diagnostic factor for the battery from at least one among the adjusted positive electrode profile and the adjusted negative electrode profile, and estimate the SOH of the battery on the basis of the extracted diagnostic factor.

BATTERY, BATTERY PACK COMPRISING SAME, AND VEHICLE COMPRISING BATTERY PACK

NºPublicación:  MX2025011316A 03/11/2025
Solicitante: 
LG ENERGY SOLUTION LTD [KR]
LG ENERGY SOLUTION, LTD
CN_120500782_PA

Resumen de: MX2025011316A

A battery according to one embodiment of the present invention may comprise: an electrode assembly; a battery housing for accommodating the electrode assembly through an opening formed at one side thereof; a battery terminal electrically connected to the electrode assembly through a closing part provided at the opposite side of the opening of the battery housing; and a current collector including a first coupling part, which is electrically coupled to the electrode assembly, and a second coupling part, which is electrically coupled to the battery terminal and has a resistance increase region formed in at least one portion thereof.

BATTERY, AND BATTERY PACK AND VEHICLE COMPRISING SAME

NºPublicación:  MX2025012341A 03/11/2025
Solicitante: 
LG ENERGY SOLUTION LTD [KR]
LG ENERGY SOLUTION, LTD
WO_2025105804_PA

Resumen de: MX2025012341A

The present invention relates to a battery comprising: an electrode assembly; a battery housing configured to accommodate the electrode assembly through an open portion formed on one side of the battery housing; a battery terminal configured to be electrically connected to the electrode assembly through a closed portion provided on the opposite side of the open portion of the battery housing; and a current collector comprising a first coupling portion configured to be electrically coupled to the electrode assembly, a second coupling portion configured to be electrically coupled to the battery terminal, and a bridge portion which is configured to electrically connect the first coupling portion and the second coupling portion and in which at least a portion of a region adjacent to the second coupling portion has a reduced cross-sectional area.

FOREIGN SUBSTANCE REMOVAL DEVICE OF BATTERY GRIPPER

NºPublicación:  MX2025012338A 03/11/2025
Solicitante: 
LG ENERGY SOLUTION LTD [KR]
LG ENERGY SOLUTION, LTD
KR_20250090514_PA

Resumen de: MX2025012338A

A foreign substance removal device of a battery gripper according to an embodiment of the present invention conveys a battery using a plurality of magnetic units, and may comprise a body part that is disposed below the battery gripper and communicates with an air supply device and a supply suction device. The body part may include: a plurality of insertion grooves having spaces into which portions of each of the magnetic units can be inserted; an air spraying unit for spraying the magnetic units with air supplied from the air supply device; and an air discharge flow path that suctions the air and foreign substances scattered from the magnetic units and discharges same to the supply suction device.

LITHIUM SECONDARY BATTERY

NºPublicación:  MX2025012147A 03/11/2025
Solicitante: 
LG ENERGY SOLUTION LTD [KR]
LG ENERGY SOLUTION, LTD
KR_20250113364_A

Resumen de: MX2025012147A

The present invention provides a lithium secondary battery comprising a cathode, an anode, a separator interposed between the cathode and the anode, and a non-aqueous electrolyte, wherein the anode includes an anode active material, the anode active material includes a silicon-based active material, and the non-aqueous electrolyte includes a lithium salt, fluoroethylene carbonate, 1,2-difluoroethylene carbonate, and a coumarin-based compound of a specific chemical formula.

CATHODE-FREE COATING LAYER AND ALL-SOLID-STATE BATTERY COMPRISING SAME

NºPublicación:  MX2025012270A 03/11/2025
Solicitante: 
LG ENERGY SOLUTION LTD [KR]
LG ENERGY SOLUTION, LTD
KR_102800994_B1

Resumen de: MX2025012270A

The present invention relates to a cathode-free coating layer comprising amorphous carbon and tungsten carbide, and an all-solid-state battery including same. According to the present invention, the cathode-free coating layer, of which degradation in specific capacity and/or capacity retention according to cycle is more controlled than that of a conventional technology, and the all-solid-state battery comprising same can be provided.

CYLINDRICAL BATTERY CELL, BATTERY PACK AND VEHICLE INCLUDING SAME, AND CURRENT COLLECTOR PLATE

NºPublicación:  MX2025012150A 03/11/2025
Solicitante: 
LG ENERGY SOLUTION LTD [KR]
LG ENERGY SOLUTION, LTD
CN_120569852_PA

Resumen de: MX2025012150A

A cylindrical battery cell, a battery pack and a vehicle including same, and a current collector plate are disclosed. The cylindrical battery cell according to one embodiment of the present invention comprises: an electrode assembly structured such that a positive electrode plate, a negative electrode plate, and a separator interposed between the positive electrode plate and the negative electrode plate are wound in one direction; a cylindrical battery can in which the electrode assembly is accommodated and which has a through hole; a positive electrode current collector plate electrically connected to the positive electrode plate; a cell terminal connected to the positive electrode current collector plate through the through hole of the battery can; and a negative electrode current collector plate electrically connected to the negative electrode plate, wherein the positive electrode current collector plate or the negative electrode current collector plate has a fracture-inducing portion so that at least a portion of the positive electrode current collector plate or the negative electrode current collector plate is fractured by gas generated in the battery can.

APPARATUS AND METHOD FOR DIAGNOSING BATTERY

NºPublicación:  MX2025012148A 03/11/2025
Solicitante: 
LG ENERGY SOLUTION LTD [KR]
LG ENERGY SOLUTION, LTD
KR_20250033021_PA

Resumen de: MX2025012148A

The present invention relates to an apparatus and a method, for diagnosing a battery, which are capable of diagnosing the state of the battery in consideration of an overpotential. Since the apparatus for diagnosing a battery, according to the present invention, diagnoses the state of the battery on the basis of a correction profile which is obtained by removing an overpotential from a battery profile, there is an advantage in that charging and discharging at a reference C-rate are not forced in order to diagnose the state of the battery. That is, since the state of the battery may be diagnosed even when the battery is charged and discharged at a C-rate other than the reference C-rate, the state of the battery may be rapidly diagnosed without restriction on the charging and discharging conditions.

ELECTRODE ASSEMBLY AND LITHIUM SECONDARY BATTERY COMPRISING SAME

NºPublicación:  MX2025012019A 03/11/2025
Solicitante: 
LG ENERGY SOLUTION LTD [KR]
LG ENERGY SOLUTION, LTD
WO_2025080035_PA

Resumen de: MX2025012019A

The present invention relates to an electrode assembly comprising: an electrode stack comprising a positive electrode comprising a positive electrode active material layer, a negative electrode comprising a negative electrode active material layer, and a separator interposed between the positive electrode and the negative electrode; and at least one retaining member for winding the electrode stack in the overall width direction and retaining same. The positive electrode comprises a positive electrode sliding portion configured such that the thickness of the positive electrode active material layer decreases. The retaining member comprises a first retaining member disposed so as to overlap the positive electrode sliding portion and a second retaining member disposed so as not to overlap the sliding portion. The first retaining member is thicker than the second retaining member.

CYLINDRICAL BATTERY CELL HOUSING WITH SMALL CO2 FOOTPRINT

NºPublicación:  MX2025011920A 03/11/2025
Solicitante: 
SPEIRA GMBH [DE]
SPEIRA GMBH
WO_2024208734_PA

Resumen de: MX2025011920A

The invention relates to a cylindrical battery cell housing having an aluminum material, to a method for producing a cylindrical battery cell housing, and to the use of an aluminum material in order to produce a cylindrical battery cell housing. The aim of the invention is to provide a cylindrical battery cell housing with a CO2 footprint which is reduced in comparison to the current reference material steel, said cylindrical battery cell housing simultaneously allowing an improved heat conduction and a reduced weight of the battery cell. This is achieved in that the cylindrical battery cell housing has an aluminum material in which the ratio of the carbon dioxide (CO<sub>2e</sub>) quantity emitted during the production of the aluminum material, in kgC<sub>O2e</sub> per kg<sub>Al material </sub>, to the yield point R<sub>p0.2</sub> of the aluminum material, in MPa, of CO<sub>2e</sub>/R<sub>p0.2</sub> is ⿤ 1.9% kg<sub>CO2e </sub>/(MPa*kg<sub>Al material</sub>).

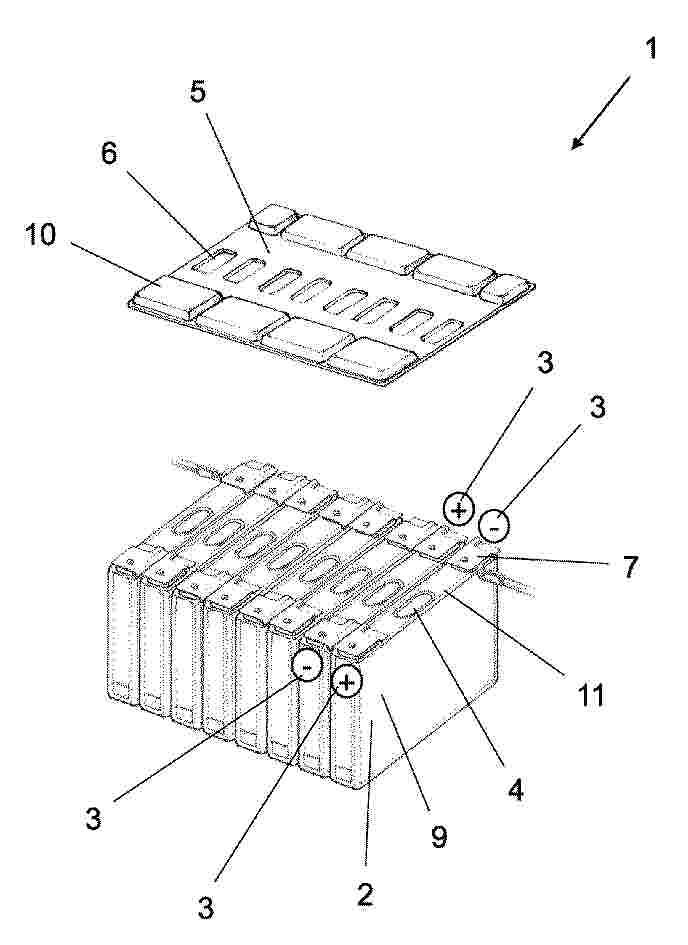
ENERGY STORAGE ARRANGEMENT

Nº publicación: MX2025011834A 03/11/2025

Solicitante:

CARL FREUDENBERG KG [DE]
CARL FREUDENBERG KG

CN_120898308_PA

Resumen de: MX2025011834A

An energy storage arrangement (1), comprising a plurality of energy storage cells (2) which each have electrical poles (3) and at least one emergency opening (4), at least one covering element (5) which covers the electrical poles (3) and has openings (6) which are associated with the emergency openings (4) being arranged on the energy storage cells (2).

traducir