Ministerio de Industria, Turismo y Comercio LogoMinisterior
 

Alerta

Resultados 1568 resultados
LastUpdate Última actualización 08/11/2025 [07:55:00]
pdfxls
Publicaciones de los últimos 15 días/Last 15 days publications (excluidas pubs. CN y JP /CN and JP pubs. excluded)
previousPage Resultados 550 a 575 de 1568 nextPage  

MANUFACTURING METHOD FOR SECONDARY BATTERY

NºPublicación:  EP4645504A1 05/11/2025
Solicitante: 
KYOCERA CORP [JP]
Kyocera Corporation
EP_4645504_PA

Resumen de: EP4645504A1

A manufacturing method for improving the performance of a secondary battery is realized. The manufacturing method includes: forming a negative electrode containing a negative electrode active material and a first electrolytic solution; forming a positive electrode containing a positive electrode active material and a second electrolytic solution; forming a cell in which a separator is located between the negative electrode and the positive electrode; and performing preliminary charging on the cell. A composition ratio of components contained in the first electrolytic solution and a composition ratio of components contained in the second electrolytic solution are different from each other.

FABRICATION OF SI-MWCNT NANOCOMPOSITES (SMC) AS ANODES FOR LITHIUM-ION BATTERIES

NºPublicación:  EP4643399A1 05/11/2025
Solicitante: 
HEIDRON ENERGY RES & CONSULTANCY CO LLC [AE]
UNIV KHALIFA SCIENCE & TECHNOLOGY [AE]
Heidron Energy Research & Consultancy Co LLC,
Khalifa University of Science and Technology
KR_20240107054_A

Resumen de: WO2024141774A1

There is disclosed a hybrid composite anode for lithium-ion batteries comprising silicon nanoparticles, multi-walled carbon nanotube (MWCNTs) flakes, and a polymer binder which enables enhanced capacity retention of the hybrid composite anode. A process of fabrication of an anode for a lithium-ion battery is also disclosed, the process comprising the steps of fabricating carbon nanotube (CNT) mats on an anode current collector; dispersing the fabricated CNT mats in a mixture of deionized (DI) water to ethanol using a probe sonicator and magnetic stirrer; and adding silicon nanoparticles, multi-walled carbon nanotube (MWCNTs) flakes, and a polymer binder to the mixture, forming Si-MWCNT nanocomposite (SMC) anodes.

ELECTRICAL CONNECTION ASSEMBLY, BATTERY ASSEMBLY AND VEHICLE

NºPublicación:  EP4645573A1 05/11/2025
Solicitante: 
BYD CO LTD [CN]
BYD Company Limited
EP_4645573_PA

Resumen de: EP4645573A1

An electrical connection assembly, a battery assembly and a vehicle. The electrical connection assembly comprises an electrical connector and an insulating member, wherein the electrical connector is used for connecting a plurality of battery cells; and the insulating member is arranged on the electrical connector and protrudes out of the side of the electrical connector which is away from the battery cells.

NEGATIVE ELECTRODE MATERIAL, SECONDARY BATTERY AND ELECTRONIC DEVICE

NºPublicación:  EP4645449A1 05/11/2025
Solicitante: 
NINGDE AMPEREX TECHNOLOGY LTD [CN]
Ningde Amperex Technology Limited
EP_4645449_PA

Resumen de: EP4645449A1

This application provides a negative electrode material, a secondary battery, and an electronic device. The secondary battery includes a negative electrode plate. The negative electrode plate includes a negative electrode material. The negative electrode material includes a composite material. The composite material includes elemental silicon and a carbon material. A ratio of an intensity of a main peak to an intensity of a secondary peak of a first-cycle delithiation dQ/dV curve of the composite material is 1.15 to 1.65. The composite material in the secondary battery provided in this application satisfies the above characteristics, so that the secondary battery exhibits excellent cycle performance and expansion resistance in addition to a relatively high specific capacity.

NEGATIVE ELECTRODE SHEET AND PREPARATION METHOD THEREFOR, LITHIUM ION BATTERY, AND ELECTRIC VEHICLE

NºPublicación:  EP4645436A1 05/11/2025
Solicitante: 
BYD CO LTD [CN]
BYD Company Limited
EP_4645436_PA

Resumen de: EP4645436A1

A negative electrode sheet. The negative electrode sheet comprises a current collector (1), and a silicon-containing layer (2), an intermediate layer (3) and a carbon layer (4) which are stacked in sequence on at least one side of the current collector (1), wherein the intermediate layer comprises a first conductive agent and a first binder.

SOLID ELECTROLYTE, SOLID-STATE BATTERY AND ELECTRICAL APPARATUS

NºPublicación:  EP4645500A1 05/11/2025
Solicitante: 
BYD CO LTD [CN]
BYD Company Limited
EP_4645500_A1

Resumen de: EP4645500A1

A solid electrolyte, comprising a first solid electrolyte layer and a second solid electrolyte layer. The first solid electrolyte layer comprises a first sulfide solid electrolyte, and the second solid electrolyte layer comprises a phosphide solid electrolyte.

METHOD FOR RECOVERING BATTERY MATERIAL

NºPublicación:  EP4645522A1 05/11/2025
Solicitante: 
BYD CO LTD [CN]
BYD Company Limited
EP_4645522_PA

Resumen de: EP4645522A1

A method for recovering a battery material. The method comprises: soaking an electrode or a cell in a first phosphoric acid solution for separation to obtain an electrode material, wherein the concentration of the first phosphoric acid solution is less than 10 wt.%; soaking the electrode material in a second phosphoric acid solution, and then filtering same to obtain a first filtrate, wherein the concentration of the second phosphoric acid solution is greater than or equal to 10 wt.%; and adding a first iron source to the first filtrate for reaction, and then filtering same to obtain a second filtrate, wherein the second filtrate has lithium ions, divalent iron ions and phosphate ions.

LITHIUM-SUPPLEMENTING MATERIAL, POSITIVE ELECTRODE, ELECTROCHEMICAL APPARATUS, AND ELECTRIC DEVICE

NºPublicación:  EP4645448A1 05/11/2025
Solicitante: 
BYD CO LTD [CN]
BYD Company Limited
EP_4645448_A1

Resumen de: EP4645448A1

This disclosure provides a lithium supplement material, including Li5Fe1-XMXO4 and a cladding layer disposed on a surface of Li5Fe1-xMxO4. In Li5Fe1-xMxO4, M is at least one of Ni, Mn, Ru, Cr, Cu, Nb, Al, Mg, Ca, Ga, Ti, and Mo, and 0 ≤ x ≤ 0.2. The cladding layer includes M'-doped zinc oxide or M'-doped composite oxide based on zinc oxide, and M' is an ion capable of forming a substitutional solid solution with zinc oxide or composite oxide based on zinc oxide.

INSPECTION APPARATUS AND INSPECTION METHOD

NºPublicación:  EP4644884A1 05/11/2025
Solicitante: 
NUCTECH CO LTD [CN]
UNIV TSINGHUA [CN]
NUCTECH COMPANY LIMITED,
Tsinghua University
EP_4644884_PA

Resumen de: EP4644884A1

An inspection device and an inspection system are provided. The inspection device includes a first conveying mechanism (10), a radiographic imaging inspection mechanism (20), a stacking mechanism (30), a second conveying mechanism (40) and a tomographic imaging inspection mechanism (50). The first conveying mechanism (10) is used to convey a battery cell. The radiographic imaging inspection mechanism (20) is used to inspects the battery cell. The stacking mechanism (30) is used to stack battery cells into a battery cell group. The second conveying mechanism (40) is used to convey the battery cell group. The tomographic inspection mechanism (50) is used to inspect the battery cell group.

BATTERY CELL PROTECTIVE FILM COATING APPARATUS AND BATTERY CELL PROTECTIVE FILM COATING SYSTEM

NºPublicación:  EP4644277A1 05/11/2025
Solicitante: 
BYD CO LTD [CN]
BYD Company Limited
EP_4644277_PA

Resumen de: EP4644277A1

A battery cell protective film coating system, comprising battery cell protective film coating apparatuses. Each battery cell protective film coating apparatus comprises a first base, a film suction mechanism, a turning mechanism, a roller mechanism and a film folding and pressing mechanism. The film suction mechanism is arranged on the first base; the turning mechanism is arranged on the first base and drives a part of the film suction mechanism to rotate relative to the other part of the film suction mechanism; the roller mechanism is arranged on the first base and can move up and down relative to the first base; the roller mechanism is used for coating the side face of a cell in a first direction with a protective film; the film folding and pressing mechanism comprises folding blade assemblies; each folding blade assembly comprises a folding blade and a first drive component, the first drive component driving the folding blade to move, and the folding blade being used for coating the side face of the cell in a second direction with the protective film.

CURABLE COMPOSITIONS

NºPublicación:  EP4642828A2 05/11/2025
Solicitante: 
PPG IND OHIO INC [US]
PPG Industries Ohio Inc
KR_20250127150_PA

Resumen de: CN120500506A

The present disclosure relates to a composition comprising: a first component comprising a thiol-containing compound, an amine-containing compound, or a combination thereof; and a furan-containing compound; and a second component, the second component comprising a maleimide-containing compound. The present disclosure also relates to a substrate comprising a surface coated with any of the compositions disclosed herein or embedded in the composition. The present disclosure also relates to coatings, films, and 3D printed structural articles formed from any of the compositions disclosed herein. The present disclosure also relates to a method for forming a coating comprising mixing any one of the first components and any one of the second components disclosed herein to form a composition; and applying the composition to the surface of the substrate. The present disclosure also relates to a method for forming a thin film comprising mixing any one of the first components and any one of the second components disclosed herein to form a composition; and casting the film.

Assembly of battery components using thermal interface dispense bead path

NºPublicación:  GB2640687A 05/11/2025
Solicitante: 
JAGUAR LAND ROVER LTD [GB]
Jaguar Land Rover Limited
GB_2640687_PA

Resumen de: GB2640687A

A method of bonding a stack of prismatic battery cells 1 to a cooling plate 6 within a vehicle battery module comprises applying a bead of a thermally conductive adhesive composition onto a bonding face of the cell stack or the cooling plate in a zigzag pattern. The cell stack comprises a plurality of prismatic cells stacked together to define a substantially rectangular cell stack bonding face, and the cooling plate comprises a substantially rectangular cooling plate bonding face which corresponds to the bonding face of the cell stack. The zigzag pattern comprises angled line segments extending between first and second edge regions of the bonding face, wherein each angle formed between adjacent line segments is between 10 and 30 degrees (figure 4). The bonding faces are compressed together before curing the adhesive layer. Preferably, the cell stack is enclosed in a thermoplastic polymer casing, such that its bonding face is formed from the thermoplastic polymer. Preferably, a two-component adhesive composition is used. A battery module comprising the cell stack, cooling plate and thermally conductive adhesive layer with an average height between 1-3 mm and having a zigzag pattern is also claimed.

MULTI-ELEMENT-COATED MODIFIED SINGLE-CRYSTALLINE NICKEL COBALT LITHIUM MANGANATE POSITIVE ELECTRODE MATERIAL, PREPARATION METHOD THEREFOR AND LITHIUM ION BATTERY

NºPublicación:  EP4645468A1 05/11/2025
Solicitante: 
BASF SHANSHAN BATTERY MAT CO LTD [CN]
BASF Shanshan Battery Materials Co., Ltd
EP_4645468_PA

Resumen de: EP4645468A1

A modified single-crystalline nickel cobalt lithium manganate positive electrode material, a preparation method therefor, and a lithium ion battery. The modified single-crystalline nickel cobalt lithium manganate positive electrode material comprises a matrix and a coating layer coating the surface of the matrix. The chemical formula of the matrix is LiaNixCoyMn1-x-y-zMzO2, where 0.9≤a≤1.2, 0.5≤x<1, 0

ELECTROCHEMICAL APPARATUS AND ELECTRICAL DEVICE

NºPublicación:  EP4645533A1 05/11/2025
Solicitante: 
DONGGUAN NVT TECH LIMITED [CN]
Dongguan NVT Technology Limited
EP_4645533_PA

Resumen de: EP4645533A1

This application discloses an electrochemical apparatus and an electrical device. The electrochemical apparatus includes an electrode assembly, a battery cell shell, and an electrode terminal. The battery cell shell includes a shell body for accommodating the electrode assembly and an encapsulation portion extending outward from the shell body in a first direction, the encapsulation portion includes a first encapsulation area and a second encapsulation area, and in the first direction, an end portion of the first encapsulation area facing away from the shell body has a first distance from the electrode assembly, and an end portion of the second encapsulation area facing away from the shell body has a second distance from the electrode assembly, the first distance being greater than the second distance. The electrode terminal includes a first portion, a second portion, and a third portion connected in sequence, the first portion is electrically connected to the electrode assembly, the second portion is clamped to the first encapsulation area, and the third portion is exposed out of the battery cell shell. Since the first distance is greater than the second distance, the size of a head of a battery cell is reduced, and a side of the second encapsulation area facing away from the shell body can be used for avoiding other components, which is conducive to improving the energy density of the electrochemical apparatus.

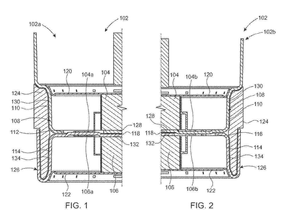
Battery cell

NºPublicación:  GB2640696A 05/11/2025
Solicitante: 
JAGUAR LAND ROVER LTD [GB]
Jaguar Land Rover Limited
GB_2640696_PA

Resumen de: GB2640696A

A battery cell 102 comprises first and second electrode stacks 104,106 each having at least two pairs of electrode connectors comprising a positive electrode connector portion 104a,106a and a negative electrode connector portion 104b,106b and a terminal structure 108 at least partly disposed between the first and second electrode stacks. The terminal structure comprises first and second terminals 110,114 having at least a pair of first openings 112 and a pair of second openings 116, and an electrical insulator 118 between the first and second terminals. One electrode connector portion 104b of the first electrode stack 104 is connected to the first terminal 110 and the other electrode connector portion 104a of the first electrode stack is connected to the second terminal 114 through one of the pair of first openings 112. One electrode connector portion 106a of the second electrode stack 106 is connected to the second terminal 114 and the other electrode connector portion 106b of the second electrode stack is connected to the first terminal 110 through one of the pair of second openings 116. By providing multiple pairs of connector portions, current flows along a shorter path, leading to reduced resistance and heat generation.

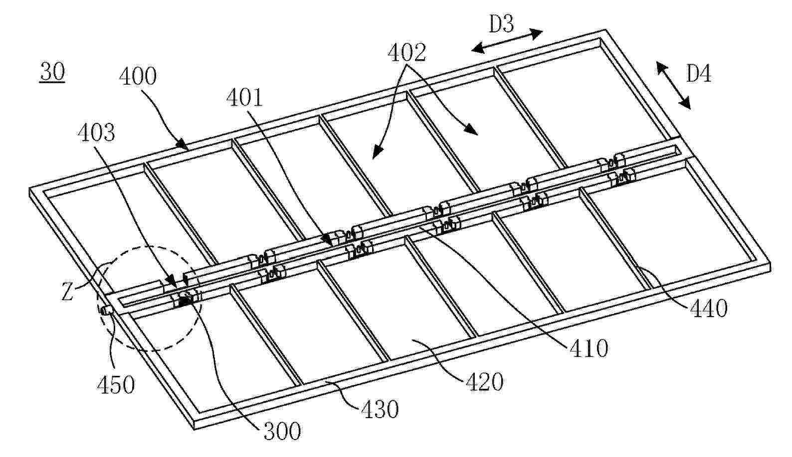
A heat transfer plate for a vehicle battery assembly

NºPublicación:  GB2640688A 05/11/2025
Solicitante: 
JAGUAR LAND ROVER LTD [GB]
Jaguar Land Rover Limited
GB_2640688_PA

Resumen de: GB2640688A

A vehicle battery assembly heat transfer plate 300 comprises a heat transfer portion 410, and at least one thermal interface material overspill reservoir 420,440 each extending between the heat transfer portion and an edge 430,450 of the vehicle battery assembly heat transfer plate. The thermal interface material may be a filler or adhesive for fixing the heat transfer plate to a battery assembly (200, figure 2). Other aspects of the invention relate to the vehicle battery assembly including the heat transfer plate, a vehicle including the battery assembly or heat transfer plate, and a method of producing the vehicle battery assembly. When the heat transfer plate and battery cell stack are pressed together, the thermal interface material forms a layer therebetween and into the overspill reservoir(s). This prevents or reduces contamination of other parts of the vehicle battery assembly by the thermal interface material. Furthermore, the additional volume of thermal interface material provided at the edge(s) of the plate increases the material available for allowing stretch or flex under high load around the edges of the plate, thereby preventing separation of the plate from the battery cell stack.

Sintering aid

NºPublicación:  GB2640664A 05/11/2025
Solicitante: 
ILIKA TECH LTD [GB]
Ilika Technologies Ltd
GB_2640664_A

Resumen de: GB2640664A

A sintering aid for lowering the sintering temperature of ceramic materials comprises two phases where the first phase has the formula Li3-xB1-xCxO3 with 0.4

METHOD FOR PRODUCING POROUS CARBON SUPPORT AND POROUS CARBON SUPPORT PRODUCED THEREBY

NºPublicación:  EP4644319A1 05/11/2025
Solicitante: 
HANWHA SOLUTIONS CORP [KR]
Hanwha Solutions Corporation
EP_4644319_PA

Resumen de: EP4644319A1

The present invention relates to a method for producing a porous carbon support, comprising the steps of (1) synthesizing pitch by pyrolysis and condensation polymerization of a petroleum-based raw material, (2) solidifying the pitch to obtain a solid-phase pitch, and (3) producing a carbon support from the solid-phase pitch, wherein the pitch in step (1) satisfies the following relational formula 1. Relational formula 1 S/SP × 100 + MP ≤ 0.5 In relational formula 1, S is the mass ratio of saturated hydrocarbons derived from a saturates-aromatics-resins-asphaltenes (SARA) analysis of the synthesized pitch, SP is a softening point of the pitch, and MP is the volume ratio of anisotropic (mesophase) content in the synthesized pitch.

ELECTROLYTE FOR RECHARGEABLE LITHIUM BATTERY, AND RECHARGEABLE LITHIUM BATTERY COMPRISING SAME

NºPublicación:  EP4645503A1 05/11/2025
Solicitante: 
SK ON CO LTD [KR]
SK INNOVATION CO LTD [KR]
SK On Co., Ltd,
SK innovation Co., Ltd
EP_4645503_PA

Resumen de: EP4645503A1

An electrolyte for a rechargeable lithium battery according to embodiments of the present disclosure includes: an additive including a sulfonate compound represented by a specific formula; an organic solvent; and a lithium salt. A rechargeable lithium battery including the electrolyte for a rechargeable lithium battery may have improved high-temperature characteristics and fast-charging performance.

POSITIVE ELECTRODE AND RECHARGEABLE LITHIUM BATTERY INCLUDING THE SAME

NºPublicación:  EP4644331A2 05/11/2025
Solicitante: 
SAMSUNG SDI CO LTD [KR]
SAMSUNG SDI CO., LTD
EP_4644331_PA

Resumen de: EP4644331A2

Examples of the disclosure include a positive electrode, and a rechargeable lithium battery including the positive electrode. Examples include a positive electrode for a rechargeable lithium battery including a current collector, a first active material layer on the current collector, and a second active material layer on the first active material layer. The first active material layer includes a first particle containing an olivine structured compound, a second particle containing a layered compound, a first conductive material, and a first binder. The second active material layer includes a third particle containing an olivine structured compound, a second conductive material, and a second binder.

POSITIVE ELECTRODE FOR RECHARGEABLE LITHIUM BATTERY, AND RECHARGEABLE LITHIUM BATTERY INCLUDING THE SAME

NºPublicación:  EP4645431A2 05/11/2025
Solicitante: 
SAMSUNG SDI CO LTD [KR]
SAMSUNG SDI CO., LTD
EP_4645431_PA

Resumen de: EP4645431A2

A rechargeable lithium battery including a positive electrode, the positive electrode including a current collector, a first active material layer on the current collector, and a second active material layer on the first active material layer, wherein the first active material layer and the second active material layer each include a first particle, and the second active material layer further includes a second particle. The first particle is an olivine-based particle, and the second particle is a layered particle.

POSITIVE ELECTRODE ACTIVE MATERIAL FOR RECHARGEABLE LITHIUM BATTERY, POSITIVE ELECTRODE INCLUDING THE SAME, AND RECHARGEABLE LITHIUM BATTERY INCLUDING THE SAME

NºPublicación:  EP4645429A1 05/11/2025
Solicitante: 
SAMSUNG SDI CO LTD [KR]
SAMSUNG SDI CO., LTD
EP_4645429_PA

Resumen de: EP4645429A1

A positive electrode for a rechargeable lithium battery, including a current collector, a first positive electrode active material layer on the current collector, and a second positive electrode active material layer on the first positive electrode active material layer. The first positive electrode active material layer includes a first particle having an olivine structure, and a second particle having a layered structure, and the second positive electrode active material layer includes a third particle having an olivine structure. The first particle is a single particle, the third particle is in the form of a secondary particle in which a plurality of third primary particles are aggregated, and the second particle has a greater average particle diameter than each of the first particle and the third particle. Also disclosed is a rechargeable lithium battery including the same.

POSITIVE ELECTRODE MATERIAL AND PREPARATION METHOD THEREFOR, POSITIVE ELECTRODE SHEET, SECONDARY BATTERY AND ELECTRIC DEVICE

NºPublicación:  EP4645456A1 05/11/2025
Solicitante: 
CONTEMPORARY AMPEREX TECHNOLOGY CO LTD [CN]
Contemporary Amperex Technology Co., Limited
EP_4645456_A1

Resumen de: EP4645456A1

This application provides a positive electrode material and a preparation method thereof, a positive electrode plate, a secondary battery (5), and an electrical device. The positive electrode material includes a conductive substrate material and an active material distributed on the conductive substrate material. The active material includes a nanoscale phosphate active material. The conductive substrate material includes doping element-modified graphene. Based on a total mass of the positive electrode material, a mass percent of the active material is 75% to 95%, and a mass percent of the conductive substrate material is 5% to 25%. In this application, the positive electrode material is prepared by using the doping element-modified graphene as a substrate material that carries nanoparticles of the phosphate active material, thereby reducing agglomeration of the nanoscale phosphate positive electrode material, enhancing the effect of an electrolyte solution in infiltrating the active material, and improving cycle performance of the positive electrode material.

FLOW DISTRIBUTION ASSEMBLY AND BATTERY RACK

NºPublicación:  EP4645525A1 05/11/2025
Solicitante: 
EVE ENERGY STORAGE CO LTD [CN]
Eve Energy Storage Co., Ltd
EP_4645525_PA

Resumen de: EP4645525A1

A flow distribution assembly (300) and a battery rack (10, 30, 50) are provided. The flow distribution assembly (300) includes a mounting component (320) and a flow distribution component (100, 310, 500). The flow distribution component (100, 310, 500) is provided with a flow guide hole (130, 315). The flow distribution component (100, 310, 500) is connected to the mounting component (320), and is capable of rotating relative to the mounting component (320) to change a flow direction of a medium distributed through the flow guide hole (130, 315).

POSITIVE ELECTRODE SHEET, BATTERY CELL, SECONDARY BATTERY AND ELECTRIC DEVICE

Nº publicación: EP4645455A1 05/11/2025

Solicitante:

CONTEMPORARY AMPEREX TECHNOLOGY CO LTD [CN]
Contemporary Amperex Technology Co., Limited

EP_4645455_PA

Resumen de: EP4645455A1

The present application relates to a positive electrode sheet, a battery cell, a secondary battery and an electric device. The positive electrode sheet includes a positive electrode active material and a lithium supplement additive, where the lithium supplement additive meets the following relational expression: R ≤ Cmin/(100*m*Q). In the expression, m represents a loading capacity on the positive electrode sheet per unit of area, and the loading capacity includes a total mass of the positive electrode active material and the lithium supplement additive; Cmin represents a minimum rate value applied to the positive electrode sheet during an actual application process; Q represents a theoretical gram capacity of the lithium supplement additive; and R represents a mass percentage content of the lithium supplement additive in the loading capacity on the positive electrode sheet per unit of area.

traducir