Ministerio de Industria, Turismo y Comercio LogoMinisterior
 

Alerta

Resultados 1532 resultados
LastUpdate Última actualización 18/03/2026 [07:26:00]
pdfxls
Publicaciones de los últimos 15 días/Last 15 days publications (excluidas pubs. CN y JP /CN and JP pubs. excluded)
previousPage Resultados 900 a 925 de 1532 nextPage  

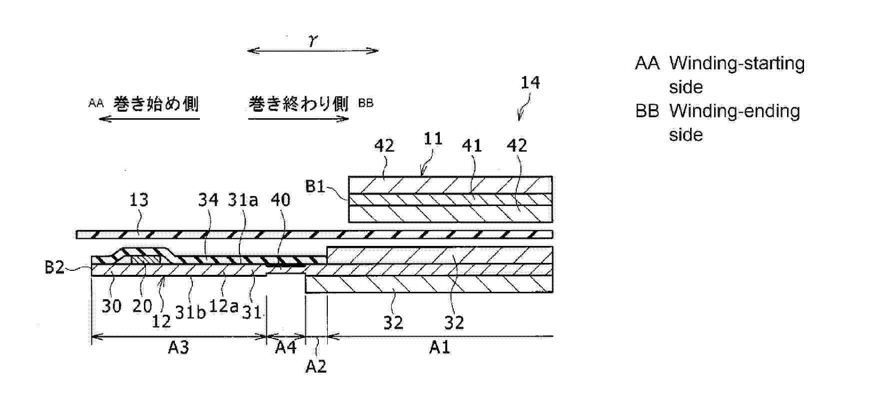
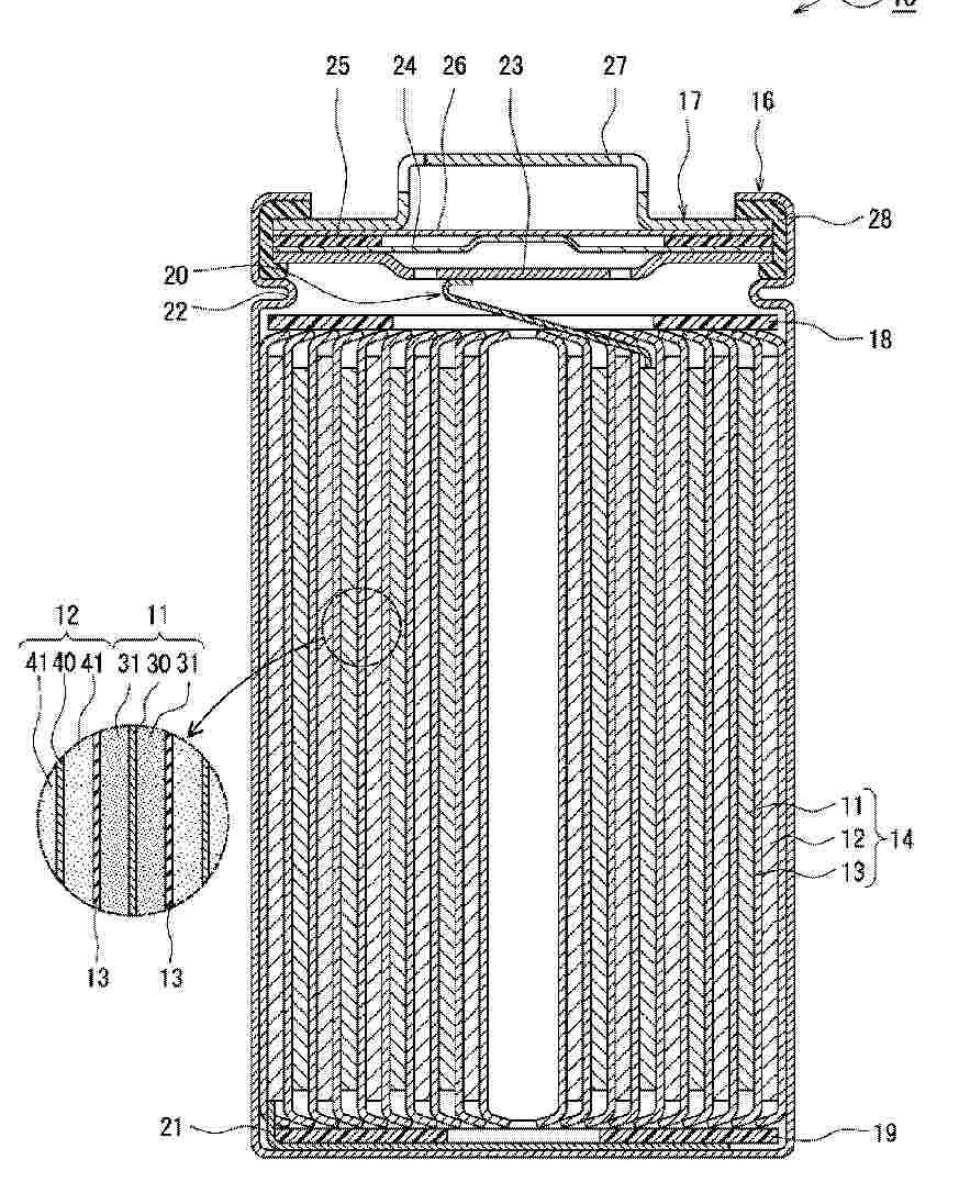
NON-AQUEOUS ELECTROLYTE SECONDARY BATTERY

NºPublicación:  WO2026048748A1 05/03/2026
Solicitante: 
PANASONIC INTELLECTUAL PROPERTY MAN CO LTD [JP]
\u30D1\u30CA\u30BD\u30CB\u30C3\u30AF\uFF29\uFF30\u30DE\u30CD\u30B8\u30E1\u30F3\u30C8\u682A\u5F0F\u4F1A\u793E
WO_2026048748_PA

Resumen de: WO2026048748A1

This non-aqueous electrolyte secondary battery comprises: an electrode assembly (14) in which a positive electrode (11) and a negative electrode (12) are wound with a separator (13) therebetween; and an outer can for housing the electrode assembly (14). The negative electrode (12) has a negative electrode core (30) and a mixture layer (32) that is disposed on at least one surface of the negative electrode core (30) and contains an active material. The negative electrode (12) has a core-exposed portion (31) which does not have a mixture layer on both surfaces of the negative electrode core (30) at a negative electrode winding-starting end portion (12a) positioned on the inner peripheral side of a positive electrode winding-starting end (B1) of the positive electrode (11) and on a winding-starting side of the positive electrode winding-starting end (B1). A low-rigidity portion (40) having lower rigidity than other portions of the negative electrode core (30) is disposed in at least a portion of the core-exposed portion (31) in the winding direction.

ELECTRIC POWER STORAGE MODULE

NºPublicación:  WO2026048865A1 05/03/2026
Solicitante: 
PANASONIC IP MAN CO LTD [JP]
\u30D1\u30CA\u30BD\u30CB\u30C3\u30AF\uFF29\uFF30\u30DE\u30CD\u30B8\u30E1\u30F3\u30C8\u682A\u5F0F\u4F1A\u793E
WO_2026048865_PA

Resumen de: WO2026048865A1

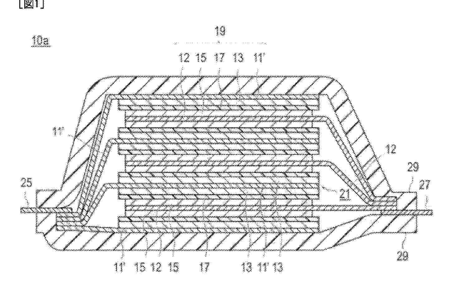
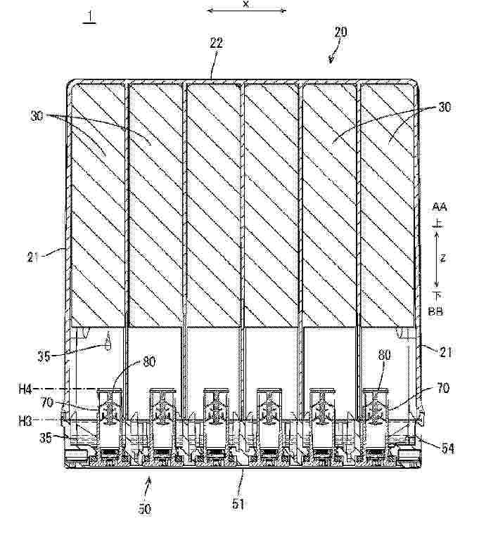
Provided is an electric power storage module (100) comprising a first group (11) that includes a plurality of electric power storage devices (20), a second group (12) that includes a plurality of electric power storage devices (20), and a shared holder (110) that has a plurality of first accommodation portions (111) for accommodating the first group (11) and a plurality of second accommodation portions (112) for accommodating the second group (12), each of the plurality of electric power storage devices (20) having a first end and a second end in a first direction, the plurality of first accommodation portions (111) and the plurality of second accommodation portions (112) being arranged in the first direction, each of the plurality of first accommodation portions (111) accommodating the second-end side of a respective electric power storage device (20) of the first group (11), each of the plurality of second accommodation portions (112) accommodating the second-end side of a respective electric power storage device (20) of the second group (12), the first ends of the plurality of electric power storage devices (20) in the first group (11) being electrically connected to each other, and the first ends of the plurality of electric power storage devices (20) in the second group (12) being electrically connected to each other.

POSITIVE ELECTRODE FOR CLOSED-TYPE LITHIUM-OXYGEN BATTERY, AND CLOSED-TYPE LITHIUM-OXYGEN BATTERY USING SAME

NºPublicación:  WO2026047884A1 05/03/2026
Solicitante: 
NISSAN MOTOR [JP]
\u65E5\u7523\u81EA\u52D5\u8ECA\u682A\u5F0F\u4F1A\u793E
WO_2026047884_PA

Resumen de: WO2026047884A1

The present disclosure provides means with which it is possible to improve the discharge capacity of a closed-type lithium-oxygen battery. Disclosed is a positive electrode for a closed-type lithium-oxygen battery that has a positive electrode active material layer containing lithium oxide, a catalyst, a binder, and a carbon conductivity aid, the carbon conductivity aid having a BET specific surface area of 40-1000 m2/g.

LEAD-ACID BATTERY

NºPublicación:  WO2026048183A1 05/03/2026
Solicitante: 
GS YUASA INT LTD [JP]
\u682A\u5F0F\u4F1A\u793E\uFF27\uFF33\u30E6\u30A2\u30B5
WO_2026048183_PA

Resumen de: WO2026048183A1

A lead-acid battery 1 comprises: a battery case 20; an electricity storage element 30 and an electrolyte 35 which are housed in the battery case 20; a lid member 50 for sealing the upper surface of the battery case 20; and a vent plug 70 attached to the lid member 50. A plug body 71 of the vent plug 70 includes: a head portion 73 having an exhaust hole 73B; and a cylindrical portion 75 which protrudes downward from the head portion 73 and has an opening 76 at a tip. When the lead-acid battery 1 is in the upright or inverted position, the opening 76 at the cylinder tip of the cylindrical portion 75 of the vent plug 70 is positioned above a liquid surface of the electrolyte 35, and the opening 76 at the cylinder tip is closed by a wall.

POWER STORAGE DEVICE

NºPublicación:  WO2026048066A1 05/03/2026
Solicitante: 
MITSUI KINZOKU COMPANY LTD [JP]
\u4E09\u4E95\u91D1\u5C5E\u682A\u5F0F\u4F1A\u793E
WO_2026048066_PA

Resumen de: WO2026048066A1

A power storage device 1 comprises: a first electrode 10 that functions as a p-type semiconductor; a second electrode 20 that functions as an n-type semiconductor; and an oxygen vacancy region 30 that is disposed between the first electrode 10 and the second electrode 20. The first electrode 10 preferably contains manganese oxide. In addition, the second electrode 20 preferably contains tin oxide. The oxygen vacancy region 30 also preferably contains zirconium oxide stabilized by yttrium oxide, cerium oxide, calcium oxide, magnesium oxide, or scandium oxide.

ELECTRIC VEHICLE CONTROL METHOD AND ELECTRIC VEHICLE CONTROL DEVICE

NºPublicación:  WO2026047948A1 05/03/2026
Solicitante: 
NISSAN MOTOR CO LTD [JP]
\u65E5\u7523\u81EA\u52D5\u8ECA\u682A\u5F0F\u4F1A\u793E
WO_2026047948_PA

Resumen de: WO2026047948A1

This electric vehicle control method is for warming an on-board device by using heat generated by a first electric unit and a second electric unit, in an electric vehicle that includes: the first electric unit and the second electric unit which are for generating torque for travelling; and a battery for supplying power to the first electric unit and the second electric unit. In this control method, when warm-up of the on-board device is required while the electric vehicle is traveling, the first electric unit and the second electric unit are boosted, or the d-axis currents of the first electric unit and the second electric unit are increased, to intensify the heat generated by the entirety of the first electric unit and the second electric unit. Additionally, according to the states of the first electric unit and the second electric unit, the d-axis current of one of the first electric unit and the second electric unit is increased more significantly than the d-axis current of the other so as to preferentially cause one of the first electric unit and the second electric unit to generate heat.

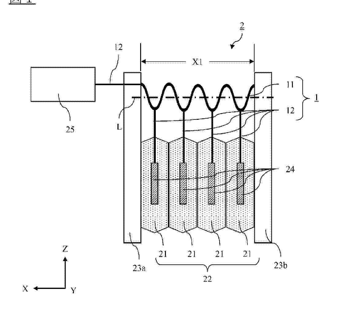
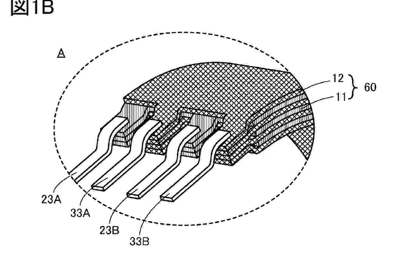
VOLTAGE DETECTION DEVICE FOR BATTERY MODULE

NºPublicación:  WO2026047838A1 05/03/2026
Solicitante: 
NISSAN MOTOR [JP]
\u65E5\u7523\u81EA\u52D5\u8ECA\u682A\u5F0F\u4F1A\u793E
WO_2026047838_PA

Resumen de: WO2026047838A1

In order to suppress disconnection of conducting wires (12), the present invention comprise a plurality of the conducting wires (12) each having one end connected to a to-be-detected part of a battery cell (21) and another end connected to an input unit of a controller (25), and an outer shell (11) covering the plurality of conducting wires, wherein: the outer shell has a repeating shape in which the cross-sectional shape perpendicular to an extension direction is constant and a plurality of iterative units are repeated, and one end of the outer shell is fixed to one pressurizing part (23a) and another end is directly or indirectly fixed to another pressurizing part (23b); and the respective one ends of the plurality of conducting wires are guided to the outside of the outer shell from iterative units, from among the plurality of iterative units, that are different from one another, and are connected to to-be-detected parts, from among the abovementioned to-be-detected parts, that are different from one another.

ELECTROCHEMICAL APPARATUS AND ELECTRONIC APPARATUS COMPRISING ELECTROCHEMICAL APPARATUS

NºPublicación:  WO2026045436A1 05/03/2026
Solicitante: 
NINGDE AMPEREX TECH LIMITED [CN]
\u5B81\u5FB7\u65B0\u80FD\u6E90\u79D1\u6280\u6709\u9650\u516C\u53F8
WO_2026045436_A1

Resumen de: WO2026045436A1

An electrochemical apparatus and an electronic apparatus comprising the electrochemical apparatus. The electrochemical apparatus comprises a negative electrode sheet and an electrolyte; the negative electrode sheet comprises a negative electrode material layer, the negative electrode material layer comprises silicon, and on the basis of the total mass of the negative electrode material layer, the mass percentage content A of the silicon is 1% to 20%; the electrolyte comprises a compound of formula I and fluoroethylene carbonate, and on the basis of the total mass of the electrolyte, the mass percentage content C of the compound of formula I is 3% to 50%. The negative electrode sheet and the electrolyte are simultaneously applied to the electrochemical apparatus, thereby improving the cycle performance of the electrochemical apparatus.

SECONDARY BATTERY AND ELECTRONIC DEVICE COMPRISING SAME

NºPublicación:  WO2026045435A1 05/03/2026
Solicitante: 
NINGDE AMPEREX TECH LIMITED [CN]
\u5B81\u5FB7\u65B0\u80FD\u6E90\u79D1\u6280\u6709\u9650\u516C\u53F8
WO_2026045435_A1

Resumen de: WO2026045435A1

A secondary battery and an electronic device comprising same. The secondary battery comprises a positive electrode sheet, a negative electrode sheet, a separator, and an electrolyte. The electrolyte comprises a compound represented by formula I, where R is selected from an unsubstituted or Ra-substituted C2 to C6 alkyl, an unsubstituted or Ra-substituted C6 to C12 aryl, or an unsubstituted or Ra-substituted C5 to C12 nitrogen-containing heteroaryl; each Ra is independently selected from a halogen or a halogen-substituted C1 to C3 alkyl, and each halogen is independently selected from fluorine, chlorine, or bromine. Based on the total mass of the electrolyte, the mass percentage of the compound represented by formula I is A%, where 0.01 ≤ A ≤ 50. The positive electrode sheet comprises a positive electrode active material. The positive electrode active material comprises lithium cobalt oxide comprising an element M, and the element M comprises at least one of Al, Mg, Ti, Nb, Cr, Y, Sr, or Zr. Based on the total mass of the positive electrode active material, the mass percentage of the element M is B%, where 0.01 ≤ B ≤ 1. The values of A and B are controlled within the above ranges to facilitate formation of a low-impedance CEI film, thereby enabling the secondary battery to achieve both good high-temperature storage stability and low-temperature discharge performance.

SYNTHESIS OF LITHIUM TRANSITION METAL ORTHOBORATES

NºPublicación:  WO2026050708A1 05/03/2026
Solicitante: 
MITRA FUTURE TECH INC [US]
MITRA FUTURE TECHNOLOGIES, INC
WO_2026050708_PA

Resumen de: WO2026050708A1

The present technology provides methods for the aqueous synthesis of lithium transition metal orthoborates wherein chemical precursors are added to an aqueous solution and milled together (e.g. with grinding media) as one step in the synthesis process. In one aspect, the Li-containing orthoborate material has the formula Lil+xMl-xBO3, wherein M is a transition metal, and wherein 0 =< x < 0.3.

SECONDARY BATTERY AND ELECTRONIC DEVICE COMPRISING SAME

NºPublicación:  WO2026045437A1 05/03/2026
Solicitante: 
NINGDE AMPEREX TECH LIMITED [CN]
\u5B81\u5FB7\u65B0\u80FD\u6E90\u79D1\u6280\u6709\u9650\u516C\u53F8
WO_2026045437_PA

Resumen de: WO2026045437A1

Provided are a secondary battery and an electronic device comprising same. The secondary battery comprises a negative electrode sheet and an electrolyte. The electrolyte comprises a compound represented by formula I. Based on the total mass of the electrolyte, the mass percentage content of the compound represented by formula I is WI%, where WI is from 0.05 to 50. The negative electrode sheet comprises a negative electrode current collector and a negative electrode material layer arranged on at least one surface of the negative electrode current collector. The thickness of a single side of the negative electrode material layer is D μm. A plurality of recesses are arranged on a surface of the negative electrode material layer. The depth of a single recess is d μm, where d < D, and 0.005 ≤ WI/d ≤ 5. The secondary battery has improved high-temperature cycling performance and low-temperature discharge performance.

SECONDARY BATTERY, CATALYST FOR SECONDARY BATTERY, AND METHOD FOR MANUFACTURING CATALYST FOR SECONDARY BATTERY

NºPublicación:  WO2026048879A1 05/03/2026
Solicitante: 
INST OF SCIENCE TOKYO [JP]
\u56FD\u7ACB\u5927\u5B66\u6CD5\u4EBA\u6771\u4EAC\u79D1\u5B66\u5927\u5B66
WO_2026048879_PA

Resumen de: WO2026048879A1

The problem to be addressed by the present invention is to provide a secondary battery that can be stably charged and discharged, has a prolonged lifespan, and requires less time and effort for maintenance. A secondary battery 1 has a cell 20 comprising a negative electrode 21, a positive electrode 22, and an electrolyte 23 disposed in contact with the negative electrode 21 and the positive electrode 22 and composed of a gas-impermeable and ion-conductive solid oxide. During charging, carbon dioxide is electrolyzed on the surface of the negative electrode 21, and carbon is deposited on the negative electrode 21 side which is configured as a closed system. A reactor 20 in the closed system comprises: an electrochemical reaction part 20A in which the negative electrode 21 is disposed; and a thermochemical reaction part 20B in which a catalyst 26 for promoting the carbon deposition is disposed. The catalyst 26 disposed in the thermochemical reaction part 20B is a catalyst having a porous substrate composed of one or more types selected from the group consisting of metals and oxides thereof.

POSITIVE ELECTRODE ACTIVE MATERIAL AND PRODUCTION METHOD FOR POSITIVE ELECTRODE ACTIVE MATERIAL

NºPublicación:  WO2026048786A1 05/03/2026
Solicitante: 
PANASONIC IP MAN CO LTD [JP]
\u30D1\u30CA\u30BD\u30CB\u30C3\u30AF\uFF29\uFF30\u30DE\u30CD\u30B8\u30E1\u30F3\u30C8\u682A\u5F0F\u4F1A\u793E
WO_2026048786_PA

Resumen de: WO2026048786A1

A positive electrode active material according to the present invention is characterized by including a lithium/transition metal composite oxide represented by the compositional formula LiNixM1yM2zO2 (0.7≤x≤1.0, 0≤y≤0.3, 0≤z≤0.1) and a surface compound that is present at the surface of the lithium/transition metal composite oxide and includes Li, Al, and sulfate ions. The positive electrode active material is also characterized by having a crystal lattice strain of 0.25%-0.35%. The positive electrode active material is also characterized in that the Al content of the surface compound is 0.01-2.0 mol% of the total molar amount of the positive electrode active material, and the sulfate ion content of the surface compound is at least 0.04 mol% of the total molar amount of the positive electrode active material.

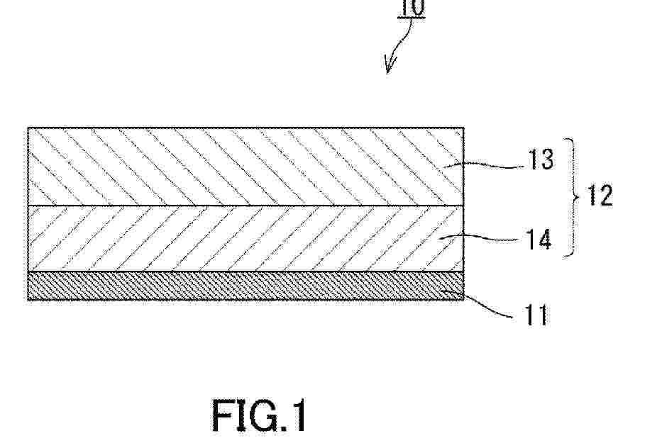
NEGATIVE ELECTRODE AND BATTERY

NºPublicación:  WO2026048818A1 05/03/2026
Solicitante: 
PANASONIC IP MAN CO LTD [JP]
\u30D1\u30CA\u30BD\u30CB\u30C3\u30AF\uFF29\uFF30\u30DE\u30CD\u30B8\u30E1\u30F3\u30C8\u682A\u5F0F\u4F1A\u793E
WO_2026048818_PA

Resumen de: WO2026048818A1

A negative electrode 10 according to the present disclosure comprises a negative electrode mixture layer 12 that includes a silicon-containing material as a negative electrode active material and a polymer binder. The negative electrode mixture layer 12 includes a first negative electrode mixture layer 13 including the surface of the negative electrode 10, and a second negative electrode mixture layer 14. The silicon-containing material includes a first silicon-containing material and a second silicon-containing material having a particle volume expansion coefficient greater than that of the first silicon-containing material. Let a first negative electrode active material be defined as the negative electrode active material included in the first negative electrode mixture layer 13, a second negative electrode active material be defined as the negative electrode active material included in the second negative electrode mixture layer 14, a first polymer binder be defined as the polymer binder included in the first negative electrode mixture layer, and a second polymer binder be defined as the polymer binder included in the second negative electrode mixture layer, in which case the mass ratio of the first silicon-containing material in the first negative electrode active material is higher than the mass ratio of the first silicon-containing material in the second negative electrode active material, the mass ratio of the second silicon-containing material in the second negative e

SYSTEM AND METHOD FOR EXTRACTION OF LITHIUM FROM ACTIVE MATERIALS

NºPublicación:  WO2026047774A1 05/03/2026
Solicitante: 
METASTABLE MAT PRIVATE LIMITED [IN]
METASTABLE MATERIALS PRIVATE LIMITED
WO_2026047774_PA

Resumen de: WO2026047774A1

The various embodiments of the present invention provide a system and method for extraction of lithium from active materials of lithium iron phosphate battery. The method involves extraction of materials from spent battery and heating a mixture of the battery's black mass with suitable reagents at specific temperature in a predetermined ratio, to initiate a chemical reaction that efficiently produces lithium chloride, which is then extracted through water leaching. This method eliminates the need for harmful acids and solvents, operates at lower temperatures, and directly produces lithium chloride in a form that is both pure and economically valuable. Furthermore, the process is environmentally friendly, reduces operational costs, and enhances lithium recovery rates. By-products such as calcium fluorophosphate and iron oxide are also repurposed, supporting sustainability and reducing waste. This system offers a significant improvement over traditional methods, providing a safer, more sustainable, and cost-effective solution for recycling Lithium ion batteries.

SECONDARY BATTERY AND ELECTROLYTE SOLUTION

NºPublicación:  WO2026047500A1 05/03/2026
Solicitante: 
SEMICONDUCTOR ENERGY LABORATORY CO LTD [JP]
\u682A\u5F0F\u4F1A\u793E\u534A\u5C0E\u4F53\u30A8\u30CD\u30EB\u30AE\u30FC\u7814\u7A76\u6240
WO_2026047500_PA

Resumen de: WO2026047500A1

Provided is a secondary battery or an electrolyte solution that exhibits excellent battery characteristics below the ice point. According to the present invention, a secondary battery includes an electrolyte solution that includes at least a lithium salt and a mixed solvent that includes a cyclic carbonate and a chain carbonate, the molar ratio (CH/CY) of the chain carbonate (CH) to the cyclic carbonate (CY) being greater than 1.5, and the concentration of the lithium salt per liter of the mixed solvent being 0.25-1 mol.

SECONDARY BATTERY

NºPublicación:  WO2026047503A1 05/03/2026
Solicitante: 
SEMICONDUCTOR ENERGY LABORATORY CO LTD [JP]
\u682A\u5F0F\u4F1A\u793E\u534A\u5C0E\u4F53\u30A8\u30CD\u30EB\u30AE\u30FC\u7814\u7A76\u6240
WO_2026047503_PA

Resumen de: WO2026047503A1

Provided are a secondary battery excellent in charge/discharge characteristics and impact resistance and a method for manufacturing the same. The secondary battery includes a positive electrode, a negative electrode, and an exterior body that houses the positive electrode and the negative electrode, wherein: on one side of the exterior body, the positive electrode and the exterior body are connected at at least two locations and the negative electrode and the exterior body are connected at at least two locations; the positive electrode includes a positive electrode active material layer; the positive electrode active material layer contains lithium cobalt oxide; the lithium cobalt oxide has, in a surface layer part, magnesium, titanium, aluminum, and nickel; the surface layer part is a region within 50 nm from the surface of the lithium cobalt oxide; and when STEM-EDX line analysis is performed in the depth direction of the surface layer part, the aluminum has a peak closer to the inside of the lithium cobalt oxide than the magnesium.

NEGATIVE ELECTRODE MATERIAL

NºPublicación:  WO2026046441A1 05/03/2026
Solicitante: 
BTR NEW MAT GROUP CO LTD [CN]
PANASONIC ENERGY CO LTD [JP]
\u8D1D\u7279\u745E\u65B0\u6750\u6599\u96C6\u56E2\u80A1\u4EFD\u6709\u9650\u516C\u53F8,
\u677E\u4E0B\u65B0\u80FD\u6E90\u682A\u5F0F\u4F1A\u793E
WO_2026046441_PA

Resumen de: WO2026046441A1

The present application provides a negative electrode material. The negative electrode material comprises a carbon matrix and a silicon material, wherein at least part of the silicon material is located in the carbon matrix. N positions are randomly selected on the particles of the negative electrode material to perform Raman spectra measurement, and it is measured that the negative electrode material has a first characteristic peak at 1342±10 cm-1, a second characteristic peak at 1595±10 cm-1, a third characteristic peak at 480±10 cm-1, and a fourth characteristic peak at 517±10 cm-1, wherein the average value of the peak intensity ratio I1/I2 of the first characteristic peak to the second characteristic peak measured at the N positions is P, the average value of the peak intensity ratio I3/I4 of the third characteristic peak to the fourth characteristic peak measured at the N positions is S, and the negative electrode material satisfies: 0.9

SUBSTOICHIOMETRIC LITHIUM TRANSITION METAL ORTHOBORATES AS LI-ION BATTERY CATHODES

NºPublicación:  WO2026050707A1 05/03/2026
Solicitante: 
MITRA FUTURE TECH INC [US]
MITRA FUTURE TECHNOLOGIES, INC
WO_2026050707_A1

Resumen de: WO2026050707A1

The present technology provides new and improved Li transition metal orthoborates comprising a sum of metal elements other than Li that is less than one when normalized to the stoichiometry of boron.

METHODS FOR RECOVERY OF CRITICAL MATERIALS FROM BATTERY WASTE

NºPublicación:  WO2026050145A1 05/03/2026
Solicitante: 
VIRGINIA TECH INTELLECTUAL PROPERTIES INC [US]
VIRGINIA TECH INTELLECTUAL PROPERTIES INC
WO_2026050145_PA

Resumen de: WO2026050145A1

In one aspect, the disclosure relates to a method for recovering critical materials, comprising: combining a sample of black mass and a loading solvent, thereby forming a first mixture; heating the first mixture at a pressure of about 150 psi to about 600 psi, thereby forming a treated mixture comprising a solid residue and an aqueous solution; and separating the solid residue from the aqueous solution; wherein the sample of black mass comprises at least one critical material; wherein the loading solvent comprises at least one leaching agent and at least one reducing agent, wherein the reducing agent comprises a biomass feedstock; and wherein the treated mixture comprises at least one critical material. This abstract is intended as a scanning tool for purposes of searching in the particular art and is not intended to be limiting of the present disclosure.

RECHARGEABLE LITHIUM-ION MICRO-BATTERY AND METHODS OF MAKING AND USING THE SAME

NºPublicación:  WO2026049720A1 05/03/2026
Solicitante: 
BATTELLE MEMORIAL INST [US]
BATTELLE MEMORIAL INSTITUTE
WO_2026049720_PA

Resumen de: WO2026049720A1

A cylindrical battery having a wound jelly roll configuration that includes an anode current collector having a first surface and an opposing second surface; at least one anode disposed on the first surface of the anode current collector; at least one Li metal film disposed on the first surface anode current collector, wherein the at least one Li metal film is spaced apart from the anode; a cathode current collector having a first surface and an opposing second surface; at least one cathode disposed on the first surface of the cathode current collector; and a first membrane separator positioned between the anode and the cathode.

ELECTRODE FOR LITHIUM SECONDARY BATTERY AND LITHIUM SECONDARY BATTERY COMPRISING SAME

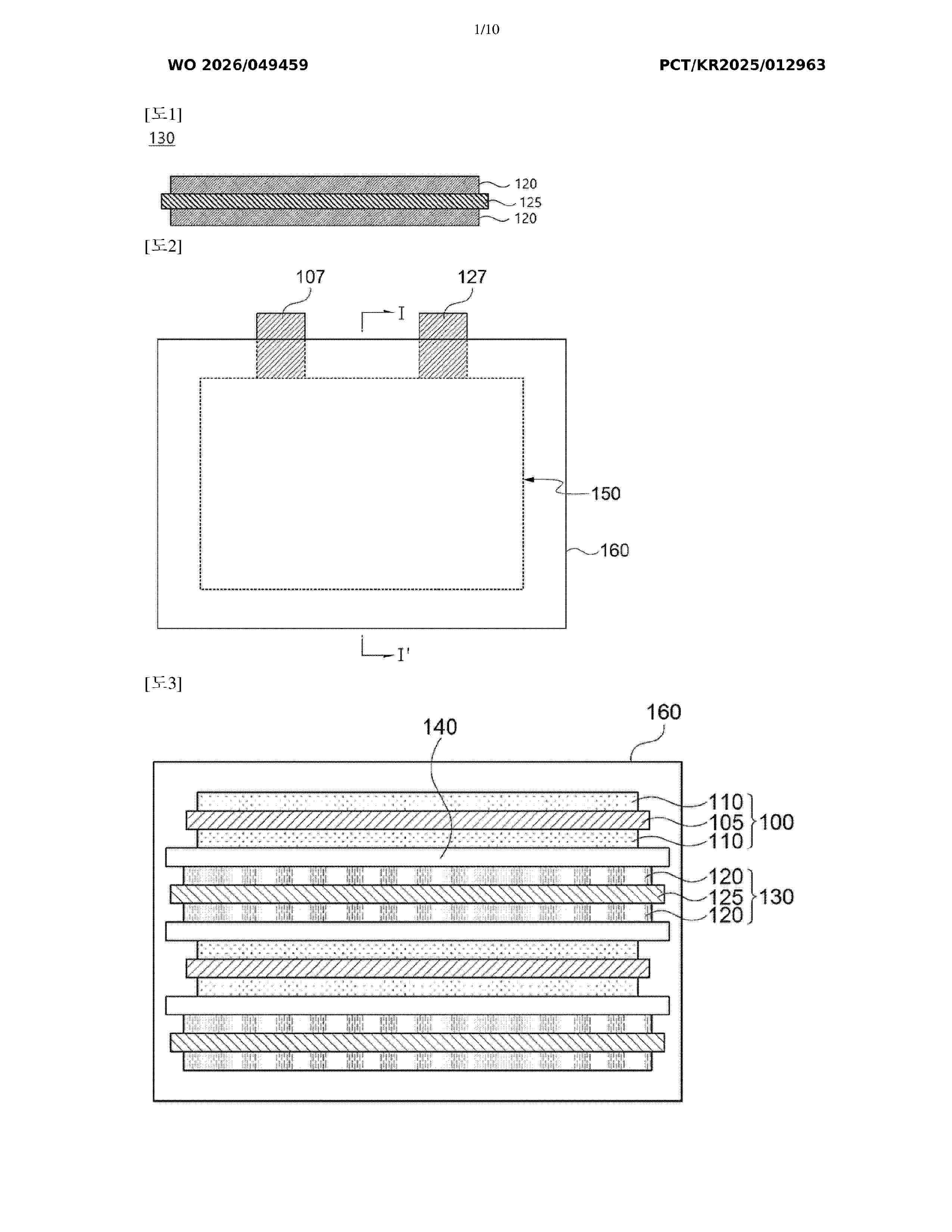
NºPublicación:  WO2026049459A1 05/03/2026
Solicitante: 
SK ON CO LTD [KR]
\uC5D0\uC2A4\uCF00\uC774\uC628 \uC8FC\uC2DD\uD68C\uC0AC
WO_2026049459_A1

Resumen de: WO2026049459A1

An electrode for a lithium secondary battery according to embodiments of the present disclosure comprises an electrode plate including lithium metal and a coating layer disposed on at least one surface of the electrode plate and including a fluorinated polyimide-based resin and boron nitride.

WATER-BASED BINDER FOR LITHIUM SECONDARY BATTERY, AND LITHIUM SECONDARY BATTERY INCLUDING SAME

NºPublicación:  WO2026049451A1 05/03/2026
Solicitante: 
LG ENERGY SOLUTION LTD [KR]
SEOUL NATIONAL UNIV R&DB FOUNDATION [KR]
\uC8FC\uC2DD\uD68C\uC0AC \uC5D8\uC9C0\uC5D0\uB108\uC9C0\uC194\uB8E8\uC158,
\uC11C\uC6B8\uB300\uD559\uAD50\uC0B0\uD559\uD611\uB825\uB2E8
WO_2026049451_PA

Resumen de: WO2026049451A1

The present invention relates to a binder that can be used in a lithium secondary battery, particularly a lithium-sulfur battery, and is prepared by RAFT polymerization, comprises a polyalkyl methacrylate-derived block and a polyacrylic acid-derived block with a thiocarbonyl thio functional group at the center thereof, and comprises an aliphatic functional group at the end thereof. Therefore, electrical conductivity and elution of lithium polysulfide in an electrode using the binder are suppressed.

ELECTRODE ROLLING APPARATUS AND ELECTRODE ROLLING METHOD

NºPublicación:  WO2026049441A1 05/03/2026
Solicitante: 
LG ENERGY SOLUTION LTD [KR]
\uC8FC\uC2DD\uD68C\uC0AC \uC5D8\uC9C0\uC5D0\uB108\uC9C0\uC194\uB8E8\uC158
WO_2026049441_PA

Resumen de: WO2026049441A1

The present invention provides an electrode rolling apparatus and an electrode rolling method, wherein the heating position of an induction heating unit is controlled by reflecting a change in position of an uncoated portion of an electrode sheet or the rate of movement of the electrode sheet, thereby uniformly heating the entire area of the uncoated portion and minimizing the range in which the uncoated portion does not receive heat.

NONAQUEOUS ALKALI METAL POWER STORAGE ELEMENT AND PRODUCTION METHOD THEREFOR

Nº publicación: WO2026048805A1 05/03/2026

Solicitante:

ASAHI KASEI KK [JP]
\u65ED\u5316\u6210\u682A\u5F0F\u4F1A\u793E

WO_2026048805_PA

Resumen de: WO2026048805A1

A nonaqueous alkali metal power storage element (precursor) according to the present disclosure comprises a positive electrode (precursor), a negative electrode (precursor), a separator, an exterior material, and a nonaqueous electrolyte solution, wherein: the negative electrode (precursor) contains, as an active material, a material that absorbs and releases lithium ions; and the positive electrode (precursor) has a positive electrode active material layer that contains a positive electrode active material which absorbs and releases alkali metal ions. The nonaqueous alkali metal power storage element (precursor) contains an alkali metal carbonate in the positive electrode active material layer, in an arbitrary intermediate layer between the positive electrode active material layer and the separator, or in both. The nonaqueous electrolyte solution further contains a carbonate decomposition promoter. The oxidation commencement potential of the carbonate decomposition promoter is not less than 3.8 V (vsLi/Li+) and not more than 4.7 V.

traducir