Ministerio de Industria, Turismo y Comercio LogoMinisterior
 

Alerta

Resultados 1383 resultados
LastUpdate Última actualización 29/10/2025 [07:38:00]
pdfxls
Publicaciones de los últimos 15 días/Last 15 days publications (excluidas pubs. CN y JP /CN and JP pubs. excluded)
previousPage Resultados 75 a 100 de 1383 nextPage  

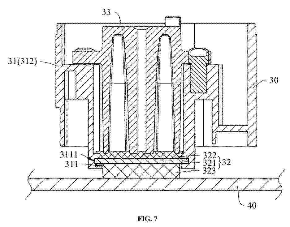
Leitfähiges Modul

NºPublicación:  DE102025115069A1 23/10/2025
Solicitante: 
YAZAKI CORP [JP]
Yazaki Corporation
DE_102025115069_PA

Resumen de: DE102025115069A1

Schaltungssammelabschnitt (24), der einen Verbinderverbindungsabschnitt (24a), einen Durchgangsloch-Installationsabschnitt (24b) und einen Positionsabweichungs-Absorptionsabschnitt (24c) enthält, der eine Positionsabweichung in einer Anordnungsrichtung des Verbinders (32) zwischen dem Verbinderverbindungsabschnitt (24a) und dem Durchgangsloch-Installationsabschnitt (24b) absorbiert, wobei das Schaltungsabdeckelement (60) einen Abdeckkörper (61) enthält, der den Hauptleitungsabschnitt (21) von einer vorderen Oberfläche an einer Montageabschlussposition abdeckt, und einen Durchgangsloch-Abdeckungsabschnitt (63), der eine vordere Oberfläche des Durchgangsloch-Installationsabschnitts (24b) an der Montageabschlussposition drückt und den Durchgangsloch-Installationsabschnitt (24b) so schneidet, dass ein Winkel auf einer inneren Seite der Biegung in Bezug auf die beiden Hauptleitungsabschnitte (21) ein stumpfer Winkel ist und der Durchgangsloch-Abdeckungsabschnitt (63) in dem Winkel in Bezug auf den Abdeckkörper (61) geneigt ist.

Kühlanordnung für ein Kraftfahrzeug zum Ausgleich eines ladungsbedingten Swellings von Speicherzellen und Verfahren zum Betreiben einer Kühlanordnung

NºPublicación:  DE102024110741A1 23/10/2025
Solicitante: 
AUDI AG [DE]
PORSCHE AG [DE]
AUDI Aktiengesellschaft,
Dr. Ing. h.c. F. Porsche Aktiengesellschaft

Resumen de: DE102024110741A1

Die Erfindung betrifft eine Kühlanordnung (10) für ein Kraftfahrzeug, wobei die Kühlanordnung (10) einen Energiespeicher (12) mit mindestens einer Speicherzelle (14), einen von einem Kühlmittel (16) durchströmbaren Kühlkreislauf (18) mit einem vom Kühlmittel (16) durchströmbaren Kühlraum (20), in welchem zumindest ein Teil der Speicherzelle (14) angeordnet ist, und eine Druckregeleinrichtung (24) zur Einstellung eines bestimmten Kühlmitteldrucks (p) im Kühlraum (20) aufweist, wenn dieser vom Kühlmittel (16) durchströmt wird. Dabei umfasst die Kühlanordnung (10) ein zumindest zum Teil mit einem Hohlraum (46) ausgebildetes Strukturbauteil (48), und eine Volumen-Ausgleichsbehälteranordnung (40), die zumindest zum Teil durch das Strukturbauteil (48) und dessen Hohlraum (46) bereitgestellt ist, der fluidisch mit dem Kühlraum (20) gekoppelt oder koppelbar ist.

METHOD FOR REMOVING IMPURITIES AND METHOD FOR RECOVERING METALS

NºPublicación:  WO2025220452A1 23/10/2025
Solicitante: 
JX METALS CIRCULAR SOLUTIONS CO LTD [JP]
JX METALS CIRCULAR SOLUTIONS CO., LTD
WO_2025220452_PA

Resumen de: WO2025220452A1

Provided are a method for removing impurities that can effectively remove impurities from a lithium containing solution before electrodialysis, and a method for recovering metals. A method for removing impurities by removing at least a part of the impurities from a lithium containing solution that contains lithium ions and impurity metal ions derived from lithium ion battery waste, the method including: an impurity removal step of, before subjecting the lithium containing solution to electrodialysis, adding a pH adjusting agent comprising a lithium hydroxide solution to the lithium containing solution to increase a pH of the lithium containing solution, thereby depositing and separating the impurities.

COMPUTER-IMPLEMENTED METHOD FOR MANAGING A PLURALITY OF THIRD PARTY ASSETS OF A VIRTUAL POWER PLANT

NºPublicación:  WO2025219639A1 23/10/2025
Solicitante: 
ELISA OYJ [FI]
ELISA OYJ
WO_2025219639_PA

Resumen de: WO2025219639A1

According to an embodiment, a computer-implemented method (100) for managing a plurality of third party assets of a virtual power plant for power grid frequency balancing comprises: obtaining (101) at least one operating parameter of each asset in the plurality of third party assets; obtaining (102) an operating profile of each asset in the plurality of third party assets, wherein the operating profile of each asset indicates how the at least one energy storage unit, the at least one power source, and the at least one asset load are operated; determining (103) an activation preference of each asset in the plurality of third party assets based at least on the at least one operating parameter of each asset and the operating profile of each asset; forming (104) at least one activation priority list based at least on the activation preference of each asset in the plurality of third party assets; and activating (105) the plurality of third party assets for power grid frequency balancing according to the at least one activation priority list.

Entgasungskanalanordnung für ein Kraftfahrzeug sowie Kraftfahrzeug

NºPublicación:  DE102024110809A1 23/10/2025
Solicitante: 
AUDI AG [DE]
AUDI Aktiengesellschaft

Resumen de: DE102024110809A1

Die Erfindung betrifft eine Entgasungskanalanordnung (10) mit einem Batteriemodul (24) mit mindestens einer Batteriezelle (26), die eine an einer ersten Zellseite (26a) angeordnete freigebbare Zellentgasungsöffnung (28) aufweist, einer ersten Entgasungskanalwand (18), die der ersten Zellseite (26a) gegenüberliegt und die einen Durchtrittsbereich (20b) umfasst, der der freigebbaren Zellentgasungsöffnung (28) gegenüberliegt, und einer zweiten Entgasungskanalwand (12), die der ersten Entgasungskanalwand (18) auf einer dem Batteriemodul (24) abgewandten Seite gegenüberliegt, wobei sich zwischen der ersten Entgasungskanalwand (18) und der zweiten Entgasungskanalwand (12) ein Zwischenraum (30) befindet. Dabei ist im Zwischenraum (30) eine Abstützstruktur (14) zur Abstützung der ersten Entgasungskanalwand (18) gegen die zweite Entgasungskanalwand (12) im Falle eines Gasaustritts aus der freigebbaren Zellentgasungsöffnung (28) angeordnet, wobei die Abstützstruktur (14) in einem nicht deformierten Ausgangszustand der ersten und zweiten Entgasungskanalwand (18, 12) an einer der beiden Entgasungskanalwände (18, 12) kontaktierend angeordnet ist und die andere der beiden Entgasungskanalwände (18, 12) nicht kontaktiert.

Batteriezellengehäuse mit Versteifungsmittel und Batteriezelle

NºPublicación:  DE102024111316A1 23/10/2025
Solicitante: 
SCHAEFFLER TECHNOLOGIES AG [DE]
Schaeffler Technologies AG & Co. KG

Resumen de: DE102024111316A1

Die Erfindung betrifft ein Batteriezellengehäuse (10) für eine Batteriezelle, umfassend wenigstens eine ein Innenvolumen (14) zumindest abschnittsweise abgrenzende erste Gehäusewand (16), in der ersten Gehäusewand (16) Überdruckabbaumittel (18) zum Abbau eines Überdrucks in dem Innenvolumen (14), wobei die Überdruckabbaumittel (18) einschließlich sämtlicher möglicher räumlich unmittelbar damit zusammenhängender und durch deren Herstellung an der ersten Gehäusewand (16) entstandener Verformungen der ersten Gehäusewand (16) einen Gesamtflächenbereich (24) einnehmen, wobei die erste Gehäusewand (16) außerhalb von dem Gesamtflächenbereich (24) Versteifungsmittel (26) zur strukturellen Versteifung der ersten Gehäusewand (16) bezüglich einer durch den Überdruck entstehenden Belastung auf die erste Gehäusewand (16) aufweist. Weiterhin betrifft die Erfindung eine Batteriezelle mit einem derartigen Batteriezellengehäuse (10).

Temperiereinrichtung für eine Fahrzeugbatterie eines Kraftfahrzeugs sowie Kraftfahrzeug

NºPublicación:  DE102024111392A1 23/10/2025
Solicitante: 
BAYERISCHE MOTOREN WERKE AG [DE]
Bayerische Motoren Werke Aktiengesellschaft

Resumen de: DE102024111392A1

Die Erfindung betrifft eine Temperiereinrichtung (10) für eine Fahrzeugbatterie eines Kraftfahrzeugs, mit wenigstens zwei von einem Temperierfluid durchströmbaren Temperierelementen (12), welche dazu eingerichtet sind, seitlich an jeweilige Batteriezellen der Batterie angelegt zu werden, wobei die beiden Temperierelemente (12) mittels einer Verbindungseinrichtung (14) fluidisch miteinander verbunden sind, welche ein Rohrelement (16), eine erste Anschlusseinrichtung (18), mittels welcher das Rohrelement (16) an einem ersten der Temperierelemente (12) befestigt ist, und eine zweite Anschlusseinrichtung (18), mittels welcher das Rohrelement (16) an dem zweiten Temperierelement (12) befestigt ist, umfasst, wobei zumindest eine der Anschlusseinrichtungen (18) mit dem zugeordneten Temperierelement (12) über eine mechanische Verbindung verbunden ist, welche durch entgegengesetztes Drehen der Anschlusseinrichtung (18) und des Temperierelements (12) relativ zueinander um die Längsachse des Rohrelements (16) hergestellt worden ist.

TEMPERATURE-CONTROL COMPONENT AND TEMPERATURE-CONTROL ASSEMBLY FOR A RECHARGEABLE BATTERY, USE OF A TEMPERATURE-CONTROL COMPONENT, AND METHOD FOR INTRODUCING A TEMPERATURE-CONTROL COMPONENT INTO A BATTERY

NºPublicación:  WO2025219124A1 23/10/2025
Solicitante: 
WITZENMANN GMBH [DE]
WITZENMANN GMBH
WO_2025219124_PA

Resumen de: WO2025219124A1

The invention relates to a temperature-control component (1) for controlling the temperature of rechargeable batteries or modules (2) and/or battery cells for receiving, storing, and outputting electrical energy. An outer casing of the temperature-control component (1) is formed substantially from two planar contact elements (3) which are directly or indirectly connected to one another peripherally at the edges and enclose at least one fluid-conducting cavity (9) between one another and at least one of which consists of a metal plate or a planar shaped part made of metal, said metal plate or planar shaped part having a material thickness which is selected, relative to the planar extent thereof or relative to the extent and shape of the fluid-conducting cavity (9), such that the outer casing of the temperature-control component (1) can be deformed by applying negative pressure or positive pressure to the fluid-conducting cavity (9) and subsequently substantially returns to its original shape by virtue of the elastic restoring force thereof. The invention also relates to temperature-control assemblies having a plurality of temperature-control components (1) and to a method for introducing temperature-control components, wherein the overall height (11) of the temperature-control components (1) is reduced under the effect of negative pressure in order to introduce the temperature-control components into gaps between the modules (2) of the battery, and the temperature-control comp

Vorrichtung zur Montage zumindest eines Steuergeräts an einem Batteriegehäuse

NºPublicación:  DE102024111372A1 23/10/2025
Solicitante: 
DAIMLER TRUCK AG [DE]
Daimler Truck AG
DE_102024111372_PA

Resumen de: DE102024111372A1

Die Erfindung betrifft eine Vorrichtung zur Montage zumindest eines Steuergeräts (1) an einem Batteriegehäuse (2), wobei die Vorrichtung einen Träger (3) aufweist, wobei der Träger (3) aus mindestens einem, insbesondere mehreren Trägermodulen (4) aufgebaut ist, wobei alle Trägermodule (4) gleichförmig ausgebildet sind und jedes Trägermodul (4) zur Aufnahme jeweils eines einzigen Steuergerät (1) konfiguriert ist, wobei jedes Trägermodul (4) eine Stirnseite (5) aufweist, an der abstehende Laschen (6, 7) angeordnet sind, die jeweils mit einem Durchgangsloch (8) versehen sind, wobei die Laschen (6, 7) geeignet sind, das Trägermodul (4) mit dem Batteriegehäuse (2) zu verschrauben, wobei jedes Trägermodul (4) auf einer an die Stirnseite (5) angrenzenden Seitenfläche (11) ein Formschlusselement (9) und auf einer der Seitenfläche (11) gegenüberliegenden Seitenfläche (12) ein Gegenformschlusselement (10) aufweist, mittels dessen mehrere der Trägermodule (4) zusammensteckbar sind.

Batteriegehäuse für eine Batterieanordnung

NºPublicación:  DE102024203688A1 23/10/2025
Solicitante: 
BOSCH GMBH ROBERT [DE]
Robert Bosch Gesellschaft mit beschr\u00E4nkter Haftung

Resumen de: DE102024203688A1

Die vorliegende Erfindung betrifft ein Batteriegehäuse für eine Batterieanordnung eines Elektrofahrrads, umfassend einen ersten Gehäuseteil, einen zweiten Gehäuseteil, wobei der erste Gehäuseteil und der zweite Gehäuseteil derart ausgebildet sind, um in einem miteinander verbundenen Zustand einen vollständig geschlossenen Gehäuseraum zu bilden, und einen Gehäuseverschluss, welcher den ersten Gehäuseteil und den zweiten Gehäuseteil im miteinander verbundenen Zustand permanent mit mindestens einer vorbestimmten Haltekraft aneinander hält, wobei der Gehäuseverschluss vollständig reversibel lösbar und wiederherstellbar ist, und/oder wobei zumindest eines der Gehäuseteile ein Filterelement aufweist.

Kühlplatteneinheit für eine Batterie sowie Verfahren zum Herstellen einer Kühlplatteneinheit

NºPublicación:  DE102024110808A1 23/10/2025
Solicitante: 
AUDI AG [DE]
AUDI Aktiengesellschaft

Resumen de: DE102024110808A1

Die Erfindung betrifft eine Kühlplatteneinheit (10) für eine Batterie (42), wobei die Kühlplatteneinheit (10) eine Kühlplatte (12) aufweist, die zwei miteinander in einem Randbereich (12c) gefügte Plattenelemente (16a, 16b), einen zwischen den Plattenelementen (16a, 16b) gebildeten, durchströmbaren Hohlraum (22) und einen Schnittstellenbereich (14a, 14b) mit mindestens einer in den Hohlraum (22) mündenden ersten Öffnung (20, 18) umfasst. Weiterhin umfasst die Kühlplatteneinheit (10) ein Kunststoffbauteil (14), mit dem zumindest der Schnittstellenbereich (14a, 14b) umspritzt ist, wobei das Kunststoffbauteil (14) im Bereich der ersten Öffnung (20, 18) eine den Zugang zur Öffnung (20, 18) freigebende erste Bauteilöffnung (32, 34) aufweist.

BATTERIEKÜHLUNG

NºPublicación:  DE102024117376A1 23/10/2025
Solicitante: 
GM GLOBAL TECH OPERATIONS LLC [US]
GM GLOBAL TECHNOLOGY OPERATIONS LLC

Resumen de: DE102024117376A1

Ein Batteriekühlsystem, ein Verfahren zum Kühlen einer Batteriezelle und ein mit einem Batteriekühlsystem ausgestattetes Fahrzeug werden bereitgestellt. Ein Batteriekühlsystem umfasst eine starre Platte mit einer Oberfläche, die mit Kanälen ausgebildet ist; einen flexiblen Film, der die Oberfläche berührt und die Kanäle umschließt; Batteriezellen; und ein Kühlfluid, das sich in den Kanälen befindet, wobei der Druck des Kühlfluids den flexiblen Film in Kontakt mit den Batteriezellen drückt.

Energiespeicher mit einem Trennelement-Schutz

NºPublicación:  DE102024110844A1 23/10/2025
Solicitante: 
BAYERISCHE MOTOREN WERKE AG [DE]
Bayerische Motoren Werke Aktiengesellschaft

Resumen de: DE102024110844A1

Es wird ein elektrischer Energiespeicher beschrieben, der ein Gehäuse umfasst. Der Energiespeicher umfasst ferner eine erste Speicherzelle und eine zweite Speicherzelle, die nebeneinander in dem Gehäuse angeordnet sind, sodass zwischen der ersten Speicherzelle und der zweiten Speicherzelle ein Zwischenraum gebildet wird, der mit einer Füllmasse befüllt ist. Des Weiteren umfasst der Energiespeicher ein Zellkontaktiersystem, das einen Kontaktpunkt der ersten Speicherzelle über eine Verbindungsleitung elektrisch leitend mit einem Kontaktpunkt der zweiten Speicherzelle verbindet. Außerdem umfasst der Energiespeicher ein Trennelement, das ausgebildet ist, die Verbindungsleitung bei Einwirkung von thermischer Energie auf das Trennelement zu unterbrechen, und einen Trennelement-Schutz, der das Trennelement umschließt, wobei der Trennelement-Schutz ein Schutz-Material umfasst, das eine höhere Schmelztemperatur aufweist als die Füllmasse.

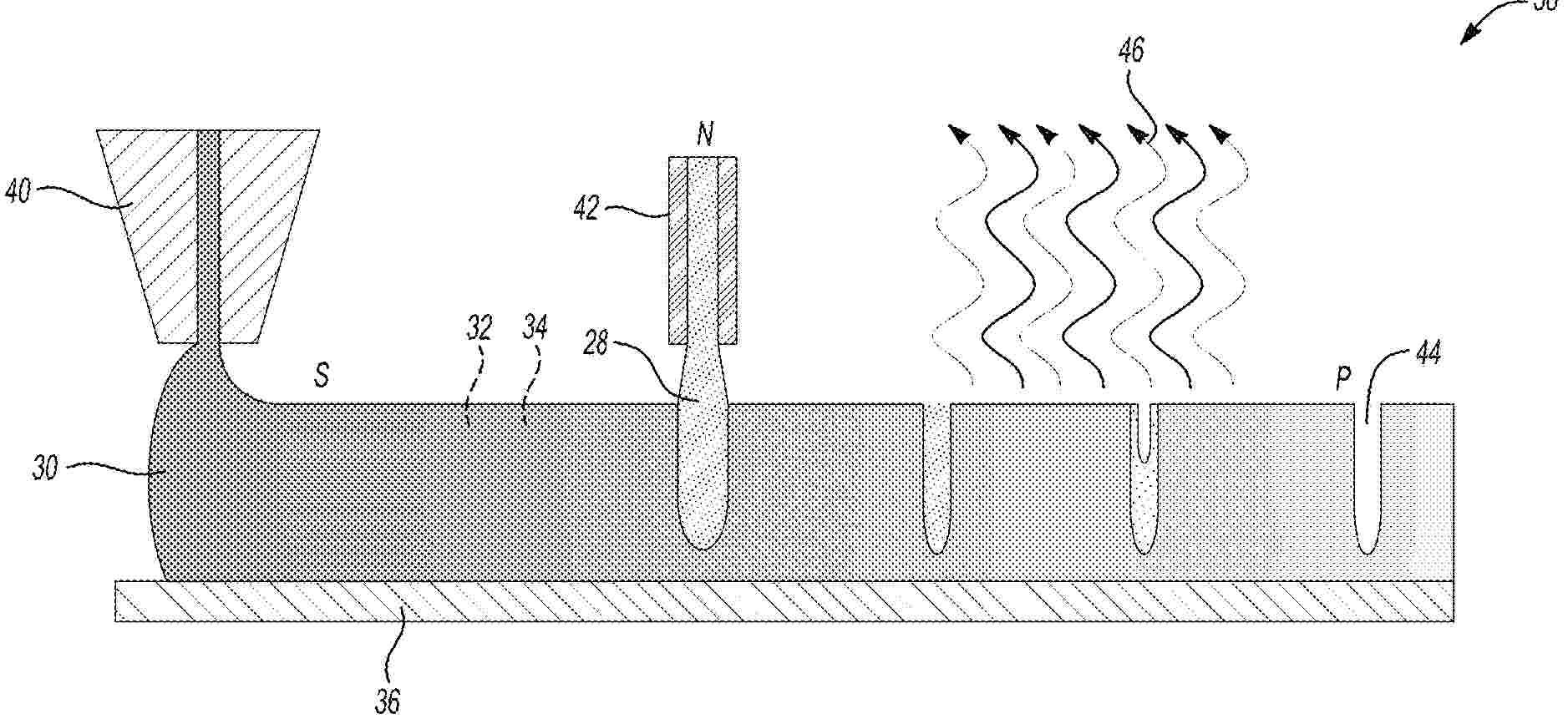
PATTERNED ELECTRODES

NºPublicación:  US2025329704A1 23/10/2025
Solicitante: 
FORD GLOBAL TECH LLC [US]
FORD GLOBAL TECHNOLOGIES, LLC
US_2025329704_PA

Resumen de: US2025329704A1

In one aspect of the disclosure, a method is presented. The method involves coating a conductive substrate with an electrode slurry of solvent, active material, binder, and additives to form a wet electrode. The wet electrode is injected with a column of miscible non-solvent fluid into a surface of the wet electrode to displace the electrode slurry around the column and initiate non-solvent-induced phase inversion of the binder in contact with the miscible non-solvent fluid such that the binder in contact with the miscible non-solvent fluid solidifies around the column into a solid-free channel at the surface of and into the wet electrode.

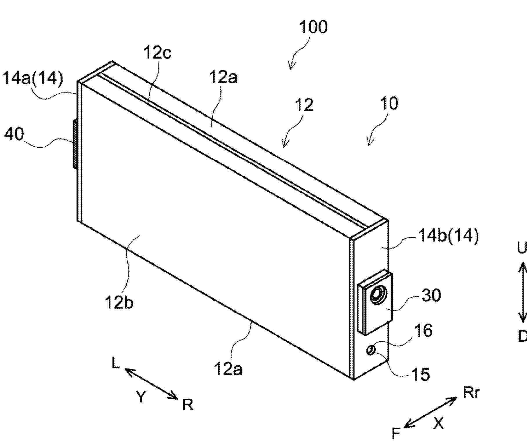
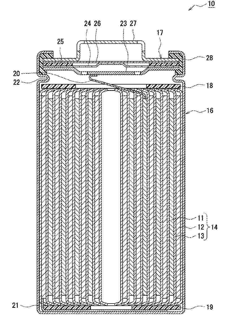
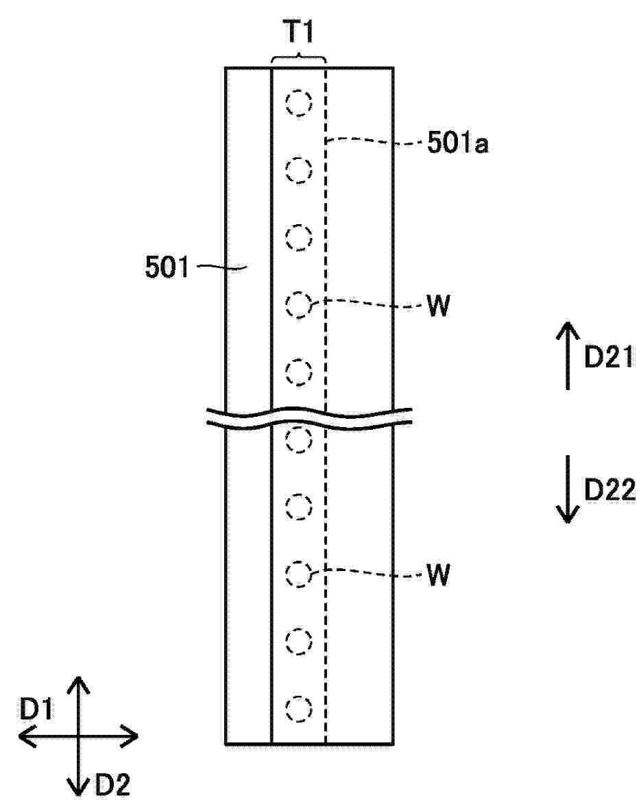
ENERGIESPEICHERMODUL

NºPublicación:  DE102025110222A1 23/10/2025
Solicitante: 
TOYOTA MOTOR CO LTD [JP]
TOYOTA JIDOSHA KABUSHIKI KAISHA
DE_102025110222_PA

Resumen de: DE102025110222A1

Ein Energiespeichermodul (1) umfasst eine Elektrolytlösung und eine Stapelelektrodenbaugruppe (100) mit mehreren Elektroden (110, 120), die in einer ersten Richtung gestapelt sind und sich in eine zweite Richtung senkrecht zu der ersten Richtung erstrecken. Die Stapelelektrodenbaugruppe (100) besitzt eine Umfangsfläche (180), die sich in die zweite Richtung erstreckt und einem Gehäuse zugewandt ist. Das Energiespeichermodul (1) umfasst einen Isolierblattabschnitt (500), der zwischen der Umfangsfläche (180) und dem Gehäuse (2) angeordnet ist und die Umfangsfläche (180) überdeckt. Der Isolierblattabschnitt (500) umfasst ein erstes und ein zweites Isolierungsblatt (501, 502), die sich in die zweite Richtung erstrecken und einen Abschnitt der Umfangsfläche (180) überdecken. Das erste und das zweite Isolierungsblätter (501, 502) überlappen einander teilweise in einer Umfangsrichtung der Stapelelektrodenbaugruppe. Die zweite Richtung ist die Längsrichtung des Überlappungsbereichs (T1, T2), in der das erste Isolierblatt (501) und das zweite Isolierblatt (502) einander überlappen. Das erste und das zweite Isolierblatt (501, 502) sind in dem Überlappungsbereich (T1, T2) an mehreren, in der zweiten Richtung voneinander beabstandeten Stellen (W) miteinander verschweißt.

ELEKTRISCHE SPEICHERVORRICHTUNG UND FAHRZEUGMONTAGESTRUKTUR EINER ELEKTRISCHEN SPEICHERVORRICHTUNG

NºPublicación:  DE102025113483A1 23/10/2025
Solicitante: 
TOYOTA MOTOR CO LTD [JP]
TOYOTA JIDOSHA KABUSHIKI KAISHA
DE_102025113483_PA

Resumen de: DE102025113483A1

Eine elektrische Speichervorrichtung, die in der Lage ist, selbst bei Verwendung eines gemeinsamen Gehäuses die Anzahl der Kondensationsereignisse im Gehäuse zu reduzieren, wird bereitgestellt. Eine elektrische Speichervorrichtung (1) gemäß einem Aspekt der vorliegenden Offenbarung umfasst: Batteriemodule (2), von denen jedes eine Vielzahl von Batteriezellen (10) umfasst; und ein Gehäuse (3), das so aufgebaut ist, dass es die Batteriemodule (2) aufnimmt, wobei die elektrische Speichervorrichtung umfasst: Verstärkungselemente (4), die zwischen den Batteriemodulen (2) angeordnet sind; und Füllelemente (5), die zwischen dem Gehäuse (3) und jedem der Batteriemodule (2) angeordnet sind. Jedes der Verstärkungselemente (4) umfasst einen Vorsprung (4a), der so aufgebaut ist, dass er von einem Endteil jedes der Batteriemodule (2) in Richtung einer Außenseite der elektrischen Speichervorrichtung (1) vorsteht. Die Füllelemente (5) überlappen die entsprechenden Vorsprünge (4a) der Verstärkungselemente (4).

Stapelelektrodenbaugruppe und Energiespeichermodul

NºPublicación:  DE102025111208A1 23/10/2025
Solicitante: 
TOYOTA MOTOR CO LTD [JP]
TOYOTA JIDOSHA KABUSHIKI KAISHA

Resumen de: DE102025111208A1

Eine Stapelelektrodenbaugruppe (100, 100A) erstreckt sich in eine zweite Richtung senkrecht zu einer ersten Richtung, die eine Schichtungsrichtung der einzelnen Elektroden (110, 120, 110A, 120A) und Separatoren (130) ist. Die erste und die zweite Oberfläche (1111, 1211, 1112, 1212) einer Metallfolie (111, 121) der Elektrode (110, 120, 110A, 120A) haben jeweils einen mit Aktivmaterial beschichteten Bereich (P111, P112, P121, P122) und einen nicht mit Aktivmaterial beschichteten Bereich (Q111, Q112, Q121, Q122), die sich in die zweite Richtung erstrecken. Der nicht mit Aktivmaterial beschichtete Bereich (Q112, Q122) der zweiten Oberfläche (1112, 1212) ist auf der Rückseite des nicht mit Aktivmaterial beschichteten Bereichs (Q111, Q121) der ersten Oberfläche (1111, 1211) angeordnet. Der nicht mit Aktivmaterial beschichtete Bereich (Q112, Q122) der zweiten Oberfläche (1112, 1212) umfasst einen ersten Harz-Anordnungsbereich (Q112a, Q122a, Q112b, Q122b), in dem ein Harz (115, 125, 115A, 125A) angeordnet ist und der sich auf einer Seite des mit Aktivmaterial beschichteten Bereich (P112, P122) der zweiten Oberfläche (1112, 1212) befindet. Die Räume (S1, S2, S3, S3') sind in einer dritten Richtung senkrecht zu den ersten und zweiten Richtungen zwischen dem Separator (130) und Endabschnitten (E112a, E112b, E122a, E122b) und auf der Seite des ersten Harz-Anordnungsbereichs (Q112a, Q122a, Q112b, Q122b) des nicht mit Aktivmaterial beschichteten Bereichs (Q112, Q122) der zweiten Obe

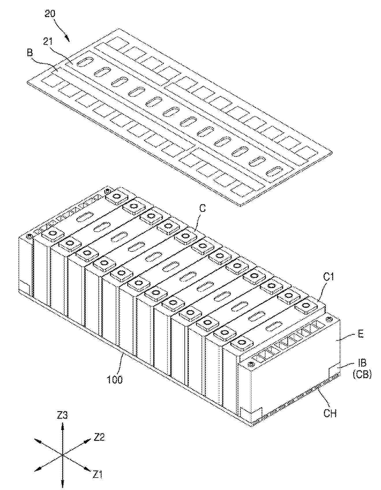
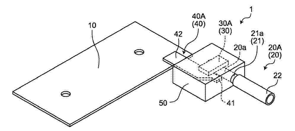
Leitfähiges Modul

NºPublicación:  DE102025114753A1 23/10/2025
Solicitante: 
YAZAKI CORP [JP]
Yazaki Corporation
DE_102025114753_PA

Resumen de: DE102025114753A1

Es wird ein leitfähiges Modul bereitgestellt, das Folgendes umfasst: eine Sammelschiene (10), die physikalisch und elektrisch mit einem Elektrodenanschluss (BCb) einer Batteriezelle (BC) verbunden ist, die ein Batteriemodul (BM) bildet; eine Verdrahtungskomponente (20), die so konfiguriert ist, dass sie die Sammelschiene elektrisch mit einer Batterieüberwachungseinheit verbindet, die einen Batteriezustand der Batteriezelle überwacht; ein leitfähiges Element (40), das physisch und elektrisch mit der Sammelschiene verbunden ist; und eine Schaltungsschutzkomponente (30), die entweder als eine Chipsicherung mit einem schmelzbaren Abschnitt, der durchgeschmolzen wird, wenn ein Überstrom fließt, oder als eine Sicherung mit einem Verdrahtungsmuster konfiguriert ist, in dem ein Verdrahtungsmuster mit dem schmelzbaren Abschnitt auf einer gedruckten Leiterplatte vorgesehen ist. Die Schaltungsschutzkomponente ist so konfiguriert, dass sie einen ersten elektrischen Verbindungsabschnitt an einer Endseite, vom schmelzbaren Abschnitt aus gesehen, mit einem ersten Sicherungsverbindungsabschnitt (20a) der Verdrahtungskomponente physisch und elektrisch verbindet, und einen zweiten elektrischen Verbindungsabschnitt an der anderen Endseite, vom schmelzbaren Abschnitt aus gesehen, mit einem zweiten Sicherungsverbindungsabschnitt (41) des leitenden Elements physisch und elektrisch verbindet.

APPARATUS AND METHOD FOR DIAGNOSING BATTERY

NºPublicación:  US2025327875A1 23/10/2025
Solicitante: 
LG ENERGY SOLUTION LTD [KR]
LG ENERGY SOLUTION, LTD
US_2025327875_PA

Resumen de: US2025327875A1

A battery diagnosing apparatus according to one embodiment of the present disclosure includes: a profile acquisition unit that acquires a battery profile representing a correspondence between a voltage and a capacity of a battery; and a control unit that divides a capacity section of the battery profile into a plurality of sections, derives a target value for one target index related to a differential voltage peak among a plurality of diagnosis indices set in advance, from each of the divided sections, compares a correspondence between the derived plurality of target values with a preset reference profile that represents a correspondence between a plurality of target indices, and diagnoses a state of the battery based on a result of the comparison.

APPARATUS AND METHOD FOR DIAGNOSING BATTERY

NºPublicación:  US2025327865A1 23/10/2025
Solicitante: 
LG ENERGY SOLUTION LTD [KR]
LG ENERGY SOLUTION, LTD
US_2025327865_PA

Resumen de: US2025327865A1

A battery diagnosing apparatus according to one embodiment of the present disclosure includes: a profile acquisition unit that acquires a battery profile representing a correspondence between a voltage and a capacity of a battery; and a control unit that divides a capacity section of the battery profile into a plurality of sections, derives a target value for one target index related to a differential capacity peak or a resistance among a plurality of diagnosis indices set in advance, from each of the divided sections, compares a correspondence between the derived plurality of target values with a preset reference profile that represents a correspondence between a plurality of target indices, and diagnoses a state of the battery based on a result of the comparison.

Battery Diagnosis Apparatus, Battery Diagnosis Method, Battery Pack, and Vehicle

NºPublicación:  US2025327867A1 23/10/2025
Solicitante: 
LG ENERGY SOLUTION LTD [KR]
LG Energy Solution, Ltd
US_2025327867_PA

Resumen de: US2025327867A1

A battery diagnosis apparatus including a voltage sensing circuit, a storage medium and a control circuit records first to Nth voltage time series data of first to Nth battery cells, selects a set of first voltages measured at a first time and a set of second voltages measured at a second time, determines a a first and second average position vectors, determines a difference between the first and second average position vectors as a diagnosis reference vector, for an ith battery cell determines a first and second diagnosis position vectors, determines a difference between the first and second diagnosis position vectors as an ith diagnosis vector, determines an ith diagnosis factor based on a magnitude of a cross product of the diagnosis reference vector and the ith diagnosis vector, and diagnoses the ith battery cell as exhibiting a voltage abnormality when the ith diagnosis factor exceeds a threshold value.

APPARATUS AND METHOD FOR DIAGNOSING BATTERY

NºPublicación:  US2025327873A1 23/10/2025
Solicitante: 
LG ENERGY SOLUTION LTD [KR]
LG ENERGY SOLUTION, LTD
US_2025327873_PA

Resumen de: US2025327873A1

An apparatus for diagnosing a battery according to an embodiment of the present disclosure may include a data obtaining unit configured to obtain a resistance value and a voltage value of a battery; a profile generating unit configured to generate a profile representing a correspondence relationship between the resistance value and the voltage value of the battery obtained by the data obtaining unit; and a control unit configured to set a criterion range in the profile received from the profile generating unit and diagnose whether an abnormality has occurred in the battery based on the result of comparing the resistance value of the battery and the criterion range.

MULTI-LAYER COATING USING IMMISCIBLE SOLVENT SLURRIES

NºPublicación:  US2025329722A1 23/10/2025
Solicitante: 
FORD GLOBAL TECH LLC [US]
Ford Global Technologies, LLC
US_2025329722_PA

Resumen de: US2025329722A1

A multi-layer coating on a substrate for an anode or cathode includes a slurry coating at least a portion of the substrate. The slurry includes a first mixture having a first solvent and a first active material, and a second mixture having a second solvent and a second active material. The first solvent and the second solvent are immiscible.

HOUSING SYSTEM OF A BATTERY DISCONNECT UNIT AND BATTERY DISCONNECT UNIT

NºPublicación:  US2025329820A1 23/10/2025
Solicitante: 
ROBERT BOSCH GMBH [DE]
Robert Bosch GmbH
US_2025329820_PA

Resumen de: US2025329820A1

A housing system of a battery disconnect unit has a first housing element and a second housing element, which are mechanically connected to one another by a detachable connection such that a first side surface of the first housing element and a second side surface of the second housing element lie at least partially flat against each other. The housing system further includes at least one electrical and/or electronic interface that electrically and/or electronically connects the first housing element and the second housing element.

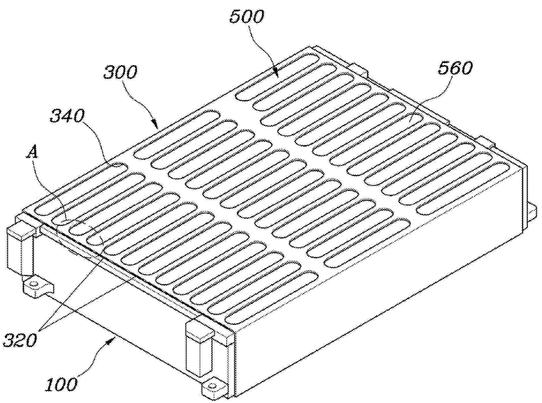
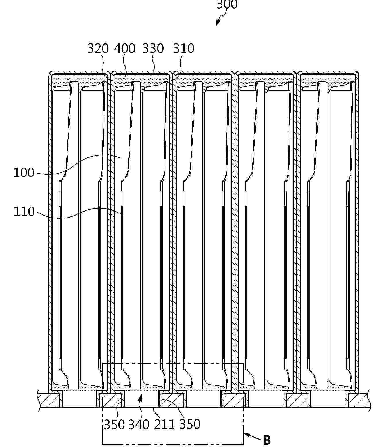
BATTERY PACK

Nº publicación: US2025329815A1 23/10/2025

Solicitante:

SAMSUNG SDI CO LTD [KR]
SAMSUNG SDI CO., LTD

US_2025329815_PA

Resumen de: US2025329815A1

A battery pack is capable of providing a uniform temperature environment for a plurality of battery cells to eliminate or alleviate temperature variation depending on positions of the battery cells. The battery pack is also capable of eliminating or alleviating variation in electrical output characteristics due to the temperature variation. The battery pack provides a heat flow along a common first path for battery cells toward a cooling plate extending across bottom surfaces of the battery cells while suppressing heat flow along a second path from a side of the outermost battery cell among the battery cells.

traducir