Ministerio de Industria, Turismo y Comercio LogoMinisterior
 

Alerta

Resultados 1603 resultados
LastUpdate Última actualización 10/11/2025 [07:13:00]
pdfxls
Publicaciones de los últimos 15 días/Last 15 days publications (excluidas pubs. CN y JP /CN and JP pubs. excluded)
previousPage Resultados 1075 a 1100 de 1603 nextPage  

SECONDARY BATTERY

NºPublicación:  US2025337129A1 30/10/2025
Solicitante: 
SAMSUNG SDI CO LTD [KR]
SAMSUNG SDI CO., LTD
US_2025337129_PA

Resumen de: US2025337129A1

A secondary battery includes an electrode assembly that is directly coupled to a case without a separate current collector to increase in capacity of the electrode assembly relative to an internal capacity of the secondary battery. The electrode assembly includes a first electrode tab protrudes that in a first direction, and a second electrode tab that protrudes in a second direction opposite to the first direction. A first case accommodates the electrode assembly and an opening is formed in the first case. A second case is formed in a cap shape, with an opening being formed in the second case that is larger than the opening of the first case. The second case is configured to cover the electrode assembly and surround an outer surface of a sidewall of the first case. The first electrode tab is electrically connected to the first case, and the second electrode tab is directly connected to the second case.

STORAGE CELL

NºPublicación:  US2025337124A1 30/10/2025
Solicitante: 
TOYOTA MOTOR CO LTD [JP]
TOYOTA JIDOSHA KABUSHIKI KAISHA
US_2025337124_PA

Resumen de: US2025337124A1

A storage cell includes an electrode body having a strip-shaped electrode tab, a laminate film that accommodates the electrode body such that a part of the electrode tab is exposed, and an insulating coating portion that is provided on an end face of the electrode body on which the electrode tab is formed and covers a portion of the end face on which the electrode tab is not formed.

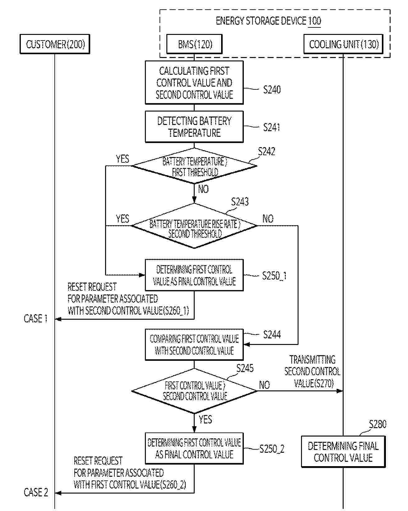
Power Battery System for a Vehicle and Thermal Assessment Method

NºPublicación:  US2025337125A1 30/10/2025
Solicitante: 
MERCEDES BENZ GROUP AG [DE]
Mercedes-Benz Group AG
US_2025337125_PA

Resumen de: US2025337125A1

Please substitute the new Abstract submitted herewith for the original Abstract:A power battery system of a vehicle includes a battery module which at least has a plurality of battery cells and a plurality of busbar assemblies. The busbar assemblies are configured to connect adjacent battery cells. The busbar assembly has a busbar which is connected to the battery cells, a flexible circuit board which is integrated with a temperature sensor and outputs a temperature signal, an inner heat shield insulating layer which is disposed at least between the busbar and the flexible circuit board, an outer insulating layer which is configured to wrap the busbar and the flexible circuit board, and a controller which is configured to receive a temperature signal detected by the temperature sensor of each of the busbar assemblies and to predict a direction of thermal diffusion and/or a breakdown point of the battery module according to the temperature signals.

SOFT PACK BUTTON BATTERY MODULE, SOUND PRODUCTION APPARATUS, AND ELECTRONIC DEVICE

NºPublicación:  US2025337123A1 30/10/2025
Solicitante: 
HUAQIN TECH CO LTD [CN]
HUAQIN TECHNOLOGY CO., LTD
US_2025337123_PA

Resumen de: US2025337123A1

A soft pack button battery module includes a soft pack button battery. A surface of the soft pack button battery is provided with an arc-shaped conductive sheet and a conductive sheet tab. The arc-shaped conductive sheet is connected to a first tab of the soft pack button battery, and extends from the first tab to the conductive sheet tab. The conductive sheet tab is spaced apart from a second tab of the soft pack button battery.

SECONDARY BATTERY

NºPublicación:  US2025337142A1 30/10/2025
Solicitante: 
SAMSUNG SDI CO LTD [KR]
Samsung SDI Co., Ltd
US_2025337142_PA

Resumen de: US2025337142A1

An embodiment of the present invention relates to a secondary battery, and a technical object of the present invention for solving the above problem is to provide a secondary battery capable of improving liquid injectability.For this, the present invention discloses a secondary battery including: an electrode assembly comprising a first electrode plate, a second electrode plate, and a separator interposed between the first electrode plate and the second electrode plate; a can having ends that are opened to left and right sides and provided with a space therein to accommodate the electrode assembly; a first cap plate configured to seal the left end of the can; a second cap plate configured to seal the right end of the can; a first terminal installed on the first cap plate so as to be electrically connected to the first electrode plate; a second terminal installed on the second cap plate so as to be electrically connected to the second electrode plate; a first liquid injection hole defined in the first cap plate; and a second liquid injection hole defined in the second cap plate.

DRIVER CIRCUIT AND METHOD FOR A BATTERY MANAGEMENT SYSTEM

NºPublicación:  US2025337264A1 30/10/2025
Solicitante: 
NXP USA INC [US]
NXP USA, Inc
US_2025337264_PA

Resumen de: US2025337264A1

A driver circuit for a BMS and method are disclosed, comprising a series arrangement of at least a cell and at least a busbar, and comprising: a first and second voltage rail having a respective first and second terminals for connection to ends of one of the busbar and the cell; a power supply voltage rail, configured to operate at a voltage which is higher than the second voltage rail; a determination circuit, for detecting a lower of supply, LOS, being the one of the first and second voltage rail which is at a lower voltage, and drawing a first bias current from the power supply draw to the LOS; further analog circuit blocks drawing a second bias current from the power supply rail to the LOS; and a current sink circuit arrangement drawing the sum of the first and second bias currents, from the LOS to a ground.

PROTECTIVE APPARATUS, ENERGY STORAGE APPARATUS, AND METHOD FOR PROTECTING ENERGY STORAGE DEVICE

NºPublicación:  US2025337256A1 30/10/2025
Solicitante: 
GS YUASA INT LTD [JP]
GS Yuasa International Ltd
US_2025337256_PA

Resumen de: US2025337256A1

A protective apparatus of an energy storage device includes a current breaker that interrupts a current of the energy storage device, and a control part. The control part calculates a cumulative value of times during which the current exceeds a current threshold, and executes current interruption processing of interrupting the current when the calculated cumulative value exceeds a cumulative threshold associated with the current threshold, and the control part counts, as the cumulative value, times during which the current continuously exceeds the current threshold, and in a case where the current falls from a state of exceeding the current threshold, the control part does not reset the cumulative value when a time during which the current is below the current threshold is equal to or shorter than a reset time.

MOTOR CONTROL FOR GAS ENGINE REPLACEMENT DEVICE BASED ON BATTERY PACK CONFIGURATION DATA

NºPublicación:  US2025337302A1 30/10/2025
Solicitante: 
MILWAUKEE ELECTRIC TOOL CORP [US]
MILWAUKEE ELECTRIC TOOL CORPORATION
US_2025337302_PA

Resumen de: US2025337302A1

A gas engine replacement device includes a housing, a battery receptacle coupled to the housing and configured to removably connect to a battery pack having a memory storing battery pack configuration data, a motor located within the housing, a power take-off shaft receiving torque from the motor and protruding from a side of the housing, a power switching network configured to selectively provide power from the battery pack to the motor, and a first electronic processor coupled to the power switching network and configured to control the power switching network to rotate the motor. The first electronic processor is configured to receive the battery pack configuration data responsive to a connection of the battery pack to the battery receptacle and control the power switching network based on the battery pack configuration data.

BATTERY PACK CHARGING METHOD AND POWER STORAGE SYSTEM

NºPublicación:  US2025337254A1 30/10/2025
Solicitante: 
ENERGYWITH CO LTD [JP]
ENERGYWITH CO., LTD
US_2025337254_PA

Resumen de: US2025337254A1

A method of charging a battery pack is a method of charging a battery pack by charging, with one charger, a battery pack configured by connecting, in parallel, a plurality of storage batteries configured to store and release power, the method comprising: a detection step of detecting voltage and current values with respect to each of the storage batteries, which are connected in parallel; a determination step of determining whether or not a voltage detected for each of the storage batteries in the detecting step, is equal to or less than a first set voltage; and a charging step of charging the storage batteries, which are connected in parallel, wherein: in a first case, in which the voltages of all the storage batteries are determined to be equal to or less than the first set voltage in the determination step.

STAND-ALONE MULTI-FUNCTION BATTERY MANAGER

NºPublicación:  US2025337262A1 30/10/2025
Solicitante: 
CATERPILLAR INC [US]
Caterpillar Inc
US_2025337262_PA

Resumen de: US2025337262A1

A mobile battery manager for charging or discharging a stored battery system may include a converter, a resistive load, and a controller configured to charge or discharge the stored battery system to a desired state of charge determined at the mobile battery manager.

POSITIVE ELECTRODES AND RECHARGEABLE LITHIUM BATTERIES

NºPublicación:  US2025336947A1 30/10/2025
Solicitante: 
SAMSUNG SDI CO LTD [KR]
SAMSUNG SDI CO., LTD
US_2025336947_PA

Resumen de: US2025336947A1

Disclosed are a positive electrode for a rechargeable lithium battery, the positive electrode including a current collector, a first positive electrode active material layer on the current collector, and a second positive electrode active material layer on the first positive electrode active material layer. The first positive electrode active material layer includes a first positive electrode active material including a lithium transition metal composite oxide as secondary particles formed by agglomeration of a plurality of primary particles, and a second positive electrode active material including a lithium transition metal composite oxide as single particles. The second positive electrode active material layer includes a third positive electrode active material including a lithium transition metal composite oxide as secondary particles formed by agglomeration of a plurality of primary particles, and a fourth positive electrode active material including a lithium transition metal composite oxide as secondary particles.

POSITIVE ELECTRODE ACTIVE MATERIAL FOR RECHARGEABLE LITHIUM BATTERY AND PREPARATION METHOD THEREOF

NºPublicación:  US2025336946A1 30/10/2025
Solicitante: 
SAMSUNG SDI CO LTD [KR]
SAMSUNG SDI CO., LTD
US_2025336946_PA

Resumen de: US2025336946A1

A positive electrode active material, a method of preparing the same, a positive electrode including the same, and a rechargeable lithium battery including the positive electrode are provided. The positive electrode active material includes a lithium composite oxide, and a coating layer on a surface of the lithium composite oxide. The positive electrode active material further includes sodium (Na) and sulfur (S), wherein a mass fraction (S/Na) of the S to the Na is in a range of about 1 to about 3.

SOLID POLYMER ELECTROLYTES FOR SOLID-STATE LITHIUM METAL SECONDARY BATTERIES

NºPublicación:  US2025337008A1 30/10/2025
Solicitante: 
EVONIK OPERATIONS GMBH [DE]
Evonik Operations GmbH
US_2025337008_PA

Resumen de: US2025337008A1

A silica composition can be used in preparation of solid polymer electrolytes, wherein the silica composition has a surface-modified colloidal silica dispersion, or an evaporated product of the dispersion. A polymer electrolyte precursor composition for preparation of a solid polymer electrolyte, use of the polymer electrolyte precursor composition in preparation of a solid polymer electrolyte, a method to in-situ prepare a solid polymer electrolyte, a method to improve performance of a lithium-ion battery, a solid polymer electrolyte, an electrochemical device and a device are also described.

POSITIVE ELECTRODE FOR RECHARGEABLE LITHIUM BATTERIES AND RECHARGEABLE LITHIUM BATTERIES CONTAINING THE POSITIVE ELECTRODE

NºPublicación:  US2025336982A1 30/10/2025
Solicitante: 
SAMSUNG SDI CO LTD [KR]
SAMSUNG SDI CO., LTD
US_2025336982_PA

Resumen de: US2025336982A1

A positive electrode for a rechargeable lithium battery, and rechargeable lithium battery including the positive electrode are provided. The positive electrode includes a current collector and a positive electrode active material layer on the current collector, wherein the current collector includes about 0.17 wt % to about 0.24 wt % of Cu based on 100 wt % of the current collector, and the positive electrode active material layer has a density of about 3.9 g/cc to about 4.5 g/cc.

POSITIVE ELECTRODE SHEET, BATTERY CELL, SECONDARY BATTERY AND ELECTRIC DEVICE

NºPublicación:  US2025336978A1 30/10/2025
Solicitante: 
CONTEMPORARY AMPEREX TECH CO LIMITED [CN]
CONTEMPORARY AMPEREX TECHNOLOGY CO., LIMITED
US_2025336978_PA

Resumen de: US2025336978A1

A positive electrode sheet, a battery cell, a secondary battery, and an electric device are provided. The positive electrode sheet includes a positive electrode active material and a lithium supplement additive. The lithium supplement additive satisfies the relationship: R≤Cmin/(100×m×Q), where m is the loading per unit area of the positive electrode sheet (including the total mass of the active material and the lithium supplement additive), Cmin is the minimum rate value applied to the electrode sheet during actual use, is the theoretical specific capacity of the lithium supplement additive, and R is the mass percentage of the lithium supplement additive in the total loading per unit area. This configuration helps ensure lithium balance during battery operation and contributes to performance stability.

CATHODE LITHIUM-SUPPLEMENTING MATERIAL AND PREPARATION METHOD AND APPLICATION THEREOF

NºPublicación:  US2025333326A1 30/10/2025
Solicitante: 
SHENZHEN INNOVAZONE TECH CO LTD [CN]
QUJING INNOVAZONE TECH CO LTD [CN]
FOSHAN INNOVAZONE TECH CO LTD [CN]
SHENZHEN INNOVAZONE TECHNOLOGY CO., LTD,
QUJING INNOVAZONE TECHNOLOGY CO., LTD,
FOSHAN INNOVAZONE TECHNOLOGY CO., LTD
US_2025333326_A1

Resumen de: US2025333326A1

A cathode lithium-supplementing material and preparation method and application thereof are provided. The cathode lithium-supplementing material includes the cathode lithium-supplementing material includes a lithium-containing core and a coating layer coated on a surface of the lithium-containing core, the material of the coating layer is selected from a semi-finished carbon layer containing hydroxyls. The provided coating layer, on the one hand, plays a role in isolating harmful components such as water and carbon dioxide in the air, thereby effectively ensuring the stability of the lithium-rich material contained in the cathode composite material layer; on the other hand, the coating layer is the semi-finished carbon layer containing hydroxyls, which has a partial conductivity function and can improve the conductivity of the cathode lithium-supplementing material; moreover, the semi-finished carbon layer containing hydroxyls has high toughness, which is conducive to completely coating the lithium-containing core, ensures the effect of isolating the cathode lithium supplementing material from water vapor during storage, thereby having stable performance and being beneficial for the widespread application.

HIGH-PERFORMANCE SODIUM ION ELECTROLYTES AND EFFICIENT METHODS FOR MAKING THE SAME

NºPublicación:  US2025333317A1 30/10/2025
Solicitante: 
FLORIDA STATE UNIV RESEARCH FOUNDATION INC [US]
Florida State University Research Foundation, Inc
US_2025333317_PA

Resumen de: US2025333317A1

In accordance with the purpose(s) of the present disclosure, as embodied and broadly described herein, the disclosure, in one aspect, relates to the efficient and rapid synthesis of high-performance sodium ion electrolytes. The electrolytes have the general formula Nau+yNw−yMyLazCl3−vXv. The electrolytes possess superionic conductivity and display a low electronic conductivity, which ensures negligible electron transport contribution to the measured total conductivity and thereby enhancing safety when applied in energy storage devices. The synthesis of the electrolytes is significantly faster when compared to the synthesis of lithium electrolytes and the process can be scalable to produce large amounts of electrolytes.

POSITIVE ELECTRODE ACTIVE MATERIAL FOR RECHARGEABLE LITHIUM BATTERY, METHOD FOR PREPARING THE SAME, AND RECHARGEABLE LITHIUM BATTERY INCLUDING THE SAME

NºPublicación:  US2025333328A1 30/10/2025
Solicitante: 
SAMSUNG SDI CO LTD [KR]
SAMSUNG SDI CO., LTD
US_2025333328_PA

Resumen de: US2025333328A1

Positive electrode active materials for a rechargeable battery, methods for preparing the same, and rechargeable lithium batteries including the same are disclosed. A positive electrode active material includes a first particle including a compound represented by Chemical Formula 1, and a second particle including a compound represented by Chemical Formula 2. Here, the Mn content (e.g., amount) of Chemical Formula 2 based on 100 mol % of transition metals of Chemical Formula 2 is 1 to 5 times the Mn content (e.g., amount) of Chemical Formula 1 based on 100 mol % of transition metals of Chemical Formula 1 (e.g., all metals excluding lithium).

OXYHALIDE ELECTROLYTES AND EFFICIENT METHODS FOR MAKING THE SAME

NºPublicación:  US2025333325A1 30/10/2025
Solicitante: 
FLORIDA STATE UNIV RESEARCH FOUNDATION INC [US]
Florida State University Research Foundation, Inc
US_2025333325_PA

Resumen de: US2025333325A1

In accordance with the purpose(s) of the present disclosure, as embodied and broadly described herein, the disclosure, in one aspect, relates to oxyhalide electrolytes and synthesis of oxyhalide electrolytes. The electrolytes have the general formula AzNv-yMyOX5-y, exhibit superionic conductivity, and can be produced via a relatively fast synthesis route. The electrolytes can be a component of different types of batteries or sensors for ion detection.

ELECTRODE TERMINAL AND BATTERY

NºPublicación:  US2025337133A1 30/10/2025
Solicitante: 
VEHICLE ENERGY JAPAN INC [JP]
VEHICLE ENERGY JAPAN INC
US_2025337133_PA

Resumen de: US2025337133A1

An electrode terminal (negative electrode terminal) includes a first member that is electrically connected with a charge/discharge body of a battery and that includes a first metal (copper or a copper alloy). The electrode terminal also features a second member that includes a first insertion section into which the first member is inserted. The second member is bonded with the first member and includes the first metal. The electrode terminal also features a third member that includes a second insertion section into which the first member is inserted. The third member is bonded with the second member and includes a second metal (aluminum or an aluminum alloy) which is a material different from the first metal. The third member is bonded with a conductive member (busbar) including the second metal, on a facing surface P facing the conductive member (busbar) that electrically connects a first battery and a second battery.

NONAQUEOUS ELECTROLYTE SECONDARY BATTERY

NºPublicación:  US2025337141A1 30/10/2025
Solicitante: 
PRIME PLANET ENERGY & SOLUTIONS INC [JP]
Prime Planet Energy & Solutions, Inc
US_2025337141_PA

Resumen de: US2025337141A1

A nonaqueous electrolyte secondary battery in which a problem in a conventional art is solved is provided. The nonaqueous electrolyte secondary battery disclosed herein includes an electrode body, a nonaqueous electrolyte solution, an electrode terminal, and a battery case that accommodates the electrode body and the nonaqueous electrolyte solution. The battery case is made of aluminum or an aluminum alloy. The battery case includes an exterior can that includes an opening part, and a sealing plate that seals the opening part. The electrode terminal is insulated from the sealing plate by an insulating resin member. The insulating resin member contains polyphenylene sulfide and a glass filler. The insulating resin member exists at least partially inside the battery case and at a position that can be in contact with the nonaqueous electrolyte solution. The nonaqueous electrolyte solution contains a dehydrating agent as an additive.

BATTERY CELL TAB WITH FRANGIBLE AREA

NºPublicación:  US2025337137A1 30/10/2025
Solicitante: 
FORD GLOBAL TECH LLC [US]
Ford Global Technologies, LLC
US_2025337137_PA

Resumen de: US2025337137A1

A battery assembly includes a pouch containing an electrode structure, and a tab that electrically couples the electrode structure to a device outside the pouch. The tab extends from an interior of the pouch to an outside of the pouch. The tab includes a frangible area. A tab film covers at least the frangible area of the tab.

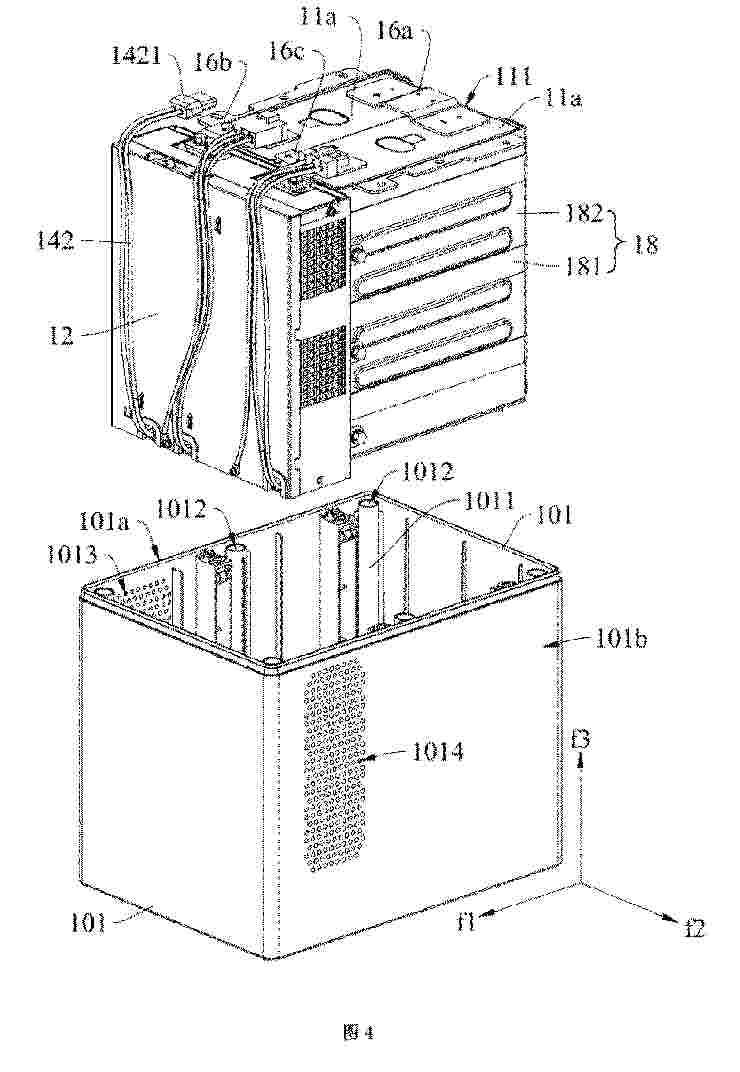
BATTERY MODULE, AND BATTERY PACK AND VEHICLE INCLUDING SAME

NºPublicación:  US2025337139A1 30/10/2025
Solicitante: 
LG ENERGY SOLUTION LTD [KR]
LG ENERGY SOLUTION, LTD
US_2025337139_PA

Resumen de: US2025337139A1

A battery module includes a module frame having an inner space in which a plurality of battery cells is accommodated and an opening leading to the inner space; an insulating cover including a support on which a terminal electrically connected to the plurality of battery cells is disposed and supported, and configured to primarily cover the opening; an end plate having a window through which the support is exposed to the outside and configured to secondarily cover the opening covered by the insulating cover; and a blocking structure configured to cover the support exposed through the window and block an electrical short circuit between the terminal disposed on the support and the end plate.

METHOD FOR PRODUCING SECONDARY BATTERY, AND SECONDARY BATTERY

NºPublicación:  US2025337132A1 30/10/2025
Solicitante: 
SANYO ELECTRIC CO LTD [JP]
SANYO Electric Co., Ltd
US_2025337132_PA

Resumen de: US2025337132A1

A method for producing a secondary battery according to the present invention comprises a step wherein a negative electrode collector, which has a projection having a height of from 0.36 mm to 0.45 mm on at least one of a first member and a second member, said members constituting the negative electrode collector, is resistance-welded with a core multilayer part in such a manner that the core multilayer part is sandwiched between the first member and the second member, while having the projection in contact with the core multilayer part.

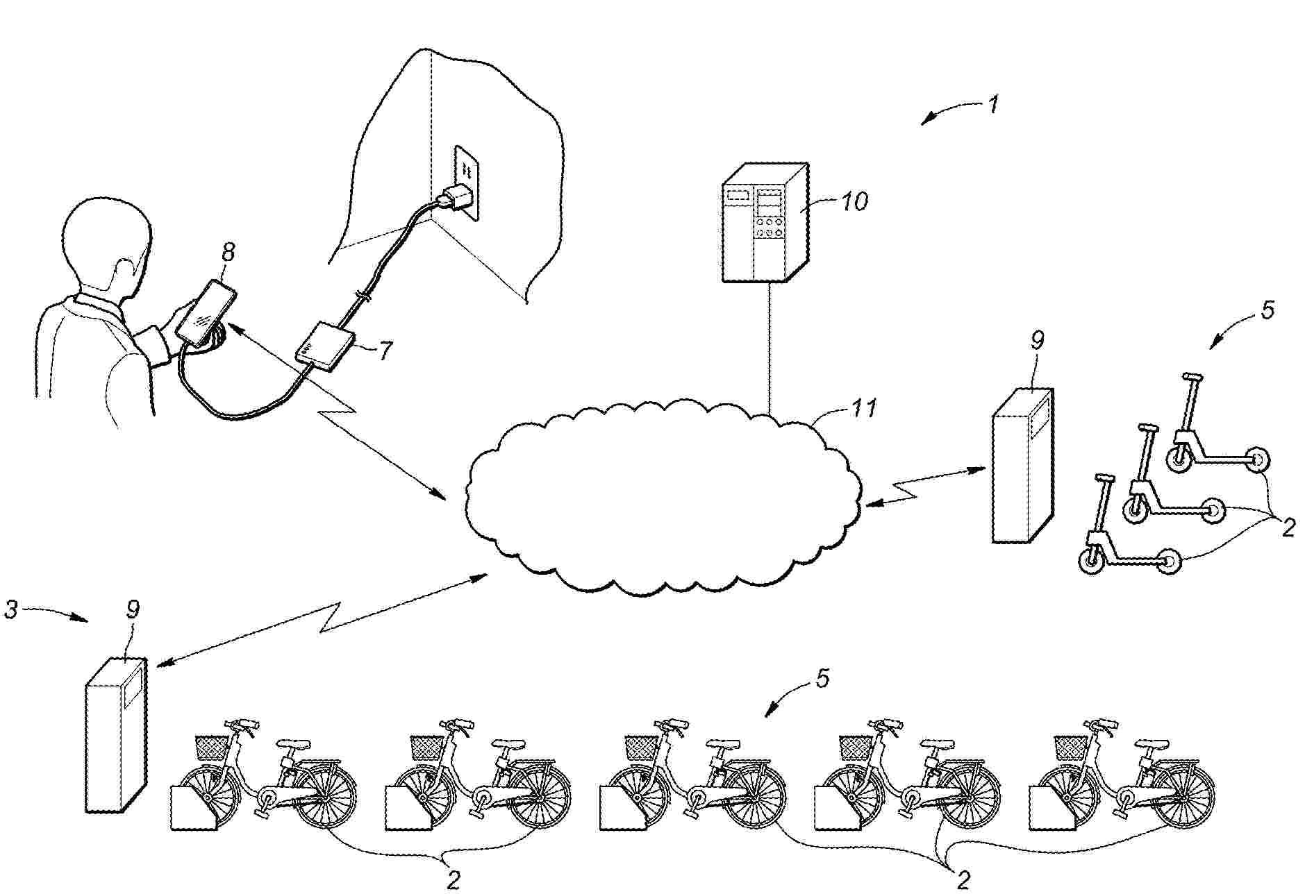
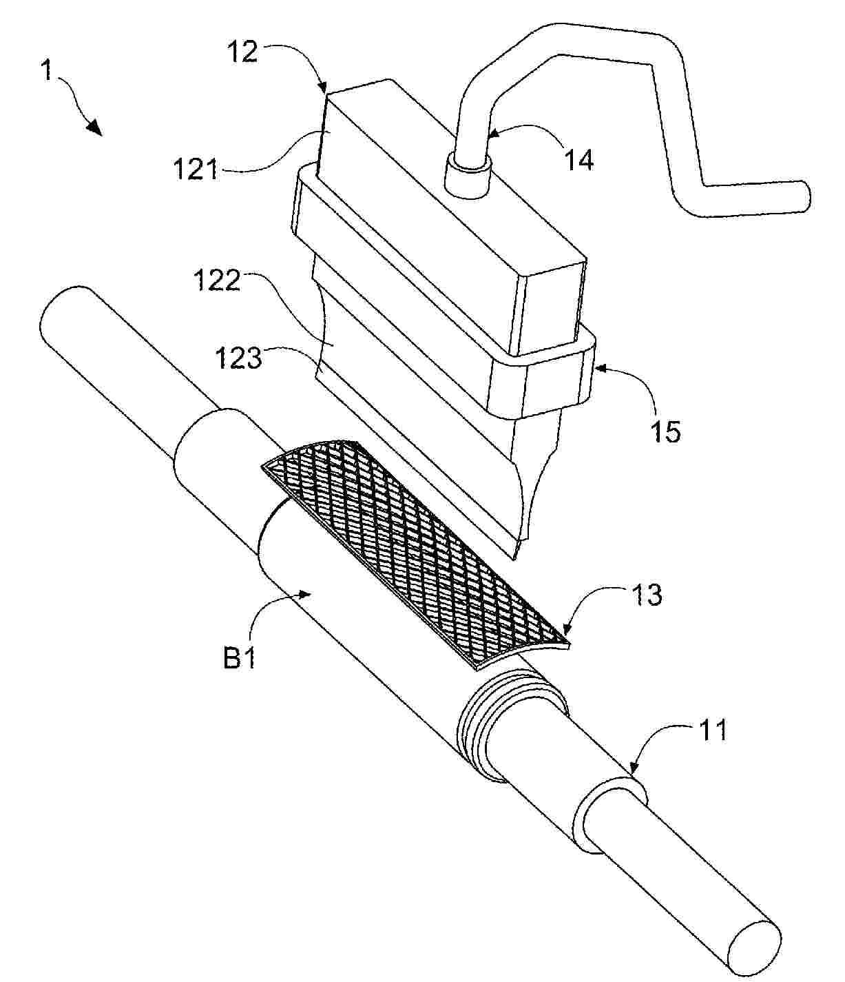
Charging device for wirelessly charging an electrical energy store and method for controlling a charging device

Nº publicación: US2025337266A1 30/10/2025

Solicitante:

BURY SP Z O O [PL]
BURY SP. Z. O. O

US_2025337266_PA

Resumen de: US2025337266A1

A charging device for wirelessly charging an electrical energy store of a mobile terminal has an air channel, a support that adjoins the air channel, a contact face, an energy transmission unit for wirelessly transmitting energy to the contacted mobile terminal, at least one temperature sensor designed to measure air temperature flowing in the air channel, and a charging controller connected to the energy transmission unit that controls at least one charging parameter. The charging device is designed to control the transmission of energy from the energy transmission unit to the contacted mobile terminal based on the temperature measured by the temperature sensor.

traducir