Ministerio de Industria, Turismo y Comercio LogoMinisterior
 

Alerta

Resultados 1397 resultados
LastUpdate Última actualización 15/12/2025 [07:10:00]
pdfxls
Publicaciones de los últimos 15 días/Last 15 days publications (excluidas pubs. CN y JP /CN and JP pubs. excluded)
previousPage Resultados 1050 a 1075 de 1397 nextPage  

COATING, BATTERY, AND ELECTRICITY-CONSUMPTION DEVICE

NºPublicación:  WO2025246965A1 04/12/2025
Solicitante: 
XIAMEN HITHIUM ENERGY STORAGE TECH CO LTD [CN]
XIAMEN HITHIUM ENERGY STORAGE TECHNOLOGY CO., LTD
WO_2025246965_A1

Resumen de: WO2025246965A1

The present disclosure relates to the technical field of coatings, and specifically discloses a coating, a battery, and an electricity-consumption device. A total heat release of the coating in a first temperature range and a second temperature range ranges from 30 J/mg to 60 J/mg. The first temperature range is from 120°C to 220°C. The second temperature range is from 220°C to 270°C.

BATTERY PACK AND ELECTRICAL DEVICE

NºPublicación:  WO2025246996A1 04/12/2025
Solicitante: 
SUNWODA MOBILITY ENERGY TECH CO LTD [CN]
\u6B23\u65FA\u8FBE\u52A8\u529B\u79D1\u6280\u80A1\u4EFD\u6709\u9650\u516C\u53F8
WO_2025246996_PA

Resumen de: WO2025246996A1

Disclosed in the present application are a battery pack and an electrical device. In the battery pack, first flow guide cavities are provided inside a first side wall, supports are provided inside an accommodation cavity of a box body, and second flow guide cavities are provided inside the supports; a protruding portion is provided on the first side wall, and a third flow guide cavity is provided inside the protruding portion, the third flow guide cavity being in communication with both the first flow guide cavities and the second flow guide cavities; battery cells are stacked with the supports, first through holes are formed in the support surfaces of the supports, and first explosion-proof valves are provided on the battery cells, the first explosion-proof valves being arranged opposite to the first through holes; second explosion-proof valves are provided on the first side wall.

FLEXIBLE CIRCUIT BOARD, ELECTRIC CONNECTION MODULE AND INSTALLATION METHOD, AND POWER BATTERY PACK

NºPublicación:  WO2025246066A1 04/12/2025
Solicitante: 
EVE ENERGY CO LTD [CN]
\u60E0\u5DDE\u4EBF\u7EAC\u9502\u80FD\u80A1\u4EFD\u6709\u9650\u516C\u53F8
WO_2025246066_PA

Resumen de: WO2025246066A1

The present application discloses a flexible circuit board, an electric connection module and an installation method, and a power battery pack. The flexible circuit board comprises a first sampling portion, a second sampling portion and a main body portion. The main body portion is separately connected to the first sampling portion and the second sampling portion. At least one of the first sampling portion and the second sampling portion is provided with a sampling point, and the main body portion is provided with a sampling signal output end. In a use state, at least a portion of the main body portion overlaps the first sampling portion and the second sampling portion.

HIGH-STABILITY LITHIUM-RICH MANGANESE-BASED POSITIVE ELECTRODE MATERIAL, PREPARATION METHOD THEREFOR, AND USE THEREOF

NºPublicación:  WO2025246050A1 04/12/2025
Solicitante: 
GEM CO LTD [CN]
\u683C\u6797\u7F8E\u80A1\u4EFD\u6709\u9650\u516C\u53F8
WO_2025246050_A1

Resumen de: WO2025246050A1

A high-stability lithium-rich manganese-based positive electrode material, a preparation method therefor, and use thereof. The preparation method comprises the following steps: mixing a lithium-rich manganese-based positive electrode material to be modified and an ammonium salt containing a transition metal, and sintering to give an intermediate material; and performing water leaching treatment on the intermediate material to give the high-stability lithium-rich manganese-based positive electrode material. The preparation method synchronously allows for oxygen vacancies, transition metal doping, and lithium concentration gradient distribution on the surface of the lithium-rich manganese-based positive electrode material, thereby enabling the lithium-rich manganese-based positive electrode material to possess high rate performance, voltage attenuation suppression, and excellent long-term cycling stability. Moreover, the method is simple and low-cost, and has good repeatability, making it very suitable for large-scale production and facilitating the practical application of high-capacity and high-voltage materials in high-energy-density batteries.

MODIFIED LITHIUM-RICH MANGANESE-BASED POSITIVE ELECTRODE MATERIAL, AND PREPARATION METHOD THEREFOR AND USE THEREOF

NºPublicación:  WO2025246045A1 04/12/2025
Solicitante: 
GEM CO LTD [CN]
\u683C\u6797\u7F8E\u80A1\u4EFD\u6709\u9650\u516C\u53F8
WO_2025246045_A1

Resumen de: WO2025246045A1

A modified lithium-rich manganese-based positive electrode material, and a preparation method therefor and the use thereof. The modified lithium-rich manganese-based positive electrode material comprises a lithium-rich manganese-based positive electrode material, wherein the bulk phase of the lithium-rich manganese-based positive electrode material is doped with a high-valent transition metal element, and the surface phase of the lithium-rich manganese-based positive electrode material has a lithium metal compound coating layer and an oxygen vacancy. In the modified lithium-rich manganese-based positive electrode material, the doping with a bulk-phase high-valence transition metal element, the coating with a surface-phase lithium metal compound coating layer and the construction of an oxygen vacancy are conducted at the same time; and by means of the co-action of the three, the rate capability and the cycling performance of the lithium-rich manganese-based positive electrode material can be significantly improved, which is of great significance for the further commercialization of the lithium-rich manganese-based positive electrode material.

BATTERY AND ELECTRIC APPARATUS

NºPublicación:  WO2025246038A1 04/12/2025
Solicitante: 
CONTEMPORARY AMPEREX TECH CO LIMITED [CN]
\u5B81\u5FB7\u65F6\u4EE3\u65B0\u80FD\u6E90\u79D1\u6280\u80A1\u4EFD\u6709\u9650\u516C\u53F8
WO_2025246038_PA

Resumen de: WO2025246038A1

Disclosed in the present application are a battery and an electric apparatus. The battery comprises a plurality of battery cells and a thermal management assembly, wherein the thermal management assembly comprises a heat exchange member and a heating member, the heat exchange member being provided with a flow channel for a heat exchange medium to flow through, the heat exchange member being used for performing heat exchange with the plurality of battery cells, and the heating member being located on the side of the heat exchange member that is away from the battery cells, and being used for heating the heat exchange member. The battery in the present application can improve the heat exchange efficiency and reliability.

CELL STRUCTURE FOR ALL-SOLID-STATE BATTERY AND ALL-SOLID-STATE BATTERY COMPRISING SAME

NºPublicación:  WO2025249628A1 04/12/2025
Solicitante: 
SAMSUNG SDI CO LTD [KR]
\uC0BC\uC131\uC5D0\uC2A4\uB514\uC544\uC774 \uC8FC\uC2DD\uD68C\uC0AC
WO_2025249628_PA

Resumen de: WO2025249628A1

The present invention relates to an all-solid-state battery. More specifically, the present invention relates to a lithium-sulfur all-solid-state battery comprising a unit cell comprising a positive electrode layer, a negative electrode layer, and a solid electrolyte layer between the positive electrode layer and the negative electrode layer, wherein the positive electrode active material layer contains a sulfide-based positive electrode active material, the positive electrode active material layer includes a body portion and an outer portion protruding outwards from the body portion, the outer portion has a bulging sidewall, the outer portion is spaced apart from the upper surface of the solid electrolyte layer, and the width in a first direction of the positive electrode active material layer is smaller than the width in the first direction of the solid electrolyte layer.

ADHESIVE FILM AND POUCH-TYPE SECONDARY BATTERY COMPRISING SAME

NºPublicación:  WO2025249818A1 04/12/2025
Solicitante: 
LG ENERGY SOLUTION LTD [KR]
\uC8FC\uC2DD\uD68C\uC0AC \uC5D8\uC9C0\uC5D0\uB108\uC9C0\uC194\uB8E8\uC158
WO_2025249818_PA

Resumen de: WO2025249818A1

The present invention relates to an adhesive film comprising: an external insulating layer; and a pressure-sensitive adhesive layer disposed on one surface of the external insulating layer, wherein the pressure-sensitive adhesive layer includes a thermosetting resin, the adhesive film satisfies at least one of an adhesive force of 100 gf/25 mm or more with respect to a stainless steel substrate and an adhesive force of 200 gf/25 mm or more with respect to a polyester-based resin substrate, and the adhesive force is measured by pressing a surface of the pressure-sensitive adhesive layer opposite to the surface in contact with the external insulating layer onto the stainless steel substrate or the polyester-based resin substrate using a 2 kg roller, and then peeling the adhesive film at 140°C, at a peeling speed of 300 mm/min and a peeling angle of 180°.

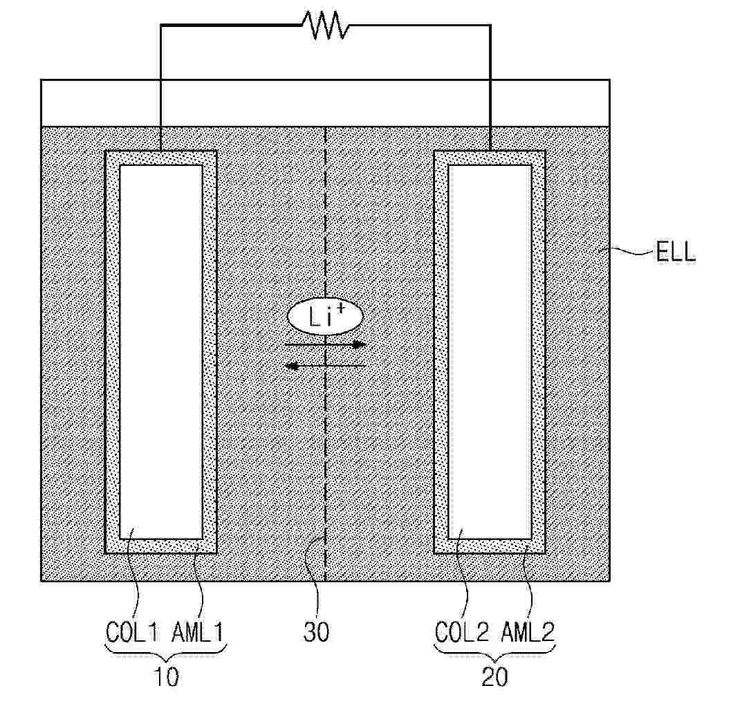
LITHIUM SECONDARY BATTERY SOLID ELECTROLYTE COMPRISING CORE-SHELL-STRUCTURED CATIONIC POLYMER, AND LITHIUM SECONDARY BATTERY COMPRISING SAME

NºPublicación:  WO2025249888A1 04/12/2025
Solicitante: 
UIF UNIV INDUSTRY FOUNDATION YONSEI UNIV [KR]
\uC5F0\uC138\uB300\uD559\uAD50 \uC0B0\uD559\uD611\uB825\uB2E8
WO_2025249888_PA

Resumen de: WO2025249888A1

The present invention relates to a precursor composition for preparing a lithium secondary battery solid electrolyte comprising a lithium-rich cathode, and to: a precursor composition for preparing a solid electrolyte; a solid electrolyte obtained by crosslinking same; and a secondary battery comprising a lithium-rich cathode that comprises same, the composition comprising a core layer that includes a liquid electrolyte and a shell layer that comprises a cationic polymer and encompasses the core layer. The lithium secondary battery solid electrolyte comprising a lithium-rich cathode, of the present invention, introduces a shell-structured cationic polymer having a cationic charge and a crosslinking site in the solid electrolyte, so as to form an ion-ion interaction between the solid electrolyte and an anionic charge on the surface of a layered Li-rich manganese oxide (LLO) active material, thereby reducing oxygen interlayer repulsive energy, known as a driving force of irreversible oxygen release, so as to promote structural stabilization of a lithium-rich cathode material, and thus solves a fundamental problem that occurs when using a lithium-rich layered oxide. As a result, the amount of generated oxygen is reduced such that an interfacial instability problem caused by side reactions among oxygen, the electrolyte and lithium can be solved. In addition, the lithium secondary battery solid electrolyte comprising the lithium-rich cathode, of the present invention, can be self-

ELECTROLYTE FOR LITHIUM SECONDARY BATTERY AND LITHIUM SECONDARY BATTERY COMPRISING SAME

NºPublicación:  WO2025249625A1 04/12/2025
Solicitante: 
SAMSUNG SDI CO LTD [KR]
\uC0BC\uC131\uC5D0\uC2A4\uB514\uC544\uC774 \uC8FC\uC2DD\uD68C\uC0AC
WO_2025249625_PA

Resumen de: WO2025249625A1

The present invention relates to an electrolyte for a lithium secondary battery and a lithium secondary battery comprising same. The electrolyte may include: a non-aqueous organic solvent; a lithium salt; and an additive, wherein the additive may be represented by chemical formula 1 or chemical formula 2. The details of chemical formula 1 and chemical formula 2 are as described in the specification.

LITHIUM-ION SECONDARY BATTERY

NºPublicación:  WO2025248883A1 04/12/2025
Solicitante: 
VEHICLE ENERGY JAPAN INC [JP]
\u30D3\u30FC\u30AF\u30EB\u30A8\u30CA\u30B8\u30FC\u30B8\u30E3\u30D1\u30F3\u682A\u5F0F\u4F1A\u793E
WO_2025248883_PA

Resumen de: WO2025248883A1

This lithium-ion secondary battery comprises: a positive electrode having a positive electrode active material layer; a separator; and a negative electrode having a negative electrode active material layer, wherein the separator is disposed between the positive electrode and the negative electrode. The lithium-ion secondary battery has a rated capacity of 3 Ah to 7 Ah. The separator has a first layer containing polyethylene as a main component, and a second layer and a third layer containing polypropylene as a main component. The first layer is disposed between the second layer and the third layer, the ratio R defined by the following expression 1 is 2.0 to 6.0, and the thickness of the positive electrode active material layer is 30 µm to 65 µm. (Expression 1): R = (the total thickness of the positive electrode active material layer)/(the thickness of the entire separator) (In the expression, the unit of thickness is µm). Due to said feature, the output characteristics of the lithium-ion secondary battery can be improved not only under a rated temperature condition but also in a low-temperature region.

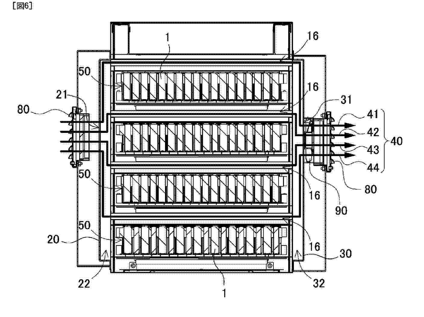
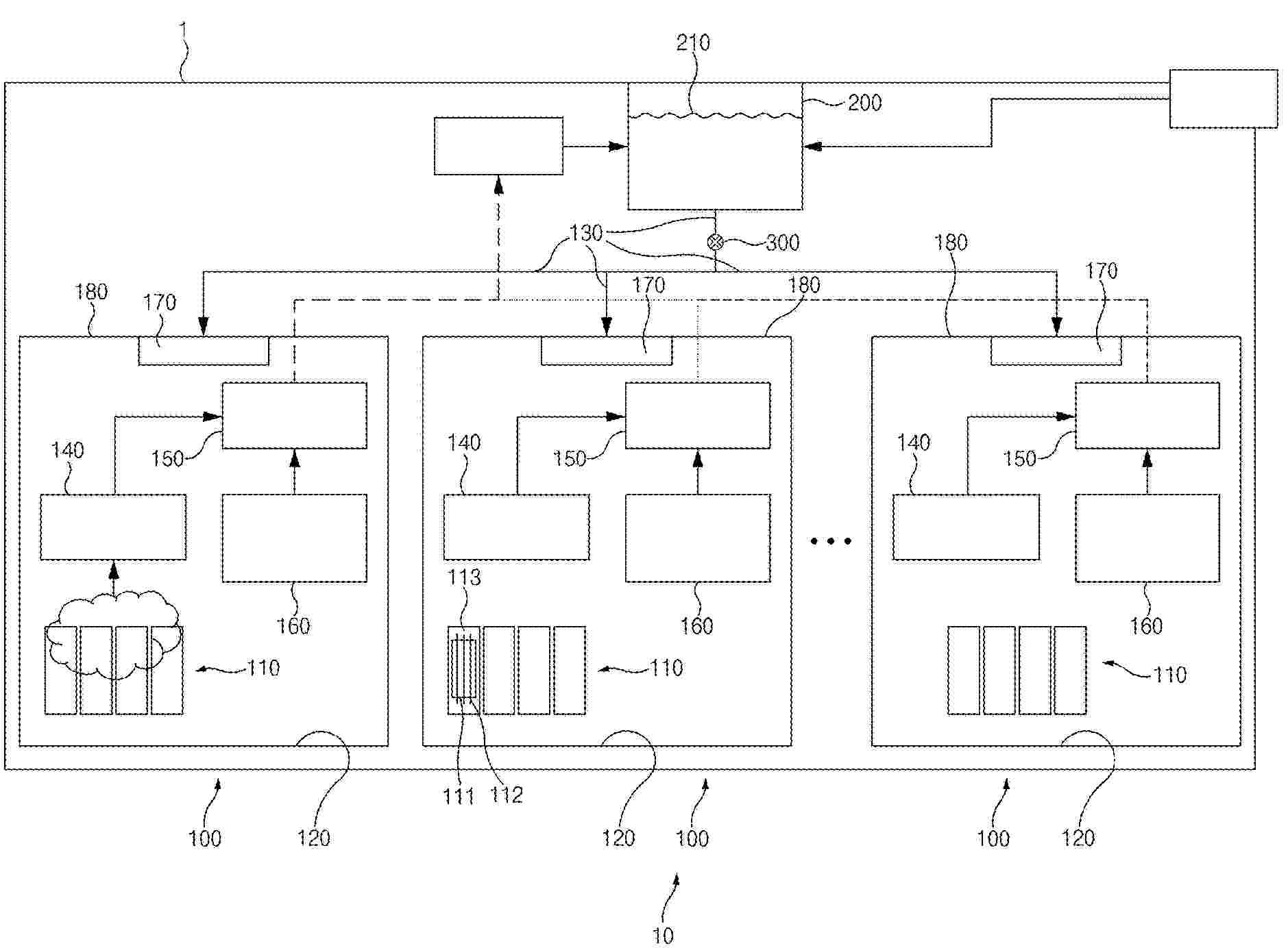
POWER SUPPLY DEVICE

NºPublicación:  WO2025248894A1 04/12/2025
Solicitante: 
PANASONIC INTELLECTUAL PROPERTY MAN CO LTD [JP]
\u30D1\u30CA\u30BD\u30CB\u30C3\u30AF\uFF29\uFF30\u30DE\u30CD\u30B8\u30E1\u30F3\u30C8\u682A\u5F0F\u4F1A\u793E
WO_2025248894_PA

Resumen de: WO2025248894A1

The present invention provides a power supply device in which cooling performance is made more uniform for a plurality of secondary battery cells. A power supply device 100 comprises battery blocks 50 and a power supply case 10 provided with a first lateral face 20 extending in a first direction and a second lateral face 30 disposed apart from the first lateral face 20 in an opposing orientation. The plurality of battery blocks 50 are housed between the first lateral face 20 and the second lateral face 30 and stacked in multiple tiers along the first direction, with cooling air conduits 16 formed between adjacent battery blocks 50. In the power supply case 10, an intake port 21 is formed in the first lateral surface 20 at an intermediate position in the first direction, and an exhaust port 31 is formed in the second lateral surface 30 at an intermediate position in the first direction. Inside the power supply case 10, the cooling air conduits 16 are provided in plural along the first direction. Each of the cooling air conduits 16 communicates with the intake port 21 at one end and the exhaust port 31 at the other end. A plurality of path lengths 40 from the intake port 21 to the exhaust port 31 via each of the cooling air conduits 16 are mismatched overall.

COATING MATERIAL MANUFACTURING METHOD, ELECTRODE MATERIAL MANUFACTURING METHOD, AND BATTERY MANUFACTURING METHOD

NºPublicación:  WO2025248993A1 04/12/2025
Solicitante: 
KOBE STEEL LTD [JP]
UNIV AKITA [JP]
\u682A\u5F0F\u4F1A\u793E\u795E\u6238\u88FD\u92FC\u6240,
\u56FD\u7ACB\u5927\u5B66\u6CD5\u4EBA\u79CB\u7530\u5927\u5B66
WO_2025248993_PA

Resumen de: WO2025248993A1

A coating material manufacturing method according to the present disclosure is a method for manufacturing a coating material of an electrode material containing a lithium oxide, the method comprising: a biomass mixing step for obtaining a slurry by mixing a plant-based biomass with a solvent; a heating step for heating the slurry obtained in the biomass mixing step; a solid-liquid separation step for subjecting the slurry heated in the heating step to solid-liquid separation; and a distillation step for distilling a liquid phase obtained in the solid-liquid separation step.

BATTERY, VEHICLE, AND BATTERY SWAPPING STATION

NºPublicación:  WO2025246951A1 04/12/2025
Solicitante: 
CONTEMPORARY AMPEREX TECHNOLOGY CO LTD [CN]
\u5B81\u5FB7\u65F6\u4EE3\u65B0\u80FD\u6E90\u79D1\u6280\u80A1\u4EFD\u6709\u9650\u516C\u53F8
WO_2025246951_PA

Resumen de: WO2025246951A1

The present application discloses a battery, a vehicle, and a battery swapping station. The battery comprises a casing, a battery cell, and a protective component. The battery cell is accommodated in the casing. The protective component is arranged on an outer side of the casing. The protective component is at least partially flexible. The protective component is configured to be provided with an accommodating cavity, or the protective component is configured to form an accommodating cavity together with an outer wall of the casing. The protective component is further configured to be deformable by filling the accommodating cavity with a fluid. When the battery needs to be de-iced, a fluid can be introduced into the accommodating cavity. Under the pressure of the fluid, the protective component deforms and compresses the ice layer, so that the ice layer is fractured and falls off the battery, thereby achieving rapid de-icing of the battery and reducing the difficulty of battery maintenance and replacement.

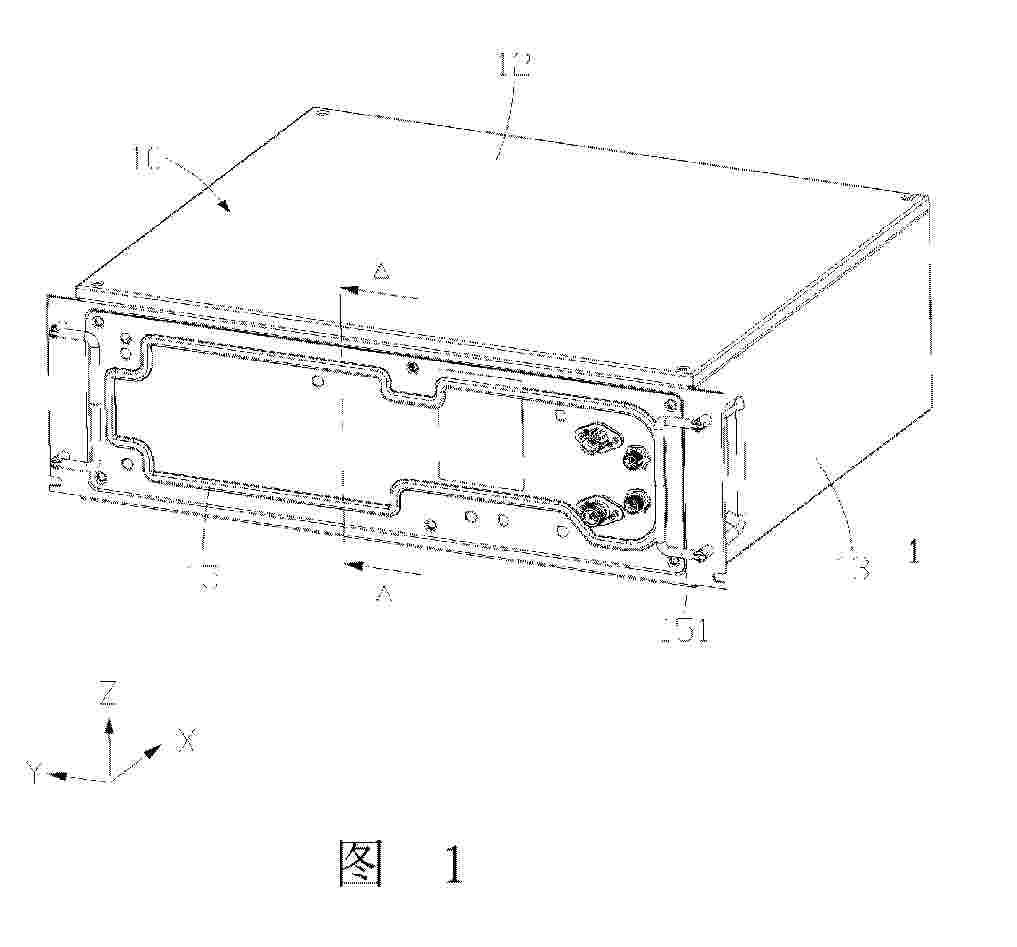
WIRING STRUCTURE, BATTERY PACK TRAY, BATTERY PACK AND VEHICLE

NºPublicación:  WO2025246982A1 04/12/2025
Solicitante: 
BYD COMPANY LTD [CN]
\u6BD4\u4E9A\u8FEA\u80A1\u4EFD\u6709\u9650\u516C\u53F8
WO_2025246982_PA

Resumen de: WO2025246982A1

The present application discloses a wiring structure, a battery pack tray, a battery pack and a vehicle. The wiring structure comprises: a longitudinal beam, wherein the longitudinal beam is arranged on a battery pack tray in the front-back direction of a vehicle, a wiring cavity is formed in the longitudinal beam, the wiring cavity is arranged in the length direction of the longitudinal beam and used for laying wires, and two ends of the longitudinal beam in the length direction are used for allowing the wires to enter and exit the wiring cavity. In the present application, a profile having two communicated ends is used as the longitudinal beam, and the wiring cavity is arranged in the longitudinal beam and is used for laying the wires, so that the structural strength is higher, the extrusion resistance and the impact resistance are better, and the safety of a battery pack structure is significantly improved.

HEATING SYSTEM FOR BATTERY PACK AND ELECTRIC APPARATUS

NºPublicación:  WO2025247001A1 04/12/2025
Solicitante: 
BYD COMPANY LTD [CN]
\u6BD4\u4E9A\u8FEA\u80A1\u4EFD\u6709\u9650\u516C\u53F8
WO_2025247001_PA

Resumen de: WO2025247001A1

A heating system for a battery pack and an electric apparatus. The heating system for the battery pack comprises a battery pack, an electric device, and a wire. The battery pack comprises a first battery cell group and a second battery cell group which are connected in series, the wire has a first end and a second end which are opposite, the first end of the wire is connected to a series-connected point between the first battery cell group and the second battery cell group, and the second end of the wire is connected to a neutral point of the electric device.

COMMUNICATION APPARATUS, COMMUNICATION SYSTEM, BATTERY PACK, POWER SYSTEM AND VEHICLE

NºPublicación:  WO2025246966A1 04/12/2025
Solicitante: 
BYD COMPANY LTD [CN]
\u6BD4\u4E9A\u8FEA\u80A1\u4EFD\u6709\u9650\u516C\u53F8
WO_2025246966_PA

Resumen de: WO2025246966A1

A vehicle, comprising a power system, which comprises a battery pack, wherein the battery pack comprises a communication apparatus. A communication system, comprising a communication apparatus. The communication apparatus comprises a sampling device, a first power line carrier communication device, a first power line and a second power line, wherein the first power line is used for connecting to a positive electrode of a cell assembly, and the second power line is used for connecting to a negative electrode of the cell assembly; two ends of the sampling device are used for collecting sampling information corresponding to the cell assembly; and two ends of the first power line carrier communication device are respectively connected to the first power line and the second power line, and the first power line carrier communication device is connected to the sampling device, and is used for transmitting the sampling information corresponding to the cell assembly.

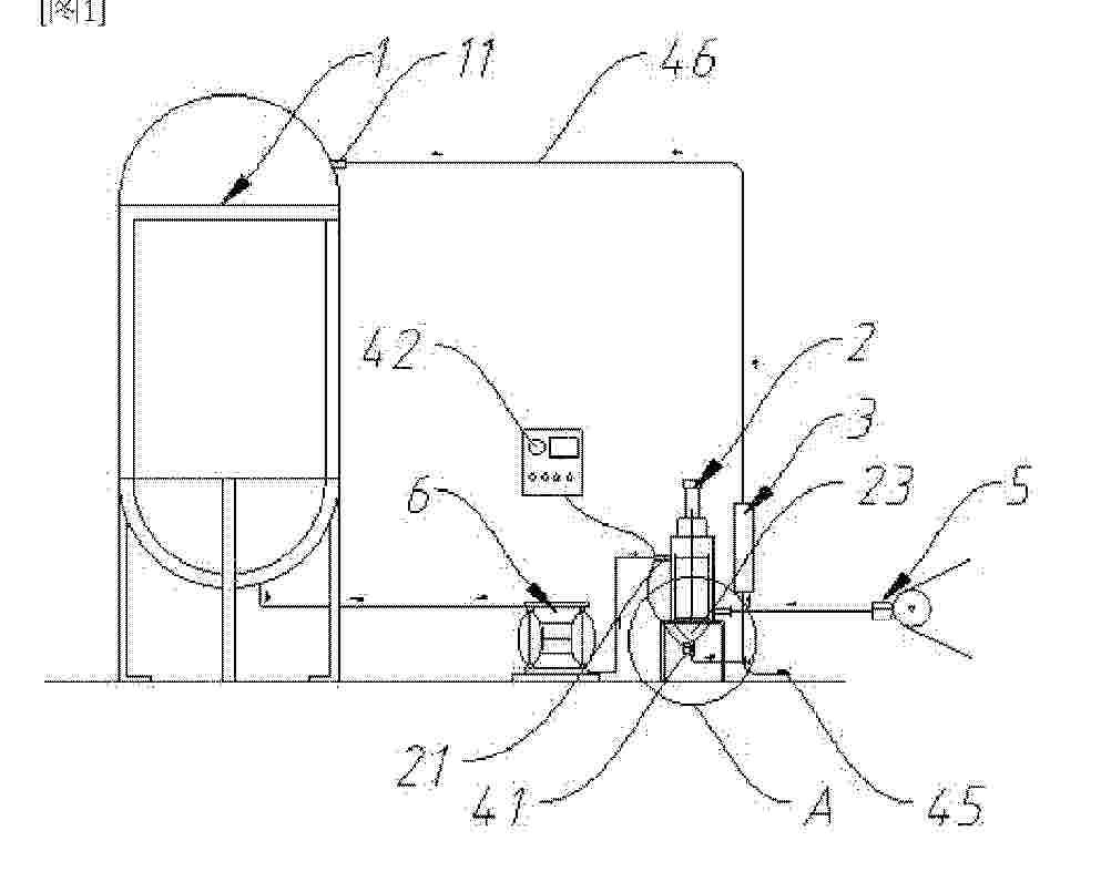
SYSTEM FOR FILTERING AND RECYCLING LITHIUM BATTERY SLURRY

NºPublicación:  WO2025246037A1 04/12/2025
Solicitante: 
EVE POWER CO LTD [CN]
\u6E56\u5317\u4EBF\u7EAC\u52A8\u529B\u6709\u9650\u516C\u53F8
WO_2025246037_PA

Resumen de: WO2025246037A1

The present application discloses a system for filtering and recycling a lithium battery slurry. The system comprises: a stirring apparatus; a filtering apparatus, the filtering apparatus having a feed port and a recycling port, the feed port of the filtering apparatus being in communication with the stirring apparatus by means of a feed pipe, and the stirring apparatus being connected to the recycling port of the filtering apparatus by means of a recycling assembly; and a slurry heater, the slurry heater being mounted on the recycling assembly.

SECONDARY BATTERY, PREPARATION METHOD THEREFOR, AND ELECTRICAL DEVICE

NºPublicación:  WO2025246036A1 04/12/2025
Solicitante: 
CONTEMPORARY AMPEREX TECH CO LIMITED [CN]
\u5B81\u5FB7\u65F6\u4EE3\u65B0\u80FD\u6E90\u79D1\u6280\u80A1\u4EFD\u6709\u9650\u516C\u53F8
WO_2025246036_PA

Resumen de: WO2025246036A1

A secondary battery, a preparation method therefor, and an electrical device. The secondary battery comprises an electrode sheet. The electrode sheet comprises a current collector, an active material layer, and a base coating. The active material layer is located on at least one surface of the current collector. The base coating is located between the current collector and the active material layer. The base coating contains an additive, and anions of the additive comprise at least one of nitrate ions and nitrite ions. In the electrode sheet, the base coating is arranged between the current collector and the active material layer. The anions in the base coating comprise nitrate ions and nitrite ions, enabling the additive to gradually dissolve and diffuse into an electrolyte. In this way, the nitrate and nitrite undergo a reduction reaction, and the reduction product thereof becomes part of an SEI film to enable repair of the SEI film, thereby achieving thin, stable, and compact SEI films and significantly improving the cycle life of the battery.

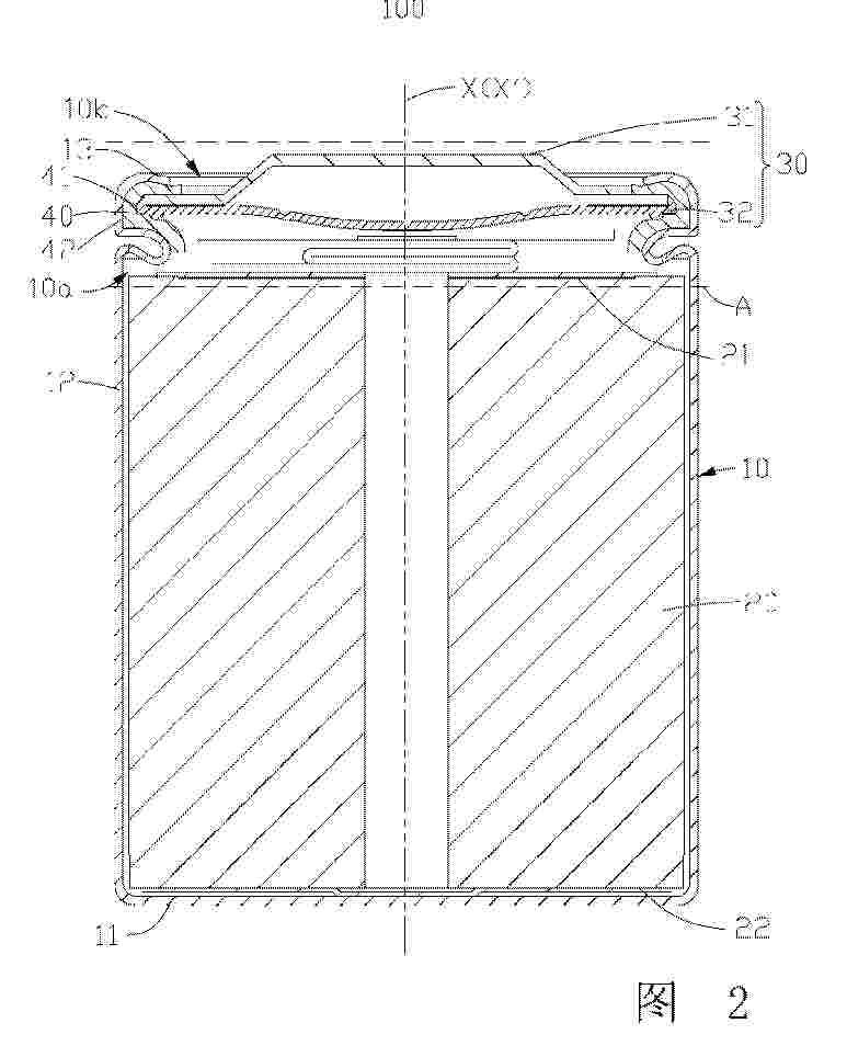
ASSEMBLY METHOD FOR BATTERY CELL, AND BATTERY CELL, BATTERY AND ELECTRIC DEVICE

NºPublicación:  WO2025246041A1 04/12/2025
Solicitante: 
CONTEMPORARY AMPEREX TECH CO LIMITED [CN]
\u5B81\u5FB7\u65F6\u4EE3\u65B0\u80FD\u6E90\u79D1\u6280\u80A1\u4EFD\u6709\u9650\u516C\u53F8
WO_2025246041_A1

Resumen de: WO2025246041A1

An assembly method for a battery cell, and a battery cell, a battery and an electric device, which belong to the technical field of batteries. The battery cell comprises a casing component, a terminal post component mounted to the casing component, and an electrode component accommodated in the casing component and connected to the terminal post component, wherein the casing component comprises a casing body and a casing cover, the casing body has an opening, the casing cover seals the opening, and the casing body or the casing cover comprises a first casing wall. The assembly method comprises: connecting an electrode component to a terminal post component; and mounting to a first casing wall the terminal post component connected to the electrode component.

BATTERY STACKING METHOD, APPARATUS, AND SYSTEM

NºPublicación:  WO2025246035A1 04/12/2025
Solicitante: 
CONTEMPORARY AMPEREX TECH CO LIMITED [CN]
CONTEMPORARY AMPEREX RUNZHI SOFTWARE TECH LIMITED [CN]
\u5B81\u5FB7\u65F6\u4EE3\u65B0\u80FD\u6E90\u79D1\u6280\u80A1\u4EFD\u6709\u9650\u516C\u53F8,
\u5B81\u5FB7\u65F6\u4EE3\u6DA6\u667A\u8F6F\u4EF6\u79D1\u6280\u6709\u9650\u516C\u53F8
WO_2025246035_PA

Resumen de: WO2025246035A1

The present application discloses a battery stacking method, an apparatus, and a system. A stack stacking device comprises a bearing plate and a limiting assembly capable of moving on the beating plate, a plurality of cathode sheets are spaced on an anode material strip, the anode material strip is folded at folding positions corresponding to spacings between adjacent cathode sheets to obtain a plurality of electrode sheet units, and each electrode sheet unit is stacked on a bearing plate of a stacking mechanism. The method comprises: acquiring a target offset distance of a first electrode sheet unit of the anode material strip relative to a first reference position; obtaining a target stacking position of the first electrode sheet unit on the basis of the target offset distance and a second reference position, wherein the second reference position is a reference position set when the electrode sheet units of the anode material strip are stacked on the bearing plate; and if the first electrode sheet unit is the first stacked electrode sheet unit, when the first electrode sheet unit is stacked on the bearing plate, controlling the limiting assembly to push the first electrode sheet unit to move to the target stacking position.

A RECHARGEABLE BATTERY PACK

NºPublicación:  AU2024303816A1 04/12/2025
Solicitante: 
FORTESCUE ZERO LTD
FORTESCUE ZERO LIMITED
AU_2024303816_PA

Resumen de: AU2024303816A1

A rechargeable battery pack comprising: a battery housing, at least two battery modules, each comprising a plurality of battery cells, the battery modules being located inside the housing, at least one closed loop channel within the housing that extends along a vertical direction from a region at or adjacent an upper end of the battery pack to a region at or adjacent to a lower end of the battery pack, the closed loop channel being partially filled with a phase change material which at a first temperature has a liquid form and lies towards the bottom of the channel and at a second higher temperature has a gaseous form and rises towards the top of the channel, a heat sink located above the battery modules and in contact with an upper portion of the closed loop channel.

Battery Cell Container And Interface Assembly For Same

NºPublicación:  AU2025203416A1 04/12/2025
Solicitante: 
WILCOX IND CORP
Wilcox Industries Corp
AU_2025203416_A1

Resumen de: AU2025203416A1

A battery pack receiver assembly for detachably securing a battery pack to a helmet mounted device comprises a frame comprising a first battery pack engaging feature for engaging the battery pack. An interface plate comprises a second battery pack engaging feature. The frame is slidably coupled to the interface plate and movable between battery pack retaining and releasing positions. A biasing member is configured to bias the frame toward the battery pack retaining position. The frame is manually movable to the battery pack releasing position by a user grasping the battery pack. The second battery pack engaging feature is configured to positively retain the battery pack when the frame is in the battery pack retaining position and disengage with the battery pack when the frame is in the battery pack releasing position. Preferably, the apparatus is configured to permit one-handed battery pack replacement without removing the device from the helmet. A battery pack receiver assembly for detachably securing a battery pack to a helmet mounted device comprises a frame comprising a first battery pack engaging feature for engaging the battery pack. An interface plate comprises a second battery pack engaging feature. The frame is slidably coupled to the interface plate and movable between battery pack retaining and releasing positions. A biasing member is configured to bias the frame toward the battery pack retaining position. The frame is manually movable to the battery pack releasing

BATTERY MANAGEMENT SYSTEM AND ELECTRONIC DEVICE

NºPublicación:  AU2024287139A1 04/12/2025
Solicitante: 
EVE ENERGY CO LTD
EVE ENERGY CO., LTD
AU_2024287139_A1

Resumen de: AU2024287139A1

The present disclosure discloses a battery management system and an electronic device. The battery management system includes a master control module, a plurality of selection modules, and N slave control modules. The N slave control modules are coupled in sequence. The slave control module includes an input unit, an output unit and a communication unit. The input unit of the first slave control module is coupled to the master control module, the input unit of the mth slave control module is coupled to the output unit of the (m-1)th slave control module and the master control module through one of the selection modules. The communication units of the N slave control modules are respectively coupled to the master control module. The present disclosure discloses a battery management system and an electronic device. The battery management system includes a master control module, a plurality of selection modules, and N slave control modules. The N slave control modules are coupled in sequence. The slave control module includes an input unit, an output unit and a communication unit. The input unit of the first slave control module is coupled to the master control module, the input unit of the mth slave control module is coupled to the output unit of the (m-1)th slave control module and the master control module through one of the selection modules. The communication units of the N slave control modules are respectively coupled to the master control module. ec e c Electronic device

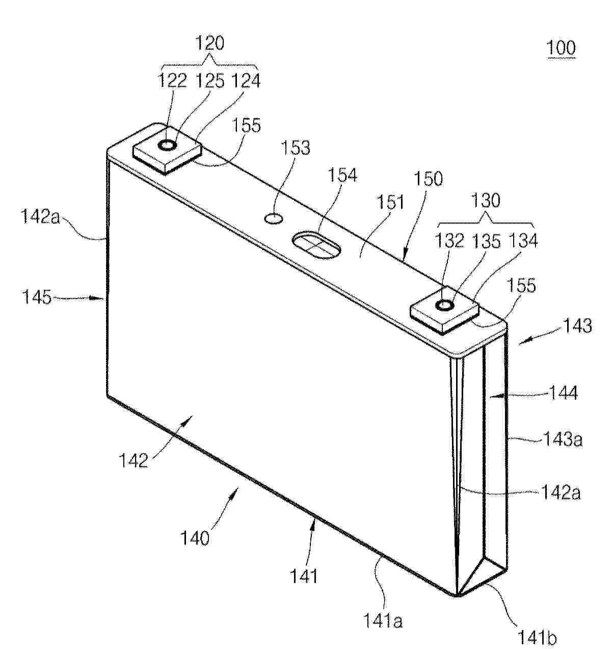
VACUUM CLEANER

Nº publicación: AU2024282384A1 04/12/2025

Solicitante:

LG ELECTRONICS INC
LG ELECTRONICS INC

AU_2024282384_PA

Resumen de: AU2024282384A1

The present invention relates to a vacuum cleaner comprising a battery, wherein the battery includes: protruding parts protruding from a battery body to one side thereof; and buttons each disposed on the protruding part so as to selectively fix the battery body to a battery accommodation part, and thus the battery can be formed such that operation of the buttons for separating a handle is simple and the buttons are compact without protruding to the outside.

traducir