Ministerio de Industria, Turismo y Comercio LogoMinisterior
 

Alerta

Resultados 1532 resultados
LastUpdate Última actualización 18/03/2026 [07:26:00]
pdfxls
Publicaciones de los últimos 15 días/Last 15 days publications (excluidas pubs. CN y JP /CN and JP pubs. excluded)
previousPage Resultados 1025 a 1050 de 1532 nextPage  

CATHODE ACTIVE MATERIAL FOR LITHIUM SECONDARY BATTERY AND METHOD FOR MANUFACTURING THE SAME

NºPublicación:  US20260066335A1 05/03/2026
Solicitante: 
SK ON CO LTD [KR]
SEOUL NATIONAL UNIV R&DB FOUNDATION [KR]
SK ON CO., LTD,
SEOUL NATIONAL UNIVERSITY R&DB FOUNDATION
US_20260066335_PA

Resumen de: US20260066335A1

A cathode active material for a lithium secondary battery according to exemplary embodiments includes lithium metal oxide particles and a coating portion attached to a surface of the lithium metal oxide particles through a chemical bond. The coating portion includes a thiol group. The cathode active material for a lithium secondary battery according to exemplary embodiments may suppress the decomposition of the electrolyte, thereby improving the cycle life characteristics of the secondary battery.

PRESS PLATE FOR FLATTENING POUCH-TYPE CELL AND METHOD OF MANUFACTURING POUCH-TYPE CELL USING THE SAME

NºPublicación:  US20260066331A1 05/03/2026
Solicitante: 
SAMSUNG SDI CO LTD [KR]
Samsung SDI Co., Ltd
US_20260066331_PA

Resumen de: US20260066331A1

Disclosed are a press plate capable of effectively flattening a pouch-type cell and also a method of manufacturing a pouch-type cell using the same. The press plate for flattening a pouch-type cell includes a surface facing the pouch-type cell, and the surface facing the pouch-type cell includes at least a portion made of an elastic material.

METHOD FOR FABRICATING ELECTRICITY STORAGE DEVICE AND ELECTRICITY STORAGE DEVICE

NºPublicación:  US20260066410A1 05/03/2026
Solicitante: 
PRIME PLANET ENERGY & SOLUTIONS INC [JP]
Prime Planet Energy & Solutions, Inc
US_20260066410_PA

Resumen de: US20260066410A1

A method for fabricating an electricity storage device includes: preparing a square case including a rectangular opening; preparing a sealing plate to be attached to the opening along an edge of the opening; preparing assembly of attaching the sealing plate to the opening of the case; and performing main welding of laser welding the case and the sealing plate over an entire circumference of a periphery of the sealing plate. In the main welding, laser welding over the entire circumference of the sealing plate is performed in at least four steps.

INGREDIENT FOR SECONDARY CELL SEPARATOR COATING MATERIAL, SECONDARY CELL SEPARATOR COATING MATERIAL, SECONDARY CELL SEPARATOR, AND SECONDARY CELL

NºPublicación:  US20260066463A1 05/03/2026
Solicitante: 
MITSUI CHEMICALS INC [JP]
MITSUI CHEMICALS, INC
US_20260066463_A1

Resumen de: US20260066463A1

An ingredient for a secondary cell separator coating material includes a resin which is a reaction product of a modified methylolmelamine condensation resin having an acid group and polyvinyl alcohol, or the modified methylolmelamine condensation resin having the acid group and the polyvinyl alcohol.

LITHIUM-ION SECONDARY BATTERY, AND METHOD OF PRODUCING LITHIUM-ION SECONDARY BATTERY

NºPublicación:  US20260066334A1 05/03/2026
Solicitante: 
TOYOTA JIDOSHA KK [JP]
TOYOTA JIDOSHA KABUSHIKI KAISHA
US_20260066334_PA

Resumen de: US20260066334A1

A lithium-ion secondary battery is a lithium-ion secondary battery including an electrode active material layer, in which the electrode active material layer contains an electrode active material and a binder, the average pore diameter of the electrode active material layer is 1.00 μm or less, and the porosity of the electrode active material layer is 8.8% or less.

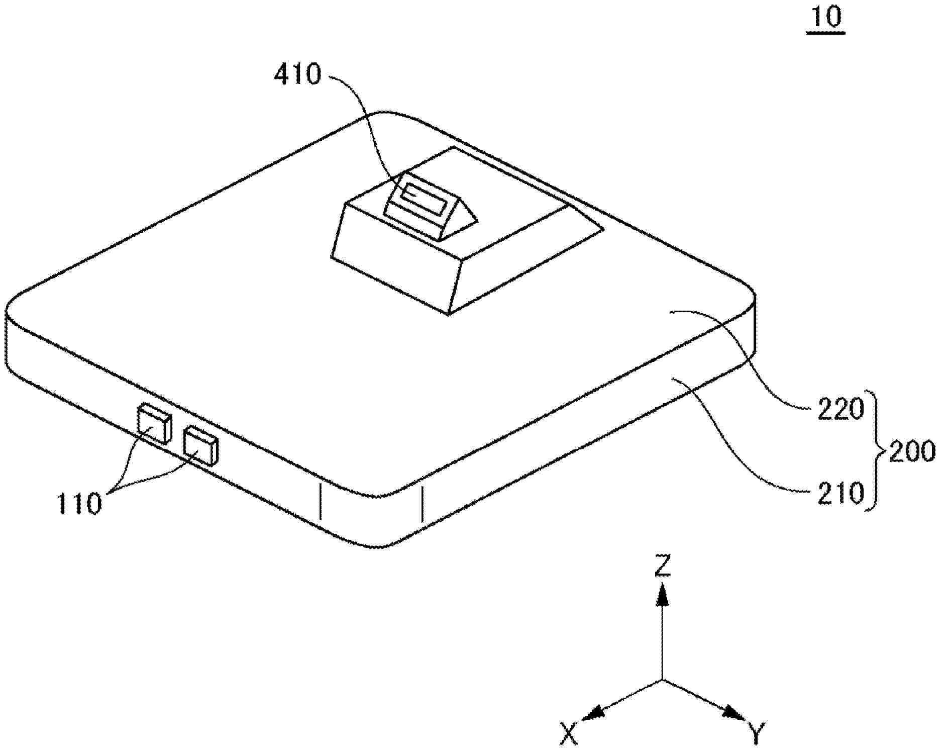
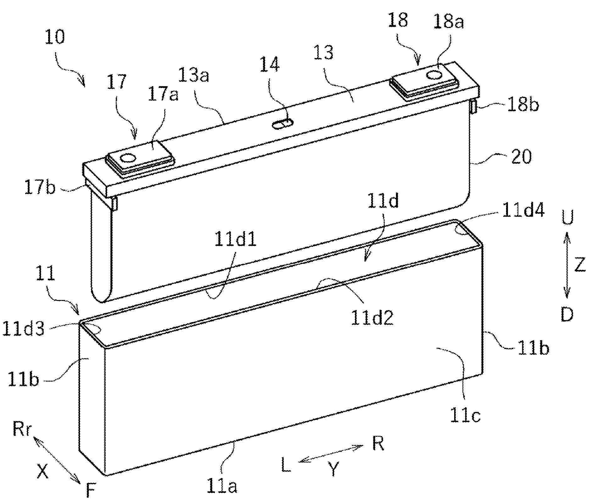
BATTERY PACK

NºPublicación:  US20260066366A1 05/03/2026
Solicitante: 
AESC JAPAN LTD [JP]
AESC Japan Ltd
US_20260066366_PA

Resumen de: US20260066366A1

A battery pack (10) includes a plurality of battery modules (100), an accommodation body (200) that defines an accommodation space (250) accommodating the plurality of battery modules (100), a lower bracket (310) and an upper bracket (320) overlapping in a plurality of stages with at least a portion of the accommodation space (250), and a disconnect switch (410) for disconnecting a circuit electrically connecting the battery modules (100) to each other and provided to the lower bracket (310) and the upper bracket (320).

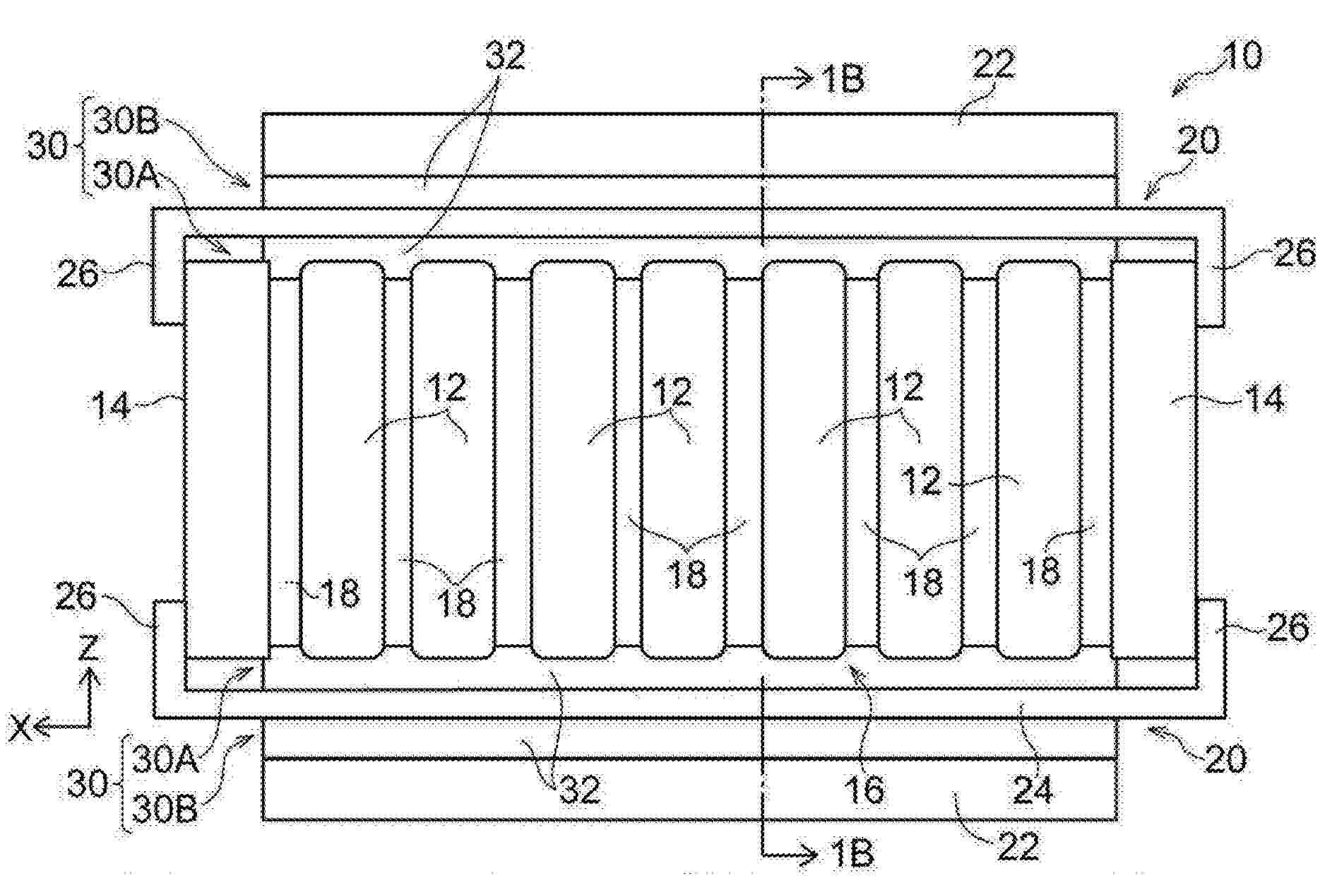
SOLID STATE BATTERY

NºPublicación:  US20260066355A1 05/03/2026
Solicitante: 
MURATA MFG CO LTD [JP]
Murata Manufacturing Co., Ltd
US_20260066355_PA

Resumen de: US20260066355A1

A solid state battery having: a laminated structure in which one or more positive electrode layers and one or more negative electrode layers are alternately laminated with a solid electrolytic layer interposed in between; a positive end face electrode on a first end face of the laminated structure; and a negative end face electrode on a second end face of the laminated structure, wherein (1) at least one of the one or more positive electrode layers has an end portion having a protruding shape protruding toward the positive end face electrode in a sectional view and electrically connected to the positive end face electrode, or (2) at least one of the one or more negative electrode layers has an end portion having a protruding shape protruding toward the negative end face electrode in the sectional view and electrically connected to the negative end face electrode.

BATTERY

NºPublicación:  US20260066304A1 05/03/2026
Solicitante: 
OHNO SANEYUKI [JP]
HUEBNER JAN FRYDERYK [JP]
ASAKURA RYO [JP]
SHIOTANI SHINYA [JP]
TOYOTA JIDOSHA KK [JP]
TOHOKU UNIV [JP]
OHNO Saneyuki,
Huebner Jan Fryderyk,
Asakura Ryo,
Shiotani Shinya,
TOYOTA JIDOSHA KABUSHIKI KAISHA,
TOHOKU UNIVERSITY
US_20260066304_PA

Resumen de: US20260066304A1

A battery with excellent cycle characteristics, the battery comprising a cathode layer, an electrolyte layer and an anode layer, wherein the cathode layer comprises a cathode active material and an add-in material; the cathode active material comprises a S element; the add-in material comprises a Cl element and at least one metal element selected from the group consisting of a Mn element, a Y element, a Sn element, a V element, a Nb element and a Ta element; and the add-in material is less than 10% by mass of the cathode layer.

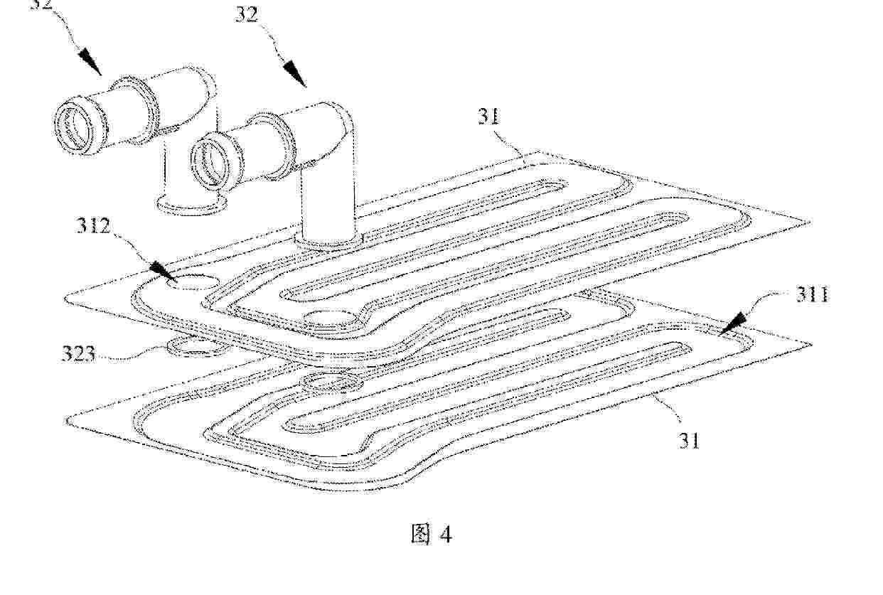
HEAT EXCHANGE ASSEMBLY, BATTERY APPARATUS, ELECTRIC DEVICE AND ENERGY STORAGE DEVICE

NºPublicación:  WO2026045376A1 05/03/2026
Solicitante: 
CONTEMPORARY AMPEREX TECH CO LIMITED [CN]
\u5B81\u5FB7\u65F6\u4EE3\u65B0\u80FD\u6E90\u79D1\u6280\u80A1\u4EFD\u6709\u9650\u516C\u53F8
WO_2026045376_PA

Resumen de: WO2026045376A1

Embodiments of the present disclosure provide a heat exchange assembly, a battery apparatus, an electric device, and an energy storage device. The battery apparatus comprises a case assembly, a battery cell assembly, and a heat exchange assembly. The battery cell assembly is arranged in the case assembly. The heat exchange assembly is used for heat exchange with the battery cell assembly. The heat exchange assembly comprises rigid connectors and at least two flexible members, wherein the at least two flexible members are stacked, a heat exchange flow channel is formed between the flexible members, and the heat exchange flow channel is used for conducting a heat exchange medium. Each rigid connector is provided with a connection channel, the rigid connectors are connected to the flexible members, and the connection channels are communicated with the heat exchange flow channel. The heat exchange assembly of the battery apparatus provided in the embodiments of the present disclosure can be communicated with the outside by means of the rigid connectors, thereby realizing heat exchange with the battery cell assembly; moreover, the energy density of the battery apparatus can be improved, and the degree of fit between the heat exchange assembly and the case assembly and/or the battery cell assembly can also be improved, thereby improving the heat exchange efficiency and heat exchange effect of the heat exchange assembly.

LITHIUM METAL BATTERY CELL AND PREPARATION METHOD THEREFOR, PREPARATION METHOD FOR POSITIVE ELECTRODE SHEET, BATTERY APPARATUS AND ELECTRICAL APPARATUS

NºPublicación:  WO2026045319A1 05/03/2026
Solicitante: 
CONTEMPORARY AMPEREX TECH CO LIMITED [CN]
\u5B81\u5FB7\u65F6\u4EE3\u65B0\u80FD\u6E90\u79D1\u6280\u80A1\u4EFD\u6709\u9650\u516C\u53F8
WO_2026045319_PA

Resumen de: WO2026045319A1

A lithium metal battery cell and a preparation method therefor, a preparation method for a positive electrode sheet, a battery apparatus and an electrical apparatus. The lithium metal battery cell comprises a lithium metal negative electrode sheet, an electrolyte and a positive electrode sheet; the positive electrode sheet comprises a positive electrode current collector and a positive electrode active material film layer provided on at least one side of the positive electrode current collector; the positive electrode active material film layer comprises a lithium-conducting binder, a lithium salt, and a liquid plasticizer; and the film-like liquid plasticizer is comprised between the positive electrode active material film layer and the electrolyte.

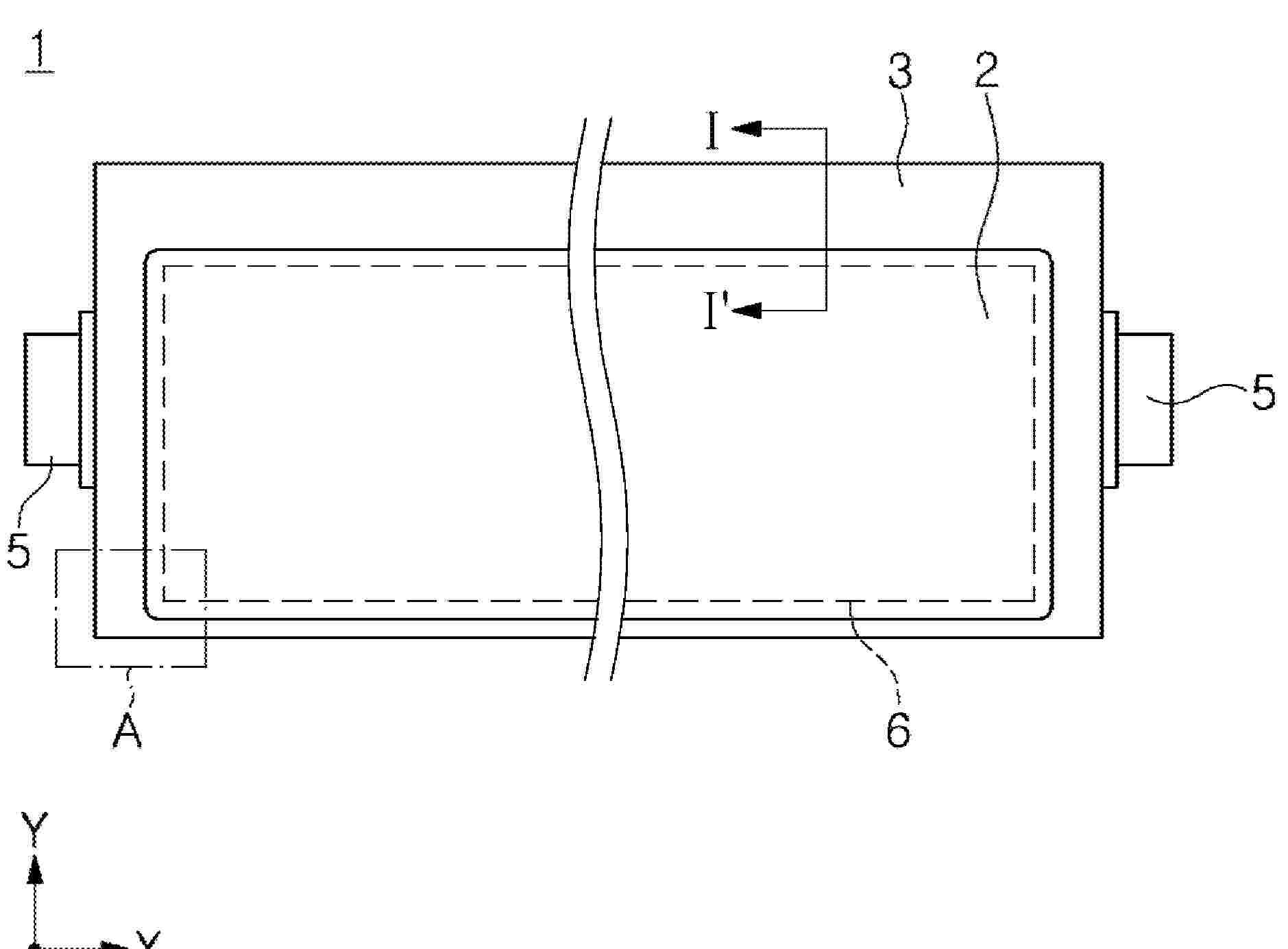
BATTERY CELL AND BATTERY PACK HAVING SAME, AND ELECTRIC DEVICE

NºPublicación:  WO2026045296A1 05/03/2026
Solicitante: 
BYD CO LTD [CN]
\u6BD4\u4E9A\u8FEA\u80A1\u4EFD\u6709\u9650\u516C\u53F8
WO_2026045296_PA

Resumen de: WO2026045296A1

A battery cell (100) and a battery pack having same, and an electric device. The battery cell (100) comprises a casing, a first terminal post (3), a second terminal post (4) and an electrical connector (5), wherein in a first direction, the first terminal post (3) and the second terminal post (4) are distributed at two ends of the casing; the electrical connector (5) is arranged on the casing; in the first direction, the electrical connector (5) and the second terminal post (4) are located at the same end of the casing; and the electrical connector (5) and the first terminal post (3) are electrically connected by means of an extension member (6) extending in the first direction in the casing.

POLYOL COMPOSITION AND PREPARATION METHOD THEREFOR, COMPOSITION FOR POLYURETHANE PREPARATION COMPRISING POLYOL COMPOSITION, AND BATTERY MODULE

NºPublicación:  US20260062510A1 05/03/2026
Solicitante: 
PUCORE CO LTD [KR]
PUCORE CO., LTD
US_20260062510_PA

Resumen de: US20260062510A1

A polyol composition, a composition for polyurethane preparation comprising the polyol composition, and a battery module according to the present invention comprise a compound represented by chemical formula 1 (see the description of the invention). In addition, the polyol composition according to the present invention comprises a first unit derived from at least one type of 1,4:3,6-dianhydrohexitol and a second unit derived from an alkylene oxide, and has a degree of unsaturation of 0.02 meq/g or less according to the following measurement method (see the description of the invention).

POSITIVE ELECTRODE ACTIVE MATERIAL FOR RECHARGEABLE LITHIUM BATTERY, AND METHOD FOR PREPARING THE SAME

NºPublicación:  US20260062317A1 05/03/2026
Solicitante: 
SAMSUNG SDI CO LTD [KR]
SAMSUNG SDI CO., LTD
US_20260062317_PA

Resumen de: US20260062317A1

Disclosed are a positive electrode active material for a rechargeable lithium battery and a method for preparing the same, a positive electrode active material including: a core particle comprising a lithium nickel-based composite oxide represented by Chemical Formula 11; and a coating layer located on a surface of the core particle and comprising one element or a combination thereof selected from the group consisting of Al, B, Ba, Ca, Ce, Co, Cr, Cu, Fe, Mg, Mn, Mo, Nb, Si, Sn, Sr, Ti, V, W, Y, Zn, and Zr, wherein the positive electrode active material has a value defined by Mathematical Formula 1 of greater than or equal to about 5.wherein, in Chemical Formula 11, 0.9≤a11≤1.2, 0.3≤x11<1, 0

METHOD FOR REMOVING BINDER FROM SPENT CATHODE ACTIVE MATERIAL

NºPublicación:  US20260062316A1 05/03/2026
Solicitante: 
NISSAN NORTH AMERICA INC [US]
MICHIGAN TECHNOLOGICAL UNIV [US]
NISSAN NORTH AMERICA, INC,
Michigan Technological University
US_20260062316_PA

Resumen de: US20260062316A1

A method is provided for removing a binder from a spent cathode active material. The method includes mixing the spent cathode active material with water to form a first mixture. The spent cathode active material includes cathode active material particles and the binder. The method further includes grinding the first mixture to separate the binder from the cathode active material particles, mixing the first mixture with a hydrocarbon liquid, agitating the hydrocarbon liquid and the first mixture and forming an oil phase and a water phase, and separating the oil phase from the water phase. The first mixture contains the cathode active material particles, the binder and the water. The oil phase contains the hydrocarbon liquid and the binder, and the water phase contains the cathode active material particles and the water.

ELECTROCHEMICAL WATER REMEDIATION TO REMOVE TRACE ORGANICS USING LITHIUM BATTERY CATHODE WASTE

NºPublicación:  US20260062321A1 05/03/2026
Solicitante: 
UCHICAGO ARGONNE LLC [US]
UCHICAGO ARGONNE, LLC
US_20260062321_PA

Resumen de: US20260062321A1

A method for electrochemical remediation of trace organic contaminants from water comprises pumping water containing a trace organic contaminant through an electrochemical cell comprising an anode and a cathode in circuit with a DC power source to apply an electric potential across the electrodes; wherein the anode contacts a catalyst for electrochemically degrading the trace organic contaminant; and the catalyst comprises a transition metal oxide (TMO) from waste lithium battery cathodes. An apparatus suitable for performing the method also is described.

PRISMATIC TYPE SECONDARY BATTERY AND MANUFACTURING METHOD THEREOF

NºPublicación:  US20260066400A1 05/03/2026
Solicitante: 
LG ELECTRONICS INC [KR]
LG ELECTRONICS INC
US_20260066400_PA

Resumen de: US20260066400A1

A prismatic type secondary battery includes an electrode assembly including an electrode tab, a pouch that accommodates the electrode assembly and includes a joint portion formed open at a location corresponding to the electrode tab, a prismatic can having one side open to accommodate the pouch, and a cap assembly including a metal current collector and inserted into the open side of the prismatic can, and in this case, the pouch includes the joint portion joined to the cap assembly while the electrode tab is connected to the metal current collector, and the prismatic type secondary battery improves the efficiency of an electrolyte injection process through a sealing structure in which a pouch accommodating an electrode assembly is inserted into a prismatic can and a joint portion of the pouch is joined to a cap assembly.

SECONDARY BATTERY AND METHOD FOR MANUFACTURING THE SAME

NºPublicación:  US20260066402A1 05/03/2026
Solicitante: 
SAMSUNG SDI CO LTD [KR]
SAMSUNG SDI CO., LTD
US_20260066402_PA

Resumen de: US20260066402A1

A secondary battery includes an electrode assembly including a first electrode, a second electrode, and a separator, an inner case including an upper opening of which a first surface is open, a lower opening of which a second surface facing the first surface is open, and a tubular inner sidewall surrounding the electrode assembly, an upper terminal plate joined to the upper opening and electrically coupled to the first electrode, a lower terminal plate joined to the lower opening and electrically coupled to the second electrode, and an outer case including a tubular outer sidewall surrounding the inner case, an upper part extending inwardly from the outer sidewall and joined to the upper terminal plate, and a lower part extending inwardly from the outer sidewall and joined to the lower terminal plate, wherein the inner case and the outer case include an insulating material.

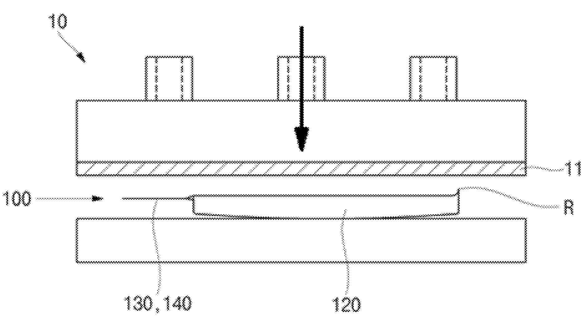
FOLDING PROCESSING APPARATUS FOR BATTERY CELL AND BATTERY CELL MANUFACTURING METHOD USING THE SAME

NºPublicación:  US20260066401A1 05/03/2026
Solicitante: 
SK ON CO LTD [KR]
SK ON CO., LTD
US_20260066401_PA

Resumen de: US20260066401A1

A folding processing apparatus for a battery cell includes a first guide member defining a first folding line on a first surface of a sealing portion of a battery cell, a second guide member defining a second folding line on the first surface of the sealing portion, a first bending member defining the first folding line on a second surface of the sealing portion and bending the sealing portion along the second folding line, and a second bending member bending the sealing portion by 180 degrees along the first folding line.

HIGH VOLTAGE COMPONENT PERIODIC CONDITIONING WAKEUP BASED ON REAL TIME WEATHER

NºPublicación:  US20260066398A1 05/03/2026
Solicitante: 
FCA US LLC [US]
FCA US LLC
US_20260066398_PA

Resumen de: US20260066398A1

A high voltage component temperature conditioning system for an electrified powertrain of an electrified vehicle includes a high voltage component, an ambient temperature sensor, a weather information controller, and a supervisory controller. The high voltage component generates a high voltage component status signal based on a status of the high voltage component. The ambient temperature sensor senses an ambient temperature and generates an ambient temperature signal indicative of the sensed ambient temperature. The weather information controller receives weather information and generates a weather signal indicative of the weather information. The supervisory controller: receives the ambient temperature signal and the weather signal; and calculates a next periodic wakeup timer based on the ambient temperature signal and the weather signal.

ELECTRODE PLATE, ELECTRODE BODY, AND BATTERY

NºPublicación:  US20260066356A1 05/03/2026
Solicitante: 
PANASONIC ENERGY CO LTD [JP]
Panasonic Energy Co., Ltd
US_20260066356_PA

Resumen de: US20260066356A1

A disclosed electrode plate includes: a band-shaped core body having a first principal surface and a second principal surface; and an active material layer formed on each of the first principal surface and the second principal surface. The core body includes a double-side coated part on which the active material layer is formed on each of the first principal surface and the second principal surface, and an exposed part provided continuously with the double-side coated part and on which the active material layer is not formed at least on the first principal surface. The first principal surface on the exposed part has an identification indication part formed thereon in a region within 90% of an area located toward a center in a width direction of the core body.

BATTERY PACK

NºPublicación:  US20260066382A1 05/03/2026
Solicitante: 
TOYOTA JIDOSHA KK [JP]
TOYOTA JIDOSHA KABUSHIKI KAISHA
US_20260066382_PA

Resumen de: US20260066382A1

A battery pack includes a battery stack and a band body that binds battery cells of the battery stack between the battery stack and a cooler that cools the battery cells. In the battery pack, a plurality of heat conductive sheets is provided between the battery cells and the band body and between the cooler and the band body. Between the battery cells and the band body, one end portion of each curved heat conductive sheet is brought into surface contact with and joined to the battery cells, and another end portion thereof is brought into surface contact with and joined to the band body. Thereby, even when a curve or the like arises on the band body and distances between the battery cells and the band body vary, since elastic deformation of the heat conductive sheets follows, deterioration of cooling efficiency for the stacked battery cells can be restrained.

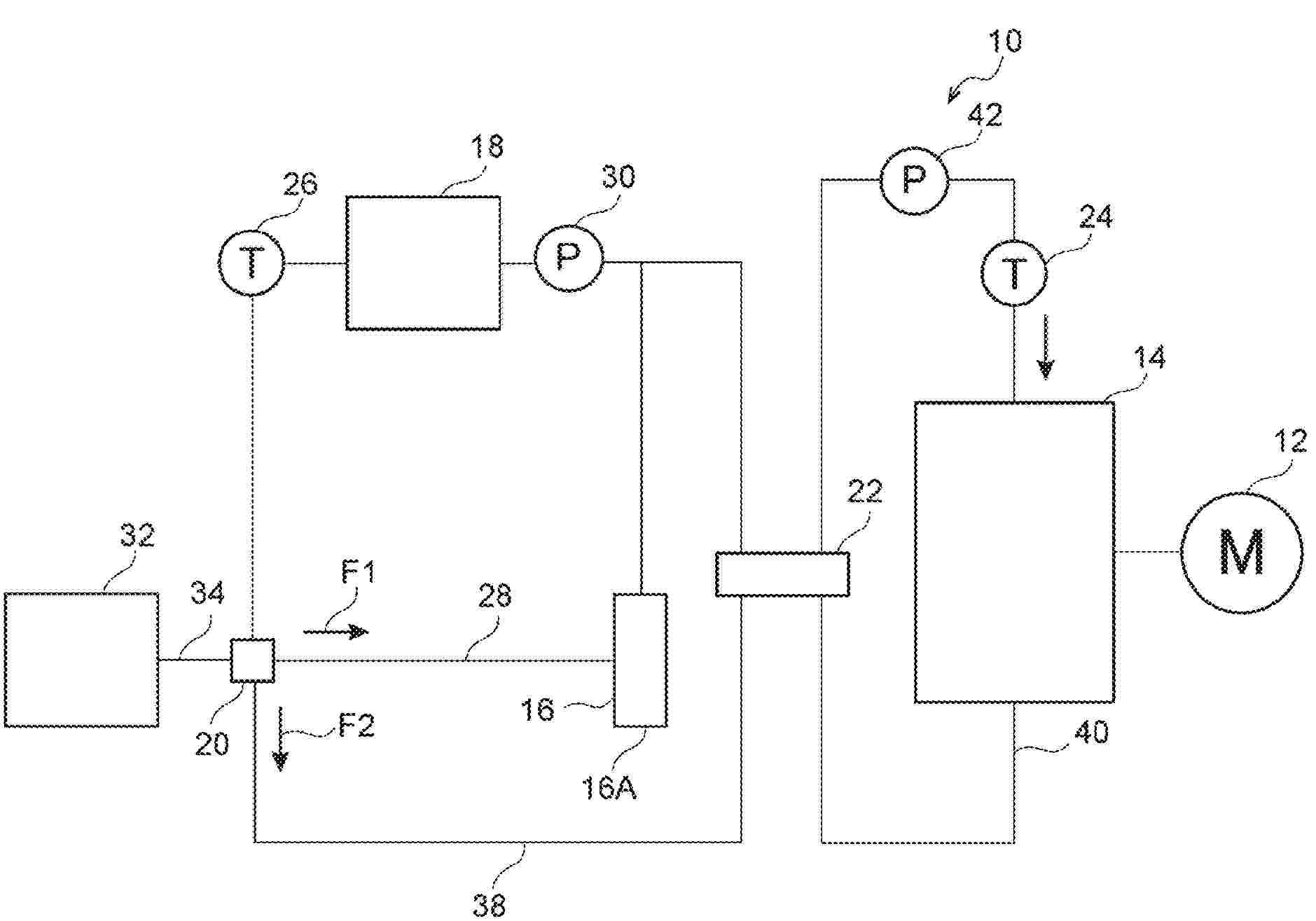
VEHICLE

NºPublicación:  US20260066376A1 05/03/2026
Solicitante: 
TOYOTA JIDOSHA KK [JP]
TOYOTA JIDOSHA KABUSHIKI KAISHA
US_20260066376_PA

Resumen de: US20260066376A1

The vehicle is provided with a circuit portion capable of transmitting thermal energy to the air conditioner by flowing the coolant warmed by the water heater to the air conditioner side, a circuit portion capable of transmitting thermal energy to the battery device side by flowing the coolant warmed by the water heater to the battery device side, and a flow rate adjusting valve capable of adjusting the flow rate of the coolant flowing to these circuit portions, and the control unit controls the flow rate adjusting valve, based on the measurement result of the first thermometer for the coolant flowing through the circuit portion to which the thermal energy is supplied from the circuit portion via the heat exchanger from the circuit portion, the state of the circuit portion and the circuit portion is determined.

POWER STORAGE DEVICE

NºPublicación:  US20260066385A1 05/03/2026
Solicitante: 
TOYOTA JIDOSHA KK [JP]
TOYOTA JIDOSHA KABUSHIKI KAISHA
US_20260066385_PA

Resumen de: US20260066385A1

A power storage device includes a plurality of power storage cells, a first heat conduction member, a second heat conduction member, a first connecting member, and a second connecting member. The first heat conduction member faces a portion on one side of a safety valve in a second direction. The second heat conduction member faces a portion on another side of the safety valve in the second direction. The first connecting member is provided between the valve mounting surface of each power storage cell disposed in odd-numbered positions from one end side power storage cell to another end side power storage cell, and the first heat conduction member. The second connecting member is provided between the valve mounting surface of each power storage cell disposed in even-numbered positions from the one end side power storage cell to the other end side power storage cell, and the second heat conduction member.

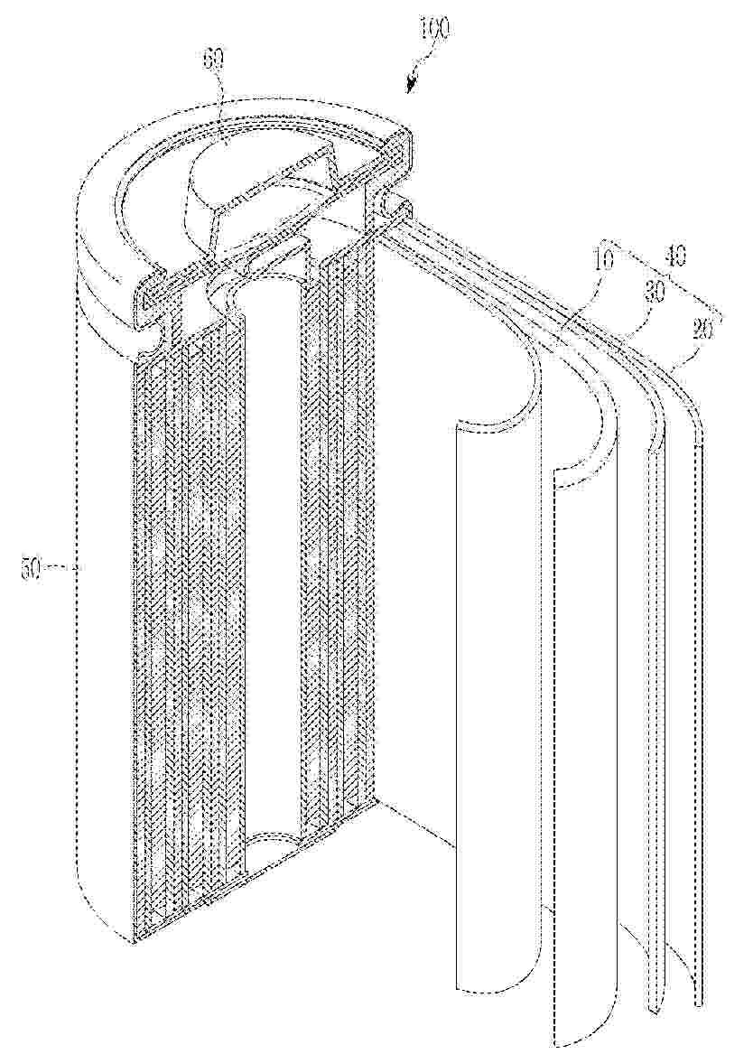
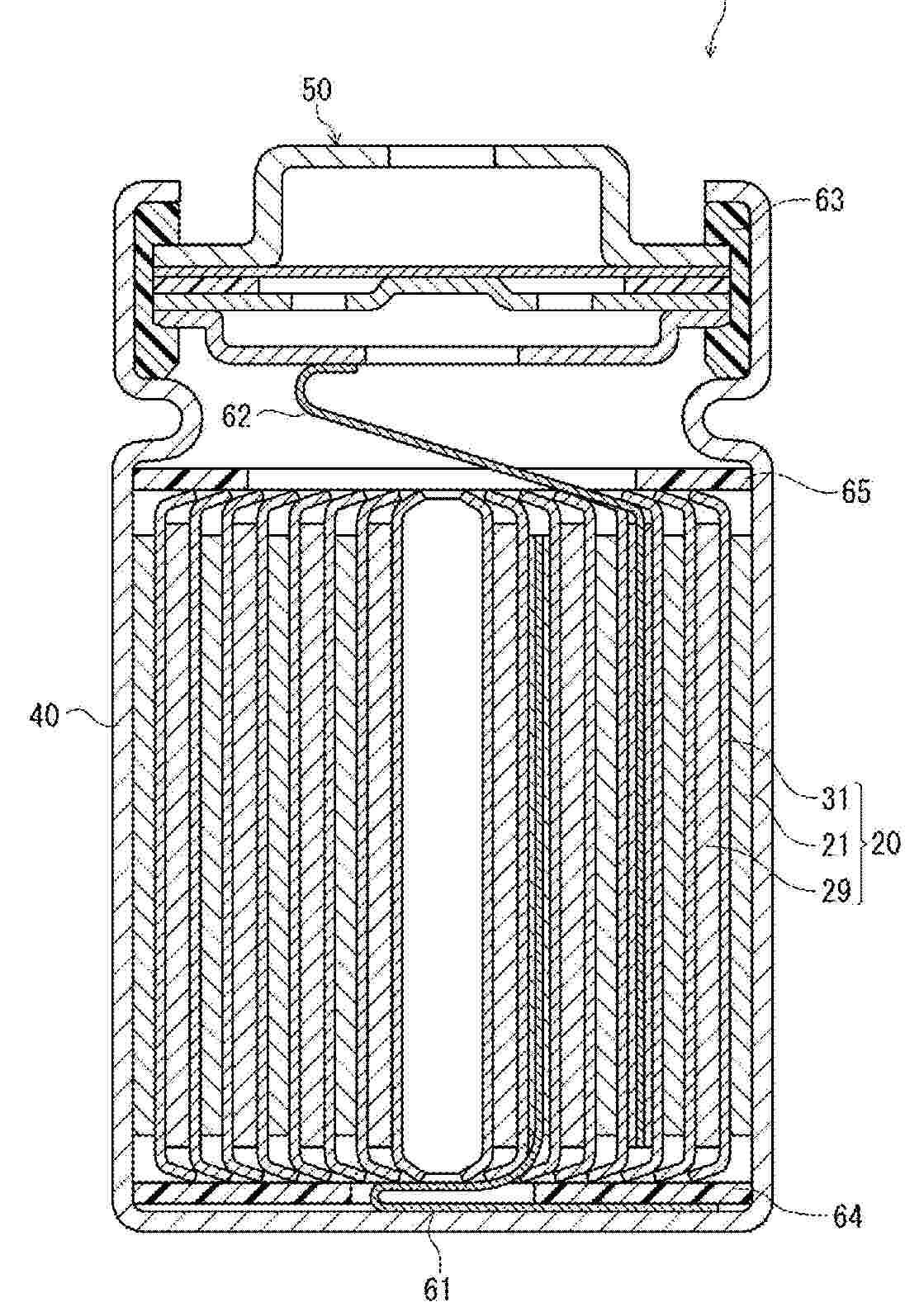
BATTERY AND BATTERY MANUFACTURING METHOD

NºPublicación:  US20260066380A1 05/03/2026
Solicitante: 
TOYOTA JIDOSHA KK [JP]
TOYOTA JIDOSHA KABUSHIKI KAISHA
US_20260066380_PA

Resumen de: US20260066380A1

A battery of the present disclosure has an electrode body, a case accommodating the electrode body, and a resin body electrically insulating the electrode body and the case. The electrode body includes a positive electrode current collector, a positive electrode active material layer, an electrolyte, a negative electrode active material layer and a negative electrode current collector. The case includes a metal tube having a first opening and a second opening, and covers that seal the first opening and the second opening respectively. The resin body includes plural concave regions extending from the first opening toward the second opening.

LITHIUM METAL BATTERY CELL AND PREPARATION METHOD THEREFOR, PREPARATION METHOD FOR POSITIVE ELECTRODE SHEET, BATTERY APPARATUS AND ELECTRICAL APPARATUS

Nº publicación: WO2026045320A1 05/03/2026

Solicitante:

CONTEMPORARY AMPEREX TECH CO LIMITED [CN]
\u5B81\u5FB7\u65F6\u4EE3\u65B0\u80FD\u6E90\u79D1\u6280\u80A1\u4EFD\u6709\u9650\u516C\u53F8

WO_2026045320_A1

Resumen de: WO2026045320A1

Provided are a lithium metal battery cell and a preparation method therefor, a preparation method for a positive electrode sheet, a battery apparatus and an electrical apparatus. The lithium metal battery cell comprises a lithium metal negative electrode sheet and a positive electrode sheet; the positive electrode sheet comprises a positive electrode current collector and a positive electrode active material film layer provided on at least one side of the positive electrode current collector; the positive electrode active material film layer comprises a lithium-conducting binder, a lithium salt and a plasticizer; the plasticizer is used for dissociating and/or dispersing the lithium salt; the plasticizer comprises one or more of a sulfone compound, a sulfonamide compound and an aromatic nitrile.

traducir