Ministerio de Industria, Turismo y Comercio LogoMinisterior
 

Alerta

Resultados 1532 resultados
LastUpdate Última actualización 18/03/2026 [07:26:00]
pdfxls
Publicaciones de los últimos 15 días/Last 15 days publications (excluidas pubs. CN y JP /CN and JP pubs. excluded)
previousPage Resultados 1000 a 1025 de 1532 nextPage  

Exfoliación electroquímica del grafito para la producción de escamas de grafeno

NºPublicación:  CO2025016199A2 05/03/2026
Solicitante: 
AVADAIN LLC [US]
AVADAIN, LLC
CN_121548552_PA

Resumen de: MX2025012739A

A method for producing graphene. The method includes loading an open-cell porous backbone material with particulate graphite, submersing at least part of the graphite-loaded porous backbone material in a solution, and applying a cathodic potential to the graphite-loaded porous backbone material, wherein the cathodic potential suffices to exfoliate graphene.

METHOD FOR MONITORING THE STATUS OF A PLURALITY OF BATTERY CELLS IN AN ENERGY STORAGE SYSTEM

NºPublicación:  US20260063730A1 05/03/2026
Solicitante: 
HITACHI ENERGY LTD [CH]
Hitachi Energy Ltd
US_20260063730_PA

Resumen de: US20260063730A1

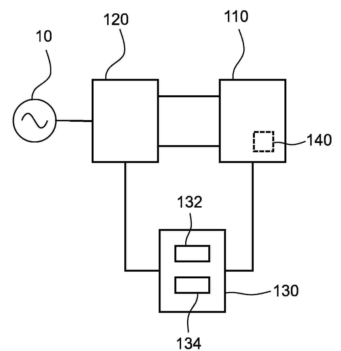
A method for monitoring a status of an energy storage system connected to a power converter is disclosed. The energy storage system comprises a plurality of interconnected energy storage cells, and the power converter is configured to output power from the energy storage system to a power transmission system and to charge the energy storage system with power from the power transmission system. The method comprises generating, by the power converter, an electrical signal injected into the energy storage system, measuring a response signal generated in response to the injected electrical signal, and determining a status of the energy storage system based on the received response signal.

ELECTRODE POSITION TRACKING SYSTEM

NºPublicación:  US20260066362A1 05/03/2026
Solicitante: 
LG ENERGY SOLUTION LTD [KR]
LG ENERGY SOLUTION, LTD
US_20260066362_PA

Resumen de: US20260066362A1

A systems and methods for tracking a position of an electrode. The system may include: a notching controller configured to store pitch information of a unit electrode and to acquire electrode coordinate information of the electrode in a roll-to-roll state during a notching process and a cell identification (ID) of the unit electrode; a calculator configured to calculate coordinates of the cell ID from the pitch information and the cell ID; a roll map generator configured to generate a roll map based on the electrode coordinate information transmitted from the notching controller; and a mapping part configured to compare the coordinates of the roll map with the coordinates of the cell ID to derive an electrode position of the electrode during the electrode manufacturing process from which the unit electrode originates.

ANODE, ALL-SOLID-STATE BATTERY INCLUDING THE SAME, AND METHOD OF PREPARING THE ALL-SOLID-STATE BATTERY

NºPublicación:  US20260066310A1 05/03/2026
Solicitante: 
SAMSUNG ELECTRONICS CO LTD [KR]
Samsung Electronics Co., Ltd
US_20260066310_PA

Resumen de: US20260066310A1

An anode, an all-solid-state battery including the anode, and a method of preparing the all-solid-state battery. The anode includes a three-dimensional (3D) porous current collector including a plurality of voids having a depth H and a radius R, the voids spaced apart from one another by interval P, and an insulator layer disposed on the interval between the plurality of voids; and an interlayer disposed on the 3D porous current collector. The plurality of voids provide provide space for lithium during charge, and provide lithium during discharge, where such voids are absent of lithium before charging or after complete discharge. The plurality of voids satisfy Expression 1:P≤H≤5⁢0⁢P.Expression⁢1

SECONDARY BATTERY AND MANUFACTURING METHOD THEREOF

NºPublicación:  US20260066311A1 05/03/2026
Solicitante: 
SAMSUNG SDI CO LTD [KR]
SAMSUNG SDI CO., LTD
US_20260066311_PA

Resumen de: US20260066311A1

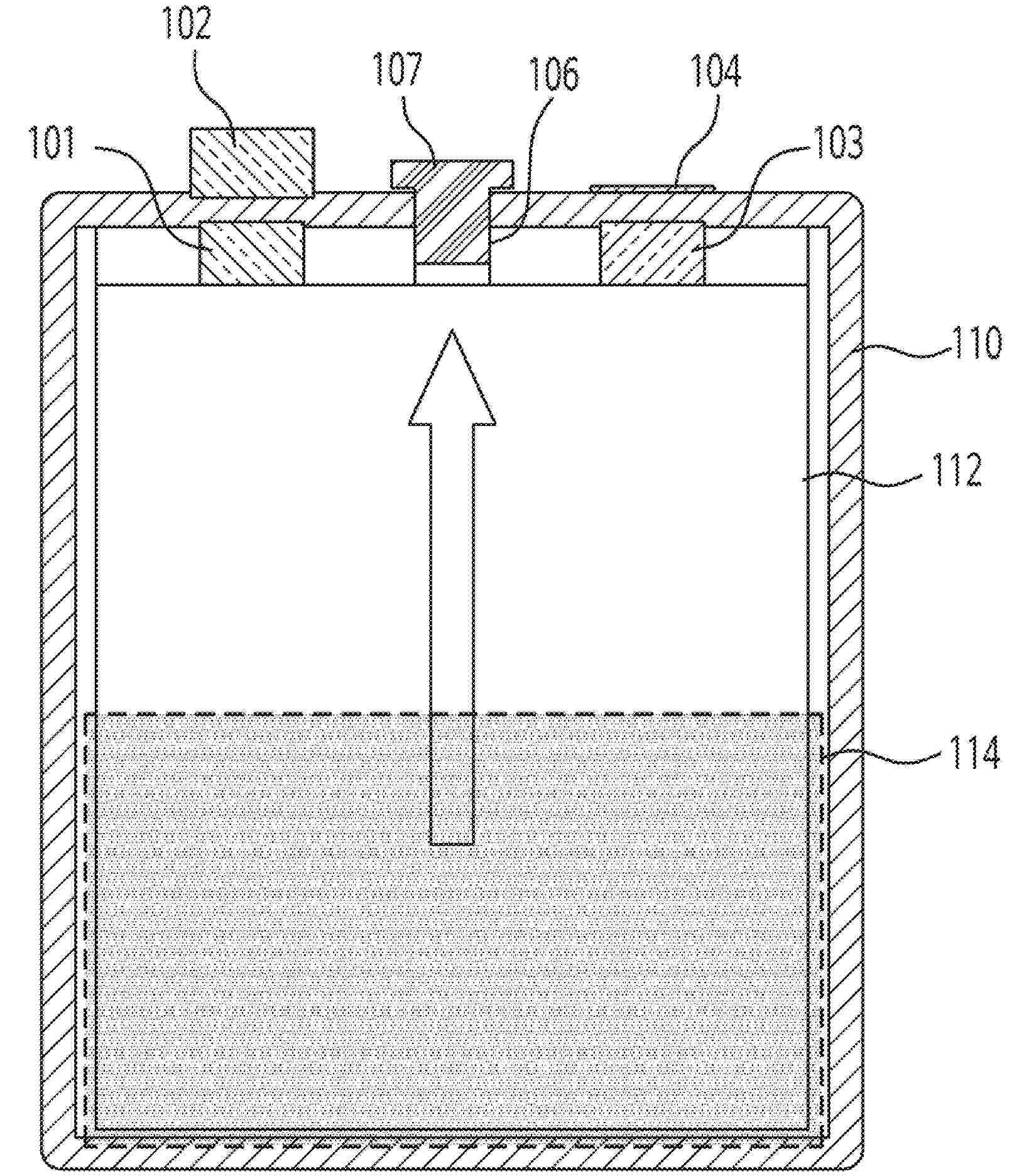
A secondary battery includes a can-type case accommodating an electrode assembly, an electrolyte inlet on a first end of the case, and configured to allow an electrolyte to be injected therethrough, a first thin film cover sealing the electrolyte inlet, and having a through-hole, and a second thin film cover sealing the electrolyte inlet and the through-hole, and located on the first thin film cover.

PRODUCTION OF ELECTRODE ASSEMBLIES

NºPublicación:  US20260066354A1 05/03/2026
Solicitante: 
ENOVIX CORP [US]
Enovix Corporation
US_20260066354_PA

Resumen de: US20260066354A1

Production of electrodes, electrode assemblies, electrode stacks, and batteries, is disclosed herein comprising merging webs, associated devices, methods, and control such as relating to battery manufacturing. The batteries can comprise electrochemical active material. The webs can comprise weakened tear features for delineation components of the electrodes, electrode assemblies, electrode stack, and for the batteries.

ANODE FOR SECONDARY BATTERY, MANUFACTURING METHOD THEREOF, AND LITHIUM SECONDARY BATTERY INCLUDING THE SAME

NºPublicación:  US20260066307A1 05/03/2026
Solicitante: 
SK ON CO LTD [KR]
SK ON CO., LTD
US_20260066307_PA

Resumen de: US20260066307A1

An anode for a secondary battery includes an anode current collector, an anode mixture layer disposed on at least one surface of the anode current collector and including an anode active material and an anode binder, and at least one gap that is open on a surface of the anode mixture layer and extends toward the anode current collector. An angle (θ) between the gap and a surface of the anode current collector is 70° to 110°. A method of manufacturing an anode for a secondary battery includes coating by applying an anode slurry containing an anode active material, a binder, and a magnetic material to at least one surface of an anode current collector, recovering the magnetic material contained in the anode slurry using a magnet spaced apart on the anode slurry, and drying the anode slurry and manufacturing an anode mixture layer.

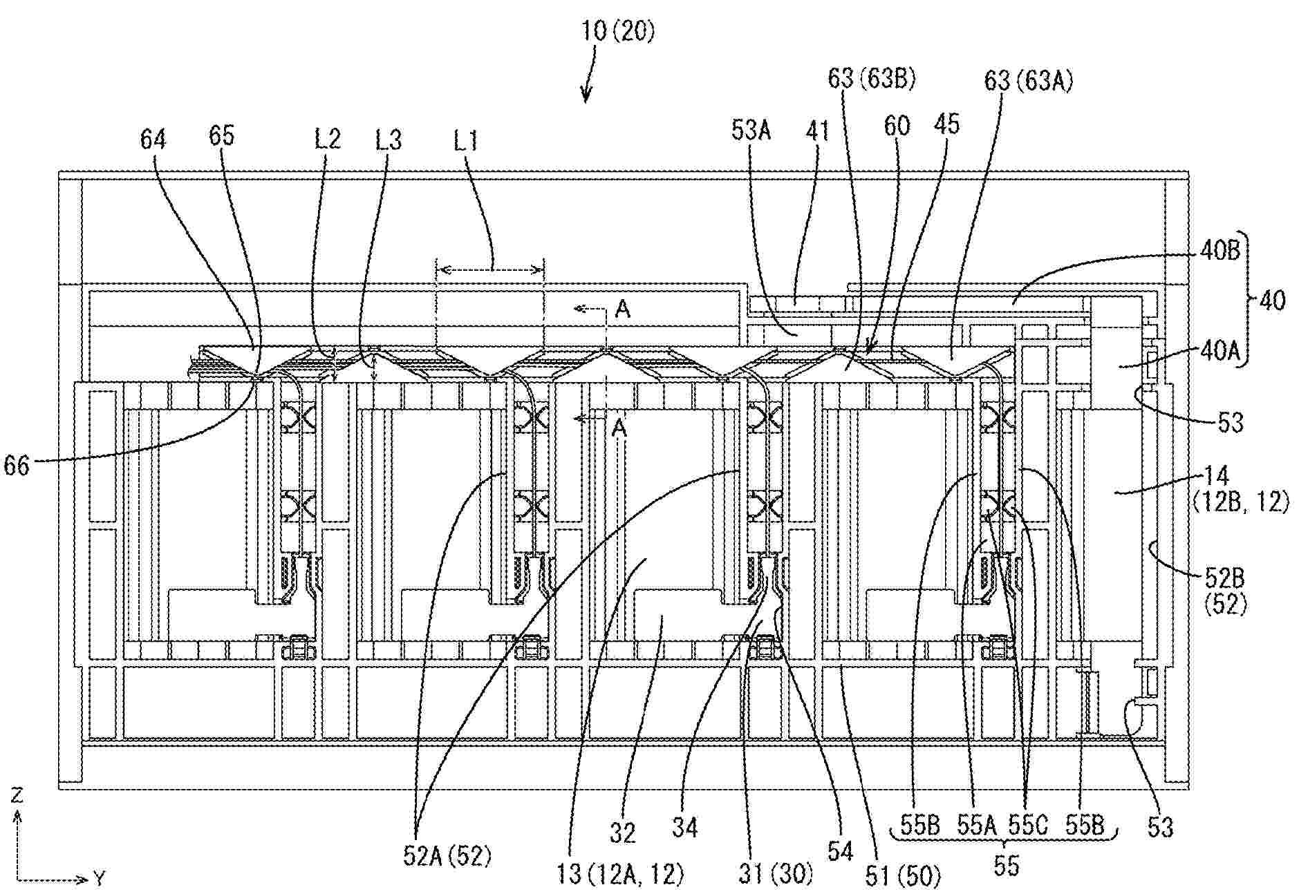
CONDUCTIVE MODULE

NºPublicación:  US20260066482A1 05/03/2026
Solicitante: 
YAZAKI CORP [JP]
Yazaki Corporation
US_20260066482_PA

Resumen de: US20260066482A1

A conductive module includes a bus bar that is physically and electrically connected to an electrode terminal of a battery cell, a flexible printed circuit that is molded in a rectangular shape extending in an arrangement direction of the plurality of battery cells, and electrically connects between a battery monitoring unit and the bus bar, and an electric wire for each of the bus bars that has flexibility and electrically connects the bus bar to the flexible printed circuit. The flexible printed circuit includes a circuit conductor for each of the bus bars that electrically connects the bus bar to the battery monitoring unit, and a pad portion for each of the bus bars that is provided adjacent to the bus bar and is electrically connected to the circuit conductor for the bus bar.

ALL SOLID BATTERY, PACKAGE COMPONENT AND MANUFACTURING METHOD OF ALL SOLID BATTERY

NºPublicación:  US20260066467A1 05/03/2026
Solicitante: 
TAIYO YUDEN CO LTD [JP]
TAIYO YUDEN CO., LTD
US_20260066467_PA

Resumen de: US20260066467A1

An all solid battery includes a multilayer body having a substantially rectangular parallelepiped shape, in which a first electrode layer including a first electrode and a first margin portion and a second electrode layer including a second electrode different from the first electrode and a second margin portion are stacked in multiple layers with a solid electrolyte layer sandwiched therebetween. Among four side faces other than an upper face and a lower face at ends of the multilayer body in a stacking direction, the first margin portion is arranged so as to be exposed to first two side faces facing each other, the first electrode is extended to second two side faces other than the first two side faces, the second margin portion is arranged so as to be exposed to the second two side faces, and the second electrode is extended to the first two side faces.

WIRING MODULE

NºPublicación:  US20260066477A1 05/03/2026
Solicitante: 
AUTONETWORKS TECH LTD [JP]
SUMITOMO WIRING SYSTEMS LTD [JP]
SUMITOMO ELECTRIC IND LTD [JP]
AESC JAPAN LTD [JP]
AUTONETWORKS TECHNOLOGIES, LTD,
SUMITOMO WIRING SYSTEMS, LTD,
SUMITOMO ELECTRIC INDUSTRIES, LTD,
AESC JAPAN LTD
US_20260066477_PA

Resumen de: US20260066477A1

A wiring module is to be coupled to a battery stack member including power storage elements that have electrode terminals and are stacked. The wiring module includes an electric wire and a protector including an electric wire housing portion that has a groove shape extending in a first direction and in which the electric wire is arranged. The electric wire housing portion includes a bottom wall, a pair of side walls that extend upward from two side edges of the bottom wall and that are opposite each other in a second direction that is perpendicular to the first direction, and at least one stopper piece that extends from one of the pair of side walls toward other one of the pair of side walls and with which the electric wire is less likely to be out of the electric wire housing portion.

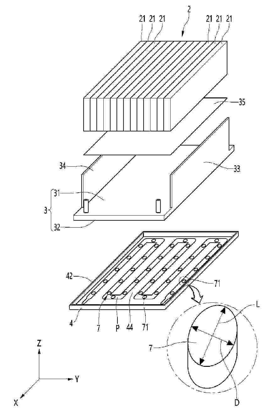
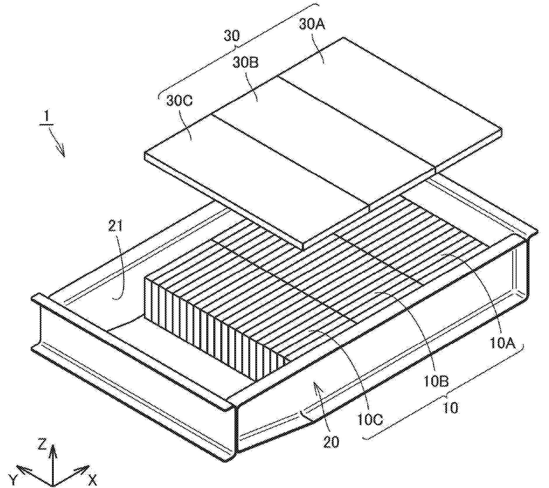
BATTERY AND MULTILAYER STRUCTURE FOR BATTERIES

NºPublicación:  US20260066466A1 05/03/2026
Solicitante: 
MITSUI MINING & SMELTING CO LTD [JP]
MITSUI MINING & SMELTING CO., LTD
US_20260066466_PA

Resumen de: US20260066466A1

A battery including a self-supporting laminate structure is provided. The laminate structure includes a solid electrolyte sheet containing a solid electrolyte, a first active material layer containing a first active material on one major surface of the solid electrolyte sheet, and a second active material layer containing a second active material on the other major surface of the solid electrolyte sheet. The solid electrolyte sheet preferably has a first extending portion extending outwardly from the periphery of the first active material layer or, a second extending portion extending outwardly from the periphery of the second active material layer.

BATTERY ASSEMBLY AND BATTERY PACK

NºPublicación:  US20260066479A1 05/03/2026
Solicitante: 
PRIME PLANET ENERGY & SOLUTIONS INC [JP]
Prime Planet Energy & Solutions, Inc
US_20260066479_PA

Resumen de: US20260066479A1

A battery assembly includes: a stack including a plurality of battery cells arranged side by side in a first direction; a bus bar module provided on the stack; and a fitting member fitted to an end portion of a housing of at least one of the plurality of battery cells in a second direction orthogonal to the first direction. The fitting member has an engagement portion, and the engagement portion is engaged with the bus bar module so as to position the bus bar module with respect to the stack at least in the first direction.

HEAT EXCHANGE ASSEMBLY, BATTERY APPARATUS, ELECTRIC DEVICE, AND ENERGY STORAGE DEVICE

NºPublicación:  WO2026045382A1 05/03/2026
Solicitante: 
CONTEMPORARY AMPEREX TECH CO LIMITED [CN]
\u5B81\u5FB7\u65F6\u4EE3\u65B0\u80FD\u6E90\u79D1\u6280\u80A1\u4EFD\u6709\u9650\u516C\u53F8
WO_2026045382_PA

Resumen de: WO2026045382A1

Provided in the embodiments of the present disclosure are a heat exchange assembly, a battery apparatus, an electric device, and an energy storage device. The battery apparatus comprises a case assembly, a battery cell assembly, and a heat exchange assembly. The interior of the case assembly has a first accommodating cavity. The battery cell assembly is disposed in the first accommodating cavity. The heat exchange assembly is used for exchanging heat with the battery cell assembly. The heat exchange assembly comprises a heat exchange layer and a temperature equalization layer, and the heat exchange layer uniformly exchanges heat with the battery cell assembly by means of the temperature equalization layer. In the battery apparatus provided in the embodiments of the present disclosure, the heat exchange assembly is configured to comprise the heat exchange layer and the temperature equalization layer, and the heat exchange layer uniformly exchanges heat with the battery cell assembly by means of the temperature equalization layer. That is, a heat exchange medium in a medium flow channel of the heat exchange layer may first exchange heat with the temperature equalization layer, and the temperature equalization layer equalizes heat and then exchanges heat with the battery apparatus. In this way, differences in temperature between different regions of the battery apparatus can be adjusted to a certain extent, thereby improving the thermal management performance and temperature uni

HEAT EXCHANGE UNIT, BATTERY APPARATUS, ELECTRIC DEVICE, AND ENERGY STORAGE DEVICE

NºPublicación:  WO2026045386A1 05/03/2026
Solicitante: 
CONTEMPORARY AMPEREX TECH CO LIMITED [CN]
\u5B81\u5FB7\u65F6\u4EE3\u65B0\u80FD\u6E90\u79D1\u6280\u80A1\u4EFD\u6709\u9650\u516C\u53F8
WO_2026045386_PA

Resumen de: WO2026045386A1

The embodiments of the present disclosure provide a heat exchange unit, a battery apparatus, an electric device, and an energy storage device. The battery apparatus comprises a casing assembly, a battery cell assembly, a heat exchange unit, and an adjustment assembly. The casing assembly is internally provided with a first accommodating cavity. The battery cell assembly is disposed within the first accommodating cavity. The heat exchange unit is configured for exchanging heat with the battery cell assembly. The heat exchange unit comprises a flexible heat exchange unit, wherein the flexible heat exchange unit is provided with at least one flexible flow channel portion, and the flexible flow channel portion forms a heat exchange flow channel. The adjustment assembly presses the flexible flow channel portion so as to adjust a flow channel cross-sectional area of the at least one heat exchange flow channel.

POWER SUPPLY APPARATUS, CHARGING METHOD, ELECTRONIC DEVICE, CHIP SYSTEM AND STORAGE MEDIUM

NºPublicación:  WO2026045374A1 05/03/2026
Solicitante: 
HONOR DEVICE CO LTD [CN]
\u8363\u8000\u7EC8\u7AEF\u80A1\u4EFD\u6709\u9650\u516C\u53F8
WO_2026045374_PA

Resumen de: WO2026045374A1

The present application relates to the technical field of terminals. Provided in the embodiments are a power supply apparatus, a charging method, an electronic device, a chip system and a storage medium. The power supply apparatus comprises at least one first-type voltage conversion unit, a register, at least one first-type power supply interface and at least one second-type power supply interface. Any first-type power supply interface is connected to any first-type voltage conversion unit, so as to transmit to a first-type electrical device an output voltage of the first-type voltage conversion unit. The first-type electrical device comprises a peripheral device. The second-type power supply interface is connected to a charger or a battery unit of the power supply apparatus, so as to transmit Vsys to an external LDO. The turning on, voltage output and turning off of the first-type voltage conversion unit are all performed according to parameters that are preset in the register for the first-type voltage conversion unit, rather than being controlled by an MCU. Thus, the likelihood of power failure of peripheral devices can be reduced.

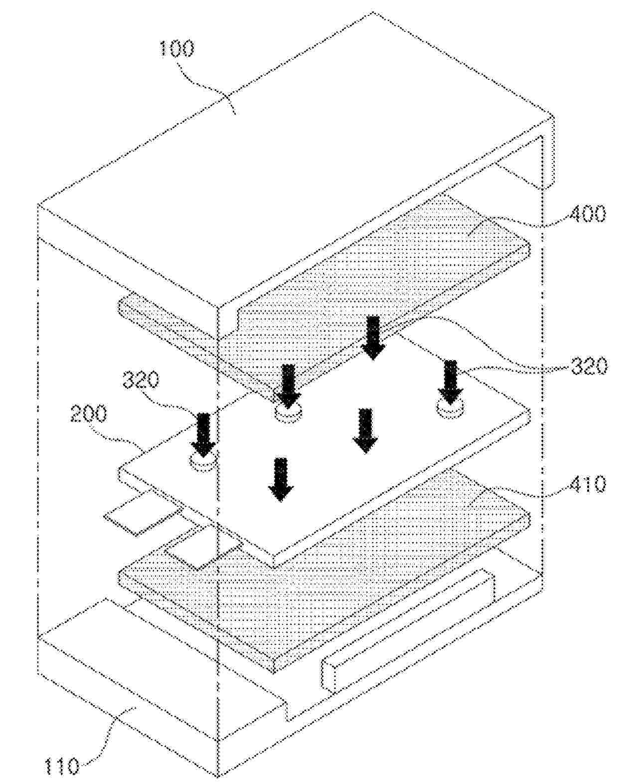
SENSING ASSEMBLY AND MANUFACTURING METHOD OF BATTERY CELL STACK

NºPublicación:  US20260063731A1 05/03/2026
Solicitante: 
HYUNDAI MOBIS CO LTD [KR]
HYUNDAI MOBIS CO., LTD
US_20260063731_PA

Resumen de: US20260063731A1

A sensing assembly includes a plurality of busbars and a plurality of sensing frames arranged along a first direction to support the plurality of busbars. The sensing frames includes a middle sensing frame and an outer sensing frame disposed on a first side of the middle sensing frame along the first direction. The middle sensing frame includes: a first peripheral surface facing toward one side in the first direction; a second peripheral surface disposed on an opposite side to the first peripheral surface and facing toward an opposite side in the first direction; a support surface connected with the second peripheral surface and facing toward one side in a second direction crossing the first direction; a guide protrusion protruding from the first peripheral surface toward the one side in the first direction; and a guide groove disposed where the support surface and the second peripheral surface are connected.

SYSTEMS AND METHODS FOR DETERMINING DEGRADATION OF BATTERIES

NºPublicación:  US20260063727A1 05/03/2026
Solicitante: 
LG ENERGY SOLUTION LTD [KR]
LG ENERGY SOLUTION, LTD
US_20260063727_PA

Resumen de: US20260063727A1

Systems and methods for estimating battery degradation of a battery energy storage system (BESS) are disclosed. An iterative process is executed over a pre-defined time period divided into iterations. For each iteration, an average temperature of the BESS is determined by inputting a state of health (SOH) and charge rate into an average temperature look-up-table (LUT). The SOH for the next iteration is determined by inputting the determined average temperature into a set of cell degradation equations. The charge rate for the next iteration is derived from a usage profile which defines the charging and discharging cycles over the pre-defined time period and includes power and SOC over the pre-defined time period. The SOH of the BESS over the pre-defined time period may then be displayed on a user interface.

ULTRASONIC WELDING DEVICE

NºPublicación:  US20260061514A1 05/03/2026
Solicitante: 
SAMSUNG SDI CO LTD [KR]
SAMSUNG SDI CO., LTD
US_20260061514_PA

Resumen de: US20260061514A1

An ultrasonic welding device includes an anvil configured to support a lower portion of a welding target, and a welding horn above the anvil, the welding target being between the welding horn and the anvil, and the welding horn including a body, a head at a first end of the body, and movable welding knurls on a surface of the head.

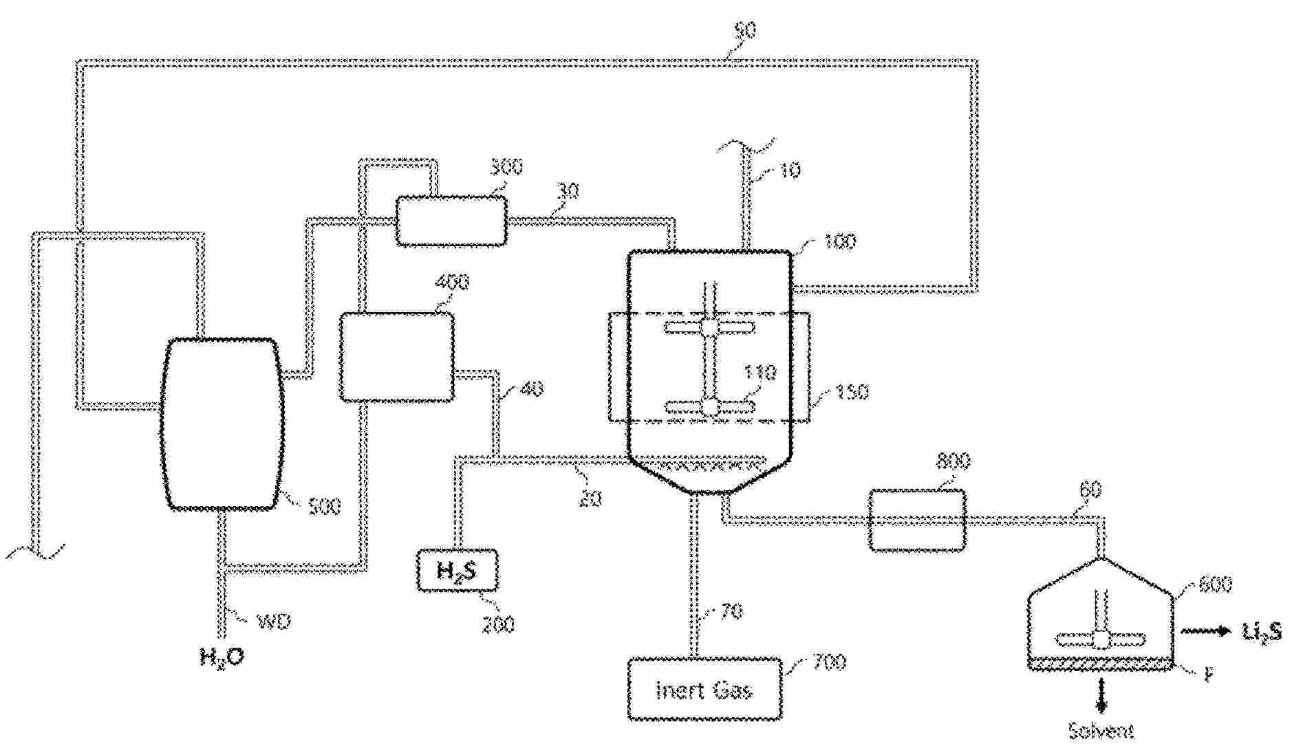
MASS PRODUCTION APPARATUS FOR HIGH-PURITY LITHIUM SULFIDE

NºPublicación:  US20260061385A1 05/03/2026
Solicitante: 
LAKE TECH LTD [KR]
LAKE TECHNOLOGY., LTD
US_20260061385_PA

Resumen de: US20260061385A1

When producing lithium sulfide by a reaction between a lithium raw material and hydrogen sulfide, the reaction is performed under relatively mild conditions compared to the conventional technology, so frequent repairs or replacements due to corrosion and breakdown of reactors and piping are not required, thereby improving the economic efficiency of the process. Since unreacted hydrogen sulfide and a solvent from which moisture has been removed are reused, process costs are reduced so that economic feasibility in mass production is ensured. Furthermore, moisture and water vapor generated in a lithium sulfide production reaction are effectively removed to prevent a reverse reaction into lithium hydroxide and promote a forward reaction so that high-quality lithium sulfide can be produced with high purity and high yield. In addition, particle size may be controlled in the micrometer range without a separate crushing space or crushing stage, thereby providing excellent convenience and mass production.

SYSTEM AND METHOD FOR DEGRADATION BASED BATTERY CONTROL

NºPublicación:  US20260063728A1 05/03/2026
Solicitante: 
ZITARA TECH INC [US]
Zitara Technologies, Inc
US_20260063728_PA

Resumen de: US20260063728A1

A method can include receiving battery sensor measurements, determining a state of the battery (e.g., SoH, SoC, SoE, SoP, etc. or information correlated therewith such as internal resistance, open circuit voltage, etc.), estimating an aging profile or degradation of the battery for one or more operating conditions, and determining operating conditions for the battery based on the estimated degradation.

CATHODE FOR SECONDARY BATTERY AND LITHIUM SECONDARY BATTERY INCLUDING THE SAME

NºPublicación:  US20260066302A1 05/03/2026
Solicitante: 
SK ON CO LTD [KR]
SK ON CO., LTD
US_20260066302_PA

Resumen de: US20260066302A1

A cathode for a secondary battery according to embodiments of the present disclosure includes a cathode current collector and a cathode active material layer, and the cathode active material layer includes a cathode active material and a binder. The cathode active material includes first particles including lithium iron phosphate. The binder includes a first fluorine-based polymer and a second fluorine-based polymer having a hydrophilic functional group bound to the first fluorine-based polymer.

SILICON-BASED ENERGY STORAGE DEVICES WITH CYCLIC CARBONATE CONTAINING ELECTROLYTE ADDITIVES

NºPublicación:  US20260066350A1 05/03/2026
Solicitante: 
ENEVATE CORP [US]
Enevate Corporation
US_20260066350_PA

Resumen de: US20260066350A1

Electrolytes and electrolyte additives for use in energy storage devices, comprising cyclic carbonate compounds.

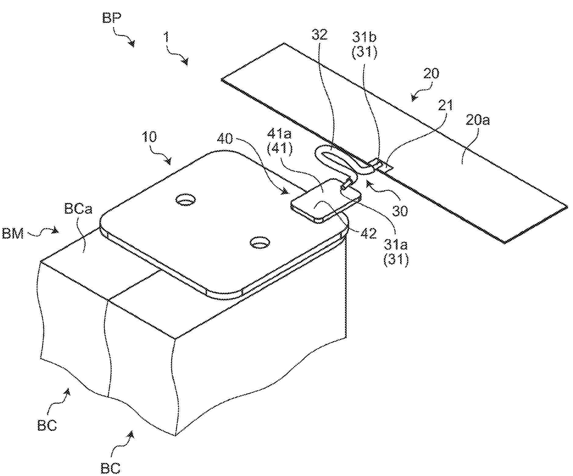
SECONDARY BATTERY

NºPublicación:  US20260066361A1 05/03/2026
Solicitante: 
SAMSUNG SDI CO LTD [KR]
Samsung SDI Co., Ltd
US_20260066361_PA

Resumen de: US20260066361A1

A secondary battery, includes an electrode assembly including a first electrode plate, a second electrode plate, and a separator wherein the electrode assembly is wound; a can for accommodating the electrode assembly and an electrolyte; a finishing tape including a film layer comprising a nylon material and an adhesive layer for attaching the film layer to the electrode assembly, wherein the finishing tape at least partially surrounds the electrode assembly; and a cap assembly that seals the can.

ELECTRODE WETTING APPARATUS

NºPublicación:  US20260066352A1 05/03/2026
Solicitante: 
SAMSUNG SDI CO LTD [KR]
SAMSUNG SDI CO., LTD
US_20260066352_PA

Resumen de: US20260066352A1

An electrolyte wetting apparatus includes a first mold configured to wrap a case of a secondary battery, an interior of the case accommodating an electrode assembly and an electrolyte that impregnates the electrode assembly; a magnetorheological fluid configured to wrap the first mold; and a magnetic field application device configured to apply a time-varying magnetic field to the magnetorheological fluid so that the secondary battery vibrates.

SYSTEMS AND METHODS FOR LITHIUM METAL DEPOSITION

Nº publicación: US20260066338A1 05/03/2026

Solicitante:

PURE LITHIUM CORP [US]
Pure Lithium Corporation

US_20260066338_PA

Resumen de: US20260066338A1

Provided are a conformable polymer coated lithium metal electrode, a solid electrolyte, and an inorganic molten salt electrolyte for a rechargeable lithium metal battery. Systems and methods are also provided for controlling the electroplating of lithium metal onto negative electrodes to allow for more rapid recharging of lithium metal batteries while minimizing dendrite formation.

traducir