Ministerio de Industria, Turismo y Comercio LogoMinisterior
 

Alerta

Resultados 1603 resultados
LastUpdate Última actualización 10/11/2025 [07:13:00]
pdfxls
Publicaciones de los últimos 15 días/Last 15 days publications (excluidas pubs. CN y JP /CN and JP pubs. excluded)
previousPage Resultados 1125 a 1150 de 1603 nextPage  

Negative Electrode for Secondary Battery, and Secondary Battery Including Same

NºPublicación:  US2025336972A1 30/10/2025
Solicitante: 
SK ON CO LTD [KR]
SK On Co., Ltd
US_2025336972_A1

Resumen de: US2025336972A1

A negative electrode for a secondary battery includes: a current collector; a first negative electrode active material layer formed on the current collector and containing a first active material; and a second negative electrode active material layer formed on the first negative electrode active material layer and containing a second active material. The second active material is a bimodal active material including small particles and large particles having different particle sizes, a particle size (D2) of the second active material is smaller than a particle size (D1) of the first active material, and the particle size of the second active material is an average particle size of the small particles and the large particles.

POSITIVE ELECTRODE AND RECHARGEABLE LITHIUM BATTERY INCLUDING THE POSITIVE ELECTRODE

NºPublicación:  US2025336968A1 30/10/2025
Solicitante: 
SAMSUNG SDI CO LTD [KR]
SAMSUNG SDI CO., LTD
US_2025336968_PA

Resumen de: US2025336968A1

A positive electrode for a rechargeable lithium includes a current collector. A first active material layer is provided on the current collector, and the first active material layer includes first particles, second particles, a first binder, and a first conductive material. A second active material layer is provided on the first active material layer, and the second active material layer includes third particles, a second binder, and a second conductive material. The first particles contain an olivine structured compound, the second particles contain a layered compound, the third particles contain an olivine structured compound, the first particles are single particles, and the first particles have an average diameter of about 100 nm to about 2 μm. The first active material layer and the second active material layer have a cobalt (Co) content of less than about 100 ppm. An average diameter of the second particles is greater than the average diameter of the first particles. The third particles are single particles, and the third particle have an average diameter of about 100 nm to about 2 μm.

POSITIVE ELECTRODE AND RECHARGEABLE LITHIUM BATTERY INCLUDING THE POSITIVE ELECTRODE

NºPublicación:  US2025336969A1 30/10/2025
Solicitante: 
SAMSUNG SDI CO LTD [KR]
SAMSUNG SDI CO., LTD
US_2025336969_PA

Resumen de: US2025336969A1

A positive electrode for a rechargeable lithium battery includes a current collector, a first active material layer on the current collector, with the including first particles, second particles, a first binder, and a first conductive material. The positive electrode also includes a second active material layer on the first active material layer, the second active material layer including third particles, a second binder, and a second conductive material. The first particles are an olivine structured compound, the second particles are a layered compound, the third particles are an olivine structured compound. The first particle includes a plurality of first primary particles aggregated together, the first particles have an average diameter of about 3 μm to about 10 μm, and the first primary particles have an average diameter of about 200 nm or less. The third particles are single particles, and the third particles have an average particle diameter of about 100 nm to about 2 μm.

POSITIVE ELECTRODE ACTIVE MATERIAL FOR RECHARGEABLE LITHIUM BATTERY, POSITIVE ELECTRODE INCLUDING THE SAME, AND RECHARGEABLE LITHIUM BATTERY INCLUDING THE SAME

NºPublicación:  US2025336965A1 30/10/2025
Solicitante: 
SAMSUNG SDI CO LTD [KR]
SAMSUNG SDI CO., LTD
US_2025336965_PA

Resumen de: US2025336965A1

A positive electrode for a rechargeable lithium battery and a rechargeable lithium battery including the positive electrode are provided. The positive electrode includes a current collector, a first positive electrode active material layer on the current collector, and a second positive electrode active material layer on the first positive electrode active material layer. The first active material layer includes a first particle represented by Formula 1 and having the form of a single particle, and a second particle represented by Formula 2. The second positive electrode active material layer includes a third particle represented by Formula 3 and having the form of a single particle. The first particle is present in a greater content (e.g., amount) than the second particle.

MICROSPHERE-CONTAINING SILICONE FOAM COMPOSITES AND METHODS OF MAKING THEM

NºPublicación:  WO2025224511A1 30/10/2025
Solicitante: 
3M INNOVATIVE PROPERTIES COMPANY [US]
3M INNOVATIVE PROPERTIES COMPANY
WO_2025224511_PA

Resumen de: WO2025224511A1

A foamed silicone comprising hollow inorganic microspheres and a plurality of gas fdled cavities surrounded by a cured silicone resin is described. The foamed silicone is the addition-cured product of at least one first poly(organosiloxane) having a plurality of alkenyl groups and at least one second poly(organosiloxane) having a plurality of Si-H groups. Methods of making such microsphere-containing silicone foam composites are also described.

Verfahren und Vorrichtung zum Zugänglichmachen des Inneren geschlossener Batteriegehäuse, insbesondere für Elektrofahrzeuge

NºPublicación:  DE102024001603A1 30/10/2025
Solicitante: 
MYCON GMBH [DE]
mycon GmbH

Resumen de: DE102024001603A1

Die Erfindung betrifft ein Verfahren zum Zugänglichmachen des Inneren geschlossener Batteriegehäuse (1), insbesondere von Elektrofahrzeugen, insbesondere beim Recycling und/oder bei der Reparatur der Batterie, bei dem zumindest ein Bereich, vorzugsweise ein Deckel (2), des geschlossenen, zumindest abschnittsweise verklebten Batteriegehäuses (1) im Bereich der Verklebung (3) dem Einfluss von Wärme und/oder Kälte derart unterworfen wird, dass die Wirkung der Verklebung (3) nachlässt oder aufgehoben wird und zumindest dieser Bereich des Batteriegehäuses (1) mechanisch vom Rest der Batterie getrennt werden kann, wobei währenddessen das Innere (5) des Batteriegehäuses (1) derart gekühlt wird, dass die Temperatur im Inneren der Batterie nicht über eine zulässige Temperatur für die Batteriezellen (13) ansteigt. Weiterhin werden eine entsprechende Vorrichtung sowie entsprechende Gestaltungen des Batteriegehäuses (1) vorgeschlagen.

Batteriezellenträgerbaugruppe mit integrierter thermischer Abschwächung

NºPublicación:  DE102024117743A1 30/10/2025
Solicitante: 
GM GLOBAL TECH OPERATIONS LLC [US]
GM GLOBAL TECHNOLOGY OPERATIONS LLC
CN_120854810_PA

Resumen de: DE102024117743A1

Ein wiederaufladbares Mehrzellen-Energiespeichersystem (RESS) umfasst Batteriezellen, wobei jede der Batteriezellen eine entsprechende Zellenentlüftung aufweist, die zum Ausstoßen von Gasen konfiguriert ist. Ein Zellenhalter ist so konfiguriert, dass er die Batteriezellen trägt, und einen Halterkörper aufweist, der in Reihen angeordnete Öffnungen definiert. Jede Öffnung ist so konfiguriert, dass sie mit der Zellenentlüftung einer der Batteriezellen ausgerichtet ist und in Fluidverbindung steht. Thermische Ereignisdurchgänge sind benachbart zu dem Zellenhalter angeordnet, wobei sich jeder thermische Ereignisdurchgang parallel zu einer entsprechenden Reihe von Öffnungen erstreckt. Ein Vergussmaterial, das die Batteriezellen zumindest teilweise umgibt, und eine Sensorbaugruppe befindet sich in jedem der Durchgänge für thermische Ereignisse.

SYSTEME UND VERFAHREN ZUM ABDICHTEN VON TRAKTIONSBATTERIEPACKS

NºPublicación:  DE102025115890A1 30/10/2025
Solicitante: 
FORD GLOBAL TECH LLC [US]
Ford Global Technologies, LLC

Resumen de: DE102025115890A1

Es sind Systeme und Verfahren zum Abdichten von Schnittstellen eines Traktionsbatteriepacks bereitgestellt. Eine Gehäusebaugruppe des Traktionsbatteriepacks kann eine Schutzdecke beinhalten, die zum Isolieren von Abschnitten der Gehäusebaugruppe konfiguriert ist. Ein Dichtungsabschnitt der Schutzdecke kann angeordnet sein, um eine Schnittstelle zwischen einem ersten Gehäuseteil und einem zweiten Gehäuseteil einer Gehäusebaugruppe des Traktionsbatteriepacks abzudichten. Der Dichtungsabschnitt kann durch ein oder mehrere mechanische Befestigungsmittel zusammengedrückt werden, um eine Abdichtung gegenüber einem Gasaustausch zwischen einem Innenbereich der Gehäusebaugruppe und einem umgebenden Umfeld außerhalb der Gehäusebaugruppe herzustellen.

Stromspeichervorrichtung und Fahrzeug

NºPublicación:  DE102025114702A1 30/10/2025
Solicitante: 
TOYOTA MOTOR CO LTD [JP]
TOYOTA JIDOSHA KABUSHIKI KAISHA
DE_102025114702_PA

Resumen de: DE102025114702A1

Eine Stromspeichervorrichtung umfasst mehrere Stromspeicherstapel und ein Aufnahmegehäuse, das die Stromspeicherstapel aufnimmt. Das Aufnahmegehäuse umfasst einen oberen Plattenteil, der sich an einer Oberseite der Stromspeicherstapel befindet und eine unebene Form aufweist, sowie Abgrenzungselemente, die Bereiche abgrenzen, in denen die Stromspeicherstapel jeweils angeordnet sind. Der obere Plattenteil umfasst vorstehende Abschnitte, die nach oben vorstehen, und vertiefte Abschnitte, die nach unten vertieft sind. Die Abgrenzungselemente sind jeweils zwischen den nebeneinander liegenden Stromspeicherstapeln angeordnet. In den Abgrenzungselementen sind Strömungskanäle ausgebildet, durch die ein aus den Stromspeicherstapeln abgegebenes Gas strömt. Die Abgrenzungselemente stehen mit dem vertieften Abschnitt in Kontakt.

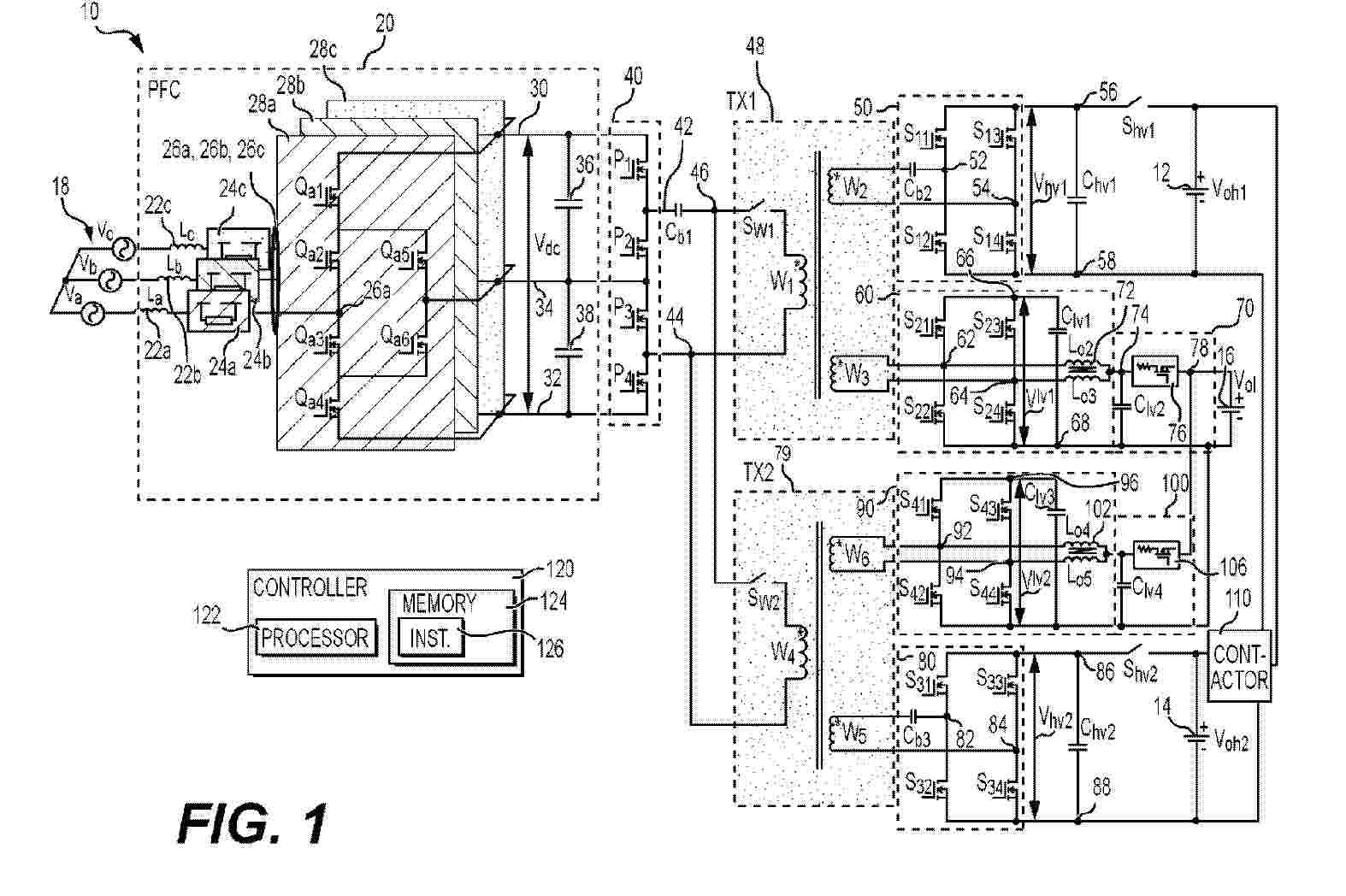
POWER CONVERTER WITH ON-BOARD CHARGER (OBC), AUXILIARY POWER MODULE (APM), AND BATTERY BALANCING FUNCTIONALITY

NºPublicación:  WO2025226540A1 30/10/2025
Solicitante: 
MAGNA POWERTRAIN INC [CA]
UNIV OF TENNESSEE RESEARCH FOUNDATION [US]
MAGNA POWERTRAIN, INC,
UNIVERSITY OF TENNESSEE RESEARCH FOUNDATION
WO_2025226540_PA

Resumen de: WO2025226540A1

A system for converting power in an electrified vehicle includes: a first sub-battery (12) and a second sub-battery (14) configured to be connected in series or parallel to provide a high-voltage (HV) battery (12,14) for supplying power to a traction motor; a low-voltage (LV) battery (16); and first and second transformers (48,79) each having a primary winding (W1,W4) and two secondary windings (W2,W3,W5,W6). An active bridge (50,80) is configured to convert power between one of the secondary windings (W2,W6) of each of the transformers (48,79) and a corresponding one of the sub-batteries (12,14). Another active bridge (60,80) is configured to convert power between another one of the secondary windings (W3,W5) of each of the transformers (48,79) and the LV battery (16).

SELF-HEALING BATTERY PACK

NºPublicación:  WO2025226544A1 30/10/2025
Solicitante: 
GENERAC POWER SYSTEMS INC [US]
GENERAC POWER SYSTEMS, INC
WO_2025226544_PA

Resumen de: WO2025226544A1

A self-healing battery pack includes a plurality of battery modules connected in series. When a faulty battery module is detected, an electrical protective device connected in parallel with the faulty battery is caused to operate and thereby bypass the faulty battery module. The self-healing battery pack can additionally report the detection of the faulty battery module. When maintenance is scheduled to replace the faulty battery module, the self-healing battery pack can receive instructions to adjust a state-of-charge of the battery modules to reduce an equalization period.

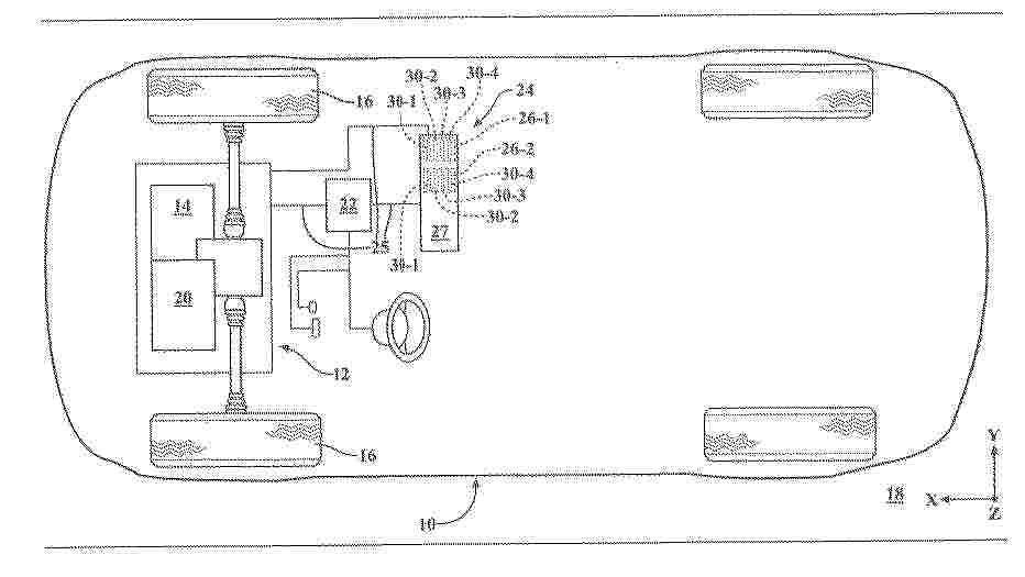
BATTERY SYSTEM FOR AN INDUSTRIAL VEHICLE

NºPublicación:  WO2025226791A1 30/10/2025
Solicitante: 
CROWN EQUIPMENT CORP [US]
CROWN EQUIPMENT CORPORATION
WO_2025226791_PA

Resumen de: WO2025226791A1

A battery system for an industrial vehicle, the industrial vehicle including a frame having a vehicle contour defined by front, back, left, and right bounds of the frame, the left and right bounds at least partially defined by opposed outermost left and right portions of respective left and right sides of a battery compartment. The battery system includes a battery, and a counterweight assembly, wherein at least a portion is positioned underneath the battery. The battery system further includes a first sensor assembly positioned underneath the battery at one of the left or right side of the battery compartment. The first sensor assembly is completely located within the front, back, left, and right bounds of the frame so as to not increase the vehicle contour. The first sensor assembly includes a sensing device that monitors an area adjacent to the corresponding left or right side of the vehicle.

A COMPOSITE MATERIAL, PROCESS FOR PRODUCING THE SAME, AND USES THEREOF

NºPublicación:  WO2025224671A1 30/10/2025
Solicitante: 
INDIAN INSTITUTE OF SCIENCE EDUCATION AND RES PUNE IISER PUNE [IN]
PILKINGTON TECH MANAGEMENT LIMITED [GB]
INDIAN INSTITUTE OF SCIENCE EDUCATION AND RESEARCH, PUNE (IISER PUNE),
PILKINGTON TECHNOLOGY MANAGEMENT LIMITED
WO_2025224671_PA

Resumen de: WO2025224671A1

The present disclosure pertains to a composite material. Moreover, the present disclosure provides a process for the synthesis of a composite material comprising a Si based phase, a SiOx based phase, a SiC based phase, and a C based phase, using a silicon source, a carbon source, and a reducing agent. The invention also relates to the use of said composite material.

THERMAL REGULATION DEVICE WITH CENTRAL COLLECTOR

NºPublicación:  WO2025223831A1 30/10/2025
Solicitante: 
VALEO SYSTEMES THERMIQUES [FR]
VALEO SYSTEMES THERMIQUES
WO_2025223831_PA

Resumen de: WO2025223831A1

The present invention relates to a thermal regulation device (1) extending in a longitudinal-transverse plane, comprising a first tube (12), a second tube (14) and a collector (6), the tubes (12, 14) comprising channels configured for the circulation of a heat-transfer fluid distributed between a first circulation assembly (26) and a second circulation assembly (28), the collector (6) comprising a heat-transfer fluid inlet (8) and a heat-transfer fluid outlet (10), and a common connection endpiece forming a connection endpiece for connecting the fluid inlet (8) and a connection endpiece for connecting the fluid outlet (10) of the collector (6), the common endpiece facing the first transverse end (34), wherein the common endpiece is made of plastic, and the device comprises a first sealing means, for example a gasket arranged between the common endpiece and the collector (6), as well as at least one attachment means for attaching the common endpiece to the collector (6), the attachment means being configured to compress the gasket between the common endpiece and the collector (6).

Akkumulator für Arbeitsgeräte und Verfahren zur Anzeige an einem Akkumulator

NºPublicación:  DE102024111683A1 30/10/2025
Solicitante: 
EINHELL GERMANY AG [DE]
Einhell Germany AG

Resumen de: DE102024111683A1

Die Erfindung betrifft einen Akkumulator (1) für Arbeitsgeräte (16), mit einem Gehäuse (2), das einen Innenraum (6) umgibt, mit zumindest einer im Innenraum (6) angeordneten Energiespeichereinheit (14), mit einer Kontakteinheit (10) zur elektrischen Kontaktierung des Arbeitsgeräts (16) mit der Energiespeichereinheit (14) und mit einer Anzeigeeinrichtung (12) für den Akkumulator (1) und/oder das Arbeitsgerät (16). Die Anzeigeeinrichtung (12) umfasst eine an dem Gehäuse (2) angeordnete elektrisch beleuchtbare Folie (11). Bei einem entsprechenden Verfahren zur Anzeige an einem Akkumulator (1) für Arbeitsgeräte (16), weist der Akkumulator (1) ein Gehäuse (2) auf, das einen Innenraum (6) umgibt, mit zumindest einer im Innenraum (6) angeordneten Energiespeichereinheit (14), mit einer Kontakteinheit (10) zur elektrischen Kontaktierung des Arbeitsgeräts (16) mit der Energiespeichereinheit (14) und mit einer Anzeigeeinrichtung (12) für den Akkumulator (1) und/oder das Arbeitsgerät (16). Die Anzeigeeinrichtung (12) ist eine an dem Gehäuse (2) angeordnete Folie (11), die elektrisch beleuchtet wird.

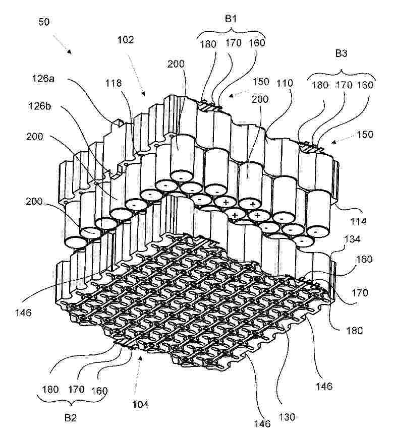
Halter für Batteriezellen, Batteriesubmodul aufweisend einen solchen, und Batteriemodul damit

NºPublicación:  DE102024111874A1 30/10/2025
Solicitante: 
EJOT SE & CO KG [DE]
EJOT SE & Co. KG
DE_102024111874_PA

Resumen de: DE102024111874A1

Halter (102,104) für Batteriezellen, insbesondere Rundzellen (200), umfassend ein Aufnahmeelement (110,130) und wenigstens ein elektrisches Kontaktelement (150), aufweisend wenigstens eine Kontaktleiste (160,170,180), wobei das Aufnahmeelement (110, 130) eine Kontaktierungsseite (112; 132), die eine Stirnfläche aufweist, und eine Verbindungsseite (114,134) besitzt, wobei im Aufnahmeelement (110, 130), wenigstes eine Batteriezellenaufnahmereihe (127, 128; 136, 146, 148) gebildet ist, die eine Vielzahl von Batteriezellenaufnahmen (126, 136) aufweist, wobei die Batteriezellenaufnahmen (126,136) zur Aufnahme von Batteriezellen (200), in Form von Ausnehmungen im Aufnahmeelement (110, 130) gebildet sind, die sich jeweils entlang einer Aufnahmen-Mittelachse (M110, M130) von der Verbindungsseite (114, 134) in Richtung der Kontaktierungsseite (112; 132) erstrecken, wobei die Batteriezellenaufnahmen (126, 136) einer Batteriezellenaufnahmereihe (126, 127, 128; 136, 146, 148) entlang einer Reihen-Mittellinie (L160, L170, L180) liegen, wobei das Aufnahmeelement (110,130) an seiner Kontaktierungsseite(112, 132) eine kanalartige Vertiefung (K160, K170, K180) entlang der Reihen-Mittellinien (L160, L170, L180) besitzt, wobei die Kontaktleiste (160,170,180) wenigstens einen Hauptstrang (162,172,182) aufweist. Die Erfindung zeichnet sich dadurch aus, dass vom Hauptstrang (162, 172, 182) von zwei gegenüberliegenden Seiten jeweils wenigstens zwei Kontaktfahnen (164a, 164b, 166a, 166b; 174a, 17

STEIGROHR FÜR EIN WÄRMEREGELUNGSSYSTEM EINES TRAKTIONSBATTERIEPACKS

NºPublicación:  DE102025116074A1 30/10/2025
Solicitante: 
FORD GLOBAL TECH LLC [US]
Ford Global Technologies, LLC

Resumen de: DE102025116074A1

Ein Wärmeregelungssystem für einen Traktionsbatteriepack beinhaltet mindestens einen Zellenstapel, der eine Vielzahl von Batteriezellen aufweist, und eine Wärmetauschvorrichtung benachbart zu dem mindestens einen Zellenstapel. Die Wärmetauschvorrichtung weist mindestens einen Kühlmitteldurchgang auf, der ein Kühlmittel kommuniziert. Ein Steigrohr ist an die Wärmetauschvorrichtung gekoppelt. Das Steigrohr ist dazu konfiguriert, die Wärmetauschvorrichtung fluidisch an ein Kühlmittelabgabesystem zu koppeln.

MEHRSCHICHTIGE WÄRMEBARRIEREBAUGRUPPEN FÜR TRAKTIONSBATTERIEPACKS

NºPublicación:  DE102025115877A1 30/10/2025
Solicitante: 
FORD GLOBAL TECH LLC [US]
Ford Global Technologies, LLC

Resumen de: DE102025115877A1

Es sind Wärmebarrierebaugruppen für Traktionsbatteriepacks bereitgestellt. Eine beispielhafte Wärmebarrierebaugruppe kann dazu konfiguriert sein, die Übertragung von Wärmeenergie innerhalb des Traktionsbatteriepacks zu hemmen. Die Wärmebarrierebaugruppe kann eine erste wärmeisolierende Schicht, eine zweite wärmeisolierende Schicht und einen Luftspalt beinhalten, der sich zwischen der ersten und zweiten wärmeisolierenden Schicht erstreckt. Der Luftspalt kann durch integrierte Merkmale ausgebildet sein, die an einer Schnittstelle zwischen der ersten und zweiten wärmeisolierenden Schicht bereitgestellt sind. Der Luftspalt kann dazu konfiguriert sein, den Wärmewiderstand über eine Dicke der Wärmebarrierebaugruppe zu erhöhen, wodurch eine Wärmeübertragung von Zelle zu Zelle und/oder von Zellstapel zu Zellstapel innerhalb des Traktionsbatteriepacks reduziert wird.

ALKALINE ELECTROCHEMICAL CELLS COMPRISING INCREASED ZINC OXIDE LEVELS

NºPublicación:  WO2025226686A2 30/10/2025
Solicitante: 
ENERGIZER BRANDS LLC [US]
ENERGIZER BRANDS, LLC
WO_2025226686_A2

Resumen de: WO2025226686A2

Alkaline electrochemical cells are provided, wherein methods to decrease or eliminate shorting in batteries by preventing zinc oxide reaction precipitate from creating a conductive bridge between the two electrodes. The alkaline electrochemical cell comprises solid zinc oxide particles in the anode and dissolved zinc oxide or zinc hydroxide in one or more of the catholyte, the anolyte, and the free electrolyte. Optimally, the solid zinc oxide particles have a large Brunauer, Emmett, and Teller (BET) surface area and/or a large median particle size (D50). The cells may also comprise a certain amount of surfactant in the separator.

Stabiles, schlankes Modul für einen Temperiermittelkreislauf

NºPublicación:  DE102024111458A1 30/10/2025
Solicitante: 
TI AUTOMOTIVE TECH CT GMBH [DE]
TI Automotive Technology Center GmbH

Resumen de: DE102024111458A1

Ein Modul (1) für einen Temperiermittelkreislauf umfasst einen Grundkörper (2), wobei der Grundkörper (2) wenigstens eine Fluidleitung (3) und vorzugsweise mehrere Fluidleitungen (3) aufweist. Der Grundkörper (2) ist einstückig ausgebildet, wobei das Modul (1) bzw. der Grundkörper (2) wenigstens eine Aufnahme (4) und vorzugsweise mehrere Aufnahmen (4) zur Anordnung von Fluidkomponenten (13, 14, 15) umfasst. Die wenigstens eine Fluidleitung (3) ist in einem Querschnitt integral ausgebildet, so dass die Fluidleitung (3) an der Stelle des Querschnitts vollständig aus einem Urformverfahren, insbesondere einem Blasformverfahren, hergestellt ist. Das Modul (1) weist einen Tank (5) auf.

BATTERIEMODUL MIT BARRIERE UND BATTERIEPACK DAMIT

NºPublicación:  DE102025114606A1 30/10/2025
Solicitante: 
SK ON CO LTD [KR]
SK On Co., Ltd
DE_102025114606_PA

Resumen de: DE102025114606A1

Ein Batteriemodul beinhaltet eine Zellenanordnung, die eine Vielzahl von Batteriezellen beinhaltet; ein Modulgehäuse, das die Zellenanordnung aufnimmt und eine Vielzahl von Entlüftungslöchern beinhaltet; eine erste Barriere, die an einer Innenfläche des Modulgehäuses angeordnet ist und eine Vielzahl von ersten Entlüftungsabschnitten beinhaltet, die dazu angepasst sind, sich basierend auf einem Druck innerhalb des Modulgehäuses zu verformen; und eine zweite Barriere, die an einer Außenfläche des Modulgehäuses angeordnet ist und eine Vielzahl von Durchgangslöchern beinhaltet. Mindestens ein Teil des in der Zellenanordnung erzeugten Gases ist dazu angepasst, durch die Vielzahl von ersten Entlüftungsabschnitten, die Vielzahl von Entlüftungslöchern, und die Vielzahl von Durchgangslöchern an eine Außenseite des Modulgehäuses abgegeben zu werden.

Elektrolytfreie LixSi/Si-Anodenelektrode für Gesamt-Festkörperbatteriezellen

NºPublicación:  DE102024116209A1 30/10/2025
Solicitante: 
GM GLOBAL TECH OPERATIONS LLC [US]
GM Global Technology Operations LLC
DE_102024116209_PA

Resumen de: DE102024116209A1

Ein Verfahren zum Herstellen einer Batteriezelle umfasst das Bereitstellen einer Anodenaktivmaterialschicht, die Siliziumteilchen und PTFE-Bindemittel umfasst, und das Zusammenpressen der Anodenaktivmaterialschicht und eines Anodenstromkollektors zum Bilden einer Anodenelektrode. Der Anodenstromkollektor umfasst ein Verbundmaterial, das ein erstes Material und Lithium umfasst, das auf mindestens einer Seite des ersten Materials angeordnet ist und mit der Anodenaktivmaterialschicht in Kontakt steht.

TAUCHWÄRMEMANAGEMENTSYSTEM MIT MEHREREN AUSLASSÖFFNUNGEN FÜR EINEN TRAKTIONSBATTERIEPACK

NºPublicación:  DE102025116071A1 30/10/2025
Solicitante: 
FORD GLOBAL TECH LLC [US]
Ford Global Technologies, LLC

Resumen de: DE102025116071A1

Ein Tauchwärmemanagementsystem für einen Traktionsbatteriepack beinhaltet ein Kühlmittelabgabesystem, das ein Kühlmittel von einer Kühlmittelzufuhr zu einem Batteriegehäuse weiterleitet, in dem ein Zellenstapel untergebracht ist. Das Kühlmittelabgabesystem beinhaltet zumindest eine Einlassöffnung zu dem Batteriegehäuse. Das Wärmemanagementsystem beinhaltet zusätzlich ein Kühlmittelrückführsystem, das das Kühlmittel aus dem Batteriegehäuse zurück zu der Kühlmittelzufuhr weiterleitet. Das Kühlmittelrückführsystem beinhaltet eine Vielzahl von Auslassöffnungen und einen Rückführverteiler. Die Auslassöffnungen verbinden jeweils separat das Batteriegehäuse fluidisch mit dem Rückführverteiler. Der Rückführverteiler ist derart konfiguriert, dass Kühlmittel, das von jeder der Vielzahl von Auslassöffnungen aufgenommen wird, innerhalb des Rückführverteilers gemischt wird, bevor es die Kühlmittelzufuhr erreicht.

SYSTEM UND VERFAHREN ZUR VORBILDUNG DER KATHODEN-ELEKTROLYT-ZWISCHENPHASE AUF AKTIVENKATHODENMATERIALIEN

NºPublicación:  DE102024119391A1 30/10/2025
Solicitante: 
GM GLOBAL TECH OPERATIONS LLC [US]
GM Global Technology Operations LLC
DE_102024119391_PA

Resumen de: DE102024119391A1

Verfahren zum Vorbilden einer Kathoden-Elektrolyt-Zwischenphase auf elektroaktivem Material, wobei das Verfahren das Zuführen eines Stroms oder einer Spannung zu einem elektrochemischen Reaktor umfasst, der eine Kationenquelle, eine Elektrolytmischung, einen oder mehrere Zusatzstoffe und ein aktives Kathodenmaterial in Kontakt miteinander umfasst, wobei der Strom oder die Spannung dazu dient, Kationen an der Kationenquelle zu ionisieren und zu bilden, die mit dem aktiven Kathodenmaterial reagieren, um eine Kathoden-Elektrolyt-Zwischenphase auf dem aktiven Kathodenmaterial vorzubilden.

BATTERIESTRUKTUR EINES ELEKTROFAHRZEUGS

Nº publicación: DE102025116089A1 30/10/2025

Solicitante:

FORD GLOBAL TECH LLC [US]
Ford Global Technologies, LLC

DE_102025116089_PA

Resumen de: DE102025116089A1

Eine Batteriestruktur für ein Elektrofahrzeug beinhaltet eine erste und eine zweite Batteriebank. Die erste Batteriebank beinhaltet erste Wände, die aneinander gesichert sind, um eine erste modularisierte Struktur zu bilden, die dazu konfiguriert ist, erste Batteriezellen unterzubringen. Eine erste Wand der Vielzahl von ersten Wänden erstreckt sich in einer Transversalrichtung relativ zu einer Längsrichtung des Elektrofahrzeugs. Die zweite Batteriebank ist benachbart zu der ersten Batteriebank und beinhaltet zweite Wände, die aneinander gesichert sind, um eine zweite modularisierte Struktur zu bilden, die dazu konfiguriert ist, zweite Batteriezellen unterzubringen. Eine zweite Wand der Vielzahl von zweiten Wänden ist an der ersten Wand der ersten Batteriebank gesichert und beinhaltet einen ersten vertikalen Abschnitt, einen zweiten vertikalen Abschnitt, der von dem ersten vertikalen Abschnitt beabstandet ist, und Verbindungselemente, die den ersten vertikalen Abschnitt und den zweiten vertikalen Abschnitt verbinden.

traducir