Ministerio de Industria, Turismo y Comercio LogoMinisterior
 

Alerta

Resultados 1603 resultados
LastUpdate Última actualización 10/11/2025 [07:13:00]
pdfxls
Publicaciones de los últimos 15 días/Last 15 days publications (excluidas pubs. CN y JP /CN and JP pubs. excluded)
previousPage Resultados 1150 a 1175 de 1603 nextPage  

BATTERIEZELLLASCHE MIT ZERBRECHLICHEM BEREICH

NºPublicación:  DE102025115887A1 30/10/2025
Solicitante: 
FORD GLOBAL TECH LLC [US]
Ford Global Technologies, LLC
DE_102025115887_PA

Resumen de: DE102025115887A1

Eine Batteriebaugruppe beinhaltet eine Pouch, die eine Elektrodenstruktur enthält, und eine Lasche, welche die Elektrodenstruktur elektrisch an eine Vorrichtung außerhalb der Pouch koppelt. Die Lasche erstreckt sich von einer Innenseite der Pouch zu einer Außenseite der Pouch. Die Lasche beinhaltet einen zerbrechlichen Bereich. Eine Laschenfolie deckt zumindest den zerbrechlichen Bereich der Lasche ab.

EIN BATTERIEPACK UND EIN BATTERIEZELLENSTAPEL, MONTIERT AUF EINEN BATTERIEPACK

NºPublicación:  DE102024134986A1 30/10/2025
Solicitante: 
HYUNDAI MOTOR CO LTD [KR]
KIA CORP [KR]
HYUNDAI MOTOR COMPANY,
Kia Corporation

Resumen de: DE102024134986A1

Ein Batteriepack umfasst eine Grundplatte, Batteriezellen, die von der Grundplatte getragen werden, sich in einer ersten Richtung erstrecken und in einer zweiten Richtung angeordnet sind, die die erste Richtung kreuzt, ein Seitenelement, das von der Grundplatte getragen wird und auf einer Seite der Batteriezellen in der ersten Richtung angeordnet ist, und eine Platte, die einen Abschnitt umfasst, der zwischen benachbarten Batteriezellen der Batteriezellen angeordnet ist und mit den Batteriezellen in Kontakt steht, und einen Teilbereich, der zwischen den Batteriezellen und dem Seitenelement angeordnet ist und mit dem Seitenelement in Kontakt steht.

Beschichtete Elektrode einer Lithium-Eisen-Phosphat-Batterie und Verfahren

NºPublicación:  DE102024117974A1 30/10/2025
Solicitante: 
GM GLOBAL TECH OPERATIONS LLC [US]
GM GLOBAL TECHNOLOGY OPERATIONS LLC
CN_120854484_PA

Resumen de: DE102024117974A1

Es werden eine Lithium-Eisen-Phosphat-Batterie und ein Verfahren zum Herstellen der Batterie bereitgestellt. Die Lithium-Eisen-Phosphat-Batterie umfasst eine Lithium-Eisen-Phosphat (LFP)-Kathode, eine Lithium-Anode und einen flüssigen Elektrolyten. Die Lithium-Eisen-Phosphat (LFP)-Kathode ist mit einer Beschichtung versehen, die an ihr haftet. Die Beschichtung umfasst ein erstes Material mit mehr als 70 Gew.-% und ein zweites Material mit weniger als 30 Gew.-%. Das erste Material hat eine mittlere Teilchengröße (D50) von 10 Mikrometern (µm) und das zweite Material hat eine mittlere Teilchengröße (D50) von 1 µm. Der flüssige Elektrolyt transportiert positiv geladene Ionen zwischen der Lithiumanode und der LFP-Kathode. Der flüssige Elektrolyt umfasst zwischen 1,0 und 1,5 M LiPF6 und zwischen 0 und 0,5 M LiFSI.

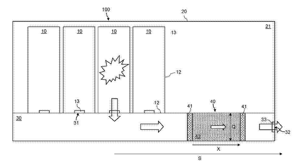
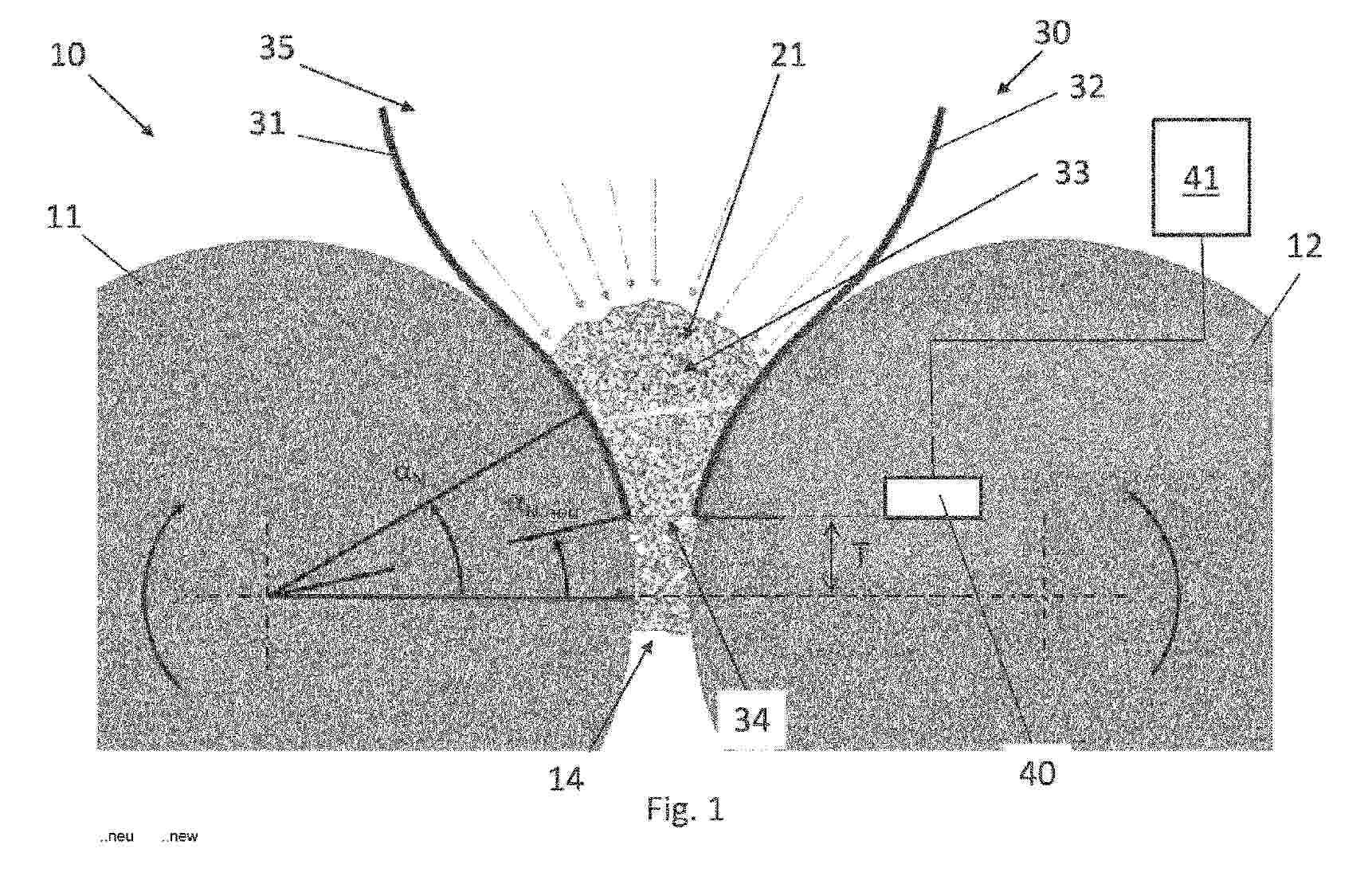
Batteriespeicher mit Funkenfalle, sowie Vorrichtung und Verfahren zur entsprechenden Gasbehandlung

NºPublicación:  DE102025115779A1 30/10/2025
Solicitante: 
AVL LIST GMBH [AT]
AVL List GmbH
DE_102025115779_PA

Resumen de: DE102025115779A1

Die vorliegende Erfindung betrifft einen Batteriespeicher (100) mit einer Funkenfalle, eine entsprechende Vorrichtung (40) und ein Verfahren. Die Vorrichtung (40) umfasst ein Flüssigkeitsvolumen (43), das in einem Streckenabschnitt (X) einer Abführstrecke (S) eines Abführkanals (30) aufgenommen ist, wobei das Flüssigkeitsvolumen (43) einen in dem Streckenabschnitt (X) zu passierenden Strömungsquerschnitt (Q) ausfüllt, für eine immersive Gaswäsche der Ausgasung beim Durchströmen des Flüssigkeitsvolumens (43).

Zellgehäuse für einen Batteriezellkörper

NºPublicación:  DE102024111496A1 30/10/2025
Solicitante: 
HOERBIGER ANTRIEBSTECHNIK HOLD [DE]
Hoerbiger Antriebstechnik Holding GmbH
DE_102024111496_PA

Resumen de: DE102024111496A1

Ein Zellgehäuse (10) für einen Batteriezellkörper (12), mit Seitenwänden (14, 16) und einer an einer der Seitenwände (14, 16) angeordneten Berstvorrichtung (22). Die Berstvorrichtung (22) ist aus einem Einlegerelement (24) und einer Berstmembran (26) gebildet. Das Einlegerelement (24) weist eine Bersthilfe (38) mit einer Schneidgeometrie (40) auf, die der Berstmembran (26) zugeordnet ist. Die Bersthilfe (38) steht in Richtung der Berstmembran (26) über eine vom Einlegerelement (24) definierte Ebene hervor.

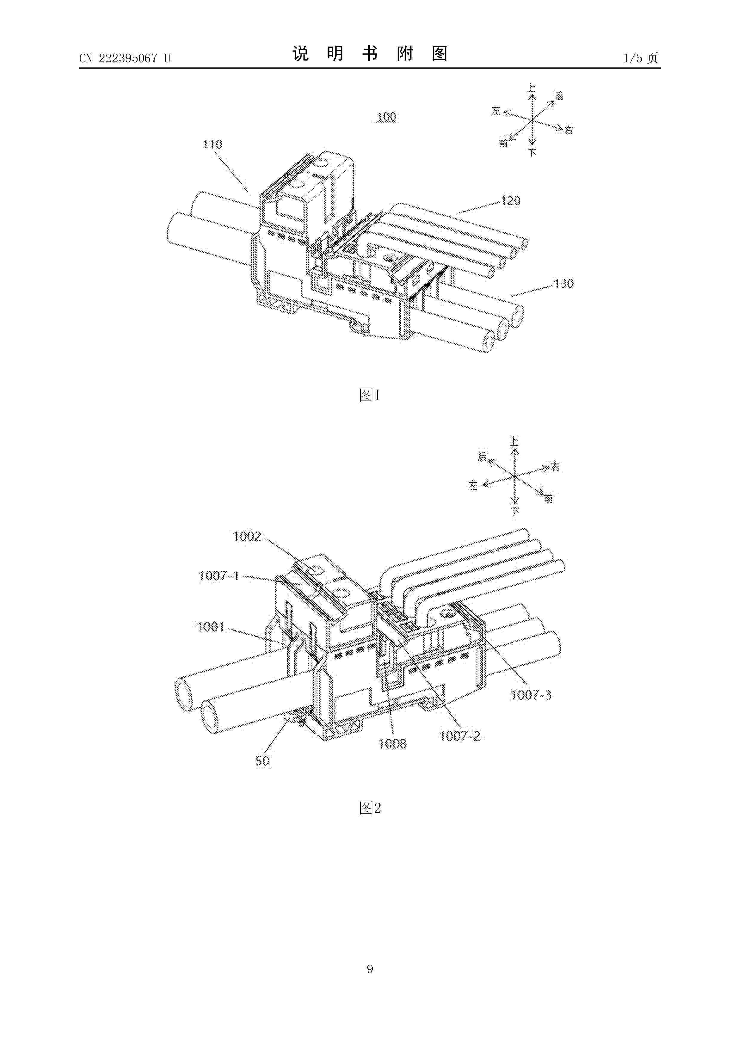
Abzweigklemme

NºPublicación:  DE102025115556A1 30/10/2025
Solicitante: 
PHOENIX CONTACT ASIA PACIFIC NANJING CO LTD [CN]
Phoenix Contact Asia-Pacific (Nanjing) Co., Ltd
CN_222395067_U

Resumen de: DE102025115556A1

In der vorliegenden Anmeldung wird eine Abzweigklemme bereitgestellt, die einen Abzweigklemmenkörper sowie einen Eingangsanschluss und zwei Ausgangsanschlüsse, die am Abzweigklemmenkörper vorgesehen sind, umfasst, wobei der Abzweigklemmenkörper ein Gehäuse, eine Stromschiene, eine erste Anschlussbaugruppe, eine zweite Anschlussbaugruppe und eine dritte Anschlussbaugruppe umfasst; wobei das Gehäuse ein unteres Gehäuseteil und ein oberes Gehäuseteil umfasst, das mit dem unteren Gehäuseteil verrastet ist; wobei die Stromschiene als eine einteilige integrierte Struktur ausgebildet ist, und wobei die erste Anschlussbaugruppe, die zweite Anschlussbaugruppe und die dritte Anschlussbaugruppe jeweils elektrisch leitend mit der Stromschiene verbunden und in einem Innenraum des unteren Gehäuseteils angebracht sind. Bei der Abzweigklemme gemäß der vorliegenden Anmeldung sind das obere Gehäuseteil und das untere Gehäuseteil miteinander verrastet, wodurch das gesamte Gehäuse gebildet wird. Daher kommt es beim Anschluss von Drähten mit großem Drahtdurchmesser nicht zu einer anormalen Situation, in der die Seitenplatte beim Gehäuse aufgrund des großen Drehmoments weggedrückt wird, was die Sicherheit und Zuverlässigkeit der Produktstruktur erheblich verbessert.

Überwachungsvorrichtung für ein Kraftfahrzeug und Kraftfahrzeug

NºPublicación:  DE102024112008A1 30/10/2025
Solicitante: 
BAYERISCHE MOTOREN WERKE AG [DE]
Bayerische Motoren Werke Aktiengesellschaft

Resumen de: DE102024112008A1

Überwachungsvorrichtung für ein Kraftfahrzeug zum Überwachen einer Antriebskomponente des Kraftfahrzeugs, wobei die Überwachungsvorrichtung eine Sensoranordnung, eine Datenverarbeitungsvorrichtung, eine Kommunikationsschnittstelle und ein Gehäuse umfasst; die Sensoranordnung dazu eingerichtet ist, eine Wärmeentwicklung der Antriebskomponente betreffende Sensordaten zu erfassen; die Datenverarbeitungsvorrichtung dazu eingerichtet ist, die Sensordaten zum Überwachen der Antriebskomponente zu verarbeiten und ein Ausgeben eines Überwachungssignals über die Kommunikationsschnittstelle auszulösen; die Kommunikationsschnittstelle dazu eingerichtet ist, zum Übermitteln des Überwachungssignals und/oder zum Kontrollieren der Überwachungsvorrichtung mit dem Kraftfahrzeug und/oder einem Endgerät eines Nutzers drahtlos verbunden zu werden; das Gehäuse die Überwachungsvorrichtung räumlich abschließt und dazu eingerichtet ist, die Sensoranordnung, die Datenverarbeitungsvorrichtung und die Kommunikationsschnittstelle aufzunehmen; und das Gehäuse einen Montageabschnitt zur werkzeugfreien Befestigung der Überwachungsvorrichtung an und/oder in dem Kraftfahrzeug aufweist.

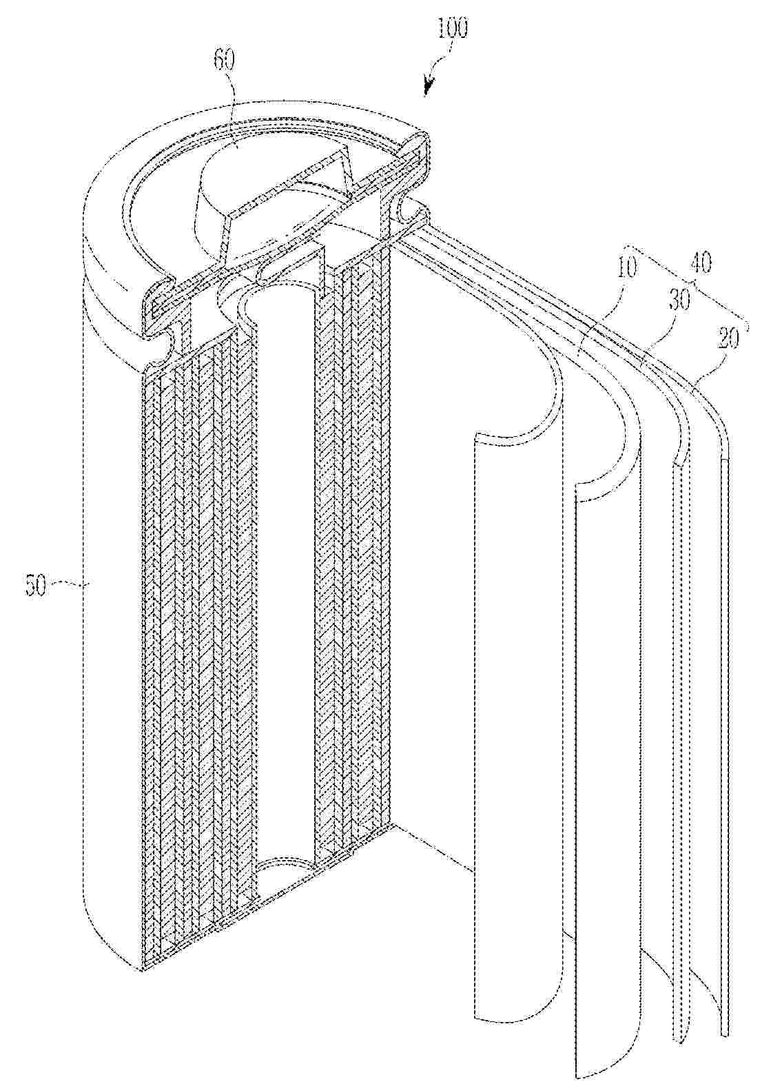
Batteriezelle

NºPublicación:  DE102024111508A1 30/10/2025
Solicitante: 
PORSCHE AG [DE]
Dr. Ing. h.c. F. Porsche Aktiengesellschaft

Resumen de: DE102024111508A1

Die vorliegende Erfindung betrifft eine Batteriezelle (100-1; 100-2) umfassend: eine hohlzylindrische Zellhülle (1), und einen in der Zellhülle (1) angeordneten Elektrodenwickel (2), wobei an einer Stirnseite (2.1) des Elektrodenwickels (2) eine Endplatte (3) angebracht ist, und die Zellhülle (1) aus einem Kunststoff besteht und mittels einer durch ein Wärmekontaktverfahren hergestellten Siegelnaht (5) dicht mit der Endplatte (3) verbunden ist.

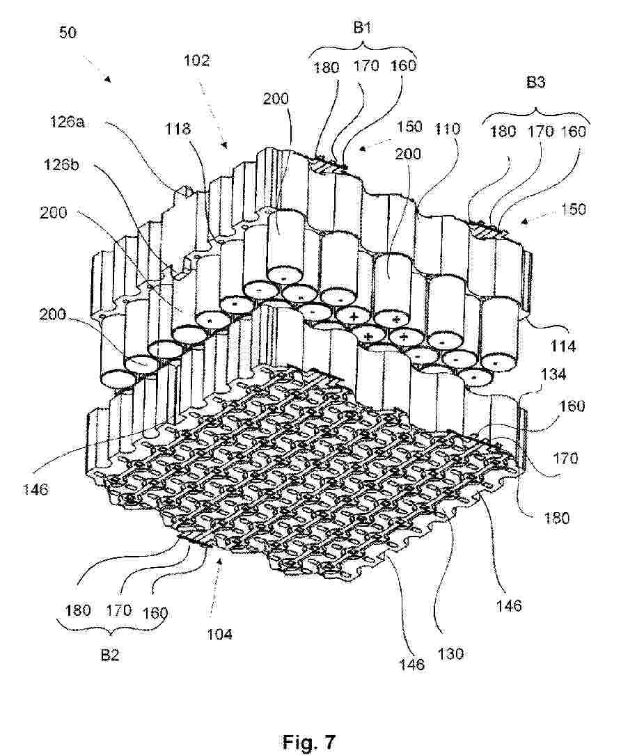
HOLDER FOR BATTERY CELLS, BATTERY SUB-MODULE COMPRISING SUCH A HOLDER, AND BATTERY MODULE COMPRISING SAME

NºPublicación:  WO2025224339A1 30/10/2025
Solicitante: 
EJOT SE & CO KG [DE]
EJOT SE & CO. KG
WO_2025224339_PA

Resumen de: WO2025224339A1

The invention relates to a holder (102, 104) for battery cells, in particular round cells (200), comprising a receiving element (110, 130) and at least one electrical contact element (150), having at least one contact strip (160, 170, 180), wherein the receiving element (110, 130) has a contacting side (112, 132) which has an end face, and a connecting side (114, 134), wherein at least one battery cell receptacle row (127, 128; 136, 146, 148) is formed in the receiving element (110, 130) and has a plurality of battery cell receptacles (126, 136), wherein for receiving battery cells (200) the battery cell receptacles (126, 136) are in the form of recesses in the receiving element (110, 130) each of which recesses extends along a receptacle central axis (M110, M130) from the connecting side (114, 134) in the direction of the contacting side (112; 132), wherein the battery cell receptacles (126, 136) of a battery cell receptacle row (126, 127, 128; 136, 146, 148) lie along a row central line (L160, L170, L180), wherein the receiving element (110, 130) has on its contacting side (112, 132) a channel-like depression (K160, K170, K180) along the row central lines (L160, L170, L180), wherein the contact strip (160, 170, 180) has at least one main section (162, 172, 182). The invention is characterised in that at least two contact lugs (164a, 164b, 166a, 166b; 174a, 174b, 176a, 176b; 184a, 184b, 186a, 186b..) branch off in each case from the main section (162, 172, 182) from two oppo

INK COMPOSITION

NºPublicación:  WO2025224433A1 30/10/2025
Solicitante: 
SUPERDIELECTRICS SUPERCAP LTD [GB]
SUPERDIELECTRICS SUPERCAP LTD
WO_2025224433_PA

Resumen de: WO2025224433A1

Ink compositions comprising hydrophilic, cross-linked polymer particles and methods for making the same. The ink compositions can be used in aqueous supercapacitor applications. Electrodes comprising the homogenised ink compositions deposited on the electrode or within the electrode structure and methods for making the same. The electrodes can be used in energy storage devices.

METHODS FOR MANAGING TEST DATA RECORDED DURING MASS SCALE CYCLING OF SECONDARY CELLS

NºPublicación:  WO2025224172A1 30/10/2025
Solicitante: 
NORTHVOLT AB [SE]
NORTHVOLT AB
WO_2025224172_PA

Resumen de: WO2025224172A1

The present disclosure generally pertains to testing of secondary batteries More specifically, the disclosure relates to a database structure for storing test data recorded during mass scale cycling of secondary cells. The database structure comprises a first database table (201), a second database table (202) and a third database table (203). The first database table comprising test data collected during individual runs involving charging and discharging secondary cells under different test conditions, wherein test data of the individual runs are stored in the first database table (201) together with a corresponding test identifier and a test recipe identifier. The second database table (202) comprising test recipes, wherein each test recipe comprises a set of individual steps to be performed, settings associated with test conditions of the individual steps and a recipe identifier. The third database table (203) comprising test quality data representative of alignment between test data of an individual test and the corresponding test recipe, wherein the quality data for an individual run is stored in the third database table together with a corresponding test identifier. The disclosure also relates to methods for providing and managing test data recorded during mass scale testing of secondary cells. The disclosure also relates to test equipment and a control arrangement for performing the proposed methods.

AUXILIARY POWER MODULE CONTACTOR CONTROL FOR A VEHICLE

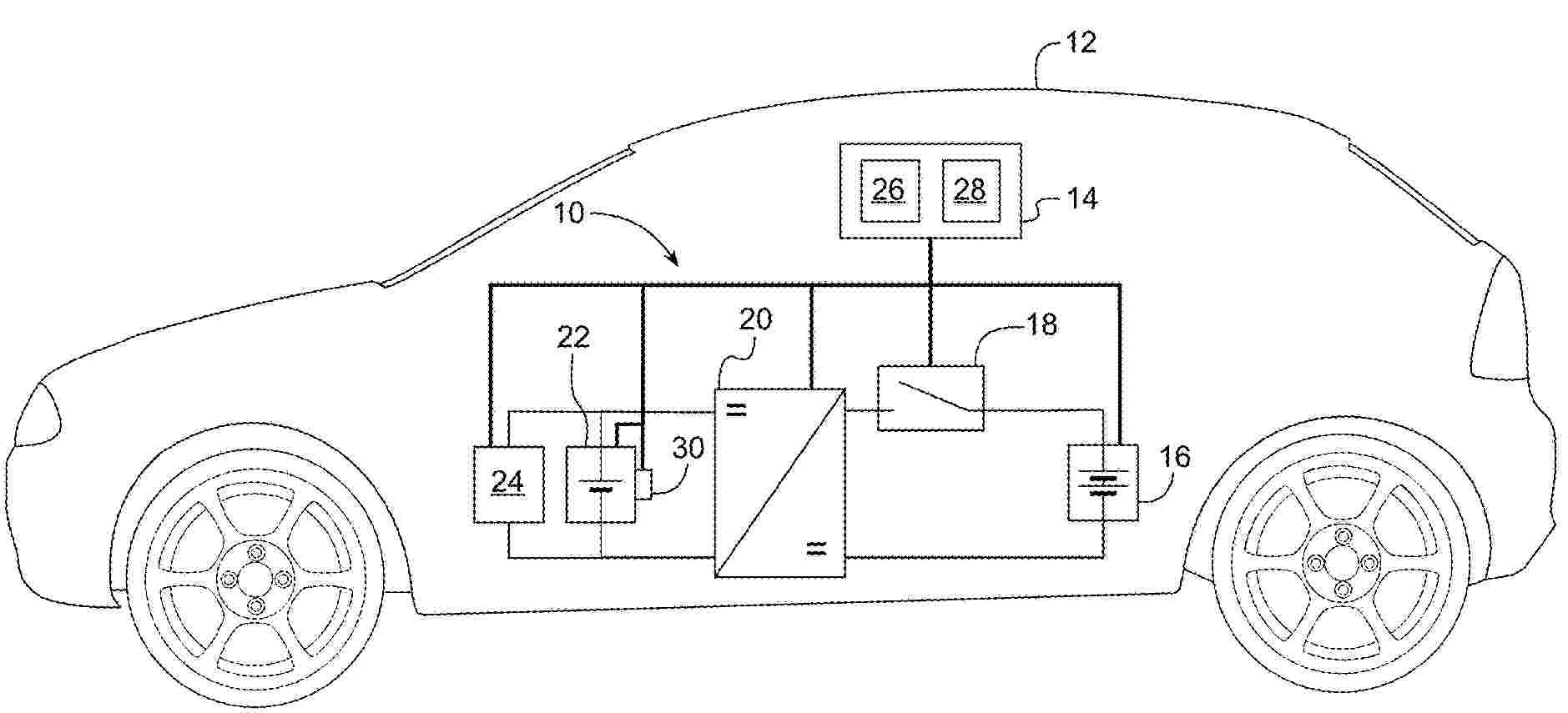
NºPublicación:  US2025333011A1 30/10/2025
Solicitante: 
GM GLOBAL TECH OPERATIONS LLC [US]
GM Global Technology Operations LLC
US_2025333011_PA

Resumen de: US2025333011A1

According to several aspects, a method for controlling an auxiliary power module (APM) contactor for a vehicle may include logging a plurality of actuations of the APM contactor within a time step. The plurality of actuations includes a plurality of auxiliary battery charging actuations and a plurality of accessory actuations. The method further may include comparing a quantity of the plurality of accessory actuations to a predetermined accessory actuation threshold. The method further may include restricting future actuations of the APM contactor in response to determining that the quantity of the plurality of accessory actuations is greater than or equal to the predetermined accessory actuation threshold.

ROLLER FOR PRESSING AN ELECTRODE

NºPublicación:  WO2025224142A1 30/10/2025
Solicitante: 
NORTHVOLT AB [SE]
NORTHVOLT AB
WO_2025224142_PA

Resumen de: WO2025224142A1

The present invention relates to a roller and calendaring machine for battery cell production. A roller for pressing an electrode sheet for a battery cell is disclosed. The roller comprises a body having a central portion and end portions, wherein the end portions have a diameter larger than that of the central portion. The body further comprises a tapered transition region between at least one of the end portions and the central portion. This arrangement may contribute to reducing wrinkles and edge deformation during pressing.

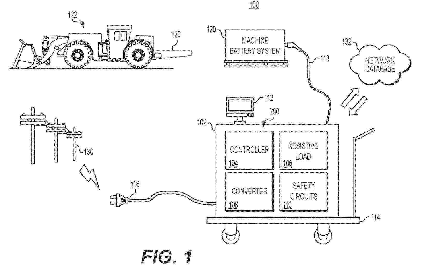
STAND-ALONE MULTI-FUNCTION BATTERY MANAGER

NºPublicación:  WO2025226421A1 30/10/2025
Solicitante: 
CATERPILLAR INC [US]
CATERPILLAR INC
WO_2025226421_PA

Resumen de: WO2025226421A1

A mobile battery manager (102) for charging or discharging a stored battery system may include a converter, a resistive load (106), and a controller (104) configured to charge or discharge the stored battery system to a desired state of charge determined at the mobile battery manager (102).

MOISTURE CURABLE POLYORGANOSILOXANE COMPOSITION WITH MICA

NºPublicación:  WO2025226434A1 30/10/2025
Solicitante: 
DOW SILICONES CORP [US]
DOW GLOBAL TECH LLC [US]
DOW SILICONES CORPORATION,
DOW GLOBAL TECHNOLOGIES LLC
WO_2025226434_A1

Resumen de: WO2025226434A1

The present invention is a composition comprising a) a hydrolyzable polyorganosiloxane; b) an organosilane crosslinking agent; c) mica particles; and d) a condensation cure catalyst; wherein the weight-to-weight ratio of the mica to the hydrolyzable polyorganosiloxane is in the range of from 45:50 to 2:1. The composition of the present invention is useful as a coating for electric battery pack housings such as housings made of metal and polymer composites to provide ceramic strength and reduce backside temperature arising from thermal runaway.

OPTIMISED COATING METHOD

NºPublicación:  WO2025224301A1 30/10/2025
Solicitante: 
CELLFORCE GROUP GMBH [DE]
CELLFORCE GROUP GMBH
WO_2025224301_PA

Resumen de: WO2025224301A1

The invention relates to a method for applying at least one liquid and/or pulverulent and/or granular mixture to at least one substrate, wherein the mixture is introduced into at least one gap region between at least two rotating rollers, wherein the rollers are covered at least in regions by at least two foils of a metering unit, wherein the mixture is guided into a metering region between the two foils of the metering unit and is introduced by the at least one metering unit into the gap region between the at least two rollers, wherein, after leaving the metering unit and with compaction or after compaction by the at least two rollers, the mixture is applied to the at least one substrate or, depending on the embodiment, is arranged as a film on one of the rollers in order to be transferred to a substrate later in the process. The invention further relates to a device for coating at least one side of at least one substrate with a mixture.

SUPPORT DEVICE FOR ELECTROCHEMICAL CELL TO BE RECYCLED

NºPublicación:  WO2025223759A1 30/10/2025
Solicitante: 
BLUE SOLUTIONS [FR]
BLUE SOLUTIONS
WO_2025223759_PA

Resumen de: WO2025223759A1

The invention relates to a device (3) for supporting a component (10) such as an electrochemical cell comprising solid metal lithium which can be recycled. The device (3) comprises a shell (21) and a stop member (44), both configured to prevent direct contact of the component (10) with an armature (20) of the device (3) while facilitating extraction of the liquefied metal lithium. The invention also relates to an installation and to an extraction method associated therewith.

ELECTRODE ARRANGEMENT WITH LOCALLY BENDABLE CONDUCTORS

NºPublicación:  WO2025224300A1 30/10/2025
Solicitante: 
CELLFORCE GROUP GMBH [DE]
CELLFORCE GROUP GMBH
WO_2025224300_PA

Resumen de: WO2025224300A1

The invention relates to an electrode arrangement, in particular for a battery cell, having at least one electrode pack with a multiplicity of anode foils and cathode foils which are separated from one another by separator foils, wherein the anode foils have anode conductors at the ends and the cathode foils have cathode conductors at the ends, which project along a longitudinal direction on opposite sides of the electrode pack, wherein the anode conductors project on a first side and are connected to one another at at least two connecting sections spaced apart from one another by at least one bending section and/or wherein the cathode conductors project on a second side of the electrode pack and are connected to one another at at least two connecting sections spaced apart from one another by at least one bending section. The invention also relates to a battery cell and to a method for producing battery cells.

PROTECTIVE HOUSING FOR A POWER ELECTRONICS MODULE, MODULE COMPRISING SUCH A HOUSING AND METHOD FOR MANUFACTURING SAME

NºPublicación:  WO2025223748A1 30/10/2025
Solicitante: 
SOGEFI AIR & COOLING [FR]
SOGEFI AIR & COOLING
WO_2025223748_PA

Resumen de: WO2025223748A1

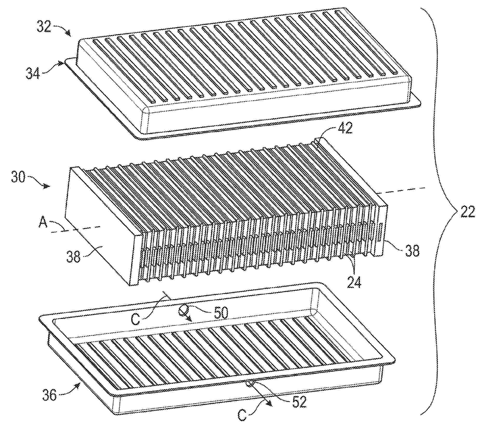
The invention relates to a protective housing (1), in particular for a power electronics and/or electrical-energy storage module (2), comprising a first portion (3) and at least one second portion (3') which are assembled at respective peripheral flanges (3") forming a jointing plane (PJ), at least the first (3) of the portions (3, 3') consisting of a metal body (4) comprising, in at least one exterior-surface region, at least one liquid thermal regulation circuit (5). The protective housing (1) is characterized in that the or each thermal regulation circuit (5) is formed by an attached plate (6) made of a thermoplastic material, in that this plate (6) has a grooved pattern defining the grooves of the circulation channel(s) of the or each circuit (5) and in that this plate (6) is secured indirectly to the metal body (4) by a welded bond with a discontinuous or openwork intermediate thermoplastic layer (8), overmoulded onto the exterior-surface region concerned and having a grooved pattern consistent with the grooved pattern of the attached plate (6) made of a thermoplastic material.

Kältemittelkreislauf und Fahrzeug

NºPublicación:  DE102024203898A1 30/10/2025
Solicitante: 
BOSCH GMBH ROBERT [DE]
Robert Bosch Gesellschaft mit beschr\u00E4nkter Haftung

Resumen de: DE102024203898A1

Die Erfindung betrifft einen Kältemittelkreislauf (100) mit einem Kompressor (150) zum Verdichten eines, insbesondere gasförmigen, Kältemittels, das insbesondere Propan enthält, von einem saugseitigen Niederdruckniveau auf ein druckseitiges Hochdruckniveau, einem ersten Kältemittelverteiler (124), der dazu eingerichtet ist, durch den Kompressor (150) verdichtetes Kältemittel aufzunehmen und weiterzuleiten, zumindest einem ersten Wärmetauscher (110, 120) zum Übertragen von Wärme zwischen dem Kältemittel und einem, insbesondere flüssigen, Temperiermedium, einem ersten Expansionsventil (122) zum Entspannen von durch den Kompressor (150) verdichtetem und durch den ersten Kältemittelverteiler (124) weitergeleitetem Kältemittel, einem zweiten Wärmetauscher (130) zum Übertragen von Wärme zwischen entspanntem und verdichtetem Kältemittel, und einem zweiten Kältemittelverteiler (134), der dazu eingerichtet ist, kondensiertes Kältemittel aufzunehmen und weiterzuleiten, einem zweiten Expansionsventil (132) zum Entspannen von durch den zweiten Kältemittelverteiler (134) weitergeleitetem kondensiertem Kältemittel, wobei der zumindest eine erste Wärmetauscher (120) stromab des ersten Expansionsventils (122) angeordnet ist, wobei der zweite Wärmetauscher (130) kaltseitig stromab des zweiten Expansionsventils (132) und warmseitig stromauf des ersten Expansionsventils (122) angeordnet ist, und wobei der zweite Wärmetauscher (130) kaltseitig stromauf des Kompressors (15

Elektrohydraulische Vorrichtung

NºPublicación:  DE102024203864A1 30/10/2025
Solicitante: 
BOSCH GMBH ROBERT [DE]
Robert Bosch Gesellschaft mit beschr\u00E4nkter Haftung

Resumen de: DE102024203864A1

Die Erfindung betrifft eine elektrohydraulische Vorrichtung (1) mit wenigstens einem Steuerglied (2), wobei das Steuerglied (2) einen elektromagnetischen Aktuator (7) und ein Ventilteil (6) aufweist, wobei das Ventilteil (6) ein durch den elektromagnetischen Aktuator (7) verstellbares, bewegliches Ventilelement (16) zum Öffnen und Schließen von an dem Ventilteil (6) ausgebildeten hydraulischen Kanälen (15) aufweist, wobei die elektrohydraulische Vorrichtung (1) unterschiedliche Sensoren (8, 9) zur Erfassung unterschiedlicher physikalischer Parameter einer der elektrohydraulischen Vorrichtung (1) zuführbaren Hydraulikflüssigkeit aufweist. Es wird vorgeschlagen, dass die elektrohydraulische Vorrichtung (1) als Steuerglied (2) wenigstens ein integriertes Steuerglied (2a) aufweist, wobei das integrierte Steuerglied (2a) als bauliche Einheit mit genau einem elektromagnetischen Aktuator (7) und genau einem Ventilteil (6) und wenigstens zwei in dem integrierten Steuerglied (2a) angeordneten, unterschiedliche physikalische Eigenschaften der Hydraulikflüssigkeit erfassenden Sensoren (8, 9) ausgebildet ist.

PHOSPHATE NIOBIUM BRONZOÏDS AND BRONZES

NºPublicación:  WO2025224121A1 30/10/2025
Solicitante: 
UMICORE [BE]
CENTRE NATIONAL DE LA RECHERCHE SCIENT [FR]
UNIV DE PICARDIE JULES VERNE [FR]
UMICORE,
CENTRE NATIONAL DE LA RECHERCHE SCIENTIFIQUE,
UNIVERSITE DE PICARDIE JULES VERNE
WO_2025224121_PA

Resumen de: WO2025224121A1

The present disclosure concerns sodium-phosphate niobium bronzoïds and bronzes having the following formula: Na2Nb4P2O16 and NaNb3P2O13, and their manufacture, comprising the following steps: Annealing a mixture of precursors M1; Grinding the annealed mixture M1; Pelletizing the ground mixture M1 to obtain a pellet P1; Annealing the pellet P1; wherein M1 comprises a niobium precursor, a phosphate precursor, and a sodium precursor.

LITHIUM PHOSPHATE NIOBIUM BRONZOIDS AND BRONZES

NºPublicación:  WO2025224124A1 30/10/2025
Solicitante: 
UMICORE [BE]
CENTRE NATIONAL DE LA RECHERCHE SCIENT [FR]
UNIV DE PICARDIE JULES VERNE [FR]
UMICORE,
CENTRE NATIONAL DE LA RECHERCHE SCIENTIFIQUE,
UNIVERSITE DE PICARDIE JULES VERNE
WO_2025224124_PA

Resumen de: WO2025224124A1

The present disclosure concerns lithium-phosphate niobium bronzoTds and bronzes having either of the following formula: Li2Nb4P2O16 or LiNb3P2O13 and the process for their manufacture, comprising the following steps: Providing a sodium-phosphate niobium bronzoid or bronze; mixing and grinding the sodium-phosphate niobium bronzoid or bronze with a Li-comprising precursor to obtain a mixture M2; pelletizing the mixture M2 to obtain a pellet P2; annealing the pellet P2; grinding the pellet to obtain a powder W2; washing and drying the powder W2.

EIN FUNKTIONSBLOCK ZUM VERTEILEN EINER HEIZLAST ODER EINER KÜHLLAST ÜBER KÜHLMITTEL IN EINEM FAHRZEUG

NºPublicación:  DE102025116082A1 30/10/2025
Solicitante: 
FORD GLOBAL TECH LLC [US]
Ford Global Technologies, LLC

Resumen de: DE102025116082A1

Ein thermischer Funktionsblock beinhaltet einen Funktionsblockeinlass, ein Dreiwegeventil, das einen Ventileinlass, einen ersten Ventilauslass und einen zweiten Ventilauslass beinhaltet, einen ersten Kopplungspunkt, der stromabwärts des ersten Ventilauslasses positioniert ist, einen ersten Wärmetauscher, der stromabwärts des ersten Kopplungspunkts positioniert ist, einen Splitter, der einen Splittereinlass aufweist, und einen ersten Splitterauslass und einen zweiten Splitterauslass, eine Pumpe, die an den ersten Splitterauslass gekoppelt und stromabwärts davon ist, ein erstes Rückschlagventil, das stromabwärts der Pumpe positioniert ist, einen zweiten Wärmetauscher, der stromabwärts des ersten Rückschlagventils positioniert ist, ein zweites Rückschlagventil, das stromabwärts des zweiten Auslasses des Splitters positioniert ist, einen zweiten Kopplungspunkt, der stromabwärts des zweiten Rückschlagventils positioniert ist, einen Funktionsblockauslass, und einen Bypass, die an den zweiten Auslass des Dreiwegeventils und an den zweiten Kopplungspunkt gekoppelt ist.

Zellverbinder für einen elektrischen Energiespeicher

Nº publicación: DE102024112002A1 30/10/2025

Solicitante:

BAYERISCHE MOTOREN WERKE AG [DE]
Bayerische Motoren Werke Aktiengesellschaft

DE_102024112002_PA

Resumen de: DE102024112002A1

Es wird ein Zellverbinder für einen elektrischen Energiespeicher beschrieben, wobei der Zellverbinder eingerichtet ist, unterschiedliche Speicherzellen des Energiespeichers elektrisch leitend miteinander zu verbinden. Der Zellverbinder ist aus einem Verbundmaterial hergestellt, das zumindest zwei unterschiedliche Materialschichten aufweist.

traducir