Ministerio de Industria, Turismo y Comercio LogoMinisterior
 

Alerta

Resultados 1604 resultados
LastUpdate Última actualización 11/11/2025 [07:13:00]
pdfxls
Publicaciones de los últimos 15 días/Last 15 days publications (excluidas pubs. CN y JP /CN and JP pubs. excluded)
previousPage Resultados 1300 a 1325 de 1604 nextPage  

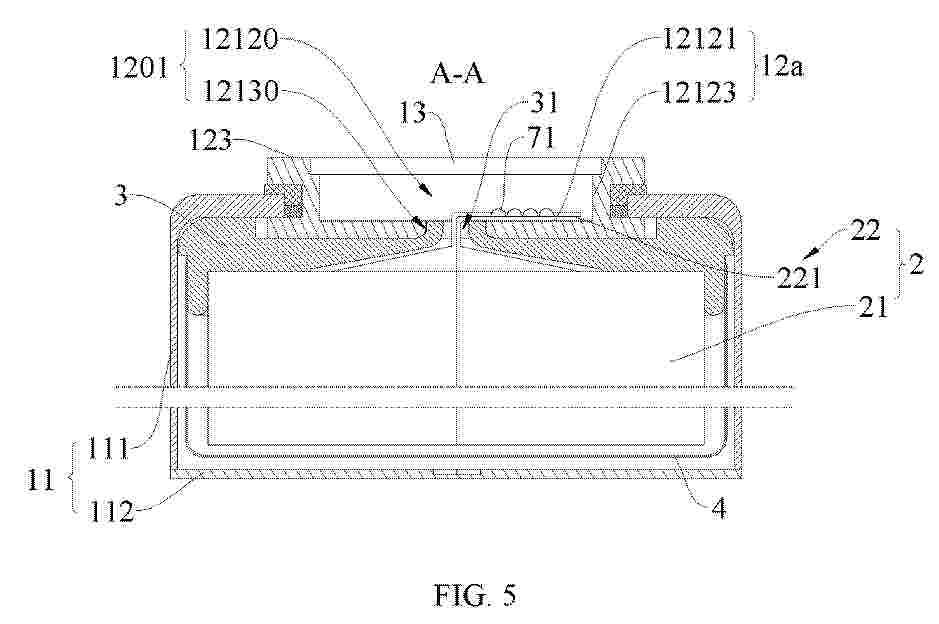
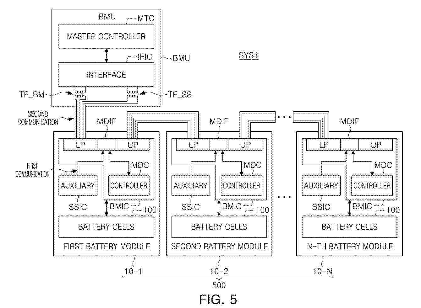
BATTERY MANAGEMENT APPARATUS

NºPublicación:  EP4641753A2 29/10/2025
Solicitante: 
SK ON CO LTD [KR]
SK On Co., Ltd
EP_4641753_PA

Resumen de: EP4641753A2

A battery management apparatus includes a cell monitoring unit including a battery monitoring integrated circuit (IC) configured to generate first sensing data of a battery module, and a battery management unit communicatively coupled to the cell monitoring unit and including: a master controller in communication with the battery monitoring IC; and an interface IC configured to perform a communication conversion operation for communication between the battery monitoring IC and the master controller. The cell monitoring unit further includes a battery auxiliary management unit disposed in the battery module. The battery monitoring IC is further configured to perform a communication conversion operation to facilitate communication between the battery auxiliary management unit and the interface IC.

POSITIVE ELECTRODES FOR RECHARGEABLE LITHIUM BATTERIES AND RECHARGEABLE LITHIUM BATTERIES INCLUDING THE SAME

NºPublicación:  EP4641705A1 29/10/2025
Solicitante: 
SAMSUNG SDI CO LTD [KR]
SAMSUNG SDI CO., LTD
EP_4641705_PA

Resumen de: EP4641705A1

Disclosed are a positive electrode for a rechargeable lithium battery and a rechargeable lithium battery including the positive electrode. The positive electrode includes a positive electrode current collector, a safety functional layer on the positive electrode current collector, and a positive electrode active material layer on the safety functional layer, wherein the safety functional layer includes a lithium iron phosphate-based compound and an endothermic material.

POSITIVE ELECTRODES FOR RECHARGEABLE LITHIUM BATTERIES AND RECHARGEABLE LITHIUM BATTERIES INCLUDING THE SAME

NºPublicación:  EP4641704A1 29/10/2025
Solicitante: 
SAMSUNG SDI CO LTD [KR]
SAMSUNG SDI CO., LTD
EP_4641704_PA

Resumen de: EP4641704A1

Disclosed are a positive electrode for a rechargeable lithium battery, and a rechargeable lithium battery including the positive electrode, the positive electrode including a positive electrode current collector; a safety functional layer on the positive electrode current collector, and a positive electrode active material layer on the safety functional layer, wherein the safety functional layer includes a first safety functional layer including a lithium iron phosphate-based compound and a second safety functional layer including an endothermic material.

POSITIVE ELECTRODE ACTIVE MATERIAL, POSITIVE ELECTRODE SHEET, SECONDARY BATTERY, AND ELECTRIC DEVICE

NºPublicación:  EP4641687A1 29/10/2025
Solicitante: 
CONTEMPORARY AMPEREX TECHNOLOGY HONG KONG LTD [HK]
Contemporary Amperex Technology (Hong Kong) Limited
EP_4641687_PA

Resumen de: EP4641687A1

Provided are a positive electrode active material, a positive electrode sheet, a secondary battery, and an electric device. The positive electrode active material includes a first active material and a second active material. The first active material and the second active material have different material compositions. In a test curve of the positive electrode active material using a state of charge SOC as an abscissa and dV/dSOC as an ordinate, 0.5≤dV/dSOC≤2.0, and 0.3≤ΔSOC<1.0, where V represents a voltage value, and ΔSOC represents a difference value of an SOC value range corresponding to the dV/dSOC value range. For self-discharge using the positive electrode active material, self-discharge screening accuracy can be improved.

BATTERY CELL, BATTERY AND ELECTRICAL APPARATUS

NºPublicación:  EP4641741A1 29/10/2025
Solicitante: 
CONTEMPORARY AMPEREX TECHNOLOGY HONG KONG LTD [HK]
Contemporary Amperex Technology (Hong Kong) Limited
EP_4641741_PA

Resumen de: EP4641741A1

A battery cell, a battery and an electrical apparatus, belonging to the technical field of batteries. The battery cell comprises: terminals and a battery core assembly; the battery core assembly comprises active substance coated parts and a plurality of tab pieces extending from the active substance coated parts in a first direction; the ends of the plurality of tab pieces close to an active substance coated part close up to form a first closing-up part, and the ends of the plurality of tab pieces away from the active substance coated part close up and connect to each other to form a second closing-up part, the first closing-up part being connected to the second closing-up part and the active substance coated part, and the orthographic projection of the end of the second closing-up part connected to the first closing-up part on a terminal in the first direction being at least partially located in the outer contour range of the terminal. The battery cell helps to shorten lengths of conductive parts, improving the reliability of the battery cell.

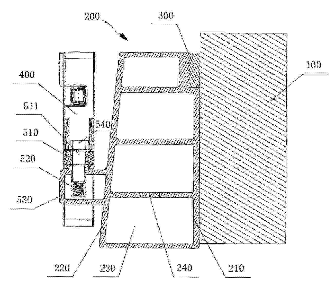
BATTERY CELL, BATTERY, AND ELECTRICAL APPARATUS

NºPublicación:  EP4641810A1 29/10/2025
Solicitante: 
CONTEMPORARY AMPEREX TECHNOLOGY HONG KONG LTD [HK]
Contemporary Amperex Technology (Hong Kong) Limited
EP_4641810_PA

Resumen de: EP4641810A1

A battery cell, a battery, and an electrical device. The battery cell comprises: a casing assembly, comprising a casing and a first pole, the first pole comprising a pole body and a first cover plate, the pole body being mounted in the casing, and the first cover plate being arranged on the pole body; and a cell assembly, comprising an active material coating portion and a conductive portion connected to the active material coating portion, the active material coating portion being accommodated in the casing, and the conductive portion being connected to the pole body by means of a first welding portion. The first welding portion is at least partially located on the side of the pole body away from the active material coating portion, and the first cover plate is used for shielding the first welding portion. The present application can improve the reliability of a battery cell.

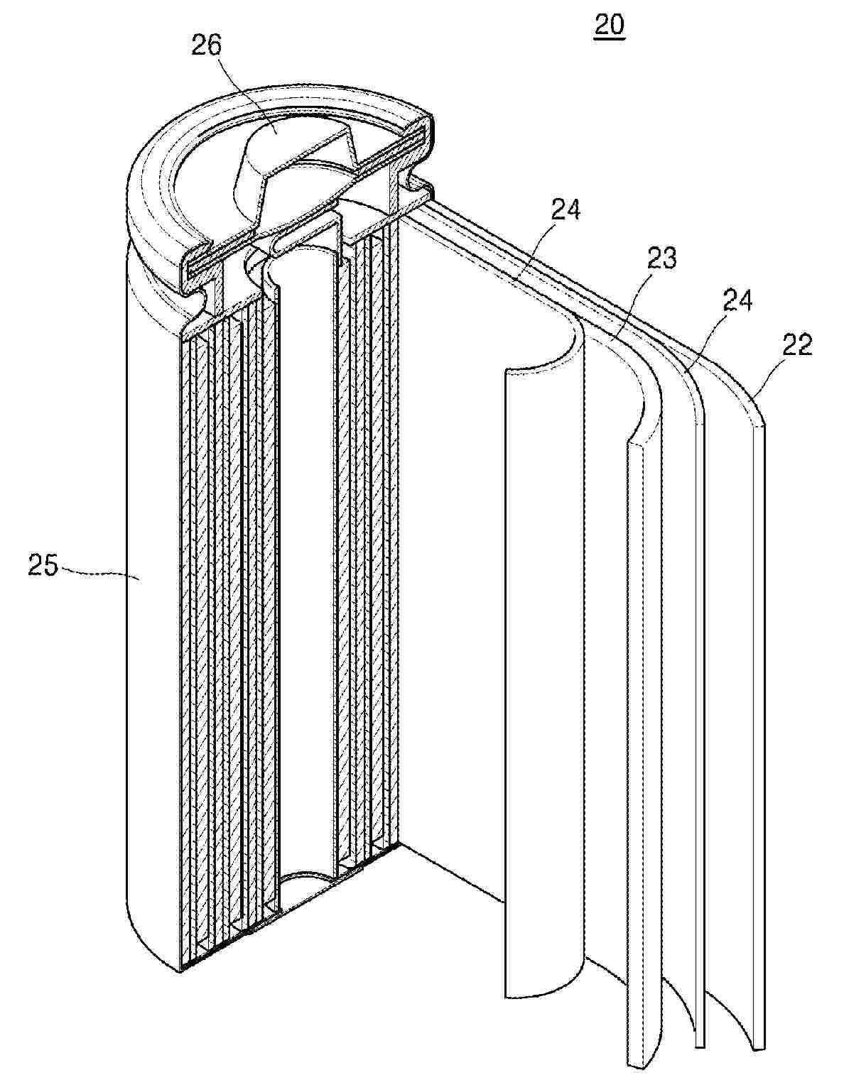
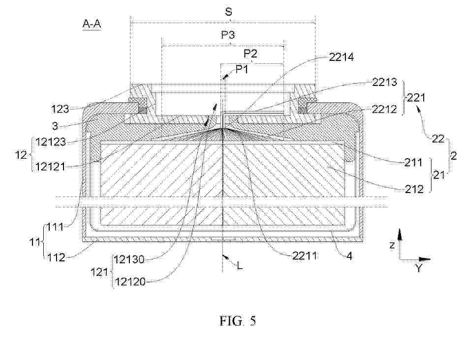
COVER PLATE ASSEMBLY AND SINGLE-CELL BATTERY COMPRISING SAME

NºPublicación:  EP4641777A1 29/10/2025
Solicitante: 
AESC JAPAN LTD [JP]
AESC Japan Ltd
EP_4641777_PA

Resumen de: EP4641777A1

A cover plate assembly (2) and a single-cell battery (1) comprising the same are provided. The cover plate assembly (2) includes: a cover plate body (10) provided with a penetrating liquid injection hole (11) in a thickness direction (T) of the cover plate body (10); and an insulating member (20) including a first channel (23) communicating with the liquid injection hole (11) and a second channel (24) communicating with the first channel (23). By arranging the second channel (24) communicating with the first channel (23), electrolyte flows into an inner portion of the single-cell battery (1) through liquid outlets of different channels, and a liquid injection process is thereby accelerated.

IMPREGNATION EVALUATION DEVICE AND SECONDARY BATTERY PRODUCTION SYSTEM

NºPublicación:  EP4641752A2 29/10/2025
Solicitante: 
SAMSUNG SDI CO LTD [KR]
RESEARCH & BUSINESS FOUND SUNGKYUNKWAN UNIV [KR]
SAMSUNG SDI CO., LTD,
Research & Business Foundation Sungkyunkwan University
EP_4641752_PA

Resumen de: EP4641752A2

The present disclosure relates to an impregnation evaluation device for evaluating impregnation of an electrode plate by an electrolyte. To this end, an impregnation evaluation device includes a processor configured to calculate a theoretical mass of an electrode plate, and a mass measuring unit configured to measure an actual mass of the electrode plate, wherein the processor is configured to evaluate the impregnation of the electrode plate by comparing the theoretical mass with the actual mass.

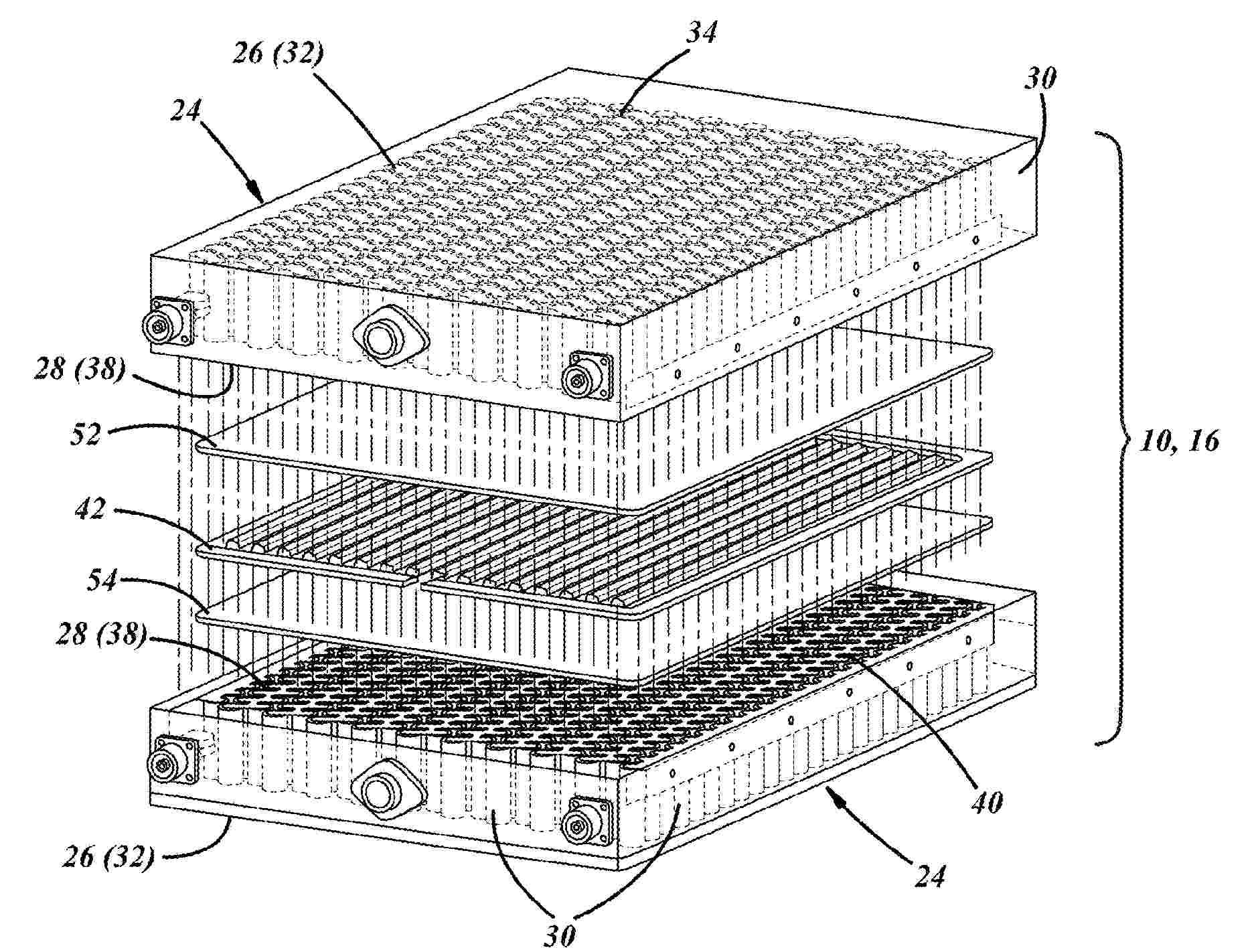
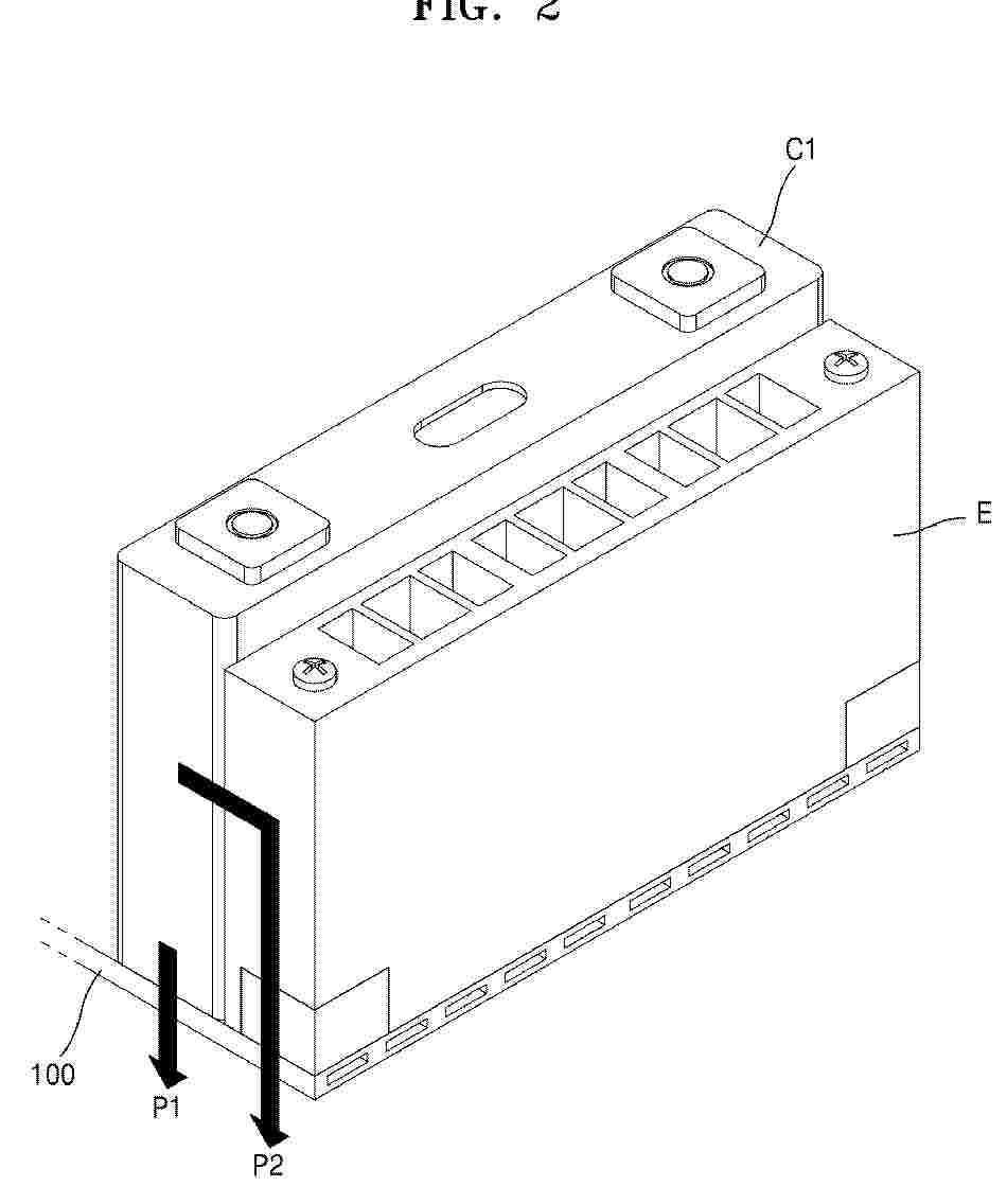
BATTERY PACK

NºPublicación:  EP4641764A1 29/10/2025
Solicitante: 
SAMSUNG SDI CO LTD [KR]
SAMSUNG SDI CO., LTD
EP_4641764_PA

Resumen de: EP4641764A1

Battery pack comprising: a plurality of battery cells (C) arranged in a first direction (Z1); an end plate (E) arranged on the outside of an outermost battery cell of the plurality of battery cells (C) in the first direction (Z1); a cooling plate (100) extending across bottom surfaces (12) of the plurality of battery cells (C); and an insulating block (IB) positioned at a coupling position (CP) between the end plate (E) and the cooling plate (100).The battery pack is capable of providing a uniform temperature environment for a plurality of battery cells to eliminate or alleviate temperature variation depending on positions of the battery cells. The battery pack is also capable of eliminating or alleviating variation in electrical output characteristics due to the temperature variation. The battery pack provides a heat flow along a common first path for battery cells toward a cooling plate extending across bottom surfaces of the battery cells while suppressing heat flow along a second path from a side of the outermost battery cell among the battery cells.

NEGATIVE ELECTRODE FOR LITHIUM SECONDARY BATTERY AND MANUFACTURING METHOD THEREFOR

NºPublicación:  EP4641682A1 29/10/2025
Solicitante: 
LG ENERGY SOLUTION LTD [KR]
LG Energy Solution, Ltd
EP_4641682_A1

Resumen de: EP4641682A1

A negative electrode for a lithium secondary battery may include a negative electrode having a silicon-based negative electrode active material with a predetermined content in a first negative electrode active layer in contact with a negative electrode current collector. By controlling an orientation index (O.I<sub>1st</sub>) of a first negative electrode active layer and a ratio of the orientation index (O.I<sub>1st</sub> /O.I<sub>2nd</sub>) of the first negative electrode active layer to the second negative electrode active layer to a predetermined range, the negative electrode for a lithium secondary battery has the characteristics of not only high charge and discharge capacity but also excellent adhesion between the negative electrode current collector and the negative electrode active layer. In addition, the lithium secondary battery including the negative electrode has excellent lifespan characteristics, has excellent output characteristics, and can be charged in a short time even at a 1C-rate.

NEGATIVE ELECTRODE FOR LITHIUM SECONDARY BATTERY AND METHOD FOR MANUFACTURING SAME

NºPublicación:  EP4641658A1 29/10/2025
Solicitante: 
LG ENERGY SOLUTION LTD [KR]
LG Energy Solution, Ltd
EP_4641658_A1

Resumen de: EP4641658A1

A negative electrode may include a two-layer structure negative electrode active layer on a negative electrode current collector. The second negative electrode active layer may be an upper layer, may include a carbon-based negative electrode active material and a silicon-based negative electrode active material in a predetermined content ratio, and may have a high charge and discharge capacity by adjusting an orientation index (O.I) of the first negative electrode active layer., The first negative electrode active layer may be a lower layer and may have a ratio (O.I<sub>1st</sub>/O.I<sub>2nd</sub>) of the first negative electrode active layer and the second negative electrode active layer to a predetermined range. In addition, a lithium secondary battery comprising the same may have the advantage of having excellent output characteristics and can be charged in a short time even at a 1C-rate.

LITHIUM SECONDARY BATTERY

NºPublicación:  EP4641683A1 29/10/2025
Solicitante: 
LG ENERGY SOLUTION LTD [KR]
LG Energy Solution, Ltd
EP_4641683_A1

Resumen de: EP4641683A1

The present invention relates to a lithium secondary battery comprising: a cathode; an anode; and a separator provided between the cathode and the anode, the cathode comprising, as a cathode active material, lithium composite transition metal compound particles in a single particle form containing nickel, cobalt, and manganese, the anode comprising silicon-based particles as an anode active material, wherein the specific surface area of the silicon-based particles is at least four times that of the lithium composite transition metal compound particles.

POSITIVE ELECTRODE ACTIVE MATERIALS FOR RECHARGEABLE LITHIUM BATTERIES AND RECHARGEABLE LITHIUM BATTERIES INCLUDING THE POSITIVE ELECTRODE ACTIVE MATERIALS

NºPublicación:  EP4641679A1 29/10/2025
Solicitante: 
SAMSUNG SDI CO LTD [KR]
SAMSUNG SDI CO., LTD
EP_4641679_PA

Resumen de: EP4641679A1

Disclosed are a positive electrode active material for a rechargeable lithium battery, and a positive electrode including the positive electrode active material, a method of manufacturing positive electrode, and a rechargeable lithium battery. The first positive electrode active material includes a first lithium cobalt-based oxide doped with aluminium and a second positive electrode active material including a second lithium cobalt-based oxide doped with aluminium. An average particle diameter (D<sub>50</sub>) of the first positive electrode active material is greater than an average particle diameter (D<sub>50</sub>) of the second positive electrode active material. An amount of aluminium based on 100 wt% of a total metal amount in the second positive electrode active material excluding lithium is greater than an amount of aluminium based on 100 wt% of a total metal amount in the first positive electrode active material excluding lithium.

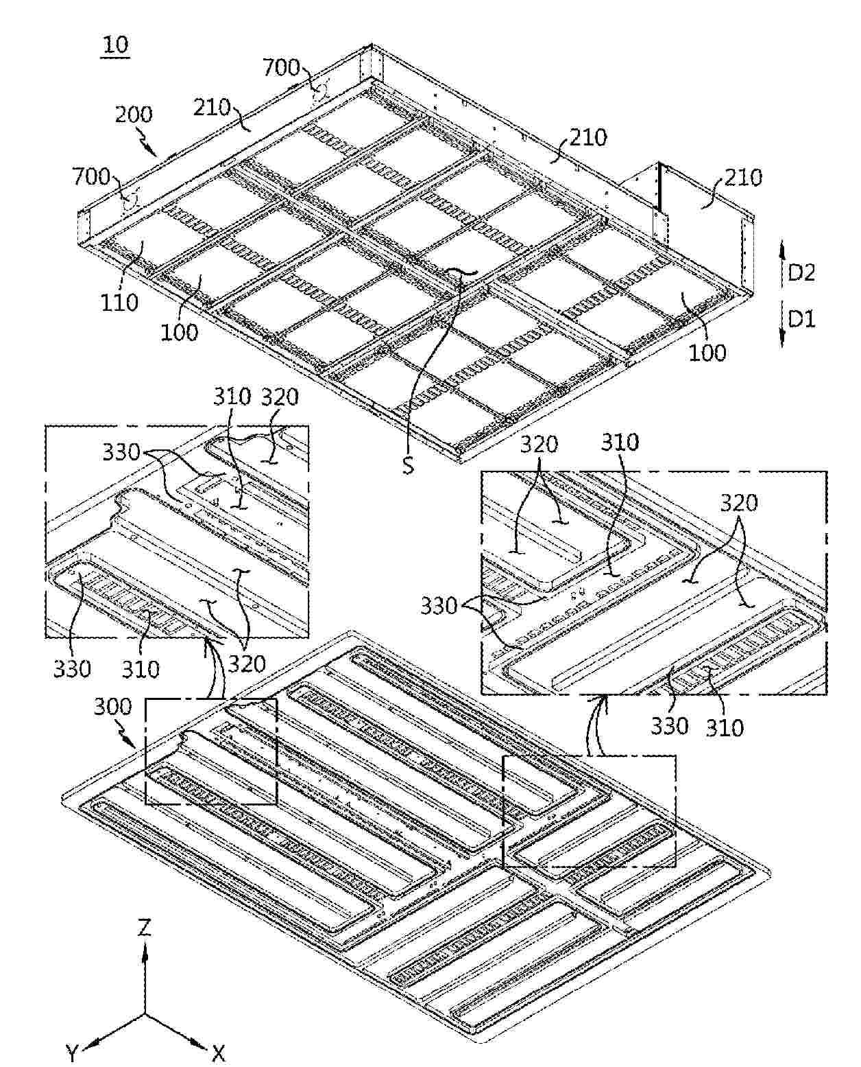
BATTERY PACK

NºPublicación:  EP4641789A1 29/10/2025
Solicitante: 
EVE ENERGY CO LTD [CN]
Eve Energy Co., Ltd
EP_4641789_PA

Resumen de: EP4641789A1

Provided is a battery pack. The battery pack includes a battery box, a cell assembly (100), and an expansion beam (200). The cell assembly (100) is disposed in the battery box. The expansion beam (200) is fixed in the battery box and includes a first side wall (210) and a second side wall (220) opposite to each other. The first side wall (210) is bonded to the cell assembly (100), significantly enhancing the reliability of the connection between the expansion beam (200) and the cell assembly (100).

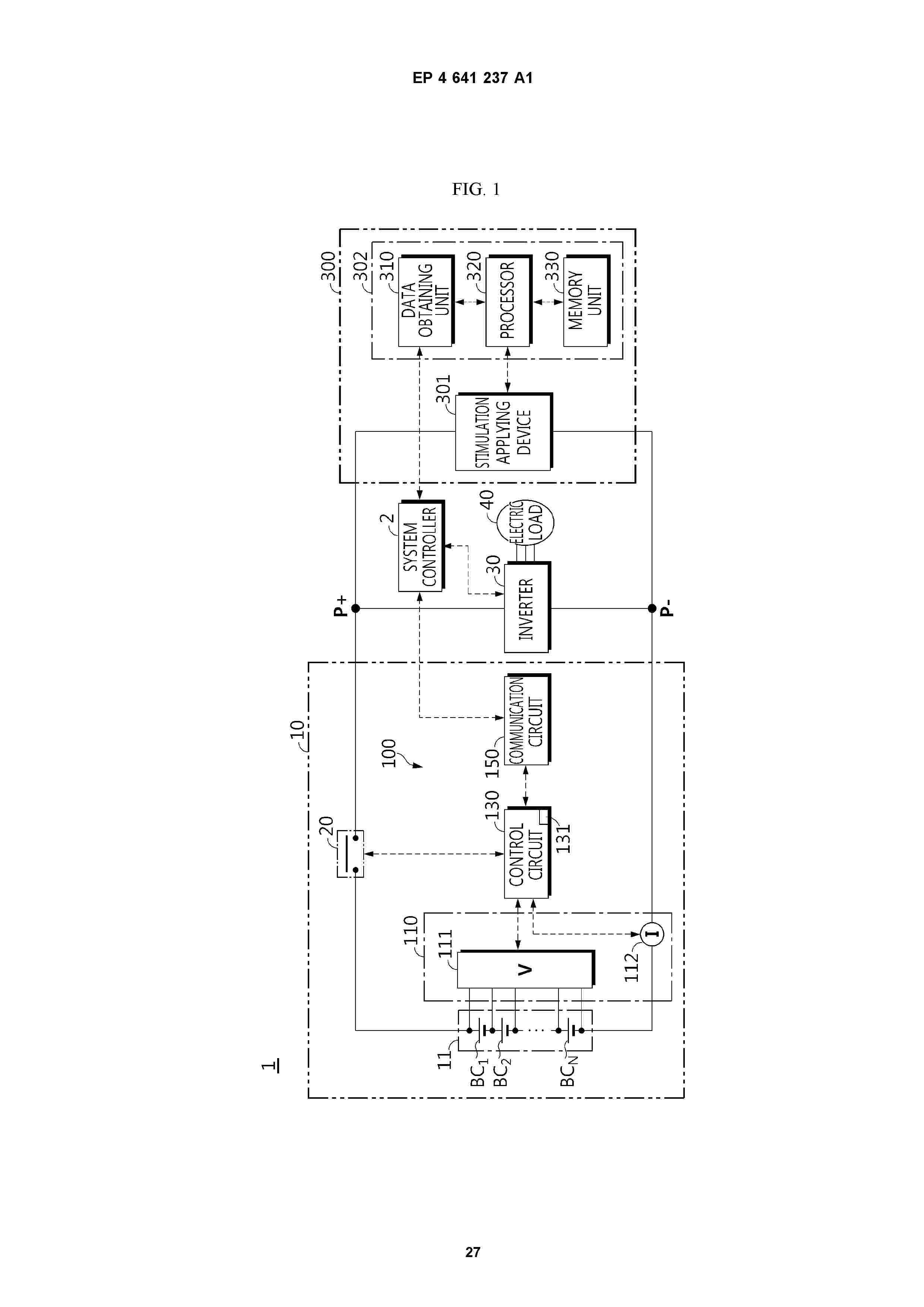
BATTERY DIAGNOSIS METHOD AND BATTERY DIAGNOSIS APPARATUS

NºPublicación:  EP4641237A1 29/10/2025
Solicitante: 
LG ENERGY SOLUTION LTD [KR]
LG Energy Solution, Ltd
EP_4641237_A1

Resumen de: EP4641237A1

Disclosed is a battery diagnosis method and a battery diagnosis apparatus. The battery diagnosis method includes performing an intermittent application procedure of electric stimulation to a battery cell, obtaining state history data of the battery cell corresponding to a state change period until an electric state of the battery cell reaches a second state from a first state, generating a measurement full-cell profile representing a correspondence between a capacity and a voltage of the battery cell based on the state history data, and generating first diagnostic information including at least one diagnostic factor related to charge/discharge performance of the battery cell by analyzing the measurement full-cell profile.

METHOD FOR MANUFACTURING SECONDARY BATTERY

NºPublicación:  EP4641648A1 29/10/2025
Solicitante: 
LG ENERGY SOLUTION LTD [KR]
LG Energy Solution, Ltd
EP_4641648_PA

Resumen de: EP4641648A1

According to exemplary embodiments of the present invention, a secondary battery manufacturing method is provided. The method includes the steps of: collecting data from an electrode sheet on which an electrode process is performed; calculating a production amount corresponding to the length of a portion of the electrode sheet on which the electrode process has been performed; and calculating a loss amount and a defect amount of the electrode sheet.

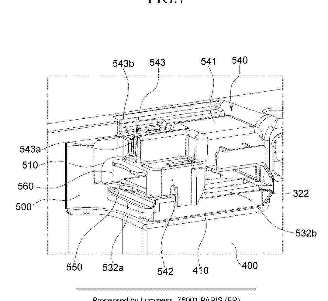
BATTERY MODULE AND BATTERY PACK INCLUDING SAME

NºPublicación:  EP4641823A1 29/10/2025
Solicitante: 
LG ENERGY SOLUTION LTD [KR]
LG Energy Solution, Ltd
EP_4641823_PA

Resumen de: EP4641823A1

A battery module includes a battery cell stack in which a plurality of battery cells are stacked; a module case accommodating the battery cell stack; a terminal busbar disposed on one side of the battery cell stack; an insulation cover disposed on one side of the module case, one end portion of the terminal busbar being positioned at the insulation cover; and a rib disposed at the insulation cover, the rib protruding upward outside the one end portion of the terminal busbar.

METHOD FOR EVALUATING OF SLURRY DISPERSION STATUS AND METHOD FOR MANUFACTURING SLURRY USING SAME

NºPublicación:  EP4641168A1 29/10/2025
Solicitante: 
LG ENERGY SOLUTION LTD [KR]
LG Energy Solution, Ltd
EP_4641168_PA

Resumen de: EP4641168A1

A method for evaluating slurry dispersion status according to an embodiment of the present disclosure measures an SMD value represented by the following Equation 1 for the slurry: SMD=G′1/G′2 wherein, G'1 is an elastic modulus measured after stirring the slurry at a shear rate of 1000/s, and G'2 is an elastic modulus measured after stirring the slurry at a shear rate of 10/s.

ELECTRODE ROLL REPLACEMENT SYSTEM

NºPublicación:  EP4640603A1 29/10/2025
Solicitante: 
LG ENERGY SOLUTION LTD [KR]
LG Energy Solution, Ltd
EP_4640603_PA

Resumen de: EP4640603A1

The disclosed electrode roll replacement system including: an air chuck shaft in the form of a cantilever, comprising a first transfer mechanism installed inside a hollow with a longitudinal direction of a shaft as a transfer direction, and exposing a first transfer surface of the first transfer mechanism on its surface; and an electric cart provided with a transportation shaft in the form of a cantilever, including a second transfer mechanism installed inside a hollow with a longitudinal direction of a shaft as a transfer direction, and exposing a second transfer surface of the second transfer mechanism on its surface, wherein the first and second transfer mechanisms are electrically operated to exchange bobbins between the air chuck shaft and the transport shaft, with the transport shaft of the electric cart concentrically aligned with the air chuck shaft.

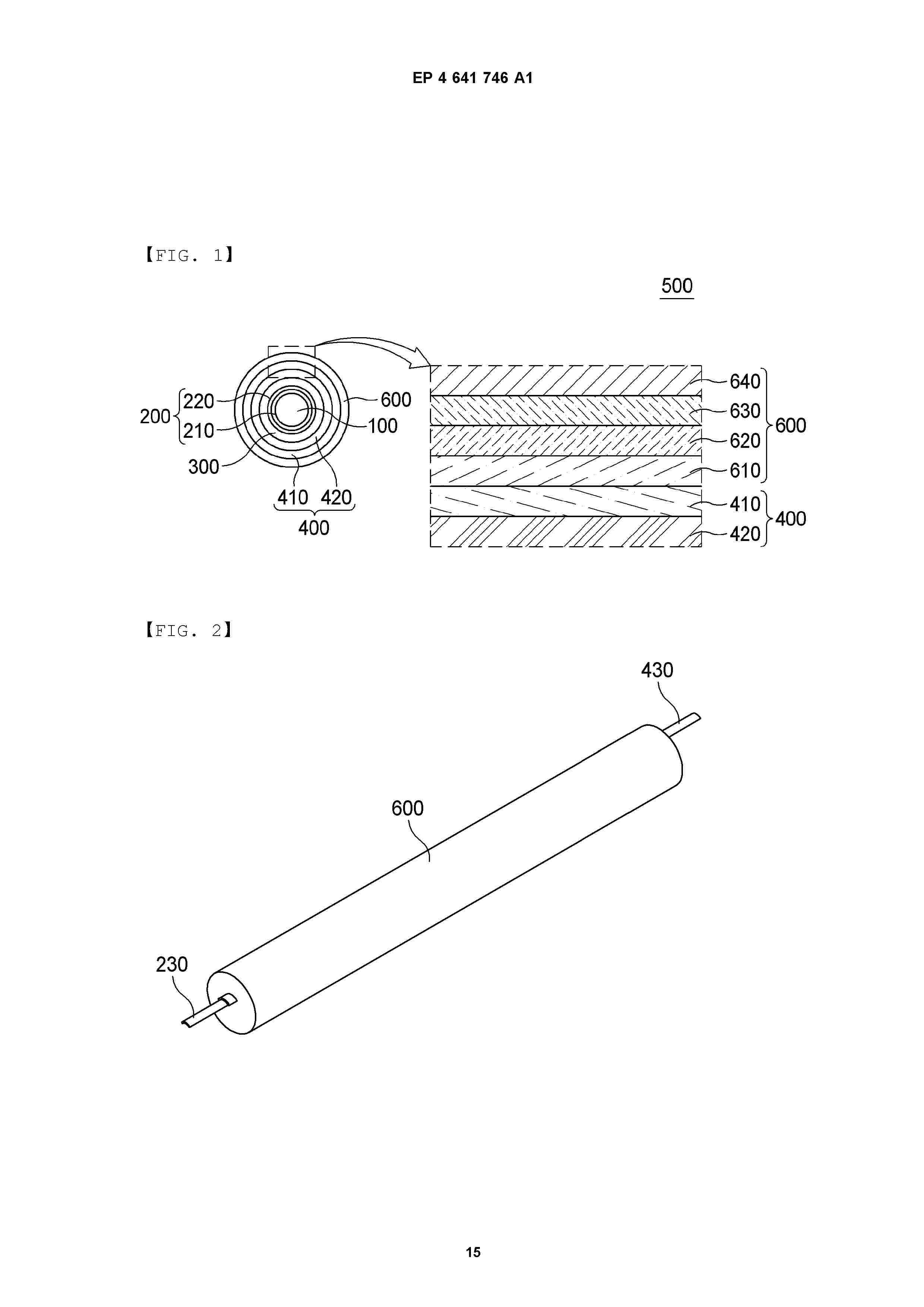
LOW-RESISTANCE CABLE-TYPE CELL WITHOUT ELECTRODE TAB

NºPublicación:  EP4641746A1 29/10/2025
Solicitante: 
LG ENERGY SOLUTION LTD [KR]
LG ENERGY SOLUTION, LTD
EP_4641746_A1

Resumen de: EP4641746A1

When a cable-type cell in which electrode tabs are formed at both ends thereof is manufactured, the travel distance of electrons from electrodes to the electrode tabs increases as the length of the cell increases due to the linear structure of the cable-type cell, resulting in a problem of a low electron transfer rate due to an increase in cell resistance. Disclosed is a low-resistance cable-type cell without electrode tabs configured such that an embedded member constituting the outermost side of the cable-type cell serves as an electrode tab without the need to form an electrode tab of an outer electrode by configuring the embedded member as a conductive layer in order to solve the above problem. The shortest path for electrons to pass from an active material layer of the electrode to the electrode tabs is provided, whereby low-resistance properties are achieved.

DOCTOR BLADE AND APPARATUS FOR MANUFACTURING ELECTRODE INCLUDING SAME

NºPublicación:  EP4641647A1 29/10/2025
Solicitante: 
LG ENERGY SOLUTION LTD [KR]
LG Energy Solution, Ltd
EP_4641647_PA

Resumen de: EP4641647A1

According to an embodiment of the present disclosure, there is provided a doctor blade comprising: a first blade having a first tip including an inclined plane; and a second blade having a second tip including a curved surface, wherein the first blade and the second blade are in contact with each other, wherein an active material is provided on a current collector and can be moved integrally or individually towards a traveling electrode or vice versa.

BATTERY CASE, BATTERY PACK, AND METHOD FOR MANUFACTURING THE BATTERY CASE

NºPublicación:  EP4641761A1 29/10/2025
Solicitante: 
EVE ENERGY CO LTD [CN]
Eve Energy Co., Ltd
EP_4641761_PA

Resumen de: EP4641761A1

The present disclosure discloses a battery case, which includes a case body and a liquid-cooling assembly. The case body is provided with an inner support beam. The inner support beam is provided with an inner guide passage and an output pipe connector in communication with the inner guide passage. The liquid-cooling assembly is mounted in the case body, and includes a first shunt element and a second shunt element arranged opposite to each other. The inner guide passage is arranged between the first shunt element and the second shunt element, and the first shunt element and the second shunt element are both in communication with the output pipe connector. The first shunt element guides the heat exchange medium to be transmitted along a diagonal direction thereof, while the second shunt element guides the heat exchange medium to transmit along a diagonal direction thereof.

METHOD FOR FORMING PATTERNS ON ELECTRODE AND METHOD FOR MANUFACTURING ELECTRODE

NºPublicación:  EP4641646A1 29/10/2025
Solicitante: 
LG ENERGY SOLUTION LTD [KR]
LG Energy Solution, Ltd
EP_4641646_PA

Resumen de: EP4641646A1

According to an embodiment of the present disclosure, there is provided a method for forming patterns on a traveling electrode by providing an active material onto a current collector, the method comprising the steps of: (A) moving a doctor blade to the traveling electrode so that the end of the tip of the doctor blade faces the current collector; (B) maintaining the state in which the doctor blade has moved to the traveling electrode for a first predetermined period; and (C) moving the doctor blade in an opposite direction from the electrode.

LITHIUM-SELECTIVE TRANSMISSION MEMBRANE AND METHOD FOR MANUFACTURING LITHIUM-SELECTIVE TRANSMISSION MEMBRANE

NºPublicación:  EP4640305A1 29/10/2025
Solicitante: 
JAPAN FINE CERAM CO LTD [JP]
Japan Fine Ceramics Co., Ltd
EP_4640305_PA

Resumen de: EP4640305A1

The present invention provides a lithium-selective permeable membrane that can be used to recover lithium ions without performing complicated treatments on the lithium-selective permeable membrane, and that can reduce the time and cost required for recovering lithium ions. A lithium-selective permeable membrane 10 of the present invention includes a sintered body of a lithium-ion conductor. At least a part of a region of an outer surface of the lithium-selective permeable membrane 10 is composed of a surface-roughened surface 101.

POWER STORAGE ELEMENT

Nº publicación: EP4641813A1 29/10/2025

Solicitante:

GS YUASA INT LTD [JP]
GS Yuasa International Ltd

EP_4641813_PA

Resumen de: EP4641813A1

An energy storage device includes: a first electrode assembly and a second electrode assembly; and a first current collector. The first electrode assembly includes a first body part and a first tab part extending from an end of the first body part in a first direction. The second electrode assembly includes a second body part and a second tab part extending from an end of the second body part in the first direction. The first tab part and the second tab part are superimposed in the first direction and are joined to the first current collector at a first junction part. The first tab part is located between the second tab part and the first current collector at the first junction part. A length of the first tab part is shorter than a length of the second tab part.

traducir