Ministerio de Industria, Turismo y Comercio LogoMinisterior
 

Alerta

Resultados 1601 resultados
LastUpdate Última actualización 20/03/2026 [07:15:00]
pdfxls
Publicaciones de los últimos 15 días/Last 15 days publications (excluidas pubs. CN y JP /CN and JP pubs. excluded)
previousPage Resultados 1275 a 1300 de 1601 nextPage  

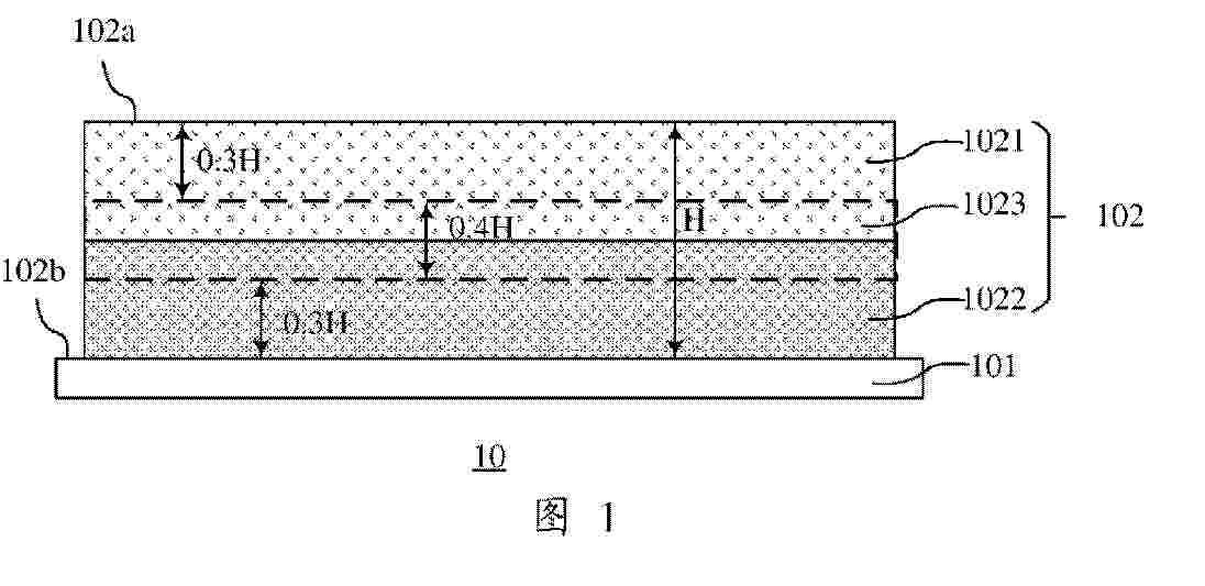
SECONDARY BATTERY AND ELECTRIC DEVICE

NºPublicación:  WO2026045360A1 05/03/2026
Solicitante: 
CONTEMPORARY AMPEREX TECH CO LIMITED [CN]
\u5B81\u5FB7\u65F6\u4EE3\u65B0\u80FD\u6E90\u79D1\u6280\u80A1\u4EFD\u6709\u9650\u516C\u53F8
WO_2026045360_PA

Resumen de: WO2026045360A1

Provided in the present disclosure is a secondary battery comprising a negative electrode sheet, wherein the negative electrode sheet comprises a negative electrode current collector and a negative electrode film layer disposed on at least one surface of the negative electrode current collector. The negative electrode film layer is provided with a first surface away from the negative electrode current collector and a second surface arranged opposite to the first surface, the thickness of the negative electrode film layer is marked as H. A region with in a thickness range from the first surface to 0.3 H of the negative electrode film layer is marked as the first region of the negative electrode film layer, and a region within a thickness range from the second surface to 0.3 H of the negative electrode film layer is marked as the second region of the negative electrode film layer. The first region comprises a first negative electrode active material, and the second region comprises a second negative electrode active material. The first negative electrode active material comprises primary particles of first artificial graphite, the first negative electrode active material has a powder OI value of 3-6, a graphitization degree of 91-93.5%. The second negative electrode active material has a capacity per gram greater than that of the first negative electrode active material.

CLAMPING DEVICE, BATTERY PRODUCTION APPARATUS AND ELECTRODE ASSEMBLY SHAPING METHOD

NºPublicación:  WO2026045396A1 05/03/2026
Solicitante: 
CONTEMPORARY AMPEREX TECH CO LIMITED [CN]
\u5B81\u5FB7\u65F6\u4EE3\u65B0\u80FD\u6E90\u79D1\u6280\u80A1\u4EFD\u6709\u9650\u516C\u53F8
WO_2026045396_PA

Resumen de: WO2026045396A1

A clamping device, which is used for clamping an encapsulated electrode assembly (101). The encapsulated electrode assembly comprises an electrode assembly (30) and an encapsulating film (40). The encapsulating film comprises an accommodating portion (41) for accommodating the electrode assembly and an edge sealing portion (42) surrounding the outer periphery of the accommodating portion. The clamping device comprises: a clamping member (102) for clamping the encapsulated electrode assembly, the clamping member comprising an annular clamping area (102a), and the clamping member being configured to clamp the edge sealing portion in the clamping area; and an adjustment member (103) for adjusting a clamping force applied by the clamping member to clamping the edge sealing portion. The clamping device can alleviate the problem of deformation of the electrode assembly during isostatic pressing. Also provided are a battery production apparatus comprising the clamping device and an electrode assembly shaping method using the clamping device.

BATTERY AND BATTERY PROCESSING TECHNOLOGY THEREFOR

NºPublicación:  WO2026044488A1 05/03/2026
Solicitante: 
JIANGSU MORLUS TECH COMPANY LIMITED [CN]
\u6C5F\u82CF\u61CB\u7565\u79D1\u6280\u6709\u9650\u516C\u53F8
WO_2026044488_PA

Resumen de: WO2026044488A1

The present application relates to the technical field of batteries, and in particular to a battery and a battery processing technology. The battery comprises: a case, comprising a cell frame having an accommodating space and two case covers, wherein a pole mounting hole, an electrolyte injection hole, and an explosion-proof valve hole are formed on the cell frame; an electrode core assembly, arranged in the accommodating space of the cell frame, wherein the electrode core assembly comprises an electrode core provided with a positive electrode tab and a negative electrode tab, an insulating film sleeved on the outer side of the electrode core, a spacer ring arranged between the tab side of the electrode core and the cell frame, and two side plates arranged between the opposite side of the electrode core and the cell frame; a pole assembly, arranged at the pole mounting hole, wherein the pole assembly comprises a pole, a first sealing ring sleeved on the pole, an outer insulating member and an inner insulating member which are arranged on the inner and outer sides of the pole mounting hole, and an outer connecting member arranged on the outer insulating member and fixed to the pole by welding; an explosion-proof valve, arranged at the explosion-proof valve hole; and a blocking member, sealing the electrolyte injection hole on the cell frame.

BATTERY

NºPublicación:  WO2026044490A1 05/03/2026
Solicitante: 
SHENZHEN GEM MICRO POWER TECH CO LTD [CN]
\u6DF1\u5733\u5E02\u749E\u77F3\u5FAE\u80FD\u6280\u672F\u6709\u9650\u516C\u53F8
WO_2026044490_PA

Resumen de: WO2026044490A1

Disclosed is a battery, comprising: a battery cell. The battery cell comprises a positive and negative electrode material layer and an insulating layer. One end of the positive and negative electrode material layer forms a positive electrode material terminal. A first spiral space gap is provided in the positive electrode material terminal, and a first conductive material structure is provided in the first spiral space gap. The other end of the positive and negative electrode material layer forms a negative electrode material terminal. A second spiral space gap is provided in the negative electrode material terminal, and a second conductive material structure is provided in the second spiral space gap. Since the first conductive material structure is provided in the first spiral space gap of the positive electrode material terminal, and the second conductive material structure is provided in the second spiral space gap of the negative electrode material terminal, gap spaces formed by inward flattening can be avoided, the stability of welding between tabs and the battery cell is ensured, and adverse factors such as high internal resistance, excessive self-discharge, open circuits, or failure to operate are less likely to occur in vibrating environments during later-stage use of the battery, thereby extending the service life of the battery.

HEAT EXCHANGE ASSEMBLY, BATTERY DEVICE, ELECTRIC APPARATUS, AND ENERGY STORAGE APPARATUS

NºPublicación:  WO2026044464A1 05/03/2026
Solicitante: 
CONTEMPORARY AMPEREX TECH CO LIMITED [CN]
\u5B81\u5FB7\u65F6\u4EE3\u65B0\u80FD\u6E90\u79D1\u6280\u80A1\u4EFD\u6709\u9650\u516C\u53F8
WO_2026044464_PA

Resumen de: WO2026044464A1

Embodiments of the present disclosure provide a heat exchange assembly, a battery device, an electric apparatus, and an energy storage apparatus. The battery device comprises a box assembly, a battery cell assembly, and the heat exchange assembly. The box assembly is internally provided with a first accommodating cavity. The battery cell assembly is arranged in the first accommodating cavity. The heat exchange assembly is arranged in the box assembly. The heat exchange assembly comprises at least two flexible members. The at least two flexible members are stacked, at least one medium flow channel is formed between the flexible members, the at least one medium flow channel is used for allowing a heat exchange medium to flow, and the heat exchange medium is used for exchanging heat with the battery cell assembly.

BATTERY ARRAY BUSBAR FRAME DESIGNS

NºPublicación:  US20260066476A1 05/03/2026
Solicitante: 
FORD GLOBAL TECH LLC [US]
FORD GLOBAL TECHNOLOGIES, LLC
US_20260066476_PA

Resumen de: US20260066476A1

Battery array busbar frame designs are disclosed for use within traction battery packs. An exemplary battery array may include a busbar frame that includes features that facilitate the use of mechanical fastenerless connections inside the battery array. These features may include legs that can be mounted to a top cover and/or bottom cover of an array housing via an adhesive, and holders that provide an interface for connecting cell spacers to the busbar frame in order to mitigate busbar frame and/or cell spacer motion and increase the structural integrity of the battery array. Gaps between adjacent legs of the busbar frame may further establish coolant flow passages for directing a coolant around battery cells in order to thermally manage the battery array.

BATTERY, AND BATTERY PACK AND VEHICLE COMPRISING THE SAME

NºPublicación:  US20260066360A1 05/03/2026
Solicitante: 
LG ENERGY SOLUTION LTD [KR]
LG ENERGY SOLUTION, LTD
US_20260066360_PA

Resumen de: US20260066360A1

A battery may include an electrode assembly including a first electrode, a second electrode and a separator interposed between the first electrode and the second electrode. The first electrode may include a first active material region coated with an active material layer along a winding direction and a first uncoated region not coated with the active material layer. The battery may further include a first current collector coupled to at least part of the first uncoated region on the electrode assembly, a battery housing to accommodate the electrode assembly and the first current collector, and an insulator interposed between an inner surface of the battery housing facing the first uncoated region or the first current collector and the first uncoated region or the first current collector to block an electrical connection between the first uncoated region and the battery housing.

ELECTROLYTE FOR RECHARGEABLE LITHIUM BATTERY AND RECHARGEABLE LITHIUM BATTERY INCLUDING THE SAME

NºPublicación:  US20260066345A1 05/03/2026
Solicitante: 
SAMSUNG SDI CO LTD [KR]
SAMSUNG SDI CO., LTD
US_20260066345_PA

Resumen de: US20260066345A1

An electrolyte for a rechargeable lithium battery and a rechargeable lithium battery including the electrolyte are disclosed. The electrolyte may include a non-aqueous (e.g., water-insoluble) organic solvent, a lithium salt, a first additive that includes a cesium salt compound represented by Chemical Formula 1-1 or Chemical Formula 1-2, and a second additive that includes a phosphazene compound represented by Chemical Formula 2.

SALT-PHILIC SOLVENT-PHOBIC (SP2) INTERFACIAL COATING FOR ANODES

NºPublicación:  US20260066299A1 05/03/2026
Solicitante: 
THE BOARD OF TRUSTEES OF THE LELAND STANFORD JUNIOR UNIV [US]
The Board of Trustees of the Leland Stanford Junior University
US_20260066299_PA

Resumen de: US20260066299A1

A salt-philic solvent-phobic (SP2) polymer coating on a lithium anode, sodium anode, or a silicon anode selectively transports salt over solvent and is configured to promote salt-derived SEI formation on the anode. The SP2 coating can include a polymer backbone, a first side chain comprising a first moiety having salt affinity, and a second side chain comprising a second moiety immiscible with polar aprotic solvents.

METHOD FOR PREPARING SOLID STATE ELECTROLYTE MEMBRANE STRUCTURE

NºPublicación:  US20260066340A1 05/03/2026
Solicitante: 
MICROVAST INC [US]
MICROVAST, INC
US_20260066340_PA

Resumen de: US20260066340A1

A method for preparing a solid-state electrolyte membrane structure. The method includes: S1, proportionally mixing raw materials of a solid-state electrolyte to obtain a mixed powder; S2, mixing the mixed powder, a binder and a solvent together to obtain a solid-state electrolyte precursor slurry; S3, coating the solid-state electrolyte precursor slurry on a substrate to obtain a solid-state electrolyte precursor coating layer; and S4, subjecting the solid-state electrolyte precursor coating layer to a laser treatment to obtain the solid-state electrolyte membrane structure.

BATTERY ARRAY HOUSING DESIGNS

NºPublicación:  US20260066433A1 05/03/2026
Solicitante: 
FORD GLOBAL TECH LLC [US]
FORD GLOBAL TECHNOLOGIES, LLC
US_20260066433_PA

Resumen de: US20260066433A1

Array housing designs are disclosed for battery arrays of a traction battery pack. An exemplary battery array may include an array housing having a ribbed structure that includes at least one rib (e.g., external and/or internal) configured for increasing the structural stiffness of the battery array. A groove may extend at least partially through the rib, and an adhesive/sealant may be disposed within the groove for securing a surrounding structure relative to the array housing and thereby structurally integrating the battery array. In some implementations, the groove may receive a fin of a thermal barrier assembly of a battery cell stack of the battery array.

BATTERY MODULE

NºPublicación:  US20260066444A1 05/03/2026
Solicitante: 
LG ENERGY SOLUTION LTD [KR]
LG ENERGY SOLUTION, LTD
US_20260066444_PA

Resumen de: US20260066444A1

A battery module includes a housing which accommodates a plurality of battery cells therein, and has a vent-hole portion formed therein; a top cover which is movably installed on the housing so as to open/close the vent-hole portion; an elastic member which is installed to apply an elastic force to the top cover in a direction in which the top cover opens the vent-hole portion; and a stopper configured to support the top cover so that the top cover maintains a closed state of the vent-hole portion. The stopper can lose or reduce support to the top cover due to changes in temperature or pressure.

NEGATIVE ELECTRODE FOR ALL-SOLID-STATE BATTERY, ALL-SOLID-STATE BATTERY, AND METHOD OF FABRICATING THE SAME

NºPublicación:  US20260066294A1 05/03/2026
Solicitante: 
SAMSUNG SDI CO LTD [KR]
SAMSUNG SDI CO., LTD
US_20260066294_PA

Resumen de: US20260066294A1

Disclosed are negative electrodes, all-solid-state batteries, and fabrication methods thereof. The all-solid-state battery includes a positive electrode layer, a negative electrode layer including a negative electrode current collector, and a negative electrode coating layer on the negative electrode current collector, and a solid electrolyte layer between the positive electrode layer and the negative electrode layer. The negative electrode layer includes lithiophilic metal, carbon, an additive, and a porous polymer composite. The porous polymer composite has a particulate shape. The additive includes a binder. An amount of the porous polymer composite in the negative electrode coating layer is greater than the amount of the additive in the negative electrode coating layer.

NEGATIVE ELECTRODE ACTIVE MATERIAL FOR RECHARGEABLE LITHIUM BATTERY AND RECHARGEABLE LITHIUM BATTERY INCLUDING THE SAME

NºPublicación:  US20260066295A1 05/03/2026
Solicitante: 
SAMSUNG SDI CO LTD [KR]
SAMSUNG SDI CO., LTD
US_20260066295_PA

Resumen de: US20260066295A1

The present invention relates to a negative electrode active material for a rechargeable lithium battery and a rechargeable lithium battery including the same, and the negative electrode active material for a rechargeable lithium battery includes graphite including secondary particles in which primary particles are assembled; and amorphous carbon present inside the secondary particles, wherein a ratio of the average particle diameter D50 of the amorphous carbon to the average particle diameter D50 of the primary particles is 0.1 to 0.5.

SOLID ELECTROLYTE-ELECTRODE ASSEMBLY, METHODS FOR MAKING, AND AN ALL-SOLID-STATE BATTERY THEREOF

NºPublicación:  US20260066287A1 05/03/2026
Solicitante: 
LG ENERGY SOLUTION LTD [KR]
THE REGENTS OF THE UNIV OF CALIFORNIA [US]
LG ENERGY SOLUTION, LTD,
The Regents of the University of California
US_20260066287_PA

Resumen de: US20260066287A1

A solid electrolyte-electrode assembly, as well as an all-solid-state battery including the assembly are described. For instance, a solid electrolyte-cathode assembly can be formed by co-rolling a plurality of cathode particles and a plurality of solid electrolyte particles, which results in the simultaneous production of the assembly and makes it possible to achieve improved interface resistance between the electrolyte membrane and electrode to improve battery performance. Also, the resulting electrolyte can be thin, which improves the energy density, while also maintaining excellent strength by using an electrode as a support.

SECONDARY BATTERY

NºPublicación:  US20260066269A1 05/03/2026
Solicitante: 
LG ENERGY SOLUTION LTD [KR]
LG Energy Solution, LTD
US_20260066269_A1

Resumen de: US20260066269A1

The present invention provides a secondary battery including a negative electrode having a negative electrode active material layer containing a negative electrode active material, a positive electrode facing the negative electrode and having a positive electrode active material layer containing a positive electrode active material, a separator interposed between the negative electrode and the positive electrode, and an electrolyte, wherein the negative electrode active material includes a silicon-based active material and an N/P ratio calculated by a specific equation is 1.92 to 2.60.

NEGATIVE ELECTRODE ACTIVE MATERIAL PARTICLE, NEGATIVE ELECTRODE COMPRISING NEGATIVE ELECTRODE ACTIVE MATERIAL PARTICLE, AND SECONDARY BATTERY COMPRISING THE NEGATIVE ELECTRODE

NºPublicación:  US20260066281A1 05/03/2026
Solicitante: 
LG ENERGY SOLUTION LTD [US]
LG ENERGY SOLUTION, LTD
US_20260066281_PA

Resumen de: US20260066281A1

A negative electrode active material particle, a negative electrode comprising the same, and a secondary battery comprising the negative electrode are provided. The negative electrode active material particle comprises a core and a coating layer on the core, the core comprising a silicon-based particle, and the coating layer comprising a polymer comprising an aromatic cyclic monomer unit including a heteroatom and having an alkyl group at a side chain, and thereby prevents side reactions such as the production of hydrogen gas during aqueous mixing of a slurry without increase of resistance.

FLEXIBLE PRINTED CIRCUIT AND BATTERY PACK

NºPublicación:  US20260068049A1 05/03/2026
Solicitante: 
GUANGDONG MINGJI HI TECH ELECTRONICS CO LTD [CN]
Guangdong Mingji Hi-Tech Electronics Co., Ltd
US_20260068049_PA

Resumen de: US20260068049A1

Disclosed are a flexible printed circuit and a battery pack. The flexible printed circuit comprises a flexible cable, wherein a window portion is formed in the middle of the flexible cable, and a flexible die-cutting circuit is electrically connected to the window portion. The flexible cable is a flexible flat cable. The flexible die-cutting circuit or a small flexible printed circuit is electrically connected to the window portion. The window portion is rectangular. The invention has the beneficial effect that an FCC manufactured by a new process is bendable while original FFCs and FDCs are non-bendable.

SEPARATOR FOR SODIUM BATTERY, SECONDARY BATTERY, AND ELECTRIC APPARATUS

NºPublicación:  US20260066337A1 05/03/2026
Solicitante: 
CONTEMPORARY AMPEREX TECH CO LIMITED [CN]
CONTEMPORARY AMPEREX TECHNOLOGY CO., LIMITED
US_20260066337_PA

Resumen de: US20260066337A1

A separator for a sodium battery, and a sodium battery, a secondary battery, and an electric apparatus comprising the separator. The separator for the sodium battery has a first surface and a second surface along its thickness direction, and a porosity of the separator decreases gradually from the first surface to the second surface.

NON-AQUEOUS ELECTROLYTE AND LITHIUM SECONDARY BATTERY

NºPublicación:  US20260066348A1 05/03/2026
Solicitante: 
NINGDE AMPEREX TECH LIMITED [CN]
Ningde Amperex Technology Limited
US_20260066348_PA

Resumen de: US20260066348A1

A non-aqueous electrolyte includes vinylene carbonate and Formula I compound, where based on a total mass of the non-aqueous electrolyte, a mass percentage of vinylene carbonate is A %, where 0.01≤A≤3; a mass percentage of a compound of Formula I is B %; and P=B/A, where 0.5≤P≤50.

Multi-Field Synergistic Restoration Method for Retired Batteries, and Devices

NºPublicación:  US20260066375A1 05/03/2026
Solicitante: 
TIANJIN CHUXI TECH CO LTD [CN]
TIANJIN CHUXI TECHNOLOGY CO., LTD
US_20260066375_PA

Resumen de: US20260066375A1

A multi-field synergistic repair method for retired batteries and devices thereof relates to the technical field of battery repair, which comprises the following steps: charging and discharging a retired battery in sequence; the charging and/or discharging are performed under the action of synergistic fields to obtain a regenerated battery; the synergistic fields are at least one of magnetic fields, pressure fields or temperature fields; the charging and discharging are cycled 1 time to 20 times in total. The invention solves the problems of complex process, high cost and poor effect of existing battery recycling processes; the battery performance can be restored to more than 80% of the initial capacity of the new battery, realizing the regeneration of lithium-ion batteries and sodium-ion batteries; the battery regeneration method has the advantages of no need to disassemble the battery, short time, low energy consumption, low cost, and zero emission.

METHOD FOR MANUFACTURING SECONDARY BATTERY, SECONDARY BATTERY, ENERGY STORAGE SYSTEM, AND ELECTRIC DEVICE

NºPublicación:  US20260066353A1 05/03/2026
Solicitante: 
ZHEJIANG JINKO ENERGY STORAGE CO LTD [CN]
Zhejiang Jinko Energy Storage Co., Ltd
US_20260066353_PA

Resumen de: US20260066353A1

A method for manufacturing a secondary battery, a secondary battery manufactured by the method, an energy storage system, and an electric device are provided. The method includes: providing an electrode sheet; measuring an actual porosity of the electrode sheet; determining whether the electrode sheet is qualified based on the actual porosity of the electrode sheet; in response to the electrode sheet being determined to qualified, forming the secondary battery using the electrode sheet; in response to the electrode sheet being determined to be unqualified, performing laser processing to form laser-formed pores on the electrode sheet, and repeating the measuring operation and the determining operation until the electrode sheet is qualified. In this way, the uniformity of electrode sheet porosity is improved, the wettability of the electrode sheet is enhanced, and the electrical performance of the secondary battery is improved.

EXPLOSION-PROOF VALVE AND CASE

NºPublicación:  WO2026044883A1 05/03/2026
Solicitante: 
EVE ENERGY STORAGE CO LTD [CN]
\u6B66\u6C49\u4EBF\u7EAC\u50A8\u80FD\u6709\u9650\u516C\u53F8
WO_2026044883_PA

Resumen de: WO2026044883A1

An explosion-proof valve and a case, relating to the technical field of explosion-proof valves. The explosion-proof valve is provided on the case, and comprises a valve body, a retaining cap, and a breathing mechanism. A breathing channel is provided on the valve body. The retaining cap is slidably connected to the valve body, and a gap is formed between the retaining cap and the valve body. The breathing mechanism is movably connected to the retaining cap, and a breathing switch is formed between the breathing mechanism and the valve body. When the breathing mechanism abuts against the valve body, the breathing switch is turned on, and the interior of the case is communicated with the outside. When the breathing mechanism is separated from the valve body, the breathing switch is turned off, and the interior of the case is not communicated with the outside.

POSITIVE ELECTRODE ACTIVE MATERIAL AND PREPARATION METHOD THEREFOR, POSITIVE ELECTRODE SHEET, BATTERY, AND ELECTRICAL DEVICE

NºPublicación:  WO2026044873A1 05/03/2026
Solicitante: 
BEIJING EASPRING MATERIAL TECH CO LTD [CN]
\u5317\u4EAC\u5F53\u5347\u6750\u6599\u79D1\u6280\u80A1\u4EFD\u6709\u9650\u516C\u53F8
WO_2026044873_PA

Resumen de: WO2026044873A1

A positive electrode active material and a preparation method therefor, a positive electrode sheet, a battery, and an electrical device, relating to the technical field of batteries. In an XRD pattern of the positive electrode active material, a characteristic peak C(018) corresponding to a (018) crystal plane of the positive electrode active material exhibits a bimodal distribution, comprising a first characteristic peak C1(018) and a second characteristic peak C2(018); and a characteristic peak D(110) corresponding to a (110) crystal plane of the positive electrode active material exhibits a bimodal distribution, comprising a first characteristic peak D1(110) and a second characteristic peak D2(110). IC1 denotes the intensity of the first characteristic peak C1(018), ID1 denotes the intensity of the first characteristic peak D1(110), and 0.80 ≤ ID1/IC1 ≤ 1.00. Thus, the first charge-discharge efficiency, discharge capacity, cycling performance, and safety performance of a battery comprising the positive electrode active material can be effectively improved, and the impedance of the battery can be reduced.

SECONDARY BATTERY AND ELECTRICAL DEVICE

Nº publicación: WO2026044769A1 05/03/2026

Solicitante:

NINGDE AMPEREX TECH LIMITED [CN]
DONGGUAN AMPEREX TECH LIMITED [CN]
\u5B81\u5FB7\u65B0\u80FD\u6E90\u79D1\u6280\u6709\u9650\u516C\u53F8,
\u4E1C\u839E\u65B0\u80FD\u6E90\u79D1\u6280\u6709\u9650\u516C\u53F8

WO_2026044769_PA

Resumen de: WO2026044769A1

Provided in the embodiments of the present application are a secondary battery and an electrical device. The secondary battery comprises a housing, an electrode assembly and a first tab. The electrode assembly is arranged in the housing, and the electrode assembly comprises a first electrode plate, a second electrode plate and a separator. The first tab is welded to the first electrode plate. The first tab comprises a first surface and a second surface arranged opposite to each other in the thickness direction of the first tab, wherein a partial surface of the first surface is connected to the first electrode plate, and the second surface faces and makes contact with the separator. The first tab further comprises a third surface and a fourth surface, wherein the third surface and the fourth surface are located on two opposite sides of the first tab in the width direction thereof. The included angle between the second surface and the third surface is defined as α, where 120°≤α≤175°; or the third surface is smoothly connected to the second surface. In the secondary battery, the structure of the first tab facilitates a reduction in the pressure of the first tab on the separator at a connection of the second surface and the third surface, thereby reducing the possibility of damage to the separator caused by the first tab, reducing the possibility of a poor K value of the secondary battery, and improving the cycle life of the secondary battery.

traducir