Ministerio de Industria, Turismo y Comercio LogoMinisterior
 

Alerta

Resultados 1604 resultados
LastUpdate Última actualización 11/11/2025 [07:13:00]
pdfxls
Publicaciones de los últimos 15 días/Last 15 days publications (excluidas pubs. CN y JP /CN and JP pubs. excluded)
previousPage Resultados 1350 a 1375 de 1604 nextPage  

ELECTRONIC ATOMIZATION DEVICE

NºPublicación:  EP4640089A1 29/10/2025
Solicitante: 
SHENZHEN GEEKVAPE TECH CO LTD [CN]
Shenzhen Geekvape Technology Co., Ltd
EP_4640089_A1

Resumen de: EP4640089A1

An electronic atomization device, including an electronic atomizer and a battery assembly, the battery assembly provides power supply for the electronic atomizer, the battery assembly includes a housing, a mounting groove is arranged on the housing, the electronic atomizer is partially arranged in the mounting groove and is electrically connected with the battery assembly, the battery assembly further comprises a microphone cavity, the microphone cavity is arranged in the housing, and a microphone is arranged in the microphone cavity; a microphone air outlet hole is arranged at a groove bottom of the mounting groove, the microphone air outlet hole is in communication with the microphone cavity; the battery assembly further includes an air guiding structure, a through hole is arranged in the air guiding structure, an air in the microphone cavity enters the electronic atomizer through the through hole of the air guiding structure, an end of the through hole adjacent to the microphone is a first opening, and an other end of the through hole is a second opening; the first opening is in communication with the microphone air outlet hole, and the second opening faces a side wall of the mounting groove. Through the above design, avoid the external liquid and condensate is avoided to splash on the microphone gas outlet hole and block the microphone gas outlet hole, and liquid microphone being damped and cannot normally operate can be ensured.

BATTERY INSPECTION APPARATUS AND METHOD, AND BATTERY PRODUCTION DEVICE

NºPublicación:  EP4641183A1 29/10/2025
Solicitante: 
CONTEMPORARY AMPEREX TECHNOLOGY CO LTD [CN]
Contemporary Amperex Technology Co., Limited
EP_4641183_PA

Resumen de: EP4641183A1

This application provides a battery inspection apparatus and battery production device and pertains to the field of battery technologies. The battery inspection apparatus includes a bearing assembly, a pulsed ray source, a detector, and a first drive assembly. The bearing assembly is configured to bear a battery under test and drive the battery under test to move along a first direction. The pulsed ray source is configured to emit a detection ray in a pulsed manner toward a to-be-inspected region of the battery under test on the bearing assembly. The detector is disposed opposite the pulsed ray source, where the two are located on two sides of the bearing assembly, respectively, and the detector receives the detection ray emitted by the pulsed ray source and penetrating the to-be-inspected region of the battery under test. The first drive assembly is connected to both the pulsed ray source and the detector, and the first drive assembly is configured to drive the pulsed ray source and the detector to rotate along a circumferential direction of a first rotation axis to acquire detected images of the to-be-inspected region.

BATTERY AND ELECTRIC APPARATUS

NºPublicación:  EP4641742A1 29/10/2025
Solicitante: 
CONTEMPORARY AMPEREX TECHNOLOGY CO LTD [CN]
Contemporary Amperex Technology Co., Limited
EP_4641742_PA

Resumen de: EP4641742A1

The present application provides a battery and an electric apparatus. The battery comprises a cell, a cell shell wrapping the cell and an electrolyte. The cell comprises a cathode piece, the cathode piece comprises a cathode current collector and a cathode film layer arranged on at least one surface of the cathode current collector, and the cathode film layer comprises a cathode active material.The battery satisfies the following: α×ρEL/PD×Ccathode+V×h/Ccell≤mEL.

BATTERY CELL, BATTERY AND ELECTRICAL DEVICE

NºPublicación:  EP4641814A1 29/10/2025
Solicitante: 
CONTEMPORARY AMPEREX TECHNOLOGY CO LTD [CN]
Contemporary Amperex Technology Co., Limited
EP_4641814_PA

Resumen de: EP4641814A1

The present application belongs to the technical field of batteries, and provides a battery cell, a battery, and an electric device. The battery cell includes an electrode body, tabs, and connectors. The tab has a first side edge and a second side edge opposite to each other, the first side edge of the tab is connected to the electrode body, and the connector is connected to the second side edge of the tab. A bending portion is provided between the first side edge and the second side edge of the tab. According to the battery cell provided in the present application, the possibility that the tab is pulled and broken when the battery cell expands can be reduced, thereby improving the reliability of the battery cell.

BATTERY CELL, BATTERY AND ELECTRIC DEVICE

NºPublicación:  EP4641796A1 29/10/2025
Solicitante: 
CONTEMPORARY AMPEREX TECHNOLOGY CO LTD [CN]
Contemporary Amperex Technology Co., Limited
EP_4641796_PA

Resumen de: EP4641796A1

Provided in the present application are a battery cell, a battery, and an electric device. The battery cell includes a casing, an electrode assembly, and a support member. The casing is provided with an accommodation cavity. The electrode assembly is disposed in the accommodation cavity and includes a first electrode plate and a second electrode plate arranged according to a preset order in a first direction, the first electrode plate including a first portion overlapping the second electrode plate and a second portion extending beyond the second electrode plate. At least part of the support member is disposed between the electrode assembly and the casing in the first direction, a bending strength of the support member is greater than a bending strength of the first electrode plate, and a projection of the support member in the first direction covers a projection of the second portion in the first direction.

FIRE-FIGHTING SYSTEM AND ENERGY STORAGE SYSTEM

NºPublicación:  EP4640286A1 29/10/2025
Solicitante: 
CONTEMPORARY AMPEREX FUTURE ENERGY RES INSTITUTE SHANGHAI LIMITED [CN]
CONTEMPORARY AMPEREX TECHNOLOGY CO LTD [CN]
Contemporary Amperex Future Energy Research Institute (Shanghai) Limited,
Contemporary Amperex Technology Co., Limited
EP_4640286_PA

Resumen de: EP4640286A1

This application discloses a firefighting system and an energy storage system. The firefighting system includes: a sealed compartment, a circulation system, and a supply system. The sealed compartment is configured to accommodate at least one energy storage unit; the circulation system includes a circulation pipeline and a gas driving assembly, where two ends of the circulation pipeline are in communication with the sealed compartment to form a gas circulation loop; the gas driving assembly is disposed in the gas circulation loop; and a flame-retardant gas supply system is connected to the circulation system. The above solution can reduce the risk of fire or explosion inside the sealed compartment.

ELECTROLYTE AND SODIUM METAL BATTERY CONTAINING SAME, AND ELECTROCHEMICAL DEVICE

NºPublicación:  EP4641737A1 29/10/2025
Solicitante: 
CONTEMPORARY AMPEREX TECHNOLOGY CO LTD [CN]
Contemporary Amperex Technology Co., Limited
EP_4641737_A1

Resumen de: EP4641737A1

The present invention relates to an electrolyte as well as a sodium metal battery and an electrochemical apparatus containing the same. The electrolyte includes a non-aqueous solvent and a sodium salt; the non-aqueous solvent includes an ether solvent, where the ether solvent includes ethylene glycol dimethyl ether and one or more compounds represented by general formula I: R1-(O-R3)<sub>n</sub>-O-R2 (general formula I); where R1 and R2 are each independently selected from a C1 to C6 alkyl group, R3 is selected from a C1 to C5 alkylene group, and n is an integer from 2 to 5; or, R1 and R2 are each independently selected from a C2 to C6 alkyl group, R3 is selected from a C1 to C5 alkylene group, and n is 1; and a mass percentage of ethylene glycol dimethyl ether is 5% to 50%. By applying the electrolyte, the cycle performance of the sodium metal battery under low-temperature conditions can be improved.

POSITIVE ELECTRODE ACTIVE MATERIAL FOR RECHARGEABLE LITHIUM BATTERY, POSITIVE ELECTRODE CONTAINING THE SAME, AND RECHARGEABLE LITHIUM BATTERY INCLUDING THE SAME

NºPublicación:  EP4641692A1 29/10/2025
Solicitante: 
SAMSUNG SDI CO LTD [KR]
SAMSUNG SDI CO., LTD
EP_4641692_PA

Resumen de: EP4641692A1

A positive electrode active material, a method of preparing the positive electrode active material, a positive electrode including the positive electrode active material, and a rechargeable lithium battery including the positive electrode are disclosed. The positive electrode active material includes a first particle containing a compound represented by Formula 1 and having a first average particle diameter, wherein, in Formula 1, 1

BATTERY DEFECT DETECTION APPARATUS, METHOD AND DEVICE

NºPublicación:  EP4641181A1 29/10/2025
Solicitante: 
CONTEMPORARY AMPEREX TECHNOLOGY CO LTD [CN]
Contemporary Amperex Technology Co., Limited
EP_4641181_PA

Resumen de: EP4641181A1

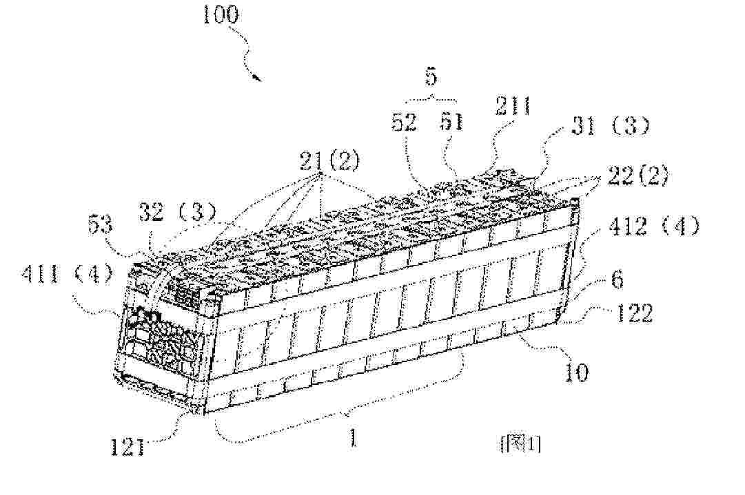
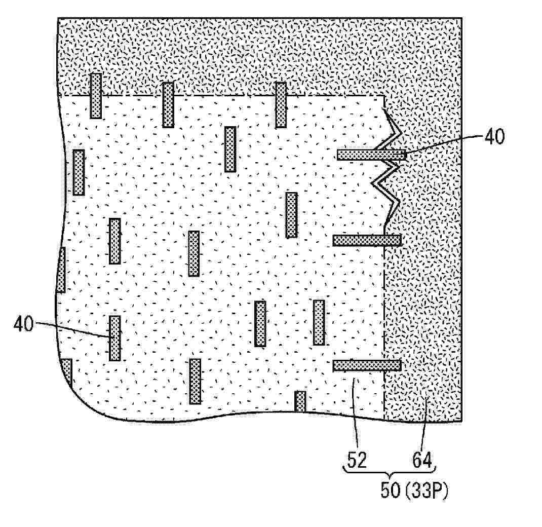
A battery defect inspection device (400), method, and apparatus (500), belonging to the technical field of batteries. The battery defect inspection device (400) includes a ray source (420), a detector (430), and a supporting component (410) disposed between the ray source (420) and the detector (430). A battery under inspection (411) is configured to be located on a supporting surface of the supporting component (410). The battery defect inspection device (400) further includes a rotation mechanism. The rotation mechanism is configured to rotate the supporting component (410) along a preset rotation axis, or is configured to rotate the ray source (420) and the detector (430) about a preset rotation axis, such that the optical axis (X) of the rays emitted from the ray source (420) is projected obliquely onto a surface of the battery under inspection (411). At least an included angle (θ) between an end surface of the battery under inspection (411) and a plane on which the detector (430) is located can be flexibly adjusted according to the needs of different inspection scenarios, to some extent enabling all of the individual internal structures of the battery to be clearly captured during imaging.

LITHIUM ION BATTERY AND ELECTRIC APPARATUS

NºPublicación:  EP4641729A1 29/10/2025
Solicitante: 
CONTEMPORARY AMPEREX TECHNOLOGY CO LTD [CN]
Contemporary Amperex Technology Co., Limited
EP_4641729_PA

Resumen de: EP4641729A1

Embodiments of the present application disclose a lithium-ion battery and an electric device. The lithium-ion battery includes an electrolyte including a metal ion, where a reduction potential of the metal ion is higher than a reduction potential of a lithium ion; and a low CB value region, where a CB value of the lithium ion in the low CB value region satisfies: 0 < CB < 1, and the CB value is a ratio of a capacity of a negative electrode active material per unit area to a capacity of a positive electrode active material per unit area. The lithium-ion battery provided in the present application can effectively solve the problem of lithium deposition in the low CB value region.

SECONDARY BATTERY AND ELECTRIC APPARATUS

NºPublicación:  EP4641730A1 29/10/2025
Solicitante: 
CONTEMPORARY AMPEREX TECHNOLOGY CO LTD [CN]
Contemporary Amperex Technology Co., Limited
EP_4641730_PA

Resumen de: EP4641730A1

A secondary battery is provided. The secondary battery includes an electrolyte solution and a positive electrode. The electrolyte solution contains an organic lithium salt. The positive electrode includes a positive electrode film layer. The energy density per unit area of the positive electrode film layer on a single side is 18-37 mWh/cm<sup>2</sup>, and optionally 18-35.7 mWh/cm<sup>2</sup>. Through the cooperation of the electrolyte solution and the positive electrode, the energy density and the dynamic performance of the battery are both improved.

BATTERY CELL, BATTERY, AND ELECTRICAL DEVICE

NºPublicación:  EP4641773A1 29/10/2025
Solicitante: 
CONTEMPORARY AMPEREX TECHNOLOGY CO LTD [CN]
Contemporary Amperex Technology Co., Limited
EP_4641773_PA

Resumen de: EP4641773A1

This application provides a battery cell, a battery, and an electric apparatus. The battery cell includes a housing and a pressure relief mechanism. The housing has a first wall and a second wall disposed opposite each other along a first direction. The housing is provided with a recess, where the recess is recessed relative to a surface of the second wall facing away from the first wall. The pressure relief mechanism is disposed on the first wall, where a projection of the pressure relief mechanism along the first direction at least partially overlaps a projection of the recess along the first direction.

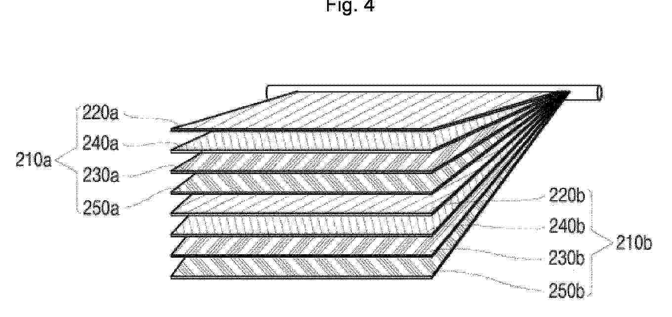
CYLINDRICAL SECONDARY BATTERY

NºPublicación:  EP4641723A1 29/10/2025
Solicitante: 
SAMSUNG SDI CO LTD [KR]
SAMSUNG SDI CO., LTD
EP_4641723_PA

Resumen de: EP4641723A1

A cylindrical secondary battery (1) includes: a cylindrically wound electrode assembly (200) including a plurality of positive electrode plates (220, 220a, 220b), a plurality of negative electrode plates (230, 230a, 230b), and a plurality of separators (240a, 240b, 250, 250a, 250b) insulating the positive electrode plates (220, 220a, 220b) and the negative electrode plates (230, 230a, 230b) from each other; a can (100) accommodating the electrode assembly (200); and a cap plate (600) coupled to an open end of the can (100) and sealing the can (100).

POSITIVE ELECTRODE ACTIVE MATERIAL FOR RECHARGEABLE LITHIUM BATTERY, POSITIVE ELECTRODE CONTAINING THE SAME, AND RECHARGEABLE LITHIUM BATTERY INCLUDING THE SAME

NºPublicación:  EP4641689A1 29/10/2025
Solicitante: 
SAMSUNG SDI CO LTD [KR]
SAMSUNG SDI CO., LTD
EP_4641689_A1

Resumen de: EP4641689A1

A positive electrode active material for a rechargeable lithium battery, a positive electrode containing the same, and a rechargeable lithium battery including the same are disclosed. A positive electrode active material includes a first particle containing a compound represented by Formula 1 and having a first average particle diameter:        Formula 1     LiaFexMnyTizPO4-bwhere, in Formula 1, 0.8≤a≤1.2, 0.79≤x≤0.9, 0.1≤y≤0.2, 0.001≤z≤0.05, 0≤b≤0.05, and 0.99≤x + y +z≤1.01.

POSITIVE ELECTRODE ACTIVE MATERIAL FOR RECHARGEABLE LITHIUM BATTERY, POSITIVE ELECTRODE INCLUDING THE POSITIVE ELECTRODE ACTIVE MATERIAL, AND RECHARGEABLE LITHIUM BATTERY INCLUDING THE POSITIVE ELECTRODE ACTIVE MATERIAL

NºPublicación:  EP4641675A2 29/10/2025
Solicitante: 
SAMSUNG SDI CO LTD [KR]
SAMSUNG SDI CO., LTD
EP_4641675_PA

Resumen de: EP4641675A2

A positive electrode active material comprises first particles having an olivine structure, second particles having a spinel structure, third particles having a layered structure and fourth particles in a weight ratio of about 0.5 wt% to about 5 wt% based on a total weight of the positive electrode active material. Also disclosed are positive electrodes including the positive active electrode material, and recharageable lithum batteries including the positive electrode material.

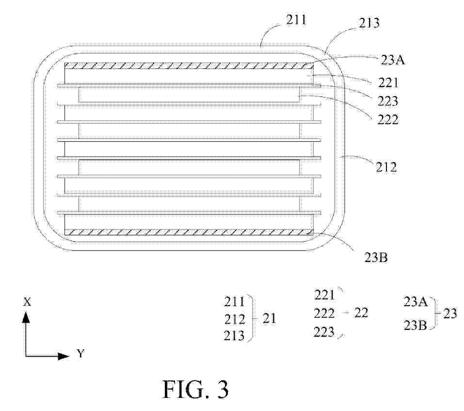
ENERGY STORAGE POWER SUPPLY

NºPublicación:  EP4641794A1 29/10/2025
Solicitante: 
SHENZHEN HELLO TECH ENERGY CO LTD [CN]
Shenzhen Hello Tech Energy Co., Ltd
EP_4641794_PA

Resumen de: EP4641794A1

The present disclosure provides an energy storage power supply (100). The energy storage power supply (100) includes a housing (10) and a plurality of cells (20). The housing (10) has an accommodation cavity (11) defined therein. The accommodation cavity (11) is provided with a plurality of first fixing members (1111) at an inner wall of the accommodation cavity(11). Each of the plurality of first fixing members (1111) has a first through hole (1112) defined at a bottom wall of the first fixing member (1111). The plurality of cells (20) corresponds to the plurality of first fixing members (1111) in one-to-one correspondence. Each of the plurality of cells (20) includes a body (21), a first pole (22), and a second pole (23). The first pole (22) and the second pole (23) are respectively disposed at two ends of the body (21) in a length direction of the body (21). One of the two ends of the body (21) is accommodated in a corresponding one of the plurality of first fixing members (1111), and the first pole (22) passing through the first through hole (1112).

ENERGY STORAGE DEVICE AND ENERGY STORAGE SYSTEM

NºPublicación:  EP4641863A1 29/10/2025
Solicitante: 
CONTEMPORARY AMPEREX TECHNOLOGY CO LTD [CN]
Contemporary Amperex Technology Co., Limited
EP_4641863_PA

Resumen de: EP4641863A1

Embodiments of this application provide an energy storage apparatus and an energy storage system. The energy storage apparatus is configured to be electrically connected to a power conversion system, where the power conversion system is capable of cooperating with M energy storage apparatuses, a rated output power of the power conversion system is P, an energy of the energy storage apparatus is Q, a duration for the energy storage apparatus to discharge from a fully charged state to a fully discharged state is A, satisfying: 0.7 ≤ P/(M * Q/A) ≤ 0.99. With P/(M * Q/A) ≤ 0.99, it is ensured that the power of all energy storage apparatuses cooperating with the power conversion system maintains sufficient margin relative to the power of the power conversion system, eliminating the need for capacity supplementation of the energy storage apparatus over a long period, achieving long-term reliability of the energy storage apparatus. With P/(M * Q/A) ≥ 0.7, it is ensured that the margin of the power of the energy storage apparatus relative to the power of the power conversion system is not excessive, reducing power waste and improving the economic efficiency of the energy storage apparatus. Thus, power matching between the energy storage apparatus and the power conversion system is improved.

INTERNAL SHORT-CIRCUIT DEVICE FOR BATTERY AND METHOD OF MANUFACTURING AN INTERNAL SHORT-CIRCUIT DEVICE FOR A BATTERY

NºPublicación:  EP4641722A1 29/10/2025
Solicitante: 
SAMSUNG SDI CO LTD [KR]
SAMSUNG SDI CO., LTD
EP_4641722_PA

Resumen de: EP4641722A1

An internal short-circuit device (100, 200, 300, 810) includes an insulating member (110, 516, 526, 621, 641, 661, 910) including a hole (112, 518, 538), a short-circuit inducing portion (132, 412, 422, 432, 514, 614, 634, 654, 932) of a first electrode plate (130, 512, 611, 631, 651) for a battery (800) extending through the hole (112, 518, 538) in the insulating member (110, 516, 526, 621, 641, 661, 910), and an insulating layer (120, 220, 920) disposed between the insulating member (110, 516, 526, 621, 641, 661, 910) and a second electrode plate (130, 140) for the battery (800). A first surface (121) of the insulating layer (120, 220, 920) is in contact with the short-circuit inducing portion (132, 412, 422, 432, 514, 614, 634, 654, 932) of the first electrode plate (130, 512, 611, 631, 651), and a second surface (122) of the insulating layer (120, 220, 920), which is opposite to the first surface (121), is in contact with the second electrode plate (130, 140).

BATTERY CELL, BATTERY AND ELECTRICAL APPARATUS

NºPublicación:  EP4641807A1 29/10/2025
Solicitante: 
CONTEMPORARY AMPEREX TECHNOLOGY CO LTD [CN]
Contemporary Amperex Technology Co., Limited
EP_4641807_PA

Resumen de: EP4641807A1

The present application relates to a battery cell, a battery, and an electrical apparatus. The battery cell comprises an electrode assembly, the electrode assembly comprising a first electrode plate, a second electrode plate and a separator. The polarities of the first electrode plate and the second electrode plate are opposite, and the separator is arranged between the first electrode plate and the second electrode plate. At least one of the first electrode plate, the second electrode plate and the separator comprises a swelling polymer, the swelling polymer satisfying: 300%≤m2/m1≤10000%, and m3/m2≤50%.

BATTERY CELL, BATTERY, AND ELECTRICAL DEVICE

NºPublicación:  EP4641822A1 29/10/2025
Solicitante: 
CONTEMPORARY AMPEREX TECHNOLOGY CO LTD [CN]
Contemporary Amperex Technology Co., Limited
EP_4641822_PA

Resumen de: EP4641822A1

The present application discloses a battery cell, a battery, and an electrical device. The battery cell includes a shell, an electrode assembly, and an insulating member. The electrode assembly is accommodated in the shell and includes electrode plates and a separator, which are arranged in a stacked manner. The insulating member is attached to an outer side of the electrode assembly, and the surface roughness of at least some regions of an outer surface of the insulating member away from the electrode assembly is greater than the surface roughness of the separator.

BATTERY CELL, BATTERY, AND ELECTRIC APPARATUS

NºPublicación:  EP4641782A1 29/10/2025
Solicitante: 
CONTEMPORARY AMPEREX TECHNOLOGY CO LTD [CN]
Contemporary Amperex Technology Co., Limited
EP_4641782_PA

Resumen de: EP4641782A1

The present application discloses a battery cell, a battery, and a power consuming device. The battery cell includes a housing, an electrode assembly, an insulating member, and a patch. The electrode assembly is accommodated in the housing. The insulating member is arranged on an outer side of the electrode assembly, and the insulating member has a first outer surface on a side facing away from the electrode assembly. The patch is attached to the first outer surface and covers a part of the first outer surface, the patch has a second outer surface on a side facing away from the insulating member, and surface roughness of at least a partial region of the second outer surface is greater than surface roughness of the first outer surface.

LITHIUM REPLENISHMENT COMPOSITE MATERIAL AND PREPARATION METHOD THEREFOR, POSITIVE ELECTRODE SHEET, SEPARATOR, SECONDARY BATTERY, AND ELECTRICAL DEVICE

NºPublicación:  EP4641700A1 29/10/2025
Solicitante: 
CONTEMPORARY AMPEREX TECHNOLOGY CO LTD [CN]
Contemporary Amperex Technology Co., Limited
EP_4641700_PA

Resumen de: EP4641700A1

This application discloses a lithium replenishment composite material and a preparation method thereof, a positive electrode plate, a separator, a secondary battery, and an electrical device, and relates to the field of batteries. The lithium replenishment composite material includes a core and a coating layer containing a conductive material that is disposed outside the core and that at least partially coats the core; a material of the core includes a lithium replenishment agent and a metal catalyst, and the lithium replenishment agent includes an organic lithium replenishment agent. During a first charge cycle of a battery, the organic lithium replenishment agent releases lithium ions to replenish lithium for the negative electrode, while remaining components convert into gases and are expelled from the battery, not affecting a mass energy density or subsequent performance of the battery. The metal catalyst can lower a decomposition potential of the organic lithium replenishment agent, enabling the organic lithium replenishment agent to deliver a greater capacity at a lower potential, achieving lithium replenishment while avoiding irreversible damage to a positive electrode active material structure and an electrolyte at a high potential. The coating layer containing a conductive material can suppress dissolution of metal from the metal catalyst, enhance electrical conductivity of the lithium replenishment composite material, and optimize cycling performance of the battery.

POSITIVE ELECTRODE ACTIVE MATERIAL FOR RECHARGEABLE LITHIUM BATTERY, POSITIVE ELECTRODE INCLUDING THE SAME, AND RECHARGEABLE LITHIUM BATTERY INCLUDING THE SAME

NºPublicación:  EP4641672A1 29/10/2025
Solicitante: 
SAMSUNG SDI CO LTD [KR]
Samsung SDI Co., Ltd
EP_4641672_PA

Resumen de: EP4641672A1

Positive electrode active materials for a rechargeable battery, positive electrodes including the positive electrode active material, and rechargeable lithium batteries including the positive electrode are provided. A positive electrode active material includes first particles including a compound represented by Chemical Formula 1 and having a first average particle diameter, and second particles including a compound represented by Chemical Formula 2 and having a second average particle diameter that is greater than the first average particle diameter. A mixing ratio of the first particles and the second particles is about 95:5 to about 99.5:0.5.

BATTERY CELL, BATTERY, AND ELECTRIC DEVICE

NºPublicación:  EP4641702A1 29/10/2025
Solicitante: 
CONTEMPORARY AMPEREX TECHNOLOGY CO LTD [CN]
Contemporary Amperex Technology Co., Limited
EP_4641702_PA

Resumen de: EP4641702A1

A battery cell, a battery, and an electric apparatus. The battery cell comprises an electrode assembly and an electrolyte; the electrode assembly comprises a first electrode plate, a second electrode plate, and a separator; the first electrode plate and the second electrode plate have opposite polarities; the separator is arranged between the first electrode plate and the second electrode plate; at least one of the first electrode plate, the second electrode plate, and the separator comprises a lyophilic polymer; the battery cell satisfies the following formula: 0.01%≤yp1∗v1+p2∗v2+p3∗v3≤23%. wherein p1 represents a porosity of the first electrode plate; v1 represents a total volume of the first electrode plate, with a unit of µm<3>; p2 represents a porosity of the second electrode plate; v2 represents a total volume of the second electrode plate, with a unit of µm<3>; p3 represents a porosity of the separator; v3 represents a total volume of the separator, with a unit of µm<3>; and y represents mass of a free electrolyte solution in the battery cell, with a unit of g.

BATTERY CELL ANOMALY DETERMINATION METHOD AND SYSTEM, PROCESSING DEVICE, AND STORAGE MEDIUM

Nº publicación: EP4641411A1 29/10/2025

Solicitante:

HEFEI GOTION HIGH TECH POWER ENERGY CO LTD [CN]
Hefei Gotion High-Tech Power Energy Co., Ltd

EP_4641411_PA

Resumen de: EP4641411A1

The present invention relates to a battery cell anomaly determination method and system, a processing device, and a storage medium. The method comprises: obtaining time-series of real physical data of each cell in a battery pack to be detected, performing preprocessing, inputting the preprocessed time-series of real physical data into a pre-constructed cell anomaly determination model, and calculating to obtain physical data predicted values of a plurality of frames of each cell in the battery pack to be detected; according to the physical data predicted values of the plurality of frames of each cell and physical data true values of corresponding frames, calculating to obtain difference features of the plurality of frames of each cell in the battery pack to be detected; integrating and summarizing the difference features of the plurality of frames of each cell to obtain an anomaly sorting result of each cell; and determining the serial number of an anomalous cell in the battery pack to be detected according to the anomaly sorting result of each cell and a preset threshold. According to the method, the fault of a battery cell can be predicted in advance, and the method can be widely used in the technical field of battery fault detection.

traducir