Ministerio de Industria, Turismo y Comercio LogoMinisterior
 

Alerta

Resultados 1604 resultados
LastUpdate Última actualización 11/11/2025 [07:13:00]
pdfxls
Publicaciones de los últimos 15 días/Last 15 days publications (excluidas pubs. CN y JP /CN and JP pubs. excluded)
previousPage Resultados 1375 a 1400 de 1604 nextPage  

SYSTEMS AND METHODS FOR ANNOTATING AND TRACKING OBJECTS IN A VIDEO

NºPublicación:  EP4641516A1 29/10/2025
Solicitante: 
ATS CORP [CA]
ATS CORPORATION
EP_4641516_PA

Resumen de: EP4641516A1

Systems and methods for annotating and tracking objects in a video are described herein. The methods include operating at least one processor to: receive, from at least one image device proximal to the manufacturing device, a sequence of frames of a video showing the plurality of parts within the manufacturing device; receive at least one annotated frame having labelling of a subset of parts of the plurality of parts in a plurality of frames of the video, the annotated frame being video annotation data; apply the video annotation data as input to a propagation algorithm to annotate an additional subset of parts of the plurality of parts within the frames of the video, the additional annotated frames being additional video annotation data; apply a segmentation model to the additional video annotation data to generate image segmentation masks of each of the parts, the image segmentation masks being trained segmentation model output data; and apply an object detection model to the trained segmentation model output tracking data to get a fine-tuned object detection model to detect and track the parts.

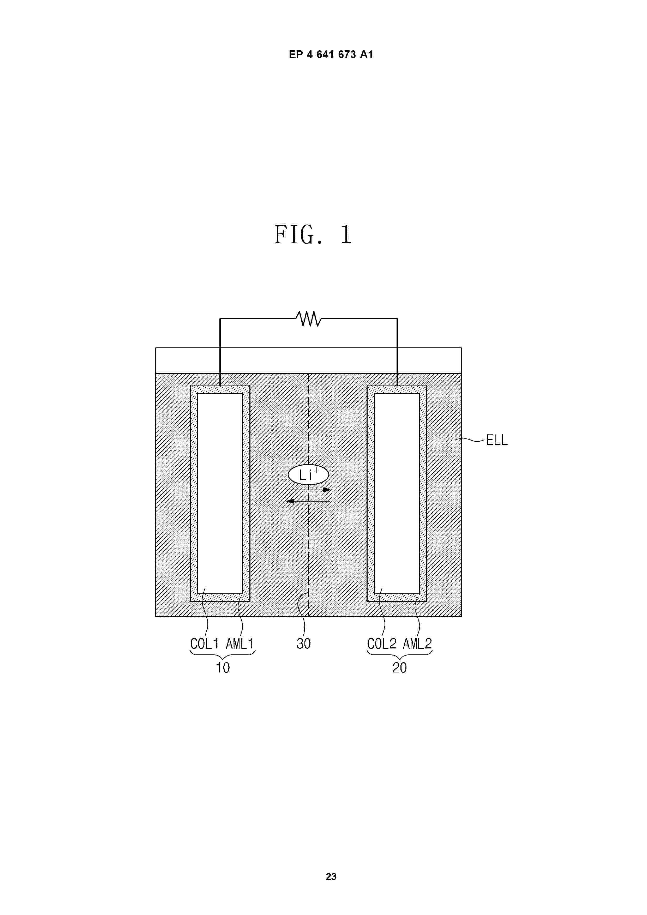
ELECTRODE FOR RECHARGEABLE LITHIUM BATTERY AND RECHARGEABLE LITHIUM BATTERY INCLUDING THE SAME

NºPublicación:  EP4641706A2 29/10/2025
Solicitante: 
SAMSUNG SDI CO LTD [KR]
IUCF HYU [KR]
SAMSUNG SDI CO., LTD,
IUCF-HYU (Industry-University Cooperation Foundation Hanyang University)
EP_4641706_A2

Resumen de: EP4641706A2

An electrode for a rechargeable lithium battery and a rechargeable lithium battery including the same are disclosed, in which the nano-fibrillation of a fibrillable binder is promoted, and mechanical properties and electrical properties of a battery may be improved. An electrode includes a freestanding dry electrode film, and the freestanding dry electrode film includes an electrode active material, a binder, and a conductive additive, and the conductive additive includes a porous carbon black-based compound which has a specific surface area of 600 m<sup>2</sup>/g or more and exhibits a first maximum peak in a pore width range of 1 to 10 nm and a second maximum peak in a pore width range of 10 to 100 nm in a graph in which the x-axis represents the pore width and the y-axis represents a pore volume per unit weight of the porous carbon black-based compound.

POSITIVE ELECTRODE ACTIVE MATERIAL FOR RECHARGEABLE LITHIUM BATTERY, POSITIVE ELECTRODE INCLUDING THE SAME, AND RECHARGEABLE LITHIUM BATTERY INCLUDING THE SAME

NºPublicación:  EP4641674A1 29/10/2025
Solicitante: 
SAMSUNG SDI CO LTD [KR]
Samsung SDI Co., Ltd
EP_4641674_PA

Resumen de: EP4641674A1

A positive electrode active material for a rechargeable lithium battery, a positive electrode including the positive electrode active material, and a rechargeable lithium battery including the positive electrode are disclosed. The positive electrode active material includes first particles comprising a compound of Li<sub>a1</sub>Fe<sub>x1</sub>B<sup>1</sup><sub>y1</sub>PO<sub>4-b1</sub> and having a first average particle diameter, and second particles comprising a compound of Li<sub>a2</sub>Ni<sub>x2</sub>Co<sub>y2</sub>Mn<sub>z2</sub>X<sub>c2</sub>O<sub>2-b2</sub> and having a second average particle diameter that is greater than the first average particle diameter. The content (e.g., amount) of the first particles is greater than the content (e.g., amount) of the second particles in the positive electrode active material.

POSITIVE ELECTRODE ACTIVE MATERIAL AND RECHARGEABLE LITHIUM BATTERY INCLUDING THE SAME

NºPublicación:  EP4641673A1 29/10/2025
Solicitante: 
SAMSUNG SDI CO LTD [KR]
SAMSUNG SDI CO., LTD
EP_4641673_A1

Resumen de: EP4641673A1

A rechargeable lithium battery including a positive electrode active material, the positive electrode active material including a first particle containing a compound represented by Formula 1 and having a first average particle diameter:        Formula 1     Lia1Mnx1Fey1Bz1PO4-b1wherein, in Formula 1 above, 0.8≤a1≤1.2, 0.45≤x1≤0.55, 0.45≤y1≤0.55, 0

SYSTEM AND METHOD FOR DETECTING AND CLASSIFYING ABNORMAL BATTERY CONDITIONS IN BATTERY ENERGY STORAGE SYSTEMS

NºPublicación:  EP4641231A1 29/10/2025
Solicitante: 
HONEYWELL INT INC [US]
HONEYWELL INTERNATIONAL INC
EP_4641231_PA

Resumen de: EP4641231A1

A system and method for detecting and classifying outlier battery cells operating abnormally in a storage battery of a battery energy storage system (BESS). A controller controls the operation of the BESS, and a battery management system (BMS) collects battery operational data from the storage battery and stores the battery data in a data repository. A prognostic agent coupled to the battery data repository uses the stored battery data to train a prognostics and fault detection model that is loaded in the controller and used to detect at least one outlier battery cell. Detected outlier battery cell and their operational data are classified using a data classification neural network to one of a plurality of fault types.

POSITIVE ELECTRODE ACTIVE MATERIAL FOR RECHARGEABLE LITHIUM BATTERY, PREPARATION METHOD OF THE SAME, AND RECHARGEABLE LITHIUM BATTERY INCLUDING THE SAME

NºPublicación:  EP4641671A2 29/10/2025
Solicitante: 
SAMSUNG SDI CO LTD [KR]
SAMSUNG SDI CO., LTD
EP_4641671_PA

Resumen de: EP4641671A2

A positive electrode active material for a rechargeable lithium battery, a preparation method of the same, and a rechargeable lithium battery including the same are provided. A positive electrode active material includes a first particle including a compound represented by Formula 1 and having a first average particle diameter, and a second particle including a compound represented by Formula 2 and having a second average particle diameter smaller than the first average particle diameter. An amount of the second particle is equal to or greater than an amount of the first particle.

POSITIVE ELECTRODE ACTIVE MATERIAL AND PREPARATION METHOD THEREFOR, POSITIVE ELECTRODE SHEET, BATTERY AND ELECTRIC DEVICE

NºPublicación:  EP4641670A1 29/10/2025
Solicitante: 
CONTEMPORARY AMPEREX TECHNOLOGY CO LTD [CN]
Contemporary Amperex Technology Co., Limited
EP_4641670_PA

Resumen de: EP4641670A1

Provided are a positive electrode active material and a preparation method therefor, a positive electrode plate, a battery and an electrical device. The positive electrode active material comprises a lithium-rich manganese-based positive electrode material and a coating layer distributed on at least a portion of the surface of the lithium-rich manganese-based positive electrode material, wherein the coating layer comprises at least one of a metal oxide and a metal fluoride. The positive electrode active material has a gram capacity of greater than or equal to 220 mAh/g, and satisfies at least one of the following conditions: the oxygen defect indicator is greater than or equal to 2.12; the microscopic stress is 0.1%-1.5%; in a Fourier infrared spectrum, the M-O/Mn-O peak intensity ratio is 25-40; and the specific surface area is 0.9 m<sup>2</sup>/g-3.5 m<sup>2</sup>/g. By specifically coating the lithium-rich manganese-based positive electrode material before and after pickling, the positive electrode active material meeting the specific microscopic indicator range can be prepared, such that the positive electrode active material has a relatively high gram capacity, and also has relatively good cycling stability.

BATTERY PACK

NºPublicación:  EP4641791A1 29/10/2025
Solicitante: 
CALB GROUP CO LTD [CN]
CALB Group Co., Ltd
EP_4641791_PA

Resumen de: EP4641791A1

A battery pack includes a battery box (100), a cylindrical battery (200) and a fixing plate (300). A first surface (210) and a second surface (220) of the cylindrical battery (200) are arranged in and respectively perpendicular to a first direction (X). A third surface (230) is connected between the first surface (210) and the second surface (220). A first weld mark (231) is formed at a connection region of the third surface (230) and the first surface (210). The third surface (230) is provided with a first insulating layer (240) which does not cover the first weld mark (231). The fixing plate (300) is disposed opposite and fixedly connected to the third surface (230). The first weld mark (231) is spaced apart from the fixing plate (300). A minimum spacing between the first surface (210) and the fixing plate (300) in the first direction (X) is 1.5 mm-30 mm.

LITHIUM BATTERY DATA ACQUISITION ANOMALY IDENTIFICATION METHOD AND SYSTEM, STORAGE MEDIUM AND DEVICE

NºPublicación:  EP4641235A1 29/10/2025
Solicitante: 
HEFEI GOTION HIGH TECH POWER ENERGY CO LTD [CN]
Hefei Gotion High-Tech Power Energy Co., Ltd
EP_4641235_PA

Resumen de: EP4641235A1

The present invention relates to a lithium battery data acquisition anomaly identification method and system, a storage medium and a device. The method includes: performing data preprocessing on voltage data of a battery management system to form derived voltage time series features; extracting voltage time series features of adjacent cells in a battery pack according to the derived voltage time series features, and calculating the mean and variance of voltages of all cells, to form new voltage time series features; performing anomaly identification on the new voltage time series features to find out an outlying time series point of a cell voltage; and performing time series analysis on voltages of adjacent cells according to the outlying time series point of a cell voltage, and identifying a position where voltage acquisition of adjacent cells is anomalous. According to the present invention, the accuracy of anomaly identification of voltage acquisition of adjacent cells can be improved, and the method can be applied to the fields of lithium-ion battery state acquisition, monitoring and early warning.

PREPARATION METHOD OF POSITIVE ELECTRODE ACTIVE MATERIAL

NºPublicación:  EP4640637A1 29/10/2025
Solicitante: 
SAMSUNG SDI CO LTD [KR]
SAMSUNG SDI CO., LTD
EP_4640637_PA

Resumen de: EP4640637A1

A method of preparing a positive electrode active material includes: performing a coprecipitation reaction including a first step of reacting at a pH range of about pH 11 to about pH 12 and a second step of reacting at a pH lower than the first step for a mixture of a nickel precursor and a metal precursor to obtain a nickel-based composite hydroxide, mixing the nickel-based composite hydroxide, an anhydrous lithium hydroxide, an aluminium raw material, and a zirconium raw material and subjecting to a first heat treatment to produce hollow secondary particles, pulverizing the secondary particles, and adding and mixing the pulverized resultant, a cobalt coating raw material, and a zirconium coating raw material into an aqueous solvent, and then performing a second heat treatment to obtain a positive electrode active material.

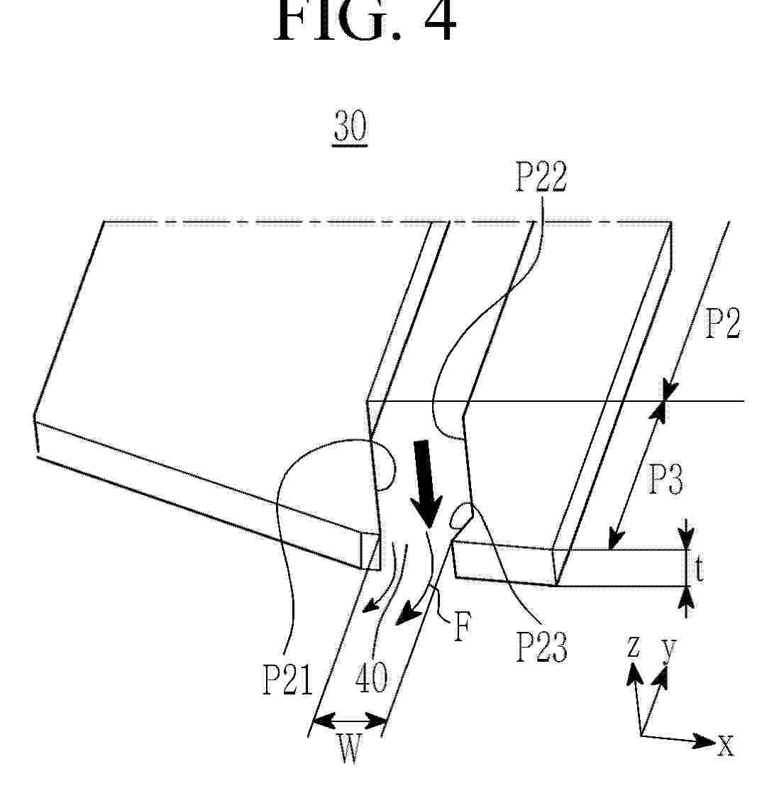
DEVICE FOR COATING ELECTRODE TAB INSULATOR

NºPublicación:  EP4641650A1 29/10/2025
Solicitante: 
SAMSUNG SDI CO LTD [KR]
SAMSUNG SDI CO., LTD
EP_4641650_PA

Resumen de: EP4641650A1

A device for coating an electrode tab insulator includes: a top die having an inlet configured to receive an insulator; a bottom die on a lower side of the top die and coupled to the top die; and a shim member having a thickness (t) between the top die and the bottom die and including an outlet connected to the inlet and establishing a passage in which the insulator flows in a width direction of the outlet.

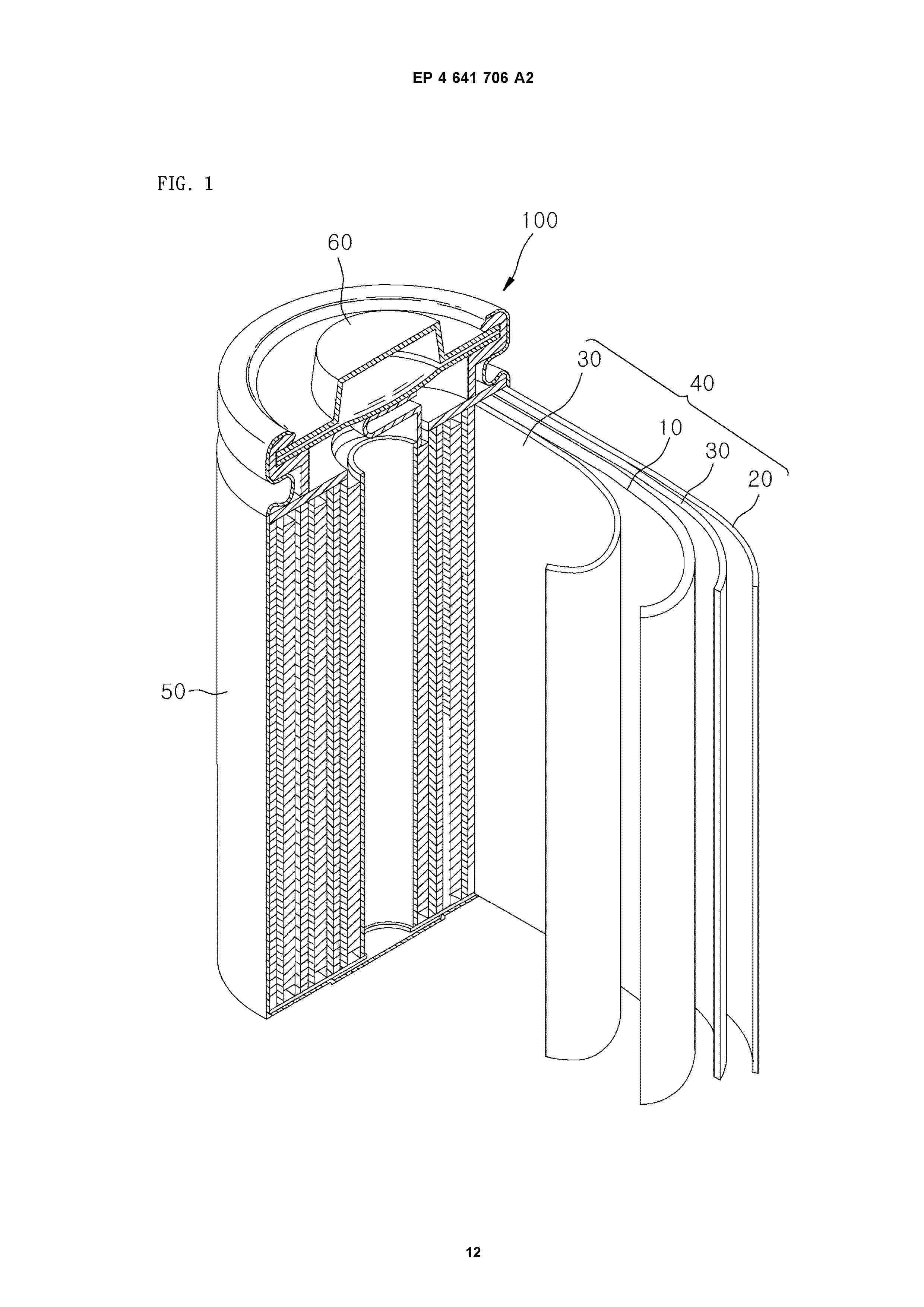
NONAQUEOUS ELECTROLYTIC SOLUTION SECONDARY BATTERY

NºPublicación:  EP4641726A1 29/10/2025
Solicitante: 
PRIME PLANET ENERGY & SOLUTIONS INC [JP]
Prime Planet Energy & Solutions, Inc
EP_4641726_PA

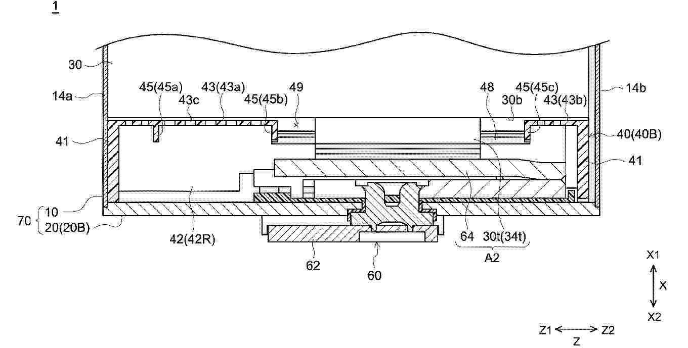
Resumen de: EP4641726A1

A herein disclosed secondary battery 1 includes a case main body 10, a second sealing plate 20B, and an electrode body 30. Then, a second spacer 40B supporting the electrode body 30 from a downward position at an injection time of an electrolytic solution is arranged between the second sealing plate 20B and the electrode body 30. The second spacer 40B includes a pair of first wall parts 41 and a pair of second wall parts 42. Then, the second spacer 40B is configured to make a load bearing capacity of the second wall part 42 be lower than a load bearing capacity of the first wall part 41. Then, this second spacer 40B includes a rib configured to bridge the pair of second wall parts 42. By doing this, it is possible to suppress the deformation of the second spacer 40B.

APPARATUS AND METHOD FOR MANAGING BATTERY

NºPublicación:  EP4641232A1 29/10/2025
Solicitante: 
LG ENERGY SOLUTION LTD [KR]
LG Energy Solution, Ltd
EP_4641232_PA

Resumen de: EP4641232A1

A battery management apparatus according to an embodiment of the present disclosure includes a profile processing unit configured to obtain a charging and discharging profile of a cell group in which a plurality of cells are electrically connected; a characteristic point selecting unit configured to select a characteristic point corresponding to an inflection point in the charging and discharging profile; and a diagnosing unit configured to diagnose a deterioration imbalance of the cell group using characteristic information including information on the number of characteristic points.

CYLINDRICAL BATTERY AND BATTERY DEVICE

NºPublicación:  EP4641808A1 29/10/2025
Solicitante: 
CALB GROUP CO LTD [CN]
CALB Group Co., Ltd
EP_4641808_PA

Resumen de: EP4641808A1

A cylindrical battery and a battery device are provided. The cylindrical battery includes a housing (100) and a cell, wherein the cell is located inside the housing (100); the cell includes a roll core body (200), a positive pole tab and a negative pole tab; the roll core body (200) has first ends and second ends (220) which are opposite in an axial direction (X) of the cylindrical battery; the positive pole tab and the negative pole tab are both located at the first end; an insulating member (300) is provided between the second end (220) and the housing (100); wherein the insulating member (300) includes a body portion (310) and a convex portion (320) which is located on a side of the body portion (310) facing towards the cell and extends towards the cell; and the second end (220) has a vacancy portion.

BATTERY PACK

NºPublicación:  EP4641768A1 29/10/2025
Solicitante: 
CALB GROUP CO LTD [CN]
CALB Group Co., Ltd
EP_4641768_PA

Resumen de: EP4641768A1

A battery pack includes a battery box (100), cylindrical batteries (200), a spacing plate (300) and a pressing plate (400). The battery box (100) includes a bottom plate (110). The cylindrical battery (200) is disposed in the battery box (100) and having an axial direction parallel to a first direction (X) of the bottom plate (110). A first end surface is perpendicular to a first direction (X). The spacing plate (300) has a contact surface facing towards the first end surface and perpendicular to the bottom plate. The pressing plate (400) is disposed on a side of the cylindrical battery (200) facing away from the bottom plate (110), wherein an orthogonal projection pattern of the pressing plate (400) partially overlaps with an orthogonal projection pattern of the spacing plate (300) on a reference plane parallel to the bottom plate (110).

BATTERY PACK AND ELECTRONIC DEVICE

NºPublicación:  EP4641751A1 29/10/2025
Solicitante: 
EVE ENERGY CO LTD [CN]
Eve Energy Co., Ltd
EP_4641751_PA

Resumen de: EP4641751A1

A battery pack (100) and an electronic device are provided in the present disclosure. The battery pack (100) includes a box (10), having an accommodating cavity; a locking beam (11), detachably connected to the box (10), wherein the accommodating cavity is partitioned into a module area (41) and an electrical area (42) by the locking beam (11); a battery module (20), arranged in the module area (41); a first cover (31), connected to the box (10) and covering the module area (41); wherein a gap is defined between the locking beam (11) and a bottom of the accommodating cavity, and a wiring harness (21) connected to the battery module (20) passes through the locking beam (11) from below and enters the electrical area (42). In this way, the routing and installation of the wiring harness (21) can be facilitated, thereby improving production efficiency of the battery pack (100).

BATTERY PACK AND VEHICLE

NºPublicación:  EP4641762A1 29/10/2025
Solicitante: 
CALB GROUP CO LTD [CN]
CALB Group Co., Ltd
EP_4641762_PA

Resumen de: EP4641762A1

A battery pack includes a battery box (100), a cylindrical battery (200) and a heat exchange system. The battery box (100) includes a bottom plate (110); the cylindrical battery (200) is disposed in the battery box (100) and axially parallel to the bottom plate (110); the heat exchange system includes a heat exchange plate (300). A large surface of the heat exchange plate (300) is disposed on the bottom plate (110) relatively perpendicularly; the heat exchange plate (300) contacts with an end surface of the cylindrical battery (200); the heat exchange plate (300) has a heat exchange passage. The heat exchange passage includes at least one inflow passage (310) and at least one outflow passage (320). A ratio of a sum of cross-sectional areas of each of the inflow passages (310) to a sum of cross-sectional areas of each of the outflow passages (320) is 3:2 to 4:1.

BATTERY CELL HORIZONTALLY-ARRANGED MODULE HAVING THERMAL RUNAWAY PROTECTION STRUCTURE

NºPublicación:  EP4641759A1 29/10/2025
Solicitante: 
HEFEI GOTION HIGH TECH POWER ENERGY CO LTD [CN]
Hefei Gotion High-Tech Power Energy Co., Ltd
EP_4641759_A1

Resumen de: EP4641759A1

Provided is a cell horizontally-arranged module having a thermal runaway protection structure. The cell horizontally-arranged module comprises a cell module, an insulation protection member, an end plate, a connecting shell and a cooling member, wherein the cell module comprises a battery unit and a fireproof heat insulation layer; the battery unit and the fireproof heat insulation layer are alternately stacked, and the battery units are stacked in a thickness direction, such that the cell module is horizontally placed; the fireproof heat insulation layer prevents heat from being transferred to an adjacent battery unit via a side surface after the battery unit is in thermal runaway; output electrode plates are provided at two ends of the cell module; the insulation protection members are arranged on the output electrode plates, and the end plates are arranged outside the insulation protection members; the insulation protection members prevent the output electrode plates from coming into contact with the end plates after the cell module is in thermal runaway; and the connecting shell is arranged on a side face of the horizontally-arranged cell module, the connecting shell is connected to the end plates, and the cooling member is arranged on the connecting shell. The height of a chassis of a new energy vehicle is limited, the number of stacked layers of the horizontally-arranged module is relatively small, and the thermal diffusion safety level is high.

ELECTRODE ASSEMBLY FOR RECHARGEABLE LITHIUM BATTERY AND RECHARGEABLE LITHIUM BATTERY

NºPublicación:  EP4641707A1 29/10/2025
Solicitante: 
SAMSUNG SDI CO LTD [KR]
SAMSUNG SDI CO., LTD
EP_4641707_PA

Resumen de: EP4641707A1

An electrode assembly and a rechargeable lithium battery including the same are disclosed. The electrode assembly can prevent generation of cracks between a current collector region provided with a tab and a current collector region without a tab, thereby improving reliability and lifespan. To this end, the electrode assembly has a structure in which a side surface of the tab is secured to the current collector by a thermoplastic resin.

BATTERY CELL AND MANUFACTURING METHOD THEREOF

NºPublicación:  EP4641783A1 29/10/2025
Solicitante: 
SK ON CO LTD [KR]
SK On Co., Ltd
EP_4641783_PA

Resumen de: EP4641783A1

A battery cell (100) according to an embodiment of the present disclosure includes a case receiving an electrode assembly, and an electrode terminal (130) electrically connected to the electrode assembly, wherein the case includes a vent portion (190) having a lower hardness than other regions of the case.

COLD START SYSTEM, COLD START METHOD AND ELECTRIC VEHICLE

NºPublicación:  EP4640493A1 29/10/2025
Solicitante: 
EVE ENERGY CO LTD [CN]
Eve Energy Co., Ltd
EP_4640493_PA

Resumen de: EP4640493A1

The present disclosure provides a cold start system (100), a method and an electric vehicle (10), wherein the cold start system (100) includes a main energy supply module (110), a conversion module (120), a pulse module (130) and a starting energy supply module (140). The main energy supply module (110) is configured to provide a first electrical signal; the conversion module (120) is electrically connected to the main energy supply module (110) and configured to convert the first electrical signal into a second electrical signal, wherein the voltage value of the second electrical signal is less than the voltage value of the first electrical signal; the pulse module (130) is electrically connected to the conversion module (120) and configured to convert the second electrical signal into a pulse signal; the starting energy supply module (140) is electrically connected to the pulse module (130) and configured to receive the pulse signal to operate in response to the pulse signal. The cold start system (100) of the present disclosure can greatly improve the cold start capability of the starting energy supply module (140).

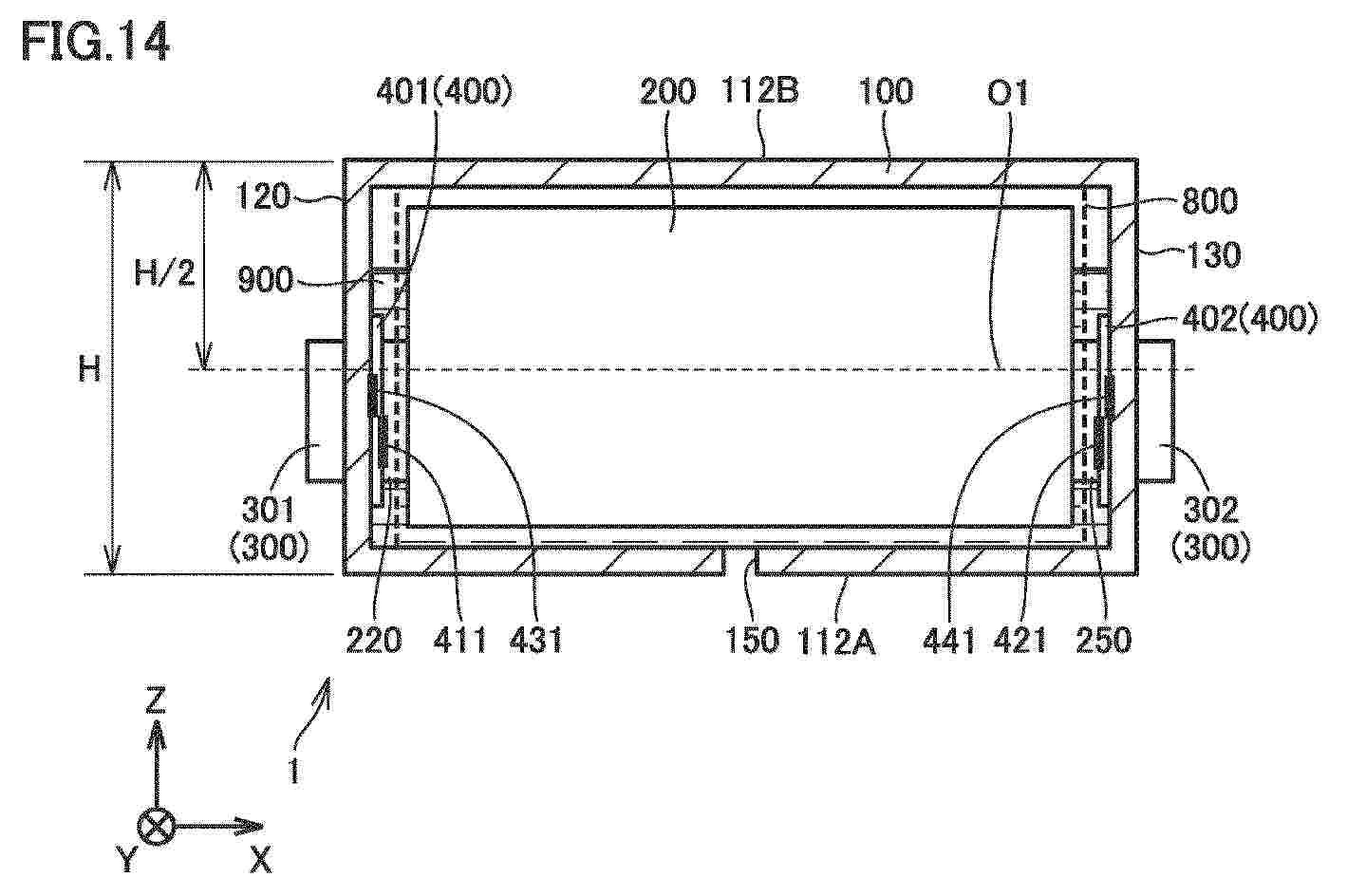
BATTERY AND MOUNTED STRUCTURE THEREOF

NºPublicación:  EP4641731A1 29/10/2025
Solicitante: 
PRIME PLANET ENERGY & SOLUTIONS INC [JP]
Prime Planet Energy & Solutions, Inc
EP_4641731_PA

Resumen de: EP4641731A1

In a battery (1), a case (100) has an outer surface and a gas-discharge valve (150), the outer surface including a first surface (120, 130) and a second surface (112A), the first surface (120, 130) extending in a direction of a plane including a first direction, the second surface (112A) being connected to one end portion of the first surface (120, 130) in the first direction, the second surface (112A) being substantially orthogonal to the first surface (120, 130), the gas-discharge valve (150) being provided at the second surface (112A). The electrode assembly (200) and a current collector (400) are joined at a first joining portion (411, 421), the current collector (400) and an electrode terminal (300) are joined at a second joining portion (431, 441), and at least one of the first joining portion (411, 421) and the second joining portion (431, 441) is eccentrically located on the second surface (112A) side in the first direction.

SECONDARY BATTERY, BATTERY GROUP AND ELECTRONIC APPARATUS

NºPublicación:  EP4641778A2 29/10/2025
Solicitante: 
AESC JAPAN LTD [JP]
AESC Japan Ltd
EP_4641778_PA

Resumen de: EP4641778A2

A secondary battery (100), a battery group (10), and an electronic apparatus (1) are provided. The secondary battery includes a casing (110), a terminal post (140), and an insulating member (150). The casing includes an end wall (111) provided with a terminal post hole (1111). The terminal post includes a post portion (142) that passes through the terminal post hole and a riveted portion (141) that is folded towards an outer edge of the end wall relative to the post portion. A portion where the riveted portion is connected to the post portion (142) is a transition portion (145), and the transition portion undergoes material deformation when the riveted portion (141) is folded toward the outer edge of the end wall. The insulating member is configured to isolate the terminal post from the end wall and includes a compression-bearing portion in contact with the terminal post.

SUPPORT ASSEMBLY, BATTERY PACK, AND VEHICLE

NºPublicación:  EP4641793A1 29/10/2025
Solicitante: 
BYD CO LTD [CN]
BYD Company Limited
EP_4641793_PA

Resumen de: EP4641793A1

This application discloses a holder assembly (100), a battery pack (202), and a vehicle (200). The holder assembly (100) includes an insulated holder (20) and a connecting bottom plate (30), where the insulated holder (20) includes accommodating grooves (21) and exhaust channels (22) in communication with the accommodating grooves (21), the accommodating groove (21) is used for arrangement of a battery cell (10), the exhaust channel (22) is adapted to correspond to explosion-proof valves of the battery cells (10), the connecting bottom plate (30) is connected to the insulated holder (20), and the connecting bottom plate (30) closes the exhaust channel (22) on a side, away from the battery cell (10), of the insulated holder (20).

BATTERY MODULE AND VEHICLE

Nº publicación: EP4641798A1 29/10/2025

Solicitante:

BYD CO LTD [CN]
BYD Company Limited

EP_4641798_PA

Resumen de: EP4641798A1

A vehicle has a battery module. The battery module includes a battery cell, a first material layer, and a second material layer. There are a plurality of battery cells, the plurality of battery cells are successively arranged in a first direction, and the battery cell includes a negative electrode plate, a diaphragm, and a positive electrode plate that are successively stacked in the first direction. Both the first material layer and the second material layer are disposed between two adjacent battery cells, the first material layer is located at an edge of the battery cell, and the second material layer covers at least an intermediate region of the battery cell. Hardness of the first material layer is greater than hardness of the second material layer, and the second material layer has a compressible amount.

traducir