Ministerio de Industria, Turismo y Comercio LogoMinisterior
 

Alerta

Resultados 1604 resultados
LastUpdate Última actualización 11/11/2025 [07:13:00]
pdfxls
Publicaciones de los últimos 15 días/Last 15 days publications (excluidas pubs. CN y JP /CN and JP pubs. excluded)
previousPage Resultados 1400 a 1425 de 1604 nextPage  

ENERGY STORAGE DEVICE

NºPublicación:  EP4641799A1 29/10/2025
Solicitante: 
CONTEMPORARY AMPEREX TECHNOLOGY HONG KONG LTD [HK]
Contemporary Amperex Technology (Hong Kong) Limited
EP_4641799_PA

Resumen de: EP4641799A1

Disclosed in embodiments of the present application is an energy storage device. The energy storage device is used for storing a plurality of batteries (10), and comprises: a first wall (31); and a pressure relief assembly (32) arranged on the first wall (31). Therefore, according to the energy storage device of the embodiments of the present application, the reliability of the energy storage device can be improved.

BATTERY PACK AND ELECTRIC APPARATUS

NºPublicación:  EP4641767A1 29/10/2025
Solicitante: 
BYD CO LTD [CN]
BYD Company Limited
EP_4641767_A1

Resumen de: EP4641767A1

A battery pack (10) and an electric apparatus are disclosed. The battery pack (10) includes a battery cell set (100), a heat exchange assembly (200), and a heating member (300). The battery cell set (100) includes a plurality of battery cells (101) arranged along a first direction. The battery cell (101) includes a battery cell body (1011), a first electrode terminal (1012), and a second electrode terminal (1013). The battery cell body (1011) extends along a second direction. The first direction is perpendicular to the second direction. The heat exchange assembly (200) is located on a side of the battery cell set (100) and is configured to perform heat exchange on the battery cell set (100). The heat exchange assembly (200) includes a plurality of medium flow channels (201) arranged along the second direction. The medium flow channel (201) extends along the first direction. The heating member (300) is located on a side of the battery cell set (100) and is configured to heat the battery cell set (100). The heating member (300) includes a plurality of heating sections (301) arranged along the second direction. The heating section (301) extends along the first direction.

SEPARATOR AND PREPARATION METHOD THEREFOR, SECONDARY BATTERY, AND ELECTRIC APPARATUS

NºPublicación:  EP4641806A1 29/10/2025
Solicitante: 
CONTEMPORARY AMPEREX TECHNOLOGY HONG KONG LTD [HK]
Contemporary Amperex Technology (Hong Kong) Limited
EP_4641806_PA

Resumen de: EP4641806A1

Provided in the present application are a separator and a preparation method therefor, a secondary battery, and an electric apparatus. The separator comprises a first base film, a second base film, and an intermediate layer, which is located between the first base film and the second base film, wherein the melting point of the first base film is 175 °C or above, and the average pore size of the first base film is larger than or equal to 0.22µm; and the intermediate layer comprises filler particles, at least some of which are embedded into the first base film.

POSITIVE ELECTRODE ACTIVE MATERIAL FOR RECHARGEABLE LITHIUM BATTERY, AND METHOD OF MANUFACTURING THE SAME

NºPublicación:  EP4641691A1 29/10/2025
Solicitante: 
SAMSUNG SDI CO LTD [KR]
SAMSUNG SDI CO., LTD
EP_4641691_PA

Resumen de: EP4641691A1

Positive electrode active materials, their manufacturing methods, and rechargeable lithium batteries are provided. A positive electrode active material comprises a first particle that includes a compound represented by Chemical Formula 1 and has a first average particle diameter. A ratio (I<sub>D</sub>/I<sub>G</sub>) of intensity (I<sub>D</sub>) of D peak at a wave number of about 1340±10cm<sup>-1</sup> in the Raman spectrum obtained from Raman spectroscopy to intensity (I<sub>G</sub>) of G peak at a wave number of about 1590±10cm<sup>-1</sup> in the Raman spectrum obtained from Raman spectroscopy is in a range of about 0.5 to about 1.5.

SECONDARY BATTERY AND METHOD OF MANUFACTURING THE SAME

NºPublicación:  EP4641725A1 29/10/2025
Solicitante: 
SAMSUNG SDI CO LTD [KR]
SAMSUNG SDI CO., LTD
EP_4641725_PA

Resumen de: EP4641725A1

A secondary battery and a method of manufacturing the same are disclosed. The method of manufacturing a secondary battery includes preparing an electrode assembly including a first electrode plate, a second electrode plate, and a separator, attaching a top tape to an upper end portion of the electrode assembly, attaching a bottom tape to surround a lower end portion of the electrode assembly, attaching a body tape to surround the upper end portion of the electrode assembly, and inserting the electrode assembly into a case, wherein each of the first and second electrode plates includes a current collector, an active material layer on the current collector, an uncoated portion at an end of the current collector adjacent to the electrode active material layer, and an electrode tab at an end portion of the uncoated portion.

NEGATIVE ELECTRODE AND LITHIUM ION SECONDARY BATTERY COMPRISING NEGATIVE ELECTRODE

NºPublicación:  EP4641659A1 29/10/2025
Solicitante: 
LG ENERGY SOLUTION LTD [KR]
LG Energy Solution, Ltd
EP_4641659_A1

Resumen de: EP4641659A1

The present invention provides a negative electrode comprising a current collector and an active material layer, wherein the active material layer comprises carbon material particles, metal particles, and metal oxide particles, and a lithium-ion secondary battery comprising the negative electrode.

NEGATIVE ELECTRODE AND LITHIUM SECONDARY BATTERY

NºPublicación:  EP4641653A1 29/10/2025
Solicitante: 
LG ENERGY SOLUTION LTD [KR]
LG Energy Solution, Ltd
EP_4641653_A1

Resumen de: EP4641653A1

The present invention relates to a negative electrode for lithium secondary batteries and a lithium secondary battery, the negative electrode comprising: a current collector; a first layer provided on the current collector and including a carbon-based active material; a second layer provided on the first layer and including a silicon-based active material; and a third layer provided on the second layer and including aluminum or an aluminum-containing compound, wherein the thickness of the third layer is greater than 0 but not exceeding 1/20 of the combined thickness of the first and second layers.

BATTERY PACK AND ESS COMPRISING BATTERY PACK

NºPublicación:  EP4641802A1 29/10/2025
Solicitante: 
LG ENERGY SOLUTION LTD [KR]
LG Energy Solution, Ltd
EP_4641802_PA

Resumen de: EP4641802A1

The present disclosure relates to a battery pack including a plurality of battery cells; and a pack case including a plurality of unit plates, and configured to accommodate the plurality of battery cells, the pack case having a venting portion disposed in at least one of the plurality of unit plates to release gas vented from the battery cell to outside, wherein at least some of the plurality of unit plates have a venting space extended toward the venting portion to allow the gas to flow.

BATTERY CELL, BATTERY, AND ELECTRICAL DEVICE

NºPublicación:  EP4641816A1 29/10/2025
Solicitante: 
CONTEMPORARY AMPEREX TECHNOLOGY HONG KONG LTD [HK]
Contemporary Amperex Technology (Hong Kong) Limited
EP_4641816_PA

Resumen de: EP4641816A1

A battery cell, a battery, and an electrical device. The battery cell (40) comprises: an electrode assembly (10) comprising a plurality of electrode sheets (10a, 10b) and separators (10c) provided between adjacent electrode sheets (10a, 10b) having opposite polarities among the plurality of electrode sheets (10a, 10b), the plurality of electrode sheets (10a, 10b) and the separators (10c) being wound in a winding direction (wd) and forming a wound structure (100), wherein at least one of the plurality of electrode sheets (10a, 10b) comprises a current collector substrate (11) and a plurality of tabs (13), the plurality of tabs (13) are connected to at least one side edge of the current collector substrate (11) extending in the winding direction (wd), and arranged at intervals in the winding direction (wd), and at least part of the plurality of tabs (13) is bent toward a direction close to a winding axis (CL) of the wound structure (100), and forms a tab stack structure (130) at an end portion of the wound structure (100); a shell (4A) having a chamber for accommodating the electrode assembly (10); an electrode terminal (42) provided on a wall portion of the shell (4A); and conductive members (21, 22) welded to the tab stack structure (130) and electrically connected to the electrode terminal (42).

BATTERY BOXES AND BATTERY SYSTEMS

NºPublicación:  EP4641771A1 29/10/2025
Solicitante: 
EVE ENERGY CO LTD [CN]
Eve Energy Co., Ltd
EP_4641771_PA

Resumen de: EP4641771A1

A battery box and a battery system are provided. A support plate (200) and a side plate assembly (110) in the battery box are enclosed to form a first accommodating cavity (120). The support plate (200) is provided with a plurality of first through holes (210), and each of the first through holes (210) is disposed in one-to-one correspondence with an explosion-proof valve of each of the single-cells (400). A first surface of the support plate (200) is provided with a first heat insulating layer (220), and the first heat insulating layer (220) seals each of the first through holes (210). A bottom plate (300) and the support plate (200) are spaced apart, and the bottom plate (300), the support plate (200) and the side plate assembly (110) are enclosed to form a pressure relief cavity (310).

POSITIVE ELECTRODE ACTIVE MATERIAL FOR RECHARGEABLE LITHIUM BATTERY, POSITIVE ELECTRODE CONTAINING THE SAME, AND RECHARGEABLE LITHIUM BATTERY INCLUDING THE SAME

NºPublicación:  EP4641680A1 29/10/2025
Solicitante: 
SAMSUNG SDI CO LTD [KR]
SAMSUNG SDI CO., LTD
EP_4641680_PA

Resumen de: EP4641680A1

A positive electrode active material for a rechargeable lithium battery, a positive electrode containing the same, and a rechargeable lithium battery including the same as provided. A positive electrode active material includes titanium (Ti) in an amount of about 1000 ppm to about 9000 ppm, at least one primary particle, the primary particle having a size of about 50 nm to about 300 nm, and a compound represented by Formula 1:        Formula 1     LiaMnxFe1-xMyPO4-bwherein, in Formula 1 above, 0.8≤a≤1.2, 0.2≤x≤0.8, 0≤y≤0.05, 0≤b≤0.05, and M is at least one element selected from the group consisting of Al, Mg, Zr, V, Zn, Nb, K, Y, B, and Cu.

POSITIVE ELECTRODE ACTIVE MATERIAL, PREPARATION METHOD OF THEREOF, POSITIVE ELECTRODE AND RECHARGEABLE LITHIUM BATTERIES

NºPublicación:  EP4640636A1 29/10/2025
Solicitante: 
SAMSUNG SDI CO LTD [KR]
SAMSUNG SDI CO., LTD
EP_4640636_PA

Resumen de: EP4640636A1

A positive electrode active material, a method of preparing the positive electrode active material, a positive electrode including the positive electrode active material, and a rechargeable lithium battery including the positive electrode are disclosed. The positive electrode active material includes core particles including a layered lithium nickel-based composite oxide and having a single particle shape; and a coating layer provided on the surface of the core particles and including cobalt and zirconium; wherein the lithium nickel-based composite oxide of the core particles includes aluminium and zirconium, a nickel content (e.g., amount) is greater than or equal to about 60 mol%, an aluminium content (e.g., amount) is about 0.8 mol% to about 1.5 mol%, and a zirconium content (e.g., amount) is about 0.1 mol% to about 0.3 mol%, based on 100 mol% of total metals excluding lithium.

POSITIVE ELECTRODE ACTIVE MATERIAL FOR RECHARGEABLE LITHIUM BATTERY, POSITIVE ELECTRODE INCLUDING THE POSITIVE ELECTRODE ACTIVE MATERIAL, AND RECHARGEABLE LITHIUM BATTERY INCLUDING THE POSITIVE ELECTRODE ACTIVE MATERIAL

NºPublicación:  EP4641690A2 29/10/2025
Solicitante: 
SAMSUNG SDI CO LTD [KR]
SAMSUNG SDI CO., LTD
EP_4641690_PA

Resumen de: EP4641690A2

Disclosed are positive electrode active materials for a rechargeable battery, positive electrodes including the positive electrode active materials, and recharageable lithum batteries including the positive electrode active materials. The positive electrode active material comprises first particles comprising a compound having an olivine structure, second particles comprising a compound having a spinel structure, and third particles. An amount of the third particles is about 0.5 parts by weight to about 1.5 parts by weight based on 100 parts by weight of the positive electrode active material.

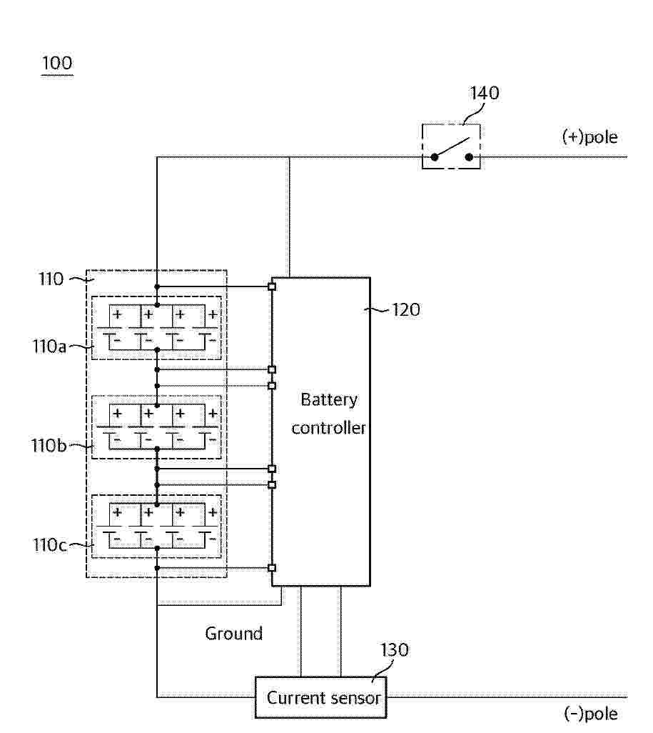
BATTERY MODULE AND METHOD FOR DETERMINING STATE OF CURRENT SENSOR THEREOF

NºPublicación:  EP4641243A1 29/10/2025
Solicitante: 
LG ENERGY SOLUTION LTD [KR]
LG Energy Solution, Ltd
EP_4641243_PA

Resumen de: EP4641243A1

According to an embodiment of the present disclosure, a battery module of an electronic device may comprise: a battery pack; a current sensor including a current detection resistor electrically connected to a current path formed by the battery pack; and a battery controller configured to control the battery pack and determine whether the current sensor is abnormal, on the basis of a measurement result of the current sensor, wherein one end of the current detection resistor is connected to the battery pack and the other end of the current detection resistor is connected to a ground line of the battery controller.

ANODE AND LITHIUM ION SECONDARY BATTERY COMPRISING ANODE

NºPublicación:  EP4641660A1 29/10/2025
Solicitante: 
LG ENERGY SOLUTION LTD [KR]
LG Energy Solution, Ltd
EP_4641660_A1

Resumen de: EP4641660A1

The present invention provides a negative electrode comprising a current collector and an active material layer, wherein the active material layer includes carbon material particles and metal sulfide particles, wherein the metal sulfide includes at least one selected from the group consisting of Ag<sub>2</sub>S, MnS, and GeS, and a lithium-ion secondary battery comprising the negative electrode.

DIFFERENTIAL PRESSURE SENSOR FOR AN AEROSOL DELIVERY DEVICE

NºPublicación:  KR20250155068A 29/10/2025
Solicitante: 
레이스트라티직홀딩스인크
US_2025099699_PA

Resumen de: US2025099699A1

An aerosol delivery device includes at least one housing, a heating element, a sensor, and a microprocessor coupled to the heating element and the sensor. The at least one housing encloses a reservoir configured to retain an aerosol precursor composition. The sensor is configured to produce measurements of differential pressure between an ambient atmospheric pressure and a pressure caused by airflow through at least a portion of the aerosol delivery device. The sensor is also configured to convert the measurements of differential pressure to corresponding electrical signals. The microprocessor is configured to receive the corresponding electrical signals and operate in an active mode only in an instance in which the differential pressure is at least a 10 threshold differential pressure. The microprocessor in the active mode is configured to control the heating element to activate and vaporize components of the aerosol precursor composition.

Press mold of battery-pack cooling block for improve plate flatness

NºPublicación:  KR20250154755A 29/10/2025
Solicitante: 
주식회사고산

Resumen de: KR20250154755A

본 발명은 배터리팩 쿨링블록의 플레이트 평탄도 개선용 프레스 성형 금형에 관한 것으로, 본 발명은 상부금형의 펀치블록 둘레나 상부메인블록의 고정홈 둘레, 또는 하부금형의 패드블록 둘레나 하부메인블록의 고정홈 둘레에 인각성형돌기가 구비됨으로써 인각성형돌기를 통해 인각성형홈이 형성되도록 하여 배터리팩 쿨링블록의 베이스플레이트나 커버플레이트 등의 플레이트 부재에 대한 유로 형성을 위한 프레스 가공시 유로의 함몰된 측 둘레면에 대해 프레스 가공 성형시 발생하는 응력으로 인한 변형(평탄도의 틀어짐 및 휨)됨이 없이 평탄한 상태가 원활하게 유지되도록 프레스 가공할 수 있으며, 이를 통하여 평탄도 보정에 의해 쿨링블록의 브레이징 접합 불량률을 극소화할 수 있도록 하는 한편, 인각성형돌기를 통해 인각성형홈이 형성되도록 하되 인각성형돌기를 통한 프레스 가공에 의해 평탄도 보정시에 성형되는 인각성형홈의 깊이에 대해 플레이트 부재의 두께의 15~20% 범위의 길이와 대응되는 길이로 성형되도록 함으로써 유로 성형부의 두께 감소로 인한 파손발생을 안정적으로 방지함과 동시에 브레이징 접합을 위한 평탄도가 보정되게 할 수 있는 것이다.

Ultrahigh-structure and high-specific-surface carbon black based on high crystallinity preparation method of ultrahigh-structureand high-specific-surface carbon black electrode slurry and battery

NºPublicación:  KR20250154972A 29/10/2025
Solicitante: 
자오쭤시티허싱케미칼인더스트리컴퍼니리미티드
JP_2025165411_PA

Resumen de: US2025326935A1

Provided is an ultra-high structure and high specific surface area carbon black based on high crystallinity and a preparation method thereof, an electrode slurry, and a battery. The ultra-high structure and high specific surface area carbon black based on high crystallinity satisfies the following characteristics: (1) the degree of crystallinity is equal to or more than 39%; (2) the BET specific surface area ranges from 200 m2/g to 763 m2/g; (3) the OAN ranges from 334 mL/100g to 548 mL/100g; and (4) the average particle diameter of primary particles is equal to or less than 35 nm.

Positive electrode active material for rechargeable lithium battery method for manufacturing the same positive electrode active material slurry including the same and rechargeable lithium battery including the same

NºPublicación:  KR20250154819A 29/10/2025
Solicitante: 
삼성에스디아이주식회사
CN_120829146_PA

Resumen de: EP4641688A1

A positive electrode active material, a method of manufacturing thereof, a positive electrode active material slurry, and a rechargeable lithium battery are provided. The method of manufacturing a positive electrode active material includes forming a mixture by mixing an iron phosphate precursor, a lithium source, a carbon source, and a dopant source with each other; performing a spray drying to dry the mixture; and performing a calcination on the dried mixture. The dopant source includes a titanium compound.

SECONDARY BATTERY AND MANUFACTURING METHOD THEREOF

NºPublicación:  KR20250154701A 29/10/2025
Solicitante: 
삼성에스디아이주식회사
CN_120834348_PA

Resumen de: US2025329773A1

A method of manufacturing a secondary battery includes preparing an electrode assembly including a first electrode plate, a second electrode plate, and a separator, attaching a top tape to an upper end portion of the electrode assembly, attaching a bottom tape to surround a lower end portion of the electrode assembly, attaching a body tape to surround the upper end portion of the electrode assembly, and inserting the electrode assembly into a pouch, wherein each of the first and second electrode plates includes a current collector, an active material layer on the current collector, an uncoated portion at an end of the current collector adjacent to the electrode active material layer, and an electrode tab at an end portion of the uncoated portion.

ELECTRODE FOR LITHIUM ION RECHARGEABLE BATTERY AND LITHIUM ION RECHARGEABLE BATTERY INCLUDING THE SAME

NºPublicación:  KR20250154617A 29/10/2025
Solicitante: 
삼성에스디아이주식회사한양대학교산학협력단
CN_120834142_PA

Resumen de: US2025329717A1

The present disclosure provides an electrode for a rechargeable lithium battery and a rechargeable lithium battery including the electrode. The electrode includes an electrode active material layer, wherein the electrode active material layer is a dry electrode film including an active material having a catecholamine-based compound-containing layer and a first binder having a catecholamine-based compound-containing layer.

Positive electrode active material and rechargeable lithium battery including the same

NºPublicación:  KR20250154859A 29/10/2025
Solicitante: 
삼성에스디아이주식회사
JP_2025165387_PA

Resumen de: US2025329733A1

A rechargeable lithium battery including a positive electrode active material, the positive electrode active material including a first particle containing a compound represented by Formula 1 and having a first average particle diameter:wherein, in Formula 1 above, 0.8≤a1≤1.2, 0.45≤x1≤0.55, 0.45≤y1≤0.55, 0

ELECTRODE CURRENT COLLECTOR ITS MANUFACTURING METHOD AND SECONDARY BATTERY ELECTRODE ASSEMBLY INCLUDING IT

NºPublicación:  KR20250154659A 29/10/2025
Solicitante: 
주식회사엘지에너지솔루션
WO_2025225857_PA

Resumen de: WO2025225857A1

The present invention relates to an electrode current collector, a manufacturing method therefor, and a secondary battery electrode assembly comprising same, the collector comprising: a first metal layer; a polymer resin layer provided on one surface of the first metal layer; and a second metal layer provided on one surface of the polymer resin layer, wherein in some region of an uncoated part corresponding to an electrode tab, the polymer resin layer is removed so that the first metal layer and the second metal layer face each other.

에어로졸 발생 시스템 및 에어로졸 발생 시스템 작동 방법

NºPublicación:  KR20250155070A 29/10/2025
Solicitante: 
필립모리스프로덕츠에스에이
CN_120883379_PA

Resumen de: WO2024192678A1

There is provided an aerosol-generating system (100) for generating an inhalable aerosol from an aerosol-forming substrate (21). The aerosol-generating system comprises a lithium-ion battery (12). The battery comprises a cathode (122), the cathode comprising a cathode-active material (1222). The cathode-active material at least one compound selected from a first group of compounds and at least one compound selected from a second group of compounds. The first group of compounds comprises lithium manganese iron phosphate, lithium iron phosphate, or a combination thereof. The second group of compounds comprises lithium nickel manganese cobalt oxide, lithium nickel cobalt aluminium oxide, lithium cobalt oxide, or a combination thereof.

POSITIVE ELECTRODE ACTIVE MATERIAL FOR RECHARGEABLE LITHIUM BATTERY POSITIVE ELECTRODE CONTAINING THE SAME AND RECHARGEABLE LITHIUM BATTERY INCLUDING THE SAME

Nº publicación: KR20250154836A 29/10/2025

Solicitante:

삼성에스디아이주식회사

JP_2025165410_PA

Resumen de: US2025329731A1

A positive electrode active material for a rechargeable lithium battery, a positive electrode containing the same, and a rechargeable lithium battery including the same as provided. A positive electrode active material includes titanium (Ti) in an amount of about 1000 ppm to about 9000 ppm, at least one primary particle, the primary particle having a size of about 50 nm to about 300 nm, and a compound represented by Formula 1:wherein, in Formula 1 above, 0.8≤a≤1.2, 0.2≤x≤0.8, 0≤y≤0.05, 0≤b≤0.05, and M is at least one element selected from the group consisting of Al, Mg, Zr, V, Zn, Nb, K, Y, B, and Cu.

traducir