Ministerio de Industria, Turismo y Comercio LogoMinisterior
 

Alerta

Resultados 1398 resultados
LastUpdate Última actualización 16/12/2025 [07:11:00]
pdfxls
Publicaciones de los últimos 15 días/Last 15 days publications (excluidas pubs. CN y JP /CN and JP pubs. excluded)
previousPage Resultados 125 a 150 de 1398 nextPage  

LITHIUM-ION CONDUCTOR AND LITHIUM SECONDARY BATTERY USING SAME

NºPublicación:  WO2025253471A1 11/12/2025
Solicitante: 
NISSAN MOTOR CO LTD [JP]
\u65E5\u7523\u81EA\u52D5\u8ECA\u682A\u5F0F\u4F1A\u793E
WO_2025253471_PA

Resumen de: WO2025253471A1

The present invention provides a means capable of improving electrochemical stability in an LGPS type lithium-ion conductor, while maintaining high purity and lithium-ion conductivity. More specifically, provided is a lithium-ion conductor having a compound represented by the following formula: Li11.7-x-4y (Si0.9 Ge0.1)3-x+y Px S11.7-z Cl0.3 Oz (in the formula, x is 1.4 ≦ x ≦ 1.6, y is 0.05 ≦ y ≦ 0.15, and z is 1.65≦ z ≦ 1.8).

LITHIUM-ION CONDUCTOR AND LITHIUM SECONDARY BATTERY USING SAME

NºPublicación:  WO2025253470A1 11/12/2025
Solicitante: 
NISSAN MOTOR CO LTD [JP]
\u65E5\u7523\u81EA\u52D5\u8ECA\u682A\u5F0F\u4F1A\u793E
WO_2025253470_PA

Resumen de: WO2025253470A1

The present invention provides a means capable of improving electrochemical stability and purity in an LGPS type lithium-ion conductor. More specifically, the present invention relates to a lithium-ion conductor represented by composition formula 1. Composition formula 1: Li11.4-x-4y Si3-x+yP x S11.4-z Cl0.6 Oz, as defined in the description.

METHOD FOR TREATING CLEANING WASTE LIQUID

NºPublicación:  WO2025254471A1 11/12/2025
Solicitante: 
LG ENERGY SOLUTION LTD [KR]
\uC8FC\uC2DD\uD68C\uC0AC \uC5D8\uC9C0\uC5D0\uB108\uC9C0\uC194\uB8E8\uC158
WO_2025254471_A1

Resumen de: WO2025254471A1

The present invention relates to a method for treating cleaning waste liquid, comprising: a pretreatment step of removing a part of an organic solvent from cleaning waste liquid including a positive electrode active material, a binder, and an organic solvent; a first step of adding water to the cleaning waste liquid from which a part of the organic solvent has been removed to precipitate the binder; a second step of removing the precipitated binder to obtain a first treatment solution containing the positive electrode active material, the water, and the organic solvent; a third step of separating the positive electrode active material from the first treatment solution to obtain a second treatment solution containing the water and the organic solvent; and a fourth step of removing water from the second treatment solution and recovering the organic solvent.

SEPARATOR, ELECTRODE ASSEMBLY, BATTERY AND ELECTRICAL APPARATUS

NºPublicación:  WO2025251459A1 11/12/2025
Solicitante: 
DONGFENG MOTOR GROUP CO LTD [CN]
\u4E1C\u98CE\u6C7D\u8F66\u96C6\u56E2\u80A1\u4EFD\u6709\u9650\u516C\u53F8
WO_2025251459_PA

Resumen de: WO2025251459A1

A separator, an electrode assembly, a battery and an electrical apparatus, belonging to the technical field of secondary batteries. The separator comprises a base membrane (1) and a coating layer (2), the coating layer (2) being attached to at least a partial area of the base membrane (1). The base membrane (1) comprises a first base membrane (11), an adhesive layer (12) and a second base membrane (13), the adhesive layer (12) being arranged between the first base membrane (11) and the second base membrane (13). The first base membrane (11) is a cellulose separator, and the second base membrane (13) is a polymer separator. By means of combining the cellulose separator and the polymer separator to use the high thermal stability of the cellulose separator and the high tensile strength of the polymer separator, the separator has the characteristics of good thermal stability and high tensile strength, thus solving the problem of bad thermal stability of the separator.

NICKEL-MANGANESE-BASED SODIUM-ION BATTERY POSITIVE ELECTRODE MATERIAL AND PREPARATION METHOD THEREFOR, AND POSITIVE ELECTRODE SHEET AND SODIUM-ION BATTERY

NºPublicación:  WO2025251350A1 11/12/2025
Solicitante: 
HUBEI WANRUN NEW ENERGY TECH CO LTD [CN]
\u6E56\u5317\u4E07\u6DA6\u65B0\u80FD\u6E90\u79D1\u6280\u80A1\u4EFD\u6709\u9650\u516C\u53F8
WO_2025251350_PA

Resumen de: WO2025251350A1

The present application belongs to the technical field of secondary batteries. Provided are a nickel-manganese-based sodium-ion battery positive electrode material and a preparation method therefor, and a positive electrode sheet and a sodium-ion battery. The positive electrode material for a nickel-manganese-based sodium-ion battery is represented by the general formula NacNiaMnbO2, wherein a+b=1.0, 0.4≤a≤0.6, 0.4≤b≤0.6, and 0.67≤c≤1.0. The positive electrode material for a nickel-manganese-based sodium-ion battery is made of secondary particles formed by stacking primary particles. The primary particles are sheet-shaped particles, and the secondary particles are spherical particles, which having a discharge specific capacity of ≥115 mAh·g-1. The sodium-ion battery prepared from the positive electrode material for a nickel-manganese-based sodium-ion battery provided in the present application has a good cycling life and energy density, which facilitates the broadening of the application field of sodium-ion batteries.

ENERGY STORAGE DEVICE

NºPublicación:  WO2025251231A1 11/12/2025
Solicitante: 
XIAMEN AMPACK TECH LIMITED [CN]
\u53A6\u95E8\u65B0\u80FD\u8FBE\u79D1\u6280\u6709\u9650\u516C\u53F8
WO_2025251231_PA

Resumen de: WO2025251231A1

The present application discloses an energy storage device, comprising a first housing, a first separator, a battery module, and an electrical module. The first separator is connected to the first housing, and the first separator divides the first housing into a first chamber and a second chamber arranged in a first direction. The battery module is located in one of the first chamber and the second chamber. The electrical module is located in the other one of the first chamber and the second chamber, and the electrical module is electrically connected to the battery module. The electrical module and the battery module are located in different chambers, so that heat generated by the electrical module is separated from heat generated by the battery module, thereby facilitating improvement of heat dissipation of the battery module.

HALIDE SOLID-STATE ELECTROLYTE MATERIAL AND PREPARATION METHOD THEREFOR, LITHIUM ION BATTERY

NºPublicación:  WO2025251358A1 11/12/2025
Solicitante: 
SHENZHEN INX TECH CO LTD [CN]
\u6DF1\u5733\u6B23\u754C\u80FD\u6E90\u79D1\u6280\u6709\u9650\u516C\u53F8
WO_2025251358_A1

Resumen de: WO2025251358A1

Provided are a halide solid-state electrolyte material and a preparation method therefor, a solid-state electrolyte membrane, and a lithium ion battery. The chemical formula of the halide solid-state electrolyte material is LixTayInzCl6, wherein y/x is from 0.04 to 1, z=(6-x-5y)/3, and 1>z>0.2. The halide solid-state electrolyte material has better ionic conductivity, can be prepared by a solution method, involves a simple preparation process and low preparation cost, and can meet the requirements of large-scale production.

COOLING SYSTEM FOR SECONDARY BATTERY, AND SECONDARY BATTERY SYSTEM

NºPublicación:  WO2025254016A1 11/12/2025
Solicitante: 
KK TOYOTA CHUO KENKYUSHO [JP]
\u682A\u5F0F\u4F1A\u793E\u8C4A\u7530\u4E2D\u592E\u7814\u7A76\u6240
WO_2025254016_PA

Resumen de: WO2025254016A1

This cooling system for a secondary battery comprises: a liquid flow path for moving a liquid refrigerant downward in the vertical direction, the liquid flow path being formed by a plate-shaped member which has a pair of surfaces and onto the outer surface of which or into which the liquid refrigerant can move, and the secondary battery being in contact with one of the pair of surfaces; a gas flow path for moving a gaseous refrigerant upward in the vertical direction, the gas flow path being adjacent to the other of the pair of surfaces of the liquid flow path, and the refrigerant being capable of moving between the gas flow path and the liquid flow path via the other surface; a cooling unit that is positioned above the liquid flow path and the gas flow path in the vertical direction and that cools the gas refrigerant to be in liquid form; and a heating unit that is positioned below the liquid flow path and the gas flow path in the vertical direction and that heats the liquid refrigerant to be in gas form.

COATED ACTIVE MATERIAL, ELECTRODE MATERIAL, AND BATTERY

NºPublicación:  WO2025253964A1 11/12/2025
Solicitante: 
PANASONIC HOLDINGS CORP [JP]
TOYOTA JIDOSHA KK [JP]
\u30D1\u30CA\u30BD\u30CB\u30C3\u30AF\u30DB\u30FC\u30EB\u30C7\u30A3\u30F3\u30B0\u30B9\u682A\u5F0F\u4F1A\u793E,
\u30C8\u30E8\u30BF\u81EA\u52D5\u8ECA\u682A\u5F0F\u4F1A\u793E
WO_2025253964_PA

Resumen de: WO2025253964A1

A coated active material 100 according to the present disclosure comprises: composite particles 130 that include an active material 110 and a first coating layer 120 which covers at least part of the surface of the active material 110; and a second coating layer 140 that covers the surface of the composite particles 130 at a coverage ratio of 15.0-75.0%. The first coating layer 120 contains a first solid electrolyte. The second coating layer 140 contains a second solid electrolyte having a composition differing from that of the first solid electrolyte. The ratio of the average roundness of the coated active material 100 to the average roundness of the active material 110 is less than 1.30.

MOLDED AND SINTERED BODY OF CATHODE ACTIVE MATERIAL AND SECONDARY BATTERY MADE FROM SAME

NºPublicación:  WO2025254321A1 11/12/2025
Solicitante: 
L&F CO LTD [KR]
\uC8FC\uC2DD\uD68C\uC0AC \uC5D8 \uC564 \uC5D0\uD504
WO_2025254321_A1

Resumen de: WO2025254321A1

The present invention provides: a molded and sintered body of a cathode active material in which a plurality of cathode active material particles are aggregated and maintain the shape of the molded and sintered body; and a secondary battery made from same. The molded and sintered body of a cathode active material is manufactured by sintering after feeding into a sintering furnace without using a sintering vessel, and thus has high productivity. In addition, the reactivity of the molded and sintered body is high due to the high conversion energy and large amount of contact with a fluid during sintering, and thus it is possible to produce a cathode active material having excellent physical properties.

METHOD FOR PRODUCING SULFIDE-BASED SOLID ELECTROLYTE MATERIAL

NºPublicación:  WO2025253911A1 11/12/2025
Solicitante: 
MITSUBISHI MAT CORPORATION [JP]
\u4E09\u83F1\u30DE\u30C6\u30EA\u30A2\u30EB\u682A\u5F0F\u4F1A\u793E
WO_2025253911_PA

Resumen de: WO2025253911A1

This method for producing a sulfide-based solid electrolyte material comprises: a starting material preparation step (S01) for preparing an electrolyte starting material that contains an element constituting the sulfide-based solid electrolyte material; and a synthesis step (S02) for synthesizing the sulfide-based solid electrolyte material by heating the electrolyte starting material. In the starting material preparation step (S01), the ratio of P in the electrolyte starting material is set within the range of 1.01 to 1.07 times the stoichiometric amount ratio of the target composition.

COPPER FOIL AND PREPARATION METHOD THEREFOR, NEGATIVE ELECTRODE COMPRISING SAME, AND LITHIUM-ION BATTERY

NºPublicación:  WO2025251224A1 11/12/2025
Solicitante: 
JIUJIANG DEFU TECH CO LTD [CN]
\u4E5D\u6C5F\u5FB7\u798F\u79D1\u6280\u80A1\u4EFD\u6709\u9650\u516C\u53F8
WO_2025251224_A1

Resumen de: WO2025251224A1

The present invention relates to the technical field of lithium-ion batteries, and in particular to a copper foil and a preparation method therefor, a negative electrode comprising same, and a lithium-ion battery. The copper foil comprises ultra-fine grains and nanotwins, and has an average grain size of 0.2-0.4 μm and an area-weighted average grain size of 0.3-0.8 μm, wherein the proportion of the nanotwins in the copper foil is greater than 50%. The copper foil is prepared by means of a pulse electroplating technique, which can control the average grain size and the proportion of nanotwins in the copper foil, thereby making the copper foil have high tensile strength and a high elongation rate. Moreover, a specific electrolyte is used in the preparation method, enabling the tensile strength of the copper foil to reach 600-900 MPa and the elongation rate thereof to be greater than 5%. Applying the copper foil to a lithium-ion battery can reduce the volume expansion rate of a negative electrode material after charging and discharging cycles, prevent the copper foil from cracking due to repeated volume changes during the charging and discharging processes of the negative electrode material, prolong the cycle life of the battery and improve the safety of the battery.

LEAD-ACID STORAGE BATTERY AND OPERATING METHOD THEREOF

NºPublicación:  WO2025251183A1 11/12/2025
Solicitante: 
CHALLENGO BEIKING TECH CO LTD [CN]
\u94C5\u9502\u667A\u884C\uFF08\u5317\u4EAC\uFF09\u79D1\u6280\u6709\u9650\u516C\u53F8
WO_2025251183_PA

Resumen de: WO2025251183A1

Provided in the present invention is an operating method of a lead-acid storage battery. The lead-acid storage battery comprises a housing, wherein an electrode plate wrapped in an AGM separator is mounted in the housing, the AGM separator has pores, and a sulfuric acid electrolyte is adsorbed in the pores of the AGM separator. The operating method of the lead-acid storage battery comprises an early stage of charging and discharging, an intermediate stage of charging and discharging and a later stage of charging and discharging, wherein in the early stage of charging and discharging, the sulfuric acid electrolyte is adsorbed in all the pores of the AGM separator; and in the intermediate stage of charging and discharging and the later stage of charging and discharging, the sulfuric acid electrolyte is not adsorbed in some of the pores of the AGM separator. The present invention further sets forth a lead-acid storage battery serving as a secondary battery. The lead-acid storage battery and the operating method thereof of the present invention can prolong the service life of the lead-acid storage battery.

TOP COVER HAVING INTEGRALLY FORMED EXPLOSION-PROOF VALVE, BATTERY CASING, AND PROCESSING METHOD THEREFOR

NºPublicación:  WO2025251340A1 11/12/2025
Solicitante: 
ZHEJIANG ZHONGZE PRECISION TECH CO LTD [CN]
\u6D59\u6C5F\u4E2D\u6CFD\u7CBE\u5BC6\u79D1\u6280\u80A1\u4EFD\u6709\u9650\u516C\u53F8
WO_2025251340_PA

Resumen de: WO2025251340A1

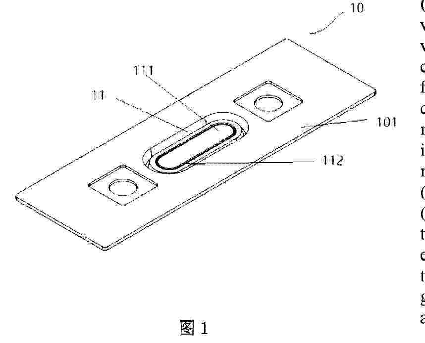
A top cover having an integrally formed explosion-proof valve (11), comprising: a top cover main body (10); an explosion-proof valve (11) integrally formed with the top cover main body (10); the top cover main body (10) comprises an outer surface (101) and an inner surface (102) opposite the outer surface (101); the explosion-proof valve (11) comprises a valve main body (111) and a safety groove (112); the valve main body (111) comprises a recessed portion (103) extending toward the inner surface (102) of the top cover main body (10), a lower edge of the recessed portion (103) contracts inwardly and forms a protruding portion (104) extending toward the outer surface (101) of the top cover main body (10), and the safety groove (112) is provided on a top surface of the protruding portion (104). A battery casing (20) having the integrally formed explosion-proof valve (11), and a processing method for the top cover and the battery casing (20). The method comprises locally heating the safety groove (112) region to improve the microstructure thereof, so as to lower and stabilize the rupture pressure value.

NON-AQUEOUS ELECTROLYTE AND LITHIUM SECONDARY BATTERY COMPRISING SAME

NºPublicación:  WO2025254439A1 11/12/2025
Solicitante: 
LG ENERGY SOLUTION LTD [KR]
\uC8FC\uC2DD\uD68C\uC0AC \uC5D8\uC9C0\uC5D0\uB108\uC9C0\uC194\uB8E8\uC158
WO_2025254439_PA

Resumen de: WO2025254439A1

The present invention provides a non-aqueous electrolyte and a lithium secondary battery comprising same. The non-aqueous electrolyte of the present invention comprises a lithium salt, an organic solvent, and an additive, wherein the additive comprises a cyclic borate-based compound, thereby preventing decomposition of the non-aqueous electrolyte of the lithium secondary battery in a high-output environment that causes negative electrode collapse, or further improving low-temperature high-rate discharge characteristics, high-temperature stability, overcharge prevention, battery expansion suppression effects at high temperatures, and the like.

BATTERY CHARGE/DISCHARGE SYSTEM AND BATTERY ADJUSTMENT CAPABILITY SERVICE SYSTEM

NºPublicación:  WO2025253732A1 11/12/2025
Solicitante: 
HITACHI LTD [JP]
\u682A\u5F0F\u4F1A\u793E\u65E5\u7ACB\u88FD\u4F5C\u6240
WO_2025253732_PA

Resumen de: WO2025253732A1

This battery charge/discharge system includes: a facility control unit for controlling one or more load facilities connected to a power system and one or more storage batteries; and an adjustment capability management unit for storing or externally acquiring the deterioration speed of the storage battery according to the charge state and charge/discharge condition of the storage battery. The facility control unit inputs a first charge state and a first charge/discharge condition of the storage battery to the adjustment capability management unit to acquire a first deterioration speed, acquires, from the adjustment capability management unit, a second charge state and a second charge/discharge condition from which a second deterioration speed equal to or less than the acquired first deterioration speed is obtained, and controls the storage battery on the basis of the second charge state and the second charge/discharge condition.

BINDER-TYPE CONDUCTIVE MATERIAL COMPOSITE, ELECTRODE COMPOSITION COMPRISING SAME, ELECTRODE MANUFACTURED FROM ELECTRODE COMPOSITION, AND SECONDARY BATTERY COMPRISING ELECTRODE

NºPublicación:  WO2025254417A1 11/12/2025
Solicitante: 
CNP SOLUTIONS CO LTD [KR]
\uC8FC\uC2DD\uD68C\uC0AC \uC528\uC5D4\uD53C\uC194\uB8E8\uC158\uC988
WO_2025254417_A1

Resumen de: WO2025254417A1

The present invention relates to a technology related to an electrode composition for a secondary battery. More specifically, the present invention relates to: a binder-type conductive material composite having a novel structure capable of improving the electrochemical and mechanical properties of a secondary battery while reducing the content of an organic compound, that is, a CNT/PAG composite in which carbon nanotubes (CNTs) are surface-treated with an acrylonitrile-glycol-based copolymer-based polymer (PAG) such that the two components are controlled to have a ratio within a predetermined range; an electrode composition comprising same; an electrode manufactured from the electrode composition; and a secondary battery comprising the electrode.

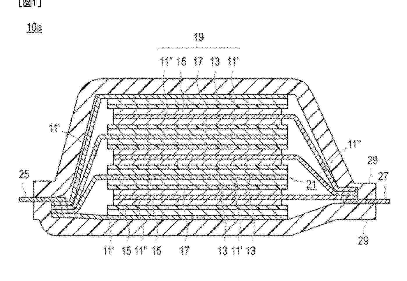
ALL-SOLID-STATE BATTERY

NºPublicación:  WO2025253573A1 11/12/2025
Solicitante: 
NISSAN MOTOR CO LTD [JP]
\u65E5\u7523\u81EA\u52D5\u8ECA\u682A\u5F0F\u4F1A\u793E
WO_2025253573_PA

Resumen de: WO2025253573A1

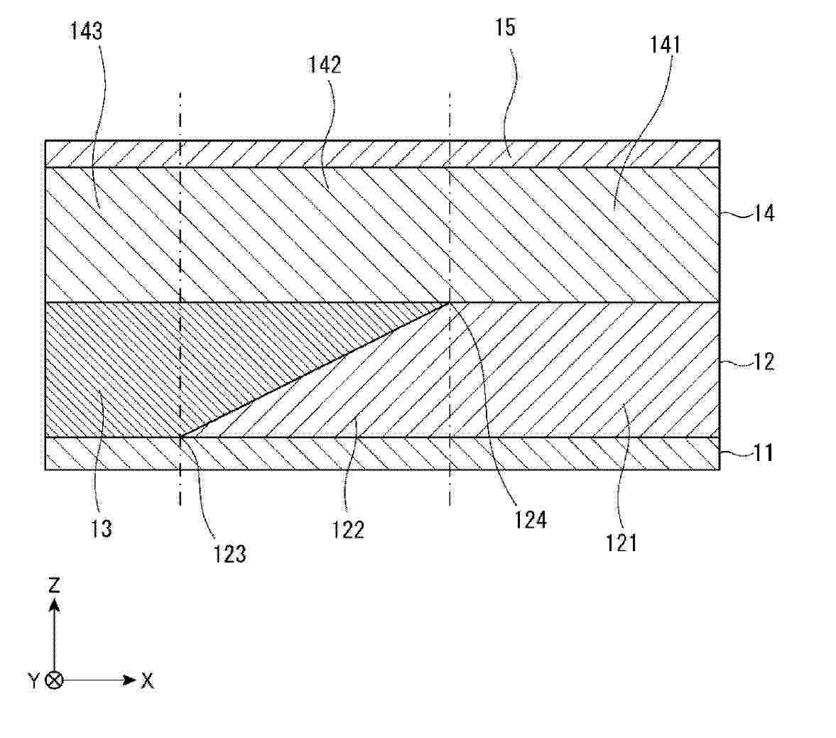
An all-solid-state battery (1) is configured by layering a positive electrode current collector (11), a positive electrode active material layer (12), a solid electrolyte layer (14), and a negative electrode body (15) in this order. The positive electrode active material layer (12) includes a flat portion (121) having a uniform thickness and an inclined portion (122) provided on the outer periphery of the flat portion (121) and inclined toward the flat portion (121) away from the positive electrode current collector (11), and comprises an insulating support frame (13) along the outer periphery of the positive electrode active material layer (12) as seen in the stacking direction of the positive electrode current collector (11), the positive electrode active material layer (12), the solid electrolyte layer (14), and the negative electrode body (15). The solid electrolyte layer (14) includes a first portion (141) overlapping the flat portion (121) in the stacking direction, and a second portion (142) overlapping the inclined portion (122) in the stacking direction. The density of the second portion (142) is greater than the density of the first portion (141).

PACKAGING DEVICE AND PACKAGING METHOD

NºPublicación:  WO2025251429A1 11/12/2025
Solicitante: 
CONTEMPORARY AMPEREX TECH CO LIMITED [CN]
CONTEMPORARY AMPEREX RUNZHI SOFTWARE TECH LIMITED [CN]
\u5B81\u5FB7\u65F6\u4EE3\u65B0\u80FD\u6E90\u79D1\u6280\u80A1\u4EFD\u6709\u9650\u516C\u53F8,
\u5B81\u5FB7\u65F6\u4EE3\u6DA6\u667A\u8F6F\u4EF6\u79D1\u6280\u6709\u9650\u516C\u53F8
WO_2025251429_PA

Resumen de: WO2025251429A1

The present application relates to a packaging device and a packaging method. The packaging device comprises: a conveying mechanism, which is used for driving a first film material to move in a prearranged direction; a first film-laying mechanism, which is arranged on a moving path of the first film material and is used for forming on the first film material a plurality of accommodating positions that are arranged at intervals in the prearranged direction; and a second film-laying mechanism, which is used for laying a second film material onto an electrode assembly at each of the accommodating positions. In the present application, during the movement of the first film material, the first film-laying mechanism successively forms on the first film material in the prearranged direction the plurality of accommodating positions that are arranged at intervals, and then the second film-laying mechanism lays the second film material onto the electrode assembly at each of the accommodating positions, so that the first film material and the second film material jointly coat the electrode assembly. Thus, during the constant-speed movement of the first film material, the first film-laying mechanism can synchronously implement continuous shell punching and form the plurality of accommodating positions, thereby allowing for continuous production in electrode assembly packaging processes and improving production efficiency.

ELECTRODE SHEET AND PREPARATION METHOD THEREFOR, AND LITHIUM-ION BATTERY

NºPublicación:  WO2025251427A1 11/12/2025
Solicitante: 
ZHEJIANG LIWINON ENERGY TECH CO LTD [CN]
\u6D59\u6C5F\u9502\u5A01\u80FD\u6E90\u79D1\u6280\u6709\u9650\u516C\u53F8
WO_2025251427_A1

Resumen de: WO2025251427A1

An electrode sheet and a preparation method therefor, and a lithium-ion battery. The electrode sheet comprises a first electrode sheet, which comprises a first current collector and a first active material coating layer coated on one surface of the first current collector, wherein the first active material coating layer comprises a first active substance, a first binder and a first conductive agent. The mass content of the first conductive agent is D1, the mass content of the first binder is P1, and the total mass of the first active material coating layer is CW1; the electrode efficiency of the first electrode sheet is Q1; and Q1, CW1, D1 and P1 satisfy the relational expression: Q1=CW1*(1-D1-P1), and 1≤P1/D1≤8. By reducing the content of a conductive agent, the source of lithium ions is limited, thereby reducing the precipitation ability of lithium ions. Moreover, the content of a binder is increased so as to improve the bonding capability between an electrode sheet and a separator, which reduces lithium precipitation of the electrode sheet. In addition, the warping phenomenon of a single-sided sheet is reduced by controlling the mass of the active material coating.

ROLLER-PRESSING PRESSURE CONTROL METHOD, APPARATUS AND SYSTEM

NºPublicación:  WO2025251426A1 11/12/2025
Solicitante: 
CONTEMPORARY AMPEREX TECH CO LIMITED [CN]
\u5B81\u5FB7\u65F6\u4EE3\u65B0\u80FD\u6E90\u79D1\u6280\u80A1\u4EFD\u6709\u9650\u516C\u53F8
WO_2025251426_PA

Resumen de: WO2025251426A1

A roller-pressing pressure control method, apparatus and system. The method comprises: when an edge region of a cathode sheet is located at a roller-pressing position point, which is on an anode strip and is for an upper roller, reducing the roller-pressing pressure of the upper roller for the anode strip, such that the roller-pressing pressure of the upper roller for the anode strip is less than an initial pressure value; and when a non-edge region of the cathode sheet is located at the roller-pressing position point, which is on the anode strip and is for the upper roller, maintaining the roller-pressing pressure of the upper roller for the anode strip at the initial pressure value, wherein the non-edge region of the cathode sheet is the region of the cathode sheet other than the edge region.

SEPARATOR FOR ELECTROCHEMICAL DEVICE AND ELECTROCHEMICAL DEVICE COMPRISING SAME

NºPublicación:  WO2025254389A1 11/12/2025
Solicitante: 
LG ENERGY SOLUTION LTD [KR]
\uC8FC\uC2DD\uD68C\uC0AC \uC5D8\uC9C0\uC5D0\uB108\uC9C0\uC194\uB8E8\uC158
WO_2025254389_PA

Resumen de: WO2025254389A1

The present invention relates to a separator for an electrochemical device, and an electrochemical device comprising same. In the separator for an electrochemical device, a polymer binder in an adhesive layer has a core-shell structure. The adhesion of the separator for an electrochemical device is increased by controlling the solubility, in an electrolyte, of a second polymer binder in the shell portion of the core-shell structure. An electrochemical device to which the separator is applied has reduced cell resistance and an improved cell lifespan.

METHOD FOR PRODUCING ALL-SOLID-STATE BATTERY

NºPublicación:  WO2025253590A1 11/12/2025
Solicitante: 
NISSAN MOTOR CO LTD [JP]
\u65E5\u7523\u81EA\u52D5\u8ECA\u682A\u5F0F\u4F1A\u793E
WO_2025253590_PA

Resumen de: WO2025253590A1

The present invention provides a method for producing an all-solid-state battery which makes it possible to form a favorable interface while avoiding a short circuit between a positive electrode and a negative electrode. This method for producing an all-solid-state battery comprises: a step for forming an all-solid-state battery laminate in which a plurality of battery cells are layered in one direction by pressing, at a first press pressure in at least one direction, a stack in which a negative electrode that contains Li metal or a Li alloy, a solid electrolyte layer, and a positive electrode are repeatedly disposed in one direction; a step for performing discharge processing of the battery cells after pressing at the first press pressure; and a step for pressing, at a second press pressure in at least one direction, the all-solid-state battery laminate after the discharge processing. The first press pressure is smaller than the second press pressure.

BATTERY MANAGEMENT APPARATUS AND METHOD

NºPublicación:  WO2025254313A1 11/12/2025
Solicitante: 
LG ENERGY SOLUTION LTD [KR]
\uC8FC\uC2DD\uD68C\uC0AC \uC5D8\uC9C0\uC5D0\uB108\uC9C0\uC194\uB8E8\uC158
WO_2025254313_PA

Resumen de: WO2025254313A1

A battery management apparatus according to an aspect of the present invention comprises: a profile obtaining unit configured to obtain a battery profile showing the correspondence between the voltage and capacity of a battery; a profile adjusting unit configured to generate a positive electrode profile and a negative electrode profile of the battery by adjusting a preset reference positive electrode profile and reference negative electrode profile to correspond to the battery profile; and a control unit configured to extract a parameter related to the battery from at least one of the positive electrode profile or the negative electrode profile, and determine the available lithium increase rate of the battery on the basis of the extracted parameter.

ALL-SOLID-STATE BATTERY

Nº publicación: WO2025254296A1 11/12/2025

Solicitante:

SAMSUNG ELECTRO MECH CO LTD [KR]
SAMSUNG ELECTRO-MECHANICS CO., LTD

WO_2025254296_PA

Resumen de: WO2025254296A1

An embodiment provides an all-solid-state battery, including: a laminate that includes a positive electrode layer, a solid electrolyte layer, and a negative electrode layer stacked in a first direction and is curved in the first direction to have a curved surface, a first external electrode disposed on the outside of the laminate and connected to the positive electrode layer, and a second external electrode disposed on the outside of the laminate and connected to the negative electrode layer, wherein the laminate includes a cover layer disposed on an outermost side in the first direction, and a margin portion disposed on an outermost side in a second direction crossing the first direction.

traducir