Ministerio de Industria, Turismo y Comercio LogoMinisterior
 

Alerta

Resultados 1408 resultados
LastUpdate Última actualización 17/12/2025 [07:14:00]
pdfxls
Publicaciones de los últimos 15 días/Last 15 days publications (excluidas pubs. CN y JP /CN and JP pubs. excluded)
previousPage Resultados 3936 a 1408 de 1408  

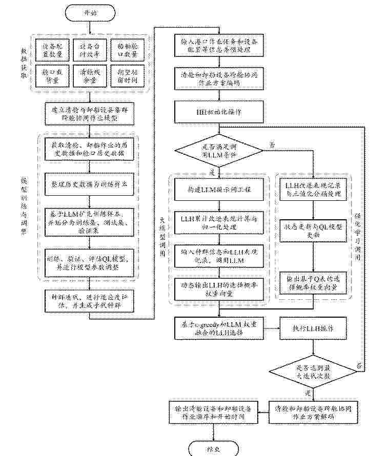
一种基于物联网的应急救援智能调度系统及方法

NºPublicación:  CN121146397A 16/12/2025
Solicitante: 
扬州赛德房车有限公司
CN_121146397_PA

Resumen de: CN121146397A

本发明公开了一种基于物联网的应急救援智能调度系统及方法,涉及救援调度分析技术领域,本发明通过侦察车搭载的三维激光雷达扫描地形点云,无人机获取航拍影像,路况传感器数据及帐篷医院坐标建时空对齐的初始灾情地图;生成带时间戳的多模态融合数据集;基于多模态融合数据集分析特征向量;基于特征向量结合各个设备的置信权重分析风险熵,基于风险熵分析各个网格单元的阻塞概率;拆分物资补给车的运输规划路径和运输实际路径,分析运输规划路径段和运输实际路径段之间的相似程度,根据相似程度进行路段标记;基于各个路段标记对包含的网格单元的属性数据进行更新。提高后续运输路径规划的准确性,提高整体的运输效率。

一种基于业财融合的项目绩效评价方法、系统及存储介质

NºPublicación:  CN121146596A 16/12/2025
Solicitante: 
江苏环迅信息科技有限公司
CN_121146596_PA

Resumen de: CN121146596A

本发明涉及企业管理技术领域,公开了一种基于业财融合的项目绩效评价方法、系统及存储介质,该一种基于业财融合的项目绩效评价方法,包括以下步骤:采集业务数据与财务数据并进行标准化处理,得到标准化数据集;根据标准化数据集分析业务指标与财务指标的动态关联性,构建部门策略博弈模型;基于标准化数据集计算业务指标与财务指标的信息熵,并结合部门策略博弈模型生成博弈修正系数。本发明中,通过实时采集业务与财务数据并标准化处理,利用滑动窗口技术捕捉业务与财务指标的时变关联性,结合博弈论构建部门策略交互模型,通过信息熵量化指标区分度生成基础权重,再引入博弈修正系数动态调整权重。

一种基于供应链协同分析的智能采购管理方法、设备及介质

NºPublicación:  CN121146168A 16/12/2025
Solicitante: 
乘乘智数科技(深圳)有限公司
CN_121146168_PA

Resumen de: CN121146168A

本发明公开了一种基于供应链协同分析的智能采购管理方法、设备及介质,涉及强化学习技术领域,包括,计算动态因果图各节点的SHAP值,同时利用PC算法获取动态因果图的结构特征,根据结构特征对SHAP值进行动态修正,输出高优先级根因列表;将高优先级根因列表输入策略优化模型,策略生成层进行动作策略优化,价值网络层评估状态价值,输出优选策略集;对优选策略集进行动态语义编码,生成多维度干预指令集,对多维度干预指令集进行实时状态校验与有效性验证,生成可验证执行报告。本发明通过强化学习的策略优化模型和构建动态因果图,提升了供应链协同效率与抗风险能力。

亿人网络客户管理系统

NºPublicación:  CN121146778A 16/12/2025
Solicitante: 
宁波市亿人网络科技有限公司
CN_121146778_PA

Resumen de: CN121146778A

本发明涉及企业信息化管理系统技术领域,具体为亿人网络客户管理系统,包括客户管理模块、公海池管理模块、公告管理模块、系统管理模块,用于配置组织的树形与矩阵混合架构、角色工厂式的精细化权限控制、人员生命周期管理及安全审计策略。该种亿人网络客户管理系统,实现了客户资源的自动化、智能化与公平分配,通过引入公海池与智能分配机制,极大地提高了客户资源的利用率和分配效率,减少了人工干预,避免了资源浪费和分配不公,实现了销售过程的量化管理与可视化监督,有效激励了跟进行为,为过程管理和业绩预测提供了坚实的数据基础,提升了企业信息的传达效率与反馈透明度。

一种钢结构厂房建造碳排放的计算方法

NºPublicación:  CN121146264A 16/12/2025
Solicitante: 
安徽建工集团股份有限公司
CN_121146264_PA

Resumen de: CN121146264A

本发明涉及建筑工程领域,尤其涉及一种钢结构厂房建造碳排放的计算方法。覆盖生产、运输、施工、运营全生命周期阶段,通过分阶段量化与多因素修正实现精准计算。具体步骤包括:基于材料用量、运输距离、能耗等参数计算各阶段基础碳排放量,引入工艺效率、装载率、施工管理水平、可再生能源利用比例等实际影响因素构建修正系数模型,通过各阶段排放量占比加权修正系数得到最终修正值,结合总碳排放量计算目标碳排放总量。该方法通过全流程数据整合与动态修正机制,为钢结构厂房低碳建造提供科学的量化分析框架,助力建筑行业碳排放管理与绿色转型决策。

物流运输系统的控制方法、系统、装置、存储介质

NºPublicación:  CN121143220A 16/12/2025
Solicitante: 
长春一汽国际物流有限公司
CN_121143220_PA

Resumen de: CN121143220A

本发明公开了一种物流运输系统的控制方法、系统、装置、存储介质。其中,该方法包括:获取多个物流车的基础信息和实时信息,其中,基础信息用于表示物流车的属性;基于基础信息,进行多线程编程,生成多个线程转运指令,多个线程转运指令用于控制各物流车执行独立任务线程,任务线程至少包括确定输送线路和执行装卸动作;基于各物流车的实时信息和基础信息,在确定物流车的位置坐标位于装载位置的情况下,生成转运策略,转运策略用于控制物流车将装载位置处的目标物料进行装载,并按照任务线程中的输送线路运输目标物料。本发明解决了相关技术的无法智能实现多线程物流运输导致物流运输效率较差的技术问题。

核电厂施工的风险评估方法、装置、设备及程序产品

NºPublicación:  CN121146485A 16/12/2025
Solicitante: 
广东核电合营有限公司苏州热工研究院有限公司
CN_121146485_PA

Resumen de: CN121146485A

本申请涉及核电领域,尤其涉及核电厂施工的风险评估方法、装置、设备及程序产品。该方法包括:获取核电厂的大修项目群的施工计划数据;根据各项目的施工窗口、作业功能位置、作业内容和作业条件,确定时间交叉风险;根据施工窗口、作业区域、作业功能位置,确定空间交叉风险;根据施工窗口、资源需求,确定资源交叉风险;根据各项目的设计接口信息,确定设计接口风险;根据时间交叉风险、空间交叉风险、资源交叉风险和设计接口风险确定施工计划数据的风险清单。通过全局的空间、时间、资源和设计接口信息进行多维度地、系统化地分析,实现了项目群各类风险的有效识别,降低了交叉耦合风险,有效地提升了施工安全质量。

一种基于仿真的MilkRun缺货叫料的物流管理方法及系统

NºPublicación:  CN121146670A 16/12/2025
Solicitante: 
中国电子系统工程第三建设有限公司
CN_121146670_PA

Resumen de: CN121146670A

本发明提供了一种基于仿真的MilkRun缺货叫料的物流管理方法,包括以下步骤:S1、构建MilkRun物流仿真模型,输入库存数据、运输设备参数以及生产设备参数;S2、利用仿真模型模拟物料配送模式,实时监测各设备运行状态变化;所述物料配送模式为“动态响应式MilkRun+缺货叫料”的混合配送机制;本发明提高缺货预测的准确性,降低误判率,减少不必要的叫料成本;实现快速响应缺货情况,缩短补货周期,提高物流效率与设备利用率;优化配送计划,提高物流资源利用效率,降低整体运营成本。

一种应用于智能污泥仓储的气体安全监管系统及方法

NºPublicación:  CN121146492A 16/12/2025
Solicitante: 
华能武汉发电有限责任公司
CN_121146492_PA

Resumen de: CN121146492A

本发明公开了一种应用于智能污泥仓储的气体安全监管系统及方法,涉及气体安全监管技术领域,包括数据采集单元、稳定分析单元、危险分析单元、模型构建单元、安全分析单元以及异常报警单元;本发明通过稳定指数和危险指数模型整合仓储罐使用年限、泄漏次数、气体浓度变化率多维度参数,克服了单一参数监测的局限性,使评估结果更贴合实际工况,此外采用卷积神经网络构建的气体浓度逸散模型能够动态预测气体扩散趋势,最后,通过综合稳定指数、危险指数与逸散系数计算安全等级指数,并根据预设阈值进行分级预警,不仅实现了从高风险到低风险的动态响应机制,还通过异常报警单元的分级触发策略显著提升了应急处置效率。

一种基于物联网的智能污泥仓储安全监管系统及方法

NºPublicación:  CN121146589A 16/12/2025
Solicitante: 
华能武汉发电有限责任公司
CN_121146589_PA

Resumen de: CN121146589A

本发明公开了一种基于物联网的智能污泥仓储安全监管系统及方法,涉及污泥仓储安全监管技术领域,包括数据采集单元、存储分析单元、危害分析单元、综合转运单元、智能处理单元以及异常预警单元,综合转运单元用于接收综合转运数据并进行分析计算,得出综合转运指数;本发明通过设置安全存储指数计算模型,能够精准评估仓储罐内污泥存储的安全性,避免因污泥过量堆积引发罐体破裂风险,同时当存储不安全时自动停止污泥输送并触发警报,提升了存储环节的安全性;通过综合转运指数分析,结合安全存储指数、毒气危害指数及温湿度、泄漏量等参数,实现污泥周转的智能化决策,既避免了过早转运造成的资源浪费,又防止了延误转运导致的安全隐患。

一种医院运输系统的工作方法

NºPublicación:  CN121148627A 16/12/2025
Solicitante: 
四川大学华西医院
CN_121148627_PA

Resumen de: CN121148627A

本发明公开了一种医院运输系统的工作方法,属于医疗信息技术领域。本发明通过his系统开具医嘱,依据医嘱类型在医院运输系统中创建运输工单;接着系统对工单进行分班组分地域自动派单,运输员根据班次接单操作,运输员根据接单信息中的患者位置及工单上的检查项目,将患者运送至检查室;患者到达后,通过预约报到系统完成报到;检查结束时,检查系统会向医院运输系统发送检查完成提示,运输员将患者送往下一检查室,循环执行,直至工单上所有检查项目完成,最后将患者送回病房,同时运输系统与his护士站系统强关联,保证患者全程闭环运送。本发明通过与医院各个系统对接,有效提升了患者的就医体验与医院运输的高效专业。

用于使用机器学习预测产品感官保质期进展的系统和方法

NºPublicación:  CN121152971A 16/12/2025
Solicitante: 
玛氏公司
CN_121152971_PA

Resumen de: WO2024238364A2

Systems and methods for predicting sensory shelf life progression are provided. The method may include receiving data associated with a product. The data may include one or more sensory attributes of the product. The method may further include providing the one or more sensory attributes of the product to a predictive machine-learning model trained to identify associations between the one or more sensory attributes of the product and output a sensory shelf life progression for the product. The method may further include transmitting the sensory shelf life progression to a display of a user device.

一种虹鳟鱼陆海转运方法

NºPublicación:  CN121128641A 16/12/2025
Solicitante: 
中国水产科学研究院黑龙江水产研究所
CN_121128641_PA

Resumen de: CN121128641A

一种虹鳟鱼陆海转运方法,属于水产养殖技术领域。为解决科学合理的虹鳟鱼陆海转运的问题。本发明设计并制造虹鳟鱼陆海运输转运装置装载到运输车上,启动控制系统对虹鳟鱼陆海运输转运装置进行初步调试,确保虹鳟鱼陆海运输转运装置正常运行;构建PID模糊控制方法,实现对虹鳟鱼陆海运输转运装置中的温度、氧气量、PH值进行控制;运输车前往到装鱼的地点,进行装鱼过程;装鱼完成后,开始虹鳟鱼陆地阶段的运输,到达转运港后利用装卸装置将运输车上的装有虹鳟鱼的陆海运输转运装置转运到运输船上,控制系统在海上运输过程中采用PID模糊控制方法对虹鳟鱼陆海运输转运装置中的温度、氧气量、PH值进行控制,直到运输到目的地。

一种基于大数据的物流仓储资源整合系统及方法

NºPublicación:  CN121146679A 16/12/2025
Solicitante: 
南方电网数字电网科技(广东)有限公司
CN_121146679_PA

Resumen de: CN121146679A

本发明公开了一种基于大数据的物流仓储资源整合系统及方法,涉及物流仓储分析技术领域,本发明采集仓库的历史运营数据,分析两个区域之间的事故特征,根据区域之间的事故特征分析风险关联强度,基于风险关联强度构建无向图;分析各个区域的风险暴露度与固有脆弱度;结合各个区域的中心性地位和枢纽属性,各个区域的风险剖面向量;识别各个区域在计划期内将进行的作业活动;模拟风险冲击事件沿边向关联区域传播过程,预测各个区域在整个计划期内接收到的累积波及风险量;自适应修正各个区域风险特征的权重;分析各个区域的综合风险评价值,生成推荐序列,发送至管理员;提高了分析的准确性。

集装箱电池转运控制方法、船舶的控制系统及存储介质

NºPublicación:  CN121146647A 16/12/2025
Solicitante: 
东莞松山湖绿色智能船舶检测有限公司
CN_121146647_PA

Resumen de: CN121146647A

本发明涉及人工智能领域,具体涉及一种集装箱电池转运控制方法、船舶的控制系统及存储介质,集装箱电池转运控制方法包括:接收所述能源管理系统发送的针对目标船舶的第一集装箱换电需求清单;实时获取所述目标船舶的进港状态,当所述进港状态满足预设要求时,接收电池供应信息组合;根据所述电池供应信息组合和所述第一集装箱换电需求清单,得到第二集装箱换电需求清单;将所述第二集装箱换电需求清单下发至对应的目标集装箱管理系统,所述目标集装箱管理系统根据所述第二集装箱换电需求清单输出换电计划。本方法确保了集装箱电池的高效转运和管理,优化了船舶进港时的电池更换流程。

一种面向PC板喷墨加工的供应链协同管理与预警系统

NºPublicación:  CN121146715A 16/12/2025
Solicitante: 
福建福强精密印制线路板有限公司
CN_121146715_PA

Resumen de: CN121146715A

本发明涉及供应链协同管理、风险预警及AI调度技术领域,具体为一种面向PC板喷墨加工的供应链协同管理与预警系统,包括外部供应链状态感知单元,用于汇聚外部状态信息,并生成外部状态向量;内部物流瓶颈监测单元,用于监测入库质检IQC通道,并生成IQC拥堵告警信号和物料内部延迟时间;协同脆弱性量化单元,用于量化协同脆弱性指数;生成协同脆弱性状态信号;双模态自适应决策单元,用于生成调度策略指令;韧性策略执行单元,用于执行物料冗余动作与资源冗余动作;降低所述协同脆弱性指数;本发明解决了物理瓶颈,更主动修复了人机信任,确保系统在危机解除后自动回稳。

一种基于数字孪生的中心场站管理方法、系统、设备及介质

NºPublicación:  CN121146638A 16/12/2025
Solicitante: 
上海申雪供应链管理有限公司
CN_121146638_PA

Resumen de: CN121146638A

一种基于数字孪生的中心场站管理方法、系统、设备及介质,涉及场站管理领域。在该方法中,基于待处理CAD图纸生成目标文件;根据设备映射规则表和设备模板库对目标文件进行解析,根据每个物理设备的坐标、尺寸和拓扑关系生成设备拓扑数据;根据设备拓扑数据中的语义标签匹配用户界面图元,并根据设备拓扑数据渲染设备布局,生成虚拟图元对象集;将实时监控数据流映射至虚拟图元对象集中的虚拟图元以进行动态展示,并生成时空融合动态数据包;根据时空融合动态数据包生成故障预警和资源调度指令。实施本申请提供的技术方案,提高了中心场站的管理效率。

一种物流包裹分拣配送机器人及其主动避障方法

NºPublicación:  CN121132586A 16/12/2025
Solicitante: 
合肥综合性国家科学中心人工智能研究院(安徽省人工智能实验室)
CN_121132586_PA

Resumen de: CN121132586A

本发明公开了一种物流包裹分拣配送机器人及其主动避障方法,涉及机器人相关技术领域,包括轮式底盘行走机构、激光雷达、第一摄像头、机械臂、夹爪、第二摄像头和设置于轮式底盘行走机构上的车厢;激光雷达和第一摄像头设置于轮式底盘行走机构的前方,用于环境感知,激光雷达用于建立导航路径,第一摄像头用于识别导航路径下的障碍物;机械臂的一端设置于车厢上,另一端连接夹爪,用于抓取目标包裹;第二摄像头靠近夹爪并设置于机械臂上,用于检测多个物流包裹下的目标包裹;该机器人不仅能够完成单一特定任务,还能无需改变任何配置下自主完成综合的多种任务。

一种基于平行链的移动式信息资产盘点管理系统

NºPublicación:  CN121146329A 16/12/2025
Solicitante: 
国网内蒙古东部电力有限公司供电服务监管与支持中心国家电网有限公司
CN_121146329_PA

Resumen de: CN121146329A

本发明公开了一种基于平行链的移动式信息资产盘点管理系统,涉及信息资产管理技术领域,包括主链、平行链、跨链交互模块、管理平台、移动终端和资产标签,主链存储资产元数据、核心交易记录、跨链协议及权限令牌。本发明中,系统通过主链记录资产的核心元数据、状态变更和核心交易日志,实现资产从入库、盘点、转移到回收的全流程链上存证,所有数据均以区块形式加密写入,保障数据的完整性与不可篡改性,为资产监管与审计分析提供可信基础,平行链采用授权拜占庭容错共识机制,具备每秒超过1500笔交易的处理能力,配合强化学习动态分配模块,根据资产状态、人员位置、任务负载等七类维度生成最优盘点任务分配方案,显著提升任务执行效率。

一种用于堆场管理的空闲区域垛位识别与分配方法及系统

NºPublicación:  CN121146680A 16/12/2025
Solicitante: 
海博泰科技(青岛)有限公司中国海洋大学三亚海洋研究院
CN_121146680_PA

Resumen de: CN121146680A

本发明公开了一种用于堆场管理的空闲区域垛位识别与分配方法及系统,属于堆场管理技术领域,具体包括:通过获取堆场边界与货物轮廓坐标建立二维几何表达,将堆场划分为单元网格并生成占用状态图,识别连续未占用网格形成空闲区域;根据待分配货物尺寸计算所需网格行列数,在各空闲区域内搜索符合条件的连续矩形区域作为候选垛位;计算各候选垛位的实际地理坐标,并依据货物类型分布计算空间价值评分,选择评分最高的垛位进行分配;最终生成包含位置与货物信息的分配指令,发送至堆场调度系统执行操作;本发明实现了堆场空间资源的智能化分配与管理。

基于深度学习的冷链运输线路优化方法及系统

NºPublicación:  CN121146659A 16/12/2025
Solicitante: 
北京侍丹池信息技术有限公司
CN_121146659_PA

Resumen de: CN121146659A

本申请涉及交通数据分析技术领域,提供一种基于深度学习的冷链运输线路优化方法及系统,该方法包括:首先采集冷链运输场景下包含交通状态信息、货物特性数据和车辆调度信息的目标数据集合;接着基于货物特性数据和车辆调度信息进行关联映射处理,生成包含多个运输节点和线路边的冷链运输线路网;然后利用交通状态信息识别运输节点通行状况,结合节点间影响关系推理分析,得到线路节点拥堵分布特征和冷链运输延时标签;最后响应即时运输需求指令,结合上述特征和预训练图神经网络的消息传递机制对原始交通区域节点网进行处理,更新节点状态信息和连接权重,生成匹配即时运输需求的冷链运输优化线路,该方法可提高冷链运输效率和可靠性。

一种数字化存储装置及其管理系统

NºPublicación:  CN121146678A 16/12/2025
Solicitante: 
安徽宏昌机电装备制造有限公司
CN_121146678_PA

Resumen de: CN121146678A

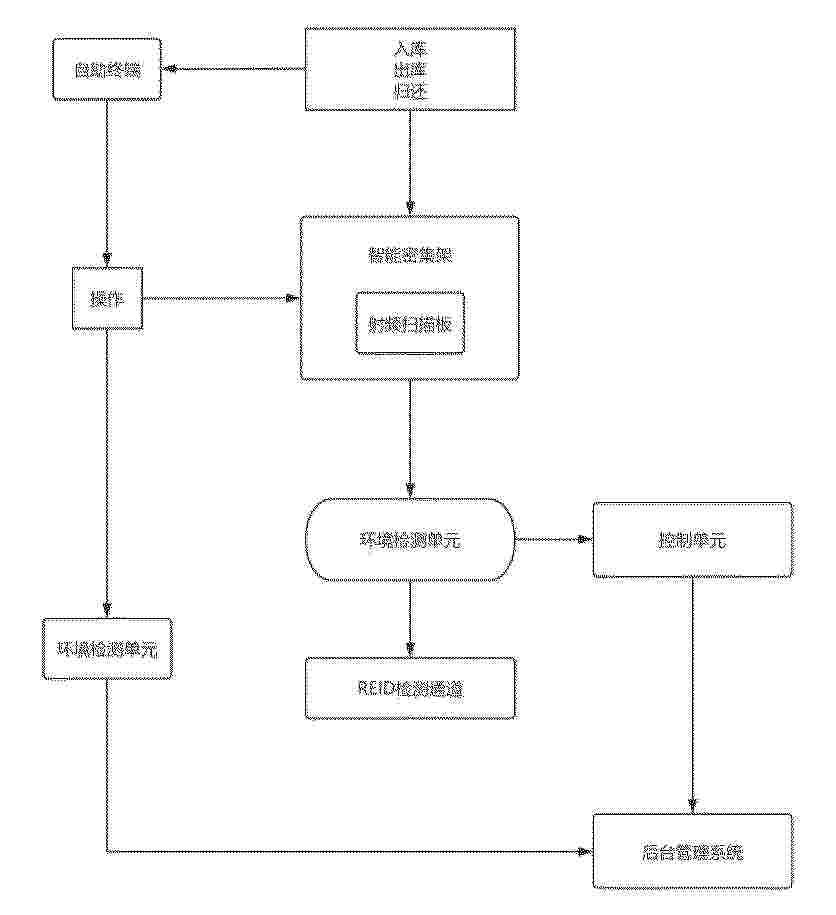
本发明属于仓储管理与信息化技术领域,且公开了一种数字化存储装置及其管理系统,该装置包括智能密集架,密集架的每个货位顶部安装有射频扫描板和指示灯,射频扫描板存储货位位置编码并在入库或出库时对物资标签进行比对;库房入口设置RFID检测通道,包括红外传感器、蜂鸣器和指示灯,用于判定物资进出方向并与任务记录核对;密集架内部设置环境检测单元,由温湿度探头和通风装置构成,控制单元在检测值超阈时依次开启相邻列通道并存储环境数据。控制单元由工控机和服务器组成,负责数据采集、处理和与后台系统同步,管理系统进一步包括自助终端、权限管理单元及生命周期管理模块,实现物资全流程记录与预警。

一种仓储烟草园区智能调度系统

NºPublicación:  CN121146673A 16/12/2025
Solicitante: 
红云红河烟草(集团)有限责任公司
CN_121146673_PA

Resumen de: CN121146673A

本发明公开了一种仓储烟草园区智能调度系统,属于烟草调度领域,为了解决现有智能调度系统对烟草信息采集不全面导致调度过程出现烟草损坏的问题;本发明通过中央控制单元、物料调度单元、设备调度单元以及人员调度单元,能够及时掌握烟草原料的信息,其中包括烟草种类、烟草等级、烟草批次,以及存储的位置和质检状态,同时在烟草入库时,标签上追溯码,通过追溯码能够实时了解各种烟草的信息,同时在存储烟草时,部署温湿度传感器、CO2浓度检测器以及光照强度检测器,实时监测烟草周围环境的温湿度、CO2浓度以及是否受到过强光照,防止环境因素造成烟草质量下降或损坏,同时也为调度决策提供信息支撑。

一种煤矿开采输送路径规划系统

NºPublicación:  CN121146222A 16/12/2025
Solicitante: 
南通大学
CN_121146222_PA

Resumen de: CN121146222A

本发明涉及路径规划技术领域,具体为一种煤矿开采输送路径规划系统,系统包括路径通行决策模块、节点指令执行模块、边界编码校验模块、路径延展控制模块、路径规划评估模块。本发明中,通过动态标注主路径与候补路径实现路径接入顺序的自动确定,利用路径连接后的节点空间编码与边界标段进行区间包含判定明确安全准入范围,结合边界信息控制路径延展过程并设定跳转机制保障路径在许可区域内持续延伸,通过路径段状态标签与优先级标签联合统计构建符合安全与效率约束的路径规划数据,整体实现路径规划从静态人工预设向动态数据驱动转化,提升路径生成的精确性、通行方案的灵活性与路径管理的自动化水平。

问答方法、装置和计算机设备

NºPublicación:  CN121146054A 16/12/2025
Solicitante: 
深圳市运达人物流科技有限公司
CN_121146054_PA

Resumen de: CN121146054A

本申请涉及一种问答方法、装置和计算机设备。所述方法包括:接收来自目标终端的提问请求,提问请求包括提问内容;根据提问内容,确定提问请求的请求类型;基于请求类型、提问内容、目标数据库以及目标终端的历史通话内容,确定针对提问内容的回复内容;目标数据库为物流运输公有数据库和/或者物流运输私有数据库;将回复内容发送至目标终端。采用本方法能够通过提高回复内容的针对性能够提高物流运输业务的问答灵活性。

基于AI大模型的物流车辆智能调度系统、方法及介质

NºPublicación:  CN121146419A 16/12/2025
Solicitante: 
福建至简至一信息科技有限公司
CN_121146419_PA

Resumen de: CN121146419A

本申请涉及物流车辆调度的技术领域,尤其涉及基于AI大模型的物流车辆智能调度系统、方法及介质。本申请通过语音交互模块接收运单创建指令,运单生成模块利用自然语言处理技术智能解析指令内容并调用业务API自动生成运单计划,智能调度模块综合考虑运单计划、预设调度规则和实时车辆状态数据制定最优调度方案,司机通过语音识别模块发出语音指令,经转换为文本数据后由智能交互模块与平台大模型进行深度语义理解交互,生成运单操作指令,最后由运单管理模块完成运单接收、装货确认和卸货确认。将语音交互、自然语言处理和AI大模型结合,实现从运单创建到执行确认的智能化,提高对复杂多变的调度场景的适应性,提升了物流调度效率和司机操作体验。

拌合站全流程自动化生产管理全局优化系统和方法

NºPublicación:  CN121146324A 16/12/2025
Solicitante: 
中铁长安重工有限公司中铁二十局集团有限公司
CN_121146324_PA

Resumen de: CN121146324A

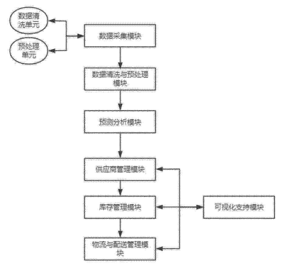
本发明公开了一种拌合站全流程自动化生产管理全局优化系统和方法,系统包括:被配置用于对原料配比进行精度控制并完成设备运行状态监测的数据采集模块;被配置用于采集到的数据进行数据预处理以及数据分析的数据处理模块;业务逻辑模块以及应用管理模块;所述数据采集模块通过布置传感器模块针对原料配比进行精度控制,并通过传感器模块协同建立动态参数修正模型及自适应调节机制;所述数据处理模块包括被配置用于对采集到的数据进行去噪、纠错和格式统一处理的数据清洗模块,所述数据清洗模块通过动态阈值管理机制建立数据异常报警模块。建立了统一且高效的全流程自动化生产管理系统。

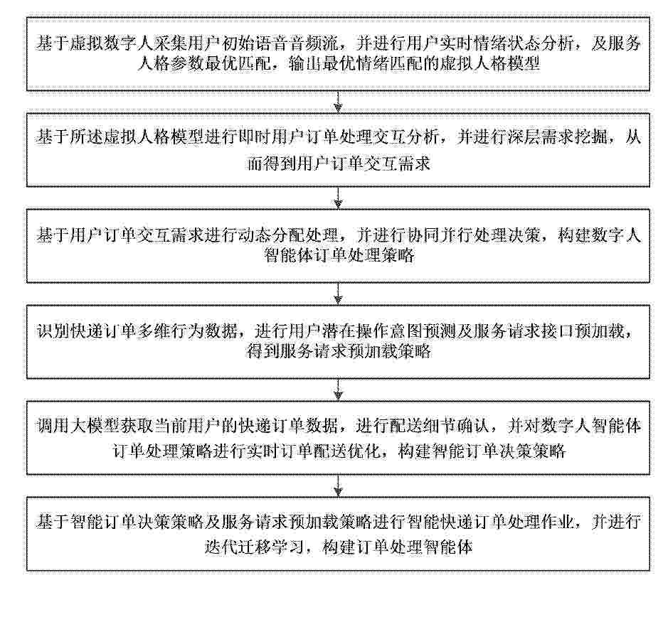
一种基于语音反馈的多条件快递查找系统

NºPublicación:  CN121146676A 16/12/2025
Solicitante: 
樊益平
CN_121146676_PA

Resumen de: CN121146676A

本发明公开一种基于语音反馈的多条件快递查找系统,属于人机交互技术领域,采用语音反馈优先级调度技术和多条件查询,解决了在仓储中查找快递件耗费人工、效率低下、人力易于疲劳、漏找的问题。本系统的功能算法运行在外部计算机或者设备的嵌入式处理器,包括扫码枪,蓝牙USB HID接收器,音频输出单元。使用时,在外部计算机运行本发明的软件(或者内置功能代码和输入功能的扫码枪),先输入单条或者多条需要搜索的后四位或者完整快递物流单号,操作员拿扫码枪,扫快递件,快递的物流条形码被传输到外部计算机软件,当物流单号匹配到任一预置的条件,就会完整播报匹配音效,完成查找工作。

订单处理方法、系统和电子设备

NºPublicación:  CN121146650A 16/12/2025
Solicitante: 
上海京东到家元信信息技术有限公司
CN_121146650_PA

Resumen de: CN120563015A

The invention provides an order processing method and system and electronic equipment, which can be applied to the technical field of logistics. The order processing method may comprise: receiving a first image for order information sent by a server after position verification, the order information comprising a first order position expected to be delivered configured by a user side, the first image comprising a delivery position, the delivery position being used for indicating the actual geographic position of an article indicated by the order information, and the delivery position being used for indicating the actual geographic position of the article; the position verification result indicates that the delivery position is matched with the first order position; the first image is displayed on an order detail page used for displaying the order information, and the delivery position is displayed in the first image.

一种货源信息展示方法及系统

NºPublicación:  CN121144633A 16/12/2025
Solicitante: 
江苏运满满信息科技有限公司
CN_121144633_PA

Resumen de: CN121144633A

本发明公开了一种货源信息展示方法及系统,其中方法包括:响应于接收请求后,执行流量路由决策,进行灰度/版本处理,通过获取外部数据,对货源卡片组件进行渲染;根据渲染的货源卡片组件,通过组装引导组件,将卡片组件和引导组件封装为结构化报文,进行信息展示。发明消除了多业务货源信息展示的碎片化,进而避免因业务迭代导致的频繁发版,并且,本发明还优化了人机交互决策效率,进而提升了司机找货体验。

低空物流配送的路径规划调度方法及装置

NºPublicación:  CN121146226A 16/12/2025
Solicitante: 
爱泊车科技有限公司
CN_121146226_PA

Resumen de: CN121146226A

本发明公开了低空物流配送的路径规划调度方法及装置,涉及智能物流与供应链管理技术领域,方法包括:搭建包含数据采集层、路径规划层、动态调度层和执行监控层的架构;数据采集层实时获取气象、地理、设备状态及配送任务数据;路径规划层据此三维建模并规划,得到目标物流配送路径;再实时监测物流变化和突发事件数据,动态调度层基于此对目标路径动态调度,确定动态物流配送路径;最后由执行监控层基于动态路径执行配送和调度。本发明解决了传统路径规划方法数据融合不全面、动态响应滞后,进而导致路径规划无法精准适应复杂低空环境的技术问题,达到了路径精准规划与实时调整,进而提升低空物流配送的效率、安全性与可靠性的技术效果。

一种分布鲁棒优化驱动的中央厨房动态配送需求自适应方法

NºPublicación:  CN121146637A 16/12/2025
Solicitante: 
扬州大学
CN_121146637_PA

Resumen de: CN121146637A

本发明公开了健康管理信息技术领域的一种分布鲁棒优化驱动的中央厨房动态配送需求自适应方法,步骤包括收集中央厨房相关数据、构建针对中央厨房动态配送需求的分布鲁棒优化模型、求解分布鲁棒优化模型:通过调用求解器对构建的模型进行求解,并获得中央厨房的配送方案。本发明通过构建分布鲁棒动态配送模型,能够有效应对下游门店需求的动态变化,提高中央厨房配送对需求变化的适应性,降低中央厨房配送成本。

物流仓储智能控制系统

NºPublicación:  CN121146425A 16/12/2025
Solicitante: 
聊城智创物流科技有限公司
CN_121146425_PA

Resumen de: CN121146425A

本发明涉及物流管理技术领域,更进一步地,涉及物流仓储智能控制系统。数据采集与系统建模单元,用于获取位置识别读数、通道占用读数与作业请求单,建立包含节点状态与边状态的作业网格图,并形成与起点和终点对应的作业清单;资源编排单元,用于在建立的作业网格图与形成的作业清单上执行位势标图引导的大邻域重构搜索编排算法,合成跨设备分解指令集并生成连续动作串;动态校准执行单元,用于下发生成的连续动作串并采集执行回执流。本发明提升了物流仓储系统的吞吐能力和调度效率,还增强了在动态场景下的稳定性与自适应性,提供了一种高效、可靠且可扩展的智能控制方案。

一种基于多维数据融合的仓储管理方法及系统

NºPublicación:  CN121146672A 16/12/2025
Solicitante: 
四川城市技师学院
CN_121146672_PA

Resumen de: CN121146672A

本发明公开了一种基于多维数据融合的仓储管理方法及系统,涉及仓储管理技术领域,包括数据采集模块、动态数据融合模块、分布式任务调度模块、自适应权重分配模块、参数优化模块和实时决策模块。通过整合多源数据(如图像、传感器、RFID等),采用分层数据融合策略和分布式计算架构,结合熵值法动态调整权重,并利用改进粒子群算法优化系统参数,实现高效数据处理与精准实时决策。本申请能够显著提升仓储管理系统的智能化水平和运行效率,满足现代仓储对高效、精准管理的需求。

一种基于机器学习的分拣中心数据管理方法及系统

NºPublicación:  CN121146641A 16/12/2025
Solicitante: 
深圳市爱博绿环保科技有限公司
CN_121146641_PA

Resumen de: CN121146641A

本发明公开一种基于机器学习的分拣中心数据管理方法及系统,方法包括获取人员操作频率、人员轨迹、交互时间分布、停留区域、操作类型、时间窗口特征、异常动作标识、人员身份标签、货物动态位置、货物标签、订单数据和环境交互数据,构成环境感知数据,进行人员行为特征分析,构建人员行为特征;结合人员轨迹和交互时间分布进行异常行为识别;根据货物标签、订单数据及异常行为结果,计算货物紧急程度评分并分析货物异常。基于紧急程度简化验证流程。结合验证方案与异常结果调整访问权限。依据安全策略、异常结果和人员轨迹优化任务分配与分拣路径,实现分拣中心基于货物位置和人员标签的数据管理优化配置。本方法提升分拣中心的安全与效率。

核电厂大修多项目盘柜运输方法、装置、介质及电子设备

NºPublicación:  CN121146657A 16/12/2025
Solicitante: 
广东核电合营有限公司苏州热工研究院有限公司
CN_121146657_PA

Resumen de: CN121146657A

本申请属于核电技术领域,尤其涉及一种核电厂大修多项目盘柜运输方法、装置、计算机可读存储介质及电子设备。所述方法包括:确定待运输的盘柜的运输节点集合;其中,所述运输节点集合包括起始运输节点、终止运输节点、以及核电厂内部的各个关键运输节点;确定所述运输节点集合中的各个运输节点之间的运输成本;根据所述运输节点集合和所述运输节点集合中的各个运输节点之间的运输成本,对所述盘柜的运输路径进行规划,得到所述盘柜的目标运输路径;基于所述目标运输路径对所述盘柜进行运输操作。通过本申请,可以对盘柜的运输路径进行自适应规划,有效提高了效率,而且准确性更高,可以更好地满足实际的运输要求。

基于物联网的盘存方法、装置、系统、存储介质、程序产品及计算机设备

NºPublicación:  CN121146665A 16/12/2025
Solicitante: 
中国移动通信有限公司研究院中国移动通信集团有限公司
CN_121146665_PA

Resumen de: CN121146665A

本申请公开一种基于物联网的盘存方法、装置、系统、存储介质、程序产品及计算机设备,该方法包括:基于盘存业务需求信息及物联网的信息,生成盘存业务需求图,其中,所述物联网包括所述基站、可移动终端及标签;基于所述盘存业务需求图及所述物联网的信息进行调度优化,生成移动调度盘存方案;最后,让所述可移动终端按照移动调度盘存方案进行移动并对所述标签中的目标标签进行读取,从而能够实现大规模标签自动读取,提高标签读取的效率,以提高盘存效率。

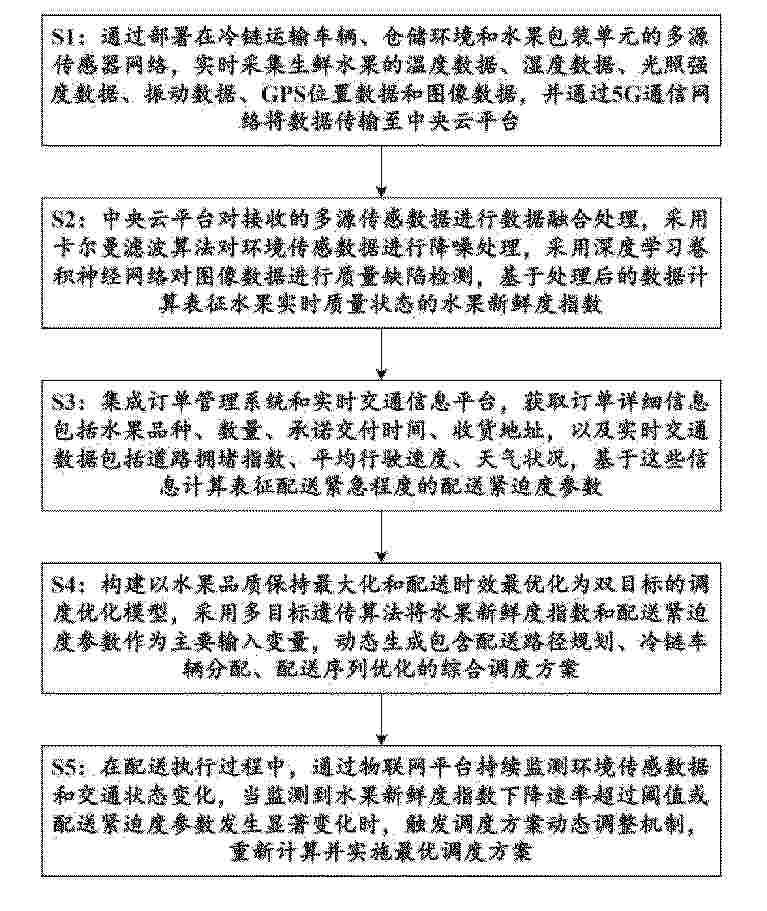
一种基于物联网多源传感的生鲜水果实时配送调度方法

NºPublicación:  CN121146651A 16/12/2025
Solicitante: 
绍兴吼山农业科技有限公司
CN_121146651_PA

Resumen de: CN121146651A

本发明提供一种基于物联网多源传感的生鲜水果实时配送调度方法,涉及智能物流与生鲜供应链技术领域,方法包括:通过多源传感器网络实时采集水果的温度、湿度、光照、振动、位置和图像数据;采用数据融合技术计算表征水果质量状态的新鲜度指数;集成订单与交通信息计算配送紧迫度参数;构建以品质保持和时效优化为双目标的调度模型,采用多目标遗传算法生成最优配送方案;在配送过程中实时监测环境与交通变化,动态调整调度策略。本发明实现了生鲜水果配送过程的精准感知、智能决策和动态优化,显著提升了水果品质保障能力和配送效率。

一种用于货机集装箱自动装卸的方法和装置

NºPublicación:  CN121146642A 16/12/2025
Solicitante: 
中国商用飞机有限责任公司中国商用飞机有限责任公司上海飞机设计研究院
CN_121146642_PA

Resumen de: CN121146642A

本发明提供了一种用于货机集装箱自动装卸的系统,该系统可以包括:信息采集模块,该信息采集模块被配置成:采集待运输的集装箱信息;数据分析模块,该数据分析模块被配置成:获取所述待运输的集装箱信息,并且分析该待运输的集装箱信息以得到分析结果;传输模块,该传输模块被配置成基于该分析结果来使得该待运输的集装箱按预定路径进行传输;以及限动模块,该限动模块被配置成限制该待运输的集装箱在该预定路径中移动并且在该待运输的集装箱到达预定位置之后锁紧该集装箱。本发明还提供了一种用于货机集装箱自动装卸的方法。通过本发明,可节省人力资源,并避免集装箱装错的问题。

基于自适应调整的无人机物流配送系统和方法

NºPublicación:  CN121146229A 16/12/2025
Solicitante: 
济南职业学院
CN_121146229_A

Resumen de: CN121146229A

本发明涉及无人机物流配送领域,具体为一种基于自适应调整的无人机物流配送系统和方法,获取环境能耗、不同货物的配送优先级得分;每到达一个节点,基于环境能耗、当前配送节点与若干个待配送相邻节点之间的配送距离、在当前节点的剩余货物重量,得到若干个配送能耗;然后基于配送能耗值、配送优先级,获得若干个推荐得分,将推荐得分最高的待配送相邻节点作为推荐节点,考虑多维度数据,优化配送节点路径,以节省无人机能耗并延长作业时间。

一种物流运输经营数据和生产数据融合的分析方法及装置

NºPublicación:  CN121147680A 16/12/2025
Solicitante: 
重卡汇(重庆)企业管理有限公司
CN_121147680_PA

Resumen de: CN121147680A

本发明实施例公开了一种物流运输经营数据和生产数据融合的分析方法及装置;方法包括:获取路单的电子围栏与车辆实时位置,生成本次运输的路单信息及相应的作业时间信息;本次运输完成后,司机上传运输凭证图像,对其识别提取,得到关键信息;信息校验,若通过,则生成单趟数据;基于单趟数据,并结合历史数据进行多维度汇总分析,输出多维度结果;本发明优点有:1、快速呈现不同车辆在不同场景下的经营结果,对于物流经营者对后续的车辆采购选择或路线优化有直接决策的效果。2、快速呈现不同路线的沉默成本以及形成改善方向。3、快速呈现不同司机的经营结果。4、形成数据闭环杜绝虚假业务。5、自动化程度高,人工干预少。

基于AI算法及大数据分析的综合物流管理方法及系统

NºPublicación:  CN121119867A 12/12/2025
Solicitante: 
广州一链通互联网科技有限公司
CN_121119867_PA

Resumen de: CN121119867A

本发明公开了基于AI算法及大数据分析的综合物流管理方法及系统,涉及智能物流管理技术领域,该系统通过在电商物流园区关键节点部署感知终端,采集资源、设备与路径数据并汇总为多维数据集;构建并训练多层神经网络模型,提取任务调度与设备状态特征,实现调度分析与策略预测;计算资源调度适配度系数并与阈值对比判断调度状态;监测AGV运行稳定性并计算状态波动系数;识别作业异常行为并计算异常行为系数;最终将多项评估结果反馈至AI模型,动态优化模型参数,提升系统的调度智能性与稳定性。

基于预测及重组的动态多目标车辆路由规划方法及系统

NºPublicación:  CN121119323A 12/12/2025
Solicitante: 
江南大学
CN_121119323_PA

Resumen de: CN121119323A

本发明车辆路径规划领域,尤其是指一种基于预测及重组的动态多目标车辆路由规划方法及系统,包括:构建动态多目标车辆路由规划的数学模型后,以实数编码初始化种群并调整至满足约束,再通过遗传算法迭代得到候选解集,获取其帕累托前沿集合并聚类,记录聚类中心为特殊个体;检测到环境变化时,用灰色模型或最小二乘支持向量机预测新环境中的个体,构建新种群,直到输出最优解集。本发明算法的收敛速度快,对环境变化的响应更为敏感及时,有效解决了动态多目标车辆路由问题,有效促进了车辆路由在实际生活中的应用效果和经济效益。

基于工业物联网的AGV运行管理方法、系统、终端和介质

NºPublicación:  CN121119899A 12/12/2025
Solicitante: 
成都秦川物联网科技股份有限公司
CN_121119899_PA

Resumen de: CN121119899A

本申请公开了一种基于工业物联网的AGV运行管理方法、系统、终端和介质,所述方法包括:基于AGV的当前运行数据以及AGV的当前能耗数据,对AGV的运行状态进行评估,得到AGV对应的运行状态评估结果;基于所述运行状态评估结果、库房内的货架位置信息、库房内的通道信息以及库房内的障碍物信息,得到AGV的路径规划方案;基于库房内的货物对应的出入库信息、所述运行状态评估结果以及AGV的当前位置信息,得到AGV的任务调度方案;基于所述运行状态评估结果,对所述路径规划方案进行更新,得到更新后的路径规划方案;基于所述更新后的路径规划方案以及所述任务调度方案,得到目标AGV管理方案。本申请旨在提升库房内AGV的整体运行效率。

基于三维软件装配模型自动生成产品明细表的方法及系统

NºPublicación:  CN121119927A 12/12/2025
Solicitante: 
中国空气动力研究与发展中心设备设计与测试技术研究所
CN_121119927_PA

Resumen de: CN121119927A

本发明属于计算机辅助设计技术领域,公开了基于三维软件装配模型自动生成产品明细表的方法及系统。本发明创造性地提出了基于组件内在属性的预设筛选条件,能够自动、准确地将需要进行物料统计的“实质性组件”与“非实质性组件”进行区分和过滤。这从数据生成的最源头杜绝了将无效组件误纳入明细表的可能性,实现了BOM数据的极高准确率,避免了因数据错误导致的后续流程混乱与风险。

基于任务管理的检修工装快速存取管理方法及系统

NºPublicación:  CN121119920A 12/12/2025
Solicitante: 
广州广海轨道交通减振设备有限责任公司
CN_121119920_PA

Resumen de: CN121119920A

本发明涉及仓储布局优化技术领域,尤其涉及基于任务管理的检修工装快速存取管理方法及系统,包括:获取工装的领用信息并随机组合生成多种工装组合方式,计算任务关联关系;基于领用频率变化分析需求降低指数,结合领用频率、需求降低指数和任务关联关系确定工装靠近出入口的偏重程度;计算当前工装组合方式在所有安排方式下的损耗节省程度,判断当前安排是否合理;若不合理,基于工装挪动的个数、移动距离总和及损耗节省程度计算所有安排方式的适宜程度,并进行可视化展示,完成检修工装快速存取的管理。本发明通过需求降低指数和任务关联关系,动态优化工装存放位置,降低运输损耗,提升存取与管理效率,满足高效仓储需求。

订单履约时长的预测方法与预测装置

NºPublicación:  CN121119303A 12/12/2025
Solicitante: 
浙江鸟潮供应链管理有限公司拉扎斯网络科技(上海)有限公司
CN_121119303_PA

Resumen de: CN121119303A

本申请提供了一种订单履约时长的预测方法与预测装置,该方法涉及电子技术领域,该预测方法应用于多任务预测模型,多任务预测模型包括至少一层特征学习层,特征学习层包括任务学习层,任务学习层包括第一特征提取模块与任务间注意力机制模块,预测方法包括:响应于用户的商家浏览操作,获取原始数据;基于原始数据与第一特征提取模块,得到第一任务的第一特征以及第二任务的第二特征;基于原始数据与任务间注意力机制模块,得到任务关联特征;基于第一特征、第二特征与任务关联特征,得到目标融合特征;基于目标融合特征,得到第一预计送达时长与第二预计送达时长。基于本方案,能够减少两个预计送达时长的时间差,从而提高用户体验。

基于数字孪生的商品领用方法及系统

NºPublicación:  CN121119562A 12/12/2025
Solicitante: 
浪潮智慧供应链科技(山东)有限公司
CN_121119562_PA

Resumen de: CN121119562A

本发明公开了基于数字孪生的商品领用方法及系统,属于工业互联网与供应链管理技术领域,本发明要解决的技术问题为传统商品领用中信息不透明、流程繁琐、效率低下、库存管理困难及缺乏有效监控,技术方案为:数据采集与孪生建模:通过构建物理仓库与虚拟孪生体的实时映射,实现商品领用的数字化及智能化管理,并利用物联网设备采集物理仓库的物资信息、库存数据及位置信息的多源数据,经清洗处理后,采用三维建模技术构建虚拟孪生体,并通过动态更新机制确保虚拟孪生体与物理仓库的一致性;实时数据处理与同步;智能领用;库存监控与预测;用户管理与权限控制。

基于多模态的港口流动机械智能决策方法、装置及设备

NºPublicación:  CN121119881A 12/12/2025
Solicitante: 
中交机电工程局有限公司
CN_121119881_PA

Resumen de: CN121119881A

本申请提供一种基于多模态的港口流动机械智能决策方法、装置及设备,涉及人工智能技术领域。包括:通过多模态因果嵌入层,捕捉“风速突变→吊具摆幅增大→AGV路径偏移”的因果链,将异构数据映射为统一的潜在空间表征,消除数据模态差异,通过动态调整因果边权重,模型可自适应增强对关键风险的响应能力,进而通过预设条件来触发AGV限速或吊具制动指令。可见,本申请实施例能够解决多模态数据融合与动态因果建模问题,提升决策速度与准确性,大大降低碰撞风险。

一种快递任务的动态分配系统

NºPublicación:  CN121119537A 12/12/2025
Solicitante: 
上海宝九诚信息科技有限公司
CN_121119537_PA

Resumen de: CN121119537A

本发明提供了一种快递任务的动态分配系统,包括:匹配模块,用于识别运单的地址信息,将各运单自动匹配至所属的基本单元区域;为每个基本单元区域绑定至少一名主快递员;承载量模块,用于为每个基本单元区域配置派送难度系数;为每名快递员设置承载量上限;在进行运单分配时,以承载量为实际计算基数;指派模块,对进入自动指派队列的运单指派快递人员,指派方法为:首先确定待指派运单所属的基本单元区域,将待指派运单分配给该基本单元区域绑定的主快递员;每次尝试指派前,结合快递员当前已分配的承载量与快递员的承载量上限,判断快递员是否可以被指派,若可以,则继续指派;否则,终止该快递员的进一步分配。

基于规则冲突协调的证据链推理方法、系统及存储介质

NºPublicación:  CN121119880A 12/12/2025
Solicitante: 
苏州神码物信智能科技有限公司
CN_121119880_PA

Resumen de: CN121119880A

本发明涉及一种基于规则冲突协调的证据链推理方法、系统及存储介质,涉及贸易管理技术领域,证据链推理方法,包括:解析及识别用户输入的规则查询文本,结合规则知识库获取相关贸易规则条款;根据规则限制条件逐一验证相关贸易规则条款,得到条件验证标签;根据语义框架筛选并提取全部相关贸易规则条款中的适用规则条款的初始执行动作;通过逻辑结构和冲突解决策略,利用冲突检测算法识别并解决初始执行动作间的冲突,生成首筛执行动作;根据例外条件过滤首筛执行动作,对规则查询文本进行模拟应用,生成模拟结果;根据阐述模板将模拟结果转化,得到规则模拟应用文本,得到证据链;提高了规则歧义消解的精准度,提升了冲突解决策略的适配性。

基于PLM的电子图文档异地多仓协同存储方法

NºPublicación:  CN121119906A 12/12/2025
Solicitante: 
广东三品软件科技有限公司
CN_121119906_PA

Resumen de: CN121119906A

本发明属于产品生产周期管理技术领域,尤其涉及基于PLM的电子图文档异地多仓协同存储方法。包括:构建1+N混合存储架构,其中1个中心仓部署于企业总部数据中心并存储全量文档元数据及最新版本文件,N个区域仓按地理区域部署并存储本地高频访问文档的缓存副本及增量更新数据;通过智能同步引擎实现异地多仓文档增量同步,所述智能同步引擎采用内容感知增量同步算法及基于网络质量的动态同步策略;通过版本协同控制模块实现版本管理,所述版本协同控制模块用于建立全局版本号映射机制及冲突解决决策树;通过跨仓工作流引擎实现跨仓流程自动化,所述跨仓工作流引擎集成BPM流程引擎及消息队列;本发明能够适配异地网络环境、提升大文件同步效率。

一种基于AI的公共衣物管理系统

NºPublicación:  CN121119469A 12/12/2025
Solicitante: 
南京多乐多数字生活科技有限公司
CN_121119469_PA

Resumen de: CN121119469A

本发明公开了一种基于AI的公共衣物管理系统,涉及人工智能与物联网融合应用技术领域,包括以下步骤:S1、使用酒店布草的材质参数、磨损指标和洗涤次数进行统一量化标准;S2、使用结构化属性数据集进行状态触发规则设计;S3、使用变更条件进行库存补给与维修任务调度规划;S4、使用动态布草调节指令进行库存补给与维修执行监控;S5、使用结构化属性数据集和调节执行反馈数据进行异常使用判别;S6、使用异常布草识别结果进行生命周期调整控制。通过设置使用结构化属性数据构建状态触发规则并生成寿命关键节点变更条件的步骤,系统能够基于布草的多维属性数据建立组合逻辑规则,动态判断布草在生命周期中是否达到状态变更阈值。

一种基于物联网的实验室设备预约与样品追踪系统

NºPublicación:  CN121119350A 12/12/2025
Solicitante: 
中电装备青岛豪迈钢结构有限公司
CN_121119350_PA

Resumen de: CN121119350A

本发明涉及物联网技术领域,具体涉及一种基于物联网的实验室设备预约与样品追踪系统,包括用户身份认证模块、设备预约调度模块、样品标识生成模块、样品动态追踪模块、使用状态核验模块与异常预警模块。系统首先通过多因子身份认证确保用户的合法性,随后基于认证用户标识进行设备预约并生成对应的样品唯一标识信息,通过物联网追踪装置对样品的全流程位置与时间进行采集并形成追踪数据,再由核验模块比对预约路径与实际路径的一致性,识别潜在使用偏差。当存在异常情况时,预警模块即时触发提示并反馈调整预约策略,形成闭环管理机制。本发明实现了实验室设备资源的智能调度与样品使用行为的可视化管控,提升了科研流程的规范性。

一种具有一单一档功能的货运物流平台及其方法

NºPublicación:  CN121119864A 12/12/2025
Solicitante: 
赛马物联科技(宁夏)有限公司
CN_121119864_PA

Resumen de: CN121119864A

本发明实施例公开了一种具有一单一档功能的货运物流平台,包括生成模块、下载模块、文件服务器、查询模块和展示模块:生成模块,用于获取物流节点信息,根据其和运输档案生成逻辑、竞价档案生成逻辑,生成运输档案和竞价档案;其中,一份运输档案或竞价档案对应一份运输订单;下载模块,用于根据下载指令从平台获取所述运输档案或竞价档案。本发明优点如下:1.全流程信息留痕,避免遗漏;2.快速追溯问题根源;3.跨部门/角色高效协同;4.数据支撑科学决策。

一种智能高效的运输物流信息管理方法

NºPublicación:  CN121119335A 12/12/2025
Solicitante: 
赛博传思(江苏)供应链管理有限公司
CN_121119335_PA

Resumen de: CN121119335A

本发明公开了一种智能高效的运输物流信息管理方法,涉及应急救援物资调配技术领域,包括以下步骤:获取地震发生灾区内的被困人员位置信息、健康信息、通信节点信息以及各区域的灾害信息、位置信息;根据所述被困人员位置信息得到地震发生灾区内被困人员的分布图,进而结合各区域的位置信息得到各区域的被困人员密度信息。本方案通过融合动态密度参数与多维健康指标,能够准确识别出同时存在高密度分布和重症集中的双重风险区域,有效解决了现有技术中健康风险评估维度单一的问题,实现了对受灾人员健康状况的空间化动态监测。

一种基于货物入厂物流的车辆装载方法

NºPublicación:  CN121118144A 12/12/2025
Solicitante: 
重庆赛美数智科技有限公司
CN_121118144_PA

Resumen de: CN121118144A

本发明提供了一种基于货物入厂物流的车辆装载方法,本发明通过将集装箱装载货物的问题进行拆解,基于条件约束、目标函数构建装载模型,基于货物数据和集装箱数据构建货物装载方法,同时设定选货策略,并且构建快速求解策略,最终求解出车辆装载的最邮件,本发明利用智能算法和数据分析技术,优化车辆配载,实现从人工操作向自动化处理转变,显著提升效率和准确性。采用本发明的车辆装载方法将直接改善业务运作流畅性,并增强整体供应链响应能力和经济效益。

用于危化品全生命周期管理的智能溯源方法

NºPublicación:  CN121120095A 12/12/2025
Solicitante: 
南通易瑞环保科技有限公司
CN_121120095_PA

Resumen de: CN121120095A

本发明用于危险化学品安全管理技术领域,公开了用于危化品全生命周期管理的智能溯源方法,包括S1、生产环节数据采集与标识绑定;S2、仓储环节环境与库存监测;S3、运输环节状态与轨迹追踪;S4、使用环节取用记录;S5、废弃处置环节数据记录与存证;S6、全流程数据存证、分析与应用。该用于危化品全生命周期管理的智能溯源方法,通过集成条码/RFID生成模块、危化品基础信息录入模块及生产设备状态传感器的终端设备,自动录入危化品基础信息及生产设备运行数据,避免人工记录的低效率与高误差问题,同时实时生成唯一RFID编码并绑定,在仓储、运输、使用、废弃处置等环节,也均通过相应传感器与智能设备自动采集数据。

一种基于四维层面模型的智慧水运标准体系构建方法

NºPublicación:  CN121119448A 12/12/2025
Solicitante: 
中交第四航务工程勘察设计院有限公司中交智慧城市生态发展(广州)有限公司
CN_121119448_PA

Resumen de: CN121119448A

本发明涉及智慧水运信息技术领域,特别是一种基于四维层面模型的智慧水运标准体系构建方法。首先根据案例的理念特征与执行特征学习不同发展价值取向的决策权重,据此在价值维度层面确定实际水运业务的目标发展价值。采用语义分层方式构建空间语义树,并以目标发展价值驱动树的遍历,实现对空间维度下关键要素‑场景需求的匹配。将业务全周期流程分块化处理,对各阶段规范事件进行时间维度的序列模式分析,获得相应的时序建设需求。从逻辑维度层面对不同要素间的运营路径进行分析决策,形成目标实现路径与支撑策略。本发明能够构建出全要素、全周期与全场景的智慧水运标准化体系,有效为水运工程建设提供可靠的多维度标准指引。

一种基于大数据的物流查询平台

NºPublicación:  CN121117043A 12/12/2025
Solicitante: 
深圳市天图通逊供应链有限公司深圳市安速国际货运代理有限公司
CN_121117043_PA

Resumen de: CN121117043A

本发明公开了一种基于大数据的物流查询平台,涉及物流查询技术领域。本发明从物流网络中的各类数据源实时采集信息,通过API接口、数据库连接和物联网设备进行数据抓取,并执行初步清洗、格式转换和去重处理,以构建结构化数据集支持后续的大数据分析、预测建模和平台查询功能;安全认证模块用于实施严格的身份验证机制、访问控制策略和数据加密保护,通过多因素认证技术、基于角色的访问控制、传输层安全协议以及实时入侵检测系统实现,以保障平台数据的机密性、完整性和可用性,防范未授权访问及恶意攻击,并确保系统操作符合相关法规要求。

一种特征增强的集成学习过海货车货物分类方法

NºPublicación:  CN121119882A 12/12/2025
Solicitante: 
海南中远海运科技有限公司
CN_121119882_PA

Resumen de: CN121119882A

本发明公开了一种特征增强的集成学习过海货车货物分类方法,所述分类方法包括下列步骤:构建带有第一提示词模版的类目解析大模型,对输入的原始货物类型集合进行上下位关系组合,构建层级化货物分类体系;由第二提示词工程驱动多个不同的推理大模型,对用户输入的货物描述信息进行分类,生成多组第一分类结果;通过特征增强判别式小模型对用户输入的货物描述信息进行再一次分类,生成第二分类结果;对多组第一分类结果和第二分类结果进行加权评分,将得分最高的货物类型确定为最终分类结果。

基于温度传感器数据的冷链运输智能预警与异常处理方法

NºPublicación:  CN121119883A 12/12/2025
Solicitante: 
中健云康(广州)物流供应链有限公司
CN_121119883_PA

Resumen de: CN121119883A

本发明涉及一种基于温度传感器数据的冷链运输智能预警与异常处理方法,包括以下步骤,对冷链运输车厢内不同区域进行温度数据采集,得到温度采集数据;基于所述温度采集数据进行温度波动分析,得到温度波动趋势参数;基于所述温度波动趋势参数对所述冷链运输车厢进行温度阈值判定,得到温度判定结果;当所述温度判定结果为冷链运输车厢内中的核心货物区域温度超出预设阈值范围,则根据温度判定结果确定温度预警等级信息,并基于所述温度预警等级信息生成异常处理指令,解决了无法提前预知潜在的温度风险,导致异常处理往往滞后的技术问题。

一种物流订单处理方法

NºPublicación:  CN121119879A 12/12/2025
Solicitante: 
深圳市今天国际软件技术有限公司
CN_121119879_PA

Resumen de: CN121119879A

本发明公开一种物流订单处理方法,应用于包括云平台服务器及分别与其通信连接的用户终端、物流信息采集设备和物流执行设备的物流管理系统,用户终端包括发货方终端、收货人终端和物流承运商终端,物流信息采集设备部署于物流执行设备,物流执行设备包括运输车辆和仓库,方法包括:通过云平台服务器获取与订单相关的多维度的信息,对获得的与订单相关的多维度的信息进行特征提取,获得订单多维特征;通过云平台服务器对获得的订单多维特征进行预处理,获得组单状态向量;通过云平台服务器采用DDQN模型对获得的组单状态向量进行处理,获取各组单动作的Q值,选择Q值最大的组单动作作为组单决策。

一种干散货码头全过程多作业线设备集群协同配置方法及系统

NºPublicación:  CN121119877A 12/12/2025
Solicitante: 
武汉理工大学三亚科教创新园
CN_121119877_PA

Resumen de: CN121119877A

本发明属于但不限于码头调度技术领域,尤其涉及一种干散货码头全过程多作业线设备集群协同配置方法及系统,将船舶与火车在码头的作业时间与收集到的船舶属性、火车属性、靠泊位置属性、火车作业线位置属性、设备属性联系起来,建立特征提取模型,同时定义底层规则库作为基础工具。然后设计超启发式双层框架,高层使用深度Q网络作为决策工具,对底层规则进行生成或选择。动态训练优化模型,使得模型更加适配码头的场景,增强稳定性。根据模型与规则,以实际船舶与火车的作业时间与预计作业时间差之和最小为目标,输出设备集群协调配置方案,并且实时更新,实现动态码头环境下的高效协同。

一种立体仓库货位智能绑定系统和方法

NºPublicación:  CN121119918A 12/12/2025
Solicitante: 
长春市猪超越互联网科技有限公司
CN_121119918_PA

Resumen de: CN121119918A

本发明公开了一种立体仓库货位智能绑定系统和方法,涉及立体仓库仓储管理技术领域。包括以下步骤:S1、创建仓库的二维电子地图,建立仓库的二维坐标系,基于二维坐标系及货架位置,以出库台位置为坐标原点建立每个货架的坐标;S2、将RFID标签安装在每个货架第一层库位的预设位置,每个RFID标签中均预存了其所在位置货架的坐标。本发明通过集成先进的导航技术、AI智能决策系统以及多模态交互单元,实现了对立体仓库货位的精准、高效绑定。该系统不仅充分考虑了仓库的三维空间特性,还结合了货物的动态热度、季节性需求变化等多维度因素,使得货位分配更加科学合理,相较于现有技术,本发明能够根据实时需求动态调整货位分配策略。

多层立体仓自动播种路径优化调度方法及系统

NºPublicación:  CN121119620A 12/12/2025
Solicitante: 
上海畅联国际物流股份有限公司
CN_121119620_PA

Resumen de: CN121119620A

本发明涉及立体仓自动播种领域,尤其涉及多层立体仓自动播种路径优化调度方法及系统,包括以下步骤:通过数据交互模块获取播种关联数据和立体仓关联数据,构建多维度映射表;调用预设的物料特性与路径约束映射库,通过改进A算法筛选符合约束的路径并计算路径成本,输出初始路径;输入AGV实时负载状态,通过全局调度中心输出区域任务分配预案,结合多源感知数据,通过局部避障优化,输出优化后的任务分配表;计算任务优先级,按优先级分配资源并处理路径冲突,输出最终任务调度指令。本发明通过多维度参数计算任务优先级,结合分布式全局算力调度均衡AGV负载,有效解决了AGV任务过载与闲置并存的问题,避免了硬件故障导致的作业中断。

物流园区货物碳足迹因子核算方法

NºPublicación:  CN121119436A 12/12/2025
Solicitante: 
中远海运物流供应链有限公司复旦大学
CN_121119436_PA

Resumen de: CN121119436A

本申请提供了一种物流园区货物碳足迹因子核算方法,包括:将物流园区内的碳排放源区分为仓储活动类碳排放源和仓储存储类碳排放源。分别计算一物流园区内货物仓储活动碳足迹因子和货物仓储存储碳足迹因子。建立物流园区的货物碳足迹因子库,并将所述一物流园区内货物仓储活动碳足迹因子和货物仓储存储碳足迹因子存储至所述物流园区的货物碳足迹因子库,根据所述物流园区的货物碳足迹因子库中的货物碳足迹因子计算不同类型的货物在不同的物流园区的碳排放。本申请的物流园区货物碳足迹因子核算方法可以科学、精准地计算得到物流园区温室气体排放量,获得基于货物的碳足迹因子,建立各物流园区货物碳足迹因子库,完善物流全链碳排放核算体系。

基于重心法和k-means聚类融合算法的无人机配送点选址方法

NºPublicación:  CN121119869A 12/12/2025
Solicitante: 
内蒙古大学
CN_121119869_PA

Resumen de: CN121119869A

基于重心法和k‑means聚类融合算法的无人机配送点选址方法,本发明涉及物流配送优化技术领域,具体涉及无人机配送点选址方法。本发明所要解决的技术问题是克服单一的重心法选址的准确率低,时间消耗大、费用消耗高的问题。方法具体过程为:步骤一、获取目标区域内居民点的经纬度坐标;步骤二、基于k‑means聚类对步骤一获取的目标区域内居民点的经纬度坐标进行聚类,获得最佳聚类数目以及每个类内的居民点的经纬度坐标;步骤三、基于重心法获得每个类别的最终配送中心位置到类别区域内各个配送点的总配送费用,以及对应的每个类别的最终配送中心位置和每个类别区域内各个配送点到配送中心位置的欧氏距离。

托盘管理方法、电子设备及计算机可读存储介质

NºPublicación:  CN121119910A 12/12/2025
Solicitante: 
顺丰科技有限公司
CN_121119910_A

Resumen de: CN121119910A

本发明提供了一种托盘管理方法、电子设备及计算机可读存储介质,涉及仓储物流技术领域,响应于上架请求,获取托盘的托盘信息以及当前仓储库位的配置信息;上架请求为将货物上架至当前仓储库位的货物上架请求或将至少一个空托盘放置于当前仓储库位的空托盘上架请求,托盘信息包括托盘编号,配置信息包括当前仓储库位的库位编号和库位地址;根据托盘编号、库位编号和库位地址,将托盘与当前仓储库位进行关联,得到托盘与当前仓储库位的关联关系表;将托盘与当前仓储库位的关联关系表存储至仓储管理系统数据库,解决托盘信息数据更新不及时,存在数据滞后、人力成本高的问题,能够提升托盘的管理效率,提高了仓储的智能化自动化程度。

基于采购需求与执行的智能匹配方法、系统及存储介质

NºPublicación:  CN121119901A 12/12/2025
Solicitante: 
北京爱助农科技有限公司
CN_121119901_PA

Resumen de: CN121119901A

本发明公开了一种基于采购需求与执行的智能匹配方法、系统及存储介质,涉及信息智能匹配技术领域,其包括如下步骤:构建动态数据关联图谱,并实时精准同步数据;根据同步数据构建全局任务调度模型,以基于负载动态分配任务;根据同步数据生成需求单,并针对需求单进行动态解析及语义补全;根据需求单动态解析结果,继续进行供应商动态匹配及其优先级排序;针对供应商匹配需求过程异常进行差异溯源及分级预警;针对动态指标实时监测,并自动协同迭代。解决了现有需求采购匹配存在的智能化程度不高的技术问题。

一种基于强化学习的货车-无人机协同配送方法

NºPublicación:  CN121119322A 12/12/2025
Solicitante: 
大连海事大学
CN_121119322_PA

Resumen de: CN121119322A

本发明提供一种基于强化学习的货车‑无人机协同配送方法,属于快递物流技术领域。本方法包括:根据配送要求,将货车‑无人机协同配送建模为TSP问题;通过LKH算法求解所述TSP问题获得TSP解序列;基于所述TSP解序列构造无向图,并将无向图转换为马尔可夫决策过程环境;基于马尔可夫决策过程环境,以最小配送时间为目标进行路径优化,获得优化后的解序列,作为货车‑无人机协同配送路径。本方法通过LKH算法确定初始解,有效降低搜索空间;通过局部结构调整大幅减少每个问题实例所需交互次数,缩短训练时间,提升整体求解效率。在保证路径质量下具备良好的可扩展性和稳定性,能够适应大规模配送实例的求解需求,显著提升协同配送系统的运行效率与响应能力。

基于深度强化学习的井下矿石运输路径优化方法及系统

NºPublicación:  CN121119329A 12/12/2025
Solicitante: 
江西铜业技术研究院有限公司
CN_121119329_PA

Resumen de: CN121119329A

本发明公开了一种基于深度强化学习的井下矿石运输路径优化方法及系统,属于地下矿山运输调度与路径规划技术领域。该方法通过获取井下矿井地图、矿车状态数据和运输任务信息,构建动态状态空间,并结合深度强化学习算法进行路径优化决策,能够智能选择矿车路径和任务分配,提升运输效率,降低空载率,确保矿车运行的安全性与稳定性。系统包括多模态数据获取、状态空间构建、动作空间定义、奖励函数设计、深度强化学习模型训练等模块,通过实时监控和反馈调整功能,能够动态优化路径与任务调度,适应井下复杂环境变化。本发明在井下矿石运输管理中的应用,验证了其有效性和实用性,在地下矿山矿石运输管理领域具有一定的推广价值。

一种门店信息交互系统

NºPublicación:  CN121119943A 12/12/2025
Solicitante: 
苏州万店掌网络科技有限公司
CN_121119943_PA

Resumen de: CN121119943A

本发明公开了一种门店信息交互系统,应用于计算机技术领域,包括:门店设备层用于采集门店的门店信息;企业用户层用于设定门店信息的访问权限;访问交互层用于接收用户的访问请求,业务处理层解析访问请求得到身份信息,根据身份信息和访问权限对门店信息进行筛选,得到筛选结果,并将筛选结果输出至用户的Flutter框架界面上。本系统借助的Flutter框架,确保门店信息在多个不同终端平台上都能稳定、统一地展示;通过门店设备层采集门店信息,并将其由业务处理层进行多样化门店信息的管理,打破了门店信息孤岛;通过业务处理层的筛选,能够根据用户身份和访问权限信息差异化展示门店信息,解决了权限控制不够灵活的问题。

PROCEDE D’INSPECTION DE L’ETAT D’EQUIPEMENTS LOGISTIQUES

NºPublicación:  FR3163188A1 12/12/2025
Solicitante: 
FIVES MAINTENANCE [FR]
FIVES MAINTENANCE
FR_3163188_PA

Resumen de: FR3163188A1

TITRE : PROCEDE D’INSPECTION DE L’ETAT D’EQUIPEMENTS LOGISTIQUES L’invention concerne un procédé d’inspection d’un équipement (2) intralogistique comprenant les étapes suivantes : mesure d’une grandeur physique ou collection de données dudit équipement par un dispositif de mesure ou de détection embarqué dans un colis (3) instrumenté déplacé par ou sur ledit équipement (2) ou à proximité de celui-ci,comparaison de données mesurées ou collectées avec des données de référence, conclusion sur l’existence d’une anomalie en cas de divergence entre les données mesurées ou collectées et les données de référence, d’un certain seuil prédéterminé. L’invention concerne également le colis instrumenté, ainsi qu’un système d’inspection comprenant le colis instrumenté et permettant d’exécuter le procéder. Figure pour l’abrégé : Figure 2.

一种基于智能仓储货架的实时数据采集及分析系统

NºPublicación:  CN121119916A 12/12/2025
Solicitante: 
南京固泰仓储设备有限公司
CN_121119916_PA

Resumen de: CN121119916A

本申请公开了一种基于智能仓储货架的实时数据采集及分析系统,涉及仓储货架数据分析技术领域,本申请通过实时采集仓储货架的环境信息、储重信息和材料信息,进而分析得到各货物的储存位置,并在储存期间分析得到各板层清灰需求,最后根据仓储货架的材料信息、环境信息和储重信息分析各仓储上各货物的质量信息,最后在仓储货架中存储的货物出库后,根据环境信息和材料信息分析仓储货架的储重变化,从而判断是否对货架进行修理维护,同时对仓储货架的储重信息进行更新。本申请通过对仓储货架实时数据的采集与分析,可以有效判断货物质量,还可以实现对货架承重能力的监测,保证货架的仓储稳定性。

一种用于平面分拣的二次分拣方法及系统

NºPublicación:  CN121119874A 12/12/2025
Solicitante: 
南兴装备股份有限公司
CN_121119874_PA

Resumen de: CN121119874A

本发明涉及物流分拣技术领域,本发明涉及一种用于平面分拣的二次分拣方法及系统,其中的方法包括:响应于板件的数量大于分拣口的数量,计算各板件的特征向量;根据板件的特征向量中所有特征值的倒数对各板件的特征向量进行平衡聚类;确定将各聚类簇中特征向量对应的板件输出的分拣口;确定各板件在分拣口输出的顺序;将板件的分拣方案数据增添到用于标记板件的识别码映射的文件。本发明将视觉特征(即看得见的特征,例如,尺寸、颜色等)确定板件的特征向量,使特征向量差异较小,视觉特征差异较大的板件分到一个分拣口,增加了后续人工二次分拣的准确率。

物流货物遗失智能监控方法、装置、设备及存储介质

NºPublicación:  CN121119890A 12/12/2025
Solicitante: 
上海乾臻信息科技有限公司
CN_121119890_PA

Resumen de: CN121119890A

本发明涉及信息处理技术领域,尤其涉及一种物流货物遗失智能监控方法、装置、设备及存储介质,获取货物在物流各环节中多源采集的状态数据,对状态数据进行预处理,利用边缘计算层对标准化数据进行实时状态检测,利用智能分析模型对状态检测结果进行货物遗失风险分析,当风险分析结果判定为存在遗失风险时,则生成预警信息,将预警信息发送到管理终端,能进行遗失风险预警,降低货物遗失率,接收管理终端反馈的核查信息,当核查信息确定为货物遗失时,则进行责任认定,能在货物遗失时精准定位责任方,加速丢件赔偿流程,提高客户满意度,当核查信息确定为货物未遗失时,则对智能分析模型进行迭代优化,提高智能分析模型的遗失风险分析准确性。

一种热卷物料订单自动组卷发货方法、系统和装车设备

NºPublicación:  CN121119574A 12/12/2025
Solicitante: 
江苏沙钢高科信息技术有限公司
CN_121119574_PA

Resumen de: CN121119574A

本发明涉及一种热卷物料订单自动组卷发货方法、系统和装车设备,属于仓储物流管理技术领域。包括:获取订单发货计划上的热卷物料所在存储区,将排队待运车辆分配至对应的装货停车区;实时获取装货停车区中车辆的分配状态和热卷物料的垛位信息,根据分配状态和垛位信息,得到存储区内货物发货吊装路径最短、最大装车重量的最优组合;根据最优组合和垛位信息,向操作终端发送第一任务指令;根据第一任务指令,将热卷物料移位至发货区,最优车辆转移至指定停车区域;获取最优车辆的报道信息;根据报道信息和最优组合,将发货区的热卷物料吊装至最优车辆从而完成装货。本发明提高了发货效率和灵活性,实现了发货任务的自动化分配和智能化管理。

基于物联网的车辆实时监测与智能调度方法、调度系统

NºPublicación:  CN121119909A 12/12/2025
Solicitante: 
一汽物流(天津)有限公司
CN_121119909_PA

Resumen de: CN121119909A

本发明公开了一种基于物联网的车辆实时监测与智能调度方法、调度系统。=该方法包括:获取车辆的参数信息和状态信息,其中,状态信息包括位置信息、行驶轨迹信息、运行速度信息和启动状态信息;基于参数信息和状态信息,匹配满足预设约束条件的目标车辆,获得匹配结果,其中,预设约束条件包括:闲置状态信息和车辆合格信息,匹配结果为当前可调度车辆;获取物流调度任务,基于物流调度任务进行解析,获得解析结果,解析结果包括所需车辆类型、车辆数量,货物坐标信息;基于匹配结果和解析结果,生成调度策略,调度策略用于控制目标车辆将货物搬运至目标位置。本发明解决了现有技术中车辆运行状态监控困难以及车辆资源利用率低的技术问题。

一种基于复合RFID芯片的封箱胶带及智能物流管理系统

NºPublicación:  CN121118958A 12/12/2025
Solicitante: 
北京盛旺世纪彩色印刷有限公司
CN_121118958_A

Resumen de: CN121118958A

本发明公开了一种基于复合RFID芯片的封箱胶带及智能物流管理系统。所述胶带包括基材、压敏胶层和以固定间隔封装于其间的多个RFID芯片。该间隔依据国家标准快递箱的单面封口长度设定,确保封箱后每箱有且仅有一枚芯片暴露于箱外。另一侧面采用普通胶带封口。本发明将RFID技术与常规封箱作业完美结合,实现了“一箱一码”,解决了外置标签易损、低效的难题。配套的管理系统通过读写设备和数据中心,实现了对包裹的全程自动跟踪、智能分拣与管理,极大地提升了物流效率和智能化水平。

货物出入门识别方法、装置、设备及介质

NºPublicación:  CN121118934A 12/12/2025
Solicitante: 
中国移动通信有限公司研究院中国移动通信集团有限公司
CN_121118934_PA

Resumen de: CN121118934A

本发明提供一种货物出入门识别方法、装置、设备及介质,该方法:在货物出入门识别时间段内,获取第一标签数据和第二标签数据;根据第一标签数据,确定存在出入门行为的先判标签以及第三标签数据;确定货物在时间维度上的第一移动距离序列;对第二标签数据和第三标签数据进行修正,根据修正后的标签数据确定第二移动距离序列;根据第一移动距离序列和第二移动距离序列,确定存在出入门行为的后判标签,以及不存在出入门行为的标签。本发明能够实现即便是库门部署单个读写器也能完成货物出入门的识别,并且针对多货物多标签场景下,在部分标签的数据数量不足的情况下也能完成货物出入门的识别。

排土场排土车位生成方法、装置、终端设备及存储介质

NºPublicación:  CN121119346A 12/12/2025
Solicitante: 
希迪智驾科技股份有限公司
CN_121119346_PA

Resumen de: CN121119346A

本申请适用于计算机应用技术领域,提供了一种排土场排土车位生成方法、装置、终端设备及存储介质,该方法包括:根据目标排土场进出规则,确定所述目标排土场的排土侧边界数据点,其中,所述排土侧边界为排土车作业时车位后边界;根据所述排土侧边界数据点,确定排土侧角点,其中,所述排土侧角点包括目标排土场入口同侧的角点及目标排土场入口对侧的角点;根据所述排土侧边界数据点、所述排土侧角点及车辆信息,生成排土车位。由此,通过确定排土场的排土侧边界数据点,并根据侧边界数据点确定角点,从而自动生成排土场排土车位,不仅减少了人力资源浪费,而且保证了车位的实时性。

一种基于大数据集成的生产制造信息管理系统及方法

NºPublicación:  CN121119607A 12/12/2025
Solicitante: 
深圳市希捷通科技有限公司
CN_121119607_A

Resumen de: CN121119607A

本发明涉及智能制造与工业大数据应用技术领域,尤其涉及一种基于大数据集成的生产制造信息管理系统及方法。所述方法包括以下步骤:对生产制造过程中的木材进行多维特性参数采集,构建木材数字特性模型;将该木材数字特性模型导入企业大数据平台进行企业级数据集成,进行分布式存储与检索体系构建,形成木材特性参数图谱;获取并从成品使用数据中提取木材变形数据,进行特性‑变形关联分析,得到特性变形关联表;根据特性变形关联表进行变形风险解析,得到木材变形敏感度指数。本发明通过构建贯穿木材全生命周期的大数据体系,在最大化资源利用率的同时,从源头上保证了产品的高稳定性和高质量。

用于处理按需服务的服务器和方法

NºPublicación:  CN121127870A 12/12/2025
Solicitante: 
格步计程车控股私人有限公司
CN_121127870_PA

Resumen de: WO2024258343A1

Aspects concern a server for processing on-demand services, comprising: a memory for storing instructions; and a processor for executing the stored instructions and configured to: receive a plurality of requests for an item delivery service, wherein each of the plurality of requests includes information about at least one selected item and a delivery location for the item delivery service; segment the requests into one or more batches based on time relating to each of the requests; for each of the batches, segment the requests into one or more geographical area groups based on the delivery location for each of the requests; and assign one or more vehicles capable of producing the selected item into the one or more geographical area groups, so that the assigned vehicle prepares the selected item for the item delivery service while the assigned vehicle moves along a travel route in a geographical area.

繁忙货运车站调车作业计划编制优化方法

NºPublicación:  CN121119581A 12/12/2025
Solicitante: 
国能新朔铁路有限责任公司
CN_121119581_PA

Resumen de: CN121119581A

本发明公开了一种繁忙货运车站调车作业计划编制优化方法,包括:构建列车解编分布作业的主问题线性规划模型,对主问题线性规划模型进行初始化并求解获得影子价格;基于影子价格进行虚拟股道分割,获得虚拟股道;基于虚拟股道生成新作业序列并计算缩减成本;若缩减成本满足预设条件,则将新作业序列引入主问题线性规划模型重新求解并更新影子价格,重复进行虚拟股道分割直至无法生成缩减成本满足预设条件的有效新序列。本发明通过虚拟股道时空分割技术释放闲置资源,结合列生成算法动态优化解编序列,显著提升股道利用率;基于缩减成本的迭代机制高效求解大规模组合优化问题;实时响应车流与资源波动,增强调度鲁棒性并降低作业延误。

一种采购文档审查方法、装置、电子设备及存储介质

NºPublicación:  CN121118843A 12/12/2025
Solicitante: 
南航数智科技(广东)有限公司
CN_121118843_PA

Resumen de: CN121118843A

本申请实施例提供一种采购文档审查方法、装置、电子设备及存储介质,涉及计算机技术领域。方法包括:获取待审查采购文档;根据知识库,对待审查采购文档进行切片,得到多个待审核包;知识库包括用于对待审查采购文档进行审查的审查规则;将待审核包、各文档知识关联的审查类型输入大模型,得到待审核包的合规性结果;大模型用于根据审查类型对待审核包进行合规性审查;根据多个待审核包的合规性结果,输出待审查采购文档的合规性审查结果。本申请可用于采购文档审查过程中,用于解决现有采购文档人工审查模式存在的效率低、专业依赖性强、漏洞多的问题。

智慧物流管理方法及系统、设备、存储介质

NºPublicación:  CN121119866A 12/12/2025
Solicitante: 
河北讯辉科技股份有限公司
CN_121119866_PA

Resumen de: CN121119866A

本申请提供了智慧物流管理方法及系统、设备、存储介质,属于智慧物流技术领域,该方法包括:基于所有运输中的物流车辆的初始行驶路线确定目标区域,基于所述目标区域中多个路段的路段监测数据生成物流网络热力图;所述物流网络热力图用于反映目标区域内的车流通行压力分布;基于所述物流网络热力图和所有运输中的物流车辆的车辆行驶数据从所述所有运输中的物流车辆中筛选目标车辆集;基于所述物流网络热力图、所述目标车辆集中各个车辆的车辆行驶数据和各个车辆分别对应的订单属性数据确定所述目标车辆集中各个车辆对应的目标优化路径。本申请能够提高全局物流管理效率。

一种直播电商供应链信息监控方法

NºPublicación:  CN121119917A 12/12/2025
Solicitante: 
江苏经贸职业技术学院
CN_121119917_PA

Resumen de: CN121119917A

本申请涉及一种直播电商供应链信息监控方法,其包括以下步骤:采集并核验待合作供应商的基础资质与行业专项资质,建立资质动态管理库并设置预警机制,对资质失效的供应商实施准入限制;确定公证仓库,根据待入库货品信息以及公证仓库基础信息,通过预设置的仓库定制模型生成定制化改造方案,并依据所述定制化改造方案对公证仓库进行行硬件改造和系统部署;供应商将货品运送至公证仓库时,利用所述AI视觉检测组件和独特验证检测组件进行核验,核验合格后录入库存管理系统,生成绑定批次、检测记录与库存数量的溯源档案。本申请有效提高供应链信息管理效率的效果。

一种建筑物料调度管理方法

NºPublicación:  CN121119558A 12/12/2025
Solicitante: 
河北建工集团有限责任公司
CN_121119558_PA

Resumen de: CN121119558A

本发明提供了一种建筑物料调度管理方法,属于建筑物料调度技术领域,包括以下步骤:收集物料基础及备货信息,构建评价模型,以对工程进度影响、市场稀缺度为指标确定权重;构建工程三维模型,拆解总工期为作业段,分析物料与关键节点关联强度,确定到场早晚期;以备货信息和到场时间为输入,构建运输与时效双目标函数,优化得运输明细;结合仓储费用和折损率,构建仓储收益与耗材成本双目标函数,优化得仓储明细;构建调度数据库,整合信息并识别物料需求叠加时间点。本方法能够实现物料信息精准评价、与工程进度深度协同、兼顾运输与仓储优化、并整合全工程物料需求信息的系统化调度管理方法,以提升建筑工程物料管理的科学性与高效性。

食品运输风险预警方法、装置、设备、存储介质及产品

NºPublicación:  CN121119862A 12/12/2025
Solicitante: 
中移物联网有限公司中国移动通信集团有限公司
CN_121119862_PA

Resumen de: CN121119862A

本申请涉及物流运输技术领域,提供一种食品运输风险预警方法、装置、设备、存储介质及产品。方法包括:基于运输车辆的车厢气味特征,确定第一风险评分;基于运输车辆的历史停留区域,确定第二风险评分;基于第一风险评分和第二风险评分,进行加权聚合,获得运输车辆的食品运输风险评分;基于食品运输风险评分,进行风险预警。通过上述方式,在风险预警的过程中综合考虑车厢气味和车辆历史停留区域两种因素的影响,有利于准确判断运输车辆运输的货物类别,进而有利于进行准确的食品运输风险预警,可提高风险预警的准确性,无需依赖人工,可以规避人为主观因素的影响,避免可能存在食品安全隐患。

一种互联网生鲜农产品配送管理系统

NºPublicación:  CN121119344A 12/12/2025
Solicitante: 
大农科技股份有限公司
CN_121119344_PA

Resumen de: CN121119344A

本申请涉及计算机技术领域,尤其涉及一种互联网生鲜农产品配送管理系统,其系统包括:订单管理模块、物流管理模块、库存管理模块以及数据分析模块;订单管理模块用于处理客户订单,包括订单接收、处理、跟踪以及状态更新,以确保订单的高效处理;物流管理模块用于监测生鲜农产品在运输过程中的温湿度,并规划配送路线,以确保生鲜农产品以最短的时间送达客户手中;库存管理模块用于监控生鲜农产品的库存水平,以确保有足够的库存满足订单需求;数据分析模块用于通过数据分析,优化采购策略。本申请有助于实现生鲜农产品配送流程优化。

数字货车状态修的检修调度方法、系统、装置及存储介质

NºPublicación:  CN121120028A 12/12/2025
Solicitante: 
成都市以太节点科技有限公司
CN_121120028_PA

Resumen de: CN121120028A

本发明提供一种数字货车状态修的检修调度方法、系统、装置及存储介质,方法包括以下步骤:S1,获取铁路线路上货车的健康状态,基于货车的健康状态预估货车的剩余安全行驶里程;S2,获取铁路线路上检修点的信息,基于检修点位置和货车的剩余安全行驶里程确定货车的可选检修点;S3,为铁路线路上所有货车匹配可选检修点,形成检修调度方案,计算检修调度方案货车的平均检修时间、总检修时间和平均检修响应度,确定检修调度效果;S4,根据检修调度效果最好的检修调度方案确定各货车的最优检修点,生成调度指令并下发至对应货车。本发明基于检修时间和检修响应度的综合优化目标进行多车协同检修调度,提高多车检修效率与安全度。

一种麻精药品全流程闭环管理系统及方法

NºPublicación:  CN121122563A 12/12/2025
Solicitante: 
江苏禾太医疗科技有限公司
CN_121122563_PA

Resumen de: CN121122563A

本发明属于麻精药品管理系统属于技术领域,具体涉及一种麻精药品全流程闭环管理系统及方法,包括二维码标签、厂家端、运输端、医院端、中央端与处理端;所述二维码标签可在厂家生产出药品后,在药品储存瓶的外表面粘贴二维码标签,所述厂家端可扫描二维码标签,在中央端生成对应药品数据库,且可在厂家端输入药品出厂信息;所述运输端可扫描药品表面二维码标签,录入运输信息,并将信息录入中央端中生成的药品数据库;所述医院端可扫描药品表面二维码标签,录入进入医院信息、使用信息和报废信息,并将信息录入中央端中生成的药品数据库;所述处理端可对使用后的药品瓶和报废的药品瓶处理后,将处理信息录入中央端中生成的药品数据库。

一种集装箱智能远程监控管理系统

NºPublicación:  CN121119889A 12/12/2025
Solicitante: 
江苏海事职业技术学院
CN_121119889_A

Resumen de: CN121119889A

本发明涉及集装箱远程监控管理技术领域,尤其涉及一种集装箱智能远程监控管理系统,包括集装箱智能感知模块、远程控制平台、智能算法模块、集装箱位置追踪模块和海运单证数字化管理模块。本发明对集装箱的位置、内部环境状态和物理安全进行实时监控,能够主动识别和预测运输过程中可能出现的异常情况,并提前发出预警,使操作人员能够从被动的应急处理转变为主动的风险干预,降低货物损毁、变质和丢失的风险,能够分析海量数据,精准预测区域性的运输需求波动,并为单个或多个集装箱动态规划最优运输路径,减少人工处理环节和纸质文档依赖,避免因单证错误、延误或丢失导致的问题。

一种托盘租赁管理系统及管理方法

NºPublicación:  CN121119684A 12/12/2025
Solicitante: 
浙江久鼎智联科技有限公司
CN_121119684_PA

Resumen de: CN121119684A

本申请公开了托盘租赁管理系统及方法,通过XGBoost静态行为分析子模块分析用户的历史损坏频率、路径天气风险、用户注册时长、托盘健康度、支付延迟率的静态特征,结合LSTM动态行为分析子模块分析用户的操作特征、行为逻辑、验证行为、支付行为、账号特征的动态特征,显著提升对租赁订单复杂风险的识别能力,结合多维度数据融合和动态风险评分机制,实现了对租赁订单风险的精准预测和智能管控,对中高风险订单实现事前预警和实时拦截。

基于分布式多源数据融合的散货码头堆存费自动核算方法

NºPublicación:  CN121120043A 12/12/2025
Solicitante: 
海南港航通用码头有限公司
CN_121120043_PA

Resumen de: CN121120043A

本申请属于港口智能化管理领域,具体公开了一种基于分布式多源数据融合的散货码头堆存费自动核算方法,包括:采集散货码头理货货物的多源数据,对多源数据进行数据清洗和标准化,得到目标格式的标准化数据;根据标准化数据中的货物类型结合已构建的仓库属性数据库进行自动匹配,得到优先级高的计费规则;基于船舶调度计划构建有向无环图,利用数据结构链表算法生成船舶航次的计费顺序;基于计费规则和计费顺序分别采用第一算法和第二算法进行独立计算,得到最终计费结果;将最终计费结果通过通信接口输出至码头业务系统,并在可视化界面展示详细计费明细。通过本申请可提高散货码头堆存费的核算效率和准确性。

AI大模型的航运绿色平台构建方法、装置、设备及介质

NºPublicación:  CN121119739A 12/12/2025
Solicitante: 
大连海事大学
CN_121119739_PA

Resumen de: CN121119739A

本申请涉及AI大模型的航运绿色平台构建方法、装置、设备及介质。所述方法包括:采集多维度航运数据;对所述多维度航运数据进行预处理,生成标准化多模态数据集;基于所述标准化多模态数据集,构建并训练多模态AI大模型;基于训练完成的所述多模态AI大模型,生成航运绿色决策方案;将所述航运绿色决策方案推送到船舶控制系统、港口管理系统及航运企业管理平台,得到决策方案执行结果。采用本方法能够实现航运过程中的节能减排,提升运营效率以及航运业务的管理水平,推动航运业的绿色转型。同时也满足航运企业对于智能化碳排放优化决策与全流程监管的需求。

用于自动货架图生成的系统、介质和方法

NºPublicación:  CN121127872A 12/12/2025
Solicitante: 
3M\u521B\u65B0\u6709\u9650\u516C\u53F8
CN_121127872_PA

Resumen de: WO2024241114A1

A method includes generating a plurality of candidate planograms based upon a plurality of cunent design rules and outputting a graphical representation of each of a subset comprising a plurality of the candidate planograms. The method also includes receiving categorization input to place each candidate planogram in the subset within one of a plurality of categories, and creating and outputting candidate rules based upon at least one of the categories. The method further includes receiving rule input specifying a plurality of candidate design rules to retain. The method additionally includes outputting an updated subset of the candidate planograms based upon the received design rule input, and outputting a graphical representation of at least one finalized planogram.

一种基于冲突搜索的多移动机器人任意角度路径规划方法和系统

NºPublicación:  CN121119343A 12/12/2025
Solicitante: 
湖南大学
CN_121119343_PA

Resumen de: CN121119343A

本发明公开了一种基于冲突搜索的多移动机器人任意角度路径规划方法和系统,步骤如下:构建含约束集、路径集及评估值的搜索树,初始化根节点,用任意角度路径规划算法获各机器人初始路径集并计算总代价作为评估值;主循环选评估值最小的未验证节点,合并机器人状态切换时刻生成时间轴,遍历时间间隔与机器人对检测冲突;有冲突则生成约束项创建子节点,重新规划受影响机器人路径并更新信息,将子节点加入搜索树循环;无冲突则输出路径集为解,无有效解则判定问题无解。该方法结合CBS顶层架构与TP底层算法,实现静态环境下任意角度规划,提升机器人灵活性、路径解质量与效率,适用于物流仓储、多机器人协同作业场景。

基于地磅数据的城市服务协同治理方法及系统

NºPublicación:  CN121119567A 12/12/2025
Solicitante: 
广东省茂名市质量计量监督检测所
CN_121119567_PA

Resumen de: CN121119567A

本发明涉及一种基于地磅数据的城市服务协同治理方法及系统,属于物联网与大数据处理技术领域;该方法及系统,通过融合环境和状态数据的误差补偿模型,有效解决了车辆动态行驶和复杂环境对称重精度的影响,为后续所有分析和决策提供了高质量的数据基础,提高了数据准确性和系统可靠性;通过引入先进的预测模型,对补偿后的高精度数据进行深度的时空价值挖掘,实现了对超载事件、物资负荷等关键指标的精准预测,使城市管理从被动的“事后响应”转变为主动的“事前预警与调度”,显著提升了决策的前瞻性和科学性;将分散的地磅数据转化为统一的、可服务于多个部门的决策支持信息,并通过统一的应用端输出,打破了数据壁垒。

一种基于数字孪生的业务数据处理方法、系统及终端

NºPublicación:  CN121119884A 12/12/2025
Solicitante: 
北京流金岁月科技有限公司
CN_121119884_PA

Resumen de: CN121119884A

本申请涉及一种基于数字孪生的业务数据处理方法、系统及终端,属于业务数据处理的技术领域,该业务数据处理方法包括:采集物理冷库的多源传感数据;将所述多源传感数据同步至虚拟冷库模型中,计算综合风险值,所述虚拟冷库模型为根据物理冷库构建的数字孪生模型;判断所述综合风险值是否大于风险阈值;若是,则激活根因诊断,从预先构建的因果规则库中定位问题根源;根据定位的问题根源,调用优化策略;在所述虚拟冷库模型中按照所述优化策略进行模拟,生成模拟值;判断所述模拟值是否大于模拟阈值;若是,则根据所述优化策略对物理冷库进行调控。本申请具有提高根因诊断的准确率的有益效果。

风险影响传导性的物流过程风险分析方法及装置

NºPublicación:  CN121119689A 12/12/2025
Solicitante: 
一汽物流(成都)有限公司
CN_121119689_PA

Resumen de: CN121119689A

本申请公开了一种风险影响传导性的物流过程风险分析方法及装置,涉及物流管理与风险评估技术领域。其中,该方法包括:获取物流作业过程中的风险因子;基于第一预设评价规则,确定风险因子关系程度,其中,第一预设评价规则为专家评审的获取各个风险因子至间的相互关系度建立的评价规则;基于风险因子关系程度和物流风险因果关系矩阵,确定各个风险因子对应的第一评价参数;基于风险因子对应的第一评价参数,确定各个风险因子的风险分析结果,风险分析结果用于展示风险因子的重要程度。本申请解决了现有风险分析方法的优先级排序不准确的技术问题。

快递到件量预测方法、装置、设备及存储介质

NºPublicación:  CN121119270A 12/12/2025
Solicitante: 
上海韵达高新技术有限公司
CN_121119270_PA

Resumen de: CN121119270A

本发明涉及智能物流技术领域,尤其涉及一种快递到件量预测方法、装置、设备及存储介质,所述方法通过结合实时数据和动态规则,即获取目标清场时间和在途快件量映射表,结合基于目标清场时间确定的动态时间窗口规则,使用预训练的目标预测模型对到件量进行预测后,再进一步判断是否需要对其进行校准,最后根据预设的分级权限规则输出多个修正到件量预测值,有效提高了快递到件量预测的准确度,网点可依据精准的到件量预测合理安排车辆,避免因车辆过多造成的空驶浪费,或因车辆不足导致的快件滞留的问题,从而提高车辆利用率,降低物流成本。

基于SAAS的物流智能调度方法、装置、设备及存储介质

NºPublicación:  CN121119610A 12/12/2025
Solicitante: 
顺仓科技(深圳)有限公司
CN_121119610_PA

Resumen de: CN121119610A

本发明涉及基于SAAS的物流智能调度方法、装置、设备及存储介质,方法包括通过云端SAAS平台的API接口接收并解析外部物流服务请求,生成物流运输任务;基于所述云端SAAS平台汇聚的实时多元数据,对所述所述物流运输任务进行资源匹配与路径优化,生成运输调度任务;依据所述云端SAAS平台向运输终端下发所述运输调度任务,并实时聚合物联网定位数据,更新运输状态。本发明能够动态优化运力资源配置,有效提升运输工具的利用效率。

一种货架陈列推荐方法及装置

NºPublicación:  CN121120202A 12/12/2025
Solicitante: 
浙江纺织服装职业技术学院
CN_121120202_PA

Resumen de: CN121120202A

本发明公开了一种货架陈列推荐方法及装置,属于零售管理及商业智能技术领域。本发明通过采集融合静态数据、动态销售数据、顾客行为数据、外部环境数据及库存数据,构建多维度陈列效果评估指标,基于机器学习模型形成陈列策略知识库,利用优化算法生成候选方案并进行数字化仿真,推荐最优方案并可视化输出,同时通过闭环反馈实现模型迭代优化;实现了从经验驱动到数据驱动、从静态到动态实时、从单目标到多目标全局优化的转变,具备预测仿真能力和自我进化能力,能显著提升货架陈列的科学性和有效性。

一种货物与托盘的匹配方法及匹配系统

NºPublicación:  CN121119523A 12/12/2025
Solicitante: 
苏州中来光伏新材股份有限公司
CN_121119523_PA

Resumen de: CN121119523A

本发明公开了一种货物与托盘的匹配方法及匹配系统,所述方法包括:获取托盘基础数据和货物信息;提取货物类型,根据货物类型从托盘基础数据中初筛出对应适用类型的托盘,得到第一托盘子集;解析货物的规格参数,基于规格参数与第一托盘子集的物理参数在第一托盘子集中进行尺寸适配筛选,得到第二托盘子集;根据货物的重量相关参数计算小包装重量,基于小包装重量与第二托盘子集的承载参数在第二托盘子集中进行重量适配筛选,得到适配的托盘集合;计算所述托盘集合中每个托盘的承载效率,所述承载效率为单托盘承载总重量与托盘面积的比值;根据所述承载效率从托盘集合中确定最优托盘。本发明能够有效提升托盘利用率,实现托盘的最优匹配。

一种货物统计方法及系统

NºPublicación:  CN121127890A 12/12/2025
Solicitante: 
苏州易信安工业技术有限公司
CN_121127890_PA

Resumen de: WO2024243766A1

The present application provides a cargo statistics method and system. The method comprises: configuring an image acquisition device on a transport vehicle; performing image acquisition on a cargo transport component of the transport vehicle; obtaining continuous frames of image data, and then automatically performing object feature identification on the image data; and according to object feature information of a corresponding object region, automatically determining a transport state, such as loaded state or an empty state, of the cargo transport component, so that various cargo statistics results are automatically and accurately obtained according to a change in the transport state and/or the identified object feature information. There is no need to perform manual reading and recording, thereby preventing the technical problem of inaccurate cargo statistics results due to misreading, inaccurate recording/calculation, etc., improving the statistical efficiency and reliability of cargo statistics results and saving labor costs.

储气库出砂的管控方法、装置、电子设备及存储介质

NºPublicación:  CN121119921A 12/12/2025
Solicitante: 
中国华能集团清洁能源技术研究院有限公司烟台供热有限公司
CN_121119921_PA

Resumen de: CN121119921A

本公开涉及储气库技术领域,尤其涉及一种储气库出砂的管控方法、装置、电子设备及存储介质。该方法包括:采集储气库对应的地质数据和生产数据,并根据地质数据和生产数据确定储气库生产影响因素集合;对储气库生产影响因素集合中的储气库生产影响因素进行量化,确定储气库生产影响因素集合中每个储气库生产影响因素对应的临界阈值;根据储气库生产影响因素集合以及临界阈值,确定储气库的出砂管控策略。采用上述方案的本公开可以实现对储气库出砂的管控。

一种基于大数据和物联网的公交客货共运调度系统

NºPublicación:  CN121119580A 12/12/2025
Solicitante: 
浙江大学
CN_121119580_PA

Resumen de: CN121119580A

本发明涉及智能交通技术领域,具体涉及一种基于大数据和物联网的公交客货共运调度系统;包括数据收集与处理、调度系统架构、路径优化与动态调整、用户接口与系统管理;其中,数据收集与处理,用于系统收集和处理公交车运行数据的过程,是系统的基础;数据收集与处理包括:乘客流量数据、货物流量数据、车辆状态数据、环境数据;调度系统架构,是实现对公交客货共运的全面监控、实时调度与资源优化;本发明通过整合实时的客流数据、货流数据以及车辆状态信息,利用大数据分析、物联网技术和人工智能算法,实现公交与货运的协同调度、路径优化以及资源的最大化利用。

基于人工智能的运输车辆智能调度方法及系统

NºPublicación:  CN121119548A 12/12/2025
Solicitante: 
中泰智云(北京)科技有限公司
CN_121119548_PA

Resumen de: CN121119548A

本发明公开了一种基于人工智能的运输车辆智能调度方法及系统,涉及人工智能技术领域,包括:获取待服务运单的运单属性特征、待定运输车辆的运力属性特征,以及运单与车辆的多种关联数据对应的原始关联特征;根据目标运单的运单属性特征、车辆运力属性特征及运单侧原始关联特征,识别目标运单关于第一关联数据的运单侧关联描述特征;根据多个运单的运单属性特征、目标车辆的运力属性特征及车辆侧原始关联特征,识别目标车辆关于第一关联数据的车辆侧关联描述特征;基于目标运单与目标车辆关于多种关联数据的关联描述特征,完成车辆分配。如此设计,实现了关联数据的深度融合与智能匹配,提升了调度效率和匹配精度,优化了运力资源配置。

商品陈列的核查方法、装置、电子设备及介质

NºPublicación:  CN121126269A 12/12/2025
Solicitante: 
中国移动通信有限公司研究院中国移动通信集团有限公司
CN_121126269_PA

Resumen de: CN121126269A

本公开关于一种商品陈列的核查方法、装置、电子设备及介质,属于无线通信和自动识别技术领域,包括:构建货架的区域分割树;控制旋转天线进行旋转,并获取标签数据,其中,所述标签数据包括货架的参考标签数据和商品的目标标签数据;根据所述标签数据,确定所述旋转天线与所述货架的相对位置;根据所述区域分割树、所述相对位置和所述标签数据,确定目标标签的位置;根据所述目标标签的位置,生成商品陈列核查报告,本公开通过控制旋转天线进行旋转,保证了标签数据的全面性,并根据区域分割树、相对位置和标签数据,确定目标标签的位置,提高了商品陈列核查结果的准确性。

一种AGV协同动态优化拣运方法

NºPublicación:  CN121119316A 12/12/2025
Solicitante: 
安徽嘉铖智信智能科技有限公司
CN_121119316_PA

Resumen de: CN121119316A

本发明公开一种AGV协同动态优化拣运方法,以AGV当前位置为路径起点、货物储位为中间节点、目标位置为终点,构建融合路径长度与转向复杂度的多约束路径模型;采用智能优化算法求解多约束路径模型,输出全局最优运输序列;在路径执行过程中,实时计算当前AGV执行剩余路径的继续执行成本及任务重分配成本;当继续执行成本超过任务重分配成本时,生成基于代价比较的AGV任务重分配指令;根据重分配指令触发局部任务移交,控制空闲AGV接管原AGV绑定的货物组合并执行重组策略直至订单完成。本发明融合位置/物性/状态三重维度优化AGV调度、装载及路径,通过双成本移交机制降低中断率,提升效率与设备利用率。

货架定位方法、装置、电子设备、存储介质及程序产品

NºPublicación:  CN121113031A 12/12/2025
Solicitante: 
中国移动通信有限公司研究院中国移动通信集团有限公司
CN_121113031_PA

Resumen de: CN121113031A

本申请涉及计算机及通信领域,提供一种货架定位方法、装置、电子设备、存储介质及程序产品。该方法包括:通过对部署在货格上的无源压力传感标签的信号及上报的压力传感数据的分析,对货格占用状态初步判断,确定第一待匹配货格列表;将激励信号的波束依次朝向第一待匹配货格列表中的货格,分析部署在物品上的无源资产标签和无源压力传感标签的信号特征以及压力传感数据,实现对货格占用状态的二次判断及匹配,确定第二待匹配货格列表;将激励信号的波束依次朝向第二待匹配货格列表中的货格,通过分析尚未匹配的无源资产标签的信号特征以及天线辐射角,确定出第二待匹配货格列表中的货格是否存放有物品以及物品信息。本申请提供的货架定位方法、装置、电子设备、存储介质及程序产品可以提高定位精度、环境鲁棒性以及自动化程度,成本低、部署简便。

一种考虑过程存储的车间布局优化方法

NºPublicación:  CN121119206A 12/12/2025
Solicitante: 
北京工业大学
CN_121119206_PA

Resumen de: CN121119206A

本发明公开了一种面向离散制造系统的车间布局优化方法,针对制造过程中的过程存储行为和跨行物流路径问题,构建了考虑通道装卸点机制的多行设施布局数学模型。该方法在分析车间参数与物流路径的基础上,设定合理假设条件,定义设施空间位置、排列关系等决策变量,建立满足设施唯一性、非重叠性及边界限制的约束体系,并以最小化物料搬运成本为目标,采用曼哈顿距离与Floyd算法分别衡量同行与跨行运输距离。为求解该模型,设计了融合竞标赛选择与随机移民机制的改进型遗传算法,提升了算法收敛性能与全局搜索能力。本发明可显著降低跨行物流成本,优化设施布局的紧凑性与路径连贯性,适用于焊装、装配及仓储中转等具备过程存储特征的制造场景。

一种基于互联网的健康食品生产及流通管理方法

NºPublicación:  CN121120177A 12/12/2025
Solicitante: 
昆山德沃特水工业系统设备有限公司
CN_121120177_PA

Resumen de: CN121120177A

本发明公开了一种基于互联网的健康食品生产及流通管理方法,包括以下步骤:S1):商家入驻:筛选出符合资质的商家并制定生产标准;S2):过程监督:利用平台的监控系统进行全面、全时、全过程的电子监控,全程可追溯;S3):销售:买家可以实时关注自己想购买的商品的实时生产、加工、流通过程。本发明借助互联网、人工智能、区块链、现代通讯、高科技视像等技术,打造一个新型电商平台、建立一套行之有效的管理规则,让商家自觉自愿的生产出健康、绿色、安全的好商品,确保老百姓能便捷获得健康、安全、放心的“入口”商品。

将按需配送服务与虚拟事件同步,同时维护参与者的个人信息的隐私

NºPublicación:  CN121127871A 12/12/2025
Solicitante: 
克丽玛社交科技有限公司
CN_121127871_PA

Resumen de: WO2024215784A1

A first indication that a first product was delivered via a first delivery service to a first location corresponding to a first user associated with a first user account of a service platform is received by a processing device. A second indication that a second product was delivered via a second delivery service to a second location corresponding to a second user associated with a second user account is received by the processing device. The processing device determines that first product and the second product were delivered within a first time period associated with the event based on the first indication and the second indication. Responsive to determining that the first product and the second product were delivered within the first time period, a video conference for the event is initiated between a plurality of participants comprising the first user and the second user.

一种基于时空承载力的产品标识方法

NºPublicación:  CN121118955A 12/12/2025
Solicitante: 
深圳大学
CN_121118955_PA

Resumen de: CN121118955A

本发明所提供的一种基于时空承载力的产品标识方法,涉及产品生产信息标识技术领域,该方法包括:在产品生产初始阶段,生成当前产品的目标产品时空码;为当前产品分配目标商品码,将其与目标产品时空码绑定;在产品流转阶段,判断产品包装中已嵌入有目标商品码的当前产品是否作为下一产品生产过程中所需要的外部产品;若否,则在产品消费阶段通过用户终端设备识别产品包装上嵌入的目标商品码以获取目标产品时空码,提取目标产品时空码中记录的当前产品各生产环节的时空占用单元信息。本发明通过生成基于目标产品生产过程时空占用信息的目标产品时空码,与目标商品码绑定,实现产品生产过程时空占用唯一标识,为产品产地的时空承载力评估提供依据。

基于RFID标签的公共资产管理方法及系统

NºPublicación:  CN121119632A 12/12/2025
Solicitante: 
广东中世发智能科技股份有限公司
CN_121119632_PA

Resumen de: CN121119632A

本发明公开了基于RFID标签的公共资产管理方法及系统,涉及资产管理技术领域,通过为预设区域内的公共资产制定明确的操作顺序及触发位置,实现多资产操作的有序调度与精准控制,通过区分全局前序资产和相邻前序资产的双重状态验证机制,确保当前目标资产的操作仅在所有关键前序任务完成后启动,有效避免了操作冲突和流程断裂,同时,通过操作装置间的通信链路实时交互状态通知,构建了基于预设排序的链式协同操作流程,使各资产操作严格遵循逻辑序列依次执行,显著提升了公共资产管理的规范性、流程严谨性和整体执行效率,减少资源浪费与管理成本,满足了现代公共资产管理对高效协同、精准控制和有序执行的核心需求。

基于北斗多元信息融合的车辆运输路径规划方法及系统

NºPublicación:  CN121119339A 12/12/2025
Solicitante: 
华能陕西靖边电力有限公司西安热工研究院有限公司长安大学
CN_121119339_PA

Resumen de: CN121119339A

本发明公开了一种基于北斗多元信息融合的车辆运输路径规划方法及系统,属于大件运输路径规划技术领域,方法首先获取运输任务的起始点与目标点,依托北斗导航地图确定所有可行路径;继而采集各可行路线的路况信息及车辆属性信息,筛选出备选路线。将备选路线进行拓扑化和网格化划分。同时引入改进的D*Lite算法进行最优路线选择:通过驾驶员评分模型计算累积代价函数值与右值函数;借助路线安全风险评分模型构建启发函数。当检测到道路阻塞等突发状况时,触发动态重规划机制,确保运输路径的高效性与可靠性。该方法通过北斗多元信息融合与改进的D*Lite算法,实现了兼顾安全性、经济性与实时性的车辆运输路径规划。

一种货物联运系统

NºPublicación:  CN121119875A 12/12/2025
Solicitante: 
中车唐山机车车辆有限公司
CN_121119875_PA

Resumen de: CN121119875A

申请实施例中提供了一种货物联运系统,包括铁路运输平台、轨道车辆和智能单元小车;铁路运输平台接收终端下单的货物订单,生成货物物流信息,智能单元小车接收任务,前往取货点取货,小车满载后导航至车站候车区,列车到站小车驶入指定仓位,车辆核对智能单元小车状态;列车运行至目的地,到站后小车驶出车辆,并自主送货至目的地,任务完成将状态回传至铁路运输平台;其实现“门”到“门”全自动化货物联运,降低人力成本,提高运输效率,其通过智能单元小车实现从发货地直接取货,以及直达发货人,实现铁路和自动驾驶的无缝衔接;提高运输效率与资源利用率;同时增强物流透明度与可追溯性,减少功率货运车辆使用,支持城市低碳物流发展。

快递无头件管理方法、装置、设备及存储介质

NºPublicación:  CN121119861A 12/12/2025
Solicitante: 
上海韵达高新技术有限公司
CN_121119861_PA

Resumen de: CN121119861A

本发明涉及物流领域,公开了快递无头件管理方法、装置、设备及存储介质,该方法用于对快递无头件进行管理。该方法包括:获取无头件的面单残留图像和包裹外观图像,并提取得到包裹外观特征数据;对于面单残留图像,提取得到关键实体信息;获取无头件的物流节点数据,并将关键实体信息、包裹外观特征数据、物流节点数据输入预训练的Transformer融合模型进行融合处理,以得到无头件特征向量;使用改进的Siamese神经网络,计算无头件特征向量与历史订单特征向量的相似度,得到相似度结果;筛选出匹配订单,并将匹配订单推送至用户以获取用户反馈,若用户反馈确认某匹配订单为正确匹配,则将无头件与确认的匹配订单关联存储。

基于定时任务调度的钢铁产成品全程物流跟踪及预警方法

NºPublicación:  CN121119886A 12/12/2025
Solicitante: 
欧冶云商股份有限公司
CN_121119886_PA

Resumen de: CN121119886A

本发明涉及一种基于定时任务调度的钢铁产成品全程物流跟踪及预警方法,包括:获取智慧物流服务平台上钢铁产成品的提单信息,形成运输计划;基于铁运运输计划,自动生成铁运派车单,并根据定时调取的铁运轨迹信息,创建铁运运输节点;基于汽运运输计划和水运运输计划,分别分配执行承运商,进一步形成汽运派车单和水运派车单,并获取对应的运输执行反馈;基于派车单,配置多种预警信息并为每种预警信息设置对应的定时任务,以对全程运输情况进行预警;获取物流跟踪服务需求方的访问请求,根据配置好的服务访问token访问配置好的网址,实现全程物流跟踪。与现有技术相比,本发明具有提高物流运输效率等优点。

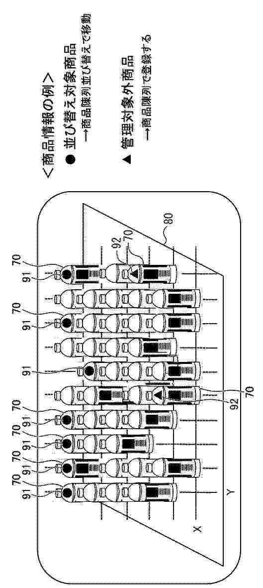
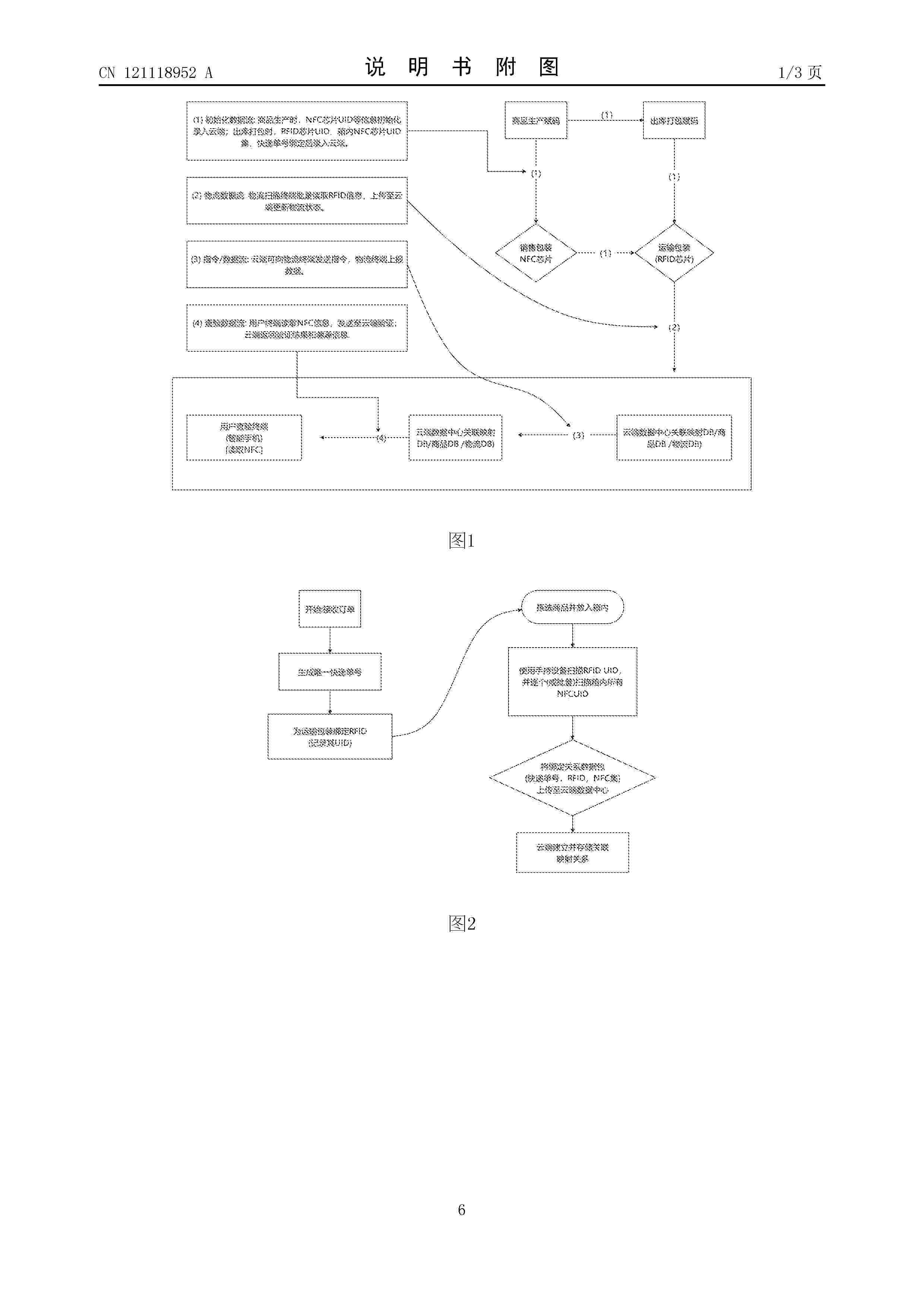
一种高效智能的RFID溯源NFC查验的防伪溯源系统

NºPublicación:  CN121118952A 12/12/2025
Solicitante: 
北京盛旺世纪彩色印刷有限公司
CN_121118952_A

Resumen de: CN121118952A

本发明公开了一种高效智能的RFID溯源NFC查验的防伪溯源系统,涉及商品防伪与物流溯源技术领域。该系统包括:赋码于商品销售包装上的NFC防伪芯片、赋码于运输包装上的RFID物流芯片、云端数据中心、用户查验终端(NFC手机)以及物流扫描终端(智能仓库门式读写器或手持PDA)。所述NFC芯片存储有唯一UID号及加密的防伪信息;所述RFID芯片存储有唯一UID号及物流信息;云端数据中心将快递单号、商品信息、NFC芯片UID、RFID芯片UID进行关联绑定;用户通过智能终端读取NFC芯片完成防伪查验,物流人员通过RFID读写设备批量快速读取RFID芯片完成物流中转登记。本发明通过NFC与RFID技术的结合,解决了现有二维码系统易复制、识别慢的问题,实现了防伪能力高、溯源效率快、用户体验佳的一体化解决方案。

一种用于PCB板生产的AGV区域规划及调度优化方法

NºPublicación:  CN121119508A 12/12/2025
Solicitante: 
上海山崎电路板有限公司
CN_121119508_PA

Resumen de: CN121119508A

本发明涉及的一种用于PCB板生产的AGV区域规划及调度优化方法,首先基于历史数据对存料区进行科学分区,并为AGV分配主责区域以初步优化路径;进而,通过中央调度系统实时监控任务队列和AGV状态,在检测到任务积压时动态调度空闲AGV进行跨区支援,有效解决忙闲不均和拥堵问题;还可集成基于分时电价的智能充电策略,调度低电量AGV在谷时段充电。本发明显著提升了AGV系统的运输效率、灵活性和能耗经济性,高度适配PCB现代混线生产的需求。

基于大数据的物流运输调度系统与方法

NºPublicación:  CN121119229A 12/12/2025
Solicitante: 
嘉友国际物流股份有限公司
CN_121119229_PA

Resumen de: CN121119229A

本发明涉及物流调度优化技术领域,公开了基于大数据的物流运输调度系统与方法。该方法包括建立物流运输节点的网络拓扑结构,采集各物流节点的实时运行状态数据;通过运输状态评估模块对采集到的数据进行处理,生成运输动态评估值;利用动态调度模块根据评估值生成运输路径调整指令;将指令传输至对应的物流节点执行设备执行调度操作。其中,物流节点运行状态数据在运输状态评估模块与动态调度模块之间实时交互传递,动态调度模块依据评估结果触发调度操作,调度操作产生的节点状态变化数据回传至运输状态评估模块进行再评估。该方法通过数据的实时交互和闭环处理,实现了物流运输的动态优化调度,提升了物流运输的效率和适应性。

一种无人机医疗物资运输路径规划方法及系统

NºPublicación:  CN121119321A 12/12/2025
Solicitante: 
西安理工大学
CN_121119321_PA

Resumen de: CN121119321A

本发明提供了一种无人机医疗物资运输路径规划方法及系统,属于医疗物资调度领域,包括以下步骤:对无人机医疗物资运输路径规划多目标优化模型随机初始化得到路径规划初始种群;计算路径规划初始种群的双角距离指标;通过双角距离指标筛选构建交配池;以交配池中运输路径规划方案作为父代种群,采用模拟二进制交叉和二项式突变生成子代种群;得到运输路径父代和子代的合并种群,通过两阶段环境选择机制得到运输路径优选种群;运输路径优选种群的进化代数达到设定进化代数,优化完成,获得一组不同的医疗物资运输路径方案。解决无人机在多个优化目标难以平衡的冲突,提高物资分配效率。

物品需求的自动检测与管理

NºPublicación:  CN121120178A 12/12/2025
Solicitante: 
电子湾有限公司
CN_121120178_PA

Resumen de: US2025378480A1

Item request management employing secure hashes to queue item requests for processing is leveraged with an online platform supporting item listings. In one or more implementations, item request data associated with an item request for a listed item is received. The item request data includes information such as a recipient for the item and/or an item procurement quantity associated with the item request. A secure hash is generated from the item request data, with the secure hash storable in a secure hash ring to represent the item request data in the secure hash ring. A queued item request is generated in an item request processing queue from the secure hash, and the queued item request is processed to allocate an amount of the item equal to the procurement quantity to the recipient.

内燃机制造碳足迹核算方法、装置、电子设备、存储介质及计算机产品

NºPublicación:  CN121120342A 12/12/2025
Solicitante: 
中移物联网有限公司中国移动通信集团有限公司
CN_121120342_PA

Resumen de: CN121120342A

本申请涉及碳足迹核算技术领域,提供一种内燃机制造碳足迹核算方法、装置、电子设备、存储介质及计算机产品,方法包括:从制造预设数量的目标内燃机的物料清单中确定目标物料集;确定目标物料集中各物料在生产过程所产生的第一碳排放总量;确定目标物料集中各物料在运输过程所产生的第二碳排放总量;确定基于目标物料集进行目标内燃机的组装所产生的第三碳排放总量;确定组装的预设数量的目标内燃机在测试过程所产生的第四碳排放总量;确定处理预设数量的目标内燃机的组装及测试过程产生的废弃物所产生的第五碳排放总量;对各碳排放总量进行加和运算,得到预设数量的目标内燃机的制造碳排放总量。本申请可以提高内燃机制造的碳足迹核算的准确性。

一种面向车队组织的多成员找货意图管理交互方法及系统

NºPublicación:  CN121119878A 12/12/2025
Solicitante: 
南京满运冷链科技有限公司
CN_121119878_PA

Resumen de: CN121119878A

本发明公开了一种面向车队组织的多成员找货意图管理交互方法及系统,涉及物流信息平台开发技术领域,包括:为车队调度员,构建车队成员管理界面,用于对车队成员进行添加与删除管理;在车队成员管理界面,设置找货筛选区,依据所述车队调度员为每个车队成员设置的找货意图,根据每个车队成员选择的搜货条件,进行自动化派单。本发明有效提高来了调度人员找货提效,提高整体履约率。

基于时空协同的众包骑手智能派单方法及系统

NºPublicación:  CN121119640A 12/12/2025
Solicitante: 
餐道信息科技有限公司
CN_121119640_PA

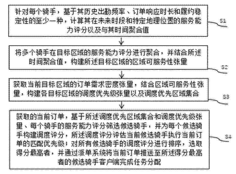
Resumen de: CN121119640A

本发明提出基于时空协同的众包骑手智能派单方法及系统,方法包括:针对每个骑手,计算其在未来时段和特定地理位置的服务能力评分以及与其时间聚合值;将多个骑手在目标区域的服务能力评分进行聚合,构建所述目标区域的区域可服务性张量;获取当前目标区域的订单需求密度张量,构建各目标区域的调度优先级张量以及调度优先区域集合;获取当前订单,为每个候选骑手构建调度评分,评估当前候选骑手执行当前订单的匹配优先级;对所有候选骑手的调度评分进行排序,选取得分最高者,并通过派单系统将当前订单推送至所述得分最高者的候选骑手客户端完成任务分配。本发明系统性解决众包场景下供需错配、爆发滞后、供给不稳与派发不可控等关键问题。

一种考虑退役设备利用的应急物资调度方法

NºPublicación:  CN121119624A 12/12/2025
Solicitante: 
云南电网有限责任公司玉溪供电局
CN_121119624_PA

Resumen de: CN121119624A

本发明涉及一种考虑退役设备利用的应急物资调度方法,属于应急物资调度技术领域。该方法包括构建公平性目标函数、构建受灾人员损失目标函数、构建应急物资成本目标函数、构建应急物资调度模型、模型求解五大步骤。本发明提高了物资的利用率和回收率,不仅提高了物资的分配合理性,而且减少了不必要的能源损耗和人员调度,易于推广应用。

一种基于迭代逼近的库存管理方法及系统

NºPublicación:  CN121119908A 12/12/2025
Solicitante: 
神州数码系统集成服务有限公司
CN_121119908_PA

Resumen de: CN121119908A

本发明公开了一种基于迭代逼近的库存管理方法及系统,库存管理方法包括:获取待管理备件的历史消耗数据,并基于历史消耗数据计算长期平均消耗量,基于长期平均消耗量,计算第一库存目标。获取待管理备件在第一个管理周期内的第一实际消耗数量;计算待管理备件在第一个管理周期内的第一消耗偏差。利用迭代逼近模型基于周期性偏差和学习率来迭代生成第二库存目标,进而生成待管理备件的库存管理信息。本发明能够实现库存目标能够随着备件的实际消耗情况而动态调整,从而提高了库存管理的精确性和灵活性。

以物流订单为基础的碳减排运输路径选择方法及系统

NºPublicación:  CN121119896A 12/12/2025
Solicitante: 
中远海运物流供应链有限公司复旦大学
CN_121119896_PA

Resumen de: CN121119896A

本申请提供了一种以物流订单为基础的碳减排运输路径选择方法及系统。该方法包括:获取物流站点信息和用户的订单信息,生成并计算多条运输路径的总碳排量和总时长;确定运输路径时,首先考虑货物类型,基于不同的货物类型采用不同的路径选择策略。若货物类型为普通货物,第一考量因素为总碳排量。若货物类型为恒温货物或冷冻货物,第一考量因素为总时长;当多个路径的总时长相同时,则第二考量因素为总碳排量。本申请中实现了面向用户订单的、事前可执行的、基于货物特性精准定制的、系统整合的低碳运输路径优化决策,降低了物流运输环节的碳排放强度,助力“双碳”目标,还通过优化能源消耗和运营效率。

一种基于经纬度的车辆装卸货状态上传方法及系统

NºPublicación:  CN121119895A 12/12/2025
Solicitante: 
东风悦享科技有限公司
CN_121119895_PA

Resumen de: CN121119895A

本发明涉及一种基于经纬度的车辆装卸货状态上传方法,所述方法包括:步骤1,配置车辆班次的运输线路;步骤2,根据运输线路新建运输计划,并进行运输计划管理,下发运输任务至车辆;步骤3,下发运输任务后,若超过预设时长,无人为操作,车辆则自动接收运输任务,并反馈接收情况至云平台;步骤4,车辆接收运输任务后,实时上报车载单元报文,云平台接收到车辆反馈后,对车载单元报文进行解析,得到车辆经纬度坐标信息,将其与装货场站和卸货场站的范围进行比较,根据比较结果,判断车辆装卸货状态,从而结束对应班次的运输任务,完成物流运输的流程闭环。该方案解决现有技术依赖人工参与,造成车辆装卸货状态管理效率低、成本高的技术问题。

送审物资的审核方法、装置、电子设备、介质及程序产品

NºPublicación:  CN121120284A 12/12/2025
Solicitante: 
中国移动通信集团有限公司卓望信息技术(北京)有限公司
CN_121120284_PA

Resumen de: CN121120284A

本申请提供一种送审物资的审核方法、装置、电子设备、介质及程序产品,涉及工程项目审核技术领域。该方法通过结构化信息提取,实现了对送审文件的自动化的文件解析与信息提取,提高了对物资审核的效率。本申请通过互斥关系和共生关系,实现了对定额数量的智能调整,提高了定额数量的准确性,进而提高了对实送审物资审核的准确性和效率。同时,本申请实现了对实送审物资清单的智能审核,减少了人工干预,降低了审核错误率和审核成本,同时也提高了审核效率。

物资随机抽检方法及其系统

NºPublicación:  CN121119826A 12/12/2025
Solicitante: 
中交三航局第三工程有限公司
CN_121119826_PA

Resumen de: CN121119826A

本发明公开了物资随机抽检方法,系统记录各供应商的送货单信息,在每天送货开始前,根据当天的送货单信息,随机选出一个送货单生成质检任务单,发送至质检人员进行质量检查,质检人员在质检完成后记录各种数据并保存,供后续管理分析使用。本发明通过引入随机抽检机制,消除了传统固定质检方法中存在的供应商作弊风险,提高了质检的有效性和公正性;同时,灵活的质检模式设置使得仓储管理人员能够根据实际需求调整质检策略,提升了系统的适应性和管理效率;系统自动生成质检任务单,减少了人工操作的复杂性和出错率,确保了质检流程的规范化和可追溯性,整体提升了仓储管理的质量控制水平。

一种基于大数据的多类型回收服务智能分配方法

NºPublicación:  CN121119521A 12/12/2025
Solicitante: 
深圳市爱博绿环保科技有限公司
CN_121119521_PA

Resumen de: CN121119521A

本申请提供一种基于大数据的多类型回收服务智能分配方法,包括:将废品回收旺季和淡季的需求变化与历史价格波动数据结合,识别价格上涨初期,生成上涨信号,并分析价格上涨初期的废品种类的供需变化,识别高价值废品种类;结合上涨信号和回收渠道偏好,生成包含高价值废品种类和回收时间建议的提醒内容,推送提醒内容到优先干预用户列表中相应的用户中;识别接收到提醒内容用户的位置附近的站点的距离,根据用户位置附近站点的距离确定服务类型,服务类型包括分配最近站点和上门回收;根据废品回收分配计划更新站点库存容量和回收任务完成率,同时根据废品回收旺季和淡季的需求变化,调整车辆和站点资源分配以强化季节性供需峰值处理。

一种贩卖机补货分析方法及系统

NºPublicación:  CN121120046A 12/12/2025
Solicitante: 
上海趣致网络科技有限公司
CN_121120046_A

Resumen de: CN121120046A

本发明公开一种贩卖机补货分析方法及系统,该方法通过边缘计算节点实时采集贩卖机货道的库存数据及设备状态参数,获取贩卖机交易系统的历史销售数据及用户交互记录,构建多维度数据集;通过销量预测模型对所述多维度数据集进行融合时间特征、历史特征及环境特征分析,预测未来指定时段的商品销量;根据预测的未来指定时段的商品销量、实时库存数据及动态调整安全系数,计算实时补货阈值;结合所述实时补货阈值与实时库存状态,生成贩卖机的补货策略;还可进行关联商品协同补货、异常检测及库存可视化管理,实现贩卖机补货的智能化与精准化。本发明结合销售预测与库存状态生成最优补货策略,降低缺货率与库存积压。

一种用于酒店布草管理的数据处理方法

NºPublicación:  CN121119470A 12/12/2025
Solicitante: 
江苏小白龙洗涤科技有限公司
CN_121119470_PA

Resumen de: CN121119470A

本发明公开了一种用于酒店布草管理的数据处理方法,涉及数据处理技术领域,包括以下步骤:进行布草标识绑定,得到布草基础档案;根据布草基础档案进行布草状态记录获取,得到布草流转记录;根据布草流转记录进行布草异常状态识别,得到异常布草集合;根据异常布草集合进行布草寿命评估,得到布草可用性标签;根据布草可用性标签进行布草调度优先级排序,得到布草调度序列;根据布草调度序列进行布草状态更新,得到布草状态集合。本发明提升了异常识别的全面性,增强了布草流转数据的可追溯性,实现了布草资源的均衡管理,提高了布草的使用效率。

一种基于图神经网络的供应链多层级关系识别方法

NºPublicación:  CN121117852A 12/12/2025
Solicitante: 
深圳链工科技集团有限公司
CN_121117852_PA

Resumen de: CN121117852A

本发明公开了一种基于图神经网络的供应链多层级关系识别方法,包括如下步骤:S1、采集供应链数据并预处理生成原始图结构;S2、依据企业行业类型、法人性质与交易频率构建三维节点特征向量;S3、提取节点的入度、出度、路径深度与方向,生成层级位置编码并与特征向量拼接,得到结构层级嵌入向量集合;S4、输入Geom‑GCN模型,基于图距离与方向一致性选取邻居节点,生成结构感知嵌入表示集合;S5、构建节点对输入分类网络,输出关系类型标签;S6、根据标签补全被代理节点遮蔽的供货边,构建修复后图结构;S7、执行路径跳数与上游角色校验,生成多层级关系识别结果。本发明实现供应链多层级关系的精准识别与路径结构的高效修复。

一种基于大模型的道路交通事故深度调查数据与创伤评分的伤员智能分拣方法

NºPublicación:  CN121119835A 12/12/2025
Solicitante: 
中国汽车工程研究院股份有限公司
CN_121119835_PA

Resumen de: CN121119835A

本发明属于模型应用技术领域,尤其涉及一种基于大模型的道路交通事故深度调查数据与创伤评分的伤员智能分拣方法,首先搭建多终端、多维度数据采集网络,采集全流程多源数据并完成预处理;接着依据预设创伤评分规则构建多评分融合模型并嵌入伤员智能分拣大模型,结合事故场景调用动态权重分配模型确定各评分权重,同时按评分输入源、特征维度及权重构建评分特征矩阵;然后构建融合医院与交通事故工程学知识及关联信息的跨领域知识图谱,融入分拣大模型;最后通过多模态特征提取与融合、优化策略及增量学习训练模型,得到最终的伤员智能分拣大模型。本发明能够解决现有技术中的伤员分拣方法存在的效率低、伤员评估准确率低的问题。

基于农产品供需匹配的智能销售控制方法及系统

NºPublicación:  CN121119576A 12/12/2025
Solicitante: 
广东翠科农业科技有限公司
CN_121119576_PA

Resumen de: CN121119576A

本发明公开了基于农产品供需匹配的智能销售控制方法及系统,属于数字化转型与智能供应链管理技术领域;该方法包括:将供需匹配过程分为实时供需匹配策略和预测供需匹配策略,并将二者相结合,生成最终的供需匹配策略;通过最终的供需匹配策略进行销售方案的制定,并通过反馈机制对匹配策略和销售进行调整;该方法给出了涉及生产、匹配、销售和反馈的全产业链的农产品智能销售控制方法;同时,该方法的实时供需匹配策略反应了实时的市场供给能力和需求,预测供需匹配策略反应为未来市场的供需关系;因此,生成的最终的供需匹配策略保留了市场实时和未来的需求,生成的销售策略将更符合市场实际情况,有益于提高市场农产品的销售效率。

一种基于智能网联新能源汽车电池剩余寿命预测及逆向物流流程动态优化方法及系统

NºPublicación:  CN121119868A 12/12/2025
Solicitante: 
江苏大学
CN_121119868_PA

Resumen de: CN121119868A

本发明提供了一种基于智能网联新能源汽车电池剩余寿命预测及逆向物流流程动态优化方法及系统,包括如下步骤:通过车载终端实时获取车辆运行信息和电池状态信息;构造基于BiLSTM的锂离子电池剩余寿命预测模型,并利用改进的白鲸优化算法优化锂离子电池剩余寿命预测模型中的参数;根据锂离子电池容量数据和剩余寿命,得出各区域电池报废数量和时间分布,通过改进的粒子群优化算法,对逆向物流网络中各节点之间的物流量进行分配,得出最优的回收与报废路径,在满足回收需求与运输约束的前提下,实现区域整体物流成本与碳排放成本的双重优化。本发明可动态优化各回收节点间的物流量配置方案,提升回收网络的整体运行效率。

一种基于深度学习的智能调度事故预案优化方法

NºPublicación:  CN121119247A 12/12/2025
Solicitante: 
国网辽宁省电力有限公司本溪供电公司
CN_121119247_PA

Resumen de: CN121119247A

本发明属于电力调度控制技术领域,公开了一种基于深度学习的智能调度事故预案优化方法,旨在解决传统电力事故调度依赖人工经验、预案生成效率低、难以适配分布式光伏与储能广泛应用现状的问题。其核心技术路径为:以海量历史调度事故数据为基础,通过深度学习模型自动挖掘事故处理关键特征,融合分布式光伏出力、储能充放电特性,构建兼顾事故状态下潮流平衡的多源特征学习框架;生成动态优化的结构化预案。应用该方法可显著提升事故预案的生成效率与准确性,加快事故处置速度,有效降低停电时长与经济损失,同时保障分布式能源接入后电力系统的潮流稳定性,最终提升电力系统整体可靠性与安全运行水平。

骑手互助闪送系统及方法

NºPublicación:  CN121119512A 12/12/2025
Solicitante: 
深圳鼎文昇科技有限公司
CN_121119512_PA

Resumen de: CN121119512A

本发明公开了一种骑手互助闪送系统及方法,所述系统包括服务端及若干骑手端,服务端包括:订单采集模块:采集各骑手端的派送订单的数据;聚类优化模块:对预计可取货时间、目标送达时间均在预设范围内的派送订单中的取货地址和收货地址进行聚类优化;订单合并模块:对派送订单合并为顺路集合、取货集合、收货集合;订单分配模块:将派送订单进行分组,按组将派送订单分配给骑手;路径规划模块:为每个骑手规划取货和送货顺序以及派送路径,在骑手完成派送订单后,将代送费用支付给对应的骑手。本发明使骑手之间能够进行互助,提升了配送效率,降低了骑手的工作强度,使骑手花更少时间配送更多单,获得更多收入。

一种基于多智能体强化学习的电动重卡协同调度优化方法

NºPublicación:  CN121119519A 12/12/2025
Solicitante: 
华北电力大学(保定)国网新疆电力有限公司营销服务中心
CN_121119519_PA

Resumen de: CN121119519A

一种基于多智能体强化学习的电动重卡协同调度优化方法,属于需求侧资源调度与智能交通技术领域,首先对电动重卡及车网互动系统建模,刻画运输任务、充放电及电网交互的约束关系;其次构建马尔可夫决策过程,定义单智能体的状态、动作、状态转移规则与奖励函数,将调度问题转化为强化学习可解的决策问题;接着基于MAPPO算法,采用“分布式执行‑集中式评判”架构,训练多智能体协同决策模型,通过动作掩码确保决策可行性,利用全局价值评估实现协同优化;最后基于训练模型实现电动重卡的动态调度与优化决策。本发明能在满足运输时效性与电池安全约束的同时,平衡运输效率与电网交互成本,提升电动重卡车队的整体运行经济性与协同性。

一种基于人工智能的危化品运输车辆运行轨迹跟踪方法

NºPublicación:  CN121119888A 12/12/2025
Solicitante: 
北京安合众道安全技术有限公司
CN_121119888_PA

Resumen de: CN121119888A

本发明公开了一种基于人工智能的危化品运输车辆运行轨迹跟踪方法,涉及智能交通与工业安全监测技术领域,本发明引入区域动态划分模块和图神经网络建模,实现了对工业园区路网功能的实时与动态识别;这使得系统能够摆脱对预设静态地理围栏的依赖,自动适应因生产计划调整、施工或临时活动导致的区域功能变化,极大提升了系统在真实复杂环境下的适用性和灵活性;采用多模态特征提取网络联合处理车辆轨迹与区域功能数据,综合利用时序卷积网络捕捉车辆微观运动模式,并利用图注意力网络理解区域间的语义关联;能够精准区分装卸作业区内的正常长时间停留与非作业区的短时违规停留。

一种基于销售订单的成本收入确认系统及方法

NºPublicación:  CN121120277A 12/12/2025
Solicitante: 
启明信息技术股份有限公司
CN_121120277_PA

Resumen de: CN121120277A

本发明公开了一种基于销售订单的成本收入确认系统及方法,该系统包括:基础数据模块,用以支持销售订单、销售出库、销售发票时获取数据和相关设置;销售订单模块,用以承接销售合同,并向下传递至HYPERLINK "https://baike.baidu.com/item/%E9%94%80%E5%94%AE%E5%8F%91%E8%B4%A7/0?fromModule=lemma_inlink" \t "https://baike.baidu.com/item/%E9%94%80%E5%94%AE%E8%AE%A2%E5%8D%95/_blank"销售发货,实现企业对销售活动的管理;销售出库管理模块,用以承接销售订单,并向下传递至销售发票,实现企业实物流与数据流的统一;销售发票管理模块,用以承接销售出库单,实现企业质保金、成本、收入的确认,确保收入与成本同步。本发明在确认销售收入的同时,对销售成本进行结转,简化业务操作,提高效率、提高财务数据准确性,真实性。

一种药品信息自动识别与匹配入库方法、装置、设备、介质及产品

NºPublicación:  CN121116998A 12/12/2025
Solicitante: 
成都字节流科技有限公司
CN_121116998_PA

Resumen de: CN121116998A

本发明公开了一种药品信息自动识别与匹配入库方法、装置、设备、介质及产品,涉及医药仓储信息化技术领域。所述方法是先使用多模态大模型分析入库单图片以识别出药品固态信息和药品动态信息,然后分别计算各个候选药品的药典信息与药品固态信息的相似度,并根据计算结果提取出相似度最高的多个候选药品的完整记录信息,再然后将提取结果导入具有多种语义纠错能力的大语言模型,输出得到与目标药品最匹配的某个候选药品的唯一标识,最后将该唯一标识与药品动态信息绑定写入数据库,如此通过多模态图像识别与大模型语义匹配,可有效提升整个药品信息入库方案的复杂表格识别能力、模糊匹配能力和/或容错性,便于实际应用和推广。

基于大数据分析的农业废弃物资源化布局模拟方法与系统

NºPublicación:  CN121119243A 12/12/2025
Solicitante: 
中国农业科学院农业环境与可持续发展研究所
CN_121119243_PA

Resumen de: CN121119243A

本发明公开了一种基于大数据分析的农业废弃物资源化布局模拟方法与系统,属于农业废弃物处理领域,包括:根据动态分布特征,采用地理信息系统分析地形起伏和道路状况,构建空间约束模型,确定运输路径的可行性范围;若地形起伏超过预设阈值,则通过加权距离算法调整运输路径,得到优化后的路径成本集合;通过候选设施选址点集,采用K均值聚类算法,划分服务半径范围,确定各设施的服务覆盖区域;根据服务覆盖区域和动态分布特征,计算各区域的废弃物处理能力需求,得到设施规模配置方案;若处理能力需求超出预设阈值,则通过迭代优化算法调整选址点集和覆盖区域,得到最终的资源化设施布局方案。本发明能够进行合理的农业废弃物回收布局。

物流订单的时效监测方法、装置、存储介质及服务器

NºPublicación:  CN121120216A 12/12/2025
Solicitante: 
深圳市跨越新科技有限公司
CN_121120216_PA

Resumen de: CN121120216A

本申请实施例公开了一种物流订单的时效监测方法、装置、存储介质及服务器,涉及物流技术领域。本申请通过实时获取物流订单的属性数据,并利用预训练的机器学习模型对数据进行处理,输出预测的延误原因。根据预测原因自动匹配相应的处置策略,生成催件预警事件,并将该事件推送至相关数字看板和区域负责人。同时,获取预警事件的处置结果数据并在数字看板上进行展示。当满足机器学习模型更新条件时,基于历史时间区间内的催件延误记录对模型参数进行优化。本申请实现对延误事件的主动预警和智能处置,有效减少客户催件事件的发生源头,提升响应速度和处理效率。

一种基于BPM的仓库智能化管理方法及系统

NºPublicación:  CN121119919A 12/12/2025
Solicitante: 
深圳云集智造系统技术有限公司
CN_121119919_PA

Resumen de: CN121119919A

本发明公开了一种基于BPM的仓库智能化管理方法及系统,涉及仓库管理领域,本发明通过构建三个映射模型并结合‌优先优化原则,若仅需调整受力,则直接修改受力数据,避免因移动物品引入新风险;减少不必要的搬运操作,降低人流量与高度变化带来的二次损伤概率;当受力调整无法满足阈值要求时,同步优化存储高度;通过多维度参数组合,更快达到安全阈值;平衡计算效率与调整成功率,防止系统在无效参数上过度消耗资源;仅当双损伤等级均低于阈值时判定成功时停止;优先尝试单参数调整,仅当失败时启用多参数模型,减少复杂计算频次;第三次调整过程中实时更新人流量数据避免因环境变化导致二次损伤。

一种应用于城市空中交通运营的低空无人机机队一体化调度方法

NºPublicación:  CN121119603A 12/12/2025
Solicitante: 
北京航空航天大学
CN_121119603_PA

Resumen de: CN121119603A

本发明公开了一种应用于城市空中交通运营的低空无人机机队一体化调度方法,涉及城市空中交通管理技术领域;该调度方法的步骤包括:于选定的目标地域中部署预构建的混合整数线性规划模型,并进行参数初始化,获取初始化参数集;其中,初始化参数集包括:网络构建参数、机队与任务参数和成本参数;将初始化参数集输入至混合整数线性规划模型,运行过程包括:定义决策变量和目标函数,以最小化目标无人机的对应成本,并设定约束条件;其技术要点为:该方法能够集成考虑充电需求、任务调度和网络资源的分配,旨在解决混合任务需求、资源限制和空域拥堵相关的复杂时空问题,以提升无人机运输网络的运营效率、安全性和公平性。

物流包裹破损AI识别方法、装置、设备及存储介质

NºPublicación:  CN121121288A 12/12/2025
Solicitante: 
上海韵达高新技术有限公司
CN_121121288_PA

Resumen de: CN121121288A

本发明涉及信息处理技术领域,尤其涉及一种物流包裹破损AI识别方法、装置、设备及存储介质,利用文本对抗样本对预设的自然语言处理模型进行优化,通过自然语言处理模型识别最新文字信息的文字内容,当文字内容中包含破损关键词时,则将物流包裹判定为破损件,当文字内容中不包含破损关键词时,则利用深度学习图像分类算法提取最新图片信息的图片特征,并将图片特征与预设的破损特征进行余弦相似度计算,当相似度分值大于预设的相似度阈值时,则将物流包裹判定为破损件,将被判定为破损件的物流包裹记录在破损包裹数据报表中,通过由自然语言处理和计算机视觉组成的AI技术实现物流破损件的自动化识别,提升审核效率且降低误判率,提升客户满意度。

一种适用于仓储设施维护的移动智能钻孔系统及方法

NºPublicación:  CN121119915A 12/12/2025
Solicitante: 
太原科技大学
CN_121119915_PA

Resumen de: CN121119915A

本发明公开一种用于仓储货架巷道的移动智能钻孔系统及方法,属于智能仓储维护技术领域。系统包括上位机、履带式移动底盘、UR10机械臂(配置有独立的图像处理与控制单元)、自动钻孔装置与双目视觉装置;其中,上位机通过ROS2‑Humble程序及Socket技术与履带式移动底盘、UR10机械臂实时通信。方法核心在于改进的全局‑局部路径规划:全局层以“路线概率图+偏执采样+改进A*”生成全局平滑路径,局部层以向量直方图实时微调与避障;UR10机械臂配置的独立的图像处理与控制单元集成图像增强、YOLOv11目标检测与YOLOv11材质识别模块,实时获得钻孔三维坐标并自动匹配工艺参数。系统支持手动/自动双模式,本发明能在狭窄环境中连续完成导航、定位、识别与钻孔全流程,显著减少人工干预,适应性强、稳定性高。

一种仓库拣货路径规划方法、装置、设备及介质

NºPublicación:  CN121113083A 12/12/2025
Solicitante: 
北京晋辉科技有限公司
CN_121113083_A

Resumen de: CN121113083A

本申请涉及仓库物流领域,尤其是涉及一种仓库拣货路径规划方法、装置、设备及介质。方法包括:本申请通过先明确当前拣货任务状态,获取拣货动作空间及对应奖励机制,以此为基础确定下一拣货动作,再结合当前状态与该动作推算出下一任务状态,最后综合当前状态、下一动作、奖励机制和下一状态来生成最短拣货路径,实现能够依据实时任务情况动态调整拣货动作,充分考量各种可能因素,从而有效优化拣货路径,减少不必要的行走距离与时间消耗,显著提升仓库拣货作业的效率。

多区域仓库的智能补货方法、系统、电子设备及存储介质

NºPublicación:  CN121119914A 12/12/2025
Solicitante: 
深圳数智欣成科技有限公司
CN_121119914_PA

Resumen de: CN121119914A

本发明公开了一种多区域仓库的智能补货方法、系统、电子设备及存储介质,涉及仓储管理技术领域,所述多区域仓库的智能补货方法包括以下步骤:S10,采集业务数据;S20,对业务数据进行预处理;S30,基于预处理后的业务数据构建数据模型;S40,构建补货决策模型,并以数据模型作为补货决策模型的输入,通过补货决策模型生成最优补货方案对应的数学解;S50,解析数学解,以生成数学解对应的补货方案。本发明的有益效果:能够突破传统方法的局限,在多区域仓库网络中实现考虑严格时间窗约束和动态运价环境下的、支持日多批次补货的调拨‑路径‑批次联合优化决策,从而优化了补货的精准性、时效性与经济性。

商品智能编码方法、装置、计算机设备及存储介质

NºPublicación:  CN121119911A 12/12/2025
Solicitante: 
玉湖冷链供应链(深圳)有限公司
CN_121119911_PA

Resumen de: CN121119911A

本发明公开了商品智能编码方法、装置、计算机设备及存储介质,是先获取入库商品初始信息;根据第一编码策略对其进行编码得到第一编码信息;根据第二编码策略对实际商品入库信息进行编码得到第二编码信息;构建第一编码信息与第二编码信息的绑定映射关系。本发明实施例能在未查收到实际商品时根据入库商品初始信息及第一编码策略进行快速的初次编码得到第一编码信息,在物流仓库区域对应查收到实际商品时,采集获取实际商品入库信息并结合第二编码策略进行二次编码得到第二编码信息,不仅提高了第一编码信息的编码效率以便于快速发出入库申请,而且在实际商品入库时能进行二次编码及校验,确保编码结果的准确性。

一种基于数字化物流的货运管理方法、系统及计算设备

NºPublicación:  CN121119871A 12/12/2025
Solicitante: 
安徽博洛克供应链科技股份有限公司
CN_121119871_PA

Resumen de: CN121119871A

本申请公开了一种基于数字化物流的货运管理方法、系统及计算设备,涉及物流数据处理技术领域,解决了现有技术中通过人工的方式进行货物与货车进行分配,导致的货运管理的效率降低的技术问题;包括:获取若干待运输货物的货物信息;获取若干空闲状态货运司机的货运司机信息;基于货物信息和货运司机信息生成初步推荐表单;基于初步推荐表单确定待运输货物与货运司机之间的运输关系;基于运输关系进行货物运输;获取运输信息,对运输信息进行分析生成运输过程检验信号实现货物与货运司机的自动推荐,大大提高了货物与货车分配的效率,进而提高了货运管理的效率。

智能智慧计划管理方法及系统

NºPublicación:  CN121119912A 12/12/2025
Solicitante: 
重庆川页科技发展有限公司
CN_121119912_PA

Resumen de: CN121119912A

本申请提供了一种智能智慧计划管理方法及系统,属于工业自动化技术领域,该方法应用于智能计划管理设备,智能计划管理设备包括智能储存盒、生产设备和控制器;智能储存盒用于存储并向生产设备提供耗材;生产设备还包括用量监测器;控制器分别与智能储存盒和生产设备进行数据交互;该方法由控制器执行;该方法包括:基于用量监测器实时获取生产设备的耗材消耗量;当耗材消耗量达到预设报废阈值时,将其记录为报废耗材;基于报废耗材的数量通过智能储存盒进行换新;通过智能储存盒实时获取耗材的库存状态信息;基于库存状态信息,按预设采购周期阈值自动计算并生成采购订单自动进行采购。本申请可以减少非计划性停产以及仓储浪费等情况出现。

一种船舶舾装件清单编制系统及方法

NºPublicación:  CN121119926A 12/12/2025
Solicitante: 
中国船舶集团有限公司第七一九研究所
CN_121119926_PA

Resumen de: CN121119926A

本发明公开一种船舶舾装件清单编制系统及方法,涉及船舶设计与制造技术领域。所述系统包括:多用户端子系统,用于登录多专业用户;汇总用户端子系统,用于接收并整合各用户提交的信息,并存储舾装件基础信息库,记录项目全声明周期数据;中央数据库子系统,用于存储舾装件基础信息库、项目全生命周期舾装件数据,并提供数据检索、统计分析和报表生成功能。本发明能够通过多用户端协同工作模式、智能数据校验机制、流程化审批管理和集中式数据库,解决传统舾装件清单编制过程中的效率低、错误率高、协同困难等问题,实现船舶舾装件清单编制的数字化、智能化和规范化。

一种基于融合领域知识的知识蒸馏的多智能体集卡智能调度方法及系统

NºPublicación:  CN121119468A 12/12/2025
Solicitante: 
南京港龙潭集装箱有限公司
CN_121119468_PA

Resumen de: CN121119468A

本发明公开了一种基于融合领域知识的知识蒸馏的多智能体集卡智能调度方法。该方法首先通过数据采集模块获取任务、车辆、环境及司机等多因素数据,利用知识建模模块将港口调度领域的知识编码为数学约束。构建多智能体系统,每个智能体部署于集卡,通过知识蒸馏将中心服务器训练的Teacher模型的知识迁移到本地Student模型,同时融合领域知识约束,提升Student模型的决策能力。中心服务器则通过将领域知识作为正则化项训练Teacher模型,提升其泛化性能。本发明通过融合领域知识的知识蒸馏方法,提升边缘端智能体的决策水平,实现全局优化调度,有效提高港口集卡调度效率、降低运营成本、提升服务质量和安全性。

一种汽车管路成品智能入库登记系统

NºPublicación:  CN121118942A 12/12/2025
Solicitante: 
安徽省锦瑞汽车部件有限公司
CN_121118942_PA

Resumen de: CN121118942A

本发明公开了一种汽车管路成品智能入库登记系统,属于仓储入库登记技术领域,系统包括:多自由度柔性扫描臂组件,通过压力反馈动态调整扫描头与管路轴线保持30°‑60°斜交角,解决曲面标签识别难题;形变补偿识别单元,基于鱼眼镜头采集图像,采用曲率估算模型对条码畸变进行像素级校正;空间轮廓速测模块,利用相位式激光测距仪生成含特征拐点的三维骨架模型;动态仓储匹配系统,通过货位适配度评分算法自动规划最优存储位姿。本发明攻克了不规则管路导致的识别失准、空间利用率低下及人工依赖度高等行业难题,实现普通条码标签条件下的全自动高精度入库,显著提升仓储效率与管理精度。

一种多深位立库智能存取方法

NºPublicación:  CN121119902A 12/12/2025
Solicitante: 
浙江海蜂智能科技有限公司
CN_121119902_PA

Resumen de: CN121119902A

本发明公开了一种多深位立库智能存取方法。解决现有智能仓储系统缺乏智能调度方法,搬运过程存在冲突,任务执行不高效,资源利用不充分的问题。方法包括获取同一时间段内多深位货架的存取任务;对存取任务进行冲突检测以建立存取任务执行队列;对存取任务执行队列中存储任务分别进行遮挡检测,获取遮挡货位并建立搬移任务执行队列,分配空位对遮挡货位的货物进行搬移;遮挡货物搬移后,根据存取任务执行队列对货物进行存取。本发明针对多深位货架结构的货物存取,通过对任务预先排序、冲突检测、遮挡检测,对遮挡货位进行预搬移,提升了作业效率、减少了重复无效搬运、提高设备利用率。

定期配送管理装置、定期配送管理方法以及记录介质

NºPublicación:  CN121119863A 12/12/2025
Solicitante: 
柯尼卡美能达株式会社
CN_121119863_PA

Resumen de: US2025378419A1

A periodic delivery management apparatus for managing periodic delivery of consumables used in an image forming apparatus, the periodic delivery management apparatus includes a hardware processor that: determines whether or not a periodic delivery reference date of the consumables to the image forming apparatus has come; acquires a used amount of the consumables in the image forming apparatus; determines a delivery amount of the consumables by periodic delivery based on the used amount when it is determined that it is the periodic delivery reference date; and outputs a periodic delivery instruction including the delivery amount.

车辆库存管理和数字孪生同步

NºPublicación:  CN121119897A 12/12/2025
Solicitante: 
哈曼国际工业有限公司
CN_121119897_PA

Resumen de: US2025378417A1

Systems and methods are provided for inventory management and digital twin synchronization. In one example, an inventory management system includes a machine, an active monitoring service configured to monitor the machine, detect active triggering events, and notify a client of the machine of passive triggering events, wherein the client is configured to initiate a partial or full inventory collection in response to receiving notification of an active triggering event. The inventory management system further includes a server external to the machine and communicatively coupled to the client via over the air (OTA) connection, and a digital twin, wherein the digital twin is a digital replica of the machine synchronized to the machine via the server by data collected from the partial inventory collection or the full inventory collection.

基于区块链的青梅原料供应链品质智能溯源系统

NºPublicación:  CN121120084A 12/12/2025
Solicitante: 
江苏护佑健康科技有限公司
CN_121120084_PA

Resumen de: CN121120084A

本发明涉及供应链管理技术领域,具体为基于区块链的青梅原料供应链品质智能溯源系统。系统具体包括四个模块:准入决策模块、周期管理模块、风险预测模块和自动化执行模块。通过验证评估初始交付信息和外部基准数据,生成库存准入决策;基于库存准入决策解析初始交付信息,建立全生命周期管理档案;基于初始交付信息和外部基准数据的关联关系进行演化趋势推演,量化输出运营风险等级;基于全生命周期管理档案的业务节点变化和运营风险等级匹配管控预案,所述管控预案动态优化预设的业务参数。本发明通过风险预测与闭环自动控制,实现从被动溯源到前瞻性、智能化管理的转变。

基于RFID技术和通道门的物品实时跟踪盘点方法及系统

NºPublicación:  CN121119922A 12/12/2025
Solicitante: 
四川金投科技股份有限公司
CN_121119922_PA

Resumen de: CN121119922A

本发明涉及基于RFID技术和通道门的物品实时跟踪盘点方法及系统,本申请预先设置通道门和RFID基站采集跟踪信息记录。考虑到RFID信号容易受到干扰,本申请基于信号数据对跟踪信息记录进行校验。基于校验结果将跟踪信息记录划分为有效记录和无效记录,有效记录可以直接执行定位得到物品的存放位置,对于无效记录则利用惯性数据库来推断惯性存放位置。以及利用存放位置来对存储信息进行更新,在更新程度到达一定程度时,自动下发盘点任务,并基于差异信息生成盘点范围。本申请可以对基于RFID技术的仓库盘点进行全流程管理,同时对盘点任务进行指导,可以有效提高仓库内基于RFID技术的资产盘点效率。

干散货清舱与卸船设备集群的跨舱协同作业方法及系统

NºPublicación:  CN121119876A 12/12/2025
Solicitante: 
武汉理工大学三亚科教创新园
CN_121119876_PA

Resumen de: CN121119876A

本发明属于但不限于港口装卸作业技术领域,公开了一种基于大语言模型‑Q学习双驱动的超启发式干散货清舱与卸船设备集群的跨舱协同作业方法及系统;获取干散货港口清舱、卸船作业的历史数据和设备属性等信息;确定干散货港口清舱与卸船作业流程和任务信息;建立清舱与卸船设备集群跨舱协同作业模型,用于确定设备协同作业计划;获取并利用大语言模型扩充训练样本;基于样本训练和调整Q学习模型;基于超启发式算法,融合LLM和QL,设计LQ‑HH算法,用于优化求解设备协同作业模型,得到清舱和卸船设备的作业顺序和开始时间。本发明能够有效提升作业效率、设备协同能力和抗干扰能力,有助于推进干散货港口的智慧化转型升级。

应用于应急物资仓储园区的安全管控方法及系统

NºPublicación:  CN121119923A 12/12/2025
Solicitante: 
新交投(成都)大数据有限责任公司
CN_121119923_PA

Resumen de: CN121119923A

本发明提供一种应用于应急物资仓储园区的安全管控方法及系统,涉及应急物资仓储管理技术领域,首先构建以多源监测信息为基础,包含物资存储节点、环境节点及活动节点并通过关联边形成网状结构的安全状态链路;接着追踪其演化过程,记录各节点及关联边随时间变化的状态信息生成链路演化数据;然后基于链路演化数据适配与节点状态形成对应关系的管控动作集;再将管控动作集发送至园区管控系统驱动执行装置执行,并采集执行后的反馈数据;最后根据反馈数据校准安全状态链路的演化趋势,由此能够全面提升应急物资仓储园区的安全管控水平。

一种针对货物运输的管控方法及相关装置

NºPublicación:  CN121119340A 12/12/2025
Solicitante: 
大连深蓝泵业有限公司北京燃气集团(天津)液化天然气有限公司
CN_121119340_PA

Resumen de: CN121119340A

本发明提供了一种针对货物运输的管控方法及相关装置,本发明涉及货物运输领域,方法包括:根据预设分段距离得到第一路径集和第二路径集;基于人口密度数据和路径里程数据确定第一目标路径和第二目标路径,并生成运输路径;获取运输路径上各点的历史肇事数据,并将发生肇事次数大于或者等于阈值的点作为第一目标点,生成针对第一目标点的绕行路径集,选择第一目标绕行路径,并基于第一目标绕行路径更新运输路径;获取针对待运输货物的运输速度,确定待运输货物被运输时的天气数据,当天气数据不满足预设运输要求时,则将不满足预设运输要求的点作为第二目标点,生成针对第二目标点的绕行路径集,得到第二目标绕行路径,最终的运输路径。

云计算环境下的跨境供应链实时监控方法

NºPublicación:  CN121119891A 12/12/2025
Solicitante: 
上海理工大学
CN_121119891_PA

Resumen de: CN121119891A

本发明涉及云计算与跨境供应链管理领域,公开了云计算环境下的跨境供应链实时监控方法;包括:在云计算平台上对不同国家或地区的供应链节点部署数据采集与接入模块,建立基于节点上报时间的全局时间索引以实现多源数据的时序校正;对经校正的数据集执行多模态融合处理,形成统一维度的综合特征向量;构建供应链数字孪生图谱以关联物流、信息流和资金流,实现节点状态预测与风险识别;依据各国合规要求执行跨境数据同步与隐私保护;在识别风险后通过图结构仿真进行风险溯源与反馈调整,以实现系统参数自适应更新和周期性自校正。本发明可实现跨境供应链的实时监控、风险预测及合规数据同步,提升系统的安全性与稳定性。

基于物联网的电力电子元器件销售管理系统及方法

NºPublicación:  CN121120118A 12/12/2025
Solicitante: 
东营盛源电气科技有限公司东营职业学院
CN_121120118_PA

Resumen de: CN121120118A

本发明公开了一种基于物联网的电力电子元器件销售管理系统及方法,涉及销售管理技术领域。所述系统包括感知层、通信层、计算层、区块链协同层以及安全层,所述感知层,用于采集电力电子元器件全流程数据,并生成唯一的产业链编码;所述通信层,用于实现所述感知层、计算层与区块链协同层之间的数据传输;所述计算层,集成有联邦学习模块,所述联邦学习模块用于接收多个主体的本地训练数据;所述区块链协同层,包括多个联盟链节点及至少三类智能合约,所述安全层,用于保障系统数据安全及隐私保护。本发明解决传统管理中数据孤岛、责任推诿问题,提升产业链协同效率与决策科学性。

一种基于新型进化算法的有限运输资源柔性作业车间调度系统及调度方法

NºPublicación:  CN121119612A 12/12/2025
Solicitante: 
郑州航空工业管理学院
CN_121119612_PA

Resumen de: CN121119612A

本发明公开了一种基于新型进化算法的有限运输资源柔性作业车间调度系统及调度方法,涉及优化调度技术领域,包括计算新调度方案的工序完工时间,生成优化调度计划;对优化调度计划进行非支配排序,计算解的拥挤距离,并进行解集筛选,生成优化帕累托解集;整合优化目标函数,生成综合目标函数,基于优化帕累托解集,选择最小综合目标函数对应的最优调度方案。本发明通过遗传调度模块引入自适应交叉与变异概率调整机制,提升进化算法的全局搜索能力,通过运行数据构建优化目标函数,结合自适应进化策略与多目标优化,提高设备利用率与生产效率。

一种碳排放量智能计算方法、装置、设备及介质

NºPublicación:  CN121119411A 12/12/2025
Solicitante: 
英业达(重庆)有限公司
CN_121119411_PA

Resumen de: CN121119411A

本申请提供一种碳排放量智能计算方法、装置、设备及介质,该方法包括:获取目标供应商的原材料采购信息,涵盖材料分类、子类标识及采购计量,基于材料分类信息查询预定义规则库,确定各材料对应的碳排放权重计算类型,查询目标供应商的历史碳排放强度记录,若无记录则采用同行业同规模企业基准值生成历史基准系数,将权重计算类型与历史基准系数输入预设的机器学习模型,输出排放系数及置信度,最终对置信度超过预设阈值的排放系数与采购计量进行关联计算,得出目标商品的碳排放量;该方法通过排放系数与机器学习模型的结合,实现碳排放量的智能化、差异化核算,适用于多场景供应链碳足迹管理,显著提升核算效率与准确性。

危废运输的智能调度方法及系统

NºPublicación:  CN121119885A 12/12/2025
Solicitante: 
广东优废环保科技有限公司
CN_121119885_PA

Resumen de: CN121119885A

本发明涉及危废运输的智能调度方法及系统,方法包括:通过工业固废智能管理系统采集危废智能户外仓的危废库存数据,进行容量监测,生成清运任务指令;识别所述危废库存数据的危废特性信息,结合所述清运任务指令进行运输分析,生成运输任务清单;根据所述运输任务清单匹配具备运输资质的车辆信息,并结合实时交通数据生成危废运输路径;将所述运输任务清单与所述危废运输路径进行整合,生成电子运单。本发明能实现运输全过程的可视化监控,为危废运输提供了全流程的数字化管理。

物料清单配置的生成方法、装置、电子设备及程序产品

NºPublicación:  CN121119924A 12/12/2025
Solicitante: 
小米汽车科技有限公司
CN_121119924_A

Resumen de: CN121119924A

本公开提供物料清单配置的生成方法、装置、电子设备及程序产品,其中,方法包括:确定待处理规则;其中,待处理规则被配置为反映至少两个物料清单配置项之间的映射关系;物料清单配置项包括至少两个物料特征值及至少一个运算符;基于至少两个物料特征值及至少一个运算符,确定物料清单配置项对应的目标字符串;按照预设的候选字符串与辅助变量之间的映射关系,确定目标字符串对应的辅助变量;其中,辅助变量用于表征物料清单配置项对应的物料组合。由此,可将配置规则中的物料清单配置项简化为辅助变量,大幅降低了配置规则的数据量,可降低配置规则占用的存储资源,提高处理效率。

一种用于支吊架的智能批量拆料系统

NºPublicación:  CN121119925A 12/12/2025
Solicitante: 
季艳盛
CN_121119925_PA

Resumen de: CN121119925A

本发明涉及支吊架技术领域,尤指一种用于支吊架的智能批量拆料系统,包括:型号解析模块,用于获取表格中的输入型号并进行解析,提取输入型号中的DN、系列和尺寸参数;参数匹配模块,用于根据DN、系列和尺寸参数匹配数据表技术参数;尺寸计算模块,用于根据匹配结果生成各部件尺寸;重量计算模块,用于根据各部件尺寸计算零件重量;输出生成模块,用于根据各部件尺寸和重量创建材料清单,本申请实现了从型号解析到材料清单生成的全流程自动化处理,解决了管托拆图中的型号解析复杂、参数匹配困难、重量计算繁琐三大问题,可降低人工错误率,提升工作效率和材料估算准确度,为制造企业创造显著经济效益。

货物运输人车货线上综合管理方法及系统

NºPublicación:  CN121119872A 12/12/2025
Solicitante: 
北京瑶象技术有限公司
CN_121119872_PA

Resumen de: CN121119872A

本申请涉及一种货物运输人车货线上综合管理方法及系统,通过该系统实现对运输过程中涉及到的人员、运力车辆、货运供需关系进行有效的管理,其中人员主要涉及驾驶员以及危货运输中的押运员;运力车辆包括普货、危货、冷链等各类车辆;包括基于运单模板,向承运方推送运输需求,根据目标承运方的信用评估结果,触发保证金缴纳流程;并接收承运方报价及运力方案,调用结合运力竞价管理模型,对承运方进行排序,向托运方推送排序后的候选承运方列表,接收选定的目标承运方信息;通过货物运输综合管理平台生成电子合同,同步通过区块链存证;承运方可根据实际合同约定进行人车货自主分配;在接收到收货信息时,根据实际运输进行结算并开具电子发票。

一种物流运输方案确定方法及系统

NºPublicación:  CN121119870A 12/12/2025
Solicitante: 
安徽中信货运有限公司
CN_121119870_PA

Resumen de: CN121119870A

本发明适用于物流管理领域,提供了一种物流运输方案确定方法及系统,所述方法包括以下步骤:实时采集冷运车辆的定位数据和环境温度数据,引入气象数据并预测冷运车辆到达目的地途经区域的温度变化得到路径温区图谱;基于货物保鲜阈值和环境温度数据动态生成制冷设备启停指令及目标温度设定值;根据路径温区图谱规划货物的交接点,并基于实时路况与交接点车辆数据生成车辆调度序列;计算车辆能耗、中转费用及时间延迟成本生成经济性对比报告。本发明不仅降低了冷藏运输的综合成本,还提升了运输效率与资源分配的灵活性,尤其适用于高海拔、长距离等复杂场景下的冷链物流需求。

电商环境下Java优化的订单处理与物流跟踪方法、系统及相关设备

NºPublicación:  CN121120183A 12/12/2025
Solicitante: 
孙雪丹
CN_121120183_PA

Resumen de: CN121120183A

本公开提供了一种电商环境下Java优化的订单处理与物流跟踪方法、系统及相关设备。该方法包括:在运行于Java虚拟机的订单系统中,基于字节码增强方法向处理订单状态、支付调用与物流交互的目标类方法中插入链路数据采集指令;将响应于链路数据采集指令采集的数据构建为由服务标识、节点位置、耗时及异常标识组成的链路状态序列;将链路状态序列输入至具有预设状态空间与动作空间的强化学习智能体,输出包括异常上报、采样增强、节点标记与插桩调整的诊断动作指令;根据诊断动作指令调整链路数据采集指令的的采样频率、采集字段与插桩配置;记录链路状态序列、诊断动作指令以及系统运行指标,并据以更新强化学习智能体的策略模型参数。

业务处理方法及装置、存储介质、计算机程序产品、芯片

NºPublicación:  CN121119898A 12/12/2025
Solicitante: 
上海黑湖网络科技有限公司
CN_121119898_PA

Resumen de: CN121119898A

本申请提供了一种业务处理方法及装置、存储介质、计算机程序产品、芯片,该业务处理方法包括:监测各个业务数据的状态;响应于至少一个业务数据的状态发生变化并且至少一个业务数据所属的业务模块配置有联动事件,判断至少一个业务数据是否满足联动事件的触发条件;响应于至少一个业务数据满足联动事件的触发条件,执行联动事件的执行动作,执行动作指向至少一种业务操作。本申请提供了一种能够自动执行业务操作的方案,提升生产效率。

任务处理方法、电子设备和存储介质

NºPublicación:  CN121116578A 12/12/2025
Solicitante: 
特斯联科技集团有限公司
CN_121116578_PA

Resumen de: CN121116578A

本申请实施例提供一种任务处理方法、电子设备和存储介质,涉及人工智能技术领域,方法包括:响应于客户端发送的针对目标任务的描述信息,调用大语言模型根据描述信息将目标任务拆分为子任务集合;针对子任务集合中的任一子任务,在子任务缺少执行参数的情况下,从执行参数的提供方获取执行参数;根据子任务对应的参数集合执行子任务,参数集合包括获取的执行参数;在子任务集合中的各子任务执行完成后,生成目标任务的执行结果。本申请实施例的技术方案中,实现了任务的精准暂停、交互补全及断点续执行,提升了任务处理过程的智能化水平,具有较高的容错性。

货物偷盗风险识别方法及系统

NºPublicación:  CN121119682A 12/12/2025
Solicitante: 
北京汇通天下物联科技有限公司
CN_121119682_PA

Resumen de: CN121119682A

本发明提供一种货物偷盗风险识别方法及系统,属于货运安全监控技术领域,包括:接收由车载端发送的状态数据;从状态数据中提取货厢区域内每个第一人员对应的多个第一特征,并计算各第一人员的摄像头遮挡意图得分;根据各摄像头遮挡意图得分,从第一人员中确定第二人员;根据状态数据,确定与第二人员存在互动的第三人员;从状态数据中提取货厢区域内每个第三人员对应的多个第二特征,并根据多个第二特征,计算各第三人员的偷盗意图得分;根据各偷盗意图得分,确定偷盗风险识别结果。本发明通过对人员遮挡摄像头的情况进行分析,并进一步在确定人员存在恶意遮挡摄像头的情况下对各人员的偷盗意图进行分析,从而实现提升偷盗意图的评估精度。

确定车辆装卸货自动定位上报方法及系统

NºPublicación:  CN121119865A 12/12/2025
Solicitante: 
天津氢鸿新能科技有限公司
CN_121119865_PA

Resumen de: CN121119865A

本发明提供一种确定车辆装卸货自动定位上报方法及系统,属于数据处理技术领域,包括:实时获取车载终端上报的车辆运行数据,车辆运行数据包括车辆实时位置数据和车辆状态数据;根据车辆运行数据,实时分析并提取表征车辆在特定地理位置范围内持续停留的车辆停留特征;对车辆停留特征和与车辆停留特征发生时段相对应的车辆状态数据进行综合分析,得到装卸货判定结果;当判定装卸货判定结果为正在进行装卸货作业时,生成装卸货事件信息,装卸货事件信息包含触发该事件的车辆实时位置数据和装卸货状态标识;将装卸货事件信息自动上报至预设的监控平台。通过本发明的技术方案,从而实现对车辆装卸货状态进行自动化精准识别与实时上报。

一种分布式网络仿真的方法和装置

NºPublicación:  CN121119855A 12/12/2025
Solicitante: 
北京京东远升科技有限公司
CN_121119855_PA

Resumen de: CN121119855A

本发明公开了一种分布式网络仿真的方法和装置,涉及计算机技术领域。该方法的一具体实施方式包括:获取仿真输入数据,基于仿真输入数据确定待分配节点的事件及事件信息,根据接收的客户端的任务请求向客户端分配待分配节点,并根据客户端对待分配节点的事件的处理结果输出仿真结果数据。该实施方式通过分布式网络的仿真方法提高了数据仿真效率,并通过客户端的任务请求分配待分配节点的方式,保障各客户端的任务处理效率,进一步提高了数据仿真效率。

物流节点动态监控与预警方法、系统、装置及存储介质

NºPublicación:  CN121125261A 12/12/2025
Solicitante: 
诚天国际供应链(深圳)有限公司
CN_121125261_PA

Resumen de: CN121125261A

本发明涉及物流节点动态监控与预警方法、系统、装置及存储介质,方法包括获取物流节点的多源设备信号及实时权属追踪数据,进行信道分配构建,得到节点专属信道;获取所述物流节点的空间坐标与海关监管信息,并结合所述节点专属信道进行动态权限构建,得到跨境监管权限;通过所述节点专属信道获取跨境货物数据与节点环境状态,并与预设合规策略库进行多因子合规核验,得到物流节点安全等级;基于所述跨境监管权限与所述物流节点安全等级进行分级管控操作,得到节点预警信息。本发明能够提升物流节点监控数据的实时性和传输稳定性,避免数据孤岛现象。

基于机器人叉车线边自动上料返拖控制方法及调度系统

NºPublicación:  CN121120211A 12/12/2025
Solicitante: 
安徽锐谷科技有限公司
CN_121120211_PA

Resumen de: CN121120211A

本发明公开了基于机器人叉车线边自动上料返拖控制方法,涉及智能制造技术领域,包括:接收生产执行系统MES发送的订单;按照订单发送的顺序,执行最先接收的订单,判断订单对应的工作台储位是否为空,如果否,则进入等待状态,如果是,则生成任务单;根据任务单调度机器人执行上料任务;接收上料任务完成信息;判断订单是否完成:如果订单完成,则判断当前订单是否存在尾料,如果存在尾料则判断当前尾料是否可供下一订单使用,如果是,则作为下一个订单的物料,进行下一个订单的生产执行,如果否,则生成尾料返回中转库的第一指令,调度机器人将尾料托盘搬离工作台储位,托盘被转至中转库。极大的提升了生产效率。

物料订货量的确定方法、装置、设备、介质及产品

NºPublicación:  CN121119913A 12/12/2025
Solicitante: 
江苏中烟工业有限责任公司
CN_121119913_PA

Resumen de: CN121119913A

本发明公开了一种物料订货量的确定方法、装置、设备、介质及产品,其中,该方法包括:当检测到目标物料对应的剩余物料量小于预设物料存储量时,确定目标物料对应的物料计划使用量和备用预估量;基于剩余物料量、物料计划使用量和备用预估量,确定目标物料对应的目标订货量。解决了现有技术中无法准确估算每次物料的订购量的问题,实现了准确的计算从物料供应商处应订购的物料量,同时使得订购的物料量尽可能的贴合物料的实际使用量的效果。

基于船舶标识数据的大宗货物贸易网络分析方法及系统

NºPublicación:  CN121119873A 12/12/2025
Solicitante: 
中山大学南方海洋科学与工程广东省实验室(珠海)
CN_121119873_PA

Resumen de: CN121119873A

本申请涉及基于船舶标识数据的大宗货物贸易网络分析方法及系统。所述方法包括:获取船舶标识数据,并根据船舶标识数据得到船只轨迹点信息;获取全球港口信息,根据全球港口信息以及船只轨迹点信息,得到停靠港口节点;构建船舶网络;进而构建大宗货物贸易网络;最终进行分析,得到分析结果。实现对船舶货物标识的识别和跟踪,了解货物的来源、目的地以及中转情况。这将有助于监测货物运输的进展,识别潜在的延误或中断,并为供应链管理提供实时决策依据。同时,结合船舶标识数据,还能够对船舶的类型、装载能力和历史运输记录进行分析,帮助优化货物的选择和船舶调度,提高运输效率和质量控制。

一种基于区块链的电商物流监测方法

NºPublicación:  CN121119887A 12/12/2025
Solicitante: 
浙江经济职业技术学院
CN_121119887_PA

Resumen de: CN121119887A

本申请公开了一种基于区块链的电商物流监测方法,涉及物流监测技术领域,该方法包括采集目标物流车辆的装货车厢中标记出的震动检测位置点中每相邻两个位置点之间的相距距离,根据历史承载重量分布特征,统计出历史物流监测数据中的震动强度值和所得待测距离之间震强减缓的预处理关联因子,预测易破损目标监测商品所处目标位置点产生的第一和二震动强度预测值,以对目标监测商品受震动强度影响产生的质量损耗程度值进行预测,若所得当前损质预测值大于或等于预设的商品损质预警阈值,则输出风险预警通知信息,并从搜取的优化行驶路线中提取出优选更换路线。本发明提供的一种基于区块链的电商物流监测方法可提高物流风险监测效率。

一种服装快反供应链协同决策系统及方法

NºPublicación:  CN121119559A 12/12/2025
Solicitante: 
英麦尔(南京)科技有限公司
CN_121119559_PA

Resumen de: CN121119559A

本发明提供一种服装快反供应链协同决策系统及方法,涉及服装快反供应链领域。该服装快反供应链协同决策系统及方法,包括快反订单多级决策引擎:订单智能分级:根据交期、成本容忍度动态生成红单(最高急)、黄单、蓝单。该服装快反供应链协同决策系统及方法,通过快反决策平台总体架构,开发端(PLM/设计资料)→供应端(材料库存/成衣产能)→零售端(数据分析)三环协同;订单分级判定逻辑,输入:材料齐套率、产能饱和度→输出:红/黄/蓝单策略及成本阈值;AI业务助手交互流程,支持语音/文本查询(如“Q2采购单处理流程”),联动SCM系统调取实时数据;系统初始化配置,定义订单等级标准;录入供应商弹性产能池。

基于多智能体强化学习的冷链物流无人车能量管理方法

NºPublicación:  CN121119894A 12/12/2025
Solicitante: 
海南大学
CN_121119894_PA

Resumen de: CN121119894A

本发明提供基于多智能体强化学习的冷链物流无人车能量管理方法,所述方法包括以下步骤:S101、构建冷链物流无人车集群的动力学模型;S102、使用深度网络DQN对多智能体强化学习模型进行训练;S103、使用A*算法为每辆无人车从起点到配送点进行最优路径规划;S104、使用PID控制器对规划每辆无人车的对应最优路径进行跟踪,实时对无人车的航向角与速度误差调整优化;S105、采用S型连续调节方法让各无人车的电量消耗率根据剩余电量动态调整,以及对无人车的制冷功率与行驶速度形成联动控制;S106、构建多维动态评估体系,对冷链物流无人车集群进行实时性能监控与优化。本发明实现冷链物流无人车集群的高效能量管理和路径规划,显著降低集群能耗,提高配送效率。

多配送中心无人机配送路线规划方法

NºPublicación:  CN121119893A 12/12/2025
Solicitante: 
中国民航大学
CN_121119893_PA

Resumen de: CN121119893A

本发明涉及低空经济智慧物流的无人机运行技术领域,具体为多配送中心无人机配送路线规划方法,包括以下步骤:建立以最小化加权总飞行距离、最小化鲁棒飞行时间、最大化需求满足率为决策目标的模型;采用几何覆盖和分散度优先的贪心选择策略确定配送中心;求解得到帕累托前沿解集。本发明通过构建包含飞行时间、飞行距离、需求满足率的多目标优化模型,采用基于几何覆盖和分散度的贪心选择策略选择配送中心,并运用NSGA‑II算法求解帕累托前沿解集,实现了多个决策目标的均衡,提升了对多配送中心场景的适应性,优化了配送中心选择以改善覆盖范围和服务效率,为决策者提供了服务质量、配送效率和运营成本间的优化权衡方案。

智慧货物仓库管理系统及管理方法

NºPublicación:  CN121119904A 12/12/2025
Solicitante: 
广西机电职业技术学院
CN_121119904_PA

Resumen de: CN121119904A

本发明提供一种智慧货物仓库管理系统及管理方法,包括数据采集模块、货物取放模块、数据传输存储模块、智能控制模块;数据采集模块用于读取货物信息;货物取放模块用于将货架上的货物进行取放;智能控制模块用于构建仓库三维虚拟场景,结合货物取放模块对货物进行最优路径取货。实现了货物入库和出库过程的高度自动化,减少了人工干预的需求。智能控制模块部署在本地服务器中,仅需输入取货单号或下达存货命令即可自动执行存取货操作,简化了操作流程,提高了工作效率。系统利用全景拼图算法构建三维虚拟场景,并结合流形可视化技术展示库存分布情况,为管理人员提供了直观的决策支持工具,增强了仓储状态的可视化管理水平。

推荐点优化方法、装置、设备和存储介质

NºPublicación:  CN121119892A 12/12/2025
Solicitante: 
深圳依时货拉拉科技有限公司
CN_121119892_PA

Resumen de: CN121119892A

本申请实施例提供了一种推荐点优化方法、装置、设备和存储介质,上述方法包括:解析接收到的导航请求,得到推荐点和感兴趣点;根据推荐点生成同链接路网点;根据感兴趣点生成第一路网点;根据同链接路网点和第一路网点生成偏移方向,以及根据第二路网点和同链接路网点生成偏移距离;第二路网点与推荐点相关联;基于偏移方向和偏移距离,对推荐点执行偏移操作,得到目标推荐点。本申请实施例中,基于偏移方向和偏移距离,对推荐点执行偏移操作,动态调整推荐点位置,确保偏移后的推荐点既符合优化需求,又不超出合理范围,以此优化导航路线,降低运输时间和成本,提高运输效率。

一种智能化精子库管理系统

NºPublicación:  CN121119903A 12/12/2025
Solicitante: 
中国人民解放军总医院
CN_121119903_PA

Resumen de: CN121119903A

本发明涉及生殖医学信息技术领域,提供一种智能化精子库管理系统,包括:身份核验模块,用于采集存精者的生物特征信息并与预设系统数据进行比对,还用于采集身份证件信息和纸质文件影像;样本采集模块,用于生成具有唯一识别码的样本标签,还用于验证取精者身份;样本检测模块,用于批量扫码获取样本信息,还用于分析精液质量参数;样本存储模块用于自动存取样本并分配存储位置;数据处理中心,用于处理采集数据;智能合规引擎,内置精子库管理规则,用于自动校验操作合规性。本发明通过硬件设备智能协同、AI算法精准分析、全流程数据自动处理和智能合规实时校验,降低了样本错误率,并且实现了精子库管理效率的提升。

一种面向智能装备库的智能随行与装备核验机器人

NºPublicación:  CN121119907A 12/12/2025
Solicitante: 
合肥甲想智能装备有限公司
CN_121119907_PA

Resumen de: CN121119907A

本发明涉及智能装备管理与机器人技术领域,尤其是一种面向智能装备库的智能随行与装备核验机器人。该机器人包括跟随导航模块、装备识别模块、称重模块、数据处理模块、通信模块和报警模块。所述装备识别模块包括RFID识别单元与视觉识别单元,能够对放置于机器人上的装备进行多模态识别;称重模块用于检测装备重量并与历史模板比对;数据处理模块基于RFID结果、视觉识别结果和重量检测结果进行一致性融合校验,并结合人员身份信息生成核验结果;通信模块将核验结果上传至智能装备管理系统;异常情况下,报警模块执行分级提示与交互式报警。该机器人可在装备领取、搬运、归还全过程中实现智能跟随、自动核验、人装绑定、数据闭环,提高装备管理的可靠性与安全性。

一种数据交付计量系统、方法和装置

NºPublicación:  CN121119905A 12/12/2025
Solicitante: 
中电云计算技术有限公司
CN_121119905_PA

Resumen de: CN121119905A

一种数据交付计量系统、方法和装置,属于数据交付计量技术领域,包括交付物料提交模块生成交付物料配置信息并通过Kafka消息提交;交付项目管理模块创建数据交付项目并配置环境资源;交付能力平台管理API服务引擎、数据集成引擎、隐私计算引擎等能力组件;交付计量模块通过监听Kafka获取数据使用明细,根据配置的计量类型实时计算实际用量,与预设阈值比较,超限时终止交付。本发明支持按次、按条、按量、按周期及按订阅的多模态计量,实现了计量结果与控制策略的实时闭环,同时采用隐私计算技术保障数据交付过程中的可用不可见,为数据流通利用提供高灵活性、高实时性、高安全性的计量解决方案。

一种异常用户识别方法及装置

NºPublicación:  CN121117861A 12/12/2025
Solicitante: 
北京京东远升科技有限公司
CN_121117861_PA

Resumen de: CN121117861A

本发明公开了一种异常用户识别方法及装置,涉及数据挖掘技术领域。该方法的一具体实施方式包括:获取待识别用户对应的多个用户标识及多个用户标识对应的运单信息;根据运单信息对多个用户标识进行聚类,得到多个待识别标识集;分别确定多个待识别标识集与预设的异常标识集之间的目标关联度;异常标识集为历史异常运单对应的运单信息中包括的异常用户标识的集合;根据目标关联度,确定待识别用户的异常等级。该实施方式根据待识别用户的运单信息以及异常用户的运单信息,确定待识别用户与异常用户之间的关联度,并根据与异常用户的关联度确定待识别用户是否异常,从而提高了异常用户识别的准确度,使得用户识别结果的可靠性较高。

一种基于订单排序的双指夹具码垛方法、装置及相关介质

NºPublicación:  CN121107077A 12/12/2025
Solicitante: 
深圳市今天国际智能机器人有限公司
CN_121107077_PA

Resumen de: CN121107077A

本发明公开一种基于订单排序的双指夹具码垛方法、装置及相关介质,该方法包括获取物料参数并进行结构化建模,得到物料建模对象;对所述物料建模对象进行双抓分组规划,以进行约束校核与兼容性评分的配对计算,得到物料分组对象;对所述物料分组对象进行混合垛型规划,以根据订单排序生成码垛顺序与层级位姿集合,得到垛型对象;利用所述垛型对象进行抓取与放置参数求解,得到执行对象;利用所述执行对象进行指令编排,生成用于驱动双指夹具的码垛指令集。本发明通过物料建模对象进行双抓分组规划以及混合垛型规划,再利用得到的码垛指令集对物料进行双抓双放,如此,提高了物料运输的作业效率。

用于发货单的收货方法、装置、管理系统及存储介质

NºPublicación:  CN121119900A 12/12/2025
Solicitante: 
中科云谷科技有限公司
CN_121119900_PA

Resumen de: CN121119900A

本申请公开了一种用于发货单的收货方法、装置、管理系统及存储介质,包括:接收发货系统的发货单和发货单数据;在与业务来源系统匹配的预设配置表中查找与发货单匹配的目标子配置表,其中,预设配置表包括与多个预设业务来源系统分别对应的子配置表,子配置表包括与预设业务来源系统对应的收货流程,收货流程包括多个收货执行步骤;获取目标子配置表中与每个收货执行步骤对应的特异性参数;根据特异性参数执行每个收货执行步骤,以完成发货单的收货流程。上述技术方案,支持配置多样化的收货流程,通过减少定制化开发的依赖,显著降低了系统部署和维护的成本。同时,提高了系统的适应性和可扩展性,能够迅速响应各种发货单的收货需求。

INFORMATION PROCESSING SYSTEM, INFORMATION PROCESSING DEVICE, INFORMATION PROCESSING METHOD, AND PROGRAM

NºPublicación:  WO2025254208A1 11/12/2025
Solicitante: 
AERONEXT INC [JP]
\u682A\u5F0F\u4F1A\u793E\u30A8\u30A2\u30ED\u30CD\u30AF\u30B9\u30C8
WO_2025254208_PA

Resumen de: WO2025254208A1

Problem To improve convenience for a user who uses a transfer service. Solution This information processing system comprises an acquisition unit that acquires emergency information relating to an emergency request by a requester, and a determination unit that determines, on the basis of each transfer plan for a transfer target by each of a plurality of transfer means, a transfer means for transferring emergency supplies included in the emergency information.

Steuerungssystem für Transporte von Produkten

NºPublicación:  DE102024205367A1 11/12/2025
Solicitante: 
ZAHNRADFABRIK FRIEDRICHSHAFEN [DE]
ZF Friedrichshafen AG
DE_102024205367_PA

Resumen de: DE102024205367A1

Die Erfindung betrifft ein Steuerungssystem (100) für Transporte von Produkten von einem Herstellerort eines Herstellers zu einem Zielort, umfassend: ein Laderaummittel (110) zum Bestimmen einer optimalen Anordnung der Produkte in einer minimalen Anzahl an Transportfahrzeugen; ein Routenmittel (120) zum Bestimmen einer optimalen ersten Route von mit den Produkten vollbeladenen Transportfahrzeugen von dem Herstellerort zu dem Zielort und zumindest eines zugehörigen optimalen Spediteurs; ein Laderaumergänzungsmittel (130) zum Bestimmen von teilweise beladenen Transportfahrzeugen aus den mit den Produkten beladenen Transportfahrzeugen und zum Bestimmen einer zweiten Route mit Zwischenzielen bis zu dem Zielort, wobei die Zwischenziele derart bestimmt sind, dass an den Zwischenzielen befindliche Zusatzprodukte in die teilweise beladenen Transportfahrzeuge beladbar sind; ein Routenaktualisierungsmittel (140) zum Abändern der ersten und zweiten Route basierend auf Echtzeit-Daten zu den ersten und zweiten Routen und Ausgeben finaler erster und zweiter Routen.

MANAGEMENT METHOD FOR AT LEAST ONE ELECTRONIC SHELF LABEL AND MANAGEMENT SYSTEM FOR AT LEAST ONE ELECTRONIC SHELF LABEL

NºPublicación:  WO2025254420A1 11/12/2025
Solicitante: 
SOLUM CO LTD [KR]
\uC8FC\uC2DD\uD68C\uC0AC \uC194\uB8E8\uC5E0
WO_2025254420_A1

Resumen de: WO2025254420A1

An embodiment provides a management method for at least one electronic shelf label, the management method comprising the steps of: acquiring related information of a first product; acquiring identification information of a first electronic shelf label; on the basis of a wireless communication method, acquiring information about a first location of an electronic device adjacent to the first electronic shelf label; determining a location of the first electronic shelf label on the basis of the information about the first location of the electronic device; and allocating the first product to the first electronic shelf label by matching at least one of information about the determined first location of the first electronic shelf label and the identification information of the first electronic shelf label with the related information of the first product.

MANAGEMENT METHOD FOR AT LEAST ONE ELECTRONIC SHELF LABEL AND MANAGEMENT SYSTEM FOR AT LEAST ONE ELECTRONIC SHELF LABEL

NºPublicación:  WO2025254406A1 11/12/2025
Solicitante: 
SOLUM CO LTD [KR]
\uC8FC\uC2DD\uD68C\uC0AC \uC194\uB8E8\uC5E0
WO_2025254406_PA

Resumen de: WO2025254406A1

One embodiment provides a management method for at least one electronic shelf label, the management method comprising the steps of: acquiring related information about a product; acquiring identification information of an electronic shelf label; imaging, by using a first imaging device, an area in which the electronic shelf label is provided; acquiring information about the location of the first imaging device; determining the location of the electronic shelf label on the basis of the information about the location of the first imaging device and an image obtained by imaging, by means of the first imaging device, the area in which the electronic shelf label is provided; and assigning the product to the electronic shelf label by matching, to the related information about the product, at least one of the determined information about the location of the electronic shelf label or the identification information of the electronic shelf label.

SMART CONTAINER

NºPublicación:  WO2025251116A1 11/12/2025
Solicitante: 
PHASLO GLOBAL INNOVATION PTY LTD [AU]
PHASLO GLOBAL INNOVATION PTY LTD
WO_2025251116_PA

Resumen de: WO2025251116A1

A system and method for detecting the presence of a specimen in a container. The container includes an image capture device configured to capture an image of the contents of the container, and a communication module configured to transmit the captured image to a remote server. The remote server processes the image using a machine vision model to generate a confidence level indicating the likelihood that a specimen is present in the container. The confidence level is compared to a predetermined threshold to determine whether to generate a specimen presence signal. The specimen presence signal is associated with a container identifier representing a physical address or location of the container and is transmitted to a user application or customer system. The user application may perform actions such as routing instructions, inventory updates, or chain-of-custody updates based on the specimen presence signal.

SYSTEMS AND METHODS FOR IMAGE RECOGNITION

NºPublicación:  WO2025251114A1 11/12/2025
Solicitante: 
URSTORE GLOBAL PTY LTD [AU]
URSTORE GLOBAL PTY LTD
WO_2025251114_PA

Resumen de: WO2025251114A1

An image recognition method for planogram compliance, comprising the steps of: receiving an input image of a target area to be analysed for planogram compliance; detecting one or more objects in the input image; optionally, detecting one or more gaps in the input image; calculating image similarity scores of the one or more objects detected and a plurality of product images; identifying an associated product for at least one of the one or more objects detected, based on the calculated image similarity scores, and assessing the target area based on the one or more objects detected, the one or more gaps detected and/or the associated products identified of the one or more objects.

運搬制御装置、収納庫、運搬処理方法、およびプログラム

NºPublicación:  JP2025180886A 11/12/2025
Solicitante: 
Artsmodel株式会社
JP_2025180886_PA

Resumen de: JP2025180886A

【課題】施錠可能な運搬元収納庫から施錠可能な運搬先収納庫に個人が荷物を運搬する状況における問題を解決する。【解決手段】運搬制御装置が、運搬対象の荷物を収納する施錠可能な運搬元収納庫を特定するための情報を受け取り、運搬元収納庫を指定するための運搬元指定情報を得て出力し、運搬元収納庫から運搬された荷物を収納する施錠可能な運搬先収納庫を特定するための情報を受け取り、運搬先収納庫を指定するための運搬先指定情報を得て出力し、荷物が運搬元収納庫から運搬先収納庫まで運搬される間に荷物または荷物の収納具を施錠する錠前を特定するための錠前情報を受け取り、錠前の開錠に必要な認証処理に関する認証制御情報を得て出力する。【選択図】図7

インターホンシステム

NºPublicación:  JP2025180476A 11/12/2025
Solicitante: 
アイホン株式会社
JP_2025180476_PA

Resumen de: JP2025180476A

【課題】利便性を向上可能なインターホンシステムを提供する。【解決手段】制御部61は、管理者によりサービス情報と扉制御装置80とを対応付けるための設定作業を実行するための設定モードと、設定作業に基づいて扉制御装置80との通信を実行するための運用モードとを実行可能である。制御部61は、設定作業の完了後において所定の条件を満たした場合に、扉制御装置80へ解錠指示を送信するととも設定モードから運用モードへ自動的に切り替えるように構成されている。【選択図】図14

情報処理方法、情報処理システム、及びコンピュータプログラム

NºPublicación:  JP2025180675A 11/12/2025
Solicitante: 
株式会社AirBusinessR&D
JP_2025180675_PA

Resumen de: JP2025180675A

【課題】情報処理方法、情報処理システム及びコンピュータプログラムを提供する。【解決手段】情報処理方法は、物品が積み付けられる物流部材を複数収容する収容体における前記物品の情報を処理する。情報処理方法は、収容体を識別する収容体識別データと、収容体内で前記物流部材を収容している位置を識別する収容位置識別データとに対応付けて、物流部材の部材識別データを記憶部に記憶し、払出対象の物品、日時及び場所の指定を含む払出リクエストを逐次受け付け、受け付け済みの払出リクエストにて指定されている払出対象の物品が積み付けられた対象の物流部材が収容されている収容体の収容体識別データ及び収容位置識別データを抽出し、収容体の位置と、前記払出リクエストで指定された日時及び場所とに基づき、払出対象の物品が積み付けられた物流部材を移動させる移動経路及び移動時期を、対象の物流部材毎に決定する。【選択図】図1

対象デジタルツインモデル生成システム、ロボットの制御システム、仮想店舗生成システム、対象デジタルツインモデル生成方法、ロボットの制御方法、および仮想店舗生成方法

NºPublicación:  JP2025182071A 11/12/2025
Solicitante: 
アセントロボティクス株式会社
JP_2025182071_PA

Resumen de: US2024420355A1

A system outputs planar light having a predetermined pattern and light having a plurality of wavelengths, including visible light and invisible light to a target from a plurality of illumination positions that surround the target at different timings, individually captures images of the target irradiated with the planar light and the target sequentially irradiated with the light having the plurality of wavelengths at a plurality of imaging positions corresponding to the plurality of illumination positions in synchronization with timings at which the light is output, controls a light output and an imager, acquires three-dimensional data indicating a three-dimensional shape over an entire circumference of a surface of the target on the basis of an imaging result of the target irradiated with the planar light, acquires two-dimensional data indicating two-dimensional appearance over the entire circumference of the target viewed from the plurality of imaging positions on the basis of imaging results of the target sequentially irradiated with the light having the plurality of wavelengths, and generates a target digital twin model that reproduces the appearance of the target in a computer-readable form by associating the three-dimensional data with the two-dimensional data.

失禁用製品の査定のための方法およびシステム

NºPublicación:  JP2025540230A 11/12/2025
Solicitante: 
エシティ・ハイジーン・アンド・ヘルス・アクチエボラグ
JP_2025540230_PA

Resumen de: CN120359576A

Methods and systems for computer-based comparison of use processes of groups of incontinence products. A processor of a computer device, such as an estimation server, is configured to receive, for each of a plurality of wearers in a care system, first evaluation timing data regarding a first process of use of a first set of one or more incontinence products worn by the wearer, second evaluation timing data regarding a second process of use of a second set of one or more incontinence products worn by the wearer and a wearer profile record. The processor is further configured to generate values of a plurality of estimated parameters indicative of a comparison of the first process of use and the second process of use based on processing the first evaluation timing data and the second evaluation timing data and a wearer profile record from each of the plurality of wearers.

SOON-TO-EXPIRE ANALYSIS MODELS FOR MEDICAL INVENTORY MANAGEMENT

NºPublicación:  US2025378942A1 11/12/2025
Solicitante: 
CAREFUSION 303 INC [US]
CareFusion 303, Inc
US_2025378942_PA

Resumen de: US2025378942A1

Methods, devices, and systems for determining soon to expire items. Historical item data are received. A soon to expire analysis model is trained using the training data to generate a trained soon to expire analysis model configured to receive item data associated with the item and to generate soon to expire prediction for one or more items associated with the item data. The bar includes a platform at a distal edge of the bar. The platform is configured to come in contact with an item deposited in the housing. A sensor is configured to generate a signal indicative of a fill level of the housing based on the platform coming in contact with the item deposited in the housing. Actions are performed to prevent the item from remaining unused past the target date.

Computer Vision Component For Product Identification

NºPublicación:  US2025378676A1 11/12/2025
Solicitante: 
365 RETAIL MARKETS LLC [US]
365 Retail Markets, LLC
US_2025378676_PA

Resumen de: US2025378676A1

An imaging device associated with a picking station for inventory order fulfillment obtains first image data corresponding to a first product item having a product type. A computer vision component generates, using the first image data, a computer vision component associated with at the product type. Generating the computer vision component may include training a computer vision model using at least the first image data and a product type identifier corresponding to the product type. The computer vision component may be provided for use with a merchandiser device. The computer vision component may be configured to facilitate, based on second image data, identification of a second product item having the product type.

System for Identifying, Tracking, Controlling, and/or Optimizing Stacked Shipping Assets in an Inventory Management Facility and Related Methods

NºPublicación:  US2025376327A1 11/12/2025
Solicitante: 
ALL TERMINAL SERVICES LLC D/B/A CONGLOBAL TECH [US]
All Terminal Services, LLC (d/b/a ConGlobal Technologies)
US_2025376327_PA

Resumen de: US2025376327A1

A control system is provided for inventory management facility with a plurality of containers. The control system includes a server, and a container handler operable within the inventory management facility. The container handler tractor comprises onboard sensors configured to generate sensor data of at least one container of the plurality of containers, a geolocation device configured to generate a geolocation value for the at least one container, a wireless transceiver, and a controller coupled to the onboard sensors, the geolocation device, and the wireless transceiver. The controller is configured to transmit the sensor data and the geolocation value for the at least one container to the server. The server is in communication with the container handler and is configured to generate a database associated with the sensor data, the database comprising, for each container, a container logo image and the geolocation value. The geolocation value includes a latitude value, a longitude value, and an altitude value.

MACHINE LEARNING-BASED TECHNIQUES FOR PREDICTING SIMILARITY OF GOODS OR SERVICES

NºPublicación:  US2025378516A1 11/12/2025
Solicitante: 
CAMELOT UK BIDCO LTD [GB]
Camelot UK Bidco Limited
US_2025378516_PA

Resumen de: US2025378516A1

Systems and methods are described for determining a similarity between a first goods and services description and a second goods and services description. The goods and services descriptions are provided to a machine learning model. The machine learning model returns a first set of goods and services classifications for the first goods and services description and a second set of goods and services classifications for the second goods and services description. A plurality of goods and services similarity scores are determined, each goods and services similarity score indicating a similarity between a first goods and services classification from the first set of goods and services classifications and a second goods and services classification from the second set of goods and services classifications. An aggregate goods and services similarity score is determined based on the plurality of goods and services similarity scores and returned to a user as a query result.

SYSTEM AND METHOD FOR DETERMINING AN ON-SHELF AVAILABILITY STATUS OF AN ITEM WITHIN A RETAIL LOCATION

NºPublicación:  US2025378420A1 11/12/2025
Solicitante: 
TARGET BRANDS INC [US]
Target Brands, Inc
US_2025378420_PA

Resumen de: US2025378420A1

A process for determining an on-shelf availability status of an item within a retail location is provided. In example aspects, a plurality of potential unavailability events associated with an item for sale at the retail location are received from a collection of product availability detection systems. Potential unavailability events are aggregated in an ensemble model to calculate an overall unavailability score for the item. Based on the overall unavailability score, different actions may be taken, such as updating a tracked inventory or generating a restocking assessment notification.

METHODS AND APPARATUSES FOR AUTOMATICALLY PALLETIZING AND DEPALLITIZING ITEMS

NºPublicación:  US2025378418A1 11/12/2025
Solicitante: 
INTELLIGRATED HEADQUARTERS LLC [US]
Intelligrated Headquarters, LLC
US_2025378418_PA

Resumen de: US2025378418A1

Method, apparatuses, and computer program products for automatically determining a placement location or removal location for one or more items is disclosed. An example method comprising generating a plurality of three-dimensional pallet cells for a pallet; generating one or more three-dimensional item cells for each item of a plurality of items; determining a placement location comprising one or more three-dimensional pallet cells for one or more items of the plurality of items; and causing one or more indications describing the placement location for the one or more items of the plurality of items.

VEHICLE INVENTORY MANAGEMENT AND DIGITAL TWIN SYNCHRONIZATION

NºPublicación:  US2025378417A1 11/12/2025
Solicitante: 
HARMAN INT INDUSTRIES INCORPORATED [US]
Harman International Industries, Incorporated
US_2025378417_PA

Resumen de: US2025378417A1

Systems and methods are provided for inventory management and digital twin synchronization. In one example, an inventory management system includes a machine, an active monitoring service configured to monitor the machine, detect active triggering events, and notify a client of the machine of passive triggering events, wherein the client is configured to initiate a partial or full inventory collection in response to receiving notification of an active triggering event. The inventory management system further includes a server external to the machine and communicatively coupled to the client via over the air (OTA) connection, and a digital twin, wherein the digital twin is a digital replica of the machine synchronized to the machine via the server by data collected from the partial inventory collection or the full inventory collection.

INTENT-BASED ORCHESTRATION IN HETEROGENOUS COMPUTE PLATFORMS

NºPublicación:  US2025378176A1 11/12/2025
Solicitante: 
INTEL CORP [US]
Intel Corporation
US_2025378176_PA

Resumen de: US2025378176A1

Various systems and methods for implementing intent-based orchestration in heterogenous compute platforms are described herein. An orchestration system is configured to: receive, at the orchestration system, a workload request for a workload, the workload request including an intent-based service level objective (SLO); generate rules for resource allocation based on the workload request; generate a deployment plan using the rules for resource allocation and the intent-based SLO; deploy the workload using the deployment plan; monitor performance of the workload using real-time telemetry; and modify the rules for resource allocation and the deployment plan based on the real-time telemetry.

TECHNIQUES FOR MANAGING A PLATFORM

NºPublicación:  US2025380016A1 11/12/2025
Solicitante: 
APPLE INC [US]
Apple Inc
US_2025380016_PA

Resumen de: US2025380016A1

The present disclosure generally relates to managing a platform. In some embodiments, movement of a platform, movement of components of a platform, and/or adjustments of configurable elements of a platform are based on one or more factors that facilitate a trip of a platform. Accordingly, the platform can perform trips efficiently, while increasing a comfort, safety, and/or overall experience of a person using the platform.

GEPÄCKPOSITIONSVERWALTUNGSSYSTEM, GEPÄCKPOSITIONSVERWALTUNGSVERFAHREN UND -PROGRAMM

NºPublicación:  DE102025107984A1 11/12/2025
Solicitante: 
MITSUBISHI LOGISNEXT CO LTD [JP]
MITSUBISHI LOGISNEXT CO., LTD
DE_102025107984_PA

Resumen de: DE102025107984A1

Bereitgestellt werden ein Objektpositionsverwaltungssystem, ein Gepäckpositionsverwaltungsverfahren und ein Programm, das den Komfort verbessern kann. Ein Gepäckpositionsverwaltungssystem beinhaltet: eine Bilderfassungseinheit, die ein aufgenommenes Bild erfasst, das durch Abbilden einer Gepäckplatzierungsfläche erhalten wird; eine Identifikationsinformationserfassungseinheit, die Identifikationsinformationen der Gepäckeingabe an einem Terminal erfasst; eine Bilderkennungseinheit, die einen vorbestimmten Teil eines Arbeiters/einer Arbeiterin, der/die in dem aufgenommenen Bild enthalten ist, erkennt und eine Bildfläche des Gepäcks, die in dem aufgenommenen Bild enthalten ist, schätzt; eine Spezifikationseinheit, die die Bildfläche mit einer vorbestimmten Positionsbeziehung zu dem vorbestimmten Teil aufweist, als eine Gepäckfläche des Gepäcks spezifiziert, und eine Speichereinheit, die Positionsinformationen auf Grundlage einer Pixelposition der Gepäckfläche in dem aufgenommenen Bild und der Identifikationsinformationen in gegenseitiger Assoziation speichert.

INFORMATION PROCESSING SYSTEM, INFORMATION PROCESSING DEVICE, INFORMATION PROCESSING METHOD, AND PROGRAM

NºPublicación:  WO2025254207A1 11/12/2025
Solicitante: 
AERONEXT INC [JP]
\u682A\u5F0F\u4F1A\u793E\u30A8\u30A2\u30ED\u30CD\u30AF\u30B9\u30C8
WO_2025254207_PA

Resumen de: WO2025254207A1

Problem To enable efficient transfers by a transfer means. Solution This information processing system comprises an acquisition unit that acquires information indicating whether at least a person and whether a package is included in the type of a transfer target, and a determination unit that determines a transfer route of a transfer means for transferring the transfer target, the transfer route including, as a destination, a location set in advance according to the type.

SYSTEMS AND METHODS OF CONTROLLING DEVICES TO ENABLE PHYSICAL RETAIL COMMERCE EMBEDDED INTO NON-RETAIL APPLICATIONS

NºPublicación:  EP4659182A1 10/12/2025
Solicitante: 
WALMART APOLLO LLC [US]
Walmart Apollo, LLC
CN_120813964_PA

Resumen de: WO2024163895A1

Some embodiments provide systems to control user computing devices to enable purchases, the system comprising: a product database; an inventory database; and a purchasing control circuit configured to: receive a prepare order API call from a third party gaming server and without a third party intermediary service, the prepare order API call comprises product identifying information of a first product, and is initiated through a separate gaming application executed on a remote user computing device; execute the prepare order API to obtain first product information and communicate directly with the gaming server a purchase order comprising at least some of the first product information to control the user computing device through the gaming application to render within a gaming graphical user interface a purchase order user interface; and complete a sale in response to receiving a confirmation directly from the gaming server, without the third party intermediary service.

MONITORING OF UNIT LOAD DEVICE AND CARTS USING WIRELESS IOT DEVICES

NºPublicación:  EP4659169A2 10/12/2025
Solicitante: 
TRACKONOMY SYSTEMS INC [US]
TRACKONOMY SYSTEMS, INC
US_2025232256_A1

Resumen de: US2025232256A1

A gateway node detects loading of a unit load device (ULD) into a vehicle by fusing sensed information. The gateway node, physically coupled to a loading platform of a loader, determines its location and a vehicle identifier (ID) of the vehicle based on the location. The gateway node detects an increase in elevation of the loading platform and receives a movement message containing a unique ID of a tape node attached to the ULD. The gateway node determines that the ULD is being loaded into the vehicle based on the vehicle ID, the detected increase in elevation of the loading platform, and an association of the unique ID with the ULD.

USE OF UNIVERSAL BAGGAGE SOURCE MESSAGES IN OFF-AIRPORT LOCATIONS

NºPublicación:  EP4659233A1 10/12/2025
Solicitante: 
MATEER CRAIG [US]
Mateer, Craig
KR_20250156118_PA

Resumen de: US2025336239A1

The disclosure describes a method for luggage management involving electronically acquiring an originating hardcopy bag tag identifier (OP-BTI) from a luggage item's bag tag associated with an originating travel carrier. The method uses the OP-BTI as a unique identifier to query a database for expanded baggage information messages that enumerate a passenger's travel path using a different mode of travel from the originating travel carrier. This process includes checking in a luggage item for the passenger using information from the expanded baggage information messages. The method accommodates various modes of travel and lodging entities, and it includes different acquiring devices for the OP-BTI, such as scanning or radio-frequency communication.

GLOBAL BAG TAG SYSTEM AND METHOD OF USE

NºPublicación:  EP4659232A1 10/12/2025
Solicitante: 
MATEER CRAIG [US]
Mateer, Craig
KR_20250160898_PA

Resumen de: AU2024213340A1

Provided is a global bag tag system and method of use, the method including: acquiring, by an electronic acquiring device, an electronic representation of a global multi-mode travel (GMMT) code indicum from a substrate associated with a global bag tag on a first luggage item of a registered passenger to create a digital GMMT data record linked to the registered passenger; accessing, by at least one of at least one processor, a global tracking expanded baggage source message (GTE-BSM) containing a passenger name record (PNR) number of the registered passenger using a unique identifier representative of the digital GMMT data record from a first computer system associated with a multi-mode baggage handling service; retrieving, by at least one of the at least one processor, check-in information of a leg of travel of the registered passenger with a designated travel carrier using information associated with the PNR number; and checking in, by at least one of the at least one processor, the first luggage item or the registered passenger and the first luggage item with the designated travel carrier based on the retrieved check-in information for the leg of travel.

GLOBAL BAG TAG SYSTEM AND METHOD OF USE

NºPublicación:  EP4659231A1 10/12/2025
Solicitante: 
MATEER CRAIG [US]
Mateer, Craig
KR_20250160898_PA

Resumen de: AU2024213340A1

Provided is a global bag tag system and method of use, the method including: acquiring, by an electronic acquiring device, an electronic representation of a global multi-mode travel (GMMT) code indicum from a substrate associated with a global bag tag on a first luggage item of a registered passenger to create a digital GMMT data record linked to the registered passenger; accessing, by at least one of at least one processor, a global tracking expanded baggage source message (GTE-BSM) containing a passenger name record (PNR) number of the registered passenger using a unique identifier representative of the digital GMMT data record from a first computer system associated with a multi-mode baggage handling service; retrieving, by at least one of the at least one processor, check-in information of a leg of travel of the registered passenger with a designated travel carrier using information associated with the PNR number; and checking in, by at least one of the at least one processor, the first luggage item or the registered passenger and the first luggage item with the designated travel carrier based on the retrieved check-in information for the leg of travel.

GLOBAL BAG TAG SYSTEM AND METHOD OF USE

NºPublicación:  EP4659230A1 10/12/2025
Solicitante: 
MATEER CRAIG [US]
Mateer, Craig
KR_20250160898_PA

Resumen de: AU2024213340A1

Provided is a global bag tag system and method of use, the method including: acquiring, by an electronic acquiring device, an electronic representation of a global multi-mode travel (GMMT) code indicum from a substrate associated with a global bag tag on a first luggage item of a registered passenger to create a digital GMMT data record linked to the registered passenger; accessing, by at least one of at least one processor, a global tracking expanded baggage source message (GTE-BSM) containing a passenger name record (PNR) number of the registered passenger using a unique identifier representative of the digital GMMT data record from a first computer system associated with a multi-mode baggage handling service; retrieving, by at least one of the at least one processor, check-in information of a leg of travel of the registered passenger with a designated travel carrier using information associated with the PNR number; and checking in, by at least one of the at least one processor, the first luggage item or the registered passenger and the first luggage item with the designated travel carrier based on the retrieved check-in information for the leg of travel.

GLOBAL BAG TAG SYSTEM AND METHOD OF USE

NºPublicación:  EP4659229A1 10/12/2025
Solicitante: 
MATEER CRAIG [US]
Mateer, Craig
KR_20250160898_PA

Resumen de: AU2024213340A1

Provided is a global bag tag system and method of use, the method including: acquiring, by an electronic acquiring device, an electronic representation of a global multi-mode travel (GMMT) code indicum from a substrate associated with a global bag tag on a first luggage item of a registered passenger to create a digital GMMT data record linked to the registered passenger; accessing, by at least one of at least one processor, a global tracking expanded baggage source message (GTE-BSM) containing a passenger name record (PNR) number of the registered passenger using a unique identifier representative of the digital GMMT data record from a first computer system associated with a multi-mode baggage handling service; retrieving, by at least one of the at least one processor, check-in information of a leg of travel of the registered passenger with a designated travel carrier using information associated with the PNR number; and checking in, by at least one of the at least one processor, the first luggage item or the registered passenger and the first luggage item with the designated travel carrier based on the retrieved check-in information for the leg of travel.

SECURITY, TRACKING DEVICE, DATA COLLECTION, BAGGAGE SOURCE MESSAGE GENERATION WITH SECURITY INFORMATION AND MORE

NºPublicación:  EP4659228A1 10/12/2025
Solicitante: 
MATEER CRAIG [US]
Mateer, Craig
KR_20250160915_PA

Resumen de: AU2024215107A1

Disclosed systems may include: a processor; and non-transitory, tangible memory storing instructions thereon. The processor may be configured to execute the instructions to: generate a baggage information message including an International Air Transport Association (IATA) bag tag data that includes an IATA license plate number uniquely identifying a checked luggage item and a pseudo-ID that identifies a checked luggage item of a passenger to be screened by a security screening imaging machine. The processor may be configured to execute the at least one instruction to: match the IATA license plate number in the baggage information message to an IATA license plate number in a manifest to extract the pseudo-ID from the baggage information message; retrieve a security screening image using at least one of the extracted pseudo ID or the IATA license plate number; and provide the security screening image to a security screening workstation.

SECURITY, TRACKING DEVICE, PERSONAL IDENTIFIABLE INFORMATION, AND MORE

NºPublicación:  EP4659227A1 10/12/2025
Solicitante: 
MATEER CRAIG [US]
Mateer, Craig
KR_20250160917_PA

Resumen de: AU2024213375A1

Various methods, computer systems, and computer readable media for handling luggage are disclosed. These methods, systems, and media may include obtaining, by at least one processor, a first baggage information message associated with an arrival of a checked luggage item of a passenger in a manifest, and extracting from the first baggage information message an IATA license plate number and the PNR number. Disclosed methods, systems, and media may further include retrieving a personal identifiable information in a PNR database in communication with a computer system associated with the air carrier using the extracted PNR number; and obtaining a second baggage information message created by a baggage handling system that includes the IATA license plate number and a primary identifier (ID) that links to a security screening image (SSI) of the checked luggage item.

SECURITY, TRACKING DEVICE, AND MORE

NºPublicación:  EP4659226A2 10/12/2025
Solicitante: 
MATEER CRAIG [US]
Mateer, Craig
KR_20250160908_PA

Resumen de: AU2024215194A1

Various methods and systems for tracking a luggage item of a passenger are disclosed. They may include, tracking, by at least one processor, a tracking device associated with the luggage item; and loading security screening information into memory of the tracking device, after the luggage item is screened by a first baggage screening requirement to travel using a first mode of travel. The method and systems may include generating, by at least one of the at least one processor, a baggage information message that includes the security screening information to a network interface of a computing system to screen the luggage item for a security threat that is the same as or lower than a first baggage screening requirement. This may enable the bypass rescreening of the luggage item at the second baggage screening requirement to transfer travel from the first mode of travel to a second mode of travel.

SYSTEMS AND METHODS FOR COLLECTIBLES

NºPublicación:  EP4659177A1 10/12/2025
Solicitante: 
THE UPPER DECK COMPANY [US]
The Upper Deck Company
AU_2024215627_PA

Resumen de: AU2024215627A1

A system can be configured to facilitate collecting and actions associated with collectibles, including collecting and actions involving various types of collectibles. A system can be configured to perform operations including generating a physical collectible record associated with a physical collectible and a physical collectible system; generating a digital-only collectible record associated with a digital-only collectible and an electronic collectible system; generating an NFT collectible record associated with an NFT collectible and an NFT collectible system; and/or transferring the physical collectible and the NFT collectible to the electronic collectible system. The physical collectible system and the NFT collectible system can be in electronic communication with the electronic collectible system.

SYSTEM AND METHOD FOR EXPANDED BAGGAGE INFORMATION MESSAGES

NºPublicación:  EP4659225A1 10/12/2025
Solicitante: 
MATEER CRAIG [US]
Mateer, Craig
KR_20250160912_PA

Resumen de: AU2024213640A1

The disclosure describes a method for luggage management involving electronically acquiring an originating hardcopy bag tag identifier (OP-BTI) from a luggage item's bag tag associated with an originating travel carrier. The method uses the OP-BTI as a unique identifier to query a database for expanded baggage information messages that enumerate a passenger's travel path using a different mode of travel from the originating travel carrier. This process includes checking in a luggage item for the passenger using information from the expanded baggage information messages. The method accommodates various modes of travel and lodging entities, and it includes different acquiring devices for the OP-BTI, such as scanning or radio-frequency communication.

SYSTEMS AND METHODS FOR UNIVERSAL BAGGAGE HANDLING

NºPublicación:  EP4659224A1 10/12/2025
Solicitante: 
MATEER CRAIG [US]
Mateer, Craig
KR_20250160916_PA

Resumen de: AU2024214764A1

The disclosure includes a system for checking in baggage of a passenger. The system includes an electronic acquiring device that acquires an originating hardcopy bag tag identifier (OP-BTI) associated with or printed on a printed bag tag from an originating airline travel carrier that is on a luggage item of a passenger. This creates a digital BTI data record linked to the airline travel carrier. The system further includes utilizing the OP-BTI as a unique identifier to query a database to retrieve return flight data of the passenger. The system includes checking in, by the at least one processor, each luggage item for the passenger for the return flight with a return flight travel carrier identified in the retrieved return flight data.

DIGITAL RECREATION OF ORIGINAL BAG TAG IDENTIFIER

NºPublicación:  EP4659222A1 10/12/2025
Solicitante: 
MATEER CRAIG [US]
Mateer, Craig
KR_20250160907_PA

Resumen de: AU2024214820A1

The disclosure presents a method and system for luggage handling and/or check-in processes for passengers on return travel. After completion of a leg of travel of a passenger with a travel carrier, the process includes electronically acquiring, by at least one electronic acquiring device, an originating hardcopy bag tag identifier (OP-BTI) printed on an originating printed bag tag from the travel carrier that is on a luggage item to create a digital BTI data record linked to the travel carrier. The method includes accessing information of the originating printed bag tag of the passenger populated in a manifest file. The method includes printing, by a printing device, a return leg travel International Air Transport Association (IATA) bag tag for a return flight linked to the originating printed bag tag.

MULTI-LEG TRAVEL BAGGAGE TRACKING

NºPublicación:  EP4659221A1 10/12/2025
Solicitante: 
MATEER CRAIG [US]
Mateer, Craig
KR_20250160904_PA

Resumen de: AU2024215294A1

This disclosure presents a method for streamlining both the luggage handling and check-in processes for passengers traveling with a first-mode travel carrier (FMTC). The process involves obtaining the identifier of a paper bag tag (BT) from the FMTC on a passenger's luggage, converting it into digital data, and linking it to the FMTC. The passenger's bag number is extracted from the digital data, and additional passenger data such as the passenger name record (PNR) is accessed from the FMTC using this number. The method then autonomously generates a passenger manifest record, combining the digital bag tag data with the PNR, to facilitate check-in for the return leg of the journey with a return travel carrier (RTC). This process is repeated for multiple passengers associated with a lodging entity, creating passenger manifest files that serve as a conduit for checking in passengers with the RTC.

RETURN LEG REMOTE PASSENGER BAG TAG GENERATION

NºPublicación:  EP4659220A1 10/12/2025
Solicitante: 
MATEER CRAIG [US]
Mateer, Craig
KR_20250160911_PA

Resumen de: AU2024214684A1

The disclosure presents a method for luggage handling processes for passengers on return travel. The process includes acquiring, by an acquiring device, an originating bag tag identifier (O-BTI) or International Air Transport Association (IATA) license plate associated with a bag tag affixed to a luggage item of the passenger. This O-BIT is used to create a digital BTI data record linked to the travel carrier. The method includes printing, by a printing device, a return leg travel IATA-formatted bag tag for a return flight linked to the originating printed bag tag. Additionally, the method may remotely check in the passenger for the return flight by accessing a B-type message using the digital BTI data record, the B-type message containing a passenger name record (PNR) number.

RETURN LEG REMOTE PASSENGER CHECK-IN

NºPublicación:  EP4659219A1 10/12/2025
Solicitante: 
MATEER CRAIG [US]
Mateer, Craig
KR_20250160910_PA

Resumen de: AU2024213263A1

Various methods and systems for improving the handling of baggage across a first mode travel carrier and a second mode travel carrier are disclosed. The systems and methods may utilize an electronic device, an originating paper bag tag identifier that is on a luggage item of a passenger to create a digital bag tag identifier data linked to the first mode travel carrier. A passenger bag number and passenger name record may be used to autonomously create a passenger manifest record from the bag tag identifier data. The passenger manifest record may include data for check-in of a return leg of the passenger with the second mode travel carrier. In some embodiments, the system and methods may be applied for a plurality of passengers associated with a lodging entity to autonomously form a manifest file with a conduit for check-in of the plurality of passengers, respectively.

SYSTEM AND METHOD FOR CREATING A LUGGAGE MANIFEST AND REMOTELY CHECKING IN

NºPublicación:  EP4659218A1 10/12/2025
Solicitante: 
MATEER CRAIG [US]
Mateer, Craig
KR_20250160901_PA

Resumen de: AU2024213379A1

Provided is a system and method for security screening integration for multiple modes of travel, the method including: obtaining, by at least one of at least one processor, a baggage source message (BSM) associated with an arrival of a luggage item of a passenger, the BSM comprising travel data of a first mode of travel of the luggage item on an air carrier; matching, by at least one of the at least one processor, a passenger name of the passenger in the BSM with a passenger name in a manifest for a second mode of travel different from the first mode of travel; extracting, by at least one of the at least one processor, an International Air Transport Association (IATA) license plate number from the BSM; based on an identification of the second mode of travel and matching the passenger name in the BSM with the passenger name in the manifest for the second mode of travel, triggering, by at least one of the at least one processor, a security screening integration assistant (SSIA) process comprising accessing and assembling security screening image and related data captured during a first mode of travel security screen using the IATA license plate number and communicating the assembled security screening image and related data to an integrated security screening station; receiving, by at least one of the at least one processor, a response of a security analysis from the integrated security screening station for transfer of the luggage item to the second mode of travel; and causing

SYSTEM AND METHOD FOR CREATING LUGGAGE MANIFESTS

NºPublicación:  EP4659217A1 10/12/2025
Solicitante: 
MATEER CRAIG [US]
Mateer, Craig
KR_20250160899_PA

Resumen de: AU2024215943A1

Provided is a system and method for creating luggage manifests, the method including: a) identifying, by at least one of at least one processor, a baggage source message (BSM) associated with an arrival of a luggage item of a passenger, wherein the BSM comprises an airport code associated with an airport and travel data of a first mode of travel carrier of the luggage item; b) matching, by at least one of the at least one processor, a passenger name of the passenger in the BSM with a passenger name in a manifest for a second mode of travel different from the first mode of travel, wherein the second mode of travel is local to the airport code; c) extracting, by at least one of the at least one processor, an International Air Transport Association (IATA) license plate number from the BSM; and d) creating, by at least one of the at least one processor, a luggage item manifest record for the luggage item, wherein the luggage item manifest record comprises the IATA license plate number, and wherein the luggage item manifest record is accessible by predetermined electronic acquiring devices configured to scan an originating hardcopy bag tag identifier (OH-BTI) associated with or printed on an originating hardcopy bag tag from the first mode of travel carrier that is attached to the luggage item.

SYSTEM AND METHOD FOR SECURITY SCREENING INTEGRATION FOR MULTIPLE MODES OF TRAVEL

NºPublicación:  EP4659216A1 10/12/2025
Solicitante: 
MATEER CRAIG [US]
Mateer, Craig
KR_20250160901_PA

Resumen de: AU2024213379A1

Provided is a system and method for security screening integration for multiple modes of travel, the method including: obtaining, by at least one of at least one processor, a baggage source message (BSM) associated with an arrival of a luggage item of a passenger, the BSM comprising travel data of a first mode of travel of the luggage item on an air carrier; matching, by at least one of the at least one processor, a passenger name of the passenger in the BSM with a passenger name in a manifest for a second mode of travel different from the first mode of travel; extracting, by at least one of the at least one processor, an International Air Transport Association (IATA) license plate number from the BSM; based on an identification of the second mode of travel and matching the passenger name in the BSM with the passenger name in the manifest for the second mode of travel, triggering, by at least one of the at least one processor, a security screening integration assistant (SSIA) process comprising accessing and assembling security screening image and related data captured during a first mode of travel security screen using the IATA license plate number and communicating the assembled security screening image and related data to an integrated security screening station; receiving, by at least one of the at least one processor, a response of a security analysis from the integrated security screening station for transfer of the luggage item to the second mode of travel; and causing

SYSTEM AND METHOD FOR CREATING A LUGGAGE MANIFEST

NºPublicación:  EP4659215A1 10/12/2025
Solicitante: 
MATEER CRAIG [US]
Mateer, Craig
KR_20250160901_PA

Resumen de: AU2024213379A1

Provided is a system and method for security screening integration for multiple modes of travel, the method including: obtaining, by at least one of at least one processor, a baggage source message (BSM) associated with an arrival of a luggage item of a passenger, the BSM comprising travel data of a first mode of travel of the luggage item on an air carrier; matching, by at least one of the at least one processor, a passenger name of the passenger in the BSM with a passenger name in a manifest for a second mode of travel different from the first mode of travel; extracting, by at least one of the at least one processor, an International Air Transport Association (IATA) license plate number from the BSM; based on an identification of the second mode of travel and matching the passenger name in the BSM with the passenger name in the manifest for the second mode of travel, triggering, by at least one of the at least one processor, a security screening integration assistant (SSIA) process comprising accessing and assembling security screening image and related data captured during a first mode of travel security screen using the IATA license plate number and communicating the assembled security screening image and related data to an integrated security screening station; receiving, by at least one of the at least one processor, a response of a security analysis from the integrated security screening station for transfer of the luggage item to the second mode of travel; and causing

AUTOMOTIVE PROTECTIVE DEVICE TRACKING

NºPublicación:  EP4658534A1 10/12/2025
Solicitante: 
AUTOLIV ASP INC [US]
Autoliv ASP, Inc
CN_120641303_PA

Resumen de: CN120641303A

An automotive protection device may be configured to be mounted to a vehicle to provide protection to an occupant of the vehicle during a collision event. The automotive protection device may include a textile component formed of a textile (300) and including an RFID chip (320a, 320b), where the textile component is associated with an identifier of the RFID chip; and a non-textile component coupled to the textile component and associated with the identifier of the RFID chip, where the non-textile component is associated with the identifier of the RFID chip at an assembly time at which the non-textile component is coupled to the textile component.

METHODS AND DEVICES FOR GROUPING AND TRACING OBJECTS

NºPublicación:  EP4659171A1 10/12/2025
Solicitante: 
EDGYN [FR]
EDGYN
WO_2024161094_PA

Resumen de: WO2024161094A1

The invention relates to a method for grouping a plurality of objects (OBJi) in a grouping unit (CONT), which comprises the following steps: - acquiring (E60) at least one image (IMGi), at least one region (RSi) of a surface of each of the objects being represented in at least one such image; - processing (E70) the at least one image in order to obtain, for each of the objects, a digital signature (SIGOi) for this object (OBJi) from the surface region (RSi) of this object; - obtaining (E80) a unique identifier (IDCONT) for the grouping unit; - obtaining (E90), for each of the objects (OBJi), a datum (INDi, INFOOi) associated with this object in a first memory (BD1) from the digital signature (SIGOi) of this object; and - associating (E100), in a second memory (BD2), the datum (INDi, INFOOi) and/or the digital signature (SIGOi) associated with each object (OBJi) with the unique identifier (IDCONT) of the grouping unit (CONT).

SYSTEM USING RFID TECHNOLOGY FOR THE INVENTORY OF OBJECTS IN A SPACE DELIMITED BY AN ENCLOSURE

NºPublicación:  EP4659140A1 10/12/2025
Solicitante: 
NEXESS [FR]
Nexess
WO_2024160648_A1

Resumen de: WO2024160648A1

The invention relates to a system for the inventory of objects (OMT1, OMTN) contained in an enclosed space delimited by an enclosure. The system comprises a control device (100) connected to a UHF RFID reader (250) arranged in the enclosed space, and the UHF RFID reader is provided with at least one antenna which emits electromagnetic waves to RFID tags (Puc1, PucN) arranged on the objects, the objects each having a predetermined position in the enclosed space. According to the invention, at least a portion of the predetermined positions comprise an auxiliary radiating element (Era1, EraN) radiating electromagnetic waves.

COMPUTER-IMPLEMENTED METHOD FOR PLANNING AND MONITORING A COLD CHAIN

NºPublicación:  EP4659170A1 10/12/2025
Solicitante: 
REP IP AG [CH]
REP IP AG
CN_120615195_PA

Resumen de: CN120615195A

A computer-implemented method for planning and monitoring a cold chain when transporting temperature-sensitive goods from a starting point to a destination in a temperature-controlled transport container, the method comprising: creating at least one route segment combination for at least one transport route from the starting point to the destination, -calculating and displaying an expected internal temperature profile of the transport container for the at least one route segment combination from the route segment-specific estimated data and the container-specific data, the expected internal temperature profile being located within a predefined temperature range,-recording route segment-specific actual data during the transport, -during the transportation, updating the calculation of the expected internal temperature profile of the transportation container for the remainder of the transportation route, taking into account the route segment-specific actual data.

Computer-implemented method and apparatus, and computer program product

NºPublicación:  GB2641613A 10/12/2025
Solicitante: 
BOE TECHNOLOGY GROUP CO LTD [CN]
BEIJING BOE TECHNOLOGY DEV CO LTD [CN]
BOE Technology Group Co., Ltd,
Beijing Boe Technology Development Co., Ltd
GB_2641613_PA

Resumen de: GB2641613A

A computer-implemented method and apparatus, and a computer program product. The computer-implemented method comprises: by means of a first input interface, receiving a material query instruction inputted by a user; in response to the material query instruction, acquiring, from a data source, data of a plurality of materials for manufacturing one or more product components, wherein the data of the plurality of materials comprises the available inventory of the plurality of materials; calculating the maximum consumption of the plurality of materials with respect to at least one of the one or more product components; and according to the maximum consumption of the corresponding materials of the plurality of materials and the available inventory of the corresponding materials of the plurality of materials, determining whether the amount of one or more materials for manufacturing the one or more product components is insufficient.

PRODUCTION MANAGEMENT APPARATUS

NºPublicación:  EP4660908A1 10/12/2025
Solicitante: 
ISHIDA SEISAKUSHO [JP]
Ishida Co., Ltd
EP_4660908_PA

Resumen de: EP4660908A1

A production management apparatus 4 manages a production line 100. The production management apparatus 4 includes a communication unit 4D configured to communicate with an information providing unit 31A configured to provide identification information to a packaging material F; and a control unit 4C configured to generate the identification information to be transmitted to the information providing unit 31A, and configured to transmit the generated identification information via the communication unit 4D. While the production line 100 produces a product M, when the control unit 4C executes intermediate inspection control to inspect whether inspection functions of inspection apparatuses 5, 6, and 7 operate normally, the control unit 4C transmits specific identification information, which is the identification information specifying that the product is a product for inspection, to the information providing unit 31A.

A container for automatically measuring the amount and quality of food

NºPublicación:  GB2641596A 10/12/2025
Solicitante: 
PATARO PTY LTD [AU]
Pataro Pty Ltd
GB_2641596_PA

Resumen de: GB2641596A

A system for allowing a user to automatically measure the contents in a container. The system has a base for holding the contents within the container, a lid for the base of the container, a central processing unit within the container, an antenna connected to the central processing unit for transmitting data, a software application running on a mobile device for communicating with the central processing unit, a remote server for connecting to the central processing unit and to the internet and a sensor device connected to the central processing unit to create data files about the container. The system is characterized in that the sensor device has a particle detector for measuring the contents of the container.

VERIFYING ITEMS IN A SHOPPING CART BASED ON WEIGHTS MEASURED FOR THE ITEMS

NºPublicación:  EP4658989A1 10/12/2025
Solicitante: 
MAPLEBEAR INC [US]
Maplebear Inc
AU_2023433360_PA

Resumen de: AU2023433360A1

An automated checkout system accesses an image of an item inside a shopping cart and receives an identifier determined for the item inside the cart. The automated checkout system determines a load measurement for the item inside the cart using load sensors coupled to the cart. The automated checkout system encodes a feature vector of the item based at least on the determined weight, the accessed image, and the determined identifier. The automated checkout system inputs the feature vector to a machine-learning model to determine a confidence score describing a likelihood that the identifier determined for the item matches the item placed inside the cart. If the confidence score is less than a threshold confidence score, the automated checkout system generates a notification alerting an operator of an anomaly in the identifier.

INVENTORY ANALYZING SYSTEMS AND METHODS IN DIAGNOSTIC LABORATORY SYSTEMS

NºPublicación:  EP4659172A1 10/12/2025
Solicitante: 
SIEMENS HEALTHCARE DIAGNOSTICS INC [US]
Siemens Healthcare Diagnostics, Inc
CN_120660104_PA

Resumen de: CN120660104A

A method of analyzing inventory in a diagnostic laboratory system includes capturing images of a plurality of inventory items used in the diagnostic laboratory system, wherein the capturing generates image data; analyzing the image data to identify one or more inventory items; and generating, in response to the analysis, an instruction to cause a printer to print one or more identification tags, wherein each of the one or more identification tags includes identification data identifying one of the one or more inventory items. Other methods and systems are disclosed.

ロボット分岐システム

NºPublicación:  JP2025539782A 09/12/2025
Solicitante: 
レイドス・セキュリティ・ディテクション・アンド・オートメーション・インコーポレイテッド
JP_2025539782_PA

Resumen de: AU2023379530A1

A security checkpoint system is provided. The security checkpoint system includes an automated robotic vehicle including a chassis having a bin secured thereto. The security checkpoint system further includes an identification system to associate an individual that has placed an object into the bin with the automated robotic vehicle. The security checkpoint system further includes a scanner to scan the object in the automated robotic vehicle as the automated robotic vehicles passes therethrough. The security checkpoint system further includes a computing device including a processing unit to cause the automated robotic vehicle to navigate to a location of the individual after the automated robotic vehicle has passed through the scanner.

レーン倉庫管理方法、システム及びデバイス

NºPublicación:  JP2025539877A 09/12/2025
Solicitante: 
杭州海康机器人股▲ふん▼有限公司
JP_2025539877_PA

Resumen de: WO2024114473A1

The present application relates to the technical field of automatic logistics. Provided are a lane warehouse management method and system, and a device. The system comprises an iWMS, an RCMS, an RCS and an AGV. The iWMS is responsible for selecting a target shelf, performing dynamic management on lane shelves, and sending a warehouse task instruction to the RCMS; the target shelf is used for bearing a target material, and the task instruction comprises a warehouse-inbound and warehouse-outbound instruction, a warehouse-transfer lane instruction and a lane adjustment instruction; the RCMS is responsible for parsing the task instruction, which is issued by the iWMS, selecting a target storage position of a task shelf, and sending a first shelf transport instruction to the RCS, wherein the first shelf transport instruction comprises information of the target storage position and information of the target shelf; the RCS generates a first target path, and controls, on the basis of the first target path, a robot to move the target shelf to the target storage position; and the AGV is responsible for transporting the target shelf to the target storage position. By means of the lane warehouse management method and system and the device, the functions of dynamic allocation, intelligent warehouse transfer, dynamic adjustment, etc. of lanes can be implemented, such that the warehouse storage rate and the warehouse-inbound and warehouse-outbound efficiency are improved.

インコタームズベースの物流フォワーディングサービス装置

NºPublicación:  JP2025539686A 09/12/2025
Solicitante: 
ホトロジックスカンパニーリミテッド
JP_2025539686_PA

Resumen de: WO2025079754A1

This Incoterms-based logistics forwarding service device comprises: an Incoterms rule selection unit that receives a selection of one of a plurality of Incoterms rules; an Incoterms quotation template generation unit that generates an Incoterms quotation template according to the selected Incoterms rule; a forwarder control unit that provides the Incoterms quotation template to a forwarder and prompts the forwarder to fill in a service fee for each transaction item in the Incoterms quotation template; and a forwarder quotation processing unit that generates an Incoterms adaptive quotation on the basis of the service fee for each transaction item.

配替計画作成方法、配替計画作成装置、及び配替計画作成プログラム

NºPublicación:  JP2025178608A 09/12/2025
Solicitante: 
JFEスチール株式会社
JP_2025178608_PA

Resumen de: JP2025178608A

【課題】倉庫内に山積みされた製品の最適な配替計画を作成可能な配替計画作成方法、配替計画作成装置、及び配替計画作成プログラムを提供すること。【解決手段】本発明に係る配替計画作成方法は、複数の製品置場に山積みされた製品を搬出先毎に揃える配替作業の計画を作成する配替計画作成方法であって、搬出対象の製品が山積みされている製品置場である元置場を抽出する抽出ステップと、抽出された各元置場について、搬出対象の製品のみを載置する製品置場である先置場、搬出対象外の製品を載置する製品置場である対象外材置場、及び搬出対象外の製品を一時的に載置する製品置場である仮置場を、製品の移動効率を考慮して決定することにより、配替作業の計画を作成する作成ステップと、を含む。【選択図】図6

多重領域センシング可能なマルチモーダル基盤電子装置、およびこの動作方法

NºPublicación:  JP2025539735A 09/12/2025
Solicitante: 
ウィルログカンパニーリミテッド
JP_2025539735_PA

Resumen de: WO2024101970A1

A multimodal-based electronic device according to the present disclosure may comprise: a memory that stores at least one instructor and a lookup table; a sensor subsystem configured to sense environmental information including temperature or humidity within different distances according to an operation mode; and a processor configured to drive the electronic device and provide instructions regarding an operation mode by interpreting the instructor.

基于机器学习的多层穿梭机器人动态任务分配方法

NºPublicación:  CN121084828A 09/12/2025
Solicitante: 
苏州德力智慧物流科技有限公司
CN_121084828_A

Resumen de: CN121084828A

本发明涉及物流仓储的任务分配管理技术领域,更具体地,本发明涉及基于机器学习的多层穿梭机器人动态任务分配方法,方法包括:对于待分配任务与空闲机器人的每个组合,计算理想执行时间;预测机器人的未来运动轨迹,在未来运动轨迹经过的关键资源点上,将所有机器人对关键资源点产生的时空占用势场进行叠加,得到关键资源点的时空聚集密度;计算空闲机器人的调度稳定性惩罚项;将空闲机器人的理想执行时间与调度稳定性惩罚进行时间相加,得到最终评估值;选择最终评估值最小的空闲机器人执行待分配任务,有效地提高了机器人任务分配的准确性,提高机器人执行任务的效率。

飞机发电机维修中航材自动领用方法、装置、介质及设备

NºPublicación:  CN121094723A 09/12/2025
Solicitante: 
沈阳北方飞机维修有限公司
CN_121094723_PA

Resumen de: CN121094723A

本公开涉及物资管理技术领域,提供了一种飞机发电机维修中航材自动领用方法、装置、介质及设备,包括:获取飞机发电机的航材清单信息,并基于航材清单信息生成初始航材清单表;基于维修必更换航材清单,更新初始航材清单表,得到第一航材清单表;接收用户基于实际维修检查结果输入的维修需更换航材选择信息,基于维修需更换航材选择信息更新初始航材清单表,得到第二航材清单表;基于第一和第二航材清单表,确定航材领用需求;根据航材领用需求和多个库房的库存数据,生成目标航材领料单。本实施例通过整合维修必换信息与实际检查情况,结合库存数据自动生成领料单,优化了飞机发电机维修过程中的航材管理流程,提升了整体维修工作的质量和效率。

一种钢管柔性输送调度方法及系统

NºPublicación:  CN121094489A 09/12/2025
Solicitante: 
邯郸市友发钢管有限公司
CN_121094489_PA

Resumen de: CN121094489A

本发明涉及工业自动化生产技术领域,具体涉及一种钢管柔性输送调度方法及系统。其方法包括:获取生产线中多个工位的实时状态数据,包括各工位的状态、输入缓存区的钢管数量;基于各工位的状态,确定生产线上已完成加工的钢管的源工位和处于空闲状态的目标工位之间的待输送任务;计算各待输送任务的全局调度优先级;选取全局调度优先级最高的待输送任务进行执行。即本发明的方案能够提升整条生产线的运行效率和设备利用率。

一种农产品全产业链节点云仓及智能管理系统

NºPublicación:  CN121094687A 09/12/2025
Solicitante: 
安徽东方果园生物科技有限公司
CN_121094687_A

Resumen de: CN121094687A

本发明智能云仓管理技术领域,尤其是一种农产品全产业链节点云仓及智能管理系统,包括:分布式云仓网络;多源感知设备层,部署于各云仓内;智能仓储设备组,包括自动化立体仓库、AGV搬运机器人集群、自动分拣系统及搭载近红外检测探头的智能盘点机器人;边缘计算网关,部署于分布式云仓网络本地并连接多源感知设备层与智能仓储设备组;此装置通过分布式云仓网络与边缘计算的协同将算力、存储与控制能力前置至仓内及途中,实现冷链断链风险的即时预警与自动修正,并借助近红外实时成分检测同步降低损耗率、质量纠纷与碳排放,最终形成数据透明、可追溯且资源调度最优的农产品全产业链云仓体系。

基于倾转旋翼无人机的智能物流系统

NºPublicación:  CN121094681A 09/12/2025
Solicitante: 
南京晓庄学院
CN_121094681_PA

Resumen de: CN121094681A

本发明公开了基于倾转旋翼无人机的智能物流系统,涉及倾转旋翼无人机控制技术领域,该系统包括:无人机端、客户端和云控服务器,无人机端内置信息采集单元和实时避障单元;云监控服务器内置信息收发模块、路径生成模块和集群协同模块,通过各模块与单元相互协同,构成了一个从云端到机载、从全局规划到局部避障的智能物流系统,在拥堵城市与偏远地区均能实现高效、安全、稳定的无人机配送。

一种订单处理的方法和装置

NºPublicación:  CN121094678A 09/12/2025
Solicitante: 
北京京东远升科技有限公司
CN_121094678_PA

Resumen de: CN121094678A

本发明公开了一种订单处理的方法和装置,涉及物流技术领域。该方法的一具体实施方式包括:接收到客户端发送的物流下单请求,根据第一物流数据确定与下单标识对应的第一产品,第一产品指示了第一服务商;在第一服务商具有预设标识的情况下,生成中性物流标签;接收到与中性物流标签对应的第二物流数据后,根据第二物流数据确定对应的目标产品,目标产品指示了目标服务商;根据第二物流数据向目标服务商发送下单请求,以获取与下单标识对应的真实物流标签,并利用真实物流标签替换中性物流标签。该实施方式能够实时动态地选择合适的服务商进行下单,避免提前下单导致运输成本浪费,降低了运输成本,保证了数据准确性,提升了订单处理效率。

一种物流机器人的传感器系统及其数据处理方法

NºPublicación:  CN121083660A 09/12/2025
Solicitante: 
广东开放大学(广东理工职业学院)
CN_121083660_PA

Resumen de: CN121083660A

本发明提出了一种物流机器人的传感器系统及其数据处理方法。属于智能物流、机器人感知与人工智能信号处理交叉技术领域。所述方法包括:通过多源传感器实时采集物流机器人在移动过程中的多源数据,生成多源传感器原始数据集;对多源传感器原始数据集进行数据融合预处理,生成融合后的同步数据流;基于同步数据流,通过重心反演算法,结合货物三维模型与压力分布特征,反演得到货物动态重心位置数据,并同步记录对应的时间戳信息,生成货物动态重心位置‑时间序列数据;通过融合多源传感器数据,能够实时、精准地反演货物动态重心位置,大幅提高了机器人对重心变化的感知能力。

一种多级装配车间生产与运输集成调度方法、设备及介质

NºPublicación:  CN121094435A 09/12/2025
Solicitante: 
广东工业大学
CN_121094435_PA

Resumen de: CN121094435A

本发明提供了一种多级装配车间生产与运输集成调度方法、设备及介质,该方法初始化算法参数后;生成初始化种群:对生产调度方案和运输调度方案进行编码操作形成种群中的染色体,再以车间为单位分解染色体,分别形成总装子模型、部装子模型和加工子模型;初始化各个子模型的设计目标ctj,再按照总装、部装、加工的顺序,使用GA求解各个子模型,直至所有子模型求解完毕;按照顺序重复求解各个子模型,直到算法运算达到终止条件,最后从解集合中选择订单完成时间与订单要求交付时间最接近的解作为最优解输出。该方法把复杂的调度问题以车间为单位分解成多个子模型进行求解,减小调度问题的复杂度,能够更好的找到问题的最优解。

一种农产品电商销售中的智能库存管理方法及系统

NºPublicación:  CN121094711A 09/12/2025
Solicitante: 
苏州市农业科技发展有限公司
CN_121094711_PA

Resumen de: CN121094711A

本发明涉及数据处理系统技术领域,具体涉及一种农产品电商销售中的智能库存管理方法及系统,包括:前置划分单元,获取多个电商平台销售数据中的购买数据集,将购买数据集划分为多个单类购买总集;后置划分单元,针对单类购买总集中的购买数据集进一步分类分析,对其中任意两个买家联系方式不同的购买数据集进行关联分析得到关联指数;订单组合单元,基于两个购买数据集之间的关联指数构建关联数据组,针对关联数据组中的购买数据集进行信息合并处理,基于购买数据集对应的买家信息数据集不同,为每个购买数据集赋予一个买家序号,对同一买家序号的部分相邻产品订单数据集进行订单合并处理;重新组成单类购买总集。

一种用于料场堆料的盘存方法、系统、终端及介质

NºPublicación:  CN121095451A 09/12/2025
Solicitante: 
石横特钢集团有限公司
CN_121095451_PA

Resumen de: CN121095451A

本发明属于料场管理技术领域,具体公开一种用于料场堆料的盘存方法、系统、终端及介质,盘存方法包括:采集原始空间数据;对原始数据进行点云配准、滤波和降噪处理,构建堆料的三维模型;基于所述三维模型采用积分算法计算堆料体积,并结合物料密度参数估算堆料重量。通过无人机执行预设飞行任务自动采集堆料区域三维数据,省去人工测量与登高作业流程,大幅缩短盘点周期,显著提升料场盘存的整体效率;采用空中扫描方式替代人工近距测量,避免作业人员接近高堆或危险区域,有效降低作业风险;同时通过路径规划与多视角扫描实现料堆全覆盖,提升点云数据的空间密度和均匀性,进而提高体积计算准确性。

一种库存更新方法、装置、设备、存储介质和程序产品

NºPublicación:  CN121094697A 09/12/2025
Solicitante: 
中国工商银行股份有限公司
CN_121094697_PA

Resumen de: CN121094697A

本发明公开了一种库存更新方法、装置、设备、存储介质和程序产品,涉及云计算领域,方法包括:接收到材料库的门禁触发响应后,向图像采集设备发送拍摄指令,接收图像采集设备拍摄的目标材料架对应的当前架位图像;将当前架位图像输入预先训练好的识别模型中,得到目标材料架的当前材料信息,识别模型为以提取图像中的材料信息为目的,采用识别模型的损失函数和学习率调度策略为优化指标,对神经网络模型进行训练后得到的模型;根据目标材料架的标识,确定目标材料架的历史材料信息;根据当前材料信息与历史材料信息,更新材料库的库存信息。本方法实现了自动、准确且实时的库存信息更新,减少了人工干预、增加库存更新准确率、提高管理效率。

一种智能物流的多目标物流路径优化方法及系统

NºPublicación:  CN121094684A 09/12/2025
Solicitante: 
北京掇月信息科技有限公司
CN_121094684_PA

Resumen de: CN121094684A

本发明涉及路径优化技术领域,具体涉及一种智能物流的多目标物流路径优化方法及系统,首先根据物流运输中靠近前端的中转站点的运输路径较为固定的特点,结合节点出现频率确定初步表征节点优先级的固定节点可能性;而后在固定节点可能性、空间距离以及序列分布相似的维度上确定对应的表征可替代性的可替代节点数量;进一步地结合可替代节点数量以及固定节点可能性在当前周期和历史周期的分布情况,综合表征每个运输路径节点的优先级指数;从而根据优先级指数实时修正每个运输路径节点对应的局部路径段的信息素浓度,以得到更为准确地修正信息素浓度,使得根据修正信息素浓度进行物流路径优化的效果更好。

一种融合边缘计算与机器学习的产线调度方法及设备

NºPublicación:  CN121094356A 09/12/2025
Solicitante: 
浪潮云洲工业互联网有限公司
CN_121094356_PA

Resumen de: CN121094356A

本发明提供一种融合边缘计算与机器学习的产线调度方法及设备,属于产线调度技术领域,方法包括:在工业产线部署边缘节点,云端对边缘节点进行状态监控、任务下发、资源配置及版本管理的生命周期管控;边缘节点实时采集产线数据;在云端构建调度模型,并下发至边缘节点;结合调度模型输出执行任务优先级判断、路径与资源优化,并生成调度指令下发至现场控制系统以执行任务调度;记录所有调度过程及状态变更,待网络恢复后同步至云端;本发明能够根据设备实际工况和监控场景调整解析规则与模型参数,实现对设备运行状态的精准刻画与异常预警,有效提升工业物联网环境下设备监控的效率、准确性和适应性。

零碳园区新能源物流车辆的路径规划方法

NºPublicación:  CN121094680A 09/12/2025
Solicitante: 
中国电建集团昆明勘测设计研究院有限公司
CN_121094680_PA

Resumen de: CN121094680A

本申请公开了一种零碳园区新能源物流车辆的路径规划方法,包括以下步骤:基于新能源物流车辆的实时剩余电量、货物载重量及动态能耗预测模型,生成初始配送路径与充电需求节点;根据零碳园区内充电设施的实时占用状态及车辆剩余电量阈值,对初始路径进行充电站点优先级优化,生成动态可调路径集合;基于历史配送数据、实时交通流量及天气条件输入,对动态可调路径集合进行拥堵概率评估与能耗修正,输出时空最优路径方案;根据物流任务分配权重、车辆载重容量约束及货物分布特征,对时空最优路径方案进行多目标协同调度,生成最终路径规划指令并实时更新车辆任务队列。本发明实现新能源车辆路径动态优化,提升充电效率与运力配置,增强环境适应性。

一种订单转投处理方法和装置

NºPublicación:  CN121094685A 09/12/2025
Solicitante: 
北京京东远升科技有限公司
CN_121094685_A

Resumen de: CN121094685A

本发明公开了一种订单转投处理方法和装置,涉及仓储物流领域。该方法的一具体实施方式包括:响应于对派件订单的转投操作,获取订单的收货地址,在转投页面中显示位于收货地址预设距离范围内的自提点列表,接收对自提点列表中目标自提点的选择操作;响应于目标自提点未设置特定属性,跳转至添加自提点页面,以基于添加自提点页面获取目标自提点的信息,将信息发送至校验设备进行校验;响应于校验设备返回的校验结果为通过,对目标自提点设置特定属性,接收对添加自提点页面中确认转投选项的选择操作,将订单转投至目标自提点。该实施方式解决了现有未合作自提点不能操作转投的问题,提升了转投成功率。

处理配送货单的方法、装置、设备和计算机可读介质

NºPublicación:  CN121094677A 09/12/2025
Solicitante: 
北京京东远升科技有限公司
CN_121094677_PA

Resumen de: CN121094677A

本发明公开了处理配送货单的方法、装置、设备和计算机可读介质,涉及物流运输技术领域。该方法的一具体实施方式包括:根据配送站负责的配送区域和配送站中的配送端,筛选出调整配送区域和调整配送区域中的配送端,并将调整配送区域中的配送端调度至调整配送区域;按照调整配送区域的预测货单数量和调整配送区域中的配送端的配送货单最大数量,配置调整配送区域中的配送端配送货单的数量;将调整配送区域中的配送端配送货单的数量对应的配送货单推送至调整配送区域中的配送端,以通知调整配送区域中的配送端处理配送货单。该实施方式能够分配配送区域中的配送端,以保障配送端及时配送货单。

一种自动-人工驾驶混行集卡码头调度优化方法与装置

NºPublicación:  CN121094180A 09/12/2025
Solicitante: 
上海海事大学
CN_121094180_PA

Resumen de: CN121094180A

本发明公开了一种自动‑人工驾驶混行集卡码头调度优化方法与装置,包括:通过对码头作业管理系统中多维度任务数据及其总耗时进行采集和预处理,构建训练样本;采用Bagging集成框架,在多个基学习器上分别训练,并对各基学习器预测结果取平均生成耗时预测模型;引入改进的SHAP溯因分析方法,遍历各特征子向量的边际贡献并按博弈论权重加权求和,得到反映各任务效率影响特征对耗时贡献的效率影响值;根据效率影响值排序识别关键特征,并结合资源配置、路径规划及作业环节优化策略,实现对集装箱码头作业调度的精细化、动态化优化。实验表明,本方法在预测精度、解释一致性和调度效果上均优于单模型和粗粒度耗时标记方式。

一种基于多重感知的智能理货系统及方法

NºPublicación:  CN121094364A 09/12/2025
Solicitante: 
上海博昂电气有限公司
CN_121094364_PA

Resumen de: CN121094364A

本发明实施例提供了一种基于多重感知的智能理货系统及方法,涉及智能理货技术的技术领域。其方法包括:感知目标货物的多维属性信息;根据所述多维属性信息以及历史理货参数,确定理货时长以及理货路线,所述历史理货参数包括历史装卸效率以及历史调度数据;基于所述理货时长以及所述理货路线,确定理货策略。通过本发明,解决了理货效率低的问题,进而达到了提高理货效率的效果。

虚拟数字人与大模型结合的智能外卖订单处理方法及系统

NºPublicación:  CN121094917A 09/12/2025
Solicitante: 
深圳快品信息技术有限公司
CN_121094917_PA

Resumen de: CN121094917A

本发明涉及外卖订单处理领域,尤其涉及一种虚拟数字人与大模型结合的智能外卖订单处理方法及系统。该方法包括以下步骤:基于虚拟数字人采集用户初始语音音频流,并进行用户实时情绪状态分析,及服务人格参数最优匹配,输出最优情绪匹配的虚拟人格模型;基于所述虚拟人格模型进行即时用户订单处理交互分析,并进行深层需求挖掘,从而得到用户订单交互需求;基于用户订单交互需求进行动态分配处理,构建数字人智能体订单处理策略;进行用户潜在操作意图预测及服务请求接口预加载,得到服务请求预加载策略。本发明基于虚拟人匹配用户的实时情绪状态及用户需求,增强外卖订单处理的服务智能化和自适应能力,提高订单处理效率以及用户满意度。

一种适用商品车转运的堆场内部多规则动态穿行方法

NºPublicación:  CN121094354A 09/12/2025
Solicitante: 
山东港口烟台港集团有限公司北京理工大学烟台港股份有限公司汽车码头分公司烟台港滚装物流有限公司
CN_121094354_PA

Resumen de: CN121094354A

一种适用商品车转运的堆场内部多规则动态穿行方法,属于商品车转运车调度领域。本发明实现方法为:建立基于有向图的初始行驶道路网,将连续道路的多个节点双向连接,构成初始道路网;根据转运作业流程将总体流程划分为去取车、去放车两个阶段;根据任务涉及堆场将堆场划分为当前堆场、目标堆场、其他堆场三部分。针对作业流程和涉及堆场构建堆场多规则穿行准则。在堆场多规则穿行准则基础上,构建相应更新行驶道路网方法;在商品车转运车在不同作业流程时更新行驶道路网,利用路径搜索方法搜索出堆场穿行路径,得到一条无冲突且距离最短、转向次数最少的最优路径;根据最优路径进行商品车转运。本发明能够缩短转运距离,显著提升商品车转运效率。

用于液化石油气罐的自助交换的产品分配装置及其方法

NºPublicación:  CN121100351A 09/12/2025
Solicitante: 
塞克雷特布莱兹科技有限公司
CN_121100351_PA

Resumen de: WO2024236470A1

Product dispensing unit comprising a plurality of compartments, each compartment being arranged for storing a liquefied petroleum gas cylinder, each compartment comprising a door for closing the respective compartment, said each door being secured with a respective lock and wherein the gas cylinder stored in each compartment is at least partially visible when said door is closed, and a system comprising an actuator, for each lock, for locking and unlocking a respective lock, and an electronic data processor configured for carrying out the steps of storing and self-service exchange of empty gas cylinder for full gas cylinder, and vice versa. A system comprising the said product dispensing unit and method is also disclosed.

一种针对司机对货源意向的外呼匹配方法及系统

NºPublicación:  CN121094473A 09/12/2025
Solicitante: 
江苏运满满信息科技有限公司
CN_121094473_PA

Resumen de: CN121094473A

本发明公开了一种针对司机对货源意向的外呼匹配方法及系统,涉及货运智能化技术领域,包括以下步骤:根据第一司机对于货源的历史行为数据,获取具备外呼属性的第二司机,并将历史行为数据存储在第一存储空间;根据成交慢的货源对应的历史特征数据,与第一司机或第二司机进行匹配,并将历史特征数据存储至第二存储空间;根据匹配结果,利用AI大模型,引导第一司机或第二司机抢单。本发明采集司机行为特征,找到对货源感兴趣的司机,提升外呼成功率,下单的成功率;同时,本发明利用AI的数据分析能力,与司机的问答更准确,提升沟通效率。

一种基于多模态感知模型的场站作业自主决策调度方法

NºPublicación:  CN121094462A 09/12/2025
Solicitante: 
北京鼎兴达信息科技股份有限公司
CN_121094462_PA

Resumen de: CN121094462A

本发明属于航空物流场站作业控制技术领域,本发明提供了一种基于多模态感知模型的场站作业自主决策调度方法,具体包括以下步骤:在航空物流场站作业场景中获取货物分拣类型的若干个区域,获取每个区域的特征特性,分别确定每个区域分配多模态数据的初始权重,构建初始多模态感知模型,提取初始权重分配相似的区域,作为初始相近区域组;在进行实际的物流分拣过程时,获取每个区域的实时运行特性,在初始相近区域组中提取实时运行特性相似的区域,作为运行相似区域组;提取运行相似区域组中的实时运行特性变化最大的区域确定初始多模态感知模型的精度评估目标,对初始多模态感知模型的精度进行评估。

基于班组变电检修作业承载力分析的排期决策系统

NºPublicación:  CN121094458A 09/12/2025
Solicitante: 
国网山东省电力公司泰安供电公司
CN_121094458_PA

Resumen de: CN121094458A

本发明公开了基于班组变电检修作业承载力分析的排期决策系统,涉及排班系统技术领域。该基于班组变电检修作业承载力分析的排期决策系统,包括:数据采集与预处理模块、承载力分析模块、人员匹配与项目优先级模块、排期决策与优化模块、实时监控与反馈模块;通过整合多维度数据并进行预处理,为承载力分析提供了全面、准确的数据支撑。其承载力分析模块不仅考虑了人员和物资的因素,还结合了实时环境数据进行动态调整,提高了作业策略的科学性和灵活性。人员匹配与项目优先级模块利用智能算法实现人员与项目的精准匹配,并考虑响应时间设定备选人员,确保了紧急情况下的快速响应。

化学产物的数字孪生

NºPublicación:  CN121100349A 09/12/2025
Solicitante: 
巴斯夫欧洲公司
CN_121100349_PA

Resumen de: WO2024213402A1

The present disclosure relates to an apparatus and a system for generating a digital twin associated with a chemical product and a respective computer program element, a computer-implemented method for generating a digital twin associated with a chemical product and a respective computer program element, methods for providing a chemical product associated with such a digital twin and respective apparatuses and a respective computer program element, a use of the digital twin, a chemical product associated with such a digital twin, such a digital twin, and a computer-implemented method for generating a digital access element associated with such a digital twin and a respective computer program element.

一种IT资产智能化管理系统及其实现方法

NºPublicación:  CN121094722A 09/12/2025
Solicitante: 
深圳市魔数智擎人工智能有限公司
CN_121094722_PA

Resumen de: CN121094722A

本发明涉及信息化处理技术领域,提供了一种IT资产智能化管理系统及其实现方法,系统包含:资产发现子系统通过特征比对与去重融合程序,输出标准化资产清单;统一建模子系统通过处理信息技术资产间的关联与依赖,形成资产拓扑图谱;智能分析与预测子系统输出关于资源容量预测、异常检测、成本优化建议与风险趋势等洞察结果与预测指标;生命周期管理子系统通过策略引擎驱动自动化运维工作流,实现对信息技术资产状态的闭环管理;安全与合规子系统生成告警、修复建议或执行自动化修复策略。本发明实现了信息技术资产管理的智能化、自动化与安全合规化,显著提升了信息技术运维与治理的效率与可靠性。

一种货源调度优先级的标定方法及装置

NºPublicación:  CN121094488A 09/12/2025
Solicitante: 
南京满运冷链科技有限公司
CN_121094488_PA

Resumen de: CN121094488A

本发明公开了一种货源调度优先级的标定方法及装置,其中标定方法包括:梳理影响待撮合货源优先级的条件因子;为每个条件因子绑定触发事件,得到触发事件与条件因子的映射关系;通过可视化规则引擎配置界面,以树形逻辑组合方式配置优先级标签的生成规则;当触发事件发生时,实时定位受影响的条件因子并更新其值,加载依赖该条件因子的标签规则,通过规则引擎递归运算树形逻辑后生成或更新货源优先级标签;通过可视化界面实时配置优先级标签生成规则,无需代码迭代即可调整策略,另外,基于事件驱动机制,当任意影响因子关联的事件发生时,实时触发标签重新计算,确保标签与业务状态同步,能够大幅度降低用户门槛而且灵活性强。

一种铁包调度的方法及装置

NºPublicación:  CN121094471A 09/12/2025
Solicitante: 
中冶京诚工程技术有限公司中冶京诚数字科技(北京)有限公司
CN_121094471_PA

Resumen de: CN121094471A

本发明提供一种铁包调度的方法及装置,该方法包括以下步骤:S1:构建铁钢界面状态矩阵和初始预训练模型;S2:根据铁钢界面状态矩阵和评价值确定输出目标训练更新所述Q网络;S3:将铁钢界面状态矩阵输入策略π网络得到策略梯度用于训练更新策略网络;S4:执行S2直至遍历完所有调度动作;S5:遍历所有更新训练模型得到预训练模型;S6:根据预训练模型的概率分布和铁包铁水成分确定调度动作的评价值;S7:根据评价值和损失函数训练更新Q网络;S8:获取策略梯度更新所述策略网络;S9:执行S6,直至计算完所有调度动作得到动态调度方案,根据动态调度方案进行铁包调度。该方法实现了快速准确的铁包调度。

一种供应链仓储配货方法及系统

NºPublicación:  CN121094668A 09/12/2025
Solicitante: 
奇式快信息科技(深圳)有限公司
CN_121094668_PA

Resumen de: CN121094668A

本申请公开了一种供应链仓储配货方法及系统,涉及配货技术领域,通过供应链订单对应的目标配送点以及所需配送车辆数量进行编码,获取供应链仓储配货编码;并采用改进模拟退火遗传算法对供应链仓储配货编码进行优化,确定目标供应链仓储配货编码;最后对目标供应链仓储配货编码进行解码,得到供应链仓储配货方案,根据供应链仓储配货方案执行供应链仓储配货,整个配货方案的生成过程由算法自动完成,减少了对人工经验的依赖,实现了供应链配货的智能化决策,并通过将模拟退火算法与遗传算法相结合,利用模拟退火的概率突跳特性有效避免了遗传算法的早熟问题,能够更稳定地收敛到全局最优解或高质量的近优解,显著降低了配送总成本。

一种基于物联网控制的服装加工用运输方法及系统

NºPublicación:  CN121084380A 09/12/2025
Solicitante: 
玉山县辉煌防雨制品有限公司
CN_121084380_PA

Resumen de: CN121084380A

本发明公开了一种基于物联网控制的服装加工用运输方法及系统,涉及物联网控制技术领域,采集运输环境数据,并进行预处理;将环境位置数据、AGV位置数据和运输目标数据定义为节点,根据节点间的距离定义节点路径边,生成三维通信拓扑图;根据三维通信拓扑图中的路径边权重确定AGV从起始位置至运输目标位置的运输路径,生成AGV运输指令;执行AGV运输指令,监测运输路径的电磁干扰和物理障碍,并对电磁干扰和物理障碍进行双模态避障;双模态避障完成后,测量AGV的实际到达位置与目标位置的三维空间偏差,输出衣料调整措施。本发明通过构建三维通信拓扑图与DFS方法筛选运输路径,实现干扰环境下服装物料的精准运输。

基于全生命周期管理的BOM表生成方法、计算机设备及计算机可读存储介质

NºPublicación:  CN121094720A 09/12/2025
Solicitante: 
日善电脑配件(嘉善)有限公司
CN_121094720_PA

Resumen de: CN121094720A

本发明涉及一种基于全生命周期管理的BOM表生成方法、计算机设备及计算机可读存储介质,包括以下步骤:S1、根据产品设计文档和工程物料生成客户矩阵,获取客户矩阵中的信息;所述客户矩阵采用二维表格形式呈现,其中,二维表格中的列信息表示为:不同装配层级产品零件和/或组件的编号,行信息至少包括:产品零件和/或组件的名称、数量、规格型号以及所述父级部件标识;S2、根据物料关键信息、厂内物料料号、厂内库存现状以及供应链约束条件生成厂内BOM矩阵,录入预设的管理系统生成电子图档数据库,并建立结构化的D‑BOM;S3、将步骤S1中获取客户矩阵信息与步骤S2中建立的D‑BOM进行比对;S4、对D‑BOM进行调整优化;S5、将优化后的D‑BOM导入客户矩阵,生成最终BOM。

一种供应链动态优化控制装置

NºPublicación:  CN121094198A 09/12/2025
Solicitante: 
上海米豆技软件信息科技有限公司
CN_121094198_PA

Resumen de: CN121094198A

本发明公开了一种供应链动态优化控制装置,包括作为核心载体的控制台,控制台内集成:中央处理模块:包含工业服务器集群、边缘计算节点及AI加速卡;多源数据集成模块:通过硬件接口连接设备层传感器、系统层管理系统及外部数据源;闭环控制模块:内置决策引擎硬件板卡与反馈学习固件;人机交互模块:包含多屏显示系统和工业触控屏;安装于控制台上端面的操作台。本发明中,实现供应链全链路实时动态优化,通过融合设备层、系统层及云端多源数据,依托决策引擎硬件板卡的需求预测、库存优化及路径规划三重算法构建闭环控制,边缘计算节点200ms级响应异常事件,与中央AI协同运作,反馈学习固件持续修正模型参数,使系统动态适应市场波动。

一种航班餐用具配发管理方法、装置、介质、设备及产品

NºPublicación:  CN121094730A 09/12/2025
Solicitante: 
中国南方航空股份有限公司南航数智科技(广东)有限公司
CN_121094730_PA

Resumen de: CN121094730A

本发明公开了一种航班餐用具配发管理方法、装置、介质、设备及产品,通过获取航班业务的基础数据;从获取的航班动态信息中筛选出当前基地机场的航班串,并在前端应用展示对应的航班信息;接收前端应用对航班的配发动作指令,根据所述基础数据执行对应的配发动作。本申请方案能够实现航班餐用具的统一管理,提高配发效率,避免资源浪费,提高航班服务质量。

一种基于物联网的物料垂直运输优化管理系统及方法

NºPublicación:  CN121094669A 09/12/2025
Solicitante: 
中建安装集团有限公司深圳湾区城市建设发展有限公司
CN_121094669_PA

Resumen de: CN121094669A

本发明公开了一种基于物联网的物料垂直运输优化管理系统及方法,涉及运输管理技术领域;包括工程数据提取模块、重点工程物料确定模块、临界物料需求量分析模块、安全垂直运输速率分析模块、实时匹配预警模块和优化管理模块;工程数据提取模块用于提取工程管理平台记录各完整生命周期工程项目的工程数据;重点工程物料确定模块用于选取记录运输工程物料数据量最大值对应的物料类型为所述工程阶段的重点工程物料;临界物料需求量分析模块用于分析对应工程阶段记录重点工程物料的临界物料需求量;优化管理模块用于预估对应工程物料运输所处工程阶段的目标运输时长;基于目标运输时长进行工程物料运输的优化管理。

基于AI的物流运输路径优化调节方法及系统

NºPublicación:  CN121094264A 09/12/2025
Solicitante: 
河南信息科技学院筹建处
CN_121094264_PA

Resumen de: CN121094264A

本申请涉及物流运输技术领域,公开了基于AI的物流运输路径优化调节方法及系统。方法包括:收集订单数据,基于订单地址对订单数据进行分组获得多个订单分组,基于订单重量对多个订单分组进行优化;对每个订单分组,设置约束条件,基于约束条件,为每组订单分组规划运输路线;基于每组订单分组的订单信息和运输路线,为每组订单分配运输车,基于运输车信息对运输路线进行路径优化生成初始运输路径;针对每个初始运输路径,获取对应的历史相关数据,基于历史相关数据生成第一预测模型,预测初始运输路径的各路线是否会发生异常情况,是的情况下,为对应的运输车重新规划运输路径。本发明能够提高物流运输的效率和可靠性。

一种库位分配方法、装置、设备、介质及产品

NºPublicación:  CN121094705A 09/12/2025
Solicitante: 
中国移动通信集团甘肃有限公司中国移动通信集团有限公司
CN_121094705_PA

Resumen de: CN121094705A

本发明公开了一种库位分配方法、装置、设备、介质及产品。该方法包括:获取仓储动态图,其中,仓储动态图包括节点特征向量和边特征向量;将所述仓储动态图的节点特征向量和边特征向量输入至预先构建的图神经网络模型,得到每个库位的库位热度评分,其中,所述库位热度评分用于表征库位被访问的概率;基于所述每个库位的库位热度评分对初始库位集合进行筛选,得到候选库位集合;基于所述候选库位集合,对预先构建的运筹学多目标优化模型进行求解,得到库位分配结果。本发明的技术方案,通过图神经网络特征学习与运筹学多目标优化协同决策,提升了库位分配的准确性与可靠性,减少了货物在存取过程中需要花费的时间,进而提升了整体仓储作业效率。

动态调节物流交易平台垫付运费比例的方法、计算机设备及存储介质

NºPublicación:  CN121094808A 09/12/2025
Solicitante: 
安徽科大国创慧联运科技有限公司
CN_121094808_A

Resumen de: CN121094808A

本发明涉及物流管理技术领域,具体涉及一种动态调节物流交易平台垫付运费比例的方法、计算机设备及存储介质。该方法通过构建货主偿付能力分析模型和动态调控模型,通过货主偿付能力分析模型来动态获得货主偿付评分,再在基于货主偿付评分构建得到动态调控模型,使得本方案的物流交易平台在实际运行过程中可通过实时更新货主偿付评分,并通过更新后的货主偿付评分来动态调节物流交易平台向物流公司垫付的运费比例,从而实现评估风险‑干预‑反馈这一闭环,以实现动态调节物流交易平台垫付运费的比例。通过该方法能够使得整个物流运输过程中的资金能处于一个良性的周转过程,从而降低物流交易平台的资金风险。

一种农产品采样追溯系统及方法

NºPublicación:  CN121094838A 09/12/2025
Solicitante: 
南通科技职业学院
CN_121094838_PA

Resumen de: CN121094838A

本发明涉及农产品追溯技术领域,且公开了一种农产品采样追溯系统及方法,该农产品采样追溯系统及方法通过数据采集模块获取所有农产品商户和所有农产品样本的管理数据,并分类组成商户数据集和采样数据集,实现样品来源可溯,证据可查,智能追溯模块根据商户数据集,分析相邻农产品商户之间的距离,并生成对应的距离数据组和关联排名清单,每个农产品商户均对应一份关联排名清单区块化管理效率高,智能追溯模块设置固定时长的监测周期,再结合采样数据集,分析生成每个农产品商户的合格率和质量系数,透明化管理所有农产品商户的产品合格情况,综合分析评估潜在的质量风险,判断农产品的污染时长,并输出对应的管理建议,污染追溯更及时有效。

一种基于多分支界限算法多端码头粘性液体管道运输最优路径规划方法

NºPublicación:  CN121094679A 09/12/2025
Solicitante: 
江苏省港口集团信息科技有限公司
CN_121094679_PA

Resumen de: CN121094679A

本发明公开了一种基于多分支界限算法的多端码头粘性液体管道运输最优路径规划方法。该方法包括:获取码头管道系统的分布信息,构建节点连接图;基于液体粘性、液体兼容性、管道压力限制、运输时间窗口及流向等多重约束,为各边赋予加权权重和方向,形成多约束加权有向图;采用深度优先搜索算法提取起点至各端口节点的最短路径及公共路径段,作为多分支界限算法的初始路径;通过多分支界限算法递归搜索所有满足多端口运输需求的路径组合,采用优先队列管理路径状态,计算总代价函数,最终输出总代价最小的路径组合,实现多端口粘性液体管道运输的全局最优路径规划。

原料入库方法和装置

NºPublicación:  CN121094686A 09/12/2025
Solicitante: 
北京京东远升科技有限公司
CN_121094686_PA

Resumen de: CN121094686A

本公开的实施例提供了一种原料入库方法和装置。所述原料入库方法包括:首先判断待加工原料的属性信息是否符合虚拟入库条件,然后响应于确定出待加工原料的属性信息符合虚拟入库条件,基于预设区域关联的容器信息和储位信息,确定出多个候选容器和多个候选储位,预设区域用于存放所述待加工原料,之后基于多个候选容器和多个候选储位,确定出用于虚拟存储待加工原料的目标虚拟容器和用于放置目标虚拟容器的目标虚拟储位,最后基于目标虚拟容器、目标虚拟储位和待加工原料在预设区域中的存放位置,生成待加工原料的虚拟入库结果,可以采用目标虚拟容器和目标虚拟储位对待加工原料进行虚拟存储,无需操作实物上架到指定储位。

一种集装箱码头装卸作业协同优化方法及系统

NºPublicación:  CN121091796A 09/12/2025
Solicitante: 
南京港龙潭集装箱有限公司
CN_121091796_PA

Resumen de: CN121091796A

本发明公开了一种集装箱码头装卸作业协同优化方法及系统,旨在提升码头作业效率和资源利用率。该方法包括:实时采集码头作业数据;建立混合整数规划模型,以最小化船舶在港总时间、AGV总行驶距离和最大化岸桥利用率为目标,并考虑相关约束;采用自适应大邻域搜索算法求解MIP模型;生成调度方案并发送至码头管理系统执行,实时监控作业进度并动态调整。本发明通过协同优化泊位分配、岸桥调度和AGV路径规划,实现了码头资源的合理分配和高效利用,显著提升了码头整体作业效率。

一种基于物联网的农产品保鲜运输系统

NºPublicación:  CN121094674A 09/12/2025
Solicitante: 
天津金仓互联网科技有限公司
CN_121094674_PA

Resumen de: CN121094674A

本发明涉及农产品保鲜运输技术领域,公开了一种基于物联网的农产品保鲜运输系统,所述运输系统包括若干个包装模块、基本数据采集模块、储存数据采集模块和分析模块,通过基本数据采集模块在储存农产品时采集包装模块的基本信息数据;再通过数据采集模块采集包装模块的储存信息数据;通过分析模块根据各包装模块的基本信息数据和储存信息数据进行分析,获得各包装模块的当前状态指数,根据各包装模块的当前状态等级进行订单分配,使得状态较成熟的包装模块优先分配给销量较大、距离较近的运输点,通过这种智能化的订单分配机制,不仅能有效提升农产品的流通效率,还能确保消费者接收到品质更优的产品。

基于分时复用与动态调度的医疗物流机器人任务分配系统

NºPublicación:  CN121096559A 09/12/2025
Solicitante: 
上海交通大学医学院附属瑞金医院
CN_121096559_PA

Resumen de: CN121096559A

本发明公开了基于分时复用与动态调度的医疗物流机器人任务分配系统,包括云平台、多台机器人、舱体更换站,其中:云平台基于混合AI调度算法的任务分时分班分配逻辑,采用基于优先级与时间窗的冲突解决策略,根据医院业务规律和机器人实时状态,动态、智能地分配任务;机器人与云平台通过通讯设备进行通讯,通过搭载各种舱体执行云平台下发的各种任务,所述任务包括物资配送,清洁与消杀,巡检;舱体更换站用于提供舱体更换设备,并辅助机器人进行更换舱体。采用本发明能够根据医院业务规律和机器人实时状态,动态、智能地分配任务,显著提高任务处理效率和资源利用率,降低医院物流运营成本。

冷库智慧存储服务方法及系统

NºPublicación:  CN121094694A 09/12/2025
Solicitante: 
深圳链库供应链管理有限公司
CN_121094694_PA

Resumen de: CN121094694A

本发明涉及存储服务技术领域,公开了一种冷库智慧存储服务方法及系统。该方法:采集冷库内货物的历史出入库数据进行时间衰减权重计算,得到货物周转特征参数;对天气变化事件和供应链状态事件进行影响因子分析,得到事件周转影响系数;基于所述货物周转特征参数和所述事件周转影响系数创建库位重分配策略;根据所述库位重分配策略确定库位分配方案,并根据所述库位分配方案调整冷库内的货物位置。本发明实现了高频货物向快速流转区的自动聚集,有效解决传统方法导致的高频货物深层存放问题,提高了存取作业效率和库位利用率。

基于全景可视化的滤棒高架库智能管理方法及系统

NºPublicación:  CN121094718A 09/12/2025
Solicitante: 
浙江中烟工业有限责任公司
CN_121094718_PA

Resumen de: CN121094718A

本发明实施例提供一种基于全景可视化的滤棒高架库智能管理方法及系统,涉及仓储物流管理技术领域。包括:建立滤棒规格可视化图块,图块上的颜色与滤棒规格具有映射关系;基于滤棒规格的可视化图块,实时显示与可视化图块具有关系的生产对应滤棒的成型机列表、高架库中与滤棒对应的库位分布、消耗对应滤棒的发送机及卷烟机列表;基于滤棒对应的库位分布,对滤棒的库存进行分区展示;根据显示的成型机列表、库位分布和发送机的相关信息进行入库指导;根据进行分区展示的滤棒的库存信息进行移库决策。本发明突破传统固定路径规则,动态调整中心列,降低堆垛机的平均运行距离,减少路径冗余,有效优化库存分配,降低仓储管理成本,减少库存积压。

一种面向5G场景的船厂内多智能体物流运输的微观仿真方法

NºPublicación:  CN121093619A 09/12/2025
Solicitante: 
舟山中远海运重工有限公司中国联合网络通信有限公司舟山市分公司
CN_121093619_PA

Resumen de: CN121093619A

本发明公开了一种5G场景下基于数字孪生的多智能体物流运输微观仿真方法。所述方法包括微观仿真模块、物联通信模块与数字孪生模块。所述微观仿真模块用于资产导入来构建二维与三维开发库,搭建画面高保真厂区物流区域,智能生成路网模型,智能体通过多采样线路径追踪算法抵达目标点;所述物联通信模块通过5G支持下优化的异步任务MQTT组件低时延上报微观仿真模块至数字孪生模块;所述数字孪生模块基于当今先进的物联网数字孪生框架部署。本发明引入数字孪生技术,在5G高可用性支持下,提出了基于多智能体的船厂内物流运输微观仿真方法,融合当下先进的数字孪生框架。实现了细粒度的高保真仿真与物流运输过程的透明可视化,使船厂作业精确可控。

物料清单生成方法、物料清单生成系统及相关设备

NºPublicación:  CN121094715A 09/12/2025
Solicitante: 
华为技术有限公司
CN_121094715_PA

Resumen de: CN121094715A

本申请提供了一种物料清单生成方法、物料清单生成系统及相关设备,可应用于人工智能(artificial intelligent,AI)领域,在本申请提供的物料清单生成方法和系统中,用户(如物料编写人员或者产品购买者)只需要向物料清单生成系统输入产品的自然语言描述,或者输入产品名称,物料清单生成系统便可以根据用户输入的产品的自然语言描述或者产品名称,自动生成物料清单推荐给用户,整个物料清单生成过程简单快捷,生成效率高,且准确性高。

一种基于远程控制与智能调度的无人驾驶物流车系统

NºPublicación:  CN121094670A 09/12/2025
Solicitante: 
安徽黑知马科技有限公司
CN_121094670_PA

Resumen de: CN121094670A

本发明涉及无人物流领域,提供一种基于远程控制与智能调度的无人驾驶物流车系统,包括:获取模块用于获取无人驾驶物流车的配送地图和建筑信息;标记模块用于在所述配送地图上标记配送点;预约模块用于获取无人驾驶物流车内每个配送物品的预约时间,每个配送物品的收货地址对应有相应的配送点;配送模块基于所述配送点和所述预约时间在所述地图上构建无人驾驶物流车的配送路线。本发明在使用时,通过驻停时间延长模块对驻停时间进行延长,在能够给取件者预留足够的取件时间外,也能避免预约时间出现冲突,同时还在驻停前给收件人发送提醒,给收件人足够的反应时间,同时也降低物流车空等的概率,提高了物流车的配送效率。

一种电商供应链库存动态预测系统及方法

NºPublicación:  CN121094710A 09/12/2025
Solicitante: 
深圳优渥生活科技有限公司
CN_121094710_PA

Resumen de: CN121094710A

本发明公开了一种电商供应链库存动态预测系统及方法,涉及库存动态预测与管理技术领域。该系统,首先通过实时监测电商端需求状态与对应SKU的实时库存状态,获取需求‑库存消耗预测结果并动态验证以优化准确度;然后通过实时监测供应链各端口数据,与经动态验证的预测结果进行适配性验证,提升其对供应链协同场景的适配度;最后结合动态验证后的预测结果、适配性验证结果,生成可视化库存趋势预测曲线,同时对比实际库存变动验证预测有效性。实现了从需求到供应链再到库存的全链路动态预测与多层级验证,有效解决现有技术中预测验证有效性低与库存适配性差的问题,提升库存动态预测准确度。

运输线路优化方法、装置、计算机设备、可读存储介质和程序产品

NºPublicación:  CN121094257A 09/12/2025
Solicitante: 
顺丰速运有限公司
CN_121094257_A

Resumen de: CN121094257A

本申请涉及一种运输线路优化方法、装置、计算机设备、计算机可读存储介质和计算机程序产品,应用于大数据技术领域,方法包括:在多个预设运输线路中筛选运输效益值小于预设效益值的目标运输线路,其中,所述运输效益值由装载率信息和运输总里程确定得到;根据所述目标运输线路的运输线路信息,将所述目标运输线路的运输任务分配至至少一条所述预设运输线路,得到至少一条运输优化线路;根据所述至少一条运输优化线路的线路运输指标,在所述至少一条运输优化线路中选取目标优化线路,其中,所述线路运输指标用于表征运输线路的运输时效和运输成本中的至少一项。采用本方法能够提高运输效益。

数据处理方法、信息处理方法、装置、设备和介质

NºPublicación:  CN121094866A 09/12/2025
Solicitante: 
北京京东远升科技有限公司
CN_121094866_PA

Resumen de: CN121094866A

本公开提供了一种数据处理方法、信息处理方法、装置、设备和介质,可以应用于信息数据处理领域。数据处理方法包括:对从不同业务渠道获取的对象数据进行有效性检测,以对对象数据进行过滤,得到开发数据;将开发数据传输至数据加工池中,以根据开发数据中每个对象的属性信息,对开发数据进行分类,得到可开发数据集和不可开发数据集;针对可开发数据集中的每个可开发对象,根据与可开发对象关联的业务信息,创建与可开发对象对应的待开发任务;根据每个待开发任务中的对象标识,分别对多个待开发任务进行分配,其中,对象标识为在数据加工池中根据每个对象的属性信息对每个对象标记得到的。

基于联程循环运输的车辆调度方法、系统、介质和产品

NºPublicación:  CN121094495A 09/12/2025
Solicitante: 
上马科技有限公司
CN_121094495_PA

Resumen de: CN121094495A

本申请提供一种基于联程循环运输的车辆调度方法、系统、介质和产品,涉及物流运输领域,该方法包括:根据运输成本指标规划出一条连接已有运输任务节点和新运输订单的新运输任务节点的初始联程路径;依据换电站网络数据识别出初始联程路径中可进行换电的机会性换电节点;计算车辆从初始联程路径偏离至机会性换电节点完成换电并返回路径所产生的机会性换电成本,以及车辆放弃在机会性换电节点换电并继续沿初始联程路径行驶直至电量下降至预设阈值时,为抵达最近换电站产生的必要换电成本;当必要换电成本大于机会性换电成本时,将对应的机会性换电节点加入初始联程路径中生成联程循环运输计划。该方法可以降低整个联程运输周期的综合运营成本。

用于配送服务的多维度跑腿平台风险预警系统

NºPublicación:  CN121094564A 09/12/2025
Solicitante: 
白鸽在线(厦门)数字科技股份有限公司
CN_121094564_PA

Resumen de: CN121094564A

本发明涉及跑腿平台风险预警技术领域,公开了用于配送服务的多维度跑腿平台风险预警系统,包括:时空索引建模模块,用于采集配送服务原始数据,将位置映射为空间网格单元并构建异质图;可达域构造模块,用于基于路网计算最短路径并生成配送可达域;路径一致性模块,用于获取观测轨迹并生成路径一致性偏差指数;合谋环路模块,用于提取诱发子图并生成合谋环路指数;双向强化模块,用于在路径偏差或合谋风险达到阈值时执行条件收紧;分级处置模块,用于生成风险等级并输出确定性处置指令;固化回放模块,用于固化多维数据形成证据数据块。本发明实现了配送服务中多主体、多层级风险的精准识别、分级预警与可追溯验证。

一种机器人自动码垛装车控制系统及方法

NºPublicación:  CN121091753A 09/12/2025
Solicitante: 
川崎机器人(天津)有限公司
CN_121091753_PA

Resumen de: CN121091753A

本发明提供一种机器人自动码垛装车控制系统及方法,涉及装车控制技术领域图像识别技术领域,包括数据管理层、垛形程序生成子模块及硬件执行层;所述数据管理层部署于工控机,用于存储订单数据、物料数据、车型数据及各车道执行数据,并向垛形程序生成子模块分发控制指令及配置参数,以及实时采集各车道硬件设备运行参数;通过引入动态安全距离计算模块和多目标遗传优化算法,系统能够综合考虑物料物理特性和实时环境因素,自动生成在效率、空间利用率和稳定性上达到最优平衡的垛形方案,同时,凸台车适应性校验功能可针对特殊车型制定差异化堆叠策略,有效避免了因车型复杂导致的垛形不稳或空间浪费问题,显著降低了运输途中的倒垛风险。

基于蚁群算法路径优化的危险化学品运输风险评估方法

NºPublicación:  CN121094551A 09/12/2025
Solicitante: 
中舜国际工程设计有限公司西安航空学院
CN_121094551_PA

Resumen de: CN121094551A

本发明公开了基于蚁群算法路径优化的危险化学品运输风险评估方法,涉及运输风险评估技术领域。该基于蚁群算法路径优化的危险化学品运输风险评估方法,通过获取危险化学品运输区域的路网信息,结合蚁群算法,分析得到运输路径的信息素浓度值集;采集待评估危险化学品的运输车辆行驶图像数据与化学品状态数据;利用预训练的行驶风险识别网络提取行驶稳态扰动特征值,结合化学品状态数据提取化学诱变响应风险特征值,并联合运输路径的信息素浓度值集,综合分析得到运输风险评估值,本发明基于运输风险评估值对危险化学品进行风险评估,从而在行驶过程中动态更新风险评估值,进而使评估结果具备实时性,继而显著提升了运输现场实际风险的贴合程度。

基于SAAS的物流时效预测方法及系统

NºPublicación:  CN121094217A 09/12/2025
Solicitante: 
顺仓科技(深圳)有限公司
CN_121094217_PA

Resumen de: CN121094217A

本发明涉及物流预测领域,具体是一种基于SAAS的物流时效预测方法及系统,批量收集物流轨迹数据,并基于物流轨迹数据进行物流网络架构与物流输送特性的解析,生成物流网络模型与对应的物流特性参考信息,根据物流网络模型为物流网络部署相应的监控网络,以实时采集物流网络的实时环境状况信息,基于物流特性参考信息解析环境状况信息所反馈的物流输送特性,并将物流输送特性赋予至物流网络模型,通过SAAS平台获取来自客户的预测业务,并基于物流网络模型对预测业务进行物流时效预测,得到物流时效预测信息。

基于标准化智能托盘组的多式联运货物运输状态监测系统

NºPublicación:  CN121099283A 09/12/2025
Solicitante: 
兰州交通大学
CN_121099283_PA

Resumen de: CN121099283A

本发明公开了基于标准化智能托盘组的多式联运货物运输状态监测系统,包括:主控制托盘和至少一个功能托盘组成的模块化托盘组;主控制托盘集成边缘计算器、RFID读写器、温湿度传感器、供电模块;功能托盘包括应变式传感器和加速度传感器;托盘组间通过电磁锁扣刚性连接,并设置电压传感器监测连接状态;托盘组通过混合通信通道传输数据:默认采用LoRa无线通信,丢包率>1%时切换磁吸有线连接;数据经边缘计算器预处理后,通过北斗系统加密上传至后台服务器;后台服务器执行超偏载分析、震动等级评估、环境风险预警及锁扣状态监控;检测到异常时触发用户端告警。本发明有效解决货物在运输的安全监控问题,提高运输安全性,降低事故风险。

一种信创终端统一运维管理方法与系统

NºPublicación:  CN121094795A 09/12/2025
Solicitante: 
杭州融惠数据科技有限公司
CN_121094795_PA

Resumen de: CN121094795A

本发明涉及信创运维与维修技术领域,且公开了一种信创终端统一运维管理方法与系统,其中信创终端统一运维管理方法,包括以下步骤,客户端与终端,所述客户端发送服务请求,所述保障中心接收服务请求并生成工单,所述平台赋能用于优化保障中心处理服务请求的效率,所述平台赋能包括AI运维助手、运维工单和备品备件管理,所述AI运维助手通过学习以此理解服务请求。本发明通过优化运维服务流程、提高配件利用率、降低配件供货成本等措施,大幅降低信创终端的运维成本,降低运维成本可,配件维修中心的有效运作,实现了配件的科学储备、快速维修和高效调度,降低配件供货周期,提高配件更新的及时性和经济性。

一种急救设备资源的智能调配优化方法和系统

NºPublicación:  CN121096563A 09/12/2025
Solicitante: 
中国人民解放军总医院第一医学中心
CN_121096563_PA

Resumen de: CN121096563A

本申请提供一种急救设备资源的智能调配优化方法和系统,其中,该方法包括:获取跨区域急救设备的历史使用记录、实时库存状态、医院医嘱、环境参数、地理位置及患者生命体征数据;接着将实时库存、医嘱和体征数据进行融合,通过联邦学习框架与历史记录进行关联分析,预测未来急救设备需求波动;同时基于环境参数和地理位置信息,结合实时交通路网构建动态更新的急救设备分布图谱;然后利用强化学习模型,根据分布图谱和实时交通数据生成兼顾时效性和资源利用率的多目标路径规划;最后将需求预测与路径方案联合优化,生成最优的跨区域设备调配指令集。本申请提升了应急响应速度和资源利用率。

一种基于跨境关单的分配方法与系统

NºPublicación:  CN121094673A 09/12/2025
Solicitante: 
扬腾创新(福建)信息科技股份有限公司
CN_121094673_PA

Resumen de: CN121094673A

本发明涉及一种基于跨境关单的分配方法与系统,其中方法包括:获取跨境关单数据,包括业务码和商品数据;扫描所有业务码,将业务码相同的关单归为同一关单组;在当前关单组中根据多层划分规则对供应商类型进行动态划分,得到不同类别的供应商;基于不同类别的供应商利用关单聚类算法进行关单分配,生成不同类别的关单;根据生成不同类别的关单整理对应的商品进行发货。

药品使用关联分析预警方法

NºPublicación:  CN121094712A 09/12/2025
Solicitante: 
天津华耀大健康产业发展有限公司
CN_121094712_PA

Resumen de: CN121094712A

本发明公开了药品使用关联分析预警方法,该方法先搭建药品使用关联分析预警交互平台,用于构建多数据库、评估药品预测消耗、选定可配送药店及加密传输信息。通过并集融合策略获得物流范围内可调用药品数据库,经药品预测消耗策略生成预测消耗阈值。当药品消耗量超阈值,依药店选择策略选可配送药店。再借密钥分发策略传输含密钥对的协调信息,公钥加密数据,药店用私钥解密后比对哈希值,一致则配送,有差异则反馈并启动重传核查机制,该方法通过药物供应链管理中数据整合、需求预测、药品调配、信息安全等环节的优化,有效降低库存风险,提高应对临床需求波动的能力,保障临床用药的安全与及时供应。

基于图像识别的货物仓储盘点识别系统及方法

NºPublicación:  CN121095644A 09/12/2025
Solicitante: 
珠海到哪儿科技有限公司
CN_121095644_PA

Resumen de: CN121095644A

本发明提供一种基于图像识别的货物仓储盘点识别系统及方法,属于货物仓储管理技术领域,首先获取带有采集位置标识、由不同采集设备在不同时段采集的仓储区域多源图像集合,接着对仓储区域多源图像集合进行空间关联建模,得到图像空间关联模型,再基于该图像空间关联模型识别仓储货物的存储状态特征,包括堆叠形态和货位占用特征,然后根据存储状态特征生成标记有图像空间关联信息的仓储货物分布模型,最后依据分布模型生成包含货物标识及存储位置信息的盘点清单,由此可以高效准确完成货物仓储盘点工作。

一种基于供应管理的茶品订单数字化管理方法及系统

NºPublicación:  CN121094437A 09/12/2025
Solicitante: 
重庆市奉节职业教育中心(重庆市奉节师范学校)
CN_121094437_PA

Resumen de: CN121094437A

本发明公开了一种基于供应管理的茶品订单数字化管理方法及系统,涉及订单数字化管理技术领域,该方法包括:对预先获取的采摘气候数据进行时空插值处理,生成气候时空连续矩阵,并利用物候预测模型进行采摘周期预测,结合预先获取的采摘面积生成采摘周期数据;将预先获取的订单数据与采摘周期数据进行张量分解处理,得到供需协同数据,并对供需协同数据进行拓扑数据分析,得到需求拓扑关系图;对需求拓扑关系图进行需求波动识别,生成需求波动数据,代入销售预测模型进行需求趋势预测,并结合预先获取的库存数据进行订单动态预警。本发明有效降低了供需失衡风险,打破传统农业供应链中经验驱动、被动响应、信息孤岛的局限。

一种磷酸氢二钾储存及分配管理系统

NºPublicación:  CN121094706A 09/12/2025
Solicitante: 
山东鼎欣生物科技有限公司
CN_121094706_PA

Resumen de: CN121094706A

本发明涉及物资管理技术领域,具体为一种磷酸氢二钾储存及分配管理系统,包括偏载特征提取模块、转向区段风险识别模块、工位通行特征归类模块、路径稳定性评估模块、路径组合优化模块。本发明,通过在装载过程中对物料质量分布与重心偏移状态进行动态提取与归一化表达,结合卸料路径中的转向响应变化与卸料末端通行偏移趋势,构建路径全程通行趋势序列,再通过趋势一致性与波动特征进行通行状态判别与路径通行等级评估,并在路径组合阶段基于趋势异常段替换与趋势序列组合评价值完成路径优化,能够实现在多工位多路径条件下对磷酸氢二钾从装载至卸料全过程的通行风险状态进行动态分类、趋势识别与路径选择优化。

一种基于互联网平台的企业订单管理方法、设备及介质

NºPublicación:  CN121094704A 09/12/2025
Solicitante: 
苏州坤厚科技信息服务有限公司
CN_121094704_PA

Resumen de: CN121094704A

本发明公开了一种基于互联网平台的企业订单管理方法、设备及介质,涉及订单管理技术领域,包括,接收用户通过订单管理平台输入的自然语言订单需求文本;对自然语言订单需求文本进行语义解析,提取实体和意图,并基于工业知识图谱生成初始的需求语义网;基于初始的需求语义网,生成并向用户呈现澄清式问句;将更新后的需求语义网与资源知识库进行实时匹配,计算并生成多条可视化履约路径;接收用户选定可视化履约路径的选择指令,并基于选择指令和更新后的需求语义网,生成结构化企业订单。本发明通过自然语言语义解析与工业知识图谱的深度结合,显著提升企业订单需求的识别精度与结构化效率。

一种基于多货主多批次多包装的仓库管理货位分配方法

NºPublicación:  CN121094721A 09/12/2025
Solicitante: 
深圳市今天国际物流技术股份有限公司
CN_121094721_PA

Resumen de: CN121094721A

本发明涉及计算机技术领域,公开了一种基于多货主多批次多包装的仓库管理的货位分配方法,具体实现步骤包括定义货品批次规则、定义逻辑分区和承载类型、定义分配策略、具体的货位分配4个方面,在多货主多批次多包装的仓库管理模式下货位的分配场景中,极大提升了多业务形态下仓库的管理、出入库效率,通过灵活的策略配置,达到最大化的货位利用率的目标,可应用于多货主、复杂批次等业务形态仓库的管理系统中。

一种基于大数据的供应链管理平台

NºPublicación:  CN121094701A 09/12/2025
Solicitante: 
江苏迦盈体育科技有限公司
CN_121094701_PA

Resumen de: CN121094701A

本发明公开了一种基于大数据的供应链管理平台,本发明涉及供应链管理技术领域,包括数据采集模块、数据清洗与预处理模块、预测分析模块、供应商管理模块、库存管理模块、物流与配送管理模块和可视化支持模块,数据采集模块采集来自各平台的关键数据,数据采集模块通过API接口和数据爬虫方式定时批量采集数据并传输至数据清洗与预处理模块;本发明通过预测分析模块多维度的需求分析,结合历史销售数据、市场趋势预测不同品类、地域和销售渠道的需求波动,基于这一预测,库存管理模块能够优化库存水平,避免缺货或过剩库存,并通过补货策略和滞销商品的促销手段,减少库存压力,提高库存周转率。

基于LSTM-FIFO-贝叶斯融合的轮胎呆滞库存风险预测方法及系统

NºPublicación:  CN121094699A 09/12/2025
Solicitante: 
浙江工业大学
CN_121094699_PA

Resumen de: CN121094699A

本发明涉及一种轮胎呆滞库存风险预测方法及系统。方法包括:获取历史销量数据、库存数据和批次库龄报表,并进行数据预处理,生成数据集;构建轮胎管理LSTM网络模型,使用历史销量数据训练轮胎管理LSTM网络模型并优化模型参数;并输出月销量的均值预测值;采用蒙特卡洛采样生成月销量预测值的置信区间分布;基于库龄报表中的批次序列,基于FIFO逻辑模拟出库过程,结合月销量预测值的置信区间分布,计算各批次库龄增长路径及剩余库存的呆滞概率分布;构建贝叶斯融合模型,以季节因子与生产计划超产因子生成先验风险概率,对风险概率进行贝叶斯更新,进而得到后验风险概率;将后验风险概率和预设阈值区间进行匹配,输出最终风险等级。

多目标遗传算法的大件电气装备智能运输方法及系统

NºPublicación:  CN121094662A 09/12/2025
Solicitante: 
北京许继电气有限公司
CN_121094662_PA

Resumen de: CN121094662A

本公开提供了一种基于多目标遗传算法的大件电气装备智能运输方法及系统;其中所述方法通过对装备属性、运输资源、路网与环境约束等多源数据的集成,构建同时最小化运输成本与时长并最大化运输安全性的多目标优化模型。采用改进的多目标遗传算法并行迭代生成Pareto最优运输方案集,依据决策者偏好实时选取并执行最优方案,并利用运输过程监控反馈动态调整模型参数。该方法可显著降低综合运输成本,提高时效与安全性,增强物流系统鲁棒性和应急响应能力。

一种基于Springcloud微服务的医院新型物流配送系统

NºPublicación:  CN121094665A 09/12/2025
Solicitante: 
合肥工业大学
CN_121094665_PA

Resumen de: CN121094665A

本发明公开了医院物流配送技术领域的一种基于Springcloud微服务的医院新型物流配送系统,包括服务器集群、网关、机器人充电桩、任务分配服务模块、路径规划服务模块、机器人管理服务模块。本发明通过智能任务分配和路径规划算法,能够根据医院实际情况实时动态地为机器人分配任务和规划最优路径,大大缩短配送时间,提高配送效率,满足医院紧急物资配送需求。

舱位批复方法、装置、存储介质、程序产品及计算机设备

NºPublicación:  CN121094731A 09/12/2025
Solicitante: 
中国南方航空股份有限公司南航数智科技(广东)有限公司
CN_121094731_PA

Resumen de: CN121094731A

本申请公开一种舱位批复方法、装置、存储介质、程序产品及计算机设备,该方法包括:接收订舱请求,其中,所述订舱请求携带欲订舱货物对应的订舱申请信息;根据所述订舱申请信息进行规则匹配处理,得到匹配结果;基于所述匹配结果,生成相应的审批决策信息;将所述审批决策信息推送给与所述审批决策信息相关联的用户端,从而能够在收到订舱请求后自动完成舱位的审批与回复,提高批复效率与实时性,减少批复差错与批复所需成本。

物流运输状态识别方法及相关装置

NºPublicación:  CN121094675A 09/12/2025
Solicitante: 
全球查(深圳)科技网络有限公司
CN_121094675_PA

Resumen de: CN121094675A

本申请提供了一种物流运输状态识别方法及相关装置,响应于查询指令,获取运输轨迹数据和运输状态数据,所述查询指令包括单号,所述运输轨迹数据包括所述单号对应的货物的运输轨迹,所述运输状态数据包括所述单号对应的货物的运输状态;接着,根据所述运输轨迹数据确定所述货物的当前运输节点,所述当前运输节点包括发货节点、中途节点和收货节点中的任意一个;根据所述运输状态数据确定所述当前运输节点对应的运输责任信息;若所述查询指令来自第一用户,从所述运输责任信息中筛选出属于所述第一用户的第一责任信息,并向所述第一用户展示。可以根据查询指令的来源自动确定需要展示的责任信息并进行展示,大大降低了人工成本和用户体验。

一种药品仓储管理方法、装置、终端设备及存储介质

NºPublicación:  CN121096558A 09/12/2025
Solicitante: 
广州市天润药业有限公司
CN_121096558_PA

Resumen de: CN121096558A

本发明公开一种药品仓储管理方法、装置、终端设备及存储介质,所述方法包括:寻找与进货药品向量匹配的货架中心向量,并将所述进货药品置于所述货架中心向量对应的货架;所述货架中心向量是对应货架上全部药品向量所形成向量集合的中心向量;获取进货前后两个时刻所述子药品仓库对应的点云图或出货前后两个时刻所述子药品仓库对应的点云图,通过迭代最近点算法得到残差热力图;检查所述残差热力图中差异值大于预设差异阈值的对应货架药品和药品订单信息是否匹配。本发明实现了药品仓储管理的智能化、精准化和高效化,不仅解决了传统药品仓储中的痛点问题,还为药品全生命周期质量管理提供了可靠的技术支持。

一种多规格储物位自适应匹配的货架重构方法和系统

NºPublicación:  CN121094707A 09/12/2025
Solicitante: 
北京中和汇创科技有限公司
CN_121094707_PA

Resumen de: CN121094707A

本发明提供一种多规格储物位自适应匹配的货架重构方法和系统,获取预置待存储物品的三维外形轮廓信息;将三维外形轮廓信息转换为预置待存储物品的目标支撑曲面曲率参数;应用目标支撑曲面曲率参数计算预置货架中构成各储物位的形状记忆合金丝内各独立温控分区的形变温度值;应用各形变温度值对各形状记忆合金丝进行分区电阻加热控制处理,以生成适配预置待存储物品的货格支撑结构特征;基于货格支撑结构特征对各储物位进行重构,以匹配预置待存储物品的存储需求。本发明实现了异形物品与储物位的全曲面贴合支撑,消除了传统货架因刚性结构导致的局部应力集中问题,显著提升了球体、锥体等异形物品的存储安全性和空间利用率。

一种货物运输状态监测管理方法

NºPublicación:  CN121084412A 09/12/2025
Solicitante: 
惠州市思橼科技有限公司
CN_121084412_PA

Resumen de: CN121084412A

本发明公开了一种货物运输状态监测管理方法,涉及货物运输管理技术领域,包括如下步骤:基于目标车辆获取轮胎参照点;基于轮胎参照点在目标车辆上安装称重传感器;基于称重传感器获取实时横向值与实时整体值;基于第一数量正常运送货物的车辆获取历史横向值、历史整体值以及筛选速度;基于历史横向值、历史整体值以及筛选速度获取限制函数;基于限制函数、实时横向值以及实时整体值获取速度阈值;实时获取目标货车的速度,标记为实时速度;基于实时速度与速度阈值进行危险预警;本发明用于解决现有的货物运输管理技术中未能基于不同的货物对运送货物的车辆进行不同的限速,导致运送货物的安全性较低的问题。

油罐车全局调度方法、装置、设备、存储介质及产品

NºPublicación:  CN121094368A 09/12/2025
Solicitante: 
深圳市惠裕石化有限公司
CN_121094368_A

Resumen de: CN121094368A

本申请公开了一种油罐车全局调度方法、装置、设备、存储介质及产品,涉及低碳节能技术技术领域,所述油罐车全局调度方法,包括:获取油品运输订单信息及路网交通数据;将所述油品运输订单信息及所述路网交通数据输入至预训练的油罐车全局调度模型,得到油罐车调度方案,其中,所述油罐车全局调度模型是由排放预测子模型与低碳优化子模型组合得到的。可理解的是,本申请将这些数据输入至排放预测子模型,精准预测油罐车在不同运输场景下的排放情况。再通过低碳优化子模型进行低碳路线规划,最终得到符合低碳要求的最优油罐车调度方案。

一种基于大模型的智能物流运输车辆调度方法

NºPublicación:  CN121094266A 09/12/2025
Solicitante: 
赛博传思(江苏)供应链管理有限公司
CN_121094266_PA

Resumen de: CN121094266A

本发明公开了一种基于大模型的智能物流运输车辆调度方法,包括:获取当前运输任务的物联网编码,并基于所述物联网编码获取所述运输任务的物流订单数据;根据所述物联网编码和所述物流订单数据中包括的信息,生成所述运输任务的特征变量、约束条件和多目标优化函数,并将所述特征变量、所述约束条件和所述多目标优化函数进行组合,生成针对所述运输任务的运输任务模型实例;根据所述运输任务模型实例从预设的算法库中调用对应的求解算法模块,生成至少两条候选运输路径;计算所述候选运输路径的总运输成本与资源使用效率指标,选择满足预设成本阈值和资源利用目标的运输路径,输出对应的运输任务执行策略。

一种农产品供应链的智慧配送管理优化方法及系统

NºPublicación:  CN121094671A 09/12/2025
Solicitante: 
清远职业技术学院
CN_121094671_PA

Resumen de: CN121094671A

本发明涉及一种农产品供应链的智慧配送管理优化方法,通过物联网实时采集生产、加工、运输端多源异构数据,经动态分级脱敏及加密后上传云端形成完整溯源记录;依据客户订单自动生成初始运输与盈利方案,并以实时环境/路况数据驱动的损耗模型动态优化路线与装配;当实际损耗超阈值时即时调整运输策略,实现数据安全、路径优化与损耗闭环控制一体化,提高农产品供应的新鲜度的同时降低运输成本,提升履约效率与客户体验。

一种酱香型白酒标准化酒体及其设计方法

NºPublicación:  CN121093624A 09/12/2025
Solicitante: 
贵州五星酒业集团茅台镇五星酒厂
CN_121093624_PA

Resumen de: CN121093624A

本发明涉及白酒酿造技术领域,具体公开了一种酱香型白酒标准化酒体及其设计方法。所述方法包括:构建包含原浆酒理化指标、感官特征、成本及库存的数据库;以提升风味和控制成本为目标,计算生成多个候选配方并评估其预期表现;通过小样品评、理化检测及库存消耗分析进行多维度验证与筛选;最终确定最优配比形成标准化设计文件并指导生产。所述标准化酒体通过上述方法制得。该方法通过数据驱动和量化分析,将传统依赖经验的勾调过程转变为科学设计,有效解决了酱香型白酒生产中长期存在的品质不稳定、原浆酒资源利用不均衡、成本与品质矛盾突出等问题,实现了产品风味一致性、生产高效性和成本经济性的统一,并可通过反馈机制优化上游酿造工艺。

一种基于大数据管理的药品出库方法及系统

NºPublicación:  CN121094695A 09/12/2025
Solicitante: 
上海倍通医疗器械管理咨询有限公司
CN_121094695_PA

Resumen de: CN121094695A

本发明公开了一种基于大数据管理的药品出库方法及系统,涉及医药智能出库技术领域,包括:采集药品信息、仓储环境参数及临床需求数据,经归一化处理后计算环境影响系数,并基于环境影响系数构建数字孪生模型,结合药品初始药效参数计算出药效剩余指数,进一步,利用药效剩余指数、库存量及临床需求紧迫度,计算药品出库优先级评分并排序。通过优先级排序表与仓库地图及设备能耗数据,构建多目标优化函数,生成最优出库路径及任务单。执行过程中采集环境参数反馈至数字孪生模型,动态调整出库计划。全过程数据写入区块链,通过自学习算法迭代优化出库策略。本发明实现了药品出库的智能决策与效能保障。

一种基于多模型协同的物流单据智能录入方法及系统

NºPublicación:  CN121094666A 09/12/2025
Solicitante: 
中化能源科技有限公司
CN_121094666_PA

Resumen de: CN121094666A

本发明涉及一种基于多模型协同的物流单据智能录入方法及系统,包括:通过图像采集设备获取物流单据图像,对物流单据图像进行预处理;利用多模态识别模型对预处理后的物流单据图像进行识别,启动独立线程同步处理,得到识别结果;推理模型基于业务规则库对识别结果进行分类,得到业务关键词,基于台账模板与所述业务关键词生成台账信息;监控多模态识别模型和推理模型的编排调度情况,基于编排调度情况调整执行顺序、优化分配路径;对生成的台账进行加密处理,将加密处理后的台账通过接口对接到业务系统完成录入。通过多模态识别模型与推理模型的协同运作,以及创新交互方式,实现了物流单据数据从采集到录入的端到端自动化。

一种晶圆载具的存取搬运单元管理系统装置

NºPublicación:  CN121084830A 09/12/2025
Solicitante: 
苏州派迅智能科技有限公司
CN_121084830_PA

Resumen de: CN121084830A

本专利公开了一种晶圆载具的存取搬运单元管理系统装置,包括存取机器人、搬送机构、调度系统及一个或多个智能物料架;智能物料架设置于靠近晶圆处理设备的位置,晶圆或芯片生产车间的各个工艺区内或工艺区之间设置相同或不同种类的晶圆处理设备,智能物料架包括进出料位、料架控制单元和多个存料位,进出料位用于承载待存入智能物料架或待从智能物料架上取出的晶圆载具;存取机器人被配置得能够将进出料位上的晶圆载具转运至存料位上或将存料位上的晶圆载具转运至进出料位上;搬送机构设置于各个智能物料架之间,搬送机构包括空中输送轨道;调度系统被配置得能够将所需要的晶圆载具通过智能物料架和/或搬送机构调度到目标位置。极大提高了搬运效率和产品良率。

一种现地工器具柜智能化管理方法、系统、设备及介质

NºPublicación:  CN121094703A 09/12/2025
Solicitante: 
三峡金沙江云川水电开发有限公司
CN_121094703_PA

Resumen de: CN121094703A

本发明涉及智能化管理技术领域,公开了一种现地工器具柜智能化管理方法、系统、设备及介质,包括:在工器具柜内布置传感器网络实时采集第一状态数据,并通过无线通信模块将采集的数据传输至处理层;利用第一分析工具对第一状态数据进行处理分析,生成工器具存取记录、库存状态信息和环境监测报告;基于处理分析的结果通过智能控制模块对工器具柜进行第一控制操作,并通过用户交互界面提供工器具柜状态查询、报警信息接收和系统配置功能。本发明通过物联网技术实现对工器具柜的智能化管理,能够实时监控工具存取状态及柜内环境参数,精准管理库存并自动调节温湿度,有效避免工器具缺失、超期未归还或环境异常等问题。

一种大型物料自动化仓储系统

NºPublicación:  CN121094696A 09/12/2025
Solicitante: 
牛眼智能物流设备(苏州)有限公司
CN_121094696_PA

Resumen de: CN121094696A

本发明涉及自动化仓储技术领域,公开了一种大型物料自动化仓储系统。所述系统的物料信息采集模块通过分布式传感器网络全面获取仓储环境中物料的属性信息和位置信息,解决了传统信息采集方式覆盖不全、数据滞后的问题。仓储拓扑构建模块基于上述信息生成仓储空间的三维拓扑关系图,清晰呈现物料存储节点之间的连接关系和动态存取路径,突破了二维地图对立体空间关系刻画不足的局限。调度策略生成模块则根据当前仓储作业任务和三维拓扑关系图,精准计算剩余作业时长并确定动态调度策略,摆脱了固定调度流程的束缚。该系统提升了仓储作业的精准性与灵活性,有效适应了大型物料仓储环境的复杂性与动态性需求。

生物质燃料全流程数字化管理及能效评估系统

NºPublicación:  CN121094739A 09/12/2025
Solicitante: 
华能吉林发电有限公司农安生物质发电厂
CN_121094739_PA

Resumen de: CN121094739A

本申请公开了生物质燃料全流程数字化管理及能效评估系统,包括原料管理模块、加工监控模块、运输调度模块、仓储管理模块、转化过程监控模块、能源利用监控模块、能效评估模块与中央控制平台;原料管理模块通过移动终端采集生物质原料的类型、数量、来源地信息,并记录原料含水率、热值基础数据;加工监控模块连接原料管理模块。本系统实现生物质燃料"从农田到锅炉"的全链条数字化管控:通过原料管理模块的移动采集与图像识别技术,确保源头数据真实性;运输调度模块的动态路径优化降低物流能耗;能效评估模块的多维度分析模型精准识别各环节能效瓶颈,进而指导并优化决策。

一种低空服务安全风险的评估方法、装置、设备及介质

NºPublicación:  CN121096182A 09/12/2025
Solicitante: 
工业和信息化部电子第五研究所华东分所(中国赛宝(华东)实验室)
CN_121096182_PA

Resumen de: CN121096182A

本申请公开了一种低空服务安全风险的评估方法、装置、设备及介质;该方法包括:对低空服务过程中的风险事件进行风险识别,得到风险识别结果;基于风险识别结果对风险事件及引发因素进行风险分析,得到风险分析结果;基于风险分析结果对风险事件进行风险等级评估,得到低空服务对应的安全风险等级;基于低空服务对应的安全风险等级,生成安全风险分析报告,安全风险分析报告中包括:对低空服务的目标优化建议和目标改进措施。本申请实施例可以在提升风险识别效率的同时,提供科学全面的优化建议和改进措施,保证低空飞行安全。

一种基于大数据服务的智慧安防系统及方法

NºPublicación:  CN121094692A 09/12/2025
Solicitante: 
美电贝尔(山东)信息技术有限公司
CN_121094692_PA

Resumen de: CN121094692A

本发明公开了一种基于大数据服务的智慧安防系统及方法,涉及大数据与安防技术领域,所述系统由感知层、数据层和应用层构成,所述感知层、数据层和应用层借助有线及无线通信协议组合实现数据交互,形成闭环式安全管控体系,本发明构建了统一的大数据融合分析平台,打通了货品信息管理系统、仓库控制系统、环境监控系统、人员定位系统、设备运行状态监控系统等异构数据源。基于强大的数据中台能力,实现了多维度数据的实时汇聚、清洗、关联与深度挖掘。通过部署多模态传感器网络,实现了对库房环境、货品状态及设备运行的全息化、高精度感知。

一种数字可视化肉质食品安全生产监测管理系统

NºPublicación:  CN121094249A 09/12/2025
Solicitante: 
福建省天源水产集团有限公司福建省连江县康乐食品有限公司
CN_121094249_PA

Resumen de: CN121094249A

本发明涉及肉质食品安全生产监测与管理技术领域,具体为一种数字可视化肉质食品安全生产监测管理系统。包括:数据采集与绑定单元,用于获取与每一批次肉品的唯一身份识别码相关联的环境时序数据和静态理化数据;环境胁迫建模单元,用于计算得到综合环境胁迫因子;微生物生长预测单元,用于计算得到预测微生物总量;动态风险评估单元,用于计算得到动态安全风险指数;风险预警与决策支持单元,用于生成风险等级信号,并基于预设的临界风险阈值求解得到预测性剩余货架期,以支持调度决策。本系统为实现对生产全链条的动态、连续及前瞻性微生物风险评估奠定了坚实的数据基础,实现了技术上的显著进步。

一种基于区块链的智慧工厂供应链溯源方法与系统

NºPublicación:  CN121094682A 09/12/2025
Solicitante: 
南通师道智能科技有限公司
CN_121094682_PA

Resumen de: CN121094682A

本发明涉及智慧工厂供应链溯源的技术领域,公开了一种基于区块链的智慧工厂供应链溯源方法与系统,通过区块链记录供应链节点地理位置与物流轨迹数据,构建网络拓扑图并进行节点归并优化,计算最短路径并识别关键环节,实现供应链溯源路径的确定。本发明首先利用区块链技术保证数据可信度,然后基于节点属性和业务依赖关系进行网络优化,最后通过改进的路径算法和节点重要性评分确定关键溯源路径。这种方法能够有效简化供应链网络结构,识别出重要节点和异常环节,为供应链管理和风险控制提供了可靠的技术支持,提高了供应链的透明度和可追溯性。

一种实现钛及钛合金行业物料管理及金属平衡的系统及方法

NºPublicación:  CN121094717A 09/12/2025
Solicitante: 
陕西立邦软件有限公司
CN_121094717_PA

Resumen de: CN121094717A

本发明公开了一种实现钛及钛合金行业物料管理及金属平衡的系统及方法,包括台账管理模块、出入库管理模块、数据分析与报表模块、用户交互模块。重点解决台账管理和出入库管理的精细化需求,同时实现生产过程的实时监控和金属平衡的精确计算,是一种全面、高效、智能化的钛及钛合金行业MES系统。

一种基于物联网的智能仓储库存精准调控系统及方法

NºPublicación:  CN121094714A 09/12/2025
Solicitante: 
北京中科建友科技股份有限公司
CN_121094714_PA

Resumen de: CN121094714A

本发明公开了一种基于物联网的智能仓储库存精准调控系统及方法,包括如下步骤:基于物联网感知层采集的多源仓储数据,生成任务特征向量;对任务特征向量进行嵌入编码,形成融合状态特征向量;将融合状态特征向量输入至任务感知型元策略网络中,输出最优调控动作;采集执行结果状态向量及反馈数据集;基于反馈数据集,构建多目标奖励函数,计算即时奖励,得到交互数据集;基于即时奖励和交互数据集,采用元强化学习的内层更新机制,更新元策略初始参数;基于更新后的元策略初始参数,采集新任务交互样本执行快速适配和策略微调。本发明采用任务感知型元强化学习,实现仓储库存的动态精准调控。

一种国际物流供应链协同管理系统

NºPublicación:  CN121094661A 09/12/2025
Solicitante: 
深圳通诚环球供应链管理有限公司
CN_121094661_PA

Resumen de: CN121094661A

本发明属于物流供应链管理技术领域,具体的说是一种国际物流供应链协同管理系统,包括统一数据接入网关、多模态数据融合引擎、供应链数字孪生体、分布式协同决策模块和动态资源调度执行器。供应链数字孪生体通过高保真仿真与风险预测,实现了对物理供应链运行状态的动态感知与前瞻性洞察,使得系统能够提前识别瓶颈与风险,变被动响应为主动干预,分布式协同决策模块结合多目标优化与共识机制,能够在兼顾多方利益的前提下生成科学合理的协同方案,有效解决了跨境协作中的决策冲突与信任难题,动态资源调度执行器确保了优化决策能够精准、高效地落地执行,形成了从感知、决策到执行的完整闭环。

油罐车节能调度方法、装置、设备、存储介质及产品

NºPublicación:  CN121094369A 09/12/2025
Solicitante: 
深圳市惠裕石化有限公司
CN_121094369_A

Resumen de: CN121094369A

本申请公开了一种油罐车节能调度方法、装置、设备、存储介质及产品,涉及低碳节能技术领域,所述油罐车节能调度方法,包括:获取油罐车调度路径信息及油罐车液体载重信息;输入所述油罐车调度路径信息及所述油罐车液体载重信息至预训练的油罐车节能调度模型,生成最优节能调度方案,其中,所述油罐车节能调度模型是由路径优化子模型与节能优化子模型组合得到的。本申请采用了节能优化子模型根据液体载重对调度路径进行调度决策优化,根据路径优化子模型生成最优路径,最终兼顾调度决策与最优路径生成最优节能调度方案,完成节能减排的调度策略优化。

一种智能仓储物流分拣系统及方法

NºPublicación:  CN121094702A 09/12/2025
Solicitante: 
苏州中舰智能装备科技有限公司
CN_121094702_PA

Resumen de: CN121094702A

本发明涉及智能仓储物流技术领域,公开了一种智能仓储物流分拣系统及方法,其包括多维度数据采集模块、全局状态感知与仿真模型构建模块、需求预测分析模块、任务优化与资源配置模块以及执行控制与反馈调整模块。系统通过分布式传感网络、三维仿真模型和深度学习算法实现动态需求预测、任务优化划分及资源适配,并结合环境自适应调控确保物料存储安全。本发明能够提升仓储分拣效率、优化资源配置并增强环境适应性,适用于现代化智能仓储场景。

多源异构数据流实时融合及权重自适应校正系统及方法

NºPublicación:  CN121092863A 09/12/2025
Solicitante: 
江苏星辉数智科技有限公司
CN_121092863_PA

Resumen de: CN121092863A

本发明公开多源异构数据流实时融合及权重自适应校正系统及方法,涉及多源数据融合技术领域,包括路径监测数据提取模块、初始融合权重确定模块、异常运输事件分析模块、初始校正策略表生成模块、响应更新模块和实时权重调整融合模块;本申请通过建立多维度数据质量评分体系,确保权重分配与数据质量强关联,避免“固定权重”导致的融合精度损耗。针对异常监测点,通过数据缺失率、偏差变化率、辅助定位偏差率等指标,精准识别异常数据源类型,并制定“目标数据源降幅+增幅数据源等比例补全”的权重调整方案,直至消除异常,实现“异常定位‑权重调整‑误差消除”的闭环校正。

一种基于供需波动信号的自动采购建议生成方法

NºPublicación:  CN121094700A 09/12/2025
Solicitante: 
广州伊智信息科技有限公司
CN_121094700_PA

Resumen de: CN121094700A

本发明属于人工智能技术领域,具体的说是一种基于供需波动信号的自动采购建议生成方法,包括采集供应端数据流和需求端数据流;对所述供应端数据流与所述需求端数据流进行波动特征提取,得到采购方的标准化供需波动信号;对所述标准化供需波动信号与采购主体仓储状态数据进行关联,得到所述采购方的动态库存系数;基于自适应阈值规则对所述动态库存系数进行采购修正,得到所述采购方的触发阈值参数;当所述标准化供需波动信号超越所述触发阈值参数时,生成所述采购方的采购建议指令;将所述采购建议指令传输至采购终端;本发明可以提高基于供需波动信号的自动采购建议生成的效率。

基于能耗动态评估的仓储物流AGV调度方法及系统

NºPublicación:  CN121094698A 09/12/2025
Solicitante: 
上海通贸国际供应链管理有限公司
CN_121094698_PA

Resumen de: CN121094698A

本申请提供一种基于能耗动态评估的仓储物流AGV调度方法及系统,涉及仓储物流领域,解决了传统调度方法多随机或就近分配任务给AGV小车,未考量AGV小车自身关键状态参数和任务实际需求,致使AGV小车存在无法完成任务风险,影响仓储物流系统作业的稳定性与高效性的技术问题。该方法包括:获取待执行任务的任务信息、AGV小车的运行信息,以及获取各条运行路径的路况信息;基于路况信息,分析AGV小车在各条运行路径时所需的损耗能量,并结合运行路径上的AGV小车数,确定第一运行路径;基于损耗能量和候选AGV小车的剩余能量,获取待执行任务的匹配AGV小车。本申请用于仓储物流AGV调度过程中。

一种面向电力企业的综合管理方法及系统

NºPublicación:  CN121094360A 09/12/2025
Solicitante: 
广西电网能源科技有限责任公司
CN_121094360_PA

Resumen de: CN121094360A

本发明适用于电力企业运营管理技术领域,提供了一种面向电力企业的综合管理方法及系统,其方法包括:获取为电力设备采购预定义的作业链,从作业链选定目标作业链,基于首道设备立项工序的示范内容,从采购凭证抽取预算参量以生成立项执行事务;生成招标执行事务并指派至匹配岗位的采购责任人;当招标执行事务完结且中标金额处于预设区间时,生成合同执行事务;若合同执行事务中的设备交付周期低于电网安全临界值,则向物资调度责任人发送告警并生成加急调度执行事务;根据岗位许可标签,将调度执行事务动态分配至对应权限的区域调度角色。有效解决因关键设备投运周期失控导致的区域电网稳定性下降风险,保障电力系统安全稳定运行。

基于视觉识别的仓储管理方法及系统

NºPublicación:  CN121094713A 09/12/2025
Solicitante: 
内蒙古灵奕高科技(集团)有限责任公司
CN_121094713_PA

Resumen de: CN121094713A

本申请提供了一种基于视觉识别的仓储管理方法及系统,属于仓储管理技术领域,该方法包括:根据目标用户的身份信息确定目标用户的申请料单;基于申请料单确定备件数量以及各备件所对应的实际重量;根据申请料单,控制电子标签的标识灯按照预设模式闪烁,确定申请料单对应的目标货位;基于各目标货位,获取预设时间内智能货架的重量变化,根据重量变化与备件的实际重量确定重量偏差,根据重量偏差判断目标用户是否正确领取备件;根据智能货架的重量变化与库存盘点视觉模型确定智能货架的备件的短缺状态。本申请提供的基于视觉识别的仓储管理方法及系统可以准确判断智能货架与备件的异常状态,减少备件领取错误率,提高判定准确率。

一种基于深度学习的仓库智能管理系统

NºPublicación:  CN121094708A 09/12/2025
Solicitante: 
中铁电气化局集团第一工程有限公司
CN_121094708_PA

Resumen de: CN121094708A

本发明涉及仓库管理技术领域,尤指一种基于深度学习的仓库智能管理系统,通过基于仓库货位、功能位的空间分布信息及通道连通关系,结合历史出入库记录、AGV轨迹与调度日志,构建包含节点与边的时空图模型。通过深度时空图卷积建模,输出货位价值评分与通行拥堵概率,识别高频SKU应优先分配的货位区域。并通过强化学习模型生成货位分配策略,实现高频货品快速出入库的同时避免通道过度占用与死锁。最终,通过路径规划算法生成AGV调度指令集并下发执行。实现了货位规划与AGV调度的动态协同优化,在提升高频货品作业效率的同时,有效避免路径拥堵与冲突,提升系统吞吐率与运行可靠性。

柔性AGV的智能调度与资源分配方法及系统

NºPublicación:  CN121094448A 09/12/2025
Solicitante: 
深圳方圆自动化设备有限公司
CN_121094448_PA

Resumen de: CN121094448A

本发明涉及AGV智能调度技术领域,公开了一种柔性AGV的智能调度与资源分配方法及系统,该方法包括:对AGV作业区域进行网格化处理,得到动态调度网络;对动态调度网络中的AGV状态空间进行建模,得到多智能体调度模型;基于多智能体调度模型计算AGV的任务优先级得分,并将作业时间轴离散化为时间片,得到时间片资源分配结果;根据时间片资源分配结果,对AGV调度决策进行优化,得到分布式调度策略;对分布式调度策略进行划分,得到主控AGV和从属AGV,并生成集群协同决策结果;基于集群协同决策结果进行资源分配和动态负载均衡,得到AGV集群的调度指令,本发明实现了AGV集群的协同决策,保证了全局任务分解与局部资源分配的一致性。

基于移动机器人的智能仓储物流管理系统及方法

NºPublicación:  CN121094693A 09/12/2025
Solicitante: 
安徽锐谷科技有限公司
CN_121094693_PA

Resumen de: CN121094693A

本发明公开了基于移动机器人的智能仓储物流管理系统及方法,涉及仓储物流技术领域,所述系统包括:入库管理模块,出库管理模块,作业管理模块,盘点管理模块,报表管理模块,任务管理模块和日志管理模块;入库管理模块:到货单子模块,生产计划单子模块,红字材料出库子模块,手工入库单子模块;出库管理模块:领料申请单子模块,发货单子模块,手工出库单子模块,销售订单子模块;作业管理模块,包括:点收作业子模块,抽检确认子模块,送检作业子模块,质检作业子模块,回库作业子模块,上架作业子模块,拣货作业子模块,移库作业子模块。实现机器人自动存取、提高搬运物料准确度及效率,动态管理线边库,立体库。实现企业降本增效。

一种基于人工智能的云仓储资源智慧调度方法及系统

NºPublicación:  CN121094385A 09/12/2025
Solicitante: 
北京易油互联科技有限公司
CN_121094385_PA

Resumen de: CN121094385A

本发明属于云仓储管理技术领域,公开了一种基于人工智能的云仓储资源智慧调度方法及系统。所述的方法包括如下步骤:采集实时多源数据,并进行预处理;使用动态时空认知引擎,对若干预处理后实时多源数据进行分析;使用动态元启发式优化模型,生成实时云仓储资源调度方案;使用分层智慧调度决策模型,生成实时云仓储资源调度策略;执行实时云仓储资源调度策略。本发明解决了现有技术存在的数据孤岛与信息碎片化严重、缺乏动态时空感知能力、难以应对复杂决策空间以及缺乏自适应性与分层决策能力的问题。

一种基于物联网和边缘计算的物流入库优化系统

NºPublicación:  CN121094188A 09/12/2025
Solicitante: 
山东陆海服务发展集团有限公司
CN_121094188_PA

Resumen de: CN121094188A

本发明公开了一种基于物联网和边缘计算的物流入库优化系统,包括:信息采集模块,用于采集物流信息,并进行预处理;时序建模模块,用于将物流信息传输至边缘计算节点,并构建时序注意力网络;传播聚合模块,用于将时序特征向量输入图神经网络中,计算匹配权重矩阵;指令调度模块,用于采用分层优化策略,对匹配权重矩阵执行策略评估与动作采样;执行控制模块,用于接收入库调度指令,并下发至作业控制终端;参数训练模块,用于构建联合损失函数,并对网络参数进行联合训练更新;更新维护模块,用于调整入库调度指令,形成物流入库优化过程的闭环控制。本发明实现物流入库的高效调度与动态优化,提升了效率、资源利用率与响应能力。

智能无菌包柜、控制方法、控制设备及存储介质

NºPublicación:  CN121093983A 09/12/2025
Solicitante: 
广州市妇女儿童医疗中心柳州医院
CN_121093983_PA

Resumen de: CN121093983A

本发明公开了一种智能无菌包柜、控制方法、控制设备及存储介质,智能无菌包柜的控制方法包括:实时获取不同规格的无菌包的数量,得到无菌包数量,根据无菌包数量与预设的数量阈值进行数据分析,得到数量分析结果,根据数量分析结果抓取目标规格的无菌包进行补货。本发明能够提高无菌包清点的效率和及时性,降低无菌包因过期导致的风险。

基于物联网设备的仓库货物出入库智能管理系统及方法

NºPublicación:  CN121094688A 09/12/2025
Solicitante: 
盐城链源数字科技有限公司
CN_121094688_PA

Resumen de: CN121094688A

基于物联网设备的仓库货物出入库智能管理系统,其特征在于,包括:信息采集模块,用于对待处理货物进行身份识别与信息采集,将采集的数据封装为标准化的货物信息数据包;位置分配模块,用于基于货物信息数据包进行存储区域筛选,计算存储坐标,生成智能存储位置分配方案;执行规划模块,用于根据储存位置分配方案进行动态路径规划,并实时采集设备执行状态反馈数据;异常检测模块,用于对设备执行状态反馈数据进行处理,检测异常状态并输出监控报告,生成预警信号;预测决策模块,用于根据监控报告和预警信号,预测设备维护需求与货物出库需求,输出综合管理决策方案;反馈优化模块。

应用于港口的目标跟踪方法、装置、介质及程序产品

NºPublicación:  CN121094676A 09/12/2025
Solicitante: 
深圳中科天巡信息技术有限公司
CN_121094676_PA

Resumen de: CN121094676A

本发明提供了一种应用于港口的目标跟踪方法、装置、介质及程序产品,该方法包括:针对港口建立多级网格体系,包括基于道路的第一级网格、基于车道的第二级网格及动态生成的和基于车道段的第三级网格;基于多级网格体系,通过网格来表示车辆的时空位置和时空轨迹;根据网格表示位置和/或轨迹,基于时空一致性进行目标匹配;其中,不同观测中的两个目标对象,若它们的时空位置一致,则为同一目标对象;不同观测中的两个目标对象,若它们的时空轨迹一致,则为同一目标对象。利用上述技术方案,可基于多级网格和车辆的时空一致性使用多源数据来进行目标跟踪,实现了位置和轨迹的压缩存储,减少了所需的存储和计算资源,提高了跟踪实时性和准确性。

一种基于BIM的轨道信号设备配置管理方法

NºPublicación:  CN121094719A 09/12/2025
Solicitante: 
上海电气集团交通自动化系统有限公司
CN_121094719_PA

Resumen de: CN121094719A

本发明公开了一种基于BIM的轨道信号设备配置管理方法,包括:通过部件号加序列号作为硬件配置项的唯一识别码,追踪一个物料的变化状态;根据物料的设计文件,在BIM系统中建立物料的BIM模型;BIM系统使用二维码标签作为配置信息管理的载体,对每个硬件配置项都设置一个唯一的二维码标签;根据物料的设计文件,基于已分配的序列号,从BIM系统中导出组装件的二维码标签,记录本级物料及子级物料的配置信息;当设备在现场完成安装后,在BIM系统中登记或补充其安装设备的配置信息;在项目执行中,通过BIM系统导出该项目下的硬件配置管理数据库,根据各项目的需求进行裁剪。本发明实现了轨道交通信号设备在建设、运营等阶段的线上实时配置管理。

一种多系统融合的车载碳计量综合管理系统

NºPublicación:  CN121094304A 09/12/2025
Solicitante: 
连云港港口集团有限公司交通运输部天津水运工程科学研究所
CN_121094304_PA

Resumen de: CN121094304A

本发明公开了一种多系统融合的车载碳计量综合管理系统,涉及碳排放监测技术领域,该系统由若干功能模块组成,包括:数据采集与处理模块,获取货物电子标签,基于货物电子标签,匹配多系统中的货物信息;运营调度优化模块,依据货物信息进行评估分类,根据评估分类结果,从车辆信息库中筛选出符合基本条件的候选车辆;对筛选出的候选车辆进行综合评估,并结合运输任务中的所有货物和车辆,进行全局优化,构建运输任务匹配算法;碳计量与反馈模块,基于全局优化,获取车辆实际的能源消耗数据、行驶里程数据以及货物运输情况,按照既定的碳排放核算方法,计算车辆在运输过程中的碳排放量。

一种基于AI技术的饮用水下单方法、系统、设备及介质

NºPublicación:  CN121094925A 09/12/2025
Solicitante: 
佛山市预和科技有限公司
CN_121094925_PA

Resumen de: CN121094925A

本申请涉及一种基于AI技术的饮用水下单方法、系统、设备及介质,涉及智慧水务技术领域,其方法包括:根据实时监控的剩余水量,当达到基于用户饮水习惯变化的触发订购水量时,生成基于历史购置记录的初始订单;若当前触发订购水量较上次变化超出允许范围,则在剩余水量高于安全水量前的时间段内,触发AI电话进行订单确认。本申请能够基于用户侧饮用水的动态数据快速触发订单的创建,同时能够响应气候引发的突发用水波动时同步适配用户行为偏好,提升供水连续性与订单流转效率。

一种基于物联网的物料进出场智能管控方法及系统

NºPublicación:  CN121094176A 09/12/2025
Solicitante: 
山东高速交通建设集团有限公司
CN_121094176_PA

Resumen de: CN121094176A

本发明公开了一种基于物联网的物料进出场智能管控方法及系统,属于施工物联网的技术领域,包括如下步骤:S1、采集物联网数据,形成原始数据集合;S2、对原始数据集合执行数据清洗处理,生成标准化数据集合;S3、采用各自独立的特征编码器形成特征向量集合;S4、嵌入对应的数据采集时间戳和位置信息,以生成具备时空上下文的多模态特征矩阵;S5、将多模态特征矩阵输入到一个跨模态注意力融合模块生成一个具备高可靠性的动态融合特征矩阵;S6、预测物料进出场流量或库存变化趋势。本发明能够深度融合多模态数据、嵌入时空上下文信息,并利用强大的图关系推理能力,实现对物料进出场全过程进行高精度、高鲁棒性、预测性智能管控。

一种基于作业信息的码头岸桥作业方法及系统

NºPublicación:  CN121085132A 09/12/2025
Solicitante: 
连云港星禾环保科技有限公司
CN_121085132_PA

Resumen de: CN121085132A

本发明属于码头岸桥作业技术领域,具体涉及一种基于作业信息的码头岸桥作业方法及系统,该方法对第一分区位置进行加载校验,并对第二分区位置进行卸载校验,在校验过程中,基于第一分区位置的维修频率确定第一作业上限,并基于第二分区位置计算卸载优先级,对通过加载校验的第一分区位置与通过卸载校验的第二分区位置进行区域匹配处理,以确定匹配区域,基于所述匹配区域生成包含加载指令与卸载指令的作业计划,并输出至控制系统;本发明通过对分区可用性进行前置校验,对任务进行动态优先级排序,并基于物理邻近性进行区域匹配处理,缩短了岸桥空载行程,提升了作业连续性与吞吐量。

一种基于订单预测的塑化产业智慧物流调度方法

NºPublicación:  CN121094672A 09/12/2025
Solicitante: 
福建金塑宝科技有限公司
CN_121094672_PA

Resumen de: CN121094672A

本发明公开了一种基于订单预测的塑化产业智慧物流调度方法,涉及塑化产品物流领域,基于历史数据预测多个客户在预设时间窗口内对塑化产品的订单需求,并基于客户节点和订单节点以及订单对应的牌号节点构建知识图谱;在知识图谱中,对每一个牌号节点添加属性参数,属性参数包括熔体流动速率、颜色等级和添加剂等级;基于属性参数构建切换评分函数;在保证所有订单在预设时间窗口内完成配送的前提下,构建总目标函数,总目标函数综合考虑总行驶里程、车辆清洗代价评分、客户清洗代价评分;以最小化总目标函数为目标,采用优化算法生成调度方案。本发明有效解决了传统调度方法忽视牌号更换导致的交叉污染问题。

一种基于多信息系统关联的定制木门生产管理方法及系统

NºPublicación:  CN121094600A 09/12/2025
Solicitante: 
南京林业大学
CN_121094600_PA

Resumen de: CN121094600A

本发明公开了一种基于多信息系统关联的定制木门生产管理方法及系统,该方法在OMS系统接收订单后通过第一接口同步至MES系统并进行动态排产,工艺设计拆单系统解析订单中的家具参数,通过第四接口向MES系统传输BOM清单及加工路径G代码;WMS系统校验物料库存,通过第七接口向ERP系统传输预出库信息;MES系统向开料平台下发加工指令,生产余料偏差超过阈值时通过第九接口触发ERP系统的成本重算及OMS系统的预警;成品分拣平台识别产品的类别及标签后,通过第十接口实时更新OMS系统中的订单状态,AGV调度系统将产品成品运送至装货区,通过第十六接口上传成品坐标至ERP系统。本发明实现全流程数据双向实时同步,打破定制木门生产过程中的信息孤岛。

一种农资集采需求测算方法及系统

NºPublicación:  CN121094189A 09/12/2025
Solicitante: 
福建省数村科技发展有限公司
CN_121094189_PA

Resumen de: CN121094189A

本发明提供了农业信息技术领域的一种农资集采需求测算方法及系统,方法包括如下步骤:步骤S1、通过物联网设备阵列以及业务系统采集多源的农资监测数据,并对各所述农资监测数据进行整合以构建多源数据集;步骤S2、对所述多源数据集进行至少包括异常值处理、数据清洗、数据标准化以及特征值提取的预处理;步骤S3、将预处理后的所述多源数据集输入预训练的集采需求测算模型,得到携带置信度的农资集采需求测算结果;步骤S4、输出展示所述农资集采需求测算结果,对所述农资集采需求测算结果进行加密存储和分布式备份。本发明的优点在于:极大的提升了农资集采需求测算的精度以及时效性。

一种批量与单件的MPS配置方法、系统、终端及介质

NºPublicación:  CN121094716A 09/12/2025
Solicitante: 
济南二机床集团有限公司
CN_121094716_PA

Resumen de: CN121094716A

本发明属于MPS配置技术领域,具体公开一种批量与单件的MPS配置方法、系统、终端及介质,包括:根据生产令号的定制产品和储备令号的储备产品,分别建立BOM组成;从销售合同数据中接收并确认主生产计划类型,根据判定结果生成批量或非批量的产品BOM;将所述产品BOM输入物料需求计划系统,依据库存状态、供应商交付周期及安全库存参数计算物料需求数据,并进行动态调整;根据批量生产或非批量生产的部件号和通用件号执行物料领料与库存更新。本发明可在单件小批量与批量生产场景下实现产品BOM的统一配置和动态调整,提高生产计划的执行效率与物料管理的精度。

一种基于二维码联动的消防器材点检系统及方法

NºPublicación:  CN121094729A 09/12/2025
Solicitante: 
南京钢铁有限公司
CN_121094729_PA

Resumen de: CN121094729A

本发明涉及消防安全管理领域,并且公开了一种基于二维码联动的消防器材点检系统及方法,包括二维码标签、指示模块、主控模块以及通信模块;二维码标签用于提供固定的访问入口,指示模块和通信模块均与主控模块电连接,指示模块用于显示消防器材的当前状态,通信模块用于传输状态指令和点检数据,主控模块用于接收云端平台下发的状态指令并控制指示模块的状态切换。主控模块通过扫码设备的扫码操作触发唤醒,同步联动指示模块反馈消防器材当前的状态,可实现点检周期的动态适配,满足复杂场景需求,同时将点检数据上传至区块链平台进行存证,确保点检记录的不可篡改性,符合消防规范。

动态库存管理方法、装置、智能售货机、介质及程序产品

NºPublicación:  CN121094690A 09/12/2025
Solicitante: 
深圳市乐科智控科技有限公司
CN_121094690_A

Resumen de: CN121094690A

本申请公开了一种动态库存管理方法、装置、智能售货机、介质及程序产品,涉及智能售货机的技术领域,在本申请中,提出一种用于智能售货机的缺货预警和补货预测方法。通过对智能售货机的商品销售相关数据进行数据清洗与标准化以及特征提取,得到包括商品特征、时间特征和环境特征的目标特征,进一步采用时间序列模型基于该目标特征生成目标商品在未来目标时期内的预测销量,从而基于目标商品的安全库存基准值、前述预测销量以及当前库存,确定该目标商品的补货量。以上,通过智能售货机的商品销售相关数据进行数据处理,实现其中目标商品的缺货预警和补货预测,更加精准且高效。

一种基于多类型设备联动的货物盘点方法、设备及介质

NºPublicación:  CN121094709A 09/12/2025
Solicitante: 
山东浪潮智能生产技术有限公司
CN_121094709_PA

Resumen de: CN121094709A

本申请公开了一种基于多类型设备联动的货物盘点方法、设备及介质,涉及货物盘点技术领域。方法包括:根据货架的高度分布生成三维地图,得到高空区域、中空区域、低空区域和人工补充区域;根据采集设备的状态与仓库环境数据,对采集设备生成设备协同路径;通过无人机采集高空区域的第一货架图像、轮式机器人采集低空区域的第二货架图像、云台摄像仪采集中空区域的第三货架图像;将第一货架图像、第二货架图像和第三货架图像进行时空对齐,得到货架三维模型,并进行分层识别和验证;根据人工复核结果更新系统数据并反馈至AI模型训练。本申请通过上述方法实现了时空对齐的无人机、机器人、云台协同路径,消除设备覆盖盲区与冲突,盘点耗时缩减。

物流运单的动态监测方法、系统、计算机设备及存储介质

NºPublicación:  CN121094667A 09/12/2025
Solicitante: 
安徽科大国创慧联运科技有限公司
CN_121094667_PA

Resumen de: CN121094667A

本发明涉及物流管理技术领域,具体涉及一种物流运单的动态监测方法、系统、计算机设备及存储介质。动态监测方法包括获取货物在运输全程上多个阶段的物流数据,获取第一阶段的物流数据后启动对该阶段的物流数据进行判断:若该阶段的物流数据与系统设定的物流数据一致,则标记该阶段的物流数据为有效数据,若否,则为无效数据,并启动人工核验程序。进行下一阶段的物流数据的比较。依次获取上述四个阶段的比较结果并进行判断:若四个阶段的物流数据均为有效数据,则将该物流运单标记为真实运单;若其中任意一阶段的物流数据为无效数据,则将该物流运单标记为异常运单。通过采集运输过程中关键节点的信息数据对运输任务的真实性的进行动态监控。

基于图强化学习的电力物资多层库存动态优化方法及系统

NºPublicación:  CN121094691A 09/12/2025
Solicitante: 
国网湖北省电力有限公司物资公司
CN_121094691_PA

Resumen de: CN121094691A

本发明公开了一种基于图强化学习的电力物资多层库存动态优化方法及系统,首先基于图神经网络对电力物资供应链网络进行建模,形成了一种由上游供应商、下游工程点、周转库和终端库等构成的多层级库存结构,并将每个库存节点建模为一个智能体。然后,设计了一种黏合力动态计算模型,通过注意力机制量化多层库存网络中节点间动态交互强度,通过引入供应时间衰减效应,反映供应时效性约束。最后在分阶段迭代训练智能体时,设计智能体策略并通过动态交互强度优化智能体的迭代训练顺序,解决多智能体强化学习方法在多层级库存优化时的维度灾难和非稳定性问题,能够适应供应链网络结构动态变化和协同优化的场景,最终有效降低电力物资供应链的长期成本。

一种基于最优调度算法的包裹调度控制方法及相关装置

NºPublicación:  CN121094683A 09/12/2025
Solicitante: 
广东职业技术学院
CN_121094683_PA

Resumen de: CN121094683A

本发明公开了一种基于最优调度算法的包裹调度控制方法及相关装置,其方法包括:远端服务器获得在当前配送周期内到达所管辖的物流配送点的待配送物流包裹对应的物流包裹信息;对待配送物流包裹对应的物流包裹信息进行分析,并基于分析结果提取到每一个待配送物流包裹对应的配送时效、配送目的地以及包裹参数;基于物流包裹信息中的配送目的地对待配送物流包裹进行初步分拣处理,形成分拣后的待配送物流包裹;利用每一个待配送包裹对应的配送时效及包裹参数对分拣后的待配送物流包裹进行配送调度控制处理。在本发明实施例中,实现在每一个配送周期内对待配送物流包裹进行及时配送调度控制,并且具有较优的配送调度控制,降低配送成本。

包裹处理方法、装置、计算机设备及计算机可读存储介质

NºPublicación:  CN121094664A 09/12/2025
Solicitante: 
北京达佳互联信息技术有限公司
CN_121094664_PA

Resumen de: CN121094664A

本申请实施例公开了一种包裹处理方法、装置、计算机设备及计算机可读存储介质,该方法包括:获取至少一个在架包裹的包裹信息和至少一个在途包裹的包裹信息;基于所述至少一个在架包裹的包裹信息和所述至少一个在途包裹的包裹信息,预测所述至少一个在架包裹和所述至少一个在途包裹中是否存在满足预设条件组合的可合包包裹,得到预测结果;基于所述预测结果确定包裹出库指示,在所述预测结果表征所述至少一个在架包裹和所述至少一个在途包裹中不存在所述可合包包裹的情况下,输出第一出库指示;在所述预测结果表征所述至少一个在架包裹和所述至少一个在途包裹中存在所述可合包包裹的情况下,输出第二出库指示。如此,可以提升包裹运输的效率。

物流信息共享方法及系统

NºPublicación:  CN121092630A 09/12/2025
Solicitante: 
天津氢鸿新能科技有限公司
CN_121092630_PA

Resumen de: CN121092630A

本发明提供一种物流信息共享方法及系统,包括:获取实时物流信息,并将实时物流信息封装为待上链数据;针对待上链数据,配置与实时物流信息的数据类型相对应的事件触发条件和信息共享策略;根据待上链数据、事件触发条件和信息共享策略,构建为物流信息事务,并将物流信息事务广播至分布式账本网络;实时监测分布式账本网络中存储的物流信息事务,将物流信息事务中包含的实时物流信息与事件触发条件进行持续比对;在实时物流信息满足事件触发条件时,调用物流信息事务中对应的信息共享策略,并根据信息共享策略所确定的目标数据和目标接收方,生成授权共享指令。通过本发明的方案,从而提升物流信息共享的效率和安全性。

基于装载率和运营效率的客滚船舶班期设计方法和装置

NºPublicación:  CN121094380A 09/12/2025
Solicitante: 
海南港航控股有限公司
CN_121094380_PA

Resumen de: CN121094380A

本申请属于数据处理技术领域,具体公开了一种基于装载率和运营效率的客滚船舶班期设计方法和装置,包括基于历史数据预测明日过海车辆总数,结合波动系数分时段计算车辆预期到港密度,并根据船舶车道线长度、车辆总数及车辆长度确定船舶装载率;基于车辆预期到港密度和船舶装载率,构建第一目标函数;根据历史数据确定不同船型的单航次运营的变动成本,基于变动成本和排期船舶构建的第二目标函数;基于船舶约束条件对第一目标函数和第二目标函数进行求解,得到船舶班期方案;结合当前港区实时待渡车辆信息和可用船舶信息对船舶班期方案进行优化,得到最终船舶班期方案。通过本申请可提高船舶的运营效率并实现资源的均衡分配。

一种基于人工智能的药品留样管理方法及智能化管理平台

NºPublicación:  CN121094726A 09/12/2025
Solicitante: 
广西壮族自治区数字证书认证中心有限公司广西数字大脑智能科技有限责任公司
CN_121094726_PA

Resumen de: CN121094726A

本发明涉及药品留样管理技术领域,特别涉及一种基于人工智能的药品留样管理方法及智能化管理平台。步骤包括留样期限设置:采集药品的样品信息,并根据样品信息设置样品的留样期限;样品通过人工智能算法对样品进行存储位置分配,并监测存储位置的环境参数,以及监测样品的位置;样品领用管理:在样品领用时进行身份认证,并对样品进行取样控制和称重监测;样品销毁管理:对样品进行残渣检测,并通过区块链进行存证管理。本发明实现了从留样设置到销毁的全流程闭环管理,显著降低了人工依赖度,提高了管理效率。而且实现了样品实时追踪和管理,有效解决了信息透明度不足、手工操作流程复杂繁琐等问题,提高了药品管理的安全性和可靠性。

集装箱中心站运营管理方法、装置、设备、介质及产品

NºPublicación:  CN121094663A 09/12/2025
Solicitante: 
西南交通大学
CN_121094663_PA

Resumen de: CN121094663A

本发明公开了一种集装箱中心站运营管理方法、装置、设备、介质及产品,涉及物流系统规划与优化技术领域。所述方法是先根据到达率计算得到中心站在未来目标时段的最小吞吐量,并生成集装箱中心站的多个运营决策变量的初始解,然后根据最小吞吐量,构建考虑运营吞吐量、所有轨道吊的车辆排队长度均值和集装箱卡车的任务执行平均时长的目标函数和约束条件,最后基于初始解,结合AMVA算法和ALNS算法优化得到多个运营决策变量、用于使目标函数最大化及满足约束条件的最优解,并作为运营决策方案予以输出执行,如此有利于分析为铁路集装箱中心站运营效率和识别瓶颈环节,进而为运输资源调配及系统负载控制等方面提供关键的在线决策依据。

基于AI技术的企业生产采购管理系统及方法

NºPublicación:  CN121094689A 09/12/2025
Solicitante: 
江苏瑞旭智数据科技有限公司
CN_121094689_PA

Resumen de: CN121094689A

本发明涉及生产采购管理技术领域,且公开了基于AI技术的企业生产采购管理系统及方法,包括采购数据采集模块,数据整合模块,智能分析模块,智能分级模块,决策优化模块和区块链存证模块;本发明系统基于生产计划自动生成采购数据并实时采集市场动态,大幅减少人工干预,加快响应速度;整合多源数据生成评估指标,提供实时业务分析,辅助战略决策并提升供应链透明度;构建指数并通过分级结果生成最优采购方案及备选方案,提供多方案成本/风险对比分析,帮助企业选择供应商并动态规避供应链风险;为物料生成唯一哈希编码,绑定规格型号和替代料关系,实现全链路防篡改追溯,保障数据完整性和透明度。

数据处理方法、装置、电子设备及存储介质

NºPublicación:  CN121094867A 09/12/2025
Solicitante: 
上海曜晨信息科技有限公司
CN_121094867_PA

Resumen de: CN121094867A

本公开提供了一种数据处理方法、装置、电子设备及存储介质,所述方法包括:基于商品在销售地区的月增长系数、历史日均销量和预测日均销量中至少之一,确定商品每一月份对应的预测月销量;基于订货日期至延展日期对应的至少一个月份的预测月销量,确定商品的预测总销量;基于商品的预测总销量、商品在库数量、商品在途数量、待生产数量、所述销售地区的安全库存天数和当前月份的预测月销量,确定商品的订货数量;如此,通过月增长系数、历史日均销量和预测日均销量对商品的月销量进行预测,进而结合预测月销量、物流信息、生产周期、销售地区的仓库信息进行订货计划预测,提升销售地区市场需求预测的准确性,进而提升采购决策的准确性。

一种农产品供应链信息管理系统

NºPublicación:  CN121094612A 09/12/2025
Solicitante: 
杭州聚阿网络科技有限公司
CN_121094612_PA

Resumen de: CN121094612A

本发明涉及供应链信息管理技术领域,且公开了一种农产品供应链信息管理系统,包括信息采集系统,通过所述信息采集系统收集原料供应数据、原料加工数据、物流运输数据和分销数据,原料加工数据包括提取原料外观特征,并形成原料外观量,提取原料气味特征,并形成原料气味量,提取原料质量特征,并形成原料质量,合并原料外观量、原料气味量和原料质量,得到完整原料加工数据。本发明通过检查原料外观量、原料气味量和原料质量,以此分拣,将符合每种不同的等级标准原料分别打包,并且通过评定原料价值,以此能让农产品供应商、生产者、经销商、物流运输、批发商或零售商判断是否进行原料供应链计划。

商铺收银管理方法、装置、终端和介质

NºPublicación:  CN121094804A 09/12/2025
Solicitante: 
四川天邑康和通信股份有限公司
CN_121094804_PA

Resumen de: CN121094804A

本申请公开了一种商铺收银管理方法、装置、终端和介质,本申请涉及数据处理技术领域,所述方法包括:获取预处理后的收银终端数据、预处理后的物联网感应设备数据以及预处理后的视频监控数据;通过预设神经网络模型,根据所述收银终端数据、所述物联网感应设备数据以及所述视频监控数据,预测得到目标区域内各个商铺的未来收银交易量;根据所述未来收银交易量,计算得到目标区域内各个商铺对应的收银台开放数量的动态阈值;基于所述收银台开放数量的动态阈值、所述未来收银交易量,得到目标商铺收银管理方案。本申请旨在实现对选定区域内多间商铺收银情况的高效、准确管理。

一种基于强化学习和动态搜索的自动化装箱方法

NºPublicación:  CN121072918A 05/12/2025
Solicitante: 
华商国际工程有限公司西安芝麻数据科技发展有限公司
CN_121072918_PA

Resumen de: CN121072918A

本发明公开了一种基于强化学习和动态搜索的自动化装箱方法,涉及智能制造与物流自动化技术领域,包括以下步骤:建立决策至执行的时序观测层,采集策略评分梯度、动作撤回次数与执行能耗,生成表征装箱顺序震荡的基线数据;基于基线数据进行因果相干分解,识别近似最优路径切换簇,计算切换频率、停留时长与撤回成本,构建震荡成因图谱。本发明通过构建评分与执行全过程监测、因果分解、扰动回放、能量势垒建模、缓冲执行机制及逆相位抑震策略,实现对装箱路径震荡的识别、抑制与熄灭,形成策略稳定闭环,有效提升装箱过程稳定性与执行效率,降低能耗与故障率。

一种基于区块链的农产品供应链数据存储方法

NºPublicación:  CN121070281A 05/12/2025
Solicitante: 
广东天鹏农牧集团有限公司
CN_121070281_A

Resumen de: CN121070281A

本发明涉及数据处理技术领域,更具体地,本发明涉及一种基于区块链的农产品供应链数据存储方法,方法包括:获取农产品的供应链物流配送数据以及中转点之间的事件和车厢温度数据序列;将供应链物流配送数据划分为多个数据块,根据数据块的实际物流配送数据与对应的理论物流配送数据之间的差异,确定数据块的调节因子;通过数据块与其他数据块之间的影响因子差异,确定该数据块的异常程度;结合数据块的调节因子和异常程度得到该数据块的可调节程度,以获取数据块的基准值,在差分编码中使用数据块的基准值进行压缩,以实现农产品供应链数据的存储,有效地提高了农产品供应链数据的存储效率。

ロボット制御装置、ロボット制御システム、ロボット、及びロボット制御方法

NºPublicación:  JP2025177963A 05/12/2025
Solicitante: 
株式会社日立製作所
JP_2025177963_PA

Resumen de: WO2025243639A1

A robot control device (11) is provided with: a determining unit (33) for determining the progress status of first work in accordance with a work instruction; a search unit (35) for searching for a partner (17) capable of providing specific information for changing the progress status of the first work to a continuation-possible status if the progress status of the first work is a continuation-not-possible status; an estimating unit (37) for estimating the total work cost including second work for changing the progress status of the first work from the continuation-not-possible status to the continuation-possible status; a plan creating unit (38) for creating a work plan including the second work for the partner (17) on the basis of the estimated total work cost; and a control unit (39) for causing the work including the second work complying with the created work plan to be performed. The plan creating unit (38) creates the work plan so as to minimize the total work cost.

プリンタシステムのための自動制御システム

NºPublicación:  JP2025178162A 05/12/2025
Solicitante: 
株式会社リコー
JP_2025178162_PA

Resumen de: US2025362847A1

The present invention relates to an automated printer system for loading a printed set of printed material items into a container. The printer system is operative to determine which printer device, from one or more available printer devices, to output a print job to, for controlling the printer devices based on identifier marks provided on containers.

サプライチェーンネットワーク作成方法、サプライチェーンネットワーク作成装置、及びプログラム

NºPublicación:  JP2025177639A 05/12/2025
Solicitante: 
株式会社日立製作所
JP_2025177639_PA

Resumen de: WO2025243604A1

In this supply chain network creation method, which is performed by a computer system, the computer system includes an arithmetic device and a storage device, and the storage device holds a learning model and transaction history information. The supply chain network creation method includes: a procedure in which the arithmetic device uses the learning model on the basis of input information relating to an article of interest to estimate article items that constitute the article; a procedure in which the arithmetic device converts each of character strings of the estimated items and character strings of items included in the transaction history information into names defined by predetermined rules; and a procedure in which the arithmetic device compares items estimated on the basis of the converted names with the items included in the transaction history information to estimate a supplier company of the articles of the estimated items.

基于图神经网络的立体仓储货位优化分配方法

NºPublicación:  CN121073347A 05/12/2025
Solicitante: 
易格智能科技(苏州)有限公司
CN_121073347_PA

Resumen de: CN121073347A

本发明公开了基于图神经网络的立体仓储货位优化分配方法,包括如下步骤:步骤一:获取仓库管理系统数据,并进行预处理形成入库批次数据;步骤二:获取货物的候选货位集合;步骤三:构建图数据结构;步骤四:得到每个货物与候选货位组合的基础价值评分;步骤五:构建干预子图和反事实子图,对基础价值评分进行因果校正,生成因果门控评分;步骤六:将因果门控评分输入瓦尔拉斯竞价器,采用稀疏化平滑选择函数生成软分配概率;步骤七:统计各候选货位的超额需求,依据镜像下降与投影规则更新资源价格,执行结构化投影并处理同通道同时间窗的冲突集合,生成最终分配结果。本发明结合图神经网络与瓦尔拉斯竞价器,实现高效准确的仓储货位优化分配。

一种基于大数据分析的智能快递分拣路径优化方法

NºPublicación:  CN121072912A 05/12/2025
Solicitante: 
北京荣熙世纪企业管理有限公司
CN_121072912_PA

Resumen de: CN121072912A

本发明涉及大数据分析与智能物流技术领域,公开了一种基于大数据分析的智能快递分拣路径优化方法,包括:获取包裹的多维物理特性数据,利用包裹拓扑特征提取算法生成包裹的拓扑特征图表示,生成包裹的特征向量;计算包裹间的物理兼容性评分、物理约束满足度和计算效率评分,采用物理约束感知的批次优化算法生成批次划分方案;构建双层图表示框架,建立层间连接并实现双向信息传递;对相似物理特性的包裹应用自适应稀疏化训练方法;建立联合目标函数并采用交替优化策略,动态调整安全约束和优化权重,实现物理约束与计算优化的深度协同;本发明通过物理约束感知的批次形成算法和计算资源智能分配机制,提升了分拣处理效率。

一种基于公共交通网络的无人机末端配送方法和系统

NºPublicación:  CN121073316A 05/12/2025
Solicitante: 
山东高速城乡建设开发有限公司山东交通学院
CN_121073316_PA

Resumen de: CN121073316A

本发明提供了一种基于公共交通网络的无人机末端配送方法和系统,属于物流配送技术领域,该方法包括:获取客户信息、公交线网信息和无人机信息;利用客户信息、公交线网信息和无人机信息建立用于公交车与无人机协同配送的多目标优化模型;目标优化模块以费用最小为目标函数,且考虑时间差约束、路线约束、载重约束和能源约束;采用模拟退火算法接受准则的非支配变邻域搜索算法,对多目标优化模型进行求解得到近似Pareto最优解集;该最优解集为考虑成本、时间和风险的无人机末端配送方案。基于该方法,还提出了基于公共交通网络的无人机末端配送系统。本发明通过无人机电动化驱动结合公交网络协同,实现多目标优化的物流配送。

一种知识和数据驱动的集装冷藏箱回风温度预测方法

NºPublicación:  CN121071340A 05/12/2025
Solicitante: 
中铁特货物流股份有限公司北京工业大学
CN_121071340_PA

Resumen de: CN121071340A

本发明提出了一种知识和数据驱动的集装冷藏箱回风温度预测方法,实现了集装冷藏箱回风温度的准确预测;该方法以集装冷藏箱送风温度、箱后部温度、箱中部温度、箱外温度、箱内湿度、冷凝器盘管温度作为模型输入,以集装冷藏箱回风温度作为模型输出,建立了基于模糊神经网络的集装冷藏箱回风温度预测模型,设计了知识迁移算法以调整集装冷藏箱回风温度预测模型参数,解决了数据不足情况下集装冷藏箱回风温度预测精度低的问题;实验结果表明该方法能够实现集装冷藏箱回风温度的准确预测,为工程师判断是否启停制冷机组提供准确的回风温度预测信息。

基于区块链的绒花材料溯源管理系统及方法

NºPublicación:  CN121073331A 05/12/2025
Solicitante: 
湖南科技职业学院
CN_121073331_PA

Resumen de: CN121073331A

本发明涉及溯源管理技术领域,尤其涉及基于区块链的绒花材料溯源管理系统及方法,本发明通过区块链技术全面获取绒花材料生产、保存、物流运输等多方面数据,保证数据安全且不可篡改;综合考虑绒花材料和运输路径多种因素,进行花瓣变形影响分析、光照褪色影响分析、材料运输异常分析和材料运输影响分析,全面且精准地评估运输过程中材料可能遭受的损失,并动态选择损失最小的路径;最后利用区块链智能合约和加密技术将选定路径安全传输至客户端,能有效降低运输损耗,保障材料质量。

一种社区食品互助分享配送管调系统、方法及装置

NºPublicación:  CN121073322A 05/12/2025
Solicitante: 
天衍智科技产业有限公司
CN_121073322_PA

Resumen de: CN121073322A

本发明公开了一种社区食品互助分享配送管调系统、方法及装置,系统包括:社区在线美食分享无人智能配送云平台;数智驱动无人机系统;数智驱动无人车系统;社区在线美食分享系统;其中,社区在线美食分享系统与社区在线美食分享无人智能配送云平台连接,社区在线美食分享无人智能配送云平台分别与数智驱动无人机系统、数智驱动无人车系统连接。本发明中通过形成社区系统化无人智能配送可控通道,结合基于可控场景数智底座模型驱动的无人智能精准定位配送体系,实现了配送过程的高度智能化、精准化与可控化。大幅提升了配送效率,确保美食能够快速、准确地送达居民手中,降低了配送成本,减少了人力投入与配送误差。

基于动态订单调度的校园外卖配送路径寻优方法及系统

NºPublicación:  CN121072917A 05/12/2025
Solicitante: 
北京漂洋过海科技有限责任公司
CN_121072917_PA

Resumen de: CN121072917A

本发明提供基于动态订单调度的校园外卖配送路径寻优方法及系统,涉及智能物流与路径规划技术领域,本发明构建了融合历史优先度信息、静态距离及动态拥堵权重的复合启发式信息,以替代传统蚁群算法的单一启发模式,有效避免了因过度强化历史路径而陷入局部最优,显著增强了全局搜索能力与路径多样性,同时,建立了基于路径成本、配送紧急度和通行效率的多维度路径评估模型,通过层次分析法与逼近理想解排序法,计算出稳定且全面的综合合理程度。该评估方法摒弃了对单一因素敏感的传统计算方式,确保了对外卖候选配送路径优劣判断的准确性,从根本上杜绝了因评估误判而强化次优路径的恶性循环。

基于多智能体模型的电动化众包货运系统建模与优化方法

NºPublicación:  CN121072873A 05/12/2025
Solicitante: 
大连海事大学
CN_121072873_PA

Resumen de: CN121072873A

本发明公开了一种基于多智能体模型的电动化众包货运系统建模与优化方法,所述方法包括构建基于多智能体模型的电动化众包货运系统;为电动化众包货运系统配置系统运营优化模型,其包括用于允许二次分配的动态车货匹配优化模型;用于实现车队能量管理的融合紧急充电与预防性充电的混合充电优化模型;以及用于量化评估净收益以优化车辆运力空间配置指标的基于实时期望计算的空车调度优化模型;根据系统运营优化模型,实现对基于多智能体模型的电动化众包货运系统的运营优化。本发明解决了在高度复杂的系统运行环境中,现有的方法存在电动货车续航限制、充电设施容量约束与需求时空不均等耦合带来的运营难题的技术问题。

多无人机物流运输碰撞预测方法

NºPublicación:  CN121067863A 05/12/2025
Solicitante: 
中国民航大学天津航大天元航空技术有限公司
CN_121067863_PA

Resumen de: CN121067863A

本发明涉及一种多无人机物流运输碰撞预测方法,方法通过物流运输点空间分布与无人机实时飞行数据动态生成协调化飞行路径,解决传统路径规划与物流节点布局不匹配导致的轨迹冲突问题;基于轨迹交叉区域检测和最小相对距离计算精准识别冲突时空范围;通过协议避障规则库实现异构无人机避障动作的统一映射,消除多协议环境下的指令冲突风险;结合避障动作方向差异、距离衰减因子及相对速度多维参数融合计算碰撞概率,显著提升风险预测精度;该方法有效解决了物流场景下因路径规划失配、协议异构冲突及风险模型偏差导致的碰撞隐患,实现多无人机协同运输的安全防护。

一种基于物联网设备的智能化远程仓储管理方法

NºPublicación:  CN121073345A 05/12/2025
Solicitante: 
陕西三石云科技有限公司
CN_121073345_PA

Resumen de: CN121073345A

本发明涉及仓储管理技术领域,具体涉及一种基于物联网设备的智能化远程仓储管理方法。包括:通过部署在仓库内的物联网传感器采集仓储环境数据,将采集的数据传输至远程管理平台进行处理与管理;还包括以下步骤:部署场强梯度感知模块以实时获取仓库三维电磁场强分布;构建设备漂移历史数据库并通过漂移特性学习模块训练漂移模型参数;动态补偿执行模块根据实时场强分布及物联网设备位置信息对原始采集数据进行修正;将修正后的数据传输至远程管理平台,通过漂移特性学习模块定期更新设备漂移历史数据库,本发明能提升物联网设备采集数据的准确性,为智能化远程仓储管理提供可靠的数据支撑。

跨境物流服务报价系统及其实时动态调整报价的方法

NºPublicación:  CN121073328A 05/12/2025
Solicitante: 
上海集行物流科技有限公司
CN_121073328_PA

Resumen de: CN121073328A

本发明公开了跨境物流服务报价系统及其实时动态调整报价的方法,方法包括:动态获取多源异构数据,并利用知识图谱技术构建门到门服务链图谱;通过动态规则引擎将业务规则编译成可热更新的计算单元,并进行自动化合规性审核;基于服务链图谱和所述动态规则,生成候选物流路径组合,并利用路径剪枝算法进行过滤;利用流式计算框架对有效路径进行并行实时计算,得到多个报价方案,并将所述报价方案进行多维度可视化输出。通过技术融合,实现报价精度显著提升、计算效率大幅跃升、系统灵活性增强以及用户决策成本降低等有益效果。

一种物流供应链安全管理系统及方法

NºPublicación:  CN121073335A 05/12/2025
Solicitante: 
深圳市利鑫物流有限公司
CN_121073335_PA

Resumen de: CN121073335A

本发明涉及航空物流管理技术领域,具体为一种物流供应链安全管理系统及方法,系统包括:航空网络脆弱性分析模块,基于全球货运机场的节点与执飞航线的边信息,计算每条最短路径经过节点与边的次数,并统计连接的航线数量,建立航空物流网络结构脆弱性地图。本发明中,通过对全球货运机场节点与执飞航线边信息进行路径经过次数与连接航线数量的量化处理,可形成网络结构脆弱性地图,实现对航空运输网络中关键节点与高频航段的直观识别与风险聚焦;结合物流资产的残留物向量与残留衰减半衰期的精准记录,可动态计算当前污染潜值,建立覆盖ULD、货架位和运输车辆的污染风险基线,使得资产风险状态可量化、可追踪。

一种供电所库房管理方法及系统

NºPublicación:  CN121073357A 05/12/2025
Solicitante: 
杭州齐慧科技有限公司
CN_121073357_PA

Resumen de: CN121073357A

本发明涉及一种供电所库房管理方法及系统,涉及物资管理的领域,其包括:采集当前日期和历史巡检信息;依据所述历史巡检信息以得到最近巡检日期;响应于所述最近巡检日期和预设的定期巡检时长以生成巡检日期;基于所述当前日期与所述巡检日期一致时,控制预设的巡检装置以预设的定期巡检方法进行库房巡检,并采集巡检日志;基于所述巡检日志以上传至预设的巡检记录终端中。本申请具有提高巡检效率的效果。

用于控制车辆的方法和系统

NºPublicación:  CN121062540A 05/12/2025
Solicitante: 
现代自动车株式会社起亚株式会社
CN_121062540_PA

Resumen de: US2025368091A1

A method for controlling a vehicle based on vehicle state information and parcel information of an eco-friendly vehicle includes obtaining information about the vehicle or parcels from an external device or at least one sensor. The method further includes determining loading or unloading of the parcels based on the information about the vehicle or the parcels. The method further includes determining a required State Of Charge (SOC) of a battery of the vehicle based on the loading or the unloading of the parcels and the information about the vehicle or the parcels. The method further includes controlling the battery of the vehicle based on the required SOC of the battery of the vehicle or providing a driver with information about the required SOC of the battery of the vehicle.

基于物联网的物流智能化监控系统

NºPublicación:  CN121073325A 05/12/2025
Solicitante: 
福建智联万物科技有限公司
CN_121073325_PA

Resumen de: CN121073325A

本发明公开了基于物联网的物流智能化监控系统,涉及物流监控技术领域,其技术方案要点包括采集模块:将物流运输网络划分为由运输节点和运输路径构成的物流监控分区,实时采集物流监控分区内各物流包裹的状态数据和运输进度数据;根据状态数据和运输进度数据识别异常或滞后的待监控包裹,则将待监控包裹划分为主监控包裹群和与之关联的辅监控包裹群;基于历史物流监控数据判断异常状态数据与风险等级之间的风险关联系数;将风险关联系数与主监控包裹群的状态数据进行处理分析得到主监控偏差值,效果是提升物流监控效率并且优化资源配置。

一种基于供应链订单数据的员工调度方法及系统

NºPublicación:  CN121073139A 05/12/2025
Solicitante: 
宁波禾邦物流有限公司
CN_121073139_PA

Resumen de: CN121073139A

本发明涉及员工调度技术领域,具体公开了一种基于供应链订单数据的员工调度方法及系统,所述的方法包括以下步骤:S1:确定物流仓库中的待配送货物,并确定目标函数;S2:确定所述的目标函数的约束条件,并对目标函数进行求解;S3:根据对所述的待配送货物进行配送所需的车辆数m计算物流仓库的调度比例,并根据所述的调度比例提醒工作人员对物流仓库的员工进行调度。本发明可以根据物流仓库中的待配送订单对员工进行调度,确保每个物流仓库有足够的员工来处理待配送货物,避免资源浪费和人力不足的问题。

一种基于离线检测的物流状态监测系统及方法

NºPublicación:  CN121073333A 05/12/2025
Solicitante: 
上海朗晖慧科技术有限公司
CN_121073333_PA

Resumen de: CN121073333A

本发明公开了一种基于离线检测的物流状态监测系统及方法,涉及物流状态监测技术领域,该方法包括以下步骤:通过智芯桶的压强传感器计算液位高度、获取震动数据,建立数字化档案记录液体信息;计算液体质量,与称重得到的实测质量比较偏差判断液位,偏差超阈值时结合历史数据和液体密度预设记录分析异常原因;计算当前与历史同液体、同液位下的压强偏差,超出历史最大波动范围标记传感器异常,反之优先检查密度假设;根据需求将智芯桶运送场景划分为第一运送场景和第二运送场景,第一运送场景基于实际液位高度监测运输倾斜、液体更换及液位;第二运送场景检测内部压强和环境温度,经温度补偿超压后触发诊断,本发明实现物流状态监测。

一种基于供应链的传感器自动检测方法及系统

NºPublicación:  CN121067938A 05/12/2025
Solicitante: 
深圳大深传感科技有限公司
CN_121067938_A

Resumen de: CN121067938A

本发明涉及供应链监测技术领域,具体公开了一种基于供应链的传感器自动检测方法及系统,方法包括:通过获取运输振动能量,生成层级压力梯度场与事件节点分布图;若触发蠕变系数重置算法,将事件节点图映射为加权有向图并提取关键传导路径,并定位拆包释放型漂移节点;引入拆包应力修正项扩展互相关熵模型,结合时间窗口信息熵确定优先补偿策略,实现传感器漂移的动态修正。系统包括层级分析模块、拓扑构建模块、滞后定位模块和漂移补偿模块。本发明通过振动能量、材料蠕变、漂移补偿的跨尺度建模,有利于减少供应链中应力累积导致的传感器读数滞后问题,提升了包装优化决策效率。

一种基于多维数据的药品市场需求预测方法及系统

NºPublicación:  CN121073538A 05/12/2025
Solicitante: 
上海倍通医药科技咨询有限公司
CN_121073538_PA

Resumen de: CN121073538A

本发明涉及医药供应链管理技术领域,尤其涉及一种基于多维数据的药品市场需求预测方法及系统,其方法包括:采集并预处理多源业务数据;构建张量网络的动态因果图获取因果嵌入,采用格罗莫夫‑瓦瑟斯坦与施罗丁格桥对齐潜空间,并以路径瓦瑟斯坦正则约束轨迹;在带状态空间记忆的条件扩散模型中生成需求分位数曲线,结合增广拉格朗日与保形预测实现可行域与覆盖率保证;将分位数与库存状态输入强化学习策略网络,在数字孪生供应链中闭环更新。本发明提升极端场景下的鲁棒性、可解释性与策略稳定性。

订单取件开箱验视连拍方法、装置、设备及存储介质

NºPublicación:  CN121077754A 05/12/2025
Solicitante: 
上海东普信息科技有限公司
CN_121077754_A

Resumen de: CN121077754A

本发明涉及物流领域,公开了订单取件开箱验视连拍方法、装置、设备及存储介质,该方法用于按预设序列采集取件开箱影像。该方法包括:获取待取订单的订单信息和预分配取件人信息,并对取件人进行身份校验,将校验通过的订单标记为可取件订单;根据可取件订单的物品类型匹配基础拍摄参数;按照环境全景、包裹外观、开箱过程、物品细节的预拍摄顺序生成拍摄指令;提取已完成拍摄的影像数据,将提取的影像数据保存在终端设备的本地缓存模块,形成本地缓存数据,并将提取的影像数据通过分片压缩技术异步推送至云端服务器,形成云端数据;校验本地缓存数据与云端数据的一致性,通过后删除本地缓存数据,并生成带时间戳的验视档案。

基于地理围栏的社区化商品服务匹配方法、系统及介质

NºPublicación:  CN121073595A 05/12/2025
Solicitante: 
尚宜欣
CN_121073595_PA

Resumen de: CN121073595A

本发明涉及基于地理围栏的社区化商品服务匹配方法、系统及介质涉及互联网通信领域中的网络虚拟社区交流技术领域,旨在解决传统服务中信息过载、信用缺失及服务半径失控三大核心问题。技术方案通过构建动态地理围栏引擎,结合用户设定距离实时生成电子围栏,严格约束信息推送与履约范围;采用语音化信息处理系统,将文字信息转化为1.2倍速吆喝式音频,突破视觉交互限制;创新区块链信用管理模块,通过押金冻结机制与自动化罚没规则建立刚性的社区交易担保;同步开发分层履约调度模型,整合自提、商户直送及社区中老年劳动力配送三模式,实现资源精准匹配。

冷链供应链风险监控方法及系统

NºPublicación:  CN121073329A 05/12/2025
Solicitante: 
深圳链库供应链管理有限公司
CN_121073329_PA

Resumen de: CN121073329A

本发明涉及供应链风险监控技术领域,公开了一种冷链供应链风险监控方法及系统,该方法包括:采集冷链交接环节的温度数据、时间戳数据和操作视频数据;基于所述温度数据计算温度暴露积分值,并基于所述操作视频数据进行交接操作合规性验证,得到验证结果;基于所述温度暴露积分值调整HACCP关键控制点的风险阈值;基于所述温度暴露积分值、所述验证结果和所述时间戳数据进行责任归属计算,得到交接责任分配结果并基于所述风险阈值生成风险监控验证报告,本发明能够精确量化货品在交接过程中的累积温度危害,提高了操作监管的效率和准确性,进而提升了风险防控的有效性。

一种基于电子运单的道路货物运输管理方法及系统

NºPublicación:  CN121073320A 05/12/2025
Solicitante: 
无锡鑫丰来不锈钢有限公司
CN_121073320_PA

Resumen de: CN121073320A

本发明公开了一种基于电子运单的道路货物运输管理方法及系统,涉及物联网技术领域,包括,根据第一次更新的数字孪生体和安全通行时空地图,通过车载OBD设备与路侧RFID读写器实时采集并比对运输数据与安全域,检测到复合异常时更新数字孪生体状态并触发三级告警编码;根据五维审计报告,拆分运输属性和安全属性分别锚定至运输链和安全链,通过跨链中继技术生成可验证跨链证据包。本发明通过拆分运输属性与安全属性,分别锚定至运输链和安全链,并构建MPT树生成双链一致性证明,实现数据主权分离下的联合审计,使多部门协同响应时间缩短;从运单初始化、安全域植入、到最终审计销毁,形成不可篡改的证据链。

基于多参数智能校验的胰岛素防错标签方法及系统

NºPublicación:  CN121075541A 05/12/2025
Solicitante: 
上海市养志康复医院(上海市阳光康复中心)
CN_121075541_PA

Resumen de: CN121075541A

本发明涉及胰岛素管理技术领域,具体公开了基于多参数智能校验的胰岛素防错标签方法及系统,包括:为每瓶胰岛素药品配置集成多种监测与传感功能的智能标签,智能标签包含RFID模块、二维码模块、条形码模块、温湿度感应器、存储环境监控模块以及数据传输模块;数据传输模块通过事件触发的唤醒机制与自适应占空比调节技术,控制RFID模块、温湿度感应器、存储环境监控模块以及数据传输模块执行间接性激活与数据压缩传输操作;本发明通过整合智能标签、温湿度监控、剂量校验和实时数据更新等技术,全面提升了胰岛素药品使用过程中的安全性与精准性;增强现实技术的应用优化了患者与医护人员的操作体验,进一步降低了使用错误的风险。

C2M智能供应链协同方案的建立方法及装置

NºPublicación:  CN121073369A 05/12/2025
Solicitante: 
浙江西图盟数字科技有限公司
CN_121073369_PA

Resumen de: CN121073369A

本公开是关于C2M智能供应链协同方案的建立方法及装置,可以提高C2M智能供应链的开发效率和C2M智能供应链上下游的协同效率,更好满足C2M模式下的敏捷响应用户需求。其中,方法包括:根据C2M智能供应链的建立需求,在预设业务场景中确定目标业务场景,并获取目标业务场景下预设的第一业务流程;通过大模型确定建立需求所需的第二业务流程;获取第一业务流程对应的预设应用程序,并响应于第一业务流程与第二业务流程间存在差异流程,确定差异流程对应的定制应用程序;基于预设的标准数据格式、第一业务流程对应的预设应用程序和差异流程对应的定制应用程序,得到建立需求对应的C2M智能供应链。

物流预测方法、装置、电子设备及存储介质

NºPublicación:  CN121073314A 05/12/2025
Solicitante: 
顺丰科技有限公司
CN_121073314_PA

Resumen de: CN121073314A

本申请公开了一种物流预测方法,装置、电子设备及存储介质。其中方法包括:基于预先构建的运力时空图,确定目标快件的多个候选路由;确定目标快件在多个候选路由下对应的多个维度的算路特征,多个维度的算路特征包括表征目标快件从当前状态能否到达目标场地的第一维度特征,以及表征目标快件到达目标场地后到目标事件对应状态的第二维度特征;将各个算路特征以及线上特征快照输入到目标预测模型中,得到针对目标快件从当前状态到目标场地下目标事件对应状态的预测结果。采用本方法,可提高物流预测的准确性。

一种基于多工厂排产的共用物料齐备性计算方法及系统

NºPublicación:  CN121073356A 05/12/2025
Solicitante: 
南京南瑞继保电气有限公司南京南瑞继保工程技术有限公司
CN_121073356_PA

Resumen de: CN121073356A

本发明公开一种基于多工厂排产的共用物料齐套性计算方法及系统,获取订单中所需的物料数据;确定其中的共用料,并获取当前可用库存数量,进行库存占用;更新共用料库存,供各工厂查询。此种技术方案能够快速有效地解决现有技术中多工厂排产的共用物料齐套性信息不能及时确定的问题,减少物料不齐套带来的负面影响,保证生产的稳定性,提高生产效率。

一种基于大数据的冷链设备智能维护管理方法及系统

NºPublicación:  CN121073441A 05/12/2025
Solicitante: 
江苏蓝河网络技术有限公司
CN_121073441_PA

Resumen de: CN121073441A

本发明涉及冷链设备管理的技术领域,且公开了一种基于大数据的冷链设备智能维护管理方法及系统,所述系统包括冷链设备冷藏管理模块、冷链设备冷藏故障管理模块、冷链设备冷藏维护模块;通过温度传感器动态采集冷链设备冷藏真实运行温度范围值并与冷链设备当前最优冷藏温度范围值进行冷链设备理论冷藏温度区间与实际冷藏温度区间逻辑数值关系精准判断,实现冷链设备实际冷藏温度与理论冷藏温度数值关系智能检测;依据冷链设备冷藏温度区间数值关系判断信息进行冷链设备冷藏温度调整故障状态精准分析,同时配合冷链设备控制中心自主采集冷链设备特征信息,实现智能监管冷链设备冷链运行状态,提高冷链维护管理的可靠性。

一种多商品渠道的动态调价系统、方法及存储介质

NºPublicación:  CN121073524A 05/12/2025
Solicitante: 
深圳飞之度科技有限公司
CN_121073524_PA

Resumen de: CN121073524A

本发明公开一种多商品渠道的动态调价系统,包括预测模型模块、定价模块和接口配置模块,系统根据商品的品类和供货渠道自动选择定价模式,并由定价模块实现所述商品的动态调价;所述定价模块配置为支持多种定价模式,包括传统定价模式、外部资源定价模式、内部资源定价模式、无资源智能定价模式以及卖家报价智能定价模式。本发明通过预测模型模块、定价模块和接口配置模块等协同工作,针对不同供货渠道和资源条件自动选择相应的定价模式,实现价格的灵活调整。

一种医用耗材的智能体视觉识别系统

NºPublicación:  CN121075582A 05/12/2025
Solicitante: 
湖南致新锐辰信息技术有限公司
CN_121075582_PA

Resumen de: CN121075582A

本发明属于医用耗材管理技术领域,公开了一种医用耗材的智能体视觉识别系统,包括图像分类特征数据库、算法库、模型选择器、专用解析模型、视觉采集设备以及软件管理系统。本发明,通过算法库与图像分类数据库的协同实现产品信息的智能解析与匹配,结合模型选择器与专用解析模型提升生产信息提取效率,利用多种视觉采集设备满足自营仓、三方仓库及医院多级仓库不同场景下的批量图像采集需求,通过软件管理系统实时生成业务数据,实现仓储管理环节的自动化与信息化,有利于实际的应用与操作。

基于动态解耦的生物制药多模态生产排程系统及方法

NºPublicación:  CN121073032A 05/12/2025
Solicitante: 
长春金赛药业有限责任公司
CN_121073032_PA

Resumen de: CN121073032A

本发明公开了基于动态解耦的生物制药多模态生产排程系统及方法,涉及生物制药生产管理领域,该方法包括:全周期模拟,结合任务时间区间、资源需求及物料关系,实时记录资源占用与物料流转状态,计算资源压力系数和物料缓冲裕度等关键指标;识别资源与物料冲突热点,依据负载率、缓冲裕度及库存等判定冲突类型与等级,输出结构化清单;将结果转化为多维度热力图谱,从时间、资源、物料维度可视化冲突;设定监控周期,对连续未缓解的冲突触发二次预警或再路由。系统包含对应功能模块。本发明能动态优化生产排程,提升生物制药生产效率与稳定性,降低冲突风险。

一种体育场馆储物柜自动分配方法、系统、终端及介质

NºPublicación:  CN121073338A 05/12/2025
Solicitante: 
山东浪潮智慧文旅产业发展有限公司
CN_121073338_PA

Resumen de: CN121073338A

本发明涉及储物柜管理领域,具体提供一种体育场馆储物柜自动分配方法、系统、终端及介质,包括:从预约信息中解析出预约场馆信息,判断该预约场馆是否存在专属柜;若存在专属柜,根据该预约场馆的专属柜实时使用状态判断是否分配专属柜,若是,执行专属柜分配策略为当前预约用户分配储物柜,若否,执行公共柜分配策略为当前预约用户分配储物柜;若不存在专属柜,直接执行公共柜分配策略为当前预约用户分配储物柜;所述公共柜分配策略通过预约用户当前位置、预约场馆位置、公共柜负载率筛选出最优储物柜。本发明提高储物柜资源的整体利用率,提高储物柜的实际使用率,减少后台数据处理计算量,避免响应延迟,保证系统稳定。

一种港口铁路智能化调度智慧系统及方法

NºPublicación:  CN121073165A 05/12/2025
Solicitante: 
连云港港口集团有限公司铁路运输分公司
CN_121073165_PA

Resumen de: CN121073165A

本发明涉及港口铁路调度管理技术领域,具体为一种港口铁路智能化调度智慧系统及方法,其包括获取卸车作业与列车进轨信息,识别节拍偏移并生成异常调度序列,筛查轨道路径冲突并提取重叠轨道区段,梳理可通行轨道通道,标注高压作业路径,调整列车调度路径,生成港轨智能调度结构图。本发明通过实时追踪卸车作业与列车进轨时间,识别节拍偏移并筛查路径冲突,避免了路径重叠引发的资源冲突和排队问题。结合轨道通行度与作业密集度分析,优化路径选择,确保作业节奏和轨道资源合理分配,避免任务堆叠和路径切换延误。提升了港口铁路调度的响应能力,避免了作业中断和资源浪费,增强了作业流程的连续性与高效性。

一种基于大数据的食品质量安全追踪管理系统

NºPublicación:  CN121073307A 05/12/2025
Solicitante: 
四川工商职业技术学院
CN_121073307_PA

Resumen de: CN121073307A

本发明公开了一种基于大数据的食品质量安全追踪管理系统,涉及食品技术领域,包括:采集待追踪食品的标签标识数据和仓储堆叠参数;基于历史监管数据提取标签不符程度与质量合规风险之间的标签风险系数,对标签风险系数和标签标识数据进行处理得到标签风险值;根据待追踪食品的仓储堆叠参数判断仓储过程中待追踪食品的堆叠异常程度值;将堆叠异常程度值和标签标识数据进行处理得到仓储规范干扰值;根据仓储规范干扰值判断待追踪食品的仓储规范干扰程度得到第一等级仓储规范干扰和第二等级仓储规范干扰;效果是提升食品质量安全管理的效率与效果。

基于氢气运输经济性的输氢网络规划设计方法及系统

NºPublicación:  CN121072992A 05/12/2025
Solicitante: 
山东大学
CN_121072992_A

Resumen de: CN121072992A

本发明公开基于氢气运输经济性的输氢网络规划设计方法及系统,获取设定区域内输氢节点路网数据,构建氢气运输规划场景;评估氢气运输全流程的压缩环节、长管拖车运输环节和纯氢管道运输环节的各项成本,结合日输氢量和折现率,分别得出长管拖车输氢链条、纯氢管道输氢链条、联合长管拖车和纯氢管道输氢网络的生命周期平准化输氢成本,建立输氢经济性评估模型;基于所述氢气运输规划场景和输氢经济性评估模型,以最小化设定区域输氢网络全生命周期平准化成本为目标,构建双层协同优化模型,基于所述双层协同优化模型求解得到最优输氢网络规划方案,可精确评估输氢系统的全生命周期平准化成本并进行输氢网络规划。

一种多无人机协同任务分配方法、系统、设备及介质

NºPublicación:  CN121073115A 05/12/2025
Solicitante: 
中国民航大学
CN_121073115_A

Resumen de: CN121073115A

本发明涉及无人机技术领域,公开了一种多无人机协同任务分配方法、系统、设备及介质。该方法包括:针对多无人机协同任务分配问题,建立多无人机协同任务分配模型;基于结合PSO算法与SA算法的混合优化算法,对多无人机协同任务分配模型进行求解,得到多无人机协同任务分配问题的任务分配方案;其中,混合优化算法采用PSO算法迭代求解多无人机协同任务分配模型,在PSO算法的每次迭代中,将获得的全局最优粒子其中两个任务的分配无人机交换以进行局部扰动,并根据局部扰动前的全局最优粒子和局部扰动后的全局最优粒子之间适应度值的变化,确定是否采用SA算法以概率决定是否接受局部扰动后的全局最优粒子加入PSO算法的下次迭代中。

一种融合大模型知识的船舶港口间航线规划方法

NºPublicación:  CN121072914A 05/12/2025
Solicitante: 
北京国交信通科技发展有限公司湖南省水运建设投资集团有限公司
CN_121072914_PA

Resumen de: CN121072914A

本发明公开了一种融合大模型知识的船舶港口间航线规划方法,包括S1、基于大模型的航线规划解析:利用大模型解析用户输入的关于航线规划的问题,获取提问信息,利用大模型对提问信息进行工具解析确定需要调用的航线规划服务,利用大模型对航线规划服务进行参数解析,确定其所需的相应参数;S2、航线规划服务调用:输入相应参数调用相应的航线规划服务,获取航线规划结果;S3、基于大模型的航线规划结果展示:利用大模型解析航线规划结果,以实现线路可视化。优点是:能够用于完全没有通航过的两个港口之间的路径规划,航线是基于真实轨迹的,不会穿越陆地与岛礁等障碍,能够更准确的进行海峡通道的避让。

一种基于强化学习的电表周转箱设计优化方法及系统

NºPublicación:  CN121072035A 05/12/2025
Solicitante: 
苏州众晨芯智能工业技术有限公司
CN_121072035_PA

Resumen de: CN121072035A

本发明公开了一种基于强化学习的电表周转箱设计优化方法及系统,所述方法包括获取电表装载需求、运输车辆限制及动态使用场景数据;基于电表装载需求与运输车辆限制,计算最优装载组合,确定箱体尺寸设计范围;从预设的材料强度选择标准中提取材料参数,生成初步箱体设计方案;分析压力承受数据,调整厚度与结构,得到优化后的箱体强度配置;计算箱体重量控制参数,生成重量优化设计方案;筛选材料,同步迭代材料参数,确定轻量化耐用箱体设计方案;进行模拟验证,确定最终箱体结构参数;生成设计图纸与材料清单,并调整参数,获得最终生产方案。本方法能实现电表周转箱在轻量化、耐用性与运输效率间的协同优化,提升多场景适配性。

一种智能立体仓库系统的异常检测方法、装置及计算机程序产品

NºPublicación:  CN121071694A 05/12/2025
Solicitante: 
深圳供电局有限公司
CN_121071694_PA

Resumen de: CN121071694A

本发明公开一种智能立体仓库系统的异常检测方法、装置及计算机程序产品。其中,方法包括:步骤S1,采集智能立体仓库系统中设备和环境的运行状态数据;步骤S2,将所述运行状态数据划分为多个数据层,计算各个数据层的异常度,并对所有数据层的异常度进行融合,得到全局异常信号;步骤S3,基于所述全局异常信号的变化速率和当前异常强度,动态计算报警强度;步骤S4,根据预设的阈值对所述报警强度进行分级,并依据分级结果执行相应的异常响应操作。本发明通过动态加权系数精准捕捉微小异常,数据分层减少干扰,加权与交叉抑制融合成可靠全局信号,自适应报警函数按异常程度分级响应,提升了智能立库系统异常检测的精准性与安全性。

物流监测方法、电子设备、存储介质及程序产品

NºPublicación:  CN121073319A 05/12/2025
Solicitante: 
杭州老板电器股份有限公司
CN_121073319_A

Resumen de: CN121073319A

本申请实施例提供一种物流监测方法、电子设备、存储介质及程序产品。该方法包括:电子设备在包装件表面设置传感器获取监测信息,并由电子设备依据监测信息确定包装件状态信息。电子设备根据该包装件的状态信息制定物流运输优化策略。该方法用以达到提高物流运输过程中包装件的监测效率的效果。

货车装载空间的协同处理方法、装置、车辆、介质及程序

NºPublicación:  CN121073336A 05/12/2025
Solicitante: 
奇瑞汽车股份有限公司
CN_121073336_A

Resumen de: CN121073336A

本申请涉及货物运输技术领域,特别涉及一种货车装载空间的协同处理方法、装置、车辆、介质及程序,其中,方法包括:获取第一目标货车的剩余装载体积和剩余装载重量;根据剩余装载体积和剩余装载重量筛选符合目标条件的货物中转请求订单对应的货车列表,根据货物中转请求订单的子订单按照优先级规则从货车列表中筛选对应的最优第二目标货车;识别第一目标货车的目标仓库坐标和路线数据,根据目标仓库坐标和路线数据选取最优中转点兴趣点坐标生成电子围栏范围,在第二目标货车加入电子围栏后,实时共享第一目标货车和第二目标货车的车辆位置及预计到达中转点时长。由此,解决了相关技术中货车装载空间利用率低下、运力资源协同性差等问题。

一种基于人工智能的猫粮质量安全溯源方法

NºPublicación:  CN121073499A 05/12/2025
Solicitante: 
舜甫科技集团有限公司
CN_121073499_PA

Resumen de: CN121073499A

本发明涉及食品质量安全技术领域,公开一种基于人工智能的猫粮质量安全溯源方法,包括:步骤1,在原料入库环节部署双频RFID标签,高频段存储供应商信息与检测数据,超高频段记录运输轨迹与环境参数,通过物联网传感器网络采集原料储存状态数据;步骤2,将原料储存状态数据与生产线上游工序采集的原料配比数值、工艺温度曲线、设备压力波动数据进行数据清洗,生成结构化工艺数据。采用双频RFID标签与物联网传感器网络技术方案,达到原料批次信息自动化精准关联的技术效果,相较于现有技术中依赖人工纸质记录原料信息的传统方式,解决原料批次与实物对应关系不明确、数据记录滞后且易被篡改的不足。

一种基于改进的SAC模型的AGV路径规划方法

NºPublicación:  CN121072913A 05/12/2025
Solicitante: 
郑州大学京东科技信息技术有限公司
CN_121072913_PA

Resumen de: CN121072913A

本发明公开了一种基于改进的SAC模型的AGV路径规划方法,包括:根据环境信息提取AGV运行状态;利用A*算法进行预训练,来初始化SAC模型的网络参数;采用脉冲神经网络计算对应当前状态的动作和策略熵;从经验回放池中采样小批量数据,计算时序差分误差,并用以更新Critic网络参数;计算整个策略的损失值,并利用替代函数反向传播更新Actor网络参数;当训练达到设定的性能指标后,使用训练完成的改进的SAC模型进行实时环境动态追踪和路径规划。该方法通过A*算法的预训练有效加快SAC初始化过程,提高训练效率;同时引入脉冲神经网络,保证了动作的随机性,增强了信息处理效率,实现了节能且高效的路径规划计算。

一种商品车转运车全局动态任务分配方法

NºPublicación:  CN121073015A 05/12/2025
Solicitante: 
山东港口烟台港集团有限公司北京理工大学烟台港股份有限公司汽车码头分公司烟台港滚装物流有限公司
CN_121073015_PA

Resumen de: CN121073015A

一种商品车转运车全局动态任务分配方法,属于商品车调度领域。本发明采用具有最少冲突导向的分配方法遵循全局代价最低从任务分配层面减少冲突发生的可能,降低路径规划时冲突避免复杂度。本发明通过考虑两边任务数量差值,动态决策分配单边任务或两边任务,避免在商品车转运车数量较多且仅允许分配单边任务时造成的道路拥堵情况,显著提升转运效率。本发明根据转运任务的平均电量消耗、预计行驶距离、转运车电池的性能特性确立的电量阈值决定是否分配任务;采用动态任务分配方式,遍历待分配任务列表计算任务代价,根据当前系统任务执行情况动态调整分配任务,确保商品车转运车获取最合适的任务,提升商品车转运车全局动态任务分配系统的鲁棒性。

航班库存管理方法、装置、设备、介质及计算机程序产品

NºPublicación:  CN121073340A 05/12/2025
Solicitante: 
中国南方航空股份有限公司南航数智科技(广东)有限公司
CN_121073340_PA

Resumen de: CN121073340A

本发明公开了一种航班库存管理方法、装置、设备、介质及计算机程序产品,所述方法包括:获取航班计划数据、航班预订数据以及航班调控数据;对所述航班计划数据进行初始化处理,并生成航班库存实例;根据所述航班库存实例、所述航班预订数据以及所述航班调控数据进行库存计算,并根据计算结果对航班库存进行更新。本发明无需依托现有的库存系统,通过航司自有的数据源获取航班计划数据、航班预订数据以及航班调控数据,构建航班库存实例,以高性能进行库存可售数的计算,实现独立的航班库存管理。

一种基于区块链的物流智能分拣管理系统及方法

NºPublicación:  CN121073047A 05/12/2025
Solicitante: 
江苏理工学院
CN_121073047_PA

Resumen de: CN121073047A

本发明公开了一种基于区块链的物流智能分拣管理系统及方法,涉及智能分拣管理技术领域,监测分拣周期内分拣件数量,根据分拣命令判断合格与不合格件数分析分拣线稳定程度,监测待分拣件数量,根据到货和待分拣时长计算每件紧急度分析急迫程度,根据稳定程度与急迫程度关系,分析分拣线运行状态,筛选待分配任务待进行处理,当分拣线异常时,分析稳定分拣线,根据稳定程度分配待分配任务,监测分配后分拣线的稳定程度,并发送运行报告,当分拣线不稳定时,再次分配待分配任务,累计异常分拣线任务分配次数,对异常分拣线任务分配次数进行报警,本发明通过将异常分拣线任务合理分配给稳定分拣线,使各分拣线工作量更均衡。

一种粮食库存质量监测方法、设备及介质

NºPublicación:  CN121073269A 05/12/2025
Solicitante: 
郑州华粮科技股份有限公司
CN_121073269_PA

Resumen de: CN121073269A

本申请公开了一种粮食库存质量监测方法、设备及介质,方法包括:采集各粮食库区对应的库存环境信息;加载粮食库区对应的质量评估规则库,通过质量评估规则库,根据库存环境信息对粮食库区中存储的粮食进行质量评估,以确定粮食对应的粮食质量;生成对应的粮食质量评估报告,并根据粮食质量评估报告生成对应的质量看板模型;响应于针对预设地图中粮食库区对应的地图锚点的触发操作,对质量看板模型进行可视化展示。

基于多源异构数据的即时零售服务平台实时处理系统

NºPublicación:  CN121073611A 05/12/2025
Solicitante: 
厦门市华美云海科技有限公司
CN_121073611_PA

Resumen de: CN121073611A

本发明提供基于多源异构数据的即时零售服务平台实时处理系统,涉及即时零售技术领域,包括:关联模块,用于从标准化数据节点集合中确定与目标商品对应的库存状态数据节点作为主数据节点,并识别关联数据节点,所述关联数据节点包括对应目标商品的商品主档数据节点、当前用户订单数据节点及可用骑手定位数据节点,基于关联数据节点的数据关系建立库存校验逻辑单元。本发明通过建立库存校验逻辑、保障库存与订单原子性处理、生成配送调度指令、动态优化配送路径,多模块协同实现库存有效校验、订单高效处理及配送动态调整,有效提升即时零售服务的实时性、数据一致性与履约可靠性。

基于物联网的水电站工程物资管理方法和系统

NºPublicación:  CN121073173A 05/12/2025
Solicitante: 
华电金沙江上游水电开发有限公司
CN_121073173_PA

Resumen de: CN121073173A

本发明公开了基于物联网的水电站工程物资管理方法和系统,涉及工程物资管理技术领域,包括基于物联网管理平台,对待管理工程物资数据进行分析处理,获取待管理工程物资的相关信息。本发明先是对待管理工程物资书进行类型分析,确定工程物资生产商特征,其次,通过工程物资生产商特征对不同生产商的产品参数进行参数分析,确定不同生产商的工程物资的使用期限,然后,通过不同生产商的工程物资的使用期限对水电站已使用工程物资进行使用期限分析,确定水电站已使用工程物资的状态信息,最后,对水电站已使用工程物资的状态信息进行状态分析,确定水电站已使用工程物资是否需要更换,避免了水电站在使用过程中出现故障,降低了财产损失。

一种面向多商品的物流费用精细化处理方法

NºPublicación:  CN121073575A 05/12/2025
Solicitante: 
山东浪潮数字商业科技有限公司
CN_121073575_PA

Resumen de: CN121073575A

本发明公开一种面向多商品的物流费用精细化处理方法,涉及数据分析技术领域;包括:步骤1:构建商品数据模型,对单个商品数量和商品重量关系进行维护,步骤2:构建物流成本要素关联模型,对商品实际物流影响因素与商品进行关联,步骤3:根据实际销售单据为主体,结合商品实际物流影响因素计算物流费用;本发明方便业务人员核对与后续财务结算,真正实现以实际销售单据为驱动,精准高效的运费计算和管理流程。

一种基于大数据的酒店房间数据智能管理系统

NºPublicación:  CN121073098A 05/12/2025
Solicitante: 
江苏罗舍科技有限公司
CN_121073098_PA

Resumen de: CN121073098A

本发明公开了一种基于大数据的酒店房间数据智能管理系统,涉及酒店管理技术领域,包括:确定客户订单在接近满房状态下的潜在取消概率;依据潜在取消概率,通过多轮随机浮动测试,确定不同价格浮动幅度下客户潜在取消概率的变化特征;基于变化特征,结合相邻日期内历史订单的集中程度,确定临界库存房间价格浮动幅度与库存实际利用率之间的关联特征;以关联特征为约束条件,构建临界库存状态下房间库存释放决策与库存冻结决策之间的博弈关系,通过多次博弈推导过程确定库存释放与冻结决策的稳定策略组合;本发明通过精准预测订单取消概率并优化库存释放决策,实现酒店临界库存状态下房间利用率与整体收益的最大化。

一种基于单船-多无人机的海上协同配送系统

NºPublicación:  CN121073326A 05/12/2025
Solicitante: 
大连海事大学
CN_121073326_PA

Resumen de: CN121073326A

本发明提供一种基于“单船‑多无人机”的海上协同配送系统,通过单船与多无人机的海上协同工作,实现海上多个任务的协同配送,为生成可行的调度路径,该系统包括:初始访问序列模块、自适应大邻域搜索模块以及局部搜索模块;所述调度系统通过所述初始访问序列模块、自适应大邻域搜索模块、自适应机制模块以及局部搜索模块实现对任务的智能调度和路径优化完成配送任务。本发明通过无人机与船舶的协同作业,不仅提升了海上小物品运输的效率,减少了配送所有任务的运输时间和成本,还通过智能调度降低了燃料消耗,提升了操作可靠性与精度,展现出强大的实际应用潜力。

跨境物流欺诈检测方法、装置、电子设备及存储介质

NºPublicación:  CN121071714A 05/12/2025
Solicitante: 
深圳市明心数智科技有限公司
CN_121071714_PA

Resumen de: CN121071714A

本申请涉及跨境物流欺诈检测技术领域,揭示了一种跨境物流欺诈检测方法、装置、电子设备及存储介质,其中,方法包括:获取待检测的指定提单文本数据;获取对应的多模态数据,以及获历史异常订单数据,构建多模态矩阵,调整各个预设维度检测模型的模型参数,得到各个预设维度的目标检测模型,对所述多模态矩阵进行检测,根据检测结果判定所述指定提单文本数据是否具有欺诈行为。本发明的有益效果:通过构建多模态矩阵,综合分析提单文本及相关历史异常订单数据,确保对各个维度的欺诈风险进行全面评估,此外基于历史数据调整检测模型参数,通过动态和灵活的多模态数据分析,提高了对欺诈行为的识别能力。

一种基于RFID技术的双重库存状态校验系统及方法

NºPublicación:  CN121073341A 05/12/2025
Solicitante: 
东信和平科技股份有限公司
CN_121073341_A

Resumen de: CN121073341A

本发明提供一种基于RFID技术的双重库存状态校验系统及方法,包括RFID数据采集模块,用于实时读取并上传物资的物理位置和状态;库存系统数据同步模块,配置为实时获取并同步目标物资在库存系统中的账面状态信息;比对校验引擎,配置为接收来自RFID数据采集模块的实际库存状态信息与来自库存系统数据同步模块的账面状态信息,进行实时动态比对,并根据比对结果输出允许或禁止物资出入库的操作指令;权限控制与执行模块,配置为根据比对校验引擎输出的操作指令执行相应的物理操作;入库门模块和出库门模块,分别部署于仓库的入口和出口。本发明旨在解决传统仓储管理中因单一数据源依赖、人工干预滞后导致的账实不符问题。

一种面向随机设备故障的事件驱动港口设备调度算法

NºPublicación:  CN121073027A 05/12/2025
Solicitante: 
同济大学
CN_121073027_PA

Resumen de: CN121073027A

本发明公开了一种面向随机设备故障的事件驱动港口设备调度算法,属于港口设备调度领域。其中该方法包括对港口设备的全域资源调度的历史数据进行预处理,定义状态空间、动作空间和奖励构建离线强化学习数据集;对各个设备作业区域与作业任务特点进行生产场景聚类,对设备故障率进行建模,设置设备的故障率为;使用基于Actor‑Critic学习方法进行训练,对干净状态和故障设备状态进行预测,并使用正则化方法实现Actor鲁棒预测;根据设备的时间约束随机故障设备掩码,在推理阶段使用自适应掩码对动作进行屏蔽;使用已训练的智能体在港口调度环境中部署,实现实时的桥吊、AGV和轨道吊全域资源调度。

产品分配器状态查询系统和方法

NºPublicación:  CN121079705A 05/12/2025
Solicitante: 
金伯利克拉克环球有限公司
CN_121079705_PA

Resumen de: AU2024244305A1

A method and system for accessing information regarding a condition of a consumable product dispenser in a washroom facility is provided. Each product dispenser contained in the washroom facility or in a plurality of facilities can include sensors for determining product levels, power levels, or operating conditions. A server system stores the conditions of each product dispenser. An image recognition application loaded onto a mobile device is configured to recognize a particular product dispenser from the plurality of dispensers and to access and communicate to a user the condition of the product dispenser stored on the server system. The method and system of the present disclosure not only simplifies obtaining information regarding a product dispenser but also does so without draining battery power from any of the product dispensers.

基于图像的分拣物污染动态追踪方法

NºPublicación:  CN121073901A 05/12/2025
Solicitante: 
杭州福柜科技有限公司
CN_121073901_PA

Resumen de: CN121073901A

本发明公开了基于图像的分拣物污染动态追踪方法,属于分拣物污染监测领域,通过在分拣物输送线上设置污染识别区,结合图像采集、边缘检测和3D点云数据投影技术,准确识别分拣物的实际轮廓;通过提取外观图像的色彩、纹理和形状特征参数以及内部的光谱特征参数和密度分布参数,量化评估分拣物的外观和内部污染情况;通过计算污染分拣物污染强度值、自扩评测值和外扩评测值,综合评估污染扩散风险;最后,实时跟踪污染分拣物位置,依据污染评测值对分练工位的任务处理队列进行排序,智能分配最优分练工位,提高分练效率并降低污染扩散风险;有效解决了分拣物轮廓识别精度不足、污染程度判断不够具体以及分练工位分配僵化的问题。

一种基于数字孪生的智能元器件仓储管理系统及方法

NºPublicación:  CN121073352A 05/12/2025
Solicitante: 
厦门唯创盈智能科技有限公司

Resumen de: CN121073352A

本发明涉及仓储管理技术领域,公开了一种基于数字孪生的智能元器件仓储管理系统及方法,系统包括:应力管理单元、传导管理单元、变化管理单元、补偿管理单元和孪生管理单元,应力管理单元生成的应力管理张量,可精准捕捉温湿度数据与振动数据的时域‑频域交叉特征,避免遗漏多物理场的非线性交互作用,传导管理单元生成的晶格畸变管理图,能提前识别量子点有源区畸变风险,变化管理单元生成的每个量子点的声子能量管理谱,可跟踪晶格畸变动态变化,补偿管理单元生成的各量子点反向的谱形补偿信号,能抵消中心波长漂移,孪生管理单元生成的孪生管理指令,可避免管理滞后,降低量子点激光器损坏概率,提升仓储管理可靠性。

一种基于物联网的砂浆罐车智能调度方法及系统

NºPublicación:  CN121073324A 05/12/2025
Solicitante: 
广州市兆辉建筑材料有限公司

Resumen de: CN121073324A

本发明公开了一种基于物联网的砂浆罐车智能调度方法及系统,通过信息采集模块采集砂浆罐车及工地的信息。利用数据中心模块对接收到的信息进行分类、整理和存储。路线更新模块依据砂浆罐车位置确定砂浆罐车当前匹配路段,在电子地图中展示砂浆罐车的实时行驶路线。对象匹配模块按匹配队列顺序及匹配规则完成工地与砂浆罐车之间的对象匹配。路线选择模块获取道路状态,计算砂浆罐车的预计行驶速度,通过计算砂浆罐车在筛选出的不同路线上的预计行驶时间及预计到达时间,选择砂浆罐车到工地的最优路线。执行模块将最优路线选择信息、工地信息同步至值班司机的移动端及砂浆罐车的车载智能终端,以支持值班司机执行运输任务。

一种基于物联网的物流运输数据处理方法及系统

NºPublicación:  CN121073332A 05/12/2025
Solicitante: 
广东弗我智能制造有限公司

Resumen de: CN121073332A

本发明涉及物流运输领域,尤其涉及一种基于物联网的物流运输数据处理方法及系统,所述方法用于SRM系统,该方法先响应于供应商在初始发货点的发货单信息上传,基于实时定位系统,实时获取货物动态定位信息,再将货物动态定位信息和预设的收货地址输入预训练后的混合时空图卷积网络,预测得到货物的到货时间,最后将货物的到货时间和预设的排产计划输入决策端,输出目标产品的生产工单。相较于现有技术,本发明方法解决了现有技术信息滞后性较大的技术问题。

一种跨境海外仓库位存储和摘取路径优化的人工智能算法

NºPublicación:  CN121073343A 05/12/2025
Solicitante: 
浙江多发货物流科技有限公司

Resumen de: CN121073343A

本发明涉及跨境物流技术领域,具体涉及一种跨境海外仓库位存储和摘取路径优化的人工智能算法,包括以下步骤:S1、获取订单详情、商品特性和仓库环境数据,实时监控仓库状态和货物存储情况;S2、进行数据预处理,提取特征并进行聚类分析,挖掘关联规则;S3、进行规则匹配,构建混合整数规划模型和约束处理,输出商品存储策略;S4、将存储策略转换为仓储作业指令,并执行仓储作业指令。本发明的有益效果是:能够提高货物分类存储的准确性和仓库库位空间利用率,降低了库位存储成本。

処理装置、処理プログラム、処理方法及び処理システム

NºPublicación:  JP2025176952A 05/12/2025
Solicitante: 
エステー株式会社
JP_2025176952_PA

Resumen de: JP2025176952A

【課題】 より効率的に物品の管理が可能な処理装置、処理プログラム、処理方法及び処理システムを提供する。【解決手段】 少なくとも一つのプロセッサを具備する処理装置であって、前記少なくとも一つのプロセッサが、使用者が訪問可能な空間内に設置され、一又は複数の物品を収納可能に構成された収納装置において、前記収納装置への施錠により前記使用者による使用が制限された少なくとも一部の物品の中から、前記使用者が使用を所望する少なくとも一つの物品の選択を受け付け、前記収納装置への施錠が解除されたことにより、選択された前記少なくとも一つの物品の収納状況を更新し、更新された前記収納状況に応じて前記一又は複数の物品を管理する管理者に通知される収納状況情報を生成するための処理を実行するように構成された処理装置である。【選択図】 図1A

トレーサビリティ情報作成支援システム及びトレーサビリティ情報作成支援方法

NºPublicación:  JP2025176996A 05/12/2025
Solicitante: 
株式会社日立製作所
JP_2025176996_PA

Resumen de: US2025363449A1

Provided is a traceability information creation support system, comprising a processor and a storage device, wherein the storage device holds an article and a model that has learned a relationship between an article and an article forming the article and a supplier thereof, and wherein the processor is configured to receive an input of traceability information indicating a relationship between an article and at least one article forming the article and a supplier thereof, estimate, by using the model, one or more articles and suppliers thereof that are lacking in the input traceability information, output the estimated one or more articles and suppliers thereof for confirmation by a user, store one or more articles and suppliers thereof confirmed by the user in the storage device as determined traceability information, and update the model by learning the determined traceability information.

拠点候補地探索装置

NºPublicación:  JP2025177389A 05/12/2025
Solicitante: 
トヨタ自動車株式会社
JP_2025177389_PA

Resumen de: JP2025177389A

【課題】地図上の複数の配送先の分布に対して物流拠点の候補地を探索する技術に関し、実際に配送が行われる場合のルートを考慮して物流拠点の最適な候補地を探索することが可能な拠点候補地探索装置を提供する。【解決手段】拠点候補地探索装置は、地図上の道路網を管理する道路網データを格納した記憶装置と処理回路を備える。処理回路は、N個の物流拠点ごとに、第1仮候補地と道路網データとに基づいて第1割り当てにおいて割り当てられている配送先までのルートの平均距離又は加重平均距離を最小化する第2仮候補地を計算する候補地計算処理を実行する。また処理回路は、道路網データに基づいて複数の配送先の第2割り当てを計算する割り当て計算処理を実行する。そして処理回路は、候補地計算処理と割り当て計算処理を繰り返し、所定の終了条件を満たすとき、N個の物流拠点の各々の第2仮候補地を候補地とする。【選択図】図8

スライスマネージャインベントリデータを変換するためのシステムおよび方法

NºPublicación:  JP2025539302A 05/12/2025
Solicitante: 
楽天モバイル株式会社
JP_2025539302_PA

Resumen de: US2025078020A1

A method includes creating, by a processor and based on a network slice design submitted by a user, a network slice; and generating, automatically by the processor, a network slice selection assistance information ID (nSSAI ID) for the network slice.

一种物资远程可视化综合管理系统

NºPublicación:  CN121078197A 05/12/2025
Solicitante: 
中国铁道科学研究院集团有限公司电子计算技术研究所兰新铁路甘青有限公司中国铁路建设管理有限公司中国国家铁路集团有限公司
CN_121078197_PA

Resumen de: CN121078197A

本发明提供一种物资远程可视化综合管理系统,包括以下步骤:扫描器对入库或出库的物资芯片进行扫描,并将扫描到的物资出入库信息,以及监控摄像头定时采集到的仓库内视频信息,以及温湿度传感器监测到的仓库内温湿度信息,通过第二无线通信设备定时发送到远程可视化综合管理平台;远程可视化综合管理平台显示每个物资的位置以及每个仓库的视频,温湿度以及库内物资信息,实现远程可视化管理。本发明提出一种物资远程可视化综合管理系统,对物资流转过程和仓库存储过程进行全程监控,并实现物资信息共享,从而提高物资管理效率。

拣货机器人的调度方法、装置、电子设备、存储介质及程序产品

NºPublicación:  CN121073013A 05/12/2025
Solicitante: 
北京有竹居网络技术有限公司
CN_121073013_PA

Resumen de: CN121073013A

本公开实施例提供了一种拣货机器人的调度方法、装置、电子设备、存储介质及程序产品。该方法包括:在接收到多个拣货任务的情况下,根据拣货任务对应的任务关联信息对多个所述拣货任务进行排序,得到任务排序结果;其中,任务关联信息包括所述拣货任务的待拣物品对应的总件数、打包信息以及类别信息中的至少一项;根据拣货机器人所处的工作阶段和任务排序结果调度拣货机器人执行拣货任务;其中,工作阶段包括拣货阶段、打包阶段、补箱阶段、空闲阶段以及维护阶段中的至少一项。本公开实施例的技术方案,根据拣货机器人所处的工作阶段和任务排序结果对拣货机器人进行调度,以使拣货机器人执行拣货任务,提高了机器人执行拣货任务的效率。

异址机器生产配送协同调度的优化方法、系统及存储介质

NºPublicación:  CN121073153A 05/12/2025
Solicitante: 
北京科技大学
CN_121073153_PA

Resumen de: CN121073153A

本发明实施例提供一种异址机器生产配送协同调度的优化方法、系统及存储介质,属于调度优化技术领域。包括:构建对平行机的服务时间的目标函数及其约束函数,并且通过基于可变机器租赁成本的排序评分函数生成满足约束函数的初始解;基于深度强化学习算法来智能选择扰动算子并且基于扰动算子以变邻域搜索的方式对初始解进行扰动,以生成扰动解;通过局部搜索的方式,基于扰动解进行局部优化,以确定目标函数的当前优化解和当前最优解;通过迭代搜索的方式,对当前最优解进行迭代优化,以确定目标函数的全局最优解。本发明在考虑到实际生产中存在的成本约束的同时,将生产与配送进行协同优化。不仅收敛效率高,还能减少陷入局部最优的概率。

一种基于智能大脑的可视化智能物流管理平台

NºPublicación:  CN121073321A 05/12/2025
Solicitante: 
德州泰鼎新材料科技有限公司
CN_121073321_PA

Resumen de: CN121073321A

本发明属于货物销售与物流管理领域,公开了一种基于智能大脑的可视化智能物流管理平台,包括中央处理模块、登录模块、分流模块、权限确定模块、销售管理模块、业务办理模块、物流运输招投标管理模块、平台设置模块、数据统计分析模块和库存管理模块,本技术方案实现了货物销售与物流信息的一体化登记管理,打破两者之间的信息壁垒,使得不同信息在同一平台进行传递,提高了信息传递的效率和准确度,提高使用效果,设置了分流模块对不同管理人员的权限进行限制,中央处理模块也能将对应的信息及时同步给不同岗位的每一个工作人员,避免信息遗漏和混乱,提高信息处理和传递效率;进而提高整个供应链的效率,降低公司的运行成本。

処理装置、処理プログラム、処理方法及び処理システム

NºPublicación:  JP2025176951A 05/12/2025
Solicitante: 
エステー株式会社
JP_2025176951_PA

Resumen de: JP2025176951A

【課題】 より効率的に使用者に対して物品の提供が可能な処理装置、処理プログラム、処理方法及び処理システムを提供する。【解決手段】 少なくとも一つのプロセッサを具備する処理装置であって、前記少なくとも一つのプロセッサが、使用者が訪問可能な空間内に設置され、一又は複数の物品を収納可能に構成された収納装置において、前記収納装置への施錠により前記使用者による使用が制限された少なくとも一部の物品の中から、前記使用者が使用を所望する少なくとも一つの物品の選択を受け付け、前記使用者に対応付けられた判定情報に基づいて前記少なくとも一つの物品の使用を許可するか否かを判定し、前記判定の結果、前記少なくとも一つの物品の使用を許可する場合には、前記収納装置を解錠し前記使用者による使用の制限を解除可能にするための処理を実行するように構成された、処理装置が提供される。【選択図】 図1A

一种医用高值耗材的智能管理系统、方法及存储介质

NºPublicación:  CN121075585A 05/12/2025
Solicitante: 
浪潮金融信息技术有限公司

Resumen de: CN121075585A

本发明属于医用耗材管理技术领域,具体涉及一种医用高值耗材的智能管理系统、方法及存储介质,包括管理柜本体、权限管理模块、生物电识别模块、近效期预警模块以及低库存预警模块;本发明通过引入权限管理模块、生物电识别模块以及低库存预警模块等,实现了耗材出入库的自动化记录、实时库存量的自动计算以及预警信息的自动发送。例如,低库存预警模块根据耗材的补货和使用情况自动计算当前库存量,当库存量低于设定的最低库存时,自动向库管人员发送低库存预警,这使得库管人员能够及时补充耗材,避免了因库存不足导致的医疗操作延误,大大提高了管理效率。

一种自动生成付款单的系统

NºPublicación:  CN121073682A 05/12/2025
Solicitante: 
上海宝九诚信息科技有限公司

Resumen de: CN121073682A

本发明提供了一种自动生成付款单的系统,包括:收单管理模块,收单管理模块通过定时任务从各业务系统中自动拉取增量的出库单据;计费规则模块,用于根据每个客商的情况,为每个客商配置计费规则;计费明细模块,用于按照定时任务根据每个客商的计费规则自动获取符合条件的出库单据,计算费用项的金额,生成计费明细;账单生成模块,用于根据计费规则中的结算周期,在出账日自动把计费明细汇总成账单;结算单模块,用于在账单审批通过后,创建结算单,创建过程支持账单的增加、删除,以及修改账单明细;付款单模块,用于在结算单审批通过后,根据结算单创建付款单;成功付款后,更新该付款单的付款信息,并自动反馈付款信息至结算单与账单。

基于.Net Core+RabbitMQ生物实验室的订单数据同步方法、系统以及设备

NºPublicación:  CN121078058A 05/12/2025
Solicitante: 
苏州君跻基因科技有限公司

Resumen de: CN121078058A

一种基于.Net Core+RabbitMQ生物实验室的订单数据同步方法包括以下步骤:构建订单数据模型,定义对应的订单数据的模型对象;构建RabbitMQ连接工厂,创建RabbitMQ的连接对象;提供消息生产者服务;以及执行消费者服务,实验室系统各个业务系统执行消费者注册,定义对应的连接对象以及定义各自业务系统对相关信息的处理逻辑,并发送处理结果至对应服务器处理结果,如果报错则重试三次,三次后仍有问题则放入死信队列进行人工干预。

一种基于人工智能的后勤保障物质智能验收方法

NºPublicación:  CN121073386A 05/12/2025
Solicitante: 
杭州国言信息技术有限公司

Resumen de: CN121073386A

本发明公开了一种基于人工智能的后勤保障物质智能验收方法,包括如下步骤:采集后勤保障物质的数据并获取对应订单信息,得到多模态特征数据集;通过规则引擎进行校验,输出规则校验信息;基于规则校验信息和多模态特征数据集,构建改进型梯度提升决策树模型;利用改进型梯度提升决策树模型进行异常判别,输出异常判别结果;进行异常推送流程,将异常判别结果推送至采购端及运维后台;当扫码失败、网络中断时,将多模态特征数据集和异常判别结果进行本地缓存;将多模态特征数据集、规则校验信息、改进型梯度提升决策树模型、异常判别结果、推送过程及复核日志进行电子化归档。本发明采用规则融合与梯度提升模型,实现物质智能验收。

一种工程项目管理系统及方法

NºPublicación:  CN121073045A 05/12/2025
Solicitante: 
淮安市建筑设计研究院有限公司

Resumen de: CN121073045A

本发明属于工程项目管理技术领域,具体涉及一种工程项目管理系统及方法。该方法包括:在工程项目施工前,根据BIM模型获取施工区、施工工序及施工信息;获取施工期间每个施工区的每日现场数据;基于每日现场数据,获得对应施工工序的初始施工进度,并与施工信息的目标施工进度进行比对分析;根据比对分析结果结合环境参数是否超出环境敏感阈值以及缺陷参数执行预警策略。本发明通过每日记录现场材料使用情况可以对当日的项目总进度进行监测,并在进度不足预期或材料超量时发出警报,方便及时进行调整和纠偏,具有统计周期较短、统计工作量较少等优点,通过设置核心施工区和一般施工区,有利于合理分配材料,集中资源确保主要结构施工的进度。

提高自动机器人的执行效率的系统、装置和方法

NºPublicación:  CN121079704A 05/12/2025
Solicitante: 
奥卡多创新有限公司
CN_121079704_PA

Resumen de: AU2024232251A1

Systems, apparatus, and methods to improve performance efficiency of autonomous robots are disclosed. An example apparatus includes processor circuitry to identify a first and a second task; detect a first condition associated with a first location, the first condition to affect a first task performance condition associated with performance of the first task by an autonomous vehicle, the first condition including congestion at the first location; detect a second condition associated with a second location, the second condition to affect a second task performance condition associated with performance of the second task by the autonomous vehicle; select one of the first or the second task to be performed based on the first and the second condition; and cause the autonomous vehicle to travel to the first or the second location to perform the selected one of the first or the second task.

基于时空特征融合的计量设备分仓需求预测及调度方法

NºPublicación:  CN121073017A 05/12/2025
Solicitante: 
国网上海市电力公司

Resumen de: CN121073017A

基于时空特征融合的计量设备分仓需求预测及调度方法,首先对分仓数据进行获取及收集,然后基于该分仓数据建立时空特征融合模型,再建立时空图卷积预测网络,该时空图卷积包括图卷积层和时间卷积层,通过这2个分层特征提取与融合,获得动态权重融合,实现时空动态性的联合建模,最后基于动态权重融合,实施预测与调拨决策。本发明通过构建融合时空关联与更换规则的多模态图结构,设计时空联合建模架构与动态反馈机制,实现高精度需求预测与全局库存优化,本发明系统性地解决了传统方法在空间关联性建模不足、动态事件响应滞后、多源数据利用低效等核心问题,为电力物资管理提供高效的解决方案。

一种物流运输成本数据的处理方法和装置

NºPublicación:  CN121073334A 05/12/2025
Solicitante: 
北京京东远升科技有限公司

Resumen de: CN121073334A

本发明公开了一种物流运输成本数据的处理方法和装置,涉及计算机技术领域。该方法的一具体实施方式包括:响应于接收到成本数据处理指令,基于数据表的元数据信息,对待处理成本数据进行特征识别,得到待处理成本数据对应的分摊特征;通过决策树算法从预设的分摊因子集合中选取目标分摊因子;基于深度学习算法和可用路径筛选规则从预设的分摊路径集合中选取目标分摊路径;根据待处理成本数据对应的分摊特征、目标分摊因子和目标分摊路径进行成本数据处理。该实施方式提升分摊配置的灵活性和合理性、降低人为干预和依赖,减少返工迭代,避免不必要的资源消耗,降低计算代价,提高数据处理效率。

农业供应链数据分析系统及方法

NºPublicación:  CN121071933A 05/12/2025
Solicitante: 
云南云创数据技术有限公司
CN_121071933_PA

Resumen de: CN121071933A

本发明公开了农业供应链数据分析系统及方法,涉及农业数据安全技术领域,各主体先对生产、库存、销量记录进行差分隐私扰动与同态加密并上传,平台据此构建数据面;随后调用知识图谱语义映射器,将加密特征映射至产量‑库存‑销量三元框架并对齐时间索引;在语义对齐数据流上,利用联邦学习训练时序图神经网络,输出带置信区间的全局需求预测;基于该预测,结合库存策略,采用深度强化学习生成补货量计划与优先级列表下发;主体执行后,将实际销售等反馈再次加密上传,平台增量更新知识图谱并用元学习微调模型,同时动态调整隐私预算,提升供应链韧性与精确度值。

智能码垛机器人的智能调度系统及方法

NºPublicación:  CN121073148A 05/12/2025
Solicitante: 
上海交大智邦科技有限公司
CN_121073148_PA

Resumen de: CN121073148A

本发明提供了一种智能码垛机器人的智能调度系统及方法,方法包括步骤S1:通过深度相机采集物料点云数据并识别物料尺寸,获取物料重量;步骤S2:根据物料尺寸计算物料体积,并结合物料重量得到密度值;计算气动夹爪的行程参数,并通过智能规划算法生成码垛方案;步骤S3:基于所述行程参数控制气动夹爪开合以抓取物料,执行所述码垛方案完成物料堆叠;步骤S4:检测堆叠完成的物料的外形,使WMS储位调度模块根据检测结果将物料配送至合适的储位。本发明针对柔性物料的形态特性,采用凸包分析与异常值过滤结合的尺寸识别方法,提高了非规则物体测量精度,解决了茶叶等多规格柔性散装物料在码垛环节中换型慢、破损高、调度低效的问题。

一种面向多场景多目标约束的充电基础设施维修物资协同调度方法

NºPublicación:  CN121073117A 05/12/2025
Solicitante: 
昆明理工大学
CN_121073117_PA

Resumen de: CN121073117A

本发明公开了一种面向多场景多目标约束的充电基础设施维修物资协同调度方法,属于物资协同调度领域。针对充电基础设施维修过程中物资运输、库存管理及设备翻新等环节,充分考虑多场景、多目标与多约束条件。对调度问题进行数学建模,构建涵盖成本最小化、缺货惩罚、翻新与碳排放控制等多目标优化模型,并综合运输、库存和翻新等动态约束。随后,采用基于人工旅鼠算法的智能优化策略对模型求解,获得各场景下的最优物资调度方案。该方法能够灵活应对需求变化与多目标冲突,提升充电基础设施维修物资的调度效率与资源利用率,降低运维总成本,满足绿色低碳及应急保障的行业需求。

一种基于大数据分析的自助图书销售服务系统

NºPublicación:  CN121073348A 05/12/2025
Solicitante: 
北京博文京典文化传播有限公司
CN_121073348_PA

Resumen de: CN121073348A

本发明涉及销售管理技术领域,具体为一种基于大数据分析的自助图书销售服务系统,包括:数据采集单元,用于获取目标销售区域对应的销售关联数据序列和环境关联数据;其中,所述销售关联数据序列包括不同时间点下的终端交互数据和图书库存数据;需求匹配单元,用于根据预先训练的图书需求‑库存匹配模型通过所述销售关联数据序列输出每个所述时间点下的需求‑库存匹配结果。本发明利用改进的Transformer模型和多尺度需求注意力层,对销售数据和库存数据进行深度分析,实现每个时间点的需求‑库存精确匹配,从而可以生成每个品类在不同时间点的需求清单、库存余量清单和品类匹配度信息,大幅度降低缺货或库存积压风险。

基于机器学习的核电采购-建造全流程管理方法及系统

NºPublicación:  CN121073179A 05/12/2025
Solicitante: 
上海核工程研究设计院股份有限公司
CN_121073179_PA

Resumen de: CN121073179A

本发明提出了一种基于机器学习的核电采购‑建造全流程管理方法及系统,方法包括:分别根据厂家区、项目部区、承包商区和施工点数统计区构建分区区块链结构;通过唯一物资标识符驱动跨区区块链自动映射与状态流转,并基于最新验证节点获取全流程数据;将全流程数据和现场需求时间输入机器学习模型,得到预测到货时间和延误分类结果;基于区块链节点状态及预测到货时间,触发漏采购、延期发货及领料超期预警邮件;基于强化学习最小化仓储成本,优化发标与采购时间点,将优化结果、预测到货时间、延误分类结果及预警邮件反馈至区块链结构。通过区块链实现核电采购与建造全流程信息互联,结合机器学习技术优化管理效率。

一种基于SIP标准的全流程质量检验与管理系统

NºPublicación:  CN121073495A 05/12/2025
Solicitante: 
江苏硕航科技发展有限公司
CN_121073495_PA

Resumen de: CN121073495A

本发明公开了一种基于SIP标准的全流程质量检验与管理系统,涉及产品品控管理领域,包括:构建模块,用于依据物料属性、生产工艺要求及质量目标智能生成检验方案,以结构化配置与实时更新检验项目、基准参数、允差范围及抽样逻辑;触发模块,用于基于采购收料通知、生产工序流转节点、成品入库申请及销售出库指令,自动生成对应的来料、过程、成品及出货检验任务;本发明通过物料属性与工艺要求动态生成检验标准,结合历史数据与关键控制点优化检验项,实现标准随参数变更自动适配,实时联动生产、仓储与销售数据,按紧急度、影响范围等维度分级推送任务,智能匹配检验资源,避免任务积压。

一种智慧农场多品种采摘配送集成调度方法及系统

NºPublicación:  CN121073041A 05/12/2025
Solicitante: 
上海大学
CN_121073041_PA

Resumen de: CN121073041A

本发明公开了一种智慧农场多品种采摘配送集成调度方法及系统,所述方法包括:设置多层次可分解的编码方法;基于所述编码结构、采摘目标和配送目标的依赖性和冲突性设计两阶段进化贪心算法;采用基于任务量‑近邻‑最大负载的启发式初始化算法对采摘算法进行初始化处理;将基于关键农场关键路径设计的混合贪心搜索算子应用于采摘算法进化阶段;将基于近邻‑最大负载规则设计的启发式算法应用于配送算法初始化阶段;将设计混合贪心搜索算子应用于配送算法进化阶段;所述系统包括优化求解模块、方案评估模块和可视化输出模块。本发明提供的技术,通过两阶段双目标进化贪心算法,实现多品种农产品采摘与配送的协同优化与过程的高效调度。

基于网络订单的车辆运力调度系统

NºPublicación:  CN121073040A 05/12/2025
Solicitante: 
先锋智道(北京)科技有限公司
CN_121073040_PA

Resumen de: CN121073040A

本发明公开了基于网络订单的车辆运力调度系统,包括数据采集模块、数据处理单元、核心调度单元,数据采集模块,用于采集网络订单数据、车辆实时状态数据、实时交通数据、天气数据及驾驶员生物特征数据,数据处理单元,与所述数据采集模块连接,用于对采集到的数据进行清洗、融合及分析,核心调度单元,与所述数据处理单元连接,所述核心调度单元包括动态自适应调度模块、订单分配模块、路径规划模块、动态调整模块和驾驶员状态适配模块;本发明通过不断接收环境状态,基于奖励机制优化调度策略,使系统能够适应复杂多变的订单、交通情况,实现车辆运力调度的动态优化,提高系统整体性能。

基于大数据的跨境物流信息可视化管理方法及系统

NºPublicación:  CN121073327A 05/12/2025
Solicitante: 
广州纽力物联科技有限公司
CN_121073327_PA

Resumen de: CN121073327A

本发明公开了基于大数据的跨境物流信息可视化管理方法及系统,涉及跨境物流信息管理技术领域。该基于大数据的跨境物流信息可视化管理方法,通过获取若干个跨境物流任务的关务申报信息、转关作业数据;基于预训练的自然语言识别模型,并结合每个跨境物流任务的关务申报信息,分析每个跨境物流任务的任务执行风险特征值;基于每个跨境物流任务的转关作业数据,分析每个跨境物流任务的任务安全完备特征值;并结和每个跨境物流任务的任务执行风险特征值进行可视化映射处理,本发明通过可视化映射处理结果对相应的跨境物流任务进行联合管理,从而实现了任务级别的精细化评估,继而大幅提升了跨境物流任务管控的精细化与智能化水平。

一种基于物联网的冷链设备数字化管理系统

NºPublicación:  CN121073330A 05/12/2025
Solicitante: 
江苏蓝河网络技术有限公司
CN_121073330_PA

Resumen de: CN121073330A

本发明提供一种基于物联网的冷链设备数字化管理系统,涉及冷链数字管理技术领域。该一种基于物联网的冷链设备数字化管理系统,包括物联网感知层,设置于物联网感知层内的数据采集模组和设置于物联网感知层内的双链存证平台,所述物联网感知层内设置有边缘加密网关模组。通过设置了数据采集模组和边缘加密网关模组,进而可以实时对冷链车厢内部温度进行采集,可以避免人工采集进行纸质记录而导致无法及时反应实时温度波动的问题,同时还可以避免人工抄写易出现笔误、遗漏、可随意修改等问题,从而提高了数据采集的及时性和准确性。

信息处理方法、装置、设备、介质和程序产品

NºPublicación:  CN121073355A 05/12/2025
Solicitante: 
北京京东远升科技有限公司
CN_121073355_PA

Resumen de: CN121073355A

本公开提供了一种信息处理方法、装置、设备、介质和程序产品,可以应用于智慧物流领域。该方法包括:响应于接收到的目标订单,根据第t时刻下的目标订单中的订单信息确定对目标订单进行处理的处理时间;在确定第t时刻未达到处理时间的情况下,基于预设定时任务对第t+1时刻下的目标订单进行更新检测,以确定第t+1时刻下的目标订单的订单状态和处理时间;在确定第t+1时刻达到第t+1时刻下的处理时间,且订单状态为未取消状态的情况下,根据目标订单中的配置信息确定目标订单的传仓时间,其中,配置信息包括与物流运输关联的异常信息;在确定第t+n时刻达到传仓时间的情况下,将目标订单传输至仓配系统中进行处理。

基于视觉的挖掘机装载效率分析与卡车满载识别系统

NºPublicación:  CN121074806A 05/12/2025
Solicitante: 
西安优迈智慧矿山科技有限公司
CN_121074806_PA

Resumen de: CN121074806A

本发明提供基于视觉的挖掘机装载效率分析与卡车满载识别系统,涉及工程机械作业智能监测技术领域。该系统包括:摄像头,用于采集挖掘机作业现场的实时视频流;边缘计算设备,用于接收实时视频流;AI分类模块,用于利用训练完成的深度卷积神经网络的图像识别模型,对实时视频流进行四分类识别;状态机逻辑模块,用于根据装载状态分类结果进行状态判别和状态转换,并累计装车次数、识别装车满载事件和记录每辆车装载时长;数据记录与分析模块用于保存装车次数、装车满载事件和每辆车装载时长,以生成装载效率分析数据。这样,降低安装复杂度和成本,提高识别的精度和检测可靠性,可全面自动统计装车效率数据和及时获取数据。

基于物联网技术的冷链仓储物流智能分配管理系统

NºPublicación:  CN121073351A 05/12/2025
Solicitante: 
青岛飞熊领鲜数字科技有限公司中科飞熊数字科技(青岛)有限责任公司青岛飞熊领鲜科技有限公司
CN_121073351_PA

Resumen de: CN121073351A

本发明涉及冷链仓储物流技术领域,公开了基于物联网技术的冷链仓储物流智能分配管理系统。该系统包括多源数据处理模块,通过异构传感器采集仓储环境与设备运行数据,预处理生成含温湿度等参数的归一化矩阵;动态拓扑更新模块构建设备关联拓扑库,依实时数据更新关系并生成动态拓扑图;货品保鲜基准配置模块基于拓扑图建图神经网络模型,输入货品特征与设备运行时长,输出货品变质风险系数;异常预警决策模块据此生成预警规则,结合实时数据触发延迟校验;调度决策优化模块结合预警与资源状态,经决策树生成最优调度方案;三维库区映射模块构建三维网格模型并映射环境参数;路径优化模块用遗传算法优化物流设备最优路径。

面向港口作业协同的潮汐与气象联动调度方法

NºPublicación:  CN121073140A 05/12/2025
Solicitante: 
交通运输部南海航海保障中心广州海事测绘中心
CN_121073140_PA

Resumen de: CN121073140A

本发明涉及协同调度管理技术领域,具体涉及面向港口作业协同的潮汐与气象联动调度方法,包括以下步骤:设定基准,创建虚拟时间轴,该虚拟时间轴的初始状态为标准均匀流逝时间轴;根据预报潮汐数据在所述虚拟时间轴上标记出有效作业时间窗;根据所述预报气象数据进行修正,生成变形时间轴;在变形时间轴上计算各作业环节的起始时间点和持续时间,并逆向推导协同作业指令序列,形成最终调度方案;动态调整所述变形时间轴,并触发所述最终调度方案的滚动优化。本发明,保证调度方案始终围绕安全离港的核心目标展开,最大限度地压缩非关键路径时间消耗,避免传统方法中出现排完计划但离港失败的调度失效问题。

基于物联网的仓库物料监控方法、系统及存储介质

NºPublicación:  CN121073349A 05/12/2025
Solicitante: 
上海聚均科技有限公司
CN_121073349_PA

Resumen de: CN121073349A

本发明涉及仓库监控方法技术领域,特别涉及基于物联网的仓库物料监控方法、系统及存储介质,包括:获取仓库内多个物料对应的传感器数据,并构建初始数据矩阵,其中,所述传感器数据包括温度、湿度、位置信息和重量信息;处理所述传感器数据,生成物料的综合状态矩阵;基于所述综合状态矩阵,识别物料的异常状态;根据所述异常状态预测物料的未来风险需求,并基于所述未来风险需求生成响应,本发明通过部署多源传感器实时采集温湿度、位置、重量等数据,实现数据即时准确的更新,有效避免了因人工巡检不及时或出错导致的货物变质等问题,对于异常响应滞后的痛点,借助物联网技术和异常检测模型,能实时感知物料移位、库存短缺等异常。

基于大数据的油气库存动态优化方法

NºPublicación:  CN121073353A 05/12/2025
Solicitante: 
贵州中扬醇动力科技有限公司
CN_121073353_PA

Resumen de: CN121073353A

本发明涉及库存管理技术领域,具体为基于大数据的油气库存动态优化方法,采集油气库存序列并划分频段识别异常,提取互信息筛选关联品类组合,计算库存占比变化获取差异数据,分析波动特征形成特征数据,生成优化建议。本发明,通过在连续时间序列中提取库存数据并划分频段,识别库存异常变动区间,并依据品类间的库存序列互信息强度识别关联组合,进而结合库存占比变化幅度与波动频率特征,构建油气品类的库存变化趋势与波动行为之间的耦合分析,实现对库存变化方向连续性和波动持续时间的量化衡量,形成面向库存比例变动与库存波动显著性的多因排序依据,能够有效提升库存调整建议的针对性和优先级排序合理性。

一种基于履约能力评分的供应商优先排序方法

NºPublicación:  CN121073124A 05/12/2025
Solicitante: 
广州伊的家网络科技有限公司
CN_121073124_PA

Resumen de: CN121073124A

本发明属于供应商排序技术领域,具体的说是一种基于履约能力评分的供应商优先排序方法,包括以下步骤:实时采集供应商的履约数据流,构建供应链关联图谱,并通过时序风险预测模型,输出供应商实时风险概率值及全链断供风险系数;调用风险系数,动态计算履约能力评分,及生成带风险容错区间的供应商优先级序列;通过计算得到的履约能力评分,及各供应商的风险系数,可以生成对应于供应商的优先级序列,有利于订单的分配,及规避分配导致的停工和交付不及时情况,当发现供应商的实际履约偏差率大于阈值,则自动触发动态调整评分权重,以及更新关联图谱等动作,重新进行供应商优先级序列的生成。

出/入库信息处理方法、装置、计算机设备和存储介质

NºPublicación:  CN121073344A 05/12/2025
Solicitante: 
深圳市新产业生物医学工程股份有限公司深圳市坪山区人民医院
CN_121073344_PA

Resumen de: CN121073344A

本申请涉及出/入库管理技术领域,尤其涉及一种出/入库信息处理方法、装置、计算机设备和存储介质。所述方法包括:响应于出/入库操作指令,显示出/入库信息处理界面;出/入库信息处理界面包括操作区域、第一单号显示区域以及第一物资显示区域;操作区域用于响应出/入库操作,获得出/入库单号和/或物资信息;第一单号显示区域用于显示出/入库单号列表;获取从出/入库单号列表选择的目标出/入库单号;在第一物资显示区域,显示目标出/入库单号所关联的物资信息列表。采用本方法能够提升核对效率并降低错误率。

基于多源数据耦合的商品库存预测方法及系统

NºPublicación:  CN121073339A 05/12/2025
Solicitante: 
北京嘉华铭品牌策划有限公司
CN_121073339_PA

Resumen de: CN121073339A

本发明涉及数据分析技术领域,公开了基于多源数据耦合的商品库存预测方法及系统,方法包括:获取目标商品的历史库存量、历史在途库存量、历史销售数据、历史市场行为数据以及历史供应链数据;根据历史销售数据、历史市场行为数据以及历史供应链数据得到需求影响系数和供给影响系数;构建商品库存预测模型,根据上述数据构建训练数据集,对商品库存预测模型进行训练,得到训练好的商品库存预测模型;获取目标商品的当前输入数据,计算需求影响系数和供给影响系数,输入训练好的商品库存预测模型,得到未来库存预测量。本方案能够实现快速响应市场波动,提高库存预测准确性,降低缺货与积压风险。

无人车调度方法、装置及设备

NºPublicación:  CN121073029A 05/12/2025
Solicitante: 
上海东普信息科技有限公司
CN_121073029_PA

Resumen de: CN121073029A

本发明公开了一种无人车调度方法、装置及设备,所述方法应用于物流技术领域,所述方法包括:在物流配送场景中,根据预设区域内的无人车运力、快递订单属性以及网点配送需求,智能分配无人车的装车任务;根据实时交通路况以及配送网点分布情况,确定无人车的目标行驶路径;控制无人车按照目标行驶路径行驶至配送网点对应的目的地;在无人车达到目的地的情况下,根据无人车对应的订单信息以及车辆状态,智能调度无人车卸车以及车辆归位;在无人车的运行过程中,根据无人车的运行状态数据、装卸车作业数据,检测无人车是否发生运行异常情况,并在确定无人车发生运行异常情况时发出预警信息。本发明提高了无人车发卸及配送效率。

用于优化维护技术系统或技术系统的至少一个技术组件的维护调度的计算机实现方法

NºPublicación:  CN121079706A 05/12/2025
Solicitante: 
西门子股份公司
CN_121079706_PA

Resumen de: WO2024223220A1

The invention relates to Computer-implemented method for optimizing a maintenance schedule for maintaining a technical system or at least one technical component of the technical system, comprising the steps: a. Providing a plurality of sustainability data items; b. Providing at least one remaining lifetime for at least one sustainability data item of the plurality of sustainability data items; wherein the at least one remaining lifetime is determined using physics-based modeling or at least one pre-specified maintenance plan; c. Optimizing the maintenance schedule with regard to a minimal ecological footprint based on the plurality of sustainability data items and the at least one remaining lifetime; and d. Providing the optimized maintenance schedule as output. Further, the invention relates to a corresponding computer program product and technical system.

具备实时决策能力的物流智能配车方法

NºPublicación:  CN121073152A 05/12/2025
Solicitante: 
合肥维天运通信息科技股份有限公司
CN_121073152_PA

Resumen de: CN121073152A

本发明公开了一种具备实时决策能力的物流智能配车方法,涉及物流运输技术领域,该方法包括接收并解析运输计划数据,自动合并符合合并条件的运输计划,并提取合并后的所述运输计划的关键信息;采集司机数据;基于动态匹配规则R1、静态匹配规则R2及企业定制化规则R3来共同构成项目级实时匹配规则R4;将所述运输计划数据与所述司机数据输入至匹配模型,依据所述项目级实时匹配规则R4进行多轮筛选与优先级排序,输出最优的车货匹配结果;根据所述车货匹配结果自动生成运输任务,并在运输过程中基于实时数据对异常情况进行监控与预警。实现货、车精准匹配,提升了物流运输调度的自动化水平、匹配准确率和异常处理及时性。

一种用于货源信息的智能诊断方法及系统

NºPublicación:  CN121073305A 05/12/2025
Solicitante: 
南京满运冷链科技有限公司
CN_121073305_A

Resumen de: CN121073305A

本发明公开了一种用于货源信息的智能诊断方法及系统,包括:基于货主发布的货源信息,定义货源诊断项,包括:装货时间诊断项、报价/加价诊断项、咨询诊断项、用车备注诊断项和可整可拼诊断项;根据被定义的货源诊断项,设置诊断条件,以判断被选择的诊断项是否需要修改,如果需要修改,则将被选择的诊断项,根据其对应的诊断条件进行修改。本发明降低了低质量货源数目,提高了司机接单意愿度,提高了司机接单意向度。

基于司机找货意图上报的智能诊断与主动触达干预系统

NºPublicación:  CN121073337A 05/12/2025
Solicitante: 
南京满运冷链科技有限公司
CN_121073337_PA

Resumen de: CN121073337A

本发明公开了基于司机找货意图上报的智能诊断与主动触达干预系统,包括:时序化诊断触模块、多维度意图失效判断模块和场景化智能触达与闭环模块;时序化诊断触模块用于构建基于时间序列的事件触发机制,在司机上报找货意图后的不同时间节点,自动触发不同类型的诊断任务;多维度意图失效判断模块用于在触发诊断任务的过程中,判断司机原始意图是否已失效;场景化智能触达与闭环模块用于根据所述时序化诊断触模块生成的诊断结果,选择触达策略并引导用户完成意图更新,形成操作闭环。本发明通过对司机实时位置的持续诊断,动态优化推荐策略,确保推送的货源信息与司机意图高度契合,从而显著提升推送的准确性与有效性。

基于地码信号转译的AGV机器人统一调度方法和系统

NºPublicación:  CN121073110A 05/12/2025
Solicitante: 
波司登羽绒服装有限公司
CN_121073110_PA

Resumen de: CN121073110A

本发明公开了一种基于地码信号转译的AGV机器人统一调度方法,包括AGV机器人获取地码信号;提取地码信号的信号特征,所述信号特征包括信号长度、特定字符组合和数据位分布;基于所述信号特征,在协议库中匹配与获取的地码信号具有相同信号特征的协议规则;基于所述协议规则将所述地码信号转换为符合调度系统规则的规范地码信息;基于所述规范地码信息对AGV机器人进行调度。本发明还公开了基于地码信号转译的AGV机器人统一调度系统,本发明转译不同品牌 AGV 机器人的地码信号,实现了对所有 AGV 机器人的集中统一调度。

基于大数据的客滚运输需求预测与船舶智能调度方法及系统

NºPublicación:  CN121072879A 05/12/2025
Solicitante: 
广东海洋大学
CN_121072879_PA

Resumen de: CN121072879A

本申请涉及一种基于大数据的客滚运输需求预测与船舶智能调度方法及系统,该方法包括:获取针对目标区域的多源航运数据;将多源航运数据输入到时空特征挖掘模型中,预测目标区域的客滚运输需求信息;获取在目标区域内的船舶实时位置、载客能力、能耗数据、港口实时运行状态,结合预测得到的客滚运输需求信息,采用航运调度模型动态生成最优调度方案;航运调度模型是由决策调度模型与客滚运输系统对应的智能体进行交互,采用强化学习算法迭代训练得到的;将最优调度方案转换为可视化信息,推送至船舶及港口工作人员的操作终端以启动对应的航运调度操作,并实时监测航运调度操作的执行效果。

指定区域的路径规划方法、装置、电子设备及存储介质

NºPublicación:  CN121072910A 05/12/2025
Solicitante: 
深圳市明心数智科技有限公司
CN_121072910_PA

Resumen de: CN121072910A

本申请涉及指定区域的路径规划技术领域,揭示了一种指定区域的路径规划方法、装置、电子设备及存储介质,其中,方法包括:获取指定区域的地图信息,以及待配送订单的出发地和目的地,在所述地图信息中获取多个子路段,生成多个规划路径,并对每个规划路径进行编码以形成对应的多条第一染色体,执行变异操作,以得到第二染色体并形成染色体组,计算各个染色体适应度得分,并选取配送路径。本发明的有益技术效果:使得规划路径不仅能够涵盖多个子路段,还能灵活适应不同的配送需求和实时变化的道路状况,增强了规划的灵活性,从而提高了路径规划的灵活性,降低了因路径选择不当而导致的配送成本和时间。

一种立体库STK的动态优先级调度方法

NºPublicación:  CN121073018A 05/12/2025
Solicitante: 
江苏道达智能科技有限公司
CN_121073018_PA

Resumen de: CN121073018A

本发明涉及半导体制造技术领域,公开了一种立体库STK的动态优先级调度方法,包括以下步骤:S1、获取立体库STK的当前位置、各任务的起点位置、终点位置、任务优先级、等待时长及起终点优先级;S2、基于所述当前位置、起点位置、终点位置计算各任务的行走距离;S3、为任务优先级、行走距离、起终点优先级、等待时长设置对应的权重系数,计算各任务的综合优先级;S4、引入动态路径优化因子,通过所述综合优先级及行走距离,确定任务执行顺序。本发明中,通过获取立体库STK的当前位置、各任务的起点位置、终点位置,从而改善了传统的立体库调度方法大都采用固定优先级和静态路径规划,从而造成调度灵活性不足、效率较低的问题。

智能仓储方法、电子设备、存储介质及程序产品

NºPublicación:  CN121073318A 05/12/2025
Solicitante: 
杭州老板电器股份有限公司
CN_121073318_A

Resumen de: CN121073318A

本申请实施例提供一种智能仓储方法、电子设备、存储介质及程序产品。该方法包括:电子设备获取仓储区域湿度及货物包装承受的货物载荷。电子设备依据仓储区域湿度及货物包装承受的货物载荷,结合货物包装参数确定疲劳系数。电子设备根据该疲劳系数确定其中可能出现异常的货物包装,并发送异常提醒,提醒工作人员查看。该方法用以达到提高仓储运输效率的效果。

基于订单状态触发的供应链自动化履约方法及系统

NºPublicación:  CN121073317A 05/12/2025
Solicitante: 
成都硕弘建筑科技有限公司
CN_121073317_PA

Resumen de: CN121073317A

本发明公开基于订单状态触发的供应链自动化履约方法及系统,涉及供应链管理技术领域,采购方终端与订单管理服务器通信创建订单,录入订单明细数据和关联合同数据,订单管理服务器对订单的有效性进行检测;若关联供应商终端确认接受订单,则将订单状态修改为待发货,并向订单管理服务器交互待发货订单状态信息,订单管理服务器向订单关联方终端推送待发货订单状态。本发明以订单状态变更为核心触发点,实现从订单创建、供应商确认、发货、运输到签收的全流程自动化流转。各环节通过系统自动校验数据、推送信息,替代传统人工传递单据、电话沟通等模式,显著缩短履约周期,降低人工操作成本,尤其适用于信息化基础薄弱的企业快速提升管理效率。

货物分拣车辆的停靠处理方法及相关设备

NºPublicación:  CN121073313A 05/12/2025
Solicitante: 
北京京东远升科技有限公司
CN_121073313_PA

Resumen de: CN121073313A

本公开提供了一种货物分拣车辆的停靠处理方法及相关设备,涉及仓储物流领域,该方法包括:获取分拣设备的多个车辆停靠卡位集合,每个车辆停靠卡位集合均包含一组全部车辆分别停靠在分拣设备的卡位上的停靠位置,不同的车辆停靠卡位集合对应全部车辆分别在卡位上的不同停靠位置,将多个车辆停靠卡位集合输入至预设约束条件下的分拣模型,得到分拣模型至少输出的分拣设备分别在多个车辆停靠卡位集合下的线间比中的线间比最大值,基于线间比最大值,确定目标车辆停靠卡位集合。构建分拣模型,以线间比为限定条件,筛选目标车辆停靠卡位集合,高效制定分拣方案,避免基于经验进行决策的片面性和短视性。

基于用水行为的饮用水逆向补货方法、系统、设备及介质

NºPublicación:  CN121073350A 05/12/2025
Solicitante: 
佛山市预和科技有限公司
CN_121073350_PA

Resumen de: CN121073350A

本申请涉及基于用水行为的饮用水逆向补货方法、系统、设备及介质,涉及饮水服务供应链管理技术领域,其方法包括:通过实时采集包装饮用水余水量与历史数据,计算基础日均需求,并结合多维特征构建需求修正模型,生成下游节点最终预测需求,并沿供应网络向上游进行多级仓库递归计算,汇总下游补货量并结合自身库存与动态安全库存,得出各节点补货计划;动态调整安全库存,并依据补货量执行生产;通过比对实际数据与预测值,持续优化需求模型与库存参数,实现精准供应。本申请能够基于用户实时用水数据及多维度特征,动态协同供应链各环节需求与库存以提升响应精度。

一种多模态数据融合的智慧供应链优化系统及方法

NºPublicación:  CN121073323A 05/12/2025
Solicitante: 
青岛大数据科技发展有限公司
CN_121073323_PA

Resumen de: CN121073323A

本发明公开了一种多模态数据融合的智慧供应链优化系统及方法,涉及供应链优化技术领域,用于解决调度响应滞后、资源配置失衡的问题,通过获取并融合供应链各节点的物流轨迹与库存数据,生成物品需求趋势信息,根据趋势信息选择供应调控模式,采集物品供应数据并计算调货量,实现精准补货与分货,对调控节点标记并设定分化时间,检测库存消减量,结合全节点库存总量,依据阈值筛选出库存少、消减快的优质物品,采集其历史数据,识别并提取活跃时间段作为活跃季,存储于数据库中,为周期补货与智能预测提供依据,提升响应效率与资源利用率,降低库存风险。

一种基于船公司约束的集装箱运力智能匹配系统及方法

NºPublicación:  CN121073087A 05/12/2025
Solicitante: 
上海集行物流科技有限公司
CN_121073087_PA

Resumen de: CN121073087A

本发明涉及物流运输技术的技术领域,具体公开了一种基于船公司约束的集装箱运力智能匹配系统,包括:集装箱绑定模块,用于识别船公司,并根据识别的船公司获取集装箱专属规则;联网平台,联网平台与集装箱绑定模块连接,联网平台用于接收并处理来自车队模块、订单模块以及集装箱绑定模块的信息;引擎模块,引擎模块用于接受、反馈并处理来自联网平台的数据,其用于对车队模块中定位的车队位置以及服务进行智能匹配优化调度;引擎模块中设置有拼单机制;引擎模块与预警模块连接,预警模块用于对用户发出预警。本发明克服现有技术中的船公司的智能匹配系统缺少智能化手段、运输资源利用率较低以及运输成本较高的缺陷。

一种基于实时异常检测驱动的自适应库存管理方法及系统

NºPublicación:  CN121073346A 05/12/2025
Solicitante: 
深圳市美源企悦科技有限公司
CN_121073346_PA

Resumen de: CN121073346A

本发明提供了互联网产品库存管理与人工智能交叉技术领域的一种基于实时异常检测驱动的自适应库存管理方法及系统,方法包括:步骤S1、获取大量的历史多维异构数据构建供应链数据集,对创建的多维度异常检测模型、自适应库存决策优化模型进行训练和部署;步骤S2、服务器获取供应链各供应节点的实时多维异构数据输入多维度异常检测模型,得到实时异常检测报告;步骤S3、将实时异常检测报告、实时多维异构数据以及历史策略执行记录输入自适应库存决策优化模型得到实时库存优化策略,基于实时库存优化策略执行自适应库存管理操作。本发明的优点在于:极大的提升了库存管理的时效性、准确性、可靠性与鲁棒性。

集装箱智能装载系统及优化方法

NºPublicación:  CN121063277A 05/12/2025
Solicitante: 
扬州日新通运物流装备有限公司
CN_121063277_PA

Resumen de: CN121063277A

本发明属于物流运输与集装箱装载优化技术领域,具体是涉及集装箱智能装载系统及优化方法,数据采集模块、数据处理模块、优先级分配模块、运输调度模块以及可视化操作界面,所述数据采集模块采集集装箱尺寸、货物信息、运输船舶参数、客户需求四元数据,数据传输至所述数据处理模块,所述数据处理模块采用分层‑回填协同双层染色体自适应算法来实现空间利用率最大化,所述优先级分配模块对集装箱进行优先级排序,指导装卸顺序,所述运输调度模块动态规划港口泊位资源,基于船舶尺寸、集装箱优先级平均值进行泊位分配,所述可视化操作界面提供3D装载模拟和实时动画指导,支持多角度查看货物摆放情况,并进行交互式调整,通过“先分层、后回填、再合并”的三段式流程,将复杂三维问题转化为多层二维问题,同时利用分层‑回填协同双层染色体自适应算法,显著提高空间利用率。

一种非全时网络条件下库房手持设备配货方法及系统

NºPublicación:  CN121073342A 05/12/2025
Solicitante: 
北京畅想之星信息技术有限公司
CN_121073342_PA

Resumen de: CN121073342A

一种非全时网络条件下库房手持设备配货方法及系统,涉及库房配货领域,该方法包括:在网络连接状态下接收配货订单和与配货订单相关的图书基础信息并存储至本地数据库,手持设备根据配货订单和图书库位信息生成初始配货任务表,手持设备根据图书库位信息对配货任务进行路径规划,生成配货路线,该配货路线按区、排和列进行排序;在离线状态下,该手持设备通过扫描获取图书条码并解析得到图书ISBN,并在匹配成功时更新已配数量,得到更新配货任务表;配货任务完成后手持设备在网络链接状态下,将更新配货任务表上传至服务器,该更新配货任务表包含配货完成记录和异常记录。实施该方法,可以解决库房内金属书架环境下网络不稳定影响配货的问题。

一种基于钢结构全生命周期智能化管控方法

NºPublicación:  CN121073051A 05/12/2025
Solicitante: 
中铁四局集团钢结构建筑有限公司中铁四局集团有限公司中铁四局集团第九工程有限公司
CN_121073051_PA

Resumen de: CN121073051A

本发明公开了一种基于钢结构全生命周期智能化管控方法,涉及钢结构智能化管理技术领域。本发明通过构建桥梁钢结构数智制造云平台,并基于该云平台设计出钢结构全生命周期智能化管控方法,该方法通过图形化流程设计器,云平台任意设置构件生产工艺流程,构件制造过程中信息自动流转,使项目构件数据清晰可见,提高了生产管理的水平和生产效益,通过云平台优化工艺流程,分配生产任务,各班组及生产相关人员通过手机APP接收任务,并在生产过程中填报生产进去信息、质量信息等,通过BIM技术在生产过程中可视化浏览生产构件模型、零件模型,在项目现场借助BIM技术可视化浏览项目状况,掌握项目的安装进度。

一种基于多模态数据融合的跨境商品智能归类方法及系统

NºPublicación:  CN121071687A 05/12/2025
Solicitante: 
柳州工学院
CN_121071687_PA

Resumen de: CN121071687A

本发明公开了一种基于多模态数据融合的跨境商品智能归类方法及系统,系统性采集跨境商品数据,其中该商品数据包括文本数据、图像数据和音频数据;对数据进行预处理,其中包括对文本数据依次进行分词、去停用词和词向量转换;对图像数据实施裁剪、缩放和归一化;对音频数据开展降噪、特征提取和标准化处理;对预处理后的数据进行特征提取,构建改进注意力机制模型;将融合特征向量输入分类模型训练,用训练好的模型对跨境商品归类预测。本发明具有减少人工操作的时间和精力成本、减少税收争议和通关延误、增强了模型的扩展性、提升了特征的语义可解释性,有助于理解和信任模型的归类结果。

生产管理装置

NºPublicación:  CN121069912A 05/12/2025
Solicitante: 
株式会社石田
CN_121069912_PA

Resumen de: US2025370436A1

A production management apparatus manages a production line. The production management apparatus includes a communication unit configured to communicate with an information providing unit configured to provide identification information to a packaging material; and a control unit configured to generate the identification information to be transmitted to the information providing unit, and configured to transmit the generated identification information via the communication unit. While the production line produces a product, when the control unit executes intermediate inspection control to inspect whether inspection functions of inspection apparatuses and operate normally, the control unit transmits specific identification information, which is the identification information specifying that the product is a product for inspection, to the information providing unit.

库存量计算系统

NºPublicación:  CN121073354A 05/12/2025
Solicitante: 
群创光电股份有限公司
CN_121073354_PA

Resumen de: CN121073354A

本发明公开了一种库存量计算系统,其包括接收单元、计算单元及输出单元。接收单元用以接收复数个历史期初库存量预估值、复数个历史期末库存量预估值、复数个历史期末库存量实际值以及复数个历史预估出货值。计算单元用以依据复数个历史期初库存量预估值、复数个历史期末库存量预估值、复数个历史期末库存量实际值以及复数个历史预估出货值,计算决策值及下一时间周期结束时的第一库存量预估值与第二库存量预估值。输出单元用以依据决策值,输出第一库存量预估值、第二库存量预估值或第三库存量预估值。第三库存量预估值是根据第一库存量预估值及第二库存量预估值计算得出的。

一种电商订单进度全生命周期智能推送管理系统

NºPublicación:  CN121073315A 05/12/2025
Solicitante: 
山东劳动职业技术学院(山东劳动技师学院)
CN_121073315_PA

Resumen de: CN121073315A

本发明公开了一种电商订单进度全生命周期智能推送管理系统,涉及电商订单推送管理技术领域,包括数据聚类模块,用于基于配送点与轨迹数据进行空间聚类与特征提取,生成空间特征表达;网格划分模块,用于根据所述空间特征表达进行粒度判断,并基于所述判断结果执行变分网格划分,得到第一热力图;订单推送模块,用于基于所述第一热力图对电商订单进行推送管理;偏远区域表达模块,用于基于跨节点迁移学习,对数据稀疏区域的节点状态进行预估,补充所述空间特征表达,解决了现有的电商订单进度全生命周期智能推送管理中区域拥堵热力图建模,数据更新不够实时、地理边界处推断误差高以及适应空间粒度建模中偏远的数据稀疏区不可解的问题。

陳列システム、及び陳列方法

NºPublicación:  JP2025176355A 04/12/2025
Solicitante: 
富士通フロンテック株式会社
JP_2025176355_PA

Resumen de: JP2025176355A

【課題】商品の陳列を効率的に行うことができる陳列システムを提供すること。【解決手段】店舗サーバ30と、スマートグラス50と、を備える陳列システム100において、店舗サーバ30は、店舗200内を撮像する撮像装置60から取得された撮像画像に基づいて、棚80に陳列された商品70の陳列位置と、商品70のステータスと、を関連付けて記憶し、スマートグラス50は、店舗サーバ30から送信された商品70の陳列位置に合わせて、商品70の陳列位置に関連付けられた商品70のステータスの虚像を商品70の実像と重ね合わせて表示する。【選択図】図13

INDIVIDUALIZED INFORMATION AND RECOMMENDATION SYSTEM FOR VEHICLES

NºPublicación:  WO2025250282A1 04/12/2025
Solicitante: 
FCA US LLC [US]
FCA US LLC
WO_2025250282_PA

Resumen de: WO2025250282A1

A method for providing customized information to a user, that includes receiving at a backend portion historical information, regarding multiple features, from a first user and one or more other users, categorizing the information and users as a function of a similarity of certain features of the historical information, receiving at the backend portion current information from the first user, determining a predicted future use as a function of at least some of the historical information and at least some of the current information, and providing a customized recommendation from the backend portion to the first user.

搬送計画作成装置、搬送計画作成方法、及び搬送計画作成プログラム

NºPublicación:  JP2025176680A 04/12/2025
Solicitante: 
JFEスチール株式会社
JP_2025176680_PA

Resumen de: JP2025176680A

【課題】運搬車両間の作業干渉を抑制しつつ運搬車両の作業負荷を平準化し、運搬車両全体の作業効率を向上させる。【解決手段】搬送計画作成装置10は、運搬車両が前記運搬作業を実行する際に要する時間である運搬作業時間を運搬作業毎に算出し、複数の運搬作業から複数の運搬作業群を生成し、運搬作業群に含まれる一の運搬作業の終了後の搬送先から運搬作業群に含まれる他の運搬作業の搬送先までの、運搬対象の積載されていない状態の台車を載せた運搬車両の移動時間を示す空搬送時間の指標である運搬作業組合せ負荷を運搬作業群毎に算出し、運搬作業組合せ負荷と運搬作業時間から算出される作業負荷評価値を運搬作業群毎に算出し、各運搬作業群の作業負荷評価値が平準化するように複数の運搬作業群を再編成し、運搬作業群の単位で運搬車両に運搬作業を割り当て、運搬車両に割り当てられた運搬作業群に含まれる運搬作業の搬送順番を決定する。【選択図】図4

Inventory quantity calculation system for estimating inventory quantities

NºPublicación:  US2025371493A1 04/12/2025
Solicitante: 
INNOLUX CORP [TW]
InnoLux Corporation
CN_121073354_PA

Resumen de: US2025371493A1

An inventory quantity calculation system includes a receiving unit, a calculation unit, and an output unit. The receiving unit receives historical beginning-of-period stock quantity estimates, historical end-of-period stock quantity estimates, historical end-of-period actual stock quantities, and historical estimated shipment quantities. Based on the received historical beginning-of-period stock quantity estimates, historical end-of-period stock quantity estimates, historical end-of-period actual stock quantities, and historical estimated shipment quantities, the calculation unit determines a decision value and calculates a first stock quantity estimate and a second stock quantity estimate for the end of the next time period. The output unit outputs the first stock quantity estimate, the second stock quantity estimate, or a third stock quantity estimate based on the decision value. The third stock quantity estimate is calculated based on the first stock quantity estimate and the second stock quantity estimate.

METHOD AND SYSTEM FOR CONTROLLING A VEHICLE BASED ON VEHICLE STATE INFORMATION AND PARCEL INFORMATION OF AN ECO-FRIENDLY VEHICLE

NºPublicación:  US2025368091A1 04/12/2025
Solicitante: 
HYUNDAI MOTOR COMPANY [KR]
KIA CORP [KR]
HYUNDAI MOTOR COMPANY,
KIA CORPORATION
CN_121062540_PA

Resumen de: US2025368091A1

A method for controlling a vehicle based on vehicle state information and parcel information of an eco-friendly vehicle includes obtaining information about the vehicle or parcels from an external device or at least one sensor. The method further includes determining loading or unloading of the parcels based on the information about the vehicle or the parcels. The method further includes determining a required State Of Charge (SOC) of a battery of the vehicle based on the loading or the unloading of the parcels and the information about the vehicle or the parcels. The method further includes controlling the battery of the vehicle based on the required SOC of the battery of the vehicle or providing a driver with information about the required SOC of the battery of the vehicle.

FIXING DEVICE

NºPublicación:  US2025370666A1 04/12/2025
Solicitante: 
BROTHER KOGYO KK [JP]
BROTHER KOGYO KABUSHIKI KAISHA

Resumen de: US2025370666A1

A fixing device includes a heating roller rotatable about a first axis extending in a rotation axis direction, a first side frame, a second side frame, a first connecting frame connecting the first side frame and the second side frame, and a first temperature sensor. The first temperature sensor detects a temperature of the heating roller and includes a fixed portion that is fixed to the first connecting frame and a detecting portion. The first connecting frame includes a first wall portion extending in the rotation axis direction, a second wall portion extending from a side of the first wall portion at an angle with respect to the first wall portion, and a third wall portion extending from a side of the second wall portion opposite to the first wall portion at an angle with respect to the second wall portion.

PRODUCTION MANAGEMENT APPARATUS

NºPublicación:  US2025370436A1 04/12/2025
Solicitante: 
ISHIDA CO LTD [JP]
ISHIDA CO., LTD
CN_121069912_PA

Resumen de: US2025370436A1

A production management apparatus manages a production line. The production management apparatus includes a communication unit configured to communicate with an information providing unit configured to provide identification information to a packaging material; and a control unit configured to generate the identification information to be transmitted to the information providing unit, and configured to transmit the generated identification information via the communication unit. While the production line produces a product, when the control unit executes intermediate inspection control to inspect whether inspection functions of inspection apparatuses and operate normally, the control unit transmits specific identification information, which is the identification information specifying that the product is a product for inspection, to the information providing unit.

SHELVING DISPLAY SENSOR SYSTEM

NºPublicación:  US2025370693A1 04/12/2025
Solicitante: 
ANTHONY INC [US]
Anthony, Inc
US_2023251810_PA

Resumen de: US2025370693A1

One broad aspect of the invention features a shelving facing display. The shelving facing display includes a housing, an electronic display, and multiple product sensors. The housing is mountable to a forward edge of a product shelf. The electronic display is mounted to the housing and arranged to be viewed from in front of the shelf. The electronic display is controllable to present desired images across at least a majority of a width of the shelf. The multiple product sensors are mounted to the housing. Each sensor is arranged to detect product on a respective width of the shelf. The display is configured to alter a displayed image in response to input from the product sensors.

AUTOMATED GIFTING USING MACHINE LEARNING

NºPublicación:  US2025371606A1 04/12/2025
Solicitante: 
AMERICAN EXPRESS TRAVEL RELATED SERVICES COMPANY INC [US]
American Express Travel Related Services Company, Inc

Resumen de: US2025371606A1

Disclosed are various embodiments for automating the gift-giving process using machine learning. To begin, a computing device can identify a date and a recipient associated with the date. The computing device can obtain recipient data associated with the recipient, and using the recipient data as a key, query a graph database for a gift recommendation corresponding to the recipient. Additionally, using a generative machine learning model, the computing device can generate a gift message corresponding to the gift recommendation. Finally, the computing device can send the gift message to the recipient.

IDENTIFYING CANDIDATE REPLACEMENT ITEMS FROM A GRAPH IDENTIFYING RELATIONSHIPS BETWEEN ITEMS MAINTAINED BY AN ONLINE CONCIERGE SYSTEM

NºPublicación:  US2025371604A1 04/12/2025
Solicitante: 
MAPLEBEAR INC [US]
Maplebear Inc
US_2024020748_PA

Resumen de: US2025371604A1

An online concierge system maintains a graph of items available for purchase. The graph maintains edges between items, where an edge between an item and an additional item indicates that one or more customers have previously replaced the item with the additional item. The edge between the item and the additional item also identifies a number of times customers have replaced the item with the additional item. When a customer orders an item, the online concierge system traverses the graph of items to identify candidate replacement items for the ordered item and identifies one or more of the candidate replacement items to the customer. When identifying the candidate replacement items, the online concierge system accounts for distance between the ordered item and different candidate replacement items in the item graph.

MACHINE LEARNED MODEL FOR ITEM RECOMMENDATIONS FOLLOWING FAILED ATTEMPTS

NºPublicación:  US2025371599A1 04/12/2025
Solicitante: 
MAPLEBEAR INC [US]
Maplebear Inc

Resumen de: US2025371599A1

A machine learned model for item recommendations following failed attempts to purchase those items. During a session, an online system receives a request to fulfill an order from a user device. The system receives a message indicating that an item from the order was not fulfilled. The system logs the item in connection with a profile of the user stored in a database of the online system. During a subsequent session with the user device, the system determines that the logged item is available for fulfillment. The system applies the model to output an intent score indicative of an intent of a user of the user device to acquire the logged item. The logged item is ranked based on the intent score, and a user interface is generated that includes a recommendation to acquire the logged item. The system causes the user device to display the generated user interface.

INDIVIDUAL INFORMATION AND RECOMMENDATION SYSTEM FOR VEHICLES

NºPublicación:  US2025368209A1 04/12/2025
Solicitante: 
FCA US LLC [US]
FCA US LLC
WO_2025250282_PA

Resumen de: US2025368209A1

A method for providing customized information to a user, that includes receiving at a backend portion historical information, regarding multiple features, from a first user and one or more other users, categorizing the information and users as a function of a similarity of certain features of the historical information, receiving at the backend portion current information from the first user, determining a predicted future use as a function of at least some of the historical information and at least some of the current information, and providing a customized recommendation from the backend portion to the first user.

AUTOMATED SUPPLY CHAIN DEMAND FORECASTING

NºPublicación:  US2025371467A1 04/12/2025
Solicitante: 
COUPA SOFTWARE INCORPORATED [US]
Coupa Software Incorporated
US_2024220891_PA

Resumen de: US2025371467A1

In an embodiment, a method includes receiving training data representing historic consumer demand for products, detecting changepoints in that data that may be associated with disruptive events, identifying relevant data for modeling, performing clustering, processing configuration information, training one or more machine learning models that are capable of evaluating other received data more accurately, and outputting results to a user display device.

ANALYSIS AND CORRECTION OF SUPPLY CHAIN DESIGN THROUGH MACHINE LEARNING

NºPublicación:  US2025371491A1 04/12/2025
Solicitante: 
KINAXIS INC [CA]
Kinaxis Inc
US_2024112129_PA

Resumen de: US2025371491A1

A dynamic supply chain planning system for analysis of historical lead time data that uses machine learning algorithms to forecast future lead times based on historical lead time data, weather data and financial data related to locations and dates within the supply chain.

INVENTORY MANAGEMENT

NºPublicación:  US2025371492A1 04/12/2025
Solicitante: 
HONEYWELL INT INC [US]
Honeywell International Inc

Resumen de: US2025371492A1

Techniques for managing inventory of a product at a facility in a supply chain are described. In an example, product code information associated with the product at the facility is received, where the product code information comprises at least one of hierarchical information, path information, and event information associated with the product. An expected inventory of the product at the facility is then determined from the product code information. An actual inventory of the product at the facility is then retrieved from an inventory database associated with the facility. The expected inventory is then compared with the actual inventory to identify a discrepancy in the inventory of the product. A point of discrepancy in the supply chain where the discrepancy in the inventory of the product had occurred is then identified, where the point of discrepancy is identified from the path information.

Sealing Device, System, and Methods

NºPublicación:  US2025368409A1 04/12/2025
Solicitante: 
SOJO IND INC [US]
Sojo Industries, Inc
US_2025124773_PA

Resumen de: US2025368409A1

Aspects of the disclosure relate to sealing devices, methods, and systems. A sealing device may be configured to seal a container. The sealing device may send or trigger a message indicating the current geographic location of the sealing device based on the sealing device being removed from the container.

CUSTOMER PREFERENCE DRIVEN VEHICLE SUPPLY MANAGEMENT SYSTEM

NºPublicación:  US2025371592A1 04/12/2025
Solicitante: 
TOYOTA MOTOR NORTH AMERICA INC [US]
TOYOTA JIDOSHA KK [JP]
TOYOTA MOTOR NORTH AMERICA, INC,
TOYOTA JIDOSHA KABUSHIKI KAISHA

Resumen de: US2025371592A1

A system includes an application configured to, based on user inputs, generate a target vehicle specification, and a database including a collection of inventory specifications of vehicles in a vehicle inventory. The system also includes a spec encoder configured to: encode the target vehicle specification as a first code; encode the collection of inventory specifications as a collection of second codes; and map the target vehicle specification and inventory specifications into a multidimensional space. The multidimensional space includes one dimension for each specification category. A preference class vector includes a weight for each dimension. A matching engine, based on the preference class vector, defines a search neighborhood around the target specification in the multidimensional space; identifies inventory specifications that fall within the search neighborhood, computes match scores for the identified vehicles; and reports the match scores and corresponding vehicles.

CART-BASED AVAILABILITY DETERMINATION FOR AN ONLINE CONCIERGE SYSTEM

NºPublicación:  US2025371494A1 04/12/2025
Solicitante: 
MAPLEBEAR INC [US]
Maplebear Inc
AU_2022473700_PA

Resumen de: US2025371494A1

An online concierge system may use images received from shopping carts within retailers to determine the availability of items within those retailers. A shopping cart includes externally-facing cameras that automatically capture images of the area around the shopping cart as the shopping cart travels through a retailer. The online concierge system receives these images, which depict displays within the retailers from which a picker or a retailer patron can collect items. The online concierge system determines which items should be depicted in the images and which items are actually depicted in the images. The online concierge system identifies which items should be depicted, but are not depicted, and determines that these items are unavailable (e.g., out of stock) at that retailer. The online concierge system updates an availability database to indicate that these items are unavailable and may notify the retailer that the item is unavailable.

Machine Learning Assisted Alerts for Item Picking

NºPublicación:  US2025371495A1 04/12/2025
Solicitante: 
MAPLEBEAR INC [US]
Maplebear Inc
US_2025139574_PA

Resumen de: US2025371495A1

A machine-learned predictive model is trained to predict potential for customer complaint. The model is part of an online concierge system. The online concierge system accesses a customer order that includes one or more items. The online concierge system determines input data for an item of the one or more items. The online concierge system determines a prediction value associated with potential for customer complaint for the item by applying the machine-learned prediction model to the input data. The online concierge system provides the prediction value to a picker client device associated with a picker who is assigned the item. The picker client device presents an alert to the picker based in part on the prediction value, and the alert includes a message that is customized to mitigate a cause of potential customer complaint for the item.

Method and System for Supply Chain Data Optimization and Visualization

NºPublicación:  US2025371487A1 04/12/2025
Solicitante: 
S&P GLOBAL INC [US]
S&P Global Inc

Resumen de: US2025371487A1

A computer-implemented method for supply chain data optimization and visualization is provided. The method includes receiving training input and output data. The training input data comprises historical maritime and supply chain traffic data and the training output data comprises predicted supply chain routes. The method includes training a machine learning model using the training input and output data to generate a mapping function which maps the training input data to the training output data. The method includes generating an optimized supply chain route and at least one alternate supply chain route using selected parameters and the mapping function. The method includes displaying a visual representation of the optimized supply chain route and the alternate supply chain route.

Computer Model for Determining Optimal Value for an Item Based on a Predicted Elasticity of Demand

NºPublicación:  US2025371586A1 04/12/2025
Solicitante: 
MAPLEBEAR INC [US]
Maplebear Inc

Resumen de: US2025371586A1

An online concierge system receives item data for an item included among an inventory at a retailer location, in which the item data includes a set of real-time item data for the item and a set of constraints. The system accesses and applies a first machine-learning model to predict a freshness satisfaction score for the item based at least in part on the item data. The system updates the item data to include the score and accesses and applies a second machine-learning model to predict an elasticity of demand for the item based at least in part on the updated item data. The system determines an optimal value associated with the item based at least in part on the freshness satisfaction score, the elasticity of demand, and the set of constraints. A value associated with the item is then adjusted based at least in part on the optimal value.

ASSOCIATION-BASED INTELLIGENT ASSET TRACKING

NºPublicación:  US2025371484A1 04/12/2025
Solicitante: 
QUALCOMM INCORPORATED [US]
QUALCOMM Incorporated
WO_2025250409_PA

Resumen de: US2025371484A1

Systems and techniques are described herein for association-based asset tracking. For instance, a computing device (e.g., an application server) can determine a plurality of associations among a plurality of assets. The computing device can monitor a plurality of messages being communicated corresponding to each association of the plurality of associations, detect an exception has occurred based upon the monitoring, and generate a notification based upon the detected exception. Each association of the plurality of associations can be created between two different assets of the plurality of assets. Each of the two different assets can be in a same mesh network or can be in different mesh networks.

Aerospace Commerce Exchange

NºPublicación:  US2025371516A1 04/12/2025
Solicitante: 
SMARTSKY NETWORKS LLC [US]
SMARTSKY NETWORKS LLC
US_2024177135_PA

Resumen de: US2025371516A1

An aerospace commerce exchange system may include a network, a plurality of clients operably coupled to the network, and an aerospace commerce exchange platform operably coupled to the network to provide exchange services to the clients. At least one of the clients may be operably coupled to the aerospace commerce exchange platform via an air-to-ground wireless communication link or satellite link (or other links with which an aircraft may be associated) to provide or receive data associated with at least one of the exchange services.

METHODS AND SYSTEMS FOR INTELLIGENTLY MANAGING AND USING DATA IN A SUPPLY CHAIN ENVIRONMENT

NºPublicación:  WO2025250590A1 04/12/2025
Solicitante: 
GRUBMARKET INC [US]
GRUBMARKET, INC
WO_2025250590_PA

Resumen de: WO2025250590A1

The present disclosure provides systems and methods for querying information related to a supply chain company. The method comprises receiving, via a graphical user interface (GUI), a user prompt in natural language inquiring information related to a supply chain company, generating, using a thought-based query generator, a database query based at least in part on the user prompt, executing the database query in a database to retrieve data and transmitting the data to a large language model (LLM), and generating an output by the LLM and displaying the output in the GUI.

WEARABLE LESSONS AND APPAREL EDUCATIONAL SYSTEM

NºPublicación:  WO2025250848A1 04/12/2025
Solicitante: 
THE EXTRAORDINARY LIBRARY ADVENTURE LLC [US]
THE EXTRAORDINARY LIBRARY ADVENTURE, LLC
WO_2025250848_PA

Resumen de: WO2025250848A1

The present disclosure teaches a digital learning platform in which lessons and other interactions with the platform key off of a learner's inspiration by a wearer's garment with a graphic design and coding unique to that singular garment. The unique coding enables the learner to connect to the platform with their network connected, code scanning mobile device to access a lesson or course related to the graphic design while the wearer/user of the garment may receive value, points, and credit for the learner's activity.

APPLYING ENTRY EDGES IN A COVERED ENVIRONMENT

NºPublicación:  WO2025250660A1 04/12/2025
Solicitante: 
CROWN EQUIPMENT CORP [US]
CROWN EQUIPMENT CORPORATION
WO_2025250660_PA

Resumen de: WO2025250660A1

Embodiments include a method that includes determining a location of a restriction zone, where the restriction zone includes a first edge and a second edge, providing an option to define a first policy for a materials handling vehicle when crossing into the restriction zone via the first edge and a second policy when crossing into the restriction zone via the second edge, and receiving user input defining the first policy and the second policy. Some embodiments include determining a location and an orientation from the materials handling vehicle, determining from the location and the orientation, that the materials handling vehicle is approaching the restriction zone via the first edge or the second edge, and communicating first policy data related to the first policy to the materials handling vehicle. Some embodiments include in response to determining communicating second policy data related to the second policy to the materials handling vehicle.

CONTAINER HANDLING METHOD AND APPARATUS, AND WAREHOUSING SYSTEM

NºPublicación:  WO2025246768A1 04/12/2025
Solicitante: 
BEIJING GEEKPLUS TECH CO LTD [CN]
\u5317\u4EAC\u6781\u667A\u5609\u79D1\u6280\u80A1\u4EFD\u6709\u9650\u516C\u53F8
WO_2025246768_A1

Resumen de: WO2025246768A1

A container handling method and apparatus (1100), and a warehousing system (100). The warehousing system (100) comprises an inventory area (10), a control apparatus (110), first handling devices (120), second handling devices (130), and workstations (140). When each first handling device (120) completes a picking task at a corresponding workstation (140), in response to a return-to-warehouse instruction, on the basis of the position of the first handling device (120), the control apparatus (110) plans a pre-movement path for the first handling device (120); the control apparatus (110) controls the first handling device (120) to move along the pre-movement path, and during the movement of the first handling device (120) along the pre-movement path, determines a target return-to-warehouse path corresponding to the first handling device (120) returning from the workstation (140) to the inventory area (10); and the control apparatus (110) controls the first handling device (120) to return to the inventory area (10) along the target return-to-warehouse path.

APPARATUS, SYSTEM, AND METHOD FOR TRACKING AN ASSET IN A DECENTRALIZED MESH WIRELESS COMMUNICATION NETWORK

NºPublicación:  WO2025247512A1 04/12/2025
Solicitante: 
WESCO DIGITAL SOLUTIONS IRELAND LTD [IE]
WESCO DIGITAL SOLUTIONS (IRELAND) LIMITED
WO_2025247512_PA

Resumen de: WO2025247512A1

A method for tracking an asset in a decentralized mesh wireless communication network. A positioning engine receives noisy location data from a plurality of location tracking tag devices at time intervals. At least one of the plurality of the location tracking tag devices is positioned on an asset. The plurality of location tracking tag devices form part of the decentralized mesh wireless communication network. Each of the plurality of location tracking tag devices periodically receives location reference information from a location reference device. The positioning engine records the noisy location data received from the plurality of location tracking tag devices with a time stamp. The positioning engine generates a clean dataset from the noisy location data received from the plurality of location tracking tag devices at each recorded time stamp. The positioning engine computes a position of the asset based on the clean dataset.

Verfahren und System zum Befüllen eines Parkplatzes mit Fahrzeugen zum Verladen auf einen Autozug sowie Computerprogrammprodukt

NºPublicación:  DE102024115376A1 04/12/2025
Solicitante: 
BAYERISCHE MOTOREN WERKE AG [DE]
Bayerische Motoren Werke Aktiengesellschaft

Resumen de: DE102024115376A1

Die Erfindung betrifft ein Verfahren zum Befüllen eines Parkplatzes (18) mit Fahrzeugen (10) zum Verladen auf einen Autozug (12), das folgende Schritte aufweist: a) Erfassen von Produktionsdaten, die Informationen bezüglich einem Fahrzeugtyp und einem Fertigstellungszeitpunkt für jedes Fahrzeug (10) aufweisen, von Parkplatzdaten, die Informationen zur Anzahl an verfügbaren Parkplätzen (18) und zur Anzahl an belegten Parkplätzen (18) aufweisen, von Fahrzeugdaten, die wenigstens einen geometrischen Parameter zu jedem Fahrzeug (10) aufweisen, und von Autozugdaten, die wenigstens einen geometrischen Parameter des Autozuges (12) aufweisen, und b) Ermitteln der Positionen der Fahrzeuge (10) auf dem Parkplatz (18), indem Fahrzeugbündel (34, 36) auf Basis der Produktionsdaten, der Parkplatzdaten, der Fahrzeugdaten und der Autozugdaten gebildet werden, wobei abwechselnd ein Fahrzeugbündel (34) einer oberen Ladeebene (20) eines Waggons (22) des Autozuges (12) und ein Fahrzeugbündel (36) einer unteren Ladeebene (24) eines Waggons (22) des Autozuges (12) zugeordnet sind. Des Weiteren betrifft die Erfindung ein System (26) zum Beladen eines Autozugs (12) mit Fahrzeugen (10) sowie ein Computerprogrammprodukt.

Verfahren und System zur Zustellung eines Frachtguts in einen Ladebereich eines Fahrzeugs

NºPublicación:  DE102024001757A1 04/12/2025
Solicitante: 
MERCEDES BENZ GROUP AG [DE]
Mercedes-Benz Group AG

Resumen de: DE102024001757A1

Die Erfindung betrifft ein Verfahren zum Zustellen eines Lieferguts (60) in einem Ladebereich (15) eines entlang einer geplanten Fahrtroute (R) bewegten Fahrzeugs (10) mittels einer autonomen Zustellvorrichtung (50). Es wird mindestens ein lieferbereites Verteilzentrum (41, 42) ermittelt, in dem das Liefergut (60) verfügbar ist. Zu jedem lieferbereiten Verteilzentrum (41, 42) wird mindestens ein in einem Abstand (D1, D2) davon auf der Fahrtroute (R) gelegener potenzieller Übergabepunkt (71, 72) ermittelt. Anhand der Fahrtroute (R) sowie anhand des Abstands (D1, D2), des prädizierten Eintreffens des Fahrzeugs (10) und des frühestmöglichen Eintreffens der autonomen Zustellvorrichtung (50) wird ein Übergabepunkt (71, 72) ausgewählt. Die autonome Zustellvorrichtung (50) transportiert das Liefergut (60) von dem Verteilzentrum (41, 42), das dem ausgewählten Übergabepunkt (71, 72) zugeordnet ist, derart an den Übergabepunkt (71, 72), dass der Übergabepunkt (71, 72) unmittelbar vor dem prädizierten Eintreffen des Fahrzeugs (10) erreicht wird. Das Fahrzeug (10) zum Öffnen des Ladebereichs (15) an dem Übergabepunkt (71, 72) angesteuert und das Liefergut (60) wird in dem geöffneten Ladebereich (15) zugestellt. Die Erfindung betrifft ferner ein System (100) zur Durchführung des Verfahrens.

Verfahren zum Einrichten und/oder Verwalten eines Arbeitsbereichs für das Handwerk, Computerprogramm und Datenverarbeitungsanlage

NºPublicación:  DE102024115199A1 04/12/2025
Solicitante: 
ADOLF WUERTH GMBH & CO KG [DE]
Adolf W\u00FCrth GmbH & Co. KG

Resumen de: DE102024115199A1

Die Erfindung betrifft ein Verfahren zum Einrichten und/oder Verwalten eines Arbeitsbereichs für das Handwerk, insbesondere Elektrohandwerk, KFZ-Handwerk, Sanitärhandwerk, Schreinerhandwerk und dergleichen, insbesondere Werkstätten, Lagerräume, Montagelinien, Sozialräume, unter Verwendung einer Datenverarbeitungsanlage mit wenigstens einem Datenspeicher, wenigstens einer Eingabeeinrichtung und wenigstens einer Anzeigevorrichtung mit den Schritten: Bereitstellen eines Katalogs mit mehreren digitalen dreidimensionalen Modellen von Werkstatteinrichtungen, insbesondere Regale, Schränke, Werkbänke, Arbeitsplätze, Werkstattwagen und/oder Platzhalter für große Sonderwerkzeuge oder Maschinen, Bereitstellen eines Katalogs mit mehreren dreidimensionalen digitalen Modellen von Werkstattausstattungen, insbesondere Einlagen für Werkzeuge, Lagerboxen und Kartons für Verbrauchsmaterialien, beispielsweise Schrauben und/oder Platzhalter für Sondereinlagen oder Sonderbehältnisse, Bereitstellen eines Katalogs mit mehreren dreidimensionalen digitalen Modellen von Werkstattfüllgütern, insbesondere Werkzeuge, Flüssigkeiten, Verbrauchsmaterialien, Kleinteile und/oder Platzhalter für Sonderwerkzeuge, Bereitstellen eines dreidimensionalen digitalen Raumplans der Werkstatt, Auswählen mindestens einer Werkstatteinrichtung aus dem Katalog der Werkstatteinrichtungen und Anordnen der ausgewählten Werkstatteinrichtung in dem digitalen Raumplan des Arbeitsbereichs, Auswählen mindestens

VERFAHREN UND VORRICHTUNG ZUM PACKEN VON OBJEKTEN IN BEHÄLTER

NºPublicación:  DE102025118053A1 04/12/2025
Solicitante: 
BOSCH GMBH ROBERT [DE]
Robert Bosch Gesellschaft mit beschr\u00E4nkter Haftung
CN_121052412_PA

Resumen de: DE102025118053A1

Die vorliegende Anmeldung betrifft ein Verfahren zum Packen von Objekten in Behälter, das Folgendes umfasst: Bestimmung mehrerer Kandidaten-Teilräume im Behälter basierend auf dem aktuellen Zustand des Raums im Behälter; Kodierung der mehreren Kandidaten-Teilräume und der Abmessungen eines ersten den Behälter zu befüllenden Objekts als Kandidaten-Teilraum-Einbettungssequenz und erste Objekt-Einbettungssequenz; Durchführung einer Attention-Verarbeitung in der Kandidaten-Teilraum-Einbettungssequenz und der ersten Objekt-Einbettungssequenz, um eine mittels Attention verarbeitende Kandidaten-Teilraum-Merkmalssequenz und eine mittels Attention verarbeitende erste Objekt-Merkmalssequenz zu erhalten; Bestimmung einer Position im Behälter zum Platzieren des ersten Objekts basierend auf der mittels Attention verarbeitenden Kandidaten-Teilraum-Merkmalssequenz und der mittels Attention verarbeitenden ersten Objekt-Merkmalssequenz.

ASSOCIATION-BASED INTELLIGENT ASSET TRACKING

NºPublicación:  WO2025250409A1 04/12/2025
Solicitante: 
QUALCOMM INCORPORATED [US]
QUALCOMM INCORPORATED
WO_2025250409_PA

Resumen de: WO2025250409A1

Systems and techniques are described herein for association-based asset tracking. For instance, a computing device (e.g., an application server) can determine a plurality of associations among a plurality of assets. The computing device can monitor a plurality of messages being communicated corresponding to each association of the plurality of associations, detect an exception has occurred based upon the monitoring, and generate a notification based upon the detected exception. Each association of the plurality of associations can be created between two different assets of the plurality of assets. Each of the two different assets can be in a same mesh network or can be in different mesh networks.

プログラム、情報処理方法、及びシステム

NºPublicación:  JP2025176497A 04/12/2025
Solicitante: 
株式会社Resilire
JP_2025176497_PA

Resumen de: JP2025176497A

【課題】サプライチェーンにおいて欠落情報の可視化を支援するプログラム、情報処理方法及びシステムを提供する。【解決手段】管理システム1において、サーバ装置100のプログラムは、サーバ装置に、製品の提供に関するサプライチェーンの構造を含み、該製品を構成する品目又は当該品目の拠点に対応するノードにより構成されるサプライチェーン情報を登録することと、ノードに、品目に関する情報及び拠点に関する情報がある場合、品目に関する情報及び拠点に関する情報を関連付けて記録することと、品目に関する情報及び拠点に関する情報の少なくとも一方が記録されていない提供者装置200a,200bに、欠落属性を付与することと、を実行させる。【選択図】図1

複数のシステムのうちのシステムにおけるバリューチェーンネットワークを管理するためのシステム、方法、キット、及び装置

NºPublicación:  JP2025538950A 03/12/2025
Solicitante: 
ストロングフォースヴィーシーエヌポートフォリオ2019,エルエルシー
JP_2025538950_PA

Resumen de: JP2025538950A

本書に記載された方法及びシステムは、バリューチェーンネットワーク(VCN)を管理するためのコントロールタワー及び/又はミニコントロールタワー及び/又はデジタルツインを提供することができる。VCNのバリューチェーンネットワークエンティティのセットに関連する情報は、様々なソースから受信されてもよい。その情報は、人工知能(AI)ベースの学習モデルのセットに提供されることがある。AIベースの学習モデルは、コントロールタワー及び/又はミニコントロールタワー及び/又はデジタルツインと共にその情報を使用して、VCNにおける潜在的リスクを決定し、VCNにおいて取るべき潜在的アクションを決定し、VCNにおいてインテリジェントな調達を構成し、VCNにおいて予測的ソーシングを構成し、VCNエンティティを自動化し、VCNにおいてスマートマシンを指示し、VCNにおいてロボットプロセスオートメーションを構成することができる。

製品識別システム及び方法

NºPublicación:  JP2025176170A 03/12/2025
Solicitante: 
ペプシコ・インク
JP_2025176170_PA

Resumen de: MX2022013709A

A method for identifying a product removed from a cabinet includes detecting visual characteristics of the product removed from the cabinet by a camera within the cabinet. The method may include detecting an identifier on the product removed from the cabinet by an identifier sensor, and comparing the visual characteristics and the identifier to a database of product information. The product removed from the cabinet may be identified based on the comparison of the visual characteristics and the identifier to the database of product information.

シミュレーションモデル生成方法、シミュレーションモデル生成プログラム及びシミュレーションモデル生成システム

NºPublicación:  JP2025175947A 03/12/2025
Solicitante: 
パナソニックIPマネジメント株式会社
JP_2025175947_PA

Resumen de: JP2025175947A

【課題】効率的にシミュレーション情報を収集し、シミュレーションモデルの生成に対する負荷を抑える。【解決手段】シミュレーションモデル生成方法は、シミュレーション情報を取得し、シミュレーション情報に基づいて、シミュレーション対象倉庫における業務を管理するためのシミュレーションモデルを生成する。シミュレーション情報は、少なくとも倉庫管理システムから取得する第1のデータ、第1のデータを使って生成した第2のデータ、倉庫管理システム以外の関連システムから取得したデータに基づく第3のデータ、及びあらかじめ決定された標準値である第4のデータのいずれかを含み、シミュレーションモデルを生成するのに必要な情報の少なくとも一部が第1のデータから第4のデータのいずれにも含まれない場合、不足している旨を知らせる不足情報を出力する。【選択図】図4

シミュレーションモデル生成方法、シミュレーションモデル生成プログラムおよびシミュレーションモデル生成システム

NºPublicación:  JP2025175679A 03/12/2025
Solicitante: 
パナソニックIPマネジメント株式会社
JP_2025175679_PA

Resumen de: WO2025243978A1

This simulation model generating method includes: acquiring layout information relating to a work site from a management system; estimating the position of a worker at the work site on the basis of a first captured image captured by a first camera that captures images of the work site; calculating at least one of a movement speed of the worker and a work time of the worker in an area of the work site corresponding to the position, on the basis of the estimation result; and generating a simulation model of the work site on the basis of the layout information and the at least one of the movement speed and the work time of the worker in each of one or more areas of the work site.

ミッション情報提供方法及びそのための電子装置

NºPublicación:  JP2025538920A 03/12/2025
Solicitante: 
クーパンコーポレイション
JP_2025538920_PA

Resumen de: TW202518343A

According to the present disclosure, disclosed are a method for providing mission information and an electronic device therefor, the method comprising the steps of: identifying mission information on the basis of at least one piece of first information related to an order and second information related to a courier terminal; identifying, from among the mission information, first mission information regarding a mission which can be performed before a reference time point; and providing, to the courier terminal, a first page including the first mission information.

電子装置、およびその注文情報の管理方法

NºPublicación:  JP2025538919A 03/12/2025
Solicitante: 
クーパンコーポレイション
JP_2025538919_PA

Resumen de: TW202431166A

An order information management method of an electronic device is provided. The order information management method may comprise the steps of: obtaining information on a destination configured by each of one or more delivery persons among multiple delivery persons through a user interface for destination configuration provided in a terminal of each of the multiple delivery persons; identifying information on a first order including information on a shipping address of an item; and assigning the first order to a first delivery person among the multiple delivery persons on the basis of the information on the shipping address and the information on the destination.

MODULAR CONTAINER STACK AND METHOD FOR STACKING A MODULAR CONTAINER STACK

NºPublicación:  EP4654866A1 03/12/2025
Solicitante: 
BELTER B V [NL]
BELTER B.V
WO_2024158284_PA

Resumen de: WO2024158284A1

A modular container stack (10) comprising one or more stackable containers (100). The stackable containers are adjacently packed in one or more lateral planes (101) and stacked along a longitudinal direction (102) for forming a stack. Each stackable container (100) provides an internal storage space for storing a respective object. Each internal storage space is adapted to substantially match dimensions of the respective object. Each stackable container (100) comprises a door (120) on an exterior side of the stack facing a lateral direction, and a locking device (130) for locking the door (120). A fixation mechanism (200) is arranged for fixating the stackable containers (100) with respect to each other. The fixation mechanism (200) comprises a first mount (210) and a second mount (220) at an adjustable distance (D) from the first mount (210). Opposing ends of the stack facing the longitudinal direction are mounted between the first and second mount(210, 220).

搬送デバイスの移動を制御する方法、システムおよび装置

NºPublicación:  JP2025176005A 03/12/2025
Solicitante: 
オカド・イノベーション・リミテッド
JP_2025176005_PA

Resumen de: US2025136375A1

A system and method for controlling movement of transporting devices arranged to transport containers, the containers being stored in stacks arranged in a facility. A facility having pathways arranged in a grid-like structure above stacks, the transporting devices being configured to operate on the grid-like structure. A control unit configured to determine at least one task to be performed by at least one transporting device, wherein the at least one task is determined based on at least one of: transporting device battery condition, transporting device damage, transporting device maintenance issues, and transporting device service issues.

サプライチェーン管理装置、サプライチェーン管理方法およびサプライチェーン管理システム

NºPublicación:  JP2025175731A 03/12/2025
Solicitante: 
株式会社日立製作所
JP_2025175731_PA

Resumen de: US2025356295A1

Provided are a supply chain management apparatus, a supply chain management method, and a supply chain management system that make it possible to more accurately assess risks to a supply chain by assessing the risks to the supply chain according to data sources that are more significant for each user. The supply chain management apparatus includes a data read section and a priority data extraction section. The data read section acquires data sources as data related to risks that affect a supply chain. The priority data extraction section selects target data for assessing the risks from the data sources according to significance of the data sources and user's acceptance of the data sources and assesses the risks to the supply chain according to the target data.

SYSTEM AND METHOD FOR TRANSLATING SLICE MANAGER INVENTORY DATA

NºPublicación:  EP4655671A1 03/12/2025
Solicitante: 
RAKUTEN MOBILE INC [JP]
Rakuten Mobile, Inc
US_2025078020_PA

Resumen de: US2025078020A1

A method includes creating, by a processor and based on a network slice design submitted by a user, a network slice; and generating, automatically by the processor, a network slice selection assistance information ID (nSSAI ID) for the network slice.

METHOD FOR IMPLEMENTING EV ECOSYSTEM AND DEVICE FOR PERFORMING SAME METHOD

NºPublicación:  EP4657350A1 03/12/2025
Solicitante: 
AIZEN GLOBAL CO INC [KR]
Aizen Global Co., Inc
EP_4657350_PA

Resumen de: EP4657350A1

The present invention relates to a method for implementing an electric vehicle (EV) ecosystem and a device for performing the method. The method for implementing an EV ecosystem may comprise the steps of: receiving, by an EV ecosystem management device, EV eco-data from EV ecosystem participant devices; and managing, by the EV ecosystem management device, the EV ecosystem on the basis of the EV eco-data.

BLOCKCHAIN AND CLOUD CONNECTIVITY-BASED SELF-REGISTRATION AND INVENTORYING OF ENTERPRISE IOT ASSETS

NºPublicación:  EP4655908A1 03/12/2025
Solicitante: 
MICROSOFT TECHNOLOGY LICENSING LLC [US]
Microsoft Technology Licensing, LLC
US_2024259269_A1

Resumen de: US2024259269A1

Embodiments provide for the self-registration and automatic inventorying of enterprise Internet-of-Things (IoT) devices in an enterprise environment. An asset inventory agent on a network among many networks (i.e., within the enterprise environment) can receive a data packet from a computing device. The data packet is communicated via the network shared between the asset inventory agent and the computing device. The asset inventory agent can analyze the data packet, which can reveal a communication protocol associated with the computing device. A discovery rule associated with the protocol can be selected to extract inventory information from the data packet. The inventory information can be utilized to generate a distributed ledger transaction, which is communicated to a set of nodes adapted to collectively store the inventory information associated with the computing device onto the distributed ledger.

コンテンツ情報を提供する電子装置及びその方法

NºPublicación:  JP2025538921A 03/12/2025
Solicitante: 
クーパンコーポレイション
JP_2025538921_PA

Resumen de: TW202507626A

Disclosed is a method of distributing an item to a plurality of fulfillment centers in an electronic apparatus, the method including acquiring prediction information including a result of a prediction of a quantity of the item required to be supplied to each of the plurality of fulfillment centers, acquiring information of a basic quantity of the item to be secured for each of the plurality of fulfillment centers based on the prediction information, identifying a quantity of the item supplied by a vendor for the plurality of fulfillment centers, and determining a quantity of the item to be distributed to each of the plurality of fulfillment centers based on the basic quantity and the quantity of the item supplied by the vendor.

用于建筑行业料仓库存状态监测管理的控制模型获取方法及系统、控制器和控制方法

NºPublicación:  CN121052753A 02/12/2025
Solicitante: 
中建八局第二建设有限公司
CN_121052753_PA

Resumen de: CN121052753A

一种用于建筑行业料仓库存状态监测管理的控制模型获取方法及系统、控制器和控制方法,步骤100:建立钢筋料仓动态监测,步骤200:建立混凝土块料仓动态监测,步骤300:建立砂石料仓动态监测,步骤400:建立料仓环境参数动态监测,通过对料仓的状态图像信号进行数据分析处理,计算出处于动态变化的钢筋总存量、混凝土块总存量和砂石总存量,从而对建筑行业料仓库存状态进行在线监测管理。

基于实时路况的同城配送智能分单与路径规划方法及系统

NºPublicación:  CN121052476A 02/12/2025
Solicitante: 
深圳市微微数码有限公司
CN_121052476_PA

Resumen de: CN121052476A

本发明提供基于实时路况的同城配送智能分单与路径规划方法及系统,涉及路径规划技术领域,包括采集实时路况信息构建时空路网特征计算通行时间成本,基于历史轨迹构建订单时空相关性特征并计算订单间时空重叠程度,利用关联强度动态调整聚类算法,针对聚类后的订单簇计算初始配送路径,并通过道路拥堵传播模型进行风险评估和路径优化。本发明能提高配送效率,减少延误风险,适应复杂多变的城市交通环境。

一种基于智能提醒的疫苗接种安全防护系统

NºPublicación:  CN121054205A 02/12/2025
Solicitante: 
中国人民解放军陆军第九五八医院
CN_121054205_PA

Resumen de: CN121054205A

本发明提供的一种基于智能提醒的疫苗接种安全防护系统,涉及疫苗接种技术领域,包括预约接种模块,所述温度数据存储分析模块长期存储温度数据,利用数据分析技术统计分析,及时发现潜在异常风险,出现异常自动预警;所述冷链设备管理模块记录设备基本信息和运行状态,根据维护周期和运行状况自动生成维护计划并发送提醒,保障设备正常运;所述温度实时监测模块在冷链运输与存储设备部署温度传感器,通过无线传输模块实时上传温度数据至系统服务器。本发明的优点:接种时间提醒模块有效解决遗忘接种时间问题。温度实时监测模块全程冷链监控实现对疫苗冷链环节实时温度监测与异常预警,确保疫苗质量安全,降低接种风险。

货物运输检测方法及系统、电子设备和可读介质

NºPublicación:  CN121051540A 02/12/2025
Solicitante: 
北京京东远升科技有限公司
CN_121051540_PA

Resumen de: CN121051540A

本公开提供一种货物运输检测方法及系统、电子设备和可读介质,涉及计算机技术领域。该方案在货物运输过程中,以运输环境类型对应的检测模式进行检测,获得包括货物状态数据与环境振动数据的检测数据;在此基础上,对检测数据基于模型推理进行融合分析,获得状态分析结果,以及基于载具移动参数调整异常阈值;进而根据状态分析结果与货物位移阈值,以及环境振动数据与振动能量阈值匹配的异常等级,执行对应的预警操作。该方案在多源数据融合推理分析的基础上,在数据采集、阈值判断等节点还能够动态地适应货物运输过程中的环境变化,使检测逻辑符合场景实际,且硬件成本能够灵活匹配检测需求,有效提高异常情况检测的检出率与准确率。

核电厂阀门零部件核安全分级及质保分级方法和系统

NºPublicación:  CN121052802A 02/12/2025
Solicitante: 
中广核惠州核电有限公司
CN_121052802_PA

Resumen de: CN121052802A

本发明涉及核电厂阀门零部件核安全分级及质保分级方法和系统,包括以下步骤:生成阀门的安全功能清单;生成阀门的安全功能及安全等级清单;获取阀门的零件明细清单,并基于零件明细清单生成阀门的零部件清单;根据安全功能及安全等级清单和零部件清单进行适用性分析,获得阀门的安全功能与零部件对应关系;根据安全功能与零部件对应关系,确定阀门各个零部件的目标安全等级;基于阀门各个零部件的目标安全等级确定各个零部件对应的质保等级。本发明通过对阀门的零部件进行安全分级,保证阀门的零部件的安全等级及质保等级与其承担的安全功能相适应,对提高阀门可靠性及经济性、核电机组的安全性及可用率具有重大意义。

一种安全库存决策模型构建方法、系统、设备及介质

NºPublicación:  CN121052752A 02/12/2025
Solicitante: 
广西电网有限责任公司
CN_121052752_PA

Resumen de: CN121052752A

本发明公开了一种安全库存决策模型构建方法、系统、设备及介质,属于库存管理技术领域,包括:获取库存相关的多维参数数据,并根据所述多维参数数据的参数类型对所述多维参数数据进行标准化处理,获得标准化后的多维参数数据;根据所述标准化后的多维参数数据计算各参数类型的权重,基于所述权重构建综合目标函数,并确定与所述综合目标函数相关的约束条件;根据所述综合目标函数和所述约束条件进行求解,得到安全库存水平和采购批量的非支配解集;基于所述非支配解集和预设权重确定安全库存决策结果。本发明通过科学获取并标准化处理库存成本、缺货风险和时效性数据,突破了传统单一成本考虑的局限,将多个关键因素整合到统一的优化框架中。

资产管理方法及其装置、设备、介质

NºPublicación:  CN121052767A 02/12/2025
Solicitante: 
珠海华伟电气科技股份有限公司
CN_121052767_PA

Resumen de: CN121052767A

本申请公开了资产管理方法及其装置、设备、介质,本申请的资产管理系统与多个轨道机器人通信连接,各个轨道机器人唯一对应一层货架,各个货架的不同分区均对应有在位传感器,资产管理方法包括:实时获取各个在位传感器的在位信号,在位信号唯一关联有分区标识;基于在位信号控制各个轨道机器人对对应的货架上不同的分区进行图像识别,得到图像识别结果,其中,图像识别结果为对应的分区所存储的资产的资产标识;基于在位信号和资产标识进行资产管理。本方法基于在位信号控制轨道机器人进行图像识别,得到资产的资产标识,并基于在位信号和资产标识实现资产管理自动化,相比手动识别并纸质记录的资产管理方式,能够提高资产管理效率。

业务信息处理方法和装置

NºPublicación:  CN121052724A 02/12/2025
Solicitante: 
北京京东远升科技有限公司
CN_121052724_PA

Resumen de: CN121052724A

本发明公开了一种业务信息处理方法和装置,涉及计算机技术领域。该方法的一具体实施方式包括:获取需求信息,需求信息包括:目标地域及目标业务;确定目标地域对应的多个附属地区,并根据多个附属地区,生成至少一条承运线路;确定目标业务针对各承运线路的目标业务量;针对各备选对象,确定备选对象对应各承运线路的线路信息;根据备选对象对应各承运线路的线路信息及各承运线路的目标业务量,确定备选对象对应的承运信息;根据各备选对象对应的承运信息,对目标业务进行信息处理。该实施方式能够结合目标业务的业务量,得到各物流企业针对目标业务的承运信息,有利于后续的业务决策。

工具管理方法和系统、智能扫描设备和存储介质

NºPublicación:  CN121052765A 02/12/2025
Solicitante: 
北京京东远升科技有限公司
CN_121052765_PA

Resumen de: CN121052765A

本公开涉及一种工具管理方法和系统、智能扫描设备和存储介质。该工具管理方法包括:智能扫描设备接收工具管理平台发送的发料单,其中,所述发料单为工具管理平台响应于工具借用事件而生成的;智能扫描设备在工具借用的多个流程节点,指示扫描模块按照发料单对借出工具进行清点,其中,所述流程节点包括转移节点,转移节点为借出工具的使用人或使用地点的转移节点;和智能扫描设备将清点结果反馈给工具管理平台。本公开可以避免工具遗漏的风险,提高了工具清点的工作效率。

一种基于室内无人机探测的物料数据处理方法

NºPublicación:  CN121052750A 02/12/2025
Solicitante: 
北京速测信息科技有限公司
CN_121052750_A

Resumen de: CN121052750A

本发明涉及无人机设备技术领域,具体涉及一种基于室内无人机探测的物料数据处理方法。包括:利用搭载多种传感器的无人机在室内飞行,对物料进行数据采集;将采集的数据传输至数据处理中心;数据处理中心基于预设的空间坐标映射模型、多传感器数据融合算法以及动态权重分配机制,对采集数据进行处理,生成物料的三维空间信息、物料属性信息和库存数据;所述空间坐标映射模型用于将无人机采集数据的局部坐标系转换为室内全局坐标系;所述多传感器数据融合算法用于整合不同类型传感器采集的数据;所述动态权重分配机制根据传感器实时状态和环境因素,本发明能够实现室内物料的智能化、精细化管理,提升仓储运营效率和管理水平。

一种乏燃料后处理辅助决策系统及方法

NºPublicación:  CN121052555A 02/12/2025
Solicitante: 
中国核电工程有限公司
CN_121052555_PA

Resumen de: CN121052555A

本发明公开了一种乏燃料后处理辅助决策系统及方法,包括事故分析子系统、应急辅助决策子系统、应急联动指挥子系统、应急资源管理子系统、综合管理子系统和数据引接处理子系统,事故分析子系统,用于接入数据引接处理子系统的数据进行展示和报警;应急辅助决策子系统,用于存储应急决策规则并给出决策信息;应急联动指挥子系统,用于提供乏燃料后处理厂的救援路径和事故发展预测;应急资源管理子系统,用于对应急物资的数据进行存储和设置调度信息;综合管理子系统,用于获取其他子系统的数据进行查看,对其他用户进行权限分配;数据引接处理子系统,用于接入乏燃料后处理厂内的业务系统的数据并存储。

一种基于物联网技术的仓储管理系统

NºPublicación:  CN121052749A 02/12/2025
Solicitante: 
广西计算机有限责任公司
CN_121052749_PA

Resumen de: CN121052749A

本发明适用于仓储管理技术领域,提供了一种基于物联网技术的仓储管理系统,包括:定位标识终端、多模态传感器、自动化搬运设备、库存扫描终端、无线通信单元、中央调度平台、仓储控制端及用户管理端;中央调度平台分别连接定位标识终端、多模态传感器、自动化搬运设备、库存扫描终端、无线通信单元、仓储控制端及用户管理端;中央调度平台包括数据融合模块、调度决策模块及指令传输模块;通过定位标识终端、多模态传感器、自动化搬运设备及用户管理端的协同运作,结合中央调度平台的智能优化与实时反馈,实现了仓储环境的精准监控、动态路径规划与高效资源调度,有效提高仓库作业安全性、库存周转率及设备能效。

企业证明开具方法、设备、存储介质及计算机程序产品

NºPublicación:  CN121052774A 02/12/2025
Solicitante: 
招商局金融科技有限公司
CN_121052774_PA

Resumen de: CN121052774A

本申请公开了一种企业证明开具方法、设备、存储介质及计算机程序产品,涉及企业资源管理技术领域,所述方法包括:获取用户以多模态方式输入的企业证明开具请求;采用自然语言处理模型对企业证明开具请求进行实体抽取,得到包含领取方式的企业证明开具数据;若领取方式为邮寄方式且企业证明开具数据的审批请求通过,则采用地址纠错模型将企业证明开具数据中的模糊地址转换为规范地址,并根据偏好加权算法将规范地址发送至物流填单接口,以供物流填单接口根据所述规范地址生成物流订单信息;接收物流填单接口发送的物流订单信息,并基于物流订单信息标记企业证明开具的流程状态以进行企业证明开具,实现高效且准确的企业证明开具。

一种识别物流属性的方法、装置、电子设备及存储介质

NºPublicación:  CN121051571A 02/12/2025
Solicitante: 
北京有竹居网络技术有限公司
CN_121051571_PA

Resumen de: CN121051571A

本公开实施例提供了一种识别物流属性的方法、装置、电子设备及存储介质。该方法包括获取待识别的物流对象的对象信息,其中,所述对象信息用于表征所述物流对象的对象属性信息;根据所述对象信息确定所述物流对象的多个物流品类,其中,所述物流品类表征所述物流对象在基于物流属性构建的类目体系中对应的类目;根据预设映射关系确定各物流品类对应的候选物流属性,基于各候选物流属性的优先级确定所述物流对象对应的目标物流属性,其中,所述预设映射关系包括物流对象的物流品类与候选物流属性的映射关系。本公开实施例实现将物流属性的识别转换为物流品类的识别,避免因物流政策等因素的变化对物流属性识别结果产生影响,提升了物流属性识别的精确度。

加油站补货量确定方法及装置

NºPublicación:  CN121052743A 02/12/2025
Solicitante: 
中国石油化工股份有限公司中石化(大连)石油化工研究院有限公司
CN_121052743_PA

Resumen de: CN121052743A

本发明涉及自动补货调度技术领域,提供一种加油站补货量确定方法及装置,该方法在销量预测值的基础上,考虑了储罐库存安全范围以及库存持库系数,可以在不同库存需求时期设定不同的库存持库系数,提高加油站应对突发情况的能力,在保证加油站不发生冒罐/脱销事故的情况下,为其精准且安全地供应目标油品,可以降低持库成本。而且,在确定目标补货量时考虑了用于配送目标油品的各油罐车的隔舱容量,可以实现目标油品的满舱运输,降低目标油品的运输成本。

物流线路规划方法、装置、电子设备及存储介质

NºPublicación:  CN121052722A 02/12/2025
Solicitante: 
顺丰科技有限公司
CN_121052722_PA

Resumen de: CN121052722A

本申请实施例提供了一种物流线路规划方法、装置、电子设备及存储介质,属于物流线路规划技术领域。该方法包括:获取原始候选线路集,包括不完全相同的多条候选线路,多条候选线路具有相同的始发地和目的地;基于始发地的物流班次信息确定每一候选线路对应的到达时间序列,到达时间序列包括候选线路中每一物流节点的到达时间;基于到达时间序列对每一候选线路进行物流时效计算,得到每一候选线路的时效数据;基于候选线路对应的原始线路和候选线路的时效数据进行运单数量计算,并从多条候选线路中筛选得到目标物流线路。本申请实施例规划的物流线路,采用直达物流模式而非中转运输模式,能够满足物流车辆发车标准,提高了物流运输的时效性。

包裹运输方法及装置、存储介质及电子设备

NºPublicación:  CN121052723A 02/12/2025
Solicitante: 
北京京东乾石科技有限公司
CN_121052723_PA

Resumen de: CN121052723A

本公开提供了一种包裹运输方法、装置、电子设备及存储介质,涉及智慧物流领域。该方法包括:确定目标运输线以及与目标运输线对应的待运输包裹集合;在运输工具调度模式集合中存在与目标运输线相匹配的目标调度模式的情况下,根据目标调度模式确定目标运输工具调度方案;在运输工具调度模式集合中不存在目标调度模式的情况下,根据待运输包裹集合的包裹集合信息和目标运输线的历史调度方案,利用目标体积预测模型确定待运输包裹集合的体积上限值,并根据体积上限值确定目标运输工具调度方案;基于目标运输工具调度方案对待运输包裹集合进行运输。该方法可以提高包裹运输的效率和质量。

物资采购文件生成方法、装置、介质及电子设备

NºPublicación:  CN121052747A 02/12/2025
Solicitante: 
中国石油天然气集团有限公司中国石油国际勘探开发有限公司
CN_121052747_PA

Resumen de: CN121052747A

本申请的实施例提供了一种物资采购文件生成方法、装置、介质及电子设备。所述方法包括:在执行采购程序的过程中,确定接收目标采购文件的目标平台节点,以及所述目标采购文件的文件信息和文件类型,文件类型至少包括采购申请文件,招标审批文件,招标文件,投标退回文件,投标整理文件,中标通知文件,合同审批文件,采购合同文件;从预先配置的文件模板库中获取符合所述文件类型的至少一个版本的待选文件模板,并从至少一个待选文件模板中确定与目标平台节点相匹配的目标文件模板;基于所述目标文件模板和所述文件信息,生成目标采购文件,以将所述目标采购文件投递至目标平台节点。本申请可以提高境外油气运营场景下物资采购文件的生成效率。

用于物体装箱的方法和装置

NºPublicación:  CN121052412A 02/12/2025
Solicitante: 
罗伯特·博世有限公司
CN_121052412_PA

Resumen de: CN121052412A

本申请涉及一种用于物体装箱的方法,包括:基于箱体中的空间的当前状态来确定箱体中的多个候选子空间;将该多个候选子空间和要被装入该箱体的第一物体的尺寸编码为候选子空间嵌入序列和第一物体嵌入序列;对该候选子空间嵌入序列和该第一物体嵌入序列进行注意力处理,以得到经注意力处理的候选子空间特征序列和经注意力处理的第一物体特征序列;基于该经注意力处理的候选子空间特征序列和该经注意力处理的第一物体特征序列确定该箱体中的用于放置该第一物体的位置。

无需一次性包装的自动化食品分配

NºPublicación:  CN121058048A 02/12/2025
Solicitante: 
科尼利厄斯·伦古
CN_121058048_PA

Resumen de: WO2024175158A1

Today's manual supply systems are inefficient, slow, and pollute the biosphere with billions of single-use packagings. According to statistics, 35% of purchased foodstuffs do not end up on the plate. The actual costs of one portion thus amount to 135%. In the ecological, packaging-free foodstuffs distribution system according to the invention (figure 2), you order your portions using your smartphone. These arrive automatically and faster, and 100% thereof actually ends up on the plate. You pick up your returnable container (2) during a short stop-over at the vendor during the day or at night. Your purchased items are contained in this returnable container after having been picked and put there by the automated master machine (1) of the vendor. You own one of the many Rotochefs (3), the cost-efficient automated slave machine which replaces the appliances in your kitchen and performs the last phases of the cooking operation at the desired time. It does the dishes and picks up the leftovers. All procedures are performed paperlessly due to digitalization. Nutritional-medical analyses are possible. The purchased units are smaller and more energy-saving; the customers save time.

一种用于生产线的AGV路径规划方法及系统

NºPublicación:  CN121052484A 02/12/2025
Solicitante: 
山东栋梁科技设备有限公司
CN_121052484_PA

Resumen de: CN121052484A

本发明属于AGV小车路径规划技术领域,具体涉及一种用于生产线的AGV路径规划方法及系统,其方法包括:获取包括AGV单次运输任务的瞬时速度序列、规划速度序列、当前剩余电量与本次负载质量、额定负载、安全电量,计算被划分为多个地块的仓库区域中AGV所在的当前地块权重;得到当前通行阻力;计算电量风险因子;综合AGV的负载情况与电量风险,计算情境通行成本,并基于相邻地块间的几何距离及情境通行成本的波动状况,计算综合成本,获得最优路径;将最优路径进行轨迹插值,生成平滑运动轨迹以控制AGV行驶,向中央调度系统反馈运行数据以实现优化。本发明解决了现有技术路径规划效率低、能耗高的技术问题。

一种智能物流运输碳排放实时追踪系统及方法

NºPublicación:  CN121048655A 02/12/2025
Solicitante: 
广州一链通互联网科技有限公司
CN_121048655_PA

Resumen de: CN121048655A

本发明涉及智能物流运输碳排放实时追踪领域,尤其涉及一种智能物流运输碳排放实时追踪系统及方法。首先,将物流运输路径划分为路径段,在每个路径段的起点生成候选路径段集合,得到候选路径段;然后,基于获取的候选路径段的交通数据、车辆参数和调度计划,通过路径段碳排放预测算法计算候选路径段的预测碳排放量;基于候选路径段的预测碳排放量,构建最优路径集合;最后,基于最优路径集合中的路径段,获取车辆实际运行数据,基于车辆实际运行数据计算实际碳排放量。解决了碳排放预测和优化缺乏针对性,忽略实际行驶中加速、减速、怠速等变速行为对能源消耗的显著影响,未能动态反映车辆负载重量、行驶速度和交通状况的综合影响的技术问题。

基于多目标优化的月台饱和度管理方法及系统

NºPublicación:  CN121052675A 02/12/2025
Solicitante: 
无锡市融联智慧城市科技有限公司
CN_121052675_PA

Resumen de: CN121052675A

本发明涉及大数据管理技术领域,具体为基于多目标优化的月台饱和度管理方法及系统,本发明中,通过资源耦合建模模块实时采集月台、任务、资源及路径数据,基于仓库作业资源任务队列与关键通行路径占用状态推算资源冲突强度值与路径冲突强度值,构建整合三维冲突的动态资源耦合权重矩阵,解决冲突数据割裂问题;资源错配响应模块以月台占用状态为物理基础,结合作业时效要求,当资源冲突强度值超预设阈值时触发降级任务优先级指令并迭代输出资源冲突强度值达标的月台分配方案集合;次生拥堵抑制模块复用矩阵对路径冲突强度值加权,在方案集合中筛选最低堵塞风险终案,阻断次生拥堵蔓延链,实现资源利用与路径畅通的协同优化。

一种供应链电子商务系统及方法

NºPublicación:  CN121052900A 02/12/2025
Solicitante: 
珠海全球时代科技股份有限公司
CN_121052900_PA

Resumen de: CN121052900A

本发明公开了一种供应链电子商务系统及方法,系统包括:商品生产管理模块、物流管理模块、商品溯源模块以及终端市场管理模块。终端市场管理模块用于基于包含用户等级的预定信息和采购信息,通过需求预测模型测算未来市场需求,并结合实时库存与生产速度,生成用于指导上游供应链操作的技术指令,如库存预警或仓储调度计划。系统还具备自优化闭环反馈机制,将后续的实际销售数据作为新输入,对需求预测模型进行修正和优化。本发明通过构建数据驱动的、自优化的闭环管理系统,解决了现有电商平台缺乏对未来市场需求的有效预测,无法实现前瞻性、动态化供应链管理的技术问题,能够显著提升生产规划的精准度,实现降本增效。

物资库存数据处理方法、装置、程序产品及电子设备

NºPublicación:  CN121052746A 02/12/2025
Solicitante: 
中国石油天然气股份有限公司中国石油国际勘探开发有限公司
CN_121052746_PA

Resumen de: CN121052746A

本申请的实施例提供了一种物资库存数据处理方法、装置、程序产品及电子设备。所述方法应用于境外油气运营场景下的库存管理平台,所述方法包括:在每一次交付采购物资时,预测各个物资类别在未来设定时长内的第一取用值,并按照所述第一取用值从大到小的顺序,确定各个物资类别的第一排序;确定所述采购物资的目标物资类别,并确定所述目标物资类别在所述第一排序中的第一排序位置;获取物资仓库中各个空闲库位的第一便捷度;根据所述第一排序位置和各个空闲库位的第一便捷度,从各个空闲库位中为所述采购物资分配目标空闲库位,所述目标空闲库位用于存放所述采购物资。本申请可以提升境外油气运营场景下物资库存数据处理的合理性。

物资采购数据处理方法、装置、介质及电子设备

NºPublicación:  CN121052745A 02/12/2025
Solicitante: 
中国石油天然气股份有限公司中国石油国际勘探开发有限公司
CN_121052745_PA

Resumen de: CN121052745A

本申请的实施例提供了一种物资采购数据处理方法、装置、介质及电子设备。所述方法包括:获取待采购物资的采购需求信息;基于所述采购需求信息生成采购申请文件,并将所述采购申请文件发送至目标采购管理节点;获取由所述目标采购管理节点基于所述采购申请文件确定的招标信息;基于所述招标信息生成招标审批文件,并将所述招标审批文件发送至目标采购决策节点,所述目标采购决策节点用于审批所述招标审批文件;如果所述招标审批文件通过审批,则基于所述招标审批文件生成招标文件,并将所述招标文件发送至所述中继服务,以由所述中继服务将所述招标文件转发至各个供应商节点。本申请可以提升境外油气运营场景下物资采购的效率。

一种结合历史滞销率预测的安全库存自适应调整方法

NºPublicación:  CN121052759A 02/12/2025
Solicitante: 
广州伊智信息科技有限公司
CN_121052759_PA

Resumen de: CN121052759A

本发明属于安全库存调整技术领域,具体的说是一种结合历史滞销率预测的安全库存自适应调整方法,包括以下步骤:获取目标商品的历史销售数据,包括总进货量、自然销售量、干预销售量和当前库存量;计算纯净滞销率;基于滞销概率预测模型预测未来滞销风险;基于目标商品的历史销售数据,计算得到对应于目标商品的纯净滞销率,再根据纯净滞销率计算得到基础调整系数,计算得到优化后的安全库存调整系数,最后计算得到安全库存量,通过计算纯净滞销率,识别因促销方式导致的目标商品的滞销率虚降,能够反映目标商品在历史销售过程中的真实销售情况,避免在后续采购计划中,因滞销率虚降而刻意增大该目标商品的安全库存量,造成滞销率进一步上涨。

物资交付的监控方法、装置及电子设备

NºPublicación:  CN121052772A 02/12/2025
Solicitante: 
中国石油天然气股份有限公司中国石油国际勘探开发有限公司
CN_121052772_PA

Resumen de: CN121052772A

本申请的实施例提供了一种物资交付的监控方法、装置及电子设备。所述方法应用于境外油气运营场景下的物资采购平台,所述物资采购平台至少包括采购数据服务,所述方法包括:在进入任意周期长度的新的核查周期时,获取标记有第一监控标签的第一合同备忘录,所述第一监控标签为用于标识所述任意周期长度的监控标签;判断所述第一合同备忘录中是否包含在所述新的核查周期内待核查的物资交付事项;如果所述第一合同备忘录中包含待核查的物资交付事项,则获取库存数据服务中的物资库存数据;根据所述物资库存数据判断所述待核查的物资交付事项是否完成。本申请可以提升对境外油气运营场景下采购物资交付进行监控的可靠性。

一种基于物流运输全流程的智能保险评估监测预警系统

NºPublicación:  CN121052661A 02/12/2025
Solicitante: 
智运通(北京)科技有限责任公司
CN_121052661_PA

Resumen de: CN121052661A

本发明提供一种基于物流运输全流程的智能保险评估监测预警系统,涉及物流监测技术领域。包括:采集物流运输过程中的运输数据;对运输数据进行预处理;利用凝聚式层次聚类算法对预处理物流数据进行无监督聚类,对运输风险类型的动态划分,得到风险簇标签;构建融合lightGBM模型与神经网络模型的智能预测模型,得到输出未来t时刻内的风险概率分布阈值;判断实时检测数据是否超出预设的风险概率分布阈值,是则发出警报并进行提醒。本发明通过融合lightGBM模型与神经网络模型的智能预测模型,预测未来t时刻内的风险概率分布阈值,减少了模型训练所需的时间和计算资源,提高了整个物流风险预测工作的效率。

一种实验室智能信息管理系统

NºPublicación:  CN121052744A 02/12/2025
Solicitante: 
赛默威(湖北)智能科技有限公司
CN_121052744_PA

Resumen de: CN121052744A

本发明涉及一种实验室智能信息管理系统,包括设于化学品存储室内的化学品存储柜以及设于所述化学品存储室外的智能终端,所述化学品存储柜与所述智能终端通过局域网建立通信连接;所述化学品存储柜内设有存储环境监测装置,所述化学品存储柜的柜门上设有智能门锁;本发明通过利用智能终端记录和存储化学品出入库信息,能够及时查询和统计化学品出入库信息,提高了查询和统计分析效率;同时,在化学品存储柜设置存储环境监测装置,以实时检测化学品的存储环境,便于实时了解化学品的存储环境状况,防止因存储环境问题造成化学品发生质变。

一种基于溯源技术的物流快递管理方法及系统

NºPublicación:  CN121052726A 02/12/2025
Solicitante: 
广东金上网络科技有限公司
CN_121052726_PA

Resumen de: CN121052726A

本发明公开了一种基于溯源技术的物流快递管理方法及系统,涉及物流管理技术领域,包括建立多层分布式溯源数据结构;生成组合型溯源标识码;将组合型溯源标识码与物流包裹关联,将相关数据注册至多层分布式溯源数据结构的相应层级中;获取并验证物流过程节点数据;基于物流风险模型和预警规则,结合已注册数据进行风险评估,生成风险评估结果;当接收到物流查询请求时,根据请求中的组合型溯源标识码,生成物流追溯报告;基于物流追溯报告分析物流异常模式,更新物流风险模型和预警规则。本发明通过构建多层分布式溯源数据结构,结合物理特征动态验证和分布式共识机制,建立了一套完整的物流溯源防伪技术方案。

物流配送任务分配方法及装置

NºPublicación:  CN121052727A 02/12/2025
Solicitante: 
中国电信股份有限公司
CN_121052727_A

Resumen de: CN121052727A

本申请公开了一种物流配送任务分配方法及装置。包括:获取多个物流配送需求点各自配送任务的任务信息及多个无人机各自的配送服务信息;基于配送需求信息对多个物流配送需求点进行聚类,得到多个目标聚类簇,并确定每个目标聚类簇的总任务信息;利用目标灰狼优化算法对多个无人机各自的配送服务信息及多个目标聚类簇各自的总任务信息进行分析,得到物流配送成本最低的目标无人机任务分配执行策略;按照目标无人机任务分配执行策略将各个目标聚类簇对应的配送任务分配给对应的目标无人机,并控制目标无人机依次执行对应目标聚类簇的配送任务。本申请解决了相关技术求解大规模、多约束的无人机分配执行问题时存在计算效率低、求解精度低的技术问题。

一种紧固件出入库盘点方法及系统

NºPublicación:  CN121052755A 02/12/2025
Solicitante: 
浙江高强度紧固件有限公司
CN_121052755_PA

Resumen de: CN121052755A

本发明一种紧固件出入库盘点方法及系统,涉及仓库管理技术领域,方法包括:获取历史数据并进行预处理,得到真实样本集;提取异常样本并计算欧式距离,限定参数的取值范围;获取不同参数值对应的若干中心样本,分别对各中心样本进行数据增强,得到不同参数值对应的合成样本集;计算每个合成样本的权重,构建逻辑回归模型并结合权重改进模型的损失函数;训练模型并基于改进后的损失函数进行评估,筛选得到最优逻辑回归模型;实时采集紧固件出入库的当前数据,基于最优逻辑回归模型对当前数据进行异常检测及判定;本发明通过结合SMOTE算法和逻辑回归模型,能够有效检测出入库数据中的异常情况,提高库存管理的准确性和可靠性。

一种基于大数据的智慧物流供应链系统

NºPublicación:  CN121052725A 02/12/2025
Solicitante: 
山东石油化工学院
CN_121052725_PA

Resumen de: CN121052725A

本发明公开了一种基于大数据的智慧物流供应链系统,属于智慧物流供应链系统领域,包括大数据平台,大数据平台包括调度模块、仓储模块、运输模块、配送模块和信息模块,调度模块包括数据采集与处理模块、数据分析与预测模块、调度决策与优化模块和监控与反馈模块,该基于大数据的智慧物流供应链系统通过调度模块、仓储模块、运输模块、配送模块和信息模块各个模块之间的协同工作,能够大幅提高物流的整体运作效率,降低成本,提高客户满意度,利用大数据和智能技术,能够更好地应对市场变化和突发事件,提高供应链的韧性和稳定性,并完善采购方和供应方之间的供应链管理问题,提高智能化程度和信息化水平。

基于联邦学习的多仓库协同申领方法、系统、设备及介质

NºPublicación:  CN121052751A 02/12/2025
Solicitante: 
广西电网有限责任公司
CN_121052751_PA

Resumen de: CN121052751A

本发明公开了基于联邦学习的多仓库协同申领方法、系统、设备及介质,属于电力物资智能调度技术领域,包括:获取各仓库的库存信息,基于所述库存信息计算各仓库的可用性指数,并对所述可用性指数进行同态加密处理后上报至调度中心;基于所述可用性指数构建多仓协同调度模型,所述多仓协同调度模型包括动态成本模型和综合目标函数;基于本地损失函数进行训练,获得参数梯度,并对所述参数梯度进行安全聚合,更新全局参数向量;根据所述综合目标函数和所述全局参数向量确定最优调拨仓库,针对所述最优调拨仓库生成调拨凭证,对所述调拨凭证进行签名,并根据所述签名进行物资调拨。本发明实现物资高效分配与隐私数据保护的双重目标。

一种基于知识图谱的数据处理方法和装置

NºPublicación:  CN121051247A 02/12/2025
Solicitante: 
北京京东远升科技有限公司
CN_121051247_PA

Resumen de: CN121051247A

本发明公开了一种基于知识图谱的数据处理方法和装置,涉及仓储物流领域。该方法的一具体实施方式包括:利用前一时间片基于使用方的相关信息生成的知识图谱,确定使用方在目标时间片的第一隐藏状态、每个服务方在目标时间片的第二隐藏状态;将第一隐藏状态和第二隐藏状态输入到意图学习模型中,得到目标时间片下每个服务方的损失函数值;在存在损失函数值大于或等于预设值的情况下,将所述损失函数值,输入到意向学习模型中进行迭代训练;否则,停止迭代训练意向学习模型,并建立目标时间片下使用方和每个服务方的匹配关系。该实施方式通过构建知识图谱方式捕捉实体之间的敏感互动信息,从而更全面地预测使用方签约意向,提升推荐准确率。

电池盘点方法、电子设备、存储介质及计算机程序产品

NºPublicación:  CN121052764A 02/12/2025
Solicitante: 
宁德时代新能源科技股份有限公司时代电服科技有限公司
CN_121052764_PA

Resumen de: CN121052764A

本申请公开了一种电池盘点方法、电子设备、存储介质及计算机程序产品。电池盘点方法包括:获取离线电池清单,其中,离线电池清单包括第一时长内处于离线状态的一个或多个电池;获取第一白名单,其中,第一白名单包括处于离线状态,且已排查是否丢失的电池;根据离线电池清单和第一白名单,确定第一待排查电池列表,其中,第一待排查电池列表包括处于离线状态,且未进行排查的电池。采用本申请提出的上述方案,可提高电池的盘点效率,进而提升电池盘点结果的可靠性。

外卖食品加工中食材视频溯源自证系统的构建方法

NºPublicación:  CN121052734A 02/12/2025
Solicitante: 
厦门十一街信息科技有限公司
CN_121052734_PA

Resumen de: CN121052734A

本发明涉及食品安全追溯技术领域,具体为外卖食品加工中食材视频溯源自证系统的构建方法,包括:构建包含全流程视觉记录与终端验证输入的原始数据链;计算得出食材纹理匹配度;对溯源视频中配送前的包装图像一与使用者拍摄的包装照片进行比对,计算得出手工多层涂鸦堆叠后的包装纹理匹配度;对计算得出的手工多层涂鸦堆叠后的包装纹理匹配度与食材纹理匹配度进行判断,生成最终的溯源验证状态,触发差异化的闭环修正策略;本方法通过利用食材自身的天然纹理和包装的人工涂鸦作为唯一性标识,并结合视觉识别算法进行比对,在采购运输和外卖配送运输两个运输黑箱两端建立成熟高效的图像验证手段,显著降低了溯源系统的构建与运行成本。

一种基于云计算的仓储物流数字化调度方法及系统

NºPublicación:  CN121052763A 02/12/2025
Solicitante: 
深圳市光启仓储物流有限公司
CN_121052763_PA

Resumen de: CN121052763A

本发明涉及仓储物流调度技术领域,尤其涉及一种基于云计算的仓储物流数字化调度方法及系统。该方法包括以下步骤:接收仓储管理云平台下发的货物调度任务,识别仓储调度任务中待调度货物的当前位置、体积及重量;根据待调度货物的当前位置、体积及重量分配运输车辆;基于运输车辆分配结果计算运输作业负荷与运输作业预计耗时;利用移动作业负荷划分移动作业车辆分配结果为运输作业波次集,并将运输作业波次集中运输作业预计耗时超过预设运输时间容忍范围的运输作业路径与相邻的运输作业路径动态协同,得到待执行运输作业波次集;将待执行运输作业波次集上传至仓储管理云平台。本发明有助于提升仓储物流调度的时效性、稳定性与整体运营效率。

一种全自动智能装车机码垛方法

NºPublicación:  CN121044371A 02/12/2025
Solicitante: 
浙江灵智智造有限公司杭州灵智科技数字化装备有限公司
CN_121044371_PA

Resumen de: CN121044371A

本发明公开了一种全自动智能装车机码垛方法,涉及数据分析技术领域,所述方法包括:获取货物属性信息、车辆参数信息和运输需求信息,基于货物属性信息、车辆参数信息和运输需求信息进行排包策略分析,获得初始排包策略;基于初始排包策略进行智能装车机中若干个抓手的抓取位姿分析;基于抓取位姿和初始排包策略进行货物码垛调试,在货物码垛调试过程中检测缝隙累计比率和高度误差;基于缝隙累计比率和高度误差对初始排包策略和抓取位姿进行调整,获得目标排包策略和目标抓取位姿,智能装车机按照目标排包策略和目标抓取位姿进行货物码垛。本发明能够有效防止货物在运输过程中发生移位、碰撞和损坏,为货物安全提供了坚实守护。

一种基于多模态技术的采购智能审核系统及方法

NºPublicación:  CN121052758A 02/12/2025
Solicitante: 
北京中烟创新科技有限公司
CN_121052758_PA

Resumen de: CN121052758A

本发明公开了一种基于多模态技术的采购智能审核系统及方法,系统通过浏览器插件实时采集采购页面文本与图像数据,利用多模态预处理、特征融合技术,将文本语义特征与图像视觉特征融合为多模态综合特征,输入预训练大模型,结合采购规则知识库进行合规性审核。该系统无需与采购系统进行接口对接,能够实现采购流程的事中风险预警。在实际应用中,单订单审核耗时可控制在30秒以内,复杂规则识别准确率达到95%以上,显著提升了审核效率与准确性,适用于各类企业采购流程的智能审核与风险管控。

一种临床试验药物管理追溯的系统平台

NºPublicación:  CN121054208A 02/12/2025
Solicitante: 
浙江艾比奥健康科技有限公司
CN_121054208_PA

Resumen de: CN121054208A

本发明涉及药物管理追溯领域,且公开了一种临床试验药物管理追溯的系统平台,包括基础信息管理模块、药物仓储管理模块、药物流转追溯模块、数据记录与追溯查询模块、合规与报表模块以及盲态管理模块,基础信息管理模块的输出端与药物仓储管理模块输入端连接,药物仓储管理模块的输出端与药物流转追溯模块输入端连接,药物流转追溯模块输出端与数据记录与追溯查询模块输入端连接,数据记录与追溯查询模块输出端与合规与报表模块输入端连接,合规与报表模块输出端与盲态管理模块输入端连接,系统内置GCP及NMPA、FDA等监管规则,在入库、发药、转运等关键环节自动拦截违规操作,避免人为失误导致的合规风险。

一种物品班次更换的确定方法、装置、设备及存储介质

NºPublicación:  CN121052756A 02/12/2025
Solicitante: 
广西中烟工业有限责任公司
CN_121052756_PA

Resumen de: CN121052756A

本申请提供了一种物品班次更换的确定方法、装置、设备及存储介质,确定方法包括:获取包含当前物品信息的标签的第一图像;基于所述第一图像中的目标轮廓的多个轮廓角点坐标,确定所述第一图像的旋转矩阵;基于所述旋转矩阵、所述多个轮廓角点坐标和预设相对位置参数,确定包含目标编码的第二图像;对所述第二图像中的目标编码进行识别,以获取目标编码的文本信息;基于所述文本信息,确定当前物品的班次的更换状态;其中,所述班次是根据物品生产时间划分的时间段;所述更换状态是指当前物品的班次和当前物品的前一个物品的班次相比是否发生变化的状态。采用本申请提供的技术方案,实现了班次的自动切换,提高了工作效率。

一种多式联运信息管理方法及系统

NºPublicación:  CN121052546A 02/12/2025
Solicitante: 
浙江湖州开芯数字科技有限公司
CN_121052546_PA

Resumen de: CN121052546A

本发明涉及信息管理技术领域,公开了一种多式联运信息管理方法及系统,所述方法包括获取运输数据和运输链条,并进行解析,得到基础特征集合;识别不同运输方式的数据结构特征,当数据结构特征符合特征结构,建立对应的特征标签体系,得到差异化特征标识;分割运输链条并构建映射关系,得到功能区块序列;将序列进行优化功能区块得到协调配合权重矩阵;根据协调配合权重矩阵进行评估调整得到评估结果;根据评估结果构建数据集,得到结构化数据集;根据结构化数据集生成不同功能区块的管理指令,得到精准化管理方案;根据精准化管理方案进行信息管理,并持续监测优化,完成持续优化的多式联运信息管理。本方法能够解决信息处理效率低下的问题。

一种基于边缘计算的智能快递仓库实时调度方法

NºPublicación:  CN121052754A 02/12/2025
Solicitante: 
浙江佳成通跨境供应链管理有限公司
CN_121052754_PA

Resumen de: CN121052754A

本发明公开了一种基于边缘计算的智能快递仓库实时调度方法,包括实时采集仓库作业状态数据,采用动态自注意力金字塔卷积网络进行多尺度动态空间特征提取,利用基于混合专家结构的层次化多智能体近端策略优化网络实时选择专家网络确定智能体协同调度策略,并实时监测异构边缘节点的算力负载与网络通信状态,动态确定最优推理任务分配方案执行实时协同调度控制。本发明提高了仓库环境感知精度及多智能体协同决策效率,显著降低了调度决策延迟,适用于智能快递仓库的高效精准实时调度控制。

一种铁包调度的方法及装置

NºPublicación:  CN121052547A 02/12/2025
Solicitante: 
中冶京诚工程技术有限公司中冶京诚数字科技(北京)有限公司
CN_121052547_PA

Resumen de: CN121052547A

本发明提供一种铁包调度的方法及装置,该方法包括以下步骤:S1:获取目标生产线的铁包种类、高炉出铁时刻矩阵及转炉冶炼时刻矩阵;S2:确定调度算法输入维度和输入向量维度;S3:构建初始输入种群;S4:对初始输入种群中每个种群个体进行解码计算得到铁包调度矩阵;S5:根据高炉出铁时刻矩阵、转炉冶炼时刻矩阵及铁包调度矩阵确定种群个体的适应度;S6:获取输入种群的个体中满足适应度要求的个体,用于对S3中初始输入种群进行迭代更新,然后执行S4、S5、S6,直至迭代更新收敛得到最终输入种群,用于更新铁包调度矩阵,获取满足适应度要求的铁包调度矩阵,用于铁包调度。该方法不仅提高了计划编制效率,还缩短了调度周期。

基于区块链与标识解析的备件智能调配方法、装置、设备及介质

NºPublicación:  CN121052545A 02/12/2025
Solicitante: 
浪潮云洲工业互联网有限公司
CN_121052545_PA

Resumen de: CN121052545A

本申请提供一种基于区块链与标识解析的备件智能调配方法、装置、设备及介质,属于备件管理技术领域,所述方法:为备件分配唯一标识码,实现在生产、采购、入库环节获取备件基本信息,与备件流转信息一起上传至区块链;实时采集备件库存信息、设备故障需求信息、供应链状态信息,清洗整合后存储至区块链;基于区块链数据,确定备件需求点,计算各仓库到备件需求点的综合得分,结合多目标优化算法确定调配仓库、数量、路径以及时间窗口,生成最优调配计划并下发至执行部门,实时跟踪备件物流状态,异常时重新生成最优调配计划。本发明通过区块链与标识解析融合,实现备件精准溯源与智能调配,提升管理效率,降低运营成本。

考虑车辆预冷的区域仓-前置仓鲁棒协作指派方法及系统

NºPublicación:  CN121052735A 02/12/2025
Solicitante: 
江南大学
CN_121052735_PA

Resumen de: CN121052735A

本发明提供一种考虑车辆预冷的区域仓‑前置仓鲁棒协作指派方法及系统,涉及生鲜电商冷链物流供应链的仓储与运输协同优化技术领域。该方法包括:确定区域仓‑前置仓两级物流网络结构;制定前置仓调度为主、区域仓补货为辅的协同策略;获取运营参数;构建包含配送成本、预冷成本及惩罚成本的总成本函数;基于历史需求数据构建不确定性集合,引入缩放因子调整保守度;以最小化总成本为目标,构建鲁棒协作指派优化模型并求解,得到最优车辆指派与补货方案。本发明有效解决了预冷与指派过程脱节、单级优化局限及需求不确定性处理保守等问题,实现了生鲜物流成本降低、履约效率提升和温控稳定性增强。

一种智能化物流供应链智慧管理方法及系统

NºPublicación:  CN121052613A 02/12/2025
Solicitante: 
上海通贸国际供应链管理有限公司
CN_121052613_PA

Resumen de: CN121052613A

本申请公开了一种智能化物流供应链智慧管理方法及系统,包括:收集历史各路径的运输时间数据,根据获取的历史数据计算平均运输时间和路径历史波动率;获取实时数据,根据平均运输时间和路径历史波动率计算缓冲时长,根据当前的路况和时段对缓冲时长进行动态调整;获取预测供应时间和实际时限,根据预测供应时间和实际时限计算容错时间差值,根据容错时间差值对风险等级进行划分;将计算得到的缓冲时长作为一个修正因子对容错时间差值进行修正,根据修正后的容错时间调整优先级,通过缓冲时长机制,使得短期波动被吸收,避免资源分配混乱,长期趋势仍被捕捉,有效减少了因短暂路况变化导致的优先级频繁变动,提高了整个配送系统的稳定性。

一种数据确定方法、装置、电子设备及存储介质

NºPublicación:  CN121052609A 02/12/2025
Solicitante: 
国家石油天然气管网集团有限公司国家管网集团工程技术创新有限公司
CN_121052609_PA

Resumen de: CN121052609A

本发明公开了一种数据确定方法、装置、电子设备及存储介质,涉及数据处理技术领域。该方法包括:根据天然气消耗数据确定历史总消耗波动系数和预测总消耗波动系数;确定历史总入网量波动系数;按照历史总消耗波动系数和历史总入网量波动系数的线性关联关系计算预测总入网量波动系数;根据各管网类型的历史入网量数据确定历史入网量波动系数,确定历史总入网量波动系数与各管网类型的历史入网量波动系数的线性回归方程,通过线性回归方程计算各管网类型的预测入网量波动系数;根据管网类型所属区域的管网拓扑确定一次管输基荷;确定调峰裕度系数和应急裕度系数;按照各管网类型的一次管输基荷、调峰裕度系数和应急裕度系数确定管网传输能力。

一种粮仓多参量协同感知数据管理方法及系统

NºPublicación:  CN121052761A 02/12/2025
Solicitante: 
厦门城市职业学院(厦门开放大学)
CN_121052761_PA

Resumen de: CN121052761A

本申请涉及粮仓管理技术领域,具体而言,涉及一种粮仓多参量协同感知数据管理方法及系统。包括:采集粮仓内部上层区域的上层环境参数数据、粮仓内部核心区域的核心环境参数数据,以及粮仓外部的外部环境参数数据;根据外部环境参数数据,识别外部环境温度的骤降情境;计算上层环境参数数据中的湿度累积上升趋势,以及核心环境参数数据中的温度稳定趋势;基于骤降情境,关联湿度累积上升趋势与温度稳定趋势,判别水分迁移风险;根据水分迁移风险,生成水分迁移风险预警信息。解决现有粮仓数据管理方法在处理由外部环境因素驱动的复杂、非局部水分迁移现象时,无法有效关联多源数据,导致预警不及时的技术问题。

安全生产标准化综合管理系统及方法

NºPublicación:  CN121052811A 02/12/2025
Solicitante: 
连云港港口集团有限公司铁路运输分公司
CN_121052811_PA

Resumen de: CN121052811A

本发明公开了安全生产标准化综合管理系统及方法,涉及安全生产管理技术领域,该系统包括以下组成部分:数据采集模块、数据预处理模块、模型构建与训练模块、预测分析模块以及维护管理模块;本发明通过持续采集设备全生命周期内的时序数据,包括运行时长、启停次数、维修记录等关键参数,并利用改进型LSTM神经网络构建设备安全寿命预测模型,该模型不仅能够对设备整体寿命进行预测,还能精确预测易损耗部件的剩余安全使用周期,这种精准的预测能力使得企业能够提前规划维护计划,避免因设备突发故障导致的生产中断和安全事故,显著提高了设备安全管理的精准性和前瞻性。

一种冷链系统运维智能监管控制系统

NºPublicación:  CN121052731A 02/12/2025
Solicitante: 
山东省鲁商冰轮建筑设计有限公司
CN_121052731_PA

Resumen de: CN121052731A

本发明涉及物流管理技术领域,具体为一种冷链系统运维智能监管控制系统,系统包括采集路径环境数据以筛选运维优选区段,继而识别区段内能耗超限风险,并对温升超标的设备执行主备切换,同时依据负载需求判断供电充足性以启动冗余电源,最终综合电源状态与能耗数据,按资源与任务迫切性确定优先调度对象,生成冷链运维集中监管控制集。本发明,通过实时监测路径环境波动以过滤不稳定路段来优化路径选择,对比能耗数据与负载标准以识别并预警超载风险,在设备温升过高或供电不足时自动执行设备切换与电源调度以避免运维中断,最终通过联动管控智能调度各环节,使得系统稳定高效运行,提升能源使用效率并减少突发故障影响。

基于二维码的运输司机与车辆关联及管理的方法与系统

NºPublicación:  CN121052604A 02/12/2025
Solicitante: 
贵州中扬科技有限公司
CN_121052604_PA

Resumen de: CN121052604A

本发明公开了基于二维码的运输司机与车辆关联及管理的方法与系统,涉及运输管理技术领域。本发明通过二维码技术和哈希算法实现了车辆与司机信息的高效绑定与动态关联,解决了传统管理中信息分散和更新滞后的问题,结合实时数据同步和异常检测算法,能够实时监测运输过程中的异常行为并生成预警信号,显著提升了运输安全管理水平,此外,通过对预警记录的数据聚合和分析,生成综合管理数据集和可视化报表,为管理者提供精准的决策支持,优化资源配置,全面提升运输管理的效能和精细化水平。

电网计量物资检定配送协同优化方法、装置及存储介质

NºPublicación:  CN121052760A 02/12/2025
Solicitante: 
国电南瑞南京控制系统有限公司国电南瑞科技股份有限公司
CN_121052760_PA

Resumen de: CN121052760A

本发明公开了一种电网计量物资检定配送协同优化方法、装置及存储介质,协同优化方法包括:设置邻域结构、设置最大迭代次数、迭代解质量无改进次数、当前迭代参数以及邻域索引参数、邻域数量上限以及可行解无改进次数上限;输入随机生成的可行解,开始迭代,若迭代次数达到则终止搜索并输出最终调度方案;否则继续迭代。本发明基于问题结构特征设计车辆调度、配送时间窗及检定排程三类邻域算子,将其集成于变邻域搜索框架并融合启发式规则,有效规避算法迭代过程中陷入局部最优且加速收敛;最终通过邻域搜索与迭代优化机制,在合理时间内求得最优的配送路径与时间安排及检定中心的物资排程计划。

一种基于AI智能的电商平台商品推荐方法

NºPublicación:  CN121052904A 02/12/2025
Solicitante: 
中交(厦门)电子商务有限公司
CN_121052904_PA

Resumen de: CN121052904A

本申请涉及人工智能领域,公开了一种基于AI智能的电商平台商品推荐方法,该方法包括:通过多模态感知获取用户环境与行为数据,经时空卷积网络编码生成三维意图向量,驱动动态策略选择器配置推荐权重;结合商品特征库与用户画像生成初始推荐列表;实时采集用户交互反馈,经轻量级循环网络解析输出修正向量,动态调整策略并重排序推荐结果;用户下单后启动场景互补生成器,基于知识图谱多跳推理生成适配当前交易场景的互补商品子列表,并视觉融合呈现。本申请通过上述技术方案,实现意图精准识别、毫秒级策略修正与动态互补推荐,提升推荐实时性、适配性与多样性。

电子元器件的智能库存管理方法及系统

NºPublicación:  CN121052757A 02/12/2025
Solicitante: 
深圳市昊伦实业有限公司
CN_121052757_PA

Resumen de: CN121052757A

本发明涉及智能库存管理技术领域,公开了一种电子元器件的智能库存管理方法及系统,该方法包括:创建电子元器件的区块链身份标识;将内置加密芯片中RFID标签的标签ID与所述区块链身份标识进行密码学运算,得到加密标签;接收RFID读写器发送的挑战码,所述加密标签使用内置加密芯片将所述挑战码与预存密钥进行AES加密运算,建立安全通信链路;读取通过所述安全通信链路的元器件价格和料号信息并执行一致性校验,得到校验结果,本发明提升了防伪标签的安全强度和防克隆能力,实现了大规模元器件库存的高效验证。

人脸识别与加密验证的多格口物品配送控制方法及配送车

NºPublicación:  CN121052729A 02/12/2025
Solicitante: 
南通智行未来车联网创新中心有限公司
CN_121052729_PA

Resumen de: CN121052729A

本发明公开了人脸识别与加密验证的多格口物品配送控制方法及配送车,涉及识别验证安全技术领域,包括:利用车载边缘计算终端和导航定位终端,对三维环境信息融合,构建动态安全响应策略;车载仓控统一管理终端和动态安全响应策略对货仓分析,得到边缘智能控制机制;基于车辆控制与监控终端和边缘智能控制机制处理,得到实时状态;并利用车辆交互终端和智能运算终端,获取人脸图像和视觉动态特征,利用多模态检测策略对人脸图像和视觉动态特征分析,得到最终授权的人脸图像和视觉动态特征;构建双模式智能冗余解锁技术,并基于双模式智能冗余解锁技术对配送车进行人脸识别与加密验证。本发明在无人环境下实现高价值物资合规、高效与安全配送。

一种基于RFID的生鲜运输全程跟踪方法及系统

NºPublicación:  CN121052737A 02/12/2025
Solicitante: 
吉林省鑫鑫优选实业集团有限公司
CN_121052737_PA

Resumen de: CN121052737A

本发明提供一种基于RFID的生鲜运输全程跟踪方法及系统,具体地,构建包含车辆三维位置、速度、货物内部温湿度及基于阿伦尼乌斯方程的货物剩余保质期的耦合状态向量;构建覆盖运输全程可能状态的并行系统模型;为每个模型生成用于本轮预测的初始状态;针对每一个交互混合后的模型,执行卡尔曼滤波状态预测,并根据包括车辆当前位置对应的道路类型、实时交通流的信息动态配置过程噪声协方差矩阵Q;接收新的测量数据,通过基于马氏距离的验证门进行数据有效性检验后,使用有效数据更新各模型的状态估计和似然度,并计算各模型的后验概率;根据更新后的模型后验概率,对所有并行模型的后验状态估计进行加权融合,输出当前时刻的最优状态估计。

一种基于改进神经网络的浆果剩余货架期预测方法及系统

NºPublicación:  CN121051716A 02/12/2025
Solicitante: 
沈阳农业大学
CN_121051716_PA

Resumen de: CN121051716A

本发明提供了一种基于改进神经网络的浆果剩余货架期预测方法及系统,涉及神经网络技术领域。本发明首先获取多源特征并进行质量校验与归一化处理;随后构建多层前馈神经网络,以贝叶斯优化确定超参数并完成训练,得到初步预测值;进一步基于初步预测值与真实标签的对应关系或残差构建高斯过程回归,通过边际似然或贝叶斯优化确定核函数及超参数,实现预测校正与不确定性量化;最终输出经校正的剩余货架期均值,并基于后验方差生成置信区间或风险等级。与现有方法相比,本发明兼具预测精度、泛化性与决策支撑能力,能够为冷链调度、库存管理及动态定价提供可靠依据。

一种基于大数据分析的物流运输快速规划方法

NºPublicación:  CN121052740A 02/12/2025
Solicitante: 
江苏蓝宝星球科技有限公司
CN_121052740_PA

Resumen de: CN121052740A

本发明公开了一种基于大数据分析的物流运输快速规划方法,涉及智能物流与交通规划技术领域,包括以下步骤:获取交通事件数据、路网数据、位置数据以及冷链货物状态数据;对所述交通事件数据进行非线性加权计算,输出交通事件数据对各路段的影响系数;根据所述影响系数与相应路段的路网数据,通过神经网络输出得到各路段的可通行评分。本方案通过动态阈值与路径完整性校验的结合,既避免了因阈值僵化导致的路径不可达问题,又针对货物特性调整筛选条件,例如对温敏型货物提升阈值以优先选择通行效率更高的路段;解决了现有技术中因固定阈值导致的路径可靠性不足及货物适应性差的问题,确保生成的初始可绕行路段,满足货物保鲜需求。

一种可视化物流调度管理系统

NºPublicación:  CN121052728A 02/12/2025
Solicitante: 
广东拓威天海科技股份有限公司
CN_121052728_PA

Resumen de: CN121052728A

本发明公开了一种可视化物流调度管理系统,涉及物流调度管理技术领域。该可视化物流调度管理系统,包括:仓库调度效率判定模块、车辆调度效率判定模块和负载均衡性分析模块。本发明通过获取的仓库调度数据进行仓库调度效率判定,同时根据得到的仓库调度效率判定结果判断是否进行第一物流调度优化,若否,则根据得到的车辆调度效率判定结果判断是否进行第二物流调度优化,若否,则基于负载均衡性分析的结果对预设调度时段结束时的负载状态进行量化,进而实现了可视化物流调度管理过程中专线车辆调配与仓库承载能力之间协同匹配度的提高,解决了现有技术中可视化物流调度管理过程中专线车辆调配与仓库承载能力之间协同匹配度不高的问题。

厢式载货车油改电和充电基础设施评估方法

NºPublicación:  CN121052447A 02/12/2025
Solicitante: 
犀重新能源汽车有限公司河南犀重新能源汽车有限公司浙江犀重新能源汽车技术有限公司
CN_121052447_PA

Resumen de: CN121052447A

本发明公开了一种厢式载货车油改电和充电基础设施评估方法,包括:分别计算燃油车年总支出和充电电动车年总支出;并根据燃油车年总支出和充电电动车年总支出分别计算厢式载货车收益回报和油改电价差回收周期;根据物流电动车日行驶里程及能量需求,结合充电决策规则,得到各类充电基础设施的保有量;根据各类充电基础设施的保有量核算充电站基础设施的全生命周期成本‑收益;根据充电站基础设施的全生命周期成本‑收益计算充电站IRR内部收益率;根据各类充电基础设施的保有量,结合充电站基础设施的全生命周期成本‑收益,以及充电决策规则,规划物流公司电动化车辆采购与充电桩;本发明实现了对的厢式载货车油改电和充电基础设施的合理预测评估。

一种基于大数据的集装箱计划调度数据共享方法及系统

NºPublicación:  CN121052543A 02/12/2025
Solicitante: 
中国海洋大学
CN_121052543_PA

Resumen de: CN121052543A

本发明涉及集装箱运输管理技术领域,公开了一种基于大数据的集装箱计划调度数据共享方法及系统,方法包括:获取集装箱在理想状态下第一预设时间段内的第一数据共享效率和第一资源占用程度,以及实际状态下的第一预设时间段内的第二数据共享效率和第二资源占用程度,确定数据共享效率变化因子和资源占用程度变化因子,根据数据共享效率变化因子和资源占用程度变化因子确定预设时间段对应的综合变化因子,计算集装箱的计划调度数据共享因子,基于计划调度数据共享因子设定集装箱的计划调度数据共享策略,能够实时监测集装箱计划调度数据的共享状态,动态调整数据共享策略,并优化资源分配,解决集装箱物流中数据孤岛、调度效率低的问题。

一种多目标协同物流调度方法、装置、设备以及存储介质

NºPublicación:  CN121052739A 02/12/2025
Solicitante: 
广州康驰物流有限公司
CN_121052739_PA

Resumen de: CN121052739A

本申请提供了一种多目标协同物流调度方法、装置、设备以及存储介质,本申请通过综合分析运输起点和终点间的多条候选路径,获取每条候选路径的高程数据及交通流量数据,并基于货物吨位、每条候选路径的高程数据以及交通流量数据,构建与每条候选路径对应的目标函数,目标函数中融合了运输时效、能源消耗及运营成本。最后通过求解目标函数确定出在运输时效、能源消耗及运营成本方面综合最优的运输路径,实现多维度效益的平衡优化。本申请解决了现有技术中的物流调度算法无法平衡时效性、能耗以及成本的技术问题。

基于区块链的境外油气运营系统

NºPublicación:  CN121052748A 02/12/2025
Solicitante: 
中国石油天然气集团有限公司中国石油国际勘探开发有限公司
CN_121052748_PA

Resumen de: CN121052748A

本申请的实施例提供了一种基于区块链的境外油气运营系统,包括:物资采购平台,库存管理平台,生产管理平台,人事管理平台,财务管理平台;其中,物资采购平台中的采购数据服务,库存管理平台中的库存数据服务,生产管理平台中的生产数据服务,人事管理平台中的人事数据服务,以及财务管理平台中的财务数据服务分别配置为管理境外油气运营项目中的物资采购数据,物资库存数据,人事数据,生产数据,财务数据;各个数据服务之间基于区块链网络通信,以同步各自在油气运营项目中生成的业务数据。基于本申请提出的技术方案,可以实现境外油气运营项目中各业务管理平台之间安全高效的同步数据。

船舶过闸的预约调度优化方法、系统、设备及介质

NºPublicación:  CN121052554A 02/12/2025
Solicitante: 
武汉理工大学
CN_121052554_PA

Resumen de: CN121052554A

本发明提供了一种船舶过闸的预约调度优化方法、系统、设备及介质,属于航运交通调度领域,其方法包括:基于到达时间预测模型,根据至少两艘预约船舶的计划到达时间、历史实际到达时间及船舶属性数据,生成每艘所述预约船舶对应的预估到达时间的均值和标准差;基于所述预估到达时间的均值和标准差,构建满足预设优化目标和预设约束条件的多目标优化模型;根据所述预估到达时间的均值和标准差计算得到对应的调度基准时间,根据所述调度基准时间创建初始调度方案种群;基于非支配排序遗传算法与变邻域搜索算法,根据所述初始调度方案种群对所述多目标优化模型进行求解得到最终调度方案。本发明有效缓解枢纽的交通拥堵,提升船舶的过闸效率。

一种纳米活性组合物的存储质量监控方法

NºPublicación:  CN121054128A 02/12/2025
Solicitante: 
广州恒健大健康科技有限公司
CN_121054128_PA

Resumen de: CN121054128A

本发明公开了一种纳米活性组合物的存储质量监控方法,涉及药材存储质量管理技术领域。该纳米活性组合物的存储质量监控方法,包括以下步骤:组合物氧气透过干扰监测;组合物存储稳定性监测;存储监控更新优化判定。本发明通过组合物氧气透过干扰结果判断是否进行密封干扰优化,然后进行组合物存储稳定性评估并判断是否进行存储监控数据合格性评估,若进行存储监控数据合格性评估,则判断是否进行存储监控更新优化,达到了提升纳米活性组合物的存储质量监控数据更新准确性的效果,解决了现有技术中存在由于质量变化差异导致纳米活性组合物的存储质量监控数据更新准确性低的问题。

一种无人配送煤样小车的智能线路规划方法

NºPublicación:  CN121052742A 02/12/2025
Solicitante: 
大唐郓城发电有限公司
CN_121052742_PA

Resumen de: CN121052742A

本发明公开了一种无人配送煤样小车的智能线路规划方法,具体涉及路线调节控制领域,包括S1、通过相应终端采集多维路线数据,并构建三维坐标系;S5、无人配送煤样小车沿优化路径执行配送,通过路径监测终端与定位设备进行实时调整;S6、配送完成后,对路径执行数据进行归档,并根据实际情况触发异常处理机制;本发明通过待配送煤样特性数据结合配送难度系数计算,得到适配煤样特性的路径规划调节控制依据,解决了未考虑煤样自身特性差异,统一路径规划易引发煤样损耗或小车过载故障的问题,达到了降低煤样洒落、结块风险,避免小车因负载适配不当导致的过载故障,提升煤样配送安全性的好处。

境外油气运营场景下的物资采购平台

NºPublicación:  CN121052771A 02/12/2025
Solicitante: 
中国石油天然气股份有限公司中国石油国际勘探开发有限公司
CN_121052771_PA

Resumen de: CN121052771A

本申请的实施例提供了一种境外油气运营场景下的物资采购平台,包括:采购数据服务,至少一个采购需求节点,至少一个采购管理节点,至少一个采购决策节点,中继服务,以及至少一个供应商节点;所述采购需求节点,所述采购管理节点,所述采购决策节点,以及所述中继服务分别与所述采购数据服务通过内网通信,以基于所述采购数据服务管理物资采购数据;所述供应商节点与所述中继服务通过外网通信,所述中继服务用于在所述采购数据服务和所述供应商节点之间转发物资采购数据。基于本申请提出的技术方案,可以在保证境外油气运营场景下物资采购安全性的同时,提高物资采购效率。

物资智能验收方法及终端设备

NºPublicación:  CN121053426A 02/12/2025
Solicitante: 
华能陕西靖边电力有限公司华能定边新能源发电有限公司
CN_121053426_PA

Resumen de: CN121053426A

本发明提供一种物资智能验收方法及终端设备,所述方法通过采用AR眼镜扫描物资标识符直接调取物资三维标准模型与供应商信息,替代了传统纸质单据核对与手动录入流程,避免了人工信息录入错误,大幅缩短验收周期;利用AR眼镜同步采集视觉图像、三维点云及表面光谱特征数据,能够全面检测物资外观缺陷、尺寸精度及材料特征,提升质量检测的完整性与准确性。此外通过构建包含偏差分析、缺陷结果及供应商信息的评估矩阵,快速生成验收报告,以解决现有技术中物资验收效率低、验收信息更新滞后的缺陷。

一种基于RFID感应的门店库存商品管理与查找系统

NºPublicación:  CN121052275A 02/12/2025
Solicitante: 
厦门信达联科信息技术有限公司
CN_121052275_PA

Resumen de: CN121052275A

本发明属于商业库存管理技术领域,公开一种基于RFID感应的门店库存商品管理与查找系统,包括:在用户执行移动操作时,高频采集候选RFID标签的相位变化时间序列;在匹配前,先依据序列的瞬时频率分析用户实际运动特性,并对时间轴进行动态归一化处理;在匹配结果存在多个目标时,则进一步通过对阅读器发射功率进行编码调制并分析回波响应的关联性,完成最终的唯一性仲裁,本发明通过构建一种主动交互与动态特征比对的库存核验流程,将传统依赖信号瞬时量进行概率性判断的方式,转变为一个基于动态过程特征确认的确定性库存管理过程,从而解决了商业环境中因商品密集与信号不稳导致的库存查找与盘点的不确定性问题。

一种支持截单后延迟配送的订单履约方法及系统

NºPublicación:  CN121052905A 02/12/2025
Solicitante: 
客思服(杭州)科技有限公司
CN_121052905_PA

Resumen de: CN121052905A

本发明提供了一种支持截单后延迟配送的订单履约方法及系统,涉及仓储管理技术领域,方法包括:获取多个延迟配送请求的履约订单;对各个履约订单进行延迟配送资格校验;查询与各个校验通过的履约订单关联的出库通知单在仓库的实时状态;根据实时状态,对各个校验通过履约订单进行分类拦截,得到拦截成功的多个第一目标履约订单;对各个第一目标履约订单进行履约单配送日期修改处理,生成多个第二目标履约订单;在各个第二目标履约订单达到配送日截单时间的情况下,生成第二目标履约订单的成货品供应单,出库通知单与配送承运单,并同步执行库存冻结、库存释放以及库存补占的管理操作;否则,等待第二目标履约订单至配送日截单时间。

一种配送时间的确定方法及电子设备

NºPublicación:  CN121052730A 02/12/2025
Solicitante: 
厦门大学
CN_121052730_PA

Resumen de: CN121052730A

本发明涉及物流配送技术领域,公开了一种配送时间的确定方法和电子设备,该方法首先构建预测模型,将配送时间预测过程建模为概率统计模型,并选定贝叶斯回归模型作为核心算法,明确了特征空间和目标变量。接着,通过收集并清洗历史配送数据,提取特征并进行预处理,以确保数据质量。然后,利用预处理后的数据对贝叶斯回归模型进行训练,使其能够准确反映特征空间与目标变量之间的关系。最后,在配送过程中实时收集特征数据,并输入到训练好的模型中,得到预测的配送时间。本发明综合考虑了多种影响因素,具有实时预测能力,能够显著提高配送时间的预测准确性,提升物流配送效率与服务质量,并降低企业运营成本。

基于物联网的工器具库房智能控制系统

NºPublicación:  CN121052762A 02/12/2025
Solicitante: 
太原龙为电子科技有限公司
CN_121052762_PA

Resumen de: CN121052762A

本申请涉及智能控制技术领域,公开了一种基于物联网的工器具库房智能控制系统。系统包括:基于物联网的工器具库房智能控制系统包括:采集模块采集工器具状态数据并控制照明系统生成数字基因编码,调节模块计算基因相似度并控制温湿度设备获得环境适应性数据,控制模块评估适应度并控制门禁系统产生存取权限信息,转换模块将权限信息转换为基因表达强度并控制货架升降装置确定存放坐标,报警模块监测执行状态并控制安全监控设备。本申请解决了现有技术中多参数耦合条件下动态平衡控制失效和缺乏自适应优化能力的问题。

一种结合大数据分析的包装分拣效率优化管理装置

NºPublicación:  CN121052709A 02/12/2025
Solicitante: 
漳浦金盛智能科技有限公司漳州技师学院
CN_121052709_PA

Resumen de: CN121052709A

本发明公开了一种结合大数据分析的包装分拣效率优化管理装置,涉及物流自动化技术领域。包括有:异常检测模块:采集获取全维度数据,并通过规则引擎和机器学习模型,确定出异常事件;仿真推演模块:根据分拣线的物理环境,构建分拣线虚拟分拣环境,并在所述分拣线虚拟分拣环境中对异常事件进行仿真推演,获取对应的处置预案和预测报告;评估决策模块:根据所述预测报告,获取每个所述处置预案的效用分数,并将所述效用分数进行比较,确定出最大效用分数,所述最大效用分数对应的处置预案即为最终处理策略。可以从基于历史报表的被动应对转为主动规划,有助于预防瓶颈、优化资源配置,还可以降低运营成本、提高客户满意度。

基于大数据和人工智能的集装箱海运业务数据管理平台

NºPublicación:  CN121052732A 02/12/2025
Solicitante: 
上海中远海运集装箱运输信息服务有限公司
CN_121052732_PA

Resumen de: CN121052732A

本发明涉及航运业务管理技术领域,依据于集运订舱、进出口单证、运使费审核、全球港口、航线、多式联运等供应链数据的应用,具体为基于大数据和人工智能的集装箱海运业务数据管理平台,其包括数据清洗模块、数据映射模块、风险评估模块、工具集成模块、权限控制模块。本发明通过字段校正建立统一校验机制,跨表比对实现多源数据匹配,结合船舶靠港信息与风险清单并引入配合度因子生成动态风险等级,利用责任标识与知识图谱进行流程追踪与责任映射,通过角色比对与快照还原,保障敏感数据安全与异常访问恢复,提升了数据准确性、风险评估精细化、流程透明化与访问安全性。

一种基于多节点联动的智慧供应链调度优化方法及系统

NºPublicación:  CN121052733A 02/12/2025
Solicitante: 
深圳市恒合泰实业有限公司
CN_121052733_PA

Resumen de: CN121052733A

本发明适用于供应链储存管理及冷链能耗优化技术领域,提供了一种基于多节点联动的智慧供应链调度优化方法及系统,所述方法包括:在确定目标货品的未来储存区域为目标冷库中温度或冷却强度的波动幅度超过预设标准范围的异常储存区域时,获取冷库的历史冷藏数据,以及针对目标货品生成的初始功率补偿幅度。本发明通过引入包装性能值与出货质量指数的关联关系,针对目标货品在冷库异常储存区域内的能耗分配问题提出了精细化调控方案。现有技术模型虽然可能已经考虑到包装性能的影响,但仅以粗略方式处理,无法细致区分不同包装条件下对功率补偿幅度的具体需求,更无法依次量化和确定功率补偿幅度的调整。

一种供应链运输监控方法、装置、设备及介质

NºPublicación:  CN121052736A 02/12/2025
Solicitante: 
上海飞机制造有限公司
CN_121052736_PA

Resumen de: CN121052736A

本发明公开了一种供应链运输监控方法、装置、设备及介质。其中,方法包括:获取各个运输用户、各个运输车辆、各个运输驾驶员以及各个运输产品的基本信息;通过运输车辆监测设备采集各个运输车辆的原始状态信息和分析状态信息;在获取到基本信息处理请求之后,通过运输管理组件对基本信息处理请求进行处理;通过监控管理组件根据各个运输车辆的基本信息、原始状态信息以及分析状态信息对各个运输车辆进行监控。本发明实施例自动收集与供应链运输过程相关的信息,对收集的与供应链运输过程相关的信息进行有效管理,基于收集到的信息监控用于执行供应链运输过程的各个运输车辆,全面、准确地对供应链运输过程进行监控。

一种基于Transformer架构的供应链需求预测方法、设备及介质

NºPublicación:  CN121052438A 02/12/2025
Solicitante: 
数智云联(山东)数字技术有限公司
CN_121052438_PA

Resumen de: CN121052438A

本申请公开了一种基于Transformer架构的供应链需求预测方法、设备及介质,方法包括:获取供应链库存信息,对供应链库存信息进行预处理,以生成供应链库存信息对应的多模态特征矩阵;基于Transformer架构,生成由固定位置编码和动态周期编码融合而成的位置编码,将位置编码添加到多模态特征矩阵中的时序特征维度,得到位置增强特征矩阵;将位置增强特征矩阵中的时序特征作为查询向量,文本特征和图像特征作为键向量和值向量,以基于多头注意力机制,计算注意力权重矩阵;根据注意力权重矩阵和位置增强特征矩阵,生成未来多个时间步对应的预测需求。

基于M站的汽车尾气排放系统故障的维修监控方法及系统

NºPublicación:  CN121053600A 02/12/2025
Solicitante: 
广东交通职业技术学院
CN_121053600_PA

Resumen de: CN121053600A

本申请公开了一种基于M站的汽车尾气排放系统故障的维修监控方法及系统,包括以下步骤:根据待维修部件的故障等级确定维修工序,维修工序包括按预设逻辑排列的多个维修操作,且每个维修操作具有对应的预设的标准维修时长和标准物料信息;在维修工位区,按照预设时间间隔采集每个维修操作对应的多张维修图像;在维修辅助区,获取每个维修操作对应的实际物料信息;对每个维修操作对应的维修图像、标准维修时长、标准物料信息、实际物料信息和实际维修时长进行分析,得到维修监控结果。本申请相较于传统单一的监控方式,增强了监控的可靠性,通过多维度的监控方法,使车辆尾气排放系统的维修能够符合环保及安全要求。

交通信号灯数据处理、展示方法、装置、电子设备

NºPublicación:  CN121053801A 02/12/2025
Solicitante: 
拉扎斯网络科技(上海)有限公司
CN_121053801_A

Resumen de: CN121053801A

本申请公开交通信号灯数据处理、展示方法、装置、电子设备及计算机存储介质,在交通信号灯数据处理方法中,针对每个候选道路路口,基于进入道路路段数据与退出道路路段数据,判断是否存在预设行进方向的目标交通信号灯,并且在判断结果为是时,获得该候选道路路口的目标交通信号灯的目标动态变化数据,进而在目标配送路径上的目标位置渲染目标动态变化数据,以提供给配送终端渲染有目标动态变化数据的配送路径信息,以便于配送终端在展示配送路径时能够展示配送骑手直行场景下所将经过的红绿灯的目标动态变化数据,进而便于配送骑手根据目标动态变化数据控制骑行速度以提升配送效率且能够保证骑行安全,提升了配送骑手的使用体验。

物流轨迹推送方法、装置、设备及存储介质

NºPublicación:  CN121052738A 02/12/2025
Solicitante: 
上海东普信息科技有限公司
CN_121052738_PA

Resumen de: CN121052738A

本发明涉及物流处理技术领域,特别涉及一种物流轨迹推送方法、装置、设备及存储介质。所述物流轨迹推送方法,包括如下步骤:获取物流信息,所述物流信息包括物流轨迹数据以及物流状态;获取路况信息,采用LSTM‑Transformer混合模型,根据物流信息和路况信息计算物流异常概率和类型,获得异常结果;采用基于轻量化BERT模型,根据物流信息和异常结果生成推送文本;基于改进的蚁群算法,从各电商平台的多个接口中选择最优推送路径,采用所述最优推送路径,将物流轨迹数据和推送文本输出。本发明的物流轨迹推送方法可以使得系统可以更好地处理复杂的物流场景,推送文案管理更加灵活,在高并发场景下,能保证实时保序推送与异常处理的效率。

一种基于港口多设备的协同调度方法、设备及介质

NºPublicación:  CN121052589A 02/12/2025
Solicitante: 
北京物资学院
CN_121052589_PA

Resumen de: CN121052589A

本申请提供了基于港口多设备的协同调度方法、设备及介质,属于港口调度领域,其方法包括:根据极端天气的预警时段的结束时间,确定港口作业的总调度时间窗;将总调度时间窗划分为多个连续的滚动窗口;获取当前滚动窗口的起始时间的设备状态,并获取当前滚动窗口对应的待调度任务子集;基于滚动策略和改进灰狼优化算法,根据当前滚动窗口对应的工作状态和待调度任务子集,求解获得当前滚动窗口对应的最优局部调度序列;在根据当前滚动窗口的最优局部调度序列执行任务后,更新设备状态和任务状态,切换至下一滚动窗口并获取对应的最优局部调度序列,直至达到总调度时间窗的结束时间。本申请有效提高港口在极端天气的调度能力。

一种血糖管理系统及方法

NºPublicación:  CN121054220A 02/12/2025
Solicitante: 
重庆大学
CN_121054220_PA

Resumen de: CN121054220A

本发明涉及血糖数据监测技术领域,具体涉及一种血糖管理系统及方法,系统基于智能终端的用户端程序与厂商端程序协同架构,借助云平台赋予了血糖管理社交属性及用户‑厂商协同特性,将血糖传感设备适用度量化评估纳入血糖管理中,充分考虑血糖传感设备可能对用户带来的身体及心理负担,并利用智能终端智能、互联、便捷特性实现各设备连接、数据传输与处理。本发明帮助用户进行更深层、更安全、更全面地血糖管理。

基于深度学习的天然气库存优化方法及系统

NºPublicación:  CN121052570A 02/12/2025
Solicitante: 
浙江浙能数字科技有限公司
CN_121052570_PA

Resumen de: CN121052570A

本发明公开了基于深度学习的天然气库存优化方法及系统,涉及智能供应链管理技术领域,包括,将反馈向量输入元学习网络,采用双时间尺度机制获取天然气库存存储方案,并生成天然气库存报告;通过多模态特征融合与深度强化学习联合决策,将安全库存特征与交通路况特征进行跨模态关联分析,并基于状态空间、动作空间和奖励函数的深度强化学习框架,实现了库存需求与运输条件的协同优化决策,使补货策略能够综合考虑库存状态和运输可行性,提升了供应链的整体响应效率。

一种冷链物流的仓储管理方法及装置

NºPublicación:  CN121044223A 02/12/2025
Solicitante: 
康喜乐嘉(上海)供应链科技有限公司
CN_121044223_PA

Resumen de: CN121044223A

本申请实施例提供一种冷链物流的仓储管理方法及装置,涉及计算机技术领域,获取货品入库请求,货品入库请求中包含待入库货品的货品描述信息;基于各冷链仓储空间各自的已存货品情况和实时环境数据,结合货品描述信息中的货品体积信息和存储环境要求,分析获取待入库货品的仓储管理方案;仓储管理方案中包含待入库货品对应的目标仓储空间和货品摆放方案,已存货品情况中包含相应冷链仓储空间中已存货品的占用空间信息,实时环境数据中包含相应冷链仓储空间中的环境温度、环境湿度和环境PH值中的至少一项数据;根据仓储管理方案,对待入库货品进行入库处理。采用上述方法,能够提高仓储空间利用率,以及降低货品损耗。

采购文件处理方法、装置、介质及电子设备

NºPublicación:  CN121051767A 02/12/2025
Solicitante: 
中国石油天然气集团有限公司中国石油国际勘探开发有限公司
CN_121051767_PA

Resumen de: CN121051767A

本申请的实施例提供了一种采购文件处理方法、装置、介质及电子设备。所述方法应用于境外油气运营场景下的物资采购平台,所述方法执行于所述物资采购平台下的采购数据服务。所述方法包括:在执行采购程序的过程中,获取待投递至目标平台节点的采购文件,所述采购文件由所述采购数据服务预先生成;根据所述采购文件的文件密级,确定防泄漏处理策略,所述防泄漏处理策略对所述采购文件的安全保护程度与所述文件密级正相关;按照所述防泄漏处理策略,对所述采购文件进行防泄漏处理,得到目标采购文件;将所述目标采购文件投递至所述目标平台节点,以供所述目标平台节点查阅。本申请可以提高境外油气运营场景下物资采购文件的安全性。

一种基于智能算法的物流仓储管理系统

NºPublicación:  CN121052741A 02/12/2025
Solicitante: 
广州远联物流服务有限公司
CN_121052741_PA

Resumen de: CN121052741A

本发明涉及数据处理系统技术领域,尤其涉及一种基于智能算法的物流仓储管理系统,该系统包括采集模块、初筛模块、第一筛选模块、第二筛选模块、最终筛选模块以及调整模块。本发明通过多层筛选与动态调整,实现了对仓储运输路径的高效选择与优化,能够综合考虑装卸货复杂度、订单紧急度、通道堵塞率、避障频率和减速频率等多种关键参数,并基于它们在时间和空间上的变化特征进行联合分析,堵塞率与减速频率往往呈现同步波动,装卸货复杂度与避障频率之间存在协同影响,订单紧急度则优先驱动路径筛选顺序,有效解决了由于过于依赖静态阈值判定和人工决策导致面对复杂多变的场景时路线拥堵率高和响应速度低的问题。

一种医疗SPD应急物资调度路径优化方法及系统

NºPublicación:  CN121052479A 02/12/2025
Solicitante: 
中外运医疗科技(天津)有限公司
CN_121052479_PA

Resumen de: CN121052479A

本发明公开了一种医疗SPD应急物资调度路径优化方法及系统,涉及路径优化技术领域,包括以下步骤:获取医院不同楼层窗户在预设时间段的光照反射数据,构建光照特征曲线;采用DTW算法分析各楼层光照曲线相似度,生成若干DTW匹配阈值;将阈值输入ORB特征匹配算法,对不同楼层窗户进行多轮光照特征点匹配,得到特征匹配集;对匹配集进行特征提取并采用聚类算法评估,确定最优DTW匹配阈值;再将最优阈值输入ORB算法,获得第一特征匹配集,并基于第一特征匹配集优化应急物资调度路径,有效解决了不同楼层窗户朝向相同、早晚光照阴影类似而导致ORB特征匹配出现跨楼层混淆的问题。

海外订单配送方法、装置、系统、设备及介质

NºPublicación:  CN121052721A 02/12/2025
Solicitante: 
北京京东远升科技有限公司
CN_121052721_PA

Resumen de: CN121052721A

本公开提供了一种海外订单配送方法、装置、系统、设备及介质,涉及仓储物流技术领域,该方法包括:获取到客户未指定海外发货仓的配送订单,检测到配送订单允许进行订单寻源,根据目标寻源方式和客户的所属海外地区,确定配送订单的目标发货仓库,获取预先创建的分单规则,若分单规则为尾程最优配置,则确定尾程最低费用,按照尾程最低费用和目标发货仓库,对配送订单进行配送。对海外仓可以进行自动寻源,提高客户购买订单的便利性,提高整体业务流转的效率,且在尾程配送过程中,选择尾程最优配送费用,节约成本。

包裹的异常分拣检测方法、计算机设备和可读存储介质

NºPublicación:  CN121042253A 02/12/2025
Solicitante: 
顺丰科技有限公司
CN_121042253_PA

Resumen de: CN121042253A

本申请涉及一种包裹的异常分拣检测方法、计算机设备和可读存储介质,涉及物流技术领域。所述方法包括:获取待检测包裹当前的分拣状态,分拣状态,用于表征待检测包裹是否位于分拣机上;根据分拣状态,在多个预设的异常分拣检测策略中,确定待检测包裹对应的目标异常分拣检测策略;获取待检测包裹在目标异常分拣检测策略下的包裹信息;根据包裹信息和目标异常分拣检测策略,确定待检测包裹是否违规流转于分拣机。采用本方法,能够针对包裹是否违规流转于分拣机的异常分拣检测提高检测准确率。

一种智能交通运输路径规划系统及方法

NºPublicación:  CN121048654A 02/12/2025
Solicitante: 
长安大学
CN_121048654_A

Resumen de: CN121048654A

本发明涉及电数字数据处理技术领域,具体涉及一种智能交通运输路径规划系统及方法,包括:采集模块、监测模块、判断模块和调整模块,本发明一是兼顾运输时间与费用,筛选符合目标时间的路径,优先选费用最低路径,避免传统规划的效率与成本失衡问题;二是动态适配路况,结合历史车流量预警与实时路况,及时修正拥堵路径,减少延误;三是灵活应对运输时间调整,缩短时间后重新匹配最短路径,避免资源浪费,助力交通运输智能化升级。

订单批量处理方法、装置、设备及存储介质

Nº publicación: CN121052894A 02/12/2025

Solicitante:

上海东普信息科技有限公司

CN_121052894_PA

Resumen de: CN121052894A

本发明涉及物流领域,公开了订单批量处理方法、装置、设备及存储介质,该方法用于批量处理物流订单,优化流程与优先级。该方法包括:接收订单数据,并提取订单数据中的多个订单的寄件人姓名、电话、地址、下单时间及订单状态信息;当接收到关联操作指令时,生成每个寄件人的待核价关联订单列表和待打印关联订单列表;针对每个寄件人,使用预训练的优先级评分模型,得到各个待核价关联订单列表的优先级评分;根据优先级评分对各个待核价关联订单列表进行排序,并校验待核价关联订单列表中的各个订单的订单重量和运费,并将校验通过的订单标添加在对应寄件人的待打印关联订单列表中,并根据待打印关联订单列表中的订单数量确定是否生成打印指令。

traducir