Ministerio de Industria, Turismo y Comercio LogoMinisterior
 

Alerta

Resultados 1362 resultados
LastUpdate Última actualización 02/05/2026 [08:13:00]
pdfxls
Publicaciones de los últimos 15 días/Last 15 days publications (excluidas pubs. CN y JP /CN and JP pubs. excluded)
previousPage Resultados 175 a 200 de 1362 nextPage  

Lithium Secondary Battery

NºPublicación:  US20260121123A1 30/04/2026
Solicitante: 
LG ENERGY SOLUTION LTD [KR]
LG ENERGY SOLUTION, LTD.
US_20260121123_A1

Resumen de: US20260121123A1

Provided is a lithium secondary battery having improved high-temperature cycle characteristics, and including a positive electrode, a negative electrode, a separator, and an electrolyte, wherein the positive electrode includes lithium iron phosphorous oxide as a positive electrode active material, and the electrolyte includes a lithium salt, a first organic solvent, a second organic solvent, and an additive, the first organic solvent is a cyclic lactone compound, the second organic solvent is a carbonate-based organic solvent, and the additive is lithium nitrate (LiNO3), and satisfies Equation 1:0.0001≤0.02×(A×B)(C×D)≤0.05Equation⁢1in Equation 1, A is a total amount (g) of the electrolyte injected into the lithium secondary battery, B is an amount (wt %) of the lithium nitrate (LiNO3) based on a total weight of the electrolyte injected, C is a loading amount (g/cm2) of the positive electrode, and D is a total area (cm2) of surfaces of a positive electrode collector.

BATTERY DIAGNOSIS APPARATUS AND BATTERY DIAGNOSIS METHOD

NºPublicación:  US20260118439A1 30/04/2026
Solicitante: 
LG ENERGY SOLUTION LTD [KR]
LG ENERGY SOLUTION, LTD.
US_20260118439_A1

Resumen de: US20260118439A1

A battery diagnosing apparatus includes a data obtaining unit configured to obtain a first profile representing a capacity-voltage relationship of a battery cell containing an active material with a multi-phase characteristic, and a processor configured to generate a plurality of comparison profiles based on a plurality of electrode profiles included in an electrode profile map. The processor is configured to select, as a second profile, one comparison profile from the plurality of comparison profiles by comparing each of the plurality of comparison profiles with the first profile and determine a positive electrode participation start point as a diagnostic factor representing a degradation state of the battery cell based on the second profile.

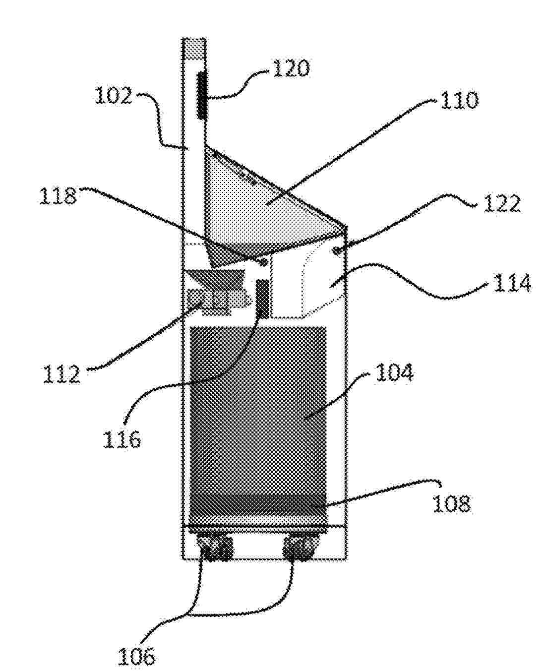
BATTERY PACK

NºPublicación:  US20260121198A1 30/04/2026
Solicitante: 
TOYOTA JIDOSHA KK [JP]
TOYOTA JIDOSHA KABUSHIKI KAISHA
US_20260121198_A1

Resumen de: US20260121198A1

The battery pack includes a battery module, a current collector plate joined to the battery module via a conductive adhesive, and a positioning pin attached to a lower face of the battery module and inserted into a hole provided in the current collector plate to position the battery module with respect to the current collector plate, wherein the positioning pin satisfies Expression (1) when F0 is the weight of the battery module, R is the reaction force of the conductive adhesive, θ is the angle of the positioning pin, and is the friction coefficient.

DOCKING COMPONENT, ELECTROLYTE INJECTION DEVICE, FORMATION DEVICE AND BATTERY PRODUCTION APPARATUS

NºPublicación:  WO2026086163A1 30/04/2026
Solicitante: 
CONTEMPORARY AMPEREX TECH CO LIMITED [CN]
\u5B81\u5FB7\u65F6\u4EE3\u65B0\u80FD\u6E90\u79D1\u6280\u80A1\u4EFD\u6709\u9650\u516C\u53F8
WO_2026086163_A1

Resumen de: WO2026086163A1

Provided in the present application are a docking component, an electrolyte injection device, a formation device and a battery production apparatus. The docking component is used for electrolyte injection or formation for a battery cell. An elastic valve is provided in an electrolyte injection hole of the battery cell, the elastic valve being configured to be capable of opening when being pressed. The docking component comprises a base body and a switch member, a fluid channel arranged in a first direction being provided inside the base body, a first end face of the base body in the first direction being provided with a first port, and the fluid channel being communicated with the first port. At least part of the switch member is provided in the fluid channel, and at least part of the switch member is configured to be capable of reciprocating in the first direction, so as to pass through the first port and press the elastic valve.

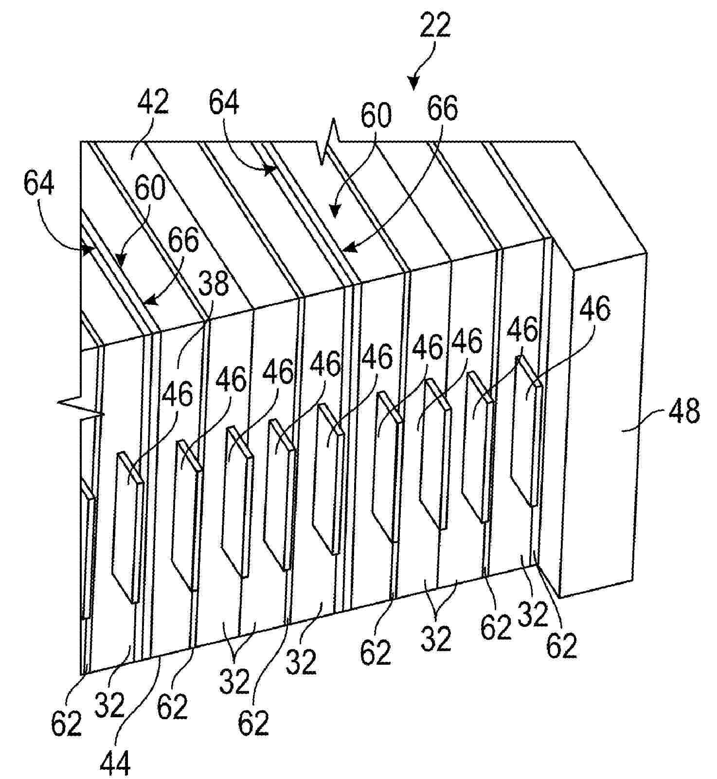
END PLATE ASSEMBLY AND BATTERY MODULE

NºPublicación:  WO2026086044A1 30/04/2026
Solicitante: 
EVE ENERGY STORAGE CO LTD [CN]
\u6B66\u6C49\u4EBF\u7EAC\u50A8\u80FD\u6709\u9650\u516C\u53F8
WO_2026086044_A1

Resumen de: WO2026086044A1

An end plate assembly (10) and a battery module (100). The end plate assembly (10) comprises an insulating end plate (1) and a reinforcing plate (2), wherein an inner side surface (111) of the insulating end plate (1) is provided close to an end portion of a battery pack (5) of the battery module (100); the reinforcing plate (2) is connected to an outer side surface (112) of the insulating end plate (1); and the shortest distance between the reinforcing plate (2) and the inner side surface (111) of the insulating end plate (1) in the direction of width of the end plate assembly (10) is set to be not less than 10 mm.

Battery Cell Having Structure for Preventing Side Wall Rupture of Can

NºPublicación:  US20260121210A1 30/04/2026
Solicitante: 
LG ENERGY SOLUTION LTD [KR]
LG Energy Solution, Ltd.
US_20260121210_A1

Resumen de: US20260121210A1

The present disclosure provides a battery cell including a can including a side wall extended in an axial direction, and an open end portion at an end portion of the side wall in the axial direction; a cap that covers the open end portion; an electrode assembly housed in the can; and a current collector plate electrically connecting the electrode assembly and the can, wherein an edge of the cap is joined to the end portion of the side wall in the axial direction, the cap includes a loop-shaped fracture inducement portion that is concentric with the edge of the cap, the current collector plate includes a body portion connected to an electrode tab of the electrode assembly; a loop-shaped can connection portion disposed on a more centrifugal side than the body portion and joined to at least one of the side wall or the cap; and a bridge having a centripetal side connected to the body portion and a centrifugal side connected to the can connection portion and extended in a radial direction, and the fracture inducement portion of the cap is disposed at an outer position than a centripetal side edge of the can connection portion in the radial direction.

METHOD FOR RECOVERING HIGH-PURITY BLACK MASS FROM USED LITHIUM ION SECONDARY BATTERY

NºPublicación:  WO2026089342A1 30/04/2026
Solicitante: 
JAE YOUNG TECH CO LTD [KR]
\uC8FC\uC2DD\uD68C\uC0AC \uC7AC\uC601\uD14D
WO_2026089342_A1

Resumen de: WO2026089342A1

The present invention relates to a method for recovering high-purity black mass from a used lithium ion secondary battery and, more particularly, to a method for recovering high-purity black mass through: an alkaline thermal hydrolysis step of stirring a cell lysate of the used lithium ion secondary battery in an alkaline aqueous solution to dissolve and separate impurities contained in the cell lysate into an aqueous solution; and a low-temperature pyrolysis step of decomposing and removing organic compound components, such as an organic binder.

VENT PLUG FOR LEAD-ACID STORAGE BATTERY

NºPublicación:  WO2026086961A1 30/04/2026
Solicitante: 
FENGFAN CO LTD [CN]
\u98CE\u5E06\u6709\u9650\u8D23\u4EFB\u516C\u53F8
WO_2026086961_A1

Resumen de: WO2026086961A1

Disclosed in the present application is a vent plug for a lead-acid storage battery, belonging to the technical field of lead-acid storage battery accessories. The vent plug comprises a plug body and a plug core; the interior of the plug body is provided with a cylindrical accommodating cavity, one end within the plug body is provided with an engagement recess for engaging with a gas-filtering piece, and an elongated slot is provided on the side wall at the other end of the plug body; the plug core is detachably connected to the interior of the accommodating cavity, a plurality of partition plates are obliquely arranged at intervals sequentially from one end to the other end of the plug core, adjacent partition plates have inclination angles which are opposite to one another, and a support column is arranged between adjacent partition plates; the plurality of partition plates form a plurality of partition cavities from one end to the other end in the accommodating cavity, and adjacent partition cavities communicate with one another to form a channel for gas circulation and electrolyte backflow; and a protrusion is provided on the partition plate at the end away from the engagement recess, and the protrusion is engagingly fitted with the elongated slot.

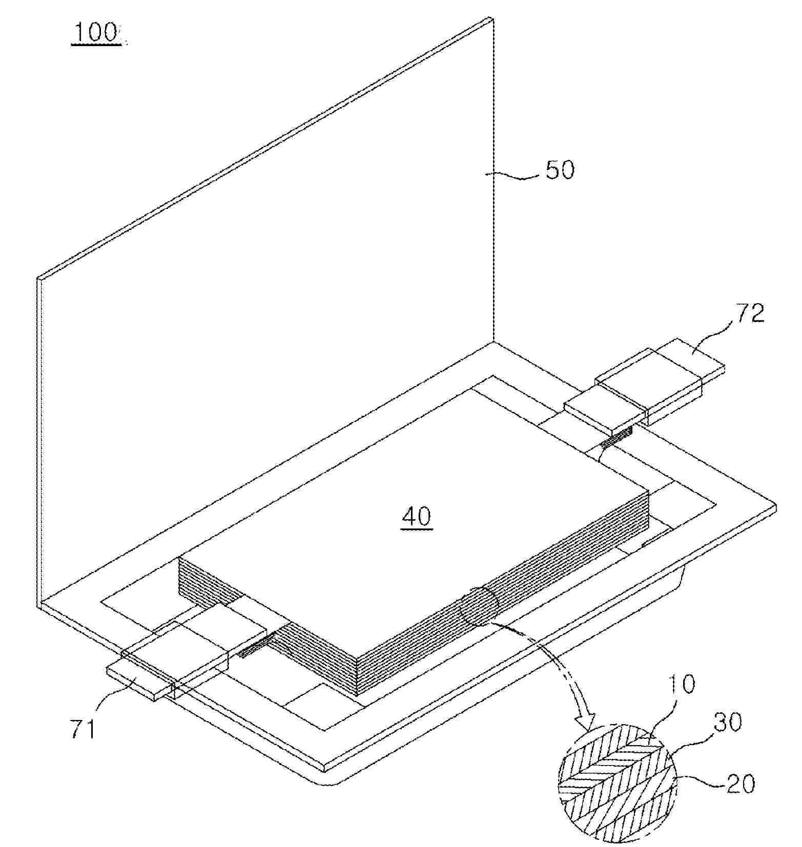
METHOD FOR INCREASING STACKING ACCURACY BY MEANS OF POSITIONING ELEMENTS ON THE CURRENT COLLECTORS

NºPublicación:  WO2026087500A1 30/04/2026
Solicitante: 
POWERCO SE [DE]
POWERCO SE
WO_2026087500_A1

Resumen de: WO2026087500A1

The invention relates to a method (200) for improving stacking accuracy when stacking battery electrodes, comprising: detecting (201) measurement data of a first and a second electrode (100a, 100b); identifying (202) outline contours of a first active material coating (101a) of the first electrode (100a) and outline contours of a second active material coating (101b) of the second electrode (100b) in the measurement data; determining (203) a first position (103c) of a positioning element (104a) outside the outline contours of the first active material coating (101a) on the basis of the detected measurement data of the first electrode (100a); determining (204) a second position (103d) of a hole (103b) to be made into the second electrode (100b) in a region outside the outline contours of the second active material coating (101b) on the basis of the first position (103c), the outline contours of the first active material coating (101a) and the outline contours of the second active material coating (101b), and making (205) a hole (103b) at the second position (103d) such that the second electrode (100b) can be placed on the positioning element (104a) by means of the hole (103b), wherein an overlap of the first and the second active material coating (101a, 101b) is maximised.

BATTERY SYSTEM

NºPublicación:  US20260121138A1 30/04/2026
Solicitante: 
TOYOTA JIDOSHA KK [JP]
TOYOTA JIDOSHA KABUSHIKI KAISHA
US_20260121138_A1

Resumen de: US20260121138A1

A battery system includes a plurality of battery packs that is connected, in parallel to one another, to an external system. The battery packs are connected, in parallel to one another, to the external system through corresponding DC-DC converters. A control device discharges a first battery pack by operating the DC-DC converters so as to supply electricity from the first battery pack to other battery packs. After the discharge of the first battery pack, the control device charges the first battery pack by operating the DC-DC converters so as to supply electricity from the other battery packs to the first battery pack. The control device calculates a full charge capacity of the first battery pack based on an integrated amount of a current that has been charged to the first battery pack.

BATTERY TRAY AND BATTERY

NºPublicación:  WO2026086114A1 30/04/2026
Solicitante: 
SUNGROW POWER SUPPLY CO LTD [CN]
\u9633\u5149\u7535\u6E90\u80A1\u4EFD\u6709\u9650\u516C\u53F8
WO_2026086114_A1

Resumen de: WO2026086114A1

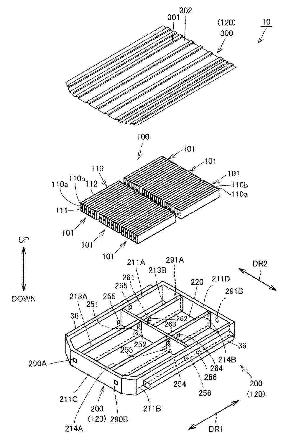
A battery tray and a battery, relating to the field of batteries. The battery tray comprises: a frame, which comprises side beams arranged opposite to each other, wherein the side beams are each provided with a first adhesive groove for adhesive application; at least one protective plate, which is connected between the side beams arranged opposite to each other; an intermediate beam, which is mounted on the protective plate and is located in the frame; and at least one module beam, which is connected between the side beams arranged opposite to each other, is located above the intermediate beam, and is used for mounting a battery module. The side beams and the intermediate beam are used for supporting a liquid cooling plate.

OZONE OXIDATIVE PRECIPITATION OF ELEMENTS FROM AQUEOUS STREAMS

NºPublicación:  US20260116794A1 30/04/2026
Solicitante: 
THE PENN STATE RES FOUNDATION [US]
THE PENN STATE RESEARCH FOUNDATION
US_20260116794_A1

Resumen de: US20260116794A1

The disclosed method utilizes chemical-free ozone oxidative precipitation for the recovery of dissolved (such as Co, Mn, Ni, Cu, Ag, Cd, Zr, Ce, Os, Ir, Pd, Pt, Rh, Ru, Cr, Fe, Bi, Ga, Sn, and/or Tl) metal ions from aqueous solutions. The aqueous solutions could be mine or industrial influenced water or leachate obtained by processing primary or secondary sources of the elements. The process selectively separates these elements from aqueous streams and may be utilized in purification processes. The target elements are recovered without pH adjustment by chemicals, or using expensive oxidizers, thereby minimizing the process cost, chemical consumption, and environmental footprints. In acidic and circumneutral solutions, these elements can be recovered as solid precipitates. In alkaline solutions, these elements will be recovered again as solid precipitates.

IMMERSION COOLING-TYPE ENERGY STORAGE DEVICE ENCLOSURE

NºPublicación:  WO2026089255A1 30/04/2026
Solicitante: 
INCELL CO LTD [KR]
\uC778\uC140(\uC8FC)
WO_2026089255_A1

Resumen de: WO2026089255A1

The present invention relates to an energy storage device enclosure in which an immersion-type thermal management system and a battery are integrated and, more specifically, to an enclosure accommodating an immersion cooling energy storage device, wherein the enclosure overcomes various complexities and problems associated with applying an immersion method, thereby achieving reduced production costs, simplified manufacturing, ease of maintenance and repair, efficient thermal management, and high fire safety, and providing optimal operating conditions for the battery regardless of external environmental conditions, and thus enhancing reliability and safety.

Electrode Manufacturing Apparatus

NºPublicación:  US20260116695A1 30/04/2026
Solicitante: 
LG ENERGY SOLUTION LTD [KR]
LG Energy Solution, Ltd.
US_20260116695_A1

Resumen de: US20260116695A1

An electrode manufacturing apparatus may include a plurality of guide rollers arranged in a moving path of an electrode sheet. The apparatus may also include, a plurality of cameras arranged at a plurality of detection positions corresponding to the plurality of guide rollers. The apparatus may also include, a controller configured to detect a physical defect of the electrode sheet based on a signal transmitted from the plurality of cameras. The apparatus may also include a plurality of actuators configured to move the plurality of guide rollers in a width direction of the electrode sheet.

SERVER, AND METHOD FOR DIAGNOSING ACTIVE AREA OF BATTERY CELL

NºPublicación:  US20260118436A1 30/04/2026
Solicitante: 
LG ENERGY SOLUTION LTD [KR]
LG ENERGY SOLUTION, LTD.
US_20260118436_A1

Resumen de: US20260118436A1

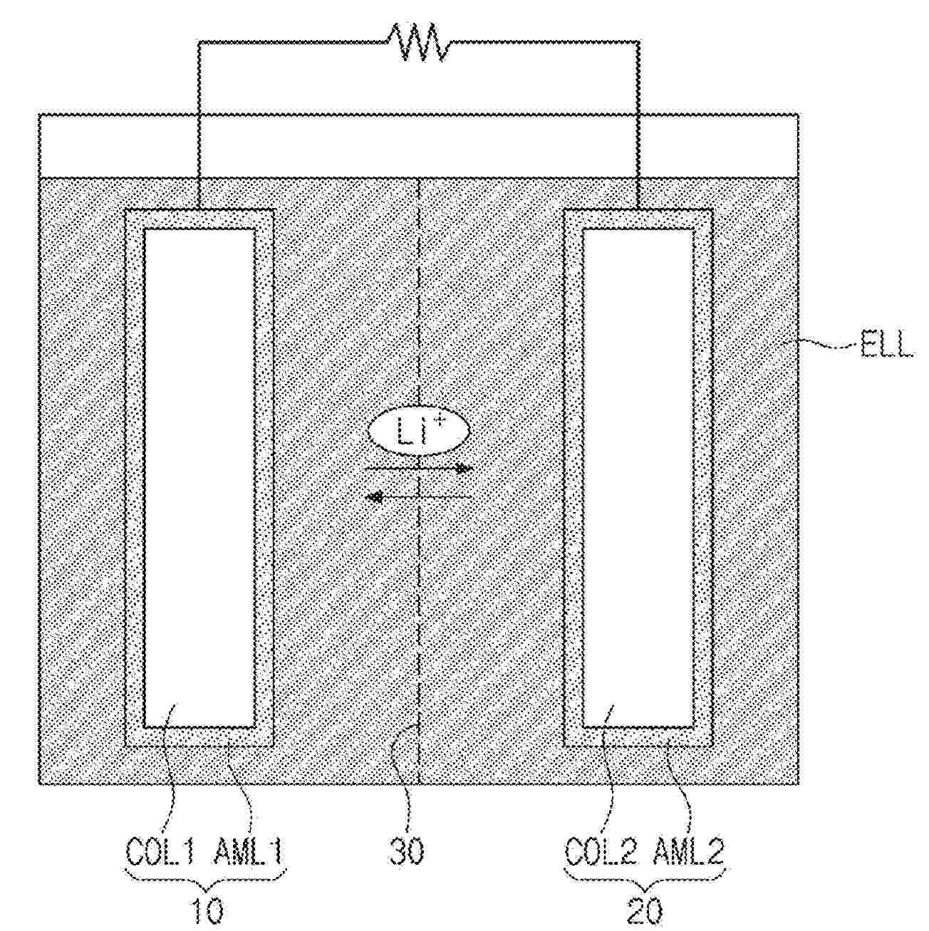
A method for diagnosing, by a server, an active area of a battery cell including a mixed negative electrode in which a first component and a second component are mixed, the method includes acquiring impedance information of a target battery cell to be diagnosed, by performing electrochemical impedance spectroscopy on the battery cell; acquiring, on the basis of the impedance information, information about a change in impedance according to a frequency; and diagnosing an active area of the target battery cell on the basis of the information about the change in impedance.

POSITIVE ELECTRODE MATERIAL AND POSITIVE ELECTRODE MATERIAL PRECURSOR FOR MAGNESIUM STORAGE BATTERY, METHOD FOR PRODUCING POSITIVE ELECTRODE MATERIAL PRECURSOR AND METHOD FOR PRODUCING POSITIVE ELECTRODE MATERIAL FOR MAGNESIUM STORAGE BATTERY, AND MAGNESIUM STORAGE BATTERY

NºPublicación:  WO2026088547A1 30/04/2026
Solicitante: 
TOHOKU UNIV [JP]
\u56FD\u7ACB\u5927\u5B66\u6CD5\u4EBA\u6771\u5317\u5927\u5B66
WO_2026088547_A1

Resumen de: WO2026088547A1

Problem To provide a positive electrode material and a positive electrode material precursor for a magnesium storage battery in which operating temperature can be lowered and which has excellent cycle characteristics, a method for producing a positive electrode material precursor and a method for producing a positive electrode material for a magnesium storage battery, and a magnesium storage battery. Solution This positive electrode material for a magnesium storage battery is formed from a Mg-containing compound, has a free volume, and has a composite structure having a rock salt structure in a part of an amorphous phase. The compound preferably contains Mg and a metal oxide, and the metal oxide preferably contains Ti and Mo.

THERMAL INSULATION SHEET BETWEEN BATTERY CELLS FOR ELECTRIC AUTOMOBILE

NºPublicación:  US20260121173A1 30/04/2026
Solicitante: 
SUMITOMO RIKO COMPANY LTD [JP]
Sumitomo Riko Company Limited
US_20260121173_A1

Resumen de: US20260121173A1

0000 A thermal insulation sheet between battery cells for an electric automobile includes silica aerogel and a fiber, and has a plurality of holes on one surface and another surface in a thickness direction. A ratio of the number of holes on the one surface to the number of holes on the other surface is preferably 1.3 or more.

DOCKING DEVICE AND FORMATION SYSTEM

NºPublicación:  WO2026086352A1 30/04/2026
Solicitante: 
ZHUHAI TITANS NEW POWER ELECTRONICS CO LTD [CN]
\u73E0\u6D77\u6CF0\u5766\u65B0\u52A8\u529B\u7535\u5B50\u6709\u9650\u516C\u53F8
WO_2026086352_A1

Resumen de: WO2026086352A1

Disclosed in the present application are a docking device and a formation system. The docking device comprises a connecting assembly and a connecting base, wherein the connecting assembly comprises: a suction rod; a suction nozzle structure, which is located between the connecting base and the suction rod, one end of the suction nozzle structure being connected to the suction rod, and the other end of the suction nozzle structure being docked with the connecting base; a first clamp, which is sleeved on the suction nozzle structure and by means of which the suction nozzle structure and the connecting base are tightly clamped together and connected; and a second clamp, which is sleeved on the suction nozzle structure and by means of which the suction nozzle structure and the suction rod are tightly clamped together and connected.

METHOD FOR RECOVERING LITHIUM FROM SECONDARY BATTERIES BY MEANS OF PLASMA ELECTRIC ARC FURNACE

NºPublicación:  WO2026089194A1 30/04/2026
Solicitante: 
LNP RECYCLING CO LTD [KR]
\uC8FC\uC2DD\uD68C\uC0AC \uC5D8\uC5D4\uD53C\uB9AC\uC2F8\uC774\uD074\uB9C1
WO_2026089194_A1

Resumen de: WO2026089194A1

The present invention relates to a method for recovering lithium from secondary batteries by means of a plasma electric arc furnace, the method enabling lithium to be recovered, using plasma arc heat, at a very high recovery rate from black mass obtained by crushing secondary batteries. The method for recovering lithium from secondary batteries by means of a plasma electric arc furnace, of the present invention, comprises: a black mass production step of producing black mass through a pretreatment step of pulverizing or crushing waste lithium battery cells in order to recover lithium from waste lithium batteries; a flux addition step of adding CaO and Al2O3 to the black mass in a ratio of CaO:Al2O3 of 1-1.2 and adding CaCl2 and CaSO4 so as to adjust the molar ratio of LiCl : Li2SO4 to 1-1.2; a step of melting, in a plasma electric arc furnace, raw material to which flux is added; and a step of recovering lithium dust from the plasma electric arc furnace through a bag filter.

INTEGRATED BATTERY PACK AND ELECTRIC VEHICLE

NºPublicación:  US20260116266A1 30/04/2026
Solicitante: 
EVE ENERGY CO LTD [CN]
EVE ENERGY CO., LTD.
US_20260116266_A1

Resumen de: US20260116266A1

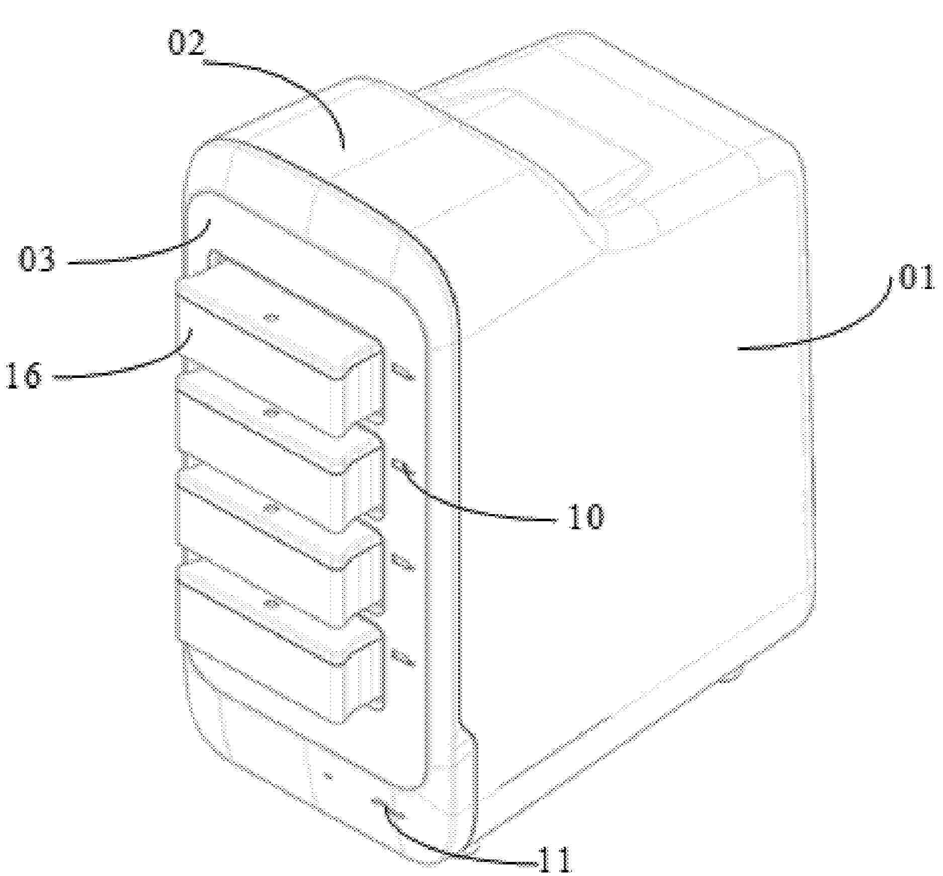
Provided are an integrated battery pack and an electric vehicle. The integrated battery pack includes a housing, a battery module, and multiple support members, where an accommodating cavity is provided in the housing, the battery module is mounted in the accommodating cavity, a pressure relief valve is disposed on the top of the battery module, the multiple support members are spaced apart on the top of the battery module and are sandwiched between the battery module and the housing, at least part of the multiple support members cover the pressure relief valve, and the at least part of the multiple support members on the pressure relief valve and the battery module enclose a pressure relief channel.

BATTERY MANAGEMENT SYSTEM

NºPublicación:  US20260121134A1 30/04/2026
Solicitante: 
TOYOTA JIDOSHA KK [JP]
TOYOTA JIDOSHA KABUSHIKI KAISHA
US_20260121134_A1

Resumen de: US20260121134A1

0000 A battery management system for managing a battery, including: a notification device that notifies price-related information regarding a trade-in price of a battery based on a state of the battery. Accordingly, the user can recognize the price-related information of the battery. The user who recognizes the price-related information of the battery can examine the replacement time of the battery after grasping the price-related information. As a result, it is possible to improve convenience when the user considers the replacement time of the battery.

BATTERY CLAMP AND MANUFACTURING METHOD THEREFOR

NºPublicación:  WO2026086074A1 30/04/2026
Solicitante: 
TSINGHUA UNIV [CN]
HEFEI INSTITUTE FOR PUBLIC SAFETY RESEARCH TSINGHUA UNIV [CN]
\u6E05\u534E\u5927\u5B66
\u6E05\u534E\u5927\u5B66\u5408\u80A5\u516C\u5171\u5B89\u5168\u7814\u7A76\u9662
WO_2026086074_A1

Resumen de: WO2026086074A1

A battery clamp and a manufacturing method therefor. The battery clamp comprises: a first clamping plate (100), a first clamping recess (102) being provided in the first clamping plate; a second clamping plate (104), a second clamping recess (106) being provided in the second clamping plate and, when the first clamping plate is mounted on the second clamping plate, the first clamping recess and the second clamping recess forming a clamping space for clamping the outer circular surface of a battery; and a telescopic support rod (108), connected to the first clamping plate or the second clamping plate. The battery clamp can effectively clamp outer circular surfaces of batteries to prevent the batteries from moving or sliding off during operation, thereby ensuring the operation stability and safety. The design of the clamping recesses takes into full account protection for the batteries, so as to avoid damage to the batteries that may be caused by excessive clamping force of conventional clamps, thereby helping to prolong the service lives of the batteries, and reducing maintenance costs.

Positive Electrode Active Material, Positive Electrode and Lithium Secondary Battery Including the Same

NºPublicación:  US20260121047A1 30/04/2026
Solicitante: 
LG ENERGY SOLUTION LTD [KR]
LG Energy Solution, Ltd.
US_20260121047_A1

Resumen de: US20260121047A1

A positive electrode active material including a lithium composite transition metal oxide containing nickel, cobalt, manganese, and aluminum. The amount of nickel among metals other than lithium in the lithium composite transition metal oxide is 90 mol. % or greater, and a molar ratio Al/Ni of aluminum to nickel is 0.015 to 0.034. A positive electrode comprises the positive electrode active material, and a lithium secondary battery comprises the positive electrode.

ELECTRODE MATERIALS, ELECTRODES, DEVICES, AND METHODS OF MAKING THEREOF

NºPublicación:  US20260116763A1 30/04/2026
Solicitante: 
DIN VENTURES LLC [US]
Din Ventures, LLC
US_20260116763_A1

Resumen de: US20260116763A1

0000 This invention relates generally to the field of energy storage, batteries, electrodes, including electrode materials and methods to make the electrodes materials comprising graphene and/or graphene with a plurality of dopants. This invention also relates to anode materials and/or cathode materials and methods to make said materials.

ELECTRODE ASSEMBLY AND METHOD OF MANUFACTURING THE ELECTRODE ASSEMBLY

Nº publicación: US20260121264A1 30/04/2026

Solicitante:

SAMSUNG SDI CO LTD [KR]
SAMSUNG SDI CO., LTD.

US_20260121264_A1

Resumen de: US20260121264A1

An electrode assembly includes an electrode plate including a coated portion where an active material is coated on sides of a composite substrate and an uncoated portion where the active material is not provided on the composite substrate. A conductor is coupled to the uncoated portion, and an insulating layer covers at least a part of each of the uncoated portion, the coated portion, and the conductor. The uncoated portion is coupled to a first side of the conductor, and the insulating layer is disposed on a second side of the conductor that is opposite to the first side.

traducir