Ministerio de Industria, Turismo y Comercio LogoMinisterior
 

Alerta

Resultados 1601 resultados
LastUpdate Última actualización 20/03/2026 [07:15:00]
pdfxls
Publicaciones de los últimos 15 días/Last 15 days publications (excluidas pubs. CN y JP /CN and JP pubs. excluded)
previousPage Resultados 1500 a 1525 de 1601 nextPage  

WASHING COMPOSITION FOR SOLID ELECTROLYTE SLURRY AND SOLID ELECTROLYTE SLURRY PREPARATION METHOD USING SAME

NºPublicación:  WO2026049129A1 05/03/2026
Solicitante: 
SAMSUNG SDI CO LTD [KR]
\uC0BC\uC131\uC5D0\uC2A4\uB514\uC544\uC774 \uC8FC\uC2DD\uD68C\uC0AC
WO_2026049129_PA

Resumen de: WO2026049129A1

This washing composition for a solid electrolyte slurry comprises a compound represented by chemical formula 1 below: In chemical formula 1, R1 is hydrogen or an alkyl group, X1 and X2 are each independently O, N, or S, and L1 is a linear or branched alkylene.

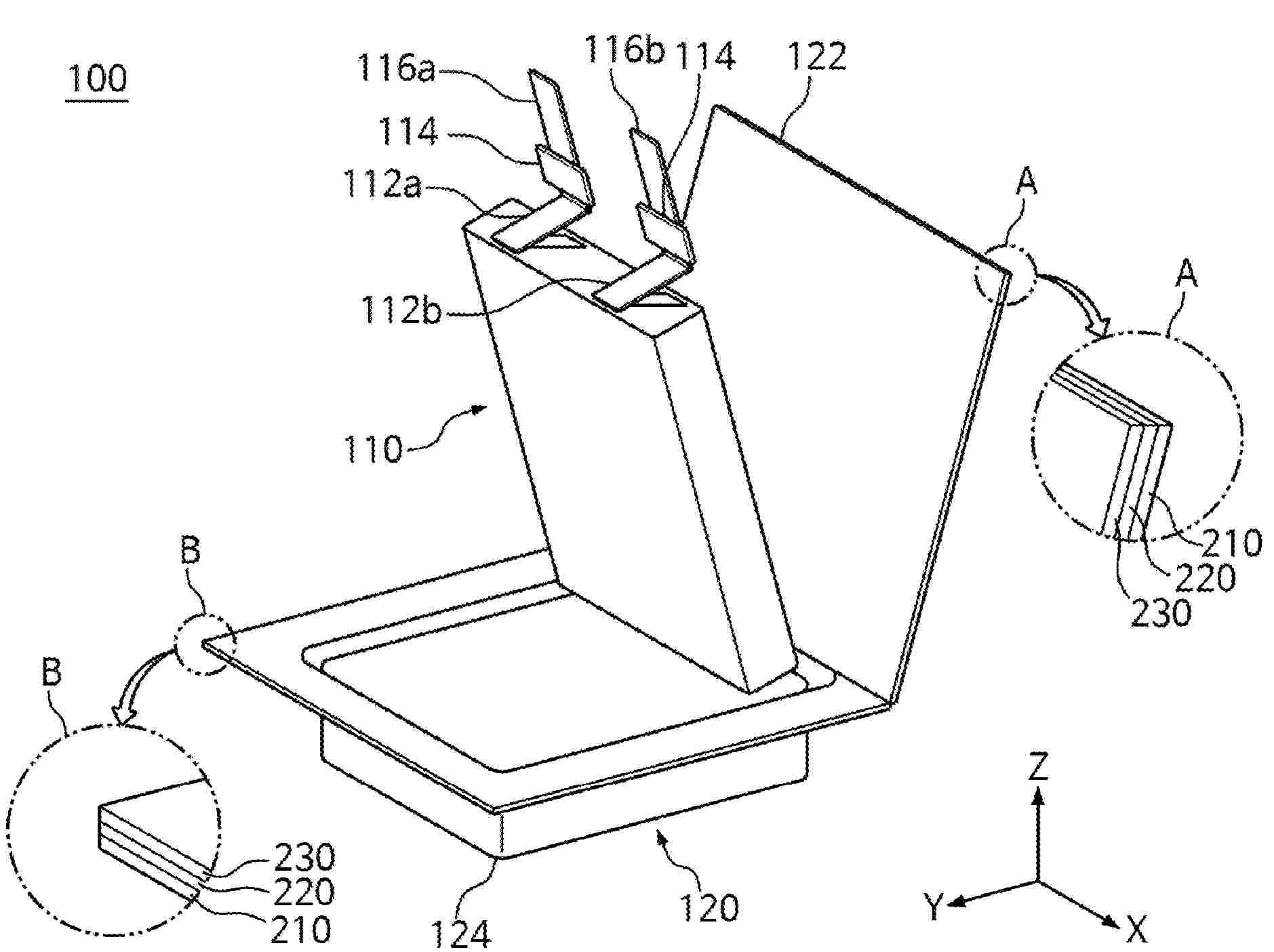
POUCH-TYPE ALL-SOLID-STATE BATTERY AND MANUFACTURING METHOD THEREFOR

NºPublicación:  WO2026049130A1 05/03/2026
Solicitante: 
SAMSUNG SDI CO LTD [KR]
\uC0BC\uC131\uC5D0\uC2A4\uB514\uC544\uC774 \uC8FC\uC2DD\uD68C\uC0AC
WO_2026049130_PA

Resumen de: WO2026049130A1

The present invention relates to a pouch-type all-solid-state battery comprising: an assembly comprising a positive electrode a solid electrolyte layer and a negative electrode; a first substrate tab protruding from the positive electrode; a second substrate tab protruding from the negative electrode; a first lead tab electrically connected to the first substrate tab; a second lead tab electrically connected to the second substrate tab; a bonding portion provided in the space between the first base tab and the first lead tab and/or the space between the second base tab and the second lead tab; and a pouch case accommodating the assembly. The first and second lead tabs are exposed to the outside of the pouch case, and the bonding portion includes a metal having a melting point lower than 250 °C.

BATTERY ASSESSMENT DEVICE

NºPublicación:  WO2026049165A1 05/03/2026
Solicitante: 
BATTERY R\uFF06D ASS OF KOREA [KR]
\uD55C\uAD6D\uBC30\uD130\uB9AC\uC5F0\uAD6C\uC870\uD569
WO_2026049165_PA

Resumen de: WO2026049165A1

A battery assessment device, according to some embodiments, may comprise: a chamber which provides a space for assessing a battery; a sensor which detects whether a fire occurs in the battery; and a water supplier which, when the sensor detects a fire, sprays a coolant into the chamber so that the battery is immersed. Accordingly, some embodiments of the present invention enable completely extinguishing a fire within a short time while preventing damage to the chamber.

FIRE SUPPRESSION SYSTEM FOR ELECTRIC VEHICLE

NºPublicación:  WO2026049116A1 05/03/2026
Solicitante: 
CHUN SUNG DO [KR]
\uC804\uC131\uB3C4
WO_2026049116_PA

Resumen de: WO2026049116A1

The present invention relates to a fire suppression system for an electric vehicle, the system being characterized by comprising: a battery pack (100) disposed and installed on the bottom of a vehicle body of an electric vehicle (10); a pack case (200) installed to surround the outside of the battery pack (100) so that a passage (210) is provided at a predetermined distance from the surface, bottom surface, and four edge surfaces of the battery pack (100); a fire extinguishing agent supply pipe (220) installed on the outer surface of one side of the pack case (200) so that one end is connected to the passage (210); and an automatic fire extinguishing spray device (300) which includes a tank filled on the inside with a fire extinguishing agent for fire suppression, such as a fire extinguishing liquid or a fire extinguishing gas, and is installed on one side of the outside of the pack case (200) by being connected to the other end of the fire extinguishing agent supply pipe (220) to inject the fire extinguishing agent filled therein into the passage (210) between the pack case (200) and the battery pack (100) by means of an opening and closing valve, operated in conjunction with a fire alarm system, when a fire occurs. The system rapidly extinguishes thermal runaway of the battery pack (100) in an early stage when a fire occurs.

BATTERY PACK AND ELECTRIC APPARATUS

NºPublicación:  WO2026045969A1 05/03/2026
Solicitante: 
BYD CO LTD [CN]
\u6BD4\u4E9A\u8FEA\u80A1\u4EFD\u6709\u9650\u516C\u53F8
WO_2026045969_PA

Resumen de: WO2026045969A1

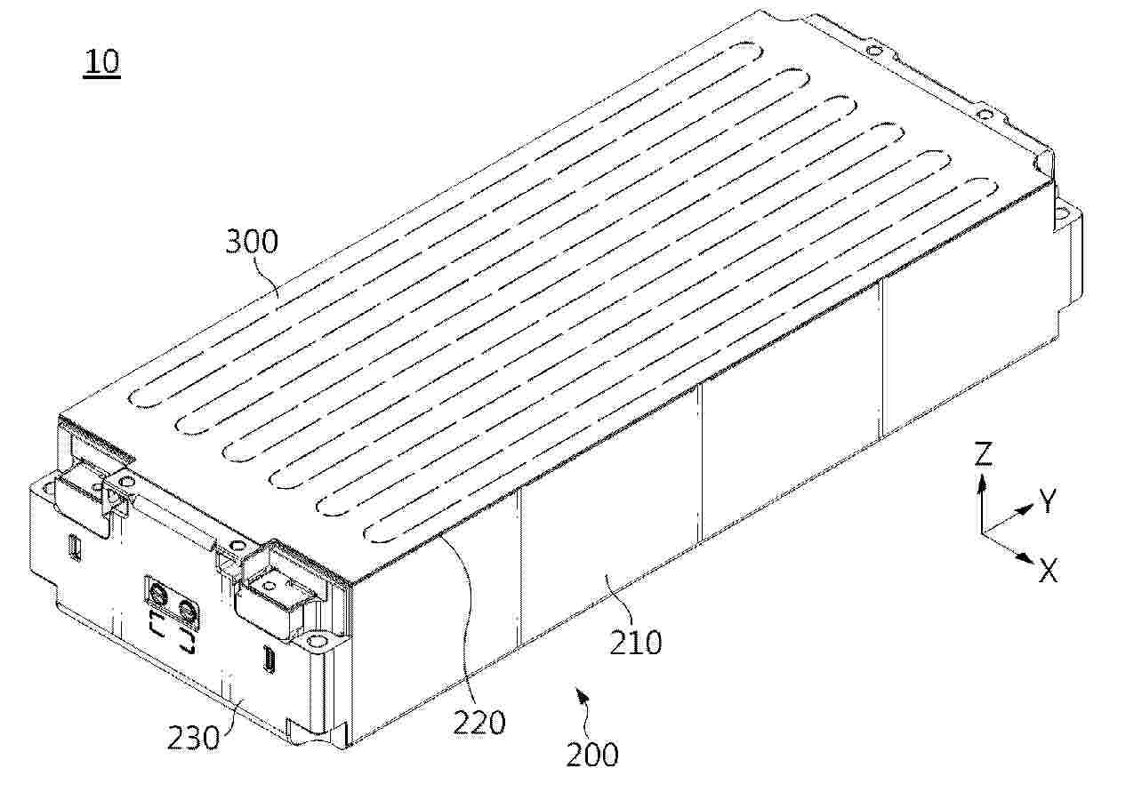
Provided in the present application are a battery pack and an electric apparatus. The battery pack comprises: a housing defining an accommodating cavity; and an energy storage device arranged in the accommodating cavity, wherein the energy storage device comprises: a packaging film, a cell module and an encapsulation layer; the cell module comprises a plurality of solid-state cells arranged side by side in a first direction and electrically connected to each other, electrical connection parts of the plurality of solid-state cells being covered by means of the encapsulation layer; the packaging film wraps the cell module; and the cell module further has a first connection terminal and a second connection terminal which extend from the packaging film. In the battery pack of the present application, the electrical connection parts of the plurality of solid-state cells of the cell module are fixed by means of the encapsulation layer, then the entire cell module is packaged by the packaging film, such that the formed battery pack has only one packaging film. More solid-state cells can be accommodated in the battery pack, thereby improving the utilization rate of the internal space of the battery pack, and thus improving the energy density of the battery pack.

HEAT EXCHANGE ASSEMBLY, BATTERY DEVICE, ENERGY STORAGE DEVICE, AND ELECTRICAL DEVICE

NºPublicación:  WO2026045924A1 05/03/2026
Solicitante: 
CONTEMPORARY AMPEREX TECH CO LIMITED [CN]
\u5B81\u5FB7\u65F6\u4EE3\u65B0\u80FD\u6E90\u79D1\u6280\u80A1\u4EFD\u6709\u9650\u516C\u53F8
WO_2026045924_PA

Resumen de: WO2026045924A1

Embodiments of the present disclosure provide a heat exchange assembly, a battery device, an energy storage device, and an electrical device. The battery device comprises a housing, a battery cell assembly, and a heat exchange assembly. The battery cell assembly is arranged in the housing. The heat exchange assembly comprises at least two heat exchange members. At least one heat exchange member is configured as a flexible member. The at least two heat exchange members are stacked, and at least one medium flow channel is formed between the heat exchange members. The at least one medium flow channel is used to conduct a heat exchange medium. The heat exchange medium is used to perform heat exchange with the battery cell assembly. The heat exchange assembly of the battery device provided in the embodiments of the present disclosure comprises a flexible member. The mass of the flexible member is relatively light, thereby reducing the mass of the heat exchange assembly and reducing the production cost of the heat exchange assembly. In addition, this configuration enables the heat exchange assembly to be better fitted to the housing and/or the battery cell assembly, thereby improving the heat exchange efficiency and heat exchange performance of the heat exchange assembly.

ELECTROCHEMICAL DEVICE AND ELECTRONIC DEVICE

NºPublicación:  WO2026045770A1 05/03/2026
Solicitante: 
NINGDE AMPEREX TECH LIMITED [CN]
\u5B81\u5FB7\u65B0\u80FD\u6E90\u79D1\u6280\u6709\u9650\u516C\u53F8
WO_2026045770_A1

Resumen de: WO2026045770A1

An electrochemical device and an electronic device. The electrochemical device comprises a negative electrode sheet and an electrolyte; the negative electrode sheet comprises a negative electrode material layer, the negative electrode material layer comprises a silicon-carbon negative electrode material, the silicon-carbon negative electrode material comprises a doped element, and the doped element includes at least one of B, P, or S; the electrolyte comprises a compound of formula I and fluoroethylene carbonate. The electrolyte simultaneously comprising the compound of formula (I) and fluoroethylene carbonate is applied to the electrochemical device, thereby improving the cycle performance and energy density of the electrochemical device.

TEMPERATURE CONTROL SYSTEM, METHOD AND DEVICE FOR BATTERY PACK, STORAGE MEDIUM, AND VEHICLE

NºPublicación:  WO2026045740A1 05/03/2026
Solicitante: 
BYD COMPANY LTD [CN]
\u6BD4\u4E9A\u8FEA\u80A1\u4EFD\u6709\u9650\u516C\u53F8
WO_2026045740_PA

Resumen de: WO2026045740A1

The present invention relates to the technical field of new energy vehicles. Disclosed are a temperature control system, method and device for a battery pack, a storage medium, and a vehicle. The temperature control system comprises a temperature control component, and the battery pack comprises two battery modules. When an abnormal temperature fault occurs in one of the battery modules, power is supplied by means of the other battery module, and the battery pack is cooled by means of the temperature control component.

NEGATIVE ELECTRODE SHEET, SECONDARY BATTERY, ELECTRIC DEVICE, AND NEGATIVE ELECTRODE ACTIVE MATERIAL AND PREPARATION METHOD THEREFOR

NºPublicación:  WO2026045198A1 05/03/2026
Solicitante: 
CONTEMPORARY AMPEREX TECH CO LIMITED [CN]
\u5B81\u5FB7\u65F6\u4EE3\u65B0\u80FD\u6E90\u79D1\u6280\u80A1\u4EFD\u6709\u9650\u516C\u53F8
WO_2026045198_A1

Resumen de: WO2026045198A1

Provided in the present disclosure are a negative electrode sheet, a secondary battery, an electric device, and a negative electrode active material and a preparation method therefor. The negative electrode sheet comprises a negative electrode current collector and a negative electrode film layer located on at least one surface of the negative electrode current collector, wherein the negative electrode film layer comprises a negative electrode active material. The negative electrode active material comprises first artificial graphite and second artificial graphite, wherein the first artificial graphite comprises primary particles, and the second artificial graphite comprises secondary particles. The powder OI value of the negative electrode active material is 2.5-6.5; and the powder compaction density of the negative electrode active material under a pressure of 50,000 N is 1.75-1.94 g/cc.

THERMAL SUPPRESSION MODULE, BATTERY PACK AND ELECTRONIC DEVICE

NºPublicación:  WO2026045184A1 05/03/2026
Solicitante: 
BYD COMPANY LTD [CN]
\u6BD4\u4E9A\u8FEA\u80A1\u4EFD\u6709\u9650\u516C\u53F8
WO_2026045184_PA

Resumen de: WO2026045184A1

The present disclosure provides a thermal suppression module, a battery pack and an electronic device. The thermal suppression module comprises a composite layer. The composite layer comprises heat insulation layers, heat conduction layers and a heat dissipation layer, wherein the heat conduction layers are arranged on two sides of the heat dissipation layer, and the heat insulation layers are arranged on the sides of the heat conduction layers away from the heat dissipation layer. The thermal suppression module provided by the present disclosure can solve the problem in the prior art that a thermal suppression module is still thick and cannot take into account both the energy density and the effect of suppressing thermal spreading.

SECONDARY BATTERY, NEGATIVE ELECTRODE MATERIAL FOR SECONDARY BATTERY, AND METHOD FOR PRODUCING SAME

NºPublicación:  WO2026048878A1 05/03/2026
Solicitante: 
INST OF SCIENCE TOKYO [JP]
\u56FD\u7ACB\u5927\u5B66\u6CD5\u4EBA\u6771\u4EAC\u79D1\u5B66\u5927\u5B66
WO_2026048878_PA

Resumen de: WO2026048878A1

The present invention addresses the problem of providing a carbon-air secondary battery in which deterioration of a negative electrode (fuel electrode) is suppressed, and which has high charge/discharge efficiency and discharge capacity, has long lifespan, and requires less time and effort for maintenance. A secondary battery 1 has a cell 20 comprising: a negative electrode 21; a positive electrode 22; and an electrolyte 23 which is composed of a gas-impermeable and ion-conductive solid oxide and installed in contact with the negative electrode 21 and the positive electrode 22. During charging, carbon dioxide is electrolyzed on the surface of the negative electrode 21, and carbon is deposited on the negative electrode 21, which is a closed system. A negative electrode material constituting the negative electrode 21 contains a mixed porous body of a metal and/or an oxide thereof and an ion-conductive oxide. The volume ratio of the metal in the mixed porous body is 30% or more, and the negative electrode material contains an oxygen non-stoichiometric oxide.

LITHIUM-ION BATTERY AND PREPARATION METHOD THEREFOR, AND ELECTRIC DEVICE

NºPublicación:  WO2026045147A1 05/03/2026
Solicitante: 
BYD COMPANY LTD [CN]
\u6BD4\u4E9A\u8FEA\u80A1\u4EFD\u6709\u9650\u516C\u53F8
WO_2026045147_PA

Resumen de: WO2026045147A1

A lithium-ion battery and a preparation method therefor, and an electric device. The lithium-ion battery comprises: a negative electrode sheet, wherein the negative electrode sheet comprises a negative electrode active material and a solid electrolyte interface layer, the solid electrolyte interface layer comprises a first film layer and a second film layer, the first film layer covers at least part of the surface of the negative electrode active material, and the second film layer covers at least part of the surface of the side of the first film layer away from the negative electrode active material; and the oxygen content of the second film layer is greater than the oxygen content of the first film layer. The solid electrolyte interface layer in the lithium-ion battery has a double-layer structure and strong stability, and can reduce active lithium loss and lithium ion transmission impedance during cycling, thereby improving the cycle stability of the battery.

BATTERY ASSEMBLY AND POWER APPARATUS

NºPublicación:  WO2026045137A1 05/03/2026
Solicitante: 
BYD COMPANY LTD [CN]
\u6BD4\u4E9A\u8FEA\u80A1\u4EFD\u6709\u9650\u516C\u53F8
WO_2026045137_PA

Resumen de: WO2026045137A1

A power apparatus, comprising a battery assembly. The battery assembly comprises Q battery units arranged in sequence, wherein a heat-absorbing member is provided between any two adjacent battery units, each battery unit comprises N cells arranged in sequence, Q≥2, and N≥1. By controlling the mass of a heat-absorbing member to satisfy a relational expression defined in the present application, it can be ensured that the heat-absorbing member can effectively suppress thermal diffusion from a cell undergoing thermal runaway, without significantly reducing the space utilization rate of the battery assembly.

INSULATING LAYER, INSULATING FILM, CURING BONDING METHOD, BATTERY PACK AND ELECTRIC DEVICE

NºPublicación:  WO2026045142A1 05/03/2026
Solicitante: 
BYD CO LTD [CN]
\u6BD4\u4E9A\u8FEA\u80A1\u4EFD\u6709\u9650\u516C\u53F8
WO_2026045142_PA

Resumen de: WO2026045142A1

The present application relates to the technical field of batteries. Specifically disclosed are an insulating layer, an insulating film, a curing bonding method, a battery pack and an electric device. The insulating layer comprises: an insulating base film layer; and a curing layer, wherein the curing layer is disposed on at least part of a surface of the insulating base film layer, and the curing layer comprises a bonding material. The bonding material comprises at least one of a compound as represented by formula I and a compound as represented by formula II, wherein R1 and R2 are respectively (III) or (IV); M is a group formed by means of a reaction from a curing agent into the compound as represented by formula I; Q1 is a group formed by means of a reaction from a first active monomer into the compound represented by formula I; Q2 is a group formed by means of a reaction from a second active monomer into the compound as represented by formula II; and Q3 is a group formed by means of a reaction from a third active monomer into the compound as represented by formula II. The insulating layer provided in the present application can provide reliable high-temperature (500°C) insulation protection for a metal component of a battery pack. In addition, the insulating layer of the present application has great bonding performance to a metal component of a battery pack.

SOLID ELECTROLYTE LAYER AND SOLID SECONDARY BATTERY

NºPublicación:  WO2026049212A1 05/03/2026
Solicitante: 
SAMSUNG SDI CO LTD [KR]
\uC0BC\uC131\uC5D0\uC2A4\uB514\uC544\uC774 \uC8FC\uC2DD\uD68C\uC0AC
WO_2026049212_PA

Resumen de: WO2026049212A1

Provided is a solid secondary battery in which performance degradation due to charging and discharging is suppressed without the application of external pressure, or under low confining pressure. The solid electrolyte layer has an assumed shear strength of 15-70 MPa.

ELECTRODE ASSEMBLY WHEREIN SEPARATOR IS FOLDED

NºPublicación:  WO2026049243A1 05/03/2026
Solicitante: 
LG ENERGY SOLUTION LTD [KR]
\uC8FC\uC2DD\uD68C\uC0AC \uC5D8\uC9C0\uC5D0\uB108\uC9C0\uC194\uB8E8\uC158
WO_2026049243_PA

Resumen de: WO2026049243A1

The present invention provides a development view of a separator stacked together with a first electrode and a second electrode, and a structure of an electrode assembly including the separator. According to the present invention, a first region and a second region, which are alternately repeated and connected in series, are defined in the development view of the separator, and the separator is folded so that the first region and the second region alternately and repeatedly overlap each other in a thickness direction.

METHOD FOR PREPARING POSITIVE ELECTRODE ACTIVE MATERIAL FOR LITHIUM SECONDARY BATTERY

NºPublicación:  WO2026049231A1 05/03/2026
Solicitante: 
ECOPRO BM CO LTD [KR]
\uC8FC\uC2DD\uD68C\uC0AC \uC5D0\uCF54\uD504\uB85C\uBE44\uC5E0
WO_2026049231_PA

Resumen de: WO2026049231A1

The present specification relates to a method for preparing a positive electrode active material for a lithium secondary battery, and more specifically to a method for preparing a positive electrode active material for a lithium secondary battery, the positive electrode active material having excellent electrical conductivity and energy density.

BATTERY CELL AGING DEVICE

NºPublicación:  WO2026049230A1 05/03/2026
Solicitante: 
LG ENERGY SOLUTION LTD [KR]
\uC8FC\uC2DD\uD68C\uC0AC \uC5D8\uC9C0\uC5D0\uB108\uC9C0\uC194\uB8E8\uC158
WO_2026049230_PA

Resumen de: WO2026049230A1

The present invention relates to a battery cell aging device comprising: a main body having a hollow in which a battery cell is accommodated; a heater positioned on the inner surface or in the interior of the main body to control the temperature of the battery cell; and a sensor being in contact with a part of the battery cell to measure the temperature thereof.

NEGATIVE ELECTRODE FOR LITHIUM METAL BATTERY AND LITHIUM METAL BATTERY COMPRISING SAME

NºPublicación:  WO2026049196A1 05/03/2026
Solicitante: 
SAMSUNG SDI CO LTD [KR]
\uC0BC\uC131\uC5D0\uC2A4\uB514\uC544\uC774 \uC8FC\uC2DD\uD68C\uC0AC
WO_2026049196_PA

Resumen de: WO2026049196A1

The present invention relates to a negative electrode for a lithium metal battery and a lithium metal battery including same. More specifically, the negative electrode for a lithium metal battery according to the concept of the present invention includes: a negative electrode current collector; and a negative electrode host layer on the negative electrode current collector, wherein the negative electrode host layer includes a carbon material and a coating layer on the surface of the carbon material. The coating layer includes a lithiophilic material. The negative electrode host layer has a structure including a plurality of pores.

COMPOSITE SODIUM IRON PHOSPHATE AND PRECURSOR THEREOF, PREPARATION METHOD, AND BATTERY

NºPublicación:  WO2026045756A1 05/03/2026
Solicitante: 
GUANGZHOU TINCI MATERIALS TECH CO LTD [CN]
\u5E7F\u5DDE\u5929\u8D50\u9AD8\u65B0\u6750\u6599\u80A1\u4EFD\u6709\u9650\u516C\u53F8
WO_2026045756_PA

Resumen de: WO2026045756A1

The present invention relates to the technical field of battery materials. Disclosed are a composite sodium iron phosphate material and a precursor thereof, and a preparation method. The chemical formula of the composite sodium iron phosphate material is Na4Fex(PO4)2(P2O7)/C, wherein 2.92≤x≤3; the degree of crystallinity of the composite sodium iron phosphate material is C0≥3.895. The precursor is prepared by means of a specific iron source (ammonium ferrous phosphate, ferric oxalate, or ferric citrate). During the preparation of the precursor, no carbon source is added. During the preparation of the composite sodium iron phosphate material from the precursor, a carbon source and a sodium source are added and the mixture is sintered to obtain the composite sodium iron phosphate material having high compaction density. In addition, the composite sodium iron phosphate material has good electrochemical performance. The present invention further claims a battery comprising the composite sodium iron phosphate material.

BATTERY CELL, BATTERY DEVICE, AND ELECTRIC DEVICE

NºPublicación:  WO2026045672A1 05/03/2026
Solicitante: 
CONTEMPORARY AMPEREX TECH CO LIMITED [CN]
\u5B81\u5FB7\u65F6\u4EE3\u65B0\u80FD\u6E90\u79D1\u6280\u80A1\u4EFD\u6709\u9650\u516C\u53F8
WO_2026045672_PA

Resumen de: WO2026045672A1

Provided in the present application are a battery cell, a battery device, and an electric device. The battery cell comprises a housing, an electrode assembly, a blocking member, and a temperature measurement unit. The housing has an accommodating space, the housing comprising a first wall portion, the first wall portion having a through hole, and the through hole being in communication with the accommodating space. The electrode assembly is accommodated in the accommodating space. The blocking member blocks the through hole, and the blocking member comprises an extension portion extending into the accommodating space. The temperature measurement unit is disposed on the extension portion. The blocking member blocks the through hole, so that the accommodating space can be sealed. By arranging the temperature measurement unit on the extension portion of the blocking member extending into the accommodating space, the temperature measurement unit can be closer to the electrode assembly located in the accommodating space, thereby reducing the lag time for the temperature measurement unit to measure the internal temperature of the battery cell, enabling the temperature measurement unit to more quickly reflect the internal temperature of the battery cell, facilitating temperature monitoring of the battery cell, reducing the risk of thermal runaway of the battery cell due to temperature imbalance, and improving the reliability of the battery cell.

SECONDARY BATTERY AND ELECTRONIC DEVICE

NºPublicación:  WO2026045624A1 05/03/2026
Solicitante: 
NINGDE AMPEREX TECH LIMITED [CN]
\u5B81\u5FB7\u65B0\u80FD\u6E90\u79D1\u6280\u6709\u9650\u516C\u53F8
WO_2026045624_PA

Resumen de: WO2026045624A1

A secondary battery and an electronic device. The secondary battery comprises a metal housing, a wound electrode assembly, a first tab, and a first layer. The housing comprises a first wall and a first conductive member provided on the first wall. The first tab comprises a first extension segment, a second extension segment, and a third extension segment. The first extension segment comprises a first end connected to a first electrode sheet. The first extension segment extends from the first end toward a first side in a thickness direction of the electrode assembly and is inclined relative to the thickness direction. The second extension segment comprises a second end connected to the first extension segment. Viewed in a third direction, the second extension segment extends from the second end toward the first side and is inclined relative to the thickness direction. The third extension segment is electrically connected to the first conductive member and comprises a third end connected to the second extension segment. The distance between the third end and the first wall is greater than the distance between the second end and the first wall. The first layer is disposed on a surface of the second extension segment facing the electrode assembly and extends to the first extension segment and the third extension segment. Reliability and service life can be improved.

POSITIVE ELECTRODE ACTIVE MATERIAL FOR LITHIUM ION SECONDARY BATTERY, AND LITHIUM ION SECONDARY BATTERY

NºPublicación:  WO2026049010A1 05/03/2026
Solicitante: 
SUMITOMO METAL MINING CO [JP]
\u4F4F\u53CB\u91D1\u5C5E\u9271\u5C71\u682A\u5F0F\u4F1A\u793E
WO_2026049010_PA

Resumen de: WO2026049010A1

The present invention provides a positive electrode active material for a lithium ion secondary battery, the positive electrode active material having resistance against high voltage, being sufficient for practical use in a lithium ion secondary battery, and having a high battery capacity. The positive electrode active material for a lithium ion secondary battery has particles of a lithium-nickel composite oxide and a coating layer for coating at least a part of the surfaces of the particles of the lithium-nickel composite oxide. As elements other than oxygen, the lithium-nickel composite oxide contains Li, Ni, Co, and optionally an element M. The ratio of the amounts of substance of these elements is expressed as Li:Ni:Co:M = t:1-x-y:x:y (where 0.95 ≤ t ≤1.20, 0 < x ≤ 0.22, and 0 ≤ y ≤ 0.15). The coating layer contains a compound containing Li, P, and an element X (where the element X is at least one element selected from the group consisting of elements forming a hexavalent cation).

POWER STORAGE UNIT AND POWER STORAGE DEVICE

NºPublicación:  WO2026048970A1 05/03/2026
Solicitante: 
GS YUASA INT LTD [JP]
\u682A\u5F0F\u4F1A\u793E\uFF27\uFF33\u30E6\u30A2\u30B5
WO_2026048970_PA

Resumen de: WO2026048970A1

This power storage unit comprises: a first electrode body and a second electrode body in each of which a positive electrode plate having a positive electrode active material layer formed on a positive electrode current collector foil and a negative electrode plate having a negative electrode active material layer formed on a negative electrode current collector foil are stacked; a first electrolyte and a second electrolyte composed of a potassium ion nonaqueous electrolyte or a sodium ion nonaqueous electrolyte; and a container that accommodates the first electrode body, the second electrode body, the first electrolyte, and the second electrolyte. The container integrally includes a first accommodation part that accommodates the first electrode body and the first electrolyte in a state in which the negative electrode plate of the first electrode body is electrically connected, and a second accommodation part that accommodates the second electrode body and the second electrolyte in a state in which the positive electrode plate of the second electrode body is electrically connected. The first accommodation part includes a positive electrode terminal insulated from the first accommodation part and electrically connected to the positive electrode plate of the first electrode body. The second accommodation part includes a negative electrode terminal insulated from the second accommodation part and electrically connected to the negative electrode plate of the second electrode body.

POWER STORAGE ELEMENT

Nº publicación: WO2026048969A1 05/03/2026

Solicitante:

GS YUASA INT LTD [JP]
\u682A\u5F0F\u4F1A\u793E\uFF27\uFF33\u30E6\u30A2\u30B5

WO_2026048969_PA

Resumen de: WO2026048969A1

This power storage element comprises: an electrode body in which a positive electrode plate having a positive electrode active material layer formed on a positive electrode current collector foil, is stacked with a negative electrode plate having a negative electrode active material layer formed on a negative electrode current collector foil; an electrolyte comprising a potassium ion nonaqueous electrolyte or a sodium ion nonaqueous electrolyte; a rectangular container that houses the electrode body and electrolyte; a positive electrode terminal that is disposed outside the rectangular container and is electrically connected to the positive electrode plate; and a negative electrode terminal that is disposed outside the rectangular container and is electrically connected to the negative electrode plate. The positive electrode terminal and negative electrode terminal are formed from aluminum or an aluminum alloy.

traducir