Ministerio de Industria, Turismo y Comercio LogoMinisterior
 

Alerta

Resultados 1604 resultados
LastUpdate Última actualización 11/11/2025 [07:13:00]
pdfxls
Publicaciones de los últimos 15 días/Last 15 days publications (excluidas pubs. CN y JP /CN and JP pubs. excluded)
previousPage Resultados 1525 a 1550 de 1604 nextPage  

Secondary battery

NºPublicación:  KR20250154000A 28/10/2025
Solicitante: 
삼성에스디아이주식회사
CN_120834248_PA

Resumen de: US2025329771A1

A secondary battery includes: an electrode assembly comprising a first electrode plate, a second electrode plate, and a separator, the electrode assembly being formed such that a first uncoated portion connected to the first electrode plate is located on one side of the electrode assembly in a width direction and a second uncoated portion connected to the second electrode plate is on an opposite side of the electrode assembly in the width direction; a pouch unit accommodating the electrode assembly; a first electrode terminal electrically connected to the first uncoated portion and located on one side of the pouch unit in the width direction; and a second electrode terminal electrically connected to the second uncoated portion and located on an opposite side of the pouch unit in the width direction.

APPARATUS AND OPERATION METHOD FOR INTEGRATED CONTROL OF WASTE BATTERY RECYCLING PRETREATMENT SYSTEM

NºPublicación:  KR20250154030A 28/10/2025
Solicitante: 
주식회사에바싸이클

Resumen de: KR20250154030A

본 발명은 폐배터리를 재활용 할 때 전처리를 실행하는 시스템과, 그 방법에 관한 것이다. 본 발명의 일 실시 예는, 폐배터리 셀의 이송, 투입, 블랙 파우더 추출 과정에서 장치의 동작을 제어하는 제어 모듈; 및 상기 제어 모듈의 명령에 대응하여 폐배터리 셀을 파쇄하고 건조시키며, 건조된 폐배터리 셀 조각을 1차 선별하고 미분쇄한 다음, 2차 선별을 통해 블랙 파우더를 추출하는 추출 모듈;을 포함한다.

CYLINDRICAL BATTERY

NºPublicación:  HU5946U 28/10/2025
Solicitante: 
448000 JINGMEN HUBEI
448000 Jingmen, Hubei
DE_202022003049_U1

Resumen de: US2024250355A1

Provided is a cylindrical battery which includes a case, a positive pole and an insulation sealing member. The case is a cylindrical groove structure. The positive pole is riveted to the case, and the insulation sealing member is arranged between the positive pole and the case. The insulation sealing member comprises an upper insulation sealing member and a lower insulation sealing member, the upper insulation sealing member is arranged outside the case and is engaged with and connected to the case, and the lower insulation sealing member is arranged inside the case. At least one of the upper insulation sealing member and the lower insulation sealing member is provided with an annular protrusion block, the annular protrusion block fits closely against an outer sidewall of a portion, passing through the case, of the positive pole.

APPARATUS FOR MEASURING THICKNESS OF SEALING PORTION OF SECONDARY BATTERY

NºPublicación:  HU5941U 28/10/2025
Solicitante: 
SK ON CO LTD [KR]
HANA TECH CO LTD [KR]
SK ON Co., Ltd,
HANA TECHNOLOGY CO., Ltd
KR_20240025836_PA

Resumen de: KR20240025836A

The present disclosure relates to an apparatus for measuring the thickness of a sealing part of a secondary battery, comprising: a non-contact measuring part including a pair of sensors disposed to face each other; and a control part for detecting thickness information of the sealing part of the secondary battery collected by the non-contact measuring part, wherein the non-contact measuring part measures the thickness in a non-contact manner by interposing the sealing part of the secondary battery between the pair of sensors. In addition, the present disclosure may include a method of measuring the thickness of the sealing portion of the secondary battery using the pair of sensors described above.

BATTERY MODULE

NºPublicación:  HU5948U 28/10/2025
Solicitante: 
SK ON CO LTD [KR]
SK ON Co., Ltd
KR_20240113084_PA

Resumen de: KR20240113084A

The present invention relates to a battery module comprising: a plurality of battery cells; and a housing that accommodates the plurality of battery cells; wherein the housing includes a first material and a second material, the first material and the second material are in contact with each other to form a joint area, a welded joint portion is formed in the joint area by welding, and a surface treatment area is formed in the joint area by laser irradiation. Accordingly, the welding position accuracy between the materials can be increased by enhancing the recognition rate of the automatic position searching function. As a result, the welding performance is enhanced, and the quality of the battery module can be improved.

BATTERY

NºPublicación:  HU5944U 28/10/2025
Solicitante: 
EVE POWER CO LTD [CN]
HUIZHOU EVE POWER CO LTD [CN]
EVE POWER CO., LTD,
HUIZHOU EVE POWER CO., LTD
DE_212022000395_PA

Resumen de: US2024304954A1

A current collecting plate provided in embodiments of the present application includes an electrode tab connector configured to electrically connected to a battery cell. A plurality of battery cell escaping slots are provided on an outer peripheral wall of the electrode tab connector, and the plurality of battery cell escaping slots are spaced from each other. An electrode tab protruding end is provided between adjacent two battery cell escaping slots, and an isolation space is defined between the electrode tab protruding end and the battery cell. The battery cell escaping slots spaced from each other are provided in the outer peripheral wall of the electrode tab connector.

CYLINDRICAL BATTERY

NºPublicación:  HU5953U 28/10/2025
Solicitante: 
EVE POWER CO LTD [CN]
EVE POWER CO., LTD
US_2024304903_PA

Resumen de: US2024304903A1

A cylindrical battery and a battery pack are provided in embodiments of the application, which relates to the field of battery technology. The cylindrical battery includes a housing, a first end cover, a second end cover, a battery cell, and a pole post. The battery cell is accommodated in the housing, and the first end cover and the second end cover seal at ends of the housing, respectively. The pole post is connected with the battery cell and extended through the first end cover. The pole post is cylindrical, a diameter of the pole post is Φ1, and a diameter of the first end cover is Φ2, wherein Φ1/Φ2≤34%, and Φ1≥12 mm.

COVER PLATE ASSEMBLY

NºPublicación:  HU5945U 28/10/2025
Solicitante: 
EVE POWER CO LTD [CN]
EVE POWER CO., LTD
DE_212023000184_PA

Resumen de: WO2024183236A1

Provided are a cover plate assembly applied to a cylindrical battery and a battery pack comprising the cover plate assembly. The cover plate assembly comprises: a positive electrode cover plate, provided with a liquid injection hole passing therethrough in a thickness direction of the positive electrode cover plate; and a sealing member, sealingly connected inside the liquid injection hole, wherein the sealing member can be melted by heat, and after the sealing member is melted, the liquid injection hole relieves pressure.

FORMING PLANT

NºPublicación:  HU5950U 28/10/2025
Solicitante: 
ZHUHAI TITANS NEW POWER ELECTRONICS CO LTD [CN]
ZHUHAI TITANS NEW POWER ELECTRONICS CO., LTD
ES_1317741_U

Resumen de: ES1317741U

A training device, the training device comprising: a cabinet (1), a cabinet space (11) being arranged within the cabinet (1), the cabinet (1) being configured to be placed in a workshop space (101); a cabinet insulation layer (2), the cabinet insulation layer (2) being arranged within the cabinet space (11) and dividing the cabinet space (11) into a first cabinet space (111) and a second cabinet space (112), the second cabinet space (112) being the space in the cabinet space (11) distinct from the first cabinet space (111); a training module (3), the training module (3) being arranged in the first cabinet space (111); a power supply module (4), the power supply module (4) being arranged in the second cabinet space (112), and the power supply module (4) is electrically connected to the training module (3); the cabinet insulation layer (2) is configured to be connected with a workshop insulation layer (102) within the workshop space (101) so as to form an integral insulation layer (10), wherein the integral insulation layer (10) is configured to divide the workshop space (101) into a first workshop space (1011) and a second workshop space (1012), the first cabinet space (111) being located in the first workshop space (1011), the second cabinet space (112) being located in the second workshop space (1012). (Machine-translation by Google Translate, not legally binding)

AN EFFICIENT AND ENERGY-SAVING SYSTEM FOR BATTERY FORMATTING AND CLASSIFICATION

NºPublicación:  HU5952U 28/10/2025
Solicitante: 
JIANGSU KATOP AUTOMATION CO LTD [CN]
Jiangsu KATOP Automation Co., Ltd
SE_2430296_A1

Resumen de: SE2430296A1

Provided herein is an efficient and energy-saving system for battery formation and grading, which includes a busbar, a charging module, a discharging module, a load transfer unit, a limiting unit and a formation fixture. The busbar is connected to an external constant current source to provide working power for the charging module and the discharging module. The formation fixture is used for loading a plurality of lithium batteries to be formation and grading. The load transfer unit is used for moving a lithium battery from a current station to a next station. The limiting unit is used for intercepting and positioning the lithium battery when it reaches a designated station, and releasing the lithium battery when it is about to move to the next station. Advantageously, the charging module and the discharging module are arranged independently, so that all the charging module and the discharging module can work simultaneously without forming any idle charging circuit or discharging circuit, thereby reducing the energy loss and system cost due to idle circuits.

BATTERY WELDING APPARATUS

NºPublicación:  HU5947U 28/10/2025
Solicitante: 
HUIZHOU JINYUAN PREC AUTOMATION EQUIPMENT CO LTD [CN]
Huizhou Jinyuan Precision Automation Equipment Co., Ltd
DE_212024000057_PA

Resumen de: WO2024250898A1

A battery soldering apparatus, comprising a soldering assembly (1), a first limiting assembly (2), a second limiting assembly (3), and a rotating assembly (4), wherein the first limiting assembly comprises a first rolling member (21); the second limiting assembly comprises a second rolling member (31); the second rolling member and the first rolling member are spaced apart from each other, and the first rolling member and the second rolling member are in rolling connection with the side wall of a housing; the rotating assembly is located on one side of the first limiting assembly. The apparatus has high soldering precision and improves the soldering quality and the sealing performance of a battery. The present application also relates to a battery production line.

Electrode for lithium secondary battery, and lithium secondary battery comprising same

NºPublicación:  HUP2500246A1 28/10/2025
Solicitante: 
LG ENERGY SOLUTION [KR]
LG CHEM [KR]
LG ENERGY SOLUTION,
LG CHEM
GB_2640059_PA

Resumen de: GB2640059A

The present invention relates to an electrode for a lithium secondary battery and a lithium secondary battery comprising same, wherein the electrode effectively suppresses heat generation or ignition, making it possible to provide a battery exhibiting excellent charge/discharge characteristics while having improved safety. The electrode for a lithium secondary battery comprises: a metal current collector; and an active material layer including an electrode active material and a conductive material and formed on the metal current collector. The active material layer further includes a conductive polymer that exhibits a peak in the band of 1350 to 1600 cm-1 when the Raman spectrum is analyzed and exhibits positive temperature coefficient (PTC) characteristics. When Raman image analysis is performed on a cross-section of the active material layer, at least 90% by weight of the conductive polymer is found to be distributed in an area extending to 10% of the thickness of the active material layer from the surface of the metal current collector.

Battery cell manufacturing apparatus and battery cell manufacturing method using the same

NºPublicación:  HUP2400270A1 28/10/2025
Solicitante: 
SK ON CO [KR]
SK On Co
KR_20240167205_PA

Resumen de: CN119009140A

The present disclosure relates to a cell manufacturing apparatus for assembling a cell including an electrode assembly, an exterior material accommodating the electrode assembly therein, an electrode lead electrically connected to the electrode assembly and protruding to the outside of the exterior material, and an insulating portion electrically insulating the exterior material and the electrode lead, the cell manufacturing apparatus including: a support portion configured to support the electrode assembly and the exterior material; the supporting part is used for supporting a preparation component, and the preparation component is formed by combining an electrode component, an electrode lead and an insulating part; the shooting part is used for shooting a shooting area including the electrode lead and the insulation part in the preparation assembly; a transfer unit that moves the preliminary component to a preset target area on the exterior material; and a control section for controlling at least one of the photographing section, the transfer section, and the support section, the control section calculating an object length including at least a portion of the electrode lead and the insulation section in a predetermined one direction in the photographing area, and controlling the support section or the transfer section to move the preliminary component to the target area based on the object length.

PRINTED LITHIUM FOIL AND FILM

NºPublicación:  KR20250154568A 28/10/2025
Solicitante: 
리벤트유에스에이코포레이션
BR_112021015924_PA

Resumen de: MX2021011184A

A substrate coated with a printable lithium composition is provided. The printable lithium composition includes lithium metal powder; a polymer binder, wherein the polymer binder is compatible with the lithium powder; and a rheology modifier compatible with the lithium powder and the polymer binder, wherein the rheology modifier is dispersible within the composition and provides a three-dimensional support structure for further improvement of the electrochemical performance of the electrode when coated with the composition. The substrate may be incorporated into a battery. In one embodiment, the battery comprises a cathode, an electrolyte and an anode, wherein the cathode, the electrolyte, the separator, the anode, or a combination thereof may each comprise a substrate coated with a printable lithium composition.

ENERGY STORAGE SYSTEM

NºPublicación:  KR20250153611A 27/10/2025
Solicitante: 
삼성에스디아이주식회사
JP_2025164687_PA

Resumen de: US2025329886A1

An energy storage system is disclosed includes a cell assembly that includes a plurality of battery cells. A rack case accommodates the cell assembly. A terminal portion is electrically connected to the battery cells and includes an insertion portion formed in an outer surface of the terminal portion. A rack busbar is fastened to the terminal portion and includes a protruding portion inserted into the insertion portion of the terminal portion, with the protruding portion being formed on a side surface of the rack busbar.

자동차용 전기 에너지 저장 장치를 제조하기 위한 모듈형 시스템 및 방법

NºPublicación:  KR20250153832A 27/10/2025
Solicitante: 
바이에리쉐모토렌베르케악티엔게젤샤프트
CN_120917600_PA

Resumen de: WO2024245691A1

The invention relates to a modular system for producing an electrical energy store (10-1; 10-2) for a motor vehicle. The modular system comprises cylindrical battery cells (1), which can be or are arranged mutually adjacent in a plurality of cell rows, and struts (2, 3), which each can be or are arranged between two of the plurality of cell rows. In a first design variant of the electrical energy store (10-1), the struts (2, 3) are exclusively in the form of cooling struts (2), wherein the cooling struts (2) each have a cooling channel for guiding a cooling medium, said cooling channel extending in the longitudinal direction (L). In a second design variant of the electrical energy store (10-2), the struts (2, 3) are alternately in the form of cooling struts (2) and in the form of spacing struts (3), wherein in the longitudinal direction (L) the spacing struts (3) have no cooling channels and/or are in the form of solid struts. The cooling struts (2) and the spacing struts (3) have, at least in parts, the same external geometry.

ELECTROLYTE FOR RECHARGEABLE LITHIUM BATTERY AND RECHARGEABLE LITHIUM BATTERY INCLUDING THE SAME

NºPublicación:  KR20250153442A 27/10/2025
Solicitante: 
삼성에스디아이주식회사
CN_120834282_PA

Resumen de: US2025329784A1

An electrolyte solution for a rechargeable lithium battery and a rechargeable lithium battery including the same, wherein the electrolyte solution includes a non-aqueous organic solvent, a lithium salt, and an additive.

Taping machine

NºPublicación:  KR20250153754A 27/10/2025
Solicitante: 
엘지전자주식회사
KR_20250035386_PA

Resumen de: KR20250153754A

본 실시 예에 따른 테이핑 머신은 테이프를 커팅하는 커팅 디스크; 테이프를 흡착하고 커팅 디스크에 의해 커팅된 테이프를 전달하는 흡착 디스크; 커팅된 테이프를 흡착 디스크로부터 전달받고, 커팅된 테이프를 이송하는 이송 디스크; 및 이송 디스크에 의해 이송된 테이프를 젤리롤에 부착하는 헤드가 복수개 구비된 메인 디스크를 포함할 수 있다.

ELECTRONIC DEVICE AND METHOD FOR MODELING ACTIVE MATERIAL INCLUDED IN COATED AND ROLLED ELECTRODE STRUCTURE THEREOF

NºPublicación:  KR20250153569A 27/10/2025
Solicitante: 
주식회사엘지에너지솔루션
WO_2025220844_A1

Resumen de: WO2025220844A1

Provided is a method for modeling active material particles included in a coated electrode structure of an electronic device, comprising the steps of: acquiring an image related to a cross-section of at least one active material particle; calculating the curvature of the at least one active material particle on the basis of the image; checking a comparison result between the curvature and a threshold value; and modeling, on the basis of the comparison result and the particle size distribution of the at least one active material particle, the at least one active material particle included in a coated electrode structure.

- SILICON-CARBON COMPOSITE FOR ANODE MATERIAL OF SECONDARY BATTERY AND PREPARING METHOD OF THE SAME

NºPublicación:  KR20250153391A 27/10/2025
Solicitante: 
오씨아이주식회사
WO_2025220949_PA

Resumen de: WO2025220949A1

The present invention relates to a silicon-carbon composite for an anode material of a secondary battery and a method for preparing same and, more particularly, to a silicon-carbon composite for an anode material of a secondary battery and a method for preparing same, the silicon-carbon composite being capable of improving processability and improving the characteristics of a secondary battery by suppressing the generation of hydrogen gas (H2) due to contact between silicon and water when an aqueous slurry is prepared using a silicon-based anode material.

ELECTRODE PLATE STACK APPARATUS AND METHOD OF STACKING ELECTRODE PLATES USING THE SAME

NºPublicación:  KR20250153610A 27/10/2025
Solicitante: 
삼성에스디아이주식회사
CN_120834241_PA

Resumen de: US2025329772A1

Provided are an electrode plate stacking apparatus and an electrode plate stacking method using the same. A rotary supporting plate is rotatable about a first direction and allows a positive electrode plate to be bonded to a negative electrode plate having a surface coated with an adhesive to form an electrode plate assembly. A rotary pressing plate is spaced apart from the rotary supporting plate in a second direction perpendicular to the first direction, is rotatable about the first direction, and interferes with the rotary supporting plate to press the electrode plate assembly. A receiver is disposed below the rotary supporting plate in a third direction perpendicular to the first direction and the second direction and receives the electrode plate assembly freely falling in response to rotation of the rotary supporting plate.

SOLID ELECTROLYTE FOR ALL SOLID BATTERY AND MANUFACTURING METHOD THEREOF

NºPublicación:  KR20250153616A 27/10/2025
Solicitante: 
포항공과대학교산학협력단

Resumen de: KR20250153616A

본 실시예들은 전고체 리튬이차전지용 고체 전해질 및 이의 제조 방법에 관한 것으로, 하기 화학식 1로 표시되는 결정립 및 하기 Li-Al-O계 화합물을 포함하는 결정립계를 포함하는 가넷 구조의 고체 전해질을 제공한다. 화학식 1 LiaLa3M2O12 (상기 화학식 1에서, 6≤a<8이며, M은 Nb, Zr, Sb, Sn, Hf, Bi, W, Se, Ga, Ge, Ta 및 이들의 조합으로 이루어진 군에서 선택된다.)

POWER STORAGE DEVICE

NºPublicación:  KR20250153694A 27/10/2025
Solicitante: 
도요타지도샤(주)
JP_2025163787_PA

Resumen de: US2025329856A1

In a power storage device, a plurality of cells are arranged in a first direction. A plurality of buffer portions are disposed on the plurality of cells. Each of the plurality of cells includes an upper surface portion facing upward. The upper surface portion includes a first end edge and a second end edge. The first end edge and the second end edge extend along a second direction, the second direction being a direction along the horizontal direction and orthogonal to the first direction. The plurality of buffer portions are spaced apart from each other on the upper surface portions of the plurality of cells, and at least one of the plurality of buffer portions is provided at at least one of the first end edge and the second end edge of each of the plurality of cells.

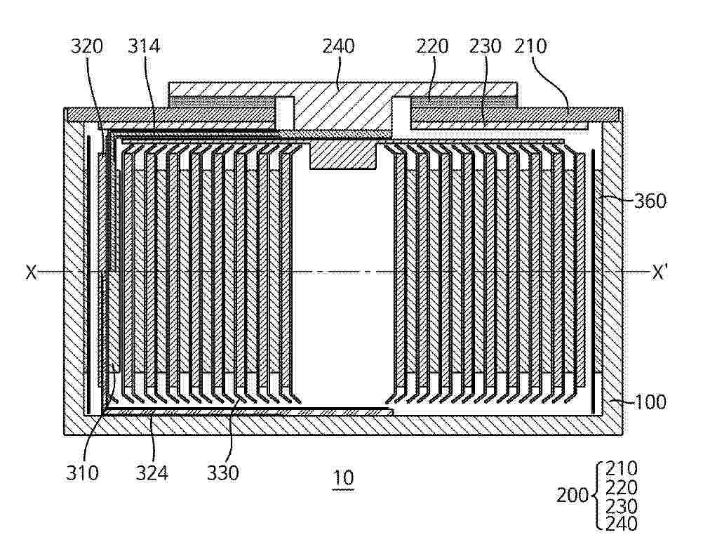
Rechargeable battery

NºPublicación:  KR20250153608A 27/10/2025
Solicitante: 
삼성에스디아이주식회사
CN_120834393_PA

Resumen de: EP4636913A1

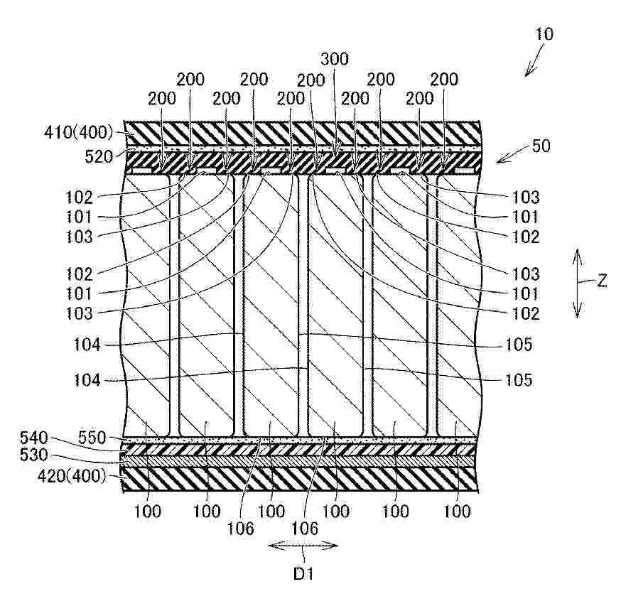
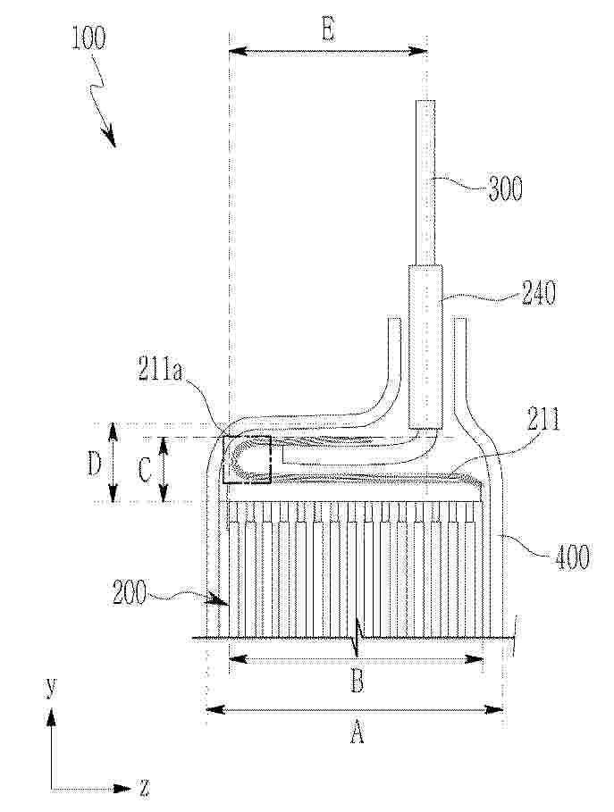
A rechargeable battery (100) includes an electrode assembly (200) including electrode plates (210) and electrode tabs (211) extending from each of the electrode plates (210) and having a bent portion (211a). An electrode lead (300) connected to the electrode tabs (211) has a bent portion, and a case (400) accommodates the electrode assembly (200). The electrode assembly (200), the electrode lead (300), and the case (400) satisfy a first equation E = B * (0.73 to 0.77) and a second equation C = D * 0.3 to 0.7. B indicates thickness of the electrode assembly (200), C indicates height of the electrode tabs (211), D indicates distance from or of a coupled portion of the case (400) and the electrode lead (300) to the electrode assembly (200), and E indicates distance between the bent portions (211a).

ELECTRICITY STORAGE APPARATUS

Nº publicación: KR20250153667A 27/10/2025

Solicitante:

도요타지도샤(주)

JP_2025163889_PA

Resumen de: US2025329849A1

Electricity storage apparatus includes: a stacked body mounted on a vehicle and formed by stacking an electricity storage module in the up-down direction; and a housing case that houses the stacked body. The housing case includes: a top plate positioned in a case upper surface of the housing case; a bottom plate positioned in a case lower surface of the housing case; a peripheral wall that connects the top plate and the bottom plate to each other; and a holding member. The stacked body includes: an upper surface; a lower surface; and a peripheral surface that connects the upper surface and the lower surface to each other. The holding member has: a holding rising wall; and a holding flange. The holding rising wall is formed so as to cover the peripheral surface. The holding flange is provided on the holding rising wall and is fixed to the peripheral wall.

traducir