Ministerio de Industria, Turismo y Comercio LogoMinisterior
 

Alerta

Resultados 1604 resultados
LastUpdate Última actualización 11/11/2025 [07:13:00]
pdfxls
Publicaciones de los últimos 15 días/Last 15 days publications (excluidas pubs. CN y JP /CN and JP pubs. excluded)
previousPage Resultados 1550 a 1575 de 1604 nextPage  

IMPREGNATION EVALUATION DEVICE AND SECONDARY BATTERY PRODUCTION SYSTEM

NºPublicación:  KR20250153529A 27/10/2025
Solicitante: 
삼성에스디아이주식회사성균관대학교산학협력단
CN_120831590_PA

Resumen de: US2025329708A1

The present disclosure relates to an impregnation evaluation device for evaluating impregnation of an electrode plate by an electrolyte. To this end, an impregnation evaluation device includes a processor configured to calculate a theoretical mass of an electrode plate, and a mass measuring unit configured to measure an actual mass of the electrode plate, wherein the processor is configured to evaluate the impregnation of the electrode plate by comparing the theoretical mass with the actual mass.

양극재료 조성물, 이차전지 및 전기기기

NºPublicación:  KR20250153820A 27/10/2025
Solicitante: 
컨템포러리엠퍼렉스테크놀로지홍콩리미티드
CN_119234332_PA

Resumen de: CN119234332A

The invention provides a positive electrode material composition, a secondary battery and an electric device. The positive electrode material composition comprises a phosphate positive electrode material and a ternary positive electrode material, the weight of the phosphate positive electrode material is recorded as W1, the weight of the ternary positive electrode material is recorded as W2, alpha = W1/(W1 + W2), alpha is more than or equal to 50% and less than or equal to 97%, and optionally alpha is more than or equal to 70% and less than or equal to 90%, and the phosphate positive electrode material is a polycrystalline secondary sphere material and/or the ternary positive electrode material is a polycrystalline secondary sphere material. After the phosphate positive electrode material and the ternary positive electrode material are mixed, the advantages of the two materials are complementary, and the synergistic effect of the two materials can be realized by adjusting the proportion of the two materials, so that the positive electrode material composition has the advantages of higher energy density and higher cycle performance. The phosphate positive electrode material and/or the ternary positive electrode material are/is polycrystalline secondary spheres, the advantage of small bulk phase diffusion impedance in the polycrystalline secondary spheres is fully utilized, and the charging capacity and the low-temperature discharging capacity of the composition are improved.

고체 전해질 및 리튬 이온 전지

NºPublicación:  KR20250153831A 27/10/2025
Solicitante: 
엔지케이인슐레이터엘티디
CN_120858414_PA

Resumen de: WO2024201740A1

This solid electrolyte contains Li, Mα, Mβ, Mγ, Cl, and F, Mα being at least one element selected from the group consisting of Zr and Hf, Mβ being at least one element selected from the group consisting of Ta and Nb, Mγ being at least one element selected from the group consisting of Gd, Yb, Dy, Er, Ho, Eu, and Sc. As a result, it is possible to provide a solid electrolyte excellent in reduction resistance.

- ELECTROLYTE FOR LITHIUM SULFUR BATTERY

NºPublicación:  KR20250153708A 27/10/2025
Solicitante: 
주식회사엘지에너지솔루션한국과학기술원

Resumen de: KR20250153708A

본 발명은 리튬-황 전지에 사용하기 위한 전해질에 관한 것으로서, 비수계 용매, 리튬염 및 산화환원 매개 첨가제를 포함하는 것을 구성적 특징으로 한다. 상기 산화환원 매개 첨가제는 2개 이상의 고리가 컨쥬게이트되고, 고리 원자의 총 개수가 8개 내지 14개인 구조를 갖는 화합물인 것으로 한다.

ELECTRODE ASSEMBY AND RECHARGEABLE BATTERY WITH THE SAME

NºPublicación:  KR20250153606A 27/10/2025
Solicitante: 
삼성에스디아이주식회사
WO_2025220966_PA

Resumen de: WO2025220966A1

This electrode assembly comprises separator, a first electrode, and a second electrode. The first electrode and the second electrode are positioned with the separator interposed therebetween, and are wound together with the separator. At least one of the first electrode and the second electrode includes a main body and a substrate tab. The main body is composed of a base material and a mixed material layer. The substrate tab is positioned on one side of the main body at a distance from the mixed material layer, and is bent from the main body. The substrate tab includes: a plurality of first extension tabs having a trapezoidal shape, the height of which gradually changes along the longitudinal direction of the main body; and a plurality of second extension tabs having the same height and having a parallelogram shape.

Wet Processing Method for Recycling Waste Secondary Batteries

NºPublicación:  KR20250153646A 27/10/2025
Solicitante: 
주식회사에바싸이클

Resumen de: KR20250153646A

폐이차전지 분쇄물을 제1 무기용매에 함침하여 제1 함침액을 제조한 후, 상기 제1 함침액을 제1 입도선별기에 투입하는 단계; 상기 제1 입도선별기로부터 빠져나온 제1 함침액을 탈수 및 건조시켜 음극재를 회수하는 단계; 상기 제1 입도선별기에서 걸러진 물질을 제2 무기용매에 함침하여 제2 함침액을 제조한 후, 상기 제2 함침액을 제2 입도선별기에 투입하는 단계; 상기 제2 입도선별기로부터 빠져나온 제2 함침액을 탈수 및 건조시켜 양극재를 회수하는 단계; 및 상기 제2 입도선별기에서 걸러진 물질을 건조시킨 후, 상기 물질 내 양극 집전체, 음극 집전체 및분리막을 분리하는 단계를 포함하고, 상기 제1 무기용매는 물이고, 상기 제2 무기용매는 비수 무기용매인 폐이차전지의 재활용을 위한 습식 처리 방법이 제공된다.

Apparatus and method for manufacturing electrode plate with stepped coated portions for secondary battery

NºPublicación:  KR20250153524A 27/10/2025
Solicitante: 
삼성에스디아이주식회사
US_2025329705_PA

Resumen de: US2025329705A1

An apparatus for manufacturing a secondary battery electrode plate includes: a coating unit configured to coat an electrode material on an electrode substrate of a secondary battery, the coating unit including: a first coater configured to form a first coated portion of the electrode material on the electrode substrate; and a second coater configured to form a second coated portion of the electrode material on an at least one of both transverse ends of the first coated portion on the electrode substrate, the second coated portion having a thickness smaller than a thickness of the first coated portion; and a notching unit configured to cut the electrode substrate coated with the electrode material by the coating unit.

A current collector for an anode of an all-solid-state battery and an anode for an all-solid-state battery

NºPublicación:  KR20250153731A 27/10/2025
Solicitante: 
주식회사엘지에너지솔루션
JP_2023537635_PA

Resumen de: US2023268517A1

A negative electrode current collector and a negative electrode for a solid-state battery including the same are provided. The negative electrode current collector comprises a metal foil which is electroconductive, and a coating layer formed on a surface of the metal foil and comprising metal-carbon composite particles. The metal-carbon composite particles comprise metal particles and carbon particles and apply the metal particles evenly on the surface of the metal foil, and are capable of inducing even lithium electrodeposition between the coating layer and the metal foil, thereby forming a uniform lithium metal plating film on the negative electrode current collector.

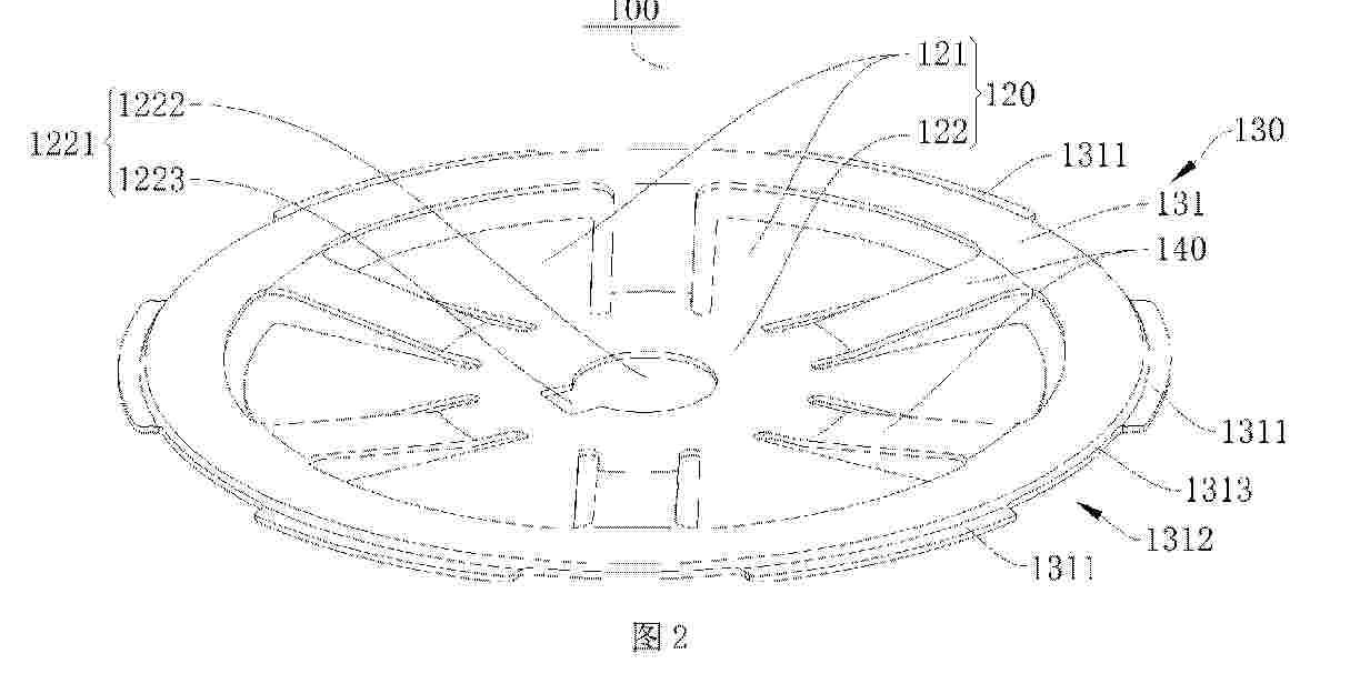
전극 코어 어셈블리, 배터리 셀, 배터리 팩, 및 전기 장치

NºPublicación:  KR20250153823A 27/10/2025
Solicitante: 
비와이디컴퍼니리미티드
WO_2024212489_PA

Resumen de: WO2024212489A1

A pole core assembly (600), a battery cell (1000), a battery pack (2000) and an electric device (3000). The pole core assembly comprises a pole core (200) and a current-collecting plate (100), a first connecting area (120) comprises a middle portion (122) and a plurality of first connecting portions (121) connected to the middle portion, a second connecting area (130) is electrically connected to a housing (500), an area of an orthographic projection of each first connecting portion on a first plane is S1, and a minimum connecting area of each first connecting portion to the pole core is represented by S, where S ≥ 20%S1.

- ANODE PROTECTIVE LAYER FOR ZINC-ION BATTERIES ZINC-ION BATTERY CONTAINING THE SAME AND MANUFACTURING METHOD THEREOF

NºPublicación:  KR20250153410A 27/10/2025
Solicitante: 
경상국립대학교산학협력단

Resumen de: KR20250153410A

본 발명의 일실시예는 비정질 금속 산화물을 포함하는 음극 보호층 및 이를 포함하는 아연 이온 전지를 제공한다. 본 발명의 일 실시예에 따른 음극 보호층은 음극 표면의 수소 발생 반응을 억제해 부식성 부반응을 방지하고, 충전 중에 핵생성 지점을 제공해 아연 도금을 위한 핵으로 작용함으로써 내부 쇼트를 초래할 수 있는 덴드라이트 형성을 방지하며, 음극의 습윤성을 향상시키고 이온 확산 능력을 향상시키는 아연 이온 전지를 제공한다.

Dry Processing Method for Recycling Waste Secondary Batteries

NºPublicación:  KR20250153644A 27/10/2025
Solicitante: 
주식회사에바싸이클

Resumen de: KR20250153644A

폐이차전지 분쇄물을 감압가열하여 상기 분쇄물 내 전해액을 회수하는 단계; 상기 감압가열 후 입도선별을 통해 상기 분쇄물 내 음극재를 회수하는 단계; 상기 음극재가 회수된 분쇄물을 상압에서 가열하는 단계; 상기 상압에서 가열 후 입도선별을 통해 상기 분쇄물 내 양극재를 회수하는 단계; 및 상기 양극재가 회수된 분쇄물 내 양극 집전체와 음극 집전체를 분리하는 단계를 포함하고, 상기 감압가열 시의 최고온도는 상기 상압에서 가열 시의 최고온도보다 낮은 폐이차전지의 재활용을 위한 건식 처리 방법이 제공된다.

ELECTRODE FOR LITHIUM ION RECHARGEABLE BATTERY AND LITHIUM ION RECHARGEABLE BATTERY INCLUDING THE SAME

NºPublicación:  KR20250153362A 27/10/2025
Solicitante: 
삼성에스디아이주식회사한양대학교산학협력단
CN_120834141_PA

Resumen de: US2025329742A1

An electrode for a rechargeable lithium battery and a rechargeable lithium battery including the same are provided, and may promote the nano-fibrillation of a fibrillable binder, and improve the mechanical properties and electrical properties of a battery. In one or more embodiments, an electrode includes a freestanding dry electrode film including an electrode active material, a binder, and a conductive additive, and the conductive additive includes a carbon black-based compound of which a specific surface area is 350 m2/g or less and a crystallite size is 15 Å or more.

집전체, 전극 시트, 이차 배터리 및 전력 소비 디바이스

NºPublicación:  KR20250153829A 27/10/2025
Solicitante: 
비와이디컴퍼니리미티드
WO_2024179358_PA

Resumen de: WO2024179358A1

An electronic device, comprising a secondary battery. The secondary battery comprises an electrode sheet, the electrode sheet comprises a current collector and a positive electrode active material disposed on the current collector. The current collector is used to carry an electrode active material and comprises a foil material and a conductive coating disposed on two opposite sides of the foil material. The conductive coating comprises a conductive material dense region and a plurality of recessed less adhesive regions arranged at intervals in the conductive material dense region, the conductive material dense region comprises a conductive material and a binder, and the conductive material comprises a granular conductive agent. At least part of each recessed less adhesive region does not comprise a binder, and at least part of the region does not comprise a granular conductive material.

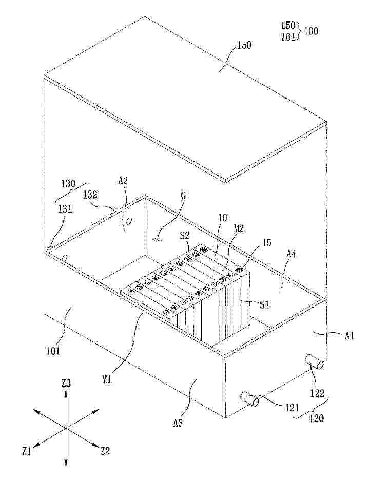
POWER STORAGE MODULE

NºPublicación:  KR20250153702A 27/10/2025
Solicitante: 
도요타지도샤(주)
JP_2025163907_PA

Resumen de: US2025329899A1

A power storage module includes a stacked electrode assembly including a plurality of electrodes stacked in a first direction. The stacked electrode assembly has a circumferential surface extending in a second direction perpendicular to the first direction, and facing a housing. The power storage module includes an insulating sheet portion disposed between the circumferential surface and the housing and covers the circumferential surface. The insulating sheet portion has first and second insulating sheets extending in the second direction and covering a portion of the circumferential surface. The first and second insulating sheets partially overlap in a circumferential direction of the stacked electrode assembly. The second direction is the longitudinal direction of the overlapped region where the first insulating sheet and the second insulating sheet overlap. The first and second insulating sheets are welded together at multiple locations separate from each other in the second direction in the overlapped region.

STACKED ELECTRODE ASSEMBLY AND POWER STORAGE MODULE

NºPublicación:  KR20250153703A 27/10/2025
Solicitante: 
도요타지도샤(주)
JP_2025163908_PA

Resumen de: US2025329881A1

A stacked electrode assembly includes a plurality of electrodes and a plurality of separators. The electrode and the separator are alternately stacked in a first direction. The stacked electrode assembly extends in a second direction perpendicular to the first direction. The stacked electrode assembly further includes a circumferential surface extending in the second direction. A length of the separator in a third direction perpendicular to the first and second directions is longer than a length of the electrode in the third direction. The circumferential surface has first and second primary surfaces in the first direction and first and second side surfaces in the third direction, the first and second side surfaces continuing to the first and second primary surfaces, respectively. The separator is welded on at least one of the first side surface and the second side surface across a length of the stacked electrode assembly in the first direction.

Battery antifreeze temperature control device to save energy in hydrogen electric buses

NºPublicación:  KR20250153512A 27/10/2025
Solicitante: 
주비오에이

Resumen de: KR20250153512A

본 발명은 배터리에 의해 구동되는 수소전기버스(90)에 있어서, 상기 수소전기버스는 배터리(100)에 의해 구동되되, 상기 수소전기버스는 실내온도를 높이거나 낮추기 위한 히트펌프(300)가 장착됨에 따라 상기 히트펌프(300)에는 응축기(310)와 팽창기(320)와 증발기(330) 및 압축기(340)가 구비됨에 따라 상기 히트펌프 내부를 순환하는 펌프냉매가 배치되고, 상기 배터리(100)에는 온도를 제어하기 위해 배터리 주위를 순환하는 배터리부동액이 배치되되, 상기 배터리 부동액의 온도를 상승시키는 승온 혹은 온도를 하강시키는 감온을 배터리 전용 승온 장비인 워머나 감온 장비인 칠러를 사용하지 않고 상기 히트펌프의 열원을 사용하여 배터리 부동액을 승온시키거나 감온시키는 것을 특징으로 수소전기버스의 에너지 절감을 위한 배터리 부동액 온도 조절장치가 제공된다.

NEGATIVE ELECTRODE AND SECONDARY BATTERY COMPRISING THE SAME

NºPublicación:  KR20250153732A 27/10/2025
Solicitante: 
주식회사엘지에너지솔루션
US_2024290984_PA

Resumen de: US2024290984A1

Provided is a negative electrode including a negative electrode active material layer, wherein the negative electrode active material layer includes a negative electrode active material, a binder, a conductive agent, and a dispersant, wherein the conductive agent includes a carbon nanotube structure in which a plurality of single-walled carbon nanotube units are bonded side by side, the carbon nanotube structure has an average length of 1 μm to 20 μm, and QBR according to Equation 1 is in a range of 1 to 1.75QBR=Bs/Bf.Equation⁢1

HEAT DISSIPATIVE COMPOSITION AND PREPARING METHOD FOR BUSBAR ASSEMBLY USING THE SAME

NºPublicación:  KR20250153339A 27/10/2025
Solicitante: 
삼성에스디아이주식회사
JP_2025163671_PA

Resumen de: US2025326943A1

A heat dissipation composition for busbars is disclosed. The heat dissipation composition includes a base resin and a phase change material, wherein a weight ratio of the base resin to the phase change material is from about 2.8:1 to about 1.3:1.

A Mono-crystalline Cathode Material for Sodium-ion Battery and Preparation Method and Application Thereof

NºPublicación:  KR20250153718A 27/10/2025
Solicitante: 
구이저우쩐화이켐컴퍼니리미티드구이저우쩐화이롱이켐컴퍼니리미티드구이저우쩐화이켐인코포레이티드
JP_2025134789_A

Resumen de: CN120089731A

The invention relates to a single crystal sodium ion battery positive electrode material and a preparation method and application thereof. The sodium ion battery positive electrode material contains a chemical formula as shown in Na1 + aNi1-x-y-z-cMnxFeyMzNcO2, a is more than or equal to-0.40 and less than or equal to 0.25, x is more than or equal to 0.08 and less than or equal to 0.5, y is more than or equal to 0.05 and less than or equal to 0.5, z is more than 0 and less than 0.26, and c is more than 0 and less than 0.05; m is Zn, and N is selected from one or two of Al or Nb elements. The single crystal sodium ion battery positive electrode material has specific chemical composition, single crystal morphology, good structural stability and integrity, and does not generate particle fragmentation in the cycle process, thereby improving the cycle stability of the sodium ion battery.

ELECTRODE ASSEMBLY AND RECHARGEABLE BATTERY WITH THE SAME

NºPublicación:  KR20250153607A 27/10/2025
Solicitante: 
삼성에스디아이주식회사
WO_2025220967_PA

Resumen de: WO2025220967A1

This electrode assembly comprises: a separator; a positive electrode and a negative electrode which are positioned such that the separator is interposed therebetween, and are wound together with the separator; and a compensation layer located on at least one of the positive electrode or the negative electrode. The positive electrode includes a positive electrode body, in which a positive electrode mixture layer is located on a positive electrode substrate, and a positive electrode substrate tab located on one side of the positive electrode body. The negative electrode includes a negative electrode body, in which a negative electrode mixture layer is located on a negative electrode substrate, and a negative electrode substrate tab located on the other side of the negative electrode body. The negative electrode mixture layer includes a capacity reduction unit adjacent to the negative electrode substrate tab. The compensation layer is located on at least one of a portion of the positive electrode body facing the capacity reduction unit or a portion of the negative electrode body corresponding to the capacity reduction unit.

Equipment for manufacturing electrode plates And Method therefor

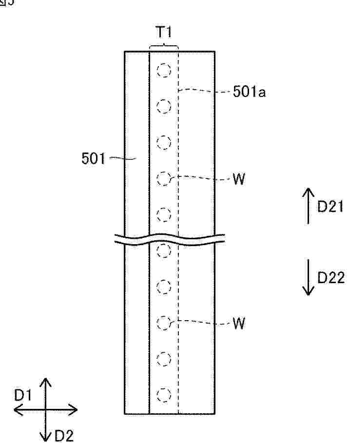
NºPublicación:  KR20250153449A 27/10/2025
Solicitante: 
주식회사엘지에너지솔루션
WO_2025221066_PA

Resumen de: WO2025221066A1

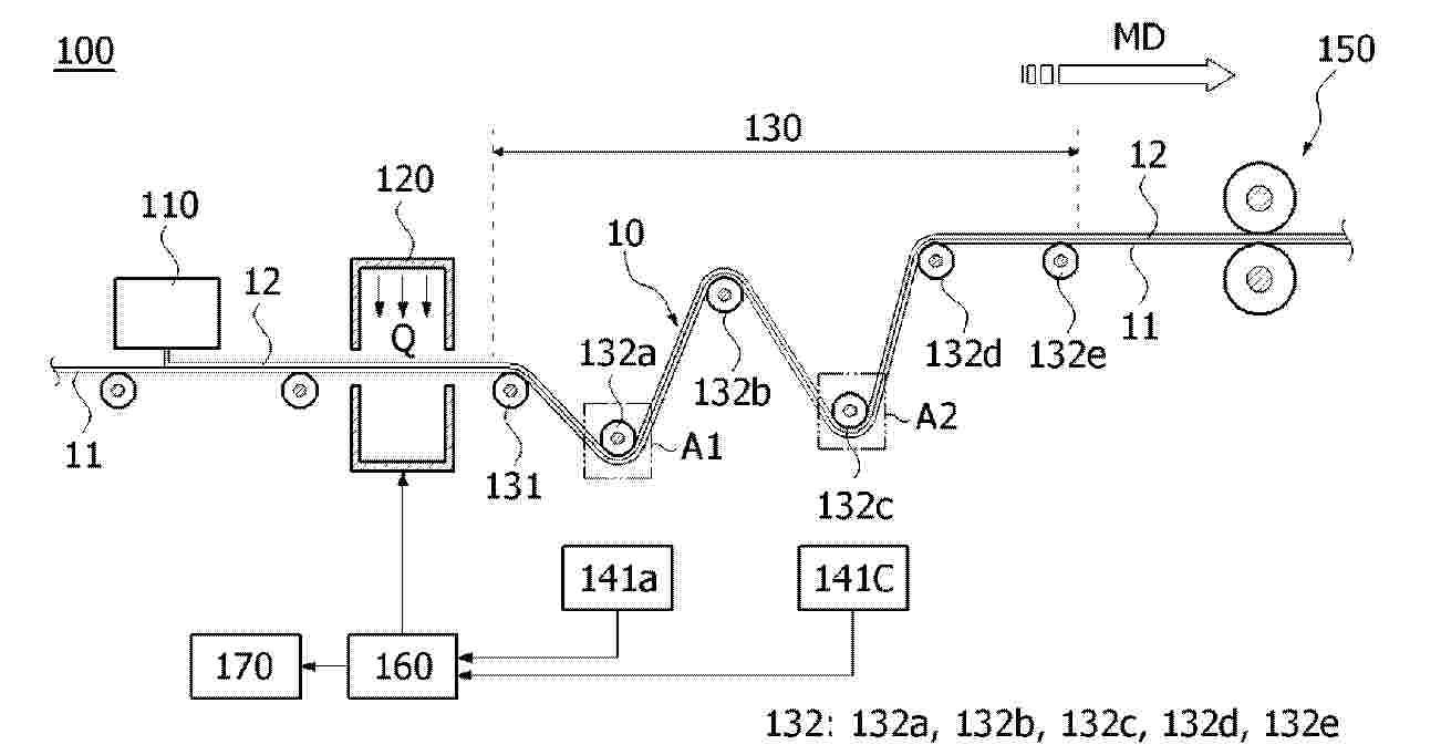
A manufacturing apparatus for an electrode substrate, related to an embodiment of the present invention, includes: a transport unit including transport rolls that allow light to be transmitted into the internal space thereof through the surface and guide the movement of the electrode substrate which has passed through a drying unit; illuminance sensors installed in the internal space of the transport rolls and provided so as to detect the illuminance of the light transmitted into the internal space; and a control unit provided to inspect the contamination level of the transport rolls on the basis of illuminance information from the illuminance sensors and to stop the transport unit if the contamination level corresponds to a predetermined contamination level for stopping.

Battery pack

NºPublicación:  KR20250153623A 27/10/2025
Solicitante: 
삼성에스디아이주식회사
CN_120834329_PA

Resumen de: US2025329821A1

A battery pack includes battery cells capable of reducing flow resistance of cooling fluid through inlets for inflow of cooling fluid and outlets for outflow of cooling fluid, increasing driving efficiency to form a forced flow of cooling fluid due to the reduced flow resistance or a reduced pressure drop caused by the reduced flow resistance, and reducing temperature variations on different sides of the battery cells, thereby preventing local overheating.

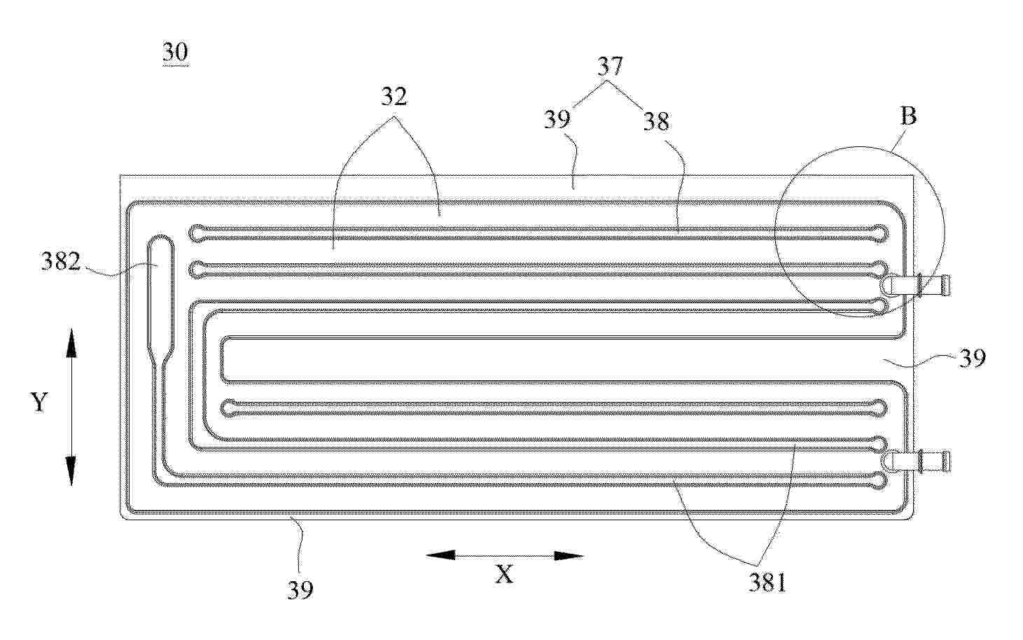
BATTERY PACK AND METHOD OF MANUFACTURING THE SAME

NºPublicación:  KR20250153671A 27/10/2025
Solicitante: 
삼성에스디아이주식회사
CN_120834351_PA

Resumen de: US2025329845A1

A battery pack according to one or more embodiments of the present disclosure includes a plurality of battery cells; and a housing including a bottom member, a plurality of side walls, and a top member, the bottom member, the plurality of side walls, and the top member form an interior accommodation space configured to accommodate the plurality of battery cells, wherein at least one among the plurality side walls, the top member, and the bottom member are formed by a plurality of metal sheets that are roll bonded to each other, wherein at least one cooling channel is formed between bonding areas of the plurality of metal sheets, and wherein at least one crash channel is formed between bonding areas of the plurality of the metal sheets.

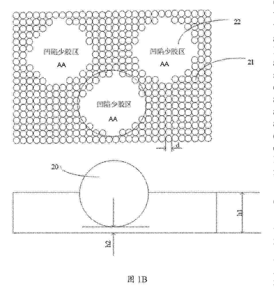
METHOD AND SYSTEM FOR PERFORMING ELECTRODE TAB FOLDING INSPECTION

NºPublicación:  KR20250153613A 27/10/2025
Solicitante: 
삼성에스디아이주식회사
CN_120831352_PA

Resumen de: US2025329006A1

A method of inspecting electrode tab folding performed by at least one processor includes obtaining an image that has captured an electrode plate on which an electrode tab is formed, wherein the image comprises an electrode plate region and an electrode tab region, dividing the electrode tab region in the image into a plurality of regions, and performing an electrode tab folding inspection based on a width of the electrode tab region in each of the plurality of regions.

Cylindrical battery case assembly leakage test device

Nº publicación: KR20250153382A 27/10/2025

Solicitante:

엘티정밀주식회사

Resumen de: KR20250153382A

본 발명은 복수의 원통형 배터리 케이스가 삽입되도록 상향 개구된 복수의 하부수용오목부가 형성된 하부수용부와, 상기 하부수용부의 상부로 구비되며 하부수용오목부에 삽입된 원통형 배터리 케이스로 삽입되는 복수의 상부삽입부재를 가지는 상부공급부와, 상기 상부공급부로 연결된 배관인 공급관과 상기 공급관에 연결된 공급탱크로 이루어진 공급부와, 상기 하부수용부로 연결된 배관인 센싱배관과 상기 센싱배관에 연결되어 공급탱크에서 공급되는 가스를 센싱하는 디텍터를 구비하는 센싱부를 포함하여; 복수의 원통형 배터리 케이스가 하부수용부의 하부수용오목부로 삽입되고, 상부에서 상부공급부가 하강하여 상부삽입부재가 원통형 배터리 케이스로 삽입되며, 공급부에서 공급된 가스는 공급관을 통하여 상부삽입부재를 지나 공급되고, 원통형 배터리 케이스의 바닥을 지나 센싱배관으로 유동하는 가스는 디텍터에서 센싱되어 원통형 배터리 케이스 조립 누설을 감지하는 것을 특징으로 하는 원통형 배터리 케이스 조립 누설 검사 장치에 관한 것이다.

traducir