Ministerio de Industria, Turismo y Comercio LogoMinisterior
 

Alerta

Resultados 1604 resultados
LastUpdate Última actualización 11/11/2025 [07:13:00]
pdfxls
Publicaciones de los últimos 15 días/Last 15 days publications (excluidas pubs. CN y JP /CN and JP pubs. excluded)
previousPage Resultados 1575 a 1600 de 1604 nextPage  

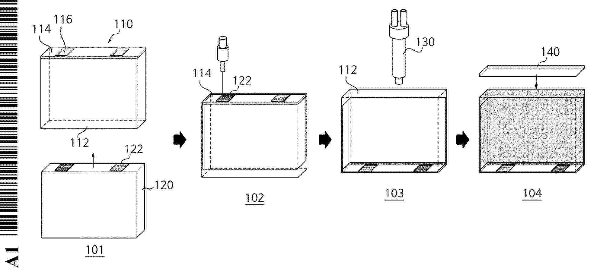
SECONDARY BATTERY MANUFACTURING EQUIPMENT

NºPublicación:  KR20250153450A 27/10/2025
Solicitante: 
주식회사엘지에너지솔루션
WO_2025221060_PA

Resumen de: WO2025221060A1

According to exemplary embodiments, secondary battery manufacturing equipment is provided. The equipment comprises: an electrode slurry supply tank for accommodating electrode slurry; a pump for moving the slurry in the electrode slurry supply tank; a die coater for applying the electrode slurry to an electrode current collector; a first supply pipe for connecting the electrode slurry supply tank and the pump; a second supply pipe for connecting the pump and a branch pipe; a third supply pipe for connecting the branch pipe and the die coater; a return pipe for connecting the branch pipe and the electrode slurry supply tank; a supply valve provided in the third supply pipe; and a return valve provided in the return pipe, wherein the sum of the length of the first supply pipe and the length of the second supply pipe is different from the length of the third supply pipe.

A device for heating a vehicle battery

NºPublicación:  FI20247147A1 27/10/2025
Solicitante: 
POLAR HEATER OY [FI]
Polar Heater Oy
FI_20247147_PA

Resumen de: FI20247147A1

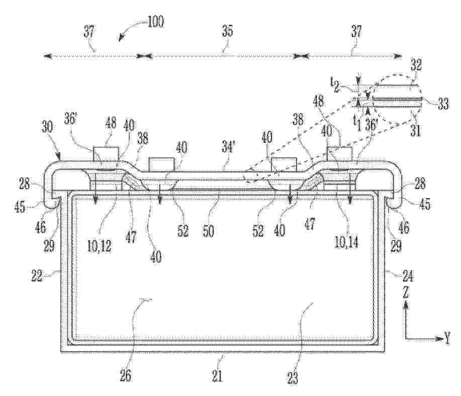
The invention is a device (100) for heating a battery of vehicle. The battery is rectangular. The device comprises an elongated flexible and elastic body (107), a temperature sensor (112), and a heating arrangement inside the body. The body further comprises a first end part (117), a second end part (118), a first long side part (119), a second long side part (120) and a short side part (121). The heating arrangement comprises four heating elements (115a, 115b, 115c, 115d), and two heating elements are positioned in the first long side part and two heating elements are positioned in the second long side part, and there is a gap (128) between the heating elements in the same part. The device is configured in such a way that the body stretches over the battery corners when it is installed.

BATTERY PACK AND MANUFACTURING METHOD FOR SAME

NºPublicación:  KR20250153576A 27/10/2025
Solicitante: 
에스케이온주식회사

Resumen de: KR20250153576A

개시된 본 발명의 배터리 팩은 일측부에 배터리 모듈을 안착하는 모듈 안착부, 상기 모듈 안착부의 타측부에 마련되고, 복수 개로 서로 소정간격 이격되며, 내부로 냉각부재를 흐르게 하는 냉각 유로, 상기 냉각 유로를 사이에 두고 상기 모듈 안착부의 타측에 위치하고, 상기 모듈 안착부와의 사이에 잉여 공간을 마련하는 바닥부 및 상기 모듈 안착부를 관통하고, 상기 잉여 공간과 연통하는 드레인홀을 포함할 수 있다.

전기화학 셀 생산을 위한 전극 웹 코일의 교체를 구현하는 방법 및 장치

NºPublicación:  KR20250153846A 27/10/2025
Solicitante: 
쥐디에스피에이
CN_120858066_PA

Resumen de: WO2024184732A1

The present invention concerns an apparatus for implementing a coil of electrode web change for the production of electrochemical cells comprising: a first retaining device (21) configured to retain a first piece of electrode web (s1) of a first electrode web (f1); a second retaining device (31) configured to retain a second piece of electrode web (s2) of a second electrode web (f2); a cutting mechanism (40) comprising a cutting device (90) configured to • cut the first piece of electrode web (s1) to define a first free end (11) of a second portion (s1b) of the first piece of electrode web (s1), and • cut the second piece of electrode web (s2) to define a second free end (I2) of a first portion (s1 a) of the second piece of electrode web (s2); at least one first movement device (3; 5) active on at least one of the first retaining device (21) and the second retaining device (31), the at least one first movement device (3; 5) being configured to move the first and second retaining device in mutual approach to bring the first free end (11) of the second portion (s1 b) of the first piece of electrode web (s1) into reciprocal alignment with the second free end (I2) of the first portion (s2a) of the second piece of electrode web (s2) by positioning the first free end (11) at the second free end (I2), and a joining device (60) configured to join the first portion (s2a) of the second piece of electrode web (s2) with the second portion (s1b) of the first piece of electrode web (s1

STACKED ELECTRODE ASSEMBLY AND POWER STORAGE MODULE

NºPublicación:  KR20250153704A 27/10/2025
Solicitante: 
도요타지도샤(주)
JP_2025163909_PA

Resumen de: US2025329790A1

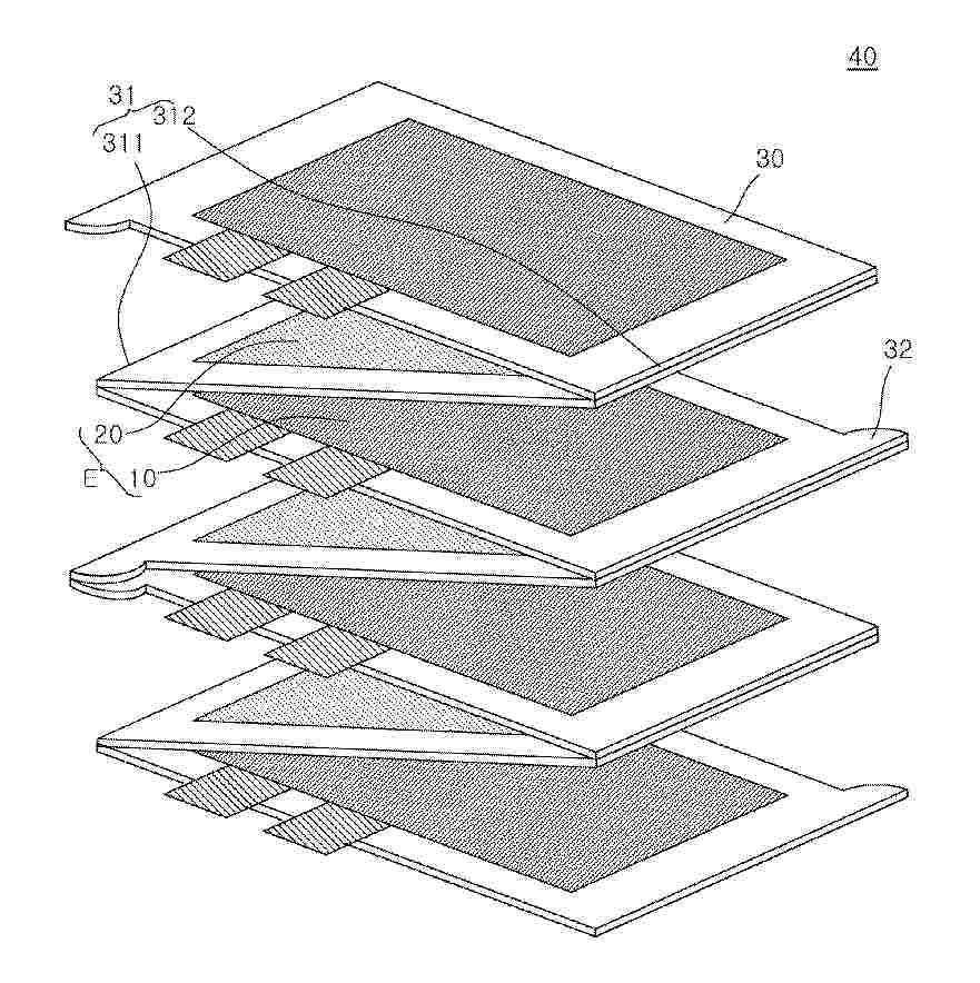
A stacked electrode assembly extends in a second direction perpendicular to a first direction which is a laminate direction of each of the electrodes and each of the separators. First and second surfaces of a metallic foil of the electrode each have an active-material coated area and an active-material uncoated area extending in the second direction. The active-material uncoated area of the second surface is located on the back of the active-material uncoated area of the first surface. The active-material uncoated area of the second surface has a first resin placement area in which a resin is disposed and which is located on the active-material coated area side of the second surface. Spaces are formed between the separator and end portions, in a third direction perpendicular to the first and second directions and on the first resin placement area side, of the active-material uncoated area of the second surface.

축전 소자용 양극, 축전 소자 및 축전 장치

NºPublicación:  KR20250153775A 27/10/2025
Solicitante: 
가부시키가이샤지에스유아사
CN_120770075_PA

Resumen de: EP4636835A1

A positive electrode for an energy storage device according to an aspect of the present invention includes: a positive electrode active material layer containing a positive electrode active material and a conductive additive, in which the conductive additive includes carbon nanotubes, a content of the conductive additive in the positive electrode active material layer is 3.0% by mass or less, and a BET specific surface area of the positive electrode active material layer is 1.00 m<sup>2</sup>/g or more and 3.00 m<sup>2</sup>/g or less.

THE METHOD OF SEPEARTING ALUMINIUM CURRENT COLLECTOR FROM CATHODE OF LITHIUM BATTERY

NºPublicación:  KR20250153427A 27/10/2025
Solicitante: 
한국지질자원연구원

Resumen de: KR20250153427A

본 발명의 목적은, 폐기되는 리튬전지를 재활용 또는 재사용하는 기술에서 공정 단계 및 화학 약품의 소비를 감소시킨 리튬전지의 양극재로부터 알루미늄 집전체 분리 방법을 제공하는 것이다. 상기 목적을 달성하기 위해, 본 발명은 (a) 리튬전지에서 양극재를 포함하는 양극 집전체, 음극재를 포함하는 음극 집전체 및 분리막을 분리하는 단계; (b) 상기 양극재를 포함하는 양극 집전체를 용매에 함침시키는 단계; 및 (c) 상기 용매를 교반하여 양극재 박리 반응을 활성화하는 단계;를 포함한다.

Battery pack

NºPublicación:  KR20250153622A 27/10/2025
Solicitante: 
삼성에스디아이주식회사
CN_120834331_PA

Resumen de: US2025329815A1

A battery pack is capable of providing a uniform temperature environment for a plurality of battery cells to eliminate or alleviate temperature variation depending on positions of the battery cells. The battery pack is also capable of eliminating or alleviating variation in electrical output characteristics due to the temperature variation. The battery pack provides a heat flow along a common first path for battery cells toward a cooling plate extending across bottom surfaces of the battery cells while suppressing heat flow along a second path from a side of the outermost battery cell among the battery cells.

BATTERY MODULE BATTERY SYSTEM AND METHOD OF MANUFACTURING THE BATTERY MODULE

NºPublicación:  KR20250153691A 27/10/2025
Solicitante: 
삼성에스디아이주식회사
CN_120834358_PA

Resumen de: US2025329818A1

A battery module includes a plurality of battery cells, and a frame including a bottom member and a plurality of side walls, the bottom member and the plurality of side walls forming an interior accommodation space configured to accommodate the plurality of battery cells, wherein at least two side walls opposite from each other among the plurality of side walls are bent and extend from the bottom member, wherein the at least two side walls and the bottom member are formed by a plate including a first metal sheet on an inner side of the plate and a second metal sheet on an outer side of the plate roll-bonded to each other, and wherein the plate further includes at least one cooling channel formed between bonding areas of the first metal sheet and the second metal sheet.

Vibration Adaptable Current Collecting Plate and Cylindrical Battery Cell Using the Same

NºPublicación:  KR20250153660A 27/10/2025
Solicitante: 
주식회사엘지에너지솔루션

Resumen de: KR20250153660A

원통형 배터리 셀에 적용 가능하고 진동에 순응할 수 있는 집전판을 개시한다. 상기 집전판은, 상호 대향하는 제1면과 제2면을 구비하는 플레이트 바디를 포함한다. 상기 프렐이트 바디는, 상기 제1면이 캡, 캔 바닥, 또는 전극단자에 접합되는 단자 접합부를 포함하는 상기 플레이트 바디의 제1영역, 및 상기 제2면이 전극조립체의 전극탭에 접합되는 전극 접합부를 포함하고, 상기 제1영역을 둘러싸는 상기 플레이트 바디의 제2영역을 포함한다. 상기 집전판은, 상기 제1영역과 제2영역의 경계 영역에서, 상기 제1면에 마련된 제1노치 및 상기 제2면에 마련된 제2노치를 포함한다.

BATTERY AND METHOD FOR MANUFACTURING SAME

NºPublicación:  KR20250153604A 27/10/2025
Solicitante: 
삼성에스디아이주식회사
WO_2025220799_PA

Resumen de: WO2025220799A1

The present disclosure relates to a battery and a method for manufacturing a battery, the method for manufacturing a battery, according to the present disclosure, comprising the following steps: preparing a case having an open part at one side and a closed part at the other side, that is opposite to the one side, the closed part having a cap plate; inserting an electrode assembly that is electrically connected to a terminal assembly into the case through the open part; connecting the terminal assembly to the cap plate; and injecting an electrolyte through the open part.

ELECTROLYTE FOR LITHIUM SECONDARY BATTERY AND LITHIUM SECONDARY BATTERY INCLUDING THE SAME

NºPublicación:  KR20250153408A 27/10/2025
Solicitante: 
현대자동차주식회사기아주식회사한국과학기술원
US_2025329783_PA

Resumen de: US2025329783A1

An electrolyte solution for a lithium secondary battery is provided, comprising a lithium salt, a nonaqueous organic solvent with at least 50% FSA by volume, and a silver (Ag) compound additive selected from AgHFB, AgPFP, or silver trifluoroacetate. The additive is present in an amount of about 0.05 wt % to 0.2 wt % to promote stable SEI layer formation and reduce lithium deposition overvoltage. The solution may also include a secondary additive such as calcium hydride (CaH2) or magnesium fluoride (MgF2) to further suppress lithium dendrite growth. The lithium secondary battery incorporating this electrolyte is designed to form a lithium metal layer with a thickness of 40 to 45 μm and a surface pore average diameter of less than 1 μm during the initial charging process, optimizing performance and stability.

RECHARGEABLE BATTERY

NºPublicación:  KR20250153553A 27/10/2025
Solicitante: 
삼성에스디아이주식회사
WO_2025220797_PA

Resumen de: WO2025220797A1

The present invention relates to a secondary battery. The secondary battery comprises: an electrode assembly including an electrode; a case for accommodating the electrode assembly therein; an electrode lead connected to one side of the electrode assembly and including an end portion extending to the outside of the case; and a hollow conductive wire electrically connected to the end portion of the electrode lead and including an outer portion and an inner portion, wherein the outer portion includes a conductive material.

Extraction Device for Extracting a Metal from Cathode Material in Waste Secondary Batteries

NºPublicación:  KR20250153647A 27/10/2025
Solicitante: 
주식회사에바싸이클

Resumen de: KR20250153647A

폐이차전지 내 양극재가 용해된 산성 수용액이 담지되는 머리부; 상기 양극재 내 하나의 금속에 대한 추출 용매가 담지되는 바닥부; 상기 머리부 및 바닥부를 연결하는 반응부; 상기 머리부와 연결되어, 상기 반응부를 거쳐 추출된 금속이 담지되는 분리부; 및 상기 반응부와 연결된 상기 바닥부에 위치하며, 상기 추출 용매를 기포 형태로 변환시켜 상기 반응부로 이동시키는 변환부를 포함하고, 상기 변환부 단면은 수개 이상의 단면들로 구성되어 있는 폐이차전지 내 양극재에서 일 금속을 추출하는 추출 장치가 제공된다.

Current collector using hydrocarbon-based monomolecular compound and all solid state battery using the same

NºPublicación:  KR20250153730A 27/10/2025
Solicitante: 
포항공과대학교산학협력단
KR_20250148369_PA

Resumen de: KR20250153730A

본 발명의 실시예는 자가 조립을 위한 단분자 화합물이 도포된 전고체 전지용 집전체 및 이를 이용한 전고체 전지를 제공한다. 집전체에 도포되는 단분자 화합물은, H 또는 C를 포함하는 작용기; CxH2x(12≤x≤24)를 포함하는 스페이서; 및 P 또는 Si를 포함하는 반응기를 포함한다.

산화알루미늄 분말 및 그 합성

NºPublicación:  KR20250153780A 27/10/2025
Solicitante: 
에보닉오퍼레이션스게엠베하
CN_120731190_A

Resumen de: MX2025009548A

Aluminum oxide powder and method of making, the powder consisting of aggregates of primary particles, characterized in that it has an aggregate particle size distribution with a median aggregate particle size (D50) of 220 nm to 500 nm, preferably of 230 to 400 nm, and more preferably of 250 nm to 300 nm as determined by dynamic light scattering measurement, and it has a BET of 10 m<sup>2</sup>/g to 100 m<sup>2</sup>/g.

BATTERY MODULE METHOD OF MANUFACTURING THE SAME BATTERY SYSTEM INCLUDING THE SAME AND VEHICLE INCLUDING THE SAME

NºPublicación:  KR20250153683A 27/10/2025
Solicitante: 
삼성에스디아이주식회사
CN_120834357_PA

Resumen de: US2025329819A1

A battery module includes battery cells; and a frame including a bottom member, side walls, and at least two top flap portions, which form a space for accommodating the battery cells, wherein at least two side walls are bent and extended from the bottom member, wherein the at least two top flap portions are bent and extended from the at least two side walls to extend towards each other, wherein the at least two side walls, the at least two top flap portions, and the bottom member are formed by a plate including a first metal sheet on an inner side of the plate and a second metal sheet on an outer side of the plate, and wherein the plate further includes at least one cooling channel in at least one of the at least two side walls.

BATTERY UNIT AND METHOD OF MANUFACTURING THE SAME AND BATTERY SYSTEM

NºPublicación:  KR20250153690A 27/10/2025
Solicitante: 
삼성에스디아이주식회사
CN_120834328_PA

Resumen de: US2025329817A1

A battery unit includes a plurality of battery cells; a frame including a bottom member and a plurality of side walls, the bottom member and the plurality of side walls forming an interior accommodation space configured to accommodate the plurality of battery cells; and a top cover member fixed to the frame and including: a first metal sheet on an inner side of the top cover member; a second metal sheet on an outer side of the top cover member, the first and second metal sheets being roll-bonded to each other; and at least one cooling channel between bonding areas of the first metal sheet and the second metal sheet.

ENERGY STORAGE SYSTEM AND CONTROL METHOD THEREOF

NºPublicación:  KR20250153432A 27/10/2025
Solicitante: 
에스케이온주식회사

Resumen de: KR20250153432A

본 발명의 일 실시 예에 따른 에너지 저장장치는, 각각 복수의 배터리 셀을 포함하는 복수의 배터리 모듈을 포함하고, 상기 복수의 배터리 모듈 중 적어도 하나는, 상기 복수의 배터리 모듈 중 적어도 하나의 복수의 배터리 셀의 일면에 배치되어, 가열되도록 구성된 히터를 더 포함할 수 있다.

A method for manufacturing a water treatment membrane using a separator from waste secondary batteries and the resulting water treatment membrane

NºPublicación:  KR20250153709A 27/10/2025
Solicitante: 
주식회사에바싸이클연세대학교산학협력단

Resumen de: KR20250153709A

폐이차전지를 방전하고 분해하여, 상기 폐이차전지 내 분리막을 회수하는 단계; 상기 회수된 분리막 표면을 탈이온수로 세척 후 건조하는 단계; 상기 분리막 표면을 열처리하는 단계; 및 고분자로 상기 열처리된 분리막을 표면처리하는 단계를 포함하는, 폐이차전치 내 분리막을 활용한 수처리 분리막 제조방법 및 상기 제조방법으로 제조된 수처리 분리막이 제공된다.

NEGATIVE ACTIVE MATERIAL AND RECHARGEABLE LITHIUM BATTERY INCLUDING SAME

NºPublicación:  KR20250153609A 27/10/2025
Solicitante: 
삼성에스디아이주식회사
CN_120834162_PA

Resumen de: KR20250153609A

음극 활물질 및 이를 포함하는 리튬 이차 전지에 관한 것으로서, 상기 음극 활물질은 결정질 실리콘 1차 입자; 비정질 실리콘; 및 비정질 탄소 코팅층을 포함한다.

Bidirectional pressure charging/discharging equipment and method of activating batteries using the same

NºPublicación:  KR20250153582A 27/10/2025
Solicitante: 
주식회사엘지에너지솔루션
WO_2025220969_PA

Resumen de: WO2025220969A1

A bidirectional pressing charging and discharging equipment according to the present invention comprises: first pressing plates arranged in an X-direction so as to press the front surface of a battery cell; second pressing plates arranged in pairs with the first pressing plates so as to press the rear surface of the battery cell; a first ball screw configured to sequentially pass through the plurality of first pressing plates along the X-direction and move the first pressing plates in ±X directions by means of forward and reverse rotation; a second ball screw configured to sequentially pass through the plurality of second pressing plates along the X-direction and move the second pressing plates in the ±X directions by means of forward and reverse rotation; a first driving unit for providing a driving force to rotate the first ball screw; and a second driving unit for providing a driving force to rotate the second ball screw.

Apparatus of taping electrode sheet

NºPublicación:  KR20250153366A 27/10/2025
Solicitante: 
주식회사엘지에너지솔루션
WO_2025220842_PA

Resumen de: WO2025220842A1

The present invention relates to a taping apparatus for an electrode sheet. A taping apparatus for an electrode sheet according to one aspect of the present invention comprises: an electrode sheet supply unit for supplying an electrode sheet including a foil-shaped current collecting part and a plurality of pattern parts arranged along the longitudinal direction of the current collecting part on one surface of the current collecting part; a taping unit forming a tape part attached to one surface of the current collecting part to overlap at least a part of two pattern parts adjacent to each other among the plurality of pattern parts; and an electrode sheet recovery unit for recovering the electrode sheet on which the tape part is formed. The taping unit may comprise: a gripper capable of picking up or placing the tape and capable of moving in the width direction of the current collecting part; and a pressing block capable of pressing the tape toward the current collecting part through an area having a width wider than a gap between the two pattern parts.

A method for stepwise separation of current collectors cathode active materials and anode active materials from mixtures derived from waste secondary batteries

NºPublicación:  KR20250153648A 27/10/2025
Solicitante: 
주식회사에바싸이클

Resumen de: KR20250153648A

폐이차전지로부터 유래한 혼합물인 극판 집전체, 양극 활물질 및 음극 활물질의 혼합물을 초음파 진동 조건 하에서 체질하여 상기 극판 집전체를 상기 양극 활물질 및 음극 활물질의 혼합물로부터 분리하는 제1 단계; 상기 양극 활물질 및 음극 활물질의 혼합물을 초음파 진동 조건 하에서 체질하여 상기 양극 활물질과 음극 활물질을 분리하는 제2 단계; 및 상기 제2 단계에서 비산되는 음극 활물질을 흡입하는 제3 단계를 포함하는 폐이차전지 유래 혼합물로부터 극판 집전체, 양극 활물질 및 음극 활물질을 단계적으로 분리하는 방법이 제공된다.

POWER STORAGE DEVICE

Nº publicación: KR20250153676A 27/10/2025

Solicitante:

도요타지도샤가부시키가이샤

JP_2025163789_PA

Resumen de: US2025329857A1

A power storage device is mountable on a vehicle, and includes: a plurality of cells; a buffer portion; and an upper plate portion. The plurality of cells are arranged in a first direction, the first direction being a direction along a horizontal direction. The buffer portion is joined to an upper portion of each of the plurality of cells. The buffer portion extends in the first direction. The upper plate portion is disposed above the buffer portion. The upper plate portion is joined to the buffer portion. The buffer portion is separable in an up-down direction when a tensile stress in the up-down direction occurs. The buffer portion includes a starting point portion. The starting point portion serves as a starting point of separation of the buffer portion at an end edge in the first direction.

traducir