Ministerio de Industria, Turismo y Comercio LogoMinisterior
 

Alerta

Resultados 1670 resultados
LastUpdate Última actualización 22/03/2026 [07:31:00]
pdfxls
Publicaciones de los últimos 15 días/Last 15 days publications (excluidas pubs. CN y JP /CN and JP pubs. excluded)
previousPage Resultados 1600 a 1625 de 1670 nextPage  

SECONDARY BATTTERY MANUFACTURING EQUIPMENT METHOD OF MANUFACTURING SECONDARY BATTERY USING THE SAME

NºPublicación:  KR20260031313A 09/03/2026
Solicitante: 
주식회사엘지에너지솔루션
KR_20260031313_PA

Resumen de: WO2026049387A1

According to embodiments, secondary battery manufacturing equipment is provided. The equipment comprises: a die coater configured to apply an electrode slurry on a current collector sheet so that an electrode slurry lane is formed on the current collector sheet; and a magnetic module configured to apply a magnetic field to an electrode sheet including the current collector sheet and the electrode slurry lane, wherein the magnetic field has a non-uniform intensity in the transverse direction of the electrode sheet.

SECONDARY BATTERY AND BATTERY PACK INCLUDING THE SAME

NºPublicación:  KR20260031287A 09/03/2026
Solicitante: 
삼성에스디아이주식회사
KR_20260031287_PA

Resumen de: US20260066498A1

A secondary battery and a battery pack are disclosed. A secondary battery includes a case, an electrode assembly accommodated in the case, a cap plate including a first surface facing the electrode assembly and a second surface opposite the first surface, a terminal protruding outward from the cap plate and connected to the electrode assembly, and a gasket between the cap plate and the terminal and including a first end portion in contact with the cap plate and a second end portion in contact with the terminal, and a creepage distance of the gasket is greater than a distance between the first end portion and the second end portion.

ELECTRODE ASSEMBLY SECONDARY BATTERY AND BATTERY PACK

NºPublicación:  KR20260031284A 09/03/2026
Solicitante: 
삼성에스디아이주식회사
KR_20260031284_PA

Resumen de: US20260066484A1

An electrode assembly, including a first electrode, a second electrode facing the first electrode, a first tab member extending from the first electrode, and a second tab member extending from the second electrode, wherein the first electrode and the second electrode have shorter lengths parallel to a second direction intersecting a first direction than lengths parallel to the first direction.

ELECTRODE ASSEMBLY SECONDARY BATTERY AND BATTERY PACK

NºPublicación:  KR20260031283A 09/03/2026
Solicitante: 
삼성에스디아이주식회사
KR_20260031283_PA

Resumen de: US20260066496A1

An electrode assembly, a secondary battery, and a battery pack are disclosed. An electrode assembly includes one or more positive electrode plates, one or more negative electrode plates facing the one or more positive electrode plates in a first direction, a first positive electrode tab extending from a positive electrode plate of the one or more positive electrode plates and bent in the first direction, a second positive electrode tab extending from the positive electrode plate and bent in a direction opposite to the first direction, a first negative electrode tab extending from a negative electrode plate of the one or more negative electrode plates and bent in the direction opposite to the first direction, and a second negative electrode tab extending from the negative electrode plate and bent in the first direction.

Transport System for Producing Cathode Active Materials

NºPublicación:  KR20260031321A 09/03/2026
Solicitante: 
포스코홀딩스주식회사
KR_20260031321_PA

Resumen de: WO2026049151A1

The present invention relates to a transport system for transporting a cathode material to a calcination furnace in a cathode material calcination process. Proposed is a method in which a skid rail is constructed using rail pieces that are easy to assemble and disassemble, and do not form discontinuous points at coupling joints, and thus it is possible to prevent an overturning accident caused by collision of a large tray, in which a cathode active material is loaded, with the discontinuous points during a cathode material calcination process.

ELECTRODE ASSEMBLY SECONDARY BATTERY AND BATTERY PACK

NºPublicación:  KR20260031286A 09/03/2026
Solicitante: 
삼성에스디아이주식회사
KR_20260031286_PA

Resumen de: US20260066485A1

An electrode assembly, a secondary battery, and a battery pack are disclosed. An electrode assembly includes a first electrode, a second electrode facing the first electrode along a first direction, a negative electrode tab extending from the first electrode and bent in the first direction or in a direction opposite to the first direction, and a positive electrode tab extending from the second electrode and bent in the first direction or in the direction opposite to the first direction.

BATTERY ELECTRICAL DEVICE AND METHOD AND APPARATUS FOR FABLICATING BATTERY

NºPublicación:  KR20260032644A 09/03/2026
Solicitante: 
컨템포러리엠퍼렉스테크놀로지홍콩리미티드
KR_20260032644_PA

Resumen de: CN117276798A

There is provided a battery (10) comprising: a plurality of battery cells (20) having a housing (25) configured to actuate to release an internal pressure of the housing (25) when the internal pressure or temperature of the housing (25) reaches a threshold value; a plurality of first box bodies (11), the first box bodies (11) are used for accommodating at least one battery cell (20) in the plurality of battery cells (20), the first box bodies (11) comprise pressure relief areas (113), and the pressure relief areas (113) are used for releasing internal pressure of the first box bodies (11); and the second box body (12) is used for accommodating the plurality of first box bodies (11), so that the safety of the battery (10) can be enhanced.

이차 전지용 버스바-전극 상호 연결 시스템 및 그 조립 방법

NºPublicación:  KR20260032475A 09/03/2026
Solicitante: 
에노빅스코오퍼레이션
KR_20260032475_PA

Resumen de: CN121336299A

An electrode assembly includes battery cells stacked in a longitudinal direction, each battery cell including an electrode structure, a separator, and a counter electrode structure. The electrode structure comprises an electrode current collector and an electrode active material layer. The counter electrode structure includes a counter electrode current collector and a counter electrode active material layer. End portions of the pair of electrode current collectors extend beyond the pair of electrode active materials and the separator. The end portions of the pair of electrode current collectors are bent to define bent end portions of the respective pair of electrode current collectors. The bent end portions of at least some of the counter electrode current collectors overlap the bent end portions of adjacent counter electrode current collectors. The electrode assembly also includes a pair of electrode busbars extending across and attached to the bent end portions such that the pair of electrode current collectors are electrically connected to and disposed inside the pair of electrode busbars.

ELECTRODE ACTIVE MATERIAL ELECTRODE LAYER AND SOLID-STATE BATTERY

NºPublicación:  KR20260032235A 09/03/2026
Solicitante: 
도요타지도샤(주)
KR_20260032235_PA

Resumen de: US20260066282A1

An electrode active material includes primary particles containing a silicon element, the primary particles being provided as secondary particles by a binder. The primary particles are porous, and an average pore size of pores of the primary particles is more than 4.1 nm. A molecular size D50 in a molecular size distribution of the binder is less than 1,859 nm. The molecular size D50 is equal to or larger than the average pore size.

ALUMINUM BATTERY AND MANUFACTURING METHOD THEREOF

NºPublicación:  KR20260032233A 09/03/2026
Solicitante: 
아푸이파워씨오엘티디
KR_20260032233_PA

Resumen de: US20260066336A1

An aluminum battery including an electrode structure is provided. The electrode structure includes a substrate and a channel layer located on the substrate. A material of the channel layer includes an aluminum chloride. A manufacturing method of an aluminum battery is also provided.

ELECTRIC POWER STORAGE APPARATUS

NºPublicación:  KR20260032227A 09/03/2026
Solicitante: 
도요타지도샤가부시키가이샤
KR_20260032227_PA

Resumen de: US20260066453A1

An electric power storage apparatus includes a first electric power storage module, a second electric power storage module, and a reinforcement member disposed between these electric power storage modules. The reinforcement member includes a first wall section facing the first electric power storage module and a second wall section facing the second electric power storage module. A hollow section is provided between the first and second wall sections. A first space is provided between the first electric power storage module and the reinforcement member. A first hole section is provided on the first wall section. The first hole section communicates between the first space and the hollow section. A second space is provided between the second electric power storage module and the reinforcement member. A second hole section is provided on the second wall section. The second hole section communicates between the second space and the hollow section.

POWER STORAGE DEVICE

NºPublicación:  KR20260032245A 09/03/2026
Solicitante: 
도요타지도샤가부시키가이샤
KR_20260032245_PA

Resumen de: US20260066426A1

A power storage device includes a first power storage stack including a plurality of power storage cells disposed in a first direction, a second power storage stack including a plurality of power storage cells and facing the first power storage stack in a second direction, an upper wall covering the first power storage stack and the second power storage stack, and a reinforcing member provided on the upper wall. The upper wall includes a top portion located above and between the first power storage stack and the second power storage stack. The reinforcing member is provided on the top portion.

SECONDARY BATTERY AND METHOD OF MANUFACTURING THE SAME

NºPublicación:  KR20260031196A 09/03/2026
Solicitante: 
삼성에스디아이주식회사
KR_20260031196_PA

Resumen de: US20260066508A1

A secondary battery includes an electrode assembly including a first electrode with a first electrode tab, a separator, and a second electrode with a second electrode tab, a case accommodating the electrode assembly, the case being electrically connected to the second electrode tab, a cap assembly that seals an open one side of the case, the cap assembly being electrically connected to the first electrode tab, and an insulation sheet attached to the cap assembly, the insulation sheet electrically insulating the first electrode tab from the electrode assembly.

SECONDARY BATTERY ELECTROLYTE ADDITIVE COMPRISING MILLED MAGNESIUM SILICATE SECONDARY BATTERY ELECTROLYTE COMPRISING THE SAME AND METHOD FOR PRODUCING THE SAME

NºPublicación:  KR20260031034A 09/03/2026
Solicitante: 
주식회사자이언트케미칼
KR_20260031034_PA

Resumen de: WO2026049105A1

The present invention relates to a secondary battery electrolyte additive comprising milled magnesium silicate, a secondary battery electrolyte comprising same, and a method for producing same and, more specifically, to magnesium silicate for a secondary battery electrolyte additive which is prepared by subjecting a mixture of magnesium silicate and a methyl ethyl ketone (MEK) solvent to primary milling using a bead mill and to secondary milling using a nano mill, as well as to a secondary battery electrolyte comprising same and a method for producing same. The present invention can provide an optimal content of the secondary battery electrolyte additive for enhancing capacity retention in a secondary battery electrolyte, and can provide a method for producing nano-sized magnesium silicate capable of reducing the process time through mechanical milling.

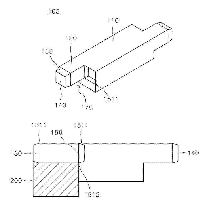
ELECTRODE LOADING APPARATUS FOR SECONDARY BATTERY

NºPublicación:  KR20260032170A 09/03/2026
Solicitante: 
에스케이온주식회사
KR_20260032170_PA

Resumen de: KR20260032170A

본 개시는 이차전지용 전극 로딩 장치에 관한 것으로, 전극이 적재된 매거진이 교체될 때 전극 로딩 작업이 중단되는 것을 최소화하기 위해 매거진부, 매거진 가이드부, 베이스 플레이트부, 리프터부, 그립퍼부 및 피커부를 포함하는 이차전지용 전극 로딩 장치가 제공될 수 있다.

인산철 재료, 이의 제조 방법, 양극재, 양극판 및 이차 전지

NºPublicación:  KR20260032180A 09/03/2026
Solicitante: 
후베이홍룬하이테크뉴머티리얼즈캄파니리미티드
KR_20260032180_PA

Resumen de: WO2026044811A1

The present application relates to the field of lithium-ion batteries, and provides an iron phosphate material, a preparation method therefor, a positive electrode material, a positive electrode sheet, and a secondary battery. The iron phosphate material satisfies an evaluation index q in the range of 0.02 μm-1 to 0.15 μm-1. The evaluation index q is calculated using the following formula: q = t / Dv90, where t is the iron-to-phosphorus ratio of the iron phosphate material, and Dv90 is the particle size value corresponding to a 90% cumulative volume distribution percentage when the particle sizes of iron phosphate particles of the iron phosphate material are sorted from smallest to largest. By controlling the value of the evaluation index q, the present application improves the efficiency of sand milling or ball milling in the preparation process of lithium iron phosphate, facilitates the preparation of positive electrode materials such as lithium iron phosphate materials and lithium manganese iron phosphate materials that meet particle size requirements and iron-to-phosphorus ratio requirements, reduces material blockage during material conveyance, and improves the electrochemical performance of positive electrode materials such as lithium iron phosphate materials and lithium manganese iron phosphate materials prepared therefrom.

BATTERY PACK

NºPublicación:  KR20260032228A 09/03/2026
Solicitante: 
도요타지도샤가부시키가이샤
KR_20260032228_PA

Resumen de: US20260066382A1

A battery pack includes a battery stack and a band body that binds battery cells of the battery stack between the battery stack and a cooler that cools the battery cells. In the battery pack, a plurality of heat conductive sheets is provided between the battery cells and the band body and between the cooler and the band body. Between the battery cells and the band body, one end portion of each curved heat conductive sheet is brought into surface contact with and joined to the battery cells, and another end portion thereof is brought into surface contact with and joined to the band body. Thereby, even when a curve or the like arises on the band body and distances between the battery cells and the band body vary, since elastic deformation of the heat conductive sheets follows, deterioration of cooling efficiency for the stacked battery cells can be restrained.

VEHICLE BATTERY CASE

NºPublicación:  KR20260032224A 09/03/2026
Solicitante: 
도요타지도샤가부시키가이샤
KR_20260032224_PA

Resumen de: US20260066421A1

A battery case of a battery has an internal space that is provided by an upper case and a lower case stacked together and in which a battery pack is housed. A framework part is attached to the lower case such that a flat portion is in surface contact with a backside of a bottom plate. The bottom plate is provided with a recess extending from a contact area where the flat portion is in surface contact with the bottom plate to a non-contact area within a notch of the framework part. This allows a coating liquid to flow around the contact area even with the framework part attached in the lower case, and thus it is possible to restrain uneven coating, such as a thin coating film or an exposed base material, and restrain the formation of rust and the progression of rust.

BATTERY PACK POTTING METHOD BATTERY PACK AND ELECTRICAL EQUIPMENT

NºPublicación:  KR20260032258A 09/03/2026
Solicitante: 
시아오미이브이테크놀로지컴퍼니리미티드
KR_20260032258_PA

Resumen de: US20260066438A1

A method for potting the battery pack includes filling the accommodating chamber with a foam adhesive for a plurality of times prior to installation of the cover to form a pre-potted structure formed by at least one filling of the foam adhesive and a post-potted structure formed by at least one filling of the foam adhesive, in which the battery assembly is connected to the cover through the post-potted structure. A battery pack includes a case having an accommodating chamber with an opening, a battery assembly located in the accommodating chamber, a cover closing the opening, a pre-potted structure formed by foam adhesive and located in the accommodating chamber, and a post-potted structure formed by foam adhesive and located in the accommodating chamber. The battery assembly is connected to the cover through the post-potted structure.

NEGATIVE ACTIVE MATERIAL FOR RECHARGEABLE LITHIUM BATTERY NEGATIVE ELECTRODE FOR RECHARGEABLE LITHIUM BATTERY AND RECHARGEABLE LITHIUM BATTERY

NºPublicación:  KR20260032251A 09/03/2026
Solicitante: 
삼성에스디아이주식회사
KR_20260032251_PA

Resumen de: KR20260032251A

리튬 이차 전지용 음극 활물질 및 이를 포함하는 리튬 이차 전지에 관한 것으로서, 상기 리튬 이차 전지용 음극 활물질은 1차 입자가 조립된 2차 입자를 포함하는 흑연; 및 상기 2차 입자의 내부에 존재하는 비정질 카본을 포함하고, 상기 1차 입자의 평균 크기 D50에 대한 상기 비정질 카본의 평균 크기 D50의 비는 0.1 내지 0.5이다.

POWER STORAGE DECE

NºPublicación:  KR20260032246A 09/03/2026
Solicitante: 
도요타지도샤가부시키가이샤
KR_20260032246_PA

Resumen de: US20260066430A1

A power storage device includes a plurality of power storage cells arranged in a first direction, an upper cover disposed above the power storage cells, an adhesive member that bonds the power storage cells and the upper cover to each other, and an intervention member made of rubber and interposed between the power storage cells and the upper cover. The intervention member includes a pair of intervention portions extending in the first direction and disposed at positions sandwiching the adhesive member in a second direction orthogonal to both the first direction and an up-down direction. Each intervention portion is provided with an intervention space extending in the first direction.

BATTERY PACK ASSEMBLY METHOD THEREOF AND VEHICLE

NºPublicación:  KR20260032189A 09/03/2026
Solicitante: 
시아오미이브이테크놀로지컴퍼니리미티드
KR_20260032189_PA

Resumen de: US20260066457A1

A battery pack includes a battery tray, an air-discharge structure, potting adhesive and a battery module. The battery tray has an accommodating space where the battery module is installed; at least part of the air-discharge structure is positioned in the accommodating space for absorbing air in the accommodating space and discharging the air in the accommodating space to the outside of the battery pack; and the potting adhesive is provided in the accommodating space and encapsulates the battery module and at least part of the air-discharge structure. The air-discharge structure is installed in the accommodating space, and at least part of the air-discharge structure is covered by potting adhesive, so that when filling the potting adhesive, the air in the area of the accommodation space where the potting adhesive is positioned in the accommodating space can be discharged through the air-discharge structure.

ANODE FOR ALL-SOLID-STATE BATTERY METHOD FOR PREPARING ANODE FOR ALL-SOLID-STATE BATTERY AND ALL-SOLID-STATE BATTERY COMPRISING THE SAME

NºPublicación:  KR20260031021A 09/03/2026
Solicitante: 
현대자동차주식회사기아주식회사서울대학교산학협력단
KR_20260031021_PA

Resumen de: US20260066308A1

Provided are an anode for an all-solid-state battery, a method for preparing the same, and an all-solid-state battery including the anode. The anode includes an anode current collector, a lithium-friendly metal layer stacked on the anode current collector, and an anode active material layer stacked on the lithium-friendly metal layer, in which the anode active material layer includes a Si-based anode active material.

AI A Smart grid for home control method with AI and cooling technology

NºPublicación:  KR20260030994A 09/03/2026
Solicitante: 
주식회사이엔솔루션
KR_20260030994_PA

Resumen de: KR20260030994A

본 발명은, 분산형 태양광발전의 각 태양광발전부가 위치한 지역의 기상요인 및 기상요인간 상관관계, 과거 생산량에 기반한 이력 데이터 및 유사 그룹화 기반의 빅데이터 분석 특히, 이러한 다양한 요인들을 복합적으로 반영한 다양한 보정치 적용을 통한 한 보다 정확한 전력 생산량 예측치 및 에너지사용장치의 과거 사용량에 기반한 이력 데이터 및 사용자가 제공하는 부하단의 에너지사용장치에서의 전력 사용량 예측 관련 정보 등을 기반으로 한 분석 특히, 이러한 여러 요인들을 복합적으로 반영한 다양한 보정치 적용을 통한 보다 정확한 전력 사용량 예측치를 기반으로 한 인공지능(AI) 기술과 Pin-Fin 히트싱크를 이용한 냉각기술이 적용되며 특히, 복수 개의 원통형 배터리를 포함하여 이루어지는 에너지저장장치부에서의 냉각 효율을 극대화할 수 있도록, 원통형 배터리에서 발생되는 열을 전도 및 공기 또는 외부로 전달시켜 방열시킬 수 있는 핀고정판 및 복수 개의 핀(Pin)으로 이루어진 구조를 갖는 배터리 냉각용 Pin-Fin 히트싱크를 활용하면서 특히, 복수 개의 원통형 배터리가 내장된 에너지저장장치부의 부피는 최소화하면서도 냉각 효율은 증대시킬 수 있도록, 히트싱크 내부의 핀 상하측이 각각 핀으로부터 전달되

CATHODE ACTIVE MATERIAL AND LITHIUM SECONDARY BATTERY COMPRISING THE SAME

Nº publicación: KR20260031989A 09/03/2026

Solicitante:

주포스코퓨처엠

KR_20260031989_PA

Resumen de: KR20260031989A

본 발명은 리튬 금속 산화물 입자를 포함하고, XPS 스펙트럼에서 528~530eV에서의 피크의 면적(SMO)과 530~533eV에서의 피크의 면적(SCO)의 면적비 SMO/SCO가 0.30 내지 0.38인 것인, 리튬 이차 전지용 양극 활물질에 관한 것이다.

traducir