Ministerio de Industria, Turismo y Comercio LogoMinisterior
 

Alerta

Resultados 1670 resultados
LastUpdate Última actualización 22/03/2026 [07:31:00]
pdfxls
Publicaciones de los últimos 15 días/Last 15 days publications (excluidas pubs. CN y JP /CN and JP pubs. excluded)
previousPage Resultados 1625 a 1650 de 1670 nextPage  

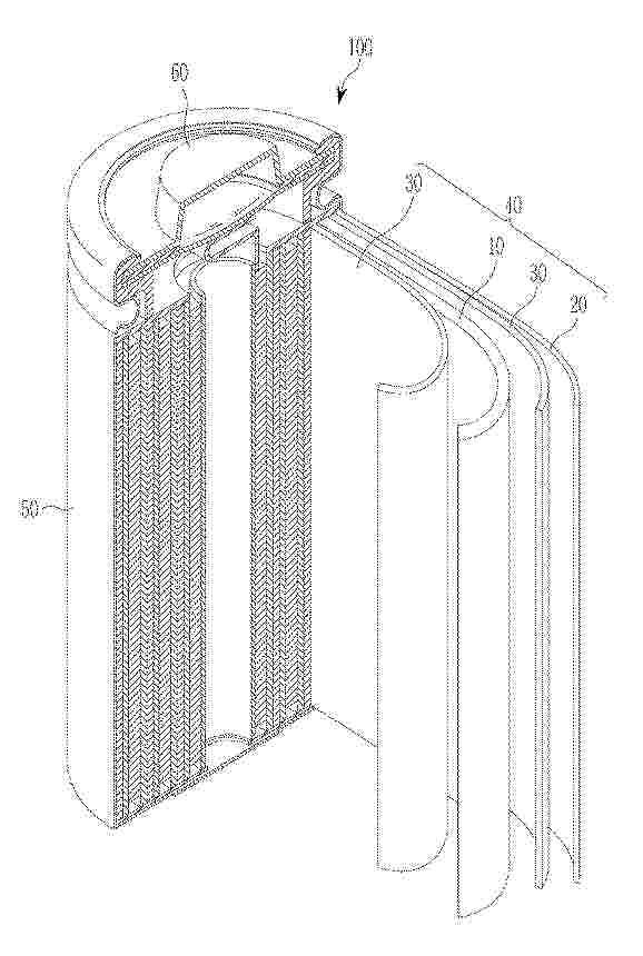
POWER STORAGE DEVICE

NºPublicación:  KR20260032244A 09/03/2026
Solicitante: 
도요타지도샤가부시키가이샤
KR_20260032244_PA

Resumen de: US20260066385A1

A power storage device includes a plurality of power storage cells, a first heat conduction member, a second heat conduction member, a first connecting member, and a second connecting member. The first heat conduction member faces a portion on one side of a safety valve in a second direction. The second heat conduction member faces a portion on another side of the safety valve in the second direction. The first connecting member is provided between the valve mounting surface of each power storage cell disposed in odd-numbered positions from one end side power storage cell to another end side power storage cell, and the first heat conduction member. The second connecting member is provided between the valve mounting surface of each power storage cell disposed in even-numbered positions from the one end side power storage cell to the other end side power storage cell, and the second heat conduction member.

Self-supporting solid electrolyte membrane using self-healing polymer binder and method for manufacturing the same

NºPublicación:  KR20260032081A 09/03/2026
Solicitante: 
한국과학기술연구원
KR_20260032081_PA

Resumen de: KR20260032081A

본 발명은 고체 전해질; 건식 바인더; 및 자가 치유 특성 고분자 바인더를 포함하고, 상기 자가 치유 특성 고분자 바인더는, 리포산 및 고분자 가교 물질을 중합한 것인, 고체 전해질 막에 관한 것이다.

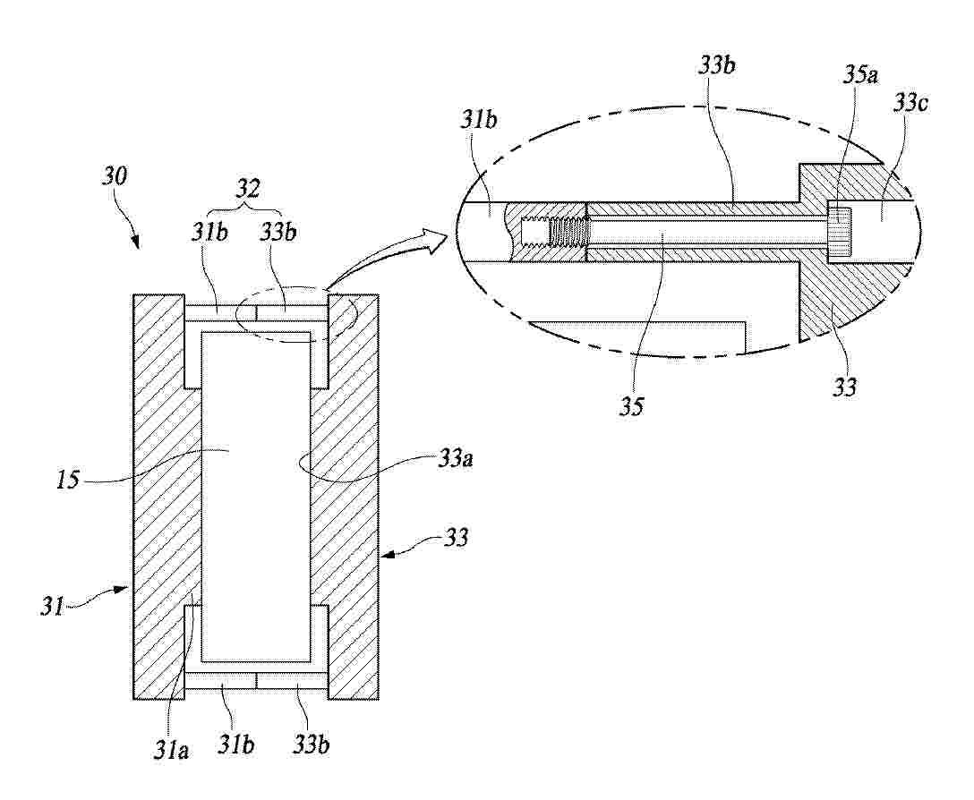
BLIND RIVETING CYLINDRICAL CAN ASSEMBLY FOR SECONDARY BATTERY BLIND RIVETING METHOD BLIND RIVETING STRUCTURE CYLINDRICAL SECONDARY BATTERY HAVING THE BLIND RIVETING STRUCTURE AND SECONDARY BATTERY PACK HAVING THE CYLINDRICAL SECONDARY BATTERY

NºPublicación:  KR20260032070A 09/03/2026
Solicitante: 
동원시스템즈주식회사
KR_20260032070_PA

Resumen de: KR20260032070A

본 발명은 이차전지용 블라인드 리벳팅 원통형 캔 어셈블리, 그 원통형 캔 어셈블리의 블라인드 리벳팅 방법, 리벳팅 구조, 그 블라인드 리벳팅 구조를 구비하는 원통형 이차전지, 및 그 원통형 이차전지를 구비하는 이차전지 팩에 관한 것으로, 전극 단자의 외주에 설치된 절연시트는 전지 캔의 비정상 모드에서 전지 캔의 내부 온도 증가시 소실되어 전지 캔과 전극 단자 간의 쇼트(short-circuit)를 유도하여 발열시켜서 원통형 이차전지(리튬이온 배터리 셀) 내부를 손상시킴에 따라 외부 화염이 다른 원통형 이차전지로 이어져 발생하는 연쇄 폭발 화재를 효과적으로 방지할 수 있다.

VEHICLE BATTERY CASE

NºPublicación:  KR20260032211A 09/03/2026
Solicitante: 
도요타지도샤가부시키가이샤
KR_20260032211_PA

Resumen de: US20260066420A1

A battery case of a battery includes a lower case. A recess is provided near a corner on a rear side of a bottom plate of the lower case in a front-rear direction of a vehicle, and the lower case can store water in the recess. This allows the battery case to increase the amount of water that can immerse a battery module, and restrain the battery module from being immersed in water as compared to a case in which no recess is provided in the bottom plate.

BATTERY PACK CASE AND VEHICLE COMPRISING THE SAME

NºPublicación:  KR20260032054A 09/03/2026
Solicitante: 
주식회사동희산업
KR_20260032054_PA

Resumen de: KR20260032054A

본 발명은 차체와 배터리팩 케이스를 체결하는 체결파이프가 지지멤버를 관통하지 않고 결합되어, 제조 비용 및 제조 공정이 감소하고, 설계 자유도가 증가한 배터리팩 케이스 및 이를 포함하는 차량이 소개된다.

Energy storage system

NºPublicación:  KR20260032025A 09/03/2026
Solicitante: 
삼성에스디아이주식회사
KR_20260032025_PA

Resumen de: US20260066451A1

An energy storage system (ESS) includes a container to accommodate a plurality of battery modules, and an explosion-proof panel arranged on one surface of the container to seal the container. The explosion-proof panel includes a gas tank to release inert gas into the container when a pressure inside the container is lower than a pressure outside the container.

BATTERY MANAGEMENT APPARATUS AND BATTERY MANAGEMENT METHOD

NºPublicación:  KR20260031963A 09/03/2026
Solicitante: 
주식회사엘지에너지솔루션
KR_20260031963_PA

Resumen de: KR20260031963A

본 개시의 배터리관리방법은 배터리에 대한 제1 파라미터 및 제2 파라미터에 대응되는 제3 파라미터를 출력하는 맵을 저장하는 단계, 퇴화상태의 배터리가 휴지모드인 동안, 제1 파라미터, 제2 파라미터, 및 제3 파라미터를 측정하는 단계, 및 제1 파라미터, 제2 파라미터, 및 제3 파라미터와 다변량정규분포를 이용해 맵을 업데이트한 퇴화맵을 생성하는 단계를 포함한다.

Insulating layer for pouch film all-solid-state battery including the same and method for manufacturing the same

NºPublicación:  KR20260031946A 09/03/2026
Solicitante: 
삼성에스디아이주식회사
KR_20260031946_PA

Resumen de: WO2026049134A1

The present invention relates to an all-solid-state battery and a method for manufacturing same and, more specifically, to an all-solid-state battery comprising: an electrode assembly in which at least one unit cell is stacked; and a pouch for packaging the electrode assembly. The unit cell includes a positive electrode, a negative electrode, and a solid electrolyte between the positive electrode and the negative electrode, and the pouch includes an insulating layer and a metal layer on the insulating layer, the insulating layer containing a polymer resin and a heat absorbing material dispersed in the polymer resin, wherein the endothermic initiation temperature of the heat absorbing material is 170°C to 300°C.

CATHODE FOR LITHIUM SECONDARY BATTERY AND LITHIUM SECONDARY BATTERY INCLUDING THE SAME

NºPublicación:  KR20260031976A 09/03/2026
Solicitante: 
에스케이온주식회사
KR_20260031976_PA

Resumen de: US20260066278A1

A cathode for a lithium secondary battery according to embodiments of the present disclosure includes a cathode current collector, a first cathode active material layer disposed on at least one surface of the cathode current collector and including lithium metal phosphate particles, and a second cathode active material layer disposed on the first cathode active material layer and including lithium-transition metal oxide particles, wherein the content of the lithium-transition metal oxide particles, based on the total weight of the lithium metal phosphate particles and the lithium-transition metal oxide particles, is 20 wt % to 70 wt %.

Device for winding electrode assembly method for manufacturing electrode assembly battery cell and battery pack

NºPublicación:  KR20260031811A 09/03/2026
Solicitante: 
주식회사엘지에너지솔루션
KR_20260031811_PA

Resumen de: KR20260031811A

본 발명의 일실시예에 따른 전극 조립체 권취용 권심장치는 서로 마주보도록 배치되는 제1 권심부재 및 제2 권심부재를 포함하고, 상기 제1 권심부재는 내부에 배치되는 내부 권심부재; 및 상기 내부 권심부재를 감싸는 피복층;을 포함하고, 상기 제2 권심부재는 내부에 배치되는 내부 권심부재, 및 상기 제2 권심부재의 내부 권심부재를 감싸는 피복층;을 포함하는 것을 특징으로 한다. 본 발명의 일실시예에서는 전지셀에서 젤리롤 전극조립체 제조시 곡률저하를 방지할 수 있는 효과를 가진다.

Partition Device for Evaluating Secondary Battery Cell

NºPublicación:  KR20260031808A 09/03/2026
Solicitante: 
삼성에스디아이주식회사
KR_20260031808_PA

Resumen de: KR20260031808A

본 발명은 이차전지 셀 평가용 격벽장치에 관한 것으로, 해결하고자 하는 기술적 과제는, 셀의 위치 별 압력 불균일 분포를 최소화시켜 균일한 충방전 반응을 유도할 수 있고, 또한, 셀에 가해지는 압력 조절이 가능하고, 두께가 다른 다양한 셀에 대해 범용적으로 사용이 가능한 격벽장치를 제공하는 것이다. 전지 셀 평가용 격벽장치는, 전지 셀의 일측면에 대향하도록 설치되고, 셀의 팽창 시 셀의 일측면 중앙부에 반작용력을 가하는 제1돌출가압부를 갖는 제1바디와, 셀을 중심으로 제1바디의 반대편에 위치하며, 셀의 팽창 시 셀의 타측면 중앙부에 반작용력을 가하는 제2돌출가압부를 구비한 제2바디와, 제1바디와 제2바디의 간격을 유지시키는 간격유지부를 갖는다.

- - Anode Material for Lithium-Ion Batteries Including Fluorine and Nitrogen Co-Doped Carbon Conductive Agent Method for Manufacturing the Same and Lithium-Ion Batteries

NºPublicación:  KR20260032073A 09/03/2026
Solicitante: 
경상국립대학교산학협력단
KR_20260032073_PA

Resumen de: KR20260032073A

본 발명의 일실시예는 리튬 이온 전지 음극재 및 이를 포함하는 리튬 이온 전지를 제공한다. 본 발명의 일 실시예에 따른 음극재는 LTO 전극의 낮은 전기 전도성과 제한된 리튬 이온 수송 문제를 해결하여, 향상된 에너지 저장 성능, 우수한 장기 안정성을 갖는 리튬 이온 전지를 제공할 수 있게 되는 특징이 있다.

Solid electrolyte slurry method for producing the same and solid state battery manufactured thereby

NºPublicación:  KR20260031901A 09/03/2026
Solicitante: 
삼성에스디아이주식회사
KR_20260031901_PA

Resumen de: WO2026049182A1

A solid electrolyte slurry according to a concept of the present invention comprises a compound represented by formula 1. In formula 1, R1 is hydrogen or an alkyl group, X1 and X2 are each independently O, N, or S, and L1 is a linear or branched alkylene.

POSITIVE ELECTRODE ACTIVE MATERIAL AND METHOD FOR MANUFACTURING THE SAME LITIUM SECONDARY BATTERY COMPRISING THE SAME

NºPublicación:  KR20260031899A 09/03/2026
Solicitante: 
주포스코퓨처엠
KR_20260031899_PA

Resumen de: KR20260031899A

리튬 이차 전지용 양극 활물질, 이의 제조 방법 및 이를 포함하는 리튬 이차 전지에 대한 것으로, 단결정 리튬 이차 전지용 양극 활물질로서, 상기 양극 활물질은 단입자가 1 내지 20개 응집된 형태를 포함하고, 상기 양극 활물질 표면에는 아일랜드 형태의 코팅 입자가 위치하고, 상기 코팅 입자는 하기 수학식 1을 만족하는 것인, 리튬 이차 전지용 양극 활물질을 제공한다. 수학식 1 코팅 커버 비율 ≤ 15 면적%

ELECTRODE ACTIVE MATERIAL FOR LITHIUM SECONDARY BATTERY AND LITHIUM SECONDARY BATTERY COMPRISING THE SAME

NºPublicación:  KR20260031898A 09/03/2026
Solicitante: 
주포스코퓨처엠
KR_20260031898_PA

Resumen de: KR20260031898A

본 발명은 흑연계 모재; 상기 흑연계 모재 표면에 위치하는 저결정성 탄소 코팅층; 및 상기 코팅층에 포함되는 도전재;를 포함하고, 하기 관계식 1을 만족하는 음극 활물질용 인조 흑연을 제공한다. 관계식 1 0.820 ≤ Span* ρ/ SSA ≤ 0.1 여기서 Span은 (D90-D10)/D50, ρ는 음극 활물질의 탭밀도(단위 : g/cm3), SSA는 인조 흑연의 비표면적(단위 : m2/g)이다.

ELECTRODE ACTIVE MATERIAL FOR LITHIUM SECONDARY BATTERY AND LITHIUM SECONDARY BATTERY COMPRISING THE SAME

NºPublicación:  KR20260031897A 09/03/2026
Solicitante: 
주포스코퓨처엠
KR_20260031897_PA

Resumen de: KR20260031897A

본 발명에 따른 리튬 이차전지용 음극 활물질은 흑연계 모재; 상기 흑연계 모재 표면에 위치하는 저결정 탄소 코팅층; 및 상기 코팅층에 포함되는 도전재;를 포함하고, 상기 저결정성 탄소 함량은 1.0 내지 10wt% 이며, 상기 도전재 함량은 0.1 내지 1.0wt% 이다.

Cleaning composition for solid electrolyte slurry and a method for producing solid electrolyte slurry using the same

NºPublicación:  KR20260031895A 09/03/2026
Solicitante: 
삼성에스디아이주식회사
KR_20260031895_PA

Resumen de: WO2026049129A1

This washing composition for a solid electrolyte slurry comprises a compound represented by chemical formula 1 below: In chemical formula 1, R1 is hydrogen or an alkyl group, X1 and X2 are each independently O, N, or S, and L1 is a linear or branched alkylene.

CATHODE ACTIVE MATERIAL FOR SECONDARY BATTERY AND METHOD OF MANUFACUTURING THE SAME

NºPublicación:  KR20260031708A 09/03/2026
Solicitante: 
주포스코퓨처엠주식회사레이크머티리얼즈주아이작리서치
KR_20260031708_PA

Resumen de: KR20260031708A

이차전지용 양극 활물질 및 그 제조 방법에 대하여 개시한다. 본 발명에 따른. 이차전지용 양극 활물질 제조 방법은 (a) 리튬과 1종 이상의 타금속을 함유하는 양극 활물질 모재를 마련하는 단계, (b) 원자층 증착 방식으로 상기 양극 활물질 모재 표면에 금속 산화물을 증착하는 단계, 및 (c) 상기 (b) 단계의 결과물을 열처리하여, 상기 양극 활물질 모재의 리튬과 상기 금속 산화물층의 반응을 통해 리튬-금속 산화물을 형성하는 단계를 포함한다.

COMPOSITE TRANSITION METAL PRECURSOR AND PREPARING METHOD THEREOF AND POSITIVE ACTIVE MATERIAL USING THE SAME

NºPublicación:  KR20260031705A 09/03/2026
Solicitante: 
주포스코퓨처엠
KR_20260031705_PA

Resumen de: KR20260031705A

본 발명에 따른 복합전이금속 산화물 전구체는 복수의 판상의 일차입자를 포함하는 구형의 이차입자의 구조를 가지며, 상기 일차입자는 화학식 1로 표시되며, X선 회절 분석에서 (200)면의 피크의 강도를 기준으로 한 (220)면의 피크의 강도를 (220)면의 반가폭으로 나눈 값이 0.350 내지 0.600일 수 있다.

ESS Fire Prevention External Container Type Energy Storage System

NºPublicación:  KR20260031725A 09/03/2026
Solicitante: 
주맘스맘
KR_20260031725_PA

Resumen de: KR20260031725A

본 발명은 ESS에서 발생한 화재를 방재하는 방법에 관한 것으로, 보다 상세하게는 ESS에서 발생중이거나 발생한 화재를 방재 물질을 도포하여 인근에 있는 ESS 모듈 또는 발화물질을 화재로부터 보호하는 방재 방법에 관한 것이다.

ELECTRODE NOTCHING APPARATUS

NºPublicación:  KR20260031919A 09/03/2026
Solicitante: 
주식회사엘지에너지솔루션
KR_20260031919_PA

Resumen de: WO2026049539A1

An electrode notching apparatus for manufacturing a secondary battery, according to one embodiment of the present invention, comprises: a lower die on which an electrode sheet is placed to support the electrode sheet; and a notching unit for notching the electrode sheet and processing the same into a form including an electrode tab, wherein the lower die includes a plurality of suction holes for holding the electrode sheet such that the electrode sheet placed on the upper surface of the lower die is spread flat, and the plurality of suction holes are arranged to hold both edges in the horizontal direction and/or the vertical direction of the electrode sheet placed on the upper surface of the lower die.

BLACK POWDER RECYCLEING METHOD USING LIGHT IRRADIATION

NºPublicación:  KR20260031634A 09/03/2026
Solicitante: 
김유탁
KR_20260031634_PA

Resumen de: KR20260031634A

본 발명은 블랙 파우더에 광을 조사한 후, 드라이 스프레이를 통해 입자를 분리하는 과정을 통해 블랙 파우더를 재활용하는 방법에 관한 것으로, 블랙 파우더로부터 친환경적이면서도 효과적으로 전극 재료를 회수 및 재활용할 수 있다.

Secondary battery including gas assessing device and manufacturing method thereof

NºPublicación:  KR20260031719A 09/03/2026
Solicitante: 
삼성에스디아이주식회사
KR_20260031719_PA

Resumen de: KR20260031719A

본 발명은 이차전지의 외장재에 설치되는 가스 분석 장치 및 이를 포함하는 이차전지와 그 제조방법에 관한 것으로, 해결하고자 하는 과제는, 압력 센서에 사용되는 전자막의 원리처럼 압력별 고무막의 이동 변위를 안다면 유연 막이 부풀거나 오목해진 상태를 보고 전지 내부의 압력을 알 수 있도록 하는 것이다. 이를 위해 본 발명은, 전극조립체가 수용되는 케이스; 상기 케이스에 접합되는 캡플레이트; 및 상기 케이스 및 상기 캡플레이트 중 하나에 형성된 관통공을 밀폐하는 가스분석 장치를 포함하며, 상기 가스분석 장치는, 상기 관통공을 통해 상기 케이스 및 상기 캡플레이트 중 하나의 외부를 향해 노출되며 상기 케이스 내에서 발생하는 내부 가스의 압력에 의해 변형되는 유연 막을 포함하는, 이차전지를 제공한다.

Insulation member battery pack and method for manufacturing battery pack

NºPublicación:  KR20260031718A 09/03/2026
Solicitante: 
삼성에스디아이주식회사
KR_20260031718_PA

Resumen de: US20260066506A1

An insulation member includes an insulating material shaped into a volumetric shape, and interior space inside the volumetric shape, wherein the volumetric shape does not cover a protection circuit module on a case of a battery pack, the volumetric shape covering a polarity pin electrically connected to the battery pack and exposed to an outside of the case.

POSITIVE ELECTRODE AND RECHARGEABLE LITHIUM BATTERY INCLUDING THE SAME

Nº publicación: KR20260031683A 09/03/2026

Solicitante:

삼성에스디아이주식회사

KR_20260031683_PA

Resumen de: US20260066300A1

The present disclosure discloses a positive electrode including a current collector, and a positive electrode active material layer on the current collector. The positive electrode active material layer includes a positive electrode active material, boron nitride, and polyethylene oxide. The present disclosure also discloses a rechargeable lithium battery including the positive electrode.

traducir