Ministerio de Industria, Turismo y Comercio LogoMinisterior
 

Alerta

Resultados 205 resultados
LastUpdate Última actualización 15/12/2025 [06:51:00]
pdfxls
Solicitudes publicadas en los últimos 15 días / Applications published in the last 15 days
previousPage Resultados 125 a 150 de 205 nextPage  

一种散热箱散热通道

NºPublicación:  CN223665473U 12/12/2025
Solicitante: 
江阴市宏扬汽车制冷设备有限公司
CN_223665473_U

Resumen de: CN223665473U

本实用新型公开了一种散热箱散热通道,包括散热通道本体、一对缓冲机构和支撑机构,散热通道本体的外侧设有散热箱壳体,散热通道本体与散热箱壳体之间连接有一对缓冲机构,缓冲机构包括缓冲仓,缓冲仓的一侧设有导向板,导向板与散热通道本体之间连接有连接杆,缓冲机构的两侧均设有支撑机构,一对缓冲仓之间连接有导向杆,导向板上开凿有与导向杆相匹配的轨道槽,缓冲仓内设有压力板。本实用新型通过散热箱散热通道上相应机构的设置,提升了散热箱内散热通道的缓冲效果,降低了散热通道受到形变的可能性,不仅降低了散热通道损坏的几率,还降低了对散热箱正常使用的影响,提升了散热箱的散热效率,更方便使用。

汽水分离器、燃料电池以及车辆

NºPublicación:  CN223665474U 12/12/2025
Solicitante: 
蜂巢蔚领动力科技(江苏)有限公司
CN_223665474_U

Resumen de: CN223665474U

本申请公开了一种汽水分离器、燃料电池以及车辆,所述的汽水分离器包括分离器本体,分离器本体上形成有第一出气口和第二出气口;第一出气口连通至第一设备的进口,第二出气口连通至第一设备的出口,以降低汽水分离器的压损。由此,汽水分离器在排出介质时,能够保持较低的压损,从而提高汽水分离器的工作性能,进而使得设置有该汽水分离器的系统能够保持良好的工作状态。并且,从汽水分离器多个排气口排出的气体最终汇集至第一设备的出口后输送,能够在汽水分离器分流降低压损的同时,保持第一设备所需排出的气体总量,以满足设置有汽水分离器与设备的系统的工作条件,使得系统稳定的运行。

一种可控温的燃料电池余热回收利用系统

NºPublicación:  CN223665471U 12/12/2025
Solicitante: 
南京清能检测技术服务有限公司
CN_223665471_U

Resumen de: CN223665471U

本实用新型实施例提供了一种可控温的燃料电池余热回收利用系统,该系统包括总储水器,制氢系统冷却组件与制氢系统相连,制氢系统余热换热器分别与制氢系统冷却组件和总储水器相连,用于将制氢系统的热量交换至总储水器中,制氢系统散热装置与制氢系统冷却组件相连,且制氢系统散热装置与制氢系统余热换热器并联,用于将制氢系统的热量散发至外部环境中,燃料电池冷却组件与燃料电池相连,燃料电池余热换热器分别与燃料电池冷却组件和总储水器相连,用于将燃料电池的热量交换至总储水器中,燃料电池散热装置与燃料电池冷却组件相连,且燃料电池散热装置与燃料电池余热换热器并联,用于将燃料电池的热量散发至外部环境中。

一种加热装置及使用其的液流电池系统

NºPublicación:  CN223665472U 12/12/2025
Solicitante: 
寰泰储能科技股份有限公司
CN_223665472_U

Resumen de: CN223665472U

本申请涉及一种加热装置及使用其的液流电池系统,加热装置包括:外壳、导热件和加热件;外壳包括镂空件和挡板,镂空件和挡板围设形成第一腔体,第一腔体用于容纳至少部分导热件和导热件的底端,其中,镂空件位于导热件的外周,挡板位于导热件的下方;加热件与导热件相接触,加热件用于加热导热件;导热件用于向电解液传递热能。本申请提供的加热装置能够直接对电解液进行加热,有利于提高电解液的加热效果;加热装置为独立装置,有利于降低加热装置的维护难度。

基于地下液流电池与压缩空气储能的综合储能装置及方法

NºPublicación:  CN121123318A 12/12/2025
Solicitante: 
中国科学院武汉岩土力学研究所
CN_121123318_PA

Resumen de: CN121123318A

本发明公开了一种基于地下液流电池与压缩空气储能的综合储能装置及方法,装置包括储液单元、电堆单元、压缩空气储能单元及两组输送单元,储液单元包括设置于地下的两组储液硐室;电堆单元包括反应器、质子交换膜及两极板;压缩空气储能单元包括设置于地下的储气硐室、换热器、注气组件及排气组件;各个输送单元均包括第一输送管、输送泵及第二输送管。本发明通过将液流电池与压缩空气储能单元结合,在压缩空气储能单元充气时,液流电池的电解液吸收热量;在压缩空气储能单元放电时,电解液释放热量提升压缩空气温度,提高发电效率,同时降低自身温度,解决了液流电池因温控成本高的问题,实现了能量的梯级利用,减少了热量浪费。

燃料电池系统的PID控制设备及方法

NºPublicación:  CN121123329A 12/12/2025
Solicitante: 
西门子能源深圳有限公司
CN_121123329_PA

Resumen de: CN121123329A

本发明公开燃料电池系统的PID控制设备及方法。该PID控制设备包括:氢气压力传感单元,采集氢气比例阀的出口处的实际氢气压力值,并生成表示所述实际氢气压力值的采集值,其中,所述氢气比例阀设置在所述供氢设备与所述燃料电池堆之间;PID控制器,对所述采集值与所述燃料电池系统的目标氢气压力之间的氢气压力偏差值、所述氢气压力偏差值的变化量、以及所述氢气压力偏差值的累积量进行预设的PID控制算法以获得所述PID控制器的系数,根据所述系数计算针对所述氢气比例阀的开度的控制量。

一种适用于有机固废水伏产电的装置及方法

NºPublicación:  CN121124621A 12/12/2025
Solicitante: 
同济大学
CN_121124621_PA

Resumen de: CN121124621A

本发明提供了一种适用于有机固废水伏产电的装置及方法,依次包括固液分离、组分收集、水伏产电及残渣排放步骤。通过固液分离模块去除自由水,将半固态组分引入水伏产电模块,液态组分进入混合搅拌模块;水伏产电模块中设置导电网、导电薄片、绝缘板和绝缘槽,配合绝缘转轴与电容器,实现对半固态组分的直接产电。通过横向与竖向拉嵌式绝缘板组合,精确控制导电网与有机固废的接触,提升产电效率与稳定性;环境调节模块通过调节温度、空气流通、湿度或负压改善产电条件。产电结束后,残渣经绝缘刮泥板导出,可回流至混合搅拌模块循环利用。本方法具有能量转化效率高、运行稳定、资源利用率高及易于扩展等优点。

一种La0.9Sr0.1Al0.95Zn0.05O3-δ基复合电解质及其制备方法与应用

NºPublicación:  CN121123338A 12/12/2025
Solicitante: 
合肥大学
CN_121123338_PA

Resumen de: CN121123338A

本发明提供一种La0.9Sr0.1Al0.95Zn0.05O3‑δ基复合电解质及其制备方法与应用,涉及电池电解质技术领域。一种La0.9Sr0.1Al0.95Zn0.05O3‑δ基复合电解质,包括La0.9Sr0.1Al0.95Zn0.05O3‑δ、碳酸盐。其中La0.9Sr0.1Al0.95Zn0.05O3‑δ的制备方法,包括以下步骤:将La盐、Sr盐、Al盐、Zn盐按目标产物化学计量比混合,加水溶解,得到溶液A;将柠檬酸、EDTA搅拌溶解,得到溶液B;将溶液B加入到溶液A中,搅拌、调节pH,得到混合溶液;将混合溶液进行超声处理、微波处理,即得。本发明提供的复合电解质具有高电导率,可应用于中低温固体氧化物燃料电池。

PROCESS FOR THE DEPOSITION OF RUTHENIUM NANOSTRUCTURES OVER COBALT OXIDE INCORPORATED NITROGEN-DOPED CARBON

NºPublicación:  US2025379239A1 11/12/2025
Solicitante: 
NADEEM MUHAMMAD ARIF [PK]
ASSIRI MOHAMMED ALI [SA]
NASIM FATIMA [PK]
ALI TARIK E [SA]
IMRAN MUHAMMAD [SA]
Nadeem Muhammad Arif,
Assiri Mohammed Ali,
Nasim Fatima,
Ali Tarik E,
Imran Muhammad
US_2025379239_PA

Resumen de: US2025379239A1

A method of forming ruthenium nanoparticles over cobalt oxide encapsulated nitrogen rich carbon nanotubes (Ru@CoOx/N-CNTs) from ZIF-12. The method includes mixing 510 a first solution of cobalt nitrate hexahydrate, a benzimidazole solution, and N, N-dimethyl formamide. The first solution is transferred 520 to a Teflon lined autoclave and heated at 150° C. The first solution is allowed to cool 530. The first solution is filtered 540 and dried 550 in an oven to produce a first composition. The method includes calcinating 560 the first composition at 850° C. to obtain the cobalt oxide encapsulated nitrogen rich carbon nanotubes (CoOx/N-CNTs). The method includes coating 570 the CoOx/N-CNTs with ruthenium to obtain Ru@CoOx/N-CNTs and dispersing 580 the Ru@CoOx/N-CNTs in a Nafion+ isopropanol mixture. The electrochemical activity of Ru@CoOx/N-CNTs towards oxygen reduction reaction is measured.

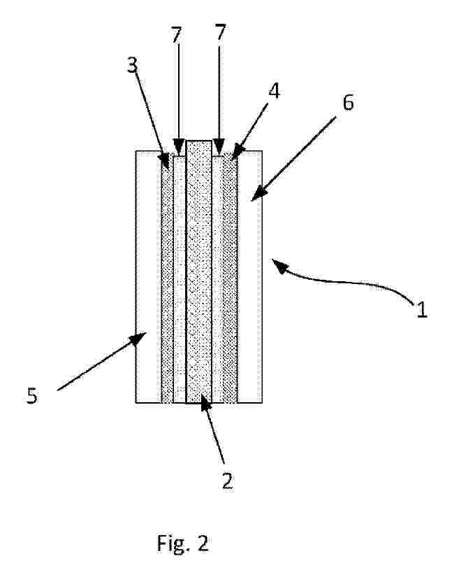
Befeuchtermodul, Membranstapel für einen Befeuchter, Verfahren zur Herstellung eines Membranstapels sowie Befeuchter für ein Brennstoffzellensystem

NºPublicación:  DE102024116017A1 11/12/2025
Solicitante: 
MAHLE INT GMBH [DE]
MAHLE International GmbH
DE_102024116017_PA

Resumen de: DE102024116017A1

Die vorliegende Erfindung betrifft ein Befeuchtermodul (27, 28) mit einem plattenförmigen ersten Distanzelement (3), mit zwei feuchtigkeitsdurchlässigen Membranen (7) und mit vier streifenförmigen zweiten Distanzelementen (14). Es ist vorgesehen, dass die Membranen (7) an dem ersten Distanzelement (3) angeordnet und mit dem ersten Distanzelement (3) dicht verbunden sind, wobei das erste Distanzelement (3) und eine jeweilige Membran (7) Nutkanäle (8) bilden oder begrenzen, die von einem ersten Fluidstrom (9) in einer ersten Strömungsrichtung (10) durchströmbar oder durchströmt sind. Ferner sind an jeder Membran (7) jeweils zwei zweite Distanzelemente (14) vorgesehen, die in Abstand zueinander positioniert, an einer jeweiligen Membran (7) angeordnet und mit der jeweiligen Membran (7) dicht verbunden sind. Die Erfindung betrifft weiterhin einen Membranstapel (1) für einen Befeuchter, ein Verfahren (24) zur Herstellung eines Membranstapels (1) sowie einen Befeuchter für ein Brennstoffzellensystem.

FUEL CELL COOLING SYSTEM AND FUEL CELL TEMPERATURE CONTROL METHOD

NºPublicación:  US2025379241A1 11/12/2025
Solicitante: 
AUTOMOTIVE RES & TESTING CENTER [TW]
AUTOMOTIVE RESEARCH & TESTING CENTER
US_2025379241_PA

Resumen de: US2025379241A1

A fuel cell cooling system for a refrigerated vehicle has a first heat exchanger, a second heat exchanger, a coolant pump assembly, a solenoid valve module, and a control unit. The first heat exchanger and the second heat exchanger respectively exchange heat with air outside the refrigerated vehicle and air inside a refrigerated container. The coolant pump assembly allows a coolant to flow circularly. The solenoid valve module is electrically connected to the control unit. A fuel cell temperature control method is carried out by the control unit and has the following steps: receiving a power output adjusting data of the fuel cell system, computing an estimated temperature of the coolant according to the power output adjusting data, and determining whether the estimated temperature is within the temperature target range to control the solenoid valve module for controlling the operating temperature of the fuel cell system.

ION EXCHANGER

NºPublicación:  US2025379242A1 11/12/2025
Solicitante: 
TOYOTA BOSHOKU KK [JP]
TOYOTA BOSHOKU KABUSHIKI KAISHA
US_2025379242_PA

Resumen de: US2025379242A1

An ion exchanger includes containers arranged next to one another, ion exchange resin portions contained in the containers, respectively, and an inlet pipe extending in an arrangement direction of the containers. Each of the containers has a bottom wall. The inlet pipe includes connection passages arranged in correspondence with the containers, a first tapered portion, and a second tapered portion. The inlet pipe has a cross-sectional flow area having a decrease degree that is greater in the second tapered portion than in the first tapered portion. The second tapered portion is in communication with a container of the containers that is located at the most downstream side in the flow direction via a corresponding one of the connection passages.

METHOD FOR MANUFACTURING FUEL STACKS WITH DIFFERENT POWER OUTPUTS, AND CORRESPONDING FUEL STACKS

NºPublicación:  US2025379240A1 11/12/2025
Solicitante: 
HOPIUM [FR]
HOPIUM
US_2025379240_PA

Resumen de: US2025379240A1

The invention relates to a method for manufacturing several types of fuel cells, having different power outputs according to the types of cells, the cells having a stack of plates each comprising first channels for the circulation of reactive gases, dihydrogen and air respectively, and second channels for the circulation of a heat-transfer fluid, a proton-exchange membrane being inserted between two adjacent plates, according to which method: plates of a single format are obtained;at least two types of membrane are obtained, having at least two membrane formats each having different dimensions;the plates are assembled with a first one of said membrane formats, so as to produce a first type of fuel cell, having a first power output;the plates are assembled with a second one of said membrane formats, so as to produce a second type of fuel cell, having a second power output,so as to have several types of cells, having different power outputs, from identical plates and membranes specific to each type of cell, each cell of a given type of cell using membranes of the same formats, intended for said type of cell.

SYSTEMS AND METHODS FOR PARTIAL DERIVATIVE 3-WAY VALVE CONTROL

NºPublicación:  US2025379245A1 11/12/2025
Solicitante: 
TOYOTA MOTOR ENGINEERING & MFG NORTH AMERICA INC [US]
TOYOTA JIDOSHA KK [JP]
Toyota Motor Engineering & Manufacturing North America, Inc,
Toyota Jidosha Kabushiki Kaisha
US_2025379245_PA

Resumen de: US2025379245A1

A method, computer program product, and computer system for determining, by a computing device, a fuel cell inlet temperature error. A total temperature range that a valve associated with the fuel cell is able to control may be determined. An amount to adjust the valve to change a current temperature of the fuel cell within the total temperature range may be identified based upon, at least in part, the fuel cell inlet temperature error and the total temperate range that the valve associated with the fuel cell is able to control. The valve may be adjusted by the amount to change the current temperature of the fuel cell within the total temperature range.

IONICALLY CONDUCTING MATERIAL FOR A MEMBRANE ELECTRODE ASSEMBLY AND USES THEREOF

NºPublicación:  WO2025254585A1 11/12/2025
Solicitante: 
CELLFION AB [SE]
CELLFION AB
WO_2025254585_PA

Resumen de: WO2025254585A1

An adhesive material (7) adapted to be applied into any one of a proton exchange membrane (2), a catalyst layer (3, 4) and a gas diffusion electrode (5, 6) of membrane electrode assembly (1), wherein said adhesive material (7) comprises a colloidal dispersion of a cellulose nanomaterial, and wherein said adhesive material forms an interface layer between a membrane (2) and a gas diffusion electrode (5, 6) of a membrane electrode assembly.

CARBON LITHIUM COMPOSITES VIA INTERCALATION AND PAUSED DISSOLUTION AND ELECTROCHEMICAL CELLS COMPRISING THE SAME

NºPublicación:  WO2025254997A1 11/12/2025
Solicitante: 
NORTH CAROLINA STATE UNIV [US]
THE UNIV OF BRITISH COLUMBIA [CA]
NORTH CAROLINA STATE UNIVERSITY,
THE UNIVERSITY OF BRITISH COLUMBIA
WO_2025254997_PA

Resumen de: WO2025254997A1

In one aspect, the disclosure relates to In accordance with the purpose(s) of the present disclosure, as embodied and broadly described herein, the disclosure, in one aspect, relates to compounds carbon-lithium composite materials, methods of making the same, and electrochemical cells comprising the same. In one aspect, the carbon-lithium composite materials can be made, in part, from agricultural waste. In another aspect, the disclosed electrochemical cells have a high energy density and good thermal and chemical stability over multiple charge cycles.

BIAXIALLY ORIENTED POLYARYLENE SULFIDE FILM, BIAXIALLY ORIENTED POLYARYLENE SULFIDE FILM ROLL, ELECTROLYTE MEMBRANE REINFORCING MEMBER, FUEL CELL, WATER ELECTROLYSIS DEVICE, METALLIZED FILM, CURRENT COLLECTOR FOIL, SECONDARY BATTERY, FILM CAPACITOR, ELECTRICALLY INSULATING PAPER FOR MOTOR, AND MOTOR

NºPublicación:  WO2025253992A1 11/12/2025
Solicitante: 
TORAY IND INC [JP]
\u6771\u30EC\u682A\u5F0F\u4F1A\u793E
WO_2025253992_PA

Resumen de: WO2025253992A1

This biaxially oriented polyarylene sulfide film contains a polyarylene sulfide resin as a main constituent component. The biaxially oriented polyarylene sulfide film has a thickness variation in the film width direction of 0.5% to 10.0% inclusive in a width of 300 mm around the central part in the width direction of the film, an orientation angle from the film longitudinal direction of more than -35° but less than 35°, not less than -90° but less than -55°, or more than 55° but not more than 90°, and a difference between the maximum value and the minimum value of the orientation angle of 0.5° to 20.0° inclusive. The present invention provides a biaxially oriented polyarylene sulfide film which is capable of suppressing warpage at the time of processing, and is excellent in terms of pressure uniformity when a large number of the biaxially oriented polyarylene sulfide films are stacked and pressurized.

FUEL CELL, FUEL CELL STACK, AND METHOD FOR MANUFACTURING FUEL CELL

NºPublicación:  WO2025253721A1 11/12/2025
Solicitante: 
HITACHI HIGH TECH CORP [JP]
\u682A\u5F0F\u4F1A\u793E\u65E5\u7ACB\u30CF\u30A4\u30C6\u30AF
WO_2025253721_PA

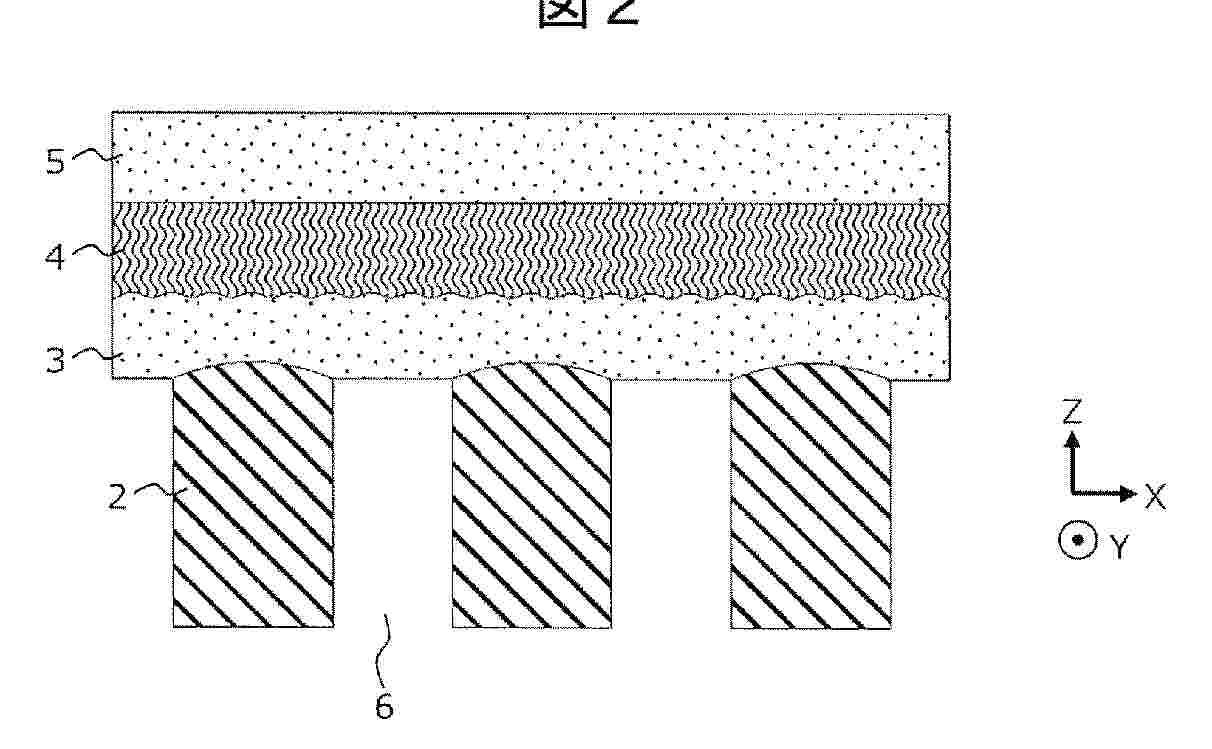
Resumen de: WO2025253721A1

The purpose of this invention is to provide a fuel cell with which it is possible to reduce the film thickness of an electrolyte layer by suppressing the influence of a protrusion on the surface of a support substrate having through-holes. A fuel cell according to the present invention has a structure in which a porous support layer, a first electrode layer, an electrolyte layer, and a second electrode layer are stacked. The surface of the first electrode layer is flat or the film thickness of the electrolyte layer is uniform (see FIG. 2).

APPARATUS AND SYSTEM FOR CAPTURING CARBON USING CHAMBER-TYPE CELL

NºPublicación:  WO2025254376A1 11/12/2025
Solicitante: 
CARBON ENERGY INC [KR]
\uC8FC\uC2DD\uD68C\uC0AC \uCE74\uBCF8\uC5D0\uB108\uC9C0
WO_2025254376_PA

Resumen de: WO2025254376A1

The present invention relates to an apparatus and a system for capturing carbon using a chamber-type cell. An apparatus and a system for capturing carbon using a chamber-type cell, according to one aspect of the present invention, comprises: a chamber including an outer wall, an inner wall, a metal fuel which is filled between the outer wall and the inner wall and in which a chemical reaction occurs, and a metal fuel circulation part through which the metal fuel circulates; an electrolyte filled in the chamber; and at least one air electrode disposed inside the chamber, in contact with the electrolyte, and configured to capture gas contained in air and cause a chemical reaction.

CARBON AND/OR HYDROGEN PRODUCTION APPARATUS, AND CARBON AND/OR HYDROGEN PRODUCTION METHOD

NºPublicación:  WO2025254114A1 11/12/2025
Solicitante: 
THE RITSUMEIKAN TRUST [JP]
\u5B66\u6821\u6CD5\u4EBA\u7ACB\u547D\u9928
WO_2025254114_PA

Resumen de: WO2025254114A1

A carbon and/or hydrogen production apparatus comprising at least a porous catalyst in which metal particles are supported, an oxidant supply means which supplies an oxidant to the porous catalyst, and a carbon-containing gas supply means which supplies, to the porous catalyst, a carbon-containing gas which contains carbon in the constituent elements, wherein the porous catalyst is formed into a plate-like shape, the carbon-containing gas is supplied to one surface side of the porous catalyst, and the oxidant is supplied to the other surface side of the porous catalyst.

ELECTROCHEMICAL CELL

NºPublicación:  WO2025253762A1 11/12/2025
Solicitante: 
NGK INSULATORS LTD [JP]
\u65E5\u672C\u788D\u5B50\u682A\u5F0F\u4F1A\u793E
WO_2025253762_PA

Resumen de: WO2025253762A1

This electrolysis cell (10) is provided with: a hydrogen electrode current collector layer (11) comprising an aggregate and at least one of Ni and NiO; and a beam (12) that is embedded in the hydrogen electrode current collector layer (11). The beam (12) has a first portion (R1) and a second portion (R2) that covers at least a part of the first portion (R1) and contacts the hydrogen electrode current collecting layer (11). The second portion (R2) has a porosity that is greater than the porosity of the first portion (R1).

ANODE ELECTRODE FOR PEM ELECTROLYZER AND METHOD FOR PRODUCING HYDROGEN

NºPublicación:  WO2025251905A1 11/12/2025
Solicitante: 
THE UNIV OF HONG KONG [CN]
\u9999\u6E2F\u5927\u5B66
WO_2025251905_A1

Resumen de: WO2025251905A1

The present application relates to an anode electrode for a PEM electrolyzer, and a method for producing hydrogen. An anode electrode for a PEM electrolyzer uses an aqueous solution containing perchlorate, a substrate of the anode electrode comprising, in terms of mass percentage, 22%≤Ni<80%, 95%≤Ni+Fe, and unavoidable impurities, and the aqueous solution containing perchlorate at a concentration of 0.01 mol/L to 1 mol/L; the anode electrode is configured such that, during use of the PEM electrolyzer, at least one surface of the substrate is exposed to the aqueous solution, so that when an anodic polarization potential of 1.4-2.5 VSHE is applied to the anode electrode, a corrosion-resistant passive film can be formed on at least one surface, the passive film comprising nickel oxide and iron oxide, which together account for at least 90% of the passive film in terms of mass percentage. The present application also discloses a PEM electrolyzer, and a steel plate capable of being used to manufacture an anode electrode for a PEM electrolyzer, as well as a use thereof.

INTEGRATED EJECTION APPARATUS AND FUEL CELL SYSTEM

NºPublicación:  WO2025251730A1 11/12/2025
Solicitante: 
FTXT ENERGY TECH CO LTD [CN]
\u672A\u52BF\u80FD\u6E90\u79D1\u6280\u6709\u9650\u516C\u53F8
WO_2025251730_PA

Resumen de: WO2025251730A1

The present application relates to an integrated ejection apparatus and a fuel cell system. The apparatus comprises an ejector body, a left manifold, a right manifold, and a hydrogen circulating pump, wherein the left manifold, the right manifold, and the hydrogen circulating pump are integrated on the ejector body; the ejector body is provided with an ejection cavity, an ejection inlet, an ejection outlet, and a recirculation inlet; the left manifold and the right manifold are both provided with a hydrogen channel, an air channel, and a coolant channel; the left manifold is arranged on an ejection outlet side of the ejector body; the right manifold is arranged on a side of the ejector body opposite the left manifold, and the hydrogen channel of the right manifold is configured for connecting to a hydrogen outlet of a stack so as to introduce recirculated hydrogen, and passes through a gas-liquid separation cavity of the right manifold and a water tank; the hydrogen circulating pump is arranged on a recirculation inlet side of the ejector body, a hydrogen inlet of the hydrogen circulating pump is connected to an outlet of the hydrogen channel of the right manifold, and a hydrogen outlet of the hydrogen circulating pump is connected to the recirculation inlet of the ejector body. The present application offers a high degree of integration and complete functionality.

DECOUPLING METHOD FOR ADVANCE CONTROL OVER AIR SYSTEM OF FUEL CELL, AND DEVICE AND MEDIUM

NºPublicación:  WO2025251500A1 11/12/2025
Solicitante: 
CHONGQING UNIV [CN]
\u91CD\u5E86\u5927\u5B66
WO_2025251500_PA

Resumen de: WO2025251500A1

The present invention belongs to the technical field of fuel cells, and relates to a decoupling method for advance control over an air system of a fuel cell, and a device and a medium. The method comprises: predicting a short-term power of a fuel cell engine by means of a time series prediction algorithm; testing required rotational speeds of an air compressor and required opening degrees of a back pressure valve under different pressures and flow rates; by means of bench testing, acquiring change data of the pressure and flow rate of an air system under a certain range of back pressure valve opening degrees and air compressor rotational speeds; under a data-driven method, identifying a transfer function of the air system, and then designing a corresponding decoupling controller by using a diagonal matrix decoupling method; obtaining a required air compressor rotational speed and a required back pressure valve opening degree from a predicted value of the short-term power by means of a look-up table method; and analyzing a decoupling effect of the air system by means of relative control errors in the pressure and flow rate, and analyzing the fluctuation change condition of an actuator by means of a total variation value of the actuator. The present invention can further improve the stability and system service life of an air system of a fuel cell.

SULFONATED POLY(PHENYLENE ETHER) AND METHODS FOR THE MANUFACTURE THEREOF

Nº publicación: US2025376560A1 11/12/2025

Solicitante:

SHPP GLOBAL TECH B V [NL]
SHPP GLOBAL TECHNOLOGIES B.V

US_2025376560_PA

Resumen de: US2025376560A1

A sulfonated poly(phenylene ether) comprises phenylene ether repeating units and has a degree of sulfonation of 20 to 50% and a sulfonyl chloride (—SO2Cl):sulfonic acid (—SO3H) molar ratio of less than or equal to 0.06. The sulfonated poly(phenylene ether) can be used in a membrane such as for gas and ion exchange-based separations. Methods for the manufacture of the sulfonated poly(phenylene ether) are also described.

traducir