Ministerio de Industria, Turismo y Comercio LogoMinisterior
 

Alerta

Resultados 57 resultados
LastUpdate Última actualización 04/02/2026 [06:45:00]
pdfxls
Solicitudes publicadas en los últimos 30 días / Applications published in the last 30 days
Resultados 1 a 25 de 57 nextPage  

NUCLEIC ACIDS AND PHARMACEUTICAL COMPOSITIONS FOR IMMUNE CELL ENGAGERS

NºPublicación:  WO2026025111A1 29/01/2026
Solicitante: 
DANA FARBER CANCER INST INC [US]
NONA BIOSCIENCES SUZHOU CO LTD [CN]
DANA-FARBER CANCER INSTITUTE, INC,
NONA BIOSCIENCES (SUZHOU) CO., LTD
WO_2026025111_PA

Resumen de: WO2026025111A1

The present disclosure relates to novel nucleic acids for an immune cell engagers, comprising a ribonucleic acid of formula I: R1 - SP - R2 - R3 - R4 - R5 (I), where R1 is a 5' untranslated region (UTR); SP encodes a signal peptide; R2 encodes a first single chain variable fragment (scFv) that binds a first extracellular protein or a variable region of a heavy chain (VH-only) that binds a first extracellular protein; R3 encodes a second scFv that binds a second extracellular protein; R4 encodes a half-life extender; R5 is a 3'UTR, and where R1 to R5 are oriented 5' to 3', for the treatment of cancers, including but not limited to hematological cancers, including multiple myeloma.

CEREBLON LIGASE MODULATOR AND BCMA NK CELL ENGAGER COMBINATION THERAPY

NºPublicación:  WO2026022712A1 29/01/2026
Solicitante: 
SANOFI [FR]
SANOFI
WO_2026022712_A1

Resumen de: WO2026022712A1

The present disclosure relates to a method of treating cancer (e.g., multiple myeloma) with the combination of i) a multifunctional binding protein comprising a first and a second antigen binding domains (ABDs), wherein the first ABD binds specifically to human BCMA and the second ABD binds specifically to human NKp46; and ii) a cereblon modulating agent.

ENABLE DISCOVERY OF BCL-2 FAMILY INHIBITORS TARGETING MODE II COMPLEXES

NºPublicación:  WO2026025080A1 29/01/2026
Solicitante: 
BIOVENTURES LLC [US]
BIOVENTURES, LLC
WO_2026025080_A1

Resumen de: WO2026025080A1

This application generally relates to pro-survival complex between a guardian and an effector assembled from their intact BCL-2 globular core domains. In particular, the disclosure relates to methods of identifying modulators of BCL2 antagonist/killer (BAK) binding of Myeloid cell leukemia-1 (MCL-1).

GARP AS A BIOMARKER AND BIOTARGET IN T-CELL MALIGNANCIES

NºPublicación:  US20260029402A1 29/01/2026
Solicitante: 
INSTITUT NATIONAL DE LA SANTE ET DE LA RECH MEDICALE [FR]
ASSIST PUBLIQUE HOPITAUX DE PARIS [FR]
UNIV PARIS CITE [FR]
UNIV PARIS EST CRETEIL VAL DE MARNE [FR]
INSTITUT NATIONAL DE LA SANT\u00C9 ET DE LA RECHERCHE M\u00C9DICALE,
ASSISTANCE PUBLIQUE-H\u00D4PITAUX DE PARIS,
UNIVERSIT\u00C9 PARIS CIT\u00C9,
UNIVERSIT\u00C9 PARIS EST CR\u00C9TEIL VAL DE MARNE
US_20260029402_PA

Resumen de: US20260029402A1

The present study of the regulatory T phenotype of Sézary cells led to the discovery of the expression of GARP (LRRC32) by Sézary cells. GARP has also been shown to be overexpressed in samples from patients with acute lymphoblastic leukemia. GARP therefore appears as a diagnostic marker, for monitoring T-cell malignancies, and as a therapeutic target. Accordingly, the present invention relates to methods for the diagnosis and treatment of T-cell malignancies.

METHODS OF TREATING LEUKEMIA USING CYTOTOXICITY TARGETING CHIMERAS FOR CCR2-EXPRESSING CELLS

NºPublicación:  WO2026024976A1 29/01/2026
Solicitante: 
SOLU THERAPEUTICS INC [US]
SOLU THERAPEUTICS, INC
WO_2026024976_A1

Resumen de: WO2026024976A1

The present disclosure relates to methods of treating leukemia using a heterobifunctional molecule, referred to as a cytotoxicity targeting chimera (CyTaC) or antibody recruiting molecule (ARM), that is able to simultaneously bind a target cell-surface protein as well as an exogenous antibody protein.

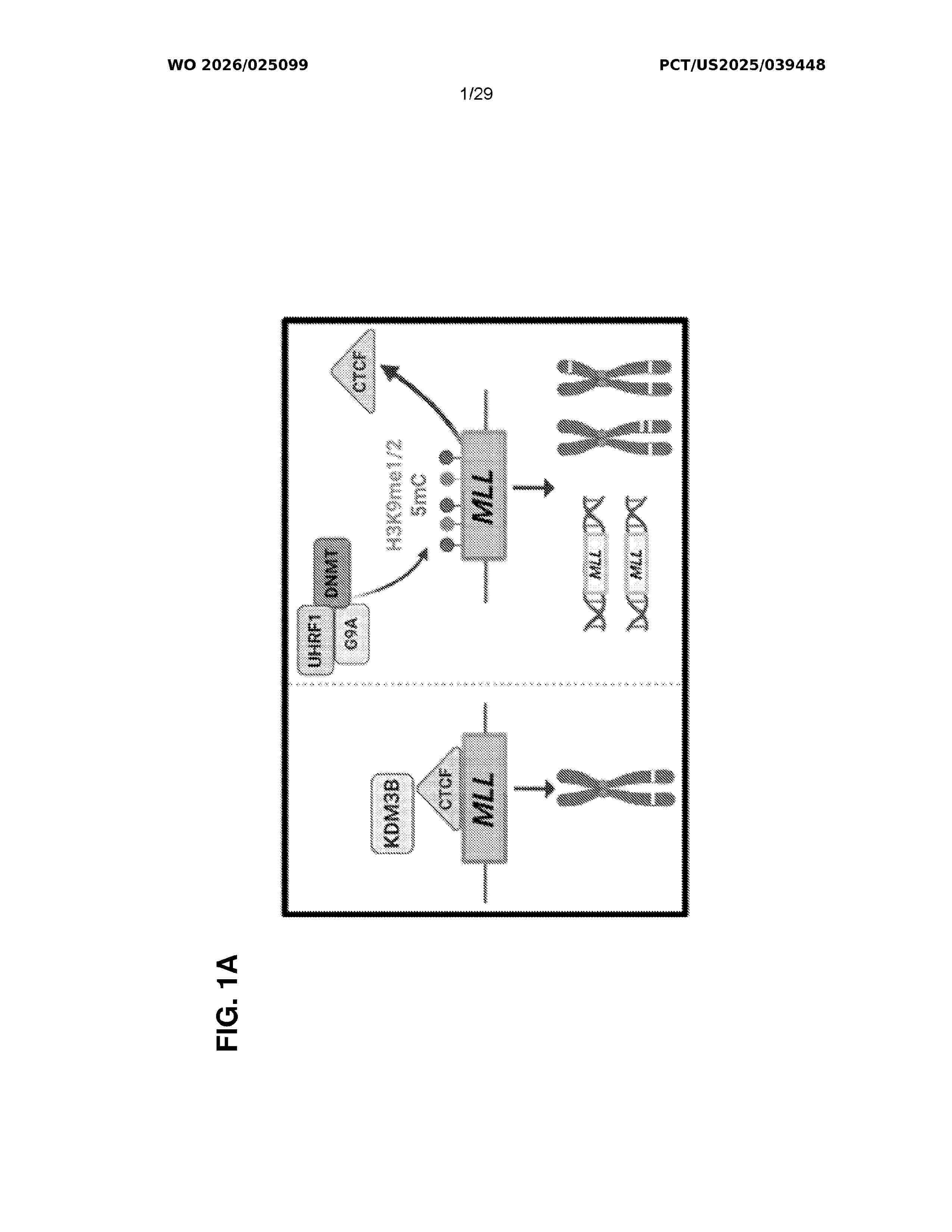
COMPOSITIONS AND METHODS FOR INHIBITING DNMT1 METHYLATION ACTIVITY FOR REDUCING CHEMOTHERAPY INDUCED AMPLIFICATION AND REARRANGEMENT IN MIXED LINEAGE LEUKEMIA (MLL)

NºPublicación:  WO2026025099A1 29/01/2026
Solicitante: 
INSTITUTE FOR CANCER RES D/B/A THE RES INSTITUTE OF FOX CHASE CANCER CENTER [US]
INSTITUTE FOR CANCER RESEARCH D/B/A THE RESEARCH INSTITUTE OF FOX CHASE CANCER CENTER
WO_2026025099_A1

Resumen de: WO2026025099A1

Compositions and methods for control of DNMT1-mediated site-specific copy gains and genomic insertions associated with mixed lineage leukemia are provided.

DILUTED CARFILZOMIB FOR USE IN TREATING MULTIPLE MYELOMA

NºPublicación:  AU2024321532A1 29/01/2026
Solicitante: 
AMGEN INC
AMGEN INC
AU_2024321532_PA

Resumen de: AU2024321532A1

Provided herein are methods for treating a disease or condition selected from the group consisting of cancer, autoimmune disease, graft or transplant-related condition, neurodegenerative disease, fibrotic-associated condition, ischemic-related conditions, infection (viral, parasitic or prokaryotic) and diseases associated with bone loss, the method comprising administering to a patient a therapeutically effective amount of carfilzomib or a pharmaceutically acceptable salt thereof at a dose volume of 10 mL/kg or higher. Also provided herein are methods for treating multiple myeloma in a patient, comprising administering to the patient a pharmaceutical composition comprising carfilzomib or a pharmaceutically acceptable salt thereof and an aqueous carrier, wherein the carfilzomib is administered at a dose volume of 2.5 mL/kg or higher and/or at a concentration of less than 2 mg/mL.

POLYFLUORINATED THALIDOMIDE ANALOGS AND USES THEREOF

NºPublicación:  AU2024321683A1 29/01/2026
Solicitante: 
THE UNITED STATES OF AMERICA AS REPRESENTED BY THE SECRETARY
UNIV OF BONN
THE UNITED STATES OF AMERICA, as represented by the secretary,
UNIVERSITY OF BONN
AU_2024321683_PA

Resumen de: AU2024321683A1

Polyfluorinated thalidomide analogs have a structure according to formula I, wherein R is aliphatic. The compounds may be used to inhibit cancer cell proliferation and/or to treat subjects with cancer or an inflammatory process. In some aspects, the cancer is multiple myeloma. In certain aspects, the compounds are used to inhibit proliferation of drug-resistant multiple myeloma cells and/or to treat subjects with drug-resistant multiple myeloma.

Chimeric antigen receptors with BCMA specificity and uses thereof

NºPublicación:  AU2026200174A1 29/01/2026
Solicitante: 
REGENERON PHARMACEUTICALS INC
Regeneron Pharmaceuticals, Inc
AU_2026200174_A1

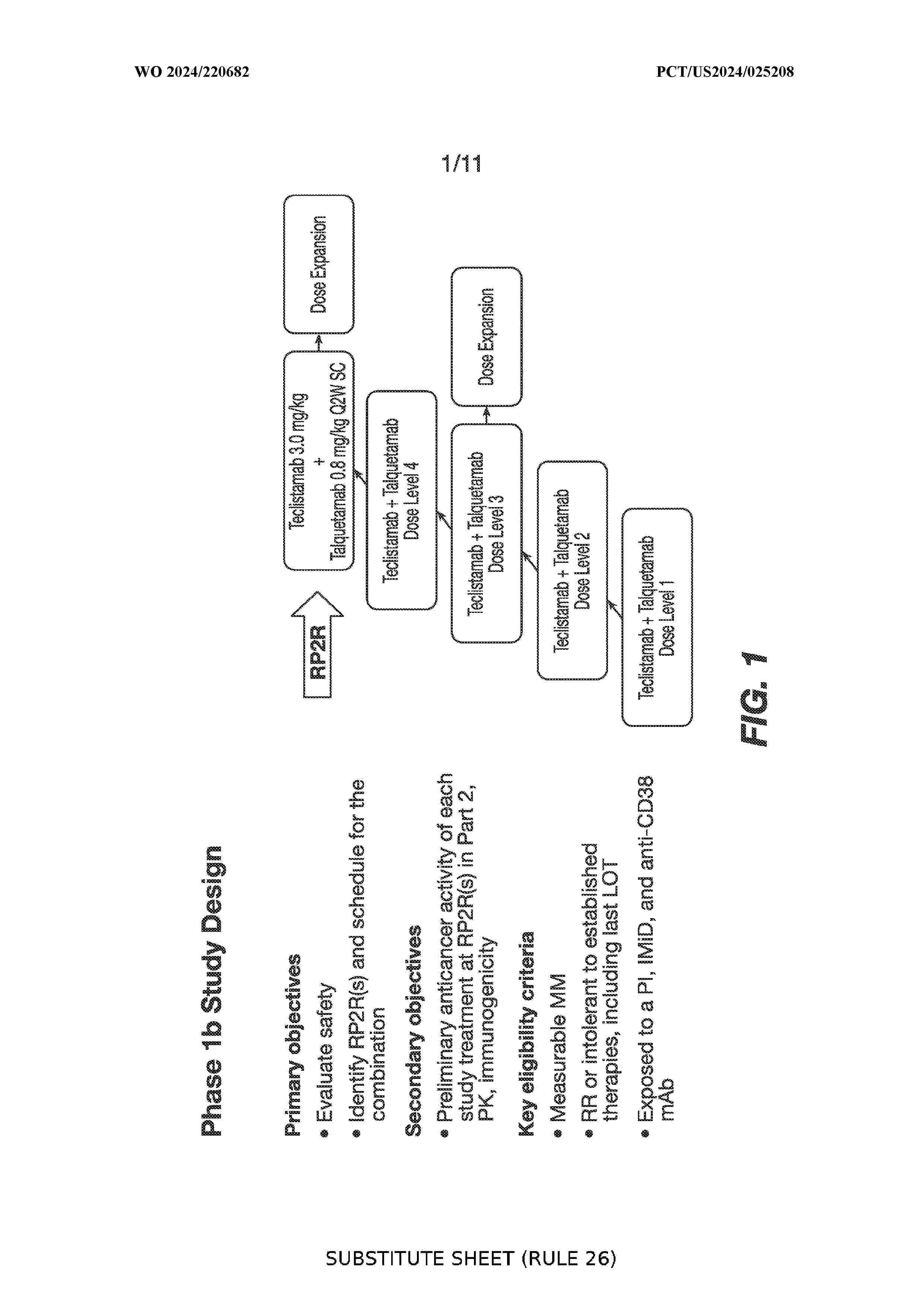
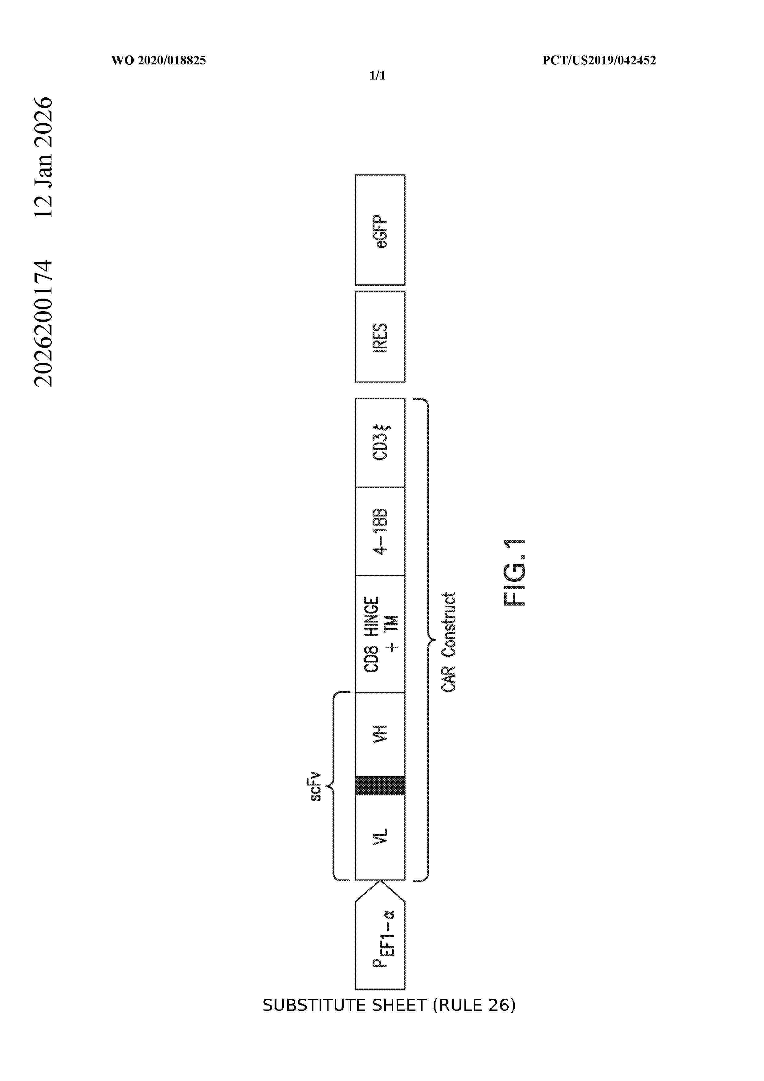
Resumen de: AU2026200174A1

B-cell maturation antigen (BCMA) is expressed on malignant plasma cells. The present invention provides BCMA-specific chimeric antigen receptors and cells expressing such chimeric antigen receptors. In certain embodiments, engineered cells expressing the chimeric antigen receptors of the present invention are capable of inhibiting the growth of tumors expressing BCMA. The engineered cells of the invention are useful for the treatment of diseases and disorders in which an upregulated or induced BCMA-targeted immune response is desired and/or therapeutically beneficial. For example, engineered cells expressing the BCMA-specific chimeric antigen receptors of the invention are useful for the treatment of various cancers, including multiple myeloma. an a n

TREATMENT OF MULTIPLE MYELOMA

NºPublicación:  US20260027084A1 29/01/2026
Solicitante: 
SPRINGWORKS THERAPEUTICS INC [US]
SpringWorks Therapeutics, Inc
US_20260027084_PA

Resumen de: US20260027084A1

The present disclosure provides methods of treating multiple myeloma in a patient in need thereof comprising administering a gamma secretase and a B-cell maturation antigen (BCMA)-directed therapy to the patient.

GENETICALLY ENGINEERED MICE MODELS FOR MULTIPLE MYELOMA

NºPublicación:  US20260026479A1 29/01/2026
Solicitante: 
FUNDACION PARA LA INVESTIG MEDICA APLICADA [ES]
FUNDACI\u00D3N PARA LA INVESTIGACI\u00D3N M\u00C9DICA APLICADA
US_20260026479_PA

Resumen de: US20260026479A1

The invention relates to genetically engineered mouse models for multiple myeloma (MM) and their uses thereof for the development of multiple myeloma models as well as for the screening of compounds suitable for the treatment of multiple myeloma.

MUTATION AND CELL STATE COOPERATION DRIVES PROGRESSION AND IS A TARGETABLE FEATURE OF REMISSION IN ACUTE LYMPHOBLASTIC LEUKEMIA

NºPublicación:  WO2026024988A1 29/01/2026
Solicitante: 
THE BROAD INST INC [US]
MASSACHUSETTS INSTITUTE OF TECH [US]
MURAKAMI MARK [US]
WEINSTOCK DAVID [US]
THE BROAD INSTITUTE, INC,
MASSACHUSETTS INSTITUTE OF TECHNOLOGY,
MURAKAMI, Mark,
WEINSTOCK, David
WO_2026024988_PA

Resumen de: WO2026024988A1

Methods for treating leukemia are disclosed based on detecting specific cell states and transcriptional programs within leukemic cells. This disclosure presents a novel therapeutic method for treating acute lymphoblastic leukemia (ALL), including BCR-ABL positive and BCR-ABL1-like ALL subtypes. The method involves detecting specific cell states and transcriptional programs in patient samples and administering targeted therapies based on these characteristics. For a pre-B cell-like state or pre-BCR signaling program, a combination of tyrosine kinase inhibitor (TKI) and SYK inhibitor is used. Conversely, a progenitor-like state or stress-autophagy program is treated with a TKI and a p38 MAPK inhibitor. This approach aims to improve treatment efficacy by tailoring therapy to the leukemia's unique molecular and cellular features, particularly in relapsed cases or when minimal residual disease is present.

HIGH SURFACE-AREA LYOPHILIZED COMPOSITIONS COMPRISING ARSENIC FOR ORAL ADMINISTRATION IN PATIENTS

NºPublicación:  US20260027056A1 29/01/2026
Solicitante: 
QUETZAL THERAPEUTICS LLC [US]
Quetzal Therapeutics, LLC
US_20260027056_A1

Resumen de: US20260027056A1

The present invention relates to treating malignancies such as tumors or cancers by orally administering lyophilized compositions comprising arsenic to a subject in such need. Malignancies include various hematological malignancies, such as acute myeloid leukemia (AML) including acute promyelocytic leukemia (APL), myelodysplastic syndrome (MDS), multiple myeloma (MM) and lymphomas and solid tumors including glioblastoma multiforme and breast cancer. This invention relates to a novel formulation comprising a lyophilized compositions comprising arsenic. The present invention also relates to a method for lyophilizing the arsenic trioxide, preparing the oral formulation comprising lyophilized compositions comprising arsenic, and a method for treating a subject with malignancies using the oral formulation.

N-DESMETHYL RUBOXISTAURIN AS A CDK4/6 INHIBITOR FOR THERAPEUTIC USE IN CANCER

NºPublicación:  WO2026020038A1 22/01/2026
Solicitante: 
4M THERAPEUTICS INC [US]
4M THERAPEUTICS INC
WO_2026020038_PA

Resumen de: WO2026020038A1

Aspects of this invention are related to the use of N-desmethyl ruboxistaurin and pharmaceutically acceptable formulations thereof to modulate CDK4/6 signaling. The invention encompasses methods for administering N-desmethyl ruboxistaurin to subjects in need, particularly those with a history of cancer or currently experiencing breast cancer, liposarcoma, lung cancer, glioblastoma, melanoma, pancreatic cancer, prostate cancer, colon cancer, ovarian cancer, colorectal cancer, bladder cancer, hepatocellular carcinoma, osteosarcoma, germ cell tumors, advanced solid tumors, lymphoma, leukemia and other hematologic malignancies. The disclosed methods extend beyond disease treatment, including supportive care during radiation chemotherapy and prevention of cancer relapse. N-desmethyl ruboxistaurin administration, alone or in combination with other cancer therapies, is effective in modulating CDK4/6 signaling while mitigating toxicity associated with other treatments.

Methods of treating WHSC1-overexpressing cancers by inhibiting SETD2

NºPublicación:  AU2025283528A1 22/01/2026
Solicitante: 
EPIZYME INC
Epizyme, Inc
AU_2025283528_A1

Resumen de: AU2025283528A1

The present disclosure provides methods and pharmaceutical compositions for treating or slowing the progression of cancers that overexpress the histone methyltransferase WHSC1, e.g., t(4;14) multiple myeloma, by administering to a subject in need thereof a therapeutically effective amount of an inhibitor of the histone methyltransferase, SETD2. ec e c

CLL1-CAR-T CELL, AND PREPARATION METHOD THEREFOR AND USE THEREOF

NºPublicación:  AU2024284994A1 22/01/2026
Solicitante: 
CARBIOGENE THERAPEUTICS CO LTD
CARBIOGENE THERAPEUTICS CO., LTD
AU_2024284994_A1

Resumen de: AU2024284994A1

Disclosed in the present invention are a CLL1-CAR-T cell, and a preparation method therefor and the use thereof. The CLL1-CAR-T cell contains a chimeric antigen receptor, wherein the chimeric antigen receptor comprises a single domain antibody, a hinge region, a transmembrane region and an intracellular signaling region, and the single domain antibody has an amino acid sequence of positions 22-150 of SEQ ID No. 1. The CLL1-VHH-1 CAR-T cell of the present invention can secrete T cell specific effector molecule IFN-γ to specifically kill CLL1+ target cells, inhibit the proliferation of tumor cells in mice, prolong the survival time of mice, and can be used for immunotherapy of diseases associated with CLL1 target (such as acute myelogenous leukemia).

PRALATREXATE AND COP COMBINATION FOR THE TREATMENT OF PATIENTS WITH PERIPHERAL T CELL LYMPHOMA

NºPublicación:  AU2024296708A1 22/01/2026
Solicitante: 
ACROTECH BIOPHARMA INC
ACROTECH BIOPHARMA INC
AU_2024296708_A1

Resumen de: AU2024296708A1

Methods for treating peripheral T-cell lymphoma include administering to a subject a combination of Cyclophosphamide, Vincristine, Prednisone, and Pralatrexate, wherein the combination does not include doxorubicin. The treatment may be administered in repeated three-week cycles, optionally including a drug holiday.

METHODS FOR TREATING MULTIPLE MYELOMA

NºPublicación:  AU2024283100A1 22/01/2026
Solicitante: 
JANSSEN BIOTECH INC
JANSSEN BIOTECH, INC
AU_2024283100_A1

Resumen de: AU2024283100A1

Embodiments of the present invention relate to methods of treating multiple myeloma in a subject in need thereof, comprising administering therapeutically effective amounts of a GPRC5DxCD3 bispecific antibody on a monthly dosing schedule.

MOLECULES THAT BIND TO CS1 POLYPEPTIDES

NºPublicación:  WO2026020037A1 22/01/2026
Solicitante: 
MAYO FOUNDATION FOR MEDICAL EDUCATION AND RES [US]
MAYO FOUNDATION FOR MEDICAL EDUCATION AND RESEARCH
WO_2026020037_A1

Resumen de: WO2026020037A1

This document provides methods and materials involved in binding a molecule (e.g., an antibody domain, an antigen binding fragment, an antibody, a chimeric antigen receptor (CAR), a cell engager, or an antibody-drug conjugate (ADC)) to a CS1 polypeptide. For example, this document provides binders (e.g., antibody domains, antigen binding fragments, antibodies, CARs, cell engagers, and ADCs) that bind to a CS1 polypeptide and methods and materials for using such binders (or cells expressing such binder such as a cell expressing a CAR) to treat cancer (e.g., multiple myeloma).

N-DESMETHYL RUBOXISTAURIN AS A RSK INHIBITOR FOR THERAPEUTIC USE

NºPublicación:  WO2026020045A1 22/01/2026
Solicitante: 
4M THERAPEUTICS INC [US]
4M THERAPEUTICS INC
WO_2026020045_PA

Resumen de: WO2026020045A1

Aspects of this invention are related to the use of N-desmethyl ruboxistaurin and pharmaceutically acceptable formulations thereof to modulate RSK signaling. Some aspects of the invention relate to the use of N-desmethyl ruboxistaurin to inhibit RSK. Some aspects of the invention provide methods of using N-desmethyl ruboxistaurin in the treatment of subjects with cancer, including breast cancer, ovarian cancer, prostate cancer, lung cancer, hepatocellular carcinoma, colorectal cancer, melanoma, osteosarcoma, myeloproliferative neoplasms, leukemia, and bladder cancer. The disclosed methods extend beyond disease treatment, including supportive care during radiation chemotherapy and prevention of cancer relapse. N-desmethyl ruboxistaurin administration, alone or in combination with other cancer therapies, inhibits RSK and shows a safety profile that supports its long-term use.

USE OF A FBXO42 SPECIFIC INHIBITOR IN TREATING NOTCH SIGNALING-DEPENDENT DISEASE

NºPublicación:  US20260023068A1 22/01/2026
Solicitante: 
WESTLAKE UNIV [CN]
WESTLAKE UNIVERSITY
US_20260023068_PA

Resumen de: US20260023068A1

The present invention refers to a method for treating Notch signaling-dependent disease in the subject with a FBXO42 specific inhibitor. The Notch signaling-dependent disease is selected from leukemia. Also provided is a method for screening a drug treating Notch signaling-dependent disease using FBXO42 as a target.

IKZF2 AND CK1-ALPHA DEGRADING COMPOUNDS AND USES THEREOF

NºPublicación:  US20260021103A1 22/01/2026
Solicitante: 
PRESIDENT AND FELLOWS OF HARVARD COLLEGE [US]
MEMORIAL SLOAN KETTERING CANCER CENTER [US]
MEMORIAL HOSPITAL FOR CANCER AND ALLIED DISEASES [US]
SLOAN KETTERING INSTITUTE FOR CANCER RES [US]
President and Fellows of Harvard College,
Memorial Sloan-Kettering Cancer Center,
Memorial Hospital for Cancer and Allied Diseases,
Sloan-Kettering Institute for Cancer Research
US_20260021103_PA

Resumen de: US20260021103A1

Provided herein are compounds that promote targeted degradation of IKZF1, IKZF2, GSPT1, and/or CK1a, proteins whose activities are implicated in the pathology of certain cancers (e.g., acute myeloid leukemia). Also provided are pharmaceutical compositions comprising the compounds. Also provided are methods of treating cancer, and methods of promoting the degradation of IKZF1, IKZF2, GSPT1, and/or CK1a in a subject or biological sample by administering a compound or composition described herein.

COMBINATIONS OF HISTONE DEACETYLASE INHIBITORS AND IMMUNOMODULATORY DRUGS

NºPublicación:  US20260021093A1 22/01/2026
Solicitante: 
ACETYLON ACQUISITION CORP LLC [US]
DANA FARBER CANCER INST [US]
Acetylon Acquisition Corp. LLC,
Dana-Farber Cancer Institute
US_20260021093_A1

Resumen de: US20260021093A1

The invention relates to combinations comprising an HDAC inhibitor and an immunomodulatory drug for the treatment of multiple myeloma in a subject in need thereof. The combinations may, optionally, further comprise an anti-inflammatory agent, such as dexamethasone. Also provided herein are methods for treating multiple myeloma in a subject in need thereof comprising administering to the subject an effective amount of one of the above combinations.

METHODS OF USING ANTI-CD79b IMMUNOCONJUGATES TO TREAT FOLLICULAR LYMPHOMA

NºPublicación:  US20260021088A1 22/01/2026
Solicitante: 
GENENTECH INC [US]
Genentech, Inc
US_20260021088_PA

Resumen de: US20260021088A1

Provided herein are methods of treating B-cell proliferative disorders (such as Follicular Lymphoma “FL”) using immunoconjugates comprising anti-CD79b antibodies in combination with an immunomodulatory agent (such as lenalidomide) and an anti-CD20 antibody (such as obinutuzumab or rituximab).

COMBINATION THERAPIES FOR THE TREATMENT OF CD33-POSITIVE HEMATOLOGICAL MALIGNANCIES HARBORING MUTATIONS

Nº publicación: AU2024283114A1 22/01/2026

Solicitante:

ACTINIUM PHARMACEUTICALS INC
ACTINIUM PHARMACEUTICALS, INC

AU_2024283114_PA

Resumen de: AU2024283114A1

Provided are methods for treating CD33-positive hematological malignancies, such as acute myelogenous leukemia (AML) and myelodysplastic syndrome (MDS), harboring mutations such as FLT3, IDH1, IDH2, NMP1, and/or MLL1 gene mutations, using combination therapy that includes one or both of a radiolabeled CD33-targeting agent and a drug-conjugated CD33-targeting agent, and one or more targeted therapies, such as FLT3, IDH and Menin inhibitors.

traducir