Ministerio de Industria, Turismo y Comercio LogoMinisterior
 

Alerta

Resultados 57 resultados
LastUpdate Última actualización 05/04/2026 [06:45:00]
pdfxls
Solicitudes publicadas en los últimos 30 días / Applications published in the last 30 days
previousPage Resultados 50 a 57 de 57  

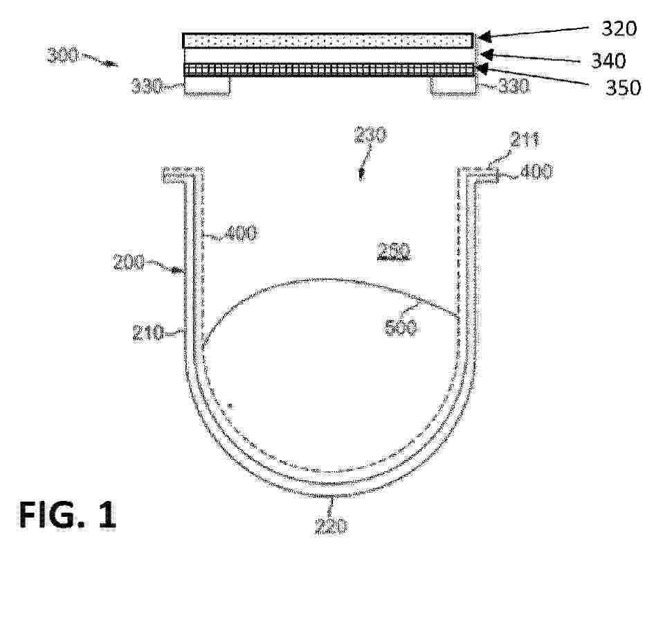
CAPSULE COMPOSTABLE TOP LID STRUCTURE, SHEET MATERIAL FOR MAKING THE SAME AND METHOD

NºPublicación:  AU2024361842A1 02/04/2026
Solicitante: 
SOC DES PRODUITS NESTLE S A
SOCIETE DES PRODUITS NESTLE S.A
AU_2024361842_PA

Resumen de: AU2024361842A1

The invention relates to a sheet material (3) from which at least one delivery wall (300) for closing a chamber (250) of a capsule body (200) of a beverage capsule (100) for preparing a beverage, can be obtained by cutting or punching of the sheet material (3), the delivery wall (300) comprising in a layered manner in the following order: - a carrier layer (320) forming a base layer for carrying subsequent layers, - a barrier layer (340) for providing a preferably bidirectional barrier against moisture and/or gas, the barrier layer (340) being preferably made of a different material than the carrier layer (320); the barrier layer (340) being applied on the carrier layer (320), - an optional protective layer (350) provided on the surface of the barrier layer (340) opposite the carrier layer (320), and - an adhesive layer (330) positioned on the surface of the delivery wall (300) that is oriented towards the chamber (250) for sealing the delivery wall (300) to a rim portion (211) of the capsule body (200), the adhesive layer covering a maximum of 90%, preferably 80%, most preferably 70% of the delivery wall and being at least applied around the perimeter of the delivery wall (300), along its periphery, over a radial distance D comprised between 3 and 12 mm, preferably between 5 and 10 mm, wherein the sheet material (3) comprises cutting area identification means (370, 380) of at least one delivery wall (300) for a cutting device adapted to cut the at least one delivery wall (30

EMULSIFYING SALT-FREE AND STARCH STABILIZED CHEESE

NºPublicación:  US20260090558A1 02/04/2026
Solicitante: 
KRAFT FOODS GROUP BRANDS LLC [US]
KRAFT FOODS GROUP BRANDS LLC
US_20260090558_A1

Resumen de: US20260090558A1

Emulsifying salt-free processed cheese products as well as methods of preparing emulsifying salt-free processed cheese products are provided. The emulsifying salt-free processed cheese products are prepared with modified starch containing amylopectin and substantially no amylase and without emulsifying salts. The emulsifying salt-free processed cheese products are advantageously resistant to separation during heating and retain desirable organoleptic properties, such as texture and flavor, without using emulsifying salts.

NITROGEN-CONTAINING COMPOUNDS PLASTICSED BIODEGRADABLE THERMOPLASTIC STARCH COMPOSITION AND PREPARATION METHOD THEREOF

NºPublicación:  US20260092162A1 02/04/2026
Solicitante: 
NANO AND ADVANCED MAT INSTITUTE LIMITED [CN]
NANO AND ADVANCED MATERIALS INSTITUTE LIMITED
US_20260092162_A1

Resumen de: US20260092162A1

The present disclosure provides a novel and biodegradable thermoplastic starch composition and a preparation method thereof. Compared to conventional thermoplastic starch materials, the thermoplastic starch composition of the present disclosure shows enhanced mechanical strength, improved stability and resistance to retrogradation, and is able to maintain their biodegradability with no need for blending with fossil-based plastics.

SINGLE-SERVE CAPSULE FOR PREPARING A BEVERAGE USING A BEVERAGE-PREPARATION MACHINE, BEVERAGE-PREPARATION SYSTEM, AND METHOD FOR PRODUCING A SINGLE-SERVE CAPSULE

NºPublicación:  EP4716664A2 01/04/2026
Solicitante: 
K FEE SYSTEM GMBH [DE]
K-fee System GmbH
WO_2024240829_PA

Resumen de: WO2024240829A2

The invention relates to a single-serve capsule for preparing a beverage using a beverage-preparation machine. The single-serve capsule has a base element with a cavity for receiving a beverage raw material and a cover element which closes the cavity, and the base element has a base region, a capsule wall which extends from the base region to an open end, and a flange which encircles the open end. The single-serve capsule has a detectable identification code, wherein the single-serve capsule comprises a separately formed support element, said support element having the identification code, and the support element is arranged on the flange side facing away from the base region.

BIODEGRADABLE FILM

NºPublicación:  EP4717455A2 01/04/2026
Solicitante: 
NOVAMONT SPA [IT]
Novamont S.p.A
EP_4717455_A2

Resumen de: EP4717455A2

This invention relates to a biodegradable film which is particularly suitable for the manufacture of packaging and is also characterised by high level mechanical properties.

PACKAGE COMPRISING A BAG AND A STACK OF ABSORBENT ARTICLES AND MANUFACTURING METHOD THEREOF

NºPublicación:  EP4716520A1 01/04/2026
Solicitante: 
DRYLOCK TECH NV [BE]
Drylock Technologies NV
WO_2024240901_PA

Resumen de: WO2024240901A1

A package (1000) comprising a bag (100) and a stack of absorbent articles (200) having a substantially rectangular shape, wherein the stack of absorbent articles is arranged in the bag. The bag (100) is made of a packaging laminate material wherein said laminate is comprised of at least one layer of thermoplastic polymer material laminated with, or adhered to, or coated on at least one layer of nonwoven fabric, and wherein the bag (100) has a closed bottom (110), a closed top (120), and a peripheral wall (130) between said bottom and said top.

METHOD FOR PREPARING A BEVERAGE FROM A CAPSULE, USE OF A BEVERAGE PREPARATION MACHINE AND A CAPSULE AND SYSTEM FOR PREPARING A BEVERAGE

NºPublicación:  EP4717131A1 01/04/2026
Solicitante: 
DELICA AG [CH]
Delica AG
EP_4717131_PA

Resumen de: EP4717131A1

Verfahren zur Zubereitung eines Getränks aus einer Kapsel (1), wobei die Kapsel (1) eine Getränkesubstanz (3) und eine die Getränkesubstanz (3) umschliessende Hülle (2) aufweist, umfassend die Schritte:- Einbringen der Kapsel (1) in eine Brühkammer (12) einer Getränkezubereitungsmaschine,- Aufbrechen der Hülle (2) der Kapsel (1),- Durchströmen der Brühkammer (12) mit einem Extraktionsfluid.

液体基材製品、液体配合製品、液体最終製品、再生可能かつ生分解性の柔軟性ポリマー、液体基材製品の製造方法、液体配合製品の製造方法、液体最終製品の製造方法、再生可能かつ生分解性の柔軟性ポリマーの製造方法

NºPublicación:  JP2026510135A 01/04/2026
Solicitante: 
イゾケアソリューソエスアンビエンタイスソシエテアノニム
JP_2026510135_A

Resumen de: AU2024218392A1

The present invention relates to a liquid base product comprising vegetable oil and/or modified vegetable oil, nitrilotriethanol and/or polyether polyol; a liquid formulated product comprising the base product and organic surfactants, catalysts, reagents and/or chemical blowing agent; a liquid end product comprising the formulated product, and/or a physical blowing agent and at least one isocyanate. The present invention further relates to a biodegradable, renewable, flexible polymer formed from a liquid end product. The present invention further relates to a process for manufacturing a biodegradable, renewable, flexible polymer.

AN AIR-LAID BLANK, A METHOD OF PRODUCING AN AIR-LAID BLANK AND A METHOD OF PRODUCING A THREE DIMENSIONAL PRODUCT FROM SAID AIR-LAID BLANK

NºPublicación:  ES3061115T3 31/03/2026
Solicitante: 
STORA ENSO OYJ
Stora Enso Oyj
US_2023332341_PA

Resumen de: US2023332341A1

An air-laid blank (10) comprises natural fibers at a concentration of at least 70% by weight of the air-laid blank (10) and a thermoplastic polymer binder at a concentration selected within an interval of from 2.5 up to 30% by weight of the air-laid blank (10). The air-laid blank (10) has an average density and a portion (11) of the air-laid blank (10) has a density different from the average density. The air-laid blank (10) is produced by modifying the air-permeability of a portion (121) of an air-permeable collector (120) to form a portion (11) of the air-laid blank (10) having a density from the average density. The air-laid blank (10) has two parallel planar major surfaces (12, 14)

ガロール基修飾キトサンシートの製造方法、ガロール基修飾キトサンシートを備える多層シート

NºPublicación:  JP2026054762A 30/03/2026
Solicitante: 
国立大学法人秋田大学
JP_2026054762_A

Resumen de: JP2026054762A

【課題】接着性に優れたガロール基修飾キトサンシートを提供できる製造方法、および、接着性に優れたガロール基修飾キトサンシートを備えた多層シートを提供する。【手段】ガロール基修飾キトサンを粉砕処理する工程、および、得られた粉砕物をシート状に圧縮成形する工程、を備える、ガロール基修飾キトサンシートの製造方法。【選択図】図1

CONTAINER

NºPublicación:  ES3060986T3 30/03/2026
Solicitante: 
BLUEWATER INNOVATIONS AB
Bluewater Innovations AB
US_2024262590_A1

Resumen de: US2024262590A1

There is disclosed a container configured to hold a substance and extending along an axis A. The container comprises a container body configured to hold the substance. The container body comprises a top part. Further, the container body comprises a closure section arranged in an opposite end of the container body compared to the top part. The closure section comprises a first circular cross-section with a first radius in a plane transverse to the axis A. The closure section further comprises a second circular cross-section with a second radius in a plane transverse to the axis A, the second radius is larger than the first radius. The closure segment further comprises an annular wall extending from the second circular cross-section to the first circular cross-section such that the annular wall is formed with an angle alpha in relation to the axis A. The closure section is arranged so that the first circular cross-section is facing the top part. The container body further comprises a container wall extending from the closure section to the top part. The beverage container further comprises a sealing structure. The sealing structure comprises a circular bottom plate configured to seal the container body, and a sealing wall extending around the circular bottom plate. The sealing wall is tilted with the angle alpha in relation to the axis A. The sealing wall is configured to engage the annular wall, and the sealing structure is configured to be pressed into the closure section to

USE OF ELECTROMAGNETIC RADIATION IN THE PRODUCTION OF POPCORN-CONTAINING SHAPED PARTS

NºPublicación:  ES3060938T3 30/03/2026
Solicitante: 
GEORG AUGUST UNIV GOETTINGEN STIFTUNG OEFFENTLICHEN RECHTS
Georg-August-Universit\u00E4t G\u00F6ttingen Stiftung \u00D6ffentlichen Rechts
MX_2022010595_A

Resumen de: MX2022010595A

The present invention relates to two-dimensional and three-dimensional shaped parts and composite materials made of popcorn and synthetic and/or natural binding agents which are cured in automatic moulding machines or similar pressing installations by means of radiowave technology or microwaves. By means of these technologies, lightweight, two-dimensional and three-dimensional shaped parts and composite materials can be produced for packagings, as interior and exterior parts (for example in automobile and mobile-home construction), shock absorbers, space-dividing elements, furniture, consumer goods, for the building trade of for heat insulation.

POLYVINYL ALCOHOL RESIN FILM

NºPublicación:  PL4372017T3 30/03/2026
Solicitante: 
KURARAY CO LTD [JP]
Kuraray Co., Ltd.
ES_3041257_T3

Resumen de: CN119912771A

A polyvinyl alcohol resin film, a method for discriminating a polyvinyl alcohol resin film, and a method for producing a polyvinyl alcohol resin film. Provided are: a PVA film which does not increase the amount of carbon dioxide present in the global environment even when carbon dioxide is generated by a biodegradation treatment or an incineration treatment; and a method for easily and reliably discriminating a manufacturer of the PVA film. The polyvinyl alcohol resin film contains a polyvinyl alcohol resin (A), and the abundance ratio 14C/C of C14 in the total carbon constituting the polyvinyl alcohol resin (A) is 1.0 * 10-14 or more. A method for discriminating a polyvinyl alcohol resin film, which discriminates a polyvinyl alcohol resin film containing a polyvinyl alcohol resin (Ab) in which all or part of carbon is derived from ethylene (Bb) derived from a organism, and a polyvinyl alcohol resin film containing a polyvinyl alcohol resin (Ap) only derived from ethylene (Bp) derived from a fossil fuel, by measuring the abundance ratio 14C/C of C14 in the total carbon, and a method for discriminating a polyvinyl alcohol resin film containing a polyvinyl alcohol resin (Ab) containing only a polyvinyl alcohol resin (Ap) only derived from ethylene (Bp) derived from a fossil fuel.

ELECTRONIC DEVICE BARRIER FILM

NºPublicación:  PL3778215T3 30/03/2026
Solicitante: 
TOYO SEIKAN GROUP HOLDINGS LTD [JP]
Toyo Seikan Group Holdings, Ltd.
JP_2023029449_A

Resumen de: US2021023817A1

A barrier film for electronic devices exhibiting and maintaining excellent water barrier property. The barrier film for electronic devices features a water permeability (23° C., RH50%) that is set to be not more than 10−4 g/m2/day and a water content that is maintained to be not more than 2000 ppm.

Method for Manufacturing Biodegradable Plastic Using Whey Protein through Injection Molding and the Product Thereof

NºPublicación:  KR20260041416A 27/03/2026
Solicitante: 
주식회사와이지지알

Resumen de: KR20260041416A

본 발명은 유청 단백질을 활용하여 생분해성 플라스틱을 제조하는 방법에 관한 것이다. 유청 단백질은 유제품 가공 과정에서 발생하는 부산물로, 본 발명에서는 이를 열처리하여 가소성을 부여한 후, 가소제 및 첨가제를 혼합하여 플라스틱 재료를 형성한다. 이후 사출 성형 공정을 통해 원하는 형태의 플라스틱 제품을 제작하며, 최종 제품은 자연 환경에서 쉽게 분해될 수 있는 생분해성을 지닌다. 본 발명은 유청의 재활용을 통해 자원 낭비를 줄이고, 환경 오염을 최소화하는 효과를 제공하며, 다양한 산업 분야에 응용될 수 있는 고품질의 플라스틱 제품을 제조할 수 있는 기술적 솔루션을 제시한다.

A PROBIOTIC AND MICROALGAE-ADDED EDIBLE FILM AND A PRODUCTION METHOD

NºPublicación:  WO2026063913A2 26/03/2026
Solicitante: 
BASKENT UNIV [TR]
BASKENT UNIVERSITESI
WO_2026063913_A2

Resumen de: WO2026063913A2

The invention relates to a method (100) of obtaining an edible film comprising probiotics and microalgae, used as a food surface coating or as a nutritional supplement alone, and to a film obtained by the method (100).

架橋樹脂及び樹脂組成物

NºPublicación:  JP2026054154A 26/03/2026
Solicitante: 
関西ペイント株式会社
JP_2026054154_A

Resumen de: JP2026054154A

【課題】生分解性と微生物付着性に優れた架橋樹脂を提供する。【解決手段】活性水素基を有し生分解性を有する化合物(A)及びα,β-不飽和カルボニル官能基を有し生分解性を有する化合物(B)を含む成分の反応生成物である架橋樹脂。【選択図】なし

ABSORBENT ARTICLE PACKAGES

NºPublicación:  WO2026064162A1 26/03/2026
Solicitante: 
THE PROCTER & GAMBLE COMPANY [US]
THE PROCTER & GAMBLE COMPANY
WO_2026064162_A1

Resumen de: WO2026064162A1

A package comprising two or more absorbent articles is disclosed. The package encloses two or more absorbent articles. The package comprises a plurality of panels formed by at least one sheet. The package exhibits a Collapse Resistance Force of at least 0.5 N.

ABSORBENT ARTICLE PACKAGES

NºPublicación:  US20260084876A1 26/03/2026
Solicitante: 
THE PROCTER & GAMBLE COMPANY [US]
THE PROCTER & GAMBLE COMPANY
US_20260084876_A1

Resumen de: US20260084876A1

A package comprising two or more absorbent articles is disclosed. The package encloses two or more absorbent articles. The package comprises a plurality of panels formed by at least one sheet. The package exhibits a Collapse Resistance Force of at least 0.5 N.

CROSSLINKED AND CHAIN-EXTENDED FILMS AND FOAMS BASED ON BIODEGRADABLE POLYESTERS FOR IMPROVED HYDROLYSIS

NºPublicación:  WO2026062120A1 26/03/2026
Solicitante: 
BENECKE KALIKO AG [DE]
BENECKE-KALIKO AKTIENGESELLSCHAFT
WO_2026062120_A1

Resumen de: WO2026062120A1

The present invention relates to a process for producing a biodegradable polyester product, comprising the following steps: a) providing a mixture comprising at least one polyester and at least one polycarbodiimide, b) extruding, calendering and/or injection molding the mixture from step a), and c) irradiating the extruded, calendered and/or injection-molded mixture from step b) with ionizing radiation. The invention also relates to a biodegradable polyester product obtainable therefrom, and to a foam or film comprising such a biodegradable polyester product.

POLYMERIC MULTILAYER FILM FOR USE IN BIOPROCESSING APPLICATIONS

NºPublicación:  US20260085265A1 26/03/2026
Solicitante: 
SEALED AIR CORP US [US]
Sealed Air Corporation (US)
US_20260085265_A1

Resumen de: US20260085265A1

The presently disclosed subject matter is directed to a polymeric, multilayer film suitable for use in a variety of applications, including (but not limited to) the manufacture of bioprocessing containers. The disclosed film comprises a sealant layer comprising: (i) one or more ethylene/alpha olefin copolymers with an average density lower than 0.922 g/cc; (ii) one or more polymers with an average density higher than or equal to 0.950 g/cc and selected among ethylene/alpha olefin copolymers and/or ethylene homopolymers; (iii) high molecular weight siloxane polymers; optionally, at least one gas barrier layer and an outer skin layer. The sealant layer of the disclosed films provides for a low blocking effect and for high seal strength. In addition, the surface of the sealant layer is inert and substantially free from migratory surface additives and from metal containing particulate additives, such that, when the film is used for manufacturing bioprocessing containers, cell growth and products harvesting are not affected. A method for manufacturing the film, a bioprocessing container comprising the film and a method for culturing cells in such container are also herein disclosed.

ABSORBENT ARTICLE PACKAGES

NºPublicación:  WO2026064561A1 26/03/2026
Solicitante: 
THE PROCTER & GAMBLE COMPANY [US]
THE PROCTER & GAMBLE COMPANY
WO_2026064561_A1

Resumen de: WO2026064561A1

A cuboidal package including one or more absorbent articles is disclosed. The package encloses one or more absorbent articles. The package includes a plurality of panels formed by at least two separate sheets. The second sheet and the first sheet form the top panel and the second sheet is attached to the first sheet such that a hinge is formed, and the top panel is at least partially reclosable via the second sheet.

ADHESIVE RESIN COMPOSITION

NºPublicación:  US20260085184A1 26/03/2026
Solicitante: 
KURARAY CO LTD [JP]
KURARAY CO., LTD
US_20260085184_A1

Resumen de: US20260085184A1

The present invention relates to an adhesive resin composition including a biodegradable polyester resin (A) and a polyvinyl alcohol resin (B). In the adhesive resin composition, Expression (1): 0.30

ABSORBENT ARTICLE PACKAGES

NºPublicación:  US20260083599A1 26/03/2026
Solicitante: 
THE PROCTER & GAMBLE COMPANY [US]
THE PROCTER & GAMBLE COMPANY
US_20260083599_A1

Resumen de: US20260083599A1

A cuboidal package including one or more absorbent articles is disclosed. The package encloses one or more absorbent articles. The package includes a plurality of panels formed by at least two separate sheets. The second sheet and the first sheet form the top panel and the second sheet is attached to the first sheet such that a hinge is formed, and the top panel is at least partially reclosable via the second sheet.

POLYVINYL ALCOHOL RESIN FILM

Nº publicación: ES3060109T3 25/03/2026

Solicitante:

KURARAY CO LTD
Kuraray Co., Ltd

ES_3041257_T3

Resumen de: CN119912771A

A polyvinyl alcohol resin film, a method for discriminating a polyvinyl alcohol resin film, and a method for producing a polyvinyl alcohol resin film. Provided are: a PVA film which does not increase the amount of carbon dioxide present in the global environment even when carbon dioxide is generated by a biodegradation treatment or an incineration treatment; and a method for easily and reliably discriminating a manufacturer of the PVA film. The polyvinyl alcohol resin film contains a polyvinyl alcohol resin (A), and the abundance ratio 14C/C of C14 in the total carbon constituting the polyvinyl alcohol resin (A) is 1.0 * 10-14 or more. A method for discriminating a polyvinyl alcohol resin film, which discriminates a polyvinyl alcohol resin film containing a polyvinyl alcohol resin (Ab) in which all or part of carbon is derived from ethylene (Bb) derived from a organism, and a polyvinyl alcohol resin film containing a polyvinyl alcohol resin (Ap) only derived from ethylene (Bp) derived from a fossil fuel, by measuring the abundance ratio 14C/C of C14 in the total carbon, and a method for discriminating a polyvinyl alcohol resin film containing a polyvinyl alcohol resin (Ab) containing only a polyvinyl alcohol resin (Ap) only derived from ethylene (Bp) derived from a fossil fuel.

traducir