Ministerio de Industria, Turismo y Comercio LogoMinisterior
 

Alerta

Resultados 137 resultados
LastUpdate Última actualización 08/12/2025 [07:19:00]
pdfxls
Solicitudes publicadas en los últimos 120 días / Applications published in the last 120 days
previousPage Resultados 25 a 50 de 137 nextPage  

PLATFORM FOR BIO-BASED PRODUCTION OF HIGH LEVELS OF O-PHOSPHOSERINE, CYSTEATE OR TAURINE

NºPublicación:  WO2025217267A1 16/10/2025
Solicitante: 
NATAUR INC [US]
NAT\u00C1UR INC
WO_2025217267_PA

Resumen de: WO2025217267A1

Methods for the fermentative production of O-phosphoserine, cysteate, or taurine in microbes or unicellular organisms that contain a serB mutation that either decreases serB expression, reduces the amount of the serB gene product or results in a serB gene product with low enzymatic activity. Genetic modifications of the O-phosphoserine, cysteate, or taurine and/or substrate biosynthetic pathways in unicellular organisms that include bacteria, algae, microalgae, diatoms, yeast, or fungi are disclosed. Also disclosed are fermentation and processing methods for the production of various O-phosphoserine-, cysteate-, or taurine-containing products and the use of the cells, fermentation broth or extracts that contain O-phosphoserine, cysteate, or taurine to produce products for use in food, feed, beverages, dietary and health supplements, cosmetics, personal care, pharmaceuticals, agricultural production, or surfactants.

EXTRACT WITH ANTI-INFLAMMATORY EFFECT

NºPublicación:  US2025319145A1 16/10/2025
Solicitante: 
MEDIZINISCHE UNIV INNSBRUCK [AT]
MCI MAN CENTER INNSBRUCK [AT]
ASDI AUSTRIAN DRUG SCREENING INST GMBH [AT]
Medizinische Universitat Innsbruck,
MCI-MANAGEMENT CENTER INNSBRUCK,
ASDI-Austrian Drug Screening Institute GMBH
WO_2022263580_PA

Resumen de: US2025319145A1

The present invention relates to an anti-inflammatory extract of soil microorganisms or a fraction thereof, wherein the microorganisms comprise one or more selected from Chlorophyta, Xanthophyceae or Cyanobacteria. The invention further relates to compositions comprising two or more of Lyso-DGTS, p-Coumaric acid (ester-linked), oleamide, theophylline, or DGTS. The invention further relates to pharmaceutical compositions comprising the anti-inflammatory extract of soil microorganisms or a fraction thereof or a composition comprising two or more of Lyso-DGTS, p-Coumaric acid (ester-linked), oleamide, theophylline, or DGTS as an active ingredient. The invention further relates to an anti-inflammatory extract of soil microorganisms or a fraction thereof or a pharmaceutical composition comprising an anti-inflammatory extract of soil microorganisms or a fraction thereof or a composition comprising two or more of Lyso-DGTS, p-Coumaric acid (ester-linked), oleamide, theophylline, or DGTS as an active ingredient for use as a medicament, wherein the microorganisms comprise one or more selected from Chlorophyta, Xanthophyceae or Cyanobacteria. The invention further relates to compositions comprising an anti-inflammatory extract of soil microorganisms or a fraction thereof, wherein the microorganisms comprise one or more selected from Chlorophyta, Xanthophyceae or Cyanobacteria.

COMPOSITIONS COMPRISING SMALL EXTRACELLULAR VESICLES DERIVED FROM MICROALGAE, A PROCESS FOR OBTAINING THEM AND USES THEREOF

NºPublicación:  WO2025210558A1 09/10/2025
Solicitante: 
EXOGENUS THERAPEUTICS SA [PT]
EXOGENUS THERAPEUTICS, SA

Resumen de: WO2025210558A1

The present invention relates to a process for isolating Extracellular Vesicles (EV) secreted by microalgae (MEV - microalgae extracellular vesicle) cultured in basal and stress environment conditions namely pH, salinity, light, nutrient starvation, and temperature. Additionally, microalgae can be cultivated in thermal water classified as bicarbonate, sulphate, sulphide, chloride, or weakly mineralized trace metal. The present invention also relates to compositions comprising said MEV, which are useful to be applied to therapeutic, cosmetic, nutraceutical, phytopharmaceutical and medical including veterinary applications. The present invention lays in the technical domain of pharmaceuticals, medicine, cosmetics, nutraceutical, veterinary and research and development in cellular biology and appliances thereof.

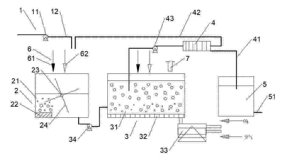
Apparatus and method for microalgae-microorganism synergistic treatment of aquaculture effluent

NºPublicación:  GB2640110A 08/10/2025
Solicitante: 
UNIV NANCHANG [CN]
Nanchang University
GB_2640110_PA

Resumen de: GB2640110A

The present invention relates to the technical field of aquaculture effluent treatment, in particular to an apparatus for microalgae-microorganism synergistic treatment of aquaculture effluent. The apparatus comprises an aquaculture part; the aquaculture part is in communication with an effluent discharge part; the effluent discharge part is in communication with an effluent treatment part; and the effluent treatment part is in communication with the aquaculture part. The effluent discharge part comprises an effluent discharge pipe in communication with the aquaculture part; the end of the effluent discharge pipe away from the aquaculture part is in communication with the effluent treatment part; and an effluent discharge pump is arranged on the effluent discharge pipe. The effluent treatment part comprises a second housing; the bottom end of the second housing is in communication with the effluent discharge pipe; the top end of a side wall of the second housing is in communication with the aquaculture part; the interior of the second housing is provided with a plurality of flow guide plates; and microalgae are inoculated on outer side walls of the flow guide plates. In the present invention, microalgae and original microorganisms in aquaculture effluent form microalgae-microorganism symbionts, which can reduce carbon, reduce nitrogen and remove phosphorus synchronously and have few effects on aquaculture organisms, so that the quality of discharged water can be greatly impro

Antibiofouling polymeric materials for the construction of photobioreactors (Machine-translation by Google Translate, not legally binding)

NºPublicación:  ES3037626A1 03/10/2025
Solicitante: 
CONSEJO SUPERIOR INVESTIGACION [ES]
UNIV ALMERIA [ES]
Consejo Superior de Investigaciones Cient\u00EDficas (CSIC),
Universidad de Almer\u00EDa
ES_3037626_A1

Resumen de: ES3037626A1

Antibiofouling polymeric materials for the construction of photobioreactors. The present invention discloses a transparent polymeric material comprising silica aerogel particles. These particles provide the material with hydrophobicity, which gives it antibiofouling properties, making it suitable for the construction of photobioreactors for microalgae cultivation. (Machine-translation by Google Translate, not legally binding)

Wastewater treatment device capable of preparing microalgae coagulation beads and use method

NºPublicación:  CN120736691A 03/10/2025
Solicitante: 
JIANGSU OCEAN UNIV
\u6C5F\u82CF\u6D77\u6D0B\u5927\u5B66
CN_120736691_PA

Resumen de: CN120736691A

The invention discloses a wastewater treatment device capable of preparing microalgae coagulation beads and a use method, and particularly relates to the technical field of wastewater treatment.The wastewater treatment device comprises a sewage cylinder pool, a bead preparation machine and a sewage inlet, and the bottom of the sewage cylinder pool is fixedly connected with a sewage discharge pipe communicated with the interior of the sewage cylinder pool; a bead waste treatment assembly for connection is arranged between the sewage cylinder pool and the bead preparation machine; through the arrangement of the throwing mesh frame, the rotating shaft column, the oscillating rod, the eccentric disc and the moving block, the throwing mesh frame, the rotating shaft column, the oscillating rod, the eccentric disc and the moving block can move in multiple directions in sewage, water flow can continuously rotate and roll along a spiral shape, sewage in different layers and areas can be fully mixed, microalgae coagulation beads can make more uniform contact with pollutants in the sewage, and the sewage treatment effect is improved. The collision probability of pollutants and microalgae coagulation beads is improved, it is ensured that bead bodies stay in the sewage cylinder pool for a long time, and therefore the removal process of the pollutants is accelerated, and the wastewater treatment quality is improved.

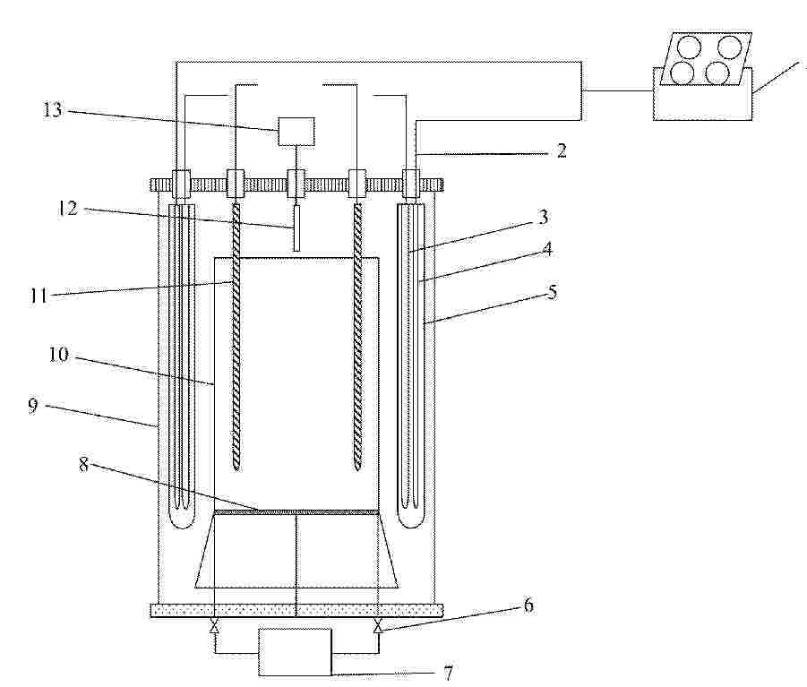
Photobioreactor for algae culture

NºPublicación:  CN223409617U 03/10/2025
Solicitante: 
GANSU KAIYUAN BIOTECHNOLOGY DEV CENTER CO LTD
\u7518\u8083\u51EF\u6E90\u751F\u7269\u6280\u672F\u5F00\u53D1\u4E2D\u5FC3\u6709\u9650\u8D23\u4EFB\u516C\u53F8
CN_223409617_U

Resumen de: CN223409617U

The utility model discloses a photobioreactor for algae culture, which relates to the technical field of bioengineering, and comprises a pyramid-shaped profile frame, a spiral glass tube, a pipeline support plate, a water pumping mechanism and a vertical glass tube, the bottom of the profile frame is provided with a Foma wheel, and the vertical glass tube is provided with a water pumping mechanism. The pipeline supporting plate is arranged at the corner of the profile frame, the spiral glass pipe is arranged on the profile frame in a surrounding mode through the pipeline supporting plate, a water pumping mechanism is arranged in the profile frame, the bottom of the vertical glass pipe is arranged on the water pumping mechanism in a communicating mode, and the top of the vertical glass pipe is fixed to the profile frame. An exhaust valve is arranged at the top end of the vertical glass tube, the water inlet end of the spiral glass tube is communicated with a water pumping mechanism, and the water outlet end of the spiral glass tube is communicated with the upper portion of the vertical glass tube. According to the utility model, microalgae organism culture volume and illumination surface area can be improved, and the light energy utilization rate is improved.

Method for quantifying complexing distribution balance of microalgae-heavy metal-organic matter system

NºPublicación:  CN120748537A 03/10/2025
Solicitante: 
SOUTHWEST UNIV OF SCIENCE AND TECHNOLOGY
TIANJIN UNIV
\u897F\u5357\u79D1\u6280\u5927\u5B66,
\u5929\u6D25\u5927\u5B66
CN_120748537_PA

Resumen de: CN120748537A

The invention discloses a method for quantifying complexing distribution balance of a microalgae-heavy metal-organic matter system. The complex equilibrium constant between the heavy metal and the organic matter and the partition coefficient of the heavy metal between the microalgae and the liquid phase can be quantified by measuring the absorption amount of the microalgae to the heavy metal and the concentration or characteristic spectrum of the organic matter in a balanced mixed system of the microalgae, the heavy metal and the organic matter by using the microalgae as an indicator. According to the method, the relationship between the microalgae absorption amount and the organic matter concentration is calculated by utilizing the balance of heavy metals and complexation in a solution, the distribution balance of the heavy metals in microalgae and a liquid phase and the material conservation relationship of the heavy metals and the organic matter, and then the relationship between the microalgae absorption amount and spectral characteristic parameters is established according to the Lambert-Beer law. And a complexing equilibrium constant between the heavy metal and the organic matter component and a distribution coefficient of the heavy metal between the microalgae and the liquid phase are quantified by interpreting the spectral parameters. According to the method, the complex equilibrium constant between the heavy metal and the organic matter component under the ternary sy

Solar heat storage and energy storage coupling system for microalgae culture and oil extraction

NºPublicación:  CN120737937A 03/10/2025
Solicitante: 
XIAN SHIYOU UNIV
\u897F\u5B89\u77F3\u6CB9\u5927\u5B66
CN_120737937_PA

Resumen de: CN120737937A

The invention relates to the technical field of microalgae culture oil extraction, in particular to a solar heat storage and energy storage coupling system for microalgae culture oil extraction, which comprises a cold molten salt storage tank, a molten salt pump, a solar heat collector, a molten salt diverter, a molten salt storage tank, a steam generator, a steam turbine generator, a circulating pump, a first water pump, a water storage tank and a second water pump, a temperature regulator; and a culture pool. According to the solar heat storage and energy storage coupling system for microalgae culture and oil extraction, solar energy rich in daytime is stored by storing high-temperature liquid molten salt, the use efficiency of the solar energy is improved, a wind energy supplementing system is additionally arranged, stable and reliable release can be achieved at night and in the sunshine-free period, and the utilization rate of the solar energy is increased. Therefore, the stability of the microalgae culture environment temperature is guaranteed, the photosynthesis rate and the growth rate of microalgae cells are guaranteed, stable and predictable high productivity can be maintained, and the culture efficiency is improved.

Material for collecting chlorella as well as preparation method and application of material

NºPublicación:  CN120737444A 03/10/2025
Solicitante: 
CHENGDU INST OF BIOLOGY CHINESE ACADEMY OF SCIENCES
\u4E2D\u56FD\u79D1\u5B66\u9662\u6210\u90FD\u751F\u7269\u7814\u7A76\u6240
CN_120737444_A

Resumen de: CN120737444A

The invention belongs to the field of environmental microorganisms, and particularly relates to a material for collecting chlorella as well as a preparation method and application thereof. According to the specific technical scheme, the guar gum modified material takes cationic guar gum as a substrate, and nano Fe3O4 particles are added to modify the cationic guar gum. The material provided by the invention is simple in preparation method, relatively short in preparation time, low in production cost, excellent in flocculation effect on microalgae and capable of adapting to a relatively wide pH range. In the material provided by the invention, the content of Fe3O4 is relatively low, and ferroferric oxide particles are attached to the surface of the CGG. After the material is added, almost no metal ions are introduced, the risk that the metal ions enter a microalgae recovery system is reduced, no obvious influence is caused on biological components of microalgae, and the use safety is high.

BIOTECHNOLOGICAL PROCESS TO PREPARE SELENIUM NANOPARTICLES

NºPublicación:  WO2025206966A1 02/10/2025
Solicitante: 
NATIONAL INSTITUTE FOR RES & DEVELOPMENT IN CHEMISTRY AND PETROCHEMISTRY ICECHIM [RO]
NATIONAL INSTITUTE FOR RESEARCH & DEVELOPMENT IN CHEMISTRY AND PETROCHEMISTRY - ICECHIM

Resumen de: WO2025206966A1

The present invention refers to a biotechnological process for obtaining suspensions of biogenic nanoparticles of zerovalent selenium, which have a high stability, and which have agronomic functions specific to plant biostimulants, that are amplified as a result of the formation of a biocorona which includes bioactive molecules from the biotechnological system wherein these selenium nanoparticles were formed. The biotechnological process involves the biosynthesis of selenium nanoparticles by the consortium of microalgae, Nannochloris sp. 424-1, deposited under CCAP number 251/10 in the Culture Collection of Algae and Protozoa (CCAP), and yeasts, Rhodotorula mucilaginosa TazRr, deposited under DSM number 34804, at the Leibniz Institute DSMZ - German Collection of Microorganisms and Cell Cultures, to promote the formation of suspensions of stable selenium nanoparticles. The process also includes separation and concentration steps by micro- and ultrafiltration on ceramic membranes.

Membrane floating supporting device for microalgae culture

NºPublicación:  CN120718738A 30/09/2025
Solicitante: 
SHANGHAI NALINWEI TECH CO LTD
\u4E0A\u6D77\u7EB3\u7433\u5A01\u79D1\u6280\u80A1\u4EFD\u6709\u9650\u516C\u53F8
CN_120718738_PA

Resumen de: CN120718738A

The invention discloses a membrane floating support device for microalgae culture, which is used for expanding and flattening a composite membrane, and comprises a support structure, the support structure comprises a frame body, the outer surface of the frame body is fixedly provided with a connecting ring and a barrier strip respectively, the bottom surface of the frame body is fixedly provided with a connecting piece, the frame body is fixedly connected with a floating cylinder through the connecting piece, and the floating cylinder is fixedly connected with the supporting structure. According to the membrane floating supporting device for microalgae culture, the floating barrels are integrated on the frame body to form a supporting structure, and when a composite membrane is supported through the supporting structure, buoyancy of the floating barrels can be self-adaptive to water level fluctuation, keep the membrane surface horizontal, cover the membrane surface flatness and light distribution uniformity, avoid local shadows, and improve the membrane surface floating effect. Meanwhile, the composite membrane is formed by compounding the base material layer, the spectrum conversion layer and the anti-ultraviolet coating, and the composite membrane can solve the problems that the growth of microalgae is inhibited by ultraviolet light in sunlight and the energy of infrared light is wasted by utilizing the performance of a multi-layer material.

Microalgae composition and application thereof in fishing and farming integrated planting and breeding

NºPublicación:  CN120718761A 30/09/2025
Solicitante: 
NANCHANG UNIV
\u5357\u660C\u5927\u5B66
CN_120718761_A

Resumen de: CN120718761A

The invention discloses a microalgae composition and application thereof in fishing and farming integrated planting and breeding, and belongs to the technical field of aquaculture. The microalgae composition disclosed by the invention comprises chlorella, spirulina, nostoc, anabaena nitrogen fixation, schizochytrium limacinum and nannochloropsis oculata. The mass ratio of the chlorella to the spirulina to the nostoc to the nitrogen-fixing anabaena to the schizochytrium to the nannochloropsis oculata is 1: (4-5): (1: 1)-(2: 2.2-2.4): (3.4-3.6); the microalgae composition can be added into aquaculture feed to be applied to fishery and agricultural comprehensive planting and breeding; the fishing and farming integrated planting and breeding at least comprises rice-fish symbiosis; after the microalgae composition provided by the invention is applied to fishing and farming integrated planting, the growth of crops and aquaculture organisms for fishing and farming integrated planting can be effectively promoted.

Recyclable microalgae gel with core-shell structure as well as preparation method and application of recoverable microalgae gel

NºPublicación:  CN120714552A 30/09/2025
Solicitante: 
CHENGDU BAIER MAISI TECH CO LTD
SICHUAN UNIV
\u6210\u90FD\u62DC\u5C14\u8FC8\u601D\u79D1\u6280\u6709\u9650\u516C\u53F8,
\u56DB\u5DDD\u5927\u5B66
CN_120714552_PA

Resumen de: CN120714552A

The invention relates to recoverable microalgae hydrogel with a core-shell structure as well as a preparation method and application of the recoverable microalgae hydrogel, and belongs to the technical field of environmental protection. The invention provides recoverable microalgae hydrogel with a core-shell structure. The microalgae hydrogel comprises at least one shell layer and a core layer arranged in the shell layer, the core layer comprises microalgae cells; and the shell layer is a network-shaped cross-linked body capable of preventing microalgae cells from escaping from the gel. The preparation method comprises the following steps: preparing core-structure microalgae bio-ink and shell-structure ink, carrying out 3D printing on the core-structure microalgae bio-ink and the shell-structure ink to form microalgae gel, and carrying out cross-linking molding; by adopting the core-shell structure design, the escape of microalgae can be effectively prevented, and the balance of ecological species is maintained; the method is suitable for various water area environments, antibiotic degradation with large-range concentration can be realized, and the degradation efficiency is improved; the 3D printing technology is combined, efficient and modular production can be carried out, and the 3D printing device has the potential of industrial scale application.

Concrete wastewater treatment method

NºPublicación:  CN120717642A 30/09/2025
Solicitante: 
ROAD & BRIDGE INT CO LTD
\u4E2D\u4EA4\u8DEF\u6865\u5EFA\u8BBE\u6709\u9650\u516C\u53F8
CN_120717642_PA

Resumen de: CN120717642A

The invention discloses a concrete wastewater treatment method which comprises the following steps: carrying out precipitation treatment on wastewater to obtain supernate, and enabling the pH value of the supernate to be 7-9 and the concentration of heavy metal ions to be smaller than a threshold value; the supernate enters a photobioreactor, microalgae are cultured in the photobioreactor, and treatment liquid is obtained after culture is carried out for a preset time; the treating fluid is treated by a centrifugal machine to obtain centrifugate, and the centrifugate is filtered to reach the emission standard. The discharged water can be used in the concrete production process, such as stirring water, cleaning water and the like, so that wastewater treatment and reutilization, energy conservation and emission reduction are realized, and the production cost is reduced; meanwhile, water can be returned to the first-stage filtering device, and before the first-stage filtering device, filtering holes of the first-stage filtering device and an ultrafiltration membrane of the first-stage filtering device are flushed regularly, so that blockage is prevented, and the service life of the first-stage filtering device is prolonged.

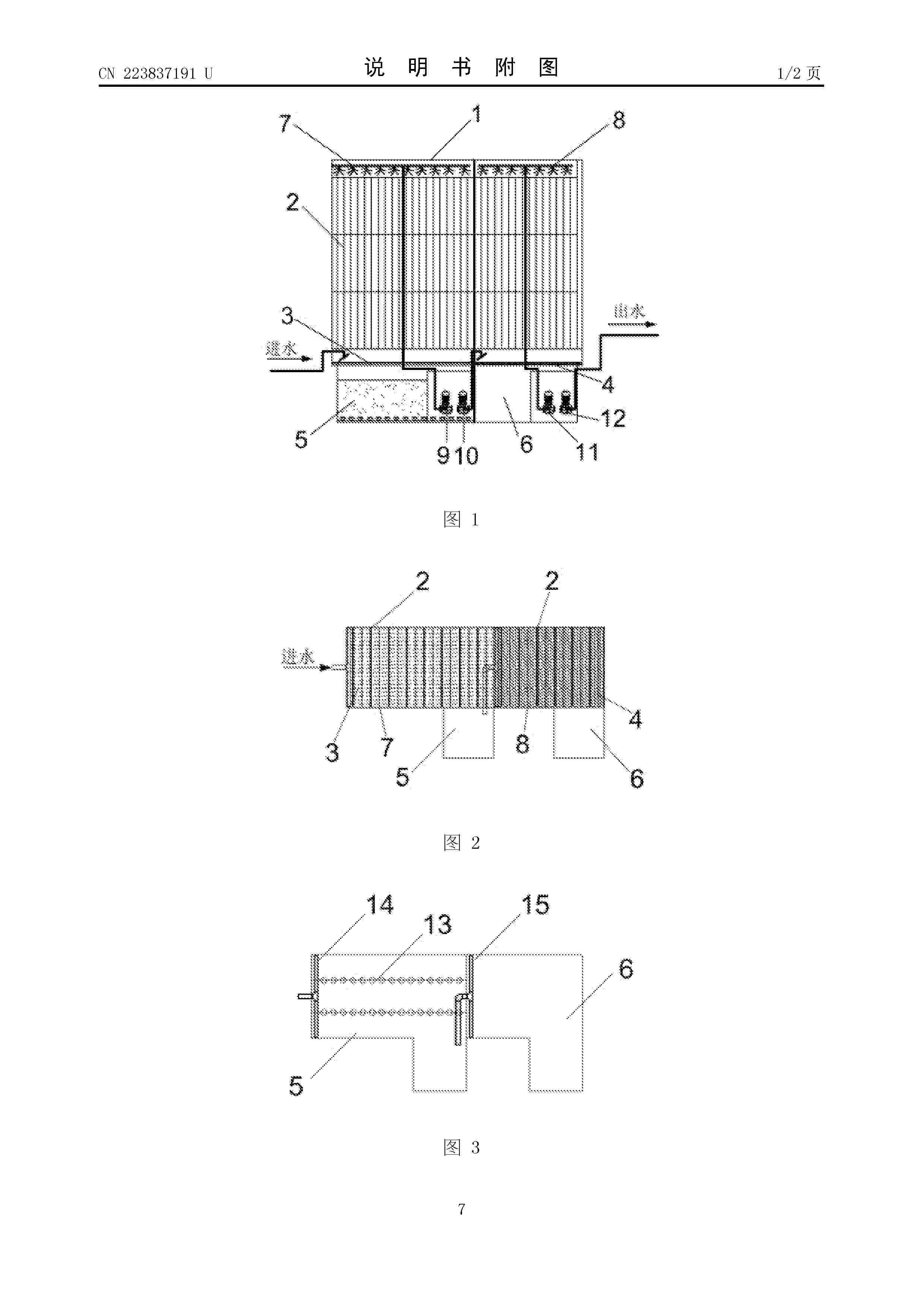
Integrated algal-bacterial symbiotic system suitable for advanced sewage treatment

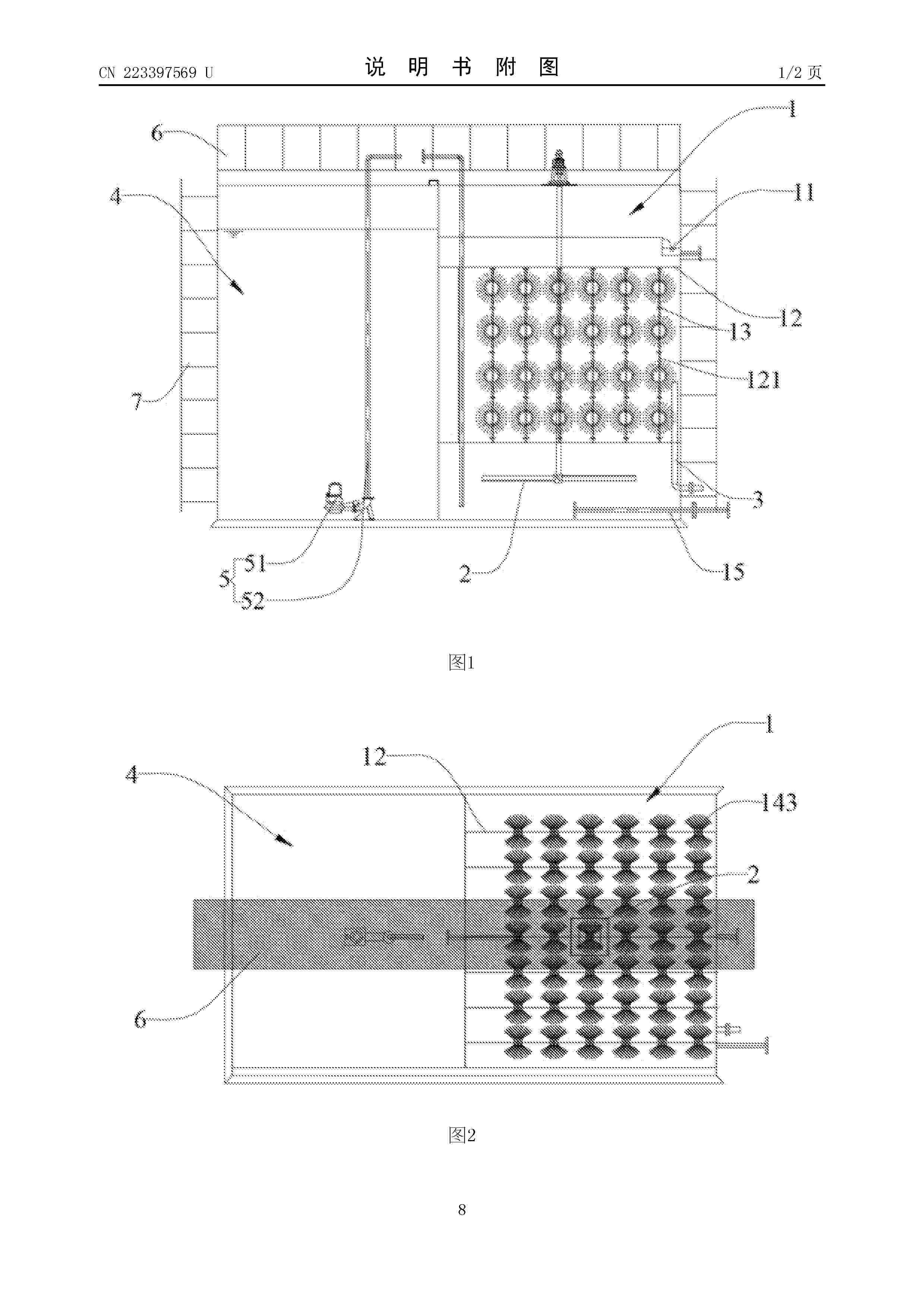
NºPublicación:  CN223397569U 30/09/2025
Solicitante: 
CSCEC AECOM CONSULTANTS CO LTD
\u4E2D\u56FD\u5E02\u653F\u5DE5\u7A0B\u897F\u5317\u8BBE\u8BA1\u7814\u7A76\u9662\u6709\u9650\u516C\u53F8
CN_223397569_U

Resumen de: CN223397569U

The utility model provides an integrated bacteria-algae symbiotic system suitable for advanced sewage treatment, which is used for solving the problem that activated sludge can shield light of a light supplementing mechanism in the prior art. Comprising a first treatment tank, a stirring device, an aeration assembly, a water inlet formed in the bottom of the first treatment tank, a water outlet formed in the top of the first treatment tank, a mounting bracket arranged in the first treatment tank, a plurality of light supplementing assemblies and a plurality of microalgae assemblies, the light supplementing assembly is arranged in the bacteria and algae biological area, and the bacteria and algae biological area is far away from the bottom of the first treatment pond, so that the problem that large-particle pollutants or sludge in sewage is deposited on the light supplementing assembly to influence photosynthesis of bacteria and algae can be avoided. In addition, the sewage is stirred through the stirring device, mixing of the sewage, the activated sludge and the microalgae can be promoted, full contact of the sewage, the activated sludge and the microalgae can be achieved, and therefore the sewage treatment effect can be improved.

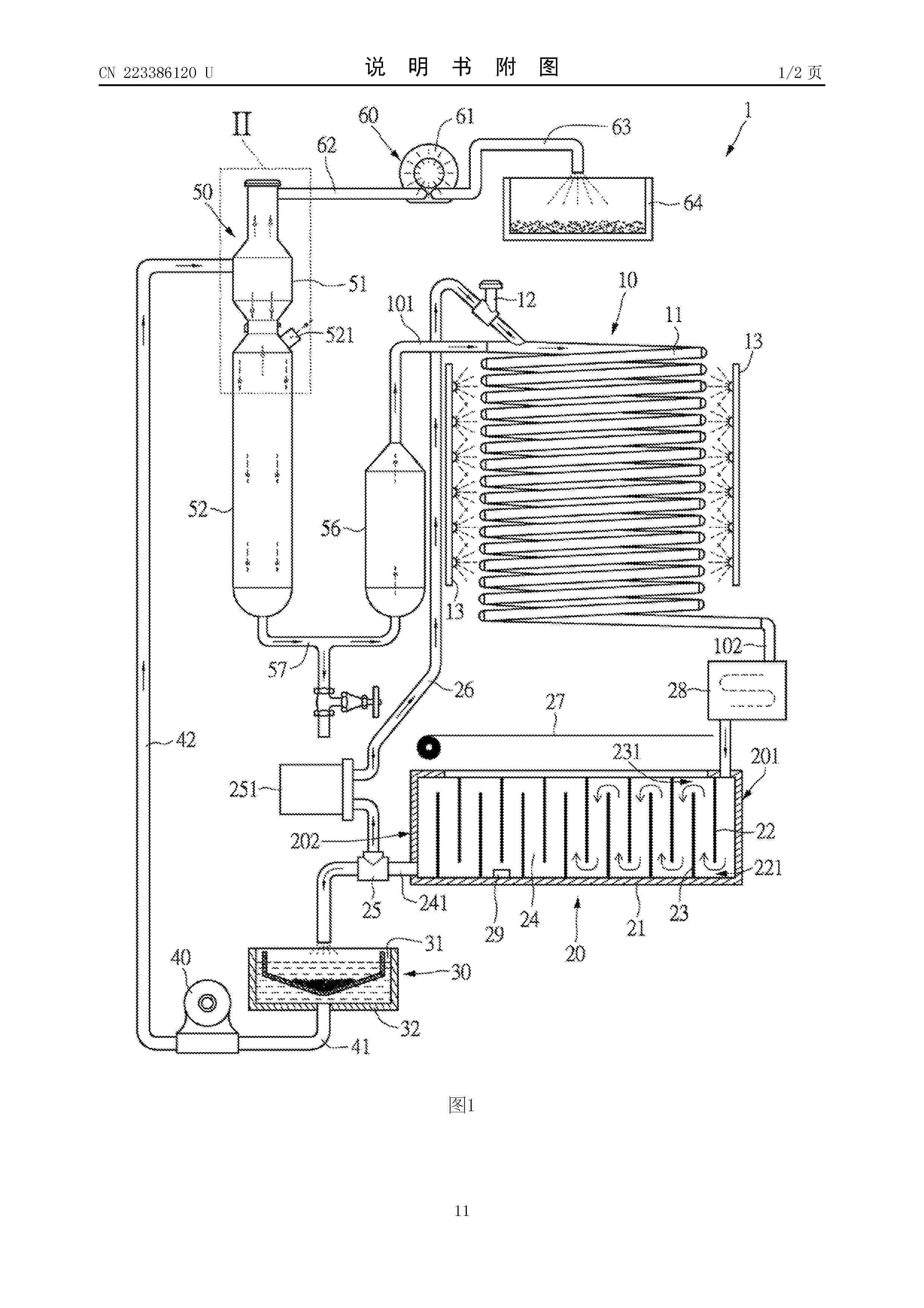
Composite microalgae culture system

NºPublicación:  CN223386120U 26/09/2025
Solicitante: 
LU CHAOHUI
\u5362\u671D\u7147
CN_223386120_U

Resumen de: CN223386120U

The utility model provides a microalgae culture system which comprises a photosynthetic reaction module, a growth adjusting module, a harvesting module and an oxygen discharging and dead algae separating module, the photosynthetic reaction module is provided with a light-transmitting disc tube, the growth adjusting module is provided with an adjusting groove, and the interior of the adjusting groove is divided into bent flow channels through a plurality of partition plates; the culture solution is subjected to high-intensity photosynthetic reaction in the photosynthetic reaction module and then enters the growth regulation module to grow in an environment with the intensity lower than that of the photosynthetic reaction of the photosynthetic reaction module, and then the algae in the culture solution are harvested by the harvesting module after the algae grow to a harvesting standard.

Alga photobioreactor reinforced by cooperation of sunlight and artificial light source

NºPublicación:  CN120699743A 26/09/2025
Solicitante: 
SHANGHAI JIAO TONG UNIV
SHANGHAI NATIONAL ENGINEERING RES CENTER FOR NANOTECHNOLOGY CO LTD
\u4E0A\u6D77\u4EA4\u901A\u5927\u5B66,
\u4E0A\u6D77\u7EB3\u7C73\u6280\u672F\u53CA\u5E94\u7528\u56FD\u5BB6\u5DE5\u7A0B\u7814\u7A76\u4E2D\u5FC3\u6709\u9650\u516C\u53F8
CN_120699743_PA

Resumen de: CN120699743A

The invention discloses an algae photobioreactor reinforced by cooperation of sunlight and an artificial light source, and relates to the technical field of algae reaction, and the algae photobioreactor comprises a reactor main body which comprises an outer cavity and a reaction cavity arranged in the outer cavity; the light source system comprises a condensation system, a sunlight leading-in system, an artificial light source system and an SrYF5 fluorescent light-emitting system, and is used for providing illumination for the reactor main body; and the aeration system is communicated with the reaction cavity in the reactor main body, and gas generated by the aeration system is introduced into the reaction cavity. By combining the multispectral synergistic effect of the sunlight and the artificial light source, the SrYF5 nano fluorescent powder is utilized to realize light wavelength conversion, 320-400nm ultraviolet light is converted into 550-700nm red light, the available spectrum in the microalgae growth process is expanded, the photosynthesis efficiency of the microalgae is improved, and the overall efficiency of the algae photobiological reaction is improved.

Microalgae biological fertilizer for improving crop yield and stress resistance

NºPublicación:  CN120699775A 26/09/2025
Solicitante: 
SHANDONG AGRICULTURAL UNIV
\u5C71\u4E1C\u519C\u4E1A\u5927\u5B66
CN_120699775_PA

Resumen de: CN120699775A

The invention discloses a microalgae biological fertilizer for improving crop yield and stress resistance, and belongs to the technical field of microorganisms. The thermophilic monolith ZGL1 disclosed by the invention can stably grow in a saline-alkali environment, shows strong saline-alkali tolerance, can maintain normal metabolism and growth under high saline-alkali concentration, and provides an ideal microbial resource for agricultural application of saline-alkali soil. The thermophile ZGL1 disclosed by the invention can simultaneously act on saline-alkali soil improvement, antibiotic and pesticide pollution treatment and crop stress resistance and yield increase, has remarkable ecological benefits and economic benefits, and provides an efficient and environment-friendly solution for agricultural ecological restoration of saline-alkali soil.

Field desert blue-green algae culture device

NºPublicación:  CN223386122U 26/09/2025
Solicitante: 
INNER MONGOLIA AUTONOMOUS REGION ACAD OF FORESTRY SCIENCES
\u5185\u8499\u53E4\u81EA\u6CBB\u533A\u6797\u4E1A\u79D1\u5B66\u7814\u7A76\u9662
CN_223386122_U

Resumen de: CN223386122U

The utility model discloses a field desert blue-green algae culture device, which relates to the technical field of desert blue-green algae culture and comprises a tank body, the bottom of the tank body is of a conical structure, and the top of the tank body is detachably connected with a cover body; the inner side wall of the tank body is in sliding connection with a hollowed-out net plate; the lifting mechanism comprises a driving part and a connecting part, the driving part is installed on the bottom wall of the cover body, one end of the connecting part is detachably connected with the telescopic end of the driving part, and the other end of the connecting part is fixedly connected with the hollowed-out net plate; the hollowed-out net plate provides adhesion and growth space for blue-green algae, the adhesion area of the blue-green algae in unit volume is increased, the hollowed-out design allows water to freely flow up and down on the net plate, exchange of nutrient substances and oxygen is promoted, meanwhile, the concentration of suspended solids in the water is maintained, and the hollowed-out net plate is driven by the lifting mechanism to move up and down along the inner side wall of the tank body, so that the blue-green algae can be effectively adsorbed. The fluidity of the water body is improved, cyanobacteria cells can be prevented from being deposited and attached to the inner side wall of the tank body, the growth of the cyanobacteria is promoted, and the cultu

COMPOSITION COMPRISING A EUKARYOTIC MICROALGAE OR AN EXTRACT THEREOF FOR USE IN THE TREATMENT OF A VIRAL DISEASE

NºPublicación:  EP4620529A2 24/09/2025
Solicitante: 
PHILIP MORRIS PRODUCTS SA [CH]
Philip Morris Products, S.A
EP_4620529_PA

Resumen de: EP4620529A2

A composition comprising a eukaryotic microalgae or an extract thereof may be for use in the treatment of a viral disease, e.g. coronavirus, and for use as an inhibitor of the binding of Spike protein receptor binding domain (RBD) to Angiotensin-Converting Enzyme 2 (ACE2). A compound derivable from eukaryotic microalgae may also be for use in the treatment of a viral disease. In turn, a eukaryotic microalgae may be used as an antiviral agent.

METHODS OF PREPARATION OF A FOOD OR A FEED PRODUCT OR INGREDIENT FROM NON-REFINED MICROALGAE & USES THEREOF

NºPublicación:  EP4618777A1 24/09/2025
Solicitante: 
ALVER BV [NL]
Alver BV
WO_2024105258_A1

Resumen de: WO2024105258A1

The invention relates to a method for the preparation of microalgal for use as a food-grade ingredient without the need of any further purification or separation step and resulting products therefrom.

Microalgae biological soil remediation agent and preparation method thereof

NºPublicación:  CN120682822A 23/09/2025
Solicitante: 
GUANGZHOU YUANQINONGTIAN BIOTECHNOLOGY CO LTD
\u5E7F\u5DDE\u5143\u6C14\u519C\u7530\u751F\u7269\u79D1\u6280\u6709\u9650\u516C\u53F8
CN_120682822_PA

Resumen de: CN120682822A

The invention belongs to the technical field of soil remediation, and discloses a microalgae biological soil remediation agent and application thereof. A sustainable benign underground micro-ecosystem is constructed, the prepared microalgae biological soil remediation agent takes a porous active carrier with positive charges as a matrix, the porous active carrier is a porous carrier obtained by compounding silicon dioxide on montmorillonite, and the porous carrier is modified to obtain an aminated porous carrier with negative charge NH2-groups between layers. And finally, chitosan cations loaded on the carrier become a porous active carrier with positive charges, and the carrier is loaded with a large amount of chlorella pyrenoidosa, so that the environmental sensitivity is reduced, the carrier can survive and breed in a harsh soil environment, the soil fertility can be remarkably improved, and the yield and quality of crops are improved. Meanwhile, the effect of reducing soil heavy metal pollution is also achieved; the microbial community diversity of the soil can be increased, the soil aggregate structure is improved, and the physical and chemical environment of the soil is improved.

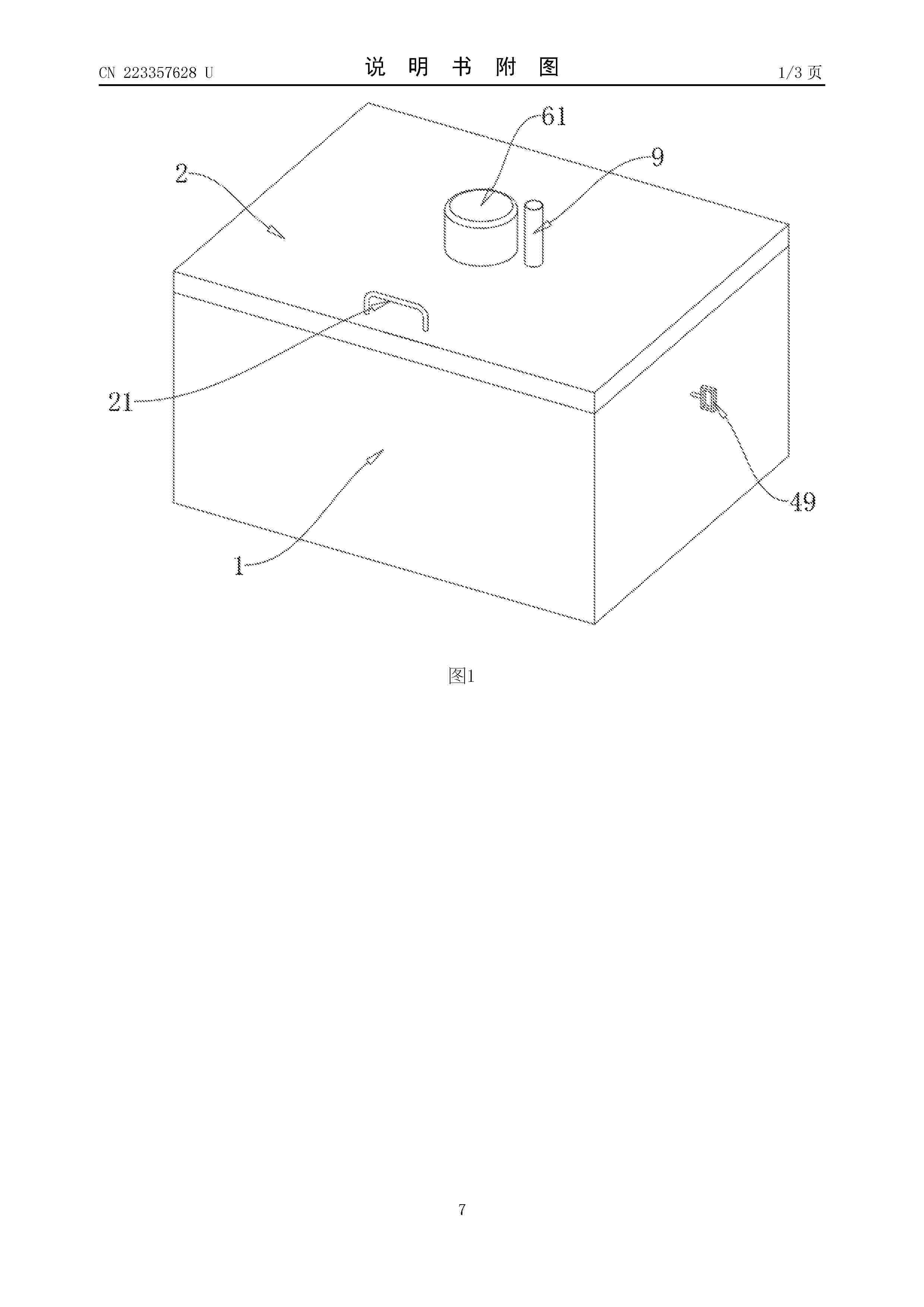
Selenium-containing protein carotenoid microalgae cultivation device

NºPublicación:  CN223357628U 19/09/2025
Solicitante: 
HUNAN RUIZHONG NEW MAT CO LTD
\u6E56\u5357\u745E\u4F17\u65B0\u6750\u6599\u6709\u9650\u516C\u53F8
CN_223357628_U

Resumen de: CN223357628U

The utility model relates to the technical field of cultivation devices, in particular to a selenium-containing protein carotenoid microalgae cultivation device. Aiming at the problem that the growth of microalgae is limited due to the change of external illumination and temperature and the inappropriate change of the concentration of carbon dioxide, so that the content of selenoprotein carotenoid is reduced, the following technical scheme is provided: the device comprises a box body, the top of the box body is rotatably connected with a box cover, and a cultivation groove is formed in the box body; a cultivation tank is placed in the cultivation groove, and microalgae are contained in the cultivation tank; the constant-temperature heating unit is mounted in the box body, and the top of the constant-temperature heating unit is in contact with a cultivation tank; the lamp strip is mounted on the inner wall of the cultivation tank and surrounds the outer ring of the cultivation tank. The device can automatically adjust the illumination, the temperature and the carbon dioxide content of microalgae breeding, improves the growth efficiency of microalgae, and ensures the growth of microalgae, the accumulation of nutritional ingredients and the final harvesting efficiency.

Xanthophyll-producing flavobacterium strain

Nº publicación: CN120665770A 19/09/2025

Solicitante:

YUNLAN HENGYOU YUNNAN ENTPR DEVELOPMENT CO LTD
YUNNAN INST OF MICROBIOLOGY
\u4E91\u63FD\u6052\u4F18\uFF08\u4E91\u5357\uFF09\u4F01\u4E1A\u53D1\u5C55\u6709\u9650\u516C\u53F8,
\u4E91\u5357\u7701\u5FAE\u751F\u7269\u7814\u7A76\u6240

CN_120665770_PA

Resumen de: CN120665770A

The invention relates to a lutein-producing flavobacterium strain and belongs to the technical field of biology, the lutein-producing flavobacterium strain can produce lutein, the yield is 71.08 +/-1.33 mu g/g FW, in addition, the invention discloses a lutein microbial fermentation production method, and the method comprises the steps of bacterial liquid preparation, lutein production and product extraction and chemical detection. Compared with extraction of xanthophyll from marigold and microalgae, the flavobacterium strain has the advantages that the growth cycle is 40-48 hours, the production cycle of the flavobacterium strain is short, cultivated land can be saved, the content of pigment impurities is low, the cost can be reduced, and the flavobacterium strain has the potential of industrial application.

traducir