Ministerio de Industria, Turismo y Comercio LogoMinisterior
 

Alerta

Resultados 160 resultados
LastUpdate Última actualización 04/02/2026 [07:40:00]
pdfxls
Solicitudes publicadas en los últimos 120 días / Applications published in the last 120 days
previousPage Resultados 50 a 75 de 160 nextPage  

A METHOD FOR SUSTAINED HYDROQUINONE PRODUCTION

NºPublicación:  WO2025243318A1 27/11/2025
Solicitante: 
INDIAN INSTITUTE OF TECH MADRAS IIT MADRAS [IN]
VAAYUNEER SCIENCES PRIVATE LTD [IN]
INDIAN INSTITUTE OF TECHNOLOGY MADRAS (IIT MADRAS),
VAAYUNEER SCIENCES PRIVATE LIMITED
WO_2025243318_PA

Resumen de: WO2025243318A1

The present disclosure provides a microbiological process for the production of hydroquinone from benzoquinone in a microalgal system. The method is particularly characterized by the extraction of the hydroquinone product at a specific points in the process followed by re- introduction of the benzoquinone substrate into the microalgal system. The said method of the 0 present disclosure allows sustained production of hydroquinone.

Preparation method of spirulina-fish oil nano-emulsion and application of spirulina-fish oil nano-emulsion in fish oil microcapsules

NºPublicación:  CN121003297A 25/11/2025
Solicitante: 
OCEAN UNIV OF CHINA
\u4E2D\u56FD\u6D77\u6D0B\u5927\u5B66
CN_121003297_PA

Resumen de: CN121003297A

The invention discloses a preparation method of a spirulina-fish oil nano-emulsion and application of the spirulina-fish oil nano-emulsion in fish oil microcapsules, and belongs to the technical field of microalgae application, and the preparation method specifically comprises the following steps: adding spirulina powder into pure water, and magnetically stirring uniformly to obtain a spirulina suspension; dropwise adding fish oil into the spirulina turbid liquid, and pre-emulsifying by using a high-speed dispersion homogenizer during the period to prepare a spirulina fish oil crude emulsion; treating the crude spirulina fish oil emulsion by using a high-pressure micro-jet homogenizer to obtain the spirulina-fish oil nano-emulsion. And carrying out spray drying on the spirulina-fish oil nano-emulsion by using a spray drying technology to obtain the spirulina-fish oil microcapsule. The spirulina fish oil microcapsule prepared by the invention has relatively good oxidation stability and thermal stability, can well cover the fishy smell of the fish oil, is easy to transport and store, and is more easily accepted by consumers.

Method for promoting microalgae carbon sequestration by using polyethylene glycol passivated nitrogen-doped carbon dot conversion spectrum

NºPublicación:  CN121006355A 25/11/2025
Solicitante: 
CHONGQING UNIV
\u91CD\u5E86\u5927\u5B66
CN_121006355_PA

Resumen de: CN121006355A

The invention relates to a microalgae photosynthetic carbon sequestration technology, and aims to provide a method for promoting microalgae carbon sequestration by a polyethylene glycol passivated nitrogen-doped carbon dot conversion spectrum. The method comprises the following steps: passivating the surfaces of nitrogen-doped carbon dots by using polyethylene glycol, and then directly adding the passivated nitrogen-doped carbon dots into a microalgae suspension, ultraviolet light with the wavelength of 280-390 nm in external light is converted into blue light with the wavelength of 400-500 nm by passivating the nitrogen-doped carbon dots so as to be directly utilized by microalgae, so that growth and carbon sequestration are promoted while the stress resistance of algae cells is improved. According to the method, damage to algae cells can be greatly reduced by converting an ultraviolet spectrum, and meanwhile, microalgae growth and carbon sequestration can be further promoted by converting ultraviolet light into blue light; the spectrum conversion effect is enhanced, the overall light energy utilization efficiency of microalgae carbon sequestration is improved, light inhibition is relieved, and the stress resistance of microalgae cells is improved, so that microalgae growth carbon sequestration is promoted, and the development of the microalgae carbon sequestration industry is promoted.

Method for promoting microalgae carbon sequestration by using transparent film carrying nitrogen-doped carbon dot coating

NºPublicación:  CN121006354A 25/11/2025
Solicitante: 
CHONGQING UNIV
\u91CD\u5E86\u5927\u5B66
CN_121006354_PA

Resumen de: CN121006354A

The invention relates to a microalgae carbon sequestration technology, and aims to provide a method for promoting microalgae carbon sequestration by using a transparent film carrying a nitrogen-doped carbon dot coating. According to the method, a transparent film is arranged on the outer side of the photobioreactor in a surrounding manner, so that external light rays penetrate through the transparent film and then enter the photobioreactor; the nitrogen-doped carbon dot coating is carried on the surface of the transparent film, ultraviolet light of 280-390 nm in external light is converted into blue light of 400-500 nm through the coating, and growth and carbon sequestration are promoted while damage to algae cells is reduced. Damage to algae cells can be greatly reduced by converting ultraviolet rays, and meanwhile, the ultraviolet rays are converted into blue light to further promote microalgae growth and carbon sequestration. The light source improvement effect of the photobioreactor can be comprehensively improved, the entering blue light source is enhanced and more uniform, and spectral distribution is optimized; the method can be used for manufacturing the composite film in an industrial production scale and transforming the photobioreactor in batches, and is low in cost, simple to operate and suitable for popularization and application.

Application of basophilic microalgae transcription factor ChZF7 in regulation and control of salt tolerance of microalgae

NºPublicación:  CN121005766A 25/11/2025
Solicitante: 
SHANGHAI JIAO TONG UNIV
\u4E0A\u6D77\u4EA4\u901A\u5927\u5B66
CN_121005766_PA

Resumen de: CN121005766A

The invention discloses an application of a transcription factor ChZF7 of a basophilic microalgae Chlorella sp. BLD in regulation and control of salt tolerance of microalgae. According to the invention, the coding gene of the transcription factor ChZF7 is transferred into chlamydomonas reinhardtii by using a transgenic technology after intron insertion and codon optimization, so that transgenic chlamydomonas reinhardtii is obtained. The salt tolerance of the chlamydomonas reinhardtii with the over-expressed ChZF7 gene is remarkably improved, the accumulation of neutral fat and active oxygen under the stress of 225mM salt is less than that of the chlamydomonas reinhardtii in a control group, the content of penetrating substance proline is increased, in addition, the change of cell components in the chlamydomonas reinhardtii under the stress of salt can be weakened by the over-expressed ChZF7 gene, and the salt tolerance of the chlamydomonas reinhardtii is improved. The transcription factor ChZF7 and the gene coded by the transcription factor ChZF7 can regulate and control the salt tolerance of the chlamydomonas reinhardtii, a foundation is laid for genetic improvement and directed molecular breeding of the microalgae, the transcription factor ChZF7 plays an important role in improvement of the salt tolerance of the microalgae, reutilization of salinized water resources is facilitated, and the transcription factor ChZF7 and the gene coded by the transcription factor ChZF7 have

Preparation method of microalgae gel beads for water treatment

NºPublicación:  CN120989069A 21/11/2025
Solicitante: 
WEST CHONGQING SCIENCE CITY GERMPLASM CREATION AND SYSTEM BIG SCIENCE CENTER
\u897F\u90E8\uFF08\u91CD\u5E86\uFF09\u79D1\u5B66\u57CE\u79CD\u8D28\u521B\u5236\u5927\u79D1\u5B66\u4E2D\u5FC3
CN_120989069_PA

Resumen de: CN120989069A

The invention provides a preparation method of microalgae gel balls for water treatment, and relates to the field of water treatment, and the preparation method comprises the following steps: step S1, preparing a composite suspension, step S2, carrying out primary crosslinking to form balls, step S3, carrying out secondary crosslinking, step S4, carrying out in-situ enhancement, and step S5, coating. According to the method, microalgae is subjected to compound modification to obtain gel beads, and the finished product gel beads are obtained through coating, so that the swelling resistance and mechanical strength of the gel beads are improved, and the situation that a compact gel network and a multi-layer coating structure hinder nutrient substances, carbon dioxide and the like in a water body from diffusing to microalgae cells is avoided; the photosynthesis efficiency and pollution degradation capability of the microalgae are ensured, and the water treatment efficiency of the microalgae is improved.

Air supply and temperature regulation system of floating microalgae photobioreactor and application of air supply and temperature regulation system

NºPublicación:  CN120988812A 21/11/2025
Solicitante: 
YUNNAN ALPHY BIOTECH CO LTD
\u4E91\u5357\u7231\u5C14\u53D1\u751F\u7269\u6280\u672F\u80A1\u4EFD\u6709\u9650\u516C\u53F8
CN_120988812_PA

Resumen de: CN120988812A

The invention relates to the technical field of microalgae culture, in particular to an air supply and temperature regulation system of a floating microalgae photobioreactor and application of the air supply and temperature regulation system, the air supply and temperature regulation system comprises a floating platform, a plurality of incubators are arranged in the floating platform, an air supply system is arranged among the incubators, and a driving mechanism is further arranged above the floating platform. According to the air supply and temperature regulation system of the floating microalgae photobioreactor and the application thereof, the air bag is inflated and deflated to drive overall floating and sinking, stability and reliability of floating and sinking actions are ensured by utilizing the characteristic of high corrosion resistance of the air bag, and an inserting rod in a limiting pipe drives a round rod to rotate through matching of a convex block and a spiral groove in the fixed-distance rising process; therefore, the three groups of limiting blocks are controlled to pop out in sequence, three different mechanical limiting points are formed, and the multi-stage accurate control of the immersion depth of the incubator is realized.

Microalgae bioreactor and sewage treatment method

NºPublicación:  CN120987475A 21/11/2025
Solicitante: 
CHN ENERGY XINJIANG ENERGY CHEMICAL CO LTD
\u56FD\u5BB6\u80FD\u6E90\u96C6\u56E2\u65B0\u7586\u80FD\u6E90\u5316\u5DE5\u6709\u9650\u516C\u53F8
CN_120987475_PA

Resumen de: CN120987475A

The invention relates to a microalgae bioreactor and a sewage treatment method. The microalgae bioreactor comprises a shell, a filter bed, an LED light source and a spraying device, a water outlet and a reflux inlet are formed in the lower part of the shell; the filter bed is made of a porous material and is arranged in the shell; the number of the LED light sources is at least one, and the LED light sources are arranged outside and/or inside the shell; the spraying device is arranged above the filter bed; a water inlet connected with a sewage inlet pipeline is formed in the spraying device; the water inlet is also connected with the reflux inlet through a reflux pipeline. According to the microalgae bioreactor disclosed by the invention, nitrogen and phosphorus substances in sewage are effectively removed by utilizing a microalgae biological membrane, and the effect of recycling nitrogen and phosphorus nutrient elements is realized.

Enteromorpha-microalgae competitive growth process simulation method

NºPublicación:  CN120997450A 21/11/2025
Solicitante: 
OCEAN UNIV OF CHINA
\u4E2D\u56FD\u6D77\u6D0B\u5927\u5B66
CN_120997450_PA

Resumen de: CN120997450A

The invention discloses an enteromorpha-microalgae competitive growth process simulation method, and relates to the technical field of marine ecology and environmental science. The method comprises the following steps: taking remote sensing image monitoring data of a research area, constructing an enteromorpha green tide coverage area three-dimensional space-time distribution matrix, and determining the distribution range of the matrix; dividing and numbering according to the size of a preset grid unit to obtain an enteromorpha block and a spatial position, and performing dimension reduction processing; the method comprises the following steps: dividing a research area into three subareas, and respectively constructing nutritive salt-enteromorpha-microalgae-debris ecological dynamics box-type models; determining a cross-regional shunting coefficient according to the drifting speed of the enteromorpha between the partitions, and connecting the three box-type models in series; and reconstructing and simulating a time-varying simulation value of the enteromorpha coverage area by using the serially connected models, determining an environmental element modulation effect value, and further determining the key control degree of each environmental element on the competitive growth process of the enteromorpha.

Compound microbial agent and application thereof in prevention and control of cyanobacterial bloom

NºPublicación:  CN120988904A 21/11/2025
Solicitante: 
CENTRAL CHINA NORMAL UNIV
\u534E\u4E2D\u5E08\u8303\u5927\u5B66
CN_120988904_PA

Resumen de: CN120988904A

The invention discloses a compound microbial agent and application thereof in prevention and control of cyanobacterial bloom, two algicidal bacteria are obtained through screening, the preservation number is CCTCC NO: M 2024698, and the preservation number is CCTCC NO: M 2024699, and the compound microbial agent is proved to have obvious inhibition effects on a plurality of cyanobacteria bacteria such as microcystis aeruginosa, lacustrine triphora, anabaena and cylindrocystis, and can be used for preventing and controlling cyanobacteria bloom. And the composite bacterial agent combined by the two algicidal bacteria has a remarkable algicidal effect on algal blooms in natural water areas, can be applied to the field of biological prevention and control of freshwater cyanobacterial blooms, and provides an ideal choice for treatment of cyanobacterial blooms in water bodies.

Monomer oyster seed attaching material and preparation method thereof

NºPublicación:  CN120982448A 21/11/2025
Solicitante: 
SOUTH MARINE SCIENCE AND ENG GUANGDONG PROVINCE LABORATORY ZHANJIANG
\u5357\u65B9\u6D77\u6D0B\u79D1\u5B66\u4E0E\u5DE5\u7A0B\u5E7F\u4E1C\u7701\u5B9E\u9A8C\u5BA4\uFF08\u6E5B\u6C5F\uFF09
CN_120982448_A

Resumen de: CN120982448A

The invention relates to the technical field of monomeric oyster fry cultivation, and discloses a monomeric oyster fry attachment material and a preparation method thereof. The monomer young oyster attaching material comprises a fiber fabric base body and attaching layers loaded on the two surfaces of the fiber fabric base body. The adhesion layer is prepared from a film forming material; the film-forming material is prepared from the following raw materials: oyster shell powder, crushed oyster shells, carbon powder, living microalgae, an adhesive and water. According to the monomer young oyster attaching material provided by the invention, the fiber fabric matrix with flexibility and biodegradability is used as a framework, components in the attaching layers on the two sides can be biodegraded or physically broken, the structure is kept stable in an expected service cycle, and a stable structure is provided for attachment of young oysters; and the young oysters are not easy to break in the stripping process, the adhesion layer is not left after stripping, and the pollution to the breeding environment is avoided.

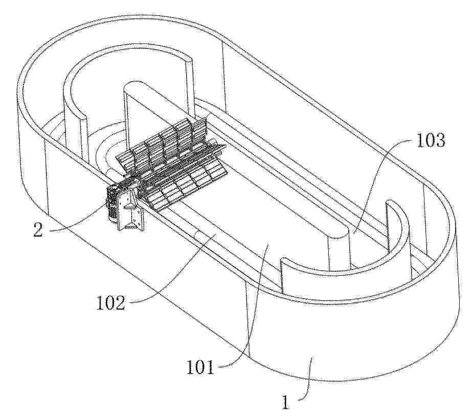
Photobioreactor system for floating microalgae culture and application thereof

NºPublicación:  CN120988813A 21/11/2025
Solicitante: 
YUNNAN ALPHY BIOTECH CO LTD
\u4E91\u5357\u7231\u5C14\u53D1\u751F\u7269\u6280\u672F\u80A1\u4EFD\u6709\u9650\u516C\u53F8
CN_120988813_PA

Resumen de: CN120988813A

The invention relates to the technical field of microalgae culture, in particular to a floating microalgae culture photobioreactor system and application thereof.The floating microalgae culture photobioreactor system comprises a grid frame fixedly arranged underwater, and a plurality of liftable culture containers are arranged in grid units of the grid frame; displacement sensors and temperature sensors are installed on the culture containers, lifting mechanisms are arranged at grid units of the grid frame, and each lifting mechanism comprises a servo electric cylinder and a pressing rod connected with the plurality of culture containers through elastic supporting pieces; the central controller receives data of the sensor and controls the servo electric cylinder to dynamically adjust the water immersion depth of the plurality of culture containers according to different time periods of a preset day. The lifting mechanism driven by the servo electric cylinder, the linkage elastic supporting piece and the culture container are arranged in the grid frame, and the height of the container is actively adjusted according to a preset time-depth curve in combination with the central controller, so that the temperature of algae liquid is stably maintained at normal temperature, and the problem of high-temperature death caused by strong light in summer is solved.

Culture method and application of beta-1, 3-glucan producing microalgae

NºPublicación:  CN120988846A 21/11/2025
Solicitante: 
FUJIAN AGRICULTURE AND FORESTRY UNIV
\u798F\u5EFA\u519C\u6797\u5927\u5B66
CN_120988846_PA

Resumen de: CN120988846A

The invention discloses a culture method and application of beta-1, 3-glucan-producing microalgae, and realizes high-efficiency synergy from microalgae culture to separation. According to the enrichment culture medium, by optimizing the ratio of carbon and nitrogen sources and nutritional ingredients, efficient accumulation of beta-1, 3-glucan can be remarkably improved, meanwhile, the microalgae biomass is promoted, and the problem of low product content in conventional culture is solved. The matched microalgae culture method breaks through the limitation that traditional plate streak bacterial colonies are mixed, water drop separation consumes time and is prone to pollution, the high-purity single strain is accurately extracted from a complex water sample, the operation standardization degree is high, and the manual randomness influence is reduced. Through the synergistic application of the two, the microalgae with high biomass and high glucan content can be efficiently obtained, the separation purity can be guaranteed, high-quality resources are provided for scientific research and industrial production, and the application of the microalgae in the fields of food, medicine and the like is promoted.

Preparation method of chlamydomonas reinhardtii polypeptide composition

NºPublicación:  CN120988056A 21/11/2025
Solicitante: 
SHANXI TOUYUN BIOTECHNOLOGY CO LTD
\u5C71\u897F\u900F\u4E91\u751F\u7269\u79D1\u6280\u6709\u9650\u516C\u53F8
CN_120988056_PA

Resumen de: CN120988056A

The invention discloses a preparation method of a chlamydomonas reinhardtii polypeptide composition, and belongs to the technical field of natural active ingredients. The preparation method comprises the following steps: respectively carrying out nitrogen deficiency stress culture on chlamydomonas reinhardtii cc620 and cc621 strains, mixing, standing for mating, and centrifugally collecting mating supernate; adding the mating supernatant into the chlamydomonas reinhardtii fresh cell suspension, after cell wall hydrolysis removal, centrifugally collecting the supernatant to obtain cell wall hydrolysate, and resuscitating and culturing the protoplast precipitate to be circularly used for cell wall hydrolysis removal; the cell wall hydrolysate is subjected to nanofiltration, concentration and impurity removal are achieved, and the chlamydomonas reinhardtii polypeptide composition can be obtained. The chlamydomonas reinhardtii polypeptide composition prepared by the invention is a product rich in hydroxyproline and arabinose modified oligopeptide, and shows relatively high bioavailability in a rat oral pharmacokinetic test. The potential application of the microalgae-derived collagen oligopeptide analogue provided by the invention relates to the fields of foods, health foods, cosmetics, medicines and the like.

Microalgae density measurement method based on image color correction

NºPublicación:  CN120997315A 21/11/2025
Solicitante: 
GUANGDONG OCEAN UNIV
\u5E7F\u4E1C\u6D77\u6D0B\u5927\u5B66
CN_120997315_PA

Resumen de: CN120997315A

The invention discloses a microalgae density measurement method based on image color correction, which comprises the following steps: providing stable illumination by using an LED panel light source under a pure white background, collecting images of microalgae samples with different densities, and constructing a color difference-density model of microalgae images; extracting the RGB average value of the whole image and calculating the weighted combination chromatic aberration of the RGB average value and the ideal white color; the method comprises the following steps: selecting a plurality of pure color backgrounds with different colors and different materials, collecting microalgae sample images, and setting a zero-density microalgae sample as a reference standard for correcting system errors; the image is processed through a color correction algorithm, chromatic aberration offset caused by the background is compensated, and the microalgae image approximates to the expression under the pure white background in a color space; according to the method, the influence of background color on the microalgae image can be corrected, the detection process is simplified, the accuracy and reliability of microalgae density measurement are improved, and the method is suitable for microalgae density monitoring under various environmental conditions.

Sampling device in selenium-enriched microalgae industrial culture

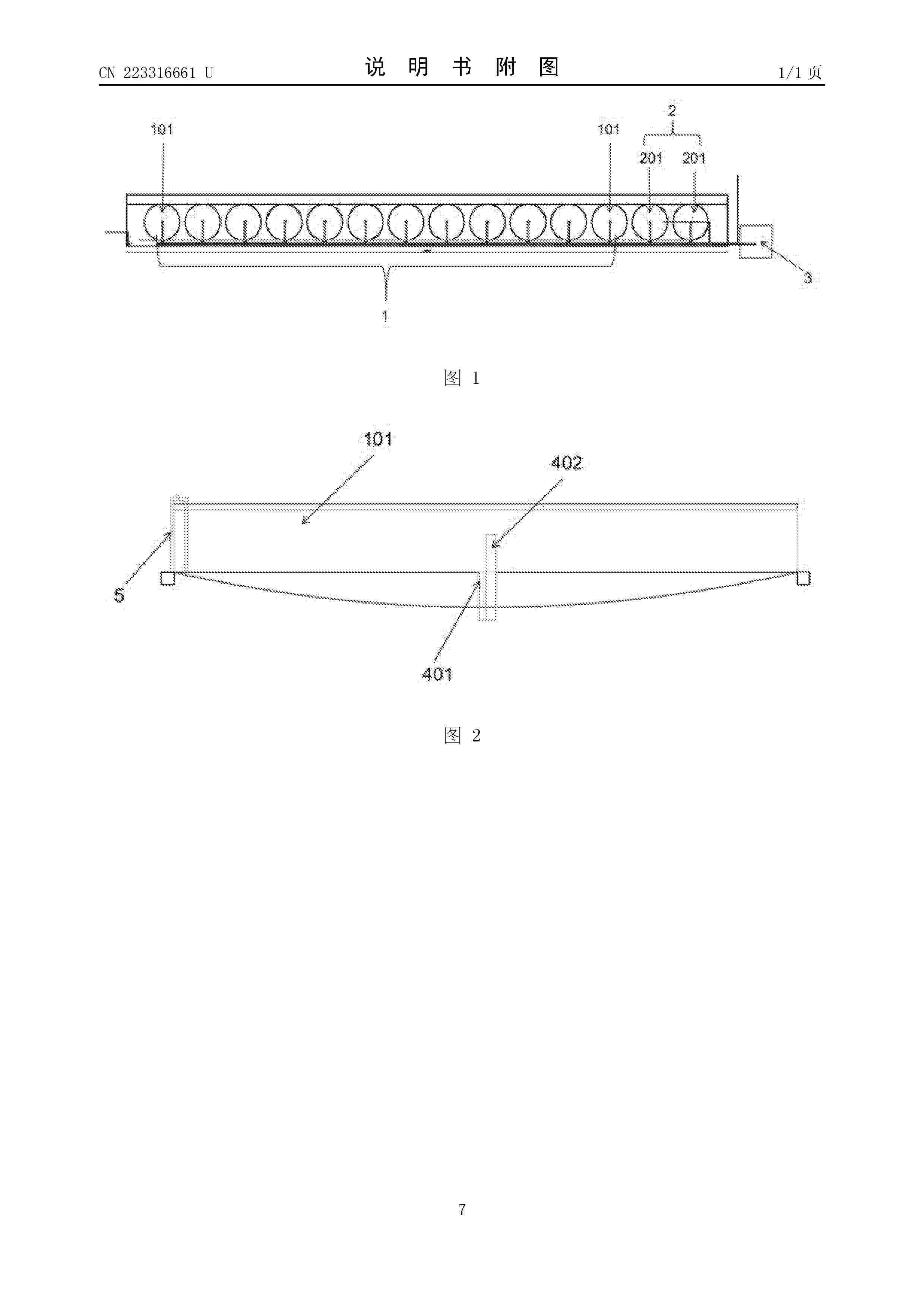
NºPublicación:  CN223576486U 21/11/2025
Solicitante: 
XINJIANG XIWANG AGRICULTURAL TECH CO LTD
\u65B0\u7586\u7852\u65FA\u519C\u4E1A\u79D1\u6280\u6709\u9650\u516C\u53F8
CN_223576486_U

Resumen de: CN223576486U

The utility model belongs to the technical field of industrial culture of microalgae, and particularly relates to a sampling device in industrial culture of selenium-enriched microalgae, which comprises a culture container, a mounting seat, a clamping and limiting component, an anti-skid guide component, an elastic telescopic pipe, an end cover, a sampling hose and a reset component, the clamping and limiting assembly is arranged on the mounting base, the mounting base is detachably connected with the breeding container through the clamping and limiting assembly, and the sampling hose is connected with the mounting base through the anti-skid guide assembly. The sampling device is reasonable in design, compact in structure and simple and convenient to operate, the stability and reliability of sampling are improved, stable connection with a culture container can be ensured, displacement caused by vibration or external force is prevented, meanwhile, the hose can be prevented from slipping and excessively bending, the smoothness of the sampling process and the integrity of a sample are ensured, and the sampling efficiency is improved. The device is convenient to maintain, disassemble, assemble and replace, the contamination risk of cultures can be reduced, and the effects of simplifying the operation process and improving the working efficiency can be achieved.

Improved culture solution for culturing haematococcus pluvialis and preparation method thereof

NºPublicación:  CN120988847A 21/11/2025
Solicitante: 
JUKUN BIOTECHNOLOGY YUNNAN CO LTD
\u5DE8\u5764\u751F\u7269\u79D1\u6280\uFF08\u4E91\u5357\uFF09\u6709\u9650\u516C\u53F8
CN_120988847_A

Resumen de: CN120988847A

The invention belongs to the technical field of microalgae culture, and particularly provides an improved culture solution for haematococcus pluvialis culture and a preparation method thereof. The culture solution is prepared from 1.5 to 2.5 mg/L of alpha-cyclodextrin embedded sodium acetate, 0.5 to 0.5 mg/L of cobalt nitrate hexahydrate, 0.05 to 1 mg/L of copper sulfate, 0.3 to 0.9 mg/L of zinc sulfate heptahydrate, 1.5 to 2.5 mg/L of manganese chloride tetrahydrate, 3 to 7 mg/L of boric acid, 8 to 20 mg/L of sodium carbonate, 10.0 to 20.0 mg/L of disodium hydrogen phosphate dihydrate, 1200 to 1400 mg/L of sodium nitrate, 0.5 to 3 mg/L of EDTA (Ethylene Diamine Tetraacetic Acid), 20 to 50 mg/L of calcium chloride, 70 to 100 mg/L of magnesium sulfate heptahydrate, 50 to 80 mg/L of monopotassium phosphate trihydrate, 0.5 to 1.0 mg/L of ferrous sulfate heptahydrate and 0.01 to 0.03 mg/L of ammonium molybdate tetrahydrate. According to the invention, alpha-cyclodextrin is introduced to embed sodium acetate, ferrous sulfate heptahydrate and ammonium molybdate tetrahydrate are added, and a sodium carbonate-disodium hydrogen phosphate-potassium dihydrogen phosphate composite buffer system is constructed, so that the problem of easy imbalance of traditional carbon source supply is solved, and the defect of single and short elements of a traditional formula can be overcome; pH fluctuation caused by cell metabolism acid production during high-density culture can be effectively coped w

Separation method for preparing high-purity single-cell protein through biotransformation of one-carbon compound

NºPublicación:  CN120988054A 21/11/2025
Solicitante: 
SHAANXI DELIANGYUAN BIOTECHNOLOGY CO LTD
\u9655\u897F\u5FB7\u91CF\u6E90\u751F\u7269\u79D1\u6280\u6709\u9650\u516C\u53F8
CN_120988054_PA

Resumen de: CN120988054A

The invention relates to the technical field of C07K, in particular to a separation method for preparing high-purity single-cell protein by biotransformation of a one-carbon compound, which comprises the following steps: pretreatment; deep purification; drying at low temperature; through a combined process of pretreatment, deep purification and low-temperature drying, the problems of low recovery rate, insufficient purity and loss of functional components in the prior art are systematically solved. Compared with a traditional process, the method has the advantages that the protein recovery rate after separation is greatly improved, the purity is obviously improved, and the DHA/EPA retention rate is further improved. The technical scheme provided by the invention is particularly suitable for separation of single-cell proteins rich in functional lipids, such as microalgae, methanol yeast, methanol bacteria, methane-oxidizing bacteria mixed bacteria and the like, and an efficient technical scheme is provided for industrial application of biotransformation of the one-carbon compound.

USE OF A MICROALGAE EXTRACT, ALONE OR IN COMBINATION, FOR IMPROVING COGNITIVE ABILITIES

NºPublicación:  US2025352593A1 20/11/2025
Solicitante: 
MICROPHYT [FR]
MICROPHYT
JP_2025523428_A

Resumen de: US2025352593A1

The invention relates to the use of an extract of Phaeodactylum tricornutum alone or in combination with an extract chosen from a guarana (Paullinia cupana) extract, a ginseng (Panax ginseng) extract, a Ginkgo biloba extract, a Nelumbo nucifera extract, a Centella asiatica extract, a Piper nigrum extract, a Bacopa monnieri extract or any combination thereof and/or a compound chosen from arginine, creatine, caffeine, theanine, vitamin C, vitamin E, vitamin B, theophylline, paraxanthine, theobromine, rosmarinic acid, ellagic acid, cinnamaldehyde or any combination thereof, for maintaining and/or increasing data processing speed and/or concentration in healthy mammals. The combination of the extract of P. tricornutum and one of these extracts or one of these compounds is also described. The invention also relates to a composition comprising the combination according to the invention.

Paint comprising microbial cells and water-based paint vehicle

NºPublicación:  US2025354021A1 20/11/2025
Solicitante: 
BLANK CARRINE [US]
HINMAN NANCY W [US]
Blank Carrine,
Hinman Nancy W

Resumen de: US2025354021A1

This invention is an artist paint comprising a colorant and a water-based paint vehicle. The colorant comprises whole microalgal or cyanobacterial cells, which are grown under controlled light conditions comprising changes in light intensity or color for specified periods of time to produce the desired colorant. The water-based paint vehicle comprises a humectant, photostabilizers and preservatives, a buffer, and rheology modifiers. The paint is made by growing and harvesting the cells as the colorant followed by mixing with the water-based paint vehicle to create a paint suspension. The resulting suspension is allowed to dehydrate to form a moist cake. The cake is mixed with the water-based paint vehicle using a paint brush to create a second paint suspension that is then painted onto a surface. The resulting paint can be controlled to provide a uniform or a gritty texture.

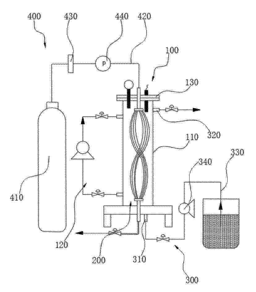
CLOSED PHOTOBIOREACTOR SYSTEM

NºPublicación:  WO2025239861A1 20/11/2025
Solicitante: 
REGONESI GIULIANO [TR]
REGONESI, Giuliano
WO_2025239861_PA

Resumen de: WO2025239861A1

The present invention relates to the bioreactors, more specifically, to a closed photobioreactor system, characterized in that said closed photobioreactor system comprises at least one LED (1) that supplies the light energy required for the microalgal photosynthesis, a pipeline (4) that delivers to the system the carbon dioxide (CO2) containing air bubbles coming from a pump (2), a separator (3) that enables the harvest and the collection of the microalgae, and a solar panel or wind turbine that is intended to supply the electric power for the system.

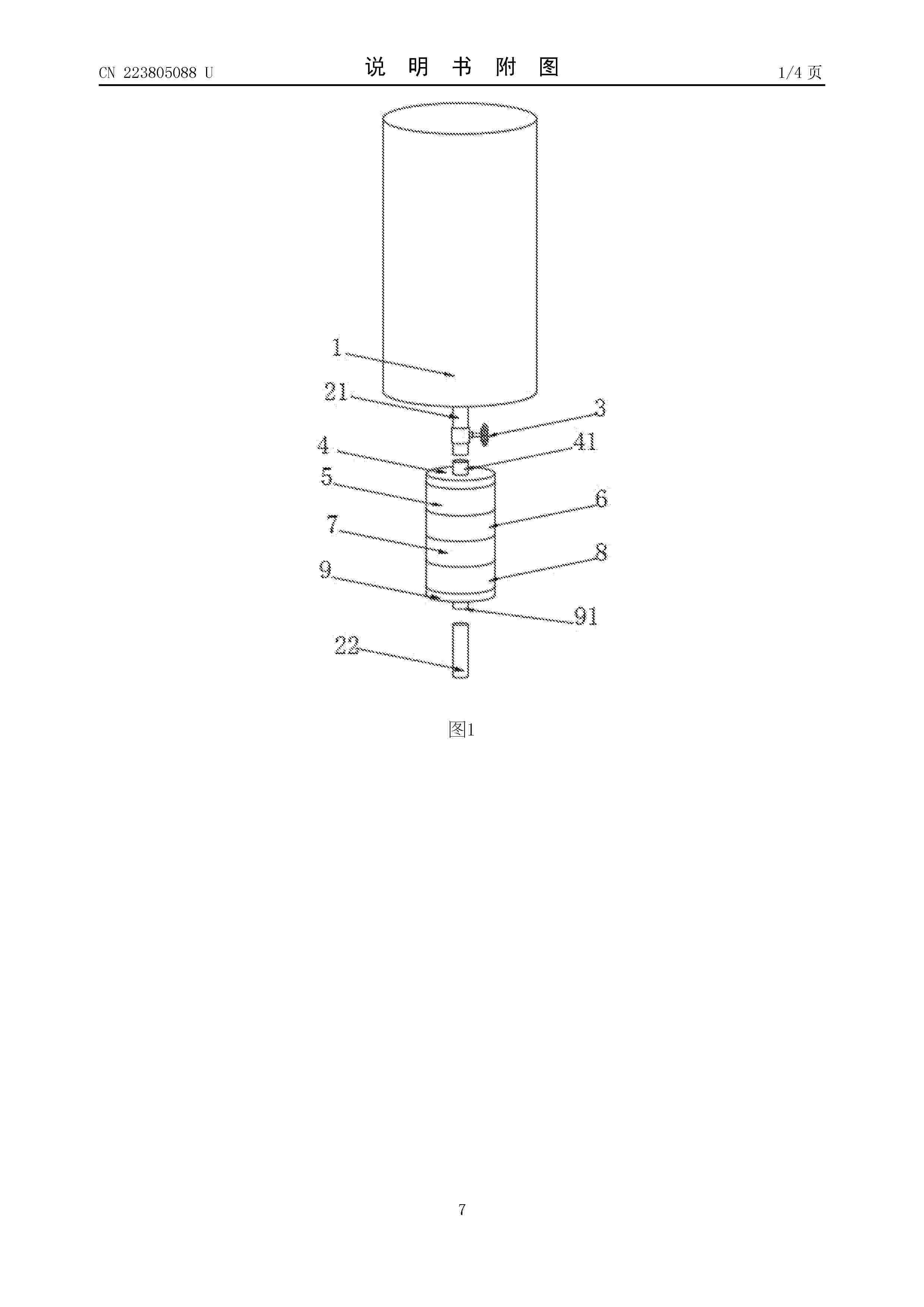
Method for breeding microalgae organisms in breeding sewage

NºPublicación:  CN120966668A 18/11/2025
Solicitante: 
ZHONGKE XIECHUANG ENVIRONMENTAL TECH JIANGSU CO LTD
\u4E2D\u79D1\u534F\u521B\u73AF\u5883\u79D1\u6280\u6C5F\u82CF\u6709\u9650\u516C\u53F8
CN_120966668_A

Resumen de: CN120966668A

The invention relates to the technical field of microalgae organism breeding, and discloses a method for breeding microalgae organisms in breeding sewage. Comprising a biological membrane microalgae reactor, a microalgae harvesting device, a sewage post-treatment device, a particulate matter sedimentation tank, an adjusting tank, an anaerobic sludge reactor, a secondary sedimentation tank, a raceway pond microalgae reactor, a first valve, a second valve, a third valve, a fourth valve and a fifth valve. The particulate matter settling pond is used for settling solid particles in the sewage, so that the sewage is suitable for fermentation or microalgae culture. According to the method for culturing the microalgae organisms in the culture sewage, a microalgae organism culture technology is implemented in the culture sewage, so that a large amount of high-COD, high-ammonia-nitrogen and high-suspended matters generated by culture in the sewage are treated by utilizing the microalgae organisms, high-efficiency and low-cost sustainable treatment of the sewage and culture wastes is realized, and meanwhile, sewage treatment measures are prepared; sewage treatment can be assisted at the same time, and the safety of the breeding environment is improved.

Preparation method of reed straw lixivium and application of reed straw lixivium in microalgae culture

NºPublicación:  CN120966638A 18/11/2025
Solicitante: 
SHANXI UNIV
\u5C71\u897F\u5927\u5B66
CN_120966638_A

Resumen de: CN120966638A

The invention relates to a preparation method of a reed straw leachate. The preparation method comprises the following steps: raw material pretreatment: crushing reed straws; soaking condition optimization: mixing and soaking the pretreated reed straws with water, and analyzing the influence of each factor on the concentration of the reducing sugar in the reed straw leachate under the treatment conditions of different soaking durations, straw particle sizes and solid-liquid ratios by taking the content of the reducing sugar as an evaluation index; after the single factor data is processed, each factor obtains a plurality of experimental levels, an L9 (33) orthogonal experimental method is adopted, an orthogonal experiment is carried out according to the selected experimental factors and experimental levels, and optimized soaking conditions are obtained; the pretreated reed straw and water are mixed and soaked according to optimized soaking conditions, and the leachate is obtained after filtration. The microalgae culture cost is reduced, agricultural waste resource utilization is achieved, and the method has application prospects and economic benefits in the fields of agricultural waste treatment and microalgae industrial culture.

Synchronous carbon sequestration and grey water purification device

NºPublicación:  CN120964995A 18/11/2025
Solicitante: 
HUAZHONG AGRICULTURAL UNIV
\u534E\u4E2D\u519C\u4E1A\u5927\u5B66
CN_120964995_PA

Resumen de: CN120964995A

The invention discloses a synchronous carbon sequestration and grey water purification device, and belongs to the technical field of biological synergistic treatment of waste gas and grey water. The device comprises a purifier and a membrane wire assembly, the purifier comprises a barrel for inputting grey water, and an air inlet and an air outlet are formed in the upper end and the lower end of the barrel respectively; the membrane wire assembly comprises multiple strands of membrane wires and two fixing units, and the two ends of the multiple strands of membrane wires communicate with the air inlet and the air outlet through the fixing units correspondingly; the gas inlet can be used for inputting gas CO2 into the membrane filaments; microalgae for photosynthesis and bacteria for aerobic respiration are inoculated on the membrane filaments; the inoculum size of the microalgae is larger than that of the bacteria, and the microalgae can absorb gas CO2 which comes from an air inlet and is generated by breathing of the bacteria, fix the CO2 and generate oxygen. According to the invention, blowing oxygen supply for grey water is not needed, carbon dioxide is fixed, and emission of carbon dioxide gas is avoided.

Carbon quantum dot for strengthening and promoting growth of microalgae and application of carbon quantum dot

Nº publicación: CN120964777A 18/11/2025

Solicitante:

WENZHOU UNIV
\u6E29\u5DDE\u5927\u5B66

CN_120964777_PA

Resumen de: CN120964777A

The invention relates to a carbon quantum dot for strengthening and promoting growth of microalgae and application thereof. In the process of preparing the carbon quantum dots by a conventional hydrothermal method, a precursor mixture is subjected to acidification modification in advance, the pH value is adjusted to 2 by using nitric acid, and then a hydrothermal reaction is performed, so that the prepared carbon quantum dots have the capability of promoting the growth of microalgae. However, if other acids are adopted or pH adjustment is not in place, the effect cannot be achieved, and even the inhibition effect can be achieved. The obtained product is good in effect and stable in performance, no special reaction device needs to be additionally arranged in the acidification modification process, and the method has the advantages that operation is easy and convenient, raw materials are easy to obtain, and the process can be quantified; the method is simple and convenient in process operation, has universality and is easy for industrial production.

traducir