Ministerio de Industria, Turismo y Comercio LogoMinisterior
 

Alerta

Resultados 68 resultados
LastUpdate Última actualización 11/02/2026 [08:02:00]
pdfxls
Solicitudes publicadas en los últimos 30 días / Applications published in the last 30 days
Resultados 1 a 25 de 68 nextPage  

面向矿区的卡诺电池与二氧化碳增强型地热系统及其方法

NºPublicación:  CN121497448A 10/02/2026
Solicitante: 
中煤能源研究院有限责任公司中煤(鄂尔多斯市)能源科技有限责任公司
CN_121497448_PA

Resumen de: CN121497448A

本发明公开了面向矿区的卡诺电池与二氧化碳增强型地热系统,包括sCO2‑EGS子系统,sCO2‑EGS子系统通过管道连接有卡诺电池子系统,卡诺电池子系统通过管道连接有矿井水余热利用子系统,sCO2‑EGS子系统还通过管道连接有瓦斯余热利用子系统,还包括电力母线,sCO2‑EGS、卡诺电池、矿井水余热利用与瓦斯余热利用均通过导线与电力母线连接。本发明还公开了面向矿区的卡诺电池与二氧化碳增强型地热系统的运行方法。本发明公开的地热系统及其方法,解决了现有矿区地热系统中,仅通过超临界二氧化碳增强型地热发电系统发电,导致能源利用效率较低、工质流量减少、电能供需失衡的问题。

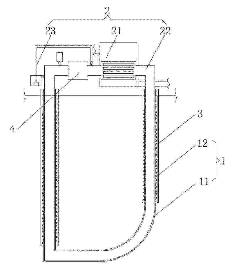
一种增强型中深层地热单井换热系统及其建立方法

NºPublicación:  CN121498260A 10/02/2026
Solicitante: 
中国地质大学(武汉)
CN_121498260_PA

Resumen de: CN121498260A

本发明提供一种增强型中深层地热单井换热系统及其建立方法,涉及地热换热,包括:地热井;岩石,地热井设置于岩石内,岩石内部设有多道延伸至地热井的裂隙;导热固井层,地热井内设有环绕其内壁设置的导热套管,导热固井层设置于导热套管外壁与各裂隙之间;以及循环管路,其包括工作管、循环泵和热泵机组,工作管设置于地热井的中部、上端与地热井井口固定连接、下端与地热井井底分离,工作管外壁与地热井内壁之间形成环形空间,热泵机组的输出端通过进液管路依次连接循环泵和环形空间,热泵机组的输入端通过出液管路连接工作管的内部。本发明的有益效果:在不抽取地热水的情况下,大量提取地热能,导热能力得到大大提升,换热量提升两倍以上。

一种地埋浮潜式栽培槽保温机构及保温方法

NºPublicación:  CN121488734A 10/02/2026
Solicitante: 
浙江省农业科学院
CN_121488734_PA

Resumen de: CN121488734A

本发明公开了一种地埋浮潜式栽培槽保温机构及保温方法,涉及农业栽培技术领域,本发明地埋浮潜式栽培槽保温机构,包括浮筒和顶部开口的保温腔,保温腔固定设于地下,且所述保温腔通过循环管路外接有补水装置,以向所述保温腔内通入设定量的水;浮筒活动设于所述保温腔内,其顶部固定设有栽培槽,所述浮筒能够悬浮于所述保温腔内的水中。本发明提供的地埋浮潜式栽培槽保温机构及保温方法,能够维持作物生长所需的适宜温度,保温效果好。

基于压缩空气通过地层人造裂缝进行储能的方法和系统

NºPublicación:  CN121497291A 10/02/2026
Solicitante: 
重庆大学
CN_121497291_PA

Resumen de: CN120684172A

The invention relates to a method and a system for storing energy through a formation fracture based on compressed air. The method comprises the following steps: constructing the formation fracture; blocking rock gaps and/or microfractures around the stratum fractures; the sealing performance of the stratum fractures is judged; compressed air is injected into the target shaft for energy storage; compressed air is reversely discharged for releasing energy. Accumulation of air compression potential energy is achieved, stress potential energy and elastic potential energy of rock deformation can be accumulated, and stratum heat energy is obtained. Most importantly, the method is not restrained by geographical conditions, underground compressed air energy storage can be carried out at any place, and the application range of compressed air energy storage is greatly expanded.

一种中深层地热井的尾水回灌系统及工作方法

NºPublicación:  CN121474733A 06/02/2026
Solicitante: 
中国煤炭地质总局第二水文地质队
CN_121474733_PA

Resumen de: CN121474733A

本发明公开了一种中深层地热井的尾水回灌系统及工作方法,具体涉及,包括回灌井、真空破坏器、流量计、控制系统、远程监控装置、稳流罐、杂质过滤装置、真空检测装置和温控装置。本发明所述的一种中深层地热井的尾水回灌系统及工作方法,通过在回灌井加装真空破坏器,有效解决了回灌过程中产生的负压问题,防止了供暖系统内形成真空柱,提高了供暖效果,简化了地热动态监测工作,其中真空破坏器的设置使得尾水能够顺利回灌至热储层,避免了空气进入回灌系统的情况,保持了尾水的水质,防止了回灌通道堵塞,提高了回灌效率,且无需设置复杂的除砂器、过滤罐和排气罐等设备,简化了系统结构,降低了系统成本,同时提高了回灌效率。

一种桩承式搭板通风路堤结构及其施工方法

NºPublicación:  CN121473189A 06/02/2026
Solicitante: 
青海省交通规划设计研究院有限公司
CN_121473189_PA

Resumen de: CN121473189A

本发明公开了一种桩承式搭板通风路堤结构,包括自下而上设置的刚性桩层、连接层以及路堤层。刚性桩层为竖向均匀布置于路基两侧的刚性桩,两侧的刚性桩一一对应;刚性桩底端伸入永久冻土层,顶端布置连接层;连接层上方铺设路堤层;连接层包括桩帽和通风搭板,每一个刚性桩顶部均设置有桩帽,通风搭板两侧分别搭接于一一对应的桩帽顶端。本申请紧密结合多年冻土区环境气候及地质特征,能够实现提高路基地基承载力的同时保护路基冻土,减少施工过程对冻土地基扰动、减缓冻土融化速率,以消除多年冻土区新建和在役公路路基病害,提高公路的通行效率和服务等级、提高乘客驾驶感受、减少养护周期及养护成本。

一种同轴套管式地埋管、地源热泵系统及其调控方法

NºPublicación:  CN121474763A 06/02/2026
Solicitante: 
中国电建集团西北勘测设计研究院有限公司
CN_121474763_PA

Resumen de: CN121474763A

本发明公开了一种同轴套管式地埋管、地源热泵系统及其调控方法,属于地源热量利用技术领域,能够解决现有地源热泵系统运行能效低的问题。所述地埋管包括:同轴套设的内管和外管,内管和外管之间形成环形空腔,环形空腔的顶端通过进口管与热泵机组的蒸发器出口连通;内管的顶端通过出口管与热泵机组的蒸发器进口连通,内管的底端通过吸水管与环形空腔连通;第一电磁阀,设置在进口管连接蒸发器出口的一端;第二电磁阀,设置在出口管连接蒸发器进口的一端;循环管,其两端分别与进口管和出口管连通;第三电磁阀,设置在循环管上;换热介质,可流动地充满内管、环形空腔、进口管、出口管和循环管;循环泵,设置在循环管上。本发明用于采集地源热量。

一种砂岩热储层地热尾水回灌装置

NºPublicación:  CN121474732A 06/02/2026
Solicitante: 
东营明汇新能源科技有限公司
CN_121474732_PA

Resumen de: CN121474732A

本发明提供了一种砂岩热储层地热尾水回灌装置,涉及地热尾水回灌技术领域,包括套管基管,套管的内壁固定连接有若干个阶梯状连接件,基管上设置有两个用于防垢的填充式筛管组件,基管的底端固定连通有用于排水的绕丝筛管组件;填充式筛管组件包括与基管固定连通的穿孔管,穿孔管的表面覆盖有填充过滤层,填充过滤层的表面开设有若干个第一导流槽,绕丝筛管组件包括中心管、若干个纵向支撑杆和绕丝层,绕丝层的表面固定连接有螺旋导流环,若干个纵向支撑杆的内壁共同设置有若干个环形导流板,通过多级过滤降结构低堵塞风险,通过第一导流槽、第二导流槽引导尾水的流动路径,减少紊流和过滤结构对尾水造成的阻力,提高了尾水的流速和回灌量。

GEOTHERMAL SYSTEM MATERIALS

NºPublicación:  US20260036003A1 05/02/2026
Solicitante: 
ALE SYSTEMS INC [US]
ALE SYSTEMS, INC
US_20260036003_PA

Resumen de: US20260036003A1

The present invention provides components with metamaterial structures for use in enhanced geothermal systems.

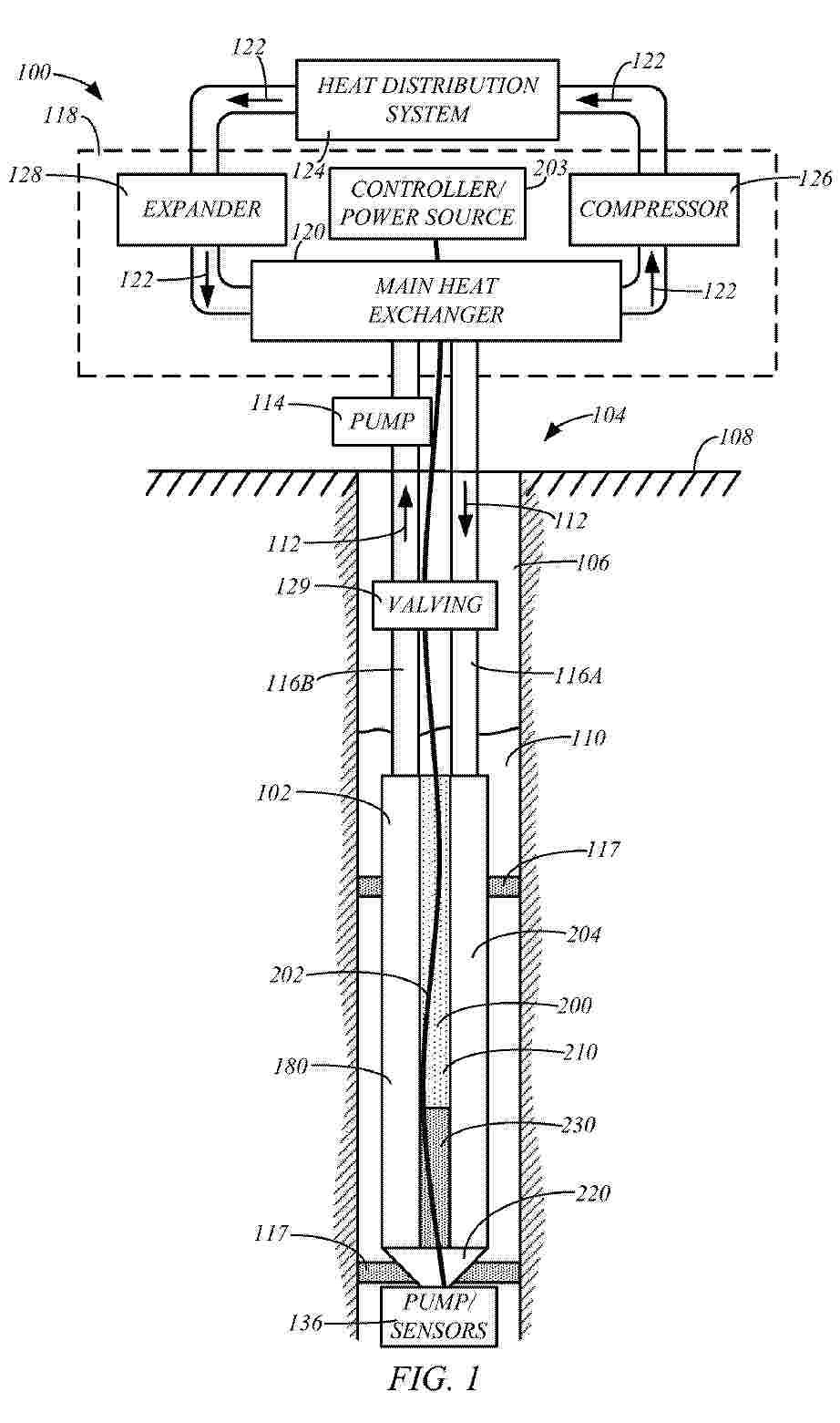
PRODUCTION OF LOW PERMEABILITY GEOTHERMAL RESOURCES

NºPublicación:  US20260036049A1 05/02/2026
Solicitante: 
CHEVRON U S A INC [US]
Chevron U.S.A. Inc
US_20260036049_PA

Resumen de: US20260036049A1

A system for recovering thermal energy from a fractured subterranean formation can include a fluid removal system configured to remove a fluid comprising a liquid phase from the fractured subterranean formation through a wellbore that is in fluidic communication with a low permeability rock matrix through fractures in the fractured subterranean formation. The system can also include a heated fluid collection system configured to recover, through the wellbore, a heated fluid comprising a vapor phase that is expelled from the low permeability rock matrix of the fractured subterranean formation as a result of a reservoir pressure of the fractured subterranean formation falling below a saturation pressure of the fluid, where the fluid removal system is configured to be shut down while the heated fluid collection system operates, and where the heated fluid collection system is configured to be shut down while the fluid removal system operates.

OPTIMIZING FLUID FLOW THROUGH CLOSED-LOOP GEOTHERMAL SYSTEMS

NºPublicación:  US20260036340A1 05/02/2026
Solicitante: 
EAVOR TECH INC [CA]
Eavor Technologies Inc
US_20260036340_PA

Resumen de: US20260036340A1

A method includes causing a first portion of a heat-transfer working fluid to flow from a first lateral wellbore of a closed-loop geothermal well to a second lateral wellbore of the closed-loop geothermal well via a wellbore intersection. The first lateral wellbore and the second lateral wellbore reside in a target subterranean zone. A second portion of the heat-transfer working fluid is caused to flow through the Earth of the target subterranean zone from the first lateral wellbore to the second lateral wellbore.

REGULATING DISTRIBUTION OF INJECTION AND PRODUCTION FLUIDS TO ENHANCE HEAT RECOVERY IN GEOTHERMAL APPLICATIONS

NºPublicación:  US20260036015A1 05/02/2026
Solicitante: 
HALLIBURTON ENERGY SERVICES INC [US]
Halliburton Energy Services, Inc
US_20260036015_PA

Resumen de: US20260036015A1

A method of improving heat recovery from a geothermal well includes receiving temperature distribution data from a distributed temperature sensing (DTS) system comprising a fiber optic cable disposed in a wellbore, which extends through a formation; analyzing the temperature distribution data to determine a fluid flow profile along the wellbore; determining, based on the fluid flow profile, a location of dominant flow rate; and injecting a sealing agent into the formation at the location. When the sealing agent cures, fractures within a fracture system are sealed in the formation at the location. The cured sealing agent prevents or mitigates fluid flow through the formation at the location.

COMPRESSED GAS ENERGY STORAGE SYSTEM USING A GEOLOGICAL THERMAL STORE

NºPublicación:  AU2024305888A1 05/02/2026
Solicitante: 
THEMES LLC
RAGHURAMAN BHAVANI
JHA BIRENDRA
THEMES LLC,
RAGHURAMAN, Bhavani,
JHA, Birendra
AU_2024305888_PA

Resumen de: AU2024305888A1

A compressed gas energy storage system which can also store thermal energy. The storage system can have a surface subsystem, a geological heat storage subsystem, and a compressed gas storage subsystem. The surface subsystem can comprise gas compression, gas expansion, and heat exchange functions. The geological heat storage subsystem can comprise a cold and hot zone in fluid communication with the surface subsystem. The compressed gas storage subsystem can also be in fluid communication with the surface subsystem. The systems and methods can be implemented in porous rock formations. This allows for the use of extremely large, natural formations rather than man-made salt caverns, as is the current state of the art. Existing wells drilled by oil and gas producers can be utilized, thereby drastically reducing cost and time for implementation. Further, use of sub-surface thermal management provides a complete solution for long term energy storage at high efficiency.

GEOTHERMAL DEVICE AND METHOD FOR RECONSTRUCTION OF ABANDONED OIL AND GAS WELLS

NºPublicación:  WO2026025568A1 05/02/2026
Solicitante: 
SHUANGLIANG ECO ENERGY SYSTEM CO LTD [CN]
\u53CC\u826F\u8282\u80FD\u7CFB\u7EDF\u80A1\u4EFD\u6709\u9650\u516C\u53F8
WO_2026025568_PA

Resumen de: WO2026025568A1

A geothermal device and method for reconstruction of abandoned oil and gas wells. The geothermal device comprises a heat exchanger arranged at the wellhead of an abandoned oil and gas well and an unpowered heat extractor located inside the abandoned oil-gas well, wherein the unpowered heat extractor comprises a thermal insulation member and an evaporation member; the heat exchanger, the thermal insulation member and the evaporation member are sequentially in communication with each other from top to bottom; a liquid working medium is injected into the unpowered heat extractor, absorbs heat from a crude oil layer and evaporates into a gaseous working medium; the gaseous working medium is sequentially transported through the evaporation member and the thermal insulation member to the heat exchanger, condenses in the heat exchanger to release heat and turns into the liquid working medium; and the liquid working medium flows back to the bottom of the abandoned oil and gas well under the action of gravity. The present invention achieves true "heat extraction without water extraction", and does not require a water pump during operation, thereby reducing operation costs.

一种基于井-地多域数据的注采联动控制方法

NºPublicación:  CN121451936A 03/02/2026
Solicitante: 
中国电建集团西北勘测设计研究院有限公司
CN_121451936_PA

Resumen de: CN121451936A

本发明公开了一种基于井‑地多域数据的注采联动控制方法,属于注采监测和控制技术领域,能够解决现有技术无法同时实现井下‑地面多源信息的融合感知、秒级异常预警以及注采参数的联动智能控制的问题。所述方法包括:S1、根据采集的井下感知数据和地面感知数据确定待测井在对应采样周期的状态特征向量;S2、根据待测井在不同采样周期的状态特征向量确定待测井在当前采样周期的风险指数;S3、根据待测井在当前采样周期的状态特征向量和风险指数构建待测井在当前采样周期的回报函数;S4、求解待测井在当前采样周期的回报函数,并根据求解得到的最优控制策略控制待测井的注采设备在下一采样周期的注采动作。本发明用于注采联动控制。

地热井智能选址方法、装置、电子设备及地热井控制系统

NºPublicación:  CN121435655A 30/01/2026
Solicitante: 
中石油深圳新能源研究院有限公司中国石油天然气股份有限公司
CN_121435655_PA

Resumen de: CN121435655A

本申请公开了一种地热井智能选址方法、装置、电子设备及地热井控制系统,本申请涉及地热井选址技术领域,所述地热井智能选址方法包括:获取地热井种群、地质模型以及适应度函数,地热井种群包括多个具有不同选址参数的地热井;根据各地热井的选址参数、地质模型和适应度函数,计算得到各地热井的适应度;检测地热井种群是否满足遗传终止条件;若不满足,则根据各地热井的适应度,对地热井种群进行遗传进化,以更新地热井种群,并返回执行:根据各地热井的选址参数、地质模型和适应度函数,计算得到各地热井的适应度的步骤;若满足,则将适应度最高的地热井作为目标地热井。本申请能够高效准确地完成地热井选址。

一种地源热泵地埋管分区布设及冷热平衡控制方法

NºPublicación:  CN121430232A 30/01/2026
Solicitante: 
山东方亚新能源集团有限公司
CN_121430232_PA

Resumen de: CN121430232A

本发明涉及地源热泵技术领域,公开了一种地源热泵地埋管分区布设及冷热平衡控制方法,包括以下步骤:获取所述地源热泵地埋管所在区域的当前三维地温场状态;预测在未来一预测时域内、不同控制策略下所述地温场的未来状态序列;基于一个以所述预测时域内的系统综合运行成本最小化为目标的多目标优化函数,求解得到一个最优控制序列;所述多目标优化函数至少包括表征系统短期运行能耗的能耗项和表征地温长期平衡状态的平衡项;执行所述最优控制序列中的首个控制动作。本发明构建的预测模型能够将物理规律与从实际运行中持续学习到的数据残差相结合,确保了控制决策所依赖的预测信息在系统长期运行中始终保持高保真度。

相变潜热蓄能型中深层地热与太阳能光热的时空互补系统及方法

NºPublicación:  CN121430211A 30/01/2026
Solicitante: 
中国电建集团昆明勘测设计研究院有限公司
CN_121430211_PA

Resumen de: CN121430211A

本发明涉及清洁能源利用技术领域,公开了一种相变潜热蓄能型中深层地热与太阳能光热的时空互补系统及方法,系统包括地热相变稳定化子系统、太阳能相变融合子系统、时空调制释放子系统;方法包括从中深层地质结构中提取原始地热流,将原始地热流的波动性热能转化为具有均匀热分布的稳定地热基荷;捕获太阳辐射能形成初始太阳能热流,将初始太阳能热流与稳定地热基荷通过相变材料的潜热释放与吸收循环进行热融合,将原始地热流和初始太阳能热流整合为单一的融合热储能;基于外部时空需求信号,从融合热储能中提取热能,根据时间与空间分布要求,输出符合外部时空需求的热能供应。本发明形成具备时空自适应能力的多能互补供热体系。

GROUNDWATER HEAT EXCHANGER HAVING A CABLE CHANNEL

NºPublicación:  US20260029165A1 29/01/2026
Solicitante: 
DARCY SOLUTIONS INC [US]
Darcy Solutions, Inc
US_20260029165_PA

Resumen de: US20260029165A1

A groundwater heat exchanger includes a plurality of heat exchange pipes, a housing and a cable channel. Each of the heat exchange pipes is configured to receive a loop fluid flow. The housing has an interior chamber that contains the heat exchange pipes and defines a groundwater passageway that is configured to receive a groundwater flow. The cable channel is formed on an exterior of the housing and extends along a central axis of the housing. The cable channel includes at least one cable pathway configured to receive one or more cables.

INTERVENTION COMBINATIONS TO BOOST WELL PERFORMANCE IN GEOTHERMAL SYSTEMS

NºPublicación:  US20260028968A1 29/01/2026
Solicitante: 
SCHLUMBERGER TECH CORPORATION [US]
Schlumberger Technology Corporation
US_20260028968_PA

Resumen de: US20260028968A1

Methods are provided for extracting thermal energy from a geothermal reservoir having at least one feature extending therethrough, which involve drilling or accessing a production well that intersects the at least one feature, wherein the at least one feature provides a flow path of pressurized geothermal fluid into the production well. Well log data can be analyzed to determine position of the at least one feature in the production well. One or more interventions, or combinations of interventions, can be performed to open the feature or otherwise enhance the flow rate of pressurized geothermal fluid carried by the feature into the production well. The intervention(s) can be performed on multiple features that connect to the production well. The method can also be applied to multiple production wells.

SCRUBBER FOR GEOTHERMAL POWER GENERATION AND GEOTHERMAL POWER GENERATION SYSTEM THEREWITH

NºPublicación:  US20260027505A1 29/01/2026
Solicitante: 
FUJI ELECTRIC CO LTD [JP]
FUJI ELECTRIC CO., LTD
US_20260027505_PA

Resumen de: US20260027505A1

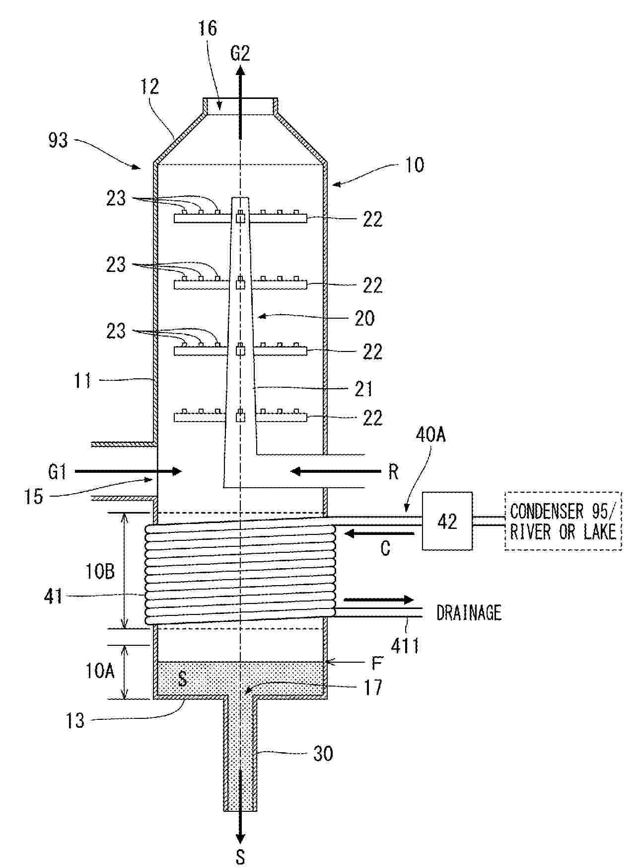
A scrubber for geothermal power generation, includes a treatment container, a drainage pipe, and a cooling mechanism. The treatment container separates geothermal steam into a separated gas and a separated liquid by treating the geothermal steam with a treatment liquid and has a steam supply opening to which the geothermal steam is supplied, and a gas release opening from which the separated gas is released. The drainage pipe is placed below the treatment container to discharge the separated liquid. The cooling mechanism cools a portion of the treatment container between the steam supply opening and the drainage pipe.

PACKER AND UNSEALING METHOD THEREOF

NºPublicación:  US20260028891A1 29/01/2026
Solicitante: 
CHINA PETROLEUM & CHEMICAL CORP [CN]
SINOPEC PETROLEUM ENGINEERING TECH RESEARCH INSTITUTE CO LTD [CN]
CHINA PETROLEUM & CHEMICAL CORPORATION,
SINOPEC PETROLEUM ENGINEERING TECHNOLOGY RESEARCH INSTITUTE CO., LTD
US_20260028891_PA

Resumen de: US20260028891A1

The present invention proposes a packer, comprising a central tube (1), an outer surface of which is provided with a first prefabricated groove (11); a rubber cylinder unit (2), comprising a rubber cylinder assembly (21), an upper rubber cylinder seat (22) and a lower rubber cylinder seat (23), a slot (221) being formed in an inner wall surface of the upper rubber cylinder seat; an upper anchoring unit (3) and a lower anchoring unit (4) arranged at both ends of the rubber cylinder unit, respectively, the upper anchoring unit comprising an upper cone (31) and an upper slip (32), and the lower anchoring unit comprising a lower cone (41) and a lower slip (42); and an unsetting mechanism (5), comprising a connecting sleeve (51), wherein through grooves (511) are arranged on the connecting sleeve, and one unsetting block (52) is arranged in each through groove.

HIGH THERMAL COEFFICIENT GROUT COMPOSITIONS AND METHODS THEREFOR

NºPublicación:  US20260028271A1 29/01/2026
Solicitante: 
XGS ENERGY INC [US]
XGS Energy, Inc
US_20260028271_PA

Resumen de: US20260028271A1

A high-thermal conductivity grout composition is provided. The composition includes a grout mixture including a cementitious material, a retarder, and a high-thermal k material that advantageously can form a pumpable slurry upon admixture with water. The retarder is present in an amount effective that delays setting of the grout mixture at a target location having a geostatic target temperature of at least 300° F. for at least two hours. The high-thermal k material is present in an amount effective such that the grout mixture has, upon setting at the target location, a thermal conductivity of at least 1 W/m° K.

DEVICE FOR EXCHANGING GEOTHERMAL ENERGY WITH AN AQUIFER WHICH IS NEAR THE SURFACE, AND THERMAL POWER STATION COMPRISING AT LEAST ONE SUCH DEVICE

NºPublicación:  EP4684169A1 28/01/2026
Solicitante: 
USC CONSULTING GMBH [DE]
USC-Consulting GmbH
DE_102023107286_PA

Resumen de: WO2024194342A1

The invention relates to a device for exchanging geothermal energy with an aquifer which is near the surface for an operation in a thermal power station using an exploitation well (1) for conveying groundwater out of the aquifer (3) through at least one exploitation line (7) and using an injection well (4) for injecting the conveyed groundwater into the aquifer (3) through at least one injection line (9), wherein the at least one exploitation line (7) and the at least one injection line (9) are connected together via a primary line (17) in order to transfer water. The invention is characterized in that the exploitation well (1) has at least one horizontal exploitation section (6) at the aquifer-side end (12) thereof, the at least one exploitation section (6) is operatively connected to at least one exploitation line (7) in order to convey water out of the aquifer (3), and a filter tube (2) is arranged within the at least one exploitation section (6).

GROUNDWATER HEAT EXCHANGER HAVING A CABLE CHANNEL

Nº publicación: EP4685413A1 28/01/2026

Solicitante:

DARCY SOLUTIONS INC [US]
Darcy Solutions, Inc

EP_4685413_PA

Resumen de: EP4685413A1

A groundwater heat exchanger includes a plurality of heat exchange pipes, a housing and a cable channel. Each of the heat exchange pipes is configured to receive a loop fluid flow. The housing has an interior chamber that contains the heat exchange pipes and defines a groundwater passageway that is configured to receive a groundwater flow. The cable channel is formed on an exterior of the housing and extends along a central axis of the housing. The cable channel includes at least one cable pathway configured to receive one or more cables.

traducir