Ministerio de Industria, Turismo y Comercio LogoMinisterior
 

Alerta

Resultados 67 resultados
LastUpdate Última actualización 01/11/2025 [07:12:00]
pdfxls
Solicitudes publicadas en los últimos 30 días / Applications published in the last 30 days
Resultados 1 a 25 de 67 nextPage  

SIGNAL INFORMATION GENERATION DEVICE, TRAFFIC SIGNAL CONTROL SYSTEM, SIGNAL INFORMATION GENERATION METHOD, AND COMPUTER PROGRAM

NºPublicación:  WO2025225476A1 30/10/2025
Solicitante: 
SUMITOMO ELECTRIC IND LTD [JP]
\u4F4F\u53CB\u96FB\u6C17\u5DE5\u696D\u682A\u5F0F\u4F1A\u793E
WO_2025225476_PA

Resumen de: WO2025225476A1

This signal information generation device comprises: a signal information acquisition unit for acquiring first signal information that is provided from a first business operator and is used for control of a first traffic signal by the first business operator; a signal information generation unit for generating, on the basis of the first signal information and probe information pertaining to a vehicle, second signal information that is used for control of the first traffic signal; and a signal information provision unit that provides the second signal information to the first business operator.

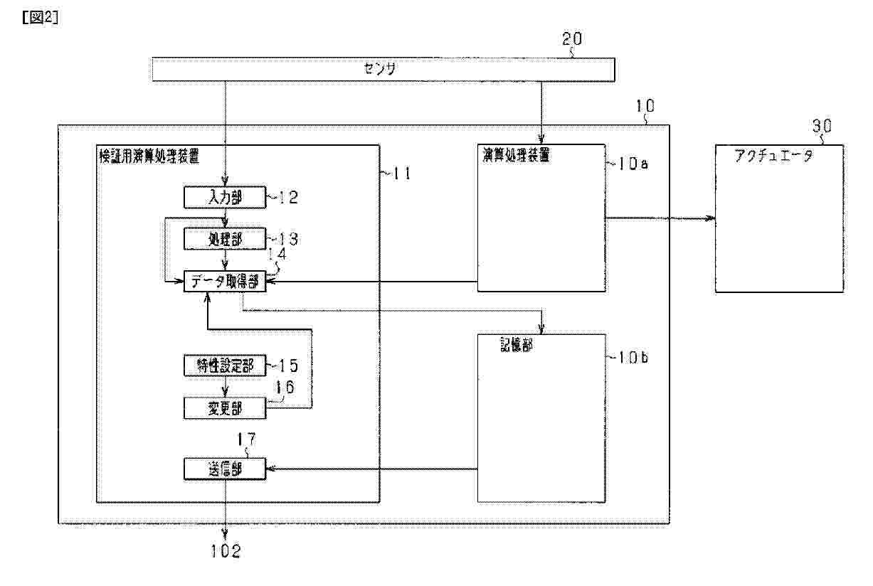
VEHICLE CONTROL DEVICE AND ON-VEHICLE PROGRAM

NºPublicación:  WO2025225368A1 30/10/2025
Solicitante: 
DENSO CORP [JP]
\u682A\u5F0F\u4F1A\u793E\u30C7\u30F3\u30BD\u30FC
WO_2025225368_PA

Resumen de: WO2025225368A1

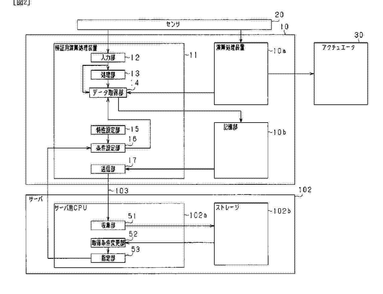
A vehicle control device (10) comprises: a characteristic setting unit (15) that acquires at least one of information relating to a vehicle itself, information relating to an owner of the vehicle, information relating to conditions under which the vehicle is traveling, and information relating to a region in which the vehicle is traveling, and sets characteristic information of the vehicle during traveling, on the basis of the information; a data acquisition unit (14) that acquires data relating to sensor information acquired by various sensors mounted in the vehicle, when a data acquisition condition is satisfied; and a transmission unit (17) that transmits the data acquired by the data acquisition unit to a server via a communication network. At least one of the acquisition condition and the data acquired by the data acquisition unit is changed in accordance with the characteristic information.

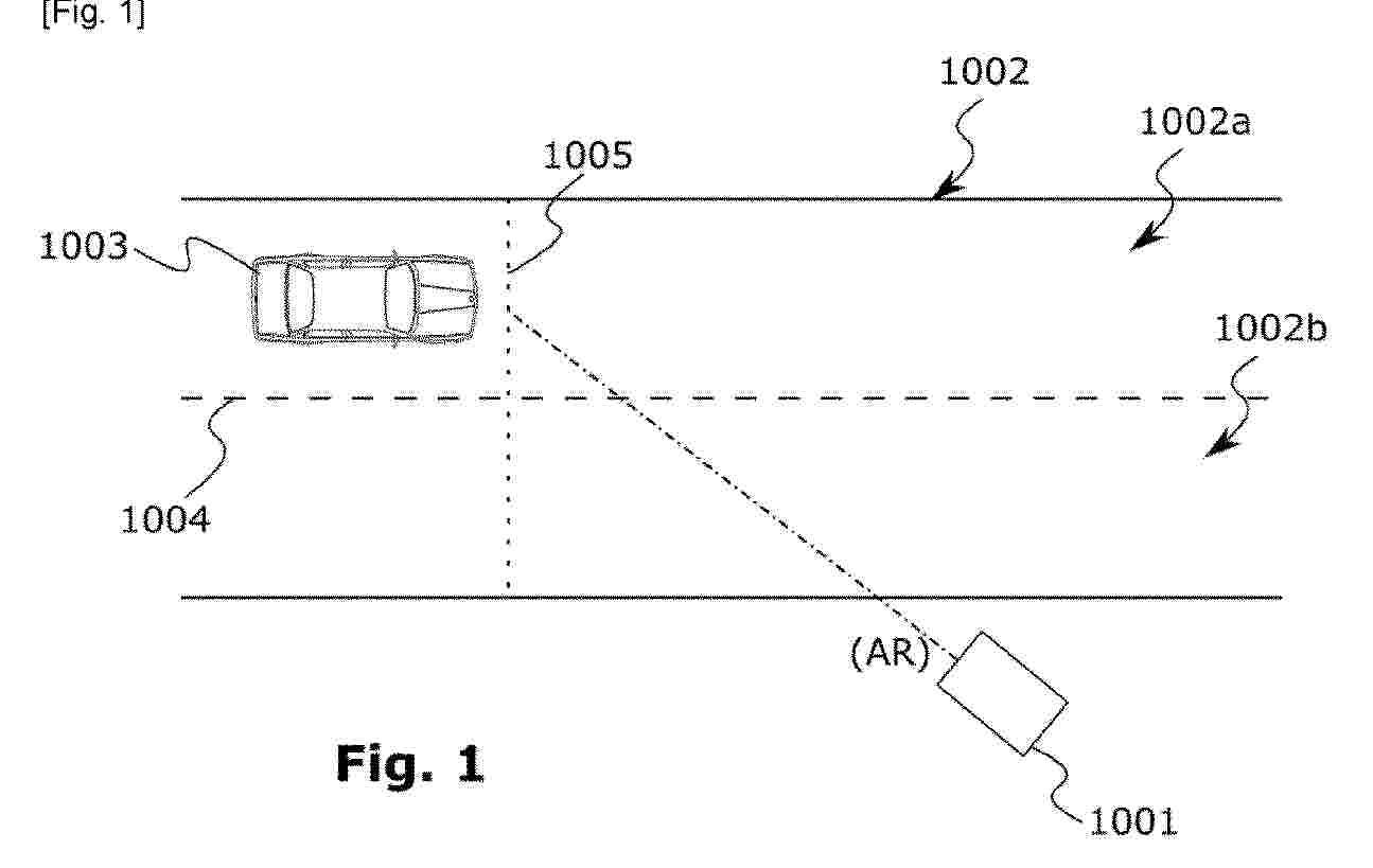
INTELLIGENT DRIVING RISK EARLY-WARNING METHOD AND APPARATUS, ELECTRONIC DEVICE, MEDIUM, AND PRODUCT

NºPublicación:  WO2025223496A1 30/10/2025
Solicitante: 
ZHEJIANG GEELY HOLDING GROUP CO LTD [CN]
GEELY AUTOMOBILE RES INSTITUTE NINGBO CO LTD [CN]
\u6D59\u6C5F\u5409\u5229\u63A7\u80A1\u96C6\u56E2\u6709\u9650\u516C\u53F8,
\u5409\u5229\u6C7D\u8F66\u7814\u7A76\u9662\uFF08\u5B81\u6CE2\uFF09\u6709\u9650\u516C\u53F8
WO_2025223496_PA

Resumen de: WO2025223496A1

An intelligent driving risk early-warning method and apparatus, an electronic device, and a storage medium. The intelligent driving risk early-warning method is applied to a first vehicle, and comprises the following steps: when it is determined that the first vehicle is in an intelligent driving state, acquiring vehicle traveling information (S10); when it is determined that the vehicle traveling information satisfies a preset potential risk condition, performing risk data detection (S20); and when risk evaluation is performed by means of a preset risk evaluation model on the basis of the risk data to determine that the first vehicle has an intelligent driving risk, outputting intelligent driving risk early-warning information (S30).

AUTOMATIC DRIVING ASSISTANCE METHOD AND AUTOMATIC DRIVING ASSISTANCE DEVICE

NºPublicación:  WO2025224783A1 30/10/2025
Solicitante: 
NISSAN MOTOR CO LTD [JP]
\u65E5\u7523\u81EA\u52D5\u8ECA\u682A\u5F0F\u4F1A\u793E
WO_2025224783_PA

Resumen de: WO2025224783A1

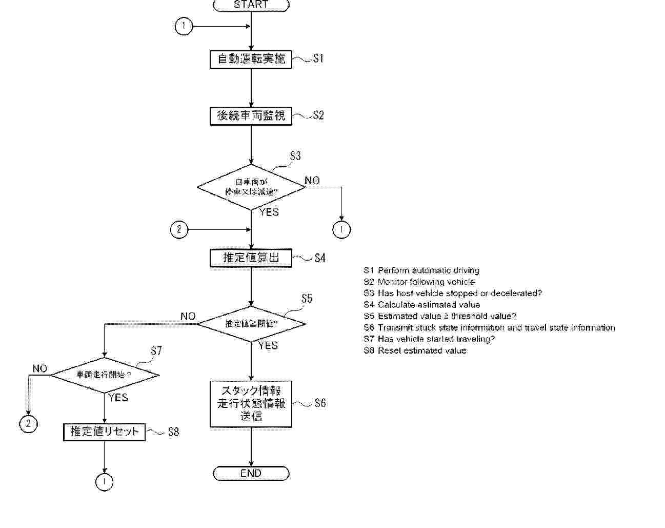
Provided is an automatic driving assistance method for assisting in driving a vehicle (10) that travels by automatic driving using a computer, said automatic driving assistance method comprising: a following vehicle monitoring step for monitoring a following vehicle (80) using a surroundings detection sensor (111); and a request step for transmitting, to a control device (20), stuck state information requesting intervention in the vehicle (10), on the basis of a prescribed event related to the traveling of the following vehicle (80) when the vehicle (10) stops or decelerates.

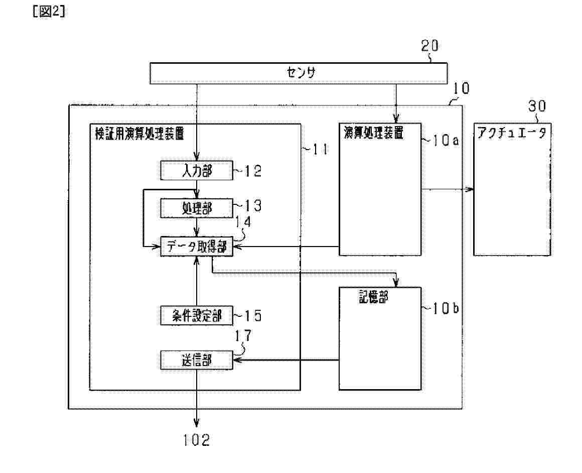
VEHICLE CONTROL DEVICE AND ON-VEHICLE PROGRAM

NºPublicación:  WO2025225370A1 30/10/2025
Solicitante: 
DENSO CORP [JP]
\u682A\u5F0F\u4F1A\u793E\u30C7\u30F3\u30BD\u30FC
WO_2025225370_PA

Resumen de: WO2025225370A1

This vehicle control device (10) mounted on a vehicle (101) comprises: a condition setting unit (15) for setting a data acquisition condition; a data acquisition unit (14) for acquiring data pertaining to sensor information acquired by various types of sensors mounted on the vehicle when the acquisition condition is satisfied; and a transmission unit (17) for transmitting the data acquired by the data acquisition unit to a server (102) over a communication network (103). When the acquisition condition is not satisfied within a predetermined limit time, the condition setting unit changes the acquisition condition and newly sets the acquisition condition.

DATA COLLECTION DEVICE, VEHICLE CONTROL DEVICE, AND ON-VEHICLE PROGRAM

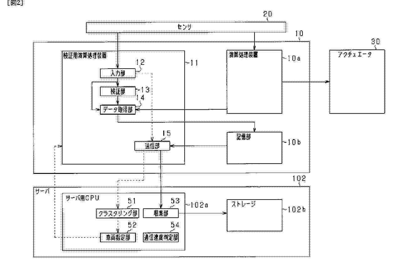
NºPublicación:  WO2025225372A1 30/10/2025
Solicitante: 
DENSO CORP [JP]
\u682A\u5F0F\u4F1A\u793E\u30C7\u30F3\u30BD\u30FC
WO_2025225372_PA

Resumen de: WO2025225372A1

A data collection device (102) that receives and collects data from vehicles (101) via a communication network (103) comprises: a clustering unit (51, 151) that ascertains the travel status of vehicles, performs clustering on the basis of the travel status, and sorts a plurality of vehicles having the same or similar travel status into one cluster; and a vehicle designation unit (52, 152) that designates some of the plurality of vehicles sorted into one cluster as vehicles for transmitting the data.

INFORMATION PROCESSING DEVICE, INFORMATION PROCESSING METHOD, AND RECORDING MEDIUM

NºPublicación:  WO2025225598A1 30/10/2025
Solicitante: 
NEC CORP [JP]
\u65E5\u672C\u96FB\u6C17\u682A\u5F0F\u4F1A\u793E
WO_2025225598_PA

Resumen de: WO2025225598A1

An information processing device according to the present disclosure comprises a detection unit, a notification unit, an acquisition unit, and a notification control unit. The detection unit detects a notification event occurring in a mobile body. The notification unit gives notification of the detection of the notification event. The acquisition unit acquires status information indicating a status of the mobile body. The notification control unit changes at least one of a notification method and notification content for giving notification of the detection of the notification event depending on the status of the mobile body.

MODULE FOR ROAD BARRIER

NºPublicación:  WO2025224615A1 30/10/2025
Solicitante: 
RICCI EMILIANO [IT]
RICCI, Emiliano
WO_2025224615_PA

Resumen de: WO2025224615A1

Module for a road barrier, said module is characterised in that it comprises: an external structure that is shaped on at least one or both sides to define a jersey-type road barrier, first hinging means configured to hinge said module with an upstream or downstream contiguous module about a first substantially vertical axis, a device, which is operated by an actuation member, to lock and unlock as necessary the rotation of said module about said first axis.

DATA COLLECTION DEVICE AND DATA COLLECTION PROGRAM

NºPublicación:  WO2025225371A1 30/10/2025
Solicitante: 
DENSO CORP [JP]
\u682A\u5F0F\u4F1A\u793E\u30C7\u30F3\u30BD\u30FC
WO_2025225371_PA

Resumen de: WO2025225371A1

A data collection device (102) for collecting data from a plurality of vehicles (101) via a communication network (103) comprises: a collection unit (51) that receives, stores, and collects data acquisition failure information and characteristic information pertaining to the vehicles that have transmitted the data acquisition failure information; an acquisition condition change unit (52); and an instruction unit (53) that gives, if the acquisition condition change unit has determined that the acquisition condition should be changed, an instruction to this effect to the plurality of vehicles. On the basis of the characteristic information, the collection unit classifies the acquisition failure information into one or more groups. The acquisition condition change unit determines to change the acquisition condition if the number of acquisition failure information in any of the groups is greater than or equal to a threshold. The instruction unit identifies characteristic information associated with the acquisition failure information classified as belonging to the group in which the number of the acquisition failure information is greater than or equal to the threshold, and instructs a vehicle for which is set the identified characteristic information to change the acquisition condition.

VEHICLE CONTROL DEVICE AND ON-VEHICLE PROGRAM

NºPublicación:  WO2025225369A1 30/10/2025
Solicitante: 
DENSO CORP [JP]
\u682A\u5F0F\u4F1A\u793E\u30C7\u30F3\u30BD\u30FC
WO_2025225369_PA

Resumen de: WO2025225369A1

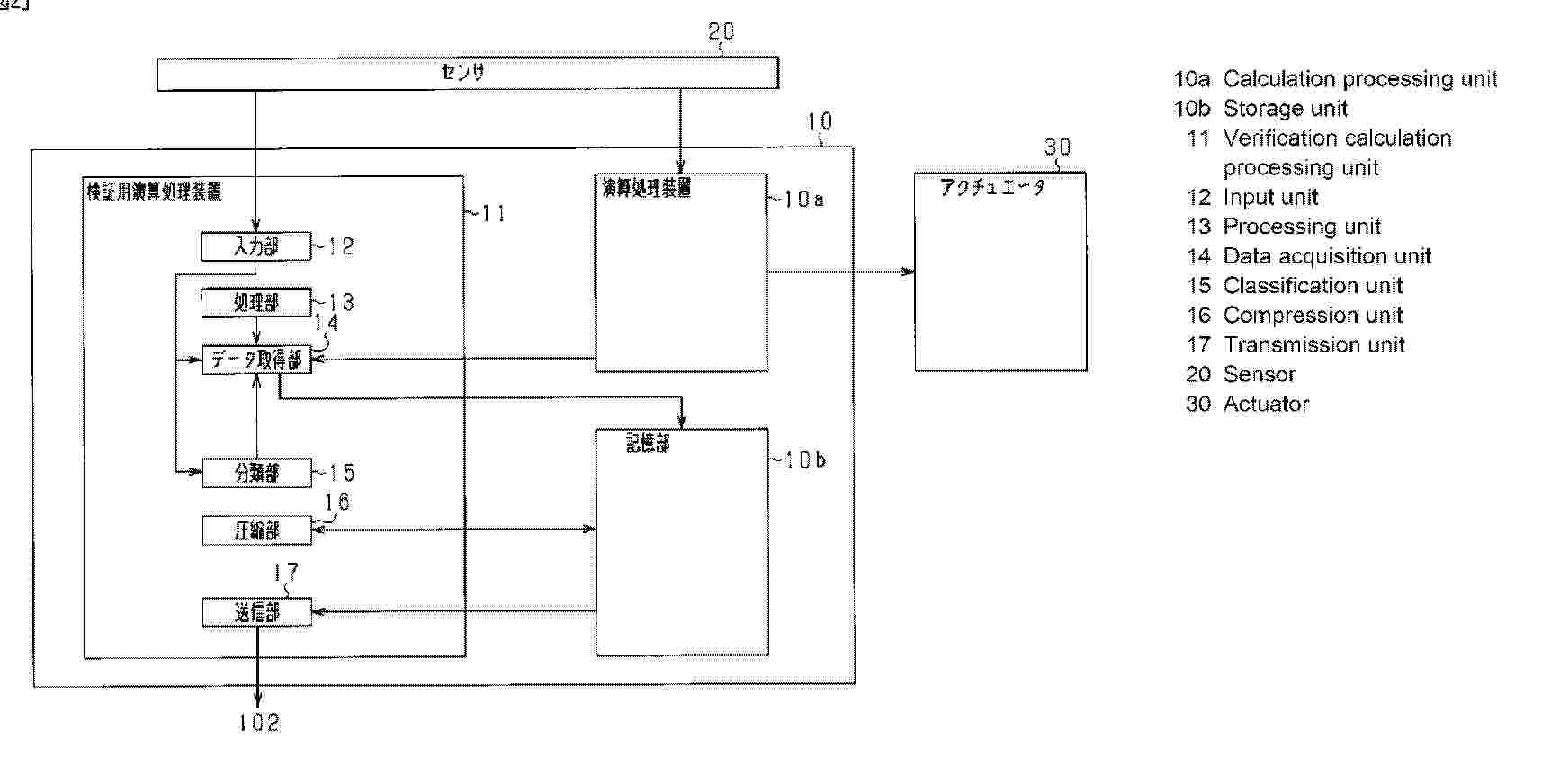
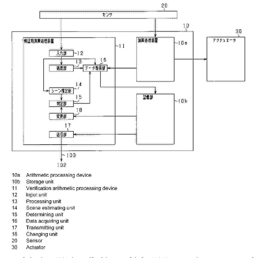
A vehicle control device (10) mounted on a vehicle (101) comprises: a data acquisition unit (14) that acquires data relating to sensor information acquired by various sensors (20) mounted on the vehicle; a classification unit (15) that classifies the data, acquired by the data acquisition unit, for each scene in which the vehicle is traveling, the data being classified on the basis of the sensor information; a compression unit (16) that deletes one of the plurality of pieces of data classified into a predetermined scene by the classification unit or thins some components of the data, thereby compressing the data; and a transmission unit (17) that transmits the data compressed by the compression unit to a server (102) via a communication network (103).

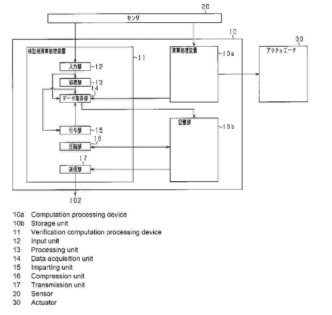
VEHICLE CONTROL APPARATUS AND ON-VEHICLE PROGRAM

NºPublicación:  WO2025225163A1 30/10/2025
Solicitante: 
DENSO CORP [JP]
\u682A\u5F0F\u4F1A\u793E\u30C7\u30F3\u30BD\u30FC
WO_2025225163_PA

Resumen de: WO2025225163A1

A vehicle control apparatus (10) mounted on a vehicle (101) comprises: a data acquisition unit (14) that acquires data pertaining to sensor information acquired by various sensors (20) mounted on the vehicle; a control unit (12) that performs vehicle control on the basis of the sensor information; a pre-processing unit (16) that performs pre-processing on the data acquired by the data acquisition unit during a prescribed period before transmission; and a transmission unit (17) that transmits the data pre-processed by the pre-processing unit to a server (102) via a communication network (103). The prescribed period is set for times when the control unit does not perform drive control related to traveling of the vehicle.

VEHICLE CONTROL DEVICE AND PROGRAM

NºPublicación:  WO2025225191A1 30/10/2025
Solicitante: 
DENSO CORP [JP]
\u682A\u5F0F\u4F1A\u793E\u30C7\u30F3\u30BD\u30FC
WO_2025225191_PA

Resumen de: WO2025225191A1

A vehicle control device (10) is mounted in a vehicle (101) and is provided with: a driving assistance implementation unit (13, 113, 10a) that can implement a plurality of functions related to vehicle driving-assistance on the basis of sensor information acquired by a sensor (20, 24, 24a-24d); a compression unit (16, 116) that compresses the data volume of the sensor information by executing at least reduction of some or all image data from one or a plurality of sets of image data included in the sensor information, or reduction of constituent elements of the image data; and a transmission unit (17, 117) that transmits the sensor information compressed by the compression unit to a server (102) via a communication network (103). The image data or the constituent elements thereof to be reduced are determined in accordance with the implementation functions implemented by the driving assistance implementation unit.

VEHICLE CONTROL DEVICE AND PROGRAM

NºPublicación:  WO2025225190A1 30/10/2025
Solicitante: 
DENSO CORP [JP]
\u682A\u5F0F\u4F1A\u793E\u30C7\u30F3\u30BD\u30FC
WO_2025225190_PA

Resumen de: WO2025225190A1

A vehicle control device (10) installed in a vehicle (101) comprises a scene estimating unit (14) that inputs sensor information acquired by a sensor (20) into an inference model and outputs, for each of a plurality of predetermined specific scenes, a scene reliability indicating the degree of similarity between a scene in which the vehicle (101) is traveling and each of the specific scenes, a determining unit (15) that, if any of the scene reliabilities output by the scene estimating unit is equal to or greater than a predetermined reliability threshold, determines that an acquisition condition has been met, a data acquiring unit (16) that, when it is determined that the acquisition condition has been met, acquires data relating to the sensor information, and a transmitting unit (17) that transmits, to a server (102) via a communication network (103), the data acquired by the data acquisition unit, wherein the inference model is machine-trained in advance using training data including information relating to the plurality of specific scenes.

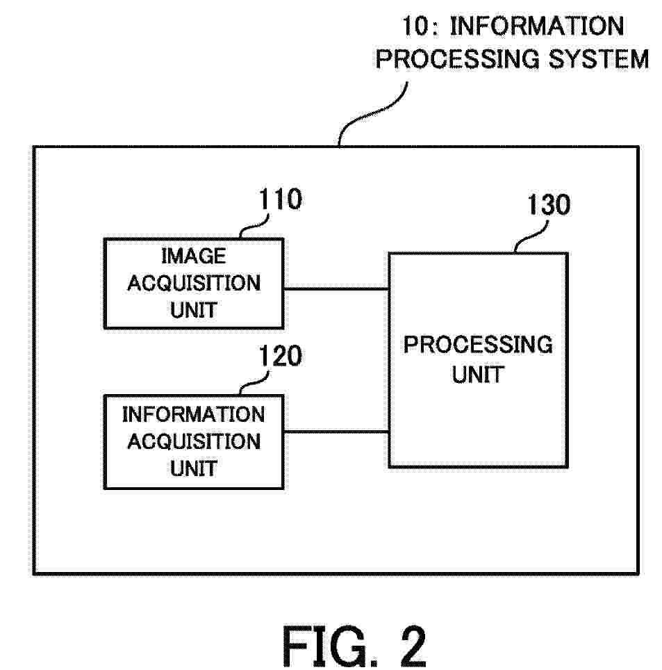
INFORMATION PROCESSING METHOD, INFORMATION PROCESSING PROGRAM, AND INFORMATION PROCESSING DEVICE

NºPublicación:  WO2025225062A1 30/10/2025
Solicitante: 
PANASONIC INTELLECTUAL PROPERTY MAN CO LTD [JP]
\u30D1\u30CA\u30BD\u30CB\u30C3\u30AF\uFF29\uFF30\u30DE\u30CD\u30B8\u30E1\u30F3\u30C8\u682A\u5F0F\u4F1A\u793E
WO_2025225062_PA

Resumen de: WO2025225062A1

An information processing device 10 includes a detection unit 15B, an identification unit 15C, and an output control unit 15D. The detection unit 15B detects a person included in the captured video of the surrounding of a mobile body 20. The identification unit 15C identifies a guide member for guiding the mobile body 20 among the detected persons who are included in the captured video. The output control unit 15D outputs a display screen in which the identified guide member and included in the captured video is highlighted to an operator terminal 30 of an operator who remotely controls the mobile body 20.

NOTIFICATION DEVICE AND VEHICLE

NºPublicación:  WO2025224779A1 30/10/2025
Solicitante: 
SUBARU CORP [JP]
\u682A\u5F0F\u4F1A\u793E\uFF33\uFF35\uFF22\uFF21\uFF32\uFF35
WO_2025224779_PA

Resumen de: WO2025224779A1

A notification device according to an embodiment of the present disclosure comprises: a processing circuit that can play back music pieces and is capable of notifying a vehicle driver of an evaluation result of the driving skills of the driver by playing back a notification music piece according to the evaluation result; and a speaker that can output music pieces and the notification music piece. The processing circuit, when playing back a music piece, can set a first timing which is a timing candidate for switching the playback target from the music piece being played back to a notification music piece, and set a second timing for switching the playback target from the music piece being played back to the notification music piece on the basis of the time remaining until the first timing. The processing circuit can switch the playback target at the second timing.

METHOD FOR DETECTING AN ACCIDENT OF A VEHICLE

NºPublicación:  EP4641540A1 29/10/2025
Solicitante: 
CERRI PAOLA [IT]
Cerri, Paola
EP_4641540_PA

Resumen de: EP4641540A1

Method for detecting an accident (1) of a vehicle (100) carried out by a mobile device (10) associated with a user in the vehicle, comprising the steps of: a) capturing a first dataset (Set1) by first geolocalization sensors (S1) embedded in the mobile device (10) in sampling time intervals; b) calculating a vehicle cruising speed (Vc) by the first dataset (Set1) in each sampling time interval; c) identifying an abrupt braking (Fb) in case a comparison between cruising speeds (Vc) in temporally successive sampling intervals exceeds first predefined threshold values (Vs1); d) if an abrupt braking (Fb) is identified, capturing a second dataset (Set2) by second sensors (S2) embedded in the device (10), and identifying an accident condition (Ci) by comparing values associated with the second dataset (Set2) and second predefined threshold values (Vs2), said second dataset (Set2) being representative of the conditions inside the vehicle; e) if an accident condition (Ci) is identified, generating a first accident signal (Si1); f) sending the first accident signal (Si1) from the mobile device (10) associated with the user to one or more external devices (20) placed in signal communication with each other, at least one external device (20) being associated with the rescue services.

GEOLOCATION OF KEY CRITICAL DRIVER BEHAVIOR AND SAFETY HAZARDS

NºPublicación:  EP4639512A1 29/10/2025
Solicitante: 
ARRIVER SOFTWARE LLC [US]
Arriver Software LLC
KR_20250124104_PA

Resumen de: CN120345016A

Systems, apparatus, processes, and computer-readable media for wireless communication are disclosed. For example, an example of the process may include obtaining sensor data using one or more sensors of a vehicle. The processors may include determining, by one or more processors of the vehicle, an event based on the sensor data. The processors may also include determining, by one or more processors of the vehicle, a location of the vehicle associated with the event.

SYSTEM AND METHOD FOR MONITORING HYDROGEOLOGICAL RISK

NºPublicación:  ES3040120T3 28/10/2025
Solicitante: 
OFFICINE MACCAFERRI S P A
Officine Maccaferri S.p.A
JP_2025000826_PA

Resumen de: JP2025000826A

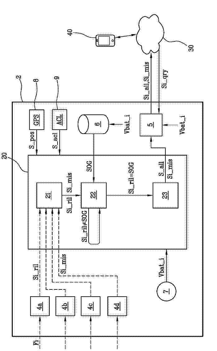
To provide an electronic device for monitoring a moisture geological phenomenon, adapted to detect stress pf a control surface.SOLUTION: An electronic device (2) includes: a box-type casing (3) placed on a control surface (S); one or a plurality of detection elements (4a, 4b, 4c and 4d) configured to convert a mechanical signal (Fi) into an electric signal (Si_ril) having characteristics of a mechanical load acting on the control surface (S); a signal transceiver (5) configured to transmit and receive data; a memory unit (6) including a threshold value (SOG); a power supply (7) configured to supply power to various kinds of elements of the electronic device (2); and a processing unit (20) configured to process moisture geological risk monitoring data. The present invention also describes the electronic device (2) for monitoring a moisture geological phenomenon, adapted to detect stress of a debris flow. The present invention also describes a corresponding method for monitoring the moisture geological phenomenon.SELECTED DRAWING: Figure 2

DYNAMIC PEDESTRIAN ACCESS TERMINAL

NºPublicación:  WO2025217714A1 23/10/2025
Solicitante: 
RSG INT CORP [CA]
RSG INTERNATIONAL CORP
WO_2025217714_PA

Resumen de: WO2025217714A1

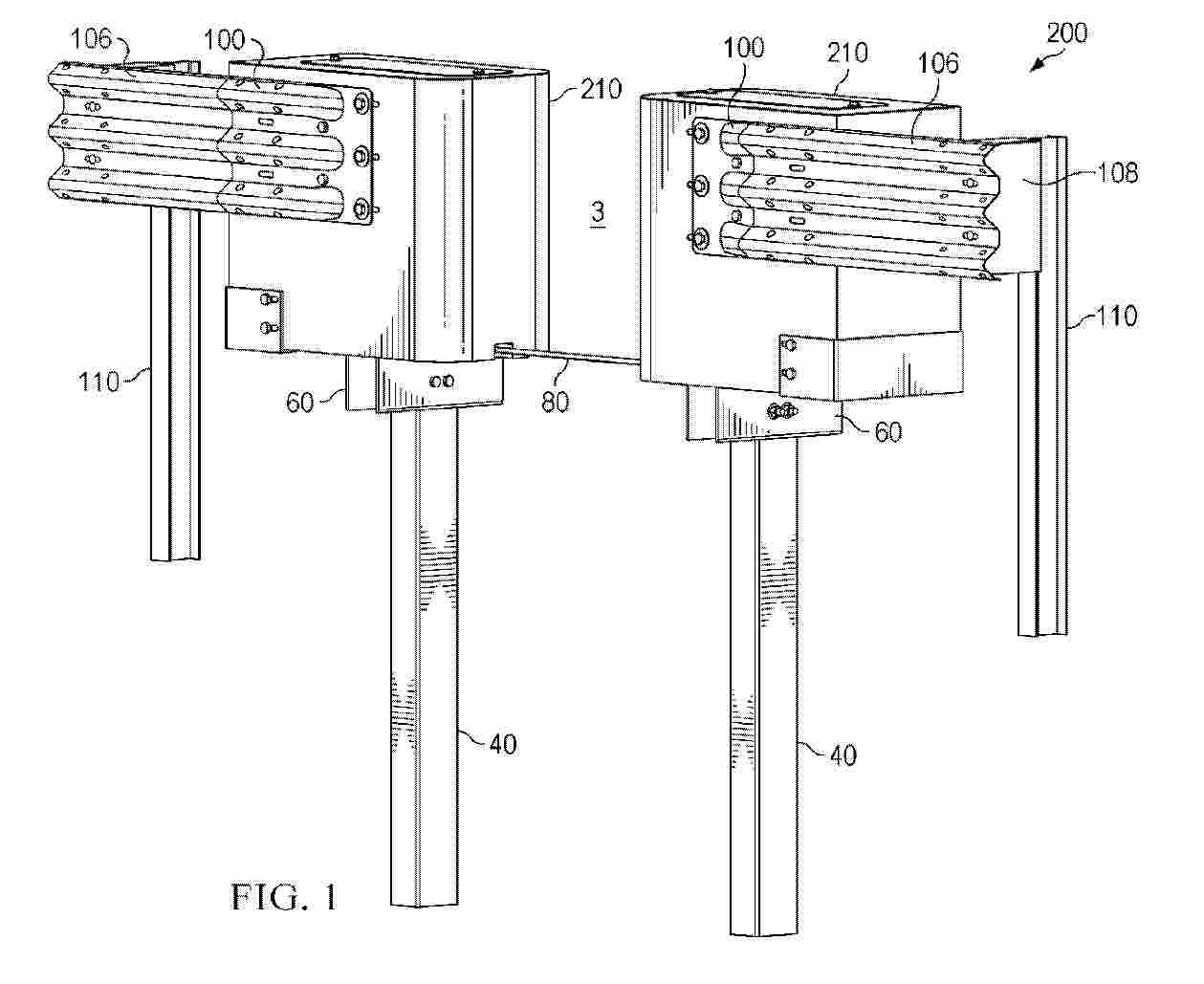
A dynamic pedestrian access terminal is disclosed having a pair of spaced apart terminal blocks for pedestrian passage along a roadway. The bottom portions of the terminal blocks are set beneath the surface. Foundation posts are vertically positioned below the surface and extend upward into each terminal block. A tensioning member extends between the foundation posts and beneath the terminal blocks to increase resistance to lateral movement. Soil plates may be attached to the foundation posts to further resist lateral movement. An internal attenuator is positioned in a compression chamber within each terminal block. An external attenuator may be positioned in a recess positioned at the bottom rear of each terminal block.

DYNAMIC PEDESTRIAN ACCESS TERMINAL

NºPublicación:  WO2025217715A1 23/10/2025
Solicitante: 
RSG INT CORP [CA]
RSG INTERNATIONAL CORP
WO_2025217715_PA

Resumen de: WO2025217715A1

A dynamic pedestrian access terminal is disclosed having a pair of spaced apart terminal blocks for pedestrian passage along a roadway. The bottom portions of the terminal blocks are set beneath the surface. Foundation posts are vertically positioned below the surface and extend upward into each terminal block. A tensioning member extends between the foundation posts and beneath the terminal blocks to increase resistance to lateral movement. Soil plates may be attached to the foundation posts to further resist lateral movement. An internal attenuator is positioned in a compression chamber within each terminal block. An external attenuator may be positioned in a recess positioned at the bottom rear of each terminal block.

ROAD DELINEATION DEVICE

NºPublicación:  WO2025219850A1 23/10/2025
Solicitante: 
MOVYON S P A [IT]
MOVYON S.P.A
WO_2025219850_PA

Resumen de: WO2025219850A1

A road delineation device suitable for delineating the edge of a roadway section of a road infrastructure is described. The device comprises a light source which emits a plurality of light rays and a reflector which reflects at least part of the plurality of light rays emitted by the light source, the reflector defining an opening through which the plurality of light rays emitted by the light source exits the device. When the device is installed along the edge of the roadway section, the light source is at least partially positioned externally with respect to a substantially vertical plane, substantially parallel to the direction of extension of the roadway section and externally tangential to the opening of the reflector. Moreover, the reflector is configured to, when the device is installed along the edge of the roadway section, reflect the at least part of the plurality of light rays emitted by the light source towards the inside of the roadway section.

ROCKFALL PRE-SENSING ACTIVE AVOIDING TYPE STEEL COLUMN SUPPORTING SYSTEM

NºPublicación:  WO2025219594A1 23/10/2025
Solicitante: 
NV BEKAERT SA [BE]
NV BEKAERT SA
WO_2025219594_PA

Resumen de: WO2025219594A1

The present invention relates to the technical field of slope rockfall protection, and provides a rockfall pre-sensing active avoiding type steel column supporting system which comprises a rotatable column foot, a deflection steel column, a pulley node, a pre-sensing upper pulling anchor rope and a connecting piece. A bottom lug plate of the deflection steel column is provided with a hole, the fit tolerance of a diameter of the hole and a diameter of a pin shaft is large, so as to help the steel column to rotate in a horizontal direction. The pulley node is provided with double pulleys, a pre-sensing pull-up anchor rope is wound on each of the two pulleys, two anchor points of each rope are distributed on two sides of a projection line (hereinafter referred to as the projection line) of an initial axis of the steel column on a slope surface, one anchor point is near the projection line, and the other anchor point is far away from the projection line. Before falling rocks impact the steel column, the pull-up anchor rope on one side near the projection line is firstly impacted, and the steel column deflects towards the other side under the action of a resultant force of the pull-up anchor rope, so that falling rock impact can be avoided or impact damage of the steel column can be reduced. The protection problem that falling rocks directly impact the steel columns is solved, and the impact resistance reliability and disaster prevention toughness of the passive nets are greatly i

INFORMATION PROCESSING DEVICE, INFORMATION PROCESSING SYSTEM, PROGRAM, AND INFORMATION PROCESSING METHOD

NºPublicación:  WO2025220522A1 23/10/2025
Solicitante: 
SONY GROUP CORP [JP]
\u30BD\u30CB\u30FC\u30B0\u30EB\u30FC\u30D7\u682A\u5F0F\u4F1A\u793E
WO_2025220522_PA

Resumen de: WO2025220522A1

The information processing device according to the present technology comprises a dangerous driving extraction unit, a road feature acquisition unit, a calculation model generation unit, a determination model generation unit, and a driving danger evaluation unit. The dangerous driving extraction unit extracts dangerous driving behaviour on the basis of sensor data. On the basis of the sensor data, the road feature acquisition unit acquires a road feature of a road on which the vehicle was travelling at the time of the dangerous driving behaviour. On the basis of the dangerous driving behaviour and the road feature, the calculation model generation unit generates a calculation model for calculating a degree of driving danger of a driver. The determination model generation unit generates a determination model in which the relationship between accident probability and the degree of driving danger is modelled. The driving danger evaluation unit uses the calculation model and the determination model to evaluate the degree of driving danger of the driver on a specific road according to the accident probability.

VEHICLE DATA COLLECTION DEVICE AND VEHICLE DATA COLLECTION METHOD

NºPublicación:  WO2025220447A1 23/10/2025
Solicitante: 
ASTEMO LTD [JP]
\uFF21\uFF53\uFF54\uFF45\uFF4D\uFF4F\u682A\u5F0F\u4F1A\u793E
WO_2025220447_PA

Resumen de: WO2025220447A1

A data collection device disclosed herein includes: a data storage unit for storing time-series data indicating the behavior of one or more other vehicles acquired by an external detection device mounted on a vehicle; a scenario detection unit for detecting the initiation of a scenario, defined as a data collection target, when the termination of the scenario is detected; and a collection target data determination unit for determining, on the basis of the timing of the initiation and termination of the scenario, to-be-collected time-series data from the time-series data stored in the data storage unit.

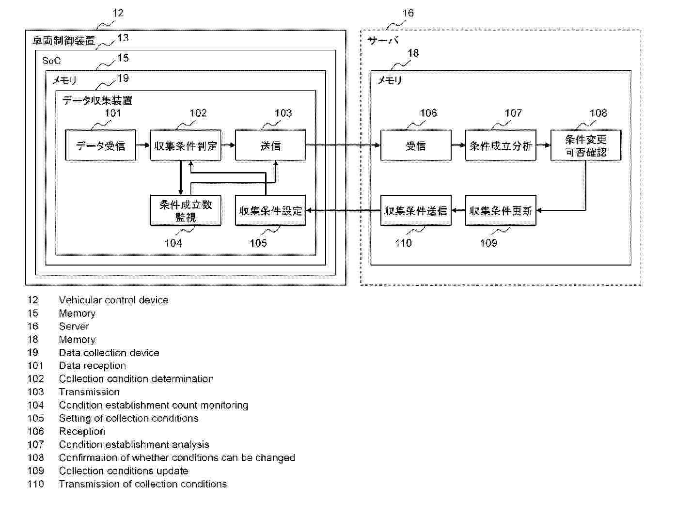
DATA COLLECTION SYSTEM, DATA COLLECTION DEVICE, SERVER, AND DATA COLLECTION METHOD

Nº publicación: WO2025220194A1 23/10/2025

Solicitante:

ASTEMO LTD [JP]
\uFF21\uFF53\uFF54\uFF45\uFF4D\uFF4F\u682A\u5F0F\u4F1A\u793E

WO_2025220194_PA

Resumen de: WO2025220194A1

This data collection system comprises a data collection device and a server. The data collection device includes: a collection condition determination unit that determines whether to collect input data in accordance with set collection conditions; a condition establishment monitoring unit that measures an establishment count for each condition element of the collection conditions; a condition establishment information transmission unit that transmits the measured establishment counts to the server at a predetermined timing; and a collection condition setting unit that receives collection conditions from the server and sets the received collection conditions in the collection condition determination unit. The server includes a condition establishment analysis unit for calculating the sum of the establishment counts of each of the condition elements of the measured collection conditions on the basis of the establishment counts received from the data collection device, a collection conditions update unit for updating the collection conditions on the basis of the sum of the establishment counts, and a collection condition transmission unit for transmitting the updated collection conditions to the data collection device.

traducir