Ministerio de Industria, Turismo y Comercio LogoMinisterior
 

Alerta

Resultados 59 resultados
LastUpdate Última actualización 11/04/2026 [06:59:00]
pdfxls
Solicitudes publicadas en los últimos 30 días / Applications published in the last 30 days
previousPage Resultados 50 a 59 de 59  

METHOD FOR TRANSMITTING INFORMATION IN A DISTRIBUTED SYSTEM

NºPublicación:  WO2026052372A1 12/03/2026
Solicitante: 
ROBERT BOSCH GMBH [DE]
ROBERT BOSCH GMBH
WO_2026052372_PA

Resumen de: WO2026052372A1

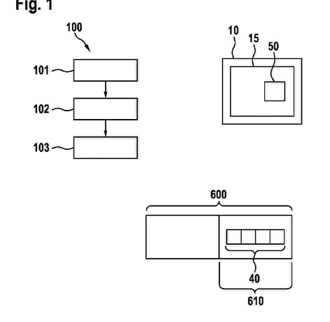
The invention relates to a method (100) for transmitting information in a distributed system, comprising - estimating (101) information available at at least one sink node of the distributed system, - evaluating (102) a relative information gain (30) of information (40) available at one or more source nodes of the distributed system in relation to the estimated (101) information available at the at least one sink node on the basis of a function, wherein the function depends on at least one probability distribution of the information (40) available at the at least one sink node and/or at the at least one source node, - requesting (103) an allocation of resources in a network on the basis of the evaluated (102) relative information gain (30) in order to prioritise the transmission of the information (40) and thus to maximise an expected information gain for the at least one sink node.

ROAD SURFACE DETERMINATION METHOD AND ROAD SURFACE DETERMINATION DEVICE

NºPublicación:  WO2026053393A1 12/03/2026
Solicitante: 
NISSAN MOTOR CO LTD [JP]
\u65E5\u7523\u81EA\u52D5\u8ECA\u682A\u5F0F\u4F1A\u793E
WO_2026053393_PA

Resumen de: WO2026053393A1

A road surface determination method according to the present invention is performed in a vehicle comprising a detection means for detecting a situation around the vehicle, a course indication means for indicating a course of the vehicle, and a determination means for determining a road surface state around the vehicle from the situation around the vehicle detected by the detection means. Before steering is performed in the vehicle, the road surface state is determined by the determination means for at least one candidate course of the vehicle after the steering.

METHOD FOR DETERMINING SAFETY-CRITICAL REGIONS ALONG MOTORWAY-LIKE ROADS

NºPublicación:  WO2026052283A1 12/03/2026
Solicitante: 
MERCEDES BENZ GROUP AG [DE]
MERCEDES-BENZ GROUP AG
WO_2026052283_PA

Resumen de: WO2026052283A1

The invention relates to a method for determining at least one safety-critical peak region (R1, R2, R3) on the basis of an indicator value (Z) for statistical characterization of event descriptions detected by at least one vehicle in a location-related manner, wherein those inflow- and outflow-free road sections of which the section length is greater than or equal to a predetermined minimum section length are identified on the basis of a road map or navigation map. Identified road sections which adjoin one another are connected to form in each case a section chain (10) with a starting point (11) and an end point (12). Event descriptions comprising a geoposition (P1, P2) and at least one parameter of a vehicle environment model are detected by vehicles and transferred to an analysis system. The analysis system in each case assigns a nearest road network location (O1, O2) of a section chain (10) to a geoposition (P1, P2) of an event description and describes it by a longitudinal distance (L, L1, L2) in relation to the starting point (11) of the section chain (10). For at least one section chain (10), a profile of a density value (p) of event descriptions that is related to the longitudinal distance (L, L1, L2) from the starting point (11) is determined by means of a kernel density estimator of a predetermined bandwidth. The profile of the density value (p) is transformed, using local, bandwidth-related, Z standardization, into a Z profile (Z1, Z2) of a Z value (Z) which is mean

TRAJECTORY PREDICTION METHOD AND APPARATUS FOR TRAFFIC INTERSECTION SCENARIO, AND TERMINAL AND STORAGE MEDIUM

NºPublicación:  WO2026051259A1 12/03/2026
Solicitante: 
SHENZHEN POLYTECHNIC UNIV [CN]
\u6DF1\u5733\u804C\u4E1A\u6280\u672F\u5927\u5B66
WO_2026051259_PA

Resumen de: WO2026051259A1

A trajectory prediction method and apparatus for a traffic intersection scenario, and a terminal and a storage medium. The method comprises: acquiring a road scenario, statuses of traffic signal lights, and historical motion trajectories (S100); on the basis of the road scenario, constructing several directed graphs, wherein the directed graphs are used for simulating an interaction relationship between moving entities in the road scenario (S200); on the basis of the historical motion trajectories and the directed graphs, obtaining spatiotemporal features of the moving entities (S300); on the basis of the statuses of the traffic signal lights and the historical motion trajectories, determining several candidate moving action probabilities of a vehicle (S400); and on the basis of the spatiotemporal features and the candidate moving action probabilities, determining a motion trajectory to be followed by the vehicle (S500). Thus, significantly different moving patterns can be distinguished and predicted more accurately, thereby effectively solving the problem in the prior art of it being difficult to achieve high accuracy in predicting the behaviors of moving entities within traffic intersections.

AN UNMANNED AERIAL VEHICLE

NºPublicación:  WO2026054730A1 12/03/2026
Solicitante: 
A2 TEKNOLOJI LTD SIRKETI [TR]
A2 TEKNOLOJI LIMITED SIRKETI
WO_2026054730_PA

Resumen de: WO2026054730A1

The invention relates to an unmanned aerial vehicle (10) with a fuselage including at least one flight mechanism which allows at least one vehicle within a line of sight to hover in the air to detect a traffic violation. Accordingly, the novelty of the invention is to comprise at least one image capture unit (11) disposed on said fuselage to obtain an image of said vehicle; a communication unit (16) to exchange data with a server (20); and a processor unit for detecting the number plate information of the vehicle from the image taken from said image capture unit (11), comparing a violation image of the vehicle from the image obtained from the image capture unit and a reference traffic violation image and transmitting violation data containing the violation image of the vehicle and the number plate information of said vehicle to said server via said communication unit if the violation image of the vehicle is different from the reference traffic violation image as a result of the comparison.

MOBILE BODY MANAGEMENT SYSTEM, MOBILE BODY MANAGEMENT METHOD, AND PROGRAM

NºPublicación:  WO2026053461A1 12/03/2026
Solicitante: 
MITSUBISHI HEAVY IND LTD [JP]
\u4E09\u83F1\u91CD\u5DE5\u696D\u682A\u5F0F\u4F1A\u793E
WO_2026053461_PA

Resumen de: WO2026053461A1

Provided are a mobile body management system, a mobile body management method, and a program, whereby a mobile body is appropriately moved in consideration of multiple operations. A mobile body management system according to the present disclosure comprises: a route search unit that sets a movement route for a mobile body to arrive at a target position from a start position at which the mobile body starts to move; and a determination unit that determines both a travel method indicating the specific orientation of a vehicle body of the mobile body to be set as the travel direction when the mobile body passes through the movement route and a turning method for the mobile body, such that an arrival time until the mobile body arrives at the target position through travel along the movement route is optimized.

RADIO WAVE SENSOR, RADIO WAVE SENSOR SETTING SUPPORT METHOD, AND COMPUTER PROGRAM

NºPublicación:  WO2026053775A1 12/03/2026
Solicitante: 
SUMITOMO ELECTRIC IND LTD [JP]
\u4F4F\u53CB\u96FB\u6C17\u5DE5\u696D\u682A\u5F0F\u4F1A\u793E
WO_2026053775_PA

Resumen de: WO2026053775A1

A radio wave sensor detects an object that is moving in a target area on a road. When a first portion of the target area is included in a detectable area in which an object can be detected and a second portion of the target area is not included in the detectable area, the radio wave sensor acquires a detection result of the object that is moving in the target area. In the radio wave sensor, a virtual detection area for detecting objects on the road is determined on the basis of a first definition point that is determined on the basis of the detection result and defines the first portion in the detectable area, and a second definition point that is estimated on the basis of the detection result and defines the second portion outside the detectable area.

Trípode para señal de tráfico

NºPublicación:  ES1328039U 12/03/2026
Solicitante: 
NODO MEGA Z S L [ES]
NODO MEGA Z S.L

IMAGE PROCESSING SYSTEM AND IMAGE PROCESSING METHOD

Nº publicación: WO2026053889A1 12/03/2026

Solicitante:

MAIMEDIA INC [JP]
\u682A\u5F0F\u4F1A\u793E\u30DE\u30A4\u30E1\u30C7\u30A3\u30A2

WO_2026053889_PA

Resumen de: WO2026053889A1

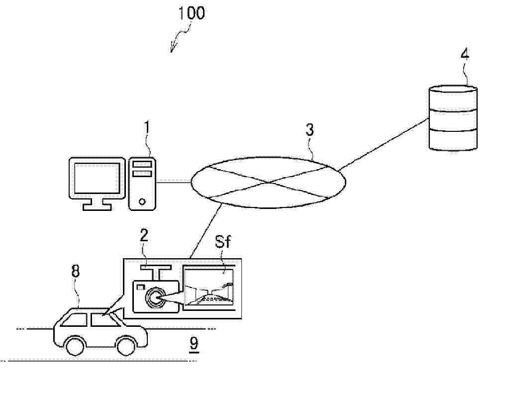
Problem To provide an image processing system and an image processing method capable of evaluating the state of a road with high accuracy. Solution An image processing system 100 uses an image Sf of a road 9 captured via a moving body 8 that is moving, and is characterized by comprising an acquiring unit, a generating unit, a connecting unit, and an evaluating unit. The acquiring unit acquires a plurality of the images Sf, each including an imaging time and an orientation. The generating unit generates a plurality of orthoimages associated with the plurality of images Sf by orthorectification of the road 9 included in the images Sf. The connecting unit generates a connected image in which the plurality of orthoimages are connected, on the basis of the imaging times and the orientations. The evaluating unit evaluates the state of the road on the basis of the connected image.

traducir