Ministerio de Industria, Turismo y Comercio LogoMinisterior
 

Alerta

Resultados 125 resultados
LastUpdate Última actualización 10/01/2026 [07:56:00]
pdfxls
Publicaciones de los últimos 120 días / Applications published in the last 120 days
Resultados 1 a 25 de 125 nextPage  

Structure flottante de stockage à flot d’un organe constitutif d’une ou plusieurs éoliennes flottantes

NºPublicación:  FR3164182A1 09/01/2026
Solicitante: 
SAFIER INGENIERIE SA [FR]
SAFIER INGENIERIE SA
FR_3164182_PA

Resumen de: FR3164182A1

Titre de l’invention : Structure flottante de stockage à flot d’un organe constitutif d’une ou plusieurs éoliennes flottantes La présente invention concerne une structure flottante de stockage (2) à flot d’un organe constitutif d’une ou plusieurs éoliennes flottantes (4), comprenant un moyen de flottaison comprenant au moins un organe de flottaison (20) destiné à être immergé et au moins un élément de flottaison (22) solidaire de l’organe de flottaison (20), la plateforme flottante de stockage (2) comprenant au moins un volume de réception (12) d’un organe constitutif de l’éolienne flottante (4). Figure de l’abrégé : Figure 1

FLOATING STORAGE STRUCTURE FOR STORING AFLOAT A CONSTITUENT MEMBER OF ONE OR MORE FLOATING WIND TURBINES

NºPublicación:  WO2026008940A1 08/01/2026
Solicitante: 
SAFIER INGENIERIE [FR]
SAFIER INGENIERIE
FR_3164182_PA

Resumen de: WO2026008940A1

The present invention relates to a floating storage structure (2) for storing afloat a constituent member one or more floating wind turbines (4), comprising a flotation means comprising at least one flotation member (20) intended to be submerged and at least one flotation element (22) secured to the flotation member (20), the floating storage platform (2) comprising at least one volume (12) for receiving a constituent member of the floating wind turbine (4).

FLOATING WIND TURBINE OR EQUIPMENT FOUNDATIONS

NºPublicación:  WO2026008741A1 08/01/2026
Solicitante: 
AKER SOLUTIONS AS [NO]
AKER SOLUTIONS AS

Resumen de: WO2026008741A1

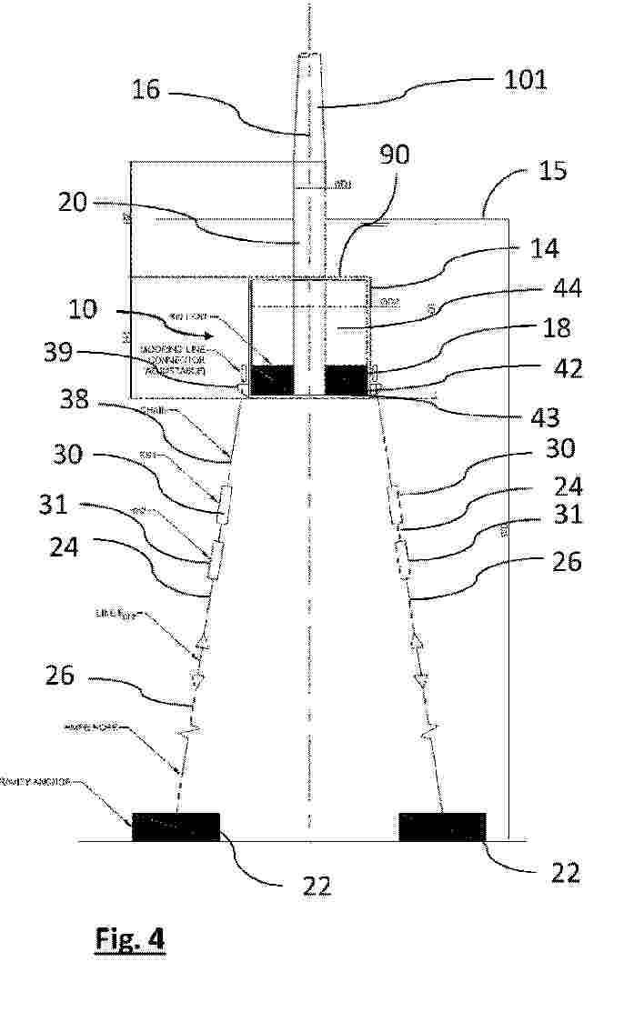
A floatable foundation (100) for a wind turbine generator and/or electrical equipment (61), the foundation (100) comprising: a central column structure (10,11,12); at least three outer column members (20,21,22) disposed about the central column structure (10,11,12); at least three horizontally extending lower connection members, such as pontoon members (30,31,32), each horizontally extending lower connection member fixed to and extending between the central column structure (10,11,12) and a respective one of the at least three outer column members (20,21,22); and three horizontally extending upper connection members, such as beam members (40,41,42), each horizontally extending upper connection member fixed to and extending between the central column structure (10,11,12) and a respective one of the at least three outer column members (20,21,22), wherein each column member (20,21,22) comprises a ballast tank (81) configured for holding water ballast and the ballast tank (81) vertically spans a design waterline (91) of the respective column member (20,21,22).

MOORING LINE FOR A FLOATING PLATFORM, INCLUDING A SEGMENT COMPRISING AN ELASTOMERIC MATERIAL

NºPublicación:  EP4674745A1 07/01/2026
Solicitante: 
TOTALENERGIES ONETECH [FR]
TECHLAM [FR]
TotalEnergies OneTech,
Techlam
EP_4674745_PA

Resumen de: EP4674745A1

A mooring including a segment (24) comprising two extremities (26, 28), and strands (30) comprising an elastomeric material and extending between the two extremities along a longitudinal direction (L) when the strands are subject to tensioning efforts,each of the strands having two end parts (44) and a median part (46) along the longitudinal direction,the median part having a cross-section (8) with an elongated shape in a first transverse direction (T1) perpendicular to the longitudinal direction, and a width (L2) in a second transverse direction (T2) perpendicular to the first transverse direction,at least one of the two extremities comprising steel and being adapted for applying the tensioning efforts,one of the two end parts having an enlarged portion (52) with a maximum width (L3) along the second transverse direction when the strands are at rest and parallel to each other, the maximum width being greater than the width (L2).

APPARATUS FOR PRODUCING, STORING, AND CONSUMING CARBON-FREE ENERGY

NºPublicación:  WO2026005270A1 02/01/2026
Solicitante: 
LEE JI NAM [KR]
\uC774\uC9C0\uB0A8

Resumen de: WO2026005270A1

The present invention relates to an apparatus for producing, storing, and consuming carbon-free energy. To this end, the present invention comprises: an underwater tank which is installed underwater with an opened bottom surface so that water can flow in through the bottom surface; an air suction pipe of which one end is located in the water filled in the underwater tank through the opened bottom surface of the underwater tank and the other end is located outside the underwater tank so as to supply compressed air into the underwater tank; a transport pipe of which one end is connected to the upper side in the underwater tank through the upper surface of the underwater tank so as to discharge and transport the compressed air generated in the upper side in the underwater tank; a storage tank which is connected to the transport pipe and stores the compressed air discharged and transported through the transport pipe; a cooling device which is connected to one side of the storage tank and cools down the compressed air discharged from the storage tank to transform the compressed air into compressed air of low temperature; a heating device which is connected to the other side of the storage tank and heats the compressed air discharged from the storage tank in order to transform the compressed air into compressed air of high temperature; an electricity generation device which is connected to the heating device and drives a power generator by using the compressed air discharged from t

METHOD OF CONSTRUCTING CONCRETE FLOATING BODY FOR FLOATING TYPE OFFSHORE WIND POWER GENERATION FACILITY

NºPublicación:  WO2026004793A1 02/01/2026
Solicitante: 
TODA CORP [JP]
\u6238\u7530\u5EFA\u8A2D\u682A\u5F0F\u4F1A\u793E

Resumen de: WO2026004793A1

Problem To improve the efficiency of assembly work by saving labor required for tensioning and anchoring work of PC steel material in a method of constructing a concrete floating body. Solution PC steel materials 19 are sorted in advance into a group of PC steel rods 20 to be used for temporarily assembling precast cylindrical bodies in order, and a group of PC steel strands 23 to be used for introducing predetermined tension after completing temporary assembly of a concrete floating body. In a temporary assembly step of a concrete floating body 4A, the temporary assembly of the concrete floating body 4A is completed by assembling all precast cylindrical bodies 15 while introducing tension to the PC steel rods 20 and anchoring the group of PC rods 20, each time the precast cylindrical bodies 15 are connected sequentially, and installing a floating body bottom part 29 on the endmost part. In a tension introduction step, the PC steel strands 23 are inserted in the longitudinal direction over the entire length of the concrete floating body 4A, and introduction of tension to the PC steel strands 23 and anchoring are performed for the group of PC steel strands 23.

METHOD FOR CONSTRUCTING SPAR-TYPE OFFSHORE WIND POWER GENERATION FACILITY

NºPublicación:  WO2025263115A1 26/12/2025
Solicitante: 
TODA CORP [JP]
\u6238\u7530\u5EFA\u8A2D\u682A\u5F0F\u4F1A\u793E

Resumen de: WO2025263115A1

Problem To provide a method for constructing a spar-type offshore wind power generation facility while simply compensating shortage of crane lift height of a SEP barge equipped with a crane. Solution This method comprises: a first step for assembling an upper structure body 12 on a semi-submersible spud barge 46 by using a SEP barge 14 equipped with a crane, while using the semi-submersible spud barge 46 as an assembling frame 13 in a sea area of relatively calm waves, with the semi-submersible spud barge 46 being submerged or set on the seabed; a second step for lifting the assembled upper structure body 12 all at once by a large crane ship 2 and carrying the assembled upper structure body 12 to a construction place of an offshore wind power generation facility 1, after floating the assembling frame 13; a third step for holding a floating body 4 on the ocean in a standing state; and a fourth step for completing the offshore wind power generation facility 1 by connecting the upper structure body 12 to an upper part of the floating body 4 while the upper structure body 12 is lifted by the large crane ship 2.

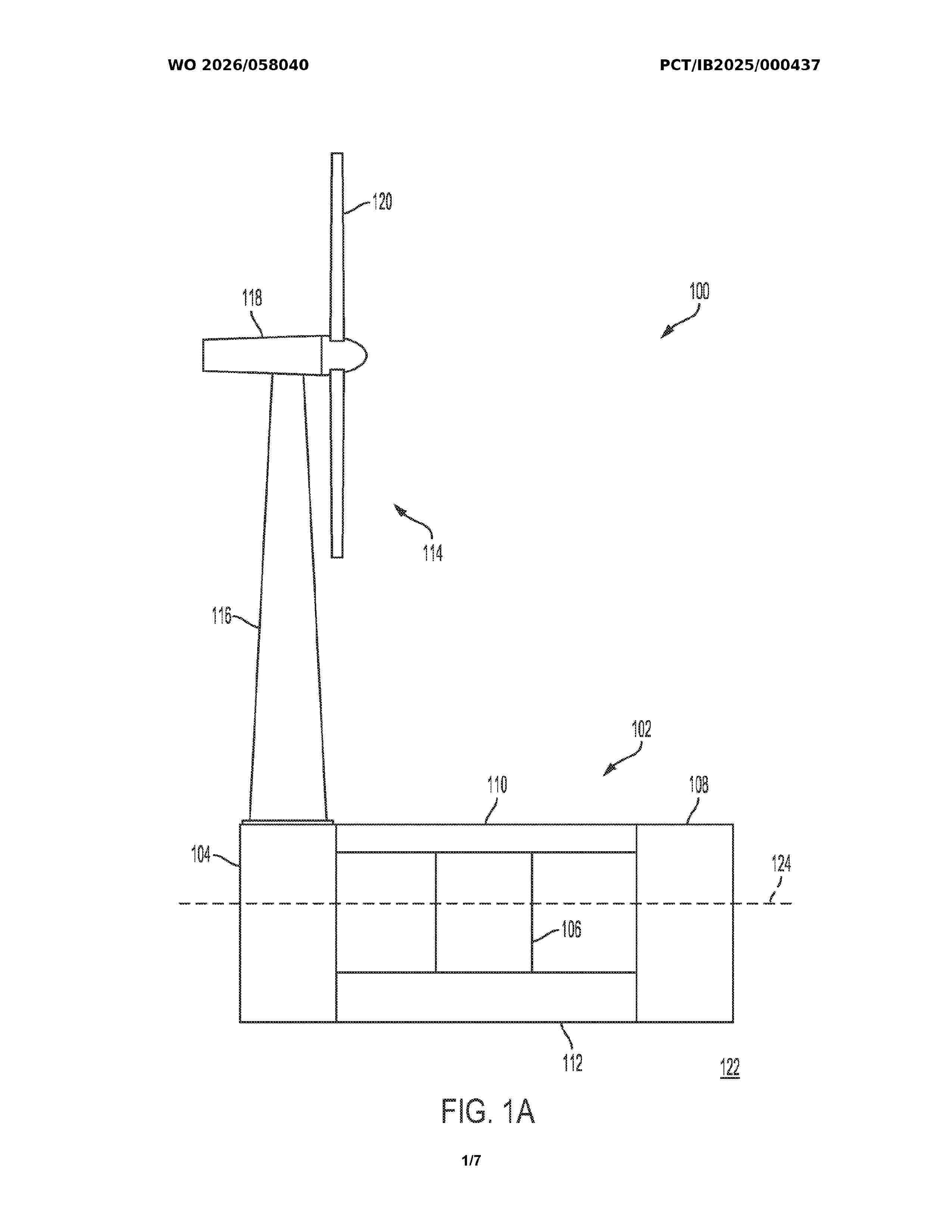
FLOATING WIND TURBINE FOUNDATION

NºPublicación:  EP4665644A1 24/12/2025
Solicitante: 
ODFJELL OCEANWIND AS [NO]
Odfjell Oceanwind AS
KR_20250172554_PA

Resumen de: AU2024223226A1

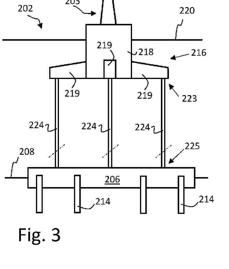
The present invention relates to an offshore floating wind turbine foundation comprising at least two outer members arranged around a tower comprising a rotor- nacelle assembly with blades, wherein a number of pair of beams connect the center buoy and said at least two outer members, a pair of beams tapers from the tower towards each of said at least two outer members.

FLOATING OFFSHORE STRUCTURE AND FLOATING OFFSHORE POWER GENERATION APPARATUS HAVING SAME

NºPublicación:  EP4667346A1 24/12/2025
Solicitante: 
HYUN DAI HEAVY IND CO LTD [KR]
Hyundai Heavy Industries Co., Ltd
EP_4667346_A1

Resumen de: EP4667346A1

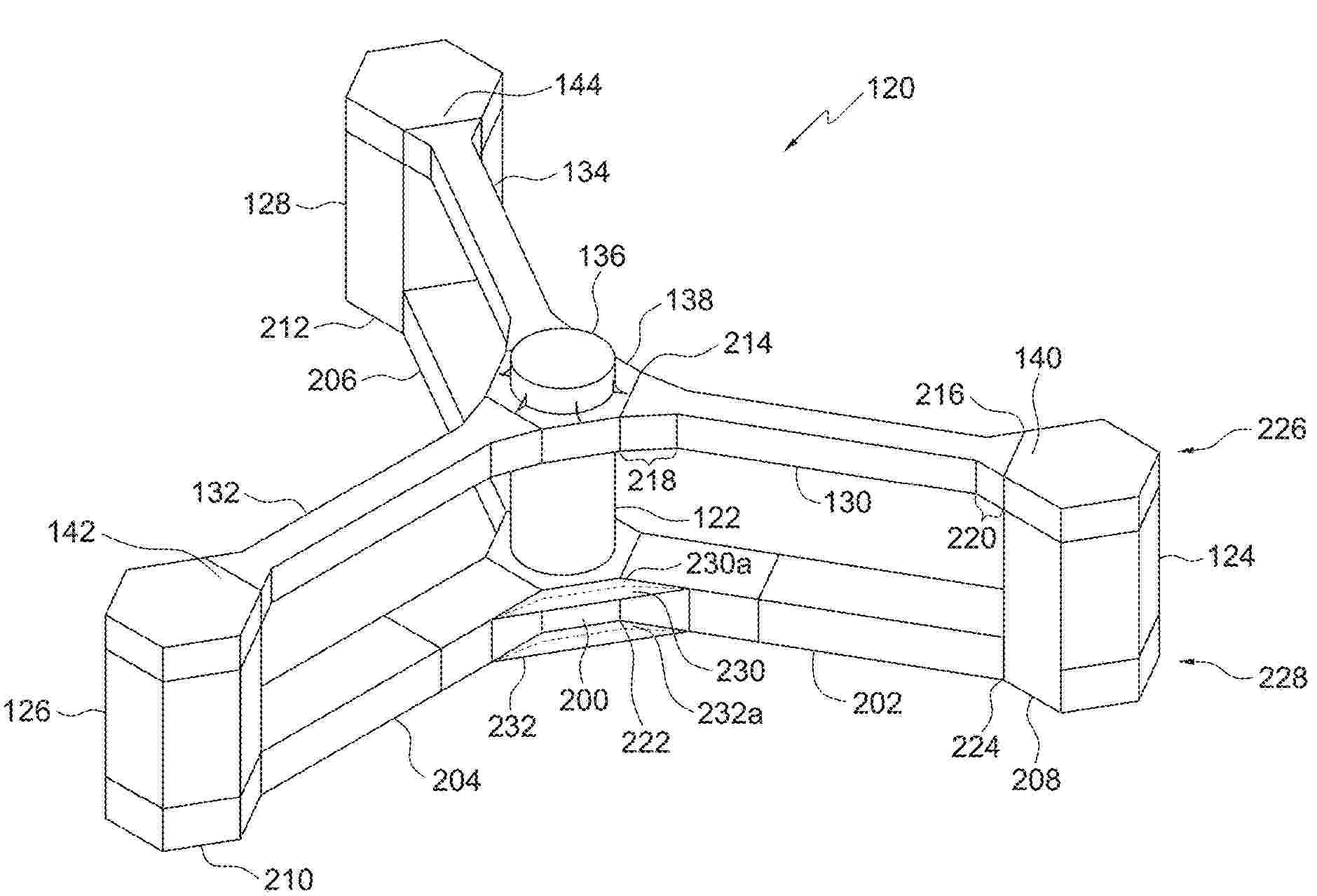
A floating offshore structure of the present disclosure includes: a plurality of columns; and a plurality of pontoons installed at lower ends of the columns, respectively, wherein a polygonal shape is formed by an imaginary line connecting the columns, the pontoons are installed inside the polygonal shape, a cross-sectional area in a direction parallel to sea level of the pontoons is greater than or equal to the cross-sectional area in the direction parallel to the sea level of the columns, and the pontoons may have a shape protruding outward at the lower ends of the columns.

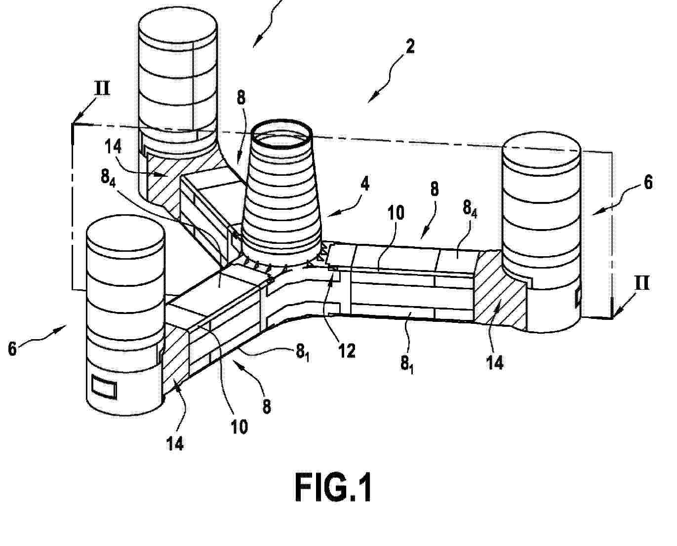
SEMI-SUBMERSIBLE FLOAT FOR AN OFFSHORE WIND TURBINE AND METHOD FOR CONSTRUCTING SUCH A FLOAT

NºPublicación:  EP4665641A1 24/12/2025
Solicitante: 
SAIPEM SA [FR]
SAIPEM S.A
KR_20250152610_PA

Resumen de: CN120603757A

The invention relates to a semi-submersible float (2-1), in particular for offshore wind turbines, comprising four struts comprising a central column (4) for receiving a wind turbine mast (6), and at least three outer columns (8) connected by branches to the central column to form a lower buoy (10). The float does not have an upper branch connecting the central column and the outer column, and the outer column and the lower pontoon are each assembled from planar panels (81-86, 101-104) and each have a polyhedral cross-section. The invention also relates to a method for constructing the floater.

OFFSHORE WIND PLATFORM WITH FOLDING RADIAL BRACES

NºPublicación:  WO2025257183A1 18/12/2025
Solicitante: 
MARINE POWER SYSTEMS LTD [GB]
MARINE POWER SYSTEMS LIMITED
WO_2025257183_A1

Resumen de: WO2025257183A1

A platform arranged to support a renewable energy system, the platform comprising a central structure (103), wherein the central structure comprises at least three pivot connections (104); and at least three radial arms (102), each radial arm configured to be pivotably connected to a respective pivot connection of the central structure such that each of the at least three radial arms are configured to pivot between a folded configuration and an unfolded configuration.

BUOYANT PLATFORM

NºPublicación:  WO2025256775A1 18/12/2025
Solicitante: 
MARINE POWER SYSTEMS LTD [GB]
MARINE POWER SYSTEMS LIMITED
WO_2025256775_A1

Resumen de: WO2025256775A1

There is described a buoyant platform comprising at least one buoyant chamber arranged distal a central axis of the buoyant platform, the buoyant chamber comprising at least two dissimilar sections such that a waterplane area of the buoyant chamber varies with a draught of the buoyant chamber By adjusting a waterplane area of the buoyant chamber, a hydrostatic stiffness matrix of the buoyant chamber may also be varied. The buoyant chamber may be removably retained on the buoyant platform. In addition, a buoyant chamber configured to be connected to a buoyant platform is described.

FLOATING POWER GENERATION UNIT

NºPublicación:  US2025382035A1 18/12/2025
Solicitante: 
ANZAI SATOSHI [JP]
ANZAI Satoshi
US_2025382035_PA

Resumen de: US2025382035A1

A floating power generation unit is provided which, by dispersing oxygen content in water as fine air bubbles while generating power on the water, increases the activity of aerobic organisms, promotes plankton growth, and improves fishing grounds. This floating power generation unit is provided with a power generator, an oxygen separator, and a float. The power generator and the oxygen separator are arranged on the top surface of the float. The floating power generation unit is provided with a first fine air bubble generating medium which supplies the oxygen separated by the oxygen separator into the water as fine air bubbles and is provided with a second fine air bubble generating medium which supplies the nitrogen separated by the oxygen separator into the water as fine air bubbles.

SYSTEM AND METHOD TO DETACHABLY ARRANGE EQUIPMENT ONTO A FLOATING RENEWABLE ENERGY STRUCTURE

NºPublicación:  WO2025257371A1 18/12/2025
Solicitante: 
TECHNIP UK LTD [GB]
TECHNIP UK LIMITED
WO_2025257371_A1

Resumen de: WO2025257371A1

A system to detachably arrange equipment (20) onto a floating renewable energy structure (10). The system comprising a first unit (100) attachable to a periphery of the structure (10) and configured for receiving a second unit (200) on a landing base (110) of the first unit (100); and the second unit (200) comprising a base (210) for the equipment (20) and the equipment (20); the first unit (100) and the second unit (200) being connectable to each other by a connection system. The connection system comprises a female connector (120) on one unit (100, 200) and a male connector (220) on the other unit (200, 100), respectively; and first and second alignment means (310, 320, 330, 340) on each unit (100, 200); and a fixing mechanism (500) for releasably locking the first unit (100) with the second unit (200).

A STABILISATION SYSTEM AND ASSEMBLY FOR USE IN DEEP WATER OFFSHORE

NºPublicación:  EP4662112A1 17/12/2025
Solicitante: 
PEACE STEVEN [GB]
Peace, Steven
KR_20250145663_PA

Resumen de: CN120752175A

A stabilization assembly for deep water. The assembly includes a telescopic mast for securing within a moon pool of a floating support vessel. The securing mechanism includes a gimbal secured within the moon pool by which the mast is suspended to allow movement of the hull relative to the mast during use.

ASSEMBLY, TRANSPORTATION AND INSTALLATION OF FLOATING WIND TURBINES

NºPublicación:  US2025376248A1 11/12/2025
Solicitante: 
SUBSEA 7 NORWAY AS [NO]
SUBSEA 7 NORWAY AS
US_2025376248_PA

Resumen de: US2025376248A1

A spar-type floating offshore wind turbine assembly is assembled and then supported in a transport configuration with its longitudinal axis substantially horizontal or inclined at a shallow acute angle to the horizontal. The assembly is upended during installation to bring the longitudinal axis to a substantially vertical orientation. In a transport configuration, buoyant upthrust is applied to the assembly by immersion of a spar buoy at a lower end of the assembly and of at least one discrete support buoy that is attached to the spar buoy at a position offset longitudinally from the lower end. A brace acts between the spar buoy and an upper structure of the assembly, that structure comprising a mast that is cantilevered from an upper end of the spar buoy. The brace may be attached to the or each support buoy.

MOORING APPARATUS AND METHOD OF INSTALLATION THEREOF

NºPublicación:  WO2025253096A1 11/12/2025
Solicitante: 
MOCEAN ENERGY LTD [GB]
MOCEAN ENERGY LTD
WO_2025253096_PA

Resumen de: WO2025253096A1

A mooring apparatus (100) for connecting a plurality of floating bodies (110a, 110b, 110c, 110d, 110e), the plurality of floating bodies comprising: at least one floating body (110a, 110c, 110e) located on a first side (115a) of a first axis (115) extending in a first horizontal direction; and at least two floating bodies (110b, 110d) located on a second side (115b) of the first axis, the second side being opposite to the first side in a second horizontal direction orthogonal to the first horizontal direction, wherein the floating bodies are arranged in a first sequence, wherein each floating body in the first sequence is located on the opposite side of the first axis to the subsequent floating body in the first sequence, wherein each floating body is connected to the subsequent floating body in the first sequence by an inter-floating-body connection member, and wherein one or more of the plurality of floating bodies is anchored by a mooring member (130a, 130b, 130c, 130d, 130e). A method of installing a mooring apparatus is also disclosed.

FLOATING OFFSHORE WIND FARM INSTALLATION METHOD AND SYSTEM USING SEMI-SUBMERSIBLE CRANE VESSEL

NºPublicación:  US2025376249A1 11/12/2025
Solicitante: 
MOC CO LTD [KR]
MOC CO. LTD
US_2025376249_PA

Resumen de: US2025376249A1

A method for installing a floating offshore wind generator includes loading an anchor, moving a semi-submersible crane vessel to a site, and installing the anchor at the site, by an anchor management section of the crane vessel, loading a hull and mooring the crane vessel to a quay wall, by a hull management section, pre-assembling wind power equipment on the hull while the crane vessel is moored at the quay wall for a certain period of time, by a wind power equipment pre-assembly section, towing the hull whose pre-assembly is complete from the quay wall to the site, and fixing the anchor and the hull by a mooring line, by a control section, installing an offshore substation by an offshore substation installation section, and installing a submarine cable by a submarine cable installation section.

MOORINGS FOR OFFSHORE INSTALLATIONS

NºPublicación:  EP4658555A1 10/12/2025
Solicitante: 
SUBSEA 7 LTD [GB]
Subsea 7 Limited
CN_120957915_PA

Resumen de: AU2024213848A1

A mooring arrangement comprises at least two outer anchors, a reaction anchor disposed between the outer anchors and at least two anchor legs that extend outwardly from the reaction anchor to the outer anchors. The reaction anchor has multi-directional effect, being configured to react against outward forces applied by tension in the mutually-opposed anchor legs. Each anchor leg comprises a tensioner, an inner line extending from the reaction anchor to the tensioner, and an outer line extending from the tensioner to the outer anchor. A tensioner line, which may be the inner line or the outer line, is fixed to the tensioner whereas a mooring line extends through the tensioner. An upper section of the mooring line extends from the tensioner to a moored floating body. A lower section of the mooring line forms part of the anchor leg, as either the inner line or the outer line.

FLOATING WIND TURBINE PLATFORM WITH BALLAST CONTROL SYSTEM

NºPublicación:  EP4658556A1 10/12/2025
Solicitante: 
TECHNIP ENERGIES FRANCE [FR]
Technip Energies France
WO_2025215424_PA

Resumen de: WO2025215424A1

A floating wind turbine platform is disclosed. The floating wind turbine platform may include a floatable structure that is deployable to a body of water and includes a plurality of semisubmersible columns. The semisubmersible columns may be interconnected. Each semisubmersible column can define an internal ballast volume. An intake port in each semisubmersible column can place the internal ballast volume of the semisubmersible column into fluid communication with the body of water. A ballast control system may be provided to balance the floatable structure upon a detected inclination thereof. Balancing of the floatable structure may be accomplished by selectively controlling a transfer of water from the body of water to the internal ballast volume of at least one of the semisubmersible columns, and/or by selectively controlling a transfer of water from the internal ballast volume of at least one of the semisubmersible columns to the body of water.

METHOD AND SYSTEM FOR INSTALLING FLOATING OFFSHORE WIND GENERATOR USING SEMI-SUBMERSIBLE CRANE VESSEL

NºPublicación:  EP4660452A1 10/12/2025
Solicitante: 
MOC CO LTD [KR]
MOC CO. LTD
EP_4660452_PA

Resumen de: EP4660452A1

A method for installing a floating offshore wind generator using a semi-submersible crane vessel of the present disclosure includes loading an anchor, moving the semi-submersible crane vessel to a site, and installing the anchor at the site, by an anchor management section of the semi-submersible crane vessel, loading a hull and mooring the semi-submersible crane vessel to a quay wall, by a hull management section of the semi-submersible crane vessel, pre-assembling wind power equipment on the hull while the semi-submersible crane vessel is moored at the quay wall for a certain period of time, by a wind power equipment pre-assembly section of the semi-submersible crane vessel, towing the hull whose pre-assembly is complete from the quay wall to the site, and fixing the anchor and the hull by a mooring line, by a control section of the semi-submersible crane vessel, installing an offshore substation by an offshore substation installation section of the semi-submersible crane vessel, and installing a submarine cable by a submarine cable installation section of the semi-submersible crane vessel.

Self-propelled buoyant energy converter and method for deploying same

NºPublicación:  AU2025263901A1 04/12/2025
Solicitante: 
LONE GULL HOLDINGS LTD
Lone Gull Holdings, Ltd
AU_2025263901_A1

Resumen de: AU2025263901A1

WO 2018/156959 PCT/US20198/019529 The present invention provides a floating computational network, comprising: a plurality of buoyant energy converters configured to run onboard computers from power developed directly from one of ocean waves and wind; a plurality of flexible connectors each coupling a pair of said buoyant energy converters, where each buoyant energy converter is coupled to at least one other buoyant energy converter to establish a maximum distance between said pair of buoyant energy converters; wherein at least one flexible connector further comprises a data transmission cable for exchanging data between said pair of buoyant energy converters. WO 2018/156959 PCT/US20198/019529 The present invention provides a floating computational network, comprising: a plurality of buoyant energy converters configured to run onboard computers from power developed directly from one of ocean waves and wind; a plurality of flexible connectors each coupling a pair of said buoyant energy converters, where each buoyant energy converter is coupled to at least one other buoyant energy converter to establish a maximum distance between said pair of buoyant energy converters; wherein at least one flexible connector further comprises a data transmission cable for exchanging data between said pair of buoyant energy converters. ov o v

HVDC SOLUTION

NºPublicación:  WO2025250017A1 04/12/2025
Solicitante: 
AIBEL AS [NO]
AIBEL AS
WO_2025250017_PA

Resumen de: WO2025250017A1

The invention relates to an offshore HVDC substation for transmission of electrical energy to an onshore substation comprising: a. one jacket substructure (204); b. a first self-sufficient HVDC module (200) mounted on the jacket substructure (204); c. a second self-sufficient HVDC module (201) mounted on the jacket substructure side by side with the first HVDC module (200), wherein the first HVDC module (200) and the second HVDC module (201) comprises a mirrored HVDC poleIt is also disclosed a method for assembling an offshore HVDC substation at least comprising the steps of: a. transporting a jacket (204) to a plant site; b. launching the jacket (204); c. transporting a first HVDC module (200) to the plant site; d. installing the first HVDC module to the top of the jacket (204); e. transporting a second HVDC module (201) to the plant site; and f. installing the second HVDC module (201) to the top of the jacket (204).

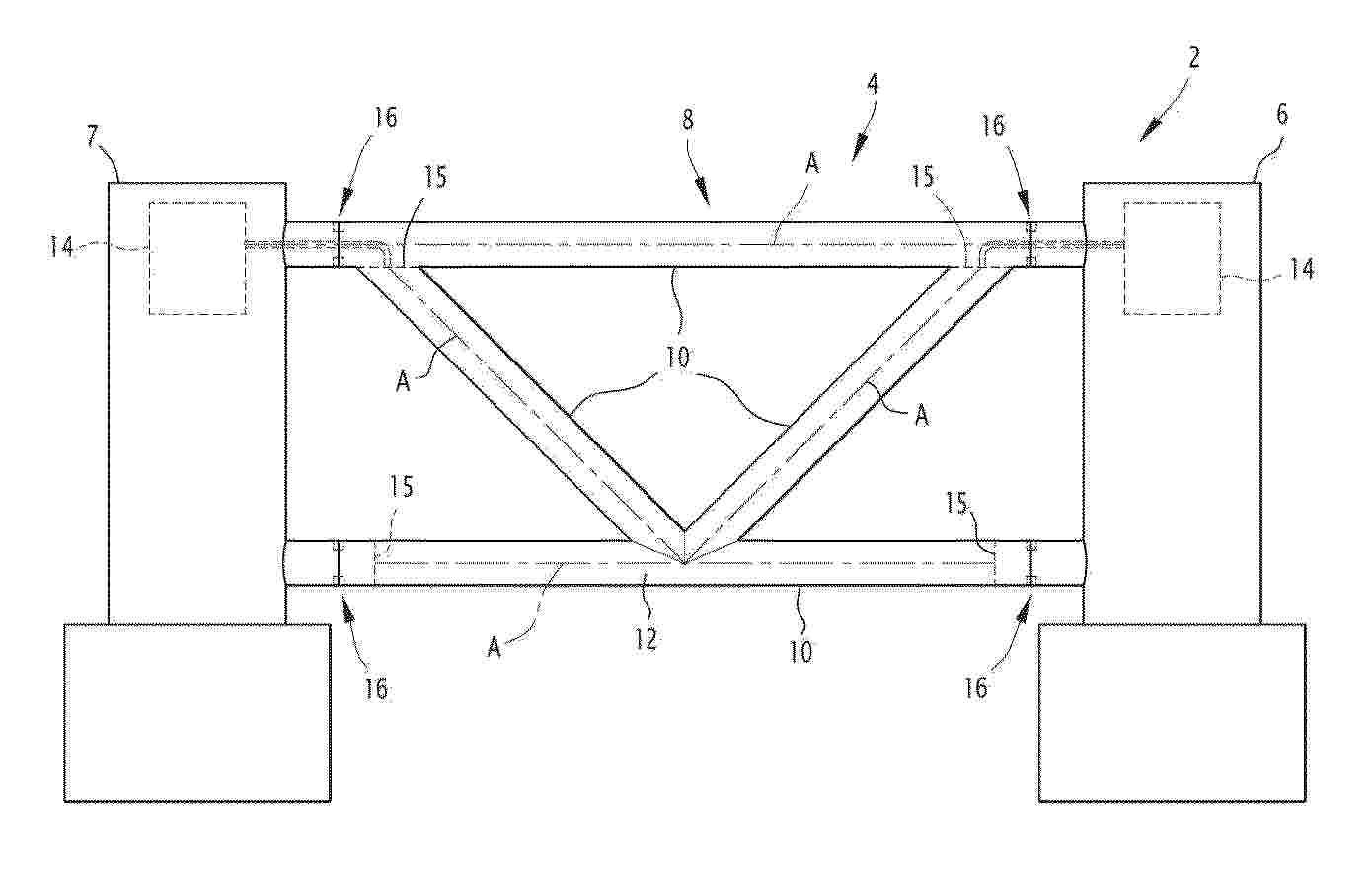
FLOATING FOUNDATION FOR AN OFFSHORE WIND TURBINE AND METHOD OF CONSTRUCTION

NºPublicación:  US2025368299A1 04/12/2025
Solicitante: 
MARIDEA B V [NL]
Maridea B.V
JP_2025520688_PA

Resumen de: US2025368299A1

A floating foundation for an offshore wind turbine having a tower defining a vertical direction, the floating foundation comprising at least three vertical sections and at least two horizontal sections, wherein the vertical sections and the horizontal sections are tubular members, arranged in an alternating manner, and connected together by interpenetrating tube joints and wherein one of the vertical sections is arranged to receive the tower.

MOORING SYSTEM

Nº publicación: AU2025211510A1 04/12/2025

Solicitante:

YUJOO CO LTD
YUJOO CO., LTD

AU_2025211510_PA

Resumen de: AU2025211510A1

The present invention comprises: a floating body floating on the sea surface; a mooring anchor seated on the seabed; a weight body positioned underwater between the floating body and the mooring anchor; and a plurality of mooring lines for mooring the floating body and having a closed curve shape. The mooring lines include: a first portion, in which a central lower part catches on a weight body mooring line catching part of the weight body; a second portion which passes through a weight body vertical passage in the weight body, and in which a central lower part catches on an anchor mooring line catching part of the mooring anchor; and a third portion which passes through a floating body vertical passage in the floating body and is connected to the first portion and the second portion, and in which a central upper portion catches on a floating body mooring line catching part provided on the floating body.

traducir