Ministerio de Industria, Turismo y Comercio LogoMinisterior
 

Alerta

Resultados 130 resultados
LastUpdate Última actualización 23/01/2026 [07:25:00]
pdfxls
Publicaciones de los últimos 120 días / Applications published in the last 120 days
previousPage Resultados 25 a 50 de 130 nextPage  

OFFSHORE WIND PLATFORM WITH FOLDING RADIAL BRACES

NºPublicación:  WO2025257183A1 18/12/2025
Solicitante: 
MARINE POWER SYSTEMS LTD [GB]
MARINE POWER SYSTEMS LIMITED
WO_2025257183_A1

Resumen de: WO2025257183A1

A platform arranged to support a renewable energy system, the platform comprising a central structure (103), wherein the central structure comprises at least three pivot connections (104); and at least three radial arms (102), each radial arm configured to be pivotably connected to a respective pivot connection of the central structure such that each of the at least three radial arms are configured to pivot between a folded configuration and an unfolded configuration.

SYSTEM AND METHOD TO DETACHABLY ARRANGE EQUIPMENT ONTO A FLOATING RENEWABLE ENERGY STRUCTURE

NºPublicación:  WO2025257371A1 18/12/2025
Solicitante: 
TECHNIP UK LTD [GB]
TECHNIP UK LIMITED
WO_2025257371_A1

Resumen de: WO2025257371A1

A system to detachably arrange equipment (20) onto a floating renewable energy structure (10). The system comprising a first unit (100) attachable to a periphery of the structure (10) and configured for receiving a second unit (200) on a landing base (110) of the first unit (100); and the second unit (200) comprising a base (210) for the equipment (20) and the equipment (20); the first unit (100) and the second unit (200) being connectable to each other by a connection system. The connection system comprises a female connector (120) on one unit (100, 200) and a male connector (220) on the other unit (200, 100), respectively; and first and second alignment means (310, 320, 330, 340) on each unit (100, 200); and a fixing mechanism (500) for releasably locking the first unit (100) with the second unit (200).

BUOYANT PLATFORM

NºPublicación:  WO2025256775A1 18/12/2025
Solicitante: 
MARINE POWER SYSTEMS LTD [GB]
MARINE POWER SYSTEMS LIMITED
WO_2025256775_A1

Resumen de: WO2025256775A1

There is described a buoyant platform comprising at least one buoyant chamber arranged distal a central axis of the buoyant platform, the buoyant chamber comprising at least two dissimilar sections such that a waterplane area of the buoyant chamber varies with a draught of the buoyant chamber By adjusting a waterplane area of the buoyant chamber, a hydrostatic stiffness matrix of the buoyant chamber may also be varied. The buoyant chamber may be removably retained on the buoyant platform. In addition, a buoyant chamber configured to be connected to a buoyant platform is described.

A STABILISATION SYSTEM AND ASSEMBLY FOR USE IN DEEP WATER OFFSHORE

NºPublicación:  EP4662112A1 17/12/2025
Solicitante: 
PEACE STEVEN [GB]
Peace, Steven
KR_20250145663_PA

Resumen de: CN120752175A

A stabilization assembly for deep water. The assembly includes a telescopic mast for securing within a moon pool of a floating support vessel. The securing mechanism includes a gimbal secured within the moon pool by which the mast is suspended to allow movement of the hull relative to the mast during use.

ASSEMBLY, TRANSPORTATION AND INSTALLATION OF FLOATING WIND TURBINES

NºPublicación:  US2025376248A1 11/12/2025
Solicitante: 
SUBSEA 7 NORWAY AS [NO]
SUBSEA 7 NORWAY AS
US_2025376248_PA

Resumen de: US2025376248A1

A spar-type floating offshore wind turbine assembly is assembled and then supported in a transport configuration with its longitudinal axis substantially horizontal or inclined at a shallow acute angle to the horizontal. The assembly is upended during installation to bring the longitudinal axis to a substantially vertical orientation. In a transport configuration, buoyant upthrust is applied to the assembly by immersion of a spar buoy at a lower end of the assembly and of at least one discrete support buoy that is attached to the spar buoy at a position offset longitudinally from the lower end. A brace acts between the spar buoy and an upper structure of the assembly, that structure comprising a mast that is cantilevered from an upper end of the spar buoy. The brace may be attached to the or each support buoy.

FLOATING OFFSHORE WIND FARM INSTALLATION METHOD AND SYSTEM USING SEMI-SUBMERSIBLE CRANE VESSEL

NºPublicación:  US2025376249A1 11/12/2025
Solicitante: 
MOC CO LTD [KR]
MOC CO. LTD
US_2025376249_PA

Resumen de: US2025376249A1

A method for installing a floating offshore wind generator includes loading an anchor, moving a semi-submersible crane vessel to a site, and installing the anchor at the site, by an anchor management section of the crane vessel, loading a hull and mooring the crane vessel to a quay wall, by a hull management section, pre-assembling wind power equipment on the hull while the crane vessel is moored at the quay wall for a certain period of time, by a wind power equipment pre-assembly section, towing the hull whose pre-assembly is complete from the quay wall to the site, and fixing the anchor and the hull by a mooring line, by a control section, installing an offshore substation by an offshore substation installation section, and installing a submarine cable by a submarine cable installation section.

MOORING APPARATUS AND METHOD OF INSTALLATION THEREOF

NºPublicación:  WO2025253096A1 11/12/2025
Solicitante: 
MOCEAN ENERGY LTD [GB]
MOCEAN ENERGY LTD
WO_2025253096_PA

Resumen de: WO2025253096A1

A mooring apparatus (100) for connecting a plurality of floating bodies (110a, 110b, 110c, 110d, 110e), the plurality of floating bodies comprising: at least one floating body (110a, 110c, 110e) located on a first side (115a) of a first axis (115) extending in a first horizontal direction; and at least two floating bodies (110b, 110d) located on a second side (115b) of the first axis, the second side being opposite to the first side in a second horizontal direction orthogonal to the first horizontal direction, wherein the floating bodies are arranged in a first sequence, wherein each floating body in the first sequence is located on the opposite side of the first axis to the subsequent floating body in the first sequence, wherein each floating body is connected to the subsequent floating body in the first sequence by an inter-floating-body connection member, and wherein one or more of the plurality of floating bodies is anchored by a mooring member (130a, 130b, 130c, 130d, 130e). A method of installing a mooring apparatus is also disclosed.

FLOATING WIND TURBINE PLATFORM WITH BALLAST CONTROL SYSTEM

NºPublicación:  EP4658556A1 10/12/2025
Solicitante: 
TECHNIP ENERGIES FRANCE [FR]
Technip Energies France
WO_2025215424_PA

Resumen de: WO2025215424A1

A floating wind turbine platform is disclosed. The floating wind turbine platform may include a floatable structure that is deployable to a body of water and includes a plurality of semisubmersible columns. The semisubmersible columns may be interconnected. Each semisubmersible column can define an internal ballast volume. An intake port in each semisubmersible column can place the internal ballast volume of the semisubmersible column into fluid communication with the body of water. A ballast control system may be provided to balance the floatable structure upon a detected inclination thereof. Balancing of the floatable structure may be accomplished by selectively controlling a transfer of water from the body of water to the internal ballast volume of at least one of the semisubmersible columns, and/or by selectively controlling a transfer of water from the internal ballast volume of at least one of the semisubmersible columns to the body of water.

MOORINGS FOR OFFSHORE INSTALLATIONS

NºPublicación:  EP4658555A1 10/12/2025
Solicitante: 
SUBSEA 7 LTD [GB]
Subsea 7 Limited
CN_120957915_PA

Resumen de: AU2024213848A1

A mooring arrangement comprises at least two outer anchors, a reaction anchor disposed between the outer anchors and at least two anchor legs that extend outwardly from the reaction anchor to the outer anchors. The reaction anchor has multi-directional effect, being configured to react against outward forces applied by tension in the mutually-opposed anchor legs. Each anchor leg comprises a tensioner, an inner line extending from the reaction anchor to the tensioner, and an outer line extending from the tensioner to the outer anchor. A tensioner line, which may be the inner line or the outer line, is fixed to the tensioner whereas a mooring line extends through the tensioner. An upper section of the mooring line extends from the tensioner to a moored floating body. A lower section of the mooring line forms part of the anchor leg, as either the inner line or the outer line.

METHOD AND SYSTEM FOR INSTALLING FLOATING OFFSHORE WIND GENERATOR USING SEMI-SUBMERSIBLE CRANE VESSEL

NºPublicación:  EP4660452A1 10/12/2025
Solicitante: 
MOC CO LTD [KR]
MOC CO. LTD
EP_4660452_PA

Resumen de: EP4660452A1

A method for installing a floating offshore wind generator using a semi-submersible crane vessel of the present disclosure includes loading an anchor, moving the semi-submersible crane vessel to a site, and installing the anchor at the site, by an anchor management section of the semi-submersible crane vessel, loading a hull and mooring the semi-submersible crane vessel to a quay wall, by a hull management section of the semi-submersible crane vessel, pre-assembling wind power equipment on the hull while the semi-submersible crane vessel is moored at the quay wall for a certain period of time, by a wind power equipment pre-assembly section of the semi-submersible crane vessel, towing the hull whose pre-assembly is complete from the quay wall to the site, and fixing the anchor and the hull by a mooring line, by a control section of the semi-submersible crane vessel, installing an offshore substation by an offshore substation installation section of the semi-submersible crane vessel, and installing a submarine cable by a submarine cable installation section of the semi-submersible crane vessel.

HVDC SOLUTION

NºPublicación:  WO2025250017A1 04/12/2025
Solicitante: 
AIBEL AS [NO]
AIBEL AS
WO_2025250017_PA

Resumen de: WO2025250017A1

The invention relates to an offshore HVDC substation for transmission of electrical energy to an onshore substation comprising: a. one jacket substructure (204); b. a first self-sufficient HVDC module (200) mounted on the jacket substructure (204); c. a second self-sufficient HVDC module (201) mounted on the jacket substructure side by side with the first HVDC module (200), wherein the first HVDC module (200) and the second HVDC module (201) comprises a mirrored HVDC poleIt is also disclosed a method for assembling an offshore HVDC substation at least comprising the steps of: a. transporting a jacket (204) to a plant site; b. launching the jacket (204); c. transporting a first HVDC module (200) to the plant site; d. installing the first HVDC module to the top of the jacket (204); e. transporting a second HVDC module (201) to the plant site; and f. installing the second HVDC module (201) to the top of the jacket (204).

Self-propelled buoyant energy converter and method for deploying same

NºPublicación:  AU2025263901A1 04/12/2025
Solicitante: 
LONE GULL HOLDINGS LTD
Lone Gull Holdings, Ltd
AU_2025263901_A1

Resumen de: AU2025263901A1

WO 2018/156959 PCT/US20198/019529 The present invention provides a floating computational network, comprising: a plurality of buoyant energy converters configured to run onboard computers from power developed directly from one of ocean waves and wind; a plurality of flexible connectors each coupling a pair of said buoyant energy converters, where each buoyant energy converter is coupled to at least one other buoyant energy converter to establish a maximum distance between said pair of buoyant energy converters; wherein at least one flexible connector further comprises a data transmission cable for exchanging data between said pair of buoyant energy converters. WO 2018/156959 PCT/US20198/019529 The present invention provides a floating computational network, comprising: a plurality of buoyant energy converters configured to run onboard computers from power developed directly from one of ocean waves and wind; a plurality of flexible connectors each coupling a pair of said buoyant energy converters, where each buoyant energy converter is coupled to at least one other buoyant energy converter to establish a maximum distance between said pair of buoyant energy converters; wherein at least one flexible connector further comprises a data transmission cable for exchanging data between said pair of buoyant energy converters. ov o v

MOORING SYSTEM

NºPublicación:  AU2025211510A1 04/12/2025
Solicitante: 
YUJOO CO LTD
YUJOO CO., LTD
AU_2025211510_PA

Resumen de: AU2025211510A1

The present invention comprises: a floating body floating on the sea surface; a mooring anchor seated on the seabed; a weight body positioned underwater between the floating body and the mooring anchor; and a plurality of mooring lines for mooring the floating body and having a closed curve shape. The mooring lines include: a first portion, in which a central lower part catches on a weight body mooring line catching part of the weight body; a second portion which passes through a weight body vertical passage in the weight body, and in which a central lower part catches on an anchor mooring line catching part of the mooring anchor; and a third portion which passes through a floating body vertical passage in the floating body and is connected to the first portion and the second portion, and in which a central upper portion catches on a floating body mooring line catching part provided on the floating body.

FLOATING FOUNDATION FOR AN OFFSHORE WIND TURBINE AND METHOD OF CONSTRUCTION

NºPublicación:  US2025368299A1 04/12/2025
Solicitante: 
MARIDEA B V [NL]
Maridea B.V
JP_2025520688_PA

Resumen de: US2025368299A1

A floating foundation for an offshore wind turbine having a tower defining a vertical direction, the floating foundation comprising at least three vertical sections and at least two horizontal sections, wherein the vertical sections and the horizontal sections are tubular members, arranged in an alternating manner, and connected together by interpenetrating tube joints and wherein one of the vertical sections is arranged to receive the tower.

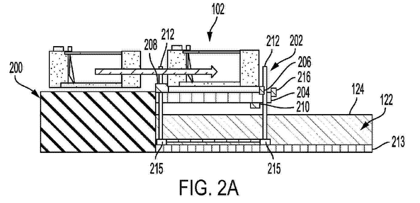
FLOATING MARINE PLATFORM AND THE ASSEMBLY THEREOF

NºPublicación:  EP4655201A1 03/12/2025
Solicitante: 
OCERGY INC [US]
Ocergy, Inc
CN_120659741_PA

Resumen de: CN120659741A

The invention relates to a kit comprising a floating ocean platform and an assembly tool for assembling the floating ocean platform, a floating ocean platform includes a central post, a plurality of peripheral posts circumferentially surrounding the central post, a radially extending overhang bracket connecting the peripheral posts with the central post, and a tendon spanning between each pair of adjacent peripheral posts, where the peripheral posts include tendon receptors having tool interfaces, shim chambers, and tendon channels, and where the shim chambers are disposed between the central post and the peripheral posts, and where the shim chambers are disposed between the central post and the peripheral posts, and the shim chambers are disposed between the central post and the peripheral posts. An assembly tool includes a tool connector, a tendon tensioner, and a tension shim installer, where the tendon tensioner includes a tendon puller.

An offshore HVDC substation for transmission of electrical energy and a method for assembling the same

NºPublicación:  NO20240555A1 01/12/2025
Solicitante: 
AIBEL AS [NO]
Aibel AS
NO_20240555_PA

Resumen de: WO2025250017A1

The invention relates to an offshore HVDC substation for transmission of electrical energy to an onshore substation comprising: a. one jacket substructure (204); b. a first self-sufficient HVDC module (200) mounted on the jacket substructure (204); c. a second self-sufficient HVDC module (201) mounted on the jacket substructure side by side with the first HVDC module (200), wherein the first HVDC module (200) and the second HVDC module (201) comprises a mirrored HVDC poleIt is also disclosed a method for assembling an offshore HVDC substation at least comprising the steps of: a. transporting a jacket (204) to a plant site; b. launching the jacket (204); c. transporting a first HVDC module (200) to the plant site; d. installing the first HVDC module to the top of the jacket (204); e. transporting a second HVDC module (201) to the plant site; and f. installing the second HVDC module (201) to the top of the jacket (204).

SEMI-SUBMERSIBLE FLOAT FOR AN OFFSHORE WIND TURBINE

NºPublicación:  AU2024303383A1 27/11/2025
Solicitante: 
SAIPEM S A
SAIPEM S.A
AU_2024303383_PA

Resumen de: AU2024303383A1

The invention relates to a semi-submersible float (2) for an offshore wind turbine, comprising at least three vertical columns (4, 6), one of which is intended to receive a wind turbine mast, the vertical columns being connected together by pontoons (8) each formed by a plurality of planar panels (81 to 84) which are assembled together at edges (10) extending longitudinally between two columns, the edges of the pontoons being rounded and connected at each of their longitudinal ends to a column via a transition piece (12).

A METHOD FOR CONTROLLING TRANSFER OF A SUSPENDED LOAD BETWEEN AN OFFSHORE WIND TURBINE AND A FLOATING VESSEL

NºPublicación:  US2025360989A1 27/11/2025
Solicitante: 
VESTAS WIND SYSTEMS AS [DK]
Vestas Wind Systems A/S
US_2025360989_PA

Resumen de: US2025360989A1

A method and a system (1) for controlling transfer of a suspended load (2) between an offshore wind turbine (3) and a floating vessel (4) are disclosed. Movements, relative to the floating vessel (4), of a load (2) suspended in a hoisting mechanism (6, 15) and/or of a hooking part (9) of the hoisting mechanism (6, 15), are detected. A position and/or inclination of a landing platform (8) arranged on the floating vessel (4) is adjusted, based on the detected movements, in order to compensate for relative movements between the floating vessel (4) and the suspended load (2) and/or the hooking part (9), thereby synchronizing movements of the landing platform (4) to movements of the suspended load (2) and/or the hooking part (9), while moving the suspended load (2) and/or the hooking part (9) towards the adjustable landing platform (8).

JACKET ASSEMBLY FOR ATTACHMENT TO A SUBSEA FLEXIBLE LINE SUCH AS A CABLE, UMBILICAL AND RISER

NºPublicación:  WO2025243056A1 27/11/2025
Solicitante: 
SEATHOR LTD [GB]
SEATHOR LIMITED
WO_2025243056_PA

Resumen de: WO2025243056A1

A jacket assembly is provided for attachment to a subsea flexible line for facilitating passive control of movement of the flexible line. The jacket assembly comprises a plurality of jackets. Each jacket comprises a fluid displacing buoyancy element extending longitudinally between a first edge and a second edge and has a circumferential interior surface between the first edge and the second edge, the circumferential interior surface configured to bound a first inner cylindrical volume. The plurality of fluid displacing buoyancy elements comprises a first subset of fluid displacing buoyancy elements and a second subset of fluid displacing buoyancy elements. The first subset of the plurality of fluid displacing buoyancy elements has a first buoyancy value the second subset of the plurality of fluid displacing buoyancy elements has a second buoyancy value different from the first buoyancy value.

PENDULUM COUNTERWEIGHT SEMI-SUBMERSIBLE FLOATER FOR OFFSHORE WIND TURBINE AND METHOD OF INSTALLING SAME

NºPublicación:  AU2024283396A1 27/11/2025
Solicitante: 
SAIPEM S A
SAIPEM S.A
AU_2024283396_PA

Resumen de: AU2024283396A1

The invention relates to a system (2) forming an anchor point for floaters of offshore wind turbines, comprising at least one containment enclosure (6) having an open bottom (8) and an open top (10), the containment enclosure being at least partially filled with a solid granular material (12) capable of withstanding shear with the seabed (4) on which the containment enclosure is intended to rest, the containment enclosure further comprising at least one attachment (14) for securing a mooring line (16) of the floater.

SYSTEM FOR THE FLOTATION AND MOORING OR ANCHORING OF WIND TURBINES AT SEA

NºPublicación:  AU2024251870A1 27/11/2025
Solicitante: 
MUNOZ SAIZ MANUEL
MU\u00D1OZ SAIZ, Manuel
AU_2024251870_PA

Resumen de: AU2024251870A1

The invention relates to a system for mooring or anchoring wind turbines at sea, which consists of radial-blade, horizontal-axis wind turbines disposed on a vertical or horizontal pontoon or float submerged below the orbital depth, or close thereto, and which are moored by cables or chains to concrete blocks, or anchored by anchoring elements or bolts to the sea bed or lake bed. The wind turbines are constantly and automatically directed, in the manner of a wind vane, by the action of the wind and the water current and are vertically and horizontally stabilised, the wind turbine shafts driving electric generators, air compressors or hydraulic pumps. The vertical pontoon consists of a tubular element having a cylindrical shape or an oval cross-section with an aerodynamic profile. The horizontal pontoon is disc-shaped with an aerodynamic profile. Both types of pontoon are hollow and filled with air or a plastic polymer foam.

METHOD FOR INSTALLATION AND MAINTENANCE OF FLOATING WIND TURBINES

NºPublicación:  EP4652371A1 26/11/2025
Solicitante: 
FLOATING MAINTENANCE SOLUTION AS [NO]
Floating Maintenance Solution AS
WO_2024225911_PA

Resumen de: WO2024225911A1

Present invention relates to a method for maintaining and installation of offshore wind turbines, comprising the following steps: - positioning a floating service vessel (8) with a crane (10) above a semi- submerged sub-structure (2) of a floating wind turbine (1), said sub-structure (2) comprising a number of mainly vertical pontoons or columns (3, 4, 5) interconnected by tubular beams (6), - providing contact between the tubular beams (6) and an interface arrangement (14) on the service vessel, and - lifting the service vessel (8) above the water surface.

Integrated electrolyzed water ocean buoy

NºPublicación:  CN223590936U 25/11/2025
Solicitante: 
YANTAI KEKAN MARINE TECH CO LTD
\u70DF\u53F0\u79D1\u52D8\u6D77\u6D0B\u79D1\u6280\u6709\u9650\u516C\u53F8
CN_223590936_U

Resumen de: CN223590936U

The utility model discloses an integrated electrolyzed water ocean buoy, which relates to the technical field of ocean new energy and comprises an electrolyte supply box, a floating box, an electrolysis module, a buoy main body and a power supply module, a water through hole is formed in the bottom wall of the electrolyte supply box; the floating box is fixed above the electrolyte supply box, and a cavity is formed in the floating box; the electrolysis module is located in the cavity, and the electrolysis reaction assembly is located in an inner cavity of the electrolysis reaction tank and communicates with the electrolyte supply box; the hydrogen output pipeline is communicated with the electrolytic reaction tank; the lower end of the buoy body is fixed and communicated with the floating box, the other end is away from the floating box, a containing space is formed in the buoy body, detection equipment and a hydrogen storage assembly are installed in the containing space, and the hydrogen storage assembly is communicated with the hydrogen output pipeline; and the output end of the power supply module is electrically connected with the electrolytic reaction assembly and the detection equipment. The zero-carbon hydrogen production buoy platform integrating the functions of self-energy-supply efficient hydrogen production, seawater desalination, multi-energy coupling utilization and the like can be realized.

Foundation buoy and foundation structure of floating type wind turbine generator

NºPublicación:  CN223590946U 25/11/2025
Solicitante: 
POWERCHINA ZHONGNAN ENGINEERING CORPORATION LTD
SHANNENG NEW ENERGY DONGYING CO LTD
\u4E2D\u56FD\u7535\u5EFA\u96C6\u56E2\u4E2D\u5357\u52D8\u6D4B\u8BBE\u8BA1\u7814\u7A76\u9662\u6709\u9650\u516C\u53F8,
\u5C71\u80FD\u65B0\u80FD\u6E90\uFF08\u4E1C\u8425\uFF09\u6709\u9650\u516C\u53F8
CN_223590946_U

Resumen de: CN223590946U

The utility model discloses a floating type wind turbine generator foundation buoy and a foundation structure, and the foundation buoy comprises a distributed steel pipe frame which comprises a central steel pipe and peripheral steel pipes arranged around the central steel pipe; the end deck comprises an upper end deck and a lower end deck which are connected with the two ends of the distributed steel pipe frame respectively; the buoyancy module is made of glass fiber reinforced plastics and is formed by connecting a plurality of buoyancy units with a central steel pipe and a peripheral steel pipe in a layered manner, and each buoyancy unit is of a hollow watertight box body structure and is filled with a water pressure load or a solid pressure load; each buoyancy unit comprises a connecting pin connected with the central steel pipe, a through hole allowing the peripheral steel pipe to penetrate through and a skirt plate used for being connected with the adjacent buoyancy unit or the end deck, the connecting pins are arranged on the inner sides of the buoyancy units, the skirt plates are arranged on the outer sides of the buoyancy units, and connecting holes are formed in the skirt plates. According to the utility model, the manufacturing and maintenance cost is effectively reduced, the modular construction can be realized, and the construction period is greatly shortened.

BUOYANT OFFSHORE REWEWABLE ENERGY SYSTEM MOUNTING PLATFORM

Nº publicación: AU2024279911A1 20/11/2025

Solicitante:

MARINE POWER SYSTEMS LTD
MARINE POWER SYSTEMS LIMITED

AU_2024279911_PA

Resumen de: AU2024279911A1

A buoyant offshore renewable energy system mounting platform is provided for use in supporting a renewable energy system in a body of water. The platform comprises a buoyant spar having a top end and a bottom end, the spar arranged to support a renewable energy system thereon; and a plurality of mooring lines arranged to tether the spar to a bed of a body of water such that the buoyant spar is positioned in the body of water at an operating depth. The plurality of mooring lines comprise: one or more first mooring lines affixed to a bottom end of the spar, the bottom end distal to the top end, and arranged to engage the bed of the body of water; and at least three further mooring lines, a first end of each of the further mooring lines being in communication with the spar between the top end and the bottom end thereof, and a second end of each further mooring line being arranged to engage the bed of the body of water such that said further mooring line is oriented diagonally relative to the spar at the operating depth; wherein at the operating depth, the first end of the spar is positioned above a surface of the body of water and the second end is positioned below the surface of the body of water. The described platform aims to provide a simple and stable offshore renewable energy system mounting solution having a simpler manufacture, assembly and deployment procedure along with easier ongoing access for deployment and maintenance vessels to minimise damage during deployment an

traducir