Ministerio de Industria, Turismo y Comercio LogoMinisterior
 

Alerta

Resultados 107 resultados
LastUpdate Última actualización 15/12/2025 [07:22:00]
pdfxls
Solicitudes publicadas en los últimos 30 días / Applications published in the last 30 days
Resultados 1 a 25 de 107 nextPage  

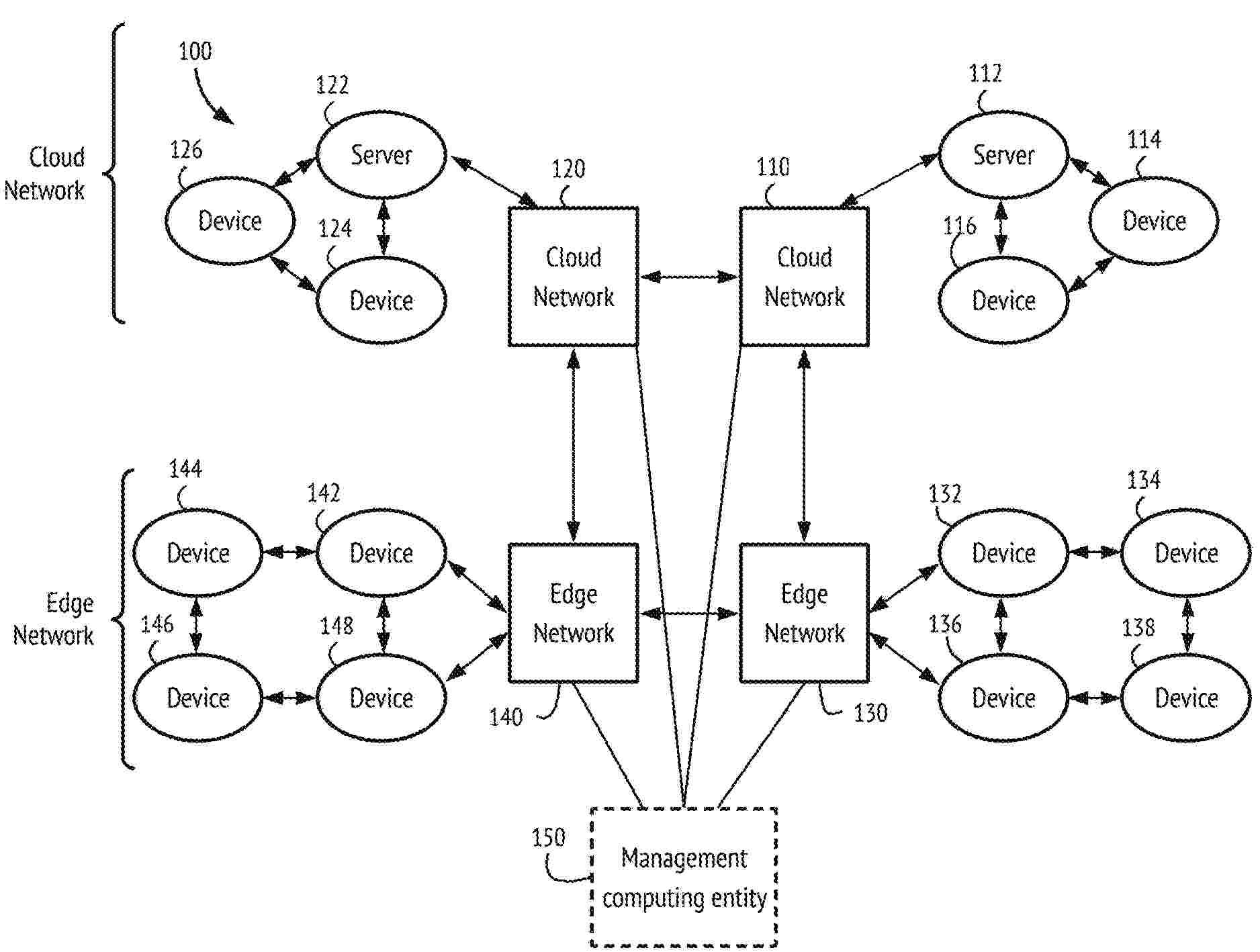
ORACLE-DRIVEN BLOCKCHAIN

NºPublicación:  US2025379756A1 11/12/2025
Solicitante: 
SODA BUBBLE LABS LTD [IL]
Soda Bubble Labs LTD
US_2025379756_PA

Resumen de: US2025379756A1

A novel blockchain network architecture and transaction processing workflow, collectively referred to as the oracle-driven blockchain approach, is disclosed. In certain embodiments, this approach enables a blockchain network to efficiently execute and validate transactions that require answers from an oracle by (1) separating block creation from transaction execution (such that each new block to be added to the network's blockchain is first created by one or more sequencing nodes before any of the transactions within the block are actually executed), and (2) ensuring that, as part of transaction execution, any output generated by the oracle which changes state is added to a transcript that is included within the block.

GARBLING SCHEME-BASED SECURE MULTI-PARTY COMPUTATION (MPC)

NºPublicación:  US2025379719A1 11/12/2025
Solicitante: 
SODA BUBBLE LABS LTD [IL]
Soda Bubble Labs LTD
US_2025379719_PA

Resumen de: US2025379719A1

A novel secure multi-party computation (MPC) protocol that uses a cryptographic primitive known as a garbling scheme is provided. In certain embodiments, this protocol enables a set of N parties (such as nodes in a blockchain network) to execute an arbitrary function (such as a smart contract method) on confidential data, without revealing that confidential data to the parties.

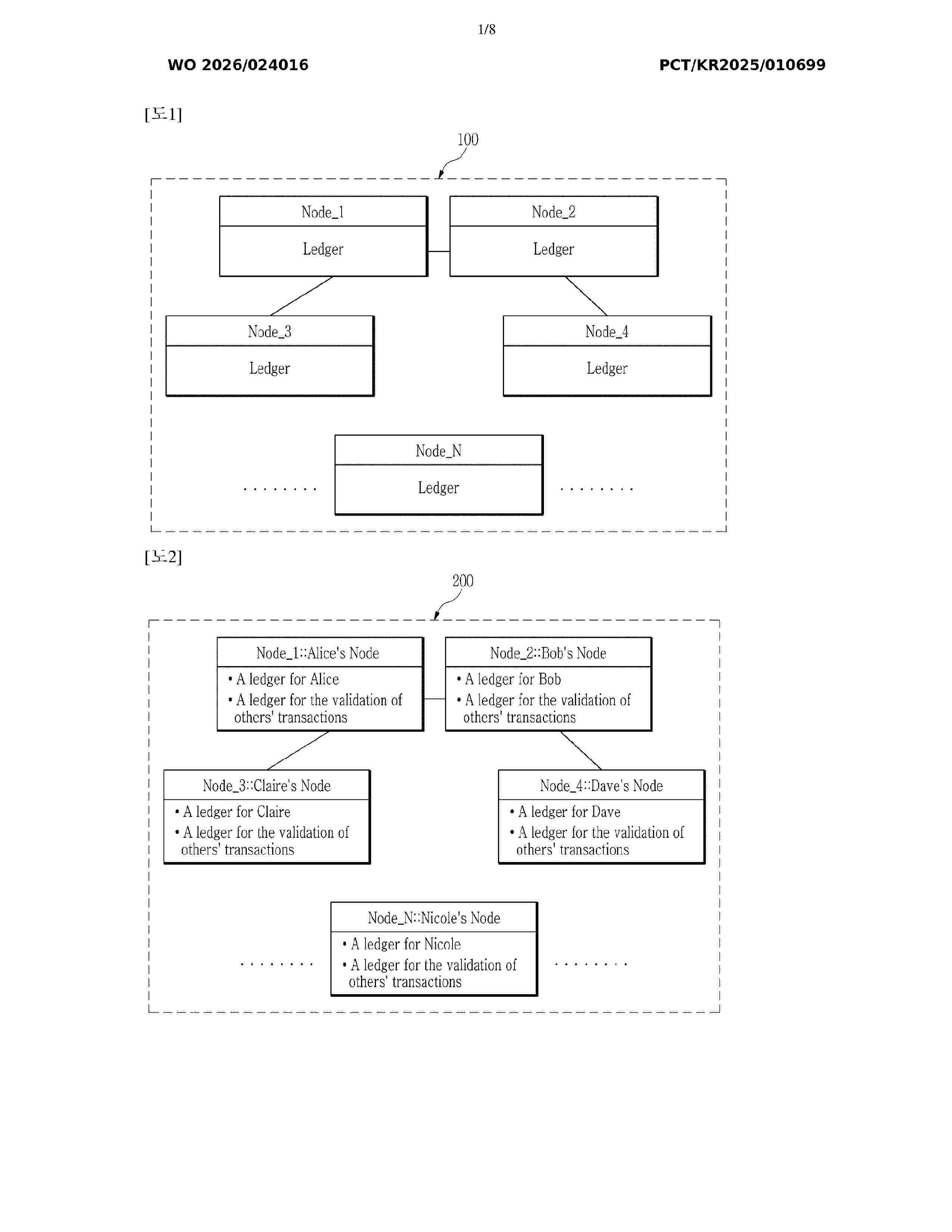
STATE DATA REPAIR METHOD AND APPARATUS FOR BLOCKCHAIN, COMPUTER DEVICE, AND MEDIUM

NºPublicación:  US2025379757A1 11/12/2025
Solicitante: 
TENCENT TECH SHENZHEN COMPANY LIMITED [CN]
TENCENT TECHNOLOGY (SHENZHEN) COMPANY LIMITED
US_2025379757_PA

Resumen de: US2025379757A1

A state data repair method for a blockchain includes: obtaining, when receiving a proposal message broadcast by a second node in the blockchain system, state data maintained by the first node, the proposal message indicating existence of a transaction task, result information for the transaction task, and a block identifier; executing the transaction task in the proposal message, to obtain result information; obtaining, when the result information obtained after executing the transaction task is inconsistent with the result information indicated by the proposal message, read set information that corresponds to the block identifier in the proposal message from a snapshot of another node in the blockchain system; and repairing the state data based on the read set information, to obtain repaired state data, the repaired state data being configured for re-executing the transaction task to obtain an execution result.

METHODS FOR GROUPING TRANSACTIONS IN BLOCKCHAIN, AND BLOCKCHAIN NODES

NºPublicación:  US2025379758A1 11/12/2025
Solicitante: 
ANT BLOCKCHAIN TECH SHANGHAI CO LTD [CN]
Ant Blockchain Technology (Shanghai) Co., Ltd
US_2025379758_PA

Resumen de: US2025379758A1

Disclosed are methods, apparatuses, and systems for grouping transactions in a blockchain. In an example method, a plurality of first transactions are obtained from a plurality of transactions that are to be grouped, where the plurality of first transactions invoke the same contract; a set of identifiers corresponding to one or more state variables of the contract that is to be accessed by each of the first transactions is determined, where the set of identifiers includes variable identifiers of the state variables during contract execution, and the variable identifiers are used to determine keys of the state variables in a state database; and the plurality of first transactions are grouped according to the set of identifiers of each of the first transactions.

SYSTEM AND METHOD OF IMMUTABLE ELECTRONIC HEALTH RECORD DATA STORAGE

NºPublicación:  US2025378083A1 11/12/2025
Solicitante: 
TECH IP LLC [US]
Technologies IP, LLC
US_2025378083_PA

Resumen de: US2025378083A1

A system and method of immutable electronic health record data storage is presented. The present disclosure provides for a system integrated into a practical application with meaningful limitations to provide a system having an ‘immutable data storage protocol’ used to capture database operations on an immutable ledger. The protocol can consist of one or more ‘operation codes.’ The immutable electronic health record data storage system can provide a blockchain, transaction blockchain API, a blockchain writer API, a formatting module, and a messaging module, among others, that can format, process, and store data according to an immutable data storage protocol.

METHODS AND SYSTEMS FOR FACILITATING COLLECTION OF ROAD USER CHARGES USING A DIGITAL CURRENCY BASED ON A DISTRIBUTED LEDGER TECHNOLOGY

NºPublicación:  US2025378436A1 11/12/2025
Solicitante: 
LOCHRANE TAYLOR WILLIAM PAUL [US]
Lochrane Taylor William Paul
US_2025378436_PA

Resumen de: US2025378436A1

A system and method for facilitating collection of Road User Charges (RUC) using a digital currency within a Distributed Ledger Technology (DLT) network are disclosed. The system generates secure digital wallets for Road Users and Facility Owners, receives trip, position, distance, and cost data from vehicles, sensors, and facility systems, and encodes settlement logic into smart contracts. These contracts automatically execute jurisdiction-specific disbursements across blockchain, directed acyclic graph (DAG), or hashgraph frameworks, ensuring scalability and auditability without reliance on centralized tolling infrastructure. An AI Activity Module processes multi-source telemetry—including vehicle sensors, GNSS/PNT data, roadside infrastructure, and third-party traffic feeds—to detect congestion, forecast conditions, optimize routing, and dynamically adjust segment-level RUC pricing in real time. The integration of AI-driven adaptive pricing with distributed ledger settlement provides a decentralized, infrastructure-agnostic framework for secure, transparent, and verifiable road use fee collection across multiple jurisdictions, distinct from conventional tolling systems.

Online Transactional Behavior through Decoy Blockchain and Smartdust Sensing Paired with DCNN

NºPublicación:  US2025378443A1 11/12/2025
Solicitante: 
BANK OF AMERICA CORP [US]
Bank of America Corporation
US_2025378443_PA

Resumen de: US2025378443A1

The present disclosure provides a security method, a computing platform, and a system for enhanced online transaction security. The method includes receiving transactional information from a user, and distributing the transactional information over a sensor network of the computing platform. The method also includes generating a decoy transactional block that imitates the transactional information within a blockchain network of the computing platform. The method further includes displaying an association page for the user to enter a verification code and deleting the decoy transactional block from the blockchain network based on determining that the transactional information is authentic.

SYSTEM OF MATCHING DIGITAL WAX MUSEUM WITH MARKETING ADVERTISEMENT BASED ON METAVERSE AND METHOD THEREOF

NºPublicación:  US2025378464A1 11/12/2025
Solicitante: 
SQ TECH SHANGHAI CORPORATION [CN]
INVENTEC CORP [TW]
SQ Technology (Shanghai) Corporation,
Inventec Corporation
US_2025378464_PA

Resumen de: US2025378464A1

A system of matching digital wax museum with marketing advertisement based on metaverse and a method thereof are disclosed. In the system, a display device displays a virtual scene, and a virtual wax statue and a virtual avatar of a consumer, and a server connected to the display device executes a digital wax museum platform and serves as a node of a blockchain network. The server generates a virtual wax statue and a virtual scene and allows the consumer to select the virtual wax statue and the virtual scene, input an interaction level, to make the virtual avatar perform an interaction with the virtual wax statue in the virtual scene based on interaction level. A charging amount and a profit-sharing amount are calculated through a smart contract of the blockchain technology. Therefore, the technical effect of improving the interactivity and economic efficiency for marketing can be achieved.

Intelligent Adaptive Asset Leasing System with Dynamic User Profiling, Risk Management, and Insurance Frameworks

NºPublicación:  US2025378511A1 11/12/2025
Solicitante: 
DOR LAVI ZOHAR [CH]
Dor Lavi Zohar
US_2025378511_A1

Resumen de: US2025378511A1

The invention relates to a computer-implemented platform for managing the leasing of real estate assets through automated tenant-landlord verification, dynamic risk scoring, and smart contract execution. Tenant and landlord accounts are established via Know Your Customer (KYC) protocols. Tenant creditworthiness scores are computed using financial, employment, and behavioral data, and matched against landlord-defined eligibility thresholds. Lease agreements are executed via blockchain-based smart contracts, ensuring immutable, enforceable records. Rental deposit requirements are dynamically calculated based on tenant risk profiles and lease conditions, and may be fulfilled either through a real-time, event-driven insurance instrument or through financing from an authorized third-party financial institution. The insurance instrument is calibrated algorithmically to reflect changing risk exposure, behavioral history, and contextual data, thereby enabling dynamic collateralization of lease obligations. The platform further comprises modules for structured damage reporting, automated maintenance escalation, dispute resolution workflows, and landlord reputation scoring. All transactional events are logged in a tamper-evident ledger. The system also supports data export and third-party integration with financial institutions, insurers, and regulatory platforms via secure APIs and analytics dashboards.

METHODS AND SYSTEMS FOR MUSIC RIGHTS AND ROYALTIES MANAGEMENT- ROP PLATFORM (RAINDROPS ON PETALS PLATFORM) A BLOCKCHAIN-BASED MUSIC RIGHTS AND ROYALTIE MANAGEMENT SYSTEM WITH METADATA TRACKING ON DISTRIBUROR PLATFORMS

NºPublicación:  US2025378514A1 11/12/2025
Solicitante: 
CLINTON BIANCA [GB]
Clinton Bianca
US_2025378514_A1

Resumen de: US2025378514A1

A blockchain-based system for managing music rights and royalties is disclosed. The system enables artists and contributors to upload music, assign revenue percentages, and track usage via smart contracts on a distributed ledger. Play counts are immutably recorded across distributor platforms. A contributor dashboard provides real-time access to royalty data. The platform incorporates Majority Reports to validate metadata matches and calculate royalties, and Minority Reports to flag discrepancies without payments, thereby ensuring data integrity. A Golden Box smart contract module replicates song rankings and applies predictive classification models to identify features associated with musical success. These mechanisms improve transparency, accuracy, and fraud prevention in royalty distribution.

AUTOMATED GENERATION AND EXECUTION OF SMART CONTRACTS FOR MULTIPLE ORACLE NETWORKS

NºPublicación:  US2025378492A1 11/12/2025
Solicitante: 
RAYMOND JAMES FINANCIAL INC [US]
RAYMOND JAMES FINANCIAL, INC
US_2025378492_PA

Resumen de: US2025378492A1

Systems and methods are disclosed for systems and methods for automated generation and execution of smart contracts for multiple oracle networks. Example methods may include determining, at a first time interval, a first request to process a first brokerage transaction, determining, using the first metadata, a first smart contract template from a set of smart contract templates, generating a first smart contract for the first request using the first smart contract template, and sending the first smart contract to a first blockchain using a first oracle network. Example methods may include sending the first smart contract to a second blockchain using a second oracle network, determining, using a third oracle network, that the first smart contract is executed via the first blockchain, determining, using data published on the first blockchain, that the first request is complete, and generating, at a second time interval, a settlement notification.

TRACKING AND SECURELY RECORDING COMPUTING RESOURCE USAGE

NºPublicación:  US2025377893A1 11/12/2025
Solicitante: 
MICROSOFT TECH LICENSING LLC [US]
Microsoft Technology Licensing, LLC
US_2025377893_PA

Resumen de: US2025377893A1

According to examples, an apparatus includes a processor and a memory on which is stored machine-readable instructions that when executed by the processor, cause the processor to scan an application programming interface (API) for a specified label in the API, in which the specified label includes a counter that increments based on an API interacting with a computing resource for a caller of the API. The processor also reads a value of a counter in the specified label and records the read value of the counter and an identifier of an entity associated with the caller of the API onto a decentralized blockchain. The computing resource usage by the entity may thus be securely recorded, such that the computing resource usage may be used for any of a number of purposes, such as invoicing, usage tracking, and/or security.

DATA PROCESSING METHOD AND DATA PROCESSING SYSTEM AND APPARATUS

NºPublicación:  WO2025251507A1 11/12/2025
Solicitante: 
CHINA TELECOM CORPORATION LIMITED TECH INNOVATION CENTER [CN]
CHINA TELECOM CORPORATION LTD [CN]
\u4E2D\u56FD\u7535\u4FE1\u80A1\u4EFD\u6709\u9650\u516C\u53F8\u6280\u672F\u521B\u65B0\u4E2D\u5FC3
WO_2025251507_A1

Resumen de: WO2025251507A1

A data processing method, a data processing system, a data processing apparatus, a computer program product and an electronic device, relating to the technical field of network security. The method may comprise: verifying a business information check value in a data block (S110); when the verification has passed, broadcasting a verification result (S120); and, when the number of verification results reaches a preset number, the data block can be uploaded to the chain (S130). Thus, in the case of a failure occurring in a business execution process, the present disclosure can avoid the problems of low fault tracing efficiency and low service activation efficiency due to a non-trust relationship between management domains; that is, the characteristics of multi-node storage and tamper-proofness of block-chain technology can be used to ensure that all operations can be traced, and operation records cannot be tampered with, thereby facilitating enhancing the efficiency of failure tracing and service activation. Furthermore, the present disclosure can improve the resistance of entire networks against malicious attacks and information tampering, thereby improving trust between different management domains.

METHOD FOR DETERMINING TYPE OF SPECIFICATION OF SMART CONTRACT ON BLOCKCHAIN AND SERVER FOR EXECUTING SAME

NºPublicación:  WO2025254269A1 11/12/2025
Solicitante: 
CCMEDIA SERVICE CO LTD [KR]
\uC8FC\uC2DD\uD68C\uC0AC \uC528\uC528\uBBF8\uB514\uC5B4\uC11C\uBE44\uC2A4
WO_2025254269_PA

Resumen de: WO2025254269A1

A server for determining the type of specification of a smart contract according to the present invention comprises: a specification database in which a function of a smart contract performing a specific function according to an ERC standard and parameters used in the function are configured and stored as a signature; a byte code signature database in which a signature extracted from a byte code existing on a blockchain is stored; and a specification verification unit that, when receiving a request message for verifying the standard specification of a smart contract from a smart contract user terminal, verifies the specification of the smart contract on the basis of the specification database and the byte code signature database.

INFORMATION PROCESSING METHOD, INFORMATION PROCESSING DEVICE, AND INFORMATION PROCESSING PROGRAM

NºPublicación:  WO2025253879A1 11/12/2025
Solicitante: 
FUJIFILM CORP [JP]
\u5BCC\u58EB\u30D5\u30A4\u30EB\u30E0\u682A\u5F0F\u4F1A\u793E
WO_2025253879_PA

Resumen de: WO2025253879A1

Provided is an information processing device comprising a processor. The processor: inquires a transaction execution history or a fee for a plurality of block chains; selects at least one of the block chains of which a cost calculated from an index which is at least one of a time and a value of the fee of transaction execution is within a predetermined range and a cost calculated from at least a value having characteristics opposite to the index matches a predetermined condition; and writes data to the selected block chain.

REMOTE EXECUTION VERIFICATION WITH REDUCED RESOURCE REQUIREMENTS

NºPublicación:  US2025379739A1 11/12/2025
Solicitante: 
NTT RES INC [US]
TECHNION RES & DEVELOPMENT FOUNDATION LIMITED [IL]
NTT Research, Inc,
Technion Research & Development Foundation Limited
US_2025379739_PA

Resumen de: US2025379739A1

A method and apparatus for efficient protocols for verifying remote computations, with particular application for cloud-based services and mobile environments are disclosed. The protocols utilize succinct arguments that rely on the existence of subexponentially secure linear-size computable collision-resistant hash functions. The class of Boolean circuits that can be handled includes circuits with a repeated sub-structure, which arise in natural applications such as batch computation/verification, hashing, and related block chain applications.

SYSTEM AND METHODS FOR OPERATING A CASINO LOYALTY COMPUTER SYSTEM TO DISPLAY IMAGES OF NON-FUNGIBLE TOKENS ASSOCIATED WITH BLOCKCHAIN TRANSACTIONS ON GAMING DEVICES

NºPublicación:  US2025378737A1 11/12/2025
Solicitante: 
STATION CASINOS LLC [US]
Station Casinos LLC
US_2025378737_PA

Resumen de: US2025378737A1

A networked computer system for displaying images associated with non-fungible tokens (NFTs) on electronic gaming machines (EGMs) is described herein. The networked computer system includes a computer server coupled to a plurality of EGM s located within a casino property. The computer server includes a processor programmed to execute an algorithm to display an animated sequence of computer-generated images on a display device of a corresponding EGM including the steps of querying a blockchain system to identify a casino charm NFT owned by a casino patron, querying a charms content database to retrieve image data associated with the identified casino charm NFT, and rendering an image of the identified casino charm NFT on a game screen displayed on the corresponding EGM.

AUTHENTICATION AND VERIFICATION OF USER DATA USIN BLOCKCHAIN-BASED POINTER RECORDS

NºPublicación:  WO2025252735A1 11/12/2025
Solicitante: 
NEXUM CAPITAL INC [GR]
NEXUM CAPITAL INC
WO_2025252735_PA

Resumen de: WO2025252735A1

A system (140, 210, 430, 620) and method (200, 210, 300, 660) for protecting confidential user data associated with a User (102). The user data are partitioned into portions (344, 345, 354, 356, 630, 632, 634) which are stored in different memory locations (216, 218, 346, 347, 636, 638, 640), each portion insufficient to facilitate reconstruction of personally identifiable information without use of each of the remaining portions. A storage address (348) for at least one portion is encoded and incorporated into a minted non-fungible asset (NFA) (182, 276, 349, 504, 514, 534, 552, 610, 644) recorded to a distributed blockchain (188) and placed in a User digital wallet (180, 500, 512, 532, 646). To subsequently reconstruct and access the user data, the storage address from the NFA is decoded (308, 664), and the portions are retrieved from memory and recombined (310, 312, 666, 668). A secure communication link (314, 670) facilitates authorized access to the reconstructed user data. Main and associated wallets (500, 502) may be used to track original and updated NFAs (506, 508). The storage address may be in the Interplanetary File Storage (IPFS) system. The user data may be destroyed by erasing at least one portion from memory.

TRANSACTION METHOD AND APPARATUS, DEVICE AND STORAGE MEDIUM

NºPublicación:  EP4660914A1 10/12/2025
Solicitante: 
DIGITAL CURRENCY INST THE PEOPLES BANK OF CHINA [CN]
Digital Currency Institute, The People's Bank of China
EP_4660914_PA

Resumen de: EP4660914A1

A transaction method, comprising: a transaction initiator node (11) sends transaction request information of a current transaction to a blockchain, the transaction request information being used for requesting to confirm whether a transaction receiver node (12) agrees to perform the current transaction; the transaction initiator node (11) acquires, from the blockchain, transaction response information sent by the transaction receiver node (12), and when the transaction response information indicates that the transaction receiver node (12) agrees to the current transaction, calls a smart contract on the blockchain, and executes the current transaction to generate a first synchronous transaction event, the first synchronous transaction event being used for indicating that the transaction initiator node (11) has executed the current transaction; and when it is determined that the transaction receiver node (12) has called the smart contract on the blockchain and executed the current transaction to generate a second synchronous transaction event, determining that the current transaction is completed, the second synchronous transaction event being used for indicating that the transaction receiver node (12) has executed the current transaction.

DETERMINING A CONSENSUS FOR ADDING A BLOCK TO A BLOCKCHAIN

NºPublicación:  EP4659407A1 10/12/2025
Solicitante: 
UNIV LA ROCHELLE [FR]
Universite De La Rochelle
WO_2024161090_PA

Resumen de: WO2024161090A1

The invention relates to a method for determining a consensus within a set of nodes forming a peer-to-peer network for managing a blockchain, the method comprising implementing the following steps, on a node of the network: computing a score associated with each node, selecting the node with the highest score, receiving at least one block generated by a candidate node and, when the candidate node is the selected node, verifying the validity of the block, when the received block is valid, sending, to the other nodes of the network, a notification identifying the received block as the next block of the blockchain, receiving notifications transmitted by the other nodes of the network, each notification identifying a block selected by a respective node, and adding the block identified by a majority of the received notifications to the blockchain.

BLOCKCHAIN-BASED MODEL GOVERNANCE AND AUDITABLE MONITORING OF MACHINE LEARNING MODELS

NºPublicación:  EP4659160A1 10/12/2025
Solicitante: 
FAIR ISAAC CORP [US]
Fair Isaac Corporation
WO_2024163415_A1

Resumen de: WO2024163415A1

A method includes determining, by a trained machine learning model, a score based at least on one or more latent features. The method also includes monitoring the determining of the score by the trained machine learning model. The monitoring includes determining one or more production statistics associated with the one or more latent features, derived variables and input data elements, and accessing one or more reference assets persisted on a model governance blockchain. The one or more reference assets includes one or more reference statistics and a threshold indicating a deviation between the one or more production statistics and the one or more reference statistics. The method also includes generating an alert based on the one or more production statistics associated with the one or more latent features meeting the threshold. Related methods and articles of manufacture are also disclosed.

GOLF LEDGER AND TOKEN

NºPublicación:  AU2024258351A1 04/12/2025
Solicitante: 
MA KE
MA, Ke
AU_2024258351_A1

Resumen de: AU2024258351A1

This invention pertains to the fields of distributed ledger, cryptocurrency, and decentralized physical infrastructure network. It solves the problems of the blockchain trilemma and cryptocurrency's lack of a real-world value that is recognizable to the mainstream population. Those two problems have prevented any cryptocurrency from gaining mass adoption. The Golf Ledger is distributed across a network of computers that are installed at up to 40,000 golf courses to leverage the existing decentralization of the world's golf courses and their ownership entry barrier and therefore does not need to sacrifice scalability for decentralization and security. The Golf Token as the native cryptocurrency of the Golf Ledger network is rewarded to golf courses for their contributing more and more computing resources to make the network more scalable. Their customers can use the Golf Token to pay golfing fees and get a discount, which is an obvious real-world value.

ELECTRONIC WALLET SYSTEM HAVING METHOD FOR SPLITTING OFFLINE TOKENS WITH BLOCKCHAIN CRYPTOCURRENCY ACCESS RIGHTS

NºPublicación:  WO2025249846A1 04/12/2025
Solicitante: 
NSLAB CO LTD [KR]
\uC8FC\uC2DD\uD68C\uC0AC \uC5D4\uC5D0\uC2A4\uB7A9
WO_2025249846_A1

Resumen de: WO2025249846A1

A blockchain-based electronic wallet driving method of an electronic wallet system, of the present invention, comprises steps in which: a sender device transmits a coin from an encrypted coin account of a sender to a token manager of a management device through an Internet network; the management device performs a mining process, and then the token manager transmits a parent token to the sender device through the Internet network; the sender device generates at least one child token having parent token rights and having a value smaller than the value of the parent token; any one child token is transmitted from the sender device to a recipient device through a short-range wireless communication network; the recipient device transmits the child token to the token manager through the Internet network, and the token manager finds the parent token for the child token so as to delete the parent token from a blockchain and reallocate the rights to the child token; and the token manager mines for the child token, and then transmits the coin to an encrypted coin account of a recipient.

METHOD AND SYSTEM USING LOYALTY COINS AS DIGITAL CURRENCY WITH SMART CONTRACTS

NºPublicación:  WO2025250265A1 04/12/2025
Solicitante: 
MASTERCARD INT INCORPORATED [US]
MASTERCARD INTERNATIONAL INCORPORATED
WO_2025250265_PA

Resumen de: WO2025250265A1

A method for implementing loyalty points as digital currency using blockchain includes: receiving first transaction data for a first transaction including a first recipient address associated with a blockchain wallet and a positive loyalty point amount; processing the received first transaction data for the first transaction to add a first new block to the blockchain that includes the first recipient address and the positive loyalty point amount; receiving, after a predetermined period of time, second transaction data for a second transaction including a second recipient address associated with the blockchain wallet and a negative loyalty point amount; and processing the received second transaction data for the second transaction to add a second new block to the blockchain that includes the second recipient address and the negative loyalty point amount.

SYSTEM AND METHOD FOR PREDICTING BEHAVIORS USING BLOCKCHAIN DATA

Nº publicación: US2025371525A1 04/12/2025

Solicitante:

DEEP3 LABS LLC [US]
Deep3 Labs LLC

Resumen de: US2025371525A1

A system for analyzing blockchain data is disclosed. A user may select a particular model from multiple available models. The selected model may be deployed for use with a particular blockchain. Data may be gathered from one or more digital wallets included in the particular blockchain. The gathered data and the selected model may be used to generate a prediction that may be sent to the user.

traducir