Ministerio de Industria, Turismo y Comercio LogoMinisterior
 

Alerta

Resultados 86 resultados
LastUpdate Última actualización 12/05/2026 [07:09:00]
pdfxls
Solicitudes publicadas en los últimos 30 días / Applications published in the last 30 days
Resultados 1 a 25 de 86 nextPage  

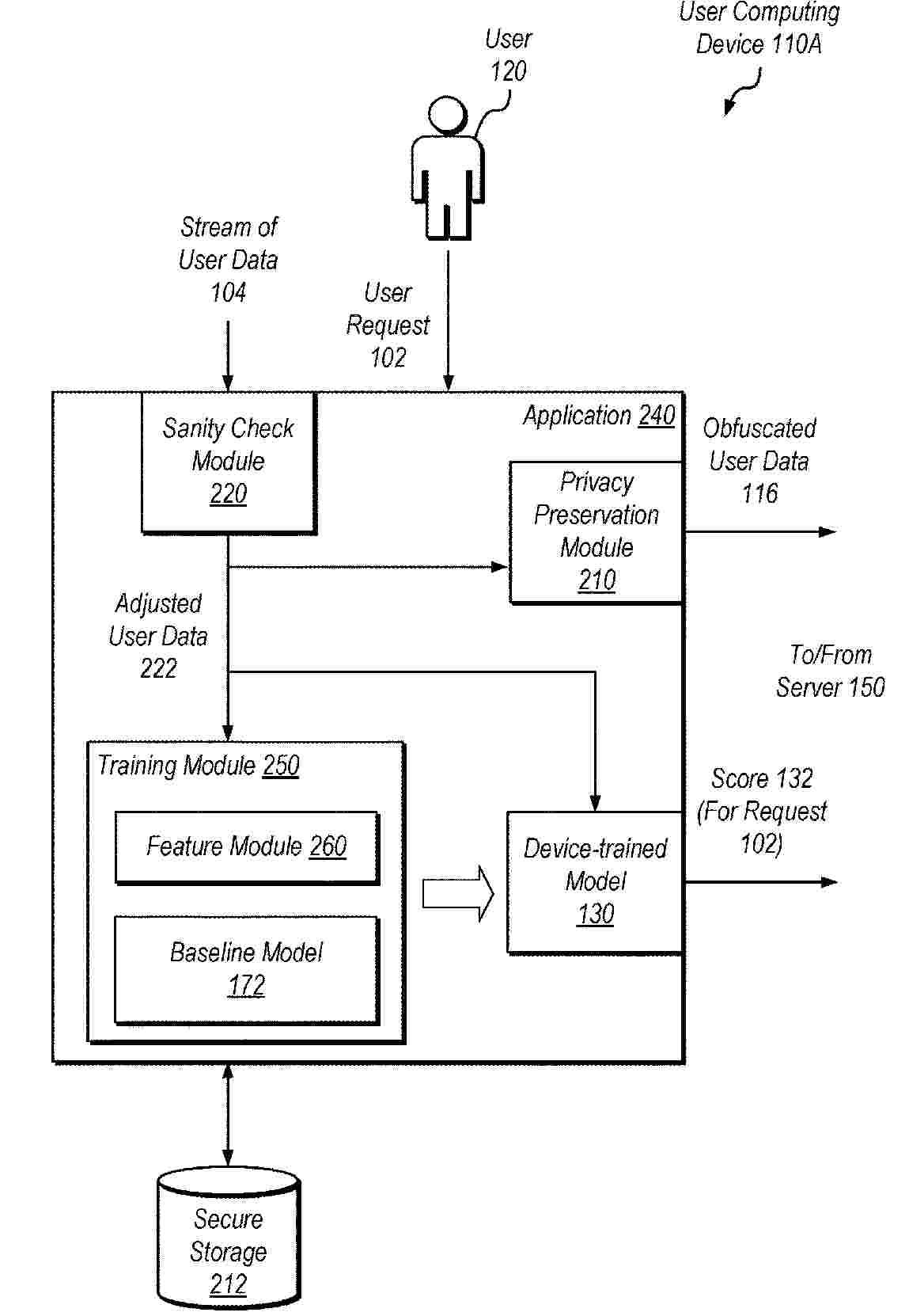
DATA COLLECTION LABELING FEATURES FOR MACHINE LEARNING MODEL POSITIONING

NºPublicación:  WO2026096052A1 07/05/2026
Solicitante: 
QUALCOMM INCORPORATED [US]
QUALCOMM INCORPORATED
WO_2026096052_A1

Resumen de: WO2026096052A1

Disclosed are techniques for data collection for a machine learning model for positioning. In an aspect, a first device may receive, from a second device, a request for labels for training or monitoring the machine learning model and labeling features corresponding to the labels. The first device may generate a set of labels and a set of labeling features, wherein the set of labels includes at least a set of ground truth labels for output by the machine learning model based on a set of channel measurements for input into the machine learning model, and wherein the set of labeling features includes at least a set of quality indicators associated with the set of ground truth labels.

ARTIFICIAL INTELLIGENCE-BASED SMART ROAMING

NºPublicación:  US20260129601A1 07/05/2026
Solicitante: 
QUALCOMM INCORPORATED [US]
QUALCOMM Incorporated
US_20260129601_A1

Resumen de: US20260129601A1

This disclosure provides methods, components, devices and systems for artificial intelligence-based smart roaming. Some aspects more specifically relate to artificial intelligence-driven based roaming. In some examples, the STA may input one or more parameters related to a current environment of the STA into the machine learning model. In some examples, the machine learning model may generate an output comprising at least a target AP for the STA to associate with. In some examples, the output of the machine learning model may include at least a target AP, a list of candidate APs a corresponding list of RSSI values associated with the list of candidate APs, or any combination thereof. In such examples, the list of candidate APs may include a set of APs located within an environment (such as an operating area) of the STA.

GRAPH-ENHANCED SEMANTIC RETRIEVAL AUGMENTED GENERATION FOR CROSS DOMAIN DATA IN ENTERPRISE SYSTEMS

NºPublicación:  WO2026096050A1 07/05/2026
Solicitante: 
SIEMENS AG [DE]
SIEMENS CORP [US]
SIEMENS AKTIENGESELLSCHAFT
SIEMENS CORPORATION
WO_2026096050_A1

Resumen de: WO2026096050A1

Aspects of the disclosure include a machine learning architecture for leveraging graph-enhanced semantic retrieval augmented generation (RAG) for cross domain data in enterprise systems. A method includes processing a natural language query using a large language model to generate a query intent and a query schema, generating text embeddings representing the query intent, and generating node embeddings representing the query schema. A semantic similarity search and a structural similarity search are performed to identify two sets of nodes and edges, which are aggregated. A connected subgraph is built from the aggregated set of nodes and edges and an optimal path through the connected subgraph is identified based on a learned cost function. A retrieval augmented generation executable is generated based on the at least one optimal path and executed against a database to retrieve contextual data. The contextual data is leveraged to respond to the query.

TECHNIQUES FOR PREDICTING IMMUNE-RELATED ADVERSE EVENTS

NºPublicación:  WO2026097039A1 07/05/2026
Solicitante: 
BOSTONGENE CORP [US]
BOSTONGENE CORPORATION
WO_2026097039_A1

Resumen de: WO2026097039A1

Described herein are techniques for predicting whether a subject will experience an immune-related adverse event (irAE) in response to administration of an immune checkpoint inhibitor (ICI) therapy. In some embodiments, the techniques include: determining a likelihood that the subject will experience the irAE in response to administration of the ICI therapy, the determining comprising: performing: (a) processing clinical data using a first machine learning (ML) model to output a first likelihood that the subject will experience the irAE, (b) processing RNA sequencing data using a second ML model to output a second likelihood that the subject will experience the irAE, and/or (c) processing immune receptor data using a third ML model to output a third likelihood that the subject will experience the irAE; and processing the first, second, and/or third likelihoods using a fourth ML model trained to predict the likelihood that the subject will experience the irAE.

SYSTEMS AND METHODS FOR AI BASED RECOMMENDATIONS FOR OBJECT PLACEMENT IN A HOME

NºPublicación:  US20260127433A1 07/05/2026
Solicitante: 
STATE FARM MUTUAL AUTOMOBILE INSURANCE CO [US]
STATE FARM MUTUAL AUTOMOBILE INSURANCE COMPANY
US_20260127433_A1

Resumen de: US20260127433A1

0000 The following relates generally to light detection and ranging (LIDAR) and artificial intelligence (AI). In some embodiments, a system: trains a machine learning algorithm based upon preexisting data of object placement in a room; receives room data comprising dimensional data of a room; receives object data comprising: (i) dimensional data of an object; (ii) a type of the object; and/or (iii) color data of the object; and with the trained machine learning algorithm, generates a recommendation for placement of the object in the room based upon: (i) the received room data, and (ii) the received object data.

Predicting Process Control Parameters for Fabricating an Object Using Deposition

NºPublicación:  US20260126777A1 07/05/2026
Solicitante: 
RELATIVITY SPACE INC [US]
Relativity Space, Inc.
US_20260126777_A1

Resumen de: US20260126777A1

0000 Process control parameters are predicted to fabricate an object using deposition. An input design geometry is provided for the object. A training data set includes past post-build physical inspection data for a plurality of objects that comprise at least one object that is different from the object to be physically fabricated; and training data generated through a repetitive process of randomly choosing values for each of multiple process control parameters and scoring adjustments to the multiple process control parameters as leading to either undesirable or desirable outcomes, the outcomes based respectively on the presence or absence of defects detected in a fabricated object arising from the process control parameter adjustments. A machine learning algorithm is trained using the provided training data set and a predicted optimal set of the multiple process control parameters is generated for initiating and performing the deposition process to fabricate the object.

IDEOGRAPHIC CONTRASTIVE AUTOENCODER FOR LARGE LANGUAGE MODEL FINE-TUNING

NºPublicación:  WO2026095969A1 07/05/2026
Solicitante: 
STRAVA INC [US]
STRAVA, INC.
WO_2026095969_A1

Resumen de: WO2026095969A1

Ideographic contrastive autoencoder for large language model fine-tuning is disclosed, including: obtaining a set of user activities according to a specified task; obtaining respective sets of input features from the set of user activities; using an encoder network of an autoencoder to encode the respective sets of input features into a set of words; prompting a machine learning model to perform the specified task using the set of words, wherein the machine learning model has been fine-tuned using a custom lexicographical vocabulary associated with the autoencoder; and presenting, at a user interface, a message determined based at least in part on an output result from the machine learning model.

DETERMINATION OF THE ESTIMATED LENS POSITION OF AN INTRAOCULAR LENS USING THREE-DIMENSIONAL ANTERIOR SEGMENT GEOMETRY AND MACHINE LEARNING

NºPublicación:  AU2024381685A1 07/05/2026
Solicitante: 
UNIV OF ROCHESTER
UNIVERSITY OF ROCHESTER
AU_2024381685_PA

Resumen de: AU2024381685A1

A method for determining the relationship between measured variables of the anterior segment in a patient's eye pre-operatively and the post-operative position, and optionally tilt, of the implanted intraocular lens (IOL) is described, based on quantitative optical coherence tomography imaging of the eye of a patient and a machine learning architecture to determine the best regression model. Formulas are further described obtained using such method to determine the Estimated Lens Position (ELP), and optionally tilt, from measured variables in a patient pre-operatively to incorporate in IOL power calculation formulas or ray-tracing based IOL power selection.

METHODS AND SYSTEMS FOR PREDICTION OF NOVEL PATHOGENIC MUTATIONS

NºPublicación:  US20260128124A1 07/05/2026
Solicitante: 
FOUND MEDICINE INC [US]
Foundation Medicine, Inc.
US_20260128124_A1

Resumen de: US20260128124A1

Methods and systems for predicting the pathogenicity of variant sequences detected in a sample from a subject are described. The disclosed methods may comprise, for example, receiving sequence read data for a plurality of sequence reads obtained from a sample from a subject; identifying one or more variant sequences based on the sequence read data; providing a variant sequence from the one or more identified variant sequences as input to a trained machine learning model configured to determine a pathogenicity prediction score for the identified variant sequence based on the variant sequence and at least one of additional genomic profiling, demographic pathogenicity prediction score determined for the variant sequence identified in the sample from the subject.

METHOD FOR DETECTING PATIENTS WITH SYSTEMATICALLY UNDER-ESTIMATED TUMOR MUTATIONAL BURDEN WHO MAY BENEFIT FROM IMMUNOTHERAPY

NºPublicación:  US20260128123A1 07/05/2026
Solicitante: 
FOUND MEDICINE INC [US]
Foundation Medicine, Inc.
US_20260128123_A1

Resumen de: US20260128123A1

Methods for more accurately determining tumor mutational burden (TMB) based on sequence read data for a sample from a subject are described. The methods may comprise, for example, receiving sample data comprising tumor purity data, variant data, variant allele fraction (VAF) data, or any combination thereof, for a sample from a subject; providing the sample data as input to a machine learning model configured to classify the sample according to TMB status based on the input sample data; and outputting a classification of the TMB status of the sample.

SYSTEMS AND METHODS FOR ANALYZING AND MITIGATING COMMUNITY-ASSOCIATED RISKS

NºPublicación:  US20260127526A1 07/05/2026
Solicitante: 
STATE FARM MUTUAL AUTOMOBILE INSURANCE CO [US]
State Farm Mutual Automobile Insurance Company
US_20260127526_A1

Resumen de: US20260127526A1

0000 A computer system for analyzing and mitigating risks associated with an event is provided. The computer system is configured to: (i) receive at least one of a city risk profile and a building risk profile from a database; (ii) receive city systems data from the city services computer system; (iii) utilize a trained machine learning model to determine at least one potential risk associated with the event; (iv) generate an event risk profile that includes the at least one potential risk associated with the event; and/or (v) generate a risk mitigation output based upon at least one of the city risk profile and the at least one potential risk, wherein the risk mitigation output includes at least one of a risk alert, a risk mitigation recommendation, and risk mitigation instructions. Computer systems for analyzing and mitigation risks associated with a city, a building, and a user are also provided.

RECIPE GENERATION WITH MACHINE LEARNING AND SYNCHRONIZED RECIPE USE WITH CONNECTED KITCHEN APPLIANCES

NºPublicación:  US20260127979A1 07/05/2026
Solicitante: 
ADAPTICS LTD [IE]
Adaptics Limited
US_20260127979_A1

Resumen de: US20260127979A1

0000 In a system in which a recipe is stored on a recipe framework, a method includes a recipe program presenting recipe information to a user using a device interface on a first device and/or an appliance interface of a first appliance; tracking user interactions with the recipe program via the device or appliance interface; monitoring progress and state of the recipe; and maintaining in the recipe framework, a version of the progress and state of the recipe. Responsive to the user switching to a second device or appliance while the recipe is in progress, presenting recipe information on the second device or appliance based on the version of the progress and state of the recipe maintained in the recipe framework, where the second device or appliance obtains the version of the progress and state from the recipe framework. The recipe was generated by one or more machine-learning algorithms.

Automatic Control Group Generation

NºPublicación:  US20260126765A1 07/05/2026
Solicitante: 
PAYPAL INC [US]
PayPal, Inc.
US_20260126765_A1

Resumen de: US20260126765A1

0000 Techniques are disclosed for automatically generating and updating a control group. In disclosed techniques, a server computer system trains, using a plurality of transactions, a machine learning model. During training the machine learning model learns a feature distribution of both a current set of control group (CG) transactions and a current set of non-control group (non-CG) transactions included in the plurality of transactions. The system inputs the current set of CG transactions into the trained machine learning model. Based on the output of the trained machine learning model for the current set of CG transactions, the system modifies the current set of CG transactions to generate an updated set of CG transactions. Based on the updated set of CG transactions, the server performs one or more preventative measures for a transaction processing system. The disclosed techniques may advantageously improve the accuracy e.g., of a transaction processing system.

SENSOR VISIBILITY ESTIMATION

NºPublicación:  US20260125054A1 07/05/2026
Solicitante: 
NVIDIA CORP [US]
NVIDIA Corporation
US_20260125054_A1

Resumen de: US20260125054A1

In various examples, systems and methods are disclosed that use one or more machine learning models (MLMs)—such as deep neural networks (DNNs)—to compute outputs indicative of an estimated visibility distance corresponding to sensor data generated using one or more sensors of an autonomous or semi-autonomous machine. Once the visibility distance is computed using the one or more MLMs, a determination of the usability of the sensor data for one or more downstream tasks of the machine may be evaluated. As such, where an estimated visibility distance is low, the corresponding sensor data may be relied upon for less tasks than when the visibility distance is high.

SYSTEMS AND METHODS FOR USING MACHINE LEARNING FOR MANAGING APPLICATION INCIDENTS

NºPublicación:  US20260127461A1 07/05/2026
Solicitante: 
WELLS FARGO BANK N A [US]
Wells Fargo Bank, N.A.
US_20260127461_A1

Resumen de: US20260127461A1

Disclosed herein are systems and methods for using machine learning for managing application incidents. An embodiment takes the form of a method that includes receiving extracted data pertaining to one or more applications. Model-input data is generated from the extracted data. Model-output data is generated at least in part by processing the generated model-input data with one or more machine-learning models trained to make one or more application-incident predictions. Based at least in part on the model-output data, an application-incident-likely determination is made that a likelihood of an occurrence of an application incident exceeds an application-incident-likelihood threshold, where the application incident corresponds to a given application of the one or more applications. Responsive to making the application-incident-likely determination, one or more alerts of the likelihood of the occurrence of the application incident are output.

APPARATUS AND METHOD FOR DESIGNING MULTILAYER FILM

NºPublicación:  EP4737880A1 06/05/2026
Solicitante: 
LG CHEMICAL LTD [KR]
LG Chem, Ltd.
EP_4737880_PA

Resumen de: EP4737880A1

Disclosed are a design apparatus and method for a multilayer film. The design apparatus for a multilayer film may model the laminated structure of the multilayer film to be designed, collect dart impact strength data for the single layer film forming the laminated structure as stress-strain data, read a value stored in advance in a storage space accessible to the design apparatus for the multilayer film, acquire a feature setting mode for designating different feature setting methods according to the read value, set a plurality of physical indicators selected from the dart impact strength data and the thickness of the single layer film as the features according to the feature setting mode, predict the dart impact strength of the multilayer film by using a machine learning model trained from a plurality of supervised learning models using features as an independent variable and the dart impact strength of the multilayer film as a target variable, and generate design data for the multilayer film by combining the predicted values for other characteristics and the predicted values of the dart impact strength.

Solar panel system and method for self-cleaning

NºPublicación:  GB2701699A 06/05/2026
Solicitante: 
FUJI CONSULT [BE]
Fuji Consult

Resumen de: GB2701699A

A method for determining when a self-cleaning mechanism 2 of a solar panel 1 is to be activated, comprising: obtaining, prior to a control interval, a performance parameter P(t) associated with the energy-production efficiency of the solar panel; obtaining environmental data E(t) measured prior to the control interval; predicting a future weather pattern based on the environmental data; predicting a change in the performance parameter based on the predicted weather pattern; determining whether to perform cleaning based on the predicted change; and if cleaning is to be performed, determining the time period to activate the self-cleaning mechanism. A machine learning model may be used to establish correlations between the performance parameter and the environmental data. The self-cleaning mechanism may be a vibrating mechanism, preferably an ultrasonic vibrating mechanism which may comprise a piezoelectric film, preferably comprising a polymer-based piezoelectric layer. Fig. 1

SYSTEM AND METHOD TO DETECT SYMPTOMS OF IMPENDING CLIMATE CONTROL FAILURES OF TRANSPORT CLIMATE CONTROL SYSTEMS

NºPublicación:  US20260119923A1 30/04/2026
Solicitante: 
THERMO KING LLC [US]
THERMO KING LLC
US_20260119923_A1

Resumen de: US20260119923A1

A method for predicting an impending climate control failure for a transport temperature control system (TCCS) is provided. The method includes a backend obtaining one or more operational parameters and/or one or more control parameters of transport temperature control systems including the TCCS. The method also includes obtaining warrantee data and/or service records for the transport temperature control systems. The method further includes training a machine learning model with the warrantee data and/or service records for the transport temperature control systems, and at least one of the operational parameters of the transport temperature control systems or the control parameters of the transport temperature control systems. Also the method includes deploying the trained machine learning model. The method further includes predicting the impending climate control failure for the TCCS based on the trained machine learning model, operational parameters of the TCCS, and/or control parameters of the TCCS.

INFORMATION PROCESSING SYSTEM AND PROGRAM

NºPublicación:  US20260120820A1 30/04/2026
Solicitante: 
CROWDCHEM CO INC [JP]
CROWDCHEM CO., INC.
US_20260120820_A1

Resumen de: US20260120820A1

A machine learning model includes a processor obtaining information identifying each of the raw materials received from the user and the amount of each of the raw materials, and obtaining a predicted value of a physical property of the property name to be predicted for a composition comprising each of the raw materials by inputting into a first machine learning model at least one of the chemical fingerprints, SMILES strings or chemical graph structure data or product name or substance name corresponding to each of the raw materials and the amount of each of the raw materials, or by inputting into a second machine learning model a set of values based on at least one of the chemical fingerprints, SMILES strings or chemical graph structure data or product name or substance name corresponding to each of the raw materials and the amount of each of the raw materials.

A SYSTEM AND METHOD FOR POTENTIAL BIAS IDENTIFICATION

NºPublicación:  US20260119911A1 30/04/2026
Solicitante: 
PRIVYA OPS LTD [IL]
PRIVYA OPS LTD
US_20260119911_A1

Resumen de: US20260119911A1

The described invention is directed to systems and methods capable of identifying Machine Learning (ML) models that are potentially biased. The system obtains: (a) a list of potentially problematic labels, and (b) at least one code segment, including a plurality of code lines containing one or more commands associated with generating at least one machine learning model from a given data structure. The system extracts the actual labels of the given data structure and compares them to the list of potentially problematic labels. Upon a match between at least one of the extracted actual labels and at least one of the potentially problematic labels, the system performs an action associated with the knowledge that the ML model is potentially biased.

OPTIMIZATION OF QUANTUM-ACTIVE DEFECTS AND SPINS IN CHEMICAL SYSTEMS USING MACHINE LEARNING

NºPublicación:  US20260120812A1 30/04/2026
Solicitante: 
MASSACHUSETTS INSTITUTE OF TECH [US]
Massachusetts Institute of Technology
US_20260120812_A1

Resumen de: US20260120812A1

0000 Systems and methods for the manufacture of improved quantum materials are provided. The techniques include generating, using a machine learning model, a regression model of a figure of merit describing the quantum material, the regression model being determined based at least in part on the characterized one or more quantum properties of individual samples of the quantum material and associated fabrication parameters. The techniques also include determining improved fabrication parameters using the regression model of the figure of merit and fabricating a new sample of the quantum material using the improved fabrication parameters.

PLATFORMS, SYSTEMS, AND METHODS TO CORRECT BATCH EFFECTS IN MACHINE LEARNING TRAINING BY ITERATIVE SPLITTING

NºPublicación:  US20260120809A1 30/04/2026
Solicitante: 
X DEV LLC [US]
X Development LLC
US_20260120809_A1

Resumen de: US20260120809A1

0000 A method may receive experimental data from a plurality of experiments. The method may detect a systematic variation between the experiments that is not related to a factor of interest. The method may apply a data normalization technique to minimize batch-specific systemic variation while preserving underlying signals. The method may generate probability distributions representing experimental outcomes to provide a summary of uncertainty. The method may use a machine learning model to identify and correct batch effects directly from the data without requiring explicit modeling of all possible sources of variation. The method may output normalized data with reduced batch effects.

MACHINE LEARNING BASED DATABASE SEARCH AND KNOWLEDGE MINING

NºPublicación:  US20260119566A1 30/04/2026
Solicitante: 
BANK OF MONTREAL [CA]
BANK OF MONTREAL
US_20260119566_A1

Resumen de: US20260119566A1

Disclosed herein are embodiments of systems, methods, and products comprises a server for database search and knowledge mining. The server may learn different table's semantics, relationships, and usage by parsing historical query logs and analyzing tables' metadata (e.g., table descriptions). The analytic server may generate a graph database based on the table relationships obtained from the parsing. The graph database may be a relationship graph where tables are the nodes and edges represent the relationships among tables. When the server receives a query, the server extract semantics of the query, and return a set of tables that are semantically similar to the query. The set of tables may be a list of tables whose semantic similarities with the query satisfies a threshold. The analytic server may further generate a graph including the list of tables to show the relationships of these tables.

ARTIFICIAL INTELLIGENCE TECHNIQUES UTILIZING A GENERATIVE RELATIONAL NETWORK

NºPublicación:  WO2026087924A1 30/04/2026
Solicitante: 
THE JOAN AND IRWIN JACOBS TECHNION CORNELL INST [US]
THE JOAN AND IRWIN JACOBS TECHNION-CORNELL INSTITUTE
WO_2026087924_A1

Resumen de: WO2026087924A1

A system and method for identifying relationships using relational networks. A method includes applying a generative relational network (GRN) in order to create a model of relationships between entities. The GRN includes multiple sets of nodes, where each set of nodes includes a respective set of machine learning models. The sets of nodes include dominance factor nodes and evolution of internal component nodes, where the dominance factor nodes define a dominance factor based on change intensity and change frequency, and the evolution of internal component nodes define evolution with respect to changes over time. Relationships among the entities are simulated using the model, and at least a portion of the relationships are eliminated for a target interaction based on the simulation results. The remaining relationships are tested with respect to the target interaction in order to identify the target interaction.

DYNAMICALLY ADJUSTABLE EXPLAINABLE ARTIFICIAL INTELLIGENCE (XAI) MODEL

Nº publicación: WO2026085843A1 30/04/2026

Solicitante:

PAYPAL INC [US]
PAYPAL, INC.

WO_2026085843_A1

Resumen de: WO2026085843A1

Techniques are disclosed for enhancing the transparency and interpretability of machine learning (ML) models using explainable artificial intelligence (XAI). In some embodiments, a computing system generates an XAI model that provides reasons for the outputs of a first ML model by selecting from a set of predefined reasons based on an aggregation function. This aggregation function combines importance scores for various features associated with the ML model's output, where each feature is mapped to a corresponding reason. The computing system may determine one or more parameters for the aggregation function to improve the accuracy of the selected reason, allowing for adjustments in how the aggregation function processes the importance scores. In certain cases, the system may involve an imitation model that is trained to replicate the first ML model's outputs.

traducir