Ministerio de Industria, Turismo y Comercio LogoMinisterior
 

Alerta

Resultados 61 resultados
LastUpdate Última actualización 04/02/2026 [07:20:00]
pdfxls
Solicitudes publicadas en los últimos 30 días / Applications published in the last 30 days
previousPage Resultados 25 a 50 de 61 nextPage  

DETERMINING LABELS OF INHERITANCE DATASETS USING SIMULATED DATA INSTANCES

NºPublicación:  WO2026015162A1 15/01/2026
Solicitante: 
ANCESTRY COM DNA LLC [US]
ANCESTRY. COM DNA, LLC
WO_2026015162_PA

Resumen de: WO2026015162A1

Disclosed is a method for determining inheritance labels of users based on inheritance datasets of the users. The method includes generating a plurality of reference panels for a plurality of data-inheritance origins, each reference panel corresponding to a data-inheritance origin and comprising reference-panel datasets representative of the data-inheritance origin. The method constructs a plurality of simulated data trees that are built using the reference-panel datasets that are selected from the plurality of reference panels. The method generates a plurality of simulated inheritance datasets representing a plurality of simulated named entities, each representing a descendant named entity in one of the simulated data trees. The method trains a machine learning model to determine inheritance labels of an inheritance dataset.

SYSTEMS AND METHODS FOR GENERATING DYNAMIC TRANSIT ROUTES

NºPublicación:  US20260016310A1 15/01/2026
Solicitante: 
QUANATA LLC [US]
Quanata, LLC
US_20260016310_PA

Resumen de: US20260016310A1

A computing device comprising: obtaining telematics data generated by an autonomous vehicle; building, using a machine learning algorithm, a transit model based at least in part upon the telematics data; generating, based at least in part upon the transit model, a dynamic transit route; calculating a potential benefit comprising at least one of an amount of fuel cost savings, reduced travel time, insurance savings, or environmental pollution reduction when the dynamic route is used compared to a different route; transmitting a notification comprising the dynamic route and the potential benefit to a display or touchscreen of the autonomous vehicle; receiving, via the display screen or touchscreen, a selection input indicating acceptance or declination of the dynamic route; when the selection input indicates declination, modifying the route; and when the selection input indicates acceptance, instructing the autonomous vehicle to autonomously drive along the dynamic route.

INTELLIGENT AND REAL-TIME TASK GUIDANCE SYSTEM FOR SURGICAL OPERATING ROOMS

NºPublicación:  WO2026015586A1 15/01/2026
Solicitante: 
INTUITIVE SURGICAL OPERATIONS INC [US]
INTUITIVE SURGICAL OPERATIONS, INC
WO_2026015586_PA

Resumen de: WO2026015586A1

Systems and methods are described for determining and assigning tasks for performing medical procedures. The system may be configured to receive a plurality of data streams related to a medical procedure, wherein the plurality of data streams includes one or more of system data, medical environment data, and indications of personnel performing the medical procedure; analyze, using a task generation machine learning model, the plurality of data streams to generate natural language output relating to one or more tasks to be performed in furtherance of the medical procedure, wherein one or more inputs into the task generation machine learning model includes inputting embeddings of the plurality of data streams; analyze, via a task assignment machine learning model, the one or more tasks to assign the tasks to respective personnel; and provide indications to the respective personnel for performing the respective tasks assigned to the respective personnel.

DETERMINING LABELS OF INHERITANCE DATASETS USING SIMULATED DATA INSTANCES

NºPublicación:  US20260017284A1 15/01/2026
Solicitante: 
ANCESTRY COM DNA LLC [US]
Ancestry.com DNA, LLC
US_20260017284_PA

Resumen de: US20260017284A1

Disclosed is a method for determining inheritance labels of users based on inheritance datasets of the users. The method includes generating a plurality of reference panels for a plurality of data-inheritance origins, each reference panel corresponding to a data-inheritance origin and comprising reference-panel datasets representative of the data-inheritance origin. The method constructs a plurality of simulated data trees that are built using the reference-panel datasets that are selected from the plurality of reference panels. The method generates a plurality of simulated inheritance datasets representing a plurality of simulated named entities, each representing a descendant named entity in one of the simulated data trees. The method trains a machine learning model to determine inheritance labels of an inheritance dataset.

APPLICATION OF ARTIFICIAL INTELLIGENCE MACHINE LEARNING (AIML) MODELS ASSOCIATED WITH SAME FUNCTIONALITY

NºPublicación:  WO2026015208A1 15/01/2026
Solicitante: 
QUALCOMM INCORPORATED [US]
QUALCOMM INCORPORATED
WO_2026015208_PA

Resumen de: WO2026015208A1

Disclosed are techniques for wireless communication. In an aspect, a processing device may receive, from a server device, a request for an output based on application of a plurality of artificial intelligence machine learning (AIML) models associated with a same functionality. The processing device may apply the plurality of AIML models to obtain a plurality of respective candidate outputs, the plurality of candidate outputs being associated with the functionality. The processing device may transmit the output to the server device in response to the request, the output indicating at least one of the plurality of candidate outputs.

AUTOMATED FEATURE SELECTION FOR SPLIT NEURAL NETWORKS

NºPublicación:  US20260017517A1 15/01/2026
Solicitante: 
TELEFONAKTIEBOLAGET LM ERICSSON PUBL [SE]
Telefonaktiebolaget LM Ericsson (publ)
US_20260017517_PA

Resumen de: US20260017517A1

A computer-implemented method and apparatus for feature selection using a distributed machine learning (ML) model in a network comprising a plurality of local computing devices and a central computing device is provided. The method includes training, at each local computing device, the ML model during one or more initial training rounds using a group of input features representing a input features layer of the ML model. The method further includes generating, at each local computing device, based on the one or more initial training rounds, feature group values. The method further includes transmitting, from each local computing device, to the central computing device, the generated feature group values. The method further includes receiving, at each local computing device, from the central computing device, central computing device gradients. The method further includes computing, at each local computing device, local computing device gradients, using the received central computing device gradients. The method further includes generating, at each local computing device, a gradient trajectory for each input feature in the group of input features based on the computed local computing device gradients. The method further includes identifying, at each local computing device, based on the generated gradient trajectory, whether each input feature in the group of input features is non-contributing. The method further includes removing, at each local computing device, from the group

AUTOMATED TASK DETECTION USING MACHINE LEARNING AND LARGE LANGUAGE MODEL

NºPublicación:  US20260017573A1 15/01/2026
Solicitante: 
RAPTORXAI PRIVATE LTD [IN]
RAPTORXAI PRIVATE LIMITED
US_20260017573_PA

Resumen de: US20260017573A1

The invention relates to a method for improving task detection through a combination of machine learning and natural language processing. The method involves preparing data by preprocessing and cleaning to ensure suitability for machine learning algorithms, followed by training a LightGBM model using the prepared data. Task detection results are generated using the trained LightGBM model. The method further includes analyzing feature importance and generating new features using a large language model (LLM). These new features are used to expand the dataset, and the LightGBM model is retrained to enhance task detection performance. This approach automates feature extraction, improves performance, increases adaptability, and enhances the generalizability of task detection methods.

Response Prediction for Electronic Communications

NºPublicación:  US20260017544A1 15/01/2026
Solicitante: 
CAPITAL ONE SERVICES LLC [US]
Capital One Services, LLC
US_20260017544_PA

Resumen de: US20260017544A1

Systems, methods, and apparatuses are described herein for performing sentiment analysis on electronic communications relating to one or more image-based communications methods, such as emoji. Message data may be received. The message data may correspond to a message that is intended to be sent but has not yet been sent to an application. Using a first machine learning model, one or more subsets of the plurality of emoji may be determined. The one or more subsets of the plurality of emoji may comprise one or more different types and quantities of emoji, and may each correspond to the same or a different sentiment. Using a second machine learning model, one or more emojis may be selected from the one or more subsets. The one or more emojis selected may correspond to responses to the message.

MULTI-TASKING MODEL TRAINING METHOD AND MULTI-TASKING PERFORMING METHOD USING MACHINE LEARNING MODEL TRAINED ON BASIS THEREOF

NºPublicación:  EP4679330A1 14/01/2026
Solicitante: 
LG MAN DEVELOPMENT INSTITUTE CO LTD [KR]
LG Management Development Institute Co., Ltd
EP_4679330_PA

Resumen de: EP4679330A1

A multi-tasking model training method and a multi-tasking performing method using a machine learning model trained on the basis thereof, according to an embodiment of the present invention, may mutually transfer and learn knowledge data of a latent space for each task through geometric alignment in one integrated latent space in order to process a multi-task for output according to a plurality of domains.

METHOD FOR PROVIDING INTELLIGENT RESPONSE AGENT BASED ON ADVANCED INFERENCE AND ESTIMATION FUNCTION, AND SYSTEM THEREFOR

NºPublicación:  EP4679287A1 14/01/2026
Solicitante: 
LG MAN DEVELOPMENT INSTITUTE CO LTD [KR]
LG Management Development Institute Co., Ltd
EP_4679287_A1

Resumen de: EP4679287A1

A method and system for providing an intelligent response agent based on a sophisticated reasoning and speculation function according to an embodiment of the present disclosure can generate and provide response data for queries related to specialized documents using a deep-learning neural network that implements a stepwise process for a sophisticated reasoning and speculation function.

Method for improving accuracy of machine learning models

NºPublicación:  GB2642421A 14/01/2026
Solicitante: 
SAMSUNG ELECTRONICS CO LTD [KR]
Samsung Electronics Co., Ltd
GB_2642421_PA

Resumen de: GB2642421A

Method for training a neuro-symbolic machine learning model, comprising: for each image depicting at least two objects of a training dataset: inputting the image into a neural module 102, 200, 202 to obtain bounding boxes and features therein (digit); inputting each bounding box and object feature into a symbolic module (106, Fig.1; rest of Fig.2) to obtain a plurality of possible labels i.e. partial labels 212 and possible relationships 210 as a new partially-labelled training dataset; and training the neuro-symbolic model (neural module and the symbolic module) by calculating a loss from a ground truth label for the image. The symbolic module may use a set of logical rules to constrain the labels and explanations (R1-R5, Fig.7). The trained neuro-symbolic model may generate a scene graph, perform action recognition, perform visual question answering (Fig.4) or control an autonomous or semi-autonomous electronic device. The electronic device may be a moveable robot or a wearable augmented reality device.

METHODS, SYSTEMS AND COMPUTER PROGRAMS USING MACHINE LEARNING TO OPTIMIZE PREDICTION OF AN OCCURRENCE OF A RECURRING MEDICAL SYMPTOM OR BODY BEHAVIOR

NºPublicación:  WO2026008166A1 08/01/2026
Solicitante: 
NEC LABORATORIES EUROPE GMBH [DE]
NEC LABORATORIES EUROPE GMBH

Resumen de: WO2026008166A1

A computer-implemented method for optimizing a prediction of an occurrence of a recurring medical symptom or body behavior of a human being using machine learning, the method comprising obtaining (110) input data comprising features related to the occurrence of the recurring medical symptom or body behavior, dividing (120) the features included in the input data into two or more groups of features, encoding (130), using a trained encoder machine learning model, the features of the two or more groups of features into two or more embeddings, with each embedding representing a group of features, inputting (150) the two or more embeddings into a prediction machine learning model being trained to predict the occurrence of a recurring medical symptom or body behavior based on the two or more embeddings, and providing (160) a prediction of the recurring medical symptom or body behavior based on an output of the prediction machine learning model.

TRIGGER-BASED DATA INGESTION FOR MACHINE LEARNING USING EDGE DEVICE

NºPublicación:  WO2026010723A1 08/01/2026
Solicitante: 
EDGEIMPULSE INC [US]
EDGEIMPULSE INC

Resumen de: WO2026010723A1

An edge device comprising processing circuitry and memory stores a representation of a trigger condition. The edge device accesses streaming sensor data. The edge device determines, based on the streaming sensor data and using the processing circuitry, that the trigger condition is met. The edge device transmits the streaming sensor data to a computing device in response to determining that the trigger condition is met.

ADAPTABLE, SCALABLE, AND AUTONOMOUS PROTECTION VERIFICATION AND DECISION SUPPORT

NºPublicación:  WO2026010799A1 08/01/2026
Solicitante: 
RAYTHEON COMPANY [US]
RAYTHEON COMPANY

Resumen de: WO2026010799A1

A method includes obtaining (302, 802) information associated with assets and/or personnel to be protected and executing (306-322, 804) a set of weighting functions and a set of algorithms for protecting the assets and/or personnel. The weighting functions and algorithms are arranged in multiple levels of a hierarchy. Each level of the hierarchy includes one or more of the weighting functions and one or more of the algorithms. The one or more weighting functions and the one or more algorithms in at least one level of the hierarchy are applied across a timeline. The method also includes applying (330, 818) an artificial intelligence/machine learning (AI/ML) algorithm (608) across the timeline to update results due to one or more changes during one or more operations involving the assets and/or personnel.

INPUT FOR MACHINE LEARNING PREDICTION MODULE IN WIRELESS COMMUNICATION SYSTEM

NºPublicación:  WO2026010874A1 08/01/2026
Solicitante: 
GOOGLE LLC [US]
GOOGLE LLC

Resumen de: WO2026010874A1

A UE (102) receives (306), from a network entity (104), a configuration configuring a first set of RSs associated with an ML prediction module. The UE receives (310) a second set of RSs different from the first set of RSs. The UE transmits (316) a prediction report based on a measurement of the second set of RSs being used in an input to the ML prediction module. A UE (102) receives (806), from a network entity (104), a configuration configuring a plurality of RSs associated with a plurality of ML prediction modules. The UE receives (808) an indication indicating an RS associated with an ML prediction module. The ML prediction module is being executed at the UE. The UE transmits (816) a prediction report output from the ML prediction module based on a measurement of the RS being used as an input to the ML prediction module.

SYSTEMS AND METHODS FOR REDUCING CARBON FOOTPRINT BY TRACKING AND VERIFYING CARBON INTENSITY IN SUPPLY CHAIN OPERATIONS

NºPublicación:  AU2025271453A1 08/01/2026
Solicitante: 
GEVO INC
Gevo, Inc
AU_2025271453_A1

Resumen de: AU2025271453A1

Examples of the present disclosure describe systems/methods of reducing carbon footprint by generating and tracking a carbon intensity (CI) score assigned to a particular product as the product traverses through a processing plant and discrete steps in a supply chain. In some examples, intermediate CI scores may be assigned to the product as it completes each step in its life cycle. The intermediate CI scores may be aggregated to produce a final CI score. Each intermediate CI score is recorded on a blockchain, such that the CI score is independently verifiable and auditable. In other example aspects, a machine-learning model may be applied to the input data received from each supply chain stakeholder and CI scores, wherein the machine-learning model generates intelligent suggestions to stakeholders for how to tweak their processes to lower CI scores. In other examples, a CI score may be used to derive a value for a CI token. ov o v

SYSTEM AND METHOD FOR LEARNED EMITTER IDENTIFICATION AND TRACKING

NºPublicación:  WO2026010990A1 08/01/2026
Solicitante: 
RAYTHEON COMPANY [US]
RAYTHEON COMPANY

Resumen de: WO2026010990A1

A system and method are described for emitter identification and tracking in an electronic warfare (EW) environment. The system includes an antenna array configured to receive signals from radio frequency (RF) emitters during a dwell. Processing circuitry converts the received signals into digital signals. Pulses are detected and characteristics of the pulses determined to form pulse descriptor words (PDWs). The PDWs obtained during the dwell are deinterleaved using unsupervised machine learning to form clusters. The clusters are categorized using one or more supervised machine learning algorithms to determine whether the PDWs correspond to known or unknown emitters and the results tracked as in or out of library emitters. After merging the in or out of library emitters, an emitter report is generated and used to update a library of emitter profiles used by the supervised machine learning algorithms as well as determine countermeasures to generate.

DEVICE, SYSTEM, AND METHOD TO GENERATE RECOMMENDATIONS FOR FIXING MALFUNCTIONS IN A VEHICLE

NºPublicación:  WO2026009195A1 08/01/2026
Solicitante: 
MALHOTRA DEVAM [IN]
DUBEY KARUNAKAR [IN]
MALHOTRA, Devam,
DUBEY, Karunakar

Resumen de: WO2026009195A1

The present invention discloses a device (100), a system (300), and a method (200) for generating recommendations for predicting malfunctions in a vehicle (500). The invention includes a device (100) for generating recommendations after detecting vehicle (500) malfunctions (500). The device (100) comprises a control unit (101) with a transceiver (103) receiving sensed parameters from vehicle sensors (102) and user inputs. The processors (101-1) within the control unit (101) analyze the combined data to create the datasets to identify faults and predict potential malfunctions. The control unit (101) can further employ a fault identification model (104) like machine learning or artificial intelligence models to aid the analysis. Based on the analysis, the device (100) generates recommendations for users to address potential vehicle (500) malfunctions.

Trigger-Based Data Ingestion for Machine Learning Using Edge Device

NºPublicación:  US20260012762A1 08/01/2026
Solicitante: 
EDGEIMPULSE INC [US]
EdgeImpulse Inc
US_20260012762_PA

Resumen de: US20260012762A1

An edge device comprising processing circuitry and memory stores a representation of a trigger condition. The edge device accesses streaming sensor data. The edge device determines, based on the streaming sensor data and using the processing circuitry, that the trigger condition is met. The edge device transmits the streaming sensor data to a computing device in response to determining that the trigger condition is met.

SYSTEM AND METHOD FOR LEARNED EMITTER IDENTIFICATION AND TRACKING

NºPublicación:  US20260009880A1 08/01/2026
Solicitante: 
RAYTHEON COMPANY [US]
Raytheon Company
US_20260009880_PA

Resumen de: US20260009880A1

A system and method are described for emitter identification and tracking in an electronic warfare (EW) environment. The system includes an antenna array configured to receive signals from radio frequency (RF) emitters during a dwell. Processing circuitry converts the received signals into digital signals. Pulses are detected and characteristics of the pulses determined to form pulse descriptor words (PDWs). The PDWs obtained during the dwell are deinterleaved using unsupervised machine learning to form clusters. The clusters are categorized using one or more supervised machine learning algorithms to determine whether the PDWs correspond to known or unknown emitters and the results tracked as in or out of library emitters. After merging the in or out of library emitters, an emitter report is generated and used to update a library of emitter profiles used by the supervised machine learning algorithms as well as determine countermeasures to generate.

ARTIFICIAL INTELLIGENCE-ASSISTED BUILDING AND EXECUTION OF A FEDERATED DATA LAYER FOR ENTERPRISE ENGINEERING

NºPublicación:  US20260010543A1 08/01/2026
Solicitante: 
AVEVA SOFTWARE LLC [US]
Aveva Software, LLC
US_20260010543_PA

Resumen de: US20260010543A1

Artificial Intelligence-assisted building/execution of federated data layer for enterprise engineering: A system trains at least one machine-learning model to identify information about industrial assets from training data, then map the information to a federated data model. The system retrieves information about data from an application in an industrial asset. The at least one machine-learning model identifies types of the data, relationships between the data, and patterns of the data, from the information and based on data types, data relationships, and data patterns in the federated data model. The at least one machine-learning model maps the types of the data, the relationships between the data, and the patterns of the data to the federated data model. The system identifies knowledge about the types of the data, the relationships between the data, and/or the patterns of the data in the federated data model, in response to a query about data.

METHOD FOR ASSESSING THE SEISMIC RISK ON EXISTING BUILDINGS

NºPublicación:  US20260009912A1 08/01/2026
Solicitante: 
M T RICCI S R L [IT]
M.T. RICCI S.R.L
US_20260009912_PA

Resumen de: US20260009912A1

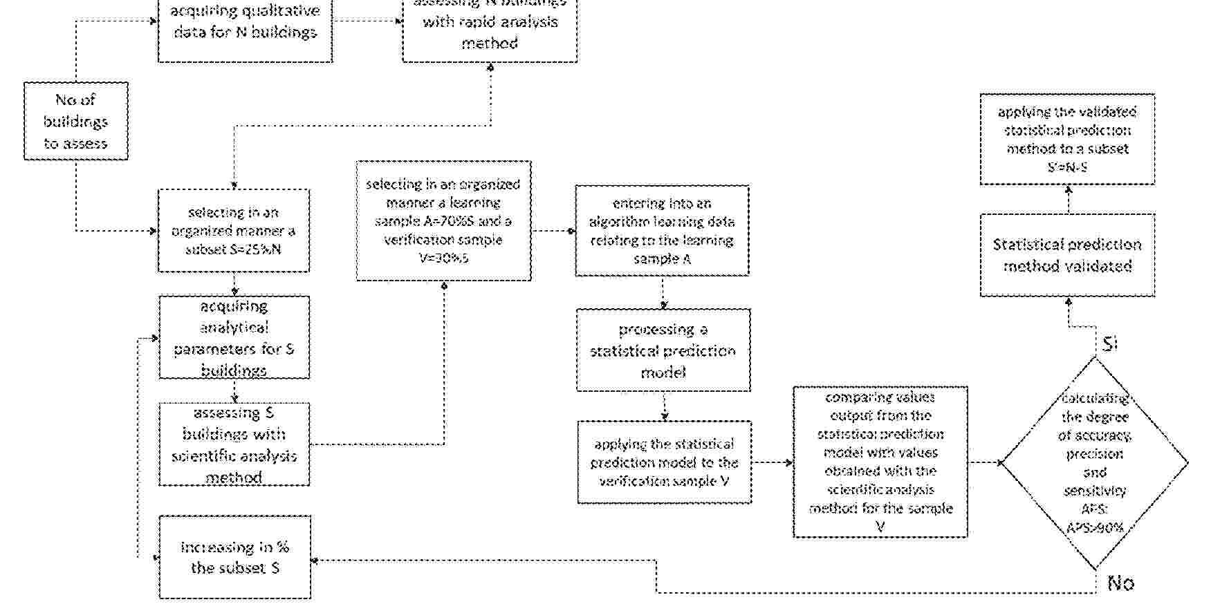
Method for assessing the seismic risk on existing buildings, comprising the following steps: a) identifying a set (N) of existing buildings to assess;b) acquiring for all existing buildings belonging to said set (N) qualitative data relating to the formal and construction features of said buildings;c) processing said qualitative data with a rapid analysis method based on qualitative criteria to assess the seismic vulnerability, and the related basic seismic risk, of all existing buildings belonging to the set (N);d) selecting in an organized manner a subset(S) comprising 25% to 33% of buildings of the set (N);e) acquiring for all the buildings of the subset(S) a plurality of analytical parameters;f) processing said plurality of analytical parameters with a scientific analysis method based on quantitative criteria to assess the vulnerability and the basic seismic risk of all the buildings of the subset(S);g) selecting in an organized manner a learning sample (A) comprising 70% to 80% of the buildings of the subset(S), and deriving by subtraction a verification sample (V) comprising 20% to 30% of buildings of the subset(S);h) using an AI-based machine learning model entering into an algorithm, for each building included in said learning sample (A), at least a part of said plurality of analytical parameters and the corresponding seismic vulnerability and basic seismic risk results already obtained with the scientific analysis method referred to in step f), to generate a statisti

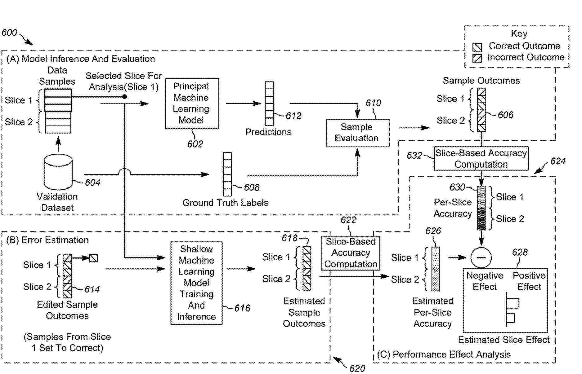
SLICE-BASED METHODS FOR OPTIMIZING VALIDATION AND SUBSEQUENT RETRAINING PROCEDURES OF MACHINE LEARNING MODELS

NºPublicación:  US20260010835A1 08/01/2026
Solicitante: 
BOSCH GMBH ROBERT [DE]
Robert Bosch GmbH
US_20260010835_PA

Resumen de: US20260010835A1

Methods for a machine-learning network that provide efficient, scalable, and granular analyses during validation of a machine learning model are disclosed. Providing quantitative analysis information to machine learning experts when they are deciding how to proceed with further optimizing their given machine learning model allows for more directed procedures during edge case detection. Following the execution of a principal machine learning model using a validation dataset, a shallow learning model may be trained to provide simulations about how the principal model may be improved, or not, given different re-training scenarios. By using slice-based schemes, the validation dataset is divided into certain problematic data slices, and then, during inference of the shallow learning model, additional quantitative information about the effect on other data slices given a subsequent re-training of the principal model using a certain problematic data slice allows the ML expert to make more informed decisions.

TOOLS TO CREATE FINANCIAL TRANSACTION MESSAGES MAPPED TO VARIOUS USE CASES

NºPublicación:  US20260010881A1 08/01/2026
Solicitante: 
JP MORGAN CHASE BANK N A [US]
JP Morgan Chase Bank, N.A
US_20260010881_PA

Resumen de: US20260010881A1

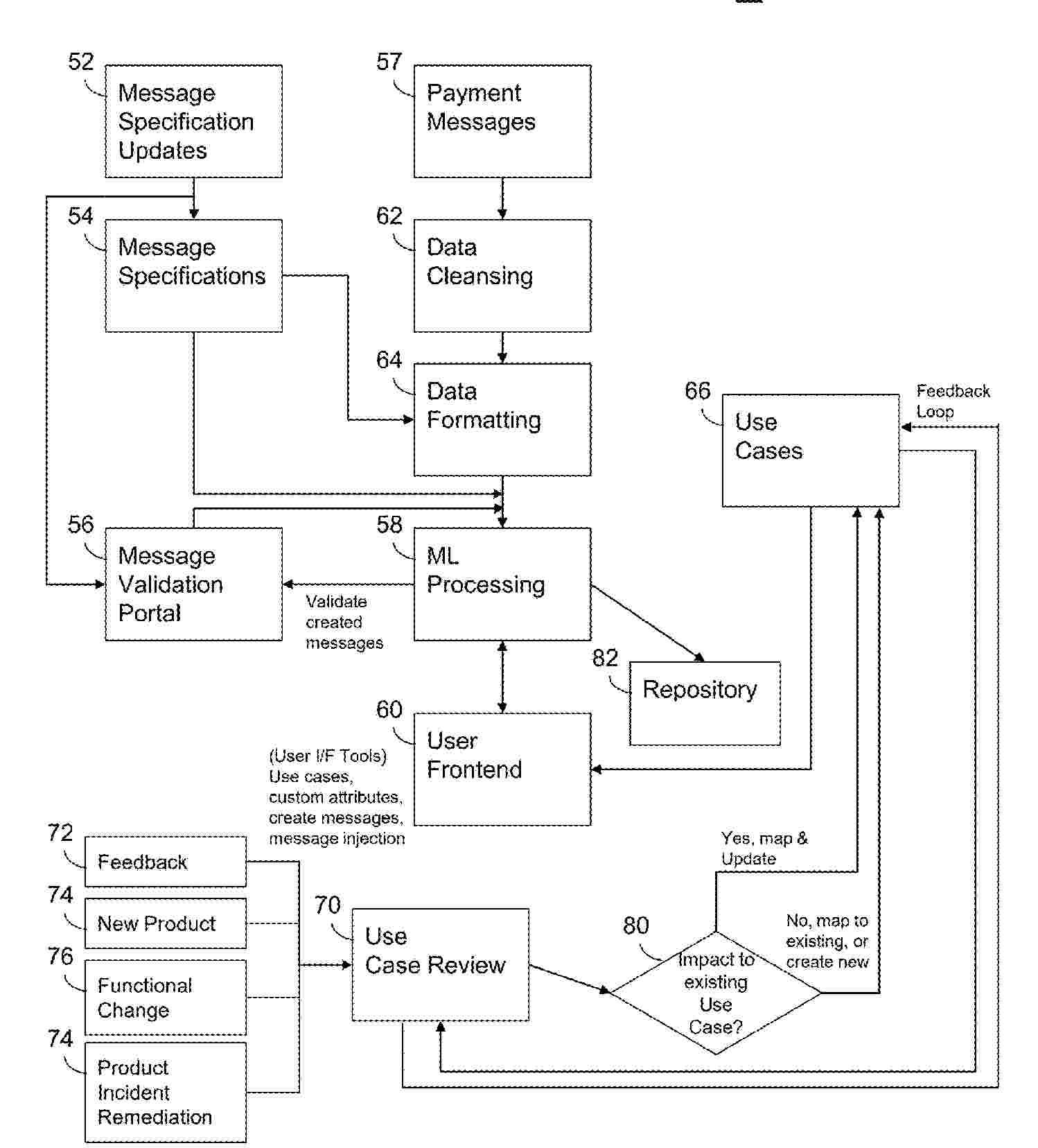
Apparatus is provided including computer memory configured to hold messages including data structures and configured data. The data structures may comprise a markup language and file format organized in accordance with a tree structure. The data structures may comprise an MX/ISO 20022 messaging format payment file for a sent or received payment. A machine learning (ML) processing circuit is provided that comprises a prediction data input and is configured to receive various messages at the prediction data input and to hold the various messages in the computer memory. The ML processing circuit comprises a message generator configured to generate messages for use in other systems, the generated messages being configured in accordance with the data structures. Per another embodiment, the machine learning processing circuit may be configured to create test messages based on the various messages held in the computer memory.

SYSTEMS AND METHODS FOR FIXED ROUTE BUS SPEEDS FOR A FLEET OF BUSES

Nº publicación: US20260011243A1 08/01/2026

Solicitante:

VIA TRANSP INC [US]
VIA TRANSPORTATION, INC

US_20260011243_PA

Resumen de: US20260011243A1

A system and method for predicting fixed route travel time (e.g., bus speeds along bus routes) is provided. The system and method include a first machine learning model trained to predict speed along the fixed route without turning and dwell times. The speed from the first machine learning model, along with dwell time and turn time can be used with a second machine learning model to determine the overall route time.

traducir