Ministerio de Industria, Turismo y Comercio LogoMinisterior
 

Alerta

Resultados 83 resultados
LastUpdate Última actualización 02/05/2026 [07:48:00]
pdfxls
Solicitudes publicadas en los últimos 30 días / Applications published in the last 30 days
previousPage Resultados 50 a 75 de 83 nextPage  

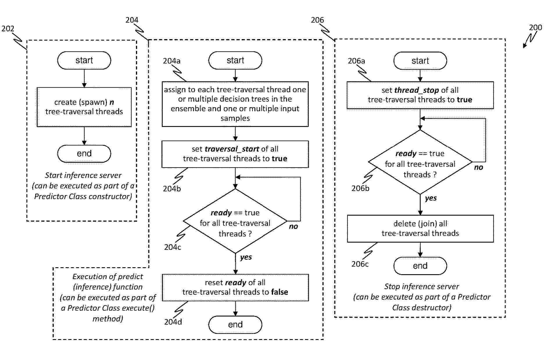
LATENT THOUGHT CHAIN FOR MACHINE LEARNING MODELS

NºPublicación:  WO2026076047A1 09/04/2026
Solicitante: 
GDM HOLDING LLC [US]
WO_2026076047_A1

Resumen de: WO2026076047A1

A computer-implemented method for generating a response to a query. The method comprises receiving one or more query tokens, the one or more query tokens indicative of the query, providing the one or more query tokens as input to a machine learning model, outputting, from a first head of the machine learning model, a first embedding based upon the one or more query tokens, generating an intermediate input embedding based upon the one or more query tokens and the first embedding, outputting, from a second head of the machine learning model, output data based upon the intermediate input embedding, and generating the response to the query based upon the output data.

METHOD AND APPARATUS FOR UTILIZING ARTIFICIAL INTELLIGENCE AND MACHINE LEARNING FOR BEAM MANAGEMENT IN WIRELESS COMMUNICATION SYSTEM

NºPublicación:  WO2026075381A1 09/04/2026
Solicitante: 
SAMSUNG ELECTRONICS CO LTD [KR]
\uC0BC\uC131\uC804\uC790 \uC8FC\uC2DD\uD68C\uC0AC
WO_2026075381_A1

Resumen de: WO2026075381A1

The present disclosure relates to a 5G or 6G communication system for supporting a higher data transmission rate. A method performed by a first user equipment (UE) in a wireless communication system, according to various embodiments of the present disclosure, may comprise the steps of: receiving, from a second base station, an artificial intelligence (AI) model on the basis of first network-side training information associated with a first base station; receiving, from the second base station, second network-side training information associated with the second base station; when the first network-side training information corresponds to the second network-side training information, transmitting, to the second base station, information indicating that the AI model is applicable; and receiving, from the second base station, information for configuring inference using the AI model.

Applied Artificial Intelligence Technology for Processing Trade Data to Detect Patterns Indicative of Potential Trade Spoofing

NºPublicación:  US20260099711A1 09/04/2026
Solicitante: 
TRADING TECH INTERNATIONAL INC [US]
US_20260099711_A1

Resumen de: US20260099711A1

Various techniques are described for using machine-learning artificial intelligence to improve how trading data can be processed to detect improper trading behaviors such as trade spoofing. In an example embodiment, semi-supervised machine learning is applied to positively labeled and unlabeled training data to develop a classification model that distinguishes between trading behavior likely to qualify as trade spoofing and trading behavior not likely to qualify as trade spoofing. Also, clustering techniques can be employed to segment larger sets of training data and trading data into bursts of trading activities that are to be assessed for potential trade spoofing status.

METHOD FOR CATEGORIZING USED LI-ION BATTERIES

NºPublicación:  WO2026075975A1 09/04/2026
Solicitante: 
BRIDGE GREEN UPCYCLE CORP [US]
WO_2026075975_A1

Resumen de: WO2026075975A1

Systems and methods disclosed herein comprise providing operational history and an electrolyte of a used Li-ion battery to a machine-learning model; receiving, from the machine-learning model, an estimate of a state of health (SoH) of the used Li-ion battery; reading parameters of the used Li-ion battery; providing the parameters and the estimate of the SoH of the used Li-ion battery to a machine-learning model trained to output a rate of degradation of the SoH of the used Li-ion battery in response to receiving parameters and a SoH; receiving, from the machine-learning model, a rate of degradation of the SoH of the used Li-ion battery; generating, based on the estimate of the SoH and the rate of degradation, a recommendation for an application of the used Li-ion battery, the application being a second-life application, recycling, or end-of-life; and providing the used Li-ion battery and a recommendation to a facility.

SYSTEM AND METHOD FOR GENERATING RECOURSE WITH DATA-DRIVEN ACTIONABILITY CONSTRAINTS

NºPublicación:  US20260099756A1 09/04/2026
Solicitante: 
JPMORGAN CHASE BANK NA [US]
US_20260099756_A1

Resumen de: US20260099756A1

0000 Various methods and processes, apparatuses/systems, and media for generating recourse data with data-driven actionability constraints for a negatively classified individual are disclosed. A processor trains a machine learning model by using a first set of training data and a second set of training data which outputs risk classification data associated with a negative decision; identifies, based on the risk classification data, a negatively classified individual who received the negative decision; applies a feature attribution algorithm to the trained model; ranks, in response to applying the feature attribution algorithm, a list of features that explain a negative classification for the negatively classified individual; filters the list of features that explain the negative classification for each negatively classified individual by utilizing computed actionability labels (i.e., “likely to improve,” unlikely to improve”) for all features; and outputs advice statements based on significant and actionable (likely to improve) features.

ARTIFICIAL INTELLIGENCE-BASED DEVICE POSITIONING WITH DEVICE GROUP SELECTION

NºPublicación:  WO2026075831A1 09/04/2026
Solicitante: 
QUALCOMM INCORPORATED [US]
WO_2026075831_A1

Resumen de: WO2026075831A1

A method comprises determining, by a network entity, a device group of at least one selected wireless device, wherein the one or more selected wireless devices are a subset of available wireless devices in an environment; and configuring the one or more selected wireless devices to send measurement data generated by the one or more selected wireless devices to a consumer entity configured to use training examples to train a machine learning (ML) system to generate output data, the training examples being based on the measurement data, the measurement data comprising measurements of wireless signals received by the one or more selected wireless devices, the output data indicating physical positions of one or more User Equipment (UE) devices in the environment or the output data being input data to a process that determines the physical positions of the one or more UE devices.

TECHNIQUES FOR IMPROVED USER EXPERIENCE PREDICTION

NºPublicación:  US20260099694A1 09/04/2026
Solicitante: 
OPTUM INC [US]
US_20260099694_A1

Resumen de: US20260099694A1

Techniques for improved user experience prediction are disclosed herein. An example computer-implemented method includes receiving a sequence of web pages visited by a user and applying a machine learning model to (i) the sequence of web pages and (ii) a set of metrics data corresponding to the sequence of web pages. Applying the machine learning model includes generating embeddings of web page identifiers associated with the sequence of web pages, determining, by a first hidden layer, a first modified embedding based on respective cross-effects associated with one or more other embeddings, determining, by a second hidden layer, a second modified embedding based on the set of metrics data associated with a respective first modified embedding, and outputting a user experience value for each second modified embedding. The example computer-implemented method further includes generating one or more data objects indicating one or more of the user experience values.

AUTOMATED MICROSERVICE TESTING

NºPublicación:  US20260099429A1 09/04/2026
Solicitante: 
HEWLETT PACKARD ENTPR DEV LP [US]
US_20260099429_A1

Resumen de: US20260099429A1

A computer-implemented method and system can be used to test a code modification for a microservice application. The code modification is analyzed using a machine learning model trained on historical test run results and code change data, Based on the analysis, a subset of test cases relevant to the code modification are predicted and selected from a test case repository. The selected subset of test cases can be executed to test the code modification. If the test cases are stored in natural language, natural language processing can be used to determine actionable words and assign weightages from the test case information. Test scripts can be developed based on the determined actionable words and assigned weightages.

APPARATUS FOR MACHINE OPERATORMACHINE OPERATOR FEEDBACK CORRELATION

NºPublicación:  US20260099769A1 09/04/2026
Solicitante: 
GMECI LLC [US]
US_20260099769_A1

Resumen de: US20260099769A1

In an aspect, an apparatus for machine operator feedback correlation is presented. An apparatus includes at least a processor and a memory communicatively connected to the at least a processor. A memory contains instructions configuring at least a processor to receive, through a sensing device, performance data of at least a machine operator. At least a processor is configured to classify performance data to a performance category through a performance classifier. At least a processor is configured to calculate a performance determination. At least a processor is configured to generate a feedback correlation through a machine operator feedback correlation machine learning model. At least a processor is configured to provide a feedback correlation to a user through a display device.

METHOD AND APPARATUS FOR MONITORING MODEL IN BEAM MANAGEMENT BY USING ARTIFICIAL INTELLIGENCE AND MACHINE LEARNING

NºPublicación:  US20260101217A1 09/04/2026
Solicitante: 
KT CORP [KR]
US_20260101217_A1

Resumen de: US20260101217A1

0000 Provided are a method and apparatus for monitoring a model in beam management by using artificial intelligence and machine learning. The method may include: in relation to a reference signal configured for a terminal, receiving second reference signal resource set configuration information of the reference signal for monitoring an AI/ML model; on the basis of the second reference signal resource set configuration information, measuring signal strength or signal quality for the reference signal; and reporting the performance result of the AI/ML model by comparing a measured value of the reference signal with a predicted value of the reference signal inferred via the AI/ML model.

METHOD AND APPARATUS FOR TRAINING MODEL FOR ARTIFICIAL INTELLIGENCE/MACHINE LEARNING-BASED COMMUNICATION

NºPublicación:  EP4723506A1 08/04/2026
Solicitante: 
KT CORP [KR]
EP_4723506_PA

Resumen de: EP4723506A1

Provided are a method and apparatus for training a model for artificial intelligence and/or machine learning (AI/ML)-based communication. A terminal receives, from a base station, data for AI/ML model training, and performs AI/ML model training based on the received data. After performing the AI/ML model training, the terminal transmits, to the base station, a first message indicating termination of collection of the data.

COALITION LEARNING FOR TRAINING OF DISTRIBUTED MACHINE LEARNING WORKLOADS

NºPublicación:  EP4720936A1 08/04/2026
Solicitante: 
ERICSSON TELEFON AB L M [SE]
EP_1000000_PA

Resumen de: EP1000000A1

The invention relates to an apparatus (1) for manufacturing green bricks from clay for the brick manufacturing industry, comprising a circulating conveyor (3) carrying mould containers combined to mould container parts (4), a reservoir (5) for clay arranged above the mould containers, means for carrying clay out of the reservoir (5) into the mould containers, means (9) for pressing and trimming clay in the mould containers, means (11) for supplying and placing take-off plates for the green bricks (13) and means for discharging green bricks released from the mould containers, characterized in that the apparatus further comprises means (22) for moving the mould container parts (4) filled with green bricks such that a protruding edge is formed on at least one side of the green bricks.

MACHINE LEARNING MODEL CONTINUOUS TRAINING SYSTEM

NºPublicación:  EP4720920A1 08/04/2026
Solicitante: 
SNAP INC [US]
EP_1000000_PA

Resumen de: EP1000000A1

The invention relates to an apparatus (1) for manufacturing green bricks from clay for the brick manufacturing industry, comprising a circulating conveyor (3) carrying mould containers combined to mould container parts (4), a reservoir (5) for clay arranged above the mould containers, means for carrying clay out of the reservoir (5) into the mould containers, means (9) for pressing and trimming clay in the mould containers, means (11) for supplying and placing take-off plates for the green bricks (13) and means for discharging green bricks released from the mould containers, characterized in that the apparatus further comprises means (22) for moving the mould container parts (4) filled with green bricks such that a protruding edge is formed on at least one side of the green bricks.

METHODS AND SYSTEMS OF PREDICTING TOTAL LOSS EVENTS

NºPublicación:  US20260091748A1 02/04/2026
Solicitante: 
CAMBRIDGE MOBILE TELEMATICS INC [US]
Cambridge Mobile Telematics Inc
US_20260091748_A1

Resumen de: US20260091748A1

A mobile device detects a crash event using one or more sensors of a mobile device. The mobile device records a first set of data from the one or more sensors of the mobile device. The mobile device generates a first feature vector including the first set of data and available values for one or more additional data types. The mobile device executes a first machine-learning model selected from a plurality of machine-learning models based on the one or more additional data types for which there are available values to generate a first confidence of a total loss event.

IDENTIFYING NOISE IN VERBAL FEEDBACK USING ARTIFICIAL TEXT FROM NON-TEXTUAL PARAMETERS AND TRANSFER LEARNING

NºPublicación:  US20260094061A1 02/04/2026
Solicitante: 
MICROSOFT TECH LICENSING LLC [US]
Microsoft Technology Licensing, LLC
US_20260094061_A1

Resumen de: US20260094061A1

Methods and systems are provided for classifying free-text content using machine learning. Free-text content (e.g., customer feedback) and parameter values organized according to a schema are received. A free-text corpus is generated, and an artificial-text corpus is generated by applying rules to the parameter values. The artificial-text corpus is generated by converting the parameter values into a finite set of words based on the rules and concatenating the words of the finite set of words into a fixed sequence wordlist. Feature vectors (e.g., sentence embeddings) based on the free-text corpus and the artificial-text corpus are combined and forwarded to a machine learning model for classification. The machine learning model may be trained with a bias towards a specified metric (e.g., precision, recall, F1 score). The model may be trained using transfer learning with training data from a different category of free-text content (e.g., a different category of customer feedback).

CENTRALIZED PLATFORM FOR ENHANCED AUTOMATED MACHINE LEARNING USING DISPARATE DATASETS

NºPublicación:  US20260094009A1 02/04/2026
Solicitante: 
AMAZON TECH INC [US]
Amazon Technologies, Inc
US_20260094009_A1

Resumen de: US20260094009A1

Systems and techniques are disclosed for a centralized platform for enhanced automated machine learning using disparate datasets. An example method includes receiving user specification of one or more data sources to be integrated with the system, the data sources storing datasets to be utilized to train one or more machine learning models by the system, and the datasets reflecting user interaction data. A dataset is imported from the data source, and machine learning models are automatically trained based a particular machine learning model recipe of a plurality of machine learning model recipes. A first trained machine learning model is implemented, with the system being configured to respond to queries based on the implemented machine learning model, and with the responses including personalized recommendations.

SYSTEMS AND METHODS FOR GENERATING AND DEPLOYING MACHINE LEARNING APPLICATIONS

NºPublicación:  US20260094427A1 02/04/2026
Solicitante: 
ELECTRIFAL OPCO LLC [US]
ElectrifAl Opco, LLC
US_20260094427_A1

Resumen de: US20260094427A1

A method comprising receiving data associated with a business, the data comprising first values for first attributes; processing the data, in accordance with a common data attribute schema that indicates second attributes, to generate second values for at least some of the second attributes including a group of attributes, the second values including a group of attribute values for the group of attributes; identifying, using the common data attribute schema and from among pre-existing software codes, software code implementing an ML data processing pipeline configured to generate a group of feature values; processing the group of attribute values with the software code to obtain the group of feature values; and either providing the group of feature values as inputs to a machine learning (ML) model for generating corresponding ML model outputs, or using the group of feature values to train the ML model.

Granular Taxonomy for Customer Support Augmented with AI

NºPublicación:  US20260094166A1 02/04/2026
Solicitante: 
FORETHOUGHT TECH INC [US]
Forethought Technologies, Inc
US_20260094166_A1

Resumen de: US20260094166A1

A computer-implemented method for augmenting customer support is disclosed in which a granular taxonomy is formed to classify tickets based on customer issue topic. A dashboard and user interface of performance metrics may be generated for the topics in the taxonomy.Recommendations may also be generated to aid servicing customer support issues for topics in the taxonomy. This may include generating information to aid in determining topics for generating automated responses or generating recommended answers for particular topics. In some implementations, an archive of historic tickets is used to generate training data for a machine learning model to classify tickets.

Multi-Stage Federated Learning in Wireless Networks

NºPublicación:  US20260094032A1 02/04/2026
Solicitante: 
APPLE INC [US]
Apple Inc
US_20260094032_A1

Resumen de: US20260094032A1

first group of AI agents to train and report, per each AI agent of the first group, a respective first partial AI or machine learning (ML) (AI/ML) model to the AI manager, receive the first partial model from each AI agent of the first group, generate a first version of a global model from the first partial models, if the first version of the global model is determined to be trustworthy, select a second group of AI agents to train and report, per each AI agent of the second group, a respective second partial AI/ML model to the AI manager, receive the second partial models and aggregate the second partial models and the first version of the global model into a second version of the global model.

DATA PRIVACY PROTECTION AND REMOVAL FOR ARTIFICIAL INTELLIGENCE MODEL TRAINING AND DEPLOYMENT

NºPublicación:  WO2026072419A1 02/04/2026
Solicitante: 
PAYPAL INC [US]
WO_2026072419_A1

Resumen de: WO2026072419A1

There are provided systems and methods for data privacy protection and removal for artificial intelligence model training and deployment. An online transaction processor or other service provider may provide computing services and platforms to entities, which may include use of machine learning (ML) models including large language models (LLMs). To comply with data privacy protections and copyright enforcement, a system may provide unlearning of content from ML models. The system may receive a request to unlearn a content and, after verifying the request is valid, identify the content used for during training of or inferencing by an ML model. The system may then map the content to concepts and correlate those concepts with ML model outputs using projections in a vector space. Based on the mapped concepts and outputs, neuron activation of the ML model may be analyzed to identify a negation vector and perform selective parameter dampening.

AUTOMATED MACHINE LEARNING BASED WORKFLOW FOR TIMESERIES FORECASTING

NºPublicación:  US20260094054A1 02/04/2026
Solicitante: 
FUJITSU LTD [JP]
ARCHIMEDES CONTROLS CORP [US]
Fujitsu Limited
Archimedes Controls Corporation
US_20260094054_A1

Resumen de: US20260094054A1

0000 In an embodiment, workflow for timeseries forecasting may be performed based on automated machine learning. Sensor data for measurement parameter is received from plurality of sensors installed in built environment and the received sensor data is stored in table of relational database. Cut-off record associated with previous training checkpoint is determined of the forecasting model for the measurement parameter. Records including new records are determined for which respective timestamps occur after the measurement timestamp of cut-off record. Size of the determined records are compared with threshold size and training dataset is prepared. The forecasting model is trained on the training dataset based on the comparison.

HIERARCHICAL MONITORING OF ARTIFICIAL INTELLIGENCE OR MACHINE LEARNING MODELS FOR AIR INTERFACE

NºPublicación:  WO2026072207A1 02/04/2026
Solicitante: 
QUALCOMM INCORPORATED [US]
WO_2026072207_A1

Resumen de: WO2026072207A1

Certain aspects of the present disclosure provide techniques for performing wireless communication. In some aspects, the techniques include obtaining a first metric associated with a model that is associated with wireless communication; and obtaining, in response to a trigger condition associated with the first metric being satisfied, a second metric associated with the model, the second metric providing a different measure of the model than the first metric.

DETECTION OF MINIMAL RESIDUAL DISEASE ASSOCIATED WITH CANCER USING FLOW CYTOMETRY DATA

NºPublicación:  WO2026072067A1 02/04/2026
Solicitante: 
MEMORIAL SLOAN KETTERING CANCER CENTER [US]
MEMORIAL HOSPITAL FOR CANCER AND ALLIED DISEASES [US]
SLOAN KETTERING INST CANCER RES [US]
MEMORIAL SLOAN-KETTERING CANCER CENTER
MEMORIAL HOSPITAL FOR CANCER AND ALLIED DISEASES
SLOAN-KETTERING INSTITUTE FOR CANCER RESEARCH
WO_2026072067_A1

Resumen de: WO2026072067A1

Presented herein are systems and methods of classifying samples based on flow cytometry data. A computing system may receive a dataset comprising a plurality of event sequences for a plurality of flow channels. The flow channels may correspond to white blood cell types in a sample obtained from a subject at risk of or diagnosed with cancer. The computing system may apply the dataset to a first machine learning (ML) model to determine a plurality of first values for the plurality of event sequences. The computing system may sort the dataset by the plurality of first values. The computing system may apply the sorted dataset to a second ML model to determine a second value indicating a probability of tumor associated with cancer in the sample of the subject. The computing system may generate a classification in accordance with the second value.

METHODS OF PREDICTING PROPERTIES OF A CHEMICAL SYSTEM USING SURROGATE MODELS

NºPublicación:  US20260094677A1 02/04/2026
Solicitante: 
CAMERON INT CORPORATION [US]
CAMERON INTERNATIONAL CORPORATION
US_20260094677_A1

Resumen de: US20260094677A1

Methods of predicting physicochemical properties of a chemical system using a family of surrogate or reduced order models, trained on first principle simulation results. The models are created using machine learning techniques. The chemical system can be a complex multicomponent and multiphase system such as produced water.

ENHANCED SOCIAL MEDIA PLATFORMS BASED ON MACHINE LEARNING BASED AGGREGATION OF TRENDING EVENTS

Nº publicación: AU2024354389A1 02/04/2026

Solicitante:

RENYOOIT LLC
RENYOOIT LLC

AU_2024354389_PA

Resumen de: AU2024354389A1

An example method for automatic generation of content based on an aggregation of trending events is provided. The method includes determining, by a computing device, a topic of interest. The method also includes determining additional information related to the topic of interest. The determining of the additional information includes, generating a prompt based on the topic of interest, submitting the prompt to an information search and retrieval system, and retrieving the additional information as an output of the information search and retrieval system. The method also includes generating, by a generative artificial intelligence model, a piece of annotated content associated with the topic of interest. The piece of annotated content comprises media content annotated with at least one selectable graphical object that links to the additional information. The method also includes providing, by the computing device, the piece of annotated content.

traducir