Ministerio de Industria, Turismo y Comercio LogoMinisterior
 

Alerta

Resultados 999 resultados
LastUpdate Última actualización 19/03/2026 [07:03:00]
pdfxls
Publicaciones de solicitudes de patente de los últimos 60 días/Applications published in the last 60 days
previousPage Resultados 481 a 962 de 999 nextPage  

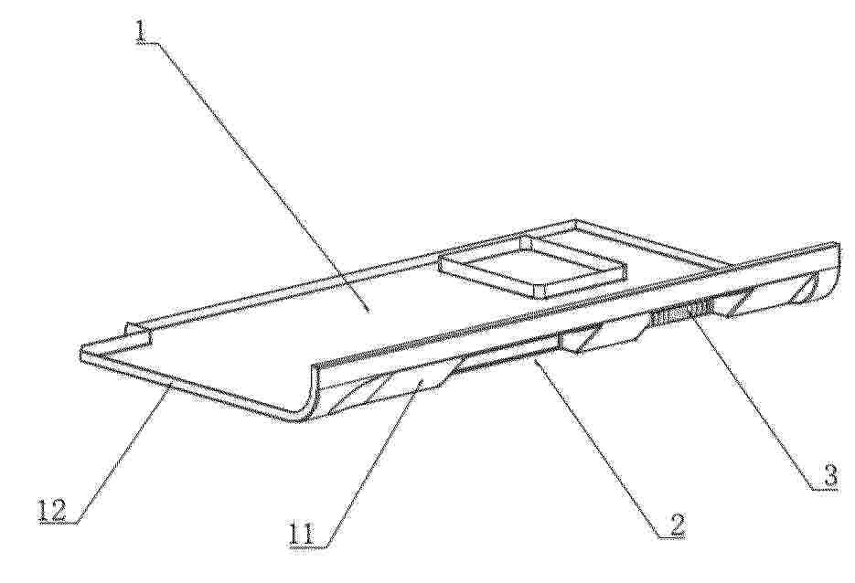
Blattlager

NºPublicación:  DE102024126999A1 19/03/2026
Solicitante: 
THYSSENKRUPP AG [DE]
THYSSENKRUPP ROTHE ERDE GERMANY GMBH [DE]
thyssenkrupp AG,
thyssenkrupp rothe erde Germany GmbH

Resumen de: DE102024126999A1

Die vorliegende Erfindung betrifft ein Blattlager zur Lagerung eines Rotorblattes einer Windenergieanlage an einer Nabe, mit einem Innenringelement (1) und einem konzentrisch zu dem Innenringelement (1) angeordneten Außenring (2). Um ein solches Blattlager anzugeben, welches eine hohe Steifigkeit und damit einen hohen Verformungswiderstand bei gleichzeitig geringem Gewicht aufweist, wird vorgeschlagen, dass an einer Innenmantelfläche (3) des Innenringelementes (1) mindestens ein Zugelement (4) befestigt ist, wobei durch das mindestens eine Zugelement (4) an mindestens zwei einander gegenüberliegenden Angriffspunkten (5) einander entgegengerichtete Zugkräfte auf das Innenringelement (1) aufbringbar sind.

Vorrichtung zur Inspektion, Wartung und/oder Reparatur von Rotorblättern einer Windenergieanlage und deren Verwendung

NºPublicación:  DE102024126653A1 19/03/2026
Solicitante: 
WP SYSTEMS GMBH [DE]
WP Systems GmbH

Resumen de: DE102024126653A1

Die Erfindung betrifft eine Vorrichtung zur Inspektion, Wartung und/oder Reparatur von Rotorblättern einer Windenergieanlage, sowie deren, wobei die Windenergieanlage mindestens einen Turm umfasst, aufweisend mindestens die folgenden Komponenten:• einen Abdruckrahmen, aufweisend mindestens zwei aus Segmenten bestehende Längsträger und einen Querträger;• mindestens ein Fahrwerk, aufweisend mehrere Führungseinrichtungen und angeordnet am Querträger;• eine wettergeschützte Kammer, mindestens aufweisend mehrere mittels Gelenken miteinander verbundene Kammerelemente;• eine Stützstruktur, welche die wettergeschützte Kammer mit den Längsträgern verbindet und mindestens erste Führungselemente zur Führung der Längsträger und zweite Führungselemente zur Führung der Kammerelemente aufweist;• ein Aufhängungssystem, aufweisend mindestens zwei Aufhängungsarme, die mittels Gelenken mit der Stützstruktur verbunden sind und mindestens drei Aufhängungsvorrichtungen, wobei mindestens zwei Aufhängungsvorrichtungen an den Aufhängungsarmen und eine Aufhängungsvorrichtung am Querträger angeordnet sind.

Spülbarer Hohlraum zwischen zwei Windkraftgetriebemodulen

NºPublicación:  DE102024208954A1 19/03/2026
Solicitante: 
ZAHNRADFABRIK FRIEDRICHSHAFEN [DE]
ZF WIND POWER ANTWERPEN NV [BE]
ZF Friedrichshafen AG,
ZF Wind Power Antwerpen N.V

Resumen de: DE102024208954A1

Die Erfindung betrifft eine Windkraftgetriebeanordnung mit einem ersten Modul (114) und einem zweiten Modul (115), die jeweils mindestens ein drehbares Bauteil (101, 103) und mindestens einen Gehäuseteil (109, 111) und aufweisen; wobei die drehbaren Bauteile (101, 103) zusammenfügbar oder zusammengefügt sind; und wobei die Gehäuseteile (109, 111) zusammenfügbar oder zusammengefügt sind. Das erste Modul (114) und das zweite Modul (115) weisen jeweils mindestens eine Dichtung (107, 117) auf, die das jeweilige drehbare Bauteil (101, 103) und den jeweiligen Gehäuseteil (109, 111) gegeneinander abdichtet.

Hydrodynamisches oder hydrostatisches Gleitlager sowie Verfahren zur Einstellung eines Lagerspiels an einem hydrodynamischen oder hydrostatischen Gleitlager und Windkraftanlage

NºPublicación:  DE102024126544A1 19/03/2026
Solicitante: 
SCHAEFFLER TECHNOLOGIES AG [DE]
Schaeffler Technologies AG & Co. KG

Resumen de: DE102024126544A1

Die Erfindung betrifft ein hydrodynamisches oder hydrostatisches Gleitlager (1) zur drehbaren Lagerung einer Welle (3), insbesondere in einer Windkraftanlage (2), mit wenigstens einer Anbindungsstruktur (6), einem ersten Gleitelement (4) mit einer ersten Gleitfläche (5), welches an einer Anbindungsstruktur (6) radial und/oder axial versetzbar angeordnet ist, wobei an dem wenigstens ersten Gleitelement (4) ein erster Rampenabschnitt (7) und an der Anbindungsstruktur (6) ein korrespondierender zweiter Rampenabschnitt (8) so ausgebildet sind, dass ein axialer Versatz des Gleitelements (4) gegenüber der Anbindungsstruktur (6) einen radialen Versatz des Gleitelements (4) bewirkt und/oder umgekehrt, so dass das Lagerspiel des Gleitelements (4) gegenüber der Welle (3) einstellbar ist, und wobei das Gleitelement (4) auf der Gegenseite der ersten Gleitfläche (5) eine sphärische Fläche (45) aufweist und wobei das Verbindungselement (44) eine dazu korrespondiere sphärische Fläche (46) aufweist, um das Gleitelement (4) an dem Verbindungselement (44) beweglich anzuordnen.

Floating quay to deploy floating units

NºPublicación:  GB2644129A 18/03/2026
Solicitante: 
TECHNIP ENERGIES FRANCE [FR]
Technip Energies France
GB_2644129_PA

Resumen de: GB2644129A

A floating quay 202 includes a deck 204 relocatable in a body of water 122 adjacent a stationary quay 200 to receive one or more floating units 102. The floating quay further includes an elevator system positionable to raise and lower at least a portion of the deck to receive the one or more floating units from the stationary quay and to deploy the one or more floating units into the body of water using the gradual slope of the deck. A method of using the quay to deploy the one or more floating units into the body of water is also disclosed. A system comprising the deck, an elevator system and a controller and used for deploying the one or more floating units into the body of water is also disclosed.

LUBRICATION RING, WIND TURBINE GEARBOX, WIND TURBINE AND METHOD OF ASSEMBLY THEREOF

NºPublicación:  EP4710020A1 18/03/2026
Solicitante: 
ENVISION ENERGY CO LTD [CN]
Envision Energy Co., Ltd
AU_2023456748_PA

Resumen de: AU2023456748A1

The present invention relates to a lubrication ring, a wind turbine gearbox, a wind turbine and a method of assembly thereof. The lubrication ring is formed by a number of ring segments that are positioned relative to each other in the circumference direction. The ring segments each has a first connection element and a second connection element, which are spaced apart to form a gap that takes up the thermal expansion of the ring segments. The lubrication ring forms at least one fluid channel for transferring lubrication fluid between a first gearbox part and a second gearbox part positioned relative to each other. Each ring segment has at least one mounting point for securing the ring segment to the first or second gearbox part and at least one first opening for guiding the lubrication fluid through the lubrication ring.

FLOATING PLATFORM MOORING SYSTEM AND METHOD OF INSTALLATION

NºPublicación:  EP4711257A1 18/03/2026
Solicitante: 
TECHNIP ENERGIES FRANCE [FR]
Technip Energies France
EP_4711257_PA

Resumen de: EP4711257A1

A tensioned leg floating platform mooring system and related methods may be used to secure the position of a floating platform. For example, the floating platform mooring system may include at least three fixed-length mooring lines coupled at different locations between a floating platform and one of one or more mooring piles. Additionally, the tensioned leg floating platform mooring system can include an adjustable-length mooring line coupled between the floating platform and one of the one or more mooring piles. The floating platform mooring system may further include a mooring line tension device coupled to the adjustable-length mooring line. The mooring line tension device may adjust a tension of the adjustable-length mooring line by adjusting a length of the adjustable-length mooring line in situ.

SWING TYPE POWER GENERATION DEVICE

NºPublicación:  EP4711610A1 18/03/2026
Solicitante: 
SHIJIAZHUANG JIANMU FEED CO LTD [CN]
Shijiazhuang Jianmu Feed Co., Ltd
EP_4711610_PA

Resumen de: EP4711610A1

The invention relates to the technical field of power generation devices, and in particular to a swing type power generation device, comprising a workbench, power generation components, and support components; the power generation component comprises a rotating component, a transmission component, and a generator. The workbench of the invention tilts and swings under the action of external energy, and then the rotating component rotates, driving the generator to generate electricity through the transmission component. A spring is provided at the bottom of the workbench and an accommodating cavity for storing liquid is provided inside the workbench. The arrangement of the spring and the accommodating cavity can further increase the instability of the workbench, increase the swing amplitude and swing frequency of the workbench when it swings, and make the workbench produce continuous swinging under the action of external force, thereby achieving the purpose of continuous and efficient power generation.

Floating quay to deploy floating units

NºPublicación:  GB2644116A 18/03/2026
Solicitante: 
TECHNIP ENERGIES FRANCE [FR]
Technip Energies France
GB_2644116_PA

Resumen de: GB2644116A

A floating quay 202 includes a deck 204 relocatable in a body of water 122 adjacent a stationary quay 200 to receive one or more floating units 102. The deck includes a gradual slope from an elevation of a surface of the stationary quay to a submerged position below a water level of a water surface of the body of water. The floating quay further includes an elevator system positionable to raise and lower at least a portion of the deck to receive the one or more floating units from the stationary quay and to deploy the one or more floating units into the body of water using the gradual slope of the deck. A method of using the quay to deploy the one or more floating units into the body of water is also disclosed. A system comprising the deck, an elevator system and a controller and used for deploying the one or more floating units into the body of water is also disclosed.

SELF-REGULATING SMALL WIND TURBINE GENERATOR SYSTEM AND METHOD

NºPublicación:  EP4709989A2 18/03/2026
Solicitante: 
MARSH DANIEL F [US]
Marsh, Daniel F
US_2025369422_PA

Resumen de: MX2025013322A

A small turbine generator is connected to a wind turbine. The wind turbine spins freely due to a variable wind force on the wind turbine. The generator includes a spinning rotor that is responsive and spins proportional to spin of the wind turbine. A stator is connected to an actuator. The stator is selectively moved by ethe actuator nearer to or further from the rotor to vary the electrical power generated. Movement of the stator is controlled such that an electrical measure, such as voltage of the electrical power generated, does not exceed a threshold level.

FRICTION SHIM

NºPublicación:  EP4711636A1 18/03/2026
Solicitante: 
SIEMENS GAMESA RENEWABLE ENERGY INNOVATION & TECHNOLOGY SL [ES]
Siemens Gamesa Renewable Energy Innovation & Technology S.L
EP_4711636_PA

Resumen de: EP4711636A1

The invention describes a friction shim (1) for use between the mating faces (21F, 22F) of two rotary components (21, 22) of a drivetrain (2), the friction shim (1) comprising a rigid substrate (10); an annular arrangement of holes (11), each hole (11) placed to receive a fastener (24) of a bolted joint between the rotary components (21, 22); characterized in that the outer edge (12) of the friction shim (1) comprises a series of lobes (12P, 12T) defined by a first radius (R1) and a second radius (R2), wherein the first radius (R1) extends from a centerpoint (C) of the friction shim (1) and crosses a hole (11) and extends beyond that hole (11) by a first predetermined distance (d1); the second radius (R2) extends between adjacent holes (11); and the first radius (R1) exceeds the second radius (R2) by a second predetermined distance (d2). The invention further describes a drivetrain (2) comprising such a friction shim (1) between the mating faces (21F, 22F) of first and second rotary components (21, 22); and a method of assembling such a drivetrain (2).

A HEATING SYSTEM FOR A WIND TURBINE ROTOR BLADE

NºPublicación:  EP4711608A1 18/03/2026
Solicitante: 
NORDEX ENERGY SE & CO KG [DE]
Nordex Energy SE & Co. KG
EP_4711608_PA

Resumen de: EP4711608A1

A heating system for a wind turbine rotor blade comprising• a plurality of heating elements to be installed in a row along a longitudinal direction,• wherein each of the heating elements comprises a carrier layer and a heating conductor fastened to the carrier layer,• wherein each carrier layer has a first edge facing the blade tip and a second edge facing the blade root, wherein• the carrier layers along the first edge have a strip-shaped margin with a first width and along the second edge have a strip-shaped margin with a second width,• for each pair of neighboring heating elements, a first edge of one of the heating elements is arranged adjacent to a second edge of the other one of the heating elements, and• the first width and the second width are dimensioned to arrange the heating conductors of the pair of heating elements in a predetermined distance sufficient to prevent flashovers between the heating conductors.

A HEATING ELEMENT FOR A WIND TURBINE ROTOR BLADE

NºPublicación:  EP4711607A1 18/03/2026
Solicitante: 
NORDEX ENERGY SE & CO KG [DE]
Nordex Energy SE & Co. KG
EP_4711607_PA

Resumen de: EP4711607A1

A heating element for a wind turbine rotor blade comprising:• a carrier layer,• a heating conductor fastened to the carrier layer,• wherein the heating conductor comprises a first end section which extends beyond an edge of the carrier layer, wherein the first end section is adapted to be connected to an electrical supply line of the wind turbine rotor blade, characterized in that• the heating conductor is guided through an adjustment section in which the heating conductor is movably fastened to the carrier layer, thereby enabling an adjustment of a length of the first end section by shifting the heating conductor in the adjustment section with reference to the carrier layer along a longitudinal direction of the heating conductor.

A HEATING ELEMENT FOR A WIND TURBINE ROTOR BLADE

NºPublicación:  EP4711606A1 18/03/2026
Solicitante: 
NORDEX ENERGY SE & CO KG [DE]
Nordex Energy SE & Co. KG
EP_4711606_PA

Resumen de: EP4711606A1

A heating element for a wind turbine rotor blade comprising:• two electrical connectors adapted to be connected to electrical supply lines of the wind turbine rotor blade, and• a defined geometry configured to be arranged on a specified surface area of the wind turbine rotor blade, characterized in that• the heating element is provided with a position indicator adapted to be aligned with a leading edge of the wind turbine rotor blade.

ND-FE-B PERMANENT MAGNET WITH CERIUM, ROTOR ASSEMBLY, ELECTROMECHANICAL TRANSDUCER, WIND TURBINE

NºPublicación:  EP4712112A1 18/03/2026
Solicitante: 
SIEMENS GAMESA RENEWABLE ENERGY AS [DK]
Siemens Gamesa Renewable Energy A/S
EP_4712112_PA

Resumen de: EP4712112A1

It is described a Nd-Fe-B permanent magnet (354) comprising 28-35 weight % of rare earth elements,wherein the content of the sum of Nd (Neodymium) and Pr (Praseodymium) is between 20 and 25 weight %,wherein the content of Ce (Cerium) is between 5 and 10 weight%,wherein the spatial extension, i.e. the height (h) of the magnet (354) in the main magnetization direction of the Nd-Fe-B permanent magnet (354) is between 18mm and 26mm.It is further described a rotor assembly (350) for an electromechanical transducer (340).

METHOD FOR MANUFACTURING A WIND TURBINE BLADE AND WIND TURBINE BLADE

NºPublicación:  EP4709574A1 18/03/2026
Solicitante: 
SIEMENS GAMESA RENEWABLE ENERGY AS [DK]
Siemens Gamesa Renewable Energy A/S
CN_121568835_PA

Resumen de: WO2025026678A1

The present invention relates to a method for manufacturing a wind turbine blade (1), comprising the steps: a) Premanufacturing an outboard blade section (15) by lamination of one or multiple layers of fiber material, wherein the premanufactured outboard blade section (15) comprises a main joining region (11) at an inboard end (151), b) Providing an openable mold (3) having the shape of a negative impression of an inboard blade section (16) of the wind turbine blade (1), c) Inserting the premanufactured outboard blade section (15) at least with the main joining region (11) into the openable mold (3); d) Extending the premanufactured outboard blade section (15) with an inboard blade section (16) by lamination of one or multiple layers of fiber material (45, 46, 85, 86) in the openable mold (3), thereby connecting the main joining region (11) of the premanufactured outboard blade section (15) to the inboard blade section (16). The method involves less steps than current manufacturing methods and can, even with further increasing blade lengths, be executed within existing production facilities.

PITCH-CONTROLLED WIND TURBINE

NºPublicación:  EP4709991A1 18/03/2026
Solicitante: 
VESTAS WIND SYS AS [DK]
VESTAS WIND SYSTEMS A/S
CN_121039391_PA

Resumen de: CN121039391A

According to the invention, there is provided a controlled pitch angle wind turbine comprising a tower, a nacelle mounted on the tower, a hub rotatably mounted on the nacelle, and three or more wind turbine blades. Each wind turbine blade extends between a root end connected to the hub and a tip end disposed opposite the root end. The wind turbine also includes a blade connection assembly including a blade connection member. Each blade connection member extends between a connection location at one wind turbine blade and a connection location at an adjacent wind turbine blade. The connection location at a given wind turbine blade is arranged at a distance from the root end and a distance from the tip end of the wind turbine blade. At least one of the wind turbine blades has a first color, and at least one of the blade connection assemblies is a contrast blade connection assembly having a contrast color, and the contrast color is different than the first color.

A SPAR FOR A WIND TURBINE BLADE

NºPublicación:  EP4709987A1 18/03/2026
Solicitante: 
STRUCTEAM LTD [GB]
Structeam Ltd
CN_121605242_PA

Resumen de: WO2024231668A1

A spar (5) for a wind turbine blade (1) having a shear web (10) with a spar cap (11) at each end. The spar caps (11) are formed of a stack of planks (12A,B) with offset termination faces (20). A connector (16) extends across a termination face (20) with a first surface of the connector being attached to two planks of the spar cap. The connector (16) may have an opposite face with a different geometry. This may be connected to transfer the load from the spar cap (5) to an adjacent component or between adjacent planks.

WIND TURBINE

NºPublicación:  EP4711268A2 18/03/2026
Solicitante: 
VESTAS WIND SYS AS [DK]
VESTAS WIND SYSTEMS A/S
EP_4711268_PA

Resumen de: EP4711268A2

In a first aspect of the present invention there is provided a blade for a wind turbine. The blade extends from a blade root defining a radial position r=0 to a blade tip defining a radial position r=R. The blade comprises a windward side and a leeward side which meet at a leading edge and a trailing edge to define an airfoil profile. A chord is the distance between the leading and trailing edges, and a relative thickness is the ratio of thickness to chord. The airfoil profile has a thickness being the greatest distance between the windward and leeward sides orthogonal to the chord. The blade comprises a connection point located at a first radial position (r1) between the blade root and the blade tip for connection of one or more blade connecting members for being connected between the connection point and a corresponding connection point on a neighbouring blade. The thickness and/or the relative thickness of the blade is substantially constant or has a local minimum within an inboard portion of the blade between the blade root and the connection point.

QUICK ADJUST ROOT PLATE ATTACHMENT FOR WIND TURBINE BLADE MOLDS

NºPublicación:  EP4711123A2 18/03/2026
Solicitante: 
TPI TECH INC [US]
TPI Technology, Inc
EP_4711123_PA

Resumen de: EP4711123A2

A method for axial adjustment of a root plate assembly system of a wind turbine blade is disclosed. The method comprises providing a root plate comprising at least one aperture, providing a threaded collar comprising a longitudinal extending channel and threads on an outer surface thereof; providing an infused plate comprising at least one aperture disposed therein; providing a fastener disposed at least partially within the longitudinal extending channel of the threaded collar and the root plate; providing an infused composite panel to form a root flange, positioning the root flange between the root plate and the infused plate, the root flange extending around the threaded collar and the fastener; adjusting the threaded collar to longitudinally move the fastener relative to the root flange; adjustably coupling the root plate and the infused plate via the fastener disposed through the longitudinal extending channel of the threaded collar disposed therebetween.

BLADE GUIDING APPARATUS

NºPublicación:  EP4709986A2 18/03/2026
Solicitante: 
VESTAS WIND SYS AS [DK]
VESTAS WIND SYSTEMS A/S
CN_121420133_PA

Resumen de: CN121420133A

The present disclosure relates to a blade guide apparatus for facilitating a connection between a wind turbine blade and a rotor hub. The blade guide apparatus has a guide and a cushion carried by the guide. The cushion is provided for interfacing with the wind turbine blade or with the rotor hub to create an interference fit between the guide and the wind turbine blade or rotor hub. The arrangement of the cushion facilitates absorption and/or suppression of impacts that may be encountered during installation due to relative movement between the wind turbine blade and the rotor hub.

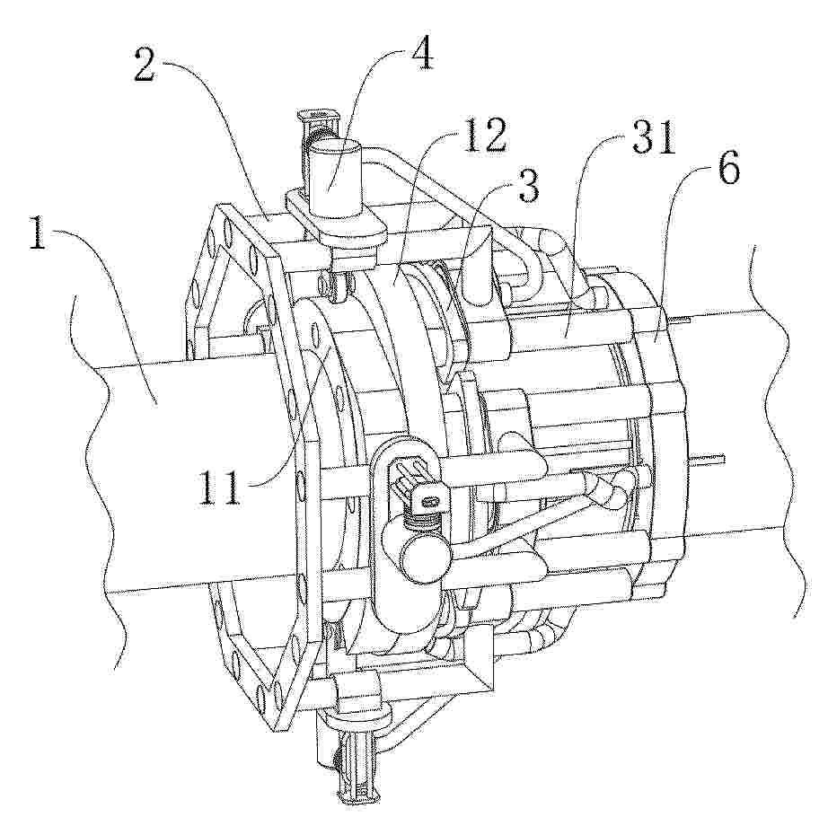
THREE-ROW ROLLER BEARING, PREFERABLY FOR USE IN A WIND POWER PLANT

NºPublicación:  EP4710004A1 18/03/2026
Solicitante: 
THYSSENKRUPP AG [DE]
DEFONTAINE SAS [FR]
thyssenkrupp AG,
Defontaine SAS
CN_121219503_PA

Resumen de: CN121219503A

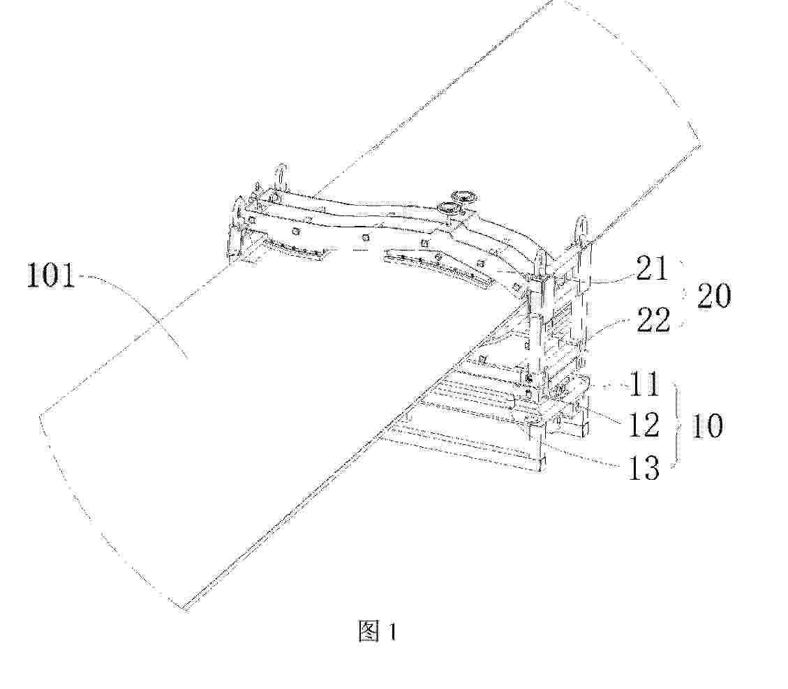
The invention relates to a three-row roller bearing (100), preferably for a wind energy installation (200), having an outer ring (1) and a two-part inner ring (2, 3), which can be rotated relative to one another about an axis of rotation (A), the bearing (100) having a hub side (1a), by means of which the bearing (100) can be connected to a hub, and a rotor blade side (3c), by means of which the bearing (100) can be connected to the hub, a bearing (100) is connectable to a rotor blade (7), where the inner rings (2, 3) comprise a rotor blade-side inner ring (3), a hub-side inner ring (2) and an inner bearing gear (2a), where the rotor blade-side inner ring (3) comprises the inner bearing gear (2a).

BLADE GUIDING APPARATUS

NºPublicación:  EP4709985A1 18/03/2026
Solicitante: 
VESTAS WIND SYS AS [DK]
VESTAS WIND SYSTEMS A/S
CN_121285687_PA

Resumen de: CN121285687A

The present disclosure relates to a blade guide apparatus for facilitating a connection between a wind turbine blade and a rotor hub. The blade guide apparatus has at least one pin associated with one of a wind turbine blade or a rotor hub; and a frame having a hole for receiving the pin, the frame being associated with the other of the wind turbine blade or the rotor hub. The blade guide apparatus also has an expansion part configured to expand upon expansion from an unexpanded state in which relative movement between the pin and the frame is unhindered to an expanded state in which the pin is secured within the frame.

FLOATING QUAY TO DEPLOY FLOATING UNITS

NºPublicación:  EP4711258A1 18/03/2026
Solicitante: 
TECHNIP ENERGIES FRANCE [FR]
Technip Energies France
EP_4711258_PA

Resumen de: EP4711258A1

A floating quay includes a deck relocatable in a body of water adjacent a stationary quay to receive one or more floating units. The deck includes a gradual slope from an elevation of a surface of the stationary quay to a submerged position below a water level of a water surface of the body of water. The floating quay further includes an elevator system positionable to raise and lower at least a portion the deck to receive the one or more floating units from the stationary quay and to deploy the one or more floating units into the body of water using the gradual slope of the deck.

DEVICE FOR INSPECTING, MAINTAINING AND/OR REPAIRING ROTOR BLADES OF A WIND TURBINE AND USE THEREOF

NºPublicación:  EP4711609A1 18/03/2026
Solicitante: 
WP SYSTEMS GMBH [DE]
WP Systems GmbH
EP_4711609_PA

Resumen de: EP4711609A1

Die Erfindung betrifft eine Vorrichtung zur Inspektion, Wartung und/oder Reparatur von Rotorblättern einer Windenergieanlage, sowie deren, wobei die Windenergieanlage mindestens einen Turm umfasst, aufweisend mindestens die folgenden Komponenten:• einen Abdruckrahmen, aufweisend mindestens zwei aus Segmenten bestehende Längsträger und einen Querträger;• mindestens ein Fahrwerk, aufweisend mehrere Führungseinrichtungen und angeordnet am Querträger;• eine wettergeschützte Kammer, mindestens aufweisend mehrere mittels Gelenken miteinander verbundene Kammerelemente;• eine Stützstruktur, welche die wettergeschützte Kammer mit den Längsträgern verbindet und mindestens erste Führungselemente zur Führung der Längsträger und zweite Führungselemente zur Führung der Kammerelemente aufweist;• ein Aufhängungssystem, aufweisend mindestens zwei Aufhängungsarme, die mittels Gelenken mit der Stützstruktur verbunden sind und mindestens drei Aufhängungsvorrichtungen, wobei mindestens zwei Aufhängungsvorrichtungen an den Aufhängungsarmen und eine Aufhängungsvorrichtung am Querträger angeordnet sind.

A METHOD FOR MOUNTING A WIND TURBINE ROTOR BLADE TO A HUB

NºPublicación:  EP4709984A1 18/03/2026
Solicitante: 
VESTAS WIND SYS AS [DK]
VESTAS WIND SYSTEMS A/S
CN_121241200_PA

Resumen de: CN121241200A

The invention provides a method for mounting a wind turbine rotor blade (11) to a hub (18),-said blade comprising a blade root (111) comprising a root shell (115) forming the tubular shape of said blade root, said blade root forming an open blade root end (112), said blade root end defining an imaginary root end plane (REP), the root shell terminates in the root end plane; -wherein, for mounting the blade (11) to the hub (18), one of the blade root and the hub comprises a plurality of protruding engagement means (119) and the other of the blade root and the hub forms a plurality of engagement holes (181), each engagement hole being arranged to receive a respective engagement means (119); -wherein the method comprises: prior to mounting the blade to the hub, placing a pushing device (401) in the blade root (111) so as to extend between two opposite positions of a root shell (115) of the blade; -extending the pushing means (401) to subject the blade root (111) to a pushing force acting on the two opposite positions (401L) of the root housing (115) in order to change the shape of the blade root as viewed in a direction perpendicular to the root end plane (REP); and-after the step of lengthening the pushing means (401) and while the pushing means are lengthened to subject the blade root (111) to the pushing force, moving the blades (11) and/or hub (18) to allow the engagement means (119) to at least partially enter the respective engagement holes (181).

METHOD OF INSTALLING AND CONTROLLING AN OFFSHORE WIND POWER PLANT

NºPublicación:  EP4709990A1 18/03/2026
Solicitante: 
OERSTED WIND POWER AS [DK]
\u00D8rsted Wind Power A/S
AU_2024270988_PA

Resumen de: AU2024270988A1

Method of installing the offshore wind power plant, in which a number of installation design variants are modelled to determine performance characteristics. Modelling comprises applying a Monte Carlo method. An installation design is then selected based on the variant with the highest performance characteristics. The offshore wind power plant may be controlled by determining its instability probability characteristics based on modelling using a plurality of known installation design parameters and one or more variable control parameters associated with the wind power plant, wherein modelling comprises applying a Monte Carlo method. The one or more variable control parameters may then be controlled such that the wind power plant is operated below a selected instability probability threshold.

DEVICE AND METHOD FOR CONNECTING A WIND TURBINE TOWER TO A BASE

NºPublicación:  EP4709947A1 18/03/2026
Solicitante: 
BOUYGUES TRAVAUX PUBLICS [FR]
Bouygues Travaux Publics
WO_2024235849_PA

Resumen de: WO2024235849A1

The present invention relates to a metal ring for connecting a metal wind turbine tower to a concrete base, the ring being annular in shape, centred about an axis, and comprising: a first disc comprising a plurality of anchoring holes, each anchoring hole allowing the passage of a preloaded cable in order to anchor the first disc to the concrete base, and a second disc, spaced apart from the first disc, and comprising a plurality of clamping holes, each of the clamping holes being situated facing a corresponding anchoring hole in the first disc to allow a clamping tool to engage in the clamping hole, in order to apply tension to the preloaded cable passed through the anchoring hole that faces the clamping hole. The first and second discs are interconnected by a first generally annular metal spacer and form a single piece.

Floating platform mooring system and method of installation

NºPublicación:  GB2644130A 18/03/2026
Solicitante: 
TECHNIP ENERGIES FRANCE [FR]
Technip Energies France
GB_2644130_PA

Resumen de: GB2644130A

A tensioned leg floating platform mooring system and related methods are used to secure the position of a floating platform. The floating platform mooring system 100 includes at least three fixed-length mooring lines 122a-c coupled at different locations between a floating platform 101 and one of one or more mooring piles 124. Additionally, the tensioned leg floating platform mooring system includes an adjustable-length mooring line 126a-c coupled between the floating platform and one of the one or more mooring piles. The floating platform mooring system further includes a mooring line tension device 202 coupled to the adjustable-length mooring line. The mooring line tension device adjusts a tension of the adjustable-length mooring line by adjusting a length of the adjustable-length mooring line in situ.

Floating quay to deploy floating units

NºPublicación:  GB2644131A 18/03/2026
Solicitante: 
TECHNIP ENERGIES FRANCE [FR]
Technip Energies France
GB_2644131_PA

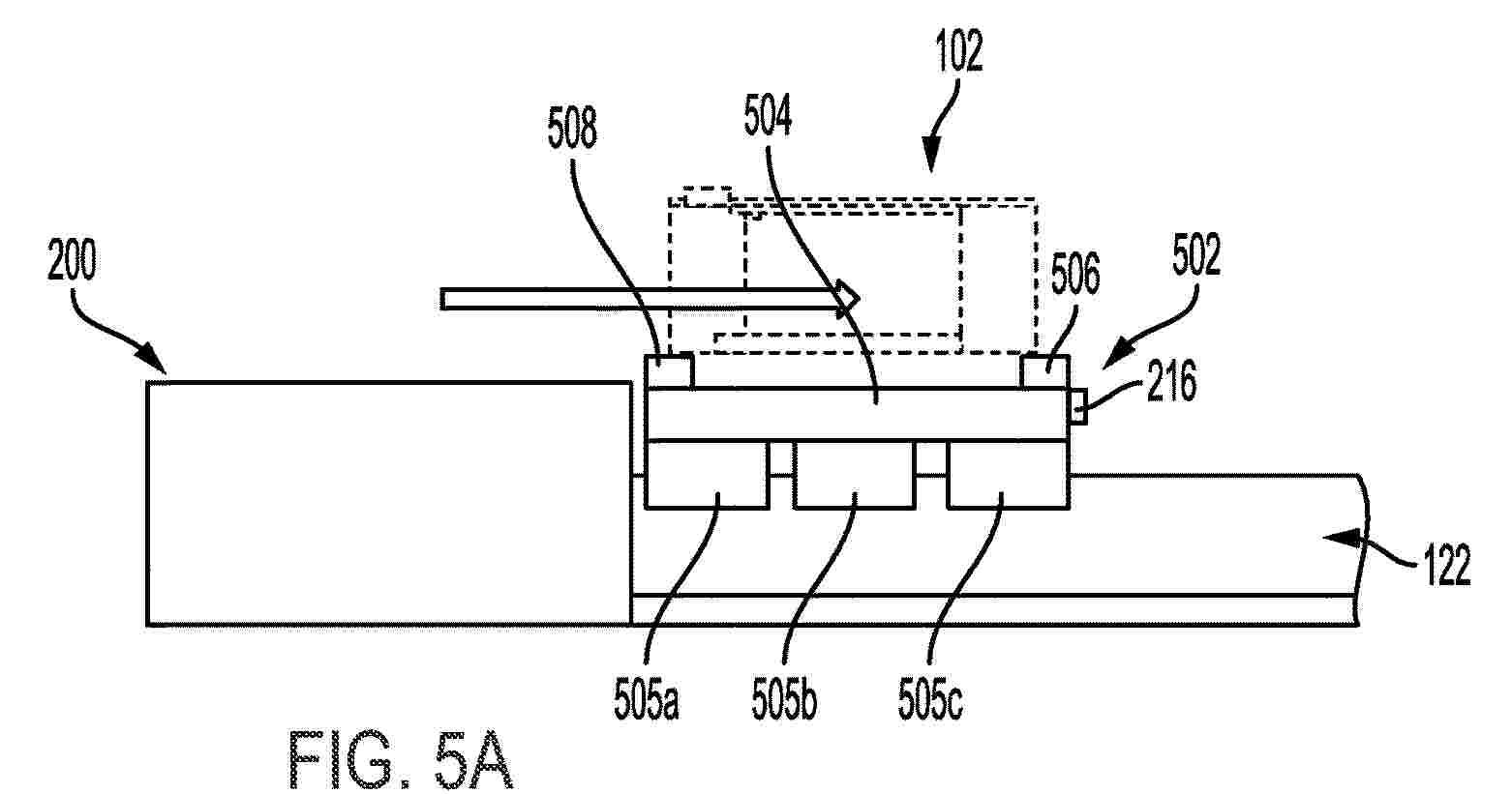
Resumen de: GB2644131A

A floating quay 502 includes a deck 504 relocatable in a body of water adjacent a stationary quay 200 to receive one or more floating units 102. The deck may be used to define a slope from an elevation of a surface of the stationary quay to a submerged position below a water level of a water surface of the body of water. The floating quay further includes an elevator system positionable to raise and lower at least a portion the deck to receive the one or more floating units from the stationary quay and to deploy the one or more floating units into the body of water using the slope of the deck. A controller 506 is used to alter the buoyancy of at least two ballast compartments 505a-c, to allow the elevator system to raise and lower at least a portion the deck.

A COMBINATION POWER PLANT FOR THE PRODUCTION OF ELECTRICAL ENERGY, COMPRISING AN EXISTING HYDROPOWER PLANT AND A WIND POWER PLANT

NºPublicación:  EP4709988A1 18/03/2026
Solicitante: 
GREEN NOR GROUP AS [NO]
Green-Nor Group AS
WO_2024237793_PA

Resumen de: WO2024237793A1

The present invention relates to a combined power plant for the production of electrical energy, comprising an existing hydropower plant and a wind power plant. The existing infrastructure of the hydropower plant is utilized in the construction and operation of the wind power plant.

Floating platform mooring system and method of installation

NºPublicación:  GB2644135A 18/03/2026
Solicitante: 
TECHNIP ENERGIES FRANCE [FR]
Technip Energies France
GB_2644135_PA

Resumen de: GB2644135A

A tensioned leg floating platform mooring system and related methods are used to secure the position of a floating platform. The floating platform mooring system 100includes at least three fixed-length mooring lines 122a-c coupled at different locations between a floating platform 101 and one of one or more mooring piles 124.Additionally, the tensioned leg floating platform mooring system includes an adjustable-length mooring line 126a-c coupled between the floating platform and oneof the one or more mooring piles. The floating platform mooring system further includes a mooring line tension device 202 coupled to the adjustable-length mooringline. The mooring line tension device adjusts a tension of the adjustable-length mooring line by adjusting a length of the adjustable-length mooring line in situ.

Floating quay to deploy floating units

NºPublicación:  GB2644132A 18/03/2026
Solicitante: 
TECHNIP ENERGIES FRANCE [FR]
Technip Energies France
GB_2644132_PA

Resumen de: GB2644132A

A floating quay 502 includes a deck 504 relocatable in a body of water 122 adjacent a stationary quay 200 to receive one or more floating units 102. The deck may be used to define a slope from an elevation of a surface of the stationary quay to a submerged position below a water level of a water surface of the body of water. The floating quay further includes an elevator system positionable to raise and lower at least a portion the deck to receive the one or more floating units from the stationary quay and to deploy the one or more floating units into the body of water using the slope of the deck. At least one towing bitt 216 is positionable to engage a towline such that the floating quay is movable to an additional stationary quay.

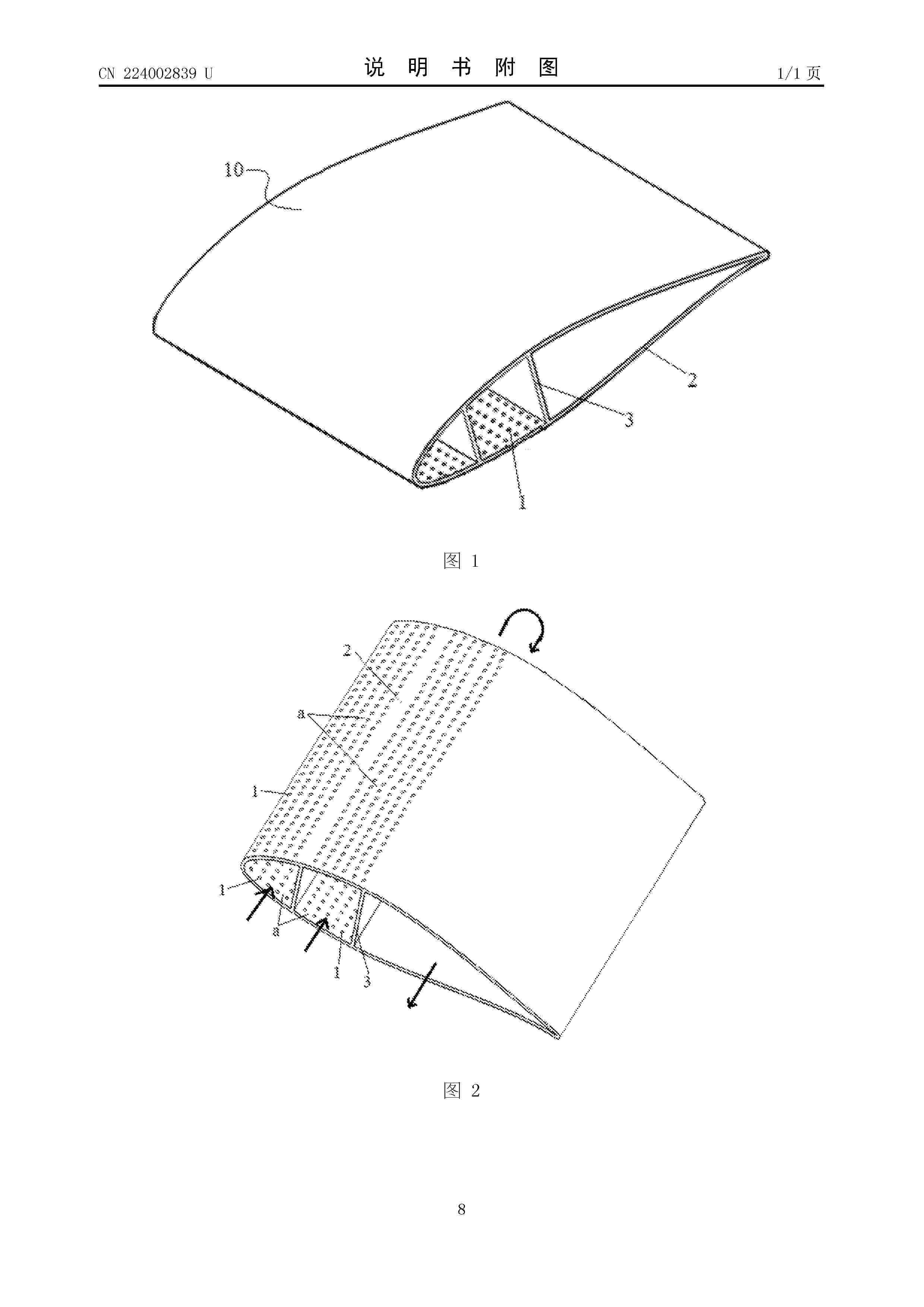
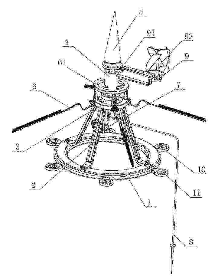
一种风机及其气热防冰式风机叶片

NºPublicación:  CN224002839U 17/03/2026
Solicitante: 
长沙理工大学
CN_224002839_U

Resumen de: CN224002839U

本实用新型公开了一种风机及其气热防冰式风机叶片,涉及风机技术领域,气热防冰式风机叶片包括叶片主体,叶片主体在易覆冰区域均匀设有若干个微型气孔,微型气孔贯通叶片主体的壁面设置,叶片主体的外表面在易覆冰区域覆盖有气动保护层,气动保护层的导热系数低于叶片主体的导热系数。易覆冰区域贯通的微型气孔,使得热空气可通过微型气孔直接到达叶片表面,无需通过热传导穿透叶片壁面,提高了传热效率,加热时间短;并在易覆冰区域的微型气孔外覆盖有气动保护层,避免了打孔操作影响叶片表面气动性能,保障了风机叶片原有的气动性能;此外,气动保护层的导热系数低于叶片主体的导热系数,减少了叶片表面的热量损失,能耗降低。

一种风电齿轮箱的振动测试装置

NºPublicación:  CN224004668U 17/03/2026
Solicitante: 
四川浩能新能源有限公司
CN_224004668_U

Resumen de: CN224004668U

本实用新型属于风电设备测试技术领域,尤其是一种风电齿轮箱的振动测试装置,针对现有的在对风电齿轮箱进行振动测试时,难以真实的测出风电齿轮箱的震动幅度的问题,现提出如下方案,其包括安装在风电齿轮箱上的吸引盒,吸引盒的顶部内壁上贯穿固定安装有支撑管,支撑管的顶端固定安装有安装板,该测试装置还包括测试机构,测试机构安装在安装板的顶部,测试机构的底部贯穿支撑管并延伸至吸引盒内,本实用新型在将吸引盒紧密的吸附在风电齿轮箱上后,能够在风电齿轮箱正常运行的过程中,对风电齿轮箱所产生的振动进行检测,以此能够得出风电齿轮箱的准确振动数据,所以具有良好的实用性。

一种基于风电机组偏航回正用调节装置

NºPublicación:  CN224002842U 17/03/2026
Solicitante: 
国家电投集团繁峙金丰新能源发电有限公司
CN_224002842_U

Resumen de: CN224002842U

本实用新型公开了一种基于风电机组偏航回正用调节装置,包括安装座,其特征在于:安装座的顶面活动安装有连接筒,还包括:检测机构,设置在连接筒的外侧用于监测风向;调节机构,设置在安装座的顶面用于调节安装座的转向角度,本实用新型涉及风电机组技术领域。该基于风电机组偏航回正用调节装置,通过设置的主动齿轮盘和从动齿轮可以调节连接筒的转动角度来适应风向,使用时启动直流电机带动直流电机转动使从动齿轮旋转,接着从动齿轮会通过齿块带动连接筒转动调节检测机构的转动角度,调节到合适的位置后关闭直流电机便可以固定住连接筒的位置,降低了整体的能耗,提高能源利用效率,实用性好。

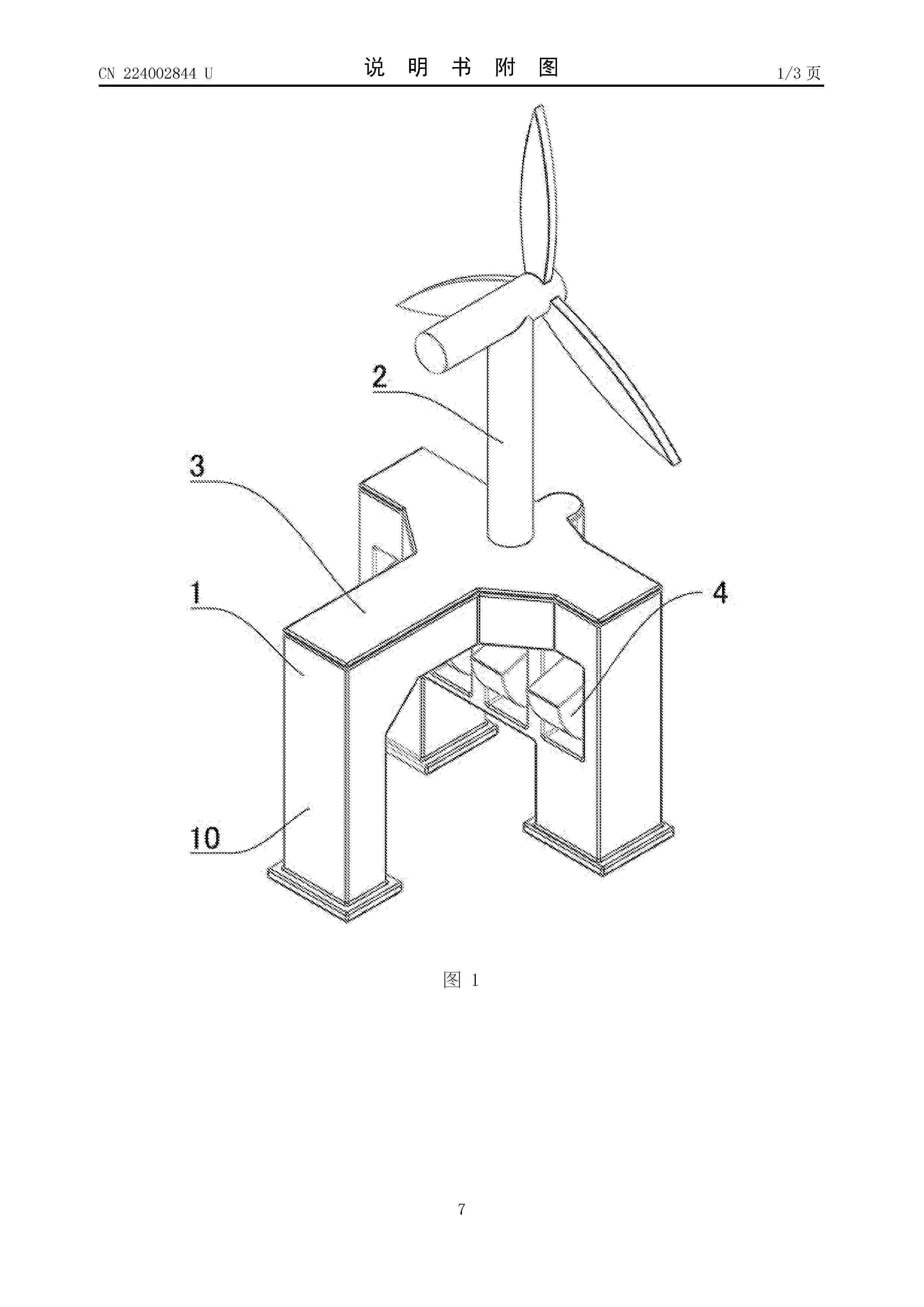
一种漂浮式风电集成制氢模块的综合能源装置

NºPublicación:  CN224002844U 17/03/2026
Solicitante: 
海南利策新能科技有限公司海南省深海技术创新中心
CN_224002844_U

Resumen de: CN224002844U

本实用新型涉及海上发电装置技术领域,且公开了一种漂浮式风电集成制氢模块的综合能源装置,包括漂浮平台,所述漂浮平台下端设置有数量不小于三个的漂浮柱,所述漂浮柱均匀分布,所述漂浮平台的上表面开设有向下挖空的安装空间,所述安装空间内部设置有制氢系统、储氢设备和发电系统;所述漂浮柱的总重量大于所述安装空间内部设备总重量,所述漂浮平台上端设置有平台盖,所述平台盖设置在所述漂浮平台的上方,所述平台盖与所述漂浮平台之间实现密封连接;该设备解决了现有技术在风能资源匮乏的时段或区域里供能不稳定的问题,简化了现有设备的结构复杂度。

用于轮毂的人孔盖的锁具、人孔盖以及风力发电机组

NºPublicación:  CN224002535U 17/03/2026
Solicitante: 
北京金风科创风电设备有限公司
CN_224002535_U

Resumen de: CN224002535U

本公开提供一种用于轮毂的人孔盖的锁具、人孔盖以及风力发电机组,所述用于轮毂的人孔盖的锁具包括第一锁部、锁舌以及第二锁部,所述第一锁部用于连接在轮毂的人孔处;所述锁舌在锁定位置和解锁位置之间可转动地连接于所述第一锁部;所述第二锁部用于连接于轮毂的人孔盖;其中,在所述锁舌位于所述锁定位置时,所述锁舌能够卡设于所述第二锁部的背离所述第一锁部的一侧,使得所述人孔盖保持盖合所述人孔,通过锁舌可转动地连接在第一锁部上,在锁舌位于锁定位置时,锁舌可以卡设在第二锁部上,使得连接于第一锁部的轮毂和连接于第二锁部的人孔盖能够保持盖合。

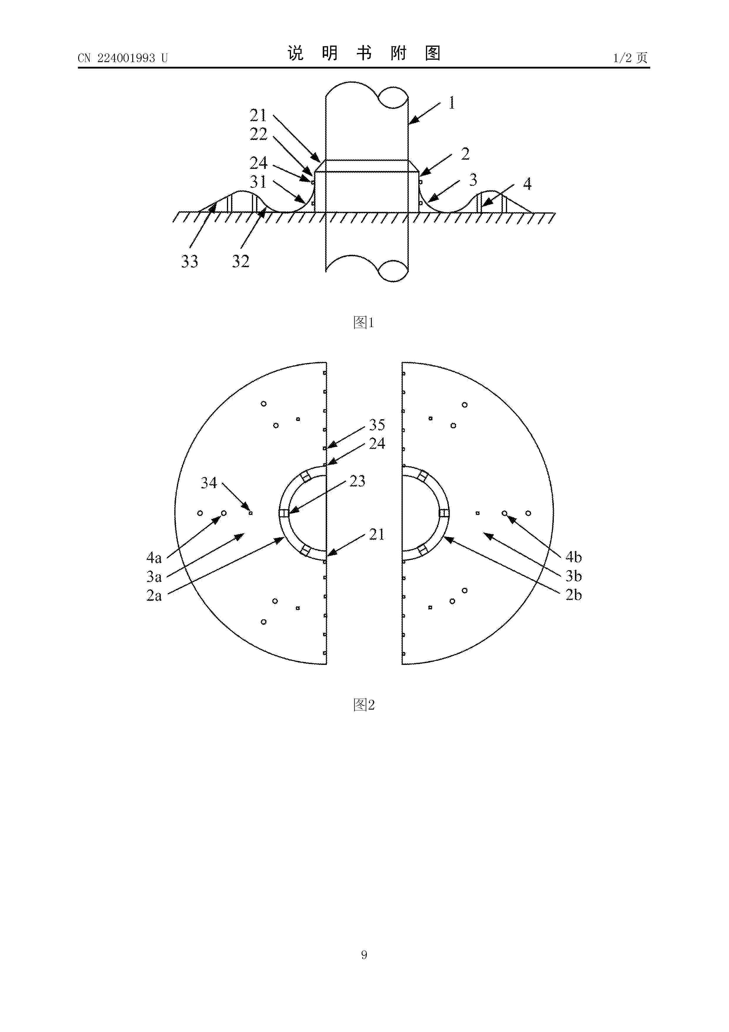
一种自消能减振式海上风电桩基础防冲刷装置

NºPublicación:  CN224001993U 17/03/2026
Solicitante: 
上海开放大学
CN_224001993_U

Resumen de: CN224001993U

本实用新型提供一种自消能减振式海上风电桩基础防冲刷装置,包括滑桶、冲刷消能底板和自伸缩式稳定杆,所述滑桶和冲刷消能底板分为至少两部分,两部分对称设置的滑桶和冲刷消能底板在海上风电桩的两侧对吊装并校准,所述冲刷消能底板上固定连接有自伸缩式稳定杆。本实用新型的自消能减振式海上风电桩基础防冲刷装置,具有防冲刷效果更好、安装维修方便、防护装置随海床下降自沉下降而避免防冲刷失效和自加固特点,从而实现本实用新型的目的。

叶轮、叶轮框架结构、发电机转动结构和发电机框架结构

NºPublicación:  CN224002841U 17/03/2026
Solicitante: 
北京国信安建设工程有限公司齐瑞凤
CN_224002841_U

Resumen de: CN120926018A

The invention relates to the technical field of impellers, and discloses an impeller, an impeller frame structure, a generator rotating structure and a generator frame structure.The impeller comprises a cylindrical main shaft, a plurality of impeller arc-shaped blades are evenly arranged on the cylindrical main shaft in the circumferential direction, and the inner ends of the impeller arc-shaped blades are rotationally connected with the cylindrical main shaft; the rotating axis of the impeller arc-shaped blades is parallel to the axis of the cylindrical main shaft, the impeller arc-shaped blades wrap the cylindrical main shaft in the non-working state, the outer ends of the impeller arc-shaped blades are provided with impeller turnups folded outwards, and the problem that an existing impeller is low in work efficiency is solved.

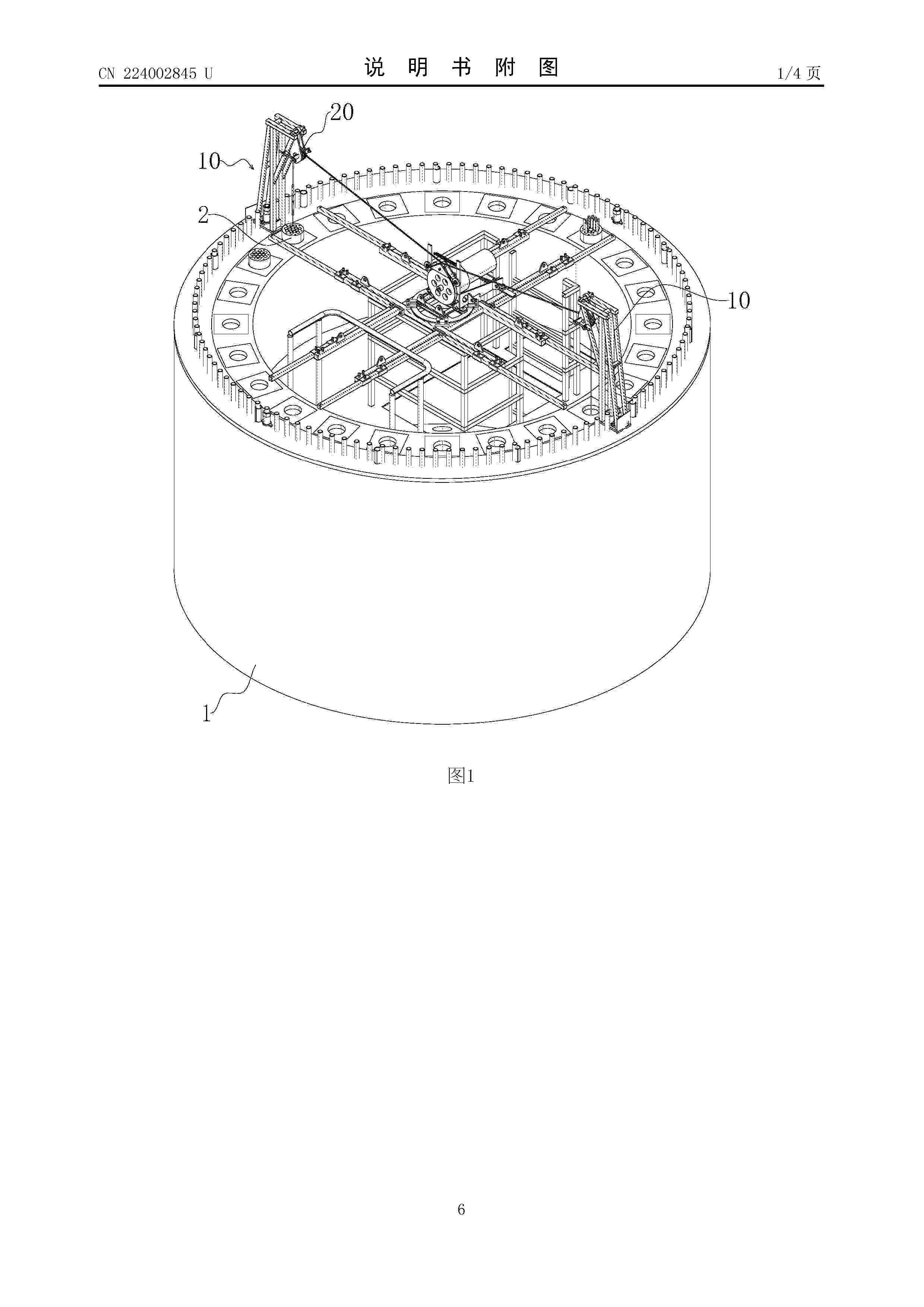
钢绞线穿索转向引导装置

NºPublicación:  CN224002845U 17/03/2026
Solicitante: 
威胜利工程有限公司
CN_224002845_U

Resumen de: CN224002845U

本实用新型属于风电塔穿索技术领域,尤其涉及一种钢绞线穿索转向引导装置,立置于塔筒筒壁上端的支架上设置有转向滑轮且转向滑轮的轮芯方向位于水平向,转向滑轮位于塔筒筒壁上端的锚座上方,转向滑轮与支架之间设置有用于调节转向滑轮在锚座上的铅锤向投影位置的调节机构。利用调节机构调节转向滑轮在锚座上的铅锤向投影位置,从而可使转向滑轮上牵引绳的引出点与待穿索的穿索孔的孔域上下相对布置,牵引绳能够以近乎铅锤向的姿态穿置通过穿索孔,降低牵引绳与穿索孔的孔壁之间水平向的压迫作用力,牵引绳与穿索孔的孔壁之间的刮蹭程度得到明显改善,保证牵引绳以及锚座的完好性。

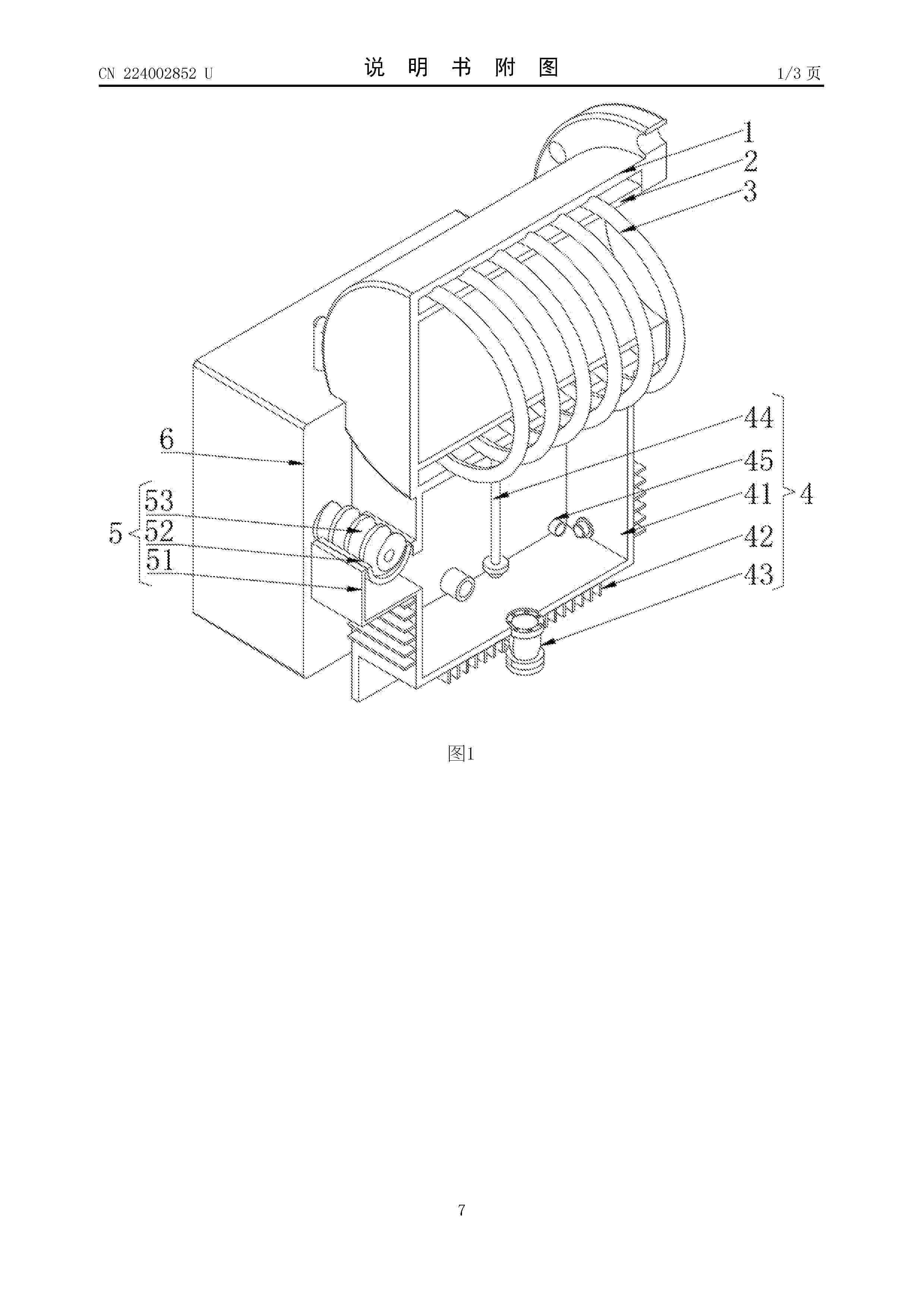
一种风电安装平台臂架维修装置

NºPublicación:  CN224002851U 17/03/2026
Solicitante: 
南通振华重型装备制造有限公司
CN_224002851_U

Resumen de: CN224002851U

本实用新型涉及一种风电安装平台臂架维修装置,风电安装平台一共有两个,并定义需要维修臂架所在的风电安装平台为第一平台,另一风电安装平台为第二平台;在第二平台的平台主体上还设置有支撑单元,所述支撑单元包括支撑基座以及设置在支撑基座上的垫高块;所述支撑基座包括数个并列分布在支撑立柱以及连接相邻支撑立柱的保持支架,所述保持支架包括一对水平设置并呈上下分布的横杆以及连接在两个横杆之间的倾斜设置的加强杆,所述横杆的两侧分别与两个支撑立柱相固定。本实用新型中的维修装置,利用需要维修的臂架旁侧的另一风电安装平台作为支撑底座,再配合增设的支撑单元来对臂架进行支撑,以便臂架能够躺平至需要的维修角度,方便维修。

一种便于风电机组的变桨调节结构

NºPublicación:  CN224002843U 17/03/2026
Solicitante: 
国家电投集团繁峙金丰新能源发电有限公司
CN_224002843_U

Resumen de: CN224002843U

本实用新型公开了一种便于风电机组的变桨调节结构,本实用新型涉及风电机组技术领域,包括塔筒,所述塔筒顶端安装有机舱,所述机舱上安装有风电机组机构,所述风电机组机构包括:旋转组件,所述旋转组件包括贯穿并转动设置在机舱上的主轴。该便于风电机组的变桨调节结构,通过电缸启动推动轴套沿转轴轴线方向移动,由于轴套内壁柱形块与转轴外壁螺旋槽配合,轴套移动带动转轴转动,转轴转动使得其一端的第一锥齿轮转动,第一锥齿轮与三个桨叶组件连接轴上的第二锥齿轮啮合,从而带动三个第二锥齿轮同步转动,进而实现三个连接轴以及连接轴上叶片的同步转动,达到同步调节三个叶片角度的目的,避免桨叶角度偏差。

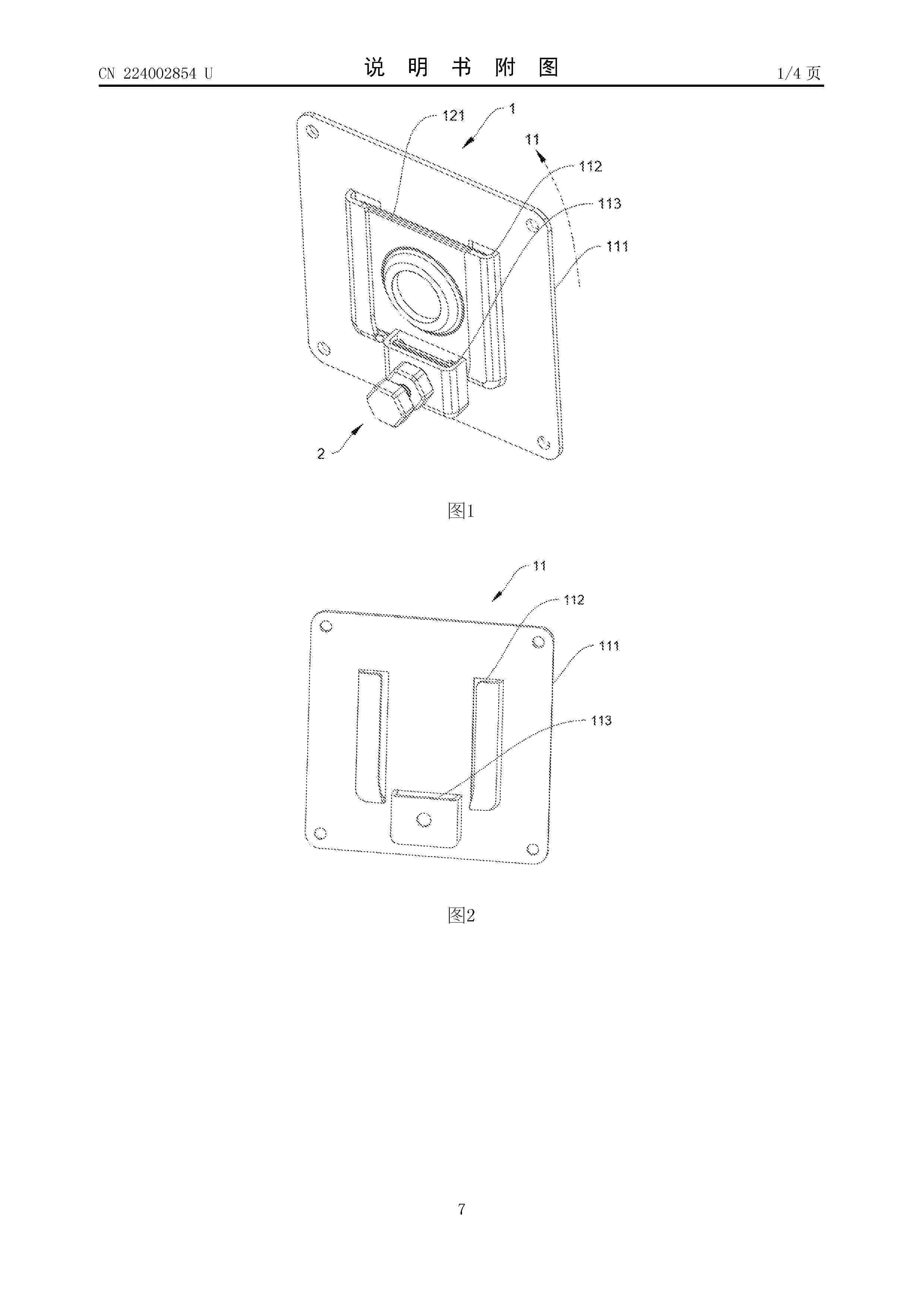
一种固定机构及伸缩管装置

NºPublicación:  CN224002854U 17/03/2026
Solicitante: 
华电新能源集团股份有限公司连江风电分公司
CN_224002854_U

Resumen de: CN224002854U

本实用新型涉及轴承废油收集技术领域,尤其是一种固定机构及伸缩管装置,包括固定部件,所述固定部件包括连接组件,所述连接组件一侧插接设置有插接组件;及锁定部件,所述锁定部件同时穿接于所述连接组件和插接组件,并将所述插接组件固定于所述连接组件上;本实用新型通过锁定部件的设置,使插接组件插接于连接组件后被固定,方便了插接组件的插接固定于拆卸。

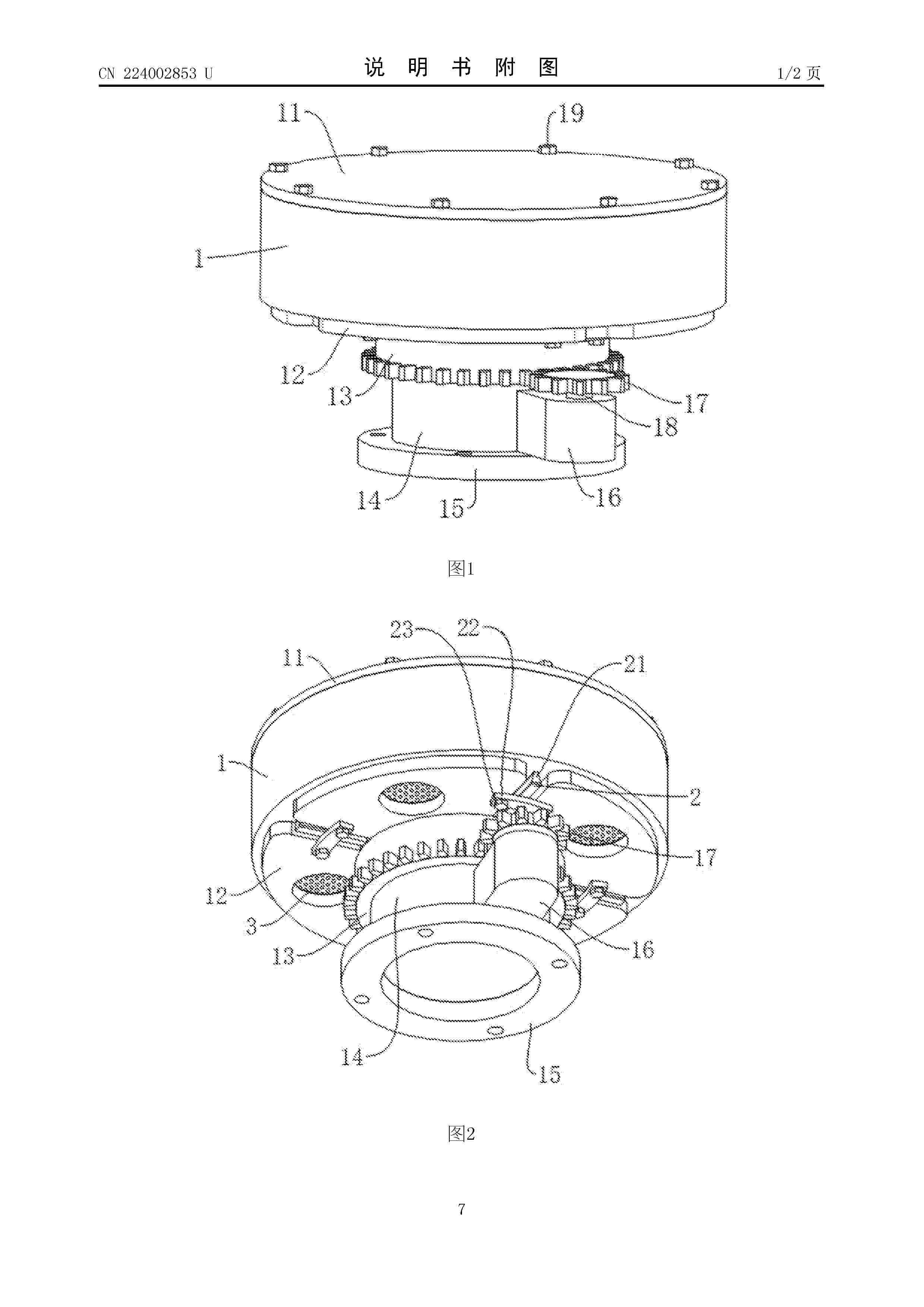
一种可调式风力发电用通风装置

NºPublicación:  CN224002853U 17/03/2026
Solicitante: 
西安御能电力科技有限公司
CN_224002853_U

Resumen de: CN224002853U

本实用新型涉及通风装置技术领域,具体是一种可调式风力发电用通风装置;本实用新型可调式风力发电用通风装置,包括风箱,所述风箱的底部连通有风管,所述风管内部设置有风机,所述风箱的底部均匀贯穿开设有入风口,所述入风口内安放有滤板;通过蜗轮蜗杆减速电机带动转动环进行转动,以此使转动环底部开设的通风口与风箱底部开设的入风口产生错位,从而使转动环将入风口的部分进行遮蔽,从而起到调节入风口的开口大小效果,并且当转动环转动时会通过连接板带动倒V形毛刷进行转动,当倒V形毛刷与滤板相接触时,将滤板底部的灰尘进行清理,以此减少滤板被灰尘堵塞的情况出现,从而减少滤板需要被拆卸清理的频率。

一种用于风电机组的组合塔架结构

NºPublicación:  CN224002848U 17/03/2026
Solicitante: 
沈阳工程学院中建二局第一建筑工程有限公司
CN_224002848_U

Resumen de: CN224002848U

本实用新型涉及组合塔架技术领域,且公开了一种用于风电机组的组合塔架结构,包括塔架基座,还包括设置于塔架基座上方的延长座,塔架基座和延长座的顶部均固定有安装托盘,塔架基座和延长座的底部均固定有连接法兰;设置于连接法兰和安装托盘之间以及定位板内壁的连接件;设置于塔架基座和各个延长座之间的限位机构,本实用新型通过设置限位机构可在塔架进行组合安装时,对每个塔层之间的连接进行限位固定,使工作人员在使用大量螺栓进行组装时,塔层不会受到风力影响而发生晃动现象,提高了工作人员组装塔层时的稳定性和安全性,通过连接件的设置可使每个塔层之间的组合安装更加稳定,安装的螺栓不易受轻微地震影响而松动。

一种发电机组

NºPublicación:  CN224002840U 17/03/2026
Solicitante: 
北京国信安建设工程有限公司齐瑞凤
CN_224002840_U

Resumen de: CN120926016A

The invention relates to a generator set which comprises a plurality of impeller assemblies, a generator assembly and a frame structure. The impeller assembly is connected with a generator rotating shaft through a central shaft, and transverse impellers are linked through a synchronous transmission mechanism, so that the same-speed operation of multiple generators is ensured, and the problems of load distribution, voltage frequency fluctuation and the like caused by non-uniform rotating speed of parallel units are solved. Impeller blades adopt a rotary design, are unfolded to be driven by wind/water power during working, and are attached to a main shaft in a non-working state to reduce resistance and improve energy conversion efficiency. The preferable scheme comprises an angle limiting structure, a chain synchronous transmission structure and a brake protection structure. According to the invention, multi-machine cooperative stable power generation is realized, and the energy utilization rate and the system reliability are optimized.

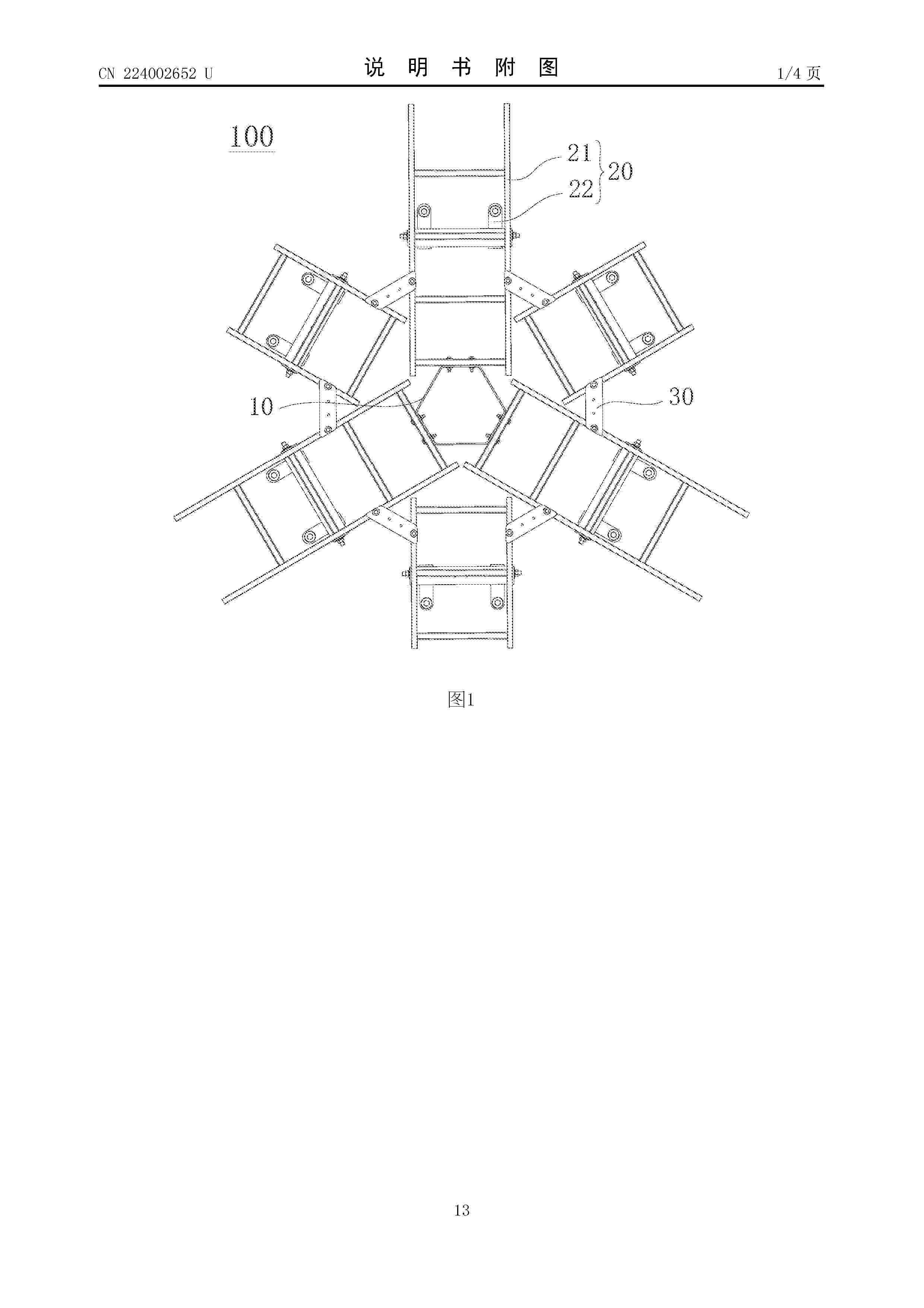
组合爬梯结构、轮毂总成及风力发电机组

NºPublicación:  CN224002652U 17/03/2026
Solicitante: 
金风科技股份有限公司
CN_224002652_U

Resumen de: CN224002652U

本申请涉及一种组合爬梯结构、轮毂总成及风力发电机组,其中,组合爬梯结构包括:支撑框架;爬梯组件,包括多个围绕所述支撑框架的外周设置的爬梯单元,各所述爬梯单元的一端汇聚于所述支撑框架并与所述支撑框架连接,各所述爬梯单元的另一端向背离所述支撑框架的一侧分散设置,所述爬梯单元上设置有固定件,所述固定件用于与所述轮毂连接;加固支撑件,相邻两个爬梯组件之间连接有所述加固支撑件。本申请实施例提供的组合爬梯结构采用模块化设计,便于安装且能够适配不同尺寸的轮毂。

一种变桨驱动器安装结构

NºPublicación:  CN224002847U 17/03/2026
Solicitante: 
苏州新能健电气有限公司
CN_224002847_U

Resumen de: CN224002847U

本实用新型涉及变桨驱动器技术领域,且公开了一种变桨驱动器安装结构,用于辅助驱动器本体安装工序的进行,包括:基座机构,所述基座机构包括底板、上垫板和螺钉,所述底板的底面固定安装有凸座,所述凸座顶面固定安装有下垫板。该变桨驱动器安装结构,通过设置辅助机构设立在底板上,其中用于连接螺栓的滑座可在导轨滑动,而导轨又可在底板上滑动,因此滑座可多个方向的滑动,从而使得滑座上的螺纹孔与风力发电机组轮毂内部的预留孔对准,再可通过螺栓将底板以及底板上的驱动器本体安装在风力发电机组轮毂内部,以消除人工制造误差造成的影响,确保驱动器本体安装后的稳固性。

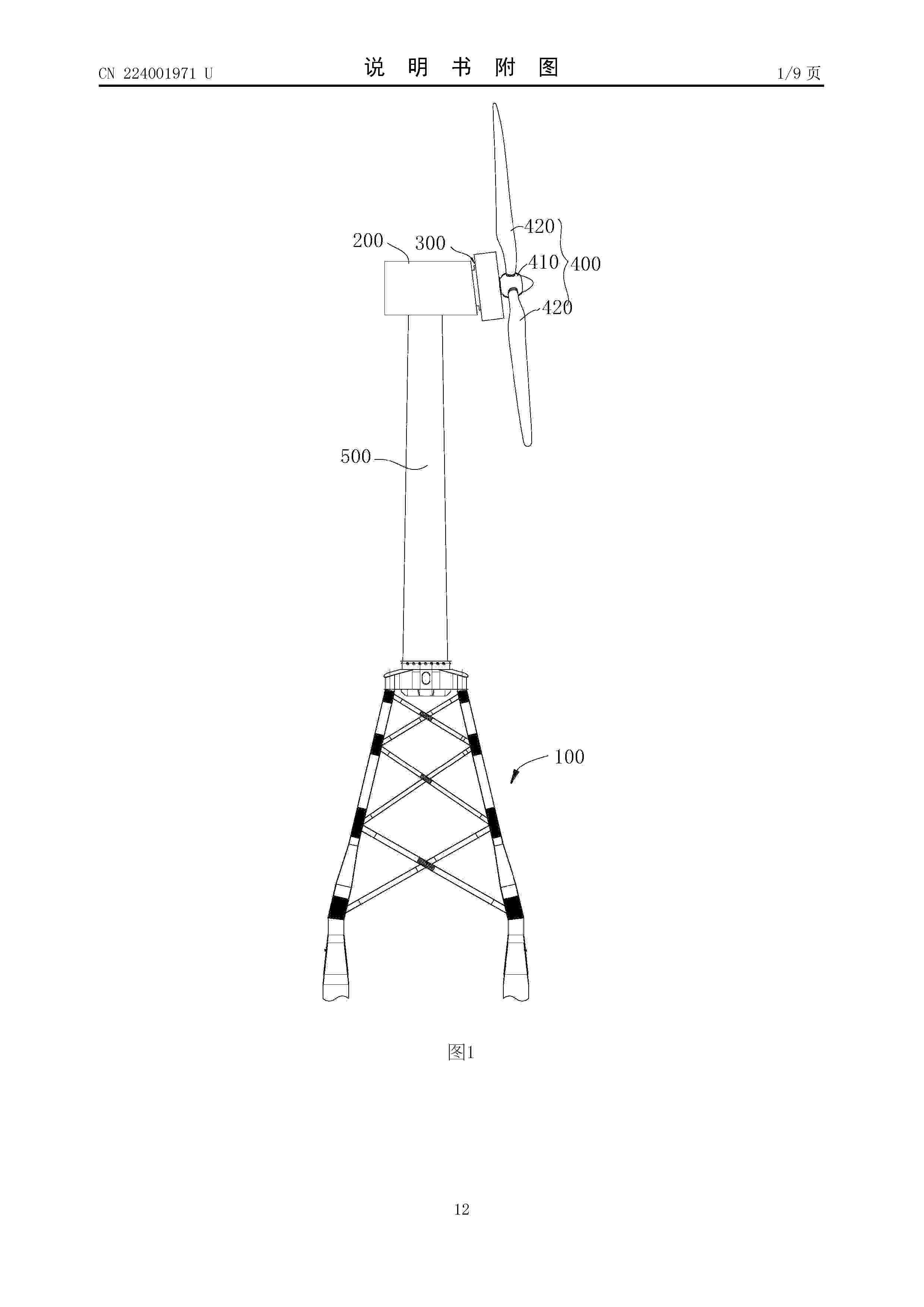
桩式导管架基础以及风力发电机组

NºPublicación:  CN224001971U 17/03/2026
Solicitante: 
金风科技股份有限公司
CN_224001971_U

Resumen de: CN224001971U

本实用新型涉及一种桩式导管架基础以及风力发电机组,包括:桩组件,包括多个间隔分布的桩本体;导管架,设置于桩组件在自身高度方向的一端,导管架包括多个柱腿以及支撑杆,每个柱腿沿高度方向的一端与其中一个桩本体对接,每相邻设置的两个柱腿之间连接有支撑杆;其中,柱腿以及桩本体的一者具有插接端部且另一者具有插接槽,插接端部沿高度方向插接设置于插接槽并与插接槽的槽壁摩擦配合。本实用新型能够满足对风机本体的支撑需求,且施工难度以及施工成本低。

一种风能发电机防雷吊环螺栓

NºPublicación:  CN224002849U 17/03/2026
Solicitante: 
宁波正宇紧固件有限公司
CN_224002849_U

Resumen de: CN224002849U

本实用新型公开了一种风能发电机防雷吊环螺栓,具体涉及螺栓技术领域,包括用于风能发电机安装的吊环螺栓件;所述吊环螺栓件外部设有用于防雷的传导件;所述传导件包括导电柱,所述导电柱后侧设有封装筒,所述封装筒前端内部安装有用于连接导电柱的导电杆,且导电环后端安装有用于连接接地线的连接导线,所述连接导线后端贯穿封装筒并延伸至封装筒后端外部。本实用新型通过导电柱与吊环螺栓件的连接,使得导电柱可以将吊环螺栓件上的高压电流传导至导电杆上,再借由导电杆上的连接导线传导至接地线处,以此可以将吊环螺栓件上的雷电电流传导散入至大地上,避免雷电对风能发电机造成损害,进而保证风能发电机的使用性能。

钢绞线穿索转向引导装置的固定结构

NºPublicación:  CN224002846U 17/03/2026
Solicitante: 
威胜利工程有限公司
CN_224002846_U

Resumen de: CN224002846U

本实用新型属于风电塔穿索技术领域,尤其涉及一种钢绞线穿索转向引导装置的固定结构,立置于塔筒筒壁顶端的立架的上端设置有转向滑轮,立架的下端设置有底座,底座上开设有定位孔或槽且定位孔或槽的贯通方向沿铅锤向布置,塔筒筒壁顶端铅锤向布置的预埋螺栓穿置通过定位孔或槽时,位于底座之上的预埋螺栓的栓体套接螺母且螺母与塔筒的上端面之间构成限制底座上下位移的限位配合。利用塔筒筒壁顶端原有的预埋螺栓穿置通过立架底座上的定位孔或槽,并在螺栓的栓体套接螺母,将底座压紧固定在塔筒的上端面上,无需在塔筒上额外打孔,即可将立架方便且可靠地固定在塔筒上,实现立架的有效固定。

一种具有自动加液的风电机组的水冷系统

NºPublicación:  CN224002852U 17/03/2026
Solicitante: 
国家电投集团繁峙金丰新能源发电有限公司
CN_224002852_U

Resumen de: CN224002852U

本实用新型公开了一种具有自动加液的风电机组的水冷系统,包括壳体,所述壳体连接有降温件,所述降温件包括:铁芯,设置在壳体内部;降温管,安装在壳体内部且绕设在铁芯外侧用于水冷吸热;储水件,安装在壳体底部,所述储水件包括储水壳,所述储水壳内置用于检测水位的液位传感器,所述储水壳后侧安装有用于降温管供水降温处理的水冷件,本实用新型涉及水冷系统技术领域。该具有自动加液的风电机组的水冷系统,让水泵、第一三通阀、第一抽水管、第二抽水管彼此配合,实现对抽水方向的调节,让导管与第二三通阀、回流管配合,实现对排水方向的调节,水箱与排水阀配合,便于储水壳内储水的排放与补水处理,提高水冷效率。

浮式风机塔筒圆环式TMD-TLD阻尼减振装置

NºPublicación:  CN121676630A 17/03/2026
Solicitante: 
哈尔滨工业大学(深圳)(哈尔滨工业大学深圳科技创新研究院)
CN_121676630_PA

Resumen de: CN121676630A

本发明公开了浮式风机塔筒圆环式TMD‑TLD阻尼减振装置,属于风电技术领域,减振装置由复位弹簧、水平圆弧导轨、阻尼模块、贯穿孔洞、活塞杆和导轨托盘组成,复位弹簧连接于减振装置,减振装置连接于塔筒内部,复位弹簧的两侧安装有水平圆弧导轨,水平圆弧导轨通过导轨托盘固定安装在塔筒圆周塔筒内壁上,两组水平圆弧导轨的外端安装有阻尼模块,阻尼模块上分布有贯穿孔洞,阻尼模块的中间分布有三个活塞杆,本专利中的圆环式TMD‑TLD组合阻尼减振装置,创新性地提出了水平方向和竖向振动控制技术,为漂浮式风机提供了一种高效、紧凑、可持续的减振解决方案,装置不仅提升了风能开发的经济性与可靠性,也为浮式风机大型化、深远海部署提供了关键支撑。

一种装配式双层弧面金属点阵夹芯板混凝土构件

NºPublicación:  CN121676260A 17/03/2026
Solicitante: 
徐州航天美利达自动焊接设备有限公司
CN_121676260_PA

Resumen de: CN121676260A

本发明公开一种装配式双层弧面金属点阵夹芯板混凝土构件,包括双层弧面金属点阵夹芯板及双层弧面金属点阵夹芯板内填充的混凝土,双层弧面金属点阵夹芯板轴向两侧中间分别制作燕尾榫卯,双层弧面金属点阵夹芯板周向上下两端面中间分别制作榫卯,双层弧面金属点阵夹芯板混凝土构件的弧面周长是按同半径的整圆等分若干份确定,由该若干份双层弧面金属点阵夹芯板混凝土构件侧面燕尾榫卯拼接成一个整圆筒,多个整圆筒错缝上下榫卯对接,可以预先在侧面燕尾榫卯和上下对接榫卯打胶,提高双层弧面金属点阵夹芯板混凝土构件拼接和对接的强度,本发明结构简单,无需现场焊接、钢筋绑扎和混凝土浇注,错缝拼装施工便捷,安装快速高效,连接强度高,受力连续可靠。

一种风力发电系统及其控制方法、电子设备、存储介质

NºPublicación:  CN121676231A 17/03/2026
Solicitante: 
中国华电科工集团有限公司华电中光新能源技术有限公司
CN_121676231_PA

Resumen de: CN121676231A

本申请提供了一种风力发电系统及其控制方法、电子设备、存储介质,涉及风力发电技术领域,包括:空中导风与承载结构、板式机组、系留与能量传输子系统、地面发电与控制站及智能控制与传感子系统。空中导风结构用于将水平风转为向上加速的垂直气流;板式机组设于气囊内并通过系留绳连接地面站,在垂直气流中产生可控升降力;地面站含绞盘和发电机,将升降机械能转为电能;智能控制子系统监测风况与系统状态,通过调节板单元角度和绞盘扭矩或速度,优化功率输出并保持稳定运行,提升风能利用效率与系统可靠性。具有提升风流汇聚效率、增强系统运行稳定性、提高能量转换效率、实现升降与功率输出精准可控的技术效果。

一种风力发电机组叶片除冰装置

NºPublicación:  CN224002850U 17/03/2026
Solicitante: 
张全忠
CN_224002850_U

Resumen de: CN224002850U

本实用新型公开了一种风力发电机组叶片除冰装置,涉及风力发电技术领域;而本实用新型包括除冰组件与加热组件,除冰组件包括固定架与超声波振动器,固定架内转动设有螺纹杆,螺纹杆外侧螺纹套设有螺纹滑块,螺纹滑块外侧固定设有固定块,固定块内活动插设有插杆,超声波振动器安装在插杆底端,除冰组件包括固定板,固定板共有若干个,固定板顶端安装有V型板,插杆顶端固定设有球体;本实用新型中通过设置螺纹杆、超声波振动器、固定板与V型板等结构相互配合,可以使得超声波振动器进行移动,从而可以对叶片本体有效防止或去除冰层,确保叶片性能,减少停机时间,提高发电效率,同时减少对环境的影响。

塔筒支撑结构、铸造模具、塔筒及风力发电机组

NºPublicación:  CN121676253A 17/03/2026
Solicitante: 
江苏金风科技有限公司金风前沿技术(盐城)有限公司
CN_121676253_PA

Resumen de: WO2026046307A1

The present application relates to a tower support structure, a casting mold, a tower, and a wind turbine generator. The tower support structure comprises a plurality of vertical columns and first support assemblies each provided between every two adjacent vertical columns. Each vertical column comprises column nodes and column segments alternately arranged and connected in a first direction. Each first support assembly comprises a plurality of support units. Each support unit comprises a plurality of diagonal struts arranged in a crossed configuration. The support units are arranged at intervals in the first direction and are correspondingly connected to the column nodes on the two adjacent vertical columns by means of the diagonal struts. The column nodes on at least one vertical column are formed as integrally cast structures, and at least two column nodes formed as integrally cast structures on the same vertical column have the same structure. Thus, on the basis that the column nodes are integrally cast, the types of casting molds required for manufacturing the column nodes of the vertical column can be reduced, thereby reducing production costs and satisfying both reliability and economic requirements.

操作设备

NºPublicación:  CN121693624A 17/03/2026
Solicitante: 
西门子歌美飒可再生能源公司
CN_121693624_PA

Resumen de: WO2025026736A1

The invention describes a handling apparatus (1) for use in a maintenance procedure of a wind turbine drivetrain (2, 4, 6) comprising a planetary gearbox (4) and a generator (6) coaxially mounted to the gearbox (4), which handling apparatus (1) comprises a suspension rail (10) dimensioned to extend from the interior of the generator rotor (64) outward to the exterior of the generator (6); a mounting means (100, 10F, 10B) for mounting the rail (10) to a stationary drivetrain part (42, 62, 64); at least one carriage (12) arranged to move along the underside of the suspension rail (10); and at least one lifting fitting (14, 140, 142) adapted for attachment to a drivetrain component (66, 68, 8, 44) and comprising a means of suspending that lifting fitting (14, 140, 142) from a carriage (12). The invention further describes a method of performing a maintenance procedure on a wind turbine drivetrain (2, 4, 6) using such a handling apparatus (1).

一种海上风机叶片表面防盐雾冲刷保护组件

NºPublicación:  CN121676228A 17/03/2026
Solicitante: 
中国电建集团福建省电力勘测设计院有限公司
CN_121676228_PA

Resumen de: CN121676228A

本发明涉及一种海上风机叶片表面防盐雾冲刷保护组件,基座的轮廓与风机叶片的翼型表面相匹配贴合固定在风机叶片上;防护模块可拆卸地安装在基座外侧面;防护模块包括模块化外壳、开设在模块化外壳内的多孔渗透层,模块化外壳外侧面开设有与多孔渗透层连接的微孔;流体分配系统用于向多孔渗透层输送防盐雾保护液;本发明通过设置的基座、防护模块和流体分配系统,结合了高硬度、耐腐蚀材料的被动物理防护,和动态液膜隔离的主动化学防护,防护效果远超单一涂层或包边方案,实现了按需、精准的主动防护,避免了保护液的浪费,并可根据环境变化自动响应。其有效减缓了叶片前缘的腐蚀和磨损速率,显著延长了风机叶片的整体服役寿命。

一种船帆式发电机组及发电方法

NºPublicación:  CN121676230A 17/03/2026
Solicitante: 
西安热工研究院有限公司
CN_121676230_PA

Resumen de: CN121676230A

本发明公开了一种船帆式发电机组及发电方法,包括发电机,所述发电机连接有发电中心轴,所述发电中心轴第一侧固定有第一帆框,发电中心轴第二侧固定有第二帆框,所述第一帆框中固定有第一帆布,所述第二帆框中固定有第二帆布;所述第一帆布和第二帆布的侧边均设置有螺杆轴,所述螺杆轴上均连接有帆布姿态调节装置。本发明通过帆布姿态调节装置与第一帆框、第二帆框的协同设计,可根据风向实时调整第一帆布、第二帆布的展开或收缩状态,利用顺风面与逆风面的压力差驱动帆框旋转,相比传统固定叶片风力发电机,能更灵活适配风向变化,调整第一帆布、第二帆布的面积,大幅提升不同风向下的风力捕获效率,尤其在风向多变的海上环境中优势显著。

一种用于风力机动态姿态响应的被动压载调节系统

NºPublicación:  CN121671807A 17/03/2026
Solicitante: 
扬州大学
CN_121671807_PA

Resumen de: CN121671807A

本发明公开了海洋工程与风力发电技术领域内的一种用于风力机动态姿态响应的被动压载调节系统,包括漂浮平台,漂浮平台配套设置有风力机组件,漂浮平台的下部或者中部设置有用于在漂浮平台姿态变化时产生相对位移的惯性摆体装置,惯性摆体装置与杠杆控制机构之间通过绳索牵引装置连接,绳索牵引装置通过设置的滑轮将惯性摆体运动转化为对杠杆控制机构的驱动作用,杠杆控制机构与压载水舱连接,并驱动压载水舱内部设有的密封实盘上升或下降,以实现海水的吸入或排出,从而实现自适应重心调整和平台姿态稳定化,压载水舱顶部设置有弹簧辅助装置,弹簧辅助装置用于辅助恢复密封实盘至原始位置,实现系统的被动复位。

叶片螺栓的状态检测方法、装置、风力发电机、设备、介质及产品

NºPublicación:  CN121676283A 17/03/2026
Solicitante: 
上海电气风电集团股份有限公司
CN_121676283_PA

Resumen de: CN121676283A

本公开提供了一种叶片螺栓的状态检测方法、装置、风力发电机、设备、介质及产品。应用于设置在风力发电机上的位置传感器,所述位置传感器设置为朝向预设位置;所述方法包括:响应于所述位置传感器输出当前检测信号,获取所述叶片的当前桨距角;将所述当前桨距角与预设桨距角进行比对,并基于比对的结果确定所述叶片螺栓的状态。一方面来说,不直接依赖于高精度传感器的采集数据对叶片螺栓进行检测,能够降低叶片螺栓的检测成本和风力发电机的总体运行成本;另外一方面来说,通过桨距角的比对能够提升叶根螺栓判定的准确性。

一种偏航电机抗台性能确定方法、装置、设备及存储介质

NºPublicación:  CN121676279A 17/03/2026
Solicitante: 
运达能源科技集团股份有限公司
CN_121676279_PA

Resumen de: CN121676279A

本发明公开了一种偏航电机抗台性能确定方法、装置、设备及存储介质,应用于风电机组领域,基于偏航电机的额定扭矩及启动倍数确定偏航电机的启动性能;基于偏航减速器速比、偏航大齿与偏航小齿的齿轮比及最大风载确定最大系统等效风载;获取偏航电机在抗台开始前后的初始温度及终止温度,基于初始温度及终止温度确定温升;当偏航电机的启动性能大于最大系统等效风载,且温升小于电机绝缘温度,则确定偏航电机符合主动抗台性能;当偏航电机的制动性能大于最大系统等效风载,则确定偏航电机符合制动抗台性能。本发明提出一种精确评估偏航电机抗台性能的方法,避免安全冗余过高导致的材料成本大及台性能确定结果不精确容易引发安全事故的问题。

多源数据融合与深度学习的风力发电系统故障诊断方法及装置

NºPublicación:  CN121676290A 17/03/2026
Solicitante: 
华能国际电力股份有限公司湖南清洁能源分公司中国电建集团江西省水电工程局有限公司
CN_121676290_PA

Resumen de: CN121676290A

本发明多源数据融合与深度学习的风力发电系统故障诊断方法及装置。所述方法包括:通过传感器阵列采集风力发电机组的振动、电气、环境及运行状态数据;对数据进行预处理与深度特征提取,并融合为全局特征向量;将全局特征向量输入至一种混合深度学习模型进行故障诊断,该模型融合了CNN和LSTM,并能根据风速动态调整诊断阈值;当诊断为传感器故障时,启动基于T‑S模糊滑模观测器的故障重构模块,精确估计故障信息;将重构后的无故障信号馈入模型预测容错控制器,实现对系统的主动容错控制,维持输出功率稳定。本发明解决了现有故障诊断方法视角单一、依赖精确模型、诊断与控制脱节等问题,实现对风力发电系统全面、精准、自适应的状态监测与故障处理。

风力发电机叶片多截面动态载荷的测量方法和系统

NºPublicación:  CN121676289A 17/03/2026
Solicitante: 
华能湖南北湖风电有限责任公司中国华能集团清洁能源技术研究院有限公司
CN_121676289_PA

Resumen de: CN121676289A

本发明提供了一种风力发电机叶片多截面动态载荷的测量方法和系统,涉及风力发电机叶片载荷监测的技术领域,包括:获取基于光纤光栅传感器确定的叶片各截面应变数据时间序列和基于微波雷达确定的叶片各截面形变数据时间序列,并进行时空同步匹配,以构建每个截面的状态数据时间序列;根据预设融合算法和目标截面的状态数据时间序列,计算目标截面的载荷时间序列;目标截面表示风力发电机所有叶片的截面中的任一截面;载荷包括:挥舞弯矩和摆振弯矩。本发明有效融合了叶片局部应变细节与整体形变趋势,从而实现了对挥舞弯矩、摆振弯矩两种关键动态载荷更为全面、精准的测量,为叶片健康状态评估与风机主动控制提供了可靠的数据基础。

风机、风机控制方法、电子设备及存储介质

NºPublicación:  CN121676266A 17/03/2026
Solicitante: 
远景能源有限公司
CN_121676266_PA

Resumen de: CN121676266A

本申请涉及风机技术领域,公开了一种风机、风机控制方法、电子设备及存储介质,本申请的风机包括:传动单元、第一发电机、储能单元;所述传动单元与所述第一发电机之间齿轮啮合;所述第一发电机还连接所述储能单元的输入端;所述储能单元连接风机的辅助负载;所述传动单元被配置为在电网并网时发电以给所述电网供电;所述传动单元还被配置为在所述电网离网时带动所述第一发电机发电以给所述储能单元充电;所述第一发电机的额定功率小于所述传动单元的额定功率;所述储能单元还被配置为在所述电网离网时给所述辅助负载供电。从而提高风机在待机状态下的风能利用率,提高风机抵抗恶劣天气的能力。

风电机组发电控制方法、装置、设备及可读存储介质

NºPublicación:  CN121676233A 17/03/2026
Solicitante: 
北京京能电力股份有限公司乌兰察布分公司
CN_121676233_PA

Resumen de: CN121676233A

本申请公开了一种风电机组发电控制方法、装置、设备及可读存储介质,涉及发电控制技术领域,获取风电机组运行过程中的实时转速数据和实时风速数据,实时转速数据包括转速变化值和平均转速值;根据转速变化值和平均转速值确定发电控制模式,发电控制模式包括存在变桨调整时间的第一发电控制模式和不存在变桨调整时间的第二发电控制模式;在发电控制模式为第一发电控制模式的情况下,根据平均转速值和转速变化值确定第一变桨指令,以对风电机组进行预变桨控制;在发电控制模式为第二发电控制模式的情况下,根据实时风速数据和平均转速值确定第二变桨指令,以对风电机组进行变桨控制,提高了风电机组发电控制的准确率。

一种新型机舱罩进风口结构

NºPublicación:  CN121676309A 17/03/2026
Solicitante: 
江苏常友环保科技股份有限公司
CN_121676309_PA

Resumen de: CN121676309A

本发明公开了一种新型机舱罩进风口结构,包括机舱罩本体,其底部设有圆角斜面结构,进风口开设于圆角斜面上,进风口内侧依次设置细目钢丝网和可插拔过滤组件。本发明的斜面设计提高了风阻系数,增强进风效率;取消传统格栅,简化结构,提升整体强度;过滤组件采用插接方式,便于快速更换,该结构在提高整体结构强度的同时,增强了进风效率,降低了维护难度与安全风险,适用于多风沙、高湿度等恶劣环境。

风力发电机组输出功率控制方法、装置、设备及存储介质

NºPublicación:  CN121676238A 17/03/2026
Solicitante: 
北京京能电力股份有限公司乌兰察布分公司
CN_121676238_PA

Resumen de: CN121676238A

本申请公开了一种风力发电机组输出功率控制方法、装置、设备及存储介质,涉及风力发电技术领域,风力发电机组输出功率控制方法至少包括:持续监测风力发电机组目标区域内的实时环境风速;当实时环境风速大于额定风速值且小于或等于风力发电机组的机组切出风速值时,将风力发电机组的输出功率确定为额定功率值;当实时环境风速大于机组切出风速值且小于预设停止风速值时,将风力发电机组的输出功率确定为切出功率值,其中,切出功率值小于所述额定功率值;当实时环境风速大于或等于预设停止风速值时,控制风力发电机组停止运行。本申请提高了风力发电设备在大风天气下的发电时长和发电量。

一种基于声纹成像的风机叶片损伤检测方法及系统

NºPublicación:  CN121687107A 17/03/2026
Solicitante: 
华能重庆奉节风电有限责任公司中国华能集团清洁能源技术研究院有限公司
CN_121687107_PA

Resumen de: CN121687107A

本发明公开了一种基于声纹成像的风机叶片损伤检测方法及系统,涉及风机设备检测技术领域。该方法通过接收风机叶片的反射声纹,从中提取有效声波特征;基于所述有效声波特征构建叶片表面三维声纹图谱;再利用分类模型对所述三维声纹图谱进行分类检测,实现对叶片损伤类型、损伤位置及损伤尺寸的精准识别。本发明通过声纹成像技术与三维图谱构建、智能分类模型的结合,突破了传统检测方法在复杂损伤识别中的局限性,检测过程高效、结果准确,能够为风机叶片的运维保养提供可靠的数据支撑,有效降低设备运行风险,延长叶片使用寿命。

结合新能源剩余电力的固碳产氢方法及固碳产氢装置

NºPublicación:  CN121672420A 17/03/2026
Solicitante: 
武汉大学
CN_121672420_A

Resumen de: CN121672420A

本申请涉及固碳产氢技术领域,公开了一种结合新能源剩余电力的固碳产氢方法及固碳产氢装置,该结合新能源剩余电力的固碳产氢方法包括:对地质反应矿层的温度和压力进行调控;对水进行脱气处理,得到脱气水;将二氧化碳和所述脱气水的混合溶液注入所述地质反应矿层中;进行二氧化碳矿化封存及产氢反应,得到碳酸盐矿物和氢气;对所述氢气进行提纯,得到纯化氢气;采用新能源剩余电力为固碳产氢方法提供驱动力。该固碳产氢方法的反应效率高且反应速率快,既助力了二氧化碳减排,又能获得高纯度氢气,还能够消纳新能源剩余电力,兼具环保与资源利用价值。

基于数据分析的风电塔筒健康管理方法及系统

NºPublicación:  CN121676268A 17/03/2026
Solicitante: 
华能山西综合能源有限责任公司华能左权羊角风电有限责任公司五寨县太重新能源风力发电有限公司
CN_121676268_PA

Resumen de: CN121676268A

本发明涉及风电塔筒技术领域,公开了基于数据分析的风电塔筒健康管理方法及系统,基于采集时间戳获取风电塔筒的多组运行反馈指标值,得到多个运行反馈指标值序列;对每个运行反馈指标值序列进行分析,计算风电塔筒的运行波动度量值,基于运行反馈指标值序列和运行波动度量值计算风电塔筒的子异常运行系数;根据所有的子异常运行系数计算风电塔筒的综合异常运行系数;预先设定预设综合异常运行系数,根据综合异常运行系数和预设综合异常运行系数之间的关系,判断风电塔筒是否满足健康管理条件,能够综合分析多源数据、动态量化异常状态,保证风电塔筒的异常确定精度和效率,以提升风电塔筒健康管理的精准性、实时性与可靠性。

风力涡轮机塔筒的上混凝土节段的混凝土分瓣、被配置成浇铸这种混凝土分瓣的模具、以及组装包括这种混凝土分瓣的风力涡轮机的方法

NºPublicación:  CN121693616A 17/03/2026
Solicitante: 
恩德能源西班牙独资有限公司
CN_121693616_PA

Resumen de: AU2024312103A1

The object of the invention is a concrete segment of a section of a wind turbine tower which minimizes the undesirable local effects in the connection area between adjacent concrete sections, a section comprising at least two concrete segments, a set comprising two adjacent sections and a joint disposed between the two adjacent sections, a tower comprising at least one set, a mould configured to cast a concrete segment and a method of assembling a wind turbine.

一种风力发电机塔筒病害监测维护机器人

NºPublicación:  CN121676305A 17/03/2026
Solicitante: 
内蒙古工业大学
CN_121676305_PA

Resumen de: CN121676305A

本发明属于风电设施运维机器人技术领域,尤其涉及一种风力发电机塔筒病害监测维护机器人,针对现有风电塔筒维护时检测覆盖存在盲区、运维作业效率低的问题,现提出如下方案,包括分体式拼装的环形轨道组件、多个环状均布的爬行组件以及一个具有环形移动轨迹的监护组件。爬行组件2具备独特的转向单元,能使爬行轮单元在竖直移动与螺旋移动模式间切换,驱动机器人沿塔筒壁螺旋攀升,实现无盲区连续扫描。监护组件通过搭载基座在环形轨道上移动,并借助由Z轴、Y轴、X轴移动单元构成的三维调节机构,带动工业相机、超声波定位组件、打磨组件和喷漆组件,实现精准定位与作业。本发明能够高效完成风力发电机的塔筒的病害监测与维护。

一种风力发电系统的运行控制方法

NºPublicación:  CN121676235A 17/03/2026
Solicitante: 
华能陇东能源有限责任公司
CN_121676235_PA

Resumen de: CN121676235A

本发明公开了一种风力发电系统的运行控制方法,涉及运行控制技术领域,包括:获取目标海域风力发电系统历史运行数据,以海上环境因素作为干扰因子,耦合海洋湍流强度、波浪载荷与盐雾腐蚀速率时空参数,建立风机‑海洋环境数字孪生体;实时获取运行数据,实现数字孪生体同步映射与动态更新,结合历史运行特征,建立状态预测模型;以最大化发电效率与最小化机械载荷作为多目标优化函数,引用模型预测控制器,得到每个控制周期未来时域内风力发电系统最优控制序列;选取最优控制序列中首个控制指令,实时下发至物理风机转矩控制器与变桨系统,实现风力发电系统滚动优化,得到风力发电系统自适应运行控制方案。本发明提升了全生命周期的发电效益。

支撑工装、支撑总成、运输系统、方法、风场、机组

NºPublicación:  CN121676261A 17/03/2026
Solicitante: 
江苏金风科技有限公司
CN_121676261_PA

Resumen de: WO2026051260A1

A support tooling (100), the support tooling (100) being used in a first transport stage. A blade (5) comprises a blade root (510), a blade tip (520), and a blade body (530) located between the blade root (510) and the blade tip (520). The support tooling (100) comprises at least one first blade holder (110) and at least one second blade holder (120), wherein the at least one first blade holder (110) and the at least one second blade holder (120) are arranged independently of each other; both the at least one first blade holder (110) and the at least one second blade holder (120) are configured to accommodate and support the blade body (530); the at least one first blade holder (110) and the at least one second blade holder (120) can be connected to a first transport apparatus and move along with the first transport apparatus; and the at least one second blade holder (120) can be used in a second transport stage and can move along with a second transport apparatus. Such an apparatus can ensure the requirement for the stability of support for the blade, (5) and can ensure the reliability of the blade (5) during transport. The present invention further relates to a support assembly, a transport system and method, a wind farm and a wind turbine generator set.

一种混合能源驱动无人机

NºPublicación:  CN121671937A 17/03/2026
Solicitante: 
梁校铨
CN_121671937_PA

Resumen de: CN121671937A

本发明提供一种混合能源驱动无人机,涉及无人机技术领域。该混合能源驱动无人机,包括主体机构,所述主体机构底面固定设置有动力机构,所述动力机构底面设置有拍摄机构和喷洒机构,所述主体机构表面设置有多个风力回收机构,所述主体机构、动力机构和风力回收机构之间电路连接,所述动力机构包括安装板,所述安装板底面一侧固定设置有氢能燃料电池,所述安装板底面中间位置固定设置有蓄电池,所述安装板底面另一侧前后均固定设置有滑轨。氢能、太阳能、风能的梯级利用与互补,该无人机在延长航时的同时,显著降低了对外部充电设施的依赖,适用于农业植保、应急救援、地形测绘多种复杂场景。

基于模块化多功能浮体结构的浮式风力机离岸安装方法

NºPublicación:  CN121676263A 17/03/2026
Solicitante: 
中国电建集团贵州工程有限公司
CN_121676263_PA

Resumen de: CN121676263A

本发明公开了一种基于模块化多功能浮体结构的浮式风力机离岸安装方法,包括:多个模块化多功能箱型浮体彼此可旋转铰接处于离岸的海面上提供承载作业基础,将一级塔筒、二级塔筒、机舱与轮毂预装总成、风机叶片依次吊装到浮式风力机基础上,构成漂浮式风力发电机整机的安装过程。多个模块化多功能箱型浮体在离岸的海面上为一级塔筒、二级塔筒、机舱与轮毂预装总成、风机叶片吊装过程提供承载作业基础,保证了单机容量较大的漂浮式风力发电机吊装过程的实现,解决了依靠岸边码头吊装承载能力不足来进行整机吊装的问题。

一种融合监测与机理仿真的风机叶片监测诊断系统

NºPublicación:  CN121676281A 17/03/2026
Solicitante: 
中国长江三峡集团有限公司
CN_121676281_PA

Resumen de: CN121676281A

本发明涉及风机叶片状态监测技术领域,公开了一种融合监测与机理仿真的风机叶片监测诊断系统,系统包括:数据采集模块,用于驱动各类传感器进行数据采集,并对采集数据进行预处理,得到初始数据;网络层传输模块,用于根据风场位置选取相应传输方法,将初始数据传输至数据存储模块进行存储;数据存储模块,用于将初始数据和业务数据按照不同类型分别存储至不同的存储子模块;微服务模块,用于根据诊断需求提取数据存储模块中的数据并分析,输出诊断结果;用户交互模块,用于将构建网络端用户交互界面,网络端用户交互界面用于向用户展示叶片监测诊断的全过程。本发明实现了风机叶片状态精准监测及诊断,提升了监测可靠性和系统运维效率。

基于多传感器融合的自动化设备智能诊断系统

NºPublicación:  CN121676282A 17/03/2026
Solicitante: 
广州中谷自动化设备有限公司
CN_121676282_PA

Resumen de: CN121676282A

本发明公开了基于多传感器融合的自动化设备智能诊断系统,涉及风力发电机设备智能诊断技术领域,该系统通过实时监测风力发电机传动链的齿轮啮合状态、轴承电驱负载及变桨环境扰动,采集振动加速度、温度、油液清洁度、三相电流、主轴转速、负载扭矩、声纹、风速与环境噪声;计算工况一致性指数,评估后实现异常工况识别与交叉验证;基于同步时频分析与包络解调提取声振特征,生成声振同步扰动校正指数,评估后进行校正和预警;计算工况漂移动态判据指数,评估后实现漂移监测与预警;构建多源融合退化轨迹,计算退化轨迹指数并进行趋势分析与寿命预测,自动生成综合诊断报告,实现风力发电机传动链的在线健康评估与智能运维支持。

摩擦垫片

NºPublicación:  CN121676560A 17/03/2026
Solicitante: 
西门子歌美飒可再生能源创新与技术有限公司
CN_121676560_PA

Resumen de: CN121676560A

本发明描述了用于传动系(2)的两个旋转部件(21、22)的匹配面(21F、22F)之间的摩擦垫片(1),该摩擦垫片包括刚性基板(10);孔(11)的环形布置结构,每个孔设置成接收该旋转部件之间的螺栓接头的紧固件(24);其特征在于,摩擦垫片的外边缘(12)包括由第一半径(R1)和第二半径(R2)限定的一系列凸起(12P、12T),其中第一半径从摩擦垫片的中心点延伸并穿越孔(11),并以第一预定距离延伸超出该孔;第二半径在相邻的孔(11)之间延伸;并且第一半径以第二预定距离超过第二半径。本发明还描述了:传动系,其包括处于第一和第二旋转部件的匹配面之间的该摩擦垫片;以及组装该传动系的方法。

回收海上发电能量的储存媒体的方法及系统

NºPublicación:  CN121671806A 17/03/2026
Solicitante: 
丰田自动车株式会社
CN_121671806_PA

Resumen de: CN121671806A

在将在装载在发电漂浮体的发电能量的储存媒体移送至聚集基地的方法中,发电漂浮体具有在甲板部的两侧连结两个平行排列的船身而成的双体船结构,将发电漂浮体移动至聚集基地,甲板部横跨在沿聚集基地的码头并夹着船身能够通过的水道在水面上突出形成的长堤部上,在船身的一侧进入水道的状态下,使发电漂浮体停泊,将甲板部的至少一侧的船身从甲板部分离,使甲板部在长堤部上前进,在甲板部与船身分离的一侧连结装载有能够储存能量的储存媒体的另一船身,在甲板部的两侧连结有船身的状态下从发电漂浮体出港。

运输支撑系统、运输方法、风场及风力发电机组

NºPublicación:  CN121676262A 17/03/2026
Solicitante: 
江苏金风科技有限公司
CN_121676262_PA

Resumen de: WO2026051258A1

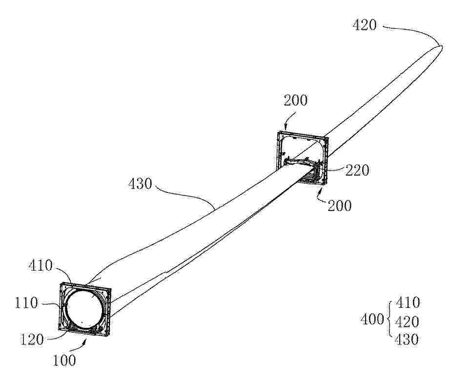
A transport support system, a transport method, a wind farm, and a wind turbine generator. A blade (400) comprises a blade root (410), a blade tip (420), and a blade body (430) located between the blade root (410) and the blade tip (420). The transport support system comprises: a blade root support assembly (100), comprising a first frame body (110) and a blade root support member (120), wherein the blade root support member (120) is detachably connected to the first frame body (110), and the blade root support member (120) is configured to support and fix the blade root (410); and a blade body support assembly (200), working in conjunction with the blade root support assembly (100) to support the blade (400), wherein the blade body support assembly (200) comprises a second frame body (210) and a first blade body support member (220), the first blade body support member (220) is detachably connected to the second frame body (210), and/or the first blade body support member (220) is configured to support and fix the blade body (430). The transport support system, the transport method, the wind farm, and the wind turbine generator can reduce costs and reduce the probability of blade damage.

风力发电机海上安装智能自适应软着陆的执行控制方法

NºPublicación:  CN121680101A 17/03/2026
Solicitante: 
中交第三航务工程局有限公司
CN_121680101_PA

Resumen de: CN121680101A

本发明提供的一种风力发电机海上安装智能自适应软着陆的执行控制方法,属于执行控制技术领域,其包括:步骤1:在原有的风力发电机海上安装软着陆系统的基础缓冲单元的基础上,新增动态感知模块、智能控制模块与自适应执行模块,以此形成执行控制系统;步骤2:对基础缓冲单元上对新增的动态感知模块、智能控制模块与自适应执行模块的设定部件进行优化设置;步骤3:智能控制模块的嵌入式控制器调用自适应算法模块执行自适应算法来进行控制。本发明引入智能感知与动态调节模块,结合液压控制技术与算法优化,实现缓冲性能的实时自适应调整,提升海上安装的安全性与效率。

一种环保型风能发电能力预测设备

NºPublicación:  CN121676294A 17/03/2026
Solicitante: 
四川华敬科技有限公司
CN_121676294_PA

Resumen de: CN121676294A

本发明公开了一种环保型风能发电能力预测设备,属于风能检测技术领域,包括:底座;风向叶,底座的顶部一侧转动连接有安装块,风向叶固定连接于安装块的顶部。该环保型风能发电能力预测设备,通过风向叶的使用,可以精准的判断风向,并且,配合控角机构的使用,可以稳定的调整计数箱的角度,使扇叶始终处于风向,保证使用,并且,可以保证扇叶使用过程中的方向,避免晃动,造成预测偏差,该环保型风能发电能力预测设备,通过显数机构的使用,将风力在特定时间内转动的圈数通过计数机构传动计数环上,以保证检测人员可以准确快速的进行观察,保证使用的整体效果,并且,单纯的机械机构,十分环保且节约能源。

一种利用气象数据融合的风力发电机冰冻检测方法及系统

NºPublicación:  CN121676304A 17/03/2026
Solicitante: 
北京妍鑫科技有限公司
CN_121676304_PA

Resumen de: CN121676304A

本申请提供一种利用气象数据融合的风力发电机冰冻检测方法及系统。其中,本申请首先获取风力发电机运行环境的近场气象数据与远场气象数据,近场气象数据包括实时温度与实时湿度,远场气象数据包括反射率因子数据,其次将实时温度与实时湿度输入至风力发电机叶片三维轮廓的叶片表面微气候模型中,模拟计算出叶片迎风面与背风面的实际露点温度分布图,然后将反射率因子数据与实际露点温度分布图进行融合判断,基于融合判断结果输出对应于风力发电机叶片局部区域的冰冻风险等级;本申请提供的技术方案不仅克服了传统方案对固定阈值和单点环境数据的依赖,还实现对风力发电机叶片局部冰冻风险更为精准和前瞻性的检测与评估。

一种直驱风机导纳自测方法、装置、电子设备及介质

NºPublicación:  CN121676291A 17/03/2026
Solicitante: 
华北电力大学
CN_121676291_PA

Resumen de: CN121676291A

本发明公开了一种直驱风机导纳自测方法、装置、电子设备及介质,涉及风力发电技术领域,包括:基于直驱风机,生成并注入扰动信号;利用扰动信号进行数据采集,获取直驱风机的时域信号;基于直驱风机的时域信号利用快速傅里叶变换,获取直驱风机的频域数据;根据直驱风机的频域数据进行测量验证,获取直驱风机导纳自测结果。本发明通过创新的扰动注入与频域辨识技术,在不依赖内部控制参数的情况下,实现了黑盒化直驱风机导纳特性的高精度测量,解决了传统方法依赖内部参数、频带受限、工程实施复杂等行业痛点。其高精度、宽频带、在线测量等优势,使其在新能源并网稳定性分析领域具有广阔的应用前景。

分片式机舱罩

NºPublicación:  CN121676689A 17/03/2026
Solicitante: 
北方联合电力有限责任公司新能源分公司
CN_121676689_PA

Resumen de: CN121676689A

本发明涉及风电发电技术领域,具体涉及一种分片式机舱罩。所述分片式机舱罩包括本体和密封装置,密封装置包括密封组件和遮挡组件,密封组件包括第一折弯法兰和第二折弯法兰,本体包括第一顶板和第二顶板,第一折弯法兰设于第一顶板,第二折弯法兰设于第二顶板,第一折弯法兰和第二折弯法兰均包括平行段和竖直段,第一折弯法兰的竖直段和第二折弯法兰的竖直段通过紧固螺栓连接,遮挡组件包括遮挡件和弧形凸起,弧形凸起设于第一折弯法兰的平行段,遮挡件的第一端与第二折弯法兰相连,遮挡件的第二端位于第一折弯法兰的平行段的上端,且遮挡件遮挡弧形凸起。本发明实施例的分片式机舱罩,可以避免雨水渗入机舱内,提高分片式机舱罩的密封性能。

一种风力发电机叶片结冰监测方法

NºPublicación:  CN121676303A 17/03/2026
Solicitante: 
国网河南省电力公司电力科学研究院
CN_121676303_PA

Resumen de: CN121676303A

本发明公开了一种风力发电机叶片结冰监测方法,具体涉及风力发电技术领域;通过构建多维初级冰情特征张量,提取热异常斑点密度、应力振幅变化率与扰动频率异常指标,并基于节点特征相关度构建叶片表面多尺度特征拓扑网络,识别潜在冰点耦合聚集区域;进一步地,通过能量变化熵计算与回归预测模型,输出微观冰核生成的动态概率值,构建隐性冰情传播路径图谱,生成结冰警示曲线,实现对叶片状态的实时分级判定;若判定为隐性结冰状态,触发局部升温控制,对对应加热单元执行定向温控操作;本发明具备高时效的隐性冰情识别与响应能力,可显著提升风力发电机组在寒冷地区的运行安全性与智能化水平。

一种用于抽油机的混合驱动系统及其控制方法

NºPublicación:  CN121676250A 17/03/2026
Solicitante: 
吉林大学新疆工程学院
CN_121676250_PA

Resumen de: CN121676250A

本发明属于抽油机驱动系统控制技术领域,提出了一种用于抽油机的混合驱动系统及其控制方法,系统包括风能‑液压转换子系统、液压二次平衡动力子系统和传感器检测与控制子系统,本发明通过将不稳定的风能通过液压传动形式,与电网电能、系统内部可回收的液压/动能进行融合,并采用基于模型预测控制(MPC)的能量管理策略,实现了风能、电网电能与回收能量三者之间与抽油机上下冲程需求的动态匹配与协同工作,有效解决了现有技术未能将不稳定的风能资源深度耦合进工业机械驱动系统的问题,从而提升了抽油机驱动系统能源综合利用的深度与效率。

一种针对风电机组的振动时域故障诊断方法和装置

NºPublicación:  CN121676292A 17/03/2026
Solicitante: 
智信能源科技有限公司
CN_121676292_PA

Resumen de: CN121676292A

本申请提供了一种针对风电机组的振动时域故障诊断方法和装置,涉及电信号处理领域。该方法包括:按照第一采集方式获取风电机组上对应振动测点的振动数据,并对振动数据进行去均值预处理;基于预处理后的振动数据进行窗口划分操作,并根据划分结果计算振动数据对应的目标能量重心偏差有效值;基于目标能量重心偏差有效值,通过额外采集验证评估操作,输出风电机组对应的故障诊断结果。本申请解决了现有的风电机组故障诊断系统在面对齿轮箱等包含多级传动的复杂旋转机构时故障诊断的准确率较低的问题。

一种山地分散式风电系统的机-场协同控制方法

NºPublicación:  CN121689205A 17/03/2026
Solicitante: 
广西电网有限责任公司电力科学研究院
CN_121689205_PA

Resumen de: CN121689205A

本发明公开了一种山地分散式风电系统的机‑场协同控制方法,涉及分散式风电系统技术领域,解决了现有技术中仅依赖转子动能进行功率分配,尚未充分考虑风机在支撑过程中因动能释放所引起的运行状态变化及其对持续支撑能力的影响的问题。本发明构建考虑动能特性与功率特性的暂态支撑能力量化指标,准确反映单台风机在复杂地形下的真实动态响应潜力,基于此实现的机‑场协同自适应控制策略可根据各风机实时支撑能力占比进行差异化功率分配,确保高转速风机充分发挥支撑作用的同时,有效约束低转速风机的支撑强度以避免其转速跌破安全限值,从而在保证机组安全运行的前提下,实现山地分散式风电场整体暂态频率支撑能力的最大化释放与优化协调。

直驱风电机组通用阻抗获取方法、系统、设备及存储介质

NºPublicación:  CN121689329A 17/03/2026
Solicitante: 
中国电力科学研究院有限公司国网内蒙古东部电力有限公司电力科学研究院国家电网有限公司
CN_121689329_PA

Resumen de: CN121689329A

一种直驱风电机组通用阻抗获取方法、系统、设备及存储介质,方法包括根据直驱风电机组交、直流端口瞬时功率平衡关系,建立直流电压的频域小信号表达式;根据直驱风电机组控制结构,建立多种控制模式下的直驱风电机组交流端口电压频域小信号表达式;联立直流电压的频域小信号表达式与多种控制模式下的直驱风电机组交流端口电压频域小信号表达式,建立适用于多种控制模式下的直驱风电机组频域通用阻抗模型;求解适用于多种控制模式下的直驱风电机组频域通用阻抗模型,得到相应控制模式下的直流风电机组交流端口阻抗。本发明能够实现不同控制模式的统一阻抗表征,显著降低建模的复杂度,能够准确获取不同控制模式下的直流风电机组交流端口阻抗。

一种废弃矿区风-光-热-储多能互补综合利用系统

NºPublicación:  CN121676032A 17/03/2026
Solicitante: 
安徽理工大学
CN_121676032_PA

Resumen de: CN121676032A

本发明提供一种废弃矿区风‑光‑热‑储多能互补综合利用系统,包括光伏发电模块、风力发电模块、地热能开发模块、气水协同恒压压气储能模块以及能源转换与分配模块。本发明创造性将废弃矿区的“土地‑空间‑地热‑矿井水”资源与“光伏‑风电‑储能”技术深度融合,形成了“源‑网‑荷‑储”一体化的多能互补系统,实现了废弃矿区资源的高值化利用;利用矿井巷硐作为储气腔,并通过水介质维持恒定压力运行,解决了传统压缩空气储能技术对地质条件要求高、建设成本高、能效低,难以实现大容量、长时程储能以及密封性难以保障的问题;通过多能互补与梯级利用,减少了能量损失,系统整体能源利用高,供能稳定,并实现了可再生能源的高效消纳。

一种海上风电机构多源信号融合的智能故障检测硬件系统

NºPublicación:  CN121676273A 17/03/2026
Solicitante: 
广东电网有限责任公司珠海供电局
CN_121676273_PA

Resumen de: CN121676273A

本发明提供了一种海上风电机构多源信号融合的智能故障检测硬件系统,属于电气设备运行维护领域。该系统包括多源传感器阵列、信号调理与采集模块、边缘计算处理模块和故障预警与决策模块;其中,边缘计算处理模块含异构计算架构模块和硬件级特征融合子板,异构计算架构模块接收采集信号并处理,还根据逻辑运算结果生成初步故障诊断结果,硬件级特征融合子板则利用若干个逻辑阵列对信号处理结果进行运算,生成逻辑运算结果;故障预警与决策模块进行故障预警与维修决策。本发明设计了含硬件级特征融合子板与异构计算架构协同的边缘计算处理模块,通过硬件级融合与异构计算的协同,实现多源信号的实时精准融合处理。

一种风电机组整机进风除尘系统及其设计方法

NºPublicación:  CN121676306A 17/03/2026
Solicitante: 
中车株洲电力机车研究所有限公司
CN_121676306_PA

Resumen de: CN121676306A

本发明公开了一种风电机组整机进风除尘系统及其设计方法,包括安装在塔筒一层塔基平台上的塔筒进风除尘装置和安装在机舱尾部的机舱进风除尘装置;塔筒进风除尘装置以检修门封板处开口作为引风口,含有沙尘的脏空气经过塔筒进风除尘装置过滤干净后送入塔基平台,对塔基平台的变流器进行冷却散热,并继续沿着塔筒上行,通过烟囱效应以及第三引流风机送入机舱内,对机舱内的齿轮箱和发电机进行散热;机舱进风除尘装置通过支撑座安装在机舱罩内侧底部,含有沙尘的脏空气经过机舱进风除尘装置过滤干净后送入机舱内。本发明具有结构紧凑、拆装便捷、可靠性高等特点,通过塔筒与机舱联动冷却送风,既确保了进风质量,又提高了整机中发热部件的散热效率。

一种风电机组叶片结冰识别方法、系统、设备及存储介质

NºPublicación:  CN121676302A 17/03/2026
Solicitante: 
西安热工研究院有限公司
CN_121676302_PA

Resumen de: CN121676302A

本发明属于风力发电技术领域,涉及一种风电机组叶片结冰识别方法、系统、设备及存储介质。包括以下步骤:获取风电机组的运行数据,所述运行数据包括风速、发电机功率和环境温度;根据所述风速和所述发电机功率计算所述风电机组的实际功率系数;获取与所述风速对应的机组理论功率系数;计算所述实际功率系数与所述理论功率系数的偏差值;当所述偏差值超过第一预设阈值,且所述环境温度低于第二预设阈值时,判定所述风电机组叶片结冰。本发明实现了对叶片结冰状态的准确和可靠识别。

一种节能型风力发电机齿轮传动箱油温控制组件

NºPublicación:  CN121676671A 17/03/2026
Solicitante: 
大唐玉门昌马风电有限公司
CN_121676671_PA

Resumen de: CN121676671A

本发明公开了一种节能型风力发电机齿轮传动箱油温控制组件,涉及节能型发电机技术领域,一种节能型风力发电机齿轮传动箱油温控制组件,包括齿轮传动箱箱体,所述风力发电机齿轮传动箱设置于风叶轴与发电机轴之间。本发明的齿轮传动箱传动使用时,通过控制组件,实现对齿轮传动箱内部油温控制的目的,通过油温控制,保证对齿轮传动箱内部齿轴件润滑的效果,而在油温识别的过程中,既能降低内部油液对油温传感器产生的局部冲击力,也能使监测位置的油液相对温度,便于油温传感器稳定的监测使用,另外,在监测使用时,可以根据内部油液变化,适应性的调节监测使用的状态,便于灵活且稳定的油温监测。

风电叶片运输用自适应支撑控制系统

NºPublicación:  CN121676265A 17/03/2026
Solicitante: 
中国电建集团贵州工程有限公司
CN_121676265_PA

Resumen de: CN121676265A

本发明涉及风电设备运输控制技术领域,具体涉及风电叶片运输用自适应支撑控制系统,包括传感器组和服务器,传感器组采集叶片姿态原始数据、支撑接触压力原始数据、运输车速数据、路段类型数据、风速原始数据、降雨状态数据并上传;服务器包括数据预处理、历史数据处理与训练、数据融合、控制决策、交叉验证及自适应修正模块。通过对采集数据预处理后存储训练,生成姿态与支撑力影响系数矩阵和动态阈值库,经多源数据动态权重融合输出状态融合值,结合三维映射库和简化模型预测控制算法修正控制参数,交叉验证保障可靠性,按多维度指标划分工况实现自适应调整。

一种旋转式可伸缩的风机叶片存放装置及方法

NºPublicación:  CN121676264A 17/03/2026
Solicitante: 
三峡物资招标管理有限公司中国长江三峡集团有限公司
CN_121676264_PA

Resumen de: CN121676264A

一种旋转式可伸缩的风机叶片存放装置及方法,主要包括回转底座,回转底座布置在主甲板上,回转底座的输出端安装有第一单元平台,第一单元平台一侧铰接有第二单元平台,第二单元平台内布置有液压油缸,液压油缸驱动第三单元平台伸出第二单元平台外;第三单元平台与叶片根部搁架底座卡接固定。本发明提供的一种旋转式可伸缩的风机叶片存放装置及方法,极大优化了甲板空间利用率。

一种风力发电机组桨距角的事件触发间歇控制方法

NºPublicación:  CN121676243A 17/03/2026
Solicitante: 
山东理工大学
CN_121676243_A

Resumen de: CN121676243A

一种风力发电机组桨距角的事件触发间歇控制方法,属于风力电动机控制技术领域。其特征在于:包括如下步骤:步骤1,构建风力发电机的动态模型;步骤2,设置控制目标为在风力发电机运行的满负荷区域,并定义调节误差转化控制目标;步骤3,基于转化后的控制目标,设计神经网络自适应估计律;步骤4,构建自适应神经网络控制器,实时估计风力发电机的未知动力学部分和非线性函数补偿;步骤5,对控制过程进行区间划分,实现对风力发电机组桨距角的实时跟踪控制。在本申请的技术方案中,通过合理划分控制区间和休息区间,利用神经网络估计律,实现了在降低控制成本和通信资源消耗的同时,确保风力发电机系统的稳定运行和控制性能的提升。

一种超高混塔管片增强结构、风电混塔及施工方法

NºPublicación:  CN121676259A 17/03/2026
Solicitante: 
山东电力工程咨询院有限公司
CN_121676259_PA

Resumen de: CN121676259A

本发明涉及风力发电设施技术领域,尤其涉及一种超高混塔管片增强结构、风电混塔及施工方法。所述管片的两端具有混凝土块体,所述混凝土块体位于所述管片的内壁,且向管片的径向中心凸出,所述混凝土块体上具有预留孔洞,所述预留孔洞的轴线与所述管片的轴线平行;两相邻所述管片的混凝土块体的预留孔轴线对齐,在两混凝土块体的预留孔中穿入锚筋,所述锚筋的两端凸出两混凝土块体,并在锚筋的两端安装螺帽。通过该增强结构有效抵抗罕遇地震及施工荷载引起的拉应力,防止了管片脱开。

基于变论域模糊线性自抗扰控制的风电机组变桨控制方法

NºPublicación:  CN121676234A 17/03/2026
Solicitante: 
国能智深控制技术有限公司暨南大学
CN_121676234_PA

Resumen de: CN121676234A

本发明涉及风力发电机组控制技术领域,公开了基于变论域模糊线性自抗扰控制的风电机组变桨控制方法,包括如下步骤:步骤1、构建线性自抗扰控制器,包括搭建线性扩张状态观测器和线性状态误差反馈;步骤2、通过带宽整定法确定所述线性自抗扰控制器的基准参数,包括控制器带宽基准值、观测器带宽基准值补偿系数基准值;步骤3、构建变论域模糊控制器,所述变论域模糊控制器包含用于推理的模糊规则表。本发明通过构建变论域模糊与线性自抗扰的闭环协同优化架构,成功解决了现有技术中控制参数缺乏实时自适应性、在复杂风况下抗扰能力不足以及功率波动抑制效果有限的核心技术瓶颈。

一种海上风力发电机组偏航系统状态监测方法

NºPublicación:  CN121676245A 17/03/2026
Solicitante: 
江苏洋林晟智造科技有限公司
CN_121676245_PA

Resumen de: CN121676245A

本发明公开了一种海上风力发电机组偏航系统状态监测方法,涉及风力发电机领域,包括以下步骤:步骤1:在目标发电机组的工作区域进行初始风域划分,基于垂直高度分布部署风力采集部件,构建分布采集点位,实时获取各风域的风速、风向和湍流强度数据;步骤2:基于初始风域划分结果,通过关联分析合并关联度高于预设阈值的风域,独立保存低关联度风域,形成多高度层风域模型;有效避免因风切变或湍流导致的偏航滞后或过调问题,进而提升偏航系统的响应精度和运行稳定性,减少因偏航误差导致的发电效率损失,确保风机始终处于最佳迎风角度,延长了偏航齿轮箱、电机等核心部件的使用寿命,还降低了突发故障导致的停机维护成本。

风力发电机传动链关键部件寿命预测方法、装置、设备以及介质

NºPublicación:  CN121683587A 17/03/2026
Solicitante: 
华能新能源股份有限公司山西分公司
CN_121683587_PA

Resumen de: CN121683587A

本发明公开了风力发电机传动链关键部件寿命预测方法、装置、设备以及介质,包括:确定目标风力发电机的若干传动关联部件;获取模拟风况,并根据目标风力发电机的设备参数构建多体动力学仿真模型;向多体动力学仿真模型中输入模拟风况,得到各传动关联部件对应的模拟疲劳寿命组,模拟疲劳寿命组中包括若干模拟疲劳寿命;构建传动链模型,并根据若干传动关联部件对应的模拟疲劳寿命组,确定传动链模型的寿命概率分布。本发明属于风力发电机传动部件寿命预测领域。本发明可以实现传动链部件寿命的准确预测。

新型风机塔架转换段结构

NºPublicación:  CN121676255A 17/03/2026
Solicitante: 
龙源(北京)新能源工程设计研究院有限公司
CN_121676255_PA

Resumen de: CN121676255A

本申请涉及风机塔架技术领域,尤其涉及新型风机塔架转换段结构,设置于风机塔筒与风机支撑腿之间,用于将风机塔筒的载荷向下传递至风机支撑腿上,包括上层分散段、中层传力段和下层衔接段,上层分散段绕设于风机塔筒的侧壁,用于将风机塔筒的应力向四周分散;下层衔接段设置于风机支撑腿的上端;中层传力段设置于上层分散段与下层衔接段之间,包括多个周向分布的传力管,传力管的上端与上层分散段连接,下端与下层衔接段连接,相邻的两个传力管与上层分散段或与下层衔接段之间形成三角形传力结构。利用三角形稳定性原理和球形节点的受力特性,有效应对风机长期振动和360度方向荷载,应力集中现象显著降低,疲劳应力幅减小。

一种风电机组异常在线振动信号识别方法及系统

NºPublicación:  CN121676267A 17/03/2026
Solicitante: 
中广核(安徽)新能源投资有限公司
CN_121676267_PA

Resumen de: CN121676267A

本发明提供一种风电机组异常在线振动信号识别方法及系统,涉及新能源装备状态监测技术领域。本发明步骤如下:采集周期内,收集待识别风电机组主轴原始振动信号与运行工况数据并预处理。对预处理后的振动信号,经多尺度线调频基稀疏分解提取时频域核心特征,含多尺度线调频分量能量和故障特征频率清晰度;同时通过计算峭度、统计有效冲击次数,得到改进峭度及冲击脉冲计数的时域辅助特征;将两类特征输入权重模型获信号识别指数,结合历史正常振动数据与当前工况数据确定机组运行工况。把历史各工况对应的时频域、时域特征输入在线学习模型得到参考阈值,对比信号识别指数与参考阈值,最终输出诊断结论。

一种基于多源异构数据的风电机组运行状态监测方法

NºPublicación:  CN121676295A 17/03/2026
Solicitante: 
安徽大学
CN_121676295_PA

Resumen de: CN121676295A

本发明公开一种基于多源异构数据的风电机组运行状态监测方法,包括:采集SCADA多源异构数据,并剔除异常样本和标准化;基于空间秩,将采集到的非正态数据转化为近似多元正态分布;构建弹性网惩罚似然函数,求解表征SCADA稀疏故障信号的均值向量估计;基于均值向量估计计算基础监测统计量并鲁棒优化,得到鲁棒监测统计量和上控制限;计算实时鲁棒监测统计量,若超出上控制限,则发出故障警报;触发故障警报之后根据最优惩罚系数反推均值向量估计,识别并输出故障部件信息。本发明解决了现有技术中SCADA数据分布复杂、变量成组相关性干扰、稀疏故障难识别、受控样本不足及多机组监测成本高的问题。

风电场的控制方法及装置、设备、存储介质

NºPublicación:  CN121676244A 17/03/2026
Solicitante: 
远景能源有限公司
CN_121676244_PA

Resumen de: CN121676244A

本申请涉及风力发电技术领域,公开一种风电场的控制方法,应用于服务器,方法包括:从风电场划分的多个共享机位群中,确定目标风力发电机所属的目标共享机位群,并基于目标共享机位群中每台风力发电机的当前风速,确定每台风力发电机的风向偏差,根据每台风力发电机的风向偏差,分别校正每台风力发电机的风向,以及基于每台风力发电机校正后的风向,确定目标风力发电机的当前风向。将当前风向和当前风速传输给目标风力发电机,以使目标风力发电机调整运行状态。方法可使风力发电机基于更加准确可靠的风速和风向运行,从而可以降低结构发生风险的可能性,以提升风力发电机的安全性。本申请还公开一种风电场的控制装置及设备、存储介质。

一种用于风力发电机组齿轮箱的润滑油精滤装置

NºPublicación:  CN121676674A 17/03/2026
Solicitante: 
苏州汉亿达环保科技有限公司
CN_121676674_PA

Resumen de: CN121676674A

本发明涉及一种用于风力发电机组齿轮箱的润滑油精滤装置,包括外壳具有与其内部连通的进液口和出液口。第一滤组和第二滤组可转动地设置于外壳内;外壳的内部的一端设置有导向面;第一滤组包括第一壳体、第一滤芯和第一隔离件。第一壳体绕外壳的轴线可转动地设置于外壳内;第一滤芯位于第一壳体内,以将第一壳体的内部分隔为位于第一滤芯外的第一腔体和位于第一滤芯内的第二腔体,第一腔体与第一滤组的进口连通,第二腔体与第一滤组的出口连通;第一隔离件的一端位于第一腔体内,第一隔离件的另一端位于第一壳体外并与导向面抵接,在第一腔体的压强驱动下第一隔离件的另一端相对于导向面滑动,以驱动第一滤组和第二滤组从第一位置向第二位置运动。

风力发电机叶片的监测方法及装置、设备、存储介质

NºPublicación:  CN121676276A 17/03/2026
Solicitante: 
内蒙古新远景集团有限公司远景能源有限公司
CN_121676276_PA

Resumen de: CN121676276A

本申请涉及风力发电技术领域,公开一种风力发电机叶片的监测方法,应用于电子设备,方法包括:获取风力发电机的载荷参数,将载荷参数输入训练好的风况重构模型,以使风况重构模型基于载荷参数生成风况数据,将风况数据输入训练好的净空预测模型,以使净空预测模型基于风况数据输出叶片的净空值。该方法在检测叶片净空值的过程中,无需依赖激光雷达,使得风力发电机即便在恶劣天气下运行,也能够保持检测叶片净空值的精度,从而更加准确地检测叶片的净空值,提升了监测风力发电机叶片的准确性。本申请还公开一种风力发电机叶片的监测装置及设备、存储介质。

区域风场多风电机组抗阵风分布式协同控制方法及系统

NºPublicación:  CN121676248A 17/03/2026
Solicitante: 
华能托里风力发电有限公司
CN_121676248_PA

Resumen de: CN121676248A

本申请公开了一种区域风场多风电机组抗阵风分布式协同控制方法及系统,涉及风力发电控制技术领域,该方法包括:根据风电场内各机组的运行状态数据与气象传感器数据,感知得到阵风扰动信息;基于风电机组间拓扑关系与阵风扰动信息,通过预设通信规则生成协同抗扰需求信号;根据各机组安全运行约束与协同需求信号,得到抗扰控制参数初步调整量;基于风场整体功率调度目标与控制参数调整量,通过分布式优化算法得到兼顾抗扰与发电的优化控制指令;根据优化控制指令调整执行机构,实现协同抗阵风控制。通过上述方式,能够实现风场机组间的高效分布式协同,有效抵御阵风冲击,同时保障风场整体发电功率的稳定输出。

风机轴承预紧力调节方法、装置、设备及存储介质

NºPublicación:  CN121676308A 17/03/2026
Solicitante: 
华能托里风力发电有限公司
CN_121676308_PA

Resumen de: CN121676308A

本申请公开了一种风机轴承预紧力调节方法、装置、设备及存储介质,涉及风电技术领域,该方法包括:采集风电机组的当前运行参数,并对当前运行参数进行预处理,得到风机工况数据;根据风机工况数据确定风电机组的风机轴承的当前轴承磨损状态;将当前轴承磨损状态和风机工况数据输入至预设轴承调节模型,得到风机轴承的目标预紧力,预设轴承调节模型是通过映射数据库对神经网络模型进行训练获得,映射数据库包括各类工况下风机轴承的轴承磨损状态与最优预紧力的映射关系;基于目标预紧力对风机轴承进行调节。相比于现有的依赖固定预紧力或定期停机检查的方式,本申请可实时响应风机轴承的复杂工况,提升了风机轴承的使用寿命。

一种低风速垂直轴风力发电机及其变桨机构与组装装置

NºPublicación:  CN121676229A 17/03/2026
Solicitante: 
江苏盛皇新能源科技有限公司
CN_121676229_PA

Resumen de: CN121676229A

本发明公开了一种低风速垂直轴风力发电机及其变桨机构与组装装置,属于风力发电技术领域。该装置包括臂杆,所述臂杆的一端固定连接有外叶片,相邻安装件的若干个臂杆之间均设置有内叶片,所述臂杆的内部设置有用于调节内叶片角度的变桨机构;本发明融合了升力型外叶片与阻力型可变桨内叶片的复合设计,外叶片采用高效升力翼型,以外叶片作为风能捕获的主力,在风速高于切入风速后,主要依靠其产生高转速和高效率的升力驱动风轮旋转,追求最优的风能利用系数;在低风速启动阶段,内叶片通过转动保持最大迎风面积,产生较大的启动扭矩,解决低风速启动问题;适用于低风速地区的安装使用。

一种退役风电与热泵系统耦合梯级化再利用方法及系统

NºPublicación:  CN121676296A 17/03/2026
Solicitante: 
重庆远达烟气治理特许经营有限公司科技分公司
CN_121676296_PA

Resumen de: CN121676296A

本发明属于新型固体废弃物及资源利用技术领域,公开了一种退役风电与热泵系统耦合梯级化再利用方法及系统,拆解退役风电机组,提取机舱内核心设备发电机;对所述发电机进行逆向改造,拆除内部永磁体或励磁线圈,加重转子以适配热泵负载的恒定转矩,完成转子重平衡;拆除发电机原有风冷系统,重构液冷系统,通过增设蒸发器、冷凝器实现对改造后压缩机的冷却;进行机械适配性改造,加装变频器VFD控制转子转速,使转子转速在0‑3000rpm范围内精准匹配热泵压缩机需求转速;实施轴承与密封性改造;开展热力学优化改造。本发明能够达成退役风电资源梯级化再利用与碳减排的双重效果。

一种多变量反馈下的旋转结构振动稳定控制系统

NºPublicación:  CN121676246A 17/03/2026
Solicitante: 
临沂大学
CN_121676246_PA

Resumen de: CN121676246A

本发明涉及风力发电机组振动抑制技术领域,公开了一种多变量反馈下的旋转结构振动稳定控制系统,包括:膨胀系数计算模块,计算获得集体通道每转一次的频带方差膨胀系数;调度强度计算模块,计算获得调度强度;重整量测计算模块,生成重整量测;窄带抑振控制律计算模块,计算获得待分配的控制输入;控制输入计算模块,计算获得最终控制输入;自适应更新模块,自适应调整滤波器带宽。本发明基于实时振动信号生成可在线计算的调度量,同步联动量测重整、增益插值与输入分配环节;通过随转速变化率调节滤波带宽,确保1P频带能量捕捉连续准确;随执行器工作量平滑调度强度,避免控制抖动与执行机构过度负担。

风机性能评估方法、装置、电子设备及介质

NºPublicación:  CN121676271A 17/03/2026
Solicitante: 
湖南三一智慧新能源设计有限公司
CN_121676271_PA

Resumen de: CN121676271A

本发明实施例涉及风力发电技术领域,提供一种风机性能评估方法、装置、电子设备及介质,包括:获取目标风电场内的代表风机的雷达测风数据集、与雷达测风同时期的监控风速数据、地形高程信息和地表粗糙度数据;基于上述数据构建分段传递函数;基于分段传递函数将评估期内的待评估风机的全部监控风速数据修正为轮毂高度处的风机自由流风速;基于风机自由流风速拟合得到实际空气密度下的运行功率曲线;基于标准空气密度将运行功率曲线进行修正;基于修正的运行功率曲线计算待评估风机的发电量保证值;基于发电量保证值评估待评估风机的风机性能。实现风机运行功率曲线的精准拟合并量化评估风机发电性能。

用于风力涡轮机转子叶片的加热元件

NºPublicación:  CN121676299A 17/03/2026
Solicitante: 
德国恩德能源欧洲股份两合公司
CN_121676299_PA

Resumen de: CN121676299A

一种用于风力涡轮机转子叶片的加热元件,包括:载体层,加热导体,其紧固到载体层,其中加热导体包括延伸超过载体层的边缘的第一端部部段,其中第一端部部段适于连接到风力涡轮机转子叶片的供电线路,其特征在于,加热导体被引导穿过调整部段,在该调整部段中,加热导体可移动地紧固到载体层,从而能够通过使加热导体在调整部段中相对于载体层沿着加热导体的纵向方向移位来调整第一端部部段的长度。

混凝土塔筒及风力发电机组

NºPublicación:  CN121676254A 17/03/2026
Solicitante: 
北京天杉高科风电装备有限责任公司
CN_121676254_PA

Resumen de: CN121676254A

本申请涉及一种混凝土塔筒及风力发电机组,混凝土塔筒包括塔筒主体以及连接结构,塔筒主体包括沿周向分布的多个塔筒分片,连接结构沿周向设置于相邻两个塔筒分片的间隙内,连接结构包括填充件以及多个连接组件,填充件填充于间隙并连接相邻两个塔筒分片,多个连接组件设置于填充件,每个连接组件沿周向的两端分别插设于塔筒分片内。其中,混凝土塔筒沿第一方向分段形成多个塔筒区域,位于至少两个塔筒区域的连接结构的强度不同,第一方向包括塔筒主体的轴向以及径向中的一者。本申请实施例中的混凝土塔筒及风力发电机组,能够在最少的增加造价的情况下,提高混凝土塔筒的可靠性及使用寿命。

一种用于风力发电的减震发电机底座

NºPublicación:  CN121676297A 17/03/2026
Solicitante: 
常州市齐天机械制造有限公司
CN_121676297_PA

Resumen de: CN121676297A

本发明公开了一种用于风力发电的减震发电机底座,属于风力发电机底座技术领域,包括安装风力发电设备的塔筒,塔筒上固定安装有机舱,机舱前端转动安装有风轮,机舱中固定安装有支撑座,支撑座上表面安装有固定端底座,固定端底座上固定安装有齿轮箱,齿轮箱输出端与风轮相互连接,机舱内部固定有钢架,钢架上表面固定有活动端底座,活动端底座上固定有风力发电机,风力发电机输出端与齿轮箱相互连接;固定端底座和活动端底座上均安装有振动加速度传感器;该减震发电机底座能够根据风力环境的变化调控两个底座之间的连接状态,以便动态应对不同条件下的震动力,保持齿轮箱与风力发电机稳定运行。

一种风力发电机的限速、刹车装置

NºPublicación:  CN121676242A 17/03/2026
Solicitante: 
华能陇东能源有限责任公司
CN_121676242_PA

Resumen de: CN121676242A

本发明属于风力发电设备技术领域,且公开了一种风力发电机的限速、刹车装置,包括主轴和安装于风电机舱壁上的安装架,所述主轴上固定套设有摩擦环和凸轮环,还包括:环形阵列并活动安装于安装架上的若干个摩擦片,所述摩擦片通过限位杆活动套设在安装架上,安装架上安装有用于推动摩擦片移动的驱动组件。上述方案通过运行电磁阀并使其处于关闭状态,此时凸轮环会通过凸起部推动弹簧活塞伸缩杆的活塞杆部分收缩,同时下一组摩擦片会经历上述过程,从而使得若干组摩擦片依次并持续与摩擦环产生摩擦并对主轴进行减速和制动操作,最终使得若干组摩擦片依次并间歇的与摩擦环接触,解决了两者长时间接触而影响制动或刹车效果的问题。

一种风力发电机叶片电脉冲除冰装置晶闸管控制方法

NºPublicación:  CN121676301A 17/03/2026
Solicitante: 
北京云海天宇科技有限公司
CN_121676301_PA

Resumen de: CN121676301A

本发明涉及风电机控制技术领域,尤其涉及一种风力发电机叶片电脉冲除冰装置晶闸管控制方法,包括通过获取多维度数据并融合为叶片工况感知数据集,提供丰富且综合的信息基础;通过获取多时序数据训练模型并结合校准数据,获取叶片表面结冰厚度分布数据;通过划分脉冲能量需求等级并输出分配矩阵,实现能量需求的差异化划分;通过计算晶闸管导通角调节量与脉冲宽度调制参数,提高控制参数的准确性;通过对晶闸管进行低温补偿修正,确保低温环境下触发脉冲序列的可靠性;通过执行差异化电脉冲除冰操作,提高除冰效率与针对性;通过实时获取除冰完成度并动态更新区域性能量密度分配矩阵,实现除冰过程的自适应优化控制。

一种双螺旋双转子同方向旋转的风力发电机

NºPublicación:  CN121676252A 17/03/2026
Solicitante: 
矩阵汽车有限公司
CN_121676252_PA

Resumen de: CN121676252A

本发明属于可再生能源发电设备领域,尤其是一种双螺旋双转子同方向旋转的风力发电机,针对现有的风力发电机风能捕获效率低、散热性能不足、结构适配性差、难以大型化组串的问题,现提出如下方案,其包括:支撑组件;旋转发电组件,设置于支撑组件上;冷却系统,设置于支撑组件和旋转发电组件上;控制与防护组件,设置于支撑组件上,并且与冷却系统连接,本发明通过双螺旋叶片与同方向双转子的协同设计提升风能捕获效率,液冷系统保障高温环境稳定运行,并联结构实现兆瓦级供电,解决了现有风机单机容量有限、散热不足、适配性差的问题,适用于大规模风电开发场景。

一种风力发电引风装置

NºPublicación:  CN121676226A 17/03/2026
Solicitante: 
赖国荣
CN_121676226_PA

Resumen de: CN121676226A

一种风力发电引风装置,包括一多级广角集风罩(100),具有一进风口和至少一出风口,其中所述进风口的截面积远大于所述出风口的截面积;一垂直导流气管(200),与所述多级广角集风罩(100)的出风口相连通。本发明多级广角集风罩的进风口远大于出风口的截面积,尽可能大面积收集更多具备动能的风,并导流成垂直向下流动,到达更低的位置去推动蜗轮做功发电,蜗轮和发电机因此可以设置在更低的地方或地面,降低了上部的重量,使得用于支撑引风装置的结构尽可能的简化,降低了施工的难度和成本,简化发电线路的设置,更方便地对发电机以及蜗轮进行维护,扩大了使用场景并极大的提高了把风能转化成有效机械能的效率,提升发电功率、环保和安全性。

一种叶片变形的检测方法、装置、设备和介质

NºPublicación:  CN121676288A 17/03/2026
Solicitante: 
华能湖南北湖风电有限责任公司中国华能集团清洁能源技术研究院有限公司
CN_121676288_PA

Resumen de: CN121676288A

本发明提供了一种叶片变形的检测方法、装置、设备和介质,涉及风力发电技术领域,通过获取叶片的全表面图像数据;基于全表面图像数据,确定叶片对应的当前形变数据;基于标定的环境数据、形变数据与载荷数据之间的映射关系,确定当前形变数据对应的当前载荷数据;基于当前载荷数据,确定叶片的机组偏航角度,以提高对叶片的长期检测的稳定性和可靠性。

风电机组抗涡激控制方法、系统、设备及介质

NºPublicación:  CN121676239A 17/03/2026
Solicitante: 
华锐风电科技(集团)股份有限公司
CN_121676239_PA

Resumen de: CN121676239A

本发明公开了一种风电机组抗涡激控制方法、系统、设备及介质,该方法包括:实时采集三支叶片的角度值、各叶片的超级电容容值和电压值;在电网掉电发生时刻,记录三支叶片的初始角度值、初始电容值和初始电压值;以其中一支叶片从当前初始角度变桨至抗涡激角度、另外两支叶片从各自当前初始角度变桨至顺桨角度,分三个方案分别计算电容最小余量;比较三个方案的电容最小余量,选择其中最大值对应的方案执行抗涡激操作。本发明技术方案能使得风电机组变桨系统快速进入抗涡激角度,合理分配三支叶片对应的超级电容的能量,即使在独立变桨的情况下发生突然断电,也能够使得进入抗涡激时三支叶片分配的超级电容能量达到最优,保证机组安全。

风力涡轮机塔筒的相邻节段的混凝土分瓣组以及组装风力涡轮机的方法

NºPublicación:  CN121693615A 17/03/2026
Solicitante: 
恩德能源西班牙独资有限公司
CN_121693615_PA

Resumen de: AU2024312549A1

The object of the invention is a set of concrete segments of adjacent sections of a wind turbine tower which minimizes the undesirable local effects in the connection area of the upper concrete section and the adapter, and in the connection area of the upper concrete section and the section disposed immediately below, and also a set of sections comprising at least two concrete segments of the upper concrete section and at least two concrete segments of the section disposed immediately below, a tower comprising at least a set of sections and a method of assembling a wind turbine.

一种用于风力发电的浮力储能装置

NºPublicación:  CN121676249A 17/03/2026
Solicitante: 
贵州乌江水电开发有限责任公司贵州乌江水电开发有限责任公司乌江渡发电厂
CN_121676249_PA

Resumen de: CN121676249A

本发明公开了一种用于风力发电的浮力储能装置,包括水下竖井,滑动设置于所述水下竖井中的储能组件,设置于所述水下竖井上的风力发电机,设置于所述水下竖井上的充电组件,设置于所述储能组件与所述充电组件之间的钢丝绳,设置于所述风力发电机与所述储能组件之间的转换组件;所述风力发电机通过所述转换组件,在风机发电量过剩时,多余电能经变压站降压后驱动空气压缩机向储能组件中的气囊充气,使浮动箱的浮力迅速提升,从而带动浮动箱沿水下竖井上升,并通过钢丝绳驱动充电组件中的发电机旋转,实现风能向机械势能再向电能的高效转换。

一种基于分布式声学传感的海风机群叶片监测方法及系统

NºPublicación:  CN121676272A 17/03/2026
Solicitante: 
中山大学
CN_121676272_PA

Resumen de: CN121676272A

本发明公开了一种基于分布式声学传感的海风机群叶片监测方法及系统,该方法包括:基于分布式声学传感DAS系统获取风机的原始时空数据并进行数据预处理,得到源端风机DAS数据的二维时频谱图像;通过状态分类网络对源端风机DAS数据的二维时频谱图像进行风机运行工况辨识,得到源端风机的当前运行工况;根据源端风机的当前运行工况,进行叶片转速监测与高阶模态识别,实现对海风机群叶片监测。本发明能够捕捉到风机叶片的微弱高频振动特征,实现风机叶片结构健康早期预警。本发明作为一种基于分布式声学传感的海风机群叶片监测方法及系统,可广泛应用于风机叶片监测技术领域。

防雷组件、风电叶片和风力发电机组

NºPublicación:  CN121676298A 17/03/2026
Solicitante: 
远景能源有限公司
CN_121676298_PA

Resumen de: CN121676298A

本公开涉及一种防雷组件、风电叶片和风力发电机组,防雷组件包括:外壳套组,外壳套组包括外壳本体和内接触端子,外壳本体具有第一空间以及与第一空间连通的拆装口和让位孔,内接触端子设于第一空间的内壁面;内壳套组,内壳套组包括内壳本体和外接触端子,内壳本体具有第二空间,外接触端子设于内壳本体的外壁面;保护器本体,保护器本体与外接触端子电连接;第一牵引绳和第二牵引绳,第一牵引绳的一端与内壳本体的一端连接,第一牵引绳的另一端穿过让位孔,第二牵引绳的一端与内壳本体的另一端连接;在第一牵引绳拉动内壳套组插入第一空间内后,外接触端子与内接触端子接触。本公开提供的技术方案,可以远程拆装,便于维护保护器本体。

一种基于湍流预测的风电机组协同控制方法及系统

NºPublicación:  CN121676237A 17/03/2026
Solicitante: 
华能包头风力发电有限公司中国华能集团清洁能源技术研究院有限公司
CN_121676237_PA

Resumen de: CN121676237A

本公开属于风电机组控制技术领域,尤其涉及一种基于湍流预测的风电机组协同控制方法及系统,该方法包括:获取风场矢量信息并计算初始湍流强度;计算初始尾流影响指数;对原始环境数据进行时滞补偿,得到补偿湍流强度和补偿尾流影响指数;将补偿湍流强度和补偿尾流影响指数输入预设联合决策矩阵匹配;根据目标控制模式组合确定模式标志位分路径,并生成变桨控制策略;根据目标控制模式组合确定偏航模式标志位执行尾流补偿偏航控制策略或标准偏航控制策略;基于变桨控制策略和尾流补偿偏航控制策略或标准偏航控制策略对风电机组进行协同控制,实时监测协同控制效果,并进行动态调整。本公开提高了风电机组在复杂湍流环境下的运行稳定性与发电效率。

一种叶片结构及风力发电设备

NºPublicación:  CN121676227A 17/03/2026
Solicitante: 
三一(巴彦淖尔)风电装备有限公司
CN_121676227_PA

Resumen de: CN121676227A

本申请实施例提供一种叶片结构及风力发电设备。涉及风力发电设备技术领域。叶片结构包括压力面壳体和吸力面壳体,压力面壳体与吸力面壳体拼接形成叶片;压力面壳体上设置有第一粘接部,吸力面壳体上设置有第二粘接部,第一粘接部粘接在第二粘接部上,第一粘接部和/或第二粘接部上设置有加强部,第一粘接部和/或第二粘接部上设置有连接槽,加强部插接到连接槽内。该结构用以达到提高叶片壳体粘接强度的效果。

一种风力发电机组冷却装置

NºPublicación:  CN121676307A 17/03/2026
Solicitante: 
华能国际电力开发公司吉林通榆风电分公司
CN_121676307_PA

Resumen de: CN121676307A

本发明提供了一种风力发电机组冷却装置,包括机舱外壳以及设置于其内部的冷却回路,所述冷却回路包括冷却泵站、连接组件和多个并联的冷却支路,所述连接组件连通于所述冷却泵站和所述冷却支路之间,所述冷却泵站驱动冷却介质在冷却回路中循环流动。本申请通过设置有并联冷却支路与串联换热组件之间的相互配合,通过多支路独立循环和串联换热,实现对不同发热部件的精准冷却,提升整体散热效率,通过设置有引风道与自适应流速调节机构之间的相互配合,通过引风道引导外部自然风至散热器,并结合形状记忆合金驱动流速调节,实现节能自适应控温。

基于混凝土风电塔筒的等径弧面类锥形塔身

NºPublicación:  CN121676258A 17/03/2026
Solicitante: 
余立派
CN_121676258_PA

Resumen de: CN121676258A

本发明公开了基于混凝土风电塔筒的等径弧面类锥形塔身,本发明涉及风力发电基础设施技术领域,包括至少由一个管段构成的塔身:至少部分所述塔身构件为等径弧面类锥形塔身段,该等径弧面类锥形塔身段由多个层级交错堆叠而成,所述管片组合由多个完全相同的管片周向固定连接而成;所述管片具有外表面、内表面、两个侧面、上端面和下端面,所述外表面为等径弧面,该结构在继承传统锥形塔筒视觉外观与结构性能优势的基础上,兼顾了直身阶梯形塔筒的制造经济性,实现了结构效能与建造成本的平衡。

一种风电叶片检测装置

NºPublicación:  CN121676277A 17/03/2026
Solicitante: 
三峡新能源红寺堡发电有限公司中国三峡新能源(集团)股份有限公司宁夏分公司
CN_121676277_PA

Resumen de: CN121676277A

本发明属于风电叶片检测技术领域,公开了一种风电叶片检测装置,遥控底盘通过抗拉拔线缆与控制台电性连接,遥控底盘上安装平板,平板顶部固设固定罩壳,固定罩壳开口的内侧转动安装副罩壳,平板顶部设置直线驱动机构,直线驱动机构的一端伸入固定罩壳,且传动连接云台相机与副罩壳;通过控制台操作遥控底盘在风电叶片内移动,对叶片的内部状态进行拍摄,遥控底盘不慎侧翻时,直线驱动机构带动副罩壳转动封闭固定罩壳的开口、云台相机移动至固定罩壳的内部,避免利用抗拉拔线缆将其拖出叶片的过程中云台相机受到磕碰,当需要拍摄叶片的内部状态时,通过直线驱动机构带动副罩壳转动开启固定罩壳的开口,并将云台相机移出固定罩壳的内部。

一种古建筑保护用防雷装置

NºPublicación:  CN121688559A 17/03/2026
Solicitante: 
长沙威尔达科技开发有限公司
CN_121688559_PA

Resumen de: CN121688559A

本申请涉及建筑防雷保护技术领域,尤其是涉及一种古建筑保护用防雷装置,包括安装环架,所述安装环架的顶部等间距呈环状排列固定安装有支撑架,所述支撑架的顶部固定安装有顶环,所述顶环的内侧活动安装有避雷针基座,所述避雷针基座的顶部转动连接有避雷针本体,所述顶环的外侧活动安装有清理机构。本技术方案应用期间,通过多机构协同配合,可定期清洁避雷针并结合雨水提升效果,保障导电性能稳定,解决现有技术中避雷效果下降问题,且风力驱动节能适配户外场景,同时实现清洁与防雷有序切换,避免功能干扰,防护及便捷结构保障装置稳定运行,且安装维护便捷,不会损坏古建筑,全面提升使用可靠性。

风电机组的状态监测方法、系统、设备及存储介质

NºPublicación:  CN121676287A 17/03/2026
Solicitante: 
中国华能集团清洁能源技术研究院有限公司
CN_121676287_PA

Resumen de: CN121676287A

本发明提供了一种风电机组的状态监测方法、系统、设备及存储介质,涉及故障监测技术领域,该方法包括:获取风电机组在预设历史时间段内各传感器的目标时序数据;确定每两种目标时序数据之间的相关性,并从目标时序数据中筛选相关性高于预设相关性阈值的关键时序数据;基于关键时序数据和实时获取的当前时序数据建立图结构;其中,图结构包括传感器节点;通过图注意网络更新图结构中传感器节点的空间特征;通过门控循环单元对传感器节点的空间特征进行时空融合,得到目标特征;根据目标特征对风电机组进行故障预测。本发明能够提高对风电机组潜在故障的诊断准确性和预警可靠性。

一种风机叶片的动态除冰系统

NºPublicación:  CN121676300A 17/03/2026
Solicitante: 
国能锅炉压力容器检验有限公司
CN_121676300_PA

Resumen de: CN121676300A

本申请涉及风力发电设备维护技术领域,特别涉及一种风机叶片的动态除冰系统,包括:用于产生冲击波至风机叶片的结冰区域的冲击装置、监测装置和控制装置。其中,控制装置,根据监测装置监测的冰层厚度、冰层环境温度、裂纹值计算除冰所需的目标冲击能量,并控制冲击装置基于目标冲击能量产生冲击波至结冰区域进行除冰,并在结冰区域满足预设的二次冲击条件时计算冲击装置的新冲击能量,控制冲击装置根据新冲击能量进行二次冲击。由此,解决了传统物理除冰技术能量传递效率低、厚冰清除困难、结冰位置定位精度不足等问题,通过精确控制冲击位置、能量和时序,使冰层产生连锁破裂,适用于大型风力发电机组在冻雨、湿雪等极端气候条件下的高效除冰。

一种预应力钢管混凝土板转换段

NºPublicación:  CN121676256A 17/03/2026
Solicitante: 
龙源(北京)新能源工程设计研究院有限公司
CN_121676256_PA

Resumen de: CN121676256A

本申请涉及预应力钢管混凝土板转换段,设置于风机塔筒与风机支撑腿之间,用于将风机塔筒的载荷向下传递至风机支撑腿上,包括上层分散段、中层传力段和下层衔接段。上层分散段绕设于风机塔筒的侧壁,将风机塔筒的应力向四周分散;下层衔接段设置于风机支撑腿的上端;中层传力段设置于上层分散段与下层衔接段之间,包括传力筒和多个周向分布的传力管,传力管的上端分别与上层分散段连接,下端与下层衔接段连接,相邻两个传力管与上层分散段或与下层衔接段之间形成三角形传力结构;传力筒的上端与上层分散段连接,下端通过传力平台与下层衔接段连接,传力筒的外壁、传力平台及传力管之间形成三角形传力结构。能够应对风机长期振动和360度方向荷载。

一种风力发电机姿态与转速计算方法及系统

NºPublicación:  CN121676269A 17/03/2026
Solicitante: 
山东大学
CN_121676269_PA

Resumen de: CN121676269A

本发明属于风力发电机叶片巡检技术领域,提供了一种风力发电机姿态与转速计算方法及系统,获取无人机在第二路径点以计算的偏航角的拍摄视野内含有风力发电机的照片或/和视频;对获取的照片进行图像分割,得到分割后区域,拟合风机叶片中心线和塔筒中心线,根据分割后的风机所在区域,确定风机朝向,根据风力发电机叶片中心线和风机朝向计算风机准确姿态;将获取的视频解码为时间有序的帧序列,并以设定时间间隔进行抽样组成按时间顺序排列的风机图像序列,计算风机图像序列中每张图片的旋转角,进行分段;对每一段图像序列内的风机转速求取平均值,再对总风机图像序列的转速求取平均值,得到最终的转速,计算结果准确、快速。

用于双馈风力发电机的轴承状态在线监测方法及相关设备

NºPublicación:  CN121676284A 17/03/2026
Solicitante: 
华能吉林清洁能源发电有限公司通榆分公司华能吉林新能源开发有限公司华能吉林发电有限公司
CN_121676284_PA

Resumen de: CN121676284A

本申请公开了一种用于双馈风力发电机的轴承状态在线监测方法及相关设备,涉及风力发电机状态监测技术领域,所述用于双馈风力发电机的轴承状态在线监测方法,包括:采集双馈风力发电机轴承的实时温度数据;根据实时温度数据计算特征温差参数;获取双馈风力发电机的当前运行工况,依据预设的健康温差基线数据库,调取当前运行工况对应的健康基准阈值;将特征温差参数与健康基准阈值进行对比,根据对比结果判断轴承健康状态并生成实时监测报告。本申请采用构建分布式传感网络,当轴承出现早期机械损伤时,通过提取多维特征参数实现对早期故障微弱信号的捕获,并调用健康温差基线数据库中的对应阈值对比监测,实现故障状态的早期监测。

基于模型预测控制的风电集群尾流优化方法及其装置

NºPublicación:  CN121689299A 17/03/2026
Solicitante: 
中国海洋大学
CN_121689299_PA

Resumen de: CN121689299A

本申请涉及风力发电预测控制技术领域,公开一种基于模型预测控制的风电集群尾流优化方法及其装置,其中,方法包括:集采全场每台风电机组的运行状态变量和气象环境信息;将运行状态变量和气象环境信息输入至综合预测模型中,输出全场每台风电机组在未来Np个时刻的发电功率序列;构建目标函数和约束条件,并结合未来Np个时刻的发电功率序列,确定每台风电机组未来Np个时刻的偏航角序列;根据未来Np个时刻的偏航角序列中第一个时刻的值控制风电机组执行偏航动作,并按照滚动时域优化机制形成滚动闭环控制。这样,既保留了物理机理的准确性,又具备深度学习的非线性拟合能力,能够提升全场功率预测精度,兼顾高精度物理场描述和集群控制的快速响应。

可调式风力发电装置

NºPublicación:  CN121676251A 17/03/2026
Solicitante: 
山西迎润新能源有限公司
CN_121676251_PA

Resumen de: CN121676251A

本申请实施例提供一种可调式风力发电装置,包括:叶片、支撑组件、消力组件、旋转组件和调节组件;旋转组件设置在支撑组件上,旋转组件包括旋转基件和卡板基件;旋转基件活动设置在支撑组件上,卡板基件连接在旋转基件上,且旋转基件能够带动卡板基件在支撑组件上,以支撑组件为轴自由旋转;卡板基件上至少设置有两个调节组件,调节组件包括调节基件和支撑臂;支撑臂的一端连接在卡板基件上,支撑臂的另一端连接有叶片;支撑臂和卡板基件的连接端设置有消力组件,消力组件包括拉绳和重力球,拉绳的一端和支撑臂连接,另一端穿射过卡板基件,与重力球连接;支撑臂和叶片的连接端设置有调节基件;能够使叶片旋转速率均匀,降低对旋转主轴的磨损。

同步转速穿越控制方法、装置及风力发电机组

NºPublicación:  CN121676240A 17/03/2026
Solicitante: 
中船海装风电有限公司
CN_121676240_PA

Resumen de: CN121676240A

为解决风力发电机组长时间工作在同步转速会导致变流器的IGBT管失效的问题,本申请提供了一种同步转速穿越控制方法、装置及风力发电机组。该风力发电机组的同步转速穿越控制方法包括:获取风力发电机组的运行参数;在根据所述运行参数识别到风力发电机组运行在预设同步转速区间时,对风力发电机组的运行转矩进行限幅,使得风力发电机组的运行转矩在所述预设同步转速区间内形成下凹,缩短风力发电机组在所述预设同步转速区间内的停留时间。

龙门式风电叶片子部件扭转测试装备及其扭转力控制和计算方法

NºPublicación:  CN121676280A 17/03/2026
Solicitante: 
山东理工大学
CN_121676280_PA

Resumen de: CN121676280A

龙门式风电叶片子部件扭转测试装备及其扭转力控制和计算方法,涉及风电叶片部件级测试领域,所述装备由固定侧/施力侧工装、施力组件及电气控制系统组成,安装于地面铸铁平台并可调节位置,适配不同尺寸样件;最大扭转负载为50,最大扭转变形7°,通过回转中心与样件剪切中心重合及对角施力组件协同,消除弯扭耦合;所述控制方法通过电气控制系统实时采集传感器数据,动态调节伺服缸功率,实现精准加载与故障保护;所述计算方法基于几何约束与力矩公式,核算两组施力组件力矩并求和,且验证无弯曲力矩。本发明实现了样件的稳定夹持与纯扭转精准加载,测试结果可靠,为风电叶片精细化设计与可靠性提升提供关键实验数据支撑。

风力涡轮机以及操作风力涡轮机的方法

NºPublicación:  CN121693625A 17/03/2026
Solicitante: 
西门子歌美飒可再生能源公司
CN_121693625_PA

Resumen de: WO2025031647A1

Wind turbine (1) with at least one rotor blade (2) and a hub (3) comprising one blade bearing (4) for each rotor blade (2), wherein each rotor blade (2) comprises a blade root (5) having a front surface (6), wherein the rotor blade (2) is fixed with the blade root (5) to the respective blade bearing (4) with its front surface (6) contacting a bearing surface (7) by means of fixating means (8) forming a bearing-blade-connection (9), wherein at each bearing-blade-connection (9) at least one detection device (10) is provided, wherein the at least one detection device (10) is connected to the rotor blade (2) and the blade bearing (4) and is configured to detect a gap (G) between the front surface (6) and the bearing surface (7).

一种风电发电机状态监测预警方法

NºPublicación:  CN121676270A 17/03/2026
Solicitante: 
广西灵山大怀山新能源有限公司
CN_121676270_PA

Resumen de: CN121676270A

本发明公开了风电发电技术领域的一种风电发电机状态监测预警方法,包括步骤S1:构建风电发电机的发电机监测网络;步骤S2:将状态监测因子输入至发电机监测网络,并分析得到目标状态监测层;步骤S3:分析得到匹配状态因子和缺失状态因子,依据缺失状态因子分析得到第一状态异常系数;步骤S4:分析得到匹配状态因子中的状态异常因子,依据状态异常因子分析得到第二状态异常系数;步骤S5:分析得到风电发电机在目标状态监测层的监测层状态异常系数和风电发电机的综合状态异常系数;步骤S6:分析得到风电发电机的目标预警等级,依据目标预警等级对风电发电机进行状态预警。本发明提高了风电发电机状态监测结果和预警结果的准确性。

一种新型的风力发电站

NºPublicación:  CN121676225A 17/03/2026
Solicitante: 
秦继昌
CN_121676225_PA

Resumen de: CN121676225A

本发明公开了一种新型的风力发电站,涉及风力发电技术领域,旨在解决传统风力发电机风能利用率低、对选址要求高的问题。该发电站包括山体、落地式聚风固定组件、悬挂式聚风固定组件和模块风力发电组件。所述山体之间的山谷山口呈外开口样式以增强天然聚风效应。落地式组件通过安装座和聚风隔离布在山谷下方形成聚风通道,悬挂式组件通过框体、梯形聚风隔离布及钢丝绳在山谷上方构成聚风结构。模块化发电组件由柔性钢丝绳框架、十字固定板和阵列布置的风力发电机构成,安装于聚风通道内。本发明充分利用地形聚风效应,采用模块化设计,具有风能利用率高、安装灵活、适应复杂地形及建设成本低的优点。

风机叶片故障检测方法及相关装置

NºPublicación:  CN121676286A 17/03/2026
Solicitante: 
浙江潮汐力科技有限公司科大讯飞股份有限公司
CN_121676286_A

Resumen de: CN121676286A

本申请公开了一种风机叶片故障检测方法及相关装置,涉及设备检测技术领域,本申请在获取风机叶片旋转产生的扫风声信号之后,对其特征处理得到了两种维度的特征,即预设声纹频谱频率范围的整体频谱特征,以及预设声纹频谱频率范围的局部频谱特征,由于整体频谱特征能够表征预设声纹频谱频率范围完整频段的特征,局部频谱特征能够表征预设声纹频谱频率范围中与风机叶片不同位置损伤对应的各个频段的跨频段融合特征,这两种维度的特征既涵盖了整体的粗粒度特征又涵盖了风机叶片不同位置损伤的细粒度特征,因此,综合利用这两种维度的特征进行风机叶片故障检测,能够提升风机叶片故障检测的可靠性。

一种基于AI的风电叶片健康诊断系统

NºPublicación:  CN121676285A 17/03/2026
Solicitante: 
清博(昆山)智能科技有限公司
CN_121676285_A

Resumen de: CN121676285A

本发明涉及风电设备状态监测技术领域,且公开了一种基于AI的风电叶片健康诊断系统,包括:感知模块:用于采集风电叶片运行过程中的多源监测数据,所述多源监测数据包括振动数据、声学数据、应变数据、环境数据及视觉图像数据;数据预处理模块:与所述感知模块通信连接,用于对采集的多源监测数据进行清洗、标准化、数据融合及特征提取,输出标准化特征数据集;AI诊断模型训练模块:用于构建深度学习模型,基于历史健康状态数据与故障数据组成的训练集。本发明有效解决了现有风电叶片健康诊断存在的效率低、准确性差、无法提前预警等问题,为风电机组的安全稳定运行提供可靠保障,具有广泛的应用前景与实用价值。

一种花键润滑结构及风电齿轮箱

NºPublicación:  CN121676673A 17/03/2026
Solicitante: 
南京高速齿轮制造有限公司
CN_121676673_PA

Resumen de: CN121676673A

本发明公开了一种花键润滑结构及风电齿轮箱,其属于齿轮箱技术领域,花键润滑结构包括花键轴、太阳轮、空心轴和盖板,花键轴的内周壁与太阳轮的外周壁之间形成储油腔,太阳轮与花键轴之间的花键啮合部位于储油腔内;太阳轮的内周壁和空心轴的外周壁之间形成沿轴向延伸的中空部,太阳轮上开设有连通中空部和储油腔的径向油孔;太阳轮的内周壁上设置有导流结构,导流结构用于承接流入中空部的润滑油,并在太阳轮旋转时,引导润滑油通过径向油孔流至储油腔内以润滑花键啮合部,从而简化了润滑路径,提高了润滑的稳定性和持续性。风电齿轮箱包含箱体和设置于箱体内的行星传动机构,行星传动机构配置有上述的花键润滑结构。

一种风电场减载容量动态配置方法及系统

NºPublicación:  CN121689313A 17/03/2026
Solicitante: 
国网山东省电力公司电力科学研究院
CN_121689313_PA

Resumen de: CN121689313A

本发明属于风电场动态配置相关技术领域,提出一种风电场减载容量动态配置方法及系统,综合考虑超速控制的最大可实现减载容量和桨距角控制的最大可补充减载容量,将两种控制方式的减载能力作为整体进行协同评估,最大化风电场有功支撑潜力;根据风电场有功支撑能力结果,结合所要求的备用容量,差异化分配各机组的减载容量,以及各机组的转速参考值、桨距角参考值,确保减载控制精准执行,兼顾风机运行安全性与减载响应及时性。

风力发电机叶片的监测方法及装置、设备、存储介质

NºPublicación:  CN121676275A 17/03/2026
Solicitante: 
内蒙古新远景集团有限公司远景能源有限公司
CN_121676275_PA

Resumen de: CN121676275A

本申请涉及风力发电技术领域,公开一种风力发电机叶片的监测方法,应用于电子设备,方法包括:获取风力发电机的载荷参数。将载荷参数输入训练好的风况重构模型,以使风况重构模型基于载荷参数生成风况数据。将风况数据输入训练好的载荷计算模型,以使载荷计算模型基于风况数据输出叶片的载荷时序数据。该方法在监测叶片的载荷时,相较于利用叶片根部部署的传感器,检测叶片所承受载荷的方式,可以更加全面地监测叶片的展向载荷,从而提升监测风力发电机叶片载荷的准确性。本申请还公开一种风力发电机叶片的监测装置及设备、存储介质。

一种天线与叶片一体化的浮空风力发电通信系统

NºPublicación:  CN121691399A 17/03/2026
Solicitante: 
北京临一云川能源技术有限公司
CN_121691399_PA

Resumen de: CN121691399A

本申请公开一种天线与叶片一体化的浮空风力发电通信系统,所述一种天线与叶片一体化的浮空风力发电通信系统包括:地面装置;浮空装置,浮空装置,所述浮空装置与所述地面装置相连且设置有涵道;风力发电装置,风力发电装置设置于所述涵道内;通信设备,所述通信设备包括地面单元和通信天线,所述地面单元设置于所述地面装置,所述通信天线与所述地面单元通信连接且设置于所述浮空装置和/或所述风力发电装置。本申请的一种天线与叶片一体化的浮空风力发电通信系统可以实现发电功能与通信功能的集成化设置,且在浮空装置升空后,可实现通信远距离覆盖能力,同时,省去了独立天线塔,大幅降低了系统体积、重量与总成本,同时利用高空高速气流可以实现通信设备的高效散热。

一种基于平衡单元的电力系统平衡优化方法

NºPublicación:  CN121689115A 17/03/2026
Solicitante: 
国网江苏省电力有限公司常州供电分公司
CN_121689115_PA

Resumen de: CN121689115A

本发明涉及电力系统及其自动化领域,公开了一种基于平衡单元的电力系统平衡优化方法。该方法包括:实时采集多源异构数据并进行同步与滤波;利用门控循环单元网络预测未来净负荷扰动;构建包含飞轮与燃气轮机动态模型的平衡单元;建立以频率偏差、飞轮荷电状态和调节成本为优化目标的函数;通过模型预测控制滚动求解最优协同指令,并下发至对应设备。该系统包括数据采集、预处理、预测、建模、优化决策及指令下发模块。本发明实现了秒级与分钟级资源的主动协同控制,维持飞轮荷电状态安全,提升高比例新能源电网的动态稳定性。

云边协同的风电机组热管理自监督预测控制系统及方法

NºPublicación:  CN121676236A 17/03/2026
Solicitante: 
中国计量大学
CN_121676236_PA

Resumen de: CN121676236A

本发明公开了云边协同的风电机组热管理自监督预测控制系统及方法,该系统包括位于边缘层的数据采集模块、数据预处理模块、自监督检测模块和执行模块,各模块之间通过通信连接;位于传输层的云边协同交互模块,云边协同交互模块与边缘层的执行模块通信连接;位于云端层的热故障诊断单元和全局热管理优化单元,热故障诊断单元与云边协同交互模块通信连接;全局热管理优化单元与热故障诊断单元通信连接。本发明采用上述的云边协同的风电机组热管理自监督预测控制系统及方法,既减少热管理失效导致的停机故障,又有效降低发电损失与运维成本。

用于单点系泊漂浮式风机的主动偏航系统及其控制方法

NºPublicación:  CN121676241A 17/03/2026
Solicitante: 
明阳智慧能源集团股份公司
CN_121676241_PA

Resumen de: CN121676241A

本发明公开了一种用于单点系泊漂浮式风机的主动偏航系统及其控制方法,包括挡流板单元、环境采集单元和中央控制单元;所述挡流板单元有两个,分别设置于漂浮式风机的两个下风向浮筒的底部;所述环境采集单元设置于漂浮式风机上,用于采集风向以及海流流向;所述中央控制单元设置于漂浮式风机的塔基柜内,用于根据风向或海流流向确定挡流板单元的对流角度,接着生成相应的主动偏航控制指令并下发至挡流板单元,通过挡流板单元执行相应的主动偏航动作,从而实现漂浮式风机的主动偏航对风。本发明能够在漂浮式风机运行或启动前,通过主动偏航实现高效对风,从而解决因海流导致风向偏差过大而造成的机组停机或无法启动的问题。

一种风力发电系统及其控制方法、电子设备

NºPublicación:  CN121676232A 17/03/2026
Solicitante: 
中国华电科工集团有限公司华电中光新能源技术有限公司
CN_121676232_PA

Resumen de: CN121676232A

本申请提供了一种风力发电系统及其控制方法、电子设备,涉及风力发电技术领域,包括:充气导风结构、伞状做功单元、牵引缆绳系统、地面发电与机械设备、控制与监测单元;充气导风结构为具有空腔的浮升体,通过牵引缆绳系统的边缘锚缆锚固于地面;伞状做功单元沿牵引缆绳系统的中心缆绳分段布置,可沿中心缆绳升降并实现周期性开合;牵引缆绳系统连接充气导风结构、伞状做功单元与地面发电与机械设备;地面发电与机械设备接收伞状做功单元传递的机械能并转换为电能;控制与监测单元与其他各部件信号连接。实现高空风能高效捕获、系统运行稳定可靠、能量转换连续高效且安全可控的技术效果。

风力发电机组路径规划方法及系统

NºPublicación:  CN121676247A 17/03/2026
Solicitante: 
华能吉林清洁能源发电有限公司通榆分公司华能吉林新能源开发有限公司华能吉林发电有限公司
CN_121676247_PA

Resumen de: CN121676247A

本申请公开了风力发电机组路径规划方法及系统,涉及风电技术领域,包括:通过机间通信网络获取在风电场中的风力发电机组在不同机位下的风速数据、风向数据、功率数据以及尾流路径数据,并获取流入风场感知数据;基于风速数据、风向数据、功率数据、尾流路径数据和流入风场感知数据输入协同路径规划模型对风力发电机组的偏航角与叶轮转速进行预测,确定偏航角信息和叶轮转速信息,协同路径规划模型是根据风速数据、风向数据、功率数据、尾流路径数据和流入风场感知数据将对应的风电场整体发电效率的目标函数进行修正得到的;基于偏航角信息和叶轮转速信息将每一台风力发电机组在风场范围内的运行路径进行解算,生成协同运行路径。

风电机组故障检测方法、装置、设备及可读存储介质

NºPublicación:  CN121676293A 17/03/2026
Solicitante: 
北京京能电力股份有限公司乌兰察布分公司
CN_121676293_PA

Resumen de: CN121676293A

本申请公开了一种风电机组故障检测方法、装置、设备及可读存储介质,涉及风电机组故障检测技术领域,该风电机组故障检测方法包括获取风电机组的多源运行数据,多源运行数据至少包括振动数据、温度数据以及电气数据;依据多源运行数据确定风电机组的多维度特征向量;依据多维度特征向量以及预设的故障诊断模型确定风电机组的故障诊断结果,本申请旨在提高风电机组故障检测的准确性。

基于数字孪生的垂直轴风力发电机故障诊断系统及方法

NºPublicación:  CN121676278A 17/03/2026
Solicitante: 
重庆科技大学
CN_121676278_PA

Resumen de: CN121676278A

本发明涉及风力发电设备状态监测与故障诊断技术领域,且公开了基于数字孪生的垂直轴风力发电机故障诊断系统及方法,系统包括物理感知单元、数字孪生体、智能诊断引擎及预测性维护平台,物理感知单元部署多源传感器采集实时数据;数字孪生体为融合了高精度几何、多物理场仿真及数据驱动退化模型的高保真虚拟模型;智能诊断引擎通过对比实测数据与仿真数据,结合故障模式库匹配与虚拟故障注入仿真,实现故障的识别、定位与机理溯源。本发明构建了与物理实体实时动态交互、持续演化更新的数字孪生体,实现了从阈值报警到机理仿真预测的转变,解决了现有技术中多源数据孤立、诊断模型缺乏物理机理支撑、无法进行动态仿真与预测性维护的技术难题。

风力发电机本体及其内外冷却系统性能的检测方法和系统

NºPublicación:  CN121676274A 17/03/2026
Solicitante: 
新疆洁净能源技术研究院
CN_121676274_PA

Resumen de: CN121676274A

本发明公开了一种风力发电机本体及其内外冷却系统性能的检测方法和系统,方法包括:启动电机及冷却系统;控制电机功率从初始状态升高至额定功率,并记录此过程中的功率曲线与对应的电机温升曲线;在升温过程中控制测试条件,使电机的散热速率与热容量的比值保持恒定;基于所述温升曲线,获取表征电机热特性的稳态温升参数和温升变化参数;根据温升曲线、稳态温升参数及温升变化参数,计算电机冷却系统的热响应时间常数;根据该时间常数确定冷却系统的性能。通过分析温升过程的热响应特性,实现了对冷却系统性能的准确、在线评估,有效克服了传统方法需停机检测的弊端,为风力发电机本体及其内外冷却系统设计提供评价依据。

一种用于多机型风轮组装的可拆卸支架及风轮组装方法

NºPublicación:  CN121676257A 17/03/2026
Solicitante: 
东方电气风电股份有限公司
CN_121676257_PA

Resumen de: CN121676257A

本发明公开了一种用于多机型风轮组装的可拆卸支架及风轮组装方法,涉及风电机组装配领域,包括依次堆叠的底层架、中层架和顶层架,底层架、中层架和顶层架之间通过连接螺栓副连接;顶层架上固定有垫板总成,且垫板总成上开设有弧形的止口槽和第一条孔,顶层架上开设有与第一条孔匹配的第二条孔,第一条孔和第二条孔均位于止口槽的凹侧,存在锁紧螺栓副穿过第一条孔和第二条孔。本发明在保证风轮吊装工况下具有足够的强度抵抗风轮组装时的侧向力、扭转力的前提下,无支腿设计,降低支架整体尺寸,减少支架底面变形;同时实现兼容不同机型轮毂对接到工装,达到通用目的,解决了现有技术中机型的风轮组装支架适配性差、转接法兰更换繁琐的问题。

风力涡轮机塔筒的混凝土节段的钢板、风力涡轮机塔筒的子组、风力涡轮机以及组装风力涡轮机塔筒的方法

NºPublicación:  CN121693617A 17/03/2026
Solicitante: 
恩德能源西班牙独资有限公司
CN_121693617_PA

Resumen de: AU2024311360A1

The object of the invention is a steel plate of a section of a wind turbine tower which reinforces the upper part of the section of the tower of the wind turbine, and also a subset of a wind turbine tower comprising the steel plate, the wind turbine comprising the subset and a method of assembling of a wind turbine comprising the steel plate.

一种风电机组扭缆防护装置

NºPublicación:  CN223993520U 13/03/2026
Solicitante: 
江苏汇智未来能源有限公司
CN_223993520_U

Resumen de: CN223993520U

本实用新型涉及扭缆防护装置领域,公开了一种风电机组扭缆防护装置,包括空心杆,所述空心杆上下两侧外壁均开设有若干个通槽,所述空心杆外壁前端内壁转动连接有转动杆,所述转动杆后端通过调节组件连接有若干个挤压块,所述挤压块相对一端均分别滑动连接在空心杆内壁上下两端,固定盘,所述固定盘顶端中部滑动连接有限位环,所述固定盘顶端外沿固定连接有若干个固定块,所述固定块顶端内壁均滑动连接有调节杆。本实用新型中,用于固定电缆的通槽可以调节,能满足多种粗细的电缆,提高了装置的实用性,且空心杆不仅能进行旋转还能将电缆分开一段距离,从而在发生扭缆现象时能减缓电缆之间的磨损不易发生断裂。

一种海上风机塔筒扰流条的拆装装置

NºPublicación:  CN223991823U 13/03/2026
Solicitante: 
中国电建集团华东勘测设计研究院有限公司浙江华东工程咨询有限公司
CN_223991823_U

Resumen de: CN223991823U

本申请涉及一种海上风机塔筒扰流条的拆装装置,拆装装置包括第一收紧带和第二收紧带、挂接件、扰流条、尼龙绳,第一收紧带和第二收紧带分别包括带体和魔术贴,魔术贴的钩面设置于带体的一侧,魔术贴的毛面设置于带体的另一侧,第一收紧带环绕设置于塔简靠近上法兰端面的一侧,第二收紧带环绕设置于塔简靠近下法兰端面的一侧;多个挂接件分别间隔设置于第一收紧带和第二收紧带上;扰流条环绕设置于塔筒的外壁,且扰流条的一端与第一收紧带上的挂接件连接,另一端与第二收紧带上的挂接件连接;尼龙绳的一端与带体设置有魔术贴的部分连接,另一端延伸至塔简下侧的预设位置,尼龙绳能够在外力作用下使得魔术贴的钩面与毛面脱离。

一种便捷安装的海洋风电桩简结构

NºPublicación:  CN223991820U 13/03/2026
Solicitante: 
中船第九设计研究院工程有限公司
CN_223991820_U

Resumen de: CN223991820U

本实用新型涉及海洋风电桩技术领域,具体地说,涉及一种便捷安装的海洋风电桩简结构,包括支撑台和多个基柱,支撑台上设置有中心孔,支撑台的前侧拐角部设置有第一拐角孔,中心孔的后侧孔壁上设置有第二拐角孔,支撑台的后侧板体顶面上设置有上限位插孔,中心孔内插接配合有风电桩柱,风电桩柱的底部柱体上设置有插接孔,第一拐角孔、第二拐角孔和插接孔内插接配合有水平限位板,水平限位板的前端部固定安装有端部限位板,水平限位板的后侧板体上设置有矩形孔,矩形孔和上限位插孔内插接配合有插接块,插接块的底端固定安装有粗螺柱,粗螺柱上螺纹连接有紧固螺母。本实用新型便于进行装配固定操作,施工难度小,利于提高安装效率。

一种张力腿浮式风电基础平台

NºPublicación:  CN223991821U 13/03/2026
Solicitante: 
中国船舶集团风电发展有限公司中船风电清洁能源科技(北京)有限公司
CN_223991821_U

Resumen de: CN223991821U

本实用新型公开了一种张力腿浮式风电基础平台,涉及海洋工程技术领域,包括风电机组、浮式风电平台、张力腿系统和锚固基础;浮式风电平台包括外侧水平杆系、角点浮筒、倾斜杆系、风电机组塔筒承台和附属构件;外侧水平杆系连接成三角形,三角形的每个角点处均设置有角点浮筒;倾斜杆系从外侧水平杆系的三个角点出发向上延伸至所述风电机组塔筒承台,风电机组塔筒承台位于外侧水平杆系的正上方,外侧水平杆系和倾斜杆系在空间上形成四面体结构;附属构件设置在风电机组塔筒承台的外边缘,风电机组塔筒承台用于承载上方的风电机组;结构简洁,用钢量小,可模块化批量制造、稳性好、能集成化湿拖运输安装,有效节约安装时间和安装成本。

基于李导数与稀疏识别的非线性系统全局线性化建模方法、系统、终端及介质

NºPublicación:  CN121658758A 13/03/2026
Solicitante: 
山东大学
CN_121658758_PA

Resumen de: CN121658758A

本发明涉及非线性系统建模领域,具体提供一种基于李导数与稀疏识别的非线性系统全局线性化建模方法、系统、终端及介质,方法包括:获取目标系统的显式非线性动力学方程,基于动力学方程,通过计算系统状态变量或输出变量的李导数,构造与系统物理机理直接关联的候选观测函数库;采用稀疏识别方法对候选观测函数库进行筛选与降维,得到低维观测函数集;基于筛选后的观测函数和系统运行数据,利用数据驱动算法辨识得到目标系统在升维观测空间中的有限维全局线性模型。本发明提升在线求解效率与控制实时性,实现风力发电机等系统的高效可靠多目标协同优化控制。

一种曳引式电梯群的智能供能系统

NºPublicación:  CN121651190A 13/03/2026
Solicitante: 
浙江省特种设备科学研究院
CN_121651190_PA

Resumen de: CN121651190A

本发明涉及特种设备技术领域,尤其涉及一种曳引式电梯群的智能供能系统,其中:风力发电机组用于将风能转换为电能,储能系统为超导磁储能装置,电梯系统包括再生制动电机等,再生制动电机具有电动机模式和发电机模式,电控模块用于控制电能在外部电网、储能系统和风力发电机组之间的电力分配。该曳引式电梯群的智能供能系统,显著的提升了能源效率与环保性,增强了供电可靠性与运行稳定性,实现了经济性与实用性的平衡,促进了技术融合与市场应用,通过将风力发电技术、能量回收技术及先进的超导磁储能技术有机整合于电梯这一特种设备领域,解决了建筑领域的节能减排难题,具备良好的市场推广前景和社会效益。

一种叶片钝尾缘的固定方法及风电叶片

NºPublicación:  CN121650272A 13/03/2026
Solicitante: 
厦门双瑞风电科技有限公司
CN_121650272_PA

Resumen de: CN121650272A

本发明提供了一种叶片钝尾缘的固定方法及风电叶片,所述叶片钝尾缘的固定方法包括:S1、在模具表面粘接木板;S2、钝尾缘布层固定;S3、钝尾缘芯材、缝布固定;S4、布置辅材;S5、组装并调试夹持工装;S6、真空抽紧。本发明通过结构调整来将玻纤布与芯材缝制一起翻出法兰固定,同时在模具法兰粘接木板对后缘钝尾缘布层进行集中固定;真空抽紧后,设计工装进行外部夹持固定,通过紧锣密布的衔接,保证钝尾缘布层和芯材不下滑,完成设计的一致性。

用于涡轮机叶片保护的方法和装置

NºPublicación:  CN121666491A 13/03/2026
Solicitante: 
埃奇解决方案有限公司
CN_121666491_PA

Resumen de: AU2024327176A1

There is provided herein method and apparatus for turbine blade protection. In particular, there is provided a method for protecting a wind turbine blade or part thereof by an erosion shield comprising a polymer composition, the method comprising the steps of: receiving geometric data of at least a portion of a wind turbine blade to be protected; selecting an erosion shield based at least in part on an offset of the received geometric data; and optionally applying the erosion shield to the portion of the wind turbine blade to be protected using an adhesive, the adhesive being arranged between the erosion shield and the portion of the wind turbine blade to be protected.

一种可变速比垂直轴风力发电机系统

NºPublicación:  CN121654557A 13/03/2026
Solicitante: 
华侨大学
CN_121654557_PA

Resumen de: CN121654557A

本发明提供了一种可变速比垂直轴风力发电机系统,包括:垂直轴风力转子,所述垂直轴风力转子具有叶片;制动器、多档变速器、发电机、动力电池,以及与所述发电机电连接的电力分配单元、换挡液压系统以及控制器。通过档位的切换与调控,保障发电机始终属于发电高效区。同时工作过程中可以实现变速箱档位的平顺切换,降低冲击,增加发电机的使用寿命,可以使用制动器垂直轴风力发电机进行制动,在紧急时刻可以通过蓄能器保障在液压系统工作失能的情况下,风力发电机依旧可以进行制动功能,保障安全可靠高效发电。

一种基于双动力源协同发电的增程式电动车动力系统

NºPublicación:  CN121650458A 13/03/2026
Solicitante: 
矩阵汽车有限公司
CN_121650458_PA

Resumen de: CN121650458A

本发明属于新能源汽车领域,尤其是一种基于双动力源协同发电的增程式电动车动力系统,针对现有的增程式电动车能耗较高、续航能力受限的问题,现提出如下方案,其设计整合水平对置增程器与双螺旋风力增程器,通过车辆在行驶过程中风阻收集、增程器尾气推力双重作用驱动双螺旋风力增程器发电,并结合水平对置增程器的常规发电功能,实现能量回收与协同供电,在大幅降低整车能耗的同时,通过纯绿电的应用方式去降低车辆对化石燃料、电池电能的使用频率,从而提升续航表现。经估算,本设计可将新能源轿车百公里电耗较之常规车型降低40%‑60%,具备显著的节能与续航优势。

一种应用于风电混凝土塔筒勾缝的机器人设备

NºPublicación:  CN121654232A 13/03/2026
Solicitante: 
北京梵米科技有限公司
CN_121654232_PA

Resumen de: CN121654232A

本发明公开了一种应用于风电混凝土塔筒勾缝的机器人设备,涉及机器人设备技术领域,包括智能小车和进料组件;智能小车:上侧的右端安装有PLC控制器和无线传输模块,所述智能小车前后两侧的右端固定有两个相对应的支撑条,两个支撑条的上侧安装有移动组件,所述移动组件的上侧安装有支撑组件,所述支撑组件的右侧边部安装有出料组件和清理组件,所述智能小车上侧的中部安装有调节组件,所述调节组件的前后两端安装有两个相对应的限位组件;进料组件:包含储存箱、导流块、混凝土泵、进料管和出料软管,所述智能小车上侧的左端固定有储存箱,能够替代人工、实现自动化高质量施工。

一种太阳能热发电与高温热泵的耦合运行方法及耦合系统

NºPublicación:  CN121654491A 13/03/2026
Solicitante: 
上海勘测设计研究院有限公司
CN_121654491_PA

Resumen de: CN121654491A

本发明涉及电热储能技术领域,公开了一种太阳能热发电与高温热泵的耦合运行方法及耦合系统。该方法包括:利用汽轮发电机组的低温抽汽作为低温热源,通过高温热泵系统将风电光伏的过剩电能与所述低温热源热能共同转化为中温热能,存储于中温熔盐中;再通过太阳能聚光集热系统将中温熔盐加热至发电所需高温并存储;最终利用高温熔盐产生蒸汽驱动汽轮发电机组发电。其中,高温热泵与太阳能集热对熔盐的加热过程相互独立,并通过中温熔盐罐实现独立控制与衔接。本发明通过能量梯级利用与控制,减少了太阳能集热面积与投资成本,高效消纳了波动性弃电并回收了机组余热,提升了光热电站的持续供电能力、运行效率与电网调峰灵活性。

一种用于海上风电导管架的Y型球冠式空间节点结构

NºPublicación:  CN121654561A 13/03/2026
Solicitante: 
国电电力发展股份有限公司国电象山海上风电有限公司中国电建集团华东勘测设计研究院有限公司
CN_121654561_PA

Resumen de: CN121654561A

本发明公开了一种用于海上风电导管架的Y型球冠式空间节点结构,通过在节点区域引入偏心布置的球冠壳体,实现主管与斜撑之间的三维曲率连续过渡。球冠壳体的主曲率与副曲率沿空间方向自然变化,并结合基于球面角度与局部曲率定义的厚度渐变函数,使节点在弯矩与轴力输入方向具有增强刚度,而在非关键区域保持柔性衔接。同时,节点沿斜撑方向布置径向衰减的加强肋,使内力能够在球冠表面自然扩散并形成更均匀的力流组织。本发明构建了几何连续、刚度可调、力流顺畅的空间节点形式,可显著改善节点的应力分布,并提升结构在长期循环载荷作用下的可靠性。该结构具备良好的参数化适配能力,制造方法简便,适用于海上风电导管架及其他空间管节点工程。

一种风机尾流修正系数动态优化方法

NºPublicación:  CN121664032A 13/03/2026
Solicitante: 
华电(宁夏)能源有限公司新能源分公司
CN_121664032_PA

Resumen de: CN121664032A

本发明公开了一种风机尾流修正系数动态优化方法,具体涉及风机尾流修正技术领域,S1:实时采集风电场多工况运行数据;S2:构建尾流修正系数与多工况参数的非线性映射模型;S3:建立以尾流预测误差最小、风电场总输出功率最大、风电机组总载荷损耗最小为目标的多目标优化函数;S4:采用改进的自适应PSO‑SVM算法求解多目标优化函数;S5:构建闭环反馈调整机制。本发明所述的一种风机尾流修正系数动态优化方法,使修正系数能持续适配风场长期运行中的工况变化,避免修正精度下降,确保风场长期维持高效、安全的运行状态,延长机组使用寿命。

一种风电机组的混塔的健康监测方法、装置、设备及介质

NºPublicación:  CN121654565A 13/03/2026
Solicitante: 
华能国际工程技术有限公司中国华能集团香港有限公司中国华能集团清洁能源技术研究院有限公司
CN_121654565_PA

Resumen de: CN121654565A

本申请提供一种风电机组的混塔的健康监测方法、装置、设备及介质,涉及风电机组健康监测技术领域,包括:获取风电机组的混塔的属性数据和在当前时间段的实时监测数据;根据属性数据,对实时监测数据进行分析,得到混塔的状态分析结果;将实时监测数据输入到预先训练好的混塔健康状态评估模型中,得到混塔的状态评估结果;基于状态分析结果和状态评估结果,生成混塔的健康监测结果;若状态分析结果或状态评估结果满足配置的预警规则,则生成混塔的健康监测预警信息。本申请可在保证风电机组稳定运行的基础上,实现高精度、高效的健康监测和预警。

一种风电场远程监控与智能调度方法及系统

NºPublicación:  CN121654564A 13/03/2026
Solicitante: 
中国电建集团江西省水电工程局有限公司
CN_121654564_PA

Resumen de: CN121654564A

本发明涉及风电场领域,公开了一种风电场远程监控与智能调度方法及系统,方法包括:获取振动数据、电压及风速并构成融合准备数据集;对融合准备数据集中的数据进行分类合并得到风电场运行状态模型;进行异常检测,得到标记为潜在异常的实时数据;对标记为潜在异常的实时数据进行异常特征提取,得到异常特征集合;基于异常特征集合,按影响范围和故障优先级加权求和计算各异常严重程度分数并生成分级异常列表;根据分级异常列表,匹配高危的响应模板;基于匹配的响应模板生成初始调度指令;将初始调度指令作为最终的调度指令;根据最终的调度指令向远程控制中心传输执行信号。本方法具有以下效果:提升了风电场异常检测的准确性。

具有铈的Nd-Fe-B永磁体、转子组件、机电换能器、风力涡轮机

NºPublicación:  CN121662535A 13/03/2026
Solicitante: 
西门子歌美飒可再生能源公司
CN_121662535_PA

Resumen de: CN121662535A

本发明描述了Nd‑Fe‑B永磁体(354),所述永磁体包括重量百分比28%至35%的稀土元素,其中,Nd(钕)和Pr(镨)的总含量在重量百分比20%至25%之间,其中,Ce(铈)的含量在重量百分比5%至10%之间,其中,空间延伸在18mm和26mm之间,即沿Nd‑Fe‑B永磁体(354)的主磁化方向的磁体(354)的高度(h)在18mm和26mm之间。本文还描述了用于机电换能器(340)的转子组件(350)。

一种海上风机的海底桩基定位支架

NºPublicación:  CN121654131A 13/03/2026
Solicitante: 
上海勘测设计研究院有限公司
CN_121654131_PA

Resumen de: CN121654131A

本发明涉及海上风电设备技术领域,具体的是一种海上风机的海底桩基定位支架,本发明包括固定于单桩桩基外表面的环形支架,所述形支架的内部固定连接有分隔圈,分隔圈将环形支架的内部空间分隔为位于上方的分流腔和位于下方的加压仓;所述环形支架的底部设置有多个注浆管,本发明通过在单桩桩基外部固定环形支架,连接连通管进行注浆时,可以将浆料通过分流腔分流到不同的注浆管中,最终通过注浆管的底部开口以及注浆管表面的注浆孔流出,形成不同高度的注浆流出区域,利用流出的浆料填充单桩桩基周围的海底缝隙,提升单桩桩体打桩的后的稳定性,使得单桩桩体无需一味提升打桩深度,即可提供稳定支撑。

一种针对风机叶片的振动监测装置

NºPublicación:  CN121654572A 13/03/2026
Solicitante: 
葫芦岛全方新能源风电有限公司
CN_121654572_PA

Resumen de: CN121654572A

本发明涉及叶片振动监测技术领域,尤其涉及一种针对风机叶片的振动监测装置,包括机架以及安装在机架表面的叶片本体,所述叶片本体的外壁安装有抱箍,所述抱箍的外壁焊接有壳体,所述壳体的内部设有加速度计,所述加速度计的外侧设有减振机构,所述减振机构包括套设在加速度计外壁的固定环,所述壳体的内部固定有两组对称的圆环,本发明通过风机叶片本体振动,在初始状态下,通过碟形弹簧发挥弹性缓冲作用,利用其自身的弹性形变吸收部分振动能量,初步减缓加速度计的振动幅度,减小了加速度计因自身振动产生的监测数据线性误差,避免了初始振动干扰对监测数据的影响,提高了对风机叶片监测数据的精确度。

一种基于转速引导的风电机组传动链异常检测方法及系统

NºPublicación:  CN121654571A 13/03/2026
Solicitante: 
明阳智慧能源集团股份公司
CN_121654571_PA

Resumen de: CN121654571A

本发明公开了一种基于转速引导的风电机组传动链异常检测方法及系统,风电机组为使用永磁同步发电机的风电机组,该方法包括以下步骤:获取风电机组传动链的振动加速度信号;根据获取的振动加速度信号,计算风电机组的永磁同步发电机转速,并从振动加速度信号中提取多维特征;将永磁同步发电机转速作为调制条件,基于条件神经网络构建传动链异常检测模型;将多维特征输入到传动链异常检测模型中,对当前风电机组传动链状态进行检测,输出检测结果。本发明结合物理机理与数据驱动,在不依赖外部输入的转速日志的情况下,提升在真实工业环境中的风电机组传动链异常检测性能,具备自适应性、实时性及高泛化性,同时能够有效提高传动链异常检测精度。

一种海上TLP风机-网箱一体化养殖系统

NºPublicación:  CN121647209A 13/03/2026
Solicitante: 
华南理工大学
CN_121647209_PA

Resumen de: CN121647209A

本发明涉及水产养殖与海洋工程设备技术领域,公开一种海上TLP风机‑网箱一体化养殖系统,包括承载平台,承载平台水平设置,承载平台顶面一侧安装有安装基座,承载平台底部固定连接有若干张力腿;风机组件,风机组件固定安装在安装基座上,风机组件与承载平槽垂直设置;网衣,承载平台下方沿其边缘设置有若干根系敷绳,网衣通过系敷绳悬挂于承载平台下方,网衣围成封闭养殖空间;网衣配重,网衣配重通过钢丝绳固定安装在网衣底部边缘;风机组件、张力腿结构与网衣系统构成协同受力和协同运行的一体化系统。本发明实现了风力发电与水产养殖的协同运行,为养殖作业提供稳定的结构支撑和能源保障,提高了装置整体的抗风浪能力和运行安全性。

基于数据融合的超高混合风电塔架姿态预警方法及系统

NºPublicación:  CN121654566A 13/03/2026
Solicitante: 
四川大学
CN_121654566_PA

Resumen de: CN121654566A

本申请属于风能监测技术领域,具体涉及一种基于数据融合的超高混合风电塔架姿态预警方法及系统,本发明整合了先进的数据处理和分析软件,该软件可以处理从轻量化传感器及现有SHM和SCADA系统中收集的数据。通过这种集成化方法,不仅可以实现对风电机组的重点监测和一般监控,还能优化硬件的协同工作,从而有效提升数据的实时分析、预警能力和系统的经济性。此外,系统的集成化和智能化设计显著提高了数据处理的准确性和可靠性。

高功率的垂直轴风力发电机

NºPublicación:  CN121654554A 13/03/2026
Solicitante: 
浙江大学绍兴研究院杭州国昶新能源有限公司
CN_121654554_PA

Resumen de: CN121654554A

本发明公开了高功率的垂直轴风力发电机,包括:叶片和发电机组;发电机组包括:壳体、永磁体、主轴和绕组盘;壳体包括两个半壳,两个半壳用于连接同一叶片,且彼此接合以形成壳体空腔;两组永磁体相对的安装于所述壳体空腔内,与两个半壳一一对应设置;主轴贯穿两个半壳,所述主轴被配置为支撑所述叶片,用以使所述半壳经所述叶片带动而绕所述主轴的轴线转动;绕组盘设置于所述壳体空腔,所述绕组盘由所述主轴固定而使其悬空设置于两组永磁体之间,并与各永磁体之间形成轴向间隙;所述绕组盘设置有限位件,所述限位件与所述半壳转动贴合,用以维持所述轴向间隙。本发明解决了现有技术中发电机输出功率不稳定或下降的技术问题。

一种风电机组的散热组件及风电机组

NºPublicación:  CN121654575A 13/03/2026
Solicitante: 
华能国际电力股份有限公司大连电厂
CN_121654575_PA

Resumen de: CN121654575A

本发明涉及风电机组的散热技术领域,且公开了一种风电机组的散热组件及风电机组,包括固定连接在两个连接滑动杆外壁处的限制锥球,主轴套的外壁处固定连接有连接轴套;当液体接触限制锥球后,会对限制锥球施加一定的压力,由于连接滑动杆的存在,迫使其沿着槽口向着连接法兰移动,而连接滑动杆的移动也会对复位弹簧施加压力,使其被压缩,之后当冷却机组的输送液体产生波动后,液体对限制锥球施加的压力也会产生波动,当液体量增加后,限制锥球受到的压力变大,使得限制锥球越发靠近连接法兰,而当限制锥球靠近连接法兰后,限制锥球与输送连接法兰之间的空间会减小,导致流通的液体量降低,从而在一定程度上维持进入连接法兰内液体量的稳定。

一种双分支神经网络的风机主轴热像智能测温预警系统

NºPublicación:  CN121654567A 13/03/2026
Solicitante: 
北京鼎好鑫源科技有限公司
CN_121654567_PA

Resumen de: CN121654567A

本发明涉及风力发电设备监测与智能运维领域,公开了一种双分支神经网络的风机主轴热像智能测温预警系统;包括:定制化热成像采集模块、多维度数据感知模块、数据预处理模块、双分支神经网络融合计算模块及动态阈值预警与交互模块。定制化热成像采集模块采集红外热像与可见光图像,多维度数据感知模块同步获取振动及工况参数;数据预处理模块执行去模糊、滤波和边缘检测;双分支神经网络融合计算模块融合空间与时序特征,输出主轴温度预测值;动态阈值预警与交互模块依据工况修正公式计算动态温度阈值,实施分级预警和降载控制。通过多源数据融合与动态阈值调节,达到提升风机主轴测温精度和故障预警可靠性的效果。

一种模块化自稳式漂浮风机基础

NºPublicación:  CN121650819A 13/03/2026
Solicitante: 
中国电建集团华东勘测设计研究院有限公司
CN_121650819_PA

Resumen de: CN121650819A

本发明提供了一种模块化自稳式漂浮风机基础,包括中心立柱,中心立柱的上部与风电机组的塔筒连接,中心立柱的下部设置漂浮平台,所述漂浮平台具有一以中心立柱为中心的安装平台,安装平台上具有多道滑轨,所述中心立柱的四周设置有多个与所述滑轨可拆卸连接的浮筒,多个所述浮筒能够以堆叠的方式安装于所述滑轨上,所述漂浮平台在下方通过配重缆竖向连接有配重块。本发明能够有效降低波浪诱导运动,更好的服务风电机组设备运行,同时,降低制造成本,缩短制造周期,安装维护简便,提升漂浮式基础在实际工程应用中的可靠性与经济性。

用于风力涡轮机的滑动轴承和风力涡轮机

NºPublicación:  CN121654576A 13/03/2026
Solicitante: 
远景能源技术私人有限公司
CN_121654576_PA

Resumen de: CN121654576A

本申请涉及一种用于风力涡轮机的滑动轴承和风力涡轮机,滑动轴承包括固定轴承表面和可旋转轴承表面。固定轴承表面能够不可旋转地连接到风力涡轮机的机舱。可旋转轴承表面能够不可旋转地连接到风力涡轮机的转子并且沿着固定轴承表面可滑动,其可以相对于固定轴承表面从静止状态进入旋转状态,在静止状态可旋转轴承表面相对于固定轴承表面静止,在旋转状态可旋转轴承表面围绕旋转轴线相对于固定轴承表面旋转。固定轴承表面和可旋转轴承表面中至少一个为能够可逆变形的轴承表面,配置为通过可旋转轴承表面与固定轴承表面可旋转地相互作用,在旋转状态之一的轮廓与在静止状态下的轮廓相比能够可逆地改变。本申请还涉及一种具有滑动轴承的风力涡轮机。

一种风机动态巡检的方法及其系统

NºPublicación:  CN121654563A 13/03/2026
Solicitante: 
宁夏银星能源股份有限公司
CN_121654563_PA

Resumen de: CN121654563A

本申请公开了一种风机动态巡检的方法及其系统,属于风机巡检技术领域,用于实现本地以及云端的协同,提高风机的动态巡检效率以及效果,所述方法包括,通过试验巡检,获取试验巡检参数和试验故障信息,所述试验巡检参数包括机械状态参数、电气状态参数以及环境状态参数;基于所述试验巡检参数和试验故障信息,构建紧急故障分析模型;进行实时动态巡检,获得动态巡检参数,在风机的机舱内进行实时边缘计算,利用紧急故障分析模型计算,获得紧急故障分析结果,本申请集成试验巡检建模、边缘实时分析、云端深度挖掘的动态巡检方法及系统,实现精细化动态巡检的同时从被动响应到主动预防的升级,提升风机运维的智能化与经济性。

风力发电机组的功率控制方法及风力发电机组

NºPublicación:  CN121654555A 13/03/2026
Solicitante: 
北京金风科创风电设备有限公司
CN_121654555_PA

Resumen de: CN121654555A

本公开提供一种风力发电机组的功率控制方法及风力发电机组,所述功率控制方法包括:获取风力发电机组的桨距角信号;响应于所述风力发电机组当前自由发电的应发功率大于预设的功率限值,通过对所述桨距角信号与预设的桨距角范围进行比较来调节当前功率指令,得到调节后的功率指令;基于调节后的功率指令,通过调节所述风力发电机组的桨距角,控制所述风力发电机组的实发功率。本公开解决了难以抵抗风况变化而维持机组的稳定运行的问题,能够控制风力发电机组的实发功率,储备应发功率与实发功率之间的功率差,在风速或频率变化的情况下,可以通过调节桨距角,释放该功率差对应的能量,以支撑机组的稳定运行。

一种应用于避雷器箱体的绝缘安装装置

NºPublicación:  CN121663398A 13/03/2026
Solicitante: 
江苏宇诚业基电气设备有限公司
CN_121663398_PA

Resumen de: CN121663398A

本发明公开了一种应用于避雷器箱体的绝缘安装装置,涉及箱型避雷器的技术领域,包括,外部箱体,其与海上风电设备固定连接;托架,托架固定设置于外部箱体的内部底端,托架的顶端开设有导槽,托架的上端设置有凸结,凸结的内部开设有横向插槽。本发明通过外部环境温度变化驱动锁销组件内的气杆动作,自动补偿金属件的热胀冷缩,实现了锁紧力的动态调整与长效保持,从根本上解决了温差导致的连接松脱问题,通过插入对准与单一转动六角台垂直支撑固定,极大地简化了安装与拆卸流程,提高了运维效率,特别适合海上高空作业,同时采用上锁下撑的双重机械固定模式,形成了立体约束,整体刚性和抗振性能显著优于传统单点固定方式。

一种风机稳定性状态评估方法、装置、电子设备、存储介质及程序产品

NºPublicación:  CN121654574A 13/03/2026
Solicitante: 
山西迎润新能源有限公司
CN_121654574_PA

Resumen de: CN121654574A

本发明涉及风力发电技术领域,公开了一种风机稳定性状态评估方法、装置、电子设备、存储介质及程序产品,该方法包括:采集目标风机的原始运行数据;目标风机的原始运行数据包括风机机舱位移数据、风机振动加速度数据、风机机舱倾斜角度数据、风速数据和风机共振数据;对目标风机的原始运行数据进行数据预处理,得到预处理的原始运行数据;基于预处理的原始运行数据,利用风机稳定性状态评估函数对目标风机进行稳定性状态评估,得到风机稳定性评估结果。本发明充分考虑了各因素间的相互作用和影响,从而避免了因片面评估而导致对风机真实稳定性状态的误判。

一种模块化级联风能制氢与负碳多联供系统

NºPublicación:  CN121654558A 13/03/2026
Solicitante: 
罗永
CN_121654558_PA

Resumen de: CN121654558A

本发明公开了一种模块化级联风能制氢与负碳多联供系统,属于可再生能源、氢能经济与碳负排放技术领域。针对现有风能利用系统功能单一、能量波动大、缺乏负碳手段及资源化程度低的问题,本发明提出一种高度集成的模块化级联架构。该系统包括:风能聚合模块,用于捕获风能;级联汇聚模块,对气流进行旋流离心增压与气液分离;以及,用于进一步提升压力与稳定性的气动增压模块;能量分离模块,将气流分离为热端与冷端气流;多元应用模块,至少包括发电与制氢单元,并可集成海水淡化、碳捕集、海水资源化单元;以及集成数字孪生与区块链技术的智能控制中心,用于执行多目标动态调度。本发明实现了风能全品位梯级利用,通过绿氢合成、浓盐水资源化与直接空气碳捕集,构建了能源、水资源与碳的闭环循环系统,适用于离网海岛、沿海园区、船载平台及建筑屋顶等多种场景,兼具高效、稳定、经济与负碳环保的优点。

垂直轴阵列式液压储能发电系统

NºPublicación:  CN121654556A 13/03/2026
Solicitante: 
邹立新
CN_121654556_PA

Resumen de: CN121654556A

本发明公开了一种垂直轴阵列式液压储能发电系统,属于风力发电与储能技术领域。该垂直轴阵列式液压储能发电系统包括:呈阵列分布的垂直轴风力采集单元,每个垂直轴风力采集单元内设有飞轮和液压泵;连接所有风力采集单元的循环液压管网;分级式中央储能与调度模块,其包含至少两个不同压力阈值的储能单元组及调度控制器;以及集中发电模块。本发明通过垂直轴全向采集、飞轮源头稳速和管网自然平滑协同解决风场地理性风力不均问题,并通过分级储能与时序调度机制实现风能的大规模、经济性跨时段存储与释放,将风电场升级为可调度电源,显著提升了风电的稳定性、电网友好性与经济效益。

ソーラーパネル及び複方式発電装置

NºPublicación:  JP2026046916A 13/03/2026
Solicitante: 
株式会社林物産発明研究所
JP_2026046916_PA

Resumen de: JP2026046916A

【課題】 風力や水力による発電を可能とするソーラーパネルを提供する。【解決手段】 矩形板と、前記矩形板の表面および裏面の太陽光発電素子モジュールと、前記矩形板の側面のうちの相対する2面を貫通する心棒と、4つの前記矩形板の側面に傾けて取り付けた羽根板を有し、前記側面のうちの対向する一対の面にある前記羽根板は逆向きに取り付けられている、ソーラーパネルとした。【選択図】 図1

一种漂浮式风电场规则布局与系泊系统协同设计方法

NºPublicación:  CN121659499A 13/03/2026
Solicitante: 
清华大学深圳国际研究生院
CN_121659499_PA

Resumen de: CN121659499A

本发明公开一种漂浮式风电场规则布局与系泊系统协同设计方法,包括:获取风电场基础数据;进而构建基于网格的混合整数线性规划模型,通过引入水深代理函数近似评估系泊成本并施加规则布局约束,快速求解得到风机的初始离散位置;以此为基础构建连续坐标优化模型,采用元启发式搜索算法对风机连续坐标与系泊线参数进行协同微调,并基于海底地形精确计算系泊线长度。由此,解决深远海区域因海底地形复杂导致的系泊系统设计与风机布局脱节、优化计算复杂度高以及难以满足工程规则化布局要求的技术难题。该方法通过尾流模型评估发电量,最终输出兼顾规则布局、尾流损耗与系泊经济性的协同优化方案,实现了风电场全寿命周期净现值的最大化。

基于偏航集电环的多维度状态运行监测方法及系统

NºPublicación:  CN121659255A 13/03/2026
Solicitante: 
温州科非电力科技有限公司
CN_121659255_PA

Resumen de: CN121659255A

本发明涉及偏航集电环状态监测技术领域,具体公开了一种基于偏航集电环的多维度状态运行监测方法及系统,所述方法包括:获取偏航集电环的原始运行数据集,所述原始运行数据集包含经由传感器采集并经冗余校验后的电气、机械、姿态及环境维度的运行参数;基于偏航集电环的物理机理构建噪声抑制矩阵,利用所述噪声抑制矩阵过滤所述原始运行数据集中的孤立波动与跨模态异常值,并输入至卷积神经网络模型中得到融合特征向量。本发明通过引入物理机理构建噪声抑制矩阵与物理拓扑引导的通道交互机制,有效解决了轻量化模型在边缘端难以提取跨模态强耦合特征的技术难题,在不增加算力负担的前提下显著提升了对早期复合故障的敏感度与准确性。

一种半潜式漂浮平台和漂浮式风电机组

NºPublicación:  CN121650823A 13/03/2026
Solicitante: 
中车科技创新(北京)有限公司中车大连机车车辆有限公司
CN_121650823_PA

Resumen de: CN121650823A

本申请公开了一种半潜式漂浮平台和漂浮式风电机组,涉及风力发电技术领域,半潜式漂浮平台包括:中心浮筒、环绕中心浮筒的中心连接模块、多个沿中心连接模块的径向向外延伸且与中心连接模块固定连接的旁通梁,以及多个外围浮筒。中心连接模块与中心浮筒固定连接,每一外围浮筒与旁通梁的远离中心连接模块的一端固定连接。每一外围浮筒的远离中心浮筒的外侧面通过第一系泊缆锚接海底,不同的第一系泊缆锚接海底的不同位置;每一外围浮筒的靠近中心浮筒的内侧面通过第二系泊缆连接至中心浮筒下方的共享压载重物。本申请通过多点锚接海底的方式以及共享压载重物的连接方式,有效抑制了浮体的六自由度运动,提高了半潜式漂浮平台的整体稳定性。

考虑尾流效应和风速-功率转换机理的风电功率预测方法

NºPublicación:  CN121654568A 13/03/2026
Solicitante: 
三峡大学
CN_121654568_PA

Resumen de: CN121654568A

考虑尾流效应和风速‑功率转换机理的风电功率预测方法,包括:首先采集风电场各台风机的2SCADA数据和事件数据,然后将预处理后的风电场自然NWP风速、风向以及风电场布局、风机特性等信息表示为图形。接着将风电场图输入到PGNN模型,PGN层依次进行边更新、边权重计算、节点更新和全局更新,生成更新后的图,再将其输入到全连接层,输出风速图,其中节点值表示风力发电场中各个风机的估计风速,实现对未来时段风机轮毂处风速的预测。最后将风机预测风速输入基于风速‑功率转换机理构建的嵌入式神经网络,获得单台风机以及整个风电场的预测功率输出,有效提高了超短期风电功率预测模型的可解释性和准确性。

基于声振信号识别的风电机组叶轮异常检测方法及系统

NºPublicación:  CN121654569A 13/03/2026
Solicitante: 
浙江大学
CN_121654569_PA

Resumen de: CN121654569A

本发明公开了一种基于声振信号识别的风电机组叶轮异常检测方法及系统。该方法首先通过麦克风/振动传感器采集叶轮响应并生成Mel频谱图;随后,利用Teager‑Kaiser能量算子和自相关分析,在不依赖转速信号的情况下识别叶轮旋转周期并进行频谱分段;计算跨周期Mel频谱动态偏差,并通过与转速相关的幅值修正系数进行归一化;采用改进的结构相似性算法生成周期性相干能量图;并利用谐波共振模板进行滤波增强,对图中的异常区域进行形态学解构与参数化,提取几何特征;最后基于多维度特征计算综合异常评分并实现自动预警。本发明有效克服了变工况干扰和转速依赖问题,能够实现叶轮早期异常的精准、稳定检测。

基于虚拟惯量控制的风电机组调频方法

NºPublicación:  CN121663665A 13/03/2026
Solicitante: 
国网上海市电力公司上海交通大学
CN_121663665_PA

Resumen de: CN121663665A

一种基于虚拟惯量控制的风电机组调频方法,分别根据①采集到的系统实际的频率变化率及系统频率与参考频率的差值计算得到风机的第一功率修正量、根据②采集到的风机转速的变化计算得到风机的第二功率修正量以及根据③采集到的风机转速,通过最大功率点追踪控制策略得到参考功率,进而得到风机期望输出的有功功率;同时根据采集到的系统测量频率与参考频率的差值求得风机桨距角附加值,将附加值与当前风机浆距角计算得到附加频率控制环节优化后的风机浆距角;最后经风电机组控制系统执行得到经过功率控制环节和桨距角控制环节后的风机期望输出的有功功率,实现调频。本发明充分利用风电机组快速调节有功功率输出的能力,通过频率控制将转子中存储的旋转动能转化为短暂的有功功率支持;通过转速控制抑制频率的快速波动,在避免二次跌落的同时使转子转速尽快恢复到原运行状态;通过桨距角控制使风机具有更大的功率备用容量,在频率响应中长时间提供惯量支撑,从而提高系统的频率稳定性。

操作具有受损偏航环的风力涡轮机

NºPublicación:  CN121666492A 13/03/2026
Solicitante: 
维斯塔斯风力系统集团公司
CN_121666492_PA

Resumen de: WO2025031551A1

A method of operating a wind turbine, the wind turbine comprising a rotor and a yaw system, the yaw system comprising: a yaw ring and a pinion engaging the yaw ring. The method comprises: a) operating the yaw system to yaw the rotor in response to wind direction changes, thereby changing a rotor yaw direction; b) identifying a location of a damaged or missing tooth of the yaw ring; c) based on the identified location of the damaged or missing tooth and the location of the pinion, determining a safe sector and a restricted sector, wherein the pinion coincides with the location of the damaged or missing tooth when the rotor yaw direction is in the restricted sector; d) generating power with the rotor when the rotor yaw direction is in the safe sector; and e) disabling or otherwise modifying the operation of the wind turbine to substantially avoid generation of power by the rotor with the rotor yaw direction in the restricted sector.

一种海上风电主机舱结构件质量监测方法

NºPublicación:  CN121654573A 13/03/2026
Solicitante: 
南通鋆鼎精密科技股份有限公司
CN_121654573_PA

Resumen de: CN121654573A

本发明公开了一种海上风电主机舱结构件质量监测方法,具体涉及结构健康监测技术领域,包括在结构件表面预置柔性传感阵列网络,根据应力集中与腐蚀敏感程度差异化配置三类传感器;在结构件内部嵌装与基体共固化成型的声波导网络,通过编码声波激励与接收实现内部传播信号采集;在环境载荷作用下同步采集多物理场响应与声波信号,并进行时空对齐与特征提取;基于深度时空图卷积网络构建结构状态演化模型,将传感数据映射为动态图结构,通过自适应图学习机制动态更新节点与边关联关系;利用多层时空卷积与注意力融合机制,实现对结构件内部损伤萌生、表面裂纹扩展及材料退化程度的三维可视化定位与量化评估。

极端环境条件下深远海风电基础平台及荷载一体化系统

NºPublicación:  CN121650820A 13/03/2026
Solicitante: 
宁波大学中国电建集团华东勘测设计研究院有限公司
CN_121650820_PA

Resumen de: CN121650820A

本发明公开了极端环境条件下深远海风电基础平台及荷载一体化系统,属于海上风电平台技术领域。本发明包括基础平台本体、多维度监测子系统、环境‑荷载耦合分析子系统、智能调控执行子系统、安全预警决策子系统及岸基协同管理子系统;通过同步采集极端海洋环境、基础平台结构荷载及运行状态数据,分布式多类型传感器布局与高频采样,实现数据采集全面性与时效性,融合监测数据并构建耦合模型,预测24小时荷载变化,据此动态调整平台姿态、优化承载配置及启动应急保护,突破传统分离分析与固定调控局限,通过量化风险并分级预警,岸基协同管理子系统远程监控与智能调度,四级预警精准匹配应对策略,提升风险处置与运维效率。

一种对接自定位的分片式塔筒

NºPublicación:  CN121654559A 13/03/2026
Solicitante: 
江苏天能海洋重工有限公司
CN_121654559_A

Resumen de: CN121654559A

本发明涉及分片式塔筒技术领域,尤其是提供了一种对接自定位的分片式塔筒,包括第一片体和第二片体,所述第一片体上设有第一闭合部,所述第二片体上设有第二闭合部,所述第一闭合部和所述第二闭合部之间开设有连接孔,所述连接孔内设有U形螺栓,所述第一闭合部和所述第二闭合部无缝对接后通过所述U形螺栓横向锁紧,所述第一闭合部的内面设有管状加强体,所述管状加强体上开设有抱紧槽,所述管状加强体内插放有纵向锁紧杆,通过第一闭合部与第二闭合部无缝对接后采用U形螺栓使第一片体和第二片体横向锁紧,利用U形螺栓的双螺柱头的结构特点节省了大量圆柱螺栓的安装工序。

一种伯努利原理的气候调节装置

NºPublicación:  CN121655044A 13/03/2026
Solicitante: 
赵茂生
CN_121655044_PA

Resumen de: CN121655044A

本发明涉及气候调节装置技术领域,尤其为一种伯努利原理的气候调节装置,包括底座,所述底座的顶部设置有桁架与办公区域,所述桁架的内部设置有发电机构,所述桁架之间安装有铁球风阻器机构,所述底座的顶部安装有喷水机构,所述发电机构包括直筒,所述直筒的内壁中固定连接有稳固横梁,所述稳固横梁的底部固定连接有风扇,本发明中,该气候调节装置借助伯努利原理,利用发电体机构与铁球风阻器的配合,能有效促进空气流动,带动周边风力发电设备运转,提升发电效率,同时调节地表温度,减少发电和用电产生的热能,节约电能,喷水机构通过喷水,可降低太阳光对地表的辐射,还能在空气上升过程中带走粉尘,改善环境质量。

一种便于攀爬的电力铁塔

NºPublicación:  CN121654276A 13/03/2026
Solicitante: 
河北福豪钢结构有限公司
CN_121654276_PA

Resumen de: CN121654276A

本发明涉及电力设备技术领域,涉及一种便于攀爬的电力铁塔,包括基座,基座上侧面处设有铁塔主体,铁塔主体的侧壁且位于底端处设有多个脚钉,基座的上侧面处设有多个可移动的遮挡组件,遮挡组件用于对脚钉进行遮挡,基座的上侧面且位于铁塔主体四周处设有除草组件,除草组件用于对基座附近的藤蔓植物进行去除。通过遮挡组件的可移动设置,当检修人员需要进行铁塔主体的检修时,能够移动遮挡组件,使其靠近铁塔主体,此时脚钉露出,便于检修人员踩踏脚钉进行攀爬,当检修完成后,能够移动遮挡组件,使其远离铁塔主体,此时脚钉被遮挡组件遮挡,人员无法通过踩踏脚钉攀爬铁塔主体,以此降低人员位于铁塔主体附近产生安全事故的可能性。

Strömungsmodul zur Energiegewinnung

NºPublicación:  CH722095A2 13/03/2026
Solicitante: 
STEFAN BAERTSCHI [CH]
Stefan B\u00E4rtschi
CH_722095_PA

Resumen de: CH722095A2

Das Strömungsmodul zur Energiegewinnung (1), ist einfach aufgebaut und wird zur Gewinnung von Energie aus Luft oder Wasser an festen oder beweglichen Standorten als Einzelanlage oder in einer Gruppe eingesetzt. Das Strömungsmodul zur Energiegewinnung (1) hat einen Sockel (12) und einen Rotor (10) mit ebenen Flügeln (2) der in beide Richtungen drehen kann weil der Sockel (12) den halben Teil des Rotors (10) abdeckt. Der Standort (14) kann beispielsweise an Fassaden, Dächer, Brücken und an Türmen sein, oder im Wasser am Grund, Ufer und an Brückenpfeiler sein, oder an beweglichen Standorten (20) wie Landfahrzeugen, Luftzeugen oder Wasserfahrzeugen sein, um aus der Fahrtströmung Energie zu gewinnen. Durch Zusammenfügen eines zweiten, baugleichen Strömungsmoduls zur Energiegewinnung (1), kann eine kombinierte Vorrichtung als erweiterte Ausführungsform erzielt werden. Die Drehbewegung des Rotors (10) wird von einem Generator (15) in elektrische Energie umgewandelt.

具有工作状态显示功能的扩散器及具备其的空气循环系统

NºPublicación:  CN121655060A 13/03/2026
Solicitante: 
EPIA\u6709\u9650\u516C\u53F8
CN_121655060_PA

Resumen de: CN121655060A

本发明涉及具有工作状态显示功能的扩散器及具备其的空气循环系统,本发明包括:空气通路外壳,具备空气通路;空气流入流出引导件,位于上述空气通路外壳的空气通路一侧;发电单元,结合在上述空气流入流出引导件;螺旋桨,连接在上述发电单元,借助通过上述空气通路流动的空气流动进行旋转并在上述发电单元中产生电;以及流动状态显示单元,通过从及上述发电单元产生的电产生光,根据上述螺旋桨的正逆旋转产生不同颜色的光。根据本发明,使用人员可以轻松确认室内空气排向室外且室内空气供向室内的工作状态,同时有效地显示系统工作状态。

一种海上风电导管架基础用防冲刷装置

NºPublicación:  CN121654139A 13/03/2026
Solicitante: 
中国石油天然气集团有限公司中国石油集团海洋工程有限公司
CN_121654139_PA

Resumen de: CN121654139A

本发明涉及一种海上风电导管架基础用防冲刷装置,包括导管架基础、多个三角伞单元以及多个矩形伞单元;导管架基础的底端用于埋设于土层内,多个三角伞单元与多个矩形伞单元均设置于导管架基础上,三角伞单元与矩形伞单元交替设置,三角伞单元与矩形伞单元均能够相对导管架基础转动,以使三角伞单元与矩形伞单元进行打开或关合;当三角伞单元与矩形伞单元均处于打开状态时,三角伞单元与矩形伞单元均覆盖于土层上,三角伞单元与矩形伞单元搭接设置;通过设置三角伞单元与矩形伞单元,减小了海水对导管架基础的冲刷作用,提高了导管架基础的稳定性与耐久性;另外,三角伞单元与矩形伞单元制造成本低,便于维护,降低了维护成本。

用于检测线性膨胀的传感器模块及其方法,优选地用于风力涡轮叶片

NºPublicación:  CN121666493A 13/03/2026
Solicitante: 
远景能源有限公司
CN_121666493_PA

Resumen de: CN121666493A

本发明涉及一种用于检测物体区段沿第一轴线方向上的线性膨胀的传感器模块。所述传感器模块包括用于无线数据通信的识别标签。所述识别标签包括与第二标签元件电耦合的第一标签元件。当所述第一标签元件与第二标签元件之间的位移超过预定距离阈值时,二者被配置为电性解耦。所述识别标签仅在所述第一标签元件与第二标签元件处于电耦合状态时才能进行无线数据通信。所述传感器模块可适用于检测层压产品(例如风力涡轮叶片)中的局部分层失效。本发明还涉及一种检测风力涡轮叶片中线性膨胀和分层失效的方法,所述风力涡轮叶片包括所述传感器模块;以及一种系统,所述系统包括所述模块和接收器。

风机运行数据的清洗方法、装置、电子设备和存储介质

NºPublicación:  CN121658796A 13/03/2026
Solicitante: 
羚羊工业互联网股份有限公司科大讯飞股份有限公司
CN_121658796_A

Resumen de: CN121658796A

本发明提供一种风机运行数据的清洗方法、装置、电子设备和存储介质,属于数据处理技术领域,风机运行数据的清洗方法,包括:接收多个风机运行数据;重复执行以下迭代操作直至满足迭代结束条件,以确定多个所述风机运行数据中的目标风机运行数据:确定每一个风机运行数据所对应的数据密度;基于所有数据密度由高至低的排列顺序,对本次迭代操作之前的所述风机运行数据进行排序,得到排序结果;将所述排序结果前N个的所述风机运行数据作为下次迭代操作的风机运行数据。在迭代操作时,可以去除密度排名靠后的风机运行数据,数据质量比较差且堆叠的风机运行数据逐步变得稀疏,最终被识别和过滤,实现对存在数据质量比较差的风机运行数据的有效清洗。

一种风电防雷器

NºPublicación:  CN223991824U 13/03/2026
Solicitante: 
廊坊北熔电气股份有限公司
CN_223991824_U

Resumen de: CN223991824U

本实用新型提供了一种风电防雷器,涉及风力发电防护设备的技术领域。该风电防雷器包括安装板、防雷座和防雷模块;安装板包括固定板和限位件;限位件与固定板固定连接,固定板设有安装孔;限位件设有倾斜部和水平部,倾斜部设有第一弧形面,水平部设有第二弧形面;防雷座设有限位槽,限位槽与限位件适配,防雷座设有第三弧形面和第四弧形面;防雷模块可拆卸的安装于防雷座。该风电防雷器解决了现有的风力防雷器,在空气潮湿的风力发电机工作环境下,安装螺丝容易生锈,导致风力防雷器更换不便的技术问题。

流体滑环、冷却系统和风力发电机组

NºPublicación:  CN223993462U 13/03/2026
Solicitante: 
金风科技股份有限公司
CN_223993462_U

Resumen de: CN223993462U

本申请提供了一种流体滑环、冷却系统和风力发电机组。所述流体滑环包括滑环内圈和滑环外圈,所述滑环外圈套设在所述滑环内圈的外周并能够相对于所述滑环内圈转动,所述滑环内圈和所述滑环外圈之间形成有环向流道,所述滑环内圈和滑环外圈中的一个上形成有沿着所述流体滑环的轴向延伸的多个轴向流道,多个所述轴向流道在所述流体滑环的周向上间隔分布,并且每个所述轴向流道分别与所述环向流道连通。通过设置多个轴向流道,能够在满足大流量流体传送需求的情况下,减小流体滑环的整体尺寸。

一种用于风光水储互补水电站和抽水蓄能电站的水轮机调速器

NºPublicación:  CN223991815U 13/03/2026
Solicitante: 
中国电建集团昆明勘测设计研究院有限公司
CN_223991815_U

Resumen de: CN223991815U

一种用于风光水储互补水电站和抽水蓄能电站的水轮机调速器,属于水利水电工程技术领域。其包括接收模块、储存模块和运行模块,接收模块实时采集风力、光伏发电机组数据并预处理、添加时间戳;储存模块存储控制参数、记录历史数据并支持参数更新;运行模块运行实时操作系统与控制算法,通过PID控制器动态调整水轮发电机组导叶开度,结合反馈单元形成闭环控制。本实用新型可动态感知风光电力变化,实现多能协同优化与自适应模式切换,提升调节精度与响应速度,保障电网稳定,提高清洁能源利用效率。

一种新型风电基础平台

NºPublicación:  CN223991822U 13/03/2026
Solicitante: 
中国船舶集团风电发展有限公司中船风电清洁能源科技(北京)有限公司
CN_223991822_U

Resumen de: CN223991822U

本实用新型公开了一种新型风电基础平台,涉及海上风力发电装备技术领域,包括风电机组、风电平台、系泊系统和锚固基础,所述风电平台包括水平杆系、倾斜杆系、风电机组塔筒承台、配重块、连接件和调节机构,所述水平杆系围合成三角形,所述倾斜杆系从水平杆系的三个角点出发向上延伸至风电机组塔筒承台,所述风电机组塔筒承台位于水平杆系的正上方;所述配重块位于风电机组塔筒承台的正下方,并通过连接件连接于水平杆系的三个角点和风电机组塔筒承台处,所述调节机构用于调节连接件的长度;本实用新型的风电平台结构简洁、可调节浮式平台重心、运输安装方便。

一种可观光风电机组

NºPublicación:  CN121654562A 13/03/2026
Solicitante: 
华锐风电科技(集团)股份有限公司
CN_121654562_PA

Resumen de: CN121654562A

本发明公开了一种可观光风电机组,包括塔架、机舱和安全联动控制系统,塔架包括桁架段、钢筒段、塔架观光电梯、至少一个塔架观光平台和应急通道;机舱包括机舱罩、观光通道和舱顶观光平台,机舱罩部分采用透明材料,观光通道布置在机舱罩内部且位于机组运行空间左右两侧,舱顶观光平台布置在机舱罩顶部;安全联动控制系统包括控制模块、感知模块、执行模块和交互模块,感知模块、执行模块和交互模块分别与控制模块通信连接。本方案通过精准感知、定制化控制逻辑及协同执行,实现在观光期间“机组发电运行‑观光体验‑安全保护”的一体化设计。

防坠机器人及防坠机器人的防坠方法

NºPublicación:  CN121650058A 13/03/2026
Solicitante: 
上海电气风电集团股份有限公司
CN_121650058_PA

Resumen de: CN121650058A

本发明公开了一种防坠机器人及防坠机器人的防坠方法,所述防坠机器人包括爬壁机器人,所述防坠机器人还包括:防坠部,所述防坠部包括防坠绳和调节组件,所述防坠绳用于环抱待作业对象,所述防坠绳的两端通过所述调节组件连接于所述爬壁机器人的相对两侧,所述调节组件根据所述待作业对象的尺寸调节所述防坠绳的长度,以使所述爬壁机器人始终环抱并与所述待作业对象贴合;检测部,所述检测部与所述调节组件电连接,当所述检测部识别所述爬壁机器人处于失重状态时,所述检测部发出信号,所述调节组件根据所述信号收紧所述防坠绳。在作业过程中,防坠绳能够始终对于爬壁机器人施加靠向壁面的力,这能够降低爬壁机器人打滑或坠落的风险。

一种风电主轴承运行健康状况诊断系统及方法

NºPublicación:  CN121654570A 13/03/2026
Solicitante: 
明阳智慧能源集团股份公司
CN_121654570_PA

Resumen de: CN121654570A

本发明公开了一种风电主轴承运行健康状况诊断系统及方法,方法包括:微弱信号采集放大器分别通过a‑b信号检测回路和c‑d信号检测回路,实时在各自的采集点处采集得到微弱电流信号A和微弱电流信号B;信号处理器接收所述微弱信号采集放大器传输的微弱电流信号A和微弱电流信号B,并结合微弱电流信号A的变化量和微弱电流信号B的变化量对前端主轴承和后端主轴承的运行健康状况进行分析判断。本发明通过检测微电流变化实现实时监测,能够提前发现轴承健康状态变化,将故障诊断从"事后"转变为"事前预警"。轴承内外圈电阻变化对油膜状态、润滑脂劣化及本体损伤极为敏感,微电流变化能够反映早期微弱故障特征,检测灵敏度高。

一种风电塔筒柱段法兰连接节点及风电塔筒减振结构体系

NºPublicación:  CN121654560A 13/03/2026
Solicitante: 
中国铁塔股份有限公司文昌市分公司
CN_121654560_PA

Resumen de: CN121654560A

本发明公开了一种塔筒柱段法兰连接节点及风电塔筒减震结构体系,属于风电领域,法兰连接节点包括风电塔筒,第一加劲肋,第二加劲肋,内摩擦板,外摩擦板和预紧力控制装置,风电塔筒呈贯通状,第一加劲肋内侧与风电塔筒上部柱段固接,第二加劲肋内侧与风电塔筒下部柱段固接,内摩擦板,外摩擦板和第一加劲肋及第二加劲肋内外两侧贴合,并通过提供预紧力的预紧力控制装置连接,内摩擦板,外摩擦板与第一加劲肋及第二加劲肋的内外两侧共同构成摩擦副。本发明具有良好的减隔震性能,利用摩擦连接的特性和摇摆机理,风电塔筒柱段与柱段通过法兰节点连接,实现了摩擦耗能减振和摇摆隔震的双重抗震机制。

一种风力发电机组航空障碍指示装置

NºPublicación:  CN223992209U 13/03/2026
Solicitante: 
神华(故城)新能源有限责任公司
CN_223992209_U

Resumen de: CN223992209U

本实用新型涉及障碍灯技术领域,公开了一种风力发电机组航空障碍指示装置,包括底座,底座两端均固定安装有端板,底座内两侧均固定安装有导向板,且两个导向板之间活动安装有承托板,承托板下端固定安装有底板,底板一侧中部位置对称固定安装有两个金属卡片,承托板上固定安装有C形支架,C形支架上固定安装有障碍灯。将底座安装在风力发电机的机舱上,并通过承托板与C形支架实现障碍灯的安装,从而配合承托板下端的两个金属卡片以及底座一端的端板实现障碍灯安装位置的限位,且配合第一连接绳与第二连接绳可接触承托板的限位,并可通过拉动承托板而将障碍灯拉向风力发电机机舱的检修口处,从而便于人员对障碍灯进行维护。

汽车自供能源装置

NºPublicación:  CN223989955U 13/03/2026
Solicitante: 
张勇
CN_223989955_U

Resumen de: CN223989955U

本实用新型公开了一种汽车自供能源装置,旨在解决汽车存在的能源利用率低、行驶成本高和续航能力差的问题。汽车自供能源装置包括包括箱体组件和发电组件,箱体组件设置在汽车顶部,发电组件与汽车的蓄电池电连接;箱体组件内形成有发电腔室,发电组件设置在发电腔室内,箱体组件一端设有进风口,箱体组件另一端设有出风口,进风口与出风口通过发电腔室连通;发电组件包括多个发电机组,每个发电机组均包括发电机、转轴和多个扇叶。在汽车顶部设自供能源装置,利用行驶气流带动发电组件发电。该设计实现自供能源功能,提高能源利用率,降低行驶成本,增加续航里程,为驾驶者提供更长久行驶保障。

一种塔筒工装

NºPublicación:  CN223991818U 13/03/2026
Solicitante: 
华电科工股份有限公司
CN_223991818_U

Resumen de: CN223991818U

本实用新型公开了一种塔筒工装,包括塔筒分片,塔筒分片由塔筒纵向拆分成多片而成,筒分片的圆弧内侧壁顶部横跨安装有桁架,桁架的一端设置有转轴,桁架的另一端设置有锁扣,转轴上转动安装有液压杆的一端,液压杆的另一端可拆卸安装于锁扣上。本实用新型既可以使塔筒分片便于运输,又可在安装时通过液压杆辅助定位,减小因法兰错位带来的安装困难,节约工期,并且桁架结构可拆卸,对同等规模塔筒可重复利用,便于回收,节约材料,降低成本。

一种风力发电基柱用可调节安装结构

NºPublicación:  CN223991819U 13/03/2026
Solicitante: 
宣城泰暄精密机械科技有限公司
CN_223991819_U

Resumen de: CN223991819U

本实用新型公开了一种风力发电基柱用可调节安装结构,包括钢制基柱,所述钢制基柱的左右两端均固定连接有连接座,两个所述连接座与钢制基柱之间均固定连接有四个侧边支架,所述钢制基柱的环形侧壁上固定连接有四个矩形固定座。本实用新型通过将安装块配合矩形滑块滑动插设于矩形开槽内,将两根锁紧螺母贯穿圆形通孔后拧入螺纹孔内,有效将安装块定位在矩形固定座上,便于横向调节安装块和跑道型安装孔的位置,利用安装块上的跑道型安装孔,便于根据实际需要调节竖向安装位置,通过十字型分布的若干侧边支架对连接座提供稳定支撑固定,并由十字型分布的矩形固定座和安装块,方便钢制基柱的安装定位。

一种风电塔筒连接座

NºPublicación:  CN223991817U 13/03/2026
Solicitante: 
北京万远科技有限公司孙碧君
CN_223991817_U

Resumen de: CN223991817U

本申请提供了一种风电塔筒连接座,其包括环形框架、交叉框架和连接件,交叉框架包括多根横梁,环形框架与交叉框架连接,多根横梁在环形框架内相互交叉连接,横梁的端部向环形框架的外侧伸出,风电塔筒连接座通过连接件与风电塔筒的一端可拆卸地连接。本申请的优点在于:增大了风电塔筒端部与地面的接触面积;便于以竖直方式放置并运输风电塔筒,能够有效固定塔筒并缩小存储所需的空间;固定塔筒的方式简单、牢固,在保证运输安全的前提下大幅提高了船舶装载风电塔筒的能力,同时提高了装卸塔筒的效率;系统结构简单,安装方便,能够用于不同尺寸的塔筒,通用性高。

SWING TYPE POWER GENERATION DEVICE

NºPublicación:  US20260074589A1 12/03/2026
Solicitante: 
SHIJIAZHUANG JIANMU FEED CO LTD [CN]
Shijiazhuang Jianmu Feed Co., Ltd
US_20260074589_PA

Resumen de: US20260074589A1

A swing type power generation device, comprising a workbench, power generation components, and support components; the power generation component comprises a rotating component, a transmission component, and a generator. The workbench of the invention tilts and swings under the action of external energy, and then the rotating component rotates, driving the generator to generate electricity through the transmission component. A spring is provided at the bottom of the workbench and an accommodating cavity for storing liquid is provided inside the workbench. The arrangement of the spring and the accommodating cavity can further increase the instability of the workbench, increase the swing amplitude and swing frequency of the workbench when it swings, and make the workbench produce continuous swinging under the action of external force, thereby achieving the purpose of continuous and efficient power generation.

SPAR CAP, WIND TURBINE ROTOR BLADE, AND METHOD OF MANUFACTURING A SPAR CAP

NºPublicación:  WO2026052491A1 12/03/2026
Solicitante: 
NORDEX ENERGY SE & CO KG [DE]
NORDEX ENERGY SE & CO. KG
WO_2026052491_PA

Resumen de: WO2026052491A1

The invention relates to a spar cap (136) for a wind turbine rotor blade (110), the spar cap (136) being configured to extend close to a trailing edge (135) and to form, at least in a section between a root end (126) and a tip end (144), a part of the trailing edge (135) of the wind turbine rotor blade (110), the spar cap (136) comprising a stack (146) of fiber layers including first-type fiber layers (148) and second-type fiber layers (150), wherein - a layer width (154) of the first-type fiber layers (148) is smaller than a layer width (156) of the second-type fiber layers (150), - in the stack (146), the first-type fiber layers (148) are arranged offset to each other with respect to a width (W) of the stack (146), and - in the stack (146), the second-type fiber layers (150) are aligned flush with one another with respect to the width (W) of the stack (146), - the stack (146) is resin-infused and cured. The invention also concerns a wind turbine rotor blade (110) and a method of manufacturing a spar cap.

WIRELESSLY TRANSFERING POWER WITHIN AN ELECTRIC MACHINE WITH ACTIVELY RECTIFIED ROTOR WINDINGS

NºPublicación:  AU2026201147A1 12/03/2026
Solicitante: 
TAU MOTORS INC
TAU MOTORS, INC
AU_2026201147_A1

Resumen de: AU2026201147A1

Abstract An electric machine and corresponding motor‑control method are disclosed. The stator includes windings energized to form stator poles, while the rotor includes rotor windings energized to form interacting rotor poles that generate relative force between the rotor and stator. The rotor is magnetically coupled to the stator to receive a wireless power transfer signal, eliminating the need for mechanical electrical interfaces. A first rotor winding additionally receives a wireless data signal from one or more stator windings to support coordinated control. An active rectifier, rotationally fixed to the rotor and conductively coupled to the first rotor winding, captures electrical energy from the wireless power transfer signal and regulates current flow through the winding by directing the captured energy into it. The associated method includes wirelessly receiving power and data at the rotor, rectifying the received energy, and controlling rotor‑winding current to enable controlled rotor excitation. WO 2022/187714 PCT/US2022/019040 motor controller rotor stator load eb e b

METHOD, APPARATUS AND DEVICE FOR DETERMINING PITCH OF WIND TURBINE BLADE

NºPublicación:  AU2024318045A1 12/03/2026
Solicitante: 
GOLDWIND PIONEER TECHNOLOGY YANCHENG CO LTD
BEIJING GOLDWIND SCIENCE & CREATION WINDPOWER EQUIPMENT CO LTD
GOLDWIND PIONEER TECHNOLOGY (YANCHENG) CO., LTD,
BEIJING GOLDWIND SCIENCE & CREATION WINDPOWER EQUIPMENT CO., LTD
AU_2024318045_PA

Resumen de: AU2024318045A1

A method for determining the pitch of a wind turbine blade. A first sensor (501) is provided on a blade root of a wind turbine, and at least one second sensor (502) is provided on a blade. The method comprises: obtaining a parameter of the current operating condition of a wind turbine, a first angular velocity collected by the first sensor (501) and at least one second angular velocity collected by the at least one second sensor (502); and, on the basis of target simulated blade pitch data, the first angular velocity and the at least one second angular velocity, determining first blade pitch data of the wind turbine, the first blade pitch data being used for representing the blade pitch of the wind turbine under the current operating condition, and the target simulated blade pitch data being matched with the parameter of the current operating condition. Thus, by means of the plurality of sensors mounted on the wind turbine blade and on the basis of the simulated blade pitch data corresponding to the current operating condition combined with the angular velocities collected by the sensors, the method reckons the blade pitch data capable of accurately reflecting the pitch of the wind turbine blade, allowing for more accurate and intelligent control on wind turbines. In addition, the present application further relates to an apparatus and device for determining the pitch of a wind turbine blade.

ENERGY STORAGE SYSTEM THAT CAN BE ATTACHED TO A WIND TURBINE TOWER

NºPublicación:  WO2026052885A1 12/03/2026
Solicitante: 
SURION WIND SYSTEMS S L [ES]
SURION WIND SYSTEMS, S.L
WO_2026052885_PA

Resumen de: WO2026052885A1

The invention relates to an energy storage system for wind turbines that can be attached inside the base of a wind turbine comprising a ventilation outlet in the nacelle (2). The energy storage system comprises a plurality of circular supports (4) with dimensions corresponding to the internal diameter of the tower (3) of the wind turbine (1) and which can be attached to the tower (3) at different heights. The system also comprises a plurality of energy storage modules (5) disposed on the circular supports (4), the energy storage modules (5) being connected to the electrical generation system and to the wind turbine control system. The energy storage system further comprises a door (6) in the wind turbine (1) with at least one air-inlet grate (7), which generates air flow towards the ventilation outlet of the nacelle (2), promoting the cooling of the energy storage modules (5).

WIND TURBINE TOWER AND METHOD FOR JOINING THE COMPONENTS THEREOF

NºPublicación:  WO2026052884A1 12/03/2026
Solicitante: 
NABRAWIND TECH S L [ES]
NABRAWIND TECHNOLOGIES, S.L
WO_2026052884_PA

Resumen de: WO2026052884A1

The invention relates to a wind turbine tower and to a method for joining the components thereof. The tower is formed by a nacelle (18), several tubular tower parts (1, 1'), a transition piece (2), and lattice modules (3) in the lower part, and is characterized in that the central tubular and hollow segment (4) of the transition piece (2) and at least one tubular part (1') are segmented into three identical pieces of 120º each, wherein the shells of said pieces have shear joints with threaded bolts (10) and the internal platforms (11) of said pieces are shear-connected with auxiliary plates (9') and threaded bolts (10). The method allows the segments to be joined horizontally or vertically, according to the requirements and the component in question. The joining and erection of the tower is carried out between the three columns (14) which, together with a triangle (15) that moves up and down, make up the self-erecting system.

TRANSPORT SUPPORT SYSTEM, TRANSPORT METHOD, WIND FARM, AND WIND TURBINE GENERATOR

NºPublicación:  WO2026051258A1 12/03/2026
Solicitante: 
JIANGSU GOLDWIND SCIENCE & TECH CO LTD [CN]
\u6C5F\u82CF\u91D1\u98CE\u79D1\u6280\u6709\u9650\u516C\u53F8
WO_2026051258_PA

Resumen de: WO2026051258A1

A transport support system, a transport method, a wind farm, and a wind turbine generator. A blade (400) comprises a blade root (410), a blade tip (420), and a blade body (430) located between the blade root (410) and the blade tip (420). The transport support system comprises: a blade root support assembly (100), comprising a first frame body (110) and a blade root support member (120), wherein the blade root support member (120) is detachably connected to the first frame body (110), and the blade root support member (120) is configured to support and fix the blade root (410); and a blade body support assembly (200), working in conjunction with the blade root support assembly (100) to support the blade (400), wherein the blade body support assembly (200) comprises a second frame body (210) and a first blade body support member (220), the first blade body support member (220) is detachably connected to the second frame body (210), and/or the first blade body support member (220) is configured to support and fix the blade body (430). The transport support system, the transport method, the wind farm, and the wind turbine generator can reduce costs and reduce the probability of blade damage.

BLADE RETAINER, TRANSPORTATION SYSTEM, WIND FARM, AND WIND TURBINE

NºPublicación:  WO2026051257A1 12/03/2026
Solicitante: 
BEIJING GOLDWIND SCIENCE & CREATION WINDPOWER EQUIPMENT CO LTD [CN]
\u5317\u4EAC\u91D1\u98CE\u79D1\u521B\u98CE\u7535\u8BBE\u5907\u6709\u9650\u516C\u53F8
WO_2026051257_PA

Resumen de: WO2026051257A1

A blade retainer, comprising a base body (10) and a clamping assembly (20), the base body comprising a first seat body (11) and a second seat body (12) which are arranged opposite to each other, and the clamping assembly comprising a first clamping component (21) arranged on the first seat body and a second clamping component (22) arranged on the second seat body. The first clamping component and the second clamping component are configured to clamp and fix a blade, wherein at least part of the first clamping component has degrees of freedom of movement and rotation relative to the first seat body, and/or, at least part of the second clamping component has degrees of freedom of movement and rotation relative to the second seat body. Also disclosed are a transportation system, a wind farm and a wind turbine. The blade retainer can ensure the clamping and fixing effect on blades, thereby ensuring the reliability in transportation of blades.

TRANSPORT FRAME, SUPPORTING TRANSPORT DEVICE, TRANSPORT SYSTEM, WIND FIELD, AND UNIT

NºPublicación:  WO2026051255A1 12/03/2026
Solicitante: 
BEIJING GOLDWIND SCIENCE & CREATION WINDPOWER EQUIPMENT CO LTD [CN]
\u5317\u4EAC\u91D1\u98CE\u79D1\u521B\u98CE\u7535\u8BBE\u5907\u6709\u9650\u516C\u53F8
WO_2026051255_PA

Resumen de: WO2026051255A1

A transport frame (10). The transport frame (10) is used for mating with support assemblies (20). The support assemblies (20) are configured to support blades (40). The transport frame (10) comprises: frame bodies (11), wherein each frame body (11) comprises a first frame body (111) and a second frame body (112), the first frame body (111) is provided with a first recessed cavity (111a), the second frame body (112) is provided with a second recessed cavity (112a), the first frame body (111) is connected to the second frame body (112), and the first recessed cavities (111a) are communicated with the second recessed cavities (112a) to form a cavity; and first connecting members (12) provided on the sides of the first frame bodies (111) facing the cavity, wherein each first connecting member (12) comprises one of a first connecting pin (121) and a first connecting hole, and the first connecting members (12) are configured to be detachably connected to the support assemblies (20). The transport frame (10) can ensure the support requirements of the blades (40), can adapt to support assemblies (20) of different blades (40), and has good universality.

BLADE BODY SUPPORT DEVICE, TRANSPORT ASSEMBLY, TRANSPORT SYSTEM, WIND FARM AND WIND TURBINE GENERATOR SET

NºPublicación:  WO2026051256A1 12/03/2026
Solicitante: 
BEIJING GOLDWIND SCIENCE & CREATION WINDPOWER EQUIPMENT CO LTD [CN]
\u5317\u4EAC\u91D1\u98CE\u79D1\u521B\u98CE\u7535\u8BBE\u5907\u6709\u9650\u516C\u53F8
WO_2026051256_PA

Resumen de: WO2026051256A1

A blade body support device, a transport assembly, a transport system, a wind farm and a wind turbine generator set. The blade body support device (100) comprises: a support base (10), which comprises a base body (11) and a first mating portion (12) arranged on the base body (11); and a blade holder (20), which is arranged on the support base (10) and comprises a support body (21) and a second mating portion (22) arranged on the support body (21), wherein the support body (21) can support blades, and the support base (10) and the blade holder (20) are detachably connected to each other by means of the first mating portion (12) and the second mating portion (22). The blade body support device (100) can satisfy the transport of the blades under different working conditions, has good universality, and does not require repeated mounting and dismounting of the blades, thereby reducing the probability of the blades being damaged.

SUPPORTING AND TRANSPORTING TOOL, TRANSPORT SYSTEM, WIND FARM AND WIND TURBINE GENERATOR SET

NºPublicación:  WO2026051254A1 12/03/2026
Solicitante: 
BEIJING GOLDWIND SCIENCE & CREATION WINDPOWER EQUIPMENT CO LTD [CN]
\u5317\u4EAC\u91D1\u98CE\u79D1\u521B\u98CE\u7535\u8BBE\u5907\u6709\u9650\u516C\u53F8
WO_2026051254_PA

Resumen de: WO2026051254A1

A supporting and transporting tool, a transport system, a wind farm and a wind turbine generator set. The supporting and transporting tool comprises: a frame body (10), which has a cavity (11) extending therethrough in a first direction (X); and a support assembly (20) arranged on the frame body (10), wherein the support assembly (20) comprises a support body (21) and blade root docking members (22), the support body (21) being detachably connected to the frame body (10), the blade root docking members (22) being arranged on the support body (21), and the blade root docking members (22) being capable of being connected to a blade root (100a). By means of the supporting and transporting tool, the transport system, the wind field and the wind turbine generator set, the transportation of a blade (100) under different working conditions can be achieved without repeated disassembly and assembly, thereby reducing the probability of damage to the blade (100).

SUPPORT TOOLING, SUPPORT ASSEMBLY, TRANSPORT SYSTEM AND METHOD, WIND FARM AND WIND TURBINE GENERATOR SET

NºPublicación:  WO2026051260A1 12/03/2026
Solicitante: 
JIANGSU GOLDWIND SCIENCE & TECH CO LTD [CN]
\u6C5F\u82CF\u91D1\u98CE\u79D1\u6280\u6709\u9650\u516C\u53F8
WO_2026051260_PA

Resumen de: WO2026051260A1

A support tooling (100), the support tooling (100) being used in a first transport stage. A blade (5) comprises a blade root (510), a blade tip (520), and a blade body (530) located between the blade root (510) and the blade tip (520). The support tooling (100) comprises at least one first blade holder (110) and at least one second blade holder (120), wherein the at least one first blade holder (110) and the at least one second blade holder (120) are arranged independently of each other; both the at least one first blade holder (110) and the at least one second blade holder (120) are configured to accommodate and support the blade body (530); the at least one first blade holder (110) and the at least one second blade holder (120) can be connected to a first transport apparatus and move along with the first transport apparatus; and the at least one second blade holder (120) can be used in a second transport stage and can move along with a second transport apparatus. Such an apparatus can ensure the requirement for the stability of support for the blade, (5) and can ensure the reliability of the blade (5) during transport. The present invention further relates to a support assembly, a transport system and method, a wind farm and a wind turbine generator set.

風力発電用タワー構造、及び風力発電用タワー構造の補修方法

NºPublicación:  JP2026044514A 12/03/2026
Solicitante: 
鹿島建設株式会社
JP_2026044514_PA

Resumen de: JP2026044514A

【課題】風力発電装置の地上からの高さを高くすることができるとともに、必要に応じてごく簡易な工程で選択的に任意の部分を補修することができ、低コストで長期間利用可能な風力発電用タワー構造、及び風力発電用タワー構造の補修方法を提供する。【解決手段】風力発電用タワー構造900は、地盤に固定される下部構造10と、下部構造10の上方に接合され、上部に風力発電装置903が配置される鋼製の上部構造700と、を具備する。下部構造10は、複数のセグメントから構成されるコンクリート構造であり、少なくとも一部のセグメントは、セグメント1である。セグメント1には、貫通する緊張部材が配置されず隣接する他の構造に対して取り外しが可能である。【選択図】図1

Sistema de generación autónoma de energía para motocicleta eléctrica

NºPublicación:  ES1328036U 12/03/2026
Solicitante: 
DE LA HOZ IBANEZ JORGE [ES]
de la Hoz Iba\u00F1ez, Jorge

A WIND TURBINE BLADE WITH A SURFACE-MOUNTED DEVICE

NºPublicación:  US20260071607A1 12/03/2026
Solicitante: 
LM WIND POWER AS [DK]
LM WIND POWER A/S
US_20260071607_PA

Resumen de: US20260071607A1

A wind turbine blade has a profiled contour including a pressure side and a suction side, and a leading edge and a trailing edge with a chord extending therebetween. The blade extends in a spanwise direction between a root end and a tip end. The surface-mounted device is a leading edge protection panel attached to the leading edge of the wind turbine blade, the leading edge protection panel extending in the spanwise direction including: a first section extending from the leading edge and along a part of the pressure side of the wind turbine blade to a first transverse end at a first position on the pressure side of the blade, and a second section extending from the leading edge and along a part of the suction side of the wind turbine blade to a second transverse end at a second position on the suction side of the blade.

Solar Vortex Clamshell Greenhouse

NºPublicación:  US20260071608A1 12/03/2026
Solicitante: 
GRAHAM WILLIAM WALLACE [US]
SENCHUK EARL LEE [US]
Graham William Wallace,
Senchuk Earl Lee
US_20260071608_PA

Resumen de: US20260071608A1

The present invention relates to a dual-use solar vortex greenhouse with a clamshell-shaped roof comprising a plurality of multi-paned, paired trapezoidal chutes (1) configured to capture and concentrate solar-heated air. Heated and moistened air flows through vanes (32, 33) into a swirl chamber (27), forming a vortex that spins an electric wind turbine (10) to generate electricity. A cone (2) and stack (16) assembly stabilize the vortex and directs exhaust upward. The interior of the greenhouse (55) supports hydroponic plant cultivation with integrated climate control systems, including shutters and/or orifice closure doors (11,42,35), dampers (23,30,31) misters (34), and radiators (43), which are electronically regulated by a plurality of thermostats (41) including a humidistat, anemometers (41), actuators (24) including a photocell sensor. The structure is modular and latitude-adjustable for maximizing solar capture, and can be prefabricated. The invention integrates renewable energy generation with sustainable food production, providing efficient use of land, water, and solar resources.

SYSTEM AND METHOD FOR MULTI-DIMENSIONAL KNOWLEDGE REPRESENTATION

NºPublicación:  US20260071609A1 12/03/2026
Solicitante: 
GALASSI CHRISTOPHER R [US]
Galassi Christopher R
US_20260071609_PA

Resumen de: US20260071609A1

Exemplary embodiments generally relate to knowledge representation, and in particular, multi-dimensional knowledge representation in a configurable document that includes a collection of subparts that have a number of dimensions. Further, a number of versions of each configurable document may be defined, with each version including a different subset of subparts from the collection of subparts.

SYSTEM FOR MANUFACTURING A PRECAST FOUNDATION STRUCTURE FOR A WIND TURBINE, RELATED MANUFACTURING METHOD AND WIND TURBINE MANUFACTURED WITH SAID METHOD

NºPublicación:  US20260071400A1 12/03/2026
Solicitante: 
NORDEX ENERGY SPAIN S A U [ES]
NORDEX ENERGY SPAIN, S.A.U
US_20260071400_PA

Resumen de: US20260071400A1

A system for manufacturing an adaptable precast foundation structure for a wind turbine is configured taking into account the wind turbine loads and soil conditions allowing that a large part of the foundation structure is homogenized, despite the fact that the transition structure being manufactured with the system is dependent of the type of soil and that the size of said transition structure varies depending on the soil, making it easily adaptable to the geotechnical conditions of each wind turbine position of the windfarm which allows a significant reduction in time and cost. The method and system for manufacturing an adaptable precast foundation structure for a wind turbine and related wind-turbine and method and precast foundation structure.

METHOD FOR COUNTERBALANCING MEAN INCLINATION OF A FLOATING WIND TURBINE PLATFORM

NºPublicación:  US20260070634A1 12/03/2026
Solicitante: 
ZOU JUN [US]
Zou Jun
US_20260070634_PA

Resumen de: US20260070634A1

The method for counterbalancing the mean inclination of a Floating Offshore Wind Turbine (FOWT) platform is designed to be simple, efficient, and highly responsive. It employs short-distance piping to enable swift and effective pump-in and pump-out operations within the same column, allowing for precise and independent control of ballast operation. This strategy is not only cost-efficient but also supports remote operation, facilitating rapid adjustments for both normal and abnormal conditions. Furthermore, the method incorporates redundancy in the counterbalancing systems, significantly boosting the overall reliability and ensuring consistent and effective ballast management for the platform.

WIND TURBINE ROTOR BLADE AND A METHOD OF MANUFACTURING A WIND TURBINE ROTOR BLADE

NºPublicación:  WO2026052286A1 12/03/2026
Solicitante: 
NORDEX ENERGY SE & CO KG [DE]
NORDEX ENERGY SE & CO. KG
WO_2026052286_PA

Resumen de: WO2026052286A1

The invention relates to a wind turbine rotor blade (110) comprising a suction side half shell (132) and a pressure side half shell (133), wherein the suction side half shell (132) comprises a first spar cap (141), wherein the pressure side half shell (133) comprises a second spar cap (142), wherein the first spar cap (141) and the second spar cap (142) are connected to each other by an adhesive joint (146), wherein, at least in a section between a root end (126) of the wind turbine rotor blade (110) and a tip end (127) of the wind turbine rotor blade (110), a trailing edge (135) of the wind turbine rotor blade (110) is formed by the first spar cap (141), the second spar cap (142) and the adhesive joint (146). The invention also concerns a method of manufacturing a wind turbine rotor blade.

Wälzlager mit Ultraschallsensoranordnung sowie Prüfverfahren

NºPublicación:  DE102024125922A1 12/03/2026
Solicitante: 
SCHAEFFLER TECHNOLOGIES AG [DE]
Schaeffler Technologies AG & Co. KG

Resumen de: DE102024125922A1

Die vorliegende Erfindung betrifft ein Wälzlager (1) für eine Windkraftanlage, mit einem Innenring (2), einem Außenring (3), einer Vielzahl von zwischen dem Innenring (2) und dem Außenring (3) angeordneten Wälzkörpern (4), einem Käfig (5) zum umfangsbeabstandeten Positionieren der Vielzahl von Wälzkörpern (4) und einer Ultraschallsensoranordnung (6) zur Prüfung des Innenrings (2) oder des Außenrings (3) oder eines Wälzkörpers (4) der Vielzahl von Wälzkörpern (4), die an dem Käfig (5) befestigt ist. Zudem betrifft die Erfindung ein Prüfverfahren zum Prüfen eines solchen Wälzlager (1), wobei eine Prüfung mittels der Ultraschallanordnung (6) während des Betriebs des Wälzlagers (1) erfolgt.

Schwimmende Windenergieanlage mit einem auf einem schwimmenden Fundament angeordneten Turm

NºPublicación:  DE102024136925A1 12/03/2026
Solicitante: 
AERODYN CONSULTING SINGAPORE PTE LTD [SG]
aerodyn consulting Singapore pte ltd

Resumen de: DE102024136925A1

Schwimmende Windenergieanlage (10) mit einem schwimmenden Fundament, das eine Mehrzahl von sich von einem Zentralelement (20) erstreckenden Armen (30) aufweist, einem auf dem Zentralelement (20) des schwimmenden Fundaments angeordneten Turm (40) mit wenigstens einer auf dem Turm (40) angeordneten mit diesem drehfest verbundenen, einen Rotor aufweisenden Energiewandlungseinheit, und einem das Fundament mit der wenigstens einen Energiewandlungseinheit verbindendem Seilsystem (50) zur Einleitung der auf den Turm (40) und die wenigstens eine Energiewandlungseinheit wirkenden Schubkräfte in das Fundament, wobei das Seilsystem (50) Vorspannungen aufweist, deren Beträge jeweils größer als im Betrieb der Windenergieanlage zu erwartende, der jeweiligen Vorspannung entgegenwirkende Lasten sind, dadurch gekennzeichnet, dass der Turm (40) in einem am Zentralelement (20) angeordneten axialen Pendelgleitlager (60) gelagert ist.

PLANETARY TRANSMISSION WITH PLANETARY GEARS AXIALLY MOUNTED ON SLIDING BEARINGS

NºPublicación:  WO2026052760A1 12/03/2026
Solicitante: 
FLENDER GMBH [DE]
FLENDER GMBH
WO_2026052760_PA

Resumen de: WO2026052760A1

The invention relates to a planetary transmission (10) for a wind turbine (70) driven by a rotor (72), comprising at least one planetary stage (14) rotating about an axis of rotation (AD), wherein the planetary stage (14) has a sun gear (22), a planet carrier (16) and a ring gear (20) and the planet carrier (16) receives a plurality of planet gears (18) which rotate between side pieces (24, 26) of the planet carrier (16), are radially mounted on sliding bearings and are alternately in toothed engagement with the ring gear (20) and the sun gear (22), and wherein at least one axial sliding element (30) is inserted into each side piece (24, 26) and a collar portion (32) of each axial sliding element (30) projects in the axial direction beyond the side piece (24, 26) and on the end face carries a sliding surface (34) for axially supporting the planet gear (18). The collar portion (32) bears directly against the respective side piece (24, 26) at the rear.

MAGNUS ROTOR ASSEMBLY

NºPublicación:  WO2026052490A1 12/03/2026
Solicitante: 
OLTMANNS RALF [DE]
LAIS SIEGFRIED [DE]
OLTMANNS, Ralf,
LAIS, Siegfried
WO_2026052490_PA

Resumen de: WO2026052490A1

The invention relates to a Magnus rotor assembly comprising at least one Magnus rotor which is mounted on an axle, the axle comprising at least a first and a second axle segment which are slidable relative to one another.

WIND TURBINE

NºPublicación:  WO2026052193A1 12/03/2026
Solicitante: 
VESTAS WIND SYSTEMS AS [DK]
VESTAS WIND SYSTEMS A/S
WO_2026052193_PA

Resumen de: WO2026052193A1

In a first aspect of the present invention there is provided a wind turbine comprising a nacelle and a rotor mounted to the nacelle The rotor comprises a hub and a plurality of wind turbine blades attached to the hub. Each blade extends between a blade root and a blade tip, and each blade further comprises a connection point located between the blade root and the blade tip. The wind turbine further comprises a blade connecting member connected between corresponding connection points of a pair of wind turbine blades. The wind turbine further comprises a tension adjustment system attached to the hub and configured to adjust the tension in the blade connecting member. The tension adjustment system comprises an electric motor and a winch, and the winch comprises a winch reel and a winch line. The winch line is attached to the winch reel and to the blade connecting member. The electric motor is coupled to the winch reel to rotate the winch reel and thereby spool the winch line off and onto the winch reel and to thereby adjust the tension in the blade connecting member.

INDIVIDUAL PITCH CONTROL METHOD AND ASSOCIATED WIND TURBINE CONTROLLER

NºPublicación:  WO2026052666A1 12/03/2026
Solicitante: 
TOTALENERGIES ONETECH [FR]
TOTALENERGIES ONETECH
WO_2026052666_PA

Resumen de: WO2026052666A1

Individual pitch control method and associated wind turbine controller The individual pitch control method (100) comprises an online phase and an offline phase. The online phase comprises acquiring (130) a current value of a parameter corresponding to the wind speed, selecting (140) a current control law and generating (150) a control signal based on the current control law and a current azimuth angle of the blade. The offline phase (110) comprises obtaining a trained reinforcement learning model. Selecting a control law in the online phase consisting in running in inference the trained reinforcement learning model to estimate the current control law from the current value of at least one parameter corresponding to the wind speed.

TUNED MASS DAMPER ASSEMBLY FOR TALL, SLIM STRUCTURES

NºPublicación:  WO2026052602A1 12/03/2026
Solicitante: 
ESM ENERGIE UND SCHWINGUNGSTECHNIK MITSCH GMBH [DE]
ESM ENERGIE- UND SCHWINGUNGSTECHNIK MITSCH GMBH
WO_2026052602_PA

Resumen de: WO2026052602A1

The invention relates to a new tuned mass damper assembly for tall, slim structures and wind turbines, in particular towers of wind turbines, for damping undesired oscillations which can occur during operation or during the erection of the turbine or the structure as a result of different force effects. The new tuned mass damper is based on the physical principle of a rolling pendulum and is particularly suitable for damping parasitic oscillations below 1 Hz.

WIND TURBINE ROTOR BLADE, METHOD FOR MANUFACTURING A WIND TURBINE ROTOR BLADE AND METHOD FOR REPAIRING AN ADHESIVE JOINT IN A WIND TURBINE ROTOR BLADE

NºPublicación:  WO2026052496A1 12/03/2026
Solicitante: 
NORDEX ENERGY SE & CO KG [DE]
NORDEX ENERGY SPAIN S A U [ES]
NORDEX ENERGY SE & CO. KG,
NORDEX ENERGY SPAIN S.A.U
WO_2026052496_PA

Resumen de: WO2026052496A1

The invention relates to a wind turbine rotor blade (100) with a half shell (132, 133) and a first bearing structure, the half shell (132, 133) comprising a core material (140) sandwiched between an inner shell laminate (141) and an outer shell laminate (142), the first bearing structure comprising a spar cap (144) and a shear web (146), wherein a flange portion (147, 148) of the shear web is attached to the half shell (132, 133) in an attachment area (150), and the spar cap (144) is arranged in the half shell (132, 133) outside the attachment area (150). The invention also concerns a method for manufacturing a wind turbine rotor blade and a method for repairing an adhesive joint in a wind turbine rotor blade.

LIGHTNING-PROTECTION DEVICE IN A MODULAR BLADE

NºPublicación:  US20260071610A1 12/03/2026
Solicitante: 
NABRAWIND TECH S L [ES]
NABRAWIND TECHNOLOGIES, S.L
US_20260071610_PA

Resumen de: US20260071610A1

A lightning-protection device in a modular blade that connects the outboard module, where the lightning strikes, to the inboard module through which the lightning is conducted to the hub, and includes the lightning down conductor cable. The device is an elastic element with greater electrical conductivity than the adhesive used to affix the inserts in holes previously drilled inside the carbon fiber and that make up the metal joint of the modular blade. The device is an elastomer with a preferably toroidal shape thar surrounds each and every one of the metal elements that make up the joint of the blade and covers the gap formed between the carbon fiber of the cap and the aforementioned metal elements. The use of other shapes and other conductive materials that allow its geometry to be elastic is an option.

ロータ用保護シート及びその接着方法

NºPublicación:  JP2026042186A 11/03/2026
Solicitante: 
信越ポリマー株式会社
JP_2026042186_PA

Resumen de: JP2026042186A

【課題】 耐水性を向上させたり、紫外線による悪影響を抑制することができ、ロータのブレードの振動や収縮等に伴う損傷を防止でき、使用が規制されるおそれを払拭できる安価なロータ用保護シート及びその接着方法を提供する。【解決手段】 風力発電設備の回転可能なロータ4に接着されるロータ用保護シート10であり、ロータ4のブレード6に接着される接着層11と、この接着層11に剥離可能に積層されるセパレータ層とを二層構造に備え、接着層11を空気中の湿気と反応して室温で硬化する縮合硬化型シリコーンゴムシートとする。ロータ用保護シート10の接着層11に縮合硬化型シリコーンゴムシートを使用するので、耐水性や耐久性を向上させ、紫外線による物性の変化を抑制することができる。【選択図】 図2

SPAR CAP, WIND TURBINE ROTOR BLADE, AND METHOD OF MANUFACTURING A SPAR CAP

NºPublicación:  EP4707582A1 11/03/2026
Solicitante: 
NORDEX ENERGY SE & CO KG [DE]
Nordex Energy SE & Co. KG
EP_4707582_PA

Resumen de: EP4707582A1

The invention relates to a spar cap (136) for a wind turbine rotor blade (110), the spar cap (136) being configured to extend close to a trailing edge (135) and to form, at least in a section between a root end (126) and a tip end (144), a part of the trailing edge (135) of the wind turbine rotor blade (110), the spar cap (136) comprising a stack (146) of fiber layers including first-type fiber layers (148) and second-type fiber layers (150), wherein- a layer width (154) of the first-type fiber layers (148) is smaller than a layer width (156) of the second-type fiber layers (150),- in the stack (146), the first-type fiber layers (148) are arranged offset to each other with respect to a width (W) of the stack (146), and- in the stack (146), the second-type fiber layers (150) are aligned flush with one another with respect to the width (W) of the stack (146),- the stack (146) is resin-infused and cured.The invention also concerns a wind turbine rotor blade (110) and a method of manufacturing a spar cap.

SYSTEM AND METHOD FOR PROVIDING GEARBOX LUBRICATION OF A WIND TURBINE DURING AN OFF-GRID STATE

NºPublicación:  EP4707586A1 11/03/2026
Solicitante: 
GE VERNOVA INFRASTRUCTURE TECH LLC [US]
GE Vernova Infrastructure Technology LLC
EP_4707586_PA

Resumen de: EP4707586A1

A method for providing gearbox lubrication of a wind turbine during an off-grid state includes fluidly coupling an auxiliary lubrication system with a gearbox of the wind turbine. The off-grid state is characterized in that the wind turbine is mechanically and electrically installed at a wind farm but not yet connected to a grid. The method also includes determining a time-based control scheme for the auxiliary lubrication system to provide lubrication to the auxiliary lubrication system during the off-grid state. The time-based control scheme is defined a first time period in which the lubrication is provided to the gearbox via the auxiliary lubrication system during the off-grid state and a second time period in which the lubrication is not provided to the gearbox via the auxiliary lubrication system during the off-grid state. The first time period is less than the second time period. Further, the method includes implementing, via a controller, the control scheme for the auxiliary lubrication system to provide the lubrication to the gearbox of the wind turbine during the off-grid state.

MOORING SYSTEM

NºPublicación:  EP4707152A1 11/03/2026
Solicitante: 
YUJOO CO LTD [KR]
Yujoo Co., Ltd
EP_4707152_PA

Resumen de: EP4707152A1

Proposed is a mooring system, including a floating unit for floating on the sea surface, a mooring anchor installed on the seabed, a weight unit positioned underwater between the floating unit and the mooring anchor, a plurality of mooring cables each having a closed curve shape for mooring the floating unit, wherein each mooring cable includes a first portion whose middle lower part is caught in a mooring-cable catching part of the weight unit, a second portion which passes through a vertical penetration passage of the weight unit and whose middle lower part is caught in a mooring-cable catching part of the mooring anchor, and a third portion which passes through a vertical penetration passage of the floating unit and is connected to the first portion and the second portion and whose middle upper part is caught in a mooring-cable catching part of the floating unit provided in the floating unit.

SYSTEM FOR SUPPLYING FLUID

NºPublicación:  EP4707552A1 11/03/2026
Solicitante: 
HYDAC FILTERTECHNIK GMBH [DE]
Hydac Filtertechnik GmbH
EP_4707552_PA

Resumen de: EP4707552A1

2. System zur Fluidversorgung mindestens eines Verbrauchers (V), insbesondere zur Schmiermittelversorgung von Verbrauchern (V), wie Lagerstellen in Getrieben von Windkraftanlagen einschließlich Gleitlagern, zumindest bestehend aus einer- Fördereinrichtung (14),- Filtereinrichtung (16), und- Wärmetauscheinrichtung (18),die über fluidführende Leitungen (20, 22) miteinander verbunden und im Rahmen einer Fluidführung (24) entlang einer Strömungsrichtung mit Fluid durchströmbar sind, dadurch gekennzeichnet, dass zwischen der Fördereinrichtung (14) und dem jeweiligen Verbraucher (V) im Hauptstrom (40) einer Fluidführung (24) eine Hauptfilterstufe (42) der Filtereinrichtung (16) geschaltet ist, dass zur Steuerung eines Nebenstroms (44) der Fluidführung (24) mindestens eine Ventileinrichtung (46) vorgesehen ist, und dass mit ansteigendem Differenzdruck betreffend die Hauptfilterstufe (42) die jeweilige Ventileinrichtung (46) betätigt, eine vorgebbare Teilmenge des Fluids aus der Fluidführung (24) zum Verbraucher (V) entfernt.

FOAMABLE THERMOPLASTIC COMPOSITIONS, THERMOPLASTIC FOAMS AND METHODS OF MAKING SAME

NºPublicación:  EP4705388A1 11/03/2026
Solicitante: 
HONEYWELL INT INC [US]
HONEYWELL INTERNATIONAL INC
KR_20260018147_PA

Resumen de: WO2024254034A1

Disclosed are foam articles comprising a thermoplastic, closed-cell foam having at least a first surface and comprising: (i) thermoplastic polymer cell walls comprising at least about 0.5% by weight of ethylene furanoate moi eties and optionally one or more co-monomer moieties; and (ii) blowing agent comprising HFC-152a contained in at least a portion of said closed cells.

PARALLEL MOORING LINES TO SAME ANCHOR

NºPublicación:  EP4705179A1 11/03/2026
Solicitante: 
GRANT PRIDECO INC [US]
Grant Prideco, Inc
KR_20260002706_PA

Resumen de: AU2024263697A1

The invention relates to a mooring arrangement for mooring a floating unit to the seabed, the mooring arrangement comprises multiple mooring clusters each connectable to a floating unit and an anchor adapted for the seabed, wherein at least one mooring cluster comprises at least two mooring lines.

Gas flow pressure driven electrical generator

NºPublicación:  GB2643961A 11/03/2026
Solicitante: 
R & B IND LTD [GB]
R & B Industrial Ltd
GB_2643961_PA

Resumen de: GB2643961A

A gas flow pressure driven electrical turbine generator 30 for connection to a dust or fume extraction system has a chamber 31 with an inlet 32 connectable to ambient air in a location. The chamber outlet 33 may be connected 35 to a dust or fume extraction pipe 20, via a shut-off valve 34. An airflow turbine 36 in the chamber 32 generates electricity when gas flows from the chamber inlet 32 to the chamber outlet 33. The turbine generator can be connected to the pipe 20 at 90 degrees, and may be connected immediately downstream of a flow control valve 22 so that it exhausts into an area of increased turbulence to improve performance. The energy generated may be used to power components such as control valves and flow rate measurers and avoids the need hard-wire an electrical supply to such components.

INDIVIDUAL PITCH CONTROL METHOD AND ASSOCIATED WIND TURBINE CONTROLLER

NºPublicación:  EP4707585A1 11/03/2026
Solicitante: 
TOTALENERGIES ONETECH [FR]
TotalEnergies OneTech
EP_4707585_PA

Resumen de: EP4707585A1

The individual pitch control method (100) comprises an online phase and an offline phase. The online phase comprises acquiring (130) a current value of a parameter corresponding to the wind speed, selecting (140) a current control law and generating (150) a control signal based on the current control law and a current azimuth angle of the blade. The offline phase (110) comprises obtaining a trained reinforcement learning model. Selecting a control law in the online phase consisting in running in inference the trained reinforcement learning model to estimate the current control law from the current value of at least one parameter corresponding to the wind speed.

METHOD FOR REPAIRING THE ROOT OF A BLADE

NºPublicación:  EP4707588A1 11/03/2026
Solicitante: 
NABRAWIND TECH S L [ES]
Nabrawind Technologies, S.L
EP_4707588_PA

Resumen de: EP4707588A1

Method for repairing a root of a blade having the following sequence: loosening the bolts (6) of the root of the blade (5) by removing the nuts (20) in the bearing (7) of the bushing (3). Lowering the blade to the ground using the Bladerunner<sup>®</sup>. Cutting a diametral ring of the blade that includes the surface (10) where the threaded cup (9) housing the nut (6) is included. Cleaning up and laminating the bevelled area (11). Machining a long bore passing through the bevelled area (13) and a short and through bore (14) in the thickness direction. Adding and adapter (15) that combines both technologies (one per each end) and allows the length of the blade (4) to be increased and consequently its AEP (Annual Energy Production) is increased. Said adapter (15) is a ring with through holes (17 and 22) over its entire surface, which is attached on the portion of the root of the blade (5) with T-bols and on the portion of the bushing (3) with the bolts (6) that have been previously removed, housed in the inserts (9).

METHOD OF MANUFACTURING A HALF SHELL AS WELL AS WIND TURBINE ROTOR BLADE

NºPublicación:  EP4706946A1 11/03/2026
Solicitante: 
NORDEX ENERGY SE & CO KG [DE]
NORDEX BLADE TECH CENTRE APS [DK]
Nordex Energy SE & Co. KG,
Nordex Blade Technology Centre ApS
EP_4706946_PA

Resumen de: EP4706946A1

The invention concerns a method of manufacturing a half shell (134) of a wind turbine rotor blade (110), the method comprising the steps:- providing a mould (148),- arranging an outer shell laminate (150) into the mould (148),- arranging a three spar caps (138, 140, 142) onto the outer shell laminate (150), wherein-- the second spar cap (140) is arranged between the first spar cap (138) and the third spar cap (142),-- the third spar cap (142) is positioned at an outermost trailing edge (144), andcore elements (154) are arranged between the first spar cap (138) and the second spar cap (140) and/or between the second spar cap (140) and the third spar cap (142) and/or between the first spar cap (138) and the third spar cap (142), wherein at least one of the core elements (154) is a tolerance compensation element (156) that comprises a wedge-formed portion (158) and interacts in a form-fit manner with a corresponding counter wedge-formed portion (160).The invention also refers to a wind turbine rotor blade (110) .

METHOD AND SYSTEM FOR REPLACING AN INSTALLED YAW RING, WIND TURBINE AND METHOD FOR OPERATING A WIND TURBINE

NºPublicación:  EP4705631A1 11/03/2026
Solicitante: 
SIEMENS GAMESA RENEWABLE ENERGY AS [DK]
Siemens Gamesa Renewable Energy A/S
CN_121511353_PA

Resumen de: WO2025016688A1

Method for replacing an installed yaw ring (1) of a wind turbine (2) with a replacement yaw ring (3), wherein in an initial state of the wind turbine (2) a bedframe (4) of the wind turbine (2) is pivot-mounted to a topmost segment (5) of a tower (6) of the wind turbine (2), the installed yaw ring (1) is mounted to the topmost segment (5), and at least one yaw drive (7) of the wind turbine engages (2) the installed yaw ring (1) to rotate the bedframe (4) with respect to the topmost segment (5) when the yaw drive (7) is operated, the method comprising the steps of: lifting a module (8) of the wind turbine (2), which comprises the bedframe (4), the topmost segment (5), and the installed yaw ring (1), off a tower stump (9) of the tower (6) formed by at least one further segment (10-12) of the tower (6) and placing the module (8) in a servicing position (13), detaching a submodule (17) of the module (8) comprising the bedframe (4) from the topmost segment (5) and moving the submodule (17) to a holding position (18), unmounting the installed yaw ring (1) form the topmost segment (5), mounting the replacement yaw ring (3) to the topmost segment (5), reattaching the submodule (17) to the topmost segment (5), to form a refurbished module (19) comprising the bedframe (4), the topmost segment (5), and the replacement yaw ring (3), and lifting the refurbished module (19) onto the tower stump (9).

CONNECTOR ASSEMBLY

NºPublicación:  EP4705629A1 11/03/2026
Solicitante: 
SIEMENS GAMESA RENEWABLE ENERGY AS [DK]
Siemens Gamesa Renewable Energy A/S
CN_121336042_PA

Resumen de: WO2024256159A1

The invention describes a connector assembly (1) for connecting two parts (2A, 2B), comprising a stud bolt (10) comprising a shank (10S) and a threaded portion (10T) at each end of the shank (10S); a first threaded insert (14A, 14B) for embedding in a part (2A), adapted to engage with a first threaded portion (10T) of the stud bolt (10); a second threaded insert (14A, 14B) for embedding in the other part (2B), adapted to engage with the second threaded portion (10T) of the stud bolt (10); and a spacer (16) dimensioned to enclose the shank (10S) of the stud bolt (10), and comprising a length adjustment means (16T) for adjusting the length of the spacer (16) between an initial length (L0) and a maximum extended length (L1). The invention further describes a wind turbine rotor blade comprising a first rotor blade segment (2A) and a second rotor blade segment (2B), and a plurality of such connector assemblies (1) arranged to connect the first rotor blade segment (2A) to the second rotor blade segment (2B); and a method of connecting a first wind turbine rotor blade segment (2A) to a second wind turbine rotor blade segment (2B) with a plurality of such connector assemblies (1).

METHOD FOR REPLACING TENSION ADJUSTING COMPONENT USED IN A CABLE SUPPORT ASSEMBLY ON A WIND TURBINE

NºPublicación:  EP4705628A1 11/03/2026
Solicitante: 
VESTAS WIND SYS AS [DK]
VESTAS WIND SYSTEMS A/S
CN_121039387_PA

Resumen de: CN121039387A

A method of replacing a tension adjusting member (44) included in a cable support assembly (30) connected with a plurality of wind turbine blades (26) on a wind turbine (10) is provided. The method comprises: releasing tension in the cable support assembly (30); disconnecting the tension cable (36) from a free end (46) of the tension adjusting member (44) remote from the hub (24); and securing the tension cable (36) to the wind turbine (10). A second end (48) of the tension adjusting member (44) located within the hub (24) is connected to the lifting device (72) and is also disconnected from the hub (24). A lifting device (72), which may include a winch (73) or cantilever crane (82) and a lifting cable (74), may then be used to lower the tension adjusting member (44) down to the ground where the replacement tension adjusting member (44a) is connected to the lifting device (72). The method further includes lifting the replacement tension adjusting member (44a) back to the hub (24) using a lifting device (72); and reconnecting it to the cable support assembly (30) and the hub (24). This method avoids the need to repair the tension adjusting component (44) while the component (44) is on top of the tower (12) of the wind turbine (10), and at the same time also avoids the need for a large off-site crane for performing any of these movements.

METHOD OF OPERATING A WIND TURBINE AND CONTROL SYSTEM

NºPublicación:  EP4705630A1 11/03/2026
Solicitante: 
SIEMENS GAMESA RENEWABLE ENERGY INNOVATION & TECHNOLOGY SL [ES]
Siemens Gamesa Renewable Energy Innovation & Technology S.L
CN_121336043_PA

Resumen de: WO2024256724A1

A method of operating a wind turbine is provided. The wind turbine (100) comprises a power generation system (120) configured to generate electrical power from rotational mechanical energy and one or more electrical cables (20) configured to transport the electrical power generated by the power generation system (120). The one or more electrical cables (20) are associated with a cable temperature threshold for a cable temperature of the one or more electrical cables (20). A measured component operating parameter of a component (122) of the power generation system (120) is obtained. The measured component operating parameter is compared to a component operating parameter threshold and/or an estimated cable temperature that is estimated from the measured component operating parameter is compared to the cable temperature threshold. A mitigation action is taken to keep stable or reduce the cable temperature if the comparison indicates that the respective threshold is met or exceeded.

WIND TURBINE POWER TANSMISSION SYSTEM

NºPublicación:  EP4708643A2 11/03/2026
Solicitante: 
VESTAS WIND SYS AS [DK]
VESTAS WIND SYSTEMS A/S
EP_4708643_PA

Resumen de: EP4708643A2

A flexible coupling for use in a wind turbine power transmission system to flexibly couple terminal portions of the wind turbine power transmission system to thereby accommodate misalignments in a radial and axial direction between the terminal portions. A coupling element of the flexible coupling interfaces with the terminal portions associated with a main shaft and a gearbox input member of the wind turbine power transmission system. Thereby a double-joint, namely two joints between the coupling element and the respective terminal portions, is defined. The joints permit relative rotation between the coupling element and the respective terminal portion around axes perpendicular to and relative translation along a main axis of the main shaft. Thereby the two joints can provide translational degrees of freedom in all directions and rotational degrees of freedom only about axes perpendicular to the main axis to accommodate radial, axial, and angular misalignments. A torsionally stiff coupling element may constrain relative rotation about the main axis.

A METHOD FOR MANAGING COMMUNICATION WITH A PLURALITY OF ASSETS OF A RENEWABLE POWER PLANT

NºPublicación:  EP4706150A1 11/03/2026
Solicitante: 
VESTAS WIND SYS AS [DK]
VESTAS WIND SYSTEMS A/S
CN_121058144_PA

Resumen de: CN121058144A

A method for managing the transmission of instructions to a plurality of controlled assets (4) (e.g., wind turbines) arranged within a private communication network of a renewable power plant (3) is disclosed. One or more requesting assets (5) arranged within the private communication network contact (6) a secure data center (1) arranged externally with respect to the private communication network on behalf of one or more controlled assets (4) associated with the particular requesting asset (5). The secure data center (1) generates a database (8) comprising a registry of controlled assets (4) for which instructions have been requested and representing a combination of controlled assets (4) managed by the secure data center (1). Upon a request from the requesting asset (5), the secure data center (1) then manages the transmission of instructions originating from the external control center (2) to each of the combined registered controlled assets (4) of the secure data center (1).

METHOD FOR ERECTING TOWER STRUCTURE, AND SYSTEM FOR HANDLING COMPONENTS OF TOWER STRUCTURE

NºPublicación:  EP4707587A2 11/03/2026
Solicitante: 
PETER HERBERS GMBH [DE]
Peter Herbers GmbH
EP_4707587_PA

Resumen de: EP4707587A2

Vorgestellt wird ein Verfahren zur Errichtung eines Turmbauwerks, wobei das Turmbauwerk aus mehreren übereinander gesetzten Ringsegmenten (5) aufgebaut ist und jeweils mehrere, gekrümmte Teilstücke (50) umfangmäßig ein Ringsegment (5) bilden, wobei ein Teilstück (50) umlaufende Kanten in Form jeweils einer Ober- und Unterkante (501a, 501b) und zweier Radialflächen (502) aufweist sowie eine innere und eine äußere Tangentialfläche (500a, 500b), wobei eine Tangentialfläche wenigstens zwei Aussparungen (51) aufweist, die dazu bestimmt sind, Lastaufnahmemittel einer Hebevorrichtung aufzunehmen, mit den folgenden Verfahrensschritten: a) Positionieren von mehreren Teilstücken (50) auf einem Untergrund mittels einer als Haltevorrichtung (2) bezeichneten Hebevorrichtung, in der Art, dass Radialflächen (502) der Teilstücke (50) einander anliegen, wobei die Lastaufnahmemittel der Haltevorrichtung (2) in Eingriff gebracht werden mit den Aussparungen (51) des Teilstücks (50), und verbinden der Teilstücke (50) miteinander ausbildend ein Ringsegment (5), b) Heben eines Ringsegments (5) mittels einer als Hubvorrichtung (3) bezeichneten Hebevorrichtung auf die erforderliche Höhe zur Errichtung des Turmbauwerks, wobei die Lastaufnahmemittel der Hubvorrichtung (3) in Eingriff gebracht werden mit den Aussparungen (51) des Ringsegments (5). Weiterhin wird ein System (1) zur Handhabung von Bauteilen vorgeschlagen.

PORTABLE FAN

NºPublicación:  EP4707612A1 11/03/2026
Solicitante: 
SHENZHEN JISU TECH CO LTD [CN]
Shenzhen Jisu Technology Co., Ltd
EP_4707612_A1

Resumen de: EP4707612A1

A portable fan includes: a housing; a mixed-flow fan; and a pressurizing member. The housing is arranged with an air inlet portion and an air outlet portion. The mixed-flow fan is arranged inside the housing; the mixed-flow fan is configured to rotate around a rotation shaft to generate an airflow. The pressurizing member is disposed at a front of the mixed-flow fan and includes a pressurizing seat. The pressurizing seat comprises a pressurizing surface, and a radial size of at least part of the pressurizing surface gradually increases from the rear side to the front side. A cross-sectional area, in a radial direction of the housing, of a front end of the pressurizing seat is defined to enable the air inlet portion to be invisible by being shielded by the pressurizing seat, when viewing from the front side to the rear side.

PORTABLE FAN

NºPublicación:  EP4707613A1 11/03/2026
Solicitante: 
SHENZHEN JISU TECH CO LTD [CN]
Shenzhen Jisu Technology Co., Ltd
EP_4707613_A1

Resumen de: EP4707613A1

A portable fan includes: a housing; a mixed-flow fan; and a booster. An air inlet portion is arranged at a rear side of the housing, an air outlet portion is arranged at a front side of the housing, the air inlet portion and the air outlet portion are fluidly communicated to each other through an interior of the housing. The mixed-flow fan is arranged inside the housing; wherein the mixed-flow fan is configured to rotate around a rotation shaft to generate an airflow. The booster is disposed inside the housing and surrounds an outer periphery of the mixed-flow fan, wherein, the booster comprises a booster surface facing the mixed-flow fan; a radial size of at least part of the booster surface gradually increases in a direction from the rear side to the front side; a gap is formed between the booster and the housing.

PORTABLE FAN

NºPublicación:  EP4707611A1 11/03/2026
Solicitante: 
SHENZHEN JISU TECH CO LTD [CN]
Shenzhen Jisu Technology Co., Ltd
EP_4707611_A1

Resumen de: EP4707611A1

A portable fan includes: a housing; a mixed-flow fan; a pressurizing member. The housing is arranged with an air inlet portion and an air outlet portion. The pressurizing member is disposed at a front of the mixed-flow fan and includes a pressurizing seat. The pressurizing seat includes a pressurizing surface, and a radial size of at least part of the pressurizing surface gradually increases from a rear side to a front side. The mixed-flow fan includes a rotation seat, an extension wall, a motor, and first blades that are mounted on the rotation seat; the extension wall and the rotation seat cooperatively define a first cavity; the pressurizing seat has a second cavity; the extension wall is inserted into the second cavity; a projection of the first cavity is at least partially overlapped with a projection of the second cavity in the radial direction.

PLANETARY GEAR WITH AXIALLY SLIDABLY MOUNTED PLANET GEARS

NºPublicación:  EP4707641A1 11/03/2026
Solicitante: 
FLENDER GMBH [DE]
Flender GmbH
EP_4707641_PA

Resumen de: EP4707641A1

Planetengetriebe 10 für eine über einen Rotor 72 angetriebene Windkraftanlage 70, mit zumindest einer um eine Drehachse A<sub>D</sub> umlaufenden Planetenstufe 14, wobei die Planetenstufe 14 ein Sonnenrad 22, einen Planetenträger 16 und ein Hohlrad 20 aufweist und der Planetenträger 16 mehrere zwischen Seitenwangen 24, 26 des Planetenträgers 16 umlaufende und radial gleitgelagerte und wechselseitig mit dem Hohlrad 20 und dem Sonnenrad 22 in einem Verzahnungseingriff stehende Planetenrädern 18 aufnimmt und wobei in jede Seitenwange 24, 26 zumindest ein Axialgleitelement 30 eingesetzt ist und ein Kragenabschnitt 32 eines jeden Axialgleitelements 30 in axialer Richtung über die Seitenwange 24, 26 hervorsteht und stirnseitig eine Gleitfläche 34 zur axialen Lagerung des Planetenrades 18 trägt. Der Kragenabschnitt 32 liegt rückseitig an der jeweiligen Seitenwange 24, 26 unmittelbar an.

WIND TURBINE ROTOR BLADE AND A METHOD OF MANUFACTURING A WIND TURBINE ROTOR BLADE

NºPublicación:  EP4707584A1 11/03/2026
Solicitante: 
NORDEX ENERGY SE & CO KG [DE]
Nordex Energy SE & Co. KG
EP_4707584_PA

Resumen de: EP4707584A1

The invention relates to a wind turbine rotor blade (110) comprising a suction side half shell (132) and a pressure side half shell (133), wherein the suction side half shell (132) comprises a first spar cap (141), wherein the pressure side half shell (133) comprises a second spar cap (142), wherein the first spar cap (141) and the second spar cap (142) are connected to each other by an adhesive joint (146), wherein, at least in a section between a root end (126) of the wind turbine rotor blade (110) and a tip end (127) of the wind turbine rotor blade (110), a trailing edge (135) of the wind turbine rotor blade (110) is formed by the first spar cap (141), the second spar cap (142) and the adhesive joint (146). The invention also concerns a method of manufacturing a wind turbine rotor blade.

SPAR CAP FOR A WIND TURBINE ROTOR BLADE, SET FOR MANUFACTURING A HALF SHELL OF A WIND TURBINE ROTOR BLADE, ASSEMBLY COMPRISING A SPAR CAP AND A MOLD, AND METHOD OF MANUFACTURING A HALF SHELL OF A WIND TURBINE ROTOR BLADE

NºPublicación:  EP4706945A1 11/03/2026
Solicitante: 
NORDEX ENERGY SE & CO KG [DE]
NORDEX BLADE TECH CENTRE APS [DK]
Nordex Energy SE & Co. KG,
Nordex Blade Technology Centre ApS
EP_4706945_PA

Resumen de: EP4706945A1

The present invention concerns a apar cap (140) for a wind turbine rotor blade (110), comprising a stack (141) of fiber material layers, which are stacked in a stacking direction (147) from a bottom face (143) to a top face (144), and a clipping layer (145) which is arranged on the top face (144) of the stack (141), wherein the clipping layer (145) protrudes beyond the stack (141) of fiber material layers in a lateral direction (148) which is perpendicular to the stacking direction (147). Further aspects concern a set for manufacturing a half shell of a wind turbine rotor blade, an assembly comprising a spar cap and a mold, and a method of manufacturing a half shell of a wind turbine rotor blade.

WIND TURBINE ROTOR BLADE, METHOD FOR MANUFACTURING A WIND TURBINE ROTOR BLADE AND METHOD FOR REPAIRING AN ADHESIVE JOINT IN A WIND TURBINE ROTOR BLADE

NºPublicación:  EP4707583A1 11/03/2026
Solicitante: 
NORDEX ENERGY SE & CO KG [DE]
NORDEX ENERGY SPAIN SAU [ES]
Nordex Energy SE & Co. KG,
Nordex Energy Spain, S.A.U
EP_4707583_PA

Resumen de: EP4707583A1

The invention relates to a wind turbine rotor blade (100) with a half shell (132, 133) and a first bearing structure, the half shell (132, 133) comprising a core material (140) sandwiched between an inner shell laminate (141) and an outer shell laminate (142), the first bearing structure comprising a spar cap (144) and a shear web (146), wherein a flange portion (147, 148) of the shear web is attached to the half shell (132, 133) in an attachment area (150), and the spar cap (144) is arranged in the half shell (132, 133) outside the attachment area (150). The invention also concerns a method for manufacturing a wind turbine rotor blade and a method for repairing an adhesive joint in a wind turbine rotor blade.

SISTEMA DE ACUMULACION DE ENERGIA POTENCIAL EN TORRES DE AEROGENERADORES

NºPublicación:  ES3058574A1 11/03/2026
Solicitante: 
GARCIA DE LA PENA EMMANUEL [ES]
MARTIN GALLACH JORGE [ES]
Garcia de la Pe\u00F1a, Emmanuel,
Martin Gallach, Jorge

海上风电驱动的抗波动性多联产制氨系统及控制方法

NºPublicación:  CN121623676A 10/03/2026
Solicitante: 
福州大学
CN_121623676_PA

Resumen de: CN121623676A

本发明涉及了海上风电驱动的抗波动性多联产制氨系统及控制方法,包括能源供给单元、原料气生产单元、氨合成核心单元以及副产品利用单元;通过浮式光伏、海上风机连接至风光互补控制器,实现风电与光伏的功率协同调配,风光互补控制器优先将风电供给电解水制氢装置,响应速度快,光伏电力供给空分装置,稳定负荷,通过灵活调节电解水制氢装置和空分装置的负荷,平抑风光波动,调节电解水制氢装置、空分装置的运行状态,避免合成氨原料气供应不稳定的问题,避免合成氨反应效率骤降的问题,显著提升系统抗波动能力,解决风光能源不稳定难题;保证电解水制氢装置、空分装置运行的稳定性。

一种风力发电机组的主轴承油润滑装置及其控制方法

NºPublicación:  CN121630663A 10/03/2026
Solicitante: 
明阳智慧能源集团股份公司
CN_121630663_PA

Resumen de: CN121630663A

本发明公开了一种风力发电机组的主轴承油润滑装置及其控制方法,包括主润滑回路、断电润滑回路、补油回路、后备电源和控制单元;所述主润滑回路包括主油箱以及与主油箱的出油管路相连接的电机泵组;所述断电润滑回路包括高位油箱、设置于高位油箱的出油管路上的常开式电磁阀以及设置于高位油箱内部的液位传感器;所述补油回路包括常闭式电磁阀,所述常闭式电磁阀的一端与高位油箱的进油管路连接,其另一端与电机泵组的出油管路连接;所述控制单元分别与电机泵组、液位传感器、常开式电磁阀以及常闭式电磁阀通信连接。本发明能够在机组断电且无后备电源支持的情况下,为主轴承提供可靠润滑,从而避免因主轴承润滑中断而引发机组故障。

一种面向风电机组的故障诊断分析方法及装置

NºPublicación:  CN121630655A 10/03/2026
Solicitante: 
华润新能源(黎平)风能有限责任公司运维分公司
CN_121630655_PA

Resumen de: CN121630655A

本发明公开一种面向风电机组的故障诊断分析方法及装置,所述方法包括以下步骤:当机组发生故障后,构建机组故障诊断库,并通过所述机组故障诊断库确定与故障相关联的若干个关联故障系统;其中,所述机组故障诊断库由预设历史故障知识库与当前故障数据库构成;分别采集所述若干个关联故障系统在故障发生前后若干个时间采样点对应的系统运行数据,并对所有所述系统运行数据进行预处理,随后根据故障时间线对预处理后的数据进行故障分析定位,确定异常变量;根据所述异常变量,确定故障部件和故障原因。本发明能够提高风电机组故障分析的准确性和效率。

构网型风电机组传动轴系扭振抑制方法及系统

NºPublicación:  CN121630637A 10/03/2026
Solicitante: 
上海交通大学上海中绿新能源科技有限公司
CN_121630637_PA

Resumen de: CN121630637A

本发明提供了一种构网型风电机组轴系扭振抑制方法,包括:步骤S1:实时采集风电机组的转速,得到发电机角速度;步骤S2:将所述发电机角速度输入虚拟相角阻尼控制器;所述相角阻尼控制器提取所述风电机组的发电机角速度中的振荡分量,计算得到虚拟相角补偿量;步骤S3:将所述虚拟相角补偿量叠加至构网型控制技术输出的同步相角上,进而抑制风电机组轴系扭振。本发明提出的方法,将发电机转速作为输入量,经虚拟相角阻尼控制器生成相角补偿量θcomp与构网型控制技术生成的同步相角θsyn叠加实现对轴系扭振进行抑制,不再受到构网型控制技术带宽的限制,可有效地抑制由于应用构网型控制技术所激发的风电机组轴系扭振。

风力发电机组主控系统的多模式运行切换方法

NºPublicación:  CN121630636A 10/03/2026
Solicitante: 
大唐山东清洁能源开发有限公司
CN_121630636_PA

Resumen de: CN121630636A

本发明公开了风力发电机组主控系统的多模式运行切换方法,具体涉及风力发电运行切换领域,包括S1:采集各风力发电机组对应的环境参数、S2:对采集到的数据进行预处理、S3:获取风力特性规律、S4:设定动态阈值、S5:划分模式类别、以及S6:生成运行模式切换策略。风力发电机组主控系统的多模式运行切换方法结合修正系数和规律函数,分析风力特性得到第二风力特征组,提高了对不同风力条件下风力特性的准确把握能力;通过计算生成第三风力特征组,减少了因固定阈值设置导致的风力发电机组在特殊环境下性能不佳的问题;通过将实时风力特征数据与运行模式特征和动态阈值对比分析,划分最佳风力发电模式,提高了风能捕获效率和机组运行稳定性。

Procédé de contrôle d'un système d'énergie éolienne en mer

NºPublicación:  BE1032839A1 10/03/2026
Solicitante: 
CHINA HARBOUR ENG COMPANY LTD [CN]
CHINA HARBOUR ENGINEERING COMPANY LTD
BE_1032839_A1

Resumen de: BE1032839A1

L'invention divulgue un procédé de contrôle d'un système d'énergie éolienne en mer, se rapportant au domaine technique du contrôle de l'énergie éolienne en mer. Ledit système d'énergie éolienne en mer comprend un groupe éolien, un convertisseur, des capteurs de vibration et de contrainte ainsi qu'un contrôleur, et vise à résoudre le problème technique consistant à efficacement inhiber les charges structurelles clés tout en garantissant la sortie de puissance. Les points clés de sa solution technique sont les suivants: obtenir une séquence de vitesse de vent de prévision à l'avant par le biais d'un lidar de nacelle, tout en collectant en temps réel les données de charges de la tour et des pales; construire un modèle d'espace d'état paramétré, et utiliser l'algorithme de filtre de Kalman sans trace pour réaliser l'identification en ligne et l'estimation d'état des paramètres aérodynamiques et de la dynamique non modélisée; dans chaque période de contrôle, avec le suivi de puissance et l'inhibition de charges comme objectifs multiobjectifs, résoudre le problème de contrôle optimal à horizon fini sur la base du modèle mis à jour et de la séquence de vitesse de vent de prévision; enfin, analyser et exécuter la commande incrémentale optimale de l'angle de calage et la commande incrémentale optimale du couple du générateur. Ce procédé est principalement utilisé pour améliorer la durée de fonctionnement et la stabilité des group

一种风力发电塔塔底的散热机构

NºPublicación:  CN223984547U 10/03/2026
Solicitante: 
大唐新能源朔州风力发电有限公司
CN_223984547_U

Resumen de: CN223984547U

本实用新型公开了一种风力发电塔塔底的散热机构,包括散热机构,用于对风力发电塔进行散热,所述散热机构包括越努力发电塔内部固定焊接的底板,所述底板的上端固定安装有导热板,所述导热板上固定焊接有两块竖板,两块所述竖板之间转动连接有两根双向螺纹杆,两根所述双向螺纹杆外均螺纹套设有两块推板,所述推板与导热板滑动连接,两根所述双向螺纹杆的一端均转动贯穿竖板并通过传动机构传动连接,其中一根双向螺纹杆的一端转动贯穿竖板并同轴固定连接有转柄,所述底板的下端固定安装有导热柱,所述导热板固定贯穿底板并与导热柱固定焊接。本实用新型可以有效的将风力发电塔的热量和线缆上的热量导出,延长线缆的适用寿命,提高散热效率。

一种多功能港口航标

NºPublicación:  CN223982633U 10/03/2026
Solicitante: 
龙口港集团有限公司
CN_223982633_U

Resumen de: CN223982633U

本实用新型提供一种多功能港口航标,涉及航海技术领域,包括由锚定系统、浮体、标体、灯光系统、控制系统以及供电系统构成;所述浮体包含圆柱形的浮筒,浮筒内部为空腔结构,在其空腔底部放置有压载;设置了四组双色LED灯板,这四组双色LED灯板两两呈九十度夹角,分别朝向四个不同的水平方向,以此确保各个方向的来往船只均能清晰看到;双色LED灯板具备发出红色或绿色灯光的功能,可依据所接收的指令,实现常亮或爆闪状态;爆闪频率会根据接收到的指令灵活变化,通过对灯光颜色与频率的调节,能够向过往船只传达明确的信息;解决了现有航标的指示信号较为单一,不方便海员准确地获得海事信息的问题。

一种风力发电用防雷设备

NºPublicación:  CN223984546U 10/03/2026
Solicitante: 
北京凯瑞同创科技有限公司
CN_223984546_U

Resumen de: CN223984546U

本实用新型涉及防雷设备领域,公开了一种风力发电用防雷设备,包括设备主体和多个避雷针,所述设备主体底部内部上端一侧固定设置有土壤湿度传感器,所述设备主体底部内部上端另一侧固定设置有温度传感器,所述设备主体底部内部下端两侧均固定设置有超声波换能器,所述设备主体底部内部中间位置固定设置有接地机构。本实用新型中,接地机构通过设置的接地盒、第一接地环、第二接地环以及接地杆相互配合,形成可靠的接地网络,进一步扩大了接地的覆盖范围,大大降低了雷电对风力发电设备造成损害的风险,确保设备稳定运行,减少因雷击导致的设备故障和维修成本,保障了风力发电作业的连续性和稳定性。

一种用于风机发电机的散热装置

NºPublicación:  CN223987016U 10/03/2026
Solicitante: 
内蒙古华电辉腾锡勒风力发电有限公司
CN_223987016_U

Resumen de: CN223987016U

本实用新型公开了一种用于风机发电机的散热装置,属于发电机的散热装置技术领域。包括底板和发电电机本体,所述底板的顶端安装有等间距的多组发电电机本体,所述底板的外部对称设置有三脚架,且一组三脚架的顶端安装有第一支撑架,并且另一组三脚架的顶端安装有第二支撑架,所述第一支撑架、第二支撑架之间设置有U型架。本实用新型不仅实现了散热装置便捷的调节高度进行吹风散热,方便了便捷的进行往复移动吹风散热,方便了便捷的多位置的对发电电机进行吹风散热,而且增加了吹风散热的范围,提高了散热装置吹风散热的效率。

一种风力发电机组塔筒平台盖板

NºPublicación:  CN223984543U 10/03/2026
Solicitante: 
山东鸿宇机械科技有限公司
CN_223984543_U

Resumen de: CN223984543U

本实用新型公开了一种风力发电机组塔筒平台盖板,包括塔筒本体和塔筒平台本体,所述塔筒平台本体固定连接在塔筒本体内侧,所述塔筒平台本体顶部贯穿开设有竖槽,所述塔筒平台本体靠近竖槽一侧贯穿开设有通口,所述通口与竖槽之间相互连通,所述竖槽内侧固定连接有两个竖杆,两个所述竖杆之间固定连接有多个攀爬杆,所述通口上方设置有封堵盖,所述塔筒平台本体顶部设置有横槽。本实用新型通过设置连接组件、插孔和驱动块,在提拉板驱动插杆进行压缩弹簧后,可将插杆底端与插孔进行分离,避免在机械设备断电后,可利用手动方式将封堵盖进行开启,防止工作人员受困,从而保证工作人员可正常的工作。

浮式风力发电机

NºPublicación:  CN223984545U 10/03/2026
Solicitante: 
中国电建集团成都勘测设计研究院有限公司
CN_223984545_U

Resumen de: CN223984545U

本实用新型公开了风力发电技术领域的一种浮式风力发电机,包括浮式基座、风机主体和索链,风机主体安装在浮式基座上,浮式基座包括浮筒,浮筒内设有收卷装置,索链一端与自重物连接,另一端穿过浮筒侧部的收线口与收卷装置连接,还包括第一传动部、中心杆、联动杆、收线滚筒和往复推动机构,驱动电机通过第二传动部带动第一传动部旋转,联动杆带动收线滚筒进行旋转,往复推动机构收线滚筒沿联动杆轴向滑动,确保索链均匀分布在其表面。本实用新型解决了现有装置无法使索链均匀分布在收线滚筒上,导致索链缠绕、打结的技术问题。

一种风电叶片主梁、吊梁承载装置

NºPublicación:  CN223984542U 10/03/2026
Solicitante: 
三一(巴彦淖尔)风电装备有限公司
CN_223984542_U

Resumen de: CN223984542U

本申请提供风一种风电叶片主梁、吊梁承载装置,涉及的风力发电装置的技术领域。包括多个支架,多个支架依次间隔设置;多个支架包括数个第一支架和数个第二支架,至少一个第一支架位于相邻的两个第二支架之间,至少一个第二支架位于相邻的两个第一支架之间;第一支架设置有第一承载部,数个第一支架的第一承载部用于承载主梁;第二支架设置有可活动的第二承载部,第二承载部位于第一承载部的上方,数个第二支架的第二承载部用于承载吊梁。本申请通过将主梁和吊梁在垂直方向上分层存放,减少地面空间的占用,从而减少了厂房建设的成本。

一种磁悬浮矩阵风力发电塔

NºPublicación:  CN223984541U 10/03/2026
Solicitante: 
庄赞超
CN_223984541_U

Resumen de: CN223984541U

本实用新型涉及风力发电技术领域,具体涉及一种磁悬浮矩阵风力发电塔。对于本装置,通过设置:内侧壁设有第一旋转件的上连接部、底面设有第二旋转件的下连接部、设于套筒预设高度位的承重支撑部;确保套筒能够以塔筒为中心轴进行平稳转动;在此基础上,通过控制箱接收并分析:风向检测器所检测的实时风向信号,以生成并传送步进电机控制指令;通过步进电机接收步进电机控制指令,以基于旋转控制组件带动套筒的转动,直至发电圈正面朝向迎风面,以实现:风力发电效率最大化,降低发电成本。

一种导管架海绑装置

NºPublicación:  CN223982636U 10/03/2026
Solicitante: 
华电科工股份有限公司
CN_223982636_U

Resumen de: CN223982636U

本实用新型提供一种导管架海绑装置,包括支撑机构、限位机构和海绑机构,其中,支撑机构用于固定于运输驳船上,与导管架腿柱可拆卸连接;限位机构设置于支撑机构上,用于对导管架腿柱进行限位;海绑机构设置于限位机构上,通过限位机构带动海绑机构朝向靠近或远离导管架腿柱的方向移动,以实现与导管架腿柱的抱合与分离。和现有技术相比,本实用新型所公开的导管架海绑装置,可快速完成对导管架的海绑与解绑,无需进行焊接与焊接切除的工作,大大减少了导管架的施工时间,提高了导管架的施工效率。

一种发电机组轴承润滑装置

NºPublicación:  CN223984548U 10/03/2026
Solicitante: 
中电投新疆能源化工集团哈密有限公司
CN_223984548_U

Resumen de: CN223984548U

本实用新型属于轴承润滑技术领域,具体涉及一种发电机组轴承润滑装置,包括轴承座和设置于轴承座一端的端盖,所述轴承座的内圈设置有挡油环一,还包括:注入孔和排脂孔一,注入孔从端盖延伸至轴承座并贯穿与轴承本体的内部连通;排脂孔一从端盖的轴向端部向另一轴向端延伸,清洁剂以一定的压力通过注入口进入轴承本体,从排脂孔一排出老化的润滑脂,并软化难以排出已经硬化变得黏稠的润滑脂,清洁剂具有一定的润滑性,发电机组轴承持续转动的情况下,通过注入口注入新的润滑脂,并将清洁剂排出,能够在发电机轴承废脂无法正常排出且无法拆除轴承座端盖的情况下,对发电机轴承内的废脂进行更彻底地清洗,疏通油路,达到正常排脂的目的。

一种自动调节磁悬浮风力发电圈

NºPublicación:  CN223984539U 10/03/2026
Solicitante: 
凡实新能源科技(山东)有限公司
CN_223984539_U

Resumen de: CN223984539U

本实用新型涉及风力发电技术领域,具体涉及一种自动调节磁悬浮风力发电圈。对于本装置,通过风速检测器获取实时风速,并将实时风速信号传输至中央处理器,以通过中央处理器进行实时风速分析;中央处理器基于风速分析,通过对应调节转轴对发电扇叶的偏转角度进行调节;当出现微风时,发电扇叶调整至阻力最大角度,通过风力充分做功以提高发电效率;当风速发生变化时,发电扇叶偏转适宜角度,将发电效率最大化;当出现狂风时,发电扇叶调整至阻力最小角度,避免发电扇叶被狂风损坏。在提高磁悬浮风力发电设备发电效率的同时,降低设备维护成本。

风力发电装置

NºPublicación:  CN223984540U 10/03/2026
Solicitante: 
宁波高新区纯丽节能技术有限公司
CN_223984540_U

Resumen de: CN223984540U

本实用新型提供一种风力发电装置,所述风力发电装置包括有:叶轮和发电机,所述叶轮的轴线处设置有主轴,所述主轴与所述发电机的输入端连接;挡风组件,所述挡风组件设置有两个,两个所述挡风组件穿设于所述主轴且分别位于所述叶轮的两端,两个所述挡风组件之间形成所述叶轮的进风区,所述挡风组件包括有挡风板、门板和电机,所述挡风板上开设有出风口,所述门板通过电机转动连接于所述挡风板上,且所述门板盖设于所述出风口上;风速检测器,所述风速检测器设置于所述挡风板上,所述风速检测器与所述电机电连接,当风速检测器识别环境风速大于预设风速时,所述门板开启所述出风口。

一种微风发电可折叠塔架

NºPublicación:  CN223984544U 10/03/2026
Solicitante: 
威海震宇智能科技股份有限公司
CN_223984544_U

Resumen de: CN223984544U

本实用新型公开一种微风发电可折叠塔架,包括底座、折叠机构和调节杆,所述折叠机构包括下梁、上梁和分别与上梁以及下梁活动配合的支撑杆,所述支撑杆之间活动配合,所述调节杆的伸缩端设置有齿条,所述齿条啮合有齿轮,所述齿轮设置于支撑杆的一端,本实用新型,通过支撑杆作为折叠条件,可以对上梁和下梁进行堆叠,方便收纳,减少空间占用,通过调整调节杆的伸缩端长度,推动滑块,带动齿条移动,齿条带动齿轮转动,齿轮带动支撑杆翻转,将上梁撑起,可以先将所有的上梁撑起后安装发电扇叶,也可先安装上层的发电扇叶,升起上层的上梁后,再安装下层的发电扇叶,再将下层的上梁升起,安装人员不用攀高操作,降低坠落风险。

转轴及风力发电机组

NºPublicación:  CN223984676U 10/03/2026
Solicitante: 
国能黑龙江新能源有限公司
CN_223984676_U

Resumen de: CN223984676U

本申请提供转轴及风力发电机组。可用于转轴技术领域。该转轴包括多个转轴单体,多个转轴单体沿转轴单体的延伸方向依次连接;转轴单体包括主体,以及设置于主体的第一连接部和第二连接部,第一连接部和第二连接部中的至少一个能用于连接联轴器;在相邻的两个转轴单体中,其中一个转轴单体的第一连接部能与另一个转轴单体的第二连接部连接。本申请提高了转轴在运输和安装时的便捷性。

一种风电机组滑动式偏航轴承装置

NºPublicación:  CN223984549U 10/03/2026
Solicitante: 
江西大唐国际新能源有限公司
CN_223984549_U

Resumen de: CN223984549U

本实用新型涉及风电机组设备技术领域,本实用新型公开了一种风电机组滑动式偏航轴承装置,包括内圈;所述内圈的外部转动设置有外圈,所述内圈和外圈之间安装有滚动体;所述外圈的外表面固定有外齿圈盘;所述内圈的上方设置有支撑架;所述支撑架上安装有驱动装置,通过所述驱动装置可驱动支撑架和内圈同步进行转动;该风电机组滑动式偏航轴承装置,通过机械结构设计来实现对内圈的锁定,这种设计避免了阻动液体因长期使用而变质的问题,确保了轴承上圈的稳定性和阻动性能,即使在恶劣的环境条件下也能保持良好的工作状态,避免了阻动液体带来的额外阻力,齿轮减速电机在运转时减少了过热的风险,还延长了齿轮减速电机的使用寿命。

一种基于载荷预测前馈补偿的风力机变桨控制方法

NºPublicación:  CN121630641A 10/03/2026
Solicitante: 
内蒙古工业大学
CN_121630641_PA

Resumen de: CN121630641A

本发明属于风力发电控制技术领域,涉及到一种基于载荷预测前馈补偿的风力机变桨控制方法,其首先分析风速与载荷信号的频谱,依据离散峰值检测、互功率谱及能量比,区分当前所受干扰为周期性载荷干扰或瞬时载荷干扰;然后解析风轮轴侧向能量比及多频带能量分布,以确定周期性载荷干扰的方向或瞬时载荷干扰的强度变化幅值;据此生成对应前馈补偿信号:对周期性载荷干扰,生成同步反向的正弦补偿信号;对瞬时载荷干扰,生成与其强度变化幅值成正比的滤波补偿信号;最后,将经限幅与限速率处理的前馈信号与功率反馈信号融合,输出集成桨距角指令;本发明通过对载荷类型的区分与对应补偿,提升了变桨系统对复杂载荷的主动抑制能力。

基于机器学习的风电机组深度自诊断方法及装置

NºPublicación:  CN121637454A 10/03/2026
Solicitante: 
深圳前海慧联科技发展有限公司
CN_121637454_PA

Resumen de: CN121637454A

本申请实施例提供一种基于机器学习的风电机组深度自诊断方法及装置,方法包括:通过将风电机组整体结构划分为结构部件和相关空间,并从整体结构中采集多物理场传感器数据,将风电机组的结构部件离散化为多个有限单元,并将相关空间定义为连接有限单元的节点,构建对应的风电机组网络拓扑结构,基于网络拓扑结构为有限单元建立对应的物理场控制方程,确定对应的全局耦合方程组,并采用数值方法求解全局耦合方程组,确定对应的物理响应数据,将实时多物理场传感器数据和实时物理响应数据输入设定混合学习模型中进行无监督和有监督混合学习,以确定风电机组的生命周期预测结果,本申请能够提高风力发电机组故障诊断和预测的准确性和效率。

基于模糊控制的风电机组自适应控制方法、装置及设备

NºPublicación:  CN121630639A 10/03/2026
Solicitante: 
中车株洲电力机车研究所有限公司
CN_121630639_PA

Resumen de: CN121630639A

本发明公开一种基于模糊控制的风电机组自适应控制方法、装置及设备,该方法步骤包括:步骤S01.获取被控机组运行过程中的运行参数以及环境参数;步骤S02.根据被控机组运行过程中的运行参数以及环境参数估算当前风速;步骤S03.根据估算的当前风速计算实时湍流强度;步骤S04.判断实时湍流强度是否达到预设湍流条件;步骤S05.如果实时湍流强度达到预设湍流条件,根据实时湍流强度基于模糊控制进行降功率调度,以按照模糊控制得到的输出功率控制被控机组降功率运行。本发明能够在不增加风力发电机组叶片、轮毂极限载荷的前提下,提升机组在复杂、大湍流地形环境下的运行稳定性,确保机组安全运行,减少机组发电量损失。

一种风力发电机组轮毂内部件更换系统及其使用方法

NºPublicación:  CN121630660A 10/03/2026
Solicitante: 
东方电气新能科技(成都)有限公司
CN_121630660_PA

Resumen de: CN121630660A

本发明公开了一种风力发电机组轮毂内部件更换系统及其使用方法,属于风力发电机组工装领域。该系统包括支撑架和平台;支撑架一端设有螺套,用于套接并锁紧连接螺栓上;平台设置于支撑架另一端,用于安装卷扬机等起重设备。方法包括:在连接螺栓上安装支撑架并搭建平台;在平台上安装卷扬机;在轮毂上部内壁或外壁设置带定滑轮的固定锚点;通过卷扬机钢丝绳绕过定滑轮垂直吊装部件。本发明利用轮毂内部现有高强度螺栓作为承力基础,构建内部作业与起重系统,实现了变桨齿轮箱等核心部件的免拆风轮更换。摆脱了对大型外部起重机的依赖,具有作业成本低、周期短、安全性高、不受外部场地环境限制以及工装模块化、通用性强等优点。

风力发电机的分段叶片及风力发电机

NºPublicación:  CN121630633A 10/03/2026
Solicitante: 
远景能源有限公司
CN_121630633_PA

Resumen de: CN121630633A

本申请公开了一种风力发电机的分段叶片及风力发电机,其中,风力发电机的分段叶片包括通过连接结构连接的第一叶片段和第二叶片段,连接结构包括第一预埋件、第二预埋件、拉紧件和楔形块,第一预埋件设于第一叶片段的连接端内;第二预埋件包括连接的预埋段和盒体,预埋段设于第二叶片段的连接端内;盒体伸出第二叶片段的连接端,盒体内设有容纳空腔;楔形块可拆卸的设于容纳空腔内,楔形块具有与承压端抵接的第一倾斜面;在楔形块设于容纳空腔内时,第一倾斜面与承压端抵接,且第一倾斜面对承压端施加朝向背离第一预埋件方向的预紧力。本申请提供的技术方案,可以确保连接结构在复杂载荷环境下仍能长期维持极高的连接刚度和紧固性。

用于在离网状态期间提供风力涡轮的齿轮箱润滑的系统和方法

NºPublicación:  CN121630662A 10/03/2026
Solicitante: 
通用电气维诺瓦基础设施技术有限责任公司
CN_121630662_PA

Resumen de: US20260063112A1

A method for providing gearbox lubrication of a wind turbine during an off-grid state includes fluidly coupling an auxiliary lubrication system with a gearbox of the wind turbine. The off-grid state is characterized in that the wind turbine is mechanically and electrically installed at a wind farm but not yet connected to a grid. The method also includes determining a time-based control scheme for the auxiliary lubrication system to provide lubrication to the auxiliary lubrication system during the off-grid state. The time-based control scheme is defined a first time period in which the lubrication is provided to the gearbox via the auxiliary lubrication system during the off-grid state and a second time period in which the lubrication is not provided to the gearbox via the auxiliary lubrication system during the off-grid state. The first time period is less than the second time period. Further, the method includes implementing, via a controller, the control scheme for the auxiliary lubrication system to provide the lubrication to the gearbox of the wind turbine during the off-grid state.

分片式塔架的组拼方法

NºPublicación:  CN121630644A 10/03/2026
Solicitante: 
北京金风慧能技术有限公司
CN_121630644_PA

Resumen de: CN121630644A

本公开提供一种分片式塔架的组拼方法,适用于分片式塔架,分片式塔架包括第一塔架分片和第二塔架分片,分片式塔架的组拼方法采用分片式塔架组拼装置,分片式塔架组拼装置包括机架和连接于机架的回转支撑,回转支撑包括塔架分片连接部和移动支撑组件,塔架分片连接部可转动地连接于移动支撑组件以带动塔架分片旋转,移动支撑组件活动地连接于机架上,以带动塔架分片移动,分片式塔架的组拼方法包括如下步骤:将第一塔架分片连接于塔架分片连接部;驱动塔架分片连接部相对于移动支撑组件转动,以带动第一塔架分片旋转至第一预定角度;将第一塔架分片锁定于第一预定角度,以在第一预定角度下与第二塔架分片组拼在一起。

基于时间邻近图的风电机组异常数据检测方法及评估方法

NºPublicación:  CN121637364A 10/03/2026
Solicitante: 
中国石油大学(华东)
CN_121637364_PA

Resumen de: CN121637364A

本发明公开基于时间邻近图的风电机组异常数据检测方法及评估方法。方法包括:针对风电机组时序数据,通过构建时间邻近图建模数据点间的时间邻近关系;构建图注意力自编码器模块,利用时间邻近图图结构信息对节点特征进行编码和重构;构建基于长短期记忆人工神经网络的评分网络模块,将评分网络模块与图注意力自编码器连接,通过联合训练使模型同步学习数据重构和异常评分,利用构建的评分网络模块和图注意力自编码器对异常数据进行检测。评估方法利用基于时间邻近图的风电机组异常数据检测方法和第二方法分别识别待测数据中的异常点;将清洗后的两组数据分别分为多个数据集合,利用预测模型进行性能验证;比较检测异常数据的有效性。

一种海上风电阻尼器参数智能优化设计方法

NºPublicación:  CN121637696A 10/03/2026
Solicitante: 
天津山江德润科技有限公司
CN_121637696_PA

Resumen de: CN121637696A

本发明涉及风力发电设备阻尼器的结构参数智能优化技术领域,且公开了一种海上风电阻尼器参数智能优化设计方法。以阻尼系数、刚度系数、活塞行程构成参数向量并设上下界,按谐波序号记录输入幅值、频率与初相位,建立多谐波激励。将装置等效为单自由度,计算各阶稳态幅值与相位差并形成频率—幅值映射;设统一目标幅值并受行程约束,构建基于全阶偏差平方的频域度量;对该度量求阻尼和刚度梯度成向量,结合最小步距与阈值实施更新、边界与行程投影、闭式修正及共振排斥,并以公差定义最小可辨变化与收敛;对超限阶次重算步长与投影,必要时下调目标;最终经逐阶能量平衡校核,输出最优阻尼、刚度及行程记载值与全阶响应表。

基于异频耦合的风浪能多自由度宽频带控制方法

NºPublicación:  CN121634864A 10/03/2026
Solicitante: 
中国海洋大学
CN_121634864_PA

Resumen de: CN121634864A

本发明属于海洋可再生能源综合利用技术领域,尤其是一种基于异频耦合的风浪能多自由度宽频带控制方法,包括:对风浪环境特征进行频域识别,构建风浪异频能量耦合模型;基于多自由度浮式平台的运动响应特性,设计异频能量调控与转换机制;采用全工况动态优化控制策略,实现风能转换单元与波能转换单元的协同运行与能量流自适应分配。本发明针对风能与波浪能在频率特性、时间尺度及空间分布上的显著差异与关联性,建立异频风浪耦合动力学模型,通过多自由度运动解耦与状态观测,在复杂海况下实现低频风致与高频波致耦合能量的宽频带捕获,有效提升系统的能量利用率、姿态稳定性及结构安全性,具备良好的鲁棒性与工程适应性。

一种风力发电机组构架式塔架主管与支管连接结构及施工方法

NºPublicación:  CN121630646A 10/03/2026
Solicitante: 
华能陕西吴起发电有限公司西安热工研究院有限公司
CN_121630646_PA

Resumen de: CN121630646A

本发明公开了一种风力发电机组构架式塔架主管与支管连接结构及施工方法,包括主管、第一管片、第二管片、第三管片、第一支管、上法兰、下法兰和第二支管;施工时,在工厂完成第一管片、第二管片和第三管片之间的焊接,然后完成第一管片、第二管片、第三管片与主管之间的焊接,接着完成第一支管与第一管片、第三管片之间的焊接,然后完成上法兰与第一支管之间的焊接以及下法兰与第二支管之间的焊接,最后将所有构件运输至现场安装,上法兰与下法兰之间通过若干紧固件连接。现有技术相比,本发明具有用钢量省、抗疲劳优、施工方便、维护简单、适应性强等优点。

一种带有空气引射器的联合水下储能系统

NºPublicación:  CN121643265A 10/03/2026
Solicitante: 
大连海事大学
CN_121643265_PA

Resumen de: CN121643265A

本发明公开了一种带有空气引射器的联合水下储能系统,包括水下压缩空气储能子系统、深海混凝土球电池子系统、单向阀和空气引射器;所述空气引射器的工作流体入口与水下压缩空气储能子系统的膨胀机的气体出口连接,空气引射器的出口直接与外界大气环境连接;所述单向阀的出口经排气管路与空气引射器的引射流体入口连接,单向阀的入口与深海混凝土球电池子系统的排气口连接。本发明利用水下压缩空气储能子系统膨胀机运行时未被使用的高压空气作为空气引射器的工作流体,引射深海混凝土球电池子系统舱室内的残余气体形成真空环境,从而使深海混凝土球电池系统在储能阶段获得更高的真空度,提升其能量利用效率和储能效率。

一种风电塔筒的风机运行参数检测方法及装置

NºPublicación:  CN121630653A 10/03/2026
Solicitante: 
中国电力工程顾问集团有限公司中国海洋大学
CN_121630653_PA

Resumen de: CN121630653A

本发明涉及风机检测技术领域,尤其涉及一种风电塔筒的风机运行参数检测方法及装置,包括:基于部署于风电塔筒上的图像采集设备在风机运行过程中持续采集到的风机叶片图像,得到与图像采集设备距离最近的目标风机叶片的中轴线方程;基于多帧风机叶片图像对应的目标风机叶片的中轴线方程,得到风机的轮毂中心坐标;基于轮毂中心坐标和目标风机叶片的轮廓方程,得到目标风机叶片旋转角度的最大值和最小值;基于旋转角度的最大值和最小值,得到风机的偏航角;基于多帧风机叶片图像中出现旋转角度的最大值的间隔时间,得到风机的转速。上述技术方案能够打破固有的对风机叶片图像完整性的要求,提高风机运行参数检测的灵活性与准确性。

一种双模态风致振动取能装置、传感器节点和监测设备

NºPublicación:  CN121643526A 10/03/2026
Solicitante: 
中国电力科学研究院有限公司国网湖北省电力有限公司电力科学研究院重庆大学
CN_121643526_PA

Resumen de: CN121643526A

本发明公开了一种双模态风致振动取能装置,属于能量收集技术领域。该装置由压电复合梁、钝体、连接部件和底座构成,压电复合梁的一端固定于底座,另一端与连接部件相连,钝体通过转轴安装于连接部件的凹槽内,可在风力作用下绕其转轴旋转。钝体由转轴及至少三个导流部件组成,导流部件的大小和形状可不同,钝体可为偏心结构,从而在旋转时产生离心力。工作时,气动力与钝体旋转所产生的离心力共同作用于压电复合梁,使其发生双模态风致振动,进而在压电层电极间形成交变电势差,实现风能到电能的转换。本发明能够显著扩大装置的工作风速范围,通过偏心旋转和导流增强作用提高振动幅度和输出功率,适用于长期运行的野外监测设备供电。

用于在离网状态期间获取风力涡轮的能量的系统和方法

NºPublicación:  CN121630642A 10/03/2026
Solicitante: 
通用电气维诺瓦基础设施技术有限责任公司
CN_121630642_PA

Resumen de: US20260063107A1

A method for harvesting energy from one or more internal energy sources of a wind turbine of a wind farm during an off-grid state includes collecting energy from the one or more internal energy sources locally at the wind turbine during the off-grid state. The off-grid state is characterized in that the wind turbine is mechanically and electrically installed at the wind farm but not yet connected to a grid. The method further includes storing at least a portion of the energy in one or more energy storage devices locally at the wind turbine or the wind farm during the off-grid state. Moreover, the method includes using the energy to periodically power one or more electrical power systems used for idle operation or maintenance tasks of the wind turbine during the off-grid state.

一种风机转子滑环清洁维护装置

NºPublicación:  CN121630661A 10/03/2026
Solicitante: 
中国华电科工集团有限公司北京华科恒基数智科技有限公司
CN_121630661_PA

Resumen de: CN121630661A

本发明涉及风电机组维护技术领域,具体涉及一种风机转子滑环清洁维护装置,包括:安装框架,其包括相对设置的第一转盘和第二转盘,以及连接第一转盘与第二转盘的多个支撑件,多个支撑件围设形成维护空间;拆卸机构,其包括滑动组件和拆卸组件,滑动组件滑动安装在支撑件上,拆卸组件包括旋转驱动件和拆卸件,拆卸件安装在旋转驱动件的驱动端;清洗机构,其包括轨道组件和清洁组件,清洁组件安装在轨道组件上并朝向空间延伸。通过将拆卸机构与清洗机构安装在维护空间内,滑动组件与轨道组件分别带动拆卸件和清洁组件在维护空间内定位与灵活移动,使得装置能够在不移动风机本体的前提下完成全部清洁维护工序,提升作业连续性和维护效率。

桩基冲刷监测与图像采集一体化装置

NºPublicación:  CN121629972A 10/03/2026
Solicitante: 
华北水利水电大学
CN_121629972_PA

Resumen de: CN121629972A

本发明涉及海上风电工程结构安全监测技术领域,具体涉及一种集成单波束测探、无人摄影潜水器、浊度自适应光照调节、模块化快速部署及自动清洁功能的海上风力发电机桩基冲刷检测装置,尤其适用于复杂海洋环境下桩基冲刷深度精准测量与冲刷坑图像高清采集的一体化监测系统。装置包括桩基础、快装式模块化平台结构及监测设备。快装式模块化平台结构由设备承载模块和桩体固定模块构成,桩体固定模块在桩基础上自适应抱紧,设备承载模块装载起吊装置,起吊绳尾端装无人潜水器。监测设备含浊度传感器、摄像头及单波束探测仪,单波束探测仪沿桩基础周向扫描获初始冲刷深度数据,无人潜水器下潜拍高清图像,数据融合后生成冲刷坑形态分析报告。

用于漂浮式风机的基础装置、风电机组及控制方法

NºPublicación:  CN121630650A 10/03/2026
Solicitante: 
中车启航新能源技术有限公司
CN_121630650_PA

Resumen de: CN121630650A

本发明涉及风电领域,提供一种用于漂浮式风机的基础装置、风电机组及控制方法。用于漂浮式风机的基础装置包括底座;塔架,安装于底座,塔架用于安装风机组件;推进器,安装于底座并与风机组件的测风机构电连接,推进器适于基于测风机构的测风数据调整底座的位姿。该用于漂浮式风机的基础装置能够实时根据测风数据调整底座的位姿,确保风机组件始终处于最佳迎风角度;有助于最大化捕获风能,提高风机的发电效率和整体运行性能;能够在不同海洋条件下保持稳定运行,显著增强了其对复杂环境的适应能力;优化风能捕获效率,有助于减少因风浪等自然因素引起的结构振动和疲劳载荷,延长风机及其支撑结构的使用寿命,提高了整个系统的稳定性和安全性。

一种风力发电机组腐蚀状态监测系统及防护方法

NºPublicación:  CN121633231A 10/03/2026
Solicitante: 
中国计量大学国网新疆电力有限公司昌吉供电公司
CN_121633231_PA

Resumen de: CN121633231A

本申请公开了一种风力发电机组腐蚀状态监测系统及防护方法,涉及风力发电设备腐蚀监测技术领域,所述系统包括:传感器模块,用于实时采集并输出多源腐蚀数据;所述传感器模块包括盐雾传感器、参比电极和温湿度传感器;数据处理模块,与传感器模块通信连接,且内置有腐蚀分析算法,用于接收并存储多源腐蚀数据,并基于腐蚀分析算法对多源腐蚀数据进行融合分析,计算得到当前腐蚀速率,并预测关键部件的剩余防护寿命;决策输出模块,与数据处理模块连接,用于根据当前腐蚀速率和预测的关键部件的剩余防护寿命,生成对应的腐蚀风险评估报告或输出对应的维护指令。本发明具有实现多参数协同监测和实时数据分析、提高腐蚀防护精准性的优点。

塔筒结构、风电塔筒及风电塔

NºPublicación:  CN121630648A 10/03/2026
Solicitante: 
深圳国金电力新能设计院有限公司
CN_121630648_PA

Resumen de: CN121630648A

本发明提出一种塔筒结构、风电塔筒及风电塔,包括塔筒主体和设置在塔筒主体内部的钢筋结构,钢筋结构包括钢筋网,钢筋网的数量为一个。本发明提出的塔筒结构、风电塔筒及风电塔,在塔筒主体内部设置数量为一个的钢筋网确保塔筒结构的结构强度,一方面能够减少甚至避免塔筒主体内部形成空洞或薄弱区的情况,并且,使得钢筋绑扎难度降低、效率提高、准确性提高,从而提高塔筒结构的结构耐久性和安全性,提高塔筒结构的生产质量和生产效率,另一方面能够减小塔筒主体的壁厚、混凝土用量、钢筋用量及自身重量,从而能够降低塔筒结构的自振频率,降低将塔筒结构的自振频率调节到预定范围内的难度,并且降低塔筒主体的生产成本、运输成本及装配难度。

山地果园自发电自补给智能水肥管理系统、方法及设备

NºPublicación:  CN121621103A 10/03/2026
Solicitante: 
北京派得伟业科技发展有限公司农芯科技(天津)有限责任公司北京市农林科学院信息技术研究中心
CN_121621103_PA

Resumen de: CN121621103A

本发明提供一种山地果园自发电自补给智能水肥管理系统、方法及设备,涉及山地果园水肥管理技术领域,用以解决现有技术中对于山地果园的发展,存在水资源匮乏,果园管理难度较大的缺陷。包括:水收集装置、集水池、果园供水装置、发电装置和控制装置;水收集装置与集水池机械连接,果园供水装置与集水池机械连接,发电装置与果园供水装置电连接,水收集装置、果园供水装置和发电装置均与控制装置电连接;水收集装置,用于收集雨水,并将雨水储存在集水池中;果园供水装置,用于通过集水池中的水灌溉山地果园;发电装置,用于将风能和/或太阳能转化为电能,电能用于驱动果园供水装置;控制装置,用于控制水收集装置、果园供水装置和发电装置。

一种基于毫米波雷达技术的在线风机叶片不平衡检测方法和系统

NºPublicación:  CN121630658A 10/03/2026
Solicitante: 
华北水利水电大学
CN_121630658_PA

Resumen de: CN121630658A

本发明提供了一种基于毫米波雷达阵列的在线风机叶片不平衡检测方法与系统。在塔筒外壁竖直布置雷达阵列,通过非接触方式实时测量叶片。核心方法在于分析同一周期内叶片间的相对变形差,构建平均与最大变形量指标,并与阈值比较,实现故障诊断与定位。系统采用二级判定策略:先综合单周期内多个雷达数据判断短期异常,再基于连续多个转动周期内的异常频次区分瞬时干扰与真实故障。本发明实现了在线、实时、高精度的叶片状态监测,具有环境适应性强、抗干扰能力优异、预警机制完善、维护成本低等优势,为风力发电机组的安全稳定运行提供了可靠保障。该方法环境适应性强,抗干扰好,可在线、高精度监测叶片状态,保障机组安全稳定运行。

一种风电机组扭矩控制方法、装置、设备及介质

NºPublicación:  CN121630640A 10/03/2026
Solicitante: 
运达能源科技集团股份有限公司
CN_121630640_A

Resumen de: CN121630640A

本申请公开了一种风电机组扭矩控制方法、装置、设备及介质,涉及风电技术领域,包括:采集目标风电机组的变桨扭矩数据,并根据预设滑动窗口对变桨扭矩数据进行平滑处理;基于得到的处理后变桨扭矩数据计算目标风电机组各桨叶的累计平均值,并根据累计平均值确定各桨叶间的差异范数;通过目标阈值动态耦合模型基于自身的模型参数以及目标风电机组当前的设备参数计算目标风电机组当前的目标阈值;对比差异范数及目标阈值,以根据对比结果确定是否进行故障预警,若进行故障预警,则识别目标风电机组的故障类型;根据故障类型生成相应的扭矩控制指令,以便目标风电机组通过执行扭矩控制指令进行扭矩调整。由此,可使风电机组扭矩控制更加精确。

一种电气设备的运行安全监测机构

NºPublicación:  CN121630654A 10/03/2026
Solicitante: 
天津大学
CN_121630654_PA

Resumen de: CN121630654A

本发明公开一种电气设备的运行安全监测机构,涉及电气设备监测技术领域,包括基座、塔身、机舱及轮毂,轮毂与机舱内主轴连接并装有三根风叶,机舱内设有对称分布的弧形滑轨,U型滑板沿其滑动并装有一对监测传感器模块,用于对轮毂与主轴连接处进行监测。U型卡轨间通过联动皮带驱动U型支架往复运动,经限位组件带动U型滑板沿弧形轨迹移动,实现对连接处的动态扫描。监测传感器模块集成振动、应力及温度补偿单元,结合数据处理模块与后台监控模块,构建完整监测体系,具备实时采集、动态预警与历史追溯功能,为设备状态评估与故障诊断提供可靠支持。

一种风力发电机组

NºPublicación:  CN121630643A 10/03/2026
Solicitante: 
中国华能集团清洁能源技术研究院有限公司华能广东汕头海上风电有限责任公司华能(广东)能源开发有限公司华能海上风电科学技术研究有限公司
CN_121630643_PA

Resumen de: CN121630643A

本发明提供了一种风力发电机组,涉及风力发电技术领域,该风力发电机组通过设置具有竖向导向结构的托梁组件,使发电机舱可沿塔筒轴向升降,并在升降至预定运行高度后通过锁紧装置形成刚性支撑,结合偏航转台实现整机偏航功能,不仅显著增大了风轮旋转平面与塔筒之间的距离,有效降低叶片扫塔风险,而且能够在台风来临前将发电机舱下降至低位并锁定,大幅降低结构重心和风载受力,提升极端工况下的安全性;同时,升降式设计使得风力发电机组可在低高度完成部件安装与维护作业,简化海上施工流程,减少对大型吊装船舶的依赖,提高安装与运维效率,降低全生命周期成本。

塔筒结构与风机系统

NºPublicación:  CN121630649A 10/03/2026
Solicitante: 
中国华电科工集团有限公司华电中光新能源技术有限公司
CN_121630649_PA

Resumen de: CN121630649A

本发明涉及风电塔筒技术领域,公开了一种塔筒结构与风机系统。该塔筒结构用于风机系统,包括分节塔筒和连接件,分节塔筒包括塔筒件与多个纵向加劲肋,多个纵向加劲肋沿塔筒件的周向间隔设置于塔筒件的内壁,分节塔筒为多个,至少两个分节塔筒依次连接形成分段塔筒,分段塔筒为至少两个;相邻两个分段塔筒通过连接件连接。本发明通过在塔筒件内壁设置纵向加劲肋提高分节塔筒的结构强度,有利于减小塔筒件的厚度,节省塔筒结构的制作和安装成本。

随风向改变受力面大小的风力发电机叶片

NºPublicación:  CN121630635A 10/03/2026
Solicitante: 
谭绵柳
CN_121630635_A

Resumen de: CN121630635A

本发明是一种风力发电机叶片,该叶片能随风向改变受力面的大小。适用于垂直轴风力发电机,叶片是属于阻力型叶片,靠风的推力做功,在叶片的旋转方向与风向一致时,即顺风时,叶片是展开的,叶片受力面积最大,此时风的推力是做功,叶片能接收最大的风能;当叶片旋转方向与风向相反时,即逆风时,风的推力成为阻力,此时叶片收缩或者合拢,使叶片受力面积变小,叶片受到的阻力最小。采用本发明的风力发电机,由于叶片的受力面积的变化,使得叶片能最大限度的接收风能,风能转化率高,可以有效的提高垂直轴阻力型风力发电机的单机功率。

一种面向新能源风电的无人机精准定位喷洒除冰方法

NºPublicación:  CN121630659A 10/03/2026
Solicitante: 
上海电力大学
CN_121630659_PA

Resumen de: CN121630659A

本发明涉及一种面向新能源风电的无人机精准定位喷洒除冰方法,方法包括以下步骤:S1:地面站启动无人机;S2:加载风机三维点云地图,规划初步路径;S3:得到初步新能源风电叶片路径;S4:得到避障路径;S5:基于叶片旋转动力学模型,通过模型预测控制调整到达初步位置的无人机的速度与安全距离;S6:无人机采集叶片数据;S7:当无人机采集的叶片数据中的风机叶片覆冰厚度超过阈值时,无人机除冰;S8:实时监测无人机数据。与现有技术相比,本发明具有实现极端环境下风机叶片的高效、安全、低耗除等优点。

一种山区复杂环境下的无人机电力巡检系统及方法

NºPublicación:  CN121643866A 10/03/2026
Solicitante: 
普宙科技有限公司
CN_121643866_PA

Resumen de: CN121643866A

本发明公开了一种山区复杂环境下的无人机电力巡检系统及方法,其包括:无人机,其用于按照巡检路线在预定巡检区域内飞行;若干个自组网节点,且至少一组自组网节点设置于巡检区域内的山体上、海拔高度大于或等于预设值处;无人机机库,其用于停放无人机,且与至少一个自组网节点无线连接;以及监控端,其与所述无人机机库有线/无线连接。本发明具备MESH组网功能,不需要中心网关,可实现在无电、无网、多山头区域的精细化、跨山头式自动巡检。

一种海上风电耦合高温共电解制备合成气的系统及方法

NºPublicación:  CN121629422A 10/03/2026
Solicitante: 
南方电网能源发展研究院有限责任公司
CN_121629422_PA

Resumen de: CN121629422A

本发明提供一种海上风电耦合高温共电解制备合成气的系统及方法,所述系统包括海上风力发电机组,用于将风能转化为电能,为所述高温共电解反应装置,碳捕集装置和预处理锅炉提供运行所需的电能;碳捕集装置,用于从外部环境中捕集二氧化碳,并将其输送至高温共电解反应装置;预处理锅炉,用于将海水淡化为纯净水,并加热所述纯净水为水蒸气后输送至高温共电解反应装置;高温共电解反应装置,其包含至少一个高温共电解反应容器,用于在电能的驱动下,将所述二氧化碳和水蒸气转化为合成气。所述系统和方法实现了海上风电的高效消纳,降低了弃风弃电率。

一种光伏风能互补发电装置

NºPublicación:  CN121643590A 10/03/2026
Solicitante: 
贵州金源之光科技有限公司
CN_121643590_PA

Resumen de: CN121643590A

本发明涉及光伏发电技术领域,尤其涉及一种光伏风能互补发电装置,本发明包括架体,设置在架体内的风力发电驱动杆,转动设置在风力发电驱动杆顶部的转动座,以及铰接在转动座上的光伏板:还包括:设置在风力发电驱动杆上,用于调节光伏板放置角度的牵引组件,牵引组件包括对称铰接在风力发电驱动杆上的配重块,光伏板的底部设置有两个用于光伏板支撑的弹簧,光伏板的底部设置有一个用于光伏板牵引的牵引绳,且牵引绳穿过风力发电驱动杆的一端设置在配重块上,风力发电驱动杆转动速度超过恒定速度时,配重块通过牵引绳牵引光伏板的角度改变,保障了光伏板的使用,避免了风力较大,导致光伏板损坏。

一种风电机组检测探伤机器人及其检修方法

NºPublicación:  CN121630657A 10/03/2026
Solicitante: 
河北华电冀北新能源有限公司
CN_121630657_PA

Resumen de: CN121630657A

本发明公开了一种风电机组检测探伤机器人及其检修方法,包括磁吸爬壁机器人,所述磁吸爬壁机器人上安装有抬升机构,抬升机构上安装有测绘探伤机构,测绘探伤机构对风电机组塔筒表面的涂层和焊缝进行检测;所述测绘探伤机构包括检测座,检测座内部左右两侧安装有高清相机,检测座底部固定连接有板体,板体左右两侧安装有照明灯。本发明具备灵活性好的优点,解决了现有的风电机组检测探伤机器人在使用的过程中灵活性较差,不便于对检测范围进行灵活调节,风电塔筒表面结构复杂,若机器人无法灵活调整探头高度、角度或距离,则难以对关键区域进行有效扫描,导致缺陷漏检率升高的问题。

一种风电机组的除锈喷涂机器人及其方法

NºPublicación:  CN121626314A 10/03/2026
Solicitante: 
河北华电冀北新能源有限公司
CN_121626314_PA

Resumen de: CN121626314A

本发明公开了一种风电机组的除锈喷涂机器人及其方法,包括爬壁机器人,所述爬壁机器人顶部安装有喷砂除锈机构和涂料喷涂机构,喷砂除锈机构对风电机组塔筒表面进行除锈,涂料喷涂机构对除锈后的位置进行喷涂,所述爬壁机器人底部安装有负压回收机构,负压回收机构对除锈和喷涂过程中飘散的污染物进行收集;所述喷砂除锈机构包括砂罐,砂罐上安装有空压机、控制阀和砂料喷头。本发明具备安全高效的优点,解决了现有的风电机组在进行塔筒除锈喷漆时,人工除锈喷涂易发生坠落事故,降低了安全性,爬壁式机器人需要单独安装除锈和喷涂机构,工作效率较低,并且增加了维护成本的问题。

风机故障检测方法、装置、电子设备、存储介质及程序产品

NºPublicación:  CN121630651A 10/03/2026
Solicitante: 
国家能源投资集团有限责任公司北京低碳清洁能源研究院国华(栖霞)风力发电有限公司
CN_121630651_PA

Resumen de: CN121630651A

本公开涉及一种风机故障检测方法、装置、电子设备、存储介质及程序产品;风机故障检测方法,包括:获取风力发电机对应的目标声音信号,所述目标声音信号与所述风力发电机的叶片螺栓掉落故障相关;确定所述目标声音信号对应的倒频谱;对所述目标声音信号进行周期性分析,得到信号分析结果,所述信号分析结果用于表征所述目标声音信号是否为满足预设条件的周期信号;根据所述目标声音信号对应的倒频谱和所述信号分析结果,确定所述叶片的螺栓掉落故障检测结果。该风机故障检测方法、装置、电子设备、存储介质及程序产品,能够实现有效且准确的风力发电机的叶片螺栓掉落故障检测。

一种用于风机叶片裂纹损伤监测的光纤布设间距确定方法

NºPublicación:  CN121637729A 10/03/2026
Solicitante: 
华北电力大学(保定)
CN_121637729_PA

Resumen de: CN121637729A

本发明公开了一种用于风机叶片裂纹损伤监测的光纤布设间距确定方法。该方法包括:首先建立风机叶片流固耦合仿真分析模型,在流场中计算出叶片工作过程中的风压载荷,将风压载荷耦合至结构场,在结构场建立带有裂纹损伤的叶片模型,并在叶片模型上建立光纤路径,通过有限元分析获取工作状态下裂纹叶片的应变分布以及光纤路径上的应变数据;其次改变模型的裂纹长度、裂纹尖端与光纤路径的距离,进行多次有限元仿真,提取应变数据,分析不同裂纹长度、不同光纤路径对于光纤应变大小影响的规律;最后建立光纤应变峰值与裂纹长度、光纤布设间距之间的关系模型,利用该关系模型进一步确定最优光纤布设间距。本发明建立的关系模型为风机叶片上的光纤布设间距的确定提供理论支撑,有助于在实际中优化成本和运维效率。

一种风力发电机热管理系统及方法

NºPublicación:  CN121637844A 10/03/2026
Solicitante: 
湖南理工职业技术学院
CN_121637844_PA

Resumen de: CN121637844A

本发明涉及风力发电机控制技术领域,尤其涉及一种风力发电机热管理系统及方法,包括数据采集层、预测模块、数字孪生模型、智能控制与诊断引擎以及散热执行机构;相对于现有技术主要采用基于实时温度阈值的开环或简单反馈控制方案,存在响应滞后的问题,且各散热部件往往独立工作缺乏协同,导致能效较低;本发明采用基于数字孪生模型的闭环智能热管理方案,通过构建发电机热系统的虚拟映射进行实时仿真与未来状态预测,使得控制系统能够依据仿真结果主动且协同地管理所有散热资源;具有化被动为主动的核心优点,它能够在热量过度累积前提前干预,实现系统各部分的协同最优控制,从而显著提升热管理的精准性、及时性和整体能效。

基于轮毂载荷湍流评估的风电机组自适应控制方法及装置

NºPublicación:  CN121630638A 10/03/2026
Solicitante: 
中车株洲电力机车研究所有限公司
CN_121630638_A

Resumen de: CN121630638A

本发明公开一种基于轮毂载荷湍流评估的风电机组自适应控制方法及装置,该方法步骤包括:步骤S01.获取被控风机所处环境的实时风速数据以及被控风机的实时载荷数据;步骤S02.根据被控风机的实时载荷数据转换得到实时Myz轮毂载荷值;步骤S03.根据实时Myz轮毂载荷值评估当前湍流强度状态;步骤S04.根据当前湍流强度状态评估结果以及实时风速数据控制被控风机的运行模式,其中如果评估当前湍流强度状态为异常状态且风速达到指定风速条件,控制被控风机进行降功降速动作。本发明通过基于轮毂载荷实时评估的湍流强度状态实现风电机组的自适应控制,能够保障风机的安全、稳定、高效运行,降低机组轮毂疲劳载荷,提升机组寿命。

翼梁帽、用于制造风力涡轮机转子叶片的半壳体的装置、包括模具和翼梁帽的组件及制造风力涡轮机转子叶片的半壳体的方法

NºPublicación:  CN121630632A 10/03/2026
Solicitante: 
德国恩德布雷德技术中心有限公司恩德能源欧洲股份两合公司
CN_121630632_PA

Resumen de: US20260063103A1

A spar cap is for a wind turbine rotor blade. The spar cap includes a stack of fiber material layers, which are stacked in a stacking direction from a bottom face to a top face, and a clipping layer which is arranged on the top face of the stack. The clipping layer protrudes beyond the stack of fiber material layers in a lateral direction which is perpendicular to the stacking direction. A set is for manufacturing a half shell of a wind turbine rotor blade. An assembly includes a spar cap and a mold. A method is for manufacturing a half shell of a wind turbine rotor blade.

一种随风转向的风力发电装置

NºPublicación:  CN121630647A 10/03/2026
Solicitante: 
其厚智储(兴化)科技有限公司
CN_121630647_PA

Resumen de: CN121630647A

本发明属于风力发电机技术领域,具体的说是一种随风转向的风力发电装置,包括安装杆,安装杆的上方插设有连接杆,连接杆的顶端转动连接有机体,机体的转轴端部安装有连接头,连接头的外侧等间距转动连接有多个叶片,机体远离连接头的一端固定有两组连接座,连接座的内部转动连接有风向板,风向板与机体的轴线之间为15°夹角;其中,当风向板与机体的轴线夹角为0°时,连接杆缩入安装杆内部;通过第一电机转动带动螺纹杆转动,可使螺纹杆带动连接杆在安装杆的内部升降,从而使连接杆能够带动机体调节位置,使极端天气下降低机体的高度,实现对机体的防护。

一种实时检测并修正风电机组原始数据错误的方法、系统、设备及介质

NºPublicación:  CN121636482A 10/03/2026
Solicitante: 
华电(浙江)新能源有限公司
CN_121636482_PA

Resumen de: CN121636482A

本发明公开了一种实时检测并修正风电机组原始数据错误的方法、系统、设备及介质,属于风电机组检修技术领域,包括风电机组总线实时接收遥测数据,并添加边缘计算PLC;对遥测数据进行分类,并对分类后的子集的数据进行归一化并筛选候选数据集合;将任一集合转化为多维向量,设置异常值阈值判断数据是否存在异常,当数据存在异常,设置误差值阈值进行二次验证并进行数据修正;风电机组主控实时接收并推送风电机组修正后数据。本发明相比距离公式直接计算,准确性更高,计算过程更快,每个距离独立计算,可通过GPU并行加速,实际计算时间可以很短为风电机组主控提供遥测数据的错误信息和修正信息,帮助风电机组主控更好的控制风电机组。

制造风力涡轮机转子叶片的半壳体的方法以及风力涡轮机转子叶片

NºPublicación:  CN121625354A 10/03/2026
Solicitante: 
德国恩德布雷德技术中心有限公司恩德能源欧洲股份两合公司
CN_121625354_PA

Resumen de: US20260061709A1

A method of manufacturing a half shell of a wind turbine rotor blade, the method including: providing a mold, arranging an outer shell laminate in the mold, arranging three spar caps on the outer shell laminate. The second spar cap is arranged between the first spar cap and the third spar cap, the third spar cap is positioned at an outermost trailing edge, and core elements are arranged between the first spar cap and the second spar cap and/or between the second spar cap and the third spar cap and/or between the first spar cap and the third spar cap. At least one of the core elements is a tolerance compensation element that includes a wedge-formed portion and interacts in a form-fit manner with a corresponding counter wedge-formed portion. A wind turbine rotor blade includes a half shell.

垂直轴风力发电装置

NºPublicación:  CN121630634A 10/03/2026
Solicitante: 
杭州星河传动机械研究院有限公司
CN_121630634_PA

Resumen de: CN121630634A

本发明涉及风电技术领域,具体涉及一种垂直轴风力发电装置。目的是提供一种垂直轴风力发电装置,该发电装置应具有工作效率高、安全可靠的特点。技术方案是垂直轴风力发电装置,包括塔架、可转动地定位在塔架上的导风架、可转动地定位在导风架中的叶轮、发电机、连接叶轮和发电机的传动机构;其特征在于:所述导风架的前部设有若干导风板并且导风架的后部设有控制导风架迎风方向的尾舵,伺服电机通过调节机构调整导风板的迎风夹角,经过导风板的气流发生偏转并带动叶轮旋转使发电机正常工作。

一种适用于风电支撑结构的外包增强角柱格构塔

NºPublicación:  CN121630137A 10/03/2026
Solicitante: 
重庆佑航能源科技有限公司
CN_121630137_PA

Resumen de: CN121630137A

本发明涉及格构塔领域,具体涉及一种适用于风电支撑结构的外包增强角柱格构塔,包括沿高度方向布置的N个角柱、设置于相邻角柱之间的格构斜杆体系、用于支撑角柱的底部支撑结构以及用于连接上部风电塔筒的转换段;每个角柱均包括外管、内管、设于内管的预应力钢绞线以及填充于外管和内管之间的混凝土结构,预应力钢绞线两端分别锚固于转换段和底部支撑结构中。采用本技术方案,有利于在保证结构安全性的前提下有效降低材料用量和施工成本。

一种叶片连接状态评估方法、装置和可读存储介质

NºPublicación:  CN121630656A 10/03/2026
Solicitante: 
远景能源有限公司
CN_121630656_PA

Resumen de: CN121630656A

本申请公开了一种叶片连接状态评估方法、装置和可读存储介质,包括:周期性地同步采集所述多个叶片的多路声学信号,以提取与多路所述声学信号相对应的多路去噪信号,其中,每一路声学信号对应于一个叶片;分别提取各路所述去噪信号中的冲击分量,以计算各路所述去噪信号对应的冲击能量因子,其中,所述冲击能量因子表征所述冲击分量的能量强度;针对各路所述去噪信号中任意一路目标去噪信号,计算所述目标去噪信号对应的冲击能量因子的异常值占比,并基于所述异常值占比评估所述目标去噪信号对应的叶片的连接状态。本申请提供的技术方案,可以以较低的成本对叶片连接状态进行监测。

轴承组件、轴系以及风力发电机组

NºPublicación:  CN121630914A 10/03/2026
Solicitante: 
北京金风慧能技术有限公司
CN_121630914_PA

Resumen de: CN121630914A

本公开提供一种轴承组件、轴系以及风力发电机组,所述轴承组件包括轴承座、轴承以及搅拌件,所述轴承座设置有轴承安装孔,所述轴承设置于所述轴承安装孔内,用于将转轴可转动地支撑在所述轴承座中,所述搅拌件用于固定在所述转轴上且所述搅拌件与所述轴承之间设置有预定间隔,在所述转轴转动的过程中,所述搅拌件能够搅动润滑脂使其进入所述轴承,使得润滑脂能够顺利进出轴承的润滑通道,避免润滑脂堆积或粘附在轴承座或转轴表面,从而为轴承进行润滑,提高了轴承组件的使用寿命,保证风力发电机组的稳定运行。

基于SCNN的风电机组变桨系统早期机械松动诊断方法

NºPublicación:  CN121637195A 10/03/2026
Solicitante: 
中国计量大学
CN_121637195_PA

Resumen de: CN121637195A

本发明提供了基于SCNN的风电机组变桨系统早期机械松动诊断方法,属于机械松动诊断技术领域,包括将高精度振动传感器安装于风电机组变桨系统采集信号,经去噪与分段处理后,用变分模态分解获取固有模态函数并计算多尺度样本熵作为特征;通过混合脉冲编码策略编码特征为脉冲序列,构建卷机脉冲神经网络模型;经预训练与带标签数据训练后,输入待诊断信号,输出结果并统计分析。本发明采用上述的基于SCNN的风电机组变桨系统早期机械松动诊断方法,解决了传统风电机组变桨系统机械松动诊断方法对早期微弱松动信号不敏感、依赖人工阈值且模型泛化能力差的问题。

一种含铜Fe-Cr-Mn-Mo高强韧风电主轴用钢

NºPublicación:  CN121624416A 10/03/2026
Solicitante: 
齐鲁工业大学(山东省科学院)
CN_121624416_PA

Resumen de: CN121624416A

本发明涉及一种含铜Fe‑Cr‑Mn‑Mo高强韧风电主轴用钢,属于材料改性技术领域;包括以下步骤:步骤1、将铁粉与Cr、Mn、Mo和Cu粉末混合,其中Cr含量1.0‑1.2 wt%,Mn含量0.8‑0.9 wt%,Mo含量0.2‑0.4 wt%,Cu含量1‑3 wt%,余量为Fe;步骤2、真空熔炼;步骤3、熔液浇铸模具中冷却后得到钢锭;步骤4、经初步探伤检验后加热进行自由锻;步骤5、钢材放入燃气炉中加热并保温后进行正火;步骤6、再次加热并保温进行淬火,随后进行回火处理,空冷至室温;该铜合金化Fe‑Cr‑Mn‑Mo钢特别适用于风电主轴等长时间承受高交变载荷的应用场景,不仅有效提高了材料的强塑性和抗冲击性能,还提升了其在复杂环境下的稳定性和可靠性,满足了大兆瓦风电主轴对材料性能的高要求。

一种风电塔筒接缝抹浆装置

NºPublicación:  CN121630645A 10/03/2026
Solicitante: 
华能新疆木垒新能源有限公司
CN_121630645_PA

Resumen de: CN121630645A

本申请涉及风电塔筒搭建技术领域,且公开了一种风电塔筒接缝抹浆装置,包括刮板,所述刮板的外部固定安装有手柄,所述刮板的内部限位滑动连接有刮杆,所述刮杆的底部限位滑动连接有多个刮齿,多个所述刮齿的底端共同形成锯齿状。当塔筒片厚度发生变化时,通过调节块对刮齿的挤压改变刮齿间距,进而改变花纹间距,防止刮出花纹的间距出现过小或过大的情况,保证花纹面积的同时确保胶体表面的花纹更均匀,胶体的收缩应力分布更均匀,减少因应力集中而可能带来的变形或裂纹,降低雨水渗透概率,增强了塔筒的抗湿性能,提高塔筒的整体稳定性和使用寿命,确保其在长期使用过程中保持良好的性能和安全性。

一种海上风力发电机机组主轴断裂检测装置

NºPublicación:  CN121630652A 10/03/2026
Solicitante: 
江苏振江海风新能源有限公司
CN_121630652_PA

Resumen de: CN121630652A

本发明公开了一种海上风力发电机机组主轴断裂检测装置,涉及风电设备安全防护技术领域。该装置包括抱箍组件,抱箍组件固定于主轴靠近轴承座处,圆盘组件滑动套设抱箍组件并由弹性预紧组件预紧,制动拉绳组件连两圆盘组件且贴近主轴,稳定支撑组件固定于机舱底面并套设主轴,防转锁止组件穿抱箍组件可顶紧主轴,抱箍组件设控制开关。主轴断裂时,制动拉绳组件缠绕断裂处实现临时传动与制动,圆盘组件靠近触发防转锁止组件顶紧主轴,并按压控制开关实现报警与刹车联动。本装置纯机械结构,抗海上盐雾、极端天气能力强,断裂后可临时维持运行,保障机组安全并为维修争取时间。

電力供給システムおよび電力供給方法

NºPublicación:  JP2026040796A 09/03/2026
Solicitante: 
京セラ株式会社
JP_2026040796_PA

Resumen de: JP2025146997A

To reduce an electricity fee in collective reception of low-voltage electricity.SOLUTION: A power supply system 90 is for a multiple dwelling house that collectively receives low-voltage electricity from a grid 80 and includes a plurality of dwellings and a shared space to which an electricity fee from a company different from an electricity company with which a low-voltage electricity collective reception contract has been concluded, is allocated in accordance with use amounts of electricity. The power supply system 90 includes a high-order metering device 1, a low-voltage electricity collective reception board 2 having a first breaker connected to the grid 80 side, a distribution board 4 having a plurality of second breakers respectively connected to the plurality of dwellings and the shared space, a plurality of low-order metering device 5 that measures electricity consumptions of the plurality of dwellings, and a distributed-type power source 3 connected between the high-order metering device 1 and the plurality of low-order metering devices 5. The capacity of the first breaker is smaller than the total capacity of the second breakers.SELECTED DRAWING: Figure 1

Jet fan

NºPublicación:  PL451198A1 09/03/2026
Solicitante: 
WINDYGENE SPOLKA Z OGRANICZONA ODPOWIEDZIALNOSCIA [PL]
WINDYGENE SP\u00D3\u0141KA Z OGRANICZON\u0104 ODPOWIEDZIALNO\u015ACI\u0104
PL_451198_A1

Resumen de: PL451198A1

Ujawniono wiatrak strumieniowy o pionowej osi obrotu wyposażony w zespół napędowy oraz zespół kierownic strumienia powietrza zawierający konstrukcję wsporczą (3), do której od góry zamontowany jest dyfuzor kierunkowy (2) z pokrywą górną (1) oraz centralnie osadzony na łożyskach wału wewnątrz konstrukcji wsporczej (3) zespół napędowy zawierający obrotowy wał (4), na którego górnym końcu osadzone są łopatki (11), przy czym dolny koniec wału (4) połączony jest osiowo z generatorem prądu (10), zaś konstrukcja wsporcza (3) oraz wał (4) zamontowane są rozłącznie do podstawy (9), przy czym zespół kierownic strumienia powietrza zawiera co najmniej dwie kierownice strumieniowe (5) osadzone osiowo wzdłuż wału (4), przy czym kierownice strumieniowe (5) mają kształt wydrążonego ściętego stożka o profilu hiperboloidalnym albo ściętego ostrosłupa, przy czym wiatrak można montować pod dowolnym kątem.

风力发电机组转速异常值滤波方法、装置及风力发电机组

NºPublicación:  CN121611580A 06/03/2026
Solicitante: 
中船海装风电有限公司
CN_121611580_PA

Resumen de: CN121611580A

本申请公开了一种风力发电机组转速异常值滤波方法、装置及风力发电机组,包括:获取当前转速测量值,并计算当前转速测量值与上一周期滤波输出值之间的绝对差值;若绝对差值≥第一预设阈值且异常计数器的数值大于零,则判定当前转速测量值为异常跳变数据,滤波输出值保持为上一周期滤波输出值,同时将异常计数器数值减一;若绝对差值≤第二预设阈值,则判定当前转速测量值为正常波动数据,滤波输出值采用当前转速测量值,并将异常计数器重置为预设重置值;若第二预设阈值<绝对差值<第一预设阈值,则根据当前转速测量值相对上一周期滤波输出值的变化方向,以预设步长调整得到滤波输出值。本发明解决了风力发电机组转速信号异常跳变引发的停机问题。

垂直轴风力机双端同步伸缩变截面叶片装置及其控制方法

NºPublicación:  CN121611566A 06/03/2026
Solicitante: 
上海理工大学
CN_121611566_PA

Resumen de: CN121611566A

本申请公开了垂直轴风力机双端同步伸缩变截面叶片装置及其控制方法,属于垂直轴风力机技术领域。包括:厚翼型承载主体、薄翼型可伸缩叶片段、垂直轴风力机转轴、执行机构、传动机构、锁止定位结构、导向与搭接结构、风速检测模块、转速检测模块和控制单元。本申请通过控制对称设置的薄翼型可伸缩叶片段同步伸缩,实现了在叶片伸缩过程中降低质量分布变化引起的质心偏移与动不平衡风险的技术效果,从而提高H型VAWT旋转工况下的运行稳定性与可靠性。

一种基于绕流控制的风力机叶片、风力机及其控制方法

NºPublicación:  CN121611564A 06/03/2026
Solicitante: 
安徽奇瑞绿能生态科技有限公司
CN_121611564_PA

Resumen de: CN121611564A

本发明揭示了一种基于绕流控制的风力机叶片,所述风力机叶片的外端为叶尖,内端为固定在叶片基座上的叶根,所述风力机叶片的尾缘展向布置有绕流控制单元,所述绕流控制单元设有嵌入在尾缘的绕流控制单元基座,所述绕流控制单元基座的外侧设有插孔,所述插孔内嵌入有压电材料,所述压电材料的外端设有振动薄片。本发明在风力机叶片尾缘,沿着展向设计并布置以压电材料振动,带动空气振动,达到绕流控制目的的装置;此装置以更高的频率破坏、产生噪音辐射的涡流结构;使得涡流噪音辐射的能量块降低,在辐射过程中快速耗散;从而降低接受者对声音的感受。

一种新能源风电叶片检测装置

NºPublicación:  CN121612719A 06/03/2026
Solicitante: 
北京铁城工程咨询有限公司
CN_121612719_PA

Resumen de: CN121612719A

本发明公开了一种新能源风电叶片检测装置,包括底座和第一立板,所述第一立板安装在底座上表面左端,且第一立板右侧壁与底座上表面之间安装有加强筋,提升第一立板稳定性,所述第一立板顶部中心位置通过轴承安装有第一转轴,所述第一转轴外壁安装有安装座,所述安装座右侧壁通过螺栓锁紧有叶片,第一转轴为叶片提供前后摆动条件,使叶片可以进行横向摇摆试验,所述底座上表面中部安装有摇摆机构,所述底座上表面右端安装有第二立板。无需为不同规格叶片单独配置测试系统,仅通过调整配重块位置即可灵活适配各类叶片的疲劳试验需求,真正实现一机多用,大幅减少了传统多套测试设备的占地空间,同时降低了设备采购、维护及管理成本。

一种风力发电机叶片组件故障诊断结构

NºPublicación:  CN223975202U 06/03/2026
Solicitante: 
四川风运科技有限公司
CN_223975202_U

Resumen de: CN223975202U

本实用新型涉及风力发电机技术领域,特别涉及一种风力发电机叶片组件故障诊断结构;本实用新型包括叶片组件、变桨轴承和光纤组件,叶片组件包括至少两个叶片,叶片上布设有至少一根光纤线,光纤线内设置有传感感知单元;在本实用新型内,通过布设于叶片上的光纤线,以光纤线上的传感感知单元作为传感载体来实时感知叶片的信息情况且实时将感知的信息情况传输出去,从而达到实时故障监控的目的;本实用新型可以通过光纤线来感知及判断叶片是否出现裂纹、开裂、鼓包、分层的情况,无需人工进行高空作业进行观察,也不用受天气影响,可以实时进行监控,而且可以精准地感知叶片的内部损伤缺陷,达到精准发现和精准识别。

基于无线通信的风电场数据采集传输装置

NºPublicación:  CN223975201U 06/03/2026
Solicitante: 
新天智汇能源科技(雄安)有限公司
CN_223975201_U

Resumen de: CN223975201U

本实用新型公开了基于无线通信的风电场数据采集传输装置,具体涉及风电场运维设备技术领域,包括用于与安装在风电机组外壳上数据采集盒内置的数据采集模块无线连接的信号接收处理箱,信号接收处理箱的底部设置有基座,基座的顶部位于信号接收处理箱的一侧安装有与信号接收处理箱无线连接的控制箱,控制箱与远程终端无线连接,基座的顶部位于控制箱的后侧连接有支架,支架的顶部安装有信号发射器。本实用新型能够实现对光伏板安装方向以及安装角度的灵活调节,能够满足在室外不同位置的安装需求,且便于在使用时对光伏板外表面附着的一些灰尘或杂物进行吹落,减少光伏板表面附着杂物对光能转化效率的影响。

一种风机齿轮箱散热器自动清洗装置

NºPublicación:  CN223970498U 06/03/2026
Solicitante: 
内蒙古智慧运维新能源有限公司
CN_223970498_U

Resumen de: CN223970498U

本实用新型属于风能发电技术领域,尤其涉及一种风机齿轮箱散热器自动清洗装置,针对现有清洗装置清洗模式单一、清洗与干燥功能协同性差的问题,现提出如下方案,包括驱动调节组件和智能清洗喷头。本实用新型所设置的驱动调节组件带动清洗喷头在横向与纵向上的移动,确保清洗覆盖无死角,清洗喷头内部设有线性射流通道和螺旋雾化通道,并配置筒状活塞,筒状活塞能够根据进水或进气的压力变化,自动在高压、中压以及低压三种位置状态间切换,实现了高压去污、中压清洗漂洗、低压雾化预湿,到后续高压气射流穿透干燥、中压气均衡风干、低压气扩散沥水的全流程自动化协同作业。

集成阀组、散热器组件、润滑冷却系统及风力发电机组

NºPublicación:  CN223975524U 06/03/2026
Solicitante: 
江苏金风科技有限公司
CN_223975524_U

Resumen de: CN223975524U

本公开提供一种集成阀组、散热器组件、润滑冷却系统及风力发电机组,集成阀组用于散热器组件,散热器组件还包括散热芯体和旁通通道,旁通通道与散热芯体内的散热通道并联,集成阀组设置在旁通通道的入口,集成阀组包括集成一体的温控阀组和压力阀组,温控阀组的内腔与压力阀组的内腔相连通。通过将温控阀组和压力阀组集成一体,能够在满足温控阀组的开启温度条件和压力阀组的开启压力条件中的至少一个的情况下令集成阀组开启,从而拓宽了单个阀体整体的开启条件,并可解决散热器组件的“困油”问题,降低损坏风险。

模块式半潜平台及转运装配方法

NºPublicación:  CN121608853A 06/03/2026
Solicitante: 
惠生清洁能源科技集团股份有限公司
CN_121608853_PA

Resumen de: CN121608853A

本申请涉及一种模块式半潜平台及转运装配方法,所述模块式半潜平台包括基础模块、连接件和立柱模块,立柱模块设有多个,多个立柱模块设于基础模块的周缘,并沿基础模块的周缘间隔设置,且相邻两个立柱模块之间经由连接件连接。上述模块式半潜平台中,该半潜平台采用基础模块、加强件、连接件以及立柱模块所共同构成,且各模块结构均可实现可拆卸连接,以实现模块化的结构设计,并且其中的基础模块作为半潜平台的漂浮基础,其能够独立漂浮在水中,并为其他结构件与其的装配提供漂浮基础,以实现半潜平台在水中的合拢。

一种汇流驱动式垂直轴风电系统

NºPublicación:  CN121611565A 06/03/2026
Solicitante: 
杭州星河传动机械研究院有限公司
CN_121611565_PA

Resumen de: CN121611565A

本发明涉及风电技术领域,具体是一种汇流驱动式垂直轴风电系统。目的是提供一种汇流驱动式垂直轴风电系统,该系统应能高效聚合利用风能,有效降低设备冗余与运维成本,且具有结构可靠、运行安全及使用方便的特点。技术方案是一种汇流驱动式垂直轴风电系统,包括若干垂直轴风力装置;其特征在于:还包括通过传动机构连接所有垂直轴风力装置的发电机,垂直轴风力装置围绕发电机布置;所述垂直轴风力装置包括塔架、可转动地定位在塔架上的导风架、可转动地定位在导风架中的叶轮、同轴连接叶轮的传动轴。

一种用于钢管塔微风振动抑制的自适应多重阻尼耗能系统

NºPublicación:  CN121611336A 06/03/2026
Solicitante: 
山东大学华北电力大学(保定)
CN_121611336_PA

Resumen de: CN121611336A

本发明公开了一种用于钢管塔微风振动抑制的自适应多重阻尼耗能系统,涉及输电塔防灾减灾领域。该系统包括由传感监测控制组件、风光互补供电单元、电热执行器及形状记忆合金环组成的自适应监测控制系统,通过调节形状记忆合金环的相态及其刚度特性,系统实现阻尼参数的动态优化;由效应放大耗能外伸结构、橡胶碰撞耗能板以及阻尼耗能颗粒组成的多重耗能系统,通过多组元件的协同分工,实现振动能量在宽频域内的高效率耗散;由外壳抓钩、组装卡环和连接杆及替换件组成的各模块的连接组件,实现实际工程的便捷安装。同时利用风光互补供电单元的双通道协同实现能量的高效采集与存储,为系统的正常运转提供能源供应。

风力发电机组传动链转矩波动抑制方法及装置

NºPublicación:  CN121611581A 06/03/2026
Solicitante: 
中船海装风电有限公司
CN_121611581_PA

Resumen de: CN121611581A

本申请公开了一种风力发电机组传动链转矩波动抑制方法及装置,包括:获取能反映传动链转矩波动的状态信号,状态信号包括、和;分别通过带通滤波阻尼器和双路滤波阻尼器计算对应的阻尼转矩,得到和;对、、分别执行希尔伯特变换构造解析信号,提取各信号的瞬时相位与幅值,计算瞬时相位差;根据相位差界定反馈类型,反馈类型包括正反馈、负反馈及过渡区间,基于预设的反馈类型匹配策略生成最终阻尼转矩,并叠加至发电机转矩指令。本发明能够实时、宽频、精准抑制风力发电机组传动链转矩波动。

一种主轴轴承加热方法及装置

NºPublicación:  CN121611588A 06/03/2026
Solicitante: 
华能包头风力发电有限公司中国华能集团清洁能源技术研究院有限公司
CN_121611588_PA

Resumen de: CN121611588A

本发明属于风机预热技术领域,提供了一种主轴轴承加热方法及装置,其中方法包括:获取主轴轴承的温度,判断温度是否低于预设最小阈值,若温度低于预设最小阈值,则发出加热指令;执行加热指令时,对主轴轴承进行加热调节,同时实时监测温度变化率;执行加热指令时,若主轴轴承的温度高于预设最大阈值,或温度变化率大于预设目标值,则停止加热。本发明的方法采用温度的阈值和温度的变化率作为主轴轴承加热调节的控制条件,既能防止轴承过热损坏,又能避免因温度骤升导致轴承内外圈温差过大产生损伤,显著提升主轴轴承运行安全性与使用寿命,另外还可以避免能量过度消耗;本发明的装置采用加热片包覆在主轴轴承表面,加热效率高,能量损失小。

一种海上单桩式风电过渡段结构的装船装置及装船方法

NºPublicación:  CN121609126A 06/03/2026
Solicitante: 
中海福陆重工有限公司
CN_121609126_PA

Resumen de: CN121609126A

本发明公开了一种海上单桩式风电过渡段结构的装船装置及装船方法,通过将抬升托梁插至多个垫墩之间的缝隙中,并使得抬升托梁处于风电单桩基础下方,然后控制两组SPMT车组移动至风电单桩基础两侧,此时通过SPMT车组悬挂降低高度,使得闭锁承载抬梁与承载抬梁连接抬升托梁,然后SPMT车组悬挂升高,从而将风电单桩基础提起来,然后以既定路线装船,从而实现快速组装和安全转移,使得风电单桩基础装船难度降低,且装船用的所有工艺件均能够重复利用,降低成本,同时通过监测模块监测移动时风电单桩基础的姿态,从而对SPMT车组的移动速度和悬挂阻尼进行适应性调节,保障运输安全。

超载抗扭型反向平衡法兰及其安装方法

NºPublicación:  CN121611681A 06/03/2026
Solicitante: 
同济大学
CN_121611681_PA

Resumen de: CN121611681A

本发明提出了一种超载抗扭型反向平衡法兰及其安装方法,该法兰包括:上法兰管,其内壁上焊接有上加劲板,上加劲板的上端面焊接有上法兰板;下法兰管,其内壁上焊接有下加劲板,下加劲板的下端面焊接有下法兰板;及螺栓,其由上到下依次穿过上法兰板、上加劲板、下加劲板及下法兰板;其中,上法兰管的下端面与下法兰管的上端面对接接触;上加劲板的上平衡面与下加劲板的下平衡面对接接触。本发明提高了抗扭刚度且消除了焊缝施工干扰。

气动能量俘获装置、设备及车辆健康监测系统

NºPublicación:  CN121618875A 06/03/2026
Solicitante: 
广州蓝色能源研究院北京纳米能源与系统研究所
CN_121618875_PA

Resumen de: CN121618875A

本发明涉及自然能量俘获设备技术领域,具体涉及一种气动能量俘获装置、设备及车辆健康监测系统。气动能量俘获装置包括底座以及多个风能收集器。其通过利用涡激振动现象将风能转化为风能收集器的摆动,再通过风能收集器的摆动来带动其内部的中间摆动件和内侧摆动件分别摆动,中间摆动件与外侧摆动件之间以及中间摆动件与内侧摆动件之间均粘贴有电负性不同的两种导电材料。通过这一设计使得中间摆动件和内侧摆动件不仅能够实现独立摆动而进行发电同时其进行各自摆动时还会向对方提供一驱动力以提高对方的摆动幅度,从而进一步提高整个气动能量俘获装置的发电效率。

风电机组齿轮箱的弹性支撑装置及风电机组

NºPublicación:  CN223975509U 06/03/2026
Solicitante: 
华锐风电科技(集团)股份有限公司
CN_223975509_U

Resumen de: CN223975509U

本实用新型公开了一种风电机组齿轮箱的弹性支撑装置及风电机组,该弹性支撑装置包括支座、弹性体和止动件,支座设置在风电机组的主机架上,设有贯通两个端面的减振安装孔,并在两个端面的靠近所述减震安装孔的位置均设置螺纹孔;弹性体安装在支座的减震安装孔中,其外环面与减震安装孔的孔壁接合,内环面用于与齿轮箱扭力臂接合,弹性体设有沿减震安装孔的轴线方向贯通的止动连接孔;止动件包括穿设于止动连接孔的止动销、与止动销固定连接的第一挡板、和与止动销可拆卸连接的第二挡板,第一挡板和第二挡板分别通过螺栓与支座的两个相反端面连接。本方案能限制弹性体在支座中发生轴向或径向位移;而且止动件结构简单且安装方便。

一种风力发电机组叶片净空保护装置

NºPublicación:  CN223970448U 06/03/2026
Solicitante: 
华电河南新能源发电有限公司
CN_223970448_U

Resumen de: CN223970448U

本实用新型涉及风力发电机组叶片净空保护技术领域,具体是一种风力发电机组叶片净空保护装置,包括风机罩壳以及安装在所述风机罩壳上的箱体,所述箱体的顶部安装有监测窗,所述监测窗顶部斜面上安装有透明板,所述监测窗顶端安装有往复驱动组件,所述往复驱动组件的移动端上固定有与所述透明板表面贴合的刷条,本实用新型通过箱体能够对监测窗下方的监测组件进行防护工作,当监测窗上的透明板表面需要清理时,只需要控制往复驱动组件带动刷条沿着透明板表面来回滑动,对粘附在透明板表面的灰尘进行清理工作,能够避免影响监测组件对风力发电机叶片进行准确测距工作。

一种风力发电机塔筒局部加强结构门洞屈曲校核方法

NºPublicación:  CN121615331A 06/03/2026
Solicitante: 
东方电气风电股份有限公司
CN_121615331_PA

Resumen de: CN121615331A

本发明涉及风力发电机技术领域,具体公开了一种风力发电机塔筒局部加强结构门洞屈曲校核方法,具体包括以下步骤:步骤S1:确定风力发电机组中塔筒的设计参数和塔筒门洞开孔角度大小;结合设计参数和塔筒门洞开孔角度大小,求得未局部加厚塔筒开洞后的屈曲折减系数;步骤S3:计算得到局部加厚门洞部位的等效壁厚;步骤S4:计算局部加强塔筒门洞的抗屈曲因子;步骤S5:计算塔筒局部加厚门洞的折减系数;步骤S6:计算得到局部加厚门洞的临界屈曲应力;步骤S7:局部加厚门洞屈曲校核。本发明可实现校核局部加强门洞的结构安全性,可大大缩短塔筒门洞结构设计周期,避免前期大量的重复计算工作,降低设计冗余,提高工作效率。

一种风力运行机组故障预警方法及系统

NºPublicación:  CN121611576A 06/03/2026
Solicitante: 
朔州市太重风力发电有限公司繁峙县能裕风力发电有限公司
CN_121611576_A

Resumen de: CN121611576A

本发明公开了一种风力运行机组故障预警方法及系统,其包括:获取风力运行机组的实时运行监测数据,并对其进行数据分析,确定异常参数;对异常参数进行特征分析确定异常特征,并基于其对异常参数的异常程度进行评估得到异常程度评估值;基于异常参数的异常程度评估值确定风力运行机组的故障评估系数,并基于异常参数确定风力运行机组的故障类型;基于故障评估系数和故障类型综合确定风力运行机组的故障等级,并基于其确定风力运行机组的故障预警策略。本发明通过分析机组的实时运行数据,在故障发生前识别出微弱的异常征兆,从而及时作出干预,减少非计划停机,显著提升机组的可用率和发电量,延长备使用寿命,从根本上保障风电场的稳定运行。

一种风机叶片损伤监测方法及系统

NºPublicación:  CN121611575A 06/03/2026
Solicitante: 
浙江省白马湖实验室有限公司浙江浙能嘉兴海上风力发电有限公司
CN_121611575_PA

Resumen de: CN121611575A

本发明公开了一种风机叶片损伤监测方法及系统,涉及风力发电技术领域,旨在解决现有的叶片监测方法计算复杂度高、系统结构复杂以及模型泛化能力弱的问题,方法包括:S1,根据就地控制器对采集得到的风电机组运行状态时序变量进行特征提取与压缩,生成低纬度特征向量并上传;S2,在风场中央服务器对来自就地控制器的特征向量进行数据聚合和样本筛选,并构建训练集;S3,对基准模型进行训练,生成机舱振动与风机运行工况关联的回归模型,并设定静态报警阈值;S4,在线监测阶段通过计算和累积异常指标来实现损伤报警;还包括对应的系统;本发明的方法能够在保证检测精度的同时,显著提升系统的实时性与工程可部署性。

一种风电用去冰维护设备及其使用方法

NºPublicación:  CN121611585A 06/03/2026
Solicitante: 
贵州秦风新能源有限公司
CN_121611585_PA

Resumen de: CN121611585A

本发明涉及风电去冰设备技术领域,尤其涉及一种风电用去冰维护设备及其使用方法,由输送机构、热风机构以及支撑机构构成。本发明中,使用时,控制调节风力发电机,使其中一个叶片维持垂直状态悬停,同时通过收卷辊进行现有绳索的收卷,进而通过底框使设备能够平稳放置于风力发电机顶部,继而通过旋转限位管,使连接圈能够套设于风力发电机顶部预留锚栓外表面,再反向旋转限位管,使限位管能够配合连接架、夹片、第二限位栓、第一限位栓和限位条牵引限制底框放置位置,使底框能够稳固放置于风力发电机顶部,此时通过控制启动旋转电机,使旋转电机配合连动轴、旋转蜗杆和旋转蜗杆带动两个外螺纹管同步旋转。

一种发电风机塔筒安装设备

NºPublicación:  CN121609199A 06/03/2026
Solicitante: 
大唐山东清洁能源开发有限公司
CN_121609199_PA

Resumen de: CN121609199A

本发明属于发电风机塔筒安装技术领域,尤其涉及一种发电风机塔筒安装设备,包括:吊具支架,吊具支架的底面开设有若干个滑槽,若干个滑槽内均滑动连接有滑块,若干个滑块的底端均转动连接有吊环,若干个吊环内均固定连接有吊钩;若干个丝杆,若干个丝杆分别螺纹连接在若干个滑块内;转动组件,转动组件位于吊具支架内,并用于带动若干个丝杆转动,本发明实现了对多组吊钩的同步联动驱动,可根据不同规格塔筒分段的实际吊装需求,灵活且精准地调节各吊钩之间的间距,无需配备多套专用吊具,有效降低施工单位的设备采购成本,同时大幅缩短吊具更换所消耗的作业准备时间,减少非必要工序耗时,显著提升塔筒吊装作业的整体施工效率。

智慧风场监控方法

NºPublicación:  CN121611577A 06/03/2026
Solicitante: 
揭阳前詹风电有限公司
CN_121611577_A

Resumen de: CN121611577A

本发明涉及一种智慧风场监控方法,属于风场智能监控技术领域,主要解决现有监控方法因数据维度单一和缺乏多源信息融合能力导致的综合风险评估不全面、风险控制策略适应性不足的问题。该方法包括:实时采集风电机组运行状态数据、微观气象数据和鸟类活动数据;将多源数据输入预训练的动态风险评估模型生成综合风险指数;当风险指数超过阈值时解析主导因素;根据风机部件故障预警、湍流强度超标或鸟群穿越等不同风险类型,分别生成降载运行、调整偏航或临时停机等相应的自适应控制指令。这种方法主要用于提高风场运行监控的智能化水平,实现对多重风险的有效识别和精准防控。

一种可移动式小型风力发电设备

NºPublicación:  CN121611571A 06/03/2026
Solicitante: 
沧州锡垣电气设备有限公司
CN_121611571_PA

Resumen de: CN121611571A

本发明涉及风力发电技术领域,且公开了一种可移动式小型风力发电设备,包括底座,底座的内壁滑动连接有伸缩滑杆,伸缩滑杆的伸缩端固定连接有发电组件,底座的内壁设置有便于安装的加速机构,加速机构的内壁设置有用于稳定支撑的支撑机构,本发明能够实现该装置的快速组装,能够保证风力发电机组正常使用,减少人工安装的成本,间接地提高该装置的使用效率,能够实现该装置的快速安装或拆卸,能够提高该装置的安装速度,能够在安装的过程中对零件进行移动导向,人工能够较为轻松的拿起并进行移动,能够实现该装置的可移动化,能够提高移动式小型风力发电设备的安装速度。

风力涡轮机动力传动系

NºPublicación:  CN121620640A 06/03/2026
Solicitante: 
西门子歌美飒可再生能源公司
CN_121620640_PA

Resumen de: WO2025026660A1

The invention describes a wind turbine drivetrain (1) comprising a planetary gearbox (12) for converting rotation of a low-speed shaft (10) to rotation of a high-speed gearbox output shaft (122); a generator (14) mounted about an annular sleeve (124) extending axially outward from a gearbox housing (12H) and enclosing the gearbox output shaft (122); a bearing assembly (16) arranged between the generator (14) and the gearbox (12), comprising a rotary bearing part (16R) and a stationary bearing part (16S); and a torsional vibration damper (13) arranged between two rotary components (122, 122A, 122B, 14R, 16R) of the drivetrain (1), which torsional vibration damper (13) comprises a number of damping elements (13E). The wind turbine drivetrain is characterized in that the torsional vibration damper (13) is dimensioned to facilitate access from within the generator (14). The invention further describes a method of performing a maintenance procedure on such a wind turbine drivetrain (1).

浮体式洋上風車システム、浮体式洋上風車の輸送方法、および、浮体式洋上風車

NºPublicación:  JP2026039144A 06/03/2026
Solicitante: 
株式会社日立製作所
JP_2026039144_PA

Resumen de: WO2026042428A1

Provided is a floating offshore wind turbine system having a structure useful for replacing large components of a floating offshore wind turbine. A floating offshore wind turbine system having a floating offshore wind turbine, a main floating body, and a mooring body, the floating offshore wind turbine system characterized in that: the floating offshore wind turbine has blades for receiving wind, a hub to which the blades are fixed, a nacelle for storing a generator for converting rotational energy of the hub into electric power, a tower for supporting the nacelle, a sub-floating body for supporting the tower, and a sub-floating body connection part that can be fitted to a transport ship connection part; and the main floating body is moored to the sea bottom by the mooring body, and has a sub-floating body insertion space into which the sub-floating body is inserted.

垂直軸風力発電装置

NºPublicación:  JP2026038337A 06/03/2026
Solicitante: 
鹿取寛
JP_2026038337_PA

Resumen de: JP2026038337A

【課題】静止状態から風によって回り始めるときに回りやすいという自己起動性に優れた垂直軸風力発電装置を提供することを目的とする。【解決手段】風の流れに対して垂直方向に設置されて軸回りに回転自在に立設された回転軸1と、風を受けて回転軸1と一体的に回転する複数の主翼体2と、主翼体2よりも回転軸1側に所定間隔を開けて近接し、主翼体2よりも回転軸1の回転方向の前方に配設された複数の副翼体3と、回転軸1に固設され、回転軸1の垂直方向に伸び主翼体2及び副翼体3の上端側又は下端側の一方を固設する第一支持部4と、回転軸1に固設され、回転軸1の垂直方向に伸び主翼体2及び副翼体3の上端側又は下端側の他方を固設する第二支持部5と、回転軸1に連結され回転軸1の回転により発電する発電機6を備えた垂直軸風力発電装置により解決することができた。【選択図】図1

風力タービンの動作

NºPublicación:  JP2026507898A 06/03/2026
Solicitante: 
ゼネラルエレクトリックレノバブレスエスパーニャ,エセ.エレ.
JP_2026507898_PA

Resumen de: CN120752433A

The invention relates to a method for determining a thrust limit for a wind turbine and a method for operating a wind turbine. A method includes determining an operating state of a blade load monitoring system of a wind turbine. In addition, the method includes adjusting a thrust threshold of the wind turbine based at least in part on the operating condition of the blade monitoring system. Further, the method includes operating the wind turbine such that a thrust load on a rotor of the wind turbine is maintained at or below the adjusted thrust threshold. A control system adapted to maintain a thrust load at or below a thrust threshold and a wind turbine comprising such a control system are also provided.

好ましい風力タービン

NºPublicación:  JP2026507827A 06/03/2026
Solicitante: 
コルテンホールディングビーブイ
JP_2026507827_PA

Resumen de: CN120712407A

A HAT wind turbine (1) for generating electrical power from wind, comprising a tower (5), a nacelle (6), a generator and a rotor (2) which can be pushed by wind for rotation about a rotor axis, the rotor having a rotor solidity SOLtor of maximum 0.10, and the rotor having a radius R (3) wherein the rotor comprises blades (4), the number N of blades being at least 4, these blades extending to a radial position of at least 0.90 R, and wherein the blade has a local chord length cr (9) distributed with respect to the radial position r, wherein the local chord length cr satisfies one of the following within a radial range of r = 15% R to R: less than 5.5% R; less than 5% R; less than 4.5% R; less than 4% R; less than 3% R; less than 2% R; and less than 1.5% R.

垂直配置係留システムを含む浮体式プラットフォーム

NºPublicación:  JP2026507867A 06/03/2026
Solicitante: 
モデックインターナショナル、インコーポレイテッド
JP_2026507867_PA

Resumen de: WO2024186911A1

Offshore floating platform systems and processes for mooring same, In some embodiments, the offshore floating platform system can include a hull structure configured to float on a surface of a body of water, one or more anchors configured to be secured to a seabed, and one or more mooring lines configured to be connected to the hull structure at a first end thereof and to the anchor at a second end thereof. When the one or more anchors are secured to the seabed and the one or more mooring lines are connected to the hull structure and a corresponding anchor, the mooring lines can be substantially vertical and a peak response period of the offshore floating platform system in a pitch or a roll direction can be greater than a peak spectral period of a wave spectrum on the surface of the body of water.

一种海上风场漂浮式风机相对静止吊装方法

NºPublicación:  CN121608850A 06/03/2026
Solicitante: 
明阳智慧能源集团股份公司
CN_121608850_PA

Resumen de: CN121608850A

本发明公开了一种海上风场漂浮式风机相对静止吊装方法,该方法包括:将半潜船拖航到漂浮式风机附近,安装起重装置在半潜船上;操控半潜船下潜至预设深度,横向拖至漂浮式风机下方;控制主副拖轮使半潜起重船缓慢旋转,船艏靠近下风向连接件,船艉靠近上风向连接件;用缆绳连接漂浮式风机和半潜船上的绑扎点;控制半潜船浮起至甲板与漂浮式风机基础的下表面贴合,期间收紧缆绳;控制半潜船继续浮起,直至甲板在海面下预设深度位置,调整缆绳松紧度;将风电安装船停靠在起重装置的运行范围内;操作起重装置吊装漂浮式风机的部件;本发明使起重装置与漂浮式风机能长时间保持相对静止,保证吊装时部件与漂浮式风机的精准对孔。

基于远近风速的风力发电机组转速稳定性控制方法及系统

NºPublicación:  CN121611567A 06/03/2026
Solicitante: 
明阳智慧能源集团股份公司
CN_121611567_PA

Resumen de: CN121611567A

本发明公开了基于远近风速的风力发电机组转速稳定性控制方法及系统,包括:通过激光雷达获取风力发电机组叶轮前方的近点风速信号和远点风速信号;近点风速信号的测量距离固定,远点风速信号的测量距离根据风场实时风况动态自适应确定;接着动态计算近点权重系数和远点权重系数,对近点风速信号与远点风速信号进行加权融合,得到融合风速并求取融合风速变化率;基于经验法求取前馈增益系数,并计算桨叶角度前馈叠加量;将桨叶角度前馈叠加量与传统反馈控制输出信号叠加,生成桨叶角度命令进行控制。本发明无需精确风场模型,参数整定简便,可有效抑制转速波动,降低功率脉动,减少变桨频次,提升机组运行稳定性,适用于复杂湍流风况。

一种风电机组叶片电热除冰加热膜的安装方法

NºPublicación:  CN121611586A 06/03/2026
Solicitante: 
华能大理风力发电有限公司祥云分公司中原石墨烯实验室
CN_121611586_PA

Resumen de: CN121611586A

本发明公开了一种风电机组叶片电热除冰加热膜的安装方法,涉及风力发电机叶片除冰技术领域。该方法将叶片除冰区域沿展向划分为多个一级加热区,每个一级加热区内进一步划分为多个二级加热区。为每个二级加热区配置独立的电热膜单元,其参数根据所在分区结冰敏感性和热负荷需求独立设计。采用并联多级供电电路为各单元供电:为每个一级区布设独立供电电缆,所有电缆在叶根并联至主电源;同一一级区内的各电热膜单元在该区内并联连接。安装各单元并配置智能控制系统,用于独立控制各加热区的启停、功率和时序。本发明实现了精准按需供热,提高了热能利用效率与系统容错性,有效解决了线路压降与“根热尖冷”问题。

一种单摆式相对重力仪

NºPublicación:  CN121613522A 06/03/2026
Solicitante: 
中地装(北京)地质仪器厂有限公司
CN_121613522_PA

Resumen de: CN120742435A

The invention belongs to the technical field of gravity testing, particularly relates to a simple pendulum type relative gravimeter, and aims to solve the problems that in the prior art, when gravity is tested, a vacuum pump needs to be used for maintaining the vacuum state in a vacuum cavity, mechanical vibration energy generated in the operation process of the vacuum pump cannot be effectively recycled, and the cost is high. In order to solve the problems of low overall energy utilization rate and measurement interruption caused by insufficient power in remote areas in the prior art, the invention provides the following scheme: the gravity meter comprises a gravity meter main body, a vacuum cavity, a swing body, a swing rod, two spheres and a cross beam, mechanical vibration energy generated by the vacuum pump can be effectively recycled, the energy utilization rate is increased, wind energy and solar energy can be utilized for power generation, long-time stable operation of the vacuum pump in the field or remote areas is ensured, and measurement interruption caused by insufficient power can be reduced.

Reinicio remoto de generadores de energía eólica y solar

NºPublicación:  ES3058100A2 06/03/2026
Solicitante: 
ENEL GREEN POWER SPA [IT]
ENEL GREEN POWER S.P.A
WO_2025022346_PA

Resumen de: WO2025022346A1

A method for controlling a remote restart function of a plurality of solar and/or wind power generators, hereinafter solar/wind power generator, the method comprising: (i) receiving, from each of a plurality of power systems, each power system comprising at least one of the plurality of solar/wind power generators and each power system being separately connected to an electrical grid, a value of one or more variables measured on the site of each of the plurality of solar/wind power generators; (ii) performing a first function to determine whether an abnormal solar/wind power generator is ready to have a normal operation remotely restarted based on the received value of the one or more variables; (iii) performing a second function to determine a restart order according to which a group of abnormal solar/wind power generators should have a normal operation remotely restarted, among the abnormal solar/wind power generators that are determined to be ready to have a normal operation remotely restarted according to the first function; and (iv) outputting an indication of the determined restart order. A computer program, device and system are also provided.

海上风电塔及施工工艺

NºPublicación:  CN121611574A 06/03/2026
Solicitante: 
上海风领新能源有限公司
CN_121611574_PA

Resumen de: CN121611574A

本发明提供一种海上风电塔及施工工艺。所述海上风电塔包括塔筒和下塔桩,所述下塔桩相对于所述塔筒具有第一位置和第二位置,所述下塔桩在所述第一位置时至少部分位于所述塔筒的筒内空间内,所述下塔桩在所述第二位置相较于所述第一位置由所述塔筒的筒内空间伸出,所述下塔桩在所述第二位置可与所述塔筒连接以被限定在所述第二位置。本发明的海上风电塔,在施工过程中,可以将塔筒和处于第一位置的下塔桩一同移动至指定位置,然后下塔桩移动至第二位置并坐落在海床上,再将塔筒与下塔桩连接以固定以及将下塔桩与海床固定,一方面降低对吊装设备和海上移动设备的要求,从而降低施工成本,另一方面简化施工工艺,并缩短作业时长。

一种水下风电桩基声光融合探伤方法及系统

NºPublicación:  CN121612878A 06/03/2026
Solicitante: 
武汉理工大学
CN_121612878_PA

Resumen de: CN121612878A

本发明公开了一种水下风电桩基声光融合探伤方法及系统,其中方法包括:利用数据采集装置采集水下风电桩基的光学图像和超声波图像,对图像数据进行预处理;将处理后的光学图像和超声波图像通过MDSFF跨模态融合机制进行融合;根据融合后的图像数据进行缺陷识别及三维重建,得到重建后的三维缺陷模型并输出缺陷信息。本发明通过MDSFF跨模态融合机制,对水下风电桩基的光学特征和超声波特征进行对齐和融合,其中利用可变形的自对齐机制进行特征对齐,可将特征对齐计算限制在图像中最相关的局部特征,降低计算复杂度,且利用门控选择机制识别并选择有效特征进行融合,抑制了冗余噪声,进而提高了对水下风电桩基缺陷识别的效率、精确度和可靠性。

用于风力涡轮机的叶片、风力涡轮机以及用于制造的方法

NºPublicación:  CN121620639A 06/03/2026
Solicitante: 
西门子歌美飒可再生能源公司
CN_121620639_PA

Resumen de: TW202511607A

A blade (3) for a wind turbine (1), comprising: an inboard section (7); an outboard section (8); and joints (9) connecting the inboard section (7) and the outboard section (8) to each other, each joint (9) including: a first insert (16) attached to the inboard section (7); a second insert (17) attached to the outboard section (8), the first and second insert (16, 17) defining together a convex shape away from the blade (3) when seen in a cross-section along the lengthwise direction (11) of the blade (3); and a threaded connection means (24) connecting the first and second insert (16, 17) to each other, the threaded connection means (24) being configured to be tightened from outside of the blade (3). Advantageously, the connection thus formed is well suited to counteract blade loads and easy to access which simplifies assembly/disassembly and allows visual inspection of the screws.

一种基于海上风力发电的防火机舱

NºPublicación:  CN121611584A 06/03/2026
Solicitante: 
三峡津蓟(天津)新能源发电有限公司中国三峡新能源(集团)股份有限公司
CN_121611584_PA

Resumen de: CN121611584A

本发明涉及风力发电设备技术领域,公开了一种基于海上风力发电的防火机舱,防火机舱包括机舱壳体、防火分隔机构通风机构和送风机构。通过设置防火分隔机构将机舱内部分隔为多个独立防火分区,以防止火势在机舱内部蔓延,将火灾控制在局部区域,避免初始小火情发展为全机舱灾难性火灾;通风机构和送风机构共同向机舱内部输送气体,并通过出风管排出,在机舱内部形成并维持高于外部环境气压的正压环境;此种正压设计,能有效阻隔外部火源侵入机舱;由于正压气流可阻挡外部烟雾和火焰的进入,同时减少氧气向内流动,抑制内部火势扩散。本申请能够提升机舱的主动防火能力,适用于海上偏远环境,其外部救援难以快速抵达的场合。

风电机组叶片止动装置及方法

NºPublicación:  CN121611587A 06/03/2026
Solicitante: 
华锐风电科技(集团)股份有限公司
CN_121611587_PA

Resumen de: CN121611587A

本发明公开了一种风电机组叶片止动装置和方法,该装置包括止动座、球头螺柱和顶压块,止动座设有与叶根螺栓相配合的锁止孔和适于与球头螺柱的螺纹段连接的螺纹孔;顶压块一侧与轮毂腹板的工艺孔侧边轮廓随形适配,另一端设有与球头螺柱的球头端相匹配的球窝。本方案无需在轮毂内设置预留安装接口,安装方便且止动可靠性高;装置整体重量轻、体积小、便于携带。

一种双源固化的风电叶片复合材料损伤快速修复方法

NºPublicación:  CN121608504A 06/03/2026
Solicitante: 
中材科技风电叶片股份有限公司
CN_121608504_A

Resumen de: CN121608504A

本发明提供了改性树脂复合修复材料在风电叶片复合材料损伤修复中的应用;所述改性树脂复合修复材料包括改性树脂材料以及复合在改性树脂材料表面的UV隔离膜层;所述改性树脂材料包括树脂、光引发剂和微波吸收剂。本发明还提供了结合紫外光和微波协同固化的风电叶片复合材料快速修复方法,通过多功能树脂体系与双源分时固化工艺的协同作用进行修复,解决了传统UV固化在低温环境和厚截面修复中的局限性,实现深层‑表层同步快速固化,确保了修复界面的均匀性和力学性能。本发明突破了单一固化方式的深度限制(20mm以上),将修复效率提升50%以上,适应‑20℃的低温施工环境,为大型复合材料构件的现场快速修复提供了创新解决方案。

塔架的多模态振动抑制方法及装置

NºPublicación:  CN121611568A 06/03/2026
Solicitante: 
清华大学金风科技股份有限公司
CN_121611568_PA

Resumen de: CN121611568A

本申请涉及风力发电技术领域,特别涉及一种塔架的多模态振动抑制方法及装置,其中,方法包括:构建用于描述塔架振动状态的振动二阶动态模型,以根据该振动二阶动态模型确定塔架的振动影响因素,从而确定用于抑制塔架振动的统一变桨回路控制分量和独立变桨回路控制分量并进行叠加,生成变桨回路总控制量,控制目标风电机组执行变桨回路总控制量对应的变桨控制指令,将目标风电机组的实际桨角调整至叠加后对应的总桨角,以抑制塔架的振动状态至满足目标要求。本申请可以有效抑制塔架前后振动中的塔架一阶固有频率分量以及与风轮旋转频率同步的低频振动分量,实现功率跟踪和塔架前后方向多模态的振动抑制。

磁浮空浮混合轴承系统及其转子结构和控制方法

NºPublicación:  CN121611697A 06/03/2026
Solicitante: 
百事德机械(江苏)有限公司
CN_121611697_PA

Resumen de: CN121611697A

本发明公开了一种磁浮空浮混合轴承系统及其转子结构和控制方法,涉及风机技术领域,该系统包括永磁偏置转子结构、定子铁芯、励磁线圈及空气动压箔片轴承组件。所述轴承组件的箔片由导磁材料制成,使其与励磁线圈共用同一径向气隙,该气隙同时作为磁场通道与动压气膜空间。运行控制方法基于转速信号,在启动及低速阶段通过励磁线圈实现磁悬浮承载,在高速阶段切换为由气膜完全承载。本发明通过结构融合与分时控制,解决了磁路遮挡问题,兼具了磁悬浮无摩擦启停与空浮轴承高速高效的优势,并具备状态监测功能,系统紧凑、可靠且成本优化。

风机叶片覆冰厚度监测系统、方法、设备、介质及产品

NºPublicación:  CN121617000A 06/03/2026
Solicitante: 
长江三峡集团实业发展(北京)有限公司中国长江三峡集团有限公司
CN_121617000_PA

Resumen de: CN121617000A

本发明涉及风机叶片监测技术领域,公开了风机叶片覆冰厚度监测系统、方法、设备、介质及产品,风机叶片覆冰厚度监测系统包括:地面控制平台及无人机系统;无人机系统包括无人机、影像采集模块、微气象探测模块及微处理器模块;地面控制平台,用于判断目标风机叶片是否存在覆冰风险;影像采集模块,用于采集目标风机叶片的第一目标图像;微处理器模块,用于根据第一目标图像判断是否存在覆冰情况;地面控制平台,用于对目标风机叶片的覆冰厚度进行预测,得到目标覆冰厚度预测值;地面控制平台,用于根据目标覆冰厚度预测值对目标风机叶片覆冰厚度监测,本发明根据实时监测覆冰厚度,提高了覆冰厚度监测的准确度和灵活性。

一种风电机组电控系统的故障检测调控方法

NºPublicación:  CN121611583A 06/03/2026
Solicitante: 
赫普能源环境科技股份有限公司
CN_121611583_PA

Resumen de: CN121611583A

本发明公开了一种风电机组电控系统的故障检测调控方法,涉及风力发电机组运行监测与电气控制技术领域,本发明通过健康基准模型对多维运行数据进行重构并形成重构残差,使机组在未出现振动幅值超限前即可获得与健康状态偏离相关的异常表征,减少对单一阈值触发条件的依赖;针对残差特征被湍流、控制动作与测量噪声淹没导致异常模式不稳定的问题,通过凝冻风险指数生成的时间注意力权重对重构残差在时间维度进行聚焦,使高凝冻倾向时段的残差信息在聚合过程中获得更高贡献,从而降低低风险时段噪声对整体判别的干扰。

一种基于风能的旋转式电磁和摩擦纳米复合发电装置

NºPublicación:  CN121611569A 06/03/2026
Solicitante: 
燕山大学
CN_121611569_PA

Resumen de: CN121611569A

本发明涉及一种基于风能的旋转式电磁和摩擦纳米复合发电装置,包括机械传动系统和复合储能系统,其中发电单元由电磁感应发电模块和摩擦纳米发电单元共同构成,并集成机械支撑与密封结构,复合储能系统实现对能量的存储、均衡与管理。本发明有效结合摩擦纳米发电与电磁发电技术,能够在宽范围风速条件下高效收集风能。在低风速条件下,系统优先通过摩擦纳米发电单元获取能量,并存储于超级电容器进行缓冲,随后转移至锂电池进行稳定储存;高风速条件下则切换至电磁发电模式,电能直接存储于锂电池;在中等风速时两发电单元可协同工作;可有效提高物联网节点、传感器等低功耗设备的可靠性与环境适应性。

风电机组对风偏差识别方法、装置、电子设备和存储介质

NºPublicación:  CN121611579A 06/03/2026
Solicitante: 
北京神州心辰科技有限公司
CN_121611579_PA

Resumen de: CN121611579A

本申请公开了风电机组对风偏差识别方法、装置、电子设备和存储介质,属于风电机组故障诊断技术领域,包括获取风电机组风向传感器的历史故障信号,生成故障信号数据集,统计风电机组风向传感器的故障特征,根据故障特征对故障信号数据集进行降维处理,得到故障信号特征集,对故障信号特征集进行训练计算,生成风电机偏差故障分类器,实时采集风电机组风向传感器的待识别信号数据,对待识别信号数据进行特征提取,进行相似计算,根据计算结果,判断待识别信号数据的故障所属类,完成风电机组风向传感器的信号故障识别,能避免故障的风向传感器长时间故障运行而无法被人发现,减少发电损失,提高风机的使用寿命。

用于漂浮式海洋平台的电缆连接器系统

NºPublicación:  CN121620845A 06/03/2026
Solicitante: 
奥赛吉公司
CN_121620845_A

Resumen de: TW202512616A

The invention relates to a cable connector system for connecting an electric power cable in a cable connector channel that debouches at a bottom of a floating marine platform, wherein the cable connector system comprises an insert connector for insertion into the cable connector channel, a cable hang-off to be fixated to the electric power cable, multiple pulling ropes that extend aside each other between the insert connector and the cable hang-off, and a cable protector on the cable hang-off, wherein the insert connector, the pulling ropes, the cable hang-off and the cable protector define subsequent cable passage sections of an internal cable passage for the electric power cable.

一种数字孪生的海上风机全工况状态监测与运维优化系统

NºPublicación:  CN121616269A 06/03/2026
Solicitante: 
中国电建集团福建省电力勘测设计院有限公司
CN_121616269_PA

Resumen de: CN121616269A

本发明涉及一种数字孪生的海上风机全工况状态监测与运维优化系统,属于海上风力发电技术领域。所述系统包括物理感知层、边缘计算层、云端数字孪生平台和运维应用终端;物理感知层通过多类型传感器实时采集海上风机运行过程中的多源异构数据,所述多源异构数据至少包括环境数据、结构振动数据和运行工况数据,并传输至边缘计算层;边缘计算层对数据进行预处理、特征提取及实时异常分析,实现运行状态的快速故障预警;云端数字孪生平台对数据进行融合处理,构建并动态更新与物理实体实时映射的数字孪生模型,并开展故障诊断、健康评估、剩余寿命预测及运维决策优化;运维应用终端对风机状态、预警信息及运维策略进行可视化展示。

一种用于浮式风机水池试验的多角度系泊定位方法及简易系泊定位装置

NºPublicación:  CN121612548A 06/03/2026
Solicitante: 
烟台哈尔滨工程大学研究院烟台中集来福士海洋工程有限公司深圳智能海洋工程创新中心有限公司
CN_121612548_PA

Resumen de: CN121612548A

本发明公开了一种用于浮式风机水池试验的多角度系泊定位方法及简易系泊定位装置。通过预先设定模型位置与角度,利用带花篮螺栓和双向可调节锁紧器的简易系泊装置,实现对模型的拖曳、粗定位和微调节等多种操作功能,并结合亚毫米级精度的多自由度动作捕捉系统进行试验模型位置与角度的实时监测与反馈,形成“先粗调后精调”的定位流程。该方法能够提高模型定位与角度控制的精度和效率,有效避免人工水下反复调整,缩短系泊安装时间,并支持多载荷入射角工况的灵活模拟。本发明不仅满足了浮式风机试验中对位置和角度的高精度要求,还可推广应用于其他浮式结构物的水池试验中,为复杂海洋环境下的模型试验提供了可靠、高效的模型系泊定位解决方案。

一种风力发电机组主轴装置

NºPublicación:  CN223975203U 06/03/2026
Solicitante: 
烟台新浩阳轴承有限公司
CN_223975203_U

Resumen de: CN223975203U

本实用新型属于风力发电设备技术领域,涉及一种风力发电机组主轴装置,包括前主轴体、中主轴体、后主轴体、前轴承外圈、后轴承外圈、轴承座、前滚子和后滚子,轴承座具有轴向贯通的内腔,前轴承外圈安装在轴承座的一端,后轴承外圈安装在轴承座的另一端;前滚子设置在前轴承外圈与前主轴体之间形成的环形空间内,后滚子设置在后轴承外圈与后主轴体之间形成的环形空间内;中主轴体的两端分别与前主轴体和后主轴体连接。将前主轴体与后主轴体的外表面直接作为轴承滚道,与对应前轴承外圈、后轴承外圈及前滚子、后滚子构成无内圈轴承系统,避免了跑圈现象,增强了主轴在运行过程中的稳定性;通过将主轴拆分,减小了主轴的整体尺寸,降低了制造成本。

支撑梁、塔筒及风力发电机组

NºPublicación:  CN223975204U 06/03/2026
Solicitante: 
北京天杉高科风电装备有限责任公司
CN_223975204_U

Resumen de: CN223975204U

本申请实施例提供一种支撑梁、塔筒及风力发电机组,支撑梁用于风力发电机组,支撑梁包括:主梁;连接梁,连接于主梁的一侧,连接梁用于连接风力发电机组的塔筒内侧;侧梁,连接于主梁的至少一端,侧梁上设置有塔筒附件连接部,塔筒附件连接用于连接塔筒附件;其中,支撑梁具有展开状态和折叠状态,侧梁能够沿靠近主梁的方向相对主梁转动设置,以使支撑梁能够由展开状态转变至折叠状态。在本申请实施例提供的支撑梁中,支撑梁具有展开状态和折叠状态,在展开状态侧梁远离主梁的一端与主梁之间的距离较长,便于在测量上设置较多线缆。在折叠状态,侧梁靠近主梁设置,能够减小支撑梁整体占据的空间尺寸,便于支撑梁的运输和存放。

重载荷风机叶轮支撑装置

NºPublicación:  CN223975200U 06/03/2026
Solicitante: 
国电联合动力技术有限公司
CN_223975200_U

Resumen de: CN223975200U

本实用新型提供一种重载荷风机叶轮支撑装置,涉及风力发电技术领域。包括:支撑底座;多个支撑墩,沿周向均布在支撑底座上,支撑墩的上表面作为支撑面,支撑面上开设有多排腰型连接孔,多个支撑墩上的多排腰型连接孔相互围合,形成与风机叶轮的轮毂尺寸契合的多个固定环;置放风机叶轮至支撑墩上时,通过将风机叶轮的轮毂与由腰型连接孔围合的一固定环对接,使得风机叶轮与多个支撑墩通过对应固定环连接;多个支撑缓冲件,每一支撑缓冲件的上表面作为承接面,承接面能够沿竖直方向上下移动,承接面在风机叶轮置放至支撑墩上之前承接风机叶轮。解决了现有技术中用于解决现有技术中将叶轮悬吊后执行叶轮的装配、拆卸或维修时安全隐患较大的问题。

一种风力与重力势能互补发电系统

NºPublicación:  CN121611570A 06/03/2026
Solicitante: 
大禹节水(天津)有限公司
CN_121611570_PA

Resumen de: CN121611570A

本发明涉及一种风力与重力势能互补发电系统,包括风力发电组件、重力势能发电组件以及发电‑电动一体机,其中,风力发电组件用于将风能转化为电能,重力势能发电组件包括可转动地重力发电箱,重力发电箱内设置用于盛放液体的内腔,内腔包括从下至上依次设置的第一腔体、第二腔体以及第三腔体,第二腔体的横截面积小于第一腔体以及第三腔体的横截面积,风力发电组件与发电‑电动一体机电性连接,重力势能发电组件与发电‑电动一体机的驱动轴传动连接。上述风力与重力势能互补发电系统能够在风量变化的情况下保持相对稳定的电力输出,减少了对电网的冲击,提高了电力供应的可靠性。

海上风电分段式塔筒结构及方法

NºPublicación:  CN121611573A 06/03/2026
Solicitante: 
上海瓯洋海上风电科技股份有限公司
CN_121611573_PA

Resumen de: CN121611573A

本发明属于风电塔筒技术领域,具体涉及海上风电分段式塔筒结构及方法,包括第一塔筒和第二塔筒,所述第一塔筒内固定安装有第一十字架,所述第二塔筒内固定安装有第二十字架,第一十字架和第二十字架通过设有的定位柱和辅助定位组件进行连接,所述第一塔筒底部连接有多个异径圆柱体,所述异径圆柱体底部连接有半球体,所述异径圆柱体和半球体均插接到所述第二塔筒顶部开设的哑铃形槽内,所述哑铃形槽内沿周向间隔固设有多个弧形弹性金属片,多个弧形弹性金属片底部边缘形成的圆形直径小于所述半球体的直径,所述半球体一侧内部连接有限位组件,本发明将传统单一螺栓连接的集中受力转化为周向分散承载,有效提升了分段塔筒对接部位的整体刚度。

一种风电机组的机舱支撑装置

NºPublicación:  CN121611572A 06/03/2026
Solicitante: 
华能国际电力股份有限公司大连电厂
CN_121611572_PA

Resumen de: CN121611572A

本发明属于风力发电技术领域,具体的说是一种风电机组的机舱支撑装置,包括:底部支撑机构,所述底部支撑机构的顶部安装有塔杆;机舱,所述机舱安装在塔杆的顶端;扇叶,所述扇叶安装在机舱的外壁;斜向支撑机构,所述斜向支撑机构安装在底部支撑机构的顶部,本发明通过设置底部支撑机构,在初始安装时,将底板与地面连接,此时可以将一个与塔杆相同直径的圆柱竖直放置在底板内,使弹性杆与圆柱体接触,圆柱体经过外力吊起保持竖直,放入套筒内后,如果触发报警,则表示此时底板并不水平,需要再次调整,直到圆柱竖直放入后,接触传感器保持正常,适用于不同的地形,通过安装前的人工调整保持塔杆安装时处于竖直,减少后续调整的工作量。

一种面向风电运维的智能化轴承故障监测方法及设备

NºPublicación:  CN121611582A 06/03/2026
Solicitante: 
陕西科技大学
CN_121611582_PA

Resumen de: CN121611582A

本发明公开了一种面向风电运维的智能化轴承故障监测方法及设备,属于风电故障监测技术领域,通过引入基于 HyperMesh 与 ANSYS 的联合仿真分析方式,通过对风机轴承结构进行精细化建模与网格划分,并结合有限元求解分析轴承在实际工况下的应力与振动响应特性,准确地反映轴承振动能量分布及关键响应区域,实现对轴向、径向及横向振动信息的有效覆盖,使所布置的传感器能够更加有效地获取与轴承运行状态密切相关的振动信息,相较于现有技术中统一或经验式布置测点的方式,能够提高轴承故障特征信号的信噪比和可识别性,降低漏检和误判的发生概率。

一种风电机组状态监测与故障溯源方法及系统

NºPublicación:  CN121611578A 06/03/2026
Solicitante: 
华能陇东能源有限责任公司
CN_121611578_PA

Resumen de: CN121611578A

本发明公开了一种风电机组状态监测与故障溯源方法及系统,涉及风电机组状态监测和故障溯源技术领域,本发明根据目标风电机组的各工况信息,对目标风电机组各核心部件进行仿真测试,从而分析得到目标风电机组在各工况下的各物理量的矢量云图、标量云图和各标量云图的传导特征值,进而在目标风电机组工作过程中,监测目标风电机组的工况信息和对应各核心部件的各物理量数据,从而分析目标风电机组各核心部件的工作状态是否异常,从而对目标风电机组进行故障溯源分析。本发明有效提升了对风电机组状态监测的准确度,同时降低了故障溯源的时间成本,为风电机组的故障维护奠定了基础。

METHOD FOR OPERATING A WIND TURBINE AND WIND TURBINE

NºPublicación:  WO2026046652A1 05/03/2026
Solicitante: 
NORDEX ENERGY SPAIN S A U [ES]
NORDEX ENERGY SPAIN S.A.U
WO_2026046652_PA

Resumen de: WO2026046652A1

The method is for operating a wind turbine (100) having a rotatable nacelle (40), a rotor (10) with at least one rotor blade (b_j), wherein the rotor is mounted on the nacelle, and at least one drive (d_i) for rotating the nacelle by exerting torque. The method comprises a step of providing first information (I1) which is representative of a position setpoint (Pn) of the nacelle and a step of providing second information (I2) which is representative of an external torque (Myaw) acting on the nacelle due to the aerodynamics of the rotor during rotation caused by wind. In a further step, an operating setpoint (OS_i) for the at least one drive is determined depending on the first and the second information. The operating setpoint is determined such that, when the at least one drive is operated according to the operating setpoint, the at least one drive brings or keeps the nacelle at the position setpoint by exerting torque. The second information is used in a feedforward manner for the determination of the operating setpoint. Significant method for operating a wind turbine and wind turbine

TRANSMISSION DRIVE TRAIN WITH TILT COMPENSATION

NºPublicación:  WO2026046979A1 05/03/2026
Solicitante: 
FLENDER GMBH [DE]
FLENDER GMBH
WO_2026046979_PA

Resumen de: WO2026046979A1

The invention relates to a transmission drive train (10) having a drive train axis AD for a wind turbine, comprising a first and at least one further transmission component (12), (20) each having a central axis AM1, AM2, wherein the first transmission component (12) has at least one planet carrier (14) with planets of a first planetary stage (22) received therein, a first housing element (28) as a flange section with a received bearing (16) for the planet carrier (14), and a second housing element (30) as a ring gear, and the second transmission component (20) has at least one further planet stage and/or spur gear stage (26). In a state in which a weight FRG of the at least one further transmission component (20) does not act on said transmission component (20), the central axis AM2 of the at least one further transmission component (20) is at an angle +αVK with respect to the drive train axis AD. In a loaded state, the tilting between the toothing is eliminated.

TIDE- AND WIND-POWERED TURBINE, CONVERSION AND STORAGE SYSTEM

NºPublicación:  US20260063106A1 05/03/2026
Solicitante: 
PRICE ZARA ARE [US]
Price Zara Are
US_20260063106_PA

Resumen de: US20260063106A1

An electricity generation system employs a tide- and wind-powered turbine featuring an inverted blade configuration, where the blades extend inward from an outer ring, creating a central void for fluid passage and optimizing energy capture efficiency. The system includes advanced components such as an axial radial flux motor, ball bearings, and a variable pitch mechanism for dynamic blade adjustment. It is adaptable for mounting on bridges, pipelines, or power transmission towers and incorporates innovative motor technologies, including crystal motors, to achieve efficient energy conversion. The system supports bidirectional flow environments, ensuring continuous power generation, and integrates energy storage devices such as saltwater batteries to store excess energy. Designed for sustainable, 24-hour electricity generation with minimal environmental impact, the system is suitable for infrastructure-based installations, marine vessels, and small-scale devices, offering versatile applications across diverse environments.

STRUCTURE AND WIND TURBINE

NºPublicación:  WO2026046514A1 05/03/2026
Solicitante: 
HASSLACHER GREEN TOWER GMBH [AT]
HASSLACHER GREEN TOWER GMBH
WO_2026046514_PA

Resumen de: WO2026046514A1

The invention relates to a structure (2), in particular a tower (2a), for a wind turbine (1), comprising: a support structure (7), which has bars (10, 13, 14) in particular made of wood, and an extension (9) connected to the support structure (7) for arranging a generator (3) of the wind turbine (1), wherein the support structure (7) is open and an access and/or supply shaft (18) is arranged in or on the support structure (7), wherein the access and/or supply shaft (18) has a casing (29) and is designed to receive at least one electrical line (28) for the generator (3) and/or to allow ascent by maintenance personnel. The invention also relates to a wind turbine (1) having a structure (2) of this type.

METHODS FOR DETECTING STRUCTURAL DAMAGE OF A WIND TURBINE BLADE AND WIND TURBINES

NºPublicación:  WO2026046525A1 05/03/2026
Solicitante: 
GENERAL ELECTRIC RENOVABLES ESPANA S L [ES]
GENERAL ELECTRIC RENOVABLES ESPA\u00D1A S.L
WO_2026046525_PA

Resumen de: WO2026046525A1

The present disclosure relates to a method (100) for detecting a structural damage of a first blade (22) of a wind turbine (10). The wind turbine (10) comprises a rotor (18) with one or more blades (22). The method (100) comprises measuring time series of data indicative of loads on the first blade (22) including at least a first time series of data measured with a blade sensor (991, 992) over a measurement period. The method (100) also comprises calculating a first statistical characteristic from the measured first time series of data and detecting the structural damage of the first blade (22) at least partially based on the first calculated statistical characteristic. In a further aspect, the present disclosure relates to a wind turbine (10) comprising a control unit configured to carry out such method (100).

BAR FOR A FRAMEWORK AND PRODUCTION METHOD

NºPublicación:  WO2026046515A1 05/03/2026
Solicitante: 
HASSLACHER GREEN TOWER GMBH [AT]
HASSLACHER GREEN TOWER GMBH
WO_2026046515_PA

Resumen de: WO2026046515A1

The invention relates to a bar (3) for a framework (2), in particular a framework (2) for a wind turbine, comprising at least two wooden trusses (10) which are connected via a block joint (12), in particular a block glue joint (13), and which each have at least three longitudinally integrally bonded wood layers (14), in particular wood lamellae (15), wherein the at least two wooden trusses (10) connected via the block joint (12) form a core (8) of the bar (3), to the outside of which a weather protection layer (7), which contains a wood-based material, is applied. The invention further relates to a bar construction, to a wind turbine, and to a method for producing a bar of the type described above.

COOLING SYSTEM FOR A SUPERCONDUCTING GENERATOR

NºPublicación:  US20260066744A1 05/03/2026
Solicitante: 
GENERAL ELECTRIC RENOVABLES ESPANA S L [ES]
General Electric Renovables Espa\u00F1a, S.L
US_20260066744_PA

Resumen de: US20260066744A1

An electrical machine includes a shaft, a carrier structure arranged circumferentially around the shaft and defining a circumferential surface, a plurality of conducting coils secured to the carrier structure, and a cooling system. The cooling system includes an inlet manifold for providing a cooling fluid to the electrical machine, an outlet manifold for removing the cooling fluid from the electrical machine, and at least one passageway in fluid communication with the inlet manifold and the outlet manifold. The at least one passageway is arranged between two adjacent conducting coils of the plurality of conducting coils. The at least one passageway defines an inlet portion including a fluid inlet in fluid communication with the inlet manifold, an outlet portion including a fluid outlet in fluid communication with the outlet manifold, and a return portion arranged between the inlet portion and the outlet portion. The return portion defines a length such that the inlet portion and the outlet portion are arranged in contact with each other along respective lengths of the inlet and outlet portions so that a conductive potential of the at least one passageway is reduced.

SYSTEM AND METHOD FOR PROVIDING GEARBOX LUBRICATION OF A WIND TURBINE DURING AN OFF-GRID STATE

NºPublicación:  US20260063112A1 05/03/2026
Solicitante: 
GE INFRASTRUCTURE TECH LLC [US]
GE Infrastructure Technology LLC
US_20260063112_PA

Resumen de: US20260063112A1

A method for providing gearbox lubrication of a wind turbine during an off-grid state includes fluidly coupling an auxiliary lubrication system with a gearbox of the wind turbine. The off-grid state is characterized in that the wind turbine is mechanically and electrically installed at a wind farm but not yet connected to a grid. The method also includes determining a time-based control scheme for the auxiliary lubrication system to provide lubrication to the auxiliary lubrication system during the off-grid state. The time-based control scheme is defined a first time period in which the lubrication is provided to the gearbox via the auxiliary lubrication system during the off-grid state and a second time period in which the lubrication is not provided to the gearbox via the auxiliary lubrication system during the off-grid state. The first time period is less than the second time period. Further, the method includes implementing, via a controller, the control scheme for the auxiliary lubrication system to provide the lubrication to the gearbox of the wind turbine during the off-grid state.

SYSTEM AND METHOD FOR HARVESTING ENERGY OF A WIND TURBINE DURING AN OFF-GRID STATE

NºPublicación:  US20260063107A1 05/03/2026
Solicitante: 
GE INFRASTRUCTURE TECH LLC [US]
GE Infrastructure Technology LLC
US_20260063107_PA

Resumen de: US20260063107A1

A method for harvesting energy from one or more internal energy sources of a wind turbine of a wind farm during an off-grid state includes collecting energy from the one or more internal energy sources locally at the wind turbine during the off-grid state. The off-grid state is characterized in that the wind turbine is mechanically and electrically installed at the wind farm but not yet connected to a grid. The method further includes storing at least a portion of the energy in one or more energy storage devices locally at the wind turbine or the wind farm during the off-grid state. Moreover, the method includes using the energy to periodically power one or more electrical power systems used for idle operation or maintenance tasks of the wind turbine during the off-grid state.

MODULAR FLOATING STRUCTURE FOUNDATION FOR WIND TURBINE

NºPublicación:  US20260063108A1 05/03/2026
Solicitante: 
ZOU JUN [US]
Zou Jun
US_20260063108_PA

Resumen de: US20260063108A1

A floating structure foundation for a wind turbine features several improvements, including a transition assembly that supports the wind turbine generator (WTG) and tower centrally, transferring loads to primary structural components to maximize efficiency. Its highly modular design allows for flexible construction and scalability, with each component built independently for easier adaptation to different project requirements and site conditions. This modularity supports efficient dry transport, enabling multiple modules to be shipped simultaneously on various vessels. The foundation offers a simplified design with accelerated construction, rapid assembly, and installation.

Computer-implemented method for monitoring a generator of a wind turbine, wind turbine, computer program and elec-tronically readable storage medium

NºPublicación:  US20260063110A1 05/03/2026
Solicitante: 
SIEMENS GAMESA RENEWABLE ENERGY AS [DK]
Siemens Gamesa Renewable Energy A/S
US_20260063110_PA

Resumen de: US20260063110A1

Computer-implemented method for monitoring a generator (13) of a wind turbine (1) for detecting interturn short-circuit faults in at least one stator winding set (15, 23) of the generator (13), wherein a strength of a second harmonic of a power produced from the stator winding set (15, 23) and the DC value of the power are determined, wherein, in respective time steps, a first analysis criterion describing the DC value of the power being constant evaluates the DC value of the power,a second analysis criterion describing the occurrence of a transient in the strength of the second harmonic evaluates the strength of the second harmonic, andan interturn short-circuit fault signal is generated if the first and the second analysis criterion both yield true for a given number of time steps.

WIND TURBINE BLADE, WIND TURBINE AND METHOD FOR OPERATING A WIND TURBINE

NºPublicación:  US20260063102A1 05/03/2026
Solicitante: 
LM WIND POWER AS [DK]
GENERAL ELECTRIC RENOVABLES ESPANA S L [ES]
LM Wind Power A/S,
General Electric Renovables Espana, S.L
US_20260063102_PA

Resumen de: US20260063102A1

A wind turbine blade (10, 10′) includes a shell (11) and a torque transferring member (20) at least partly arranged inside the shell (11). The shell (11) includes a root portion (12) and defines a longitudinal direction (r11). The torque transferring member (20) includes a root section (21) and a longitudinal axis (r20) at least substantially parallel oriented to the longitudinal direction (r11). The root section (21) of the torque transferring member (20) is rotatably around the longitudinal axis (r20) with respect to the root portion (12) of the shell (11). The torque transferring member (20) is mechanically connected via a coupling (26) with the shell (11) for providing a torsional moment (ΔT1-ΔT3) on the shell (11).

SPAR CAP FOR A WIND TURBINE ROTOR BLADE, SET FOR MANUFACTURING A HALF SHELL OF A WIND TURBINE ROTOR BLADE, ASSEMBLY INCLUDING A SPAR CAP AND A MOLD, AND METHOD OF MANUFACTURING A HALF SHELL OF A WIND TURBINE ROTOR BLADE

NºPublicación:  US20260063103A1 05/03/2026
Solicitante: 
NORDEX BLADE TECH CENTRE APS [DK]
NORDEX ENERGY SE & CO KG [DE]
Nordex Blade Technology Centre ApS,
Nordex Energy SE & Co. KG
US_20260063103_PA

Resumen de: US20260063103A1

A spar cap is for a wind turbine rotor blade. The spar cap includes a stack of fiber material layers, which are stacked in a stacking direction from a bottom face to a top face, and a clipping layer which is arranged on the top face of the stack. The clipping layer protrudes beyond the stack of fiber material layers in a lateral direction which is perpendicular to the stacking direction. A set is for manufacturing a half shell of a wind turbine rotor blade. An assembly includes a spar cap and a mold. A method is for manufacturing a half shell of a wind turbine rotor blade.

METHOD OF MANUFACTURING A HALF SHELL AS WELL AS WIND TURBINE ROTOR BLADE

NºPublicación:  US20260061709A1 05/03/2026
Solicitante: 
NORDEX BLADE TECH CENTRE APS [DK]
NORDEX ENERGY SE & CO KG [DE]
Nordex Blade Technology Centre ApS,
Nordex Energy SE & Co. KG
US_20260061709_PA

Resumen de: US20260061709A1

A method of manufacturing a half shell of a wind turbine rotor blade, the method including: providing a mold, arranging an outer shell laminate in the mold, arranging three spar caps on the outer shell laminate. The second spar cap is arranged between the first spar cap and the third spar cap, the third spar cap is positioned at an outermost trailing edge, and core elements are arranged between the first spar cap and the second spar cap and/or between the second spar cap and the third spar cap and/or between the first spar cap and the third spar cap. At least one of the core elements is a tolerance compensation element that includes a wedge-formed portion and interacts in a form-fit manner with a corresponding counter wedge-formed portion. A wind turbine rotor blade includes a half shell.

METHOD FOR HANDLING GEARBOX VIBRATIONS IN A WIND TURBINE

NºPublicación:  US20260063105A1 05/03/2026
Solicitante: 
VESTAS WIND SYSTEMS AS [DK]
VESTAS WIND SYSTEMS A/S
US_20260063105_PA

Resumen de: US20260063105A1

A method and control system for controlling operation of a generator for a wind turbine is disclosed. The method and control system obtain a measure for a rotational speed of the generator and a measure for gearbox vibrations corresponding to a gearbox of the wind turbine; determine at least one amplitude of a harmonic in the gearbox vibrations; generate a torque modulating signal for the generator by: selecting an initial phase angle and an initial amplitude, based on the rotational speed of the generator and on the at least one amplitude of the harmonic in the gearbox vibrations, adjusting the initial phase angle and the initial amplitude, and generating a torque modulating signal based on the adjusted phase angle and the adjusted amplitude; and inject the torque modulating signal into the generator.

Anti-Icing Device for Blade of Wind Turbine Generator System, and Anti-Icing Method

NºPublicación:  US20260063111A1 05/03/2026
Solicitante: 
HUANENG JIUQUAN WIND POWER CO LTD [CN]
Huaneng Jiuquan Wind Power Co., Ltd
US_20260063111_PA

Resumen de: US20260063111A1

Disclosed is an anti-icing device for a blade of a wind turbine generator system, which relates to the technical field of wind turbine generator systems. The device includes a vibration unit and an excitation unit. The vibration unit includes a mounting seat, a vibration assembly, and a support column. The excitation unit includes an excitation assembly, a drive assembly, an energy storage assembly, and a snap-fit assembly. The anti-icing device for a blade of a wind turbine generator system can be mounted conveniently and does not require extra power as a driving energy source.

BIAXIAL SINGLE FREQUENCY FATIGUE TEST FOR WIND TURBINE BLADES

NºPublicación:  US20260063109A1 05/03/2026
Solicitante: 
ENVISION ENERGY CO LTD [CN]
Envision Energy Co., Ltd
US_20260063109_PA

Resumen de: US20260063109A1

A method and system of fatigue testing a wind turbine blade using a test system. The test system includes a test stand to which the wind turbine is fixed. A first excitation unit is connected to the wind turbine blade and used to introduce loadings in the flapwise direction. A second excitation unit is connected to the wind turbine blade and used to introduce loadings in the edge wise direction. A load controllable unit is further connected to the wind turbine blade and used to adjust the resonant frequency of the test system. Loadings in the flapwise and edgewise directions are introduced at the same resonant frequency and the loadings are measured using a number of detector units. The control unit monitor and control the amplitude of the first and second harmonic motions and the phase between the first and second harmonic motions.

WIND POWER GENERATION APPARATUS

NºPublicación:  US20260063104A1 05/03/2026
Solicitante: 
BITMAIN TECH INC [CN]
BITMAIN TECHNOLOGIES INC
US_20260063104_PA

Resumen de: US20260063104A1

The present disclosure provides a wind power generation apparatus, including: a tower body; at least two wind power generators arranged on the tower body and stacked along an extending direction of the tower body; where, a rotation shaft of each wind power generator is parallel to the extending direction and a bottom of each wind power generator is connected with a first connecting member; two first connecting members at the bottoms of two adjacent wind power generators are connected through at least two second connecting members, and an arrangement direction of the second connecting members is different from that of the first connecting members. In embodiments of the present disclosure, the power generation efficiency of the wind power generation apparatus can be improved while reducing the floor space of the wind power generation apparatus and enhancing its stability.

Spraying Device for Interior Repair of Wind Turbine Blade

NºPublicación:  US20260061446A1 05/03/2026
Solicitante: 
HUANENG JIUQUAN WIND POWER CO LTD [CN]
Huaneng Jiuquan Wind Power Co., Ltd
US_20260061446_PA

Resumen de: US20260061446A1

The present disclosure relates to the technical field of spraying devices, and in particular, to a spraying device for interior repair of a wind turbine blade. The spraying device for interior repair of a wind turbine blade includes: a base ring; extension arms arranged in pairs; rotation mechanisms including drive members arranged at end portions of the extension arms, and wheel that are in transmission connection to the drive members; probing mechanisms arranged on the extension arms; and spraying mechanisms arranged on the probing mechanisms; where the probing mechanisms are capable of extending in an axial direction of the base ring, and when the probing mechanisms extend, the spraying mechanism are driven to move two sides of the reinforcement plate, and then the spraying mechanisms can perform spraying on inner walls, on two sides of the reinforcement plate, of the blade body.

PITCH REGULATOR UNIT OF A WIND TURBINE HAVING A SYSTEM-WIDE PARAMETERISABLE SAFETY RUN AND OPERATING STATE CONTROLLER, AND RELATED OPERATING METHOD

NºPublicación:  AU2024354464A1 05/03/2026
Solicitante: 
KEBA IND AUTOMATION GERMANY GMBH
KEBA INDUSTRIAL AUTOMATION GERMANY GMBH
AU_2024354464_PA

Resumen de: AU2024354464A1

The invention relates to a pitch regulator unit (16) for a wind turbine (10) including a plurality of operating state configurations (50) which can be at least partly transformed into one another. The invention proposes that an operating state controller (52) is comprised which allows parameterisation of dynamic and/or static control variables of a safety run (SFR), comprising at least one of the control variables rotational speed, torque, acceleration, run time and/or end position, and preferably transformability of operating state configurations (50), on the basis of internal and external information signalling (30, 32, 34, 36). In addition, the invention proposes a corresponding control method for operating the pitch regulator unit (16), in which a curve of a safety run (SFR) is parameterised on the basis of internal and external information signalling (30, 32, 34, 36).

TUBE ELEMENT FOR FLOATABLE OFFSHORE SUPPORT STRUCTURE FOR WIND TURBINE

NºPublicación:  AU2024327326A1 05/03/2026
Solicitante: 
GUSTOMSC B V
GUSTOMSC B.V
AU_2024327326_PA

Resumen de: AU2024327326A1

Method of forming a tube element for use as a longitudinal section of a brace for a truss structure of a floatable offshore support structure for a wind turbine, comprising: providing four elongate flat steel plates each extending along a longitudinal direction and having two opposite lateral edges; deforming each plate such that, along the longitudinal direction, a transverse shape of the plate smoothly transitions between a rectilinear shape and an arcuate shape; and forming the tube element by interconnecting the four deformed plates along their lateral edges. The interconnected plates each form a respective circumferential section of the tube element, wherein along the longitudinal direction, a transverse shape of the tube element smoothly transitions from a circular shape to a rectangular shape. The tube element may connect a cylindrical further tube element of the brace with a further part of the floatable offshore support structure.

AN APPARATUS FOR CONTROLLING FLUID FLOW TO TURBINES

NºPublicación:  AU2024322592A1 05/03/2026
Solicitante: 
NEWCO142 LTD
NEWCO142 LIMITED
AU_2024322592_PA

Resumen de: AU2024322592A1

The invention provides an apparatus for introducing skew to a fluid flow directed on to one or more vertical axis turbine, the apparatus comprising a support structure (2, 4, 6) having mounted thereon a plurality of vertically spaced aerofoils (8) arranged to surround the one or more vertical axis turbines, the vertical spacings being selected and the aerofoils being profiled and arranged at an angle such that fluid flow between the aerofoils is skewed before it is incident upon the vertical axis turbine(s).

MODULAR THERMOPLASTIC WEB STRUCTURE FOR WIND POWER GENERATION, MANUFACTURING METHOD THEREFOR, AND WIND TURBINE BLADE

NºPublicación:  AU2025205329A1 05/03/2026
Solicitante: 
ENVISION ENERGY CO LTD
ENVISION ENERGY CO., LTD
AU_2025205329_A1

Resumen de: AU2025205329A1

A modular thermoplastic web structure for wind power, a manufacturing method therefor and a wind turbine blade. The modular thermoplastic web structure comprises: two continuous thermoset web flanges (11) fixedly connected to a wind turbine blade shell, and a thermoplastic modular interlayer (10). The thermoplastic modular interlayer (10) is arranged between the two continuous thermoset web flanges (11), with ends thereof being fixedly connected to the continuous thermoset web flanges (11).

Schwimmende Funktionseinheit mit einem oder mehreren Auftriebskörpern

NºPublicación:  DE102024124929A1 05/03/2026
Solicitante: 
FRAUNHOFER GES FORSCHUNG [DE]
Fraunhofer-Gesellschaft zur F\u00F6rderung der angewandten Forschung eingetragener Verein

Resumen de: DE102024124929A1

Die Erfindung bezieht sich auf eine schwimmende Funktionseinheit, insbesondere eine Schwimmplattform (1) oder ein Wasserfahrzeug, mit einer Deckstruktur (2) und einem oder mehreren Auftriebskörpern (3a, 3b, 3c, 3d), wobei einer oder mehrere der Auftriebskörper jeweils ein Rotorblatt (4) oder einen Teil, insbesondere einen Längsabschnitt eines Rotorblatts einer Windenergieanlage aufweist/aufweisen. Weiter bezieht sich die Erfindung auf einen derartigen Auftriebskörper und ein Verfahren zu seiner Herstellung aus einem Rotorblatt.

System zur Fluidversorgung

NºPublicación:  DE102024002795A1 05/03/2026
Solicitante: 
HYDAC FILTERTECHNIK GMBH [DE]
Hydac Filtertechnik GmbH

Resumen de: DE102024002795A1

1. System2. System zur Fluidversorgung mindestens eines Verbrauchers (V), insbesondere zur Schmiermittelversorgung von Verbrauchern (V), wie Lagerstellen in Getrieben von Windkraftanlagen einschließlich Gleitlagern, zumindest bestehend aus einer- Fördereinrichtung (14),- Filtereinrichtung (16), und- Wärmetauscheinrichtung (18), die über fluidführende Leitungen (20, 22) miteinander verbunden und im Rahmen einer Fluidführung (24) entlang einer Strömungsrichtung mit Fluid durchströmbar sind, dadurch gekennzeichnet, dass zwischen der Fördereinrichtung (14) und dem jeweiligen Verbraucher (V) im Hauptstrom (40) einer Fluidführung (24) eine Hauptfilterstufe (42) der Filtereinrichtung (16) geschaltet ist, dass zur Steuerung eines Nebenstroms (44) der Fluidführung (24) mindestens eine Ventileinrichtung (46) vorgesehen ist, und dass mit ansteigendem Differenzdruck betreffend die Hauptfilterstufe (42) die jeweilige Ventileinrichtung (46) betätigt, eine vorgebbare Teilmenge des Fluids aus der Fluidführung (24) zum Verbraucher (V) entfernt.

Magnus-Rotor-Anordnung

NºPublicación:  DE102024125168A1 05/03/2026
Solicitante: 
ECO FLETTNER GMBH [DE]
ECO FLETTNER GmbH

Resumen de: DE102024125168A1

Magnus-Rotor-Anordnung aufweisend mindestens einen Magnus-Rotor, der an einer Tragachse gelagert ist, wobei die Tragachse mindestens ein erstes und ein zweites Achssegment umfasst, die relativ zueinander verschiebbar ausgestaltet sind.

Kran sowie Verfahren zu dessen Montage an einem Bauwerk

NºPublicación:  DE102024124820A1 05/03/2026
Solicitante: 
LIEBHERR WERK BIBERACH GMBH [DE]
Liebherr-Werk Biberach GmbH

Resumen de: DE102024124820A1

Die vorliegende Erfindung betrifft ein Verfahren zur Montage eines Krans, der einen Turm und einen darauf abgestützten Ausleger umfasst, an einem Bauwerk mittels einer Montageeinrichtung, die einen Tragrahmen aufweist, der am Bauwerk befestigbar ist und den Turm des Krans lagert, wobei der Kran mit seinem Turm in einer Kopfüber-Stellung mit einem Turmfuß an dem am Bauwerk befestigten Tragrahmen befestigt wird und der Kran mit am Turm montierten Ausleger vom Tragrahmen gehalten um eine liegende Montageschwenkachse relativ zum Tragrahmen aus der genannten Kopfüber-Stellung in eine aufrechte Kopfoben-Stellung verschwenkt wird.

Kran sowie Verfahren zum Beklettern eines Bauwerks mit einem Turmdrehkran

NºPublicación:  DE102024124864A1 05/03/2026
Solicitante: 
LIEBHERR WERK BIBERACH GMBH [DE]
Liebherr-Werk Biberach GmbH

Resumen de: DE102024124864A1

Die vorliegende Erfindung betrifft Krane wie Turmdrehkrane, mit einem Turm, der einen um eine aufrechte Drehachse verdrehbaren Ausleger trägt, von dem ein Hubseil zum Heben von Lasten abläuft, sowie mit einer Klettereinrichtung zum Erklettern eines Bauwerks und/oder Mitklettern an einem wachsenden Bauwerk, wobei die Klettereinrichtung einen Tragrahmen, der Befestigungsmittel zum Befestigen am Bauwerk sowie eine Schiebeführung zum Verschieben des Turms in Turmlängsrichtung aufweist, sowie eine Hubvorrichtung zum Anheben des Turms relativ zum Tragrahmen umfasst. Die Erfindung betrifft ferner auch ein Verfahren zum Beklettern eines Bauwerks mit einem solchen Kran, bei dem der Turm ohne eigene Bodenabstützung vollständig am Bauwerk gehalten und in Turmlängsrichtung verschoben wird bzw. zum Errichten und/oder Bestücken eines Bauwerks wie Windanlagenturm, sowie ferner ein Adapterstück zum Befestigen eines Tragrahmens für das Befestigen eines Krans an einem Anlagenturm. Erfindungsgemäß wird der Kran zumindest temporär nur von dem einen genannten Tragrahmen am Bauwerk gehalten und dabei gegenüber dem Bauwerk vom Hubwerk verschoben.

風力発電装置の変位観測システム及び風力発電装置の変位観測方法

NºPublicación:  JP2026036358A 05/03/2026
Solicitante: 
清水建設株式会社
JP_2026036358_PA

Resumen de: JP2026036358A

【課題】タワー頂部の上部に配置されたナセルの回転動作にも関わらず、タワー頂部の変位を精度高く計測する。【解決手段】基地局30と、複数のGNSSアンテナ11a~13aをナセルの上部にそれぞれ配置した観測局11~13と、基準局30及び各観測局11~13からの観測データをもとにタワー頂部の変位を計測する変位観測装置40と、を備え、変位観測装置40は、ナセル3を回転しつつ各GNSSアンテナ11a~13aの位置を計測し、各GNSSアンテナ11a~13aの位置履歴である円の中心をタワー頂部の初期位置に設定するとともに、各円の半径を求める初期設定部41と、各GNSSアンテナ11a~13aの位置を計測し、該計測した位置から各半径を用いて描いた円の初期位置側の交点位置をタワー頂部の現在位置として求め、タワー頂部の初期位置からの水平変位を計測する変位計測部42とを備える。【選択図】図3

BLADELESS WIND TURBINE POWER GENERATION SYSTEM

NºPublicación:  WO2026047692A1 05/03/2026
Solicitante: 
RAUT KARTIK [IN]
RAUT PRABODH [IN]
RAUT BHAGYALAXMI [IN]
RAUT, Kartik,
RAUT, Prabodh,
RAUT, Bhagyalaxmi
WO_2026047692_PA

Resumen de: WO2026047692A1

The present invention discloses a novel bladeless wind turbine power generation system designed to efficiently harness wind energy in environments where traditional large-blade turbines are impractical The system features a cylindrical hollow pipe with spiral air inlets, which initiates wind channelization. A bladeless fan, positioned at one end of the pipe, creates negative air pressure, facilitating continuous airflow through the pipe. This airflow is then directed through a series of concentric reducer pipes with strategically placed inlets, accelerating wind flow and enhancing pressure management. The wind is ultimately channelled into a motor where a rotating shaft converts the kinetic energy into mechanical energy, which is further transformed into electrical energy. The design minimizes noise, visual impact, and wildlife risks compared to conventional turbines. The invention is particularly advantageous for narrow or spatially constrained locations such as urban areas and valleys, offering a high-efficiency, cost-effective alternative to traditional wind energy solutions.

TOWER SUPPORT STRUCTURE, CASTING MOLD, TOWER, AND WIND TURBINE GENERATOR

NºPublicación:  WO2026046307A1 05/03/2026
Solicitante: 
JIANGSU GOLDWIND SCIENCE & TECH CO LTD [CN]
GOLDWIND PIONEER TECH YANCHENG CO LTD [CN]
\u6C5F\u82CF\u91D1\u98CE\u79D1\u6280\u6709\u9650\u516C\u53F8,
\u91D1\u98CE\u524D\u6CBF\u6280\u672F\uFF08\u76D0\u57CE\uFF09\u6709\u9650\u516C\u53F8
WO_2026046307_PA

Resumen de: WO2026046307A1

The present application relates to a tower support structure, a casting mold, a tower, and a wind turbine generator. The tower support structure comprises a plurality of vertical columns and first support assemblies each provided between every two adjacent vertical columns. Each vertical column comprises column nodes and column segments alternately arranged and connected in a first direction. Each first support assembly comprises a plurality of support units. Each support unit comprises a plurality of diagonal struts arranged in a crossed configuration. The support units are arranged at intervals in the first direction and are correspondingly connected to the column nodes on the two adjacent vertical columns by means of the diagonal struts. The column nodes on at least one vertical column are formed as integrally cast structures, and at least two column nodes formed as integrally cast structures on the same vertical column have the same structure. Thus, on the basis that the column nodes are integrally cast, the types of casting molds required for manufacturing the column nodes of the vertical column can be reduced, thereby reducing production costs and satisfying both reliability and economic requirements.

SPRAY DEVICE FOR INTERNAL REPAIR OF WIND TURBINE BLADE

NºPublicación:  WO2026045951A1 05/03/2026
Solicitante: 
HUANENG JIUQUAN WIND POWER CO LTD [CN]
\u534E\u80FD\u9152\u6CC9\u98CE\u7535\u6709\u9650\u8D23\u4EFB\u516C\u53F8
WO_2026045951_PA

Resumen de: WO2026045951A1

The present invention relates to the technical field of spray devices, and specifically relates to a spray device for internal repair of a wind turbine blade, comprising: a base ring; extension arms, which are arranged in pairs on the base ring; rotating mechanisms, each of which comprises a driving member arranged at the end of the extension arm, and a wheel mounted on the extension arm and drivingly connected to the driving member; insertion mechanisms, which are arranged on the extension arms; and spray mechanisms, which are arranged on the insertion mechanisms, wherein the insertion mechanisms can extend in the axial direction of the base ring, and extension of the insertion mechanisms can drive the spray mechanisms to move. The insertion mechanisms can extend and retract so as to drive the spray mechanisms to move; since a reinforcing plate divides the internal space of a blade body into two parts, in the embodiments, there are two insertion mechanisms and two spray mechanisms; the two insertion mechanisms can respectively send the two spray mechanisms to two sides of the reinforcing plate, enabling the spray mechanisms to perform spray-coating operations on the inner walls of the blade body on two sides of the reinforcing plate.

ANTI-ICING DEVICE FOR WIND TURBINE BLADE AND ANTI-ICING METHOD

NºPublicación:  WO2026045953A1 05/03/2026
Solicitante: 
HUANENG JIUQUAN WIND POWER CO LTD [CN]
\u534E\u80FD\u9152\u6CC9\u98CE\u7535\u6709\u9650\u8D23\u4EFB\u516C\u53F8
WO_2026045953_PA

Resumen de: WO2026045953A1

An anti-icing device for a wind turbine blade, comprising a vibration unit (200) and an actuating unit (300). The vibration unit (200) comprises a mounting base (201) arranged on a wind turbine unit (100), a vibration assembly (202) arranged on the mounting base (201), and a support column (203) arranged on the mounting base (201). The actuating unit (300) comprises an actuating assembly (301) rotatably arranged on the support column (203) and abutting against the vibration assembly (202), a driving assembly (303) rotatably arranged on the support column (203), an energy storage assembly (302) rotatably arranged on the support column (203) and having two ends respectively connected to the actuating assembly (301) and the driving assembly (303), and a snap-fitting assembly (304) having one end rotatably arranged on the support column (203) and the other end snap-fitted with the actuating assembly (301).

DEVICE FOR SUPPLYING ELECTRICAL POWER TO A DE-ICING SYSTEM

NºPublicación:  WO2026047312A1 05/03/2026
Solicitante: 
SAFRAN ELECTRICAL & POWER [FR]
SAFRAN ELECTRICAL & POWER
WO_2026047312_PA

Resumen de: WO2026047312A1

The invention relates to a device (30) for supplying electrical power to a de-icing system (46), comprising a rotor comprising a ring (32) bearing a plurality of generators (36, G, G1, G2), each generator comprising a pinion (40) comprising a toothing; further comprising a ring gear (34) that is coaxial with the ring and comprises an annular toothing engaged with the toothings of the pinions; further comprising a stator (64) bearing at least one clamping member (42) for rotationally clamping the ring gear; further comprising control means (48) for controlling said at least one clamping member making it possible to control said at least one clamping member between a first position for clamping/blocking the ring gear and a second position for releasing the ring gear.

FLOATING FUNCTIONAL UNIT HAVING ONE OR MORE BUOYANCY BODIES

NºPublicación:  WO2026047105A1 05/03/2026
Solicitante: 
FRAUNHOFER GES ZUR FOERDERUNG DER ANGEWANDTEN FORSCHUNG E V [DE]
FRAUNHOFER-GESELLSCHAFT ZUR F\u00D6RDERUNG DER ANGEWANDTEN FORSCHUNG E.V
WO_2026047105_PA

Resumen de: WO2026047105A1

The invention relates to a floating functional unit, in particular a floating platform (1) or a watercraft, comprising a deck structure (2) and one or more buoyancy bodies (3a, 3b, 3c, 3d), one or more of the buoyancy bodies each comprising a rotor blade (4) or a part, in particular a longitudinal portion, of a rotor blade of a wind turbine. The invention further relates to such a buoyancy body and to a method for the production thereof from a rotor blade.

ENHANCED POWER GENERATION PREDICTION

NºPublicación:  WO2026050153A1 05/03/2026
Solicitante: 
X DEV LLC [US]
X DEVELOPMENT LLC
WO_2026050153_PA

Resumen de: WO2026050153A1

This disclosure describes forecasting required power output for a plurality of thermal generators. Including training a Time-series Dense Encoder (TiDE) model on a corpus of historical weather data for a particular geographic region, the trained TiDE model forecasts weather for the geographic region. Training a machine learning model on historical power output and weather data for a particular wind farm within the geographic region, wherein the trained machine learning model predicts the power output out of the wind farm for a given weather condition. Forecasting, using the TiDE model, the weather in the geographic region. Predicting the power output of the wind farm by providing the forecasted weather to the machine learning model. Forecasting a required power output for a plurality of thermal generators based on the predicted power output of the wind farm by calculating the output of a fixed effects ordinary least squares (OLS) regression model.

METHOD AND APPARATUS FOR REGULATING POWER OF OFFSHORE WIND FARM ENERGY STORAGE SYSTEM ON BASIS OF STATE OF CHARGE

NºPublicación:  WO2026045187A1 05/03/2026
Solicitante: 
GUANGDONG POWER GRID CO LTD [CN]
ELECTRICAL POWER DISPATCHING & CONTROL CENTER OF GUANGDONG POWER GRID CO LTD [CN]
\u5E7F\u4E1C\u7535\u7F51\u6709\u9650\u8D23\u4EFB\u516C\u53F8,
\u5E7F\u4E1C\u7535\u7F51\u6709\u9650\u8D23\u4EFB\u516C\u53F8\u7535\u529B\u8C03\u5EA6\u63A7\u5236\u4E2D\u5FC3
WO_2026045187_PA

Resumen de: WO2026045187A1

Disclosed in the present application are a method and apparatus for regulating the power of an offshore wind farm energy storage system on the basis of the state of charge. The method in the present application comprises: acquiring a power grid frequency and the state of charge of an offshore wind farm energy storage system, and on the basis of the power grid frequency and the state of charge, acquiring a power grid frequency deviation and a state-of-charge recovery demand, respectively; determining whether the power grid frequency deviation is within a preset power grid frequency dead band, if the power grid frequency deviation is within the power grid frequency dead band, in view of the power grid frequency deviation and the state-of-charge recovery demand, acquiring an inertia power regulation and control amount of the energy storage system by means of a fuzzy control algorithm combined with a preset adaptive inertia frequency control model, otherwise, in view of the power grid frequency deviation and the state-of-charge recovery demand, acquiring the inertia power regulation and control amount by means of the adaptive inertia frequency control model; and on the basis of the inertia power regulation and control amount, regulating and controlling the inertia power of the offshore wind farm energy storage system. By means of the present application, the level of refinement and accuracy of a regulation and control process for an energy storage system can be improved.

VERTICAL-AXIS WIND TURBINE AND WIND POWER GENERATOR USING SAID WIND TURBINE

NºPublicación:  WO2026048360A1 05/03/2026
Solicitante: 
SHIRAI HIROTO [JP]
\u767D\u4E95\u3000\u6D0B\u4EBA
WO_2026048360_PA

Resumen de: WO2026048360A1

A vertical wind turbine 100 comprises a main shaft 110 installed vertically, and a plurality of blades 120 that revolve around the main shaft 110. Each blade 120 is supported by a main arm 112, which extends outward in a radial direction from the main shaft 110, so as to be rotatable about a pitch axis parallel to the main shaft 110, and has, separately from the main arm 112, an auxiliary arm 114 that is installed to connect the main shaft 110 and the blade 120 and regulates a rotation angle (pitch angle) of the blade 120. The auxiliary arm 114 is installed on the blade 120 such that, when a wind speed is equal to or lower than a predetermined value, a position that is offset in a horizontal direction from the main shaft 114 in accordance with the wind direction becomes a rotation center β, and has an offset cancellation mechanism for canceling the offset when the wind speed becomes equal to or higher than the predetermined value.

SYSTEMS AND METHODS FOR PREDICTING ONE OR MORE NO-POWER CONDITIONS FOR A PLURALITY OF WIND ENERGY SITES

NºPublicación:  WO2026047411A1 05/03/2026
Solicitante: 
ANGLER SOLUTIONS INC [CA]
ANGLER SOLUTIONS INC
WO_2026047411_PA

Resumen de: WO2026047411A1

Provided are computer-implemented methods and systems for determining one or more no- power conditions for a plurality of wind energy sites, including: receiving a set of wind energy site characteristics for each wind energy site in the plurality of wind energy sites; receiving one or more weather data points from one or more weather data sources; simulating for each wind energy site in the plurality of wind energy sites, a digital representation of the wind energy site to produce a power generation schedule for the wind energy site; aggregating the power generation schedules for each wind energy site to produce an aggregate wind energy portfolio power generation schedule; determining one or more first time periods in which the aggregate wind energy portfolio power generation schedule indicates zero power generation; and determining a total number of hours corresponding to the one or more first time periods.

TOWER MOUNTING METHOD

NºPublicación:  WO2026044695A1 05/03/2026
Solicitante: 
BEIJING TIANSHAN HI TECH WIND POWER EQUIPMENT CO LTD [CN]
\u5317\u4EAC\u5929\u6749\u9AD8\u79D1\u98CE\u7535\u88C5\u5907\u6709\u9650\u8D23\u4EFB\u516C\u53F8
WO_2026044695_PA

Resumen de: WO2026044695A1

The present application provides a tower mounting method. A tower at least comprises a first tower section and a second tower section which are stacked in the height direction. The tower mounting method comprises the following steps: mounting the first tower section at a predetermined position; arranging a tower mounting auxiliary tooling on the outer side and/or the inner side the upper end of the first tower section, wherein the tower mounting auxiliary tooling is an annular member circumferentially surrounding the upper end of the first tower section, and the upper edge of the annular member is higher than the upper surface of the first tower section; applying a bedding mortar on the upper surface of the first tower section; and seating the second tower section on the bedding mortar. In the tower mounting method of the present application, by using the tower mounting auxiliary tooling, the loss of the bedding mortar can be effectively reduced, ensuring full bedding mortar at the joint of two adjacent tower sections, thereby improving the connection quality of the tower.

HORIZONTAL-AXIS WIND TURBINE FOR GENERATING POWER

NºPublicación:  WO2026047593A1 05/03/2026
Solicitante: 
TURA JONAS [PT]
TURA, Jonas
WO_2026047593_PA

Resumen de: WO2026047593A1

The present description relates to a horizontal-axis wind turbine for generating power, comprising: a support tower (1), a chassis (4), base bearings (3), a power generator (5), a front rotor (11) and a rear rotor (12), and a nacelle (13) including a horizontal rotation shaft (10), an orientation mechanism (33) and a gearbox. Said wind turbine is characterized in that both rotors are attached to the horizontal rotation shaft, with the front rotor (11) mounted on the front part of the nacelle (13) and the rear rotor (12) on the rear part. The rotors comprise blades (7, 8), the diameter of the front rotor blades being smaller than that of the rear rotor blades, thereby increasing the efficiency of the turbine and ensuring smooth and balanced operation, even under variable wind conditions.

WAVE ENERGY-BASED REEF SUSTAINABLE DEVICE INTEGRATED WITH OFFSHORE WIND TURBINE

NºPublicación:  US20260063101A1 05/03/2026
Solicitante: 
NATIONAL CHENG KUNG UNIV [TW]
National Cheng Kung University
US_20260063101_PA

Resumen de: US20260063101A1

A wave energy-based reef sustainable device integrated with an offshore wind turbine is provided. The wave energy-based reef sustainable device integrated with an offshore wind turbine can be put into a seabed, is configured to connect with a floating wind turbine, and includes a base is configured as a fish reef, an anchoring device configured to connect with the floating wind turbine, and includes plural rings with a luminous coating and at least one mooring system or cable with a luminous layer. The rings swing and/or rotate due to the pull of the floating wind turbine and present a flashing effect to attract fish. The mooring system or cable with the luminous layer provides a warning effect, a lighting device configured to emit light to attract fish, and a green energy device configured to convert a green energy into an electrical energy, which is provided to the lighting device.

SYSTEM AND METHOD FOR HARVESTING ENERGY OF A WIND TURBINE DURING AN OFF-GRID STATE

NºPublicación:  EP4703586A1 04/03/2026
Solicitante: 
GE VERNOVA INFRASTRUCTURE TECH LLC [US]
GE Vernova Infrastructure Technology LLC
EP_4703586_PA

Resumen de: EP4703586A1

A method for harvesting energy from one or more internal energy sources of a wind turbine of a wind farm during an off-grid state includes collecting energy from the one or more internal energy sources locally at the wind turbine during the off-grid state. The off-grid state is characterized in that the wind turbine is mechanically and electrically installed at the wind farm but not yet connected to a grid. The method further includes storing at least a portion of the energy in one or more energy storage devices locally at the wind turbine or the wind farm during the off-grid state. Moreover, the method includes using the energy to periodically power one or more electrical power systems used for idle operation or maintenance tasks of the wind turbine during the off-grid state.

TRANSMISSION DRIVE TRAIN WITH TILT COMPENSATION

NºPublicación:  EP4703604A1 04/03/2026
Solicitante: 
FLENDER GMBH [DE]
Flender GmbH
EP_4703604_PA

Resumen de: EP4703604A1

Getriebeantriebsstrang 10 mit einer Triebstrangachse AD für eine Windkraftanlage, umfassend eine erste und zumindest eine weitere Getriebekomponente 12, 20 mit jeweils einer Mittelachse AM1, AM2, wobei die ersten Getriebekomponente 12 zumindest einen Planetenradträger 14 mit darin aufgenommenen Planeten einer ersten Planetenstufe 22, ein erstes Gehäuseelement 28 als Flanschabschnitt mit einer aufgenommenen Lagerung 16 für den Planetenradträger 14 und ein zweites Gehäuseelement 30 als Hohlrad aufweist und die zweite Getriebekomponente 20 zumindest eine weitere Planetenstufe und/oder Stirnradstufe 26 aufweist. In einem Zustand, in der eine Gewichtskraft FRG der zumindest einen weiteren Getriebekomponente 20 nicht auf diese Getriebekomponente 20 wirksam ist, steht die Mittelachse AM2 der zumindest einen weiteren Getriebekomponente 20 unter einem Winkelbetrag +αVK zu der Triebstrangachse AD. In einem belasteten Zustand ist die Verkippung zwischen der Verzahnung aufgehoben.

METHOD FOR OPERATING A WIND TURBINE AND WIND TURBINE

NºPublicación:  EP4703584A1 04/03/2026
Solicitante: 
NORDEX ENERGY SPAIN SAU [ES]
Nordex Energy Spain, S.A.U
EP_4703584_PA

Resumen de: EP4703584A1

The method is for operating a wind turbine (100) having a rotatable nacelle (40), a rotor (10) with at least one rotor blade (b_j), wherein the rotor is mounted on the nacelle, and at least one drive (d_i) for rotating the nacelle by exerting torque. The method comprises a step of providing first information (I1) which is representative of a position setpoint (Pn) of the nacelle and a step of providing second information (I2) which is representative of an external torque (Myaw) acting on the nacelle due to the aerodynamics of the rotor during rotation caused by wind. In a further step, an operating setpoint (OS_i) for the at least one drive is determined depending on the first and the second information. The operating setpoint is determined such that, when the at least one drive is operated according to the operating setpoint, the at least one drive brings or keeps the nacelle at the position setpoint by exerting torque. The second information is used in a feedforward manner for the determination of the operating setpoint.

Sailing wind turbine ship able to pivot for efficient and resilient energy production and delivery

NºPublicación:  GB2700683A 04/03/2026
Solicitante: 
NILS JURI BARNICKEL [DE]
Nils Juri Barnickel

Resumen de: GB2700683A

A ship 1 with one or multiple wind turbines 2 installed on it. The ship has a multihull 3 construction with three or more hulls positioned rationally symmetric along the longitudinal axis of the ship, such that at least two hulls float on the water, with at least one hull being in the air, not on the water. This allows the wind turbine ship to pivot along the longitudinal axis in case the ship capsizes, such that at least two hull remain floating on the water at all times. This provides resilience in sea storms as the wind turbine ship remains its full structural and functional integrity and continues operations. The wind turbines may serve a dual purpose simultaneously: first, they generate electrical energy, and second, they function as sails for ship propulsion. This enables the wind turbine ship to sail to offshore destinations where the wind conditions are beneficial for energy production and to destinations where the produced and onboard stored energy is delivered to. Figure 1

WIND TURBINE YAW SYSTEM WITH A VARIABLE FREQUENCY DRIVE AND AN ELECTRONIC SWITCH

NºPublicación:  EP4702240A1 04/03/2026
Solicitante: 
VESTAS WIND SYS AS [DK]
VESTAS WIND SYSTEMS A/S
CN_121241201_PA

Resumen de: WO2024223820A1

The invention provides a yaw system for a wind turbine including a tower and a nacelle atop the tower. The yaw system includes a yaw ring, a plurality of electrical motors for driving rotation of the nacelle relative to the tower, and a variable frequency drive for driving the plurality of electrical motors. The yaw system includes a plurality of sensors each associated with a respective electrical motor and each for measuring an operational parameter of the respective electrical motor. The yaw system includes an electronic switch configured to receive a sensor signal, from each of the sensors, indicative of the measured operational parameter. The electronic switch is controllable to select one of the plurality of sensor signals to be received by the variable frequency drive. The variable frequency drive is configured to drive the plurality of electrical motors based on the selected one of the plurality of sensor signals.

WIND TURBINE MOUNTED CRANE

NºPublicación:  EP4701976A1 04/03/2026
Solicitante: 
LIFTRA IP APS [DK]
Liftra IP ApS
CN_121152765_PA

Resumen de: MX2025012597A

A wind turbine mounted crane (100, 200, 202A) comprising a base portion (204, 206), and a wind turbine connection mechanism connected to the base portion (204, 206) and configured to releasably engage with a wind turbine. The crane (100, 200, 202A) also includes a boom (100, 210, 212) arm (108, 110, 210) rotatably connected to the base portion (204, 206) about a vertical axis (234, 240), a lifting hook (220, 222), a first and second lifting wire (202B, 204) running through the base portion (204, 206) and connected to the lifting hook (220, 222). At least one winch (20B) is connected to the first and second lifting wires (202A, 20A). The winch (20B) and lifting wires (202A, 20A) are arranged such that when the winch (20B) is rotated, the lifting hook (220, 222) moves. The boom (100, 210, 212) arm (108, 110, 210) is configured to rotate about the vertical axis (234, 240) relative to the base portion (204, 206) by more than 180 degrees from an initial position in a first direction and more than 180 degrees from the initial position in a second direction opposite to the first direction. In this way, a crane (100, 200, 202A) is provided which has a greater area of operation when compared to prior art type cranes.

CRANE WITH TOWER CONNECTION MECHANISM

NºPublicación:  EP4701975A1 04/03/2026
Solicitante: 
LIFTRA IP APS [DK]
Liftra IP ApS
CN_121175258_PA

Resumen de: CN121175258A

A crane (1) connectable to a wind turbine tower (20) wherein the tower (20) comprises a set of one or more crane connection flanges (22) fixed to an outer surface (21) of the tower (20) and extending outwardly, the crane connecting flanges in the group of one or more crane connecting flanges are circumferentially arranged around the tower drum and are provided with upper joint surfaces and/or lower joint surfaces (23); wherein the crane (1) comprises a base portion (10), an arm (31) and at least two flange connection mechanisms (40), the arm (31) extending from the base portion (10) and at least one of the at least two flange connection mechanisms being connected to the arm; the at least two flange connection mechanisms are configured for connection to one of a set of one or more crane connection flanges (22) of the tower; wherein each of the at least two flange connections (40) comprises two cartridges (50); wherein each cartridge (50) comprises at least one upper flange engagement element for engaging with an upper engagement surface and/or at least one lower flange engagement element for engaging with a lower engagement surface (23), the crane connecting flange (22) is connected with the tower drum in a group of one or more crane connecting flanges (22); wherein the two cartridges (50) of each flange connection (40) are spaced apart from each other by a distance (D1) in the horizontal direction; and wherein the flange connection mechanism comprises a vertical load balancin

SYSTEM FOR MAINTENANCE OF A MULTI-ROTOR WIND TURBINE ASSEMBLY

NºPublicación:  EP4702237A2 04/03/2026
Solicitante: 
MYRIAD WIND ENERGY SYSTEMS LTD [GB]
Myriad Wind Energy Systems Limited
GB_2633886_PA

Resumen de: GB2633886A

A system for installation, assembly and maintenance of a multi-rotor wind turbine comprising an integrated track assembly 404 extending laterally along a structural framework (fig7b, 703) from a support tower 406 and between an operational and transitional site of a component (e.g. a nacelle 401), thus eliminating the need for external lifting equipment, and facilitates repair and replacement of rotor and nacelle components in a timely manner. The system may have a lift 407 for lifting the component to an elevated position. The component may be mounted on the track. A process for installing/removing a component of a multi-rotor wind turbine. A process for the in-situ maintenance of modular renewable energy generation assembly components.

DEVICE FOR FASTENING A ROTOR BLADE TO A HUB BODY, AND MULTI-PART HUB ASSEMBLY FOR A WIND TURBINE

NºPublicación:  EP4702238A1 04/03/2026
Solicitante: 
THYSSENKRUPP ROTHE ERDE GERMANY GMBH [DE]
THYSSENKRUPP AG [DE]
thyssenkrupp rothe erde Germany GmbH,
thyssenkrupp AG
CN_121127674_PA

Resumen de: CN121127674A

The invention relates to a device (1) for fixing a rotor blade (140) to a hub body (13) of a wind turbine (100), comprising a blade-side extension bearing unit (2) comprising a first bearing ring (3) provided with a first bolt circle (4) for fixing to the hub body (13) and a second bearing ring (5) for fixing to the rotor blade (140), the second bearing ring (5) is arranged coaxially with respect to the first bearing ring (3) so as to be rotatable about a common bearing axis (A), the first bearing ring (3) being integrally formed with a rotor hub extension (9) which extends beyond the second bearing ring (5) on the hub side in the direction of the bearing axis (A), the invention relates to a device (1) for mounting a rotor hub extension (2) on a hub body (13), the rotor hub extension (2) having a hub-side end region (E), the hub-side end region (E) of which is provided with a first bolt circle (4), and a hub-side extension bearing unit (10), which is designed in the form of a plate and has a second bolt circle (11), the first bolt circle (4) and the second bolt circle (11) being aligned in order to be jointly fixed to the hub body (13). The invention also relates to a multi-part hub assembly (150) which is held together by at least one fastening device (1) according to the invention.

METHOD FOR INSTALLING A HEAVY LOAD IN A SUPPORTING STRUCTURE AND A SYSTEM BUILT ACCORDING TO THE METHOD

NºPublicación:  EP4702166A1 04/03/2026
Solicitante: 
DSD HEAVY LIFT AG [CH]
DSD Heavy Lift AG
KR_20260002766_PA

Resumen de: CN121175437A

In a method for loading a heavy load into a support structure (15), at least one heavy load is conveyed upwards in the support structure (15) and fastened such that the heavy load can be fixed in an operating position. The heavy load to be transported is in particular in an at least nearly ready-to-complete state for a reactor (20) for metal refining. The heavy load is partially driven into the support structure (15) in the horizontal direction by means of the transport means (11). The heavy load is then swung upwards by a lifting system (25) mounted in the support structure (15) and moved upwards in the support structure (15) and fastened in its operating position. In this case, the heavy load is mounted in a tiltable manner on the transport means (11) for upward pivoting and is lifted from the transport means (11) by means of a lifting system (25). Therefore, although the heavy load is extremely high, the heavy load can be guided into the supporting structure in the assembled state, swung into the supporting structure and pulled upwards into the operating position.

PULTRUSION PROCESS FOR MANUFACTURING A FIBRE REINFORCED COMPOSITE ARTICLE FOR A WIND TURBINE BLADE

NºPublicación:  EP4701838A1 04/03/2026
Solicitante: 
LM WIND POWER AS [DK]
LM Wind Power A/S
CN_121001872_PA

Resumen de: CN121001872A

The invention relates to a pultrusion method for manufacturing a fiber-reinforced composite article (64). The method comprises the steps of impregnating a fibrous material (e.g., fiber rovings or fiber tows) with a resin to form a resin-impregnated pultruded thread (109), drawing the resin-impregnated pultruded thread through a mold (107) and applying heat to the resin-impregnated pultruded thread (109) to form an at least partially cured pultruded thread. Treating a surface (115, 116) of the at least partially cured pultruded wire with a primer composition comprising a silane compound to form a primer-treated pultruded wire, and cutting the primer-treated pultruded wire to provide a pultruded composite article (64).

VERIFYING WIND TURBINE PERFORMANCE

NºPublicación:  EP4702239A1 04/03/2026
Solicitante: 
VESTAS WIND SYS AS [DK]
VESTAS WIND SYSTEMS A/S
CN_121039388_PA

Resumen de: CN121039388A

A method of operating a wind power plant (12) comprising a set of wind turbines (14), the set of wind turbines (14) comprising at least one wind turbine designated as a verification turbine (14a) and at least one wind turbine designated as a non-verification turbine (14b). The method comprises: operating the or each validation turbine (14a) to produce a maximized output; and operating the or each non-validated turbine (14b) to produce an output controlled according to the or each validated turbine (14a) output such that the combined output of the set of wind turbines (14) coincides with the target power plant output.

WIND TURBINE TOWER ASSEMBLY SYSTEM AND ASSEMBLY METHOD

NºPublicación:  EP4702243A1 04/03/2026
Solicitante: 
SIEMENS GAMESA RENEWABLE ENERGY AS [DK]
Siemens Gamesa Renewable Energy A/S
CN_121464276_PA

Resumen de: WO2025011938A1

The present invention relates to a wind turbine tower assembly system (17) for assembling a wind turbine tower (4). The wind turbine tower assembly system (17) comprises an assembly support system (1) for temporarily securing a wedge flange adapter (2) of the wind turbine tower (4) to a first tower segment (3) of the wind turbine tower (4). The assembly support system (1) comprises an alignment pin (5) for being inserted into a first flange bolt hole (6) of the first tower segment (3) in a way that a pin head section (7) of the alignment pin (5) protrudes from an upper end (8) of the first flange bolt hole (6) and a pin main section (9) of the alignment pin (5) is arranged within the first flange bolt hole (6). The pin head section (7) is configured for being inserted into an intermediate flange bolt hole (10) of the wedge flange adapter (2). The assembly support system (1) further comprises a holding device (11) for being attached to the first tower segment (3) for preventing the alignment pin (5) from falling off the first flange bolt hole (6). The invention also relates to a method for assembling a wind turbine tower (4).

WIND TURBINE BLADE SPECIMEN TESTING

NºPublicación:  EP4702332A2 04/03/2026
Solicitante: 
VESTAS WIND SYS AS [DK]
VESTAS WIND SYSTEMS A/S
CN_121219494_PA

Resumen de: WO2024223888A2

Apparatus and methods for testing a wind turbine blade specimen. The wind turbine blade specimen may be the whole or a portion of a segmented wind turbine blade. The segmented wind turbine blade may be for a cable stayed rotor. The blade specimen is held at one end and an actuator applies a load on the wind turbine blade specimen. The blade specimen may have a cable connection point. A loads assembly may have at least one cable for coupling to the cable connection point. The cable is configured to carry tensile load such that the load imparted to the wind turbine blade specimen by the actuator is partially supported by the cable.

METHOD FOR INSTALLING A HEAVY LOAD IN A SUPPORTING STRUCTURE AND A SYSTEM BUILT ACCORDING TO THE METHOD

NºPublicación:  EP4702167A1 04/03/2026
Solicitante: 
DSD HEAVY LIFT AG [CH]
DSD Heavy Lift AG
KR_20260002761_PA

Resumen de: CN121195080A

In a method for installing a heavy load in a load-bearing structure, the load-bearing structure (15) is composed of load-bearing elements which can be preferably assembled one on top of the other, and the load-bearing structure is constructed at least by a crane system. According to the invention, the lifting system (25), preferably a noose lifting system, is mounted in a support structure (15), the heavy load to be mounted is subsequently connected to a plurality of longitudinal elements (34) of the lifting system (25) and is conveyed upwards in the support structure (15), and the heavy load is fixed in the support structure, in particular in the operating position. A lifting system (25) mounted at a certain height in a support structure (15) is provided on the inside with a cavity (44 ') through which the heavy load can be lifted into an operating position and fixed therein in the support structure. By means of this method, although there is a variable large weight load, in particular a heavy load of a reactor for metal refining, can be conducted in the assembled state to the support structure and pulled upwards into the support structure into the operating position in a reliable manner and method.

APPARATUS AND METHOD FOR TRANSPORTING A WIND TURBINE COMPONENT TO AND/OR AT AN OFFSHORE WIND TURBINE

NºPublicación:  EP4702242A1 04/03/2026
Solicitante: 
VESTAS WIND SYS AS [DK]
VESTAS WIND SYSTEMS A/S
KR_20250174930_PA

Resumen de: WO2024223013A1

A transportation system for transporting a wind turbine component (32) on a floating foundation (16) at an offshore wind turbine (10) is provided. The transportation system includes a rail system (52). The rail system (52) includes at least one rail (84) configured to extend from a component landing area (48) to a component lifting area (50) of the floating foundation (16). The transportation system also includes a transportation skid (46) selectively mountable to the rail system (52) and configured to receive the wind turbine component (32). The transportation skid (46) includes a skid frame (54) for supporting the wind turbine component (32) and at least one rail engagement element (60) configured to engage the rail system (52) for moving the transportation skid (46) along the rail system (52). A method of transporting the wind turbine component (32) at the floating foundation (16) of the offshore wind turbine (10), and a method of installing the wind turbine component (32) in the offshore wind turbine (10) are also provided.

APPARATUS AND METHOD FOR TRANSPORTING A WIND TURBINE COMPONENT TO AND/OR AT AN OFFSHORE WIND TURBINE

NºPublicación:  EP4702241A1 04/03/2026
Solicitante: 
VESTAS WIND SYS AS [DK]
VESTAS WIND SYSTEMS A/S
KR_20260002835_PA

Resumen de: WO2024223012A1

A transportation skid (46) for transporting a wind turbine component (32) to a floating foundation (16) of an offshore wind turbine (10) is provided. The floating foundation (16) includes a tower interface (34) for attachment to an end of a wind turbine tower (12). The transportation skid (46) includes a skid frame (54) for supporting the wind turbine component (32) and a surface engagement element (56) configured to engage a component landing area (48) of the floating foundation (16). The component landing area (48) is spaced from the tower interface (34). The transportation skid (46) further includes a shock absorber (58) connecting the surface engagement element (56) and the skid frame (54) to soften the landing on the component landing area (48). A method of transporting the wind turbine component (32) to the floating foundation (16) of the offshore wind turbine (10) is also provided.

COIL SUPPORT ASSEMBLY HAVING COIL SUPPORT STRUCTURES JOINED TOGETHER VIA RESPECTIVE JOINT STRUCTURES AND METHODS OF ASSEMBLING SAME

NºPublicación:  EP4702646A1 04/03/2026
Solicitante: 
GE VERNOVA RENOVABLES ESPANA S L [ES]
GE VERNOVA RENOVABLES ESPANA, S.L
WO_2024226053_PA

Resumen de: WO2024226053A1

A method of assembling a coil support assembly for an electrical machine is provided. The method includes providing a plurality of coil support structures, each of the plurality of coil support structures having a first face defining a cavity and opposing sides each defining a joint component, the joint components being one of a male joint component or a female joint component. The method also includes arranging a conducting coil within the cavity of each of the plurality of coil support structures. The method also includes arranging the plurality of coil support structures together in a generally circumferential arrangement. The method also includes securing the plurality of coil support structures together via the male and female joint components of adjacent coil support structures of the plurality of coil support structures to form the coil support assembly.

COIL SUPPORT ASSEMBLY HAVING COIL SUPPORT STRUCTURES JOINED TOGETHER VIA RESPECTIVE JOINT STRUCTURES AND METHODS OF ASSEMBLING SAME

NºPublicación:  EP4702645A1 04/03/2026
Solicitante: 
GE VERNOVA RENOVABLES ESPANA S L [ES]
Ge Vernova Renovables Espa\u00F1a, S.L
WO_2024226052_PA

Resumen de: WO2024226052A1

An electrical machine is provided. The electrical machine includes a coil support assembly including a plurality of coil support structures for receiving a plurality of conducting coils, the plurality of coil support structures arranged together in a generally circumferential arrangement. Each of the plurality of coil support structures includes a first face defining a cavity for receiving one of the plurality of conducting coils and opposing sides each including a joint component. Further, the joint components of adjacent coil support structures include corresponding male and female joint components secured together at a joint structure.

FLOATING PLATFORM, IN PARTICULAR FOR AN OFFSHORE WIND TURBINE, HAVING IMPROVED STABILITY

NºPublicación:  EP4701924A1 04/03/2026
Solicitante: 
COFFRATHERM [FR]
Coffratherm
CN_121001923_PA

Resumen de: CN121001923A

The invention relates to a floating platform (2), the arrangement of anchoring ribs (17, 18) of which makes it possible to improve stability, in particular for a platform of a wind turbine (2). The invention also relates to a method of assembling such a platform and a wind turbine thereof, and to a method of anchoring such a platform at sea.

WIND POWER GENERATION APPARATUS

NºPublicación:  EP4703583A1 04/03/2026
Solicitante: 
BITMAIN TECH INC [CN]
Bitmain Technologies Inc
EP_4703583_PA

Resumen de: EP4703583A1

The present disclosure provides a wind power generation apparatus, including: a tower body; at least two wind power generators arranged on the tower body and stacked along an extending direction of the tower body; where, a rotation shaft of each wind power generator is parallel to the extending direction and a bottom of each wind power generator is connected with a first connecting member; two first connecting members at the bottoms of two adjacent wind power generators are connected through at least two second connecting members, and an arrangement direction of the second connecting members is different from that of the first connecting members. In embodiments of the present disclosure, the power generation efficiency of the wind power generation apparatus can be improved while reducing the floor space of the wind power generation apparatus and enhancing its stability.

A METHOD FOR CONTROLLING A WIND TURBINE

NºPublicación:  EP4703585A1 04/03/2026
Solicitante: 
SUZLON ENERGY LTD [IN]
Suzlon Energy Ltd
EP_4703585_PA

Resumen de: EP4703585A1

A method for controlling a wind turbine, wherein the method comprises the step of:- receiving at least one input signal- estimating a resulting rotor-yaw-moment or a needed individual pitch offset or delay yaw-start or a combination of them and- determining at least one output signal for yawing,- wherein based on determined at least one output signal, the control device is configured such that:-- applying an active yaw-counter-torque by individual pitching at certain operation points or-- applying a phase dependent yaw starting allowance command in that way that introduction of oscillation at yaw-drive are significant reduced or-- applying active yawing by generating an additional yaw-torque of rotor by individual pitching.

ROTOR BLADE, METHOD AND WIND TURBINE

NºPublicación:  EP4703582A1 04/03/2026
Solicitante: 
WOBBEN PROPERTIES GMBH [DE]
Wobben Properties GmbH
EP_4703582_PA

Resumen de: EP4703582A1

Die Erfindung betrifft ein Rotorblatt (108) für eine Windenergieanlage (100), wobei sich das Rotorblatt (108) von einer Rotorblattwurzel bis zu einer Rotorblatt-spitze in einer Rotorblattlängsrichtung mit einer Rotorblattlänge erstreckt und dabei eine sich zwischen einer Vorderkante und einer Hinterkante in Profiltiefenrichtung einstellende Profiltiefe aufweist, wobei eine Radiusposition den radialen Abstand in Rotorblattlängsrichtung zu einer Rotorachse angibt, die Hinterkante des Rotorblattes mindestens zwei Hinterkantenelementsätze (10) aufweist, die eine Kontur der Hinterkante in Profiltiefenrichtung verändern, jeder der Hinterkantenelementsätze (10) mindestens zwei Hinterkantenelemente (20) umfasst, die voneinander unterschiedlich ausgebildet sind, dadurch gekennzeichnet, dass mindestens ein Hinterkantenelement (20) eines ersten der Hinterkantenelementsätze (10), das in Rotorblattlängsrichtung näher an der Rotorblattspitze angeordnet ist, größer ist als ein Hinterkantenelement (20) eines zweiten der Hinterkantenelementsätze (10), das in Rotorblattlängsrichtung näher an der Rotorblattwurzel angeordnet ist.

Speed control device for control of idler of wind turbine to rotate at constant speed

Nº publicación: GB2700732A 04/03/2026

Solicitante:

JUI AN TSAI [TW]
Jui-An Tsai

JP_2025146803_PA

Resumen de: GB2700732A

A speed control device for control of idlers of wind turbines is provided. The speed control device includes a wind-powered electrical generator, a first speed control unit, a transmission gear set, an idler energy storage unit, and a second speed control unit. A wind activation gear set of the wind-powered electrical generator is driven by a wind force with a preset value. When the wind force is lower than the preset value, a rack unit on a speed-control motor is driven by power so that a speed-control gear set and the transmission gear set are respectively driven by a first and a second unidirectional gear of the first and the second speed control units. Thus, the transmission gear set is rotated for a period and an idler drives a generator main shaft of the idler energy storage unit to rotate for a period. Therefore, the idler rotates constantly, without stopping. Fig 1

traducir