Ministerio de Industria, Turismo y Comercio LogoMinisterior
 

Alerta

Resultados 864 resultados
LastUpdate Última actualización 11/11/2025 [06:58:00]
pdfxls
Publicaciones de solicitudes de patente de los últimos 60 días/Applications published in the last 60 days
previousPage Resultados 575 a 600 de 864 nextPage  

APPARATUS FOR PERFORMING AN ENDOTHERMIC REACTION OF A GAS FEED

NºPublicación:  US2025296063A1 25/09/2025
Solicitante: 
LAIR LIQUIDE SA POUR LETUDE ET L\u2019EXPLOITATION DES PROCEDES GEORGES CLAUDE [FR]
L'Air Liquide, Societe Anonyme pour l'Etude et l\u2019Exploitation des Procedes Georges Claude
US_2025296063_PA

Resumen de: US2025296063A1

Apparatus for the endothermic reaction of a gas feed, the apparatus comprising: a pre-heater arranged for pre-heating the gas feed, —at least one reactor tube, —a furnace arranged for the radiation and/or convection heating of said at least one reactor tube, said at least one reactor tube being at least partially filled with a catalyst material configured for promoting the endothermic reaction, said at least one reactor tube comprising a tube inlet for said pre-heated gas feed, —a main reaction tube portion extending within said furnace and a pre-reaction tube portion extending outside of the furnace, said pre-reaction tube portion being arranged between the tube inlet and the main reaction tube portion, wherein part of the catalyst material is extending within the pre-reaction tube portion.

CARBON DIOXIDE PROCESS APPARATUS, CARBON DIOXIDE PROCESS METHOD, AND MANUFACTURING METHOD OF CARBON COMPOUND

NºPublicación:  US2025296047A1 25/09/2025
Solicitante: 
HONDA MOTOR CO LTD [JP]
HONDA MOTOR CO., LTD
CN_120662223_PA

Resumen de: US2025296047A1

A carbon dioxide process apparatus includes: a recovery device that includes a carbon dioxide absorption portion which dissolves carbon dioxide in an electrolytic solution of a strong alkali and absorbs the carbon dioxide; an electrochemical reaction device to which the electrolytic solution in which the carbon dioxide is dissolved by the carbon dioxide absorption portion is supplied and which electrochemically reduces the carbon dioxide; an anion exchange type fuel cell that supplies electric energy to the electrochemical reaction device; a carbon dioxide concentration gas supply passage that supplies a carbon dioxide concentration gas generated by the fuel cell to the electrolytic solution which is discharged from the recovery device and before being supplied to the electrochemical reaction device; and a hydrogen supply passage that supplies hydrogen generated by the electrochemical reaction device to the fuel cell.

CO2 CONVERSION METHOD

NºPublicación:  US2025297393A1 25/09/2025
Solicitante: 
HONDA MOTOR CO LTD [JP]
HONDA MOTOR CO., LTD

Resumen de: US2025297393A1

A CO2 conversion method includes: generating CO and H2O by a RWGS reaction from CO2 and H2; generating C2H4 and H2 by CO electrolysis from the CO and H2O; and using the H2 generated by the CO electrolysis as the H2 of the RWGS reaction.

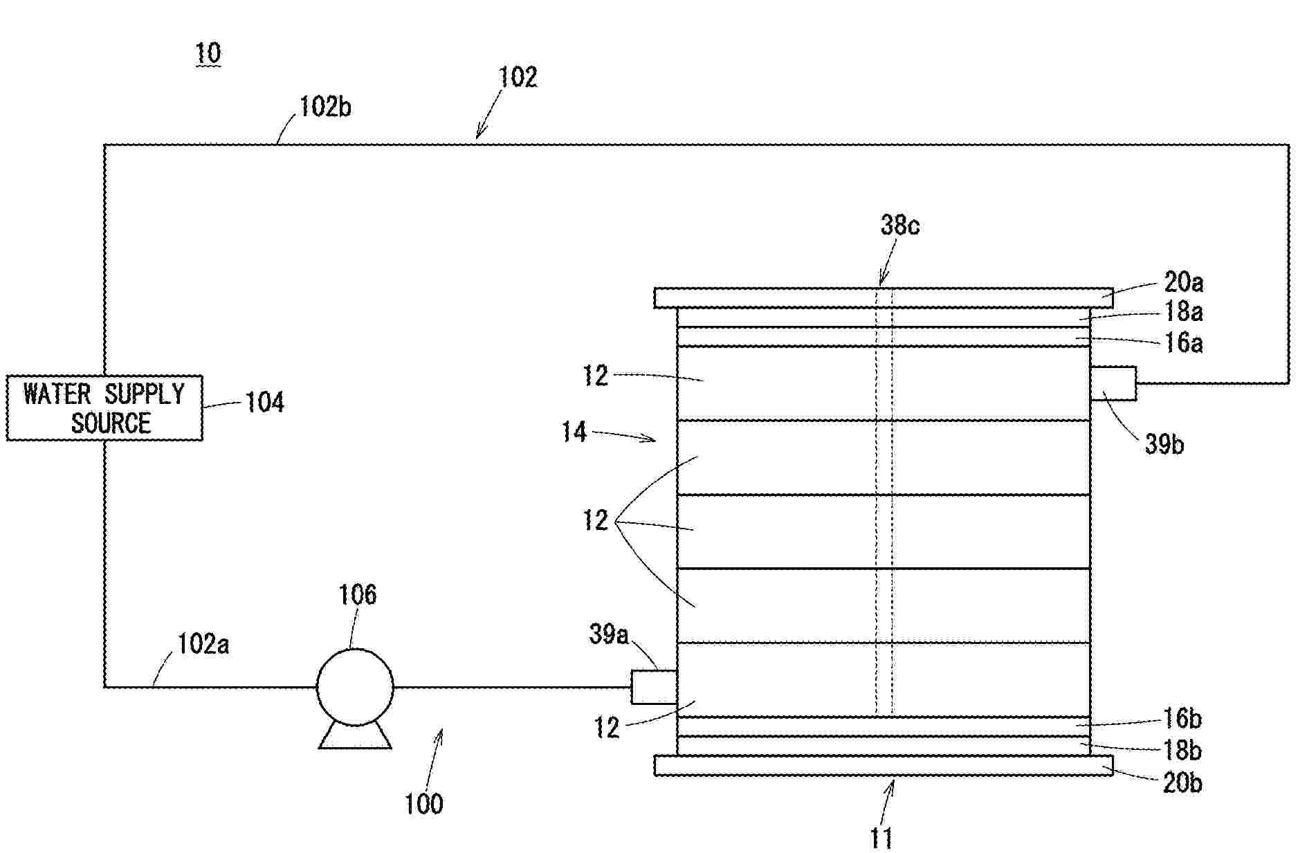
WATER ELECTROLYSIS STACK

NºPublicación:  US2025297392A1 25/09/2025
Solicitante: 
HONDA MOTOR CO LTD [JP]
HONDA MOTOR CO., LTD
US_2025297392_PA

Resumen de: US2025297392A1

A water electrolysis stack includes: a membrane electrode assembly including an electrolyte membrane and a plate-shaped current collector provided on one of both sides of the electrolyte membrane in the thickness direction thereof; a water introduction unit for introducing water from the outside; a water flow path member disposed so as to face the current collector and provided with a water flow path for guiding, along the surface direction of the current collector, the water introduced into the water introduction unit; and a pumping unit for pumping the water to the water introduction unit. The pumping unit continuously changes the pumping amount of the water, thereby pulsating the water flowing through the water flow path along the surface direction of the current collector.

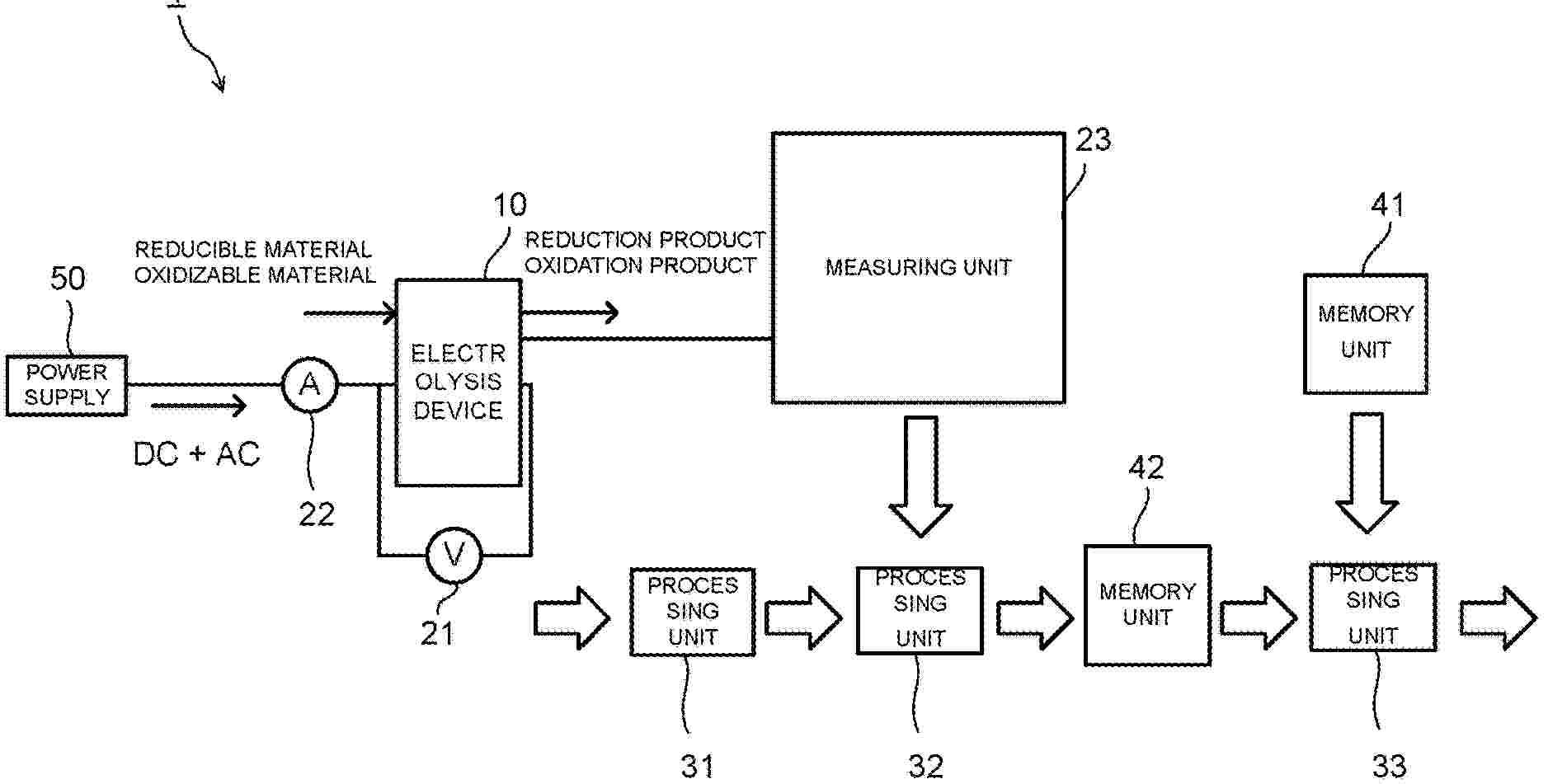
STATE DIAGNOSIS SYSTEM, STATE DIAGNOSIS METHOD, AND ELECTROLYSIS SYSTEM

NºPublicación:  US2025297390A1 25/09/2025
Solicitante: 
TOSHIBA KK [JP]
KABUSHIKI KAISHA TOSHIBA
US_2025297390_PA

Resumen de: US2025297390A1

A diagnosis system of an electrolysis device, includes: a device to output an impedance data indicating a measurement result of a complex impedance; a first memory unit to store prior data including a relation data indicating a relation between state of the device and a diagnosis result of a state of the device; a first processing unit to analyze the impedance data, judge validity of an analysis result, and output an analysis data indicating the analysis result in which data indicating at least a part of a frequency region of the measurement result is determined valid; a second processing unit to output a state data indicating the state based on first data including the analysis data; a second memory unit to store second data including the state data; and a third processing unit to output a diagnosis data based on data including the prior data and the second data.

SOLID OXIDE ELECTROLYSIS UNIT

NºPublicación:  US2025297377A1 25/09/2025
Solicitante: 
TOPSOE AS [DK]
Topsoe A/S
JP_2025515916_PA

Resumen de: US2025297377A1

The present invention relates to a Solid Oxide Electrolysis unit for industrial hydrogen. carbon monoxide or syngas production comprising at least two Solid Oxide Electrolysis cores that each comprise several Solid Oxide Electrolysis stacks of Solid Oxide Electrolysis cells. a power supply to manage electrical power to the Solid Oxide Electrolysis cores and piping connected to the Solid Oxide Electrolysis cores. According to the invention. the Solid Oxide Electrolysis unit comprises a power supply module. which comprises a transformer and at least one power supply unit. and a piping module. which comprises piping headers and fluidic connections going to and from the Solid Oxide Electrolysis cores. wherein the power supply module and the piping module are arranged adjacent to each other and the Solid Oxide Electrolysis cores are arranged above the power supply module and/or the piping module.

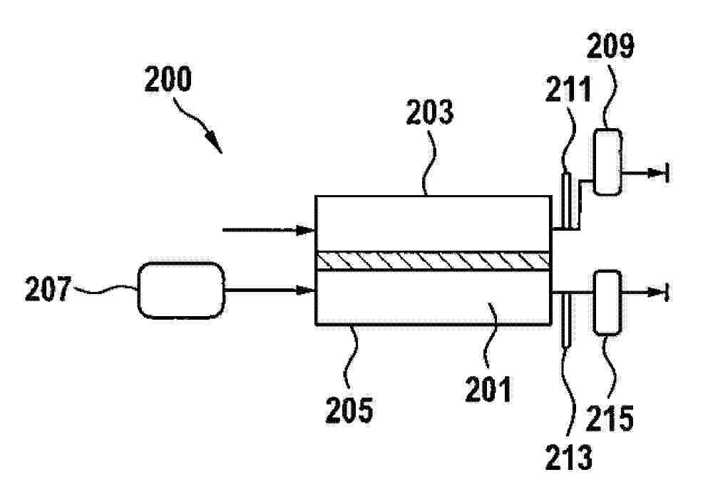
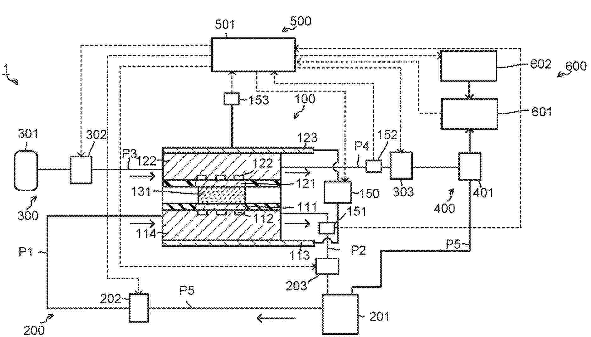
ELECTROCHEMICAL REACTION DEVICE AND METHOD OF OPERATING ELECTROCHEMICAL REACTION DEVICE

NºPublicación:  US2025297375A1 25/09/2025
Solicitante: 
TOSHIBA KK [JP]
KABUSHIKI KAISHA TOSHIBA
US_2025297375_PA

Resumen de: US2025297375A1

An electrochemical reaction device includes: an electrochemical reaction structure including a cathode to reduce carbon dioxide to produce a carbon compound, an anode to oxidize water to produce oxygen, a diaphragm therebetween, a cathode flow path on the cathode, and an anode flow path on the anode; a first flow path through which a first fluid to the cathode flow path flows; a second flow path through which a second fluid to the anode flow path flows; a third flow path through which a third fluid from the cathode flow path flows; a fourth flow path through which a fourth fluid from the anode flow path flows; and a gas-liquid separator in or on the anode flow path and to separate a gas containing the oxygen from a fifth fluid containing the water and the oxygen through the anode flow path.

SYNTHETIC METHANOL HAVING LOW DEUTERIUM CONTENT FROM NON-FOSSIL RESOURCES

NºPublicación:  US2025296902A1 25/09/2025
Solicitante: 
BASF SE [DE]
BASF SE
JP_2025518473_A

Resumen de: US2025296902A1

A Process for making methanol having a deuterium content below 90 ppm, based on the total hydrogen content, comprising the steps: (a) providing hydrogen with a deuterium content below 90 ppm, based on the total hydrogen content, by water electrolysis using electrical power that is generated at least in part from non-fossil, renewable resources; (b) providing carbon dioxide; (c) reacting hydrogen and carbon dioxide in the presence of a catalyst to form methanol.

ELECTROLYSIS DEVICE AND ELECTROLYSIS METHOD

NºPublicación:  US2025297389A1 25/09/2025
Solicitante: 
KK TOSHIBA [JP]
KABUSHIKI KAISHA TOSHIBA
US_2025297389_PA

Resumen de: US2025297389A1

An electrolysis device includes: an electrolysis cell; a cathode supply flow path; an anode supply flow path; a cathode discharge flow path; an anode discharge flow path; a cathode flow rate regulator to adjust a flow rate A of a cathode supply fluid; an anode flow rate regulator to adjust a flow rate B of a anode supply fluid; a first flowmeter to measure a flow rate C of a cathode discharge fluid; a second flowmeter to measure a flow rate D of a anode discharge fluid; and a control device to estimate a Faraday efficiency according to a relational expression for approximating the Faraday efficiency to a function including the C and D, and control the cathode flow rate regulator according to the estimated Faraday efficiency to control the A.

METHOD AND SYSTEM FOR PRODUCING A SYNTHETIC FUEL FROM BIOMASS

NºPublicación:  WO2025195703A1 25/09/2025
Solicitante: 
SIEMENS ENERGY GLOBAL GMBH & CO KG [DE]
SIEMENS ENERGY GLOBAL GMBH & CO. KG
DE_102024202675_PA

Resumen de: WO2025195703A1

The invention relates to a method for producing a synthetic fuel (F), comprising the steps (S1): carrying out a first reaction process, wherein the first reaction process creates a gas mixture of synthesis gas (SG) and carbon dioxide (CO2) with the addition of biomass (BM), oxygen (O2), wherein the synthesis gas (SG) contains carbon monoxide (CO) and hydrogen (H2); (S2): separating carbon dioxide (CO2) from the gas mixture and supplying hydrogen (H2) to separated carbon dioxide (CO2) for a second reaction process; (S3): carrying out a second reaction process, wherein in the second reaction process methanation is carried out using the reactants carbon dioxide (CO2) and hydrogen (H2), wherein methane (CH4) and water (H2O) are produced as an intermediate product; (S4): feeding back methane (CH4) and water (H2O) obtained from the second reaction process into the first reaction process, wherein a gas mixture containing synthesis gas (SG) is produced; and (S5): discharging synthesis gas (SG) and converting synthesis gas into a synthetic fuel (F). The invention further relates to a system (1) for producing a synthetic fuel (F), which is designed in particular to carry out the method.

Elektrolysesystem und Verfahren zum Betreiben eines Elektrolysesystems

NºPublicación:  DE102024202621A1 25/09/2025
Solicitante: 
BOSCH GMBH ROBERT [DE]
Robert Bosch Gesellschaft mit beschr\u00E4nkter Haftung
DE_102024202621_PA

Resumen de: DE102024202621A1

Die vorgestellte Erfindung betrifft ein Verfahren (100) zum Betreiben eines Elektrolysesystems (200), wobei das Verfahren (100) das Verdampfen (101) einer Flüssigkeit in einem Zellstapel (101) des Elektrolysesystems (200), um eine Temperatur einer Zelle (300) des Elektrolysesystems (200) einzustellen und das Kontrollieren (103) des Verdampfens der Flüssigkeit durch Einstellen eines Drucks und/oder einer Temperatur in dem Zellstapel (201) umfasst.

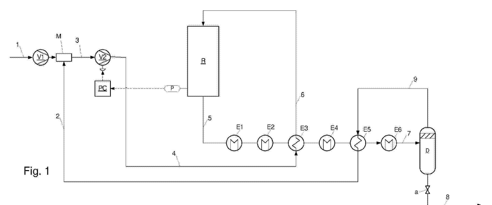
METHOD FOR OPERATING AN AMMONIA SYNTHESIS PROCESS AT PARTIAL LOAD, AND PARTIAL-LOAD-CAPABLE AMMONIA SYNTHESIS PROCESS

NºPublicación:  WO2025195683A1 25/09/2025
Solicitante: 
LINDE GMBH [DE]
LINDE GMBH
EP_4620914_PA

Resumen de: WO2025195683A1

The invention relates to a method and a device for synthesizing ammonia (8), wherein a gas mixture (make-up gas) (1), which comprises hydrogen and nitrogen and is supplied with a temporally fluctuating flow rate, is provided after being compressed in a first compressor (make-up gas compressor) (V1) in order to form an ammonia synthesis gas (3) that is compressed with the aid of a second compressor (recycle compressor) (V2) and is then reacted in an ammonia reactor (R) in order to form an ammonia-containing synthesis product (5), from which a recycled gas (2) comprising hydrogen and nitrogen is separated in order to be recirculated in order to form the ammonia synthesis gas (3). The flow rate of the recycled gas (2) is controlled via the recycle compressor (V2), which is integrated into a control circuit as an actuator and the conveying capacity of which can be set independently of the conveying capacity of the make-up gas compressor (V1). The invention is characterized in that the control circuit is designed with a higher-level control system which outputs a control signal that is based on the load of the ammonia reactor in order to change the conveying capacity of the recycle compressor (V2), said control signal being corrected by a PID control circuit in such a way that the pressure in the ammonia reactor (R) is always within a specified value range.

METHOD FOR OPERATING AN AMMONIA SYNTHESIS PROCESS AT PARTIAL LOAD, AND PARTIAL-LOAD-CAPABLE AMMONIA SYNTHESIS PROCESS

NºPublicación:  WO2025195682A1 25/09/2025
Solicitante: 
LINDE GMBH [DE]
LINDE GMBH
EP_4620913_PA

Resumen de: WO2025195682A1

The invention relates to a method and a device for synthesizing ammonia (8), wherein a gas mixture (1) comprising hydrogen and nitrogen is provided with a temporally fluctuating mass flow in order to form an ammonia synthesis gas (3), which is converted into an ammonia-containing synthesis product (5) in an ammonia reactor (R) after a compression step (V2) and from which a recycled gas (2) comprising hydrogen and nitrogen is separated in order to be returned via a return line in order to form the ammonia synthesis gas (3), the mass flow of the recycled gas (2) being controlled via an adjustable throttle device (b) which is provided in the return line (2) and is integrated into a control circuit as an actuator. The invention is characterized in that the control circuit is designed with a higher-level closed-loop control system that outputs an actuating signal, which is based on the load of the ammonia reactor, for changing the degree of opening of the throttle device (b), said actuating signal being corrected by a PID control circuit in such a way that the pressure in the ammonia reactor (R) is always within a specified value range.

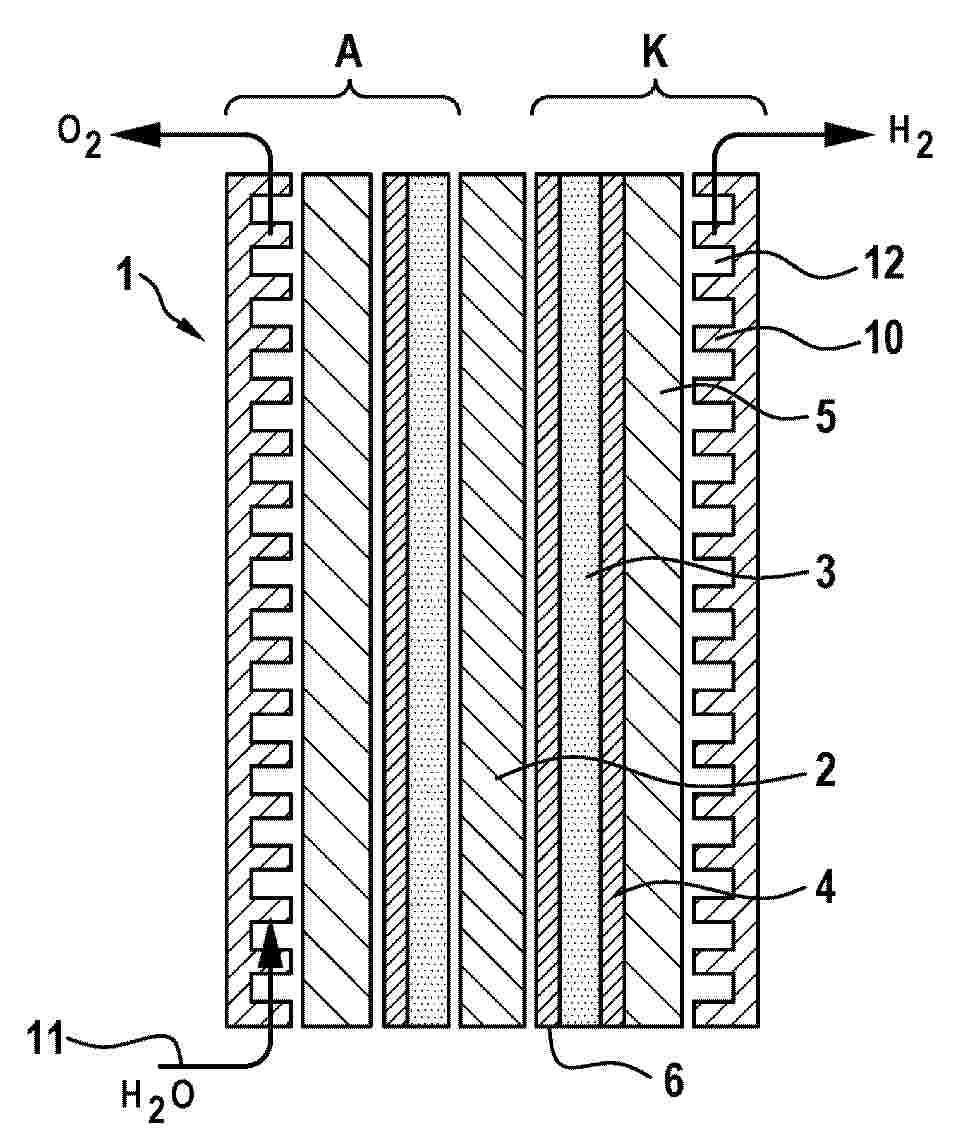
Verfahren zur Herstellung einer Elektrolysezelle sowie Elektrolysezelle

NºPublicación:  DE102024202623A1 25/09/2025
Solicitante: 
BOSCH GMBH ROBERT [DE]
Robert Bosch Gesellschaft mit beschr\u00E4nkter Haftung
DE_102024202623_PA

Resumen de: DE102024202623A1

Die Erfindung betrifft ein Verfahren zur Herstellung einer Elektrolysezelle (1), aufweisend eine Membran (2) sowie beidseits der Membran (2) angeordnete Schichten und/oder Lagen (3, 4, 5, 6) zur Ausbildung einer Anode (A) und einer Kathode (K), wobei mindestens einer Schicht und/oder Lage (3, 4, 5, 6) die Funktion eines Nukleierungshilfsmittels aufgeprägt wird, indem- die Schicht und/oder Lage (3, 4, 5, 6) aus einem Nukleierungsmaterial hergestellt wird,- ein Nukleierungsmaterial in die Schicht und/oder Lage (3, 4, 5, 6) ein- oder aufgebracht wird,- eine Kavitäten (7) ausbildende Oberflächenstruktur in die Schicht und/oder Lage (3, 4, 5, 6) eingebracht wird und/oder- die Schicht und/oder Lage (3, 4, 5, 6) hydrophob eingestellt wird, vorzugsweise mit Hilfe eines Nukleierungsmaterials.Die Erfindung betrifft ferner eine Elektrolysezelle (1) für einen Elektrolyse-Stack zur Herstellung von Wasserstoff.

Elektrolysesystem und Verfahren zum Betreiben eines Elektrolysesystems

NºPublicación:  DE102024202622A1 25/09/2025
Solicitante: 
BOSCH GMBH ROBERT [DE]
Robert Bosch Gesellschaft mit beschr\u00E4nkter Haftung
DE_102024202622_PA

Resumen de: DE102024202622A1

Die vorgestellte Erfindung betrifft ein Verfahren (100) zum Betreiben eines Elektrolysesystems (200).Das vorgestellte Verfahren (100) umfasst das Verdampfen (101) eines Elektrolyten in einem Zellstapel (101) des Elektrolysesystems (200), um eine Temperatur einer Zelle (300) des Elektrolysesystems (200) einzustellen und das Kontrollieren (103) des Verdampfens des Elektrolyten durch Einbringen eines Gasmassenstroms in das Elektrolysesystem (200), um einen Dampfpartialdruck in dem Zellstapel (201) einzustellen.

SYSTEMS AND METHODS FOR PRODUCING HYDROGEN GAS BY REACTING SILICON AND WATER

NºPublicación:  WO2025195607A1 25/09/2025
Solicitante: 
ENERGY CARRIER SOLUTIONS SARL [CH]
ENERGY CARRIER SOLUTIONS S\u00C0RL

Resumen de: WO2025195607A1

A system for producing hydrogen gas by reacting silicon and water, comprises a reaction chamber, a water supply device, configured for supplying water to the reaction chamber, a silicon supply device, configured for supplying silicon to the reaction chamber, a hydrogen collection arrangement, configured for collecting hydrogen gas from the reaction chamber and supplying said hydrogen gas via a main output channel to an application hydrogen consumer, and a controller, configured to control at least one of the water supply device, the silicon supply device and the hydrogen collection arrangement. The disclosure provides a system and methods for producing hydrogen gas by reacting silicon and water. The disclosure further provides a vehicle comprising said system and a portable device comprising said system.

SYSTEMS AND METHODS FOR PRODUCING HYDROGEN GAS BY REACTING A METAL AND WATER

NºPublicación:  WO2025195608A1 25/09/2025
Solicitante: 
ENERGY CARRIER SOLUTIONS SARL [CH]
ENERGY CARRIER SOLUTIONS S\u00C0RL

Resumen de: WO2025195608A1

A system for producing hydrogen gas by reacting a metal selected from a group consisting of aluminum, magnesium, calcium, lithium, potassium and sodium and water, comprises a reaction chamber, a water supply device, configured for supplying water to the reaction chamber, a metal supply device, configured for supplying metal to the reaction chamber, a hydrogen collection arrangement, configured for collecting hydrogen gas from the reaction chamber and supplying said hydrogen gas via a main output channel to an application hydrogen consumer, and a controller, configured to control at least one of the water supply device, the metal supply device and the hydrogen collection arrangement. The disclosure provides a system and methods for producing hydrogen gas by reacting metal and water. The disclosure further provides a vehicle comprising said system and a portable device comprising said system.

METHOD OF PRODUCING HYDROGEN USING ALUMINIUM

NºPublicación:  WO2025196454A1 25/09/2025
Solicitante: 
UNIV BRUNEL [GB]
UNIV OXFORD BROOKES [GB]
UNIV GREENWICH [GB]
BRUNEL UNIVERSITY LONDON,
OXFORD BROOKES UNIVERSITY,
UNIVERSITY OF GREENWICH

Resumen de: WO2025196454A1

Disclosed is a method of producing hydrogen from the reaction of liquid aluminium or a liquid aluminium alloy with water vapour. The method includes the steps of: (a) providing liquid aluminium or liquid aluminium alloy, wherein said liquid has a surface; (b) reacting said liquid with water vapour in order to generate alumina and hydrogen, wherein if the reaction is carried out at a temperature range of 650 to 900 °C and a pressure range of 0.1 to 1 MPa, at least 50% of the hydrogen dissolves in the liquid, and wherein said reaction takes place at the surface and/or in the liquid; (c) extracting hydrogen in the form of gas from the liquid.

APPARATUS FOR PRODUCING HYDROGEN, FROM A FEEDSTOCK STREAM

NºPublicación:  WO2025195698A1 25/09/2025
Solicitante: 
AIR LIQUIDE [FR]
L'AIR LIQUIDE, SOCIETE ANONYME POUR L'ETUDE ET L'EXPLOITATION DES PROCEDES GEORGES CLAUDE
EP_4620904_PA

Resumen de: WO2025195698A1

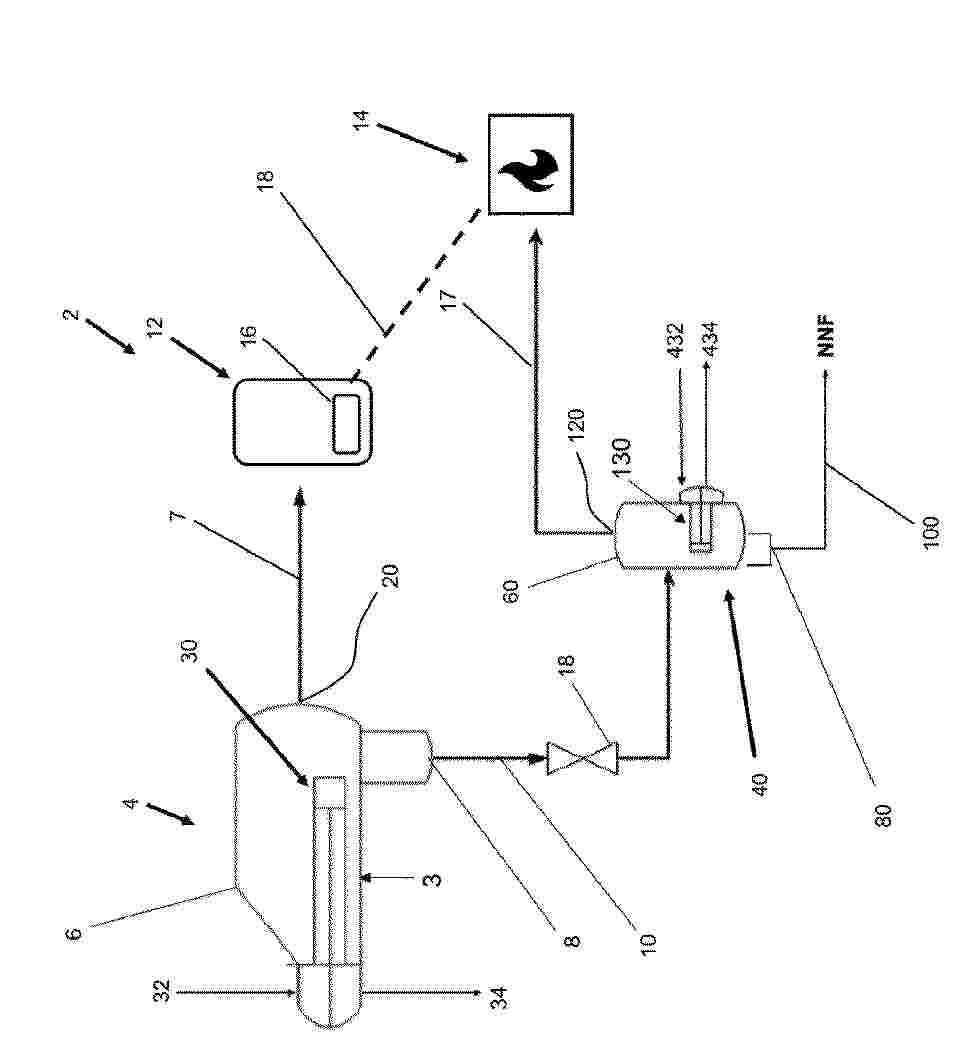
The invention relates to an apparatus (2) for producing hydrogen, from a feedstock stream (3) comprising ammonia, traces of water and oil contaminants, said apparatus (2) comprising: - a vaporizer (4) comprising a vaporization chamber (6) configured to receive the feedstock stream (3) and produce a vaporized purified ammonia stream (7), said vaporization chamber (6) comprising a blowdown outlet (8) configured to discharge a blowdown stream (10) comprising the traces of water and oil contaminants from said vaporization chamber (6); - an ammonia cracking reactor (12) for performing an endothermic reaction of said vaporized purified ammonia stream (7), thereby producing said hydrogen; and - a fired equipment (14); wherein said blowdown outlet (8) is connected to the fired equipment (14) for providing the blowdown stream (10) as an ammonia fuel stream to the fired equipment (14).

ELECTROLYSIS OXYGEN FOR SUSTAINABLE ACETYLENE CHEMISTRY

NºPublicación:  WO2025196219A1 25/09/2025
Solicitante: 
BASF SE [DE]
BASF SE
EP_4620937_A1

Resumen de: WO2025196219A1

A process for preparing acetylene and/or synthesis gas by partial oxidation of hydrocarbons with an oxidizing agent, wherein the oxidizing agent comprises O2 and H2, wherein the oxidizing agent is obtained at least in part by water splitting, preferably by electrolysis, the water splitting, preferably the electrolysis, preferably using energy generated at least in part from non-fossil resources, a cracking gas stream obtainable by the process according to the present invention, acetylene obtainable by the process according to the present invention, acetylene having a low total cradle to gate product carbon footprint, synthesis gas obtainable by the process according to the present invention, synthesis gas comprising hydrogen, CO, CO2 and CH4, wherein the separated synthesis gas stream has a δ18O value of < 22 ‰, referred to the international standard VSMOW ((Vienna- Standard- Mean-Ocean- Water)), the use of an oxidizing agent comprising O2 and H2 for the preparation of acetylene and synthesis gas, the use of the inventive acetylene or the acetylene obtained by the inventive process for the preparation of butynediol, butanediol, butenediol, polybutylene terephthalate (PBT), polybutylene adipate terephthalate (PBAT), tetrahydrofurane (THF), polytetrahydrofurane (polyTHF), polyester-based thermoplastic polyurethanes (TPUs), polyether-based TPUs, gamma-butyrolactone, pyrrolidine, vinylyrrolidone, polyvinylpyrrolidone, N-methylpyrrolidone, vinyl ether, polyvinyl ether, terpenes

PREDICTIVE MAINTENANCE OF HYDROGEN-ENERGY SYSTEMS

NºPublicación:  WO2025196220A1 25/09/2025
Solicitante: 
UNIV DE TECHNOLOGIE DE BELFORT MONTBELIARD [FR]
CENTRE NATIONAL DE LA RECHERCHE SCIENT [FR]
UNIV MARIE ET LOUIS PASTEUR [FR]
ECOLE NAT SUPERIEURE DE MECANIQUE ET DES MICROTECHNIQUES [FR]
UNIVERSIT\u00C9 DE TECHNOLOGIE DE BELFORT-MONTB\u00C9LIARD,
CENTRE NATIONAL DE LA RECHERCHE SCIENTIFIQUE,
UNIVERSIT\u00C9 MARIE ET LOUIS PASTEUR,
ECOLE NATIONALE SUP\u00C9RIEURE DE M\u00C9CANIQUE ET DES MICROTECHNIQUES
EP_4621890_PA

Resumen de: WO2025196220A1

The disclosure notably relates to a computer-implemented method for predictive maintenance of a system. The system comprises a hydrogen energy component, a cooling circuit, at least one actuator of the cooling circuit and at least one sensor collecting operating data during an operating of the system. The method comprises, during the operating of the system, the following three steps. The method comprises a first step of obtaining the operating data collected by to the at least one sensor. The method comprises a second step of estimating that a current state of the system is the fault state. The method comprises a third step of predicting a future state of the system. Such a method forms an improved solution for predicting maintenance of the system comprising the hydrogen energy component.

44'-3---SEBSx-PPBP-pTP-SEBS Anion exchange membranes comprising crosslinked 44'-bis3-phenylpropylbiphenyl-pTP-SEBS and method thereof

NºPublicación:  KR20250140369A 25/09/2025
Solicitante: 
인천대학교산학협력단
KR_20250140369_PA

Resumen de: KR20250140369A

본 발명은 4,4'-비스(3-페닐프로필)비페닐-파라터페닐(4,4'-bis(3-phenylpropyl)biphenyl-pTP, PPBP-pTP)과 브로모헥실 SEBS(bromohexyl SEBS) 간의 가교 결합에 의해 제조된 4,4'-비스(3-페닐프로필)비페닐-파라터페닐-SEBS(x-(PPBP-pTP)-SEBS) 가교결합막을 포함하는 음이온 교환막을 제공한다.

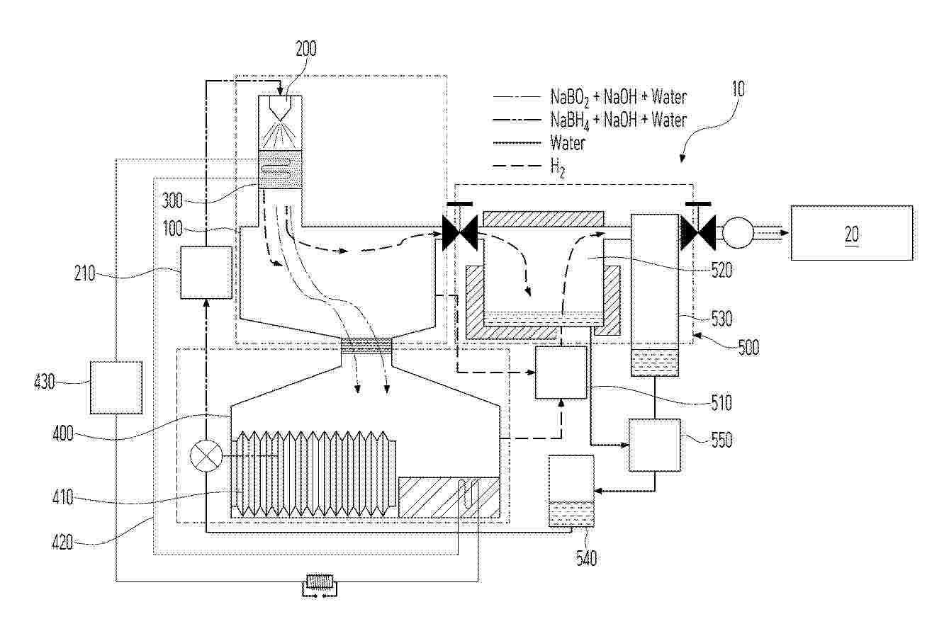
HYDROGEN GENERATION SYSTEM

NºPublicación:  KR20250139936A 24/09/2025
Solicitante: 
주식회사케이티
KR_20250139936_PA

Resumen de: KR20250139936A

본 발명의 일 실시예에 따른 수소 발생 시스템은 NaBH₄를 활용한 수소 발생 시스템에 있어서, 내부에서 수소 발생 반응이 발생하는 반응 용기; 상기 반응 용기의 상부에 배치되고, 제 1 펌프와 연결되어 하부로 NaBH₄ 수용액을 분사시키는 노즐; 상기 노즐을 통해 분사되는 NaBH₄ 수용액에 대응되는 위치에 배치되고 상기 NaBH₄ 수용액의 수소 발생 반응속도를 촉진시키는 촉매부; 상기 반응 용기의 하부에 결합되고, 상기 수소를 제외한 생성물을 저장하는 저장 용기; 및 상기 반응 용기와 연결되고, 상기 수소를 제 2 펌프를 통해 연료 전지로 공급하는 공급부를 포함할 수 있다.

PROCESS FOR PRODUCING HYDROGEN GAS FROM THE CATALYTIC CRACKING OF AMMONIA

NºPublicación:  EP4619339A1 24/09/2025
Solicitante: 
JOHNSON MATTHEY PLC [GB]
Johnson Matthey Public Limited Company
JP_2025532364_PA

Resumen de: CN119998228A

Process A: a process for producing hydrogen from catalytic cracking of ammonia. The method includes the step of supplying a hydrogen-containing recycle gas taken downstream of an ammonia cracking reactor to one or more catalyst-containing reaction tubes disposed within the ammonia cracking reactor. The invention can be used to provide hydrogen as a carbon-free fuel.

ELECTROCHEMICAL REACTION DEVICE AND METHOD OF OPERATING ELECTROCHEMICAL REACTION DEVICE

Nº publicación: EP4621100A2 24/09/2025

Solicitante:

TOSHIBA KK [JP]
Kabushiki Kaisha Toshiba

EP_4621100_PA

Resumen de: EP4621100A2

An electrochemical reaction device includes: an electrochemical reaction structure including a cathode to reduce carbon dioxide to produce a carbon compound, an anode to oxidize water to produce oxygen, a diaphragm therebetween, a cathode flow path on the cathode, and an anode flow path on the anode; a first flow path through which a first fluid to the cathode flow path flows; a second flow path through which a second fluid to the anode flow path flows; a third flow path through which a third fluid from the cathode flow path flows; a fourth flow path through which a fourth fluid from the anode flow path flows; and a gas-liquid separator in or on the anode flow path and to separate a gas containing the oxygen from a fifth fluid containing the water and the oxygen through the anode flow path.

traducir