Ministerio de Industria, Turismo y Comercio LogoMinisterior
 

Alerta

Resultados 1033 resultados
LastUpdate Última actualización 23/03/2026 [07:02:00]
pdfxls
Publicaciones de solicitudes de patente de los últimos 60 días/Applications published in the last 60 days
previousPage Resultados 1025 a 1033 de 1033  

SYSTEMS AND METHODS FOR PRODUCING HYDROGEN GAS BY REACTING A METAL AND WATER

NºPublicación:  WO2026017234A1 22/01/2026
Solicitante: 
ENERGY CARRIER SOLUTIONS SARL [CH]
ENERGY CARRIER SOLUTIONS S\u00C0RL
WO_2026017234_PA

Resumen de: WO2026017234A1

A system for producing hydrogen gas by reacting a metal selected from a group consisting of silicon, aluminum, magnesium, calcium, lithium, potassium and sodium and water, comprises a reaction chamber, a water supply device, configured for supplying water to the reaction chamber, a metal supply device, configured for supplying metal to the reaction chamber, a hydrogen collection arrangement, configured for collecting hydrogen gas from the reaction chamber and supplying said hydrogen gas via a main output channel to an application hydrogen consumer, and a controller, configured to control at least one of the water supply device, the metal supply device and the hydrogen collection arrangement. A water harvesting device is configured for harvesting water from air, and comprises an adsorbent, a water release device, configured to causing water to be released from the adsorbent, and a water collection device, configured to collect water released from the adsorbent, wherein the water collection device is connected to supply water to the reaction chamber. The disclosure provides a system and methods for producing hydrogen gas by reacting metal and water. The disclosure further provides a vehicle comprising said system and a portable device comprising said system.

MULTI-ELECTRODE PACKAGE-CELL FRAME FOR A HYDROGEN ELECTROLYZER, ELECTROLYZER COMPRISING THE SAME, AND FABRICATION METHOD

NºPublicación:  AU2024298155A1 22/01/2026
Solicitante: 
JOHN COCKERILL HYDROGEN FRANCE
JOHN COCKERILL HYDROGEN FRANCE
AU_2024298155_PA

Resumen de: WO2025021544A1

The invention relates to a cell frame (100) configured to be integrated in an electrolyzer. The frame is forming a closed shape having an inner contour (InnCont) that defines an opening (Op) extending in an extension plane (ExtP1). The inner contour is presenting at least two steps (St1, St2, St3, St4, St5, St6) each comprising a first surface (S1) perpendicular to the extension plane and a second surface (S2) parallel to the extension plane. The respective second surfaces of two (St1, St3, St5) of the steps is configured to support two respective bipolar plates (BP-1, BP-21, BP-22).

COMPOSITE ANION EXCHANGE MEMBRANE AND CATALYST COATED MEMBRANE FOR ELECTROCHEMICAL DEVICES

NºPublicación:  WO2026019647A1 22/01/2026
Solicitante: 
UOP LLC [US]
UOP LLC
WO_2026019647_PA

Resumen de: WO2026019647A1

Composite anion exchange membranes are described. The composite anion exchange membranes comprise an anion exchange polymer containing a hydrogen recombination catalyst dispersed in the anion exchange polymer. The anion exchange membrane may also include a radical scavenger. The anion exchange polymer comprises a plurality of repeating units of formula (I). Catalyst coated membranes and membrane electrode assemblies made using the composite anion exchange membranes are also described.

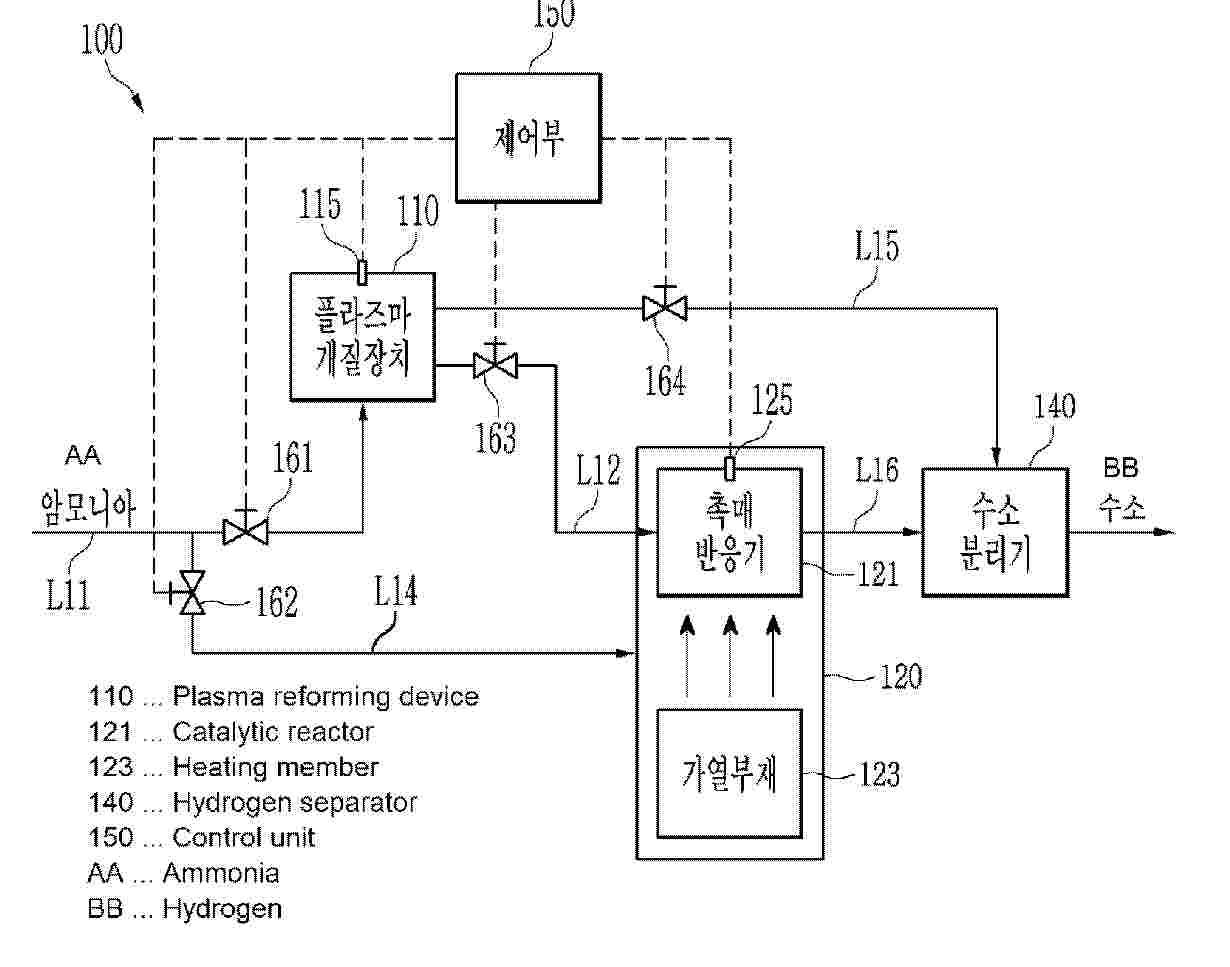
AMMONIA DECOMPOSITION SYSTEM USING PLASMA, AND AMMONIA DECOMPOSITION METHOD USING SAME

NºPublicación:  WO2026019103A1 22/01/2026
Solicitante: 
KOREA INST MACH & MATERIALS [KR]
\uD55C\uAD6D\uAE30\uACC4\uC5F0\uAD6C\uC6D0
WO_2026019103_PA

Resumen de: WO2026019103A1

An ammonia decomposition system according to one embodiment of the present invention comprises: a decomposition device for decomposing ammonia, which comprises a heating member for heating a catalytic reactor and the catalytic reactor containing a decomposition catalyst; a plasma reforming device disposed upstream of the decomposition device so as to reform ammonia; and a reformed gas supply pipe for connecting the plasma reforming device and the decomposition device, and supplying the reformed gas generated in the plasma reforming device to the catalytic reactor and/or the heating member, wherein the plasma reforming device can pyrolyze ammonia by using plasma.

NICKEL-PLATED METAL MATERIAL, ELECTRODE BASE MATERIAL FOR ELECTROLYSIS, ELECTRODE FOR ELECTROLYSIS, AND ELECTROLYTIC TANK

NºPublicación:  WO2026018801A1 22/01/2026
Solicitante: 
TOYO KOHAN CO LTD [JP]
\u6771\u6D0B\u92FC\u9211\u682A\u5F0F\u4F1A\u793E
WO_2026018801_PA

Resumen de: WO2026018801A1

Problem To provide a nickel-plated metal material for water electrolysis capable of suppressing damage to a diaphragm while maintaining a suitable gas generation surface area. Solution This nickel-plated metal material comprises: a sheet-shaped metal base material having a plurality of opening parts; and a roughened nickel layer provided on at least one surface of the metal base material. ΔRzjis on a surface on the roughened nickel layer side is 4.0 μm or less, and a developed area ratio Sdr on the surface on the roughened nickel layer side is 15.0% or more. The ΔRzjis represents the difference between the ten-point average roughness Rzjis1 of the end portion of the opening part and the ten-point average roughness Rzjis2 of the center portion between the two adjacent opening parts.

ANION-EXCHANGE MEMBRANE WATER ELECTROLYSIS SYSTEM INCORPORATING REFERENCE ELECTRODE, AND METHOD FOR PRODUCING SAME

NºPublicación:  WO2026019015A1 22/01/2026
Solicitante: 
KOREA ADVANCED INST SCI & TECH [KR]
\uD55C\uAD6D\uACFC\uD559\uAE30\uC220\uC6D0
WO_2026019015_PA

Resumen de: WO2026019015A1

One embodiment of the present invention provides an anion-exchange membrane water electrolysis system incorporating a reference electrode, and a method for producing same. The anion-exchange membrane water electrolysis system incorporating a reference electrode according to one embodiment of the present invention places the reference electrode not between reduction (cathode) and oxidation (anode) electrodes but outside of a membrane electrode assembly, thereby allowing overvoltage of each electrode to be measured without degrading system performance.

ELECTROLYSIS SYSTEM FOR HYDROGEN PRODUCTION

NºPublicación:  WO2026017387A1 22/01/2026
Solicitante: 
XINTC B V [NL]
XINTC B.V
WO_2026017387_PA

Resumen de: WO2026017387A1

The invention relates to an electrolysis system for hydrogen production, comprising: A DC Power source, in particular with a fluctuating power revenue, comprising: a positive power bar; and a negative power bar; A plurality of electrolyser modules, each electrolyser module comprising: A plurality of electrolyser cells; At least a first common liquid input connection; At least one common positive electric pole; At least one common negative electric pole; A liquid circuit for supplying an electrolyte to the liquid input connection of each of said electrolyser modules, connecting the electrolyser modules hydraulically; A controllable electric circuit, configured for selectively connecting and disconnecting one of: the positive electric pole of at least one of the electrolyser modules; or the negative electric pole of said at least of the electrolyser modules; to or from the respective positive or negative power bar; characterised in that the controllable electric circuit is further configured for selectively connecting and disconnecting the other of: the positive electric pole of said at least one of the electrolyser modules; and the negative electric pole of said at least one of the electrolyser modules; to or from the respective positive power bar or the respective negative power bar.

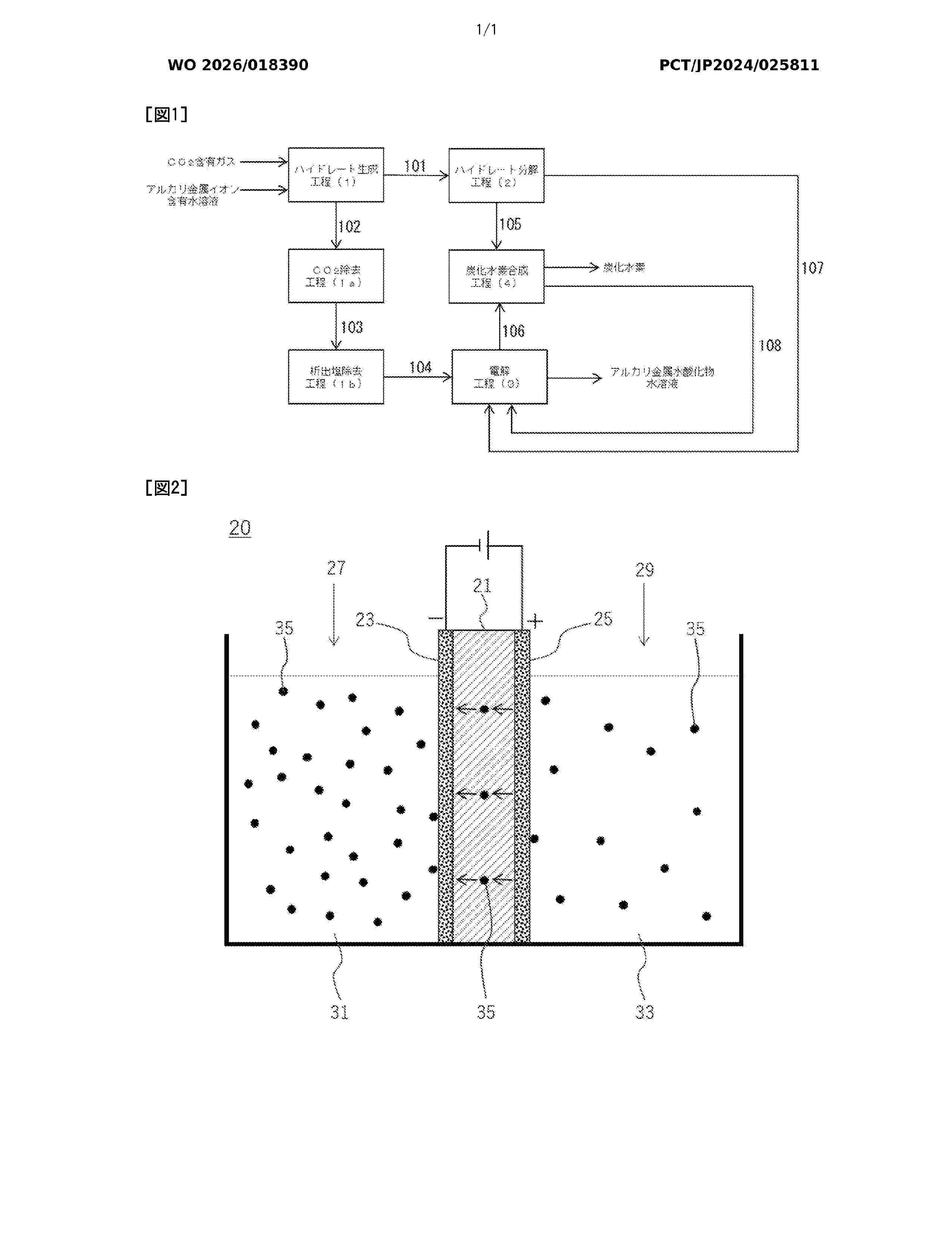
METHOD FOR PRODUCING HYDROCARBON AND SYSTEM FOR PRODUCING HYDROCARBON

Nº publicación: WO2026018390A1 22/01/2026

Solicitante:

NISSAN MOTOR [JP]
\u65E5\u7523\u81EA\u52D5\u8ECA\u682A\u5F0F\u4F1A\u793E

WO_2026018390_A1

Resumen de: WO2026018390A1

The present disclosure provides a means by which resource efficiency in hydrocarbon production can be improved. Disclosed is a method for producing hydrocarbons, wherein: a CO2 hydrate and an alkali metal ion concentrated aqueous solution are obtained from a CO2-containing gas and an alkali metal ion-containing aqueous solution; the CO2 hydrate is decomposed to obtain CO2 and water (a); the alkali metal ion concentrated aqueous solution is introduced into the anode chamber of an electrolytic cell provided with a diaphragm, water for recovery is introduced into the cathode chamber, and H2 and an alkali metal hydroxide aqueous solution are obtained by electrolysis; and the CO2 and the H2 are reacted to obtain a hydrocarbon and water (b).

traducir