Ministerio de Industria, Turismo y Comercio LogoMinisterior
 

Alerta

Resultados 1033 resultados
LastUpdate Última actualización 23/03/2026 [07:02:00]
pdfxls
Publicaciones de solicitudes de patente de los últimos 60 días/Applications published in the last 60 days
previousPage Resultados 1000 a 1025 de 1033 nextPage  

液状体の放射能の量を低減させる方法

NºPublicación:  JP2026012589A 23/01/2026
Solicitante: 
水野実
JP_2026012589_A

Resumen de: JP2025039684A

To provide means for solving the problem on radioactive contamination by applying hydrogen water to applications that are different from an application of removing a radioactive substance from soil and that appropriately exhibit functions of hydrogen water with unique properties.SOLUTION: In a method for reducing an amount of radioactivity in liquid containing a radioactive substance by dissolving hydrogen in the liquid, hydrogen may be dissolved in the liquid by mixing a substance containing a radioactive substance with hydrogen water containing hydrogen of 1.0 ppm or more.SELECTED DRAWING: None

ポリマー及びそれを用いた電解質膜

NºPublicación:  JP2026011586A 23/01/2026
Solicitante: 
日本化薬株式会社
JP_2026011586_PA

Resumen de: JP2026011586A

【課題】成膜性及びアルカリ耐久性に優れたポリマー、及びそれを用いた電解質膜を提供する。【解決手段】下記式(1)で表される繰り返し単位を有するポリマー。TIFF2026011586000020.tif51170(式(1)中、Arは芳香族基であり、R1及びR2は、それぞれ独立に、イオン交換基又はハロゲノ基で置換されたC1-C12の直鎖、分岐又は環状のアルキル基を表し、R3及びR4は、それぞれ独立に、C1-C6の直鎖、分岐又は環状のアルキル基を表し、Xはカウンターアニオンを表す。)【選択図】なし

水素エネルギー利用装置

NºPublicación:  JP2026011984A 23/01/2026
Solicitante: 
株式会社ホクシンエレクトロニクス
JP_2026011984_PA

Resumen de: JP2026011984A

【課題】水または電解水を電気分解して得た水素を水中に溶存させ、効率よく二酸化炭素と結合させ炭化水素を含む水として、静電気などで容易に爆発することのない安全な水素エネルギー利用装置を提供する。【解決手段】半球状の水または炭酸水・炭酸を含む電解水が入る耐油性、耐薬品、耐酸性、耐アルカリ性の樹脂容器内に、電解水と電極、振動装置を設け、振動および撹拌させながら電気分解を行うことで、電解水中に水素を溶存させナノバブルおよびマイクロバブルで保存する。このとき、高圧炭酸水を添加し振動を与え、電解水中の水素や酸素から成るナノバブルおよびマイクロバブルを崩壊させる。その結果、水素原子と二酸化炭素を効率よく結合させ炭化水素を得ることができる。【選択図】図1

水素の分離回収装置、および、該装置を使用した水素を分離回収する方法

NºPublicación:  JP2026011065A 23/01/2026
Solicitante: 
国立大学法人秋田大学
JP_2026011065_PA

Resumen de: JP2026011065A

【課題】高収率で高純度の水素の分離回収が可能であり、膜劣化の問題が生じず長期間の使用が可能である、水素の分離回収装置を提供する。【手段】プロトン伝導体からなる筒状体、アンモニア分解手段、および、水素ポンプを備え、アンモニア分解手段は、プロトン伝導体からなる筒状体の外部空間を通るアンモニアを、水素と窒素に分解する電極を備え、水素ポンプは、水素を前記プロトン伝導体からなる筒状体の内部空間に通過させる電極を備える、水素の分離回収装置。【選択図】図1

氢氧化钴电极及其制备方法与应用

NºPublicación:  CN121381027A 23/01/2026
Solicitante: 
浙江理工大学
CN_121381027_PA

Resumen de: CN121381027A

本申请公开了一种氢氧化钴电极,所述氢氧化钴电极为泡沫镍负载的氢氧化钴,所述氢氧化钴为非晶相氢氧化钴,所述氢氧化钴的微观结构为纳米针。本申请所得电极具有催化活性较高和反应动力学较强的特点。本申请还公开了氢氧化钴电极的制备方法与应用。

Method for preparing super pure steel by directly reducing zero carbon with H2

NºPublicación:  CN121380483A 23/01/2026
Solicitante: 
HUAWU BEIJING TECH CO LTD
\u5316\u7269\uFF08\u5317\u4EAC\uFF09\u79D1\u6280\u6709\u9650\u516C\u53F8
CN_121380483_A

Resumen de: CN121380483A

The invention belongs to the technical field of ferrous metallurgy, and discloses a method for preparing super pure steel by directly reducing zero carbon with H2, which comprises the following steps: S1, electrolyzing water with green electricity to prepare hydrogen; s2, carrying out selective reduction by utilizing an H2 shaft furnace; s3, hot press molding, wherein the HBI apparent density is greater than or equal to 5.0 g/cm; s4, melting and slagging in an electric furnace; s5, refining and removing O to obtain super pure steel; according to the invention, hydrogen is prepared by electrolyzing water with green electricity, so that zero-carbon hydrogen production is realized; in the H2 shaft furnace reduction process, selective reduction is achieved by controlling the temperature of a reduction section, the reduction time and other process parameters, the oxidation period and the reduction period in a traditional electric furnace process are fused into a whole, a traditional complex steelmaking process is replaced, and super-pure steel is obtained through one-step melting separation-smelting; the history of carbon metallurgy is thoroughly eliminated in steel smelting, and the process of obtaining the super pure steel is simpler.

WATER ELECTROLYSIS SYSTEM AND METHOD FOR OPERATING WATER ELECTROLYSIS SYSTEM

NºPublicación:  WO2026018535A1 22/01/2026
Solicitante: 
HITACHI LTD [JP]
\u682A\u5F0F\u4F1A\u793E\u65E5\u7ACB\u88FD\u4F5C\u6240
WO_2026018535_PA

Resumen de: WO2026018535A1

This water electrolysis system comprises: one or more water electrolysis stacks; a water line for supplying water to each water electrolysis stack; an oxygen line for discharging an oxygen gas that is generated in each water electrolysis stack and surplus water; a hydrogen line for discharging a hydrogen gas that is generated in each water electrolysis stack and surplus water; an insulation pipe for electrically insulating the water electrolysis stacks from the pipes of the water line, the oxygen line, and the hydrogen line; and a DC power supply for supplying DC power so as to drive the water electrolysis stacks. During the operation of this water electrolysis system, water is supplied to a part in which the hydrogen gas and surplus water are mixed in the water electrolysis stacks or the hydrogen line on the upstream side of the insulation pipe of the hydrogen line.

Ni Method for manufacturing Raney Ni catalyst for water electrolysis based on hot-dip coating process

NºPublicación:  KR20260010855A 22/01/2026
Solicitante: 
KOREA INST IND TECH [KR]
\uD55C\uAD6D\uC0DD\uC0B0\uAE30\uC220\uC5F0\uAD6C\uC6D0
KR_20260010855_PA

Resumen de: KR20260010855A

본 발명의 용융도금법 기반 수전해용 레이니 Ni 촉매 제조 방법은 Ni 플레이트(Plate)를 준비하는 단계, 상기 Ni 플레이트를 용융 도금욕에 침지하여 도금하는 단계, 상기 용융 도금된 Ni 플레이트를 합금화 열처리하는 단계 및 상기 합금화 열처리된 Ni 플레이트를 화학적으로 리칭(leaching)하여 표면에 다공성 구조의 Ni 촉매층을 형성하는 단계를 포함할 수 있다.

HYDROGEN GENERATION DEVICE

NºPublicación:  WO2026016601A1 22/01/2026
Solicitante: 
LIN HSIN YUNG [CN]
\u6797\u4FE1\u6D8C
WO_2026016601_PA

Resumen de: WO2026016601A1

A hydrogen generation device, comprising a water tank, two electrolysis modules, a condenser, and a first humidifier, wherein the water tank has an accommodating space to accommodate electrolyzed water; the two electrolysis modules are located outside the water tank and are connected in series to each other, and each electrolysis module is configured to receive and electrolyze the electrolyzed water from the water tank to generate and output a hydrogen-containing gas to the water tank; the condenser is arranged above the water tank, and the condenser is configured to receive and condense the hydrogen-containing gas from the water tank and output the condensed hydrogen-containing gas; and the first humidifier is coupled to the condenser and has a first humidification chamber to accommodate makeup water, and the first humidifier is configured to receive the condensed hydrogen-containing gas from the condenser into the makeup water to filter and humidify the condensed hydrogen-containing gas.

ION EXCHANGE MEMBRANE, ELECTROLYTIC CELL, AND METHOD FOR PRODUCING HYDROGEN

NºPublicación:  WO2026018874A1 22/01/2026
Solicitante: 
ASAHI KASEI KK [JP]
\u65ED\u5316\u6210\u682A\u5F0F\u4F1A\u793E
WO_2026018874_PA

Resumen de: WO2026018874A1

An ion exchange membrane comprising: a sulfonic-acid-type membrane body containing a polymer having a sulfonic-acid group; and a reinforcement material disposed in the sulfonic-acid-type membrane body, wherein the surface roughness R1 of a first surface of the sulfonic-acid-type membrane body is lower than the surface roughness R2 of a second surface of the sulfonic-acid-type membrane body.

A method of configuring a plant for the production of green ammonia

NºPublicación:  AU2026200050A1 22/01/2026
Solicitante: 
THYSSENKRUPP AG
THYSSENKRUPP UHDE GMBH
THYSSENKRUPP AG,
THYSSENKRUPP UHDE GMBH
MA_65140_A1

Resumen de: AU2026200050A1

21680504_1 (GHMatters) P123644.AU 6/01/26 The invention relates to a method for configuring a plant for the production of green ammonia using renewable energies for the production of hydrogen. an a n

SYSTEM AND METHOD FOR MAKING GREEN HYDROGEN

NºPublicación:  AU2023449815A1 22/01/2026
Solicitante: 
POWER & CONCEPTS LLC DBA THE CHRYSLER GROUP
POWER & CONCEPTS, LLC DBA THE CHRYSLER GROUP
AU_2023449815_PA

Resumen de: AU2023449815A1

A system and method of making hydrogen from water. A cylindrical reaction vessel is provided with an outer shell, a central shaft, and one or more concentric inner tubes separated by annular spaces. Water is delivered to the annular spaces by a water pump through an inlet defined in the reaction vessel. The water courses along a tortuous flow path. That path begins at an inner annular space around a central shaft. It ends at an outer annular space. The water emerges from the reaction vessel through an outlet associated with a manifold. A high-frequency vibratory stimulus is applied to the reaction vessel and water. Water molecules are dissociated into hydrogen molecules and oxygen atoms. These reaction products are delivered through the manifold along an effluent flow path to a receiving pressure vessel before deployment to a sub-assembly for harnessing clean energy.

MEMBRANE-ELECTRODE ASSEMBLY FOR A WATER ELECTROLYSER

NºPublicación:  AU2024324493A1 22/01/2026
Solicitante: 
JOHNSON MATTHEY HYDROGEN TECH LIMITED
JOHNSON MATTHEY HYDROGEN TECHNOLOGIES LIMITED
AU_2024324493_PA

Resumen de: AU2024324493A1

A membrane-electrode assembly for a water electrolyser is provided. The membrane- electrode assembly comprises a polymer electrolyte membrane with a first face and a second face; an anode catalyst layer on the first face of the membrane, the anode catalyst layer comprising an oxygen evolution reaction catalyst; and a porous web of polymer fibres in contact with the anode catalyst layer, the polymer fibres comprising a conductive metal additive.

METHOD FOR ELECTROCHEMICAL WATER SPLITTING

NºPublicación:  US20260022480A1 22/01/2026
Solicitante: 
UNIV KING FAHD PET & MINERALS [SA]
KING FAHD UNIVERSITY OF PETROLEUM AND MINERALS
US_20260022480_PA

Resumen de: US20260022480A1

An electrode including a transparent substrate and a layer of a perovskite-based nanocomposite (PTNC) material at least partially covering a surface of the transparent substrate. The PTNC material includes gold (Au) nanoparticles, graphitic carbon nitride (g-C3N4) nanoparticles, and perovskite-based nanoparticles through synergistic interaction. A method of making the electrode is described.

HYDROGEN COMPRESSING ASSEMBLY, HYDROGEN PRODUCTION PLANT, AND COMPRESSING METHOD

NºPublicación:  US20260022704A1 22/01/2026
Solicitante: 
NUOVO PIGNONE TECNOLOGIE SRL [IT]
NUOVO PIGNONE TECNOLOGIE - SRL
US_20260022704_PA

Resumen de: US20260022704A1

A hydrogen production plant, to produce hydrogen having a compressing assembly, for increasing the pressure of the hydrogen. The compressing assembly has at least one barrel compressor and at least one integrally geared centrifugal compressor. Also disclosed are methods of compressing hydrogen.

A SYSTEM AND A METHOD FOR ESTIMATING CURRENT EFFICIENCY OF AN ELECTROLYSER

NºPublicación:  US20260022482A1 22/01/2026
Solicitante: 
NEOVOLT OY [FI]
NEOVOLT OY
US_20260022482_PA

Resumen de: US20260022482A1

An estimation system for estimating current efficiency of an electrolyser comprises a data processing system (105) for computing heat loss of the electrolyser based on specific heat capacity of electrolyte, a flow rate of the electrolyte in a cathode side of the electrolyser, a flow rate of the electrolyte in an anode side, a temperature difference (T1c-T0c) between electrolyte circulation outlet and inlet of the cathode side, and a temperature difference (T1a-T0a) between electrolyte circulation outlet and inlet of the anode side. The current efficiency is estimated based on a difference between electric power supplied to the electrolyser and the computed estimate of the heat loss, and on a product of thermoneutral voltage of electrolysis cells of the electrolyser and electric current supplied to the electrolyser.

COMPOSITE ANION EXCHANGE MEMBRANE AND CATALYST COATED MEMBRANE FOR ELECTROCHEMICAL DEVICES

NºPublicación:  US20260022481A1 22/01/2026
Solicitante: 
UOP LLC [US]
UOP LLC
US_20260022481_PA

Resumen de: US20260022481A1

Composite anion exchange membranes are described. The composite anion exchange membranes comprise an anion exchange polymer containing a hydrogen recombination catalyst dispersed in the anion exchange polymer. The anion exchange membrane may also include a radical scavenger. The anion exchange polymer comprises a plurality of repeating units of formula (I)Catalyst coated membranes and membrane electrode assemblies made using the composite anion exchange membranes are also described.

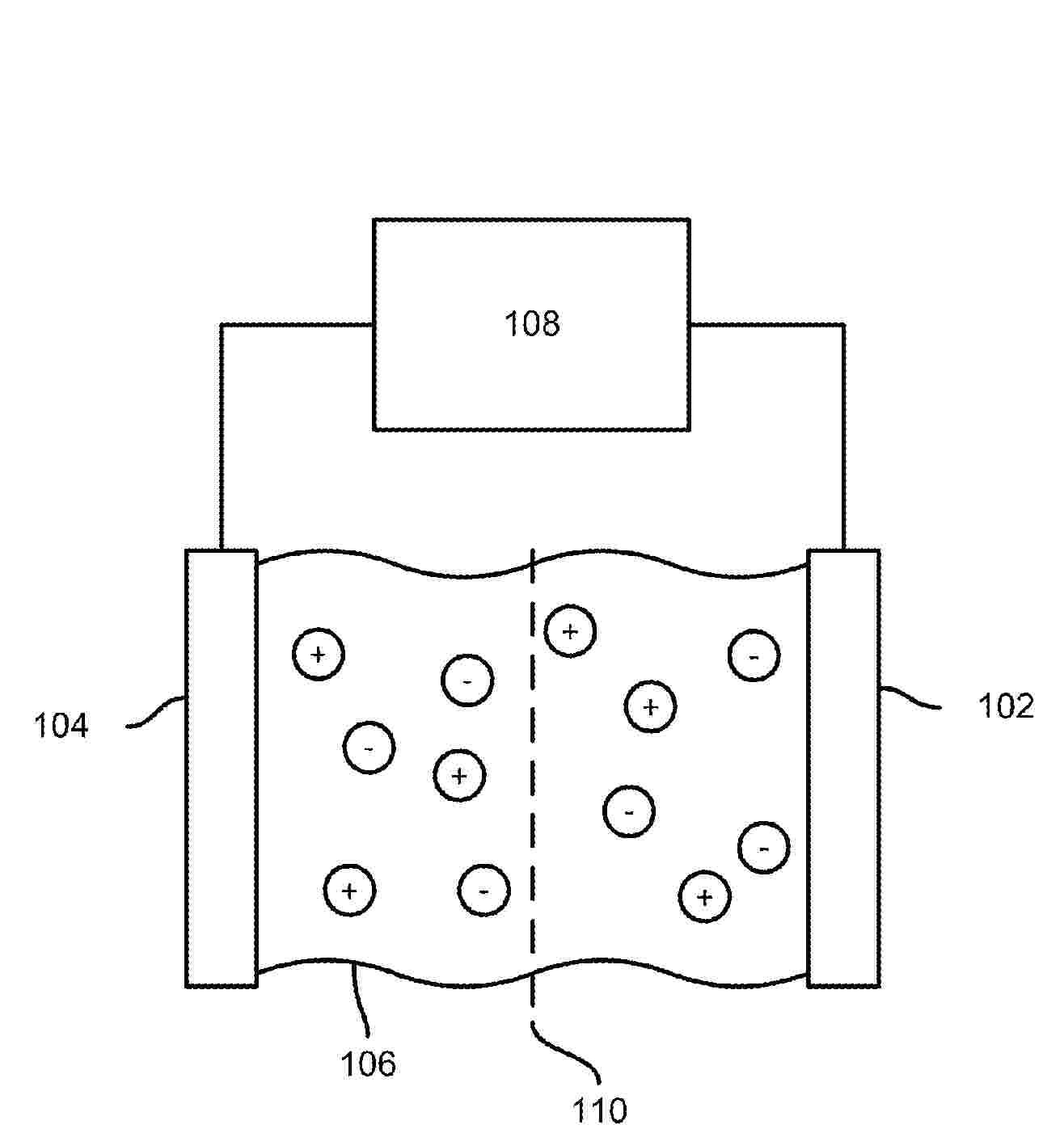
ELECTROCATALYST FOR WATER ELECTROLYSIS AND PREPARING METHOD OF THE SAME

NºPublicación:  US20260022478A1 22/01/2026
Solicitante: 
KOREA ELECTRIC POWER CORP [KR]
RESEARCH & BUSINESS FOUND SUNGKYUNKWAN UNIV [KR]
KOREA ELECTRIC POWER CORPORATION,
Research & Business Foundation SUNGKYUNKWAN UNIVERSITY
US_20260022478_A1

Resumen de: US20260022478A1

Discloses are an electrocatalyst for a water electrolysis and a method of preparing the same, which includes a support made of a MXene having a two-dimensional structure; and a transition metal compound located on and heterogeneously bonded to the support, thereby increasing electrochemical activity by improving the operation stability and increasing the surface area compared to conventional commercial catalysts.

Method for manufacturing an alkaline ammonia electrolysis cell with ammonia corrosion resistance and operating the same stably

NºPublicación:  US20260022475A1 22/01/2026
Solicitante: 
POSTECH RES AND BUSINESS DEVELOPMENT FOUNDATION [KR]
POSTECH RESEARCH AND BUSINESS DEVELOPMENT FOUNDATION
US_20260022475_PA

Resumen de: US20260022475A1

An ammonia electrolysis cell according to one embodiment of the present invention includes an end plate, a collector plate, a separator plate, a porous transport layer support gasket, a porous transport layer electrode, and a membrane, wherein the collector plate is connected to a power source, the power source may be characterized in that it cross-applies a working voltage and a rest voltage of 0.2 V or less. Thus, the present invention can effectively remove* NHx and OH− that poison the oxidation electrode, thereby significantly increasing the efficiency of hydrogen production, and can provide a bulk storage and transportation device for utilizing hydrogen as an energy medium.

WATER ELECTROLYSIS SYSTEM AND METHOD

NºPublicación:  US20260022471A1 22/01/2026
Solicitante: 
VERNET LOURDES [US]
VERNET VACCHIANI MARTIN RUBEN [AR]
Vernet Lourdes,
Vernet Vacchiani Martin Ruben
US_20260022471_PA

Resumen de: US20260022471A1

A water electrolysis system including a container; a plurality of microcells located inside the container; the microcells are centered around a central axis of the container; a first bracket located on a first side of the microcells; a second bracket located on a second side of the microcells; a plurality of magnets mounted on the first and the second brackets, the magnets are placed in parallel to the microcells; a liquid inside the container. The first and the second brackets are adapted to be connected to a motor. The first and the second brackets rotate during the electrolysis process. The magnets on the first bracket produce a first magnetic field and the magnets on the second bracket produce a second magnetic field; and the first and the second magnetic fields have opposite polarity.

METHOD FOR ELECTROCHEMICAL WATER SPLITTING

NºPublicación:  US20260022477A1 22/01/2026
Solicitante: 
KING FAHD UNIV OF PETROLEUM AND MINERALS [SA]
KING FAHD UNIVERSITY OF PETROLEUM AND MINERALS
US_20260022477_PA

Resumen de: US20260022477A1

A vanadium oxide-based electrode for electrochemical water splitting that includes metallic substrate and a layer of particles of a vanadium oxide composite at least partially covering a surface of the metallic substrate. The particles of the vanadium oxide composite are in the form of nanobeads having an average particle size of 50 to 400 nm. A method of making the electrode.

ELECTROCATALYST FOR OXYGEN EVOLUTION REACTIONS

NºPublicación:  US20260022472A1 22/01/2026
Solicitante: 
WU YIMIN A [CA]
LU SIYAN [CA]
DU CHENG [CN]
WU Yimin A,
LU Siyan,
DU Cheng
US_20260022472_PA

Resumen de: US20260022472A1

An example electrochemical system includes: a cathode including a first electrocatalyst configured to catalyze a reduction reaction of carbon dioxide to produce water; an anode including a second electrocatalyst comprising ruthenium doped iridium oxide, the second electrocatalyst configured to catalyze an oxygen evolution reaction to produce diatomic oxygen from the water; an electrolyte connecting the cathode and the anode; and an electricity source configured to apply an electrical current across the cathode and the anode to catalyze the reduction and oxygen evolution reactions.

METHOD AND PLANT FOR PRODUCING HYDROGEN

NºPublicación:  US20260022470A1 22/01/2026
Solicitante: 
LINDE GMBH [DE]
Linde GmbH
US_20260022470_PA

Resumen de: US20260022470A1

A method for producing hydrogen by means of water electrolysis, in which a direct electrolysis current is fed to one or more electrolysis units at least in a first operating mode, wherein the direct electrolysis current is supplied from a mains current using a current conversion arrangement, wherein the mains current is an alternating current, wherein the current conversion arrangement, comprises one or more first synchronous electric machines which are operable as motors and one or more second synchronous electric machines which are operable as generators, wherein the one or more first synchronous electric machines is/are operated using the mains current, wherein the one or more second synchronous electric machines is/are driven using the one or more first synchronous electric machines, and wherein the direct electrolysis current is supplied using the one or more second synchronous electric machines. The present invention also relates to a corresponding plant.

METHOD FOR MAKING AN ELECTRODE

NºPublicación:  US20260022476A1 22/01/2026
Solicitante: 
KING FAHD UNIV OF PETROLEUM AND MINERALS [SA]
KING FAHD UNIVERSITY OF PETROLEUM AND MINERALS
US_20260022476_PA

Resumen de: US20260022476A1

A vanadium oxide-based electrode for electrochemical water splitting that includes metallic substrate and a layer of particles of a vanadium oxide composite at least partially covering a surface of the metallic substrate. The particles of the vanadium oxide composite are in the form of nanobeads having an average particle size of 50 to 400 nm. A method of making the electrode.

ELECTROCHEMICAL MEMBRANE

Nº publicación: US20260024783A1 22/01/2026

Solicitante:

W L GORE & ASS INC [US]
W. L. Gore & Associates, Inc

US_20260024783_PA

Resumen de: US20260024783A1

This disclosure relates to electrolyzer composite membranes, and in particular, to a composite membrane having at least two reinforcing layers comprising a microporous polymer structure and a surprisingly high resistance to piercing. The electrolyzer composite membranes have as recombination catalyst configured to be disposed closer to an anode than to a cathode in a membrane-electrode assembly (MEA). The disclosure also relates to membrane-electrode assemblies and electrolyzers comprising the membranes, and to method of manufacture of the membranes.

traducir