Ministerio de Industria, Turismo y Comercio LogoMinisterior
 

Alerta

Resultados 400 resultados
LastUpdate Última actualización 25/04/2026 [08:16:00]
pdfxls
Solicitudes publicadas en los últimos 60 días (excluida automoción) / Applications published in the last 60 days (Automotion publications excluded)
previousPage Resultados 150 a 175 de 400 nextPage  

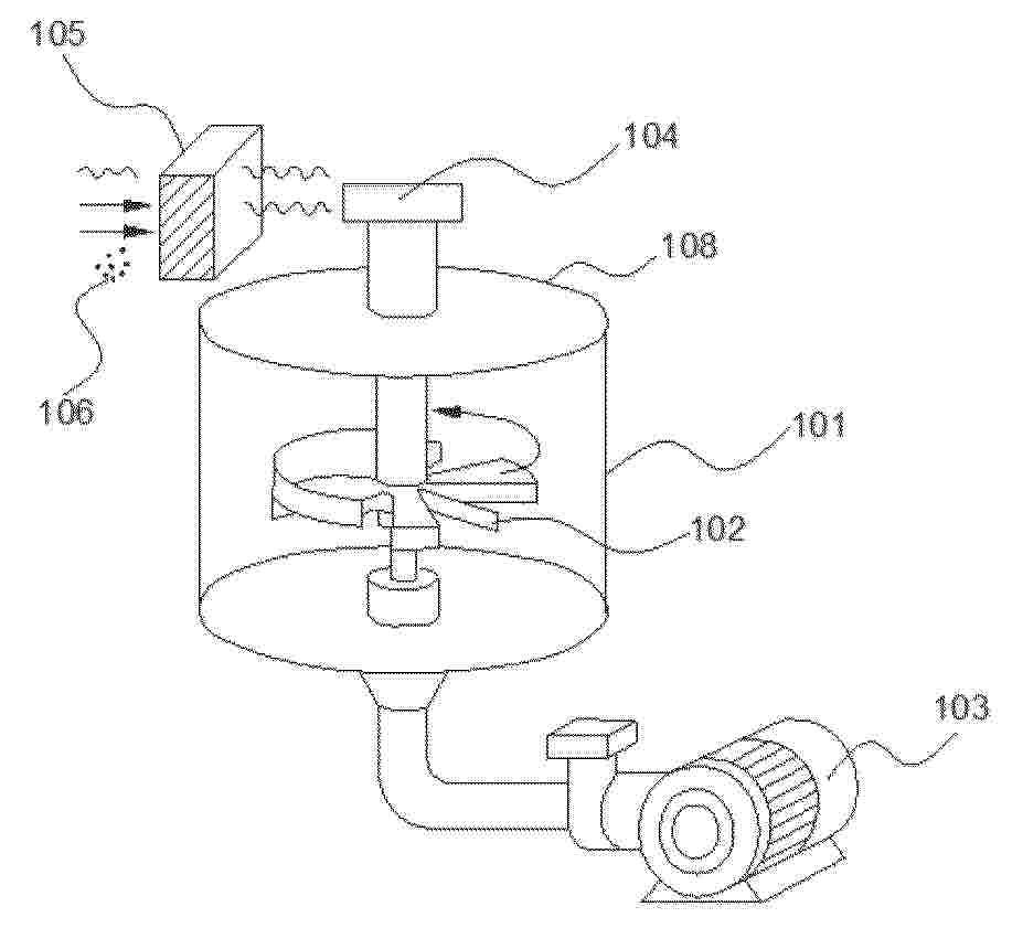
基于PIPD-石墨烯复合纤维的光电探测器件

NºPublicación:  CN121815878A 07/04/2026
Solicitante: 
东华大学
CN_121815878_PA

Resumen de: CN121815878A

本发明属于光电探测器件技术领域,涉及一种基于PIPD‑石墨烯复合纤维的光电探测器件,包括间隔设置的源电极和漏电极以及跨接在源电极和漏电极之间的光敏核心元件;光敏核心元件的两端分别与源电极和漏电极形成欧姆接触,在源电极和漏电极之间形成光敏导电沟道;光敏核心元件为PIPD‑石墨烯复合纤维;PIPD‑石墨烯复合纤维是将氧化石墨烯溶液与PIPD纳米棒溶液混合配制纺丝液,进行湿法纺丝,纺丝后依次经化学还原和真空干燥处理得到的;PIPD纳米棒的长径比为20~80,晶粒尺寸为30~150 nm;纺丝液中PIPD纳米棒的含量为氧化石墨烯的10~20wt%。本发明能够赋予器件更快的响应速度和极高的光电转化效率(响应度),解决了传统NPC材料响应慢、迟滞大的问题。

一种碳纳米管/硒化镉量子点异质结光电催化剂及其制备方法与应用

NºPublicación:  CN121802467A 07/04/2026
Solicitante: 
吉首大学湘西民族职业技术学院
CN_121802467_PA

Resumen de: CN121802467A

本发明公开了一种碳纳米管/硒化镉量子点异质结光电催化剂及其制备方法与应用。所述方法包括:将单壁和/或多壁碳纳米管经王水室温活化后分散于含CdCl2·2.5H2O的水溶液中,加入Na2SeSO3硒源与3‑巯基丙酸,在110~150 ℃条件下反应,使粒径为1~5 nm的CdSe量子点在碳纳米管表面和/或内部原位成核生长并形成异质结界面。将所得催化剂与Nafion制成墨水滴涂于导电玻璃构筑光阴极,在带光通路 H 型电解池中以高纯 CO2饱和的碳酸氢盐水溶液为电解液、Ag/AgCl为参比电极,在最大波长为450 nm的LED光源照射及‑0.1~‑1.0 V(vs. RHE)偏压下实现水相光电催化CO2还原生成CO。所述光电催化剂具有合成方法简单,光电催化还原二氧化碳效果优异的特点。

磷碳复合负极材料及其制备方法、钠离子电池和用电装置

NºPublicación:  CN121812521A 07/04/2026
Solicitante: 
江苏正力新能电池技术股份有限公司
CN_121812521_A

Resumen de: CN121812521A

本发明涉及一种磷碳复合负极材料及其制备方法、钠离子电池和用电装置。磷碳复合负极材料包括多孔硬碳和红磷,红磷通过化学气相沉积沉积于多孔硬碳上。该磷碳复合负极材料应用于钠离子电池中,在脱嵌钠的过程中,位于多孔硬碳的开孔结构内的红磷单质体积膨胀时,多孔硬碳会限制它的体积膨胀,使得它的体积膨胀较小,而且体积膨胀产生的应力会分散到整个多孔硬碳上,不会出现磷碳复合负极材料碎裂的情况,从而磷碳复合负极材料具有结构稳定性好的特点,能有效提高钠离子电池的首次库伦效率。

一种碳量子点/金属有机框架复合材料及制备方法和应用

NºPublicación:  CN121801561A 07/04/2026
Solicitante: 
湖南工业大学
CN_121801561_PA

Resumen de: CN121801561A

本发明公开了一种碳量子点/金属有机框架复合材料及制备方法和应用,所述方法是将水性聚氨酯衍生的碳量子点嵌入沸石咪唑酯框架‑8中,制备得到碳量子点/金属有机框架复合材料。该复合材料可以作为四环素痕量检测的比率型荧光探针,该探针的双发射荧光信号源于四环素通过内滤效应猝灭puCDs在450 nm处的蓝色荧光,以及Zn2+与四环素之间的配位作用触发聚集诱导发射效应,从而产生新的荧光发射,两种信号的强度均与四环素浓度成比例变化,实现了宽线性浓度检测范围和低检测限,该探针在检测中具有高回收率和大吸附容量,解决了传统检测方法灵敏度不足、抗干扰能力差以及成本高等问题,为构建兼具去除功能的比率型荧光探针提供了新思路。

一种快离子导体包覆硅碳复合材料的制备方法及其应用

NºPublicación:  CN121812564A 07/04/2026
Solicitante: 
安徽晖阳新能源材料有限公司
CN_121812564_PA

Resumen de: CN121812564A

本发明公开了一种快离子导体包覆硅碳复合材料及其制备方法,属于电池材料领域,将树脂,杂原子化合物,粘结剂混合,低温碳化,与活化剂混合活化造孔,二氧化碳造孔,得到多孔碳,然后浸泡在催化剂溶液中,在高温下通入碳源气体,得到碳纳米管/杂原子掺杂多孔碳;将所得材料添加到液态硅烷溶液中,反应得到硅碳前驱体材料;硅碳前驱体材料添加到快离子导体溶液中,喷雾干燥,高温烧结,得到快离子导体包覆硅碳复合材料。所得材料利用多孔碳内核掺杂的碳纳米管提升材料电子导电率及其杂原子改变电子排布,降低阻抗;外层包覆的快离子导体提升材料的离子导电率及其束缚内核膨胀,提升循环及其倍率性能。

一种正极材料及其制备方法和应用以及碳包覆硫酸亚铁钠正极材料中包覆效果的评估方法

NºPublicación:  CN121812548A 07/04/2026
Solicitante: 
厦门厦钨新能源材料股份有限公司
CN_121812548_A

Resumen de: CN121812548A

0001 本发明属于钠离子电池领域,具体涉及一种正极材料及其制备方法和应用。所述碳包覆硫酸亚铁钠正极材料包括硫酸亚铁钠颗粒以及包覆于硫酸亚铁钠颗粒表面的碳包覆层;所述碳包覆硫酸亚铁钠正极材料的拉曼光谱中位于1020±20cm<‑1>处的硫酸根特征峰强度记为I,位于1350±20cm<‑1>和1580±20cm<‑1>处的碳特征峰强度分别记为I和I,I和I之和记为I,将I/I定义为R,0.02≤R≤0.12。碳包覆硫酸亚铁钠正极材料中拉曼光谱R值能够反映碳包覆层的厚度以及包覆均匀性,将R值控制在0.02≤R≤0.12,能够赋予碳包覆硫酸亚铁钠正极材料具有较高的电子电导率和循环稳定性。

复合石墨材料及其制备方法和应用

NºPublicación:  CN121800183A 07/04/2026
Solicitante: 
上海杉杉科技有限公司
CN_121800183_PA

Resumen de: CN121800183A

本发明公开了一种复合石墨材料及其制备方法和应用。该复合石墨材料的制备方法包括以下步骤:含有液相树脂、焦粉和导电碳的混合物,依次经碳化处理、解聚处理和石墨化处理,制得所述的复合石墨材料。该制备方法中在实现均匀包覆及造粒的情况下,有效调控了所得复合石墨材料的粒径分布、颗粒结构及孔隙率;进而用于锂离子电池时,可有效改善其快充性能、循环性能等综合性能。

石墨适配型电解槽阳极连接合金的热膨胀匹配配比工艺

NºPublicación:  CN121797966A 07/04/2026
Solicitante: 
内蒙古瑞信化工有限责任公司
CN_121797966_PA

Resumen de: CN121797966A

本发明属于电解槽阳极材料技术领域,公开石墨适配型电解槽阳极连接合金的热膨胀匹配配比工艺,旨在解决传统电解槽阳极连接件与石墨阳极热膨胀系数不匹配、界面结合弱及高温稳定性差的问题,工艺包括材料预选纯化、粉末冶金制备混合、梯度结构成型与离子改性、界面强化处理、烧结致密化及性能验证步骤,通过多材料复合体系设计,使合金热膨胀系数与石墨相匹配,并且材料耐腐蚀性强,能有效延长连接件寿命,降低电解槽维护成本。

一种石墨负极材料及其制备方法与应用

NºPublicación:  CN121812549A 07/04/2026
Solicitante: 
江西紫宸科技有限公司
CN_121812549_PA

Resumen de: CN121812549A

本发明公开了一种石墨负极材料及其制备方法与应用,属于负极材料技术领域。该石墨负极材料包括多个复合颗粒,复合颗粒包括石墨及位于石墨表面的钛酸钡包覆层;钛酸钡包覆层在石墨端面的相对分布比例平均值>50%。在锂离子充放电过程中,石墨会发生体积变化,产生应力,钛酸钡作为压电材料,受到压力会产成生电荷,改变嵌锂电场,进而促进锂离子的嵌入,提高石墨负极快充性能,同时能减少锂沉积,减少锂损失。通过主要在石墨端面形成钛酸钡包覆层,能够使得钛酸钡起作用的同时,减少不必要的包覆,从而避免过多钛酸钡造成比容量的降低以及对锂离子嵌入的阻碍。本发明提供的石墨负极材料有利于提高电池的倍率性能和循环稳定性。

正极材料及其制备方法、锂离子电池和用电装置

NºPublicación:  CN121812552A 07/04/2026
Solicitante: 
北京当升材料科技股份有限公司
CN_121812552_PA

Resumen de: CN121812552A

本申请涉及正极材料及其制备方法、锂离子电池和用电装置,该正极材料包括内核和包覆在所述内核表面的碳包覆层,所述内核包括LiyFeaMebPO4;所述正极材料满足:0.50<σ<0.90;羧基含量为0.002 mmol/g~0.02 mmol/g;其中,σ是利用对数正态分布的累计概率特性求得所述正极材料的亚晶粒尺寸样本的几何标准差。该正极材料可以较好的兼顾压实密度、比容量、高温循环性能、低温性能和安全性能,同时具有较好的可加工性。

一种适用于超低温环境的快充型锂离子电池及其制备方法

NºPublicación:  CN121812694A 07/04/2026
Solicitante: 
长虹三杰新能源有限公司
CN_121812694_PA

Resumen de: CN121812694A

0001 本发明属于锂离子电池技术领域,且公开了一种适用于超低温环境的快充型锂离子电池及其制备方法,该电池由内至外依次包括:中心导热体、电芯、柔性加热膜、隔热缓冲层、绝缘衬垫和密封壳体,本发明通过复合电解液配方优化与柔性加热膜集成设计,电池在‑30℃下2C充电效率大于92%,远高于国标,且放电容量保持率大于或等于85%,四乙烯基硅烷添加剂可在负极形成弹性SEI层,有效抑制低温析锂,陶瓷化隔离隔膜将耐温性提升至150℃以上,结合防爆盖结构设计,显著降低热失控风险,正极垂直排列碳纳米管导电网络与负极高效导电设计,使电池支持2C快充,且复合电解液在‑50℃下仍保持流动性,粘度小于或等于10mPa・s,防止超低温电解液凝固。

Cu纳米颗粒/酸化碳纳米管催化剂及其制备方法和应用

NºPublicación:  CN121802468A 07/04/2026
Solicitante: 
浙江大学
CN_121802468_PA

Resumen de: CN121802468A

本发明属于电催化技术领域,具体公开了Cu纳米颗粒/酸化碳纳米管催化剂及其制备方法和应用,制备方法选用导电性好、比表面积高的酸化预处理碳纳米管作为基底,通过水热方法将CuO纳米颗粒均匀负载,在负载CuO纳米颗粒的碳纳米管表面原位生长沸石咪唑酯骨架材料‑8(ZIF‑8),通过调节煅烧温度和时间,调控表面超薄氮碳层的厚度和Cu‑N的配位。本发明采用上述的Cu纳米颗粒/酸化碳纳米管催化剂及其制备方法和应用,通过实现限域封装Cu纳米颗粒,保证长寿命电驱动CO2转化为高附加值C2+产物,使纳米Cu颗粒充分暴露催化活性位点,加快电荷传递速率,提升Cu活性位点本征活性。

一种可重复水洗的复合SERS基底及其制备方法与应用

NºPublicación:  CN121783949A 03/04/2026
Solicitante: 
中国计量大学
CN_121783949_PA

Resumen de: CN121783949A

0001 本发明属于化学分析技术领域,具体涉及一种可重复水洗的复合SERS基底及其制备方法与应用。本发明以柔性碳布作为载体,在其表面原位生长ZIF‑8,并在ZIF‑8表面负载金纳米颗粒,形成层级化复合结构。从制备方法和结构层面解决了MOF在柔性基底上易剥落、易失稳的问题,使基底在弯折、清洗及液体浸润条件下仍能保持良好的结构完整性与柔性适应性。同时,本发明在不破坏MOF孔结构和贵金属增强性能的前提下,引入疏水界面以提升水相稳定性和可清洗性,从而有效提升复合SERS基底在复杂液体样品中的抗干扰能力与检测可靠性。

一种用于糠醛电还原制备呋喃类燃料的催化剂及其制备方法

NºPublicación:  CN121781188A 03/04/2026
Solicitante: 
东南大学
CN_121781188_PA

Resumen de: CN121781188A

0001 本发明公开了一种用于糠醛电还原制备呋喃类燃料的催化剂及其制备方法,所述制备方法具体包括如下步骤:(1)将生物质碳源和氮源加入到去离子水中,先进行水热预处理,随后过滤、干燥,再在惰性气氛下进行高温碳化处理,冷却后收集,得到前驱体;(2)将前驱体置于三电极体系中,以前驱体作为阴极,以铜盐溶液作为电解液,施加还原电位进行电沉积,充分反应后取出前驱体,真空冷冻干燥后得到催化剂粗体;(3)将催化剂粗体在低氧气浓度氛围中进行表面氧化反应,反应结束后,自然冷却至室温,得到催化剂。本发明催化剂能在酸性环境下以温和电位将糠醛以高转化率及高选择性氢解为呋喃类燃料,目标产物选择性高,且多次循环使用后仍具有良好的催化活性和目标产物选择性。

基于HTCC的SiC纳米电极及其制备方法与应用

NºPublicación:  CN121784111A 03/04/2026
Solicitante: 
重庆医科大学
CN_121784111_PA

Resumen de: CN121784111A

0001 本发明属于生物检测技术领域,具体涉及一种基于HTCC的SiC纳米电极及其制备方法与应用。本发明通过将SiC纳米线与有机糖类前驱体混合并进行水热反应,形成具有丰富官能团的HTCC层;然后通过浸渍还原法在HTCC层表面修饰金属纳米颗粒,构建纳米电极。该纳米电极能够实现对单细胞内活性氧的原位检测,具有高灵敏度、高选择性和高稳定性的特点。本发明利用该纳米电极,揭示了谷胱甘肽对微囊藻毒素诱导的肝细胞内ROS生成的抑制作用及其潜在的分子机制,为肝细胞中毒的干预策略提供了科学依据。

一种磷掺杂多级孔ZSM-5沸石及其制备方法及应用

NºPublicación:  CN121778749A 03/04/2026
Solicitante: 
中国石油大学(华东)
CN_121778749_PA

Resumen de: CN121778749A

0001 本发明属于石油加工与石油化工催化剂技术领域,具体涉及一种磷掺杂多级孔ZSM‑5沸石及其制备方法及应用。本发明通过“一步水热合成法”,制得了磷掺杂多级孔ZSM‑5沸石,磷元素以稳定的四配位形式成功进入沸石骨架,与硅、铝原子形成强化学键,同步实现磷元素的骨架级配位掺杂与微‑介‑大多级孔道的精准构建,成功攻克了多级孔沸石水热稳定性不足与磷改性导致孔道堵塞存在的矛盾。所制备的沸石在800℃水热处理后结晶度保持率>85%,兼具优异的物理结构、化学稳定性和卓越的催化性能,为开发新一代长寿命、高效率的石油化工催化剂(特别是烯烃裂解、MTO等过程)提供了理想的材料解决方案,具有重大科学价值与广阔工业应用前景。

一种纳米金属颗粒表面沉积方法、复合材料及应用

NºPublicación:  CN121781056A 03/04/2026
Solicitante: 
广东省科学院半导体研究所
CN_121781056_PA

Resumen de: CN121781056A

本发明公开了一种纳米金属颗粒表面沉积方法、复合材料及应用,涉及粉末材料技术领域。本发明旨在解决现有化学沉积法纯度低、污染大以及传统物理沉积法附着力差的问题。方法包括:先对基体粉末进行等离子体表面预活化处理,引入活性位点(如羟基或晶格缺陷)以增强界面结合能;随后采用物理气相沉积法,在沉积过程中对活化粉末进行机械滚动搅拌并同时施加负偏压。该工艺利用滚动搅拌产生的静电吸附与外加偏压场的协同作用,实现纳米金属颗粒的定向飞行与强效静电吸附。本发明可实现金属负载量精确可控(100ppm‑3000ppm)、高纯度、高均匀性的包覆,特别适用于有机热敏性粉末的大规模(10Kg级)工业化制备。

一种MXene@VO2复合材料及其制备方法与在铵离子电池的应用

NºPublicación:  CN121778781A 03/04/2026
Solicitante: 
郑州大学
CN_121778781_A

Resumen de: CN121778781A

0001 本发明提供了一种MXene@VO<2>复合材料及其制备方法与在铵离子电池的应用。该复合材料的制备方法,包括步骤如下:(1)采用LiF和HCl的混合溶液对MXene原料进行刻蚀处理,经离心、洗涤,得到沉淀物,将所得沉淀物分散于水中,超声后离心,取上层悬浮液冷冻干燥,得到少层MXene前驱体;(2)将少层MXene前驱体溶液与乙酰丙酮氧钒溶液混合均匀,进行反应,之后加入H<2>O<2>溶液进行氧化,氧化所得悬浮液经水热反应,得到。本发明通过原位耦合策略,将VO<2>与MXene复合,可显著提升复合材料的整体导电性,得到具有电导率高、倍率性能好,循环寿命长的先进水系铵离子电极材料。

一种原位合成法制备碳纳米管铝合金复合材料的方法

NºPublicación:  CN121781104A 03/04/2026
Solicitante: 
成都珈丰新能源科技有限公司
CN_121781104_PA

Resumen de: CN121781104A

本发明提供了一种原位合成法制备碳纳米管铝合金复合材料的方法,包括以下步骤:S1、铝合金载体选择与预处理:选择铝合金作为载体,对载体表面进行预处理;S2、钠基催化剂的负载;S3、分区化学气相沉积原位生长;S4、致密化加工:对碳纳米管‑铝合金复合前驱体进行致密化加工,得碳纳米管铝合金复合材料。本发明的有益效果是:该方法工艺合理,且制得的碳纳米管分散均匀、界面结合强度高,导电性和导热性高;且可实现碳纳米管生长的密度、长度、管径的有效调控,实现复合材料的按需定制。

一种基于过热蒸汽闪爆的电磁加热生物质热裂解制备高值化碳材料的方法及系统

NºPublicación:  CN121780187A 03/04/2026
Solicitante: 
广西凯涵铭嵩科技研发有限公司
CN_121780187_PA

Resumen de: CN121780187A

本发明提供了一种基于过热蒸汽闪爆的电磁加热生物质热裂解制备高值化碳材料的方法及系统,涉及高值化碳材料技术领域。本发明的系统包括过热蒸汽发生器,生物质预处理单元,输送单元,文丘里混合射流器,电磁辅助加热的SX型静态混合器,电磁加热的热裂解盘管反应器,气固分离装置,余热回收系统。本发明解决了传统工艺能耗高、周期长、产品质量不稳定的问题,显著提高了碳材料的比表面积和孔隙结构均匀性,可制备超细碳粉、活性炭、纳米多孔炭、硬炭等多种高值化碳材料,具有良好的应用前景。

一种碳复合硫酸铁钠正极材料的制备方法和应用

NºPublicación:  CN121790365A 03/04/2026
Solicitante: 
中南大学
CN_121790365_PA

Resumen de: CN121790365A

一种碳复合硫酸铁钠正极材料的制备方法和应用,所述制备方法包括以下步骤:(1)将硫酸钠盐、硫酸亚铁盐、粘合剂和导电碳源或还有抗氧化剂在保护性气氛中,热粉碎后,进行高速混合,得前驱体粉末;(2)将步骤(1)所得前驱体粉末压实后,在保护性气氛保护下,烧结后,粉碎,得碳复合硫酸铁钠正极材料。将所得碳复合硫酸铁钠正极材料制成的正极极片应用于组装扣式、圆柱、方形或软包钠离子电池。本发明方法所得碳复合硫酸铁钠正极材料晶体结构结晶度高,压实密度较高,导电碳网络分散均匀,所组装的电池放电比容量高,循环稳定性好,且制备工艺操作简便、可行性高,原材料成本低廉,适宜于工业化大规模生产。

利用煤制氢副产物富金属残余碳制备硅碳电极材料的方法

NºPublicación:  CN121778731A 03/04/2026
Solicitante: 
常州大学
CN_121778731_PA

Resumen de: CN121778731A

本发明属于废弃工业产物高值利用领域,具体涉及一种利用煤制氢副产物富金属残余碳制备硅碳电极材料的方法。本发明方法可以在去除富金属残余碳中具有危害性的轻重金属杂质的同时,同步生成碳硅复合多孔结构和内生石墨烯。由于其较大的表面比表面积、特殊的孔穴结构以及内生石墨烯增强的导电特性,配合碳结构中的杂化硅孔穴作为超级电容、锂离子电池和钠离子电池电极使用时,能够使得超级电容、锂离子电池和钠离子电池得到很高的电化学性能,尤其是具有极好的比容量及优异的倍率性能。

牵伸致密化提高碳纳米管力电性能的方法、装置及应用

NºPublicación:  CN121778715A 03/04/2026
Solicitante: 
中国科学院苏州纳米技术与纳米仿生研究所
CN_121778715_PA

Resumen de: CN121778715A

本发明提供了一种牵伸致密化提高碳纳米管力电性能的方法、装置及应用。所述方法包括:提供原始碳纳米管聚集体;使原始碳纳米管聚集体与挥发性质子化试剂接触并进行牵伸处理,得到牵伸聚集体;直接对牵伸聚集体进行热处理,以使挥发性质子化试剂蒸发,得到增强碳纳米管聚集体。本发明利用大比例牵伸解决了原始碳纳米管薄膜中碳管取向分布杂乱的问题,再进行直接蒸发致密化的操作解决了采用凝固浴,利用溶剂浓度差挤出氯磺酸会产生热量,导致碳管致密化的结构遭到破坏的问题,极大程度地保留了碳管取向的同时使碳管形成密堆积结构,大幅提高碳纳米管聚集体力电性能的同时,制备方法更加简便,缩短制备所需时间,且无需使用有机溶剂。

一种具有纳米孔拓扑网络结构的Li2MnO3材料及其制备方法和应用

NºPublicación:  CN121790373A 03/04/2026
Solicitante: 
西湖大学
CN_121790373_PA

Resumen de: CN121790373A

0001 本发明提供一种具有纳米孔拓扑网络结构的Li<2>MnO<3>材料及其制备方法和应用。所述Li<2>MnO<3>材料按照锂层、第一晶格氧层、金属过渡层和第二晶格氧层的次序依次循环分布,所述锂层、第一晶格氧层、金属过渡层和第二晶格氧层之间通过稳定的化学键连接;所述金属过渡层包括锰元素和锂元素,所述锰元素形成框架结构单元,所述框架结构单元包括用于限位氧气分子的纳米孔,锂元素位于所述框架结构单元的框架内。本申请提供的Li<2>MnO<3>材料能够避免锂迁移过程的氧泄露现象,从而使得Li<2>MnO<3>材料结构稳定,应用于锂电池的正极材料时库伦效率高、可逆容量大,能够显著延长电池循环寿命。

硅碳负极材料及其制备方法、电池

Nº publicación: CN121790342A 03/04/2026

Solicitante:

合肥国轩高科动力能源有限公司

CN_121790342_PA

Resumen de: CN121790342A

本发明公开了一种硅碳负极材料及其制备方法、电池,其中,硅碳负极材料包括壳层和核层,所述壳层为包覆于核层外的第一弹性聚合物层,以及包覆于所述碳骨架外的第二弹性聚合物层。通过构建原位生长CNT的导电网络与内外双重弹性聚合物自修复包覆层,在显著提升硅碳负极材料倍率性能的同时,实现了对充放电过程中体积膨胀的动态缓冲与结构自修复,从而大幅提高了锂离子电池的循环寿命。

traducir